CN218224854U - 一种型材切割机 - Google Patents

一种型材切割机 Download PDF

Info

Publication number
CN218224854U
CN218224854U CN202221881347.8U CN202221881347U CN218224854U CN 218224854 U CN218224854 U CN 218224854U CN 202221881347 U CN202221881347 U CN 202221881347U CN 218224854 U CN218224854 U CN 218224854U
Authority
CN
China
Prior art keywords
cutting machine
protection casing
movable cover
processing platform
machine according
Prior art date
Legal status (The legal status is an assumption and is not a legal conclusion. Google has not performed a legal analysis and makes no representation as to the accuracy of the status listed.)
Expired - Fee Related
Application number
CN202221881347.8U
Other languages
English (en)
Inventor
张凤彪
陈平
许量
汪凯凤
Current Assignee (The listed assignees may be inaccurate. Google has not performed a legal analysis and makes no representation or warranty as to the accuracy of the list.)
Zhejiang Dongfang Dagangdahe Engineering Plastic Co ltd
Original Assignee
Zhejiang Dongfang Dagangdahe Engineering Plastic Co ltd
Priority date (The priority date is an assumption and is not a legal conclusion. Google has not performed a legal analysis and makes no representation as to the accuracy of the date listed.)
Filing date
Publication date
Application filed by Zhejiang Dongfang Dagangdahe Engineering Plastic Co ltd filed Critical Zhejiang Dongfang Dagangdahe Engineering Plastic Co ltd
Priority to CN202221881347.8U priority Critical patent/CN218224854U/zh
Application granted granted Critical
Publication of CN218224854U publication Critical patent/CN218224854U/zh
Expired - Fee Related legal-status Critical Current
Anticipated expiration legal-status Critical

Links

Images

Landscapes

  • Finish Polishing, Edge Sharpening, And Grinding By Specific Grinding Devices (AREA)

Abstract

本实用新型公开了一种型材切割机,包括加工台,所述加工台的顶部设置有弹性转轴,所述弹性转轴转动连接有防护罩,所述防护罩内转动设置有切割刀片,所述防护罩的外沿处设置有清理机构,所述清理机构包括转动设置在防护罩上的活动罩,所述活动罩的外沿处设有弹簧,所述弹簧连接有清洁刮条。实用新型通过在活动罩上设置弹簧伸缩的清洁刮条,通过转动活动罩的方式切换清洁状态,不需要将刀片拆卸下来,可以随时对刀片进行清理,保证切割机的正常工作。

Description

一种型材切割机
【技术领域】
本实用新型涉及切割机的技术领域,特别是型材切割机的技术领域。
【背景技术】
型材切割机适合锯切各种异型金属铝、铝合金、铜、铜合金、非金属塑胶及碳纤等材料,特别适用于铝门窗、相框、塑钢材、电木板、铝挤型、纸管及型材之锯切;手持压把料锯料,材料不易变形、损耗低。
现有的型材切割机切割完成后,会有少量的碎屑粘附在刀片的表面,如果不及时清理,碎屑日积月累,会影响切割机的正常工作。
【实用新型内容】
本实用新型的目的就是解决现有技术中的问题,提出一种型材切割机,能够在不拆卸刀片的情况下对刀片进行清理,十分方便。
为实现上述目的,本实用新型提出了一种型材切割机,包括加工台,所述加工台的顶部设置有弹性转轴,所述弹性转轴转动连接有防护罩,所述防护罩内转动设置有切割刀片,所述防护罩的外沿处设置有清理机构,所述清理机构包括转动设置在防护罩上的活动罩,所述活动罩的外沿处设有弹簧,所述弹簧连接有清洁刮条。
作为优选,所述清洁刮条为硬质塑料材质,所述防护罩设有清洁刮条的一侧设有弧形斜边。
作为优选,所述清洁刮条靠近防护罩的一侧设有与所述弧形斜边相匹配的斜面。
作为优选,所述清洁刮条的底面设有刷毛层。
作为优选,所述加工台转动设置在旋转台上,所述旋转台的外侧面标有刻度,所述加工台的外侧面设有指示针。
作为优选,所述旋转台的底部设有底座,所述底座上设有夹具。
本实用新型的有益效果:本实用新型通过在活动罩上设置弹簧伸缩的清洁刮条,通过转动活动罩的方式切换清洁状态,不需要将刀片拆卸下来,可以随时对刀片进行清理,保证切割机的正常工作;弧形斜边和斜面的设计减小了活动罩在收纳清洁刮条时受到的阻力。
本实用新型的特征及优点将通过实施例结合附图进行详细说明。
【附图说明】
图1是本实用新型一种型材切割机的主视图;
图2是本实用新型一种型材切割机的活动罩内部示意图;
图3是本实用新型一种型材切割机的清洁刮条侧面示意图。
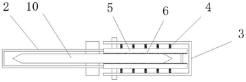
图中:1-加工台、2-防护罩、3-活动罩、4-弹簧、5-清洁刮条、6-刷毛层、7-旋转台、8-底座、9-夹具、10-切割刀片、11-指示针、21-弧形斜边、51-斜面。
【具体实施方式】
参阅图1、图2、图3,本实用新型一种型材切割机,包括加工台1,所述加工台1的顶部设置有弹性转轴,所述弹性转轴转动连接有防护罩2,所述防护罩2内转动设置有切割刀片10,切割刀片10为砂轮片,所述防护罩2的外沿处设置有清理机构,所述清理机构包括转动设置在防护罩2上的活动罩3,所述活动罩3的外沿处设有弹簧4,所述弹簧4连接有清洁刮条5,所述清洁刮条5为硬质塑料材质,所述防护罩2设有清洁刮条5的一侧设有弧形斜边21,所述清洁刮条5靠近防护罩2的一侧设有与所述弧形斜边21相匹配的斜面51,所述清洁刮条5的底面设有刷毛层6,所述刷毛层6由硬质刷毛组成,所述加工台1转动设置在旋转台7上,所述旋转台7的外侧面标有刻度,所述加工台1的外侧面设有指示针11,所述旋转台7的底部设有底座8,所述底座8上设有夹具9。
本实用新型工作过程:
本实用新型一种型材切割机在工作过程中,清理刀片时,先向外转动活动罩3,使清洁刮条5的下表面与刀片的外表面相接触,接着低速空转刀片,使刷毛层6对刀片的表面进行清理,清理完成后,重新将活动罩3向内转动,使清洁刮条5重新上升,收纳到防护罩2的外表面。
上述实施例是对本实用新型的说明,不是对本实用新型的限定,任何对本实用新型简单变换后的方案均属于本实用新型的保护范围。

Claims (6)

1.一种型材切割机,其特征在于:包括加工台(1),所述加工台(1)的顶部设置有弹性转轴,所述弹性转轴转动连接有防护罩(2),所述防护罩(2)内转动设置有切割刀片(10),所述防护罩(2)的外沿处设置有清理机构,所述清理机构包括转动设置在防护罩(2)上的活动罩(3),所述活动罩(3)的外沿处设有弹簧(4),所述弹簧(4)连接有清洁刮条(5)。
2.如权利要求1所述的型材切割机,其特征在于:所述清洁刮条(5)为硬质塑料材质,所述防护罩(2)设有清洁刮条(5)的一侧设有弧形斜边(21)。
3.如权利要求2所述的型材切割机,其特征在于:所述清洁刮条(5)靠近防护罩(2)的一侧设有与所述弧形斜边(21)相匹配的斜面(51)。
4.如权利要求1所述的型材切割机,其特征在于:所述清洁刮条(5)的底面设有刷毛层(6)。
5.如权利要求1所述的型材切割机,其特征在于:所述加工台(1)转动设置在旋转台(7)上,所述旋转台(7)的外侧面标有刻度,所述加工台(1)的外侧面设有指示针(11)。
6.如权利要求5所述的型材切割机,其特征在于:所述旋转台(7)的底部设有底座(8),所述底座(8)上设有夹具(9)。
CN202221881347.8U 2022-07-20 2022-07-20 一种型材切割机 Expired - Fee Related CN218224854U (zh)

Priority Applications (1)

Application Number Priority Date Filing Date Title
CN202221881347.8U CN218224854U (zh) 2022-07-20 2022-07-20 一种型材切割机

Applications Claiming Priority (1)

Application Number Priority Date Filing Date Title
CN202221881347.8U CN218224854U (zh) 2022-07-20 2022-07-20 一种型材切割机

Publications (1)

Publication Number Publication Date
CN218224854U true CN218224854U (zh) 2023-01-06

Family

ID=84675495

Family Applications (1)

Application Number Title Priority Date Filing Date
CN202221881347.8U Expired - Fee Related CN218224854U (zh) 2022-07-20 2022-07-20 一种型材切割机

Country Status (1)

Country Link
CN (1) CN218224854U (zh)

Cited By (2)

* Cited by examiner, † Cited by third party
Publication number Priority date Publication date Assignee Title
CN116513595A (zh) * 2023-06-21 2023-08-01 湖南沃克能源科技有限公司 一种高精度安瓿瓶自动熔封装置
CN117655803A (zh) * 2024-01-26 2024-03-08 常州创伟工具制造有限公司 一种基于刀具加工的切割装置及方法

Cited By (4)

* Cited by examiner, † Cited by third party
Publication number Priority date Publication date Assignee Title
CN116513595A (zh) * 2023-06-21 2023-08-01 湖南沃克能源科技有限公司 一种高精度安瓿瓶自动熔封装置
CN116513595B (zh) * 2023-06-21 2023-10-13 湖南沃克能源科技有限公司 一种高精度安瓿瓶自动熔封装置
CN117655803A (zh) * 2024-01-26 2024-03-08 常州创伟工具制造有限公司 一种基于刀具加工的切割装置及方法
CN117655803B (zh) * 2024-01-26 2024-04-16 常州创伟工具制造有限公司 一种基于刀具加工的切割装置及方法

Similar Documents

Publication Publication Date Title
CN218224854U (zh) 一种型材切割机
CN218425991U (zh) 一种金刚石锯片打磨装置
CN113370023A (zh) 一种新型门窗无缝焊接机的角缝清理装置
CN215966679U (zh) 一种铝合金刀具生产加工用多工位工作台
CN217412684U (zh) 一种新型铝型材重型数显精密切割锯防护罩
CN210082766U (zh) 一种便于清理碎屑的刨笔刀
CN214642374U (zh) 一种金刚石锯片加工打磨装置
CN214025018U (zh) 一种车削件生产加工用打磨装置
CN211759800U (zh) 一种便于收集废屑的五金机械用钢板切割机
CN210650222U (zh) 一种锯片生产用打磨装置的环保机构
CN2243358Y (zh) 多功能高速切割机
CN218224934U (zh) 一种具有废屑收集装置的金刚石锯片切割机
CN214025001U (zh) 一种磨床的除尘装置
CN214723095U (zh) 一种金属材料用防护型小型打磨机
CN210678034U (zh) 一种加工车间用安全性高的铣刀刃磨装置
CN217941549U (zh) 用于圆盘锯片冲孔加工的固定工装
CN215240213U (zh) 一种清洁型砂轮修整机
CN213672972U (zh) 一种室内设计装修用钢板切割装置
CN218312726U (zh) 一种用于管帽加工的削磨装置
CN218776879U (zh) 一种耐磨石材锯片
CN214770845U (zh) 一种用于倒角刀加工的刀具钝化机
CN217290715U (zh) 一种立式锯床
CN211661213U (zh) 一种加工硬质合金用切断机
CN219633390U (zh) 带碎屑收集功能的砂带机
CN219402594U (zh) 一种钢板材料切割装置

Legal Events

Date Code Title Description
GR01 Patent grant
GR01 Patent grant
CF01 Termination of patent right due to non-payment of annual fee

Granted publication date: 20230106

CF01 Termination of patent right due to non-payment of annual fee