CN214495041U - 一种可降解的聚丙交酯薄膜收卷切割机构 - Google Patents
一种可降解的聚丙交酯薄膜收卷切割机构 Download PDFInfo
- Publication number
- CN214495041U CN214495041U CN202120781804.5U CN202120781804U CN214495041U CN 214495041 U CN214495041 U CN 214495041U CN 202120781804 U CN202120781804 U CN 202120781804U CN 214495041 U CN214495041 U CN 214495041U
- Authority
- CN
- China
- Prior art keywords
- cutting
- film
- fixedly connected
- bevel gear
- degradable
- Prior art date
- Legal status (The legal status is an assumption and is not a legal conclusion. Google has not performed a legal analysis and makes no representation as to the accuracy of the status listed.)
- Active
Links
- 238000005520 cutting process Methods 0.000 title claims abstract description 71
- 229920000747 poly(lactic acid) Polymers 0.000 title claims abstract description 18
- 238000005096 rolling process Methods 0.000 title claims abstract description 16
- 238000004804 winding Methods 0.000 claims abstract description 7
- 238000003825 pressing Methods 0.000 claims description 14
- 230000033001 locomotion Effects 0.000 claims description 5
- 239000010408 film Substances 0.000 abstract description 43
- 230000000694 effects Effects 0.000 abstract description 5
- 238000012797 qualification Methods 0.000 abstract description 2
- 239000010409 thin film Substances 0.000 abstract description 2
- 238000004519 manufacturing process Methods 0.000 description 3
- 230000000712 assembly Effects 0.000 description 1
- 238000000429 assembly Methods 0.000 description 1
- 230000009286 beneficial effect Effects 0.000 description 1
- 230000005540 biological transmission Effects 0.000 description 1
- 238000001125 extrusion Methods 0.000 description 1
- 239000000463 material Substances 0.000 description 1
- 239000012528 membrane Substances 0.000 description 1
- 230000001737 promoting effect Effects 0.000 description 1
- 238000007790 scraping Methods 0.000 description 1
Images
Landscapes
- Perforating, Stamping-Out Or Severing By Means Other Than Cutting (AREA)
Abstract
本实用新型公开了一种可降解的聚丙交酯薄膜收卷切割机构,包括:工作台,所述工作台用于对需要切割的可降解的聚丙交酯薄膜的盛放,所述工作台包括垂直放置的承载板和水平放置的放置板,且二者互为垂直固定连接在一起;收卷器,所述收卷器用于对薄膜的收集,所述收卷器包括支架和收卷筒。本实用新型在切割组件、调节组件、驱动组件以及其他结构的相互配合,使得刮板对薄膜在需要切割的部分进行捋平,方便切割刀进行裁剪,另一方面在挤压的效果作用下,将需要裁剪部分的薄膜进行按压,减少了需要裁剪部分的薄膜与收卷器之间产生的坡度拉扯,从而提高了切割装置的切割效果以及薄膜的质量,大大提高了裁剪的效率以及合格性。
Description
技术领域
本实用新型涉及薄膜收卷切割设备技术领域,尤其涉及一种可降解的聚丙交酯薄膜收卷切割机构。
背景技术
现如今的薄膜的生产过程中,需要对生产好的薄膜进行收卷起来,由于每个消费者对薄膜长度大小的需求不一样,同时也为了生产者的便利性,生产者在收卷的过程中根据长度的大小进行对薄膜的切割,从而大大提高了生产者的效率。
但是在切割薄膜的时候,由于收卷器对薄膜进行收紧拉扯的作用,会导致切割机在切割薄膜时切割的不均匀,从而会影响薄膜生产标准。
实用新型内容
本实用新型的目的是为了解决现有技术中存在的缺点,如:在切割薄膜的时候,由于收卷器对薄膜进行收紧拉扯的作用,会导致切割机在切割薄膜时切割的不均匀,从而会影响薄膜生产标准。
为了实现上述目的,本实用新型采用了如下技术方案:
一种可降解的聚丙交酯薄膜收卷切割机构,包括:
工作台,所述工作台用于对需要切割的可降解的聚丙交酯薄膜的盛放,所述工作台包括垂直放置的承载板和水平放置的放置板,且二者互为垂直固定连接在一起;
收卷器,所述收卷器用于对薄膜的收集,所述收卷器包括支架和收卷筒;
切割装置,所述切割装置通过L型板固定连接在承载板上且位于放置板的正上方,所述切割装置包括切割组件、两组调节组件、两组驱动组件和两组按压组件,所述切割组件用于对薄膜进行裁剪工作,所述驱动组件用于驱动调节组件的运动,所述调节组件用于将力传递给按压组件,所述按压组件用于对需要裁剪部分的薄膜进行按压梳理,所述切割组件通过固定板与所述调节组件、驱动组件以及按压组件连接使用。
优选的,所述切割组件包括气缸和切割刀,所述气缸与L型板底侧壁上连接,所述切割刀通过固定板与气缸的底壁上固定连接。
优选的,每组所述驱动组件均包括伺服电机、第一锥齿轮和第二锥齿轮,所述伺服电机固定连接在所述固定板上表面,所述第一锥齿轮固定套接在所述伺服电机上伸入固定板表面的输出轴上,所述第二锥齿轮与第一锥齿轮啮合连接。
优选的,每组所述调节组件均包括凹槽、螺纹杆和两个滑块,每个所述凹槽开设在固定板的下表面上且相互对称,每个所述螺纹杆转动连接在相对应的凹槽内,两个所述滑块螺纹套接在相对应的螺纹杆上且相互对称设置,所述第二锥齿轮固定套接在相对应的螺纹杆上。
优选的,每组所述按压组件均包括支撑柱。支撑杆、刮板和弹簧,所述支撑柱固定连接在相对应的所述滑块的下表面上且垂直向下放置,所述支撑柱下表面开设有滑槽,所述弹簧的一端固定连接在所述滑槽的底壁上,所述弹簧的另一端固定连接在所述支撑杆的一端上,所述支撑杆的另一端与水平放置的刮板固定连接且与放置板的上表面想靠近。
优选的,两个所述滑块螺纹连接的螺纹杆外螺纹的螺纹相反。
与现有技术相比,本实用新型的有益效果是:
在切割组件、调节组件、驱动组件以及其他结构的相互配合,使得刮板对薄膜在需要切割的部分进行捋平,方便切割刀进行裁剪,另一方面在挤压的效果作用下,将需要裁剪部分的薄膜进行按压,减少了需要裁剪部分的薄膜与收卷器之间产生的坡度拉扯,从而提高了切割装置的切割效果以及薄膜的质量,大大提高了裁剪的效率以及合格性。
附图说明
图1为本实用新型提出的一种可降解的聚丙交酯薄膜收卷切割机构的切割装置的立体结构示意图;
图2为本实用新型提出的一种可降解的聚丙交酯薄膜收卷切割机构的立体结构示意图;
图3为图1中驱动组件的放大立体结构示意图。
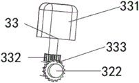
图中:1工作台、2收卷器、3切割装置、31切割组件、311气缸、312切割刀、32调节组件、321凹槽、322螺纹杆、323滑块、33驱动组件、331伺服电机、332第一锥齿轮、333第二锥齿轮、34按压组件、341支撑柱、342支撑杆、343刮板、4固定板。
具体实施方式
下面将结合本实用新型实施例中的附图,对本实用新型实施例中的技术方案进行清楚、完整地描述,显然,所描述的实施例仅仅是本实用新型一部分实施例,而不是全部的实施例。
本实用新型中所引用的如“上”、“下”、“左”、“右”、“中间”及“一”等的用语,亦仅为便于叙述的明了,而非用以限定本实用新型可实施的范围,其相对关系的改变或调整,在无实质变更技术内容下,当亦视为本实用新型可实施的范畴。
参照图1-3,一种可降解的聚丙交酯薄膜收卷切割机构,包括:
工作台1,工作台1用于对需要切割的可降解的聚丙交酯薄膜的盛放,工作台1包括垂直放置的承载板和水平放置的放置板,且二者互为垂直固定连接在一起;
收卷器2,收卷器2用于对薄膜的收集,收卷器2包括支架和收卷筒,其收卷的工作原理为现有技术,在此就不再赘述;
切割装置3,切割装置3通过L型板固定连接在承载板上且位于放置板的正上方,切割装置3包括切割组件31、两组调节组件32、两组驱动组件33和两组按压组件34,切割组件31用于对薄膜进行裁剪工作,驱动组件33用于驱动调节组件32的运动,调节组件32用于将力传递给按压组件34,按压组件34用于对需要裁剪部分的薄膜进行按压梳理,切割组件31通过固定板4与调节组件32、驱动组件33以及按压组件34连接使用,每个切割组件31、调节组件32、驱动组件33和按压组件34都是相互配套使用的,也是相互对称。
切割组件31包括气缸311和切割刀312,气缸311与L型板底侧壁上连接,切割刀312通过固定板4与气缸311的底壁上固定连接,气缸311带动着切割刀312的工作原理为现有技术,在此就不再赘述,其中固定板4的上表面左右两侧开设有从上到下的腰型槽,且贯穿于整个固定板4,固定板4的下表面开设有从左到右的梯形槽,而切割刀312的上表面还固定连接有与梯形槽相配的梯形块用于将切割刀312放置与固定板4的下表面上。
每组驱动组件33均包括伺服电机331、第一锥齿轮332和第二锥齿轮333,伺服电机331固定连接在固定板4上表面,第一锥齿轮332固定套接在伺服电机331上伸入固定板4表面的输出轴上,第二锥齿轮333与第一锥齿轮332啮合连接,将伺服电机331电源打开,伺服电机331高速运转的输出轴带动着与其固定套接的第一锥齿轮332运转,紧接着带动着与第一锥齿轮332啮合连接的第二锥齿轮333也运转,其中第一锥齿轮332和第二锥齿轮333所在的平面互为垂直。
每组调节组件32均包括凹槽321、螺纹杆322和两个滑块323,每个凹槽321开设在固定板4的下表面上且相互对称,每个螺纹杆322转动连接在相对应的凹槽321内,两个滑块323螺纹套接在相对应的螺纹杆322上且相互对称设置,第二锥齿轮333固定套接在相对应的螺纹杆322上,高速运转的第二锥齿轮333带动着与其固定连接的螺纹杆322在凹槽321内旋转,从而带动着螺纹套接在螺纹杆322上的两个滑块323转动,由于滑块323在垂直方向上的位置限定了,从而只能沿着螺纹杆322在水平面上运动。
每组按压组件34均包括支撑柱341,支撑杆342、弹簧和刮板343,支撑柱341固定连接在相对应的滑块323的下表面上且垂直向下放置,支撑柱341下表面开设有滑槽,弹簧的一端固定连接在滑槽的底壁上,弹簧的另一端固定连接在支撑杆342的一端上,支撑杆342的另一端与水平放置的刮板343固定连接且与放置板的上表面想靠近,由于两个滑块323的运动,从而带动着固定连接在滑块323上的支撑柱341、支撑杆342以及刮板343伴随着滑块323运动的方向而运动,其中固定板4在气缸311的作用下向放置板方向移动,当支撑杆342接触到放置板时,此时支撑杆342被挤压至滑槽内,同时弹簧也被挤压,当力接触时,由于弹簧的弹力需要解除,从而反向挤压支撑杆342,直至恢复到初始位置,其中支撑杆342与放置板接触的一侧设置为摩擦力较小的材质,便于支撑杆342的移动。
两个滑块323螺纹连接的螺纹杆322外螺纹的螺纹相反,从而为了使得同一根螺纹杆322上的两个滑块323带动着按压组件34从固定板4中间向两边移动。
本实用新型中,使用者使用该装置时,当需要切割薄膜时,首先切割组件31中的气缸311推动着固定连接在其底面上的固定板4、调节组件32、驱动组件33、按压组件34以及其他结构向薄膜移动,紧接着驱动组件33的电源被打开,从而将伺服电机331的驱动力传送到调节组件32,从而带动着固定连接在滑块323上的按压组件34在水平面上移动,当按压组件34在垂直方向移动至与放置板以及薄膜接触,在水平方向上,在驱动组件33的作用下,刮板343将位于切割刀312正下方上的薄膜进行捋平,另一方面挤压薄膜的刮板343起到对需要切割的部分进行按压,进一步提高薄膜切割后的质量。
以上所述,仅为本实用新型较佳的具体实施方式,但本实用新型的保护范围并不局限于此,任何熟悉本技术领域的技术人员在本实用新型揭露的技术范围内,根据本实用新型的技术方案及其实用新型构思加以等同替换或改变,都应涵盖在本实用新型的保护范围之内。
Claims (6)
1.一种可降解的聚丙交酯薄膜收卷切割机构,其特征在于,包括:
工作台(1),所述工作台(1)用于对需要切割的可降解的聚丙交酯薄膜的盛放,所述工作台(1)包括垂直放置的承载板和水平放置的放置板,且二者互为垂直固定连接在一起;
收卷器(2),所述收卷器(2)用于对薄膜的收集,所述收卷器(2)包括支架和收卷筒;
切割装置(3),所述切割装置(3)通过L型板固定连接在承载板上且位于放置板的正上方,所述切割装置(3)包括切割组件(31)、两组调节组件(32)、两组驱动组件(33)和两组按压组件(34),所述切割组件(31)用于对薄膜进行裁剪工作,所述驱动组件(33)用于驱动调节组件(32)的运动,所述调节组件(32)用于将力传递给按压组件(34),所述按压组件(34)用于对需要裁剪部分的薄膜进行按压梳理,所述切割组件31通过固定板(4)与所述调节组件(32)、驱动组件(33)以及按压组件(34)连接使用。
2.根据权利要求1所述的一种可降解的聚丙交酯薄膜收卷切割机构,其特征在于,所述切割组件(31)包括气缸(311)和切割刀(312),所述气缸(311)与L型板底侧壁上连接,所述切割刀(312)通过固定板(4)与气缸(311)的底壁上固定连接。
3.根据权利要求1所述的一种可降解的聚丙交酯薄膜收卷切割机构,其特征在于,每组所述驱动组件(33)均包括伺服电机(331)、第一锥齿轮(332)和第二锥齿轮(333),所述伺服电机(331)固定连接在所述固定板(4)上表面,所述第一锥齿轮(332)固定套接在所述伺服电机(331)上伸入固定板(4)表面的输出轴上,所述第二锥齿轮(333)与第一锥齿轮(332)啮合连接。
4.根据权利要求3所述的一种可降解的聚丙交酯薄膜收卷切割机构,其特征在于,每组所述调节组件(32)均包括凹槽(321)、螺纹杆(322)和两个滑块(323),每个所述凹槽(321)开设在固定板(4)的下表面上且相互对称,每个所述螺纹杆(322)转动连接在相对应的凹槽(321)内,两个所述滑块(323)螺纹套接在相对应的螺纹杆(322)上且相互对称设置,所述第二锥齿轮(333)固定套接在相对应的螺纹杆(322)上。
5.根据权利要求4所述的一种可降解的聚丙交酯薄膜收卷切割机构,其特征在于,每组所述按压组件(34)均包括支撑柱(341),支撑杆(342)、弹簧和刮板(343),所述支撑柱(341)固定连接在相对应的所述滑块(323)的下表面上且垂直向下放置,所述支撑柱(341)下表面开设有滑槽,所述弹簧的一端固定连接在所述滑槽的底壁上,所述弹簧的另一端固定连接在所述支撑杆(342)的一端上,所述支撑杆(342)的另一端与水平放置的刮板(343)固定连接且与放置板的上表面想靠近。
6.根据权利要求4所述的一种可降解的聚丙交酯薄膜收卷切割机构,其特征在于,两个所述滑块(323)螺纹连接的螺纹杆(322)外螺纹的螺纹相反。
Priority Applications (1)
| Application Number | Priority Date | Filing Date | Title |
|---|---|---|---|
| CN202120781804.5U CN214495041U (zh) | 2021-04-16 | 2021-04-16 | 一种可降解的聚丙交酯薄膜收卷切割机构 |
Applications Claiming Priority (1)
| Application Number | Priority Date | Filing Date | Title |
|---|---|---|---|
| CN202120781804.5U CN214495041U (zh) | 2021-04-16 | 2021-04-16 | 一种可降解的聚丙交酯薄膜收卷切割机构 |
Publications (1)
| Publication Number | Publication Date |
|---|---|
| CN214495041U true CN214495041U (zh) | 2021-10-26 |
Family
ID=78203301
Family Applications (1)
| Application Number | Title | Priority Date | Filing Date |
|---|---|---|---|
| CN202120781804.5U Active CN214495041U (zh) | 2021-04-16 | 2021-04-16 | 一种可降解的聚丙交酯薄膜收卷切割机构 |
Country Status (1)
| Country | Link |
|---|---|
| CN (1) | CN214495041U (zh) |
-
2021
- 2021-04-16 CN CN202120781804.5U patent/CN214495041U/zh active Active
Similar Documents
| Publication | Publication Date | Title |
|---|---|---|
| CN113618826A (zh) | 一种用于面膜加工的成型裁剪设备及使用方法 | |
| CN217669692U (zh) | 一种振动刀压轮装置 | |
| CN214495041U (zh) | 一种可降解的聚丙交酯薄膜收卷切割机构 | |
| CN216945573U (zh) | 一种光学膜除静电切割生产线 | |
| CN216427783U (zh) | 一种兼容定位功能的裁剪刀 | |
| CN209832772U (zh) | 一种纸箱生产模切用压平输送装置 | |
| CN201881412U (zh) | 纸张切割机 | |
| CN212859541U (zh) | 一种抗菌透气es纤维裁切装置 | |
| CN221248968U (zh) | 一种卷材分切设备 | |
| CN118479296A (zh) | 一种用于纸巾生产的折叠装置 | |
| CN219026341U (zh) | 一种方便使用的切布机 | |
| CN216335658U (zh) | 一种防褶皱的制帽用自动铺布机 | |
| CN214572922U (zh) | 一种复合无纺布用连续切分装置 | |
| CN109333943A (zh) | 具有导向结构的料头切除装置 | |
| CN212475434U (zh) | 一种无尘纸自动收料的切布机 | |
| CN210061992U (zh) | 一种亚克力板折弯机 | |
| CN210616799U (zh) | 一种木材加工用截断设备 | |
| CN212919661U (zh) | 一种分切机可调式分切刀片 | |
| CN223103343U (zh) | 一种有定位功能的服装加工用裁床 | |
| CN219311409U (zh) | 一种智能化多功能数控裁切机 | |
| CN221984009U (zh) | 一种切边辊压设备 | |
| CN214394318U (zh) | 一种片材机用裁切装置 | |
| CN221797972U (zh) | 一种服装加工用布料裁剪机 | |
| CN213971419U (zh) | 一种新型不干胶切纸装置 | |
| CN223236418U (zh) | 一种多模式缓菱形状防护纸自动切断装置 |
Legal Events
| Date | Code | Title | Description |
|---|---|---|---|
| GR01 | Patent grant | ||
| GR01 | Patent grant |