CN211414667U - 一种轴套生产用打磨装置 - Google Patents

一种轴套生产用打磨装置 Download PDF

Info

Publication number
CN211414667U
CN211414667U CN201921837177.1U CN201921837177U CN211414667U CN 211414667 U CN211414667 U CN 211414667U CN 201921837177 U CN201921837177 U CN 201921837177U CN 211414667 U CN211414667 U CN 211414667U
Authority
CN
China
Prior art keywords
connecting rod
axle sleeve
grinding roller
face
belt pulley
Prior art date
Legal status (The legal status is an assumption and is not a legal conclusion. Google has not performed a legal analysis and makes no representation as to the accuracy of the status listed.)
Expired - Fee Related
Application number
CN201921837177.1U
Other languages
English (en)
Inventor
朱浩冠
Current Assignee (The listed assignees may be inaccurate. Google has not performed a legal analysis and makes no representation or warranty as to the accuracy of the list.)
Jinzhai Xinxin Casting Co ltd
Original Assignee
Jinzhai Xinxin Casting Co ltd
Priority date (The priority date is an assumption and is not a legal conclusion. Google has not performed a legal analysis and makes no representation as to the accuracy of the date listed.)
Filing date
Publication date
Application filed by Jinzhai Xinxin Casting Co ltd filed Critical Jinzhai Xinxin Casting Co ltd
Priority to CN201921837177.1U priority Critical patent/CN211414667U/zh
Application granted granted Critical
Publication of CN211414667U publication Critical patent/CN211414667U/zh
Expired - Fee Related legal-status Critical Current
Anticipated expiration legal-status Critical

Links

Images

Landscapes

  • Grinding Of Cylindrical And Plane Surfaces (AREA)

Abstract

本实用新型公开了一种轴套生产用打磨装置,包括台面,台面上端面设有支撑板,支撑板上设有行星齿轮,行星齿轮的恒星轮左侧面设有传动轴,传动轴上设有皮带轮一,台面上支撑板左侧设有支撑座,支撑座上设有电机,电机输出端上设有皮带轮二,行星齿轮的恒星轮和行星轮的右侧面上分别设有连接杆一和连接杆二,连接杆一和连接杆二右端分别连接有磨辊一和磨辊二,连接杆一、连接杆二与磨辊一、磨辊二的连接处均设有限位片,台面右端设有安装板,安装板上端设有液压缸,液压缸的活塞杆上连接有连接块,连接块左侧设有定位片。本实用新型的优点在于:可对多个轴套同时进行打磨、内壁和外壁一同打磨、效率高、使用方便。

Description

一种轴套生产用打磨装置
技术领域
本实用新型涉及打磨装置技术领域,具体是指一种轴套生产用打磨装置。
背景技术
轴套是套接在转轴上的筒状机械零件,是滑动轴承的一个组成部分,一般地,轴套与轴承座采用过盈配合,而与轴承采用间隙配合,轴套一般是一体式结构,强度降低,摩擦系数较高,而金属轴套在使用之前都需要对其表面进行打磨,方便进行使用。
现有的轴套打磨装置多只能对单个轴套进行打磨,打磨的效率低;在对轴套进行打磨时,轴套的内壁和外壁需要分别打磨,加工繁琐。
实用新型内容
本实用新型要解决的技术问题是,针对上述问题,提供一种可对多个轴套同时进行打磨、内壁和外壁一同打磨、效率高、使用方便的一种轴套生产用打磨装置。
为解决上述技术问题,本实用新型提供的技术方案为:一种轴套生产用打磨装置,包括台面,所述台面下端面设有支撑腿,所述台面上端面设有支撑板,所述支撑板上设有行星齿轮,所述行星齿轮的恒星轮左侧面设有传动轴,所述传动轴上设有皮带轮一,所述台面上支撑板左侧设有支撑座,所述支撑座上设有电机,所述电机输出端上设有皮带轮二,所述皮带轮二通过皮带与皮带轮一连接,所述行星齿轮的恒星轮和行星轮的右侧面上分别设有连接杆一和连接杆二,所述连接杆一和连接杆二右端分别连接有磨辊一和磨辊二,所述连接杆一、连接杆二与磨辊一、磨辊二的连接处均设有限位片,所述台面右端设有安装板,所述安装板上端设有液压缸,所述液压缸的活塞杆上连接有连接块,所述连接块左侧设有定位片,所述定位片与行星齿轮的恒星轮位置对应。
本实用新型与现有技术相比的优点在于:该轴套生产用打磨装置,将轴套套在磨辊一上,液压缸的活塞杆伸长,定位片与限位片对轴套的位置进行固定,电机一驱动行星齿轮的恒星轮转动,使得磨辊一转动对轴套的内壁进行打磨,恒星轮带动行星轮转动,使得磨辊二围绕磨辊一转动的同时自转,对轴套的外壁进行打磨,可同时对多个轴套的内壁和外壁进行打磨,提升打磨的效率,减少了工序。
作为改进,所述台面下端面设有收集箱,所述收集箱下端面设有出料口,所述台面上与收集箱位置对应处设有开口。
作为改进,所述连接块下端面设有支撑块,所述台面上端面右侧设有滑轨,所述支撑块下端与滑轨滑动连接。
作为改进,所述行星齿轮的行星轮至少有2个。
作为改进,所述收集箱的下端面呈锥面。
附图说明
图1是本实用新型一种轴套生产用打磨装置的主视图。
图2是本实用新型一种轴套生产用打磨装置的俯视图。
图3是本实用新型一种轴套生产用打磨装置支撑板的左视图。
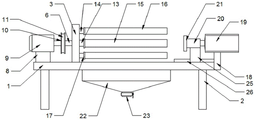
附图说明:1、台面,2、支撑腿,3、支撑板,4、行星齿轮,5、恒星轮,6、传动轴,7、皮带轮一, 8、支撑座,9、电机,10、皮带轮二,11、皮带,12、行星轮,13、连接杆一,14、连接杆二,15、磨辊一,16、磨辊二,17、限位片,18、安装板,19、液压缸,20、连接块,21、定位片,22、收集箱,23、出料口,24、开口,25、支撑块,26、滑轨。
具体实施方式
下面结合附图对本实用新型做进一步的详细说明。
结合附图,一种轴套生产用打磨装置,包括台面1,所述台面1下端面设有支撑腿2,其特征在于:所述台面1上端面设有支撑板3,所述支撑板3上设有行星齿轮4,所述行星齿轮4的恒星轮5左侧面设有传动轴6,所述传动轴6上设有皮带轮一7,所述台面1上支撑板3左侧设有支撑座8,所述支撑座8上设有电机9,所述电机9输出端上设有皮带轮二10,所述皮带轮二10通过皮带11与皮带轮一7连接,所述行星齿轮4的恒星轮5和行星轮12的右侧面上分别设有连接杆一13和连接杆二14,所述连接杆一13 和连接杆二14右端分别连接有磨辊一15和磨辊二16,所述连接杆一13、连接杆二14与磨辊一15、磨辊二16的连接处均设有限位片17,所述台面1右端设有安装板18,所述安装板18上端设有液压缸19,所述液压缸19的活塞杆上连接有连接块20,所述连接块20左侧设有定位片21,所述定位片21与行星齿轮 4的恒星轮5位置对应。
所述台面1下端面设有收集箱22,所述收集箱22下端面设有出料口23,所述台面1上与收集箱22 位置对应处设有开口24,打磨产生的残渣经开口24进入收集箱22进行收集,收集的残渣经出料口23排出。
所述连接块20下端面设有支撑块25,所述台面1上端面右侧设有滑轨26,所述支撑块25下端与滑轨26滑动连接,支撑块25对连接块20起支撑作用,滑轨26对连接块20和支撑块25的运动方向起导向作用。
所述行星齿轮4的行星轮12至少有2个,保证至少有2个磨辊二16打磨轴套的外表面。
所述收集箱22的下端面呈锥面,方便残渣从出料口23排出。
本实用新型的工作原理:该轴套生产用打磨装置在使用时,将轴套套在磨辊一上,液压缸的活塞杆伸长,定位片与限位片对轴套的位置进行固定,启动电机一,电机一带动皮带轮二转动,皮带轮二通过皮带带动皮带轮一转动,皮带轮一带动传动轴转动,传动轴带动恒星轮转动,进而使磨辊一转动,对轴套的内壁进行打磨。恒星轮转动带动行星轮围绕恒星轮转动,并且使行星轮产生自转,行星轮带动磨辊二围绕磨辊一转动,并且自转,对轴套的外壁进行打磨。打磨过程中产生的残渣经开口,落入收集箱内,收集箱对残渣进行收集。
本实用新型及其实施方式进行了描述,这种描述没有限制性,附图中所示的也只是本实用新型的实施方式之一,实际的结构并不局限于此。总而言之如果本领域的普通技术人员受其启示,在不脱离本实用新型创造宗旨的情况下,不经创造性的设计出与该技术方案相似的结构方式及实施例,均应属于本实用新型的保护范围。

Claims (5)

1.一种轴套生产用打磨装置,包括台面(1),所述台面(1)下端面设有支撑腿(2),其特征在于:所述台面(1)上端面设有支撑板(3),所述支撑板(3)上设有行星齿轮(4),所述行星齿轮(4)的恒星轮(5)左侧面设有传动轴(6),所述传动轴(6)上设有皮带轮一(7),所述台面(1)上支撑板(3)左侧设有支撑座(8),所述支撑座(8)上设有电机(9),所述电机(9)输出端上设有皮带轮二(10),所述皮带轮二(10)通过皮带(11)与皮带轮一(7)连接,所述行星齿轮(4)的恒星轮(5)和行星轮(12)的右侧面上分别设有连接杆一(13)和连接杆二(14),所述连接杆一(13)和连接杆二(14)右端分别连接有磨辊一(15)和磨辊二(16),所述连接杆一(13)、连接杆二(14)与磨辊一(15)、磨辊二(16)的连接处均设有限位片(17),所述台面(1)右端设有安装板(18),所述安装板(18)上端设有液压缸(19),所述液压缸(19)的活塞杆上连接有连接块(20),所述连接块(20)左侧设有定位片(21),所述定位片(21)与行星齿轮(4)的恒星轮(5)位置对应。
2.根据权利要求1所述的一种轴套生产用打磨装置,其特征在于:所述台面(1)下端面设有收集箱(22),所述收集箱(22)下端面设有出料口(23),所述台面(1)上与收集箱(22)位置对应处设有开口(24)。
3.根据权利要求1所述的一种轴套生产用打磨装置,其特征在于:所述连接块(20)下端面设有支撑块(25),所述台面(1)上端面右侧设有滑轨(26),所述支撑块(25)下端与滑轨(26)滑动连接。
4.根据权利要求1所述的一种轴套生产用打磨装置,其特征在于:所述行星齿轮(4)的行星轮(12)至少有2个。
5.根据权利要求2所述的一种轴套生产用打磨装置,其特征在于:所述收集箱(22)的下端面呈锥面。
CN201921837177.1U 2019-10-30 2019-10-30 一种轴套生产用打磨装置 Expired - Fee Related CN211414667U (zh)

Priority Applications (1)

Application Number Priority Date Filing Date Title
CN201921837177.1U CN211414667U (zh) 2019-10-30 2019-10-30 一种轴套生产用打磨装置

Applications Claiming Priority (1)

Application Number Priority Date Filing Date Title
CN201921837177.1U CN211414667U (zh) 2019-10-30 2019-10-30 一种轴套生产用打磨装置

Publications (1)

Publication Number Publication Date
CN211414667U true CN211414667U (zh) 2020-09-04

Family

ID=72252002

Family Applications (1)

Application Number Title Priority Date Filing Date
CN201921837177.1U Expired - Fee Related CN211414667U (zh) 2019-10-30 2019-10-30 一种轴套生产用打磨装置

Country Status (1)

Country Link
CN (1) CN211414667U (zh)

Cited By (1)

* Cited by examiner, † Cited by third party
Publication number Priority date Publication date Assignee Title
CN112338714A (zh) * 2020-11-03 2021-02-09 洪斯 一种传动轴的轴套结构

Cited By (2)

* Cited by examiner, † Cited by third party
Publication number Priority date Publication date Assignee Title
CN112338714A (zh) * 2020-11-03 2021-02-09 洪斯 一种传动轴的轴套结构
CN112338714B (zh) * 2020-11-03 2022-10-18 江苏诚益达智能科技有限公司 一种对传动轴的轴套进行打磨的磨削装置

Similar Documents

Publication Publication Date Title
CN209717238U (zh) 自动打磨装置
CN209207182U (zh) 一种齿轮加工用抛光装置
CN113787405A (zh) 一种齿套制造自动化加工设备及加工工艺
CN211414667U (zh) 一种轴套生产用打磨装置
CN112247285A (zh) 一种齿轮加工去毛刺装置
CN209532958U (zh) 一种钢塑复合管加工用钢管表面打磨装置
CN208084018U (zh) 一种玻璃幕墙生产线的玻璃打磨装置
CN110202217A (zh) 一种商用车行星齿轮加工用打磨装置
CN116713831B (zh) 一种集装箱底板打磨装置
CN209007234U (zh) 一种螺杆端面去毛刺机
CN212947191U (zh) 新型抛光机
CN213470531U (zh) 一种便于拆卸与维修的机械加工用打磨装置
CN208468102U (zh) 一种铝合金上盖加工精密磨床用驱动机构
CN211681306U (zh) 不锈钢拉丝加工前的板材去毛刺打磨装置
CN206883177U (zh) 一种望远镜配件车铣一体机
CN210024898U (zh) 打磨除尘生产线
CN201317071Y (zh) 平板硫化机硫化模板清洁器
CN209175496U (zh) 一种五金件加工用的表面抛光装置
CN208729403U (zh) 一种装有组合式滚筒磨轮的磨边机
CN210281707U (zh) 一种电路板磨边机
CN208147590U (zh) 一种用于机械零部件的抛光装置
CN117620864B (zh) 一种具有啮合传动功能的金属边框的抛光装置
CN219853884U (zh) 一种用于实木家具加工的板材表面处理设备
CN220112489U (zh) 一种用于齿形垫片加工的滚齿机结构
CN212947167U (zh) 金属制品打磨成型数控加工中心

Legal Events

Date Code Title Description
GR01 Patent grant
GR01 Patent grant
CF01 Termination of patent right due to non-payment of annual fee

Granted publication date: 20200904

CF01 Termination of patent right due to non-payment of annual fee