CN203142672U - 回转平板车 - Google Patents

回转平板车 Download PDF

Info

Publication number
CN203142672U
CN203142672U CN 201220666254 CN201220666254U CN203142672U CN 203142672 U CN203142672 U CN 203142672U CN 201220666254 CN201220666254 CN 201220666254 CN 201220666254 U CN201220666254 U CN 201220666254U CN 203142672 U CN203142672 U CN 203142672U
Authority
CN
China
Prior art keywords
bogie frame
turret mount
raceway
flat truck
swing bearing
Prior art date
Legal status (The legal status is an assumption and is not a legal conclusion. Google has not performed a legal analysis and makes no representation as to the accuracy of the status listed.)
Expired - Fee Related
Application number
CN 201220666254
Other languages
English (en)
Inventor
黄�良
柳锋
廖娟
陈炳发
季志水
潘耀林
李毓文
韦海湖
Current Assignee (The listed assignees may be inaccurate. Google has not performed a legal analysis and makes no representation or warranty as to the accuracy of the list.)
GUANGXI HYDRAULIC MACHINERY FACTORY
Original Assignee
GUANGXI HYDRAULIC MACHINERY FACTORY
Priority date (The priority date is an assumption and is not a legal conclusion. Google has not performed a legal analysis and makes no representation as to the accuracy of the date listed.)
Filing date
Publication date
Application filed by GUANGXI HYDRAULIC MACHINERY FACTORY filed Critical GUANGXI HYDRAULIC MACHINERY FACTORY
Priority to CN 201220666254 priority Critical patent/CN203142672U/zh
Application granted granted Critical
Publication of CN203142672U publication Critical patent/CN203142672U/zh
Anticipated expiration legal-status Critical
Expired - Fee Related legal-status Critical Current

Links

Images

Landscapes

  • Handcart (AREA)

Abstract

本实用新型公开了一种回转平板车,其特征在于:包括台车架、回转轴承和车轮,所述回转轴承上部连接有能够绕中心轴360°转动的回转架,在回转架和台车架之间设有中心轴,所述回转轴承下部与台车架连接,在回转架和台车架四周设有限位锁定孔,所述的车轮安装在台车架的底部,本回转平板车具有结构简单,制造成本低,转动灵活,阻力小等特点。

Description

回转平板车
技术领域
本实用新型属于移动机械设备,具体地说涉及一种带回转装置的平板车。
背景技术
在目前市场上生产的平板车中,其结构一般是在平面架下安装轮子,有的用电机驱动,有的靠人力推动。其主要用途是将物料从一台起重设备的起吊范围横向倒运到相互平行的另一台起重设备的起吊范围。
上述平板车在一般的物料转运时,是非常有用的,但是在转运大件,特别是比较长的工件时,由于无法转向,导致起吊空间不满足起吊要求,无法使用起重机起吊货物。出现这种情况的原因主要是平板车上的工件长度超出了起重设备的跨度,而平板车上的工件必须按起重设备的跨度方向摆放,以上缺陷成为了本行业难以解决的问题。
发明内容
本实用新型的目的,即在于提供一种能克服现有技术的不足,提出一种在搬运大型长件物件时,能够顺利调整角度,以便适合起吊设备吊运要求的回转平板车。
为了实现上述目的,本实用新型回转平板车,其特征在于:包括台车架、回转轴承和车轮,所述回转轴承上部连接有能够绕中心轴360°转动的回转架,在回转架和台车架之间设有中心轴,所述回转轴承下部与台车架连接,在回转架和台车架四周开设有限位锁定孔,所述的车轮安装在台车架的底部。
以上所述的回转架内固定有若干个加强结构件。
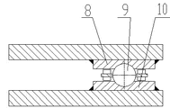
以上所述的回转轴承包括上滚道、滚珠和下滚道,所述的上滚道与回转架连接,下滚道与台车架连接,在上滚道和下滚道之间设置滚珠。
以上所述的回转架上表面为平面或弧面结构。
以上所述的若干个加强结构件是6~8个。
与现有技术相比,本回转平板车的有益效果是:
1.结构简单,制造成本低。本实用新型回转平板车在回转架和台车架之间设有防止回转轴承上下分离的中心轴,回转架能够绕中心轴360°转动,所述的回转轴承上部连接有回转架,回转轴承下部连接台车架,在回转架和台车架四周开设有限位锁定孔,本回转平板车结构简单合理,价格低廉。
2. 转动灵活、阻力小。由于本实用新型安装有能够绕中心轴相对转动的回转架,当工件放在回转架上,需要转动方向时,只需用手轻微推动回转架,就能使回转架围绕中心轴在平面360°方向上转动到任意角度,完全满足工件起吊要求,转动灵活、惯性好,阻力小。
附图说明
图1是本实用新型回转平板车的主视结构示意简图。
图2是本实用新型回转平板车的俯视结构示意简图。
图3是本实用新型回转平板车的右剖视结构示意简图。
图4是本实用新型回转平板车的回转轴承4主视结构放大示意简图。
图中零部件名称及序号:
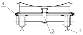
回转架1、台车架2、中心轴3、回转轴承4、车轮5、限位锁定孔6、加强结构件7、上滚道8、滚珠9、下滚道10、钢轨11。
具体实施方式
以下结合附图及实施例描述本实用新型的结构。
如附图1~3所示,本实用新型的回转平板车,包括回转架1、台车架2、中心轴3、回转轴承4、车轮5、限位锁定孔6、加强结构件7和钢轨11,所述的回转轴承4上部连接有回转架1,在回转架1和台车架2之间设有中心轴3,回转轴承4下部连接台车架2,回转轴承4上部连接有回转架1,在回转架1和台车架2四周设有限位锁定孔6,车轮5安装在台车架2的底部,在回转架1内固定有6~8个加强结构件7,所述的回转架1能够绕中心轴3 进行360°转动,台车架2安装在钢轨11上。
如附图4所示,所述的回转轴承4包括上滚道8、滚珠9和下滚道10,上滚道8与回转架1连接,下滚道10与台车架2连接,在上滚道8和下滚道10之间设置滚珠9。
实施例1
参看如图1~3所示,本发明人设计的回转平板车用于本单位的生产车间内,本实施例的回转架1上表面为弧面结构,使用时,将加工好的圆形工件放在回转架1弧面结构的台架上,当工件吊运需要转动回转架1时,可将插在四个限位锁定孔6上的插销拔出,转动回转架1,调整好回转架1角度后,在限位锁定孔6插上插销即可。

Claims (5)

1.一种回转平板车,其特征在于:包括台车架(2)、回转轴承(4)和车轮(5),所述回转轴承(4)上部连接有能够绕中心轴(3)360°转动的回转架(1),在回转架(1)和台车架(2)之间设有中心轴(3),所述回转轴承(4)下部与台车架(2)连接,在回转架(1)和台车架(2)四周设有限位锁定孔(6),所述的车轮(5)安装在台车架(2)的底部。
2.根据权利要求1所述的回转平板车,其特征在于:所述的回转架(1)内固定有若干个加强结构件(7)。
3.根据权利要求1所述的回转平板车,其特征在于:所述的回转轴承(4)包括上滚道(8)、滚珠(9)和下滚道(10),所述上滚道(8)与回转架(1)连接,下滚道(10)与台车架(2)连接,在上滚道(8)和下滚道(10)之间设置有滚珠(9)。
4.根据权利要求1或2所述的回转平板车,其特征在于:所述的回转架(1)上表面为平面或弧面结构。
5.根据权利要求1或2所述的回转平板车,其特征在于:所述的若干个加强结构件(7)是6~8个。
CN 201220666254 2012-12-06 2012-12-06 回转平板车 Expired - Fee Related CN203142672U (zh)

Priority Applications (1)

Application Number Priority Date Filing Date Title
CN 201220666254 CN203142672U (zh) 2012-12-06 2012-12-06 回转平板车

Applications Claiming Priority (1)

Application Number Priority Date Filing Date Title
CN 201220666254 CN203142672U (zh) 2012-12-06 2012-12-06 回转平板车

Publications (1)

Publication Number Publication Date
CN203142672U true CN203142672U (zh) 2013-08-21

Family

ID=48970220

Family Applications (1)

Application Number Title Priority Date Filing Date
CN 201220666254 Expired - Fee Related CN203142672U (zh) 2012-12-06 2012-12-06 回转平板车

Country Status (1)

Country Link
CN (1) CN203142672U (zh)

Cited By (3)

* Cited by examiner, † Cited by third party
Publication number Priority date Publication date Assignee Title
CN104085459A (zh) * 2014-06-10 2014-10-08 成都新筑展博环保科技有限公司 100吨级散装水泥仓及大型设备专用拖车
KR20180133907A (ko) * 2017-01-05 2018-12-17 베이징 셔우강 인터내셔널 엔지니어링 테크놀로지 컴퍼니 리미티드 능동 방향조절이 가능한 자기 주행 스틸 코일 운송차
CN110803087A (zh) * 2019-09-17 2020-02-18 徐州市凯诺机械有限公司 一种工程机械设备移动转向台

Cited By (4)

* Cited by examiner, † Cited by third party
Publication number Priority date Publication date Assignee Title
CN104085459A (zh) * 2014-06-10 2014-10-08 成都新筑展博环保科技有限公司 100吨级散装水泥仓及大型设备专用拖车
KR20180133907A (ko) * 2017-01-05 2018-12-17 베이징 셔우강 인터내셔널 엔지니어링 테크놀로지 컴퍼니 리미티드 능동 방향조절이 가능한 자기 주행 스틸 코일 운송차
KR102095924B1 (ko) * 2017-01-05 2020-04-01 베이징 셔우강 인터내셔널 엔지니어링 테크놀로지 컴퍼니 리미티드 능동 방향조절이 가능한 자기 주행 스틸 코일 운송차
CN110803087A (zh) * 2019-09-17 2020-02-18 徐州市凯诺机械有限公司 一种工程机械设备移动转向台

Similar Documents

Publication Publication Date Title
CN205837926U (zh) 一种发动机缸体自动翻转设备
CN203142672U (zh) 回转平板车
CN106335786A (zh) 玻璃片转运机
CN201737461U (zh) 双链辊道转盘机
CN204022300U (zh) 多级平衡梁形式的行走机构
CN101972908A (zh) 一种工序间旋转工位器具
CN102501221A (zh) 锁附旋转台
CN207173677U (zh) 一种模具运输架
CN203048250U (zh) 一种编织袋翻转机构
CN109702133A (zh) 一种翻转机械手及用于多工位冷镦机的机械手装置
CN206188004U (zh) 玻璃吊装转向机构
CN206142061U (zh) 一种用于笼式底架货舱的可折叠脚轮
CN205397186U (zh) 一种太阳能板转运车
CN203767575U (zh) 轮毂自动翻转机
CN104148455B (zh) 重型钢板库旋升成型制造系统
CN201924074U (zh) 一种旋转工作台
CN206074233U (zh) 一种用于汽车紧固件的螺栓检测装置
CN202336852U (zh) 锁附旋转台
CN202743966U (zh) 用于输送机上的重载荷旋转工作台
CN109592288A (zh) 一种斜轮分拣机构
CN203210228U (zh) 一种旋转工装板
CN202704367U (zh) 辊筒输送滑道
CN201682957U (zh) 豆腐翻板推动装置
CN208054832U (zh) 转向轮装置
CN202825395U (zh) 流水线生产用地轨转盘总成

Legal Events

Date Code Title Description
C14 Grant of patent or utility model
GR01 Patent grant
CF01 Termination of patent right due to non-payment of annual fee

Granted publication date: 20130821

Termination date: 20181206

CF01 Termination of patent right due to non-payment of annual fee