CN202768019U - 一种用于小城门断面的隧道衬砌台车 - Google Patents
一种用于小城门断面的隧道衬砌台车 Download PDFInfo
- Publication number
- CN202768019U CN202768019U CN201220445223.5U CN201220445223U CN202768019U CN 202768019 U CN202768019 U CN 202768019U CN 201220445223 U CN201220445223 U CN 201220445223U CN 202768019 U CN202768019 U CN 202768019U
- Authority
- CN
- China
- Prior art keywords
- tunnel lining
- lining trolley
- small city
- door frame
- section
- Prior art date
- Legal status (The legal status is an assumption and is not a legal conclusion. Google has not performed a legal analysis and makes no representation as to the accuracy of the status listed.)
- Expired - Fee Related
Links
- 229910000831 Steel Inorganic materials 0.000 claims abstract description 16
- 239000010959 steel Substances 0.000 claims abstract description 16
- 238000010276 construction Methods 0.000 claims description 5
- 238000009415 formwork Methods 0.000 abstract description 29
- 238000010586 diagram Methods 0.000 description 4
- 230000004048 modification Effects 0.000 description 2
- 238000012986 modification Methods 0.000 description 2
- 230000009286 beneficial effect Effects 0.000 description 1
- 238000009434 installation Methods 0.000 description 1
- 238000000034 method Methods 0.000 description 1
- XLYOFNOQVPJJNP-UHFFFAOYSA-N water Substances O XLYOFNOQVPJJNP-UHFFFAOYSA-N 0.000 description 1
- 238000003466 welding Methods 0.000 description 1
Images
Classifications
-
- Y—GENERAL TAGGING OF NEW TECHNOLOGICAL DEVELOPMENTS; GENERAL TAGGING OF CROSS-SECTIONAL TECHNOLOGIES SPANNING OVER SEVERAL SECTIONS OF THE IPC; TECHNICAL SUBJECTS COVERED BY FORMER USPC CROSS-REFERENCE ART COLLECTIONS [XRACs] AND DIGESTS
- Y02—TECHNOLOGIES OR APPLICATIONS FOR MITIGATION OR ADAPTATION AGAINST CLIMATE CHANGE
- Y02E—REDUCTION OF GREENHOUSE GAS [GHG] EMISSIONS, RELATED TO ENERGY GENERATION, TRANSMISSION OR DISTRIBUTION
- Y02E10/00—Energy generation through renewable energy sources
- Y02E10/20—Hydro energy
Landscapes
- Lining And Supports For Tunnels (AREA)
Abstract
一种用于小城门断面的隧道衬砌台车,包括侧模板、顶模板、门架立柱、托架、连接侧模板与门架之间的横向螺旋支撑千斤,所述门架立柱具有空心结构,所述侧模板内侧直接设有纵向槽钢,所述横向螺旋支撑千斤的一端穿过所述空心结构安装,另一端安装于所述纵向槽钢,这样可以在不影响脱模的情况下增加台车内部空间,方便车辆通行。
Description
技术领域
本实用新型涉及一种隧道施工机械,具体涉及用于隧道二次衬砌的一种小城门断面的隧道衬砌台车。
背景技术
目前,在隧道衬砌中,大断面的隧道一般都采用普通衬砌台车进行衬砌,但是在水利水电或市政工程中,通常会遇到一些城门形且其断面尺寸相对较小的隧道,比如高度小于5米,宽度小于4米,这样的隧道由于其断面为侧面直墙加顶部半圆弧的形式,而现有台车的门架和侧向支撑会占有相当一部分台车内部空间,所以使用常规台车衬砌会造成台车净空小导致车辆通行不便的问题。
公告号为CN201546737U,名称为外置门架式钢模台车的中国实用新型专利,针对上述技术问题提供了一种技术解决方案,包括台车两端的外置式门架,台车衬砌时连接在门架立柱之间上、下连接的横向支撑。但不足的是台车衬砌时需要人工连接横向支撑,衬砌完后还需要人工拆卸横向支撑以便于车辆通过,给施工带来不便。
实用新型内容
本实用新型所要解决的技术问题是提供一种增加台车内部空间,方便车辆通行的用于小城门断面的隧道衬砌台车。
为解决上述技术问题,本实用新型的一种用于小城门断面的隧道衬砌台车所采用的技术方案是:包括侧模板、顶模板、门架立柱、托架、连接侧模板与门架之间的横向螺旋支撑千斤,门架立柱具有空心结构,侧模板内侧直接设有纵向槽钢,横向螺旋支撑千斤的一端穿过空心结构安装,另一端安装于纵向槽钢。
优选的,纵向槽钢沿所述整个侧模板纵向延伸。
优选的,门架立柱的空心结构为矩形空心结构。
优选的,每一门架立柱的上部或下部至少各安装有一只横向螺旋支撑千斤。
优选的,顶模板与侧模板铰接于隧道断面的起拱线靠上部圆弧位置。
本实用新型的一种用于小城门断面的隧道衬砌台车的上述技术方案,相对于现有技术可以带来如下有益效果;
1、由于门架立柱采用空心结构,纵向槽钢直接设在侧模板的内侧,横向螺旋支撑千斤的一端穿过所述空心结构安装,另一端安装于纵向槽钢,这种结构方式可以大大减少侧模板与门架立柱之间空间,从而相应增加了台车内部空间,方便车辆通行。
2、由于顶模板与侧模板铰接于隧道断面的起拱线靠上部圆弧位置,增加了侧模板的脱模量,方便脱模。
附图说明
此处所说明的附图用来提供对本实用新型的进一步理解,构成本申请的一部分,本实用新型的示意性实施例及其说明用于解释本实用新型,并不构成对本实用新型的不当限定。在附图中:
图1是根据本实用新型的一种用于小城门断面的隧道衬砌台车的断面结构示意图;
图2是图1的侧向结构示意图;
图3是图1中横向上螺旋支撑千斤处的放大结构示意图:以及
图4是图1中侧模板与顶模板铰接处的放大结构示意图。
具体实施方式
需要说明的是,在不冲突的情况下,本申请中的实施例及实施例中的特征可以相互组合。下面将参考附图并结合实施例来详细说明本实用新型。
参见图1、图2,本实用新型的一种用于小城门断面的隧道衬砌台车的实施例,主要由走行机构1、门架纵梁2、顶升机构3、门架4、水平移动机构10、托架7、顶模板8、侧模板11、横向螺旋支撑千斤5、斜支撑12以及螺旋支撑千斤13组成。
沿台车的纵向,间隔分布有四组门架4,每组门架4包括门架横梁43,连接在门架横梁43两端下侧的门架立柱41,门架立柱41下端分别连接在门架纵梁2的上侧面,各组门架立柱41的纵向之间连接有组合斜撑12,通过组合斜撑12可以将各门架4连接成为稳定的整体结构。
门架横梁43上部对称的设有两根纵滑梁6,在该两根纵滑梁6的端部,各连接有横向移动机构10,该横移机构10包括连接两纵滑梁6的的横杆和分别铰接在横杆和门架纵梁43上的横移油缸。
在两根纵滑梁6的上面,连接有托架7的托架横梁71,托架横梁71的上面与顶模板8之间,连接有不同长度的连接支撑72。其中较长的连接支撑72位于顶模板8弧形面的中部,较短的连接支撑72位于顶模板8弧形面的对称两端。
通过横移油缸的作用,可以使两纵滑梁6在门架横梁43的上平面水平左右移动,从而带动连接其上的托架7和顶模板8水平左右移动,实现台车相对于隧道中线的对位。
每一门架纵梁2的端部,还分别设有升降机构3,升降机构3采用导柱导套滑动结构,导套固结在门架纵梁2的端部,导柱竖直插入导套,导柱上部连接顶升油缸,顶升油缸的上部固结在门架纵梁2的凸出支撑台上,导柱下部铰接走行机构1,通过顶升油缸,可以将设置在每一门架纵梁2端部的导柱向下伸出或缩回,从而实现台车的整体升降调整。此外,升降机构3设置在门架4的下部,相对于设置在门架4上部来说,可以增加门架4的内部净空高度,方便车辆通行。
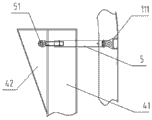
门架立柱41具有空心结构,可采用拼焊方式焊接成矩形空心结构,在每组门架立柱41的两侧上部,开设有便于横向螺旋支撑千斤5通过的对穿孔,在门架纵梁2的下侧壁,设有横向螺旋支撑千斤5的铰接耳座。
结合参见图3,侧模板11的内侧,沿侧模板11的上、下位置,分别直接铺设有纵向槽钢111,该纵向槽钢沿整个侧模板纵向延伸,在每一槽钢的相应位置,设有横向螺旋支撑千斤5的铰接耳座,安装时,在门架立柱41的两侧上部,横向螺旋支撑千斤5的一端铰接于槽钢耳座,另一端穿过门架立柱41的对穿孔,使用转销51铰接于斜撑板42之间,在门架立柱41的两侧下部,横向螺旋支撑千斤5的一端铰接于槽钢耳座,另一端铰接于设置在门架纵梁2的下侧壁的铰接耳座。由于位于上部的横向螺旋支撑千斤5可以穿过门架立柱41,位于下部的横向螺旋支撑千斤5铰接于门架纵梁2的下侧壁,可以大大减小门架立柱41与侧模板11的距离,从而相应加宽了台车的内部空间,便于车辆通过。
结合参见图4,顶模板8与侧模板11铰接于隧道断面的起拱线靠上部圆弧位置,即靠近顶模板8圆弧的上部,这样侧模板11可以明显增加脱模量,方便脱模。为了增加模板铰接点的支撑强度,在靠近铰接点的侧模板11上,还设有一端带卡接式的斜撑杆千斤15,该卡接头卡接于托架横梁7的两端部。
参见图2,为使台车衬砌时门架纵梁2受力均匀,增加台车的稳定性,在衬砌时沿门架纵梁2设置有多个支撑与地面的竖向螺旋支撑千斤13。
以上所述仅为本实用新型的优选实施例而已,并不用于限制本实用新型,对于本领域的技术人员来说,本实用新型可以有各种更改和变化。凡在本实用新型的精神和原则之内,所作的任何修改、等同替换、改进等,均应包含在本实用新型的保护范围之内。
Claims (5)
1. 一种用于小城门断面的隧道衬砌台车,包括侧模板、顶模板、门架立柱、托架、连接侧模板与门架之间的横向螺旋支撑千斤,其特征在于,所述门架立柱具有空心结构,所述侧模板内侧直接设有纵向槽钢,所述横向螺旋支撑千斤的一端穿过所述空心结构安装,另一端安装于所述纵向槽钢。
2.根据权利要求1所述的用于小城门断面的隧道衬砌台车,其特征在于,所述纵向槽钢沿所述整个侧模板纵向延伸。
3.根据权利要求1所述的用于小城门断面的隧道衬砌台车,其特征在于,所述门架立柱的空心结构为矩形空心结构。
4.根据权利要求1所述的用于小城门断面的隧道衬砌台车,其特征在于,所述每一门架立柱的上部或下部至少各安装有一只所述横向螺旋支撑千斤。
5.根据权利要求1所述的用于小城门断面的隧道衬砌台车,其特征在于,所述顶模板与侧模板铰接于隧道断面的起拱线靠上部圆弧位置。
Priority Applications (1)
| Application Number | Priority Date | Filing Date | Title |
|---|---|---|---|
| CN201220445223.5U CN202768019U (zh) | 2012-09-04 | 2012-09-04 | 一种用于小城门断面的隧道衬砌台车 |
Applications Claiming Priority (1)
| Application Number | Priority Date | Filing Date | Title |
|---|---|---|---|
| CN201220445223.5U CN202768019U (zh) | 2012-09-04 | 2012-09-04 | 一种用于小城门断面的隧道衬砌台车 |
Publications (1)
| Publication Number | Publication Date |
|---|---|
| CN202768019U true CN202768019U (zh) | 2013-03-06 |
Family
ID=47774602
Family Applications (1)
| Application Number | Title | Priority Date | Filing Date |
|---|---|---|---|
| CN201220445223.5U Expired - Fee Related CN202768019U (zh) | 2012-09-04 | 2012-09-04 | 一种用于小城门断面的隧道衬砌台车 |
Country Status (1)
| Country | Link |
|---|---|
| CN (1) | CN202768019U (zh) |
Cited By (8)
| Publication number | Priority date | Publication date | Assignee | Title |
|---|---|---|---|---|
| CN104033166A (zh) * | 2014-06-26 | 2014-09-10 | 湖南五新重型装备有限公司 | 一种隧道衬砌台车的门架系统 |
| CN104088650A (zh) * | 2014-07-14 | 2014-10-08 | 中铁二局股份有限公司 | 一种整体自行式液压衬砌台车及其改装方法 |
| CN104265328A (zh) * | 2014-09-23 | 2015-01-07 | 中铁二十一局集团轨道交通工程有限公司 | 地铁隧道变化断面二衬施工便调式台车 |
| CN104500103A (zh) * | 2015-01-12 | 2015-04-08 | 湖南五新重型装备有限公司 | 隧道衬砌台车 |
| CN104564099A (zh) * | 2014-12-22 | 2015-04-29 | 中铁二十一局集团路桥工程有限公司 | 隧道施工钢筋绑扎所用自走式模架 |
| CN105736014A (zh) * | 2016-03-28 | 2016-07-06 | 将乐县国通隧道机械有限公司 | 一种隧道衬砌台车 |
| CN106050268A (zh) * | 2016-08-08 | 2016-10-26 | 中国葛洲坝集团第五工程有限公司 | 圆角矩形截面隧洞混凝土衬砌用钢模台车 |
| CN112145205A (zh) * | 2020-09-01 | 2020-12-29 | 王文革 | 一种隧道防水板的安装放置架及使用方法 |
-
2012
- 2012-09-04 CN CN201220445223.5U patent/CN202768019U/zh not_active Expired - Fee Related
Cited By (9)
| Publication number | Priority date | Publication date | Assignee | Title |
|---|---|---|---|---|
| CN104033166A (zh) * | 2014-06-26 | 2014-09-10 | 湖南五新重型装备有限公司 | 一种隧道衬砌台车的门架系统 |
| CN104088650A (zh) * | 2014-07-14 | 2014-10-08 | 中铁二局股份有限公司 | 一种整体自行式液压衬砌台车及其改装方法 |
| CN104265328A (zh) * | 2014-09-23 | 2015-01-07 | 中铁二十一局集团轨道交通工程有限公司 | 地铁隧道变化断面二衬施工便调式台车 |
| CN104564099A (zh) * | 2014-12-22 | 2015-04-29 | 中铁二十一局集团路桥工程有限公司 | 隧道施工钢筋绑扎所用自走式模架 |
| CN104500103A (zh) * | 2015-01-12 | 2015-04-08 | 湖南五新重型装备有限公司 | 隧道衬砌台车 |
| CN105736014A (zh) * | 2016-03-28 | 2016-07-06 | 将乐县国通隧道机械有限公司 | 一种隧道衬砌台车 |
| CN105736014B (zh) * | 2016-03-28 | 2018-11-20 | 将乐县国通隧道机械有限公司 | 一种隧道衬砌台车 |
| CN106050268A (zh) * | 2016-08-08 | 2016-10-26 | 中国葛洲坝集团第五工程有限公司 | 圆角矩形截面隧洞混凝土衬砌用钢模台车 |
| CN112145205A (zh) * | 2020-09-01 | 2020-12-29 | 王文革 | 一种隧道防水板的安装放置架及使用方法 |
Similar Documents
| Publication | Publication Date | Title |
|---|---|---|
| CN202768019U (zh) | 一种用于小城门断面的隧道衬砌台车 | |
| CN102296971B (zh) | 一种隧道紧急避车带的衬砌方法及隧道衬砌台车 | |
| CN105926929B (zh) | 一种直墙混凝土的浇筑施工方法 | |
| CN103806926B (zh) | 砼衬砌钢模台车的变跨变高装置 | |
| CN102230381B (zh) | 一种空心针梁衬砌台车 | |
| CN206092022U (zh) | 一种用于衬砌矩形断面或放射渐变矩形断面爬行式作业车 | |
| CN207944955U (zh) | 隧道加宽段二衬台车 | |
| CN105736016A (zh) | 隧道二衬钢筋骨架施工装备及其应用 | |
| CN205805577U (zh) | 一种拱墙式明洞台车 | |
| CN207673355U (zh) | 一种隧道过渡段断面衬砌台车 | |
| CN203742618U (zh) | 砼衬砌钢模台车的变跨变高装置 | |
| CN105422137B (zh) | 隧道大净空模块化衬砌台车 | |
| CN205908300U (zh) | 水沟电缆槽移动台车 | |
| CN104763447B (zh) | 一种贝雷片组合式钢模台车 | |
| CN205206841U (zh) | 隧道大净空模块化衬砌台车 | |
| CN205955749U (zh) | 一种隧道仰拱施工装置 | |
| CN210289796U (zh) | 自行式单线隧道液压水沟电缆槽台车 | |
| CN206329348U (zh) | 一种小型隧道衬砌台车 | |
| CN209510341U (zh) | 一种主避洞一体式衬砌台车 | |
| CN208249770U (zh) | 一种明挖涵、隧管壁钢筋网架平移装配系统用台车 | |
| CN207161095U (zh) | 一种用于城市地下综合管廊主体结构施工的整体内模台车 | |
| CN202165091U (zh) | 一种隧道中隔墙衬砌模板台车 | |
| CN206636581U (zh) | 一种盾构隧道二次衬砌施工台车 | |
| CN203175575U (zh) | 砼衬砌钢模台车侧模板支撑装置 | |
| CN117513412A (zh) | 一种明挖双连拱隧道模板台车及施工方法 |
Legal Events
| Date | Code | Title | Description |
|---|---|---|---|
| C14 | Grant of patent or utility model | ||
| GR01 | Patent grant | ||
| CF01 | Termination of patent right due to non-payment of annual fee |
Granted publication date: 20130306 Termination date: 20150904 |
|
| EXPY | Termination of patent right or utility model |