CN202247920U - Construction structure for water drainage of blind ditch and water collecting wells in deep foundation pit - Google Patents
Construction structure for water drainage of blind ditch and water collecting wells in deep foundation pit Download PDFInfo
- Publication number
- CN202247920U CN202247920U CN201120371294.0U CN201120371294U CN202247920U CN 202247920 U CN202247920 U CN 202247920U CN 201120371294 U CN201120371294 U CN 201120371294U CN 202247920 U CN202247920 U CN 202247920U
- Authority
- CN
- China
- Prior art keywords
- water collection
- well
- water
- collection well
- foundation pit
- Prior art date
- Legal status (The legal status is an assumption and is not a legal conclusion. Google has not performed a legal analysis and makes no representation as to the accuracy of the status listed.)
- Expired - Fee Related
Links
- XLYOFNOQVPJJNP-UHFFFAOYSA-N water Substances O XLYOFNOQVPJJNP-UHFFFAOYSA-N 0.000 title claims abstract description 85
- 238000010276 construction Methods 0.000 title claims abstract description 17
- 239000010410 layer Substances 0.000 claims abstract description 19
- 239000011449 brick Substances 0.000 claims abstract description 7
- 239000004744 fabric Substances 0.000 claims abstract description 6
- 239000011241 protective layer Substances 0.000 claims abstract description 4
- 229910000831 Steel Inorganic materials 0.000 claims description 20
- 239000010959 steel Substances 0.000 claims description 20
- 239000012634 fragment Substances 0.000 claims description 2
- 239000003673 groundwater Substances 0.000 abstract description 12
- 239000002352 surface water Substances 0.000 abstract description 5
- 239000004575 stone Substances 0.000 abstract 1
- 238000001556 precipitation Methods 0.000 description 8
- 238000000034 method Methods 0.000 description 7
- 238000005553 drilling Methods 0.000 description 4
- 238000009527 percussion Methods 0.000 description 4
- 238000009412 basement excavation Methods 0.000 description 3
- 239000012528 membrane Substances 0.000 description 3
- 230000008901 benefit Effects 0.000 description 2
- 238000005266 casting Methods 0.000 description 1
- 239000012141 concentrate Substances 0.000 description 1
- 230000007123 defense Effects 0.000 description 1
- 230000007812 deficiency Effects 0.000 description 1
- 238000010586 diagram Methods 0.000 description 1
- 230000009977 dual effect Effects 0.000 description 1
- 230000007613 environmental effect Effects 0.000 description 1
- 230000005484 gravity Effects 0.000 description 1
- 230000008595 infiltration Effects 0.000 description 1
- 238000001764 infiltration Methods 0.000 description 1
- 230000000149 penetrating effect Effects 0.000 description 1
- 230000002787 reinforcement Effects 0.000 description 1
- 230000000630 rising effect Effects 0.000 description 1
- 239000011435 rock Substances 0.000 description 1
- 239000002689 soil Substances 0.000 description 1
Images
Classifications
-
- Y—GENERAL TAGGING OF NEW TECHNOLOGICAL DEVELOPMENTS; GENERAL TAGGING OF CROSS-SECTIONAL TECHNOLOGIES SPANNING OVER SEVERAL SECTIONS OF THE IPC; TECHNICAL SUBJECTS COVERED BY FORMER USPC CROSS-REFERENCE ART COLLECTIONS [XRACs] AND DIGESTS
- Y02—TECHNOLOGIES OR APPLICATIONS FOR MITIGATION OR ADAPTATION AGAINST CLIMATE CHANGE
- Y02A—TECHNOLOGIES FOR ADAPTATION TO CLIMATE CHANGE
- Y02A30/00—Adapting or protecting infrastructure or their operation
- Y02A30/60—Planning or developing urban green infrastructure
Landscapes
- Underground Structures, Protecting, Testing And Restoring Foundations (AREA)
Abstract
本实用新型公开了一种深基坑内盲沟和集水井排水的施工结构,它包括设置在挖好的基坑内地势低的一侧的一条盲沟,盲沟与地势低侧的基坑侧壁平行设置,在盲沟内从下至上依次铺设有片石层、碎片层和彩条布,在基坑内挖有多个集水井井坑,在集水井井坑的底壁上铺砌有砖并且在集水井井坑内围砌有集水井侧壁形成集水井,在集水井的外侧壁与集水井井坑内侧壁之间满填有碎石,在集水井的顶端的收口位置安装有圆套管,盲沟与每一个集水井之间通过一根倾斜设置的导管相连通设置,在多个集水井井坑顶壁至彩条布部分顶面之间从下至上依次铺设有垫层、防水层和防水保护层。采用本结构可以有效的解决地势北高南低,北侧地表水、地下水均流入基坑的问题。
The utility model discloses a construction structure for drainage of blind ditches and water collection wells in deep foundation pits. Arranged in parallel, lay stone layers, debris layers and colored strips in sequence from bottom to top in the blind ditch, dig a number of water collection well pits in the foundation pit, and lay bricks on the bottom wall of the water collection well pits. The side wall of the water collection well is surrounded by the side wall of the water collection well to form a water collection well. The space between the outer wall of the water collection well and the inner wall of the water collection well pit is filled with gravel, and a round casing is installed at the closing position of the top of the water collection well. The ditch is connected to each water collection well through an inclined conduit. Between the top wall of the pits of multiple water collection wells and the top surface of the color strip cloth part, a cushion layer, a waterproof layer and a waterproof layer are laid sequentially from bottom to top. The protective layer. Adopting this structure can effectively solve the problem that the terrain is high in the north and low in the south, and both surface water and groundwater on the north side flow into the foundation pit.
Description
技术领域 technical field
本实用新型涉及一种深基坑内排水施工方法,尤其涉及一种深基坑内盲沟和集水井排水的施工方法。The utility model relates to a construction method for drainage in deep foundation pits, in particular to a construction method for drainage of blind ditches and water collection wells in deep foundation pits.
背景技术 Background technique
随着城市建设的发展,高层建筑、人防工程和地铁工程大量涌现。基坑支护的成功与否直接影响工程建设的效益与成败。地下水作为岩土体的赋存环境因素,对基坑工程的影响往往是不利的。对于地下水位较高的地区,基坑开挖中需大面积的临时性降水和止水,若对基坑中地下水处理不当,易造成基坑坍塌、地面沉降等事故。在深基坑工程的挖土与地下室施工中,要保证在“干”状态下的施工。为解决这个问题,通常采取的办法有:止水、降水与排水。止水采用止水帷幕的形式,目的是阻挡基坑外来水的渗入。降水是使地下水位保持在基坑底面0.5~1.0米以下,方便挖土与底板干作业.降水方法有轻型井点、喷射井点、电渗井点、管井井点等等;排水是将基坑范围内地表水与地下水排除,常用截水沟-集水井的方式明排水。对截水沟-集水井的施工方法很多。但是目前对于地势北高南低,北侧地表水、地下水均流入基坑,另因预应力锚索穿透止水帷幕,北侧地下水通过自由段流入基坑。而且现场北侧围护桩边与底板砖胎膜边净距太小,此处无法保证基坑明排沟排水要求。With the development of urban construction, a large number of high-rise buildings, civil air defense projects and subway projects have emerged. The success of foundation pit support directly affects the benefit and success of engineering construction. As the environmental factor of rock and soil mass, groundwater often has a negative impact on foundation pit engineering. For areas with a high groundwater level, a large area of temporary precipitation and water stop is required during foundation pit excavation. If the groundwater in the foundation pit is not properly treated, it is easy to cause accidents such as foundation pit collapse and ground subsidence. In the excavation and basement construction of deep foundation pit engineering, it is necessary to ensure that the construction is in a "dry" state. To solve this problem, the methods usually adopted are: water stop, precipitation and drainage. The water stop is in the form of a water stop curtain, the purpose of which is to block the infiltration of external water from the foundation pit. Precipitation is to keep the groundwater level below 0.5 to 1.0 meters below the bottom of the foundation pit, which is convenient for excavation and floor dry operations. The methods of precipitation include light well points, jet well points, electroosmotic well points, tube well points, etc.; The surface water and groundwater in the pit range are drained, and the way of intercepting ditch-collecting well is often used for clear drainage. There are many construction methods for intercepting ditch-water collection well. However, at present, the terrain is high in the north and low in the south, both the surface water and groundwater on the north side flow into the foundation pit, and because the prestressed anchor cable penetrates the water-stop curtain, the groundwater on the north side flows into the foundation pit through the free section. Moreover, the net distance between the edge of the enclosure pile on the north side of the site and the edge of the floor brick membrane is too small, and the drainage requirements of the open ditch of the foundation pit cannot be guaranteed here.
通过检索得知已授权的专利:Authorized patents obtained by searching:
1申请号为CN200820062278.1的中国专利公开了“可回收式冲击钻钢管降水井”,其中可回收式冲击钻钢管降水井管体由标准钢管段组成,标准钢管段之间通过焊接相临管壁端进行连接,标准钢管段的数量为2至4根,可回收式冲击钻钢管降水井垂直设置在地面下,降水井上端、降水井下端开放,降水井下端设置潜水泵。这项专利公开的是可回收式冲击钻钢管降水井的结构,本专利公开的是一种深基坑内盲沟和集水井排水的施工方法,与本专利所述的盲沟和集水井结构也不同。1 The Chinese patent with the application number CN200820062278.1 discloses "recoverable percussion drilling steel pipe dewatering well", wherein the body of the recyclable percussion drilling steel pipe dewatering well is composed of standard steel pipe sections, and the standard steel pipe sections are welded to adjacent pipes The wall ends are connected, the number of standard steel pipe sections is 2 to 4, the recyclable percussion drilling steel pipe precipitation well is vertically arranged under the ground, the upper end of the precipitation well and the lower end of the precipitation well are open, and a submersible pump is installed at the lower end of the precipitation well. What this patent discloses is the structure of the recyclable percussion drilling steel pipe dewatering well. What this patent discloses is a construction method for drainage of blind ditch and water collection well in deep foundation pits. It is also similar to the blind ditch and water collection well structure described in this patent. different.
2申请号为CN201020666433.8的中国专利公开了“防冒味集水井盖”,包括有圈体、拍门销、挡板和拍门重锤体组成。圈体是主体件,圈体的外形可以根据集水井口的形式设定,所以可以是方形,也可以是圆形的。拍门销的两端穿入并固定在圈体的内壁上,挡板的上端部设置有穿入拍门销用的通孔,挡板上端的通孔穿入并吊挂在拍门销上。挡板呈倾斜状,挡板的上端后侧面,连接设置有拍门重锤体。在拍门重锤体的下垂力作用下,挡板的下端会自动上抬,并与前面的拍门重锤体相接触。依此,在拍门重锤体的重力作用下,挡板就会与拍门重锤体相配合,将集水井口封闭,防止气味上冒。如遇有雨水下压,下压力就会克服拍门重锤体的下垂重力,使挡板的下端向下移动,也就打开了挡板,实现雨水下泄。2 The Chinese patent application number CN201020666433.8 discloses an "odor-proof water collection well cover", which comprises a ring body, a flapper pin, a baffle plate and a flapper weight body. The ring body is the main part, and the shape of the ring body can be set according to the form of the head of the water collection well, so it can be square or circular. The two ends of the flapper pin are penetrated and fixed on the inner wall of the ring body, the upper end of the baffle is provided with a through hole for penetrating the flapper pin, and the through hole at the top of the baffle is penetrated and hung on the flapper pin . The baffle is inclined, and the rear side of the upper end of the baffle is connected with a flapper weight body. Under the action of the drooping force of the flapper weight, the lower end of the baffle will automatically lift up and contact the front flapper weight. According to this, under the gravitational action of the flapper weight body, the baffle plate will cooperate with the flapper weight body to seal the mouth of the water collection well and prevent the smell from rising. If there is rainwater to press down, the downward pressure will overcome the drooping gravity of the hammer body of the flapper, so that the lower end of the baffle plate is moved downward, and the baffle plate is opened, so that the rainwater is discharged.
3申请号为CN201110002790.3的中国专利公开了“深基坑盲沟集水井降排水方法及装置”,该方法将地下室外墙外侧的积水通过截水沟集中流入地下室底板下部的盲沟管,地下室内的积水经泄水孔集中流入底板下部盲沟管,然后经盲沟管引至临时集水井,使用水泵外排。3 The Chinese patent with the application number CN201110002790.3 discloses the "Method and Device for Drainage and Drainage of Blind Ditch Water Collection Wells in Deep Foundation Pit". This method concentrates the accumulated water on the outside of the basement exterior wall into the blind ditch pipe at the lower part of the basement floor through the intercepting ditch. , the accumulated water in the basement flows into the blind ditch pipe at the lower part of the floor through the drain hole, and then is led to the temporary water collection well through the blind ditch pipe, and is discharged by the water pump.
4申请号为CN201020645284.7的中国专利公开了“一种用于基坑护壁排水施工过程中的集水井系统”,该集水井系统包括集水井本体,还包括设置在集水井本体内的至少一根降水管,以及一端设置在降水管内、另一端与水泵相连的吸水管;所述降水管的侧壁上设置有降水孔,且降水管的四周设置有滤水层。4 The Chinese patent with the application number CN201020645284.7 discloses "a water collection well system used in the construction process of foundation pit retaining wall drainage". The water collection well system includes a water collection well body and at least one A downwater pipe, and a water suction pipe with one end arranged in the downwater pipe and the other end connected to the water pump; a downwater hole is arranged on the side wall of the downwater pipe, and a filter layer is arranged around the downwater pipe.
5申请号为CN201020252346.8的中国专利公开了“双集水井地下室排水系统”,该系统包括设置于地下室附近的集水井I和靠近市政排水管网设置的集水井II,集水井I的底部和集水井II的底部通过连通管连通,集水井II的水井壁上设置有溢水口,所述管道为倒U形PVC管,PVC管的一端设置于集水井I的底部,另一端设置于集水井II的底部形成连通器结构。5. The Chinese patent application number CN201020252346.8 discloses a "dual water collection well basement drainage system", which includes a water collection well I near the basement and a water collection well II near the municipal drainage pipe network. The bottom of the water collection well I and The bottom of the water collection well II is connected by a connecting pipe. An overflow port is arranged on the water well wall of the water collection well II. The pipe is an inverted U-shaped PVC pipe. One end of the PVC pipe is set at the bottom of the water collection well I, and the other end is set at the water collection well. The bottom of II forms a communicator structure.
上述2-5项专利的排水施工方法都有一系列的优点,但是不适用于地势北高南低,北侧地表水、地下水均流入基坑,另因预应力锚索穿透止水帷幕,北侧地下水通过自由段流入基坑。而且现场北侧围护桩边与底板砖胎膜边净距太小,无法保证基坑明排沟排水要求。The drainage construction methods of the above-mentioned 2-5 patents have a series of advantages, but they are not suitable for the terrain that is high in the north and low in the south, and both surface water and groundwater on the north side flow into the foundation pit. The side groundwater flows into the foundation pit through the free section. Moreover, the net distance between the edge of the enclosure pile on the north side of the site and the edge of the floor brick membrane is too small to ensure the drainage requirements of the open ditch of the foundation pit.
发明内容 Contents of the invention
本实用新型的目的在于克服已有技术的不足,提供一种可以有效保证基坑排水要求的一种深基坑内盲沟和集水井排水的施工结构。The purpose of the utility model is to overcome the deficiencies of the prior art and provide a construction structure for drainage of blind ditches and water collection wells in deep foundation pits that can effectively ensure the drainage requirements of foundation pits.
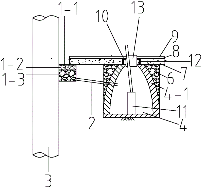
本实用新型的一种深基坑内盲沟和集水井排水的施工结构,它包括设置在挖好的基坑内地势低的一侧的一条盲沟,所述的盲沟与地势低侧的基坑侧壁平行设置,在所述的盲沟内从下至上依次铺设有片石层、碎片层和彩条布,在基坑内挖有多个与所述的盲沟平行且间隔设置的集水井井坑,在每一个所述的集水井井坑的底壁上铺砌有砖并且在集水井井坑内围砌有弧形集水井侧壁形成集水井,在所述的集水井的外侧壁与集水井井坑内侧壁之间满填有碎石,在所述的集水井的顶端的收口位置安装有圆套管,在所述的圆套管的周圈围焊有钢板止水环,在所述的钢板止水环的底面对称焊接有至少四根钢筋,所述的至少四根钢筋支撑设置在所述的集水井顶壁上,所述的盲沟与每一个集水井之间通过一根倾斜设置的导管相连通设置,在所述的多个集水井井坑顶壁至彩条布部分顶面之间从下至上依次铺设有垫层、防水层和防水保护层。The utility model relates to a construction structure for drainage of blind ditches and water collection wells in deep foundation pits. The side walls are arranged in parallel, and the flake layer, the fragment layer and the colored strip cloth are successively laid in the blind ditch from bottom to top, and a plurality of water collection wells parallel to the blind ditch and arranged at intervals are dug in the foundation pit , bricks are paved on the bottom wall of each of the well pits of the water collection wells and arc-shaped side walls of the water collection wells are enclosed in the well pits of the water collection wells to form a water collection well, and the outer walls of the water collection wells are connected with the water collection well The inner wall of the pit is filled with gravel, and a circular casing is installed at the closing position of the top of the water collection well, and a steel plate waterstop ring is welded around the circumference of the circular casing. The bottom surface of the steel plate water stop ring is symmetrically welded with at least four steel bars, and the at least four steel bars are supported on the top wall of the water collection well, and the blind ditch and each water collection well are connected by an inclined The conduits are connected and arranged, and a cushion layer, a waterproof layer and a waterproof protective layer are sequentially laid from bottom to top between the top wall of the plurality of water collection wells and the top surface of the color strip cloth part.
采用本实用新型结构成本低、整体性、适用性强,稳定性好,可靠性高;可以有效的解决地势北高南低,北侧地表水、地下水均流入基坑的问题,并且可以解决因预应力锚索穿透止水帷幕,北侧地下水通过自由段流入基坑以及现场北侧围护桩边与底板砖胎膜边净距太小,无法保证基坑明排沟排水要求的问题。Adopting the structure of the utility model has low cost, strong integrity, strong applicability, good stability and high reliability; it can effectively solve the problem that the terrain is high in the north and low in the south, and both surface water and groundwater on the north side flow into the foundation pit, and can solve the problems caused by The prestressed anchor cable penetrates the water-stop curtain, the groundwater on the north side flows into the foundation pit through the free section, and the net distance between the edge of the surrounding pile on the north side of the site and the edge of the floor brick membrane is too small to ensure the drainage requirements of the foundation pit's open drainage ditch.
附图说明 Description of drawings
图1是本实用新型的一种深基坑内盲沟和集水井排水施工结构的结构俯视图;Fig. 1 is a structural top view of a blind ditch in a deep foundation pit and a water collection well drainage construction structure of the present utility model;
图2是图1所示的结构的纵向剖面图;Fig. 2 is a longitudinal sectional view of the structure shown in Fig. 1;
图3是在图2所示的结构的基础上浇注底板的结构示意图;Fig. 3 is the structural representation of casting base plate on the basis of the structure shown in Fig. 2;
图4是图2所示的结构中的套管部分结构示意图;Fig. 4 is a schematic diagram of the casing part in the structure shown in Fig. 2;
图5是图4所示的套管部分的俯视图。FIG. 5 is a top view of the bushing portion shown in FIG. 4 .
具体实施方式 Detailed ways
下面结合具体的实施例,并参照附图,对本实用新型做进一步的说明:Below in conjunction with specific embodiment, and with reference to accompanying drawing, the utility model is further described:
如图所示的一种深基坑内盲沟和集水井排水的施工结构,它包括设置在挖好的基坑内地势低的一侧的一条盲沟1,所述的盲沟1与地势低侧的基坑侧壁平行设置,在所述的盲沟内从下至上依次铺设有片石层1-3、碎片层1-2和彩条布1-1,在基坑内挖有多个与所述的盲沟平行且间隔设置的集水井井坑4,在每一个所述的集水井井坑的底壁上铺砌有砖并且在集水井井坑内围砌有弧形集水井侧壁4-1形成集水井,在所述的集水井的外侧壁与集水井井坑内侧壁之间满填有碎石6,在所述的集水井的顶端的收口位置安装有圆套管13,在所述的圆套管的周圈围焊有钢板止水环10,在所述的钢板止水环的底面对称焊接有至少四根钢筋12,所述的至少四根钢筋支撑设置在所述的集水井顶壁上,所述的盲沟1与每一个集水井4之间通过一根倾斜设置的导管2相连通设置,在所述的多个集水井井坑顶壁至彩条布部分顶面之间从下至上依次铺设有垫层7、防水层8和防水保护层9。图中3为基坑的围护桩。As shown in the figure, a construction structure of blind ditch and water collection well drainage in a deep foundation pit, it includes a blind ditch 1 arranged on the low side of the excavated foundation pit, and the blind ditch 1 is connected to the low side of the terrain. The side walls of the foundation pit are arranged in parallel, and the flake layer 1-3, the debris layer 1-2 and the color strip cloth 1-1 are successively laid in the blind ditch from bottom to top. The blind ditch of the water-collecting well pits 4 arranged in parallel and at intervals, bricks are paved on the bottom wall of each of the water-collecting well pits and an arc-shaped water-collecting well side wall 4-1 is formed in the water-collecting well pits The water collection well is filled with gravel 6 between the outer wall of the water collection well and the inner wall of the water collection well pit, and a
本结构的操作方法如下:将水泵11放入每一集水井,视水位情况进行抽水;完成抽水后撤出集水井内的水泵,然后在所述的集水井内灌满砼,再将集水井上的套管13用圆钢板14满焊封堵并在所述的防水保护层上绑扎底板钢筋,浇注底板混凝土5。The operation method of this structure is as follows: put the
Claims (1)
Priority Applications (1)
| Application Number | Priority Date | Filing Date | Title |
|---|---|---|---|
| CN201120371294.0U CN202247920U (en) | 2011-09-27 | 2011-09-27 | Construction structure for water drainage of blind ditch and water collecting wells in deep foundation pit |
Applications Claiming Priority (1)
| Application Number | Priority Date | Filing Date | Title |
|---|---|---|---|
| CN201120371294.0U CN202247920U (en) | 2011-09-27 | 2011-09-27 | Construction structure for water drainage of blind ditch and water collecting wells in deep foundation pit |
Publications (1)
| Publication Number | Publication Date |
|---|---|
| CN202247920U true CN202247920U (en) | 2012-05-30 |
Family
ID=46109182
Family Applications (1)
| Application Number | Title | Priority Date | Filing Date |
|---|---|---|---|
| CN201120371294.0U Expired - Fee Related CN202247920U (en) | 2011-09-27 | 2011-09-27 | Construction structure for water drainage of blind ditch and water collecting wells in deep foundation pit |
Country Status (1)
| Country | Link |
|---|---|
| CN (1) | CN202247920U (en) |
Cited By (6)
| Publication number | Priority date | Publication date | Assignee | Title |
|---|---|---|---|---|
| CN102888851A (en) * | 2012-09-29 | 2013-01-23 | 中国华冶科工集团有限公司 | Deep water level plash and construction method thereof |
| CN103147445A (en) * | 2013-03-26 | 2013-06-12 | 中交第四航务工程勘察设计院有限公司 | Novel open-sea deep foundation pit support structure |
| CN104179189A (en) * | 2014-08-29 | 2014-12-03 | 上海建工七建集团有限公司 | Dewatering and drainage structure of foundation pit deep drop area and construction method thereof |
| CN104196046A (en) * | 2014-08-30 | 2014-12-10 | 上海联境建筑工程设计有限公司 | Water resisting and draining system for lowering underground anti-floating water level |
| CN105625448A (en) * | 2014-10-31 | 2016-06-01 | 龚展宇 | Underground water drainage method and device for underground building |
| CN106638641A (en) * | 2016-12-16 | 2017-05-10 | 中建四局第建筑工程有限公司 | Water well structure for foundation pit dewatering and construction method thereof |
-
2011
- 2011-09-27 CN CN201120371294.0U patent/CN202247920U/en not_active Expired - Fee Related
Cited By (7)
| Publication number | Priority date | Publication date | Assignee | Title |
|---|---|---|---|---|
| CN102888851A (en) * | 2012-09-29 | 2013-01-23 | 中国华冶科工集团有限公司 | Deep water level plash and construction method thereof |
| CN103147445A (en) * | 2013-03-26 | 2013-06-12 | 中交第四航务工程勘察设计院有限公司 | Novel open-sea deep foundation pit support structure |
| CN104179189A (en) * | 2014-08-29 | 2014-12-03 | 上海建工七建集团有限公司 | Dewatering and drainage structure of foundation pit deep drop area and construction method thereof |
| CN104196046A (en) * | 2014-08-30 | 2014-12-10 | 上海联境建筑工程设计有限公司 | Water resisting and draining system for lowering underground anti-floating water level |
| CN105625448A (en) * | 2014-10-31 | 2016-06-01 | 龚展宇 | Underground water drainage method and device for underground building |
| CN106638641A (en) * | 2016-12-16 | 2017-05-10 | 中建四局第建筑工程有限公司 | Water well structure for foundation pit dewatering and construction method thereof |
| CN106638641B (en) * | 2016-12-16 | 2018-11-09 | 中建四局第一建筑工程有限公司 | Base pit dewatering well structure and its construction method |
Similar Documents
| Publication | Publication Date | Title |
|---|---|---|
| CN102418347B (en) | Drainage construction method for blind drain and sump wells in deep foundation pit | |
| CN103510528B (en) | For the blind drainage structure of underground structure anti-floating | |
| CN103046565B (en) | Draining method for ultra-deep batholith deep foundation pit | |
| LU500273B1 (en) | New comprehensive dewatering and drainage method and drainage device for mudstone subway station | |
| CN202247920U (en) | Construction structure for water drainage of blind ditch and water collecting wells in deep foundation pit | |
| CN110397050B (en) | Beam-anchor type light drainage retaining wall and construction method thereof | |
| CN105133581A (en) | Three-in-one construction method for uplift pile, lattice column and precipitation well in supporting structure | |
| WO2023103651A1 (en) | Drainage pressure relief anti-floating system for weakly permeable soft stratum | |
| CN111139852A (en) | Water-rich sandy gravel stratum high-permeability ultra-deep foundation pit dewatering construction method | |
| CN102535490A (en) | Method for dewatering foundation pit by using bored cast-in-place pile | |
| CN205152970U (en) | Underground structure oozes drainage system | |
| CN110080248A (en) | Nearly depth of water foundation pit supporting construction | |
| CN105603892B (en) | A kind of construction method of water staple water system for Railway Bed Slope | |
| CN108798775A (en) | A kind of jacking construction active well | |
| CN209066468U (en) | A kind of base pit dewatering device | |
| CN110409420A (en) | Meet the diaphram wall that pitted surface has precipitation function concurrently | |
| CN105714771B (en) | Construction method of manual hole digging pile | |
| CN202440826U (en) | Waterproof system for high-water level basement foundation slabs | |
| CN108999219A (en) | A kind of Novel underground room decompression drainage and anti-float structure | |
| CN209620125U (en) | A kind of underground structure blind drainage system | |
| CN104328836B (en) | A kind of environment-friendly type prefabricated pair of case deep hole type catch pit and construction method thereof | |
| CN106638641B (en) | Base pit dewatering well structure and its construction method | |
| CN112523272B (en) | Anti-floating blind ditch for strongly weathered rock stratum and construction method thereof | |
| CN108222216A (en) | A kind of rainwater ecological exhaust system and its construction method | |
| CN117627026A (en) | A composite dewatering construction method and tube well sealing device |
Legal Events
| Date | Code | Title | Description |
|---|---|---|---|
| C14 | Grant of patent or utility model | ||
| GR01 | Patent grant | ||
| CF01 | Termination of patent right due to non-payment of annual fee |
Granted publication date: 20120530 Termination date: 20150927 |
|
| EXPY | Termination of patent right or utility model |
