CN1307352C - 结构模板构件 - Google Patents

结构模板构件 Download PDF

Info

Publication number
CN1307352C
CN1307352C CNB028139828A CN02813982A CN1307352C CN 1307352 C CN1307352 C CN 1307352C CN B028139828 A CNB028139828 A CN B028139828A CN 02813982 A CN02813982 A CN 02813982A CN 1307352 C CN1307352 C CN 1307352C
Authority
CN
China
Prior art keywords
structural formwork
structural
bottom member
stiffener
members
Prior art date
Legal status (The legal status is an assumption and is not a legal conclusion. Google has not performed a legal analysis and makes no representation as to the accuracy of the status listed.)
Expired - Fee Related
Application number
CNB028139828A
Other languages
English (en)
Other versions
CN1527899A (zh
Inventor
马克·帕特里克
罗斯·维克托·格雷
格雷姆·斯图亚特·麦格雷戈
Current Assignee (The listed assignees may be inaccurate. Google has not performed a legal analysis and makes no representation or warranty as to the accuracy of the list.)
Yigang Power Co ltd
University of Western Sydney
Original Assignee
Yigang Power Co ltd
University of Western Sydney
Priority date (The priority date is an assumption and is not a legal conclusion. Google has not performed a legal analysis and makes no representation as to the accuracy of the date listed.)
Filing date
Publication date
Priority claimed from AUPR5604A external-priority patent/AUPR560401A0/en
Priority claimed from AUPS0937A external-priority patent/AUPS093702A0/en
Application filed by Yigang Power Co ltd, University of Western Sydney filed Critical Yigang Power Co ltd
Priority claimed from PCT/AU2002/000754 external-priority patent/WO2002101168A1/en
Publication of CN1527899A publication Critical patent/CN1527899A/zh
Application granted granted Critical
Publication of CN1307352C publication Critical patent/CN1307352C/zh
Anticipated expiration legal-status Critical
Expired - Fee Related legal-status Critical Current

Links

Images

Landscapes

  • Forms Removed On Construction Sites Or Auxiliary Members Thereof (AREA)
  • Bridges Or Land Bridges (AREA)

Abstract

本发明公开了一种结构模板构件。该结构模板构件包括有成形金属板形式的底部构件,该底部构件具有相对的端部和相对的侧面,该底部构件包括纵向延伸的平行肋条(5)、多个位于这些肋条之间的底盘(6)、以及凸形和凹形成形部,这些成形部沿着底部构件的侧面并使得多个结构模板构件能够以并排重叠关系设置,其中所述肋条在所述底部构件的底盘上方的高度不大于所述加强构件在所述底盘上方的高度的20%,其中所述底部构件的肋条的高度和数目这样选择:所述底部构件的宽度为以下宽度的至少80%:即在平板中形成所述肋条并且生产出所述底部构件之前的平板的宽度。该结构件还包括在结构上与所述底部构件连接的加强构件(71)。

Description

结构模板构件
技术领域
本发明涉及结构模板构件,并且涉及包括这些结构模板构件的复合板。
本发明尤其涉及用于构造复合板的结构模板构件。
背景技术
这些结构模板构件的主要(但不是唯一的)最终用途在于构造在建筑物(该术语包括停车场)中形成地板的复合板。
这些结构模板构件的另一个(但不是唯一其它的)最终用途在于构成形成垂直墙板的复合板。
用于构造形成建筑物地板的复合板的一种结构模板构件包括:
(a)成形钢板形式的底部构件,其具有由底盘(pan)分开的平行肋条;以及
(b)格栅梁形式的加强构件,其由位于钢板上方的顶部弦杆元件和焊接在顶部弦杆元件以及钢板的肋条和/或底盘上的腹部弦杆元件形成。
格栅梁还可以包括与顶部弦杆元件平行的底部弦杆元件。
在日本专利申请JP-A-4-222739(Hory corporation)和澳大利亚专利707101(The Broken Hill Proprietary Company Limited)中披露了上述类型的结构模板构件和由该构件形成的复合板的例子。
在澳大利亚专利707101中所描述并要求保护的结构模板构件和由这些构件形成的复合板由本申请人以商标TRUSSDEK在市场上销售。
在日本专利申请和澳大利亚专利中所披露的方案中,钢板、顶部弦杆元件和腹部弦杆元件(以及底部弦杆元件,如果有的话)限定一系列沿着板长度延伸的间隔开的桁架。
在使用中,这些结构模板构件铺设在地板支撑件上并且有时固定在其上,而且现场浇注混凝土以完成复合地板的构建。
因此,每块复合地板包括结构模板构件和位于结构模板构件的底部构件上的一层混凝土。
这些结构模板构件可以构成为通过将这些模板构件的端部座靠在地板支撑件上而在位于相邻的暂时或永久的地板支撑件之间的跨距上延伸。
这些结构模板构件还可以构成为这样:即,通过将这些模板构件的端部座靠在最外面的地板支撑件上并且将这些模板构件的中间部分座靠在位于最外面地板支撑件之间的一个或多个地板支撑件上,从而在位于暂时或永久的地板支撑件之间的多个跨距上延伸。
本发明人已经在TRUSSDEK结构模板构件和由这些构件形成的TRUSSDEK复合地板上进行了广泛的研究和开发工作。
该研究和开发工作的一个结果在于,本发明人已经对TRUSSDEK结构模板构件作出了许多改进并且已经发明出一种改进的结构模板构件。
发明内容
总的来说,本发明的改进结构模板构件包括:
(a)金属板形式的底部构件,该底部构件具有相对的端部和相对的侧面,该底部构件包括纵向延伸的平行肋条、多个位于这些肋条之间的底盘、以及凸形和凹形成形部,这些成形部沿着底部构件的侧面并使得多个结构模板构件能够以并排重叠关系设置,其中所述肋条在所述底部构件的底盘上方的高度不大于所述加强构件在所述底盘上方的高度的20%,其中所述底部构件的肋条的高度和数目这样选择:所述底部构件的宽度为以下宽度的至少80%:即在平板中形成所述肋条并且生产出所述底部构件之前的平板的宽度;以及
(b)在结构上与底部构件连接的至少一个加强构件。
优选的是,该金属板为钢板。
该底部构件可以采用平板形式。
该底部构件可以采用成形板形式,它具有沿着底部构件的长度延伸的平行肋条和位于这些肋条之间的多个底盘。
优选的是,所述底盘为平的。
该加强构件可以位于其中一个底盘中。
或者,加强构件可以位于两个相邻底盘中,并且跨过在这些底盘之间的肋条。
优选的是,底部构件的肋条为小肋条。
本申请人发现,小肋条明显有助于成形板在沿着板长度具有球形负弯曲区域中的压缩能力。
通常,在直接位于用于结构模板构件的暂时或永久支撑件上面或其附近的成形板的部分中存在负弯曲。
这是在提高给定板厚的结构模板构件的未受支撑的跨距长度中的一个重要问题。
这也是在降低跨过给定跨距长度的结构支撑构件的板厚中的一个重要问题。
本申请人还发现,小肋条使得能够在复合板的构造中使用该结构模板构件,所述复合板将受到明显双向弯曲作用、并因此需要进行相当大的加强或者沿着与加强构件横向的方向预加应力来加强这些复合板。
本申请人还发现,小肋条不会对剪切连接器的剪切性能造成负面影响,这些剪切连接器用于将复合板连接在支撑件上。
优选的是,这些肋条在底盘上方的高度不大于20mm。
尤其优选的是,这些肋条在底盘上方的高度不大于15mm。
更尤其优选的是,这些肋条在底盘上方的高度不大于10mm。
优选的是,这些肋条在底盘上方的高度不大于加强构件在底盘上方的高度的20%。
尤其优选的是,这些肋条在底盘上方的高度不大于加强构件在底盘上方的高度的15%。
优选的是,这些肋条的高度和数目选择成这样,从而成形板的宽度为以下宽度的至少80%,即,在平板中形成肋条并且形成该成形板之前的平板的宽度。
优选的是,这些肋条的形状有助于底部构件和浇注到底部构件上并在其上固化的混凝土的互锁,从而形成复合板。
优选的是,底部构件的纵向延伸侧面包括凸形和凹形成形部,这些成形部使得多个结构模板构件能够以并排重叠关系设置,并且一个构件的凸形构件和相邻构件的凹形构件形成搭接部分。
底部构件和加强构件可以形成沿着底部构件的长度延伸的桁架。
加强构件可以包括格栅梁,该格栅梁由在底部构件上方间隔的顶部弦杆构件和与顶部弦杆元件以及底部构件的肋条和/或底盘连接的腹部弦杆元件形成。
该格栅梁还可以包括底部弦杆元件,这些元件平行于顶部弦杆元件并且与腹部弦杆元件连接。
该加强构件还可以采用倒置槽式构件的形式。
优选的是,该倒置槽式构件具有一顶壁和两个侧面,并且这些侧面与底部构件连接并且顶壁位于底部构件上方。
优选的是,所述槽式构件由轧制金属板形成。
优选的是,所述槽式构件由轧制钢板形成。
优选的是,所述轧制钢板厚度为0.6-1.2mm。
更优选的是,所述轧制钢板厚度为0.6-0.8mm。
优选的是,所述槽式构件的高度为80-240mm。
更优选的是,所述槽式构件的高度为130-240mm。
优选的是,所述槽式构件在该槽式构件的侧面与底部构件的连接之间测量出的宽度为90-190mm。
优选的是,所述槽式构件的侧面朝着该槽式构件的顶部向上会聚。
优选的是,所述槽式构件的侧面具有向上翻转的凸缘以改善槽式构件的侧面和底部构件之间的连接。
优选的是,所述槽式构件的一个或两个侧面包括受压或者以其它方式形成到一个或两个侧面的平面之外的部分,从而对结构模板构件的局部弯曲提供阻力并且提高结构模板构件的剪切能力。
优选的是,受压部分为在所述一个或两个侧面中的肋条或波纹。
优选的是,这些肋条的轴线与底部构件的纵向方向横向地延伸。
优选的是,波纹的波峰和波谷与底部构件的纵向方向横向地延伸。
优选的是,在波峰的顶部和波谷的底部之间测量出的波纹的深度至少为3mm。
优选的是,在相邻波峰的顶部之间或在相邻波谷之间测量出的波纹的波长为30-60mm。
槽式构件和底部构件可以限定一个不透水空隙,从而在构造复合板中将湿混凝土浇注到该构件上时降低结构模板构件的横向变形和/或在复合板中为建筑物设施例如通信电缆提供进出通道。
术语“不透水空隙”在这里被理解为,指的是不能被浇注在结构模板构件上的湿混凝土穿透的空间。
优选的是,该空隙填充有耐火或阻燃材料。
优选的是,形成空隙的槽式构件内表面和底部构件表面涂覆有耐火或阻燃材料。
优选的是,所述空隙包括吸音材料。
或者,槽式构件的一个或两个侧面可以包括开口,以允许通向槽式构件的内部,由此湿混凝土能够在构造复合板的期间流进由槽式构件和底部构件限定的空间中。
优选的是,槽式构件的侧面包括对齐的开口,以使得加强钢筋/电线/电缆能够在构造复合板期间设置成横向延伸穿过槽式构件。
优选的是,这些开口形成为降低这些开口弱化该槽式构件的可能性。这些开口可以包括适当的加强部分。
或者,该槽式构件可以如此形成,从而一个或多个部分可以填充有混凝土并且一个或多个部分可以为空隙。例如,该槽式构件可以包括位于槽式构件的端部附近的开口和内部隔板,所述内部隔板如此设置,从而混凝土只能流进槽式构件的端部中。这种布置防止了空隙对于在复合板和永久支撑梁之间制成的剪切连接的完整性的妨碍。
优选的是,该槽式构件在端部处和/或沿着槽式构件的长度包括内部或外部支撑构件,用来通过传递作用在该槽式构件上的反作用力来防止该槽式构件失稳。
优选的是,槽式构件还包括安装在槽式构件上或者由它固定的顶部弦杆元件。
该顶部弦杆元件可以为任意合适的构件。
优选的是,顶部弦杆元件为杆或棒或板。
优选的是,该顶部弦杆元件为钢杆或钢棒或钢板。
优选的是,使板变形、起波纹或打孔以改善在复合板中的结构模板构件与混凝土的机械互锁。
例如,可以通常对该板进行成形来使该板变形,从而包括上翻和/或下翻部分。
顶部弦杆元件可以通过任意合适的部件安装在槽式构件上。
一个方法是将该顶部弦杆元件焊接在槽式构件的底部上。
另一个方法是将顶部弦杆元件胶粘在槽式构件的底部上。
另一个方法是采用与顶部弦杆元件和槽式构件连接的腹部弦杆元件将顶部弦杆元件安装在槽式构件上。
另一个(但不是唯一其它的)方法是采用一个或多个支架将顶部弦杆元件安装在槽式构件的底部上,所述支架安装在槽式构件上并且形成通过搭扣配合或者其它适当的接合方法固定顶部弦杆元件。
优选的是,所述支架为鞍座形式,该鞍座具有跨过槽式构件的腿部,并且这些腿部具有向内朝向的突起,而且该槽式构件的侧面具有容纳这些突起的开口并且由此将该鞍座固定在槽式构件上。
或者,所述槽式构件的底部可以形成为至少局部封闭并且由此固定顶部弦杆元件。
优选的是,所述底部包括与顶部弦杆元件相配合的横向部分,从而该顶部弦杆元件可以搭扣配合成与底部接合。
顶部弦杆元件与槽式构件的连接强度优选如此选择,使得通过在拉伸或压缩中使顶部弦杆元件屈服来形成失效。
该结构模板构件可以包括桥接构件,它与结构模板构件的一个或两个端部连接,并且/或者位于沿着结构模板构件的长度的一个或多个位置处以使得结构模板构件能够将载荷从加强构件直接传递给暂时或永久支撑件。
在加强构件包括顶部弦杆元件和与底部构件形成桁架的腹部弦杆元件的情况中,该桥接构件是特别重要的特征,但是决不是唯一的。具体地说,该特征考虑了顶部弦杆元件和形成加强构件的腹部弦杆元件的组件通常为沿着结构模板构件的长度重复的基本长度单位。
因此,根据结构模板构件的长度,在座靠在暂时或永久支撑件上的模板构件的一个或两个部分处的加强构件可以为单元的端部或沿着单元长度的中间部分(partway)。相似地,如果结构模板构件在多个跨距上延续,则相同的情况会出现在中间暂时或永久支撑件处。
因为在直接座靠在暂时或永久支撑件上的结构模板构件的端部或中间部分处的加强构件的结构会影响在该构件和暂时或永久支撑件之间的载荷传递,所以上述情况是明显的。尤其在将混凝土浇注到该构件上以形成复合板时,次于最优载荷传递会导致强度降低以及结构模板构件的过大变形或局部变形。
使用桥接构件使得能够在非标准跨度长度情况的范围中使用标准结构长度的结构模板构件,且不会妨碍在结构模板构件和暂时或永久支撑件之间的载荷传递。
该桥接构件可以为与加强构件连接的弦杆元件的形式。
该弦杆元件可以为框架的形式。
该弦杆元件可以包括允许弦杆元件可调节地连接在加强构件上的部件。
该桥接构件还可以为例如由金属片或板形成的面板的形式。
该桥接构件还可以为与结构模板构件的底部构件连接的细长构件例如梁和板的形式。
该结构模板构件可以包括一个或多个不透水空隙,它位于与相邻加强构件之间的底部构件的一部分或复数个部分接触,从而减小了在将湿混凝土浇注到结构模板构件上时该部分的横向变形。
上述空隙特征基于申请人的以下认识,即,有两个特定因素有助于位于相邻加强构件之间的底部构件的部分响应于湿混凝土加载的横向变形(即向下突起)。这些因素是作用在底部构件上的湿混凝土中的水的静态压力和湿混凝土的重量。
向下突起在结构模板构件的下侧上会过大并且相当明显,并且除了损害可见外观之外,还可能影响装饰件和/或建筑物设施的安装。另外,向下突起会增加形成平板表面所需要的混凝土量。
申请人已经发现,使用如上所述的空隙,能够通过将从在空隙上方的湿混凝土导致的载荷传递至位于空隙侧面处的加强构件或其区域上,从而降低流体静压力和混凝土重量的负面影响。
该空隙不必用作结构件。
但是,限定空隙的结构需要具有足够的刚度和强度以将空隙上方的湿混凝土导致的载荷传递至临近的加强构件或其区域上。
优选的是,该空隙穿过位于相邻加强构件之间的底部构件部分的大部分宽度上延伸。
优选的是,该空隙在位于相邻加强构件之间的底部构件部分的至少70%更优选为至少80%上延伸。
该结构模板构件可以包括多个沿着位于相邻加强构件之间的底部构件部分的长度间隔开的空隙。
该结构模板构件还可以包括沿着位于相邻加强构件之间的底部构件部分的长度延伸的单个空隙。
该空隙在高度方面可以较小,从而使得能够在构造复合板中使用结构模板构件,这些复合板将受到明显的双向弯曲作用,因此需要沿着横向于加强构件的方向进行相当大的加强或预加应力以加强这些复合板。
该空隙例如可以由粘接在或以其它方式固定在底部构件上的材料块来限定。
优选的材料为轻型材料例如苯乙烯。
该空隙例如还可以通过由以下构件包围的空间来限定:(i)底部构件;(ii)底部构件肋条的侧面或其它靠近位于相邻加强构件之间的底部构件部分的合适构件的侧面;以及(iii)位于底部构件上方且延伸越过所述部分并且接触相邻肋条或其它适当构件的板材。
该空隙例如还可以通过由以下构件包围的空间来限定:(i)底部构件以及(ii)成形板材料,例如弯曲板材,它具有由底部构件的肋条或者其它合适的固定构件固定的侧面。
该空隙还可以例如通过由以下构件包围的空间来限定:(i)底部构件以及(ii)处于向上翻转姿态中的槽式构件,并且该槽式构件的底部在底部构件的上方并且形成空隙的顶部,槽式构件的侧面向下延伸,并且槽式构件在结构上连接底部构件并形成空隙的其它两个侧面。
优选的是,该空隙填充有耐火或阻燃材料。
优选的是,形成空隙的槽式构件内表面和底部构件表面涂覆有耐火或阻燃材料。
优选的是,该空隙包括吸音材料。
该结构模板构件还可以包括:
(a)结构元件,例如钢筋或由多根钢筋制成的框架;以及
(b)拉杆,它们将结构元件机械耦合在一个结构模板构件的底部构件的部分上或者耦合到处于重叠关系的相邻结构模板构件的底部构件的部分上,以减小这些部分在将湿混凝土浇注到结构模板构件上时出现的横向变形。
该特征尤其涉及那些位于加强构件之间的部分。
该特征可以用作对不透水空隙的上述特征的替换或者与之结合使用。
该特征基于申请人的以下认识,以下两个特定因素有助于尤其位于相邻加强构件之间的底部构件部分响应于湿混凝土加载的横向变形(即向下突起),即作用在底部构件上的在湿混凝土中的水的静态压力和湿混凝土的重量。
如上所述,申请人已经发现使用上述结构元件通过使得能够将来自湿混凝土的载荷传递给相邻的加强构件来降低水的静态压力和混凝土重量的负面影响。
上述特征对其中以重叠关系并排设置两个结构模板构件的情况尤为(但不是唯一)相关。在这些情况中,两个构件之间的搭接部分容易响应于包括该搭接部分在内的底部构件的部分向下突起而分开。
根据本发明,还提供一种复合地板,它包括上述结构模板构件和位于该构件上的一层硬化混凝土。
根据本发明,还提供一种垂直墙板形式的复合板,它包括上述结构模板构件和位于该构件上的一层硬化混凝土或其它合适的可铸造板材。
附图说明
下面将参照附图以实施例的方式对本发明进行进一步说明,其中:
图1基于澳大利亚专利707101的图1,并且为TRUSSDEK结构模板构件的一个实施例的立体图;
图2为根据本发明的结构模板构件的一实施例的端视图;
图3为根据本发明的结构模板构件的另一个实施例的端视图;
图4为根据本发明的结构模板构件的另一个实施例的端视图;
图5为根据本发明的结构模板构件的另一个实施例的立体图;
图6为沿着图5的线6-6的剖面图;
图7为根据本发明的结构模板构件的另一个实施例的加强构件的立体图;
图8为根据本发明的结构模板构件的另一个实施例的加强构件的立体图;
图9a为根据本发明的结构模板构件的另一个实施例的加强构件的立体图;
图9b为在图9a中所示的加强构件的其中一个鞍座的立体图;并且
图10为根据本发明的结构模板构件的另一个实施例的加强构件的端视图;
图11为根据本发明的复合地板的一个实施例的端视图,其包括根据本发明的结构模板构件的另一个实施例;
图12为根据本发明的复合地板的另一个实施例的端视图,其包括根据本发明的结构模板构件的另一个实施例;
图13为根据本发明的复合地板的另一个实施例的端视图,其包括根据本发明的结构模板构件的另一个实施例;
图14为根据本发明的位于底板支撑件上的结构模板构件的另一个实施例的一端部分的侧视图,该图显示出根据本发明的桥接构件的一个实施例;
图15为在图14中所示的结构的端视图;
图16为类似于图14的侧视图,显示出根据本发明的桥接构件的另一个实施例;
图17为在图16中所示的结构的端视图;
图18为与在图14和16中所示的侧视图类似的侧视图,显示出根据本发明的桥接构件的另一个实施例;
图19为在图18中所示的结构的端视图;
图20为与在图14、16和18中所示的侧视图类似的侧视图,显示出根据本发明的桥接构件的另一个实施例;
图21为在图20中所示的结构沿着在图20中的线21-21的端视图;以及
图22为根据本发明的结构模板构件的另一个实施例的端视图;以及
图23为根据本发明的结构模板构件的另一个实施例的端视图。
具体实施方式
以下对在这些附图中所示的结构模板构件进行说明,这些结构模板构件可以以重叠的关系并排布置并且由暂时支撑件或永久支撑件(例如钢梁)支撑,而且用来构建包括这些构件和位于这些构件上的一层混凝土的复合地板。
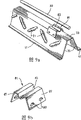
图1基于澳大利亚专利707101的图1。该图显示出典型的TRUSSDEK结构模板构件3。
在图1中所示的TRUSSDEK结构模板构件3包括成形钢板形式的底部构件,这些成形钢板具有两个平行肋条5和三个沿着成形钢板的纵向方向延伸的底盘6。
该底部构件的侧面包括凸形成形部38和凹形成形部37,它们通过将凸形成形部38插入到凹形成形部37中,从而使得相邻板能够与防漏搭接部分而连接在一起。
该TRUSSDEK结构模板构件3还包括大体上由数字71标识的两个加强构件,这些加强构件沿着底部构件的长度延伸。每个加强构件包括由下面的元件形成的格栅梁:
(a)顶部弦杆元件7,它平行于肋条5延伸;以及
(b)多个腹部弦杆元件9,它们焊接在钢板和顶部弦杆元件7上,并且由此使钢板和顶部弦杆元件7相互连接。
弦杆元件7、9由钢筋形成。
弦杆元件7、9和底部构件形成两个桁架。
图2至23所示的结构模板构件采用了本发明人对TRUSSDEK模板构件作出的多个改进。
图2中所示的结构模板构件包括平板6(而不是成形板)形式的底部构件以及焊接在平板上的倒置槽式构件(而不是格栅梁)形式的加强构件71。
每个槽式构件由轧制钢板形成,并且具有顶壁33和两个焊接在底部构件的下端处的倾斜侧面35。
这些槽式构件为结构构件,它们与底部构件一起设置成支持在支撑件处的弯曲、垂直剪切和集中力的效应。
另外,这些槽式构件和底部构件形成一系列不透水空隙18。
在图3和4中所示的结构模板构件类似于在图2中所示的结构模板构件。
在图3和4中所示的结构模板构件的加强构件还包括焊接在槽式构件71上的钢板形式的顶部弦杆元件39。
另外,在图4中所示的结构模板构件包括两个尺寸不同的槽式构件71。该实施例显示出本发明的灵活性。
在图5和6中所示的结构模板构件包括具有中心肋条5和两个底盘6的成形板形式的底部构件。
该结构模板构件还包括两个大体上由数字31表示的加强构件,它们沿着底部构件的长度延伸。
每个加强构件31设置在其中一个底盘6中并且包括:
(a)倒置槽式构件,它由轧制钢板形成并且具有顶壁33和两个在其下端处连接在底部构件上的倾斜侧面35;以及
(b)顶部弦杆元件39,它与槽式构件的底部33连接。
该槽式构件的侧面35的下端形成为向外翻转的凸缘41,以加大与成形钢板3的接触。该凸缘41焊接和/或胶粘或以其它方式在结构上连接底部构件上。
槽式构件的两个侧面35包括沿着该槽式构件的侧面35的长度的一系列波纹43。参照图6,这些波纹43包括波峰45和波谷47。优选的是,这些波纹43的深度D至少为6mm(注:相对于板中心线每一边3mm),并且波纹43的波长W为30-60mm。波纹43如此形成,从而波峰45和波谷47横向于底部构件的纵向方向。波纹43的目的在于为模板构件的横向突起提供阻力并且提高在支撑反作用位置处的支撑能力。
槽式构件的两个侧面35包括开口47,用来允许通向槽式构件的内部,由此湿混凝土在构造复合板期间可以流进由槽式构件和底部构件限定的空间中,由此填充该空间。开口47处于槽式构件高度的大约一半处。优选的是,开口47的底部高于肋条5的高度。这些开口显示为狭缝。优选的是,狭缝宽度不大于槽式构件的高度的40%,并且狭缝长度与狭缝宽度比值不大于2∶1。通常,狭缝宽度为45mm,而长度为90mm。优选的是,在每个狭缝上方有至少20mm的槽式构件以便提供足够的剪切阻力。
在侧面35中的许多开口47对齐以允许加强钢筋/电线/电缆(未示出)设置成在构造复合板期间横向延伸穿过槽式构件。
槽式构件的两个侧面还包括位于槽式构件顶部附近的一系列小孔48,用于当湿混凝土正在通过主开口47流进槽式构件内部时使得空气能够从槽式构件中逸出。
顶部弦杆元件39为矩形截面钢筋形式,它焊接或胶粘在槽式构件的底部33上。顶部弦杆元件39在底部构件上方与之间隔为槽式构件的高度H。
由轧制钢板形成槽式构件的结构使得能够将加强构件的钢尽可能集中在底部构件上方同时恰当地将钢支撑在这个位置中。
在图7中所示的加强构件31的实施例在许多方面类似于在图5和6中所示的实施例。
例如,在图7中所示的实施例包括轧制槽式构件,它具有底部33和具有向外翻转凸缘41的侧面35。
这些实施例之间的主要差别在于,顶部弦杆元件39为圆形钢筋形式,它由焊接在槽式构件的侧面35上的腹部弦杆40支撑。
在图8中所示的加强构件31的实施例在许多方面类似于在图5和7中所示的实施例。
例如,在图8中所示的实施例包括轧制槽式构件,它具有底部33和具有形成在侧面35中的向外翻转凸缘41和开口47的侧面35。
在这些实施例中存在许多差异。
例如,在图8中所示的实施例还包括加强肋条51,该加强肋条51受到来自槽式构件的侧面35的平面而不是在图5和6中所示的实施例的波纹43的挤压。肋条51的轴线横向于成形钢板3(未示出)的纵向延伸方向。
另外,在图8中所示的实施例的槽式构件的底部33成形为键孔结构,并且顶部弦杆元件39具有配合的圆形截面并且由键孔结构容纳和固定。
在图9a和9b中所示的加强构件31的实施例在许多方面类似于在图5、6和8中所示的实施例。
在这些实施例之间的主要差别在于,在图9a和9b中所示的实施例包括将顶部弦杆元件39安装到槽式构件上的可拆卸鞍座61。这些鞍座61跨过槽式构件的底部33、并且沿着其长度在间隔开的间隔处与槽式构件的侧面35接合。这些鞍座61还包括半圆形凹槽63,它们通过搭扣配合接合容纳并且固定顶部弦杆元件39。这些鞍座61通过形成在腿部67中的向内朝向的突起69与槽式构件的侧面35接合,并且延伸进入在槽式构件的侧面35中的间隔开口(未示出)。
在图10中所示的实施例中,顶部弦杆元件39为焊接在槽式构件的底部33上的板形式。通常,板的厚度为5mm。该板包括向上翻转并且向下翻转的翼79。
为了加大与混凝土的机械互锁,可以使板变形(例如具有在图10中所示的向上翻转和向下翻转的部分)、起波纹和/或钻有孔。
该板在其中需要高横向稳定性、大柔性刚度以及大拉伸和压缩能力的情况中是优选的。
在图11中所示的结构模板构件包括具有一系列肋条5和底盘6的成形钢板形式的底部构件和两个格栅梁形式的加强构件71,该加强构件包括两根弦杆元件7、腹部弦杆元件9和底部弦杆元件8。
加强构件71如此设置,从而每个加强构件71跨过底部构件的外部肋条5,并且腹部弦杆元件9焊接在底部构件的两个底盘6上。本发明并不限于这种布置,并且还延伸至如在图5中所示其中加强构件整个设置在底盘6中的布置。
如在图11中所示的左边底盘6的宽度选择为足够宽并且将左边加强构件的位置选择为接近位于那个侧面上的肋条5,从而存在空隙,并使剪切连接器(例如带头双头螺栓,未示出)焊接在底下的钢梁(未示出)上或固定在其它地板支撑件上。
如在图11中所示的右边底盘6的宽度选择为相对较窄,并且因此该右边加强构件接近于凸形成形部38。在这种布置中,在使用中右边加强构件将设置成靠近并且由此支撑一个重叠(并且由此互锁的)的相邻板之间的连接部分。
一个标准尺寸的结构模板构件3具有由直径为12mm钢筋形成的加强构件,并且如此构成,从而顶部弦杆元件7在底盘6上方120mm处,每个加强构件的腹部弦杆元件9的中心到中心的距离在它们的底部处为78mm,加强构件的中心到中心的距离(即,顶部弦杆元件7的中心到中心的距离)为166mm,并且左边加强构件距离凹形成形部37为60mm。
肋条5包括向下会聚的侧面43和平坦的顶壁45。肋条5的向下会聚的侧面43有利于底部构件与混凝土的互锁,从而有助于在底部构件和混凝土之间产生纵向滑动阻力。另外,如在下面更详细地说明的一样,向下会聚的侧面43可以用来帮助将空隙形成部分27固定在底部构件上。
一种标准尺寸的结构模板构件3具有肋条5,其高度为在底盘6上方12mm并且顶壁宽度为50mm。
在图11中所示的肋条5为小肋条。
这些肋条5在底盘6上方的加强构件的顶部弦杆元件的高度上较小。
这些肋条5在底盘6上方的高度与顶部弦杆元件7在底盘6上方的高度之间的关系也较小。具体地说,在上述标准尺寸的结构模板构件方面,所述关系为12mm比120mm,即肋条的高度为顶部弦杆元件的高度的10%。
肋条5在钢带的平板的宽度减小率方面也较小,所述钢带是形成结构模板构件3所需要的。具体地说,在上述标准尺寸的结构模板构件方面,将630mm宽的平带钢轧制成形为具有在这些图中所示的形状的500m结构模板构件,即宽度减小率为79%。
在图11中所示的结构模板构件3还包括多个在底盘6中的固定构件19。固定构件19有利于底部构件与混凝土的互锁,从而在底部构件和混凝土之间可以产生良好的纵向滑动阻力,以用来防止底部构件和硬化混凝土的垂直分离。另外,如下面所述一样,这些固定构件可以用来帮助将空隙形成部分27固定在底部构件上。
在图11中所示的结构模板构件3还包括设置在位于加强构件71之间的底部构件的部分中的空隙形成部分27。
空隙形成部分27为倒置的槽式构件的形式,它具有顶壁33和两个从顶壁33分开并且与结构支撑构件3的底部构件的侧面35接触。
空隙形成部分27通过紧固件19固定在底部构件上。具体地说,空隙形成部分27的尺寸如此选择,从而在空隙成形部分27和紧固件19之间存在干涉配合。
可选择地,或另外,该空隙形成部分27和紧固件19可以设有突起(未示出)和开口(未示出)以便于空隙形成部分27和紧固件的互锁。
该空隙形成部分27可以是端部开口的。
或者,该空隙形成部分27可以形成有封闭端部(未示出)。例如,该空隙形成部分27的端部可以由插入件(例如苯乙烯插塞或薄钢板)封闭。
在如图11所示一样设置在底部构件上时,空隙形成部分27和底部构件在位于加强构件之间的底部构件的部分中限定了一个空隙。
这些空隙的目的在于降低以下负面影响:(i)在将湿混凝土浇注到位于加强构件71和底部构件之间的底部构件的部分上时作用在底部构件上的静态液体压力以及(ii)形成复合板所需要的湿混凝土的重量。
优选的是,这些空隙通过占据空间并且将来自位于空隙上方的湿混凝土的载荷传递给加强构件71来实现这个目的。
这些空隙不必为中空空间。在这方面,相关要求为空隙是一个在湿混凝土的重量作用下保持的空间并且不能被湿混凝土渗透。
因此,空隙可以由固定在底部构件上的固态材料块例如苯乙烯限定。
空隙也不必占据位于加强构件之间的底部构件部分的整个宽度。要求是,该空隙在该部分的大部分宽度上延伸。
在图11中所示的结构模板构件形成部分复合地板。具体地说,该地板包括结构模板构件、位于该构件上的一层混凝土4以及横向加强件14。
在图12和13中所示的结构模板构件3具有与在图中所示的结构模板构件3相同的基本结构。
在图11和12的结构模板构件3之间的主要差异在于空隙形成部分27的结构。具体地说,空隙形成部分27为以合适材料的弯曲板形式的相对较浅的空隙形成部分27,它设置成使相对侧面由固定构件19固定。
使用较浅的空隙形成部分27使得能够在构造复合板中使用结构模板构件3,该复合板将受到双向弯曲作用。具体地说,如所示一样,较浅空隙形成部分27使得能够将横向预加应力管道和电缆46设置在复合板中,如在存在双向弯曲作用时所需要的一样。虽然在图12中没有显示出,但是仍然如在图13中所示一样,上下横向加强件49可以用作对于采用横向预加应力的可选方案。较浅空隙形成部分27还使得能够将装有设施电缆的纵向管道44向下足够低地设置在板中。
图11和12以及图13的结构模板构件3之间的主要差异在于,图13的构件包括跨过中间肋条5的第三加强构件,因此不需要空隙形成部分27。
图13还显示出带头的双头螺栓48的优选位置,这些螺栓可以用来将模板构件3固定在地板支撑件例如钢梁(未示出)上。
在图2至13中所示的结构模板构件3在一个或两个端部处或者在沿着结构模板构件的长度的位置处还包括桥接构件,以便于在该构件的使用中将载荷最优地传递给暂时或永久支撑件。下面参照图14至21对桥接构件的各个实施例进行说明。这些桥接构件在这些附图中大体上由数字11表示。
在使用中,为了构建地板:
(a)将许多结构模板构件设置成座靠在暂时或永久地板支撑件13例如垂直墙壁和水平梁上,并且这些桥接构件11使得载荷从加强构件71传递给地板支撑件13;并且
(b)将混凝土浇注到模板构件上并且形成多个复合地板(如在图11至13中所示一样)。
根据在任意给定情况中的要求,这些结构模板构件可以在跨过相邻地板支撑件13之间的单个跨距上延伸并且只是在这些端部处由这些地板支撑件13支撑,或者可以延伸跨过多个跨距、并且由最外侧的地板支撑件支撑在这些端部处以及由中间地板支撑件13支撑在沿着结构模板构件的长度的一个或多个位置处。
实际上,在地板支撑件13之间的跨距可以为5m或更大。尤其在这个数量级的跨距中,重要的是要从结构模板构件将载荷最优地传递给地板支撑件13。
通常,结构模板构件在远离建筑场所的地方构造,并且输送到该场所。通常,这些加强构件包括沿着结构模板构件的长度重复的长度L(如图14中所示的)的基本单元。
根据结构模板构件的长度,在使用中座靠在地板支撑件13上的该构件的一个或两个端处的加强构件71可以为单元的一个端部或者沿着一个单元的长度的(中间)部分。如上所述,这些都是重要的考虑事项,因为在直接座靠在地板支撑件13上的结构模板构件端部或者中间部分处的加强构件71的结构会影响在结构模板构件和地板支撑件13之间的载荷传递。
更具体地说,低于最优载荷传递会导致结构模板构件的强度降低和过度变形或局部变形,尤其在将混凝土浇注到该构件上以形成复合地板时。
如在图14/15、16/17、18/19和20/21中所示的四个实施例所述一样,桥接构件11连接在结构模板构件的至少一个端部上和/或连接在位于结构模板构件的这些端部之间的一个或多个位置处,从而使得载荷能够从加强构件71最优地传递给地板支撑件。
在图14/15的实施例的情况中,桥接构件11是通过弯曲一段钢筋的长度来形成的三角框架15。该框架15通过如下焊接连接在结构模板构件3上:
(a)框架15的顶点17焊接在顶部和腹部弦杆元件7、9上;并且
(b)框架15的顶点19、21与底部弦杆元件8连接。
框架15的位置如此选择,从而在使用中框架15的底部23位于地板支撑件13的上方。
框架15的最优定位需要切割和/或弯曲顶部弦杆元件7、底部弦杆元件8和腹部弦杆元件9的一个或多个。在图14中由数字23表示的虚线显示出腹部弦杆元件9在这样构成的结构模板构件中的位置。从该图中可以看出,为了正确定位框架15,必须切割顶部和腹部弦杆元件7、9并且使腹部弦杆元件9向上弯曲以接触顶部弦杆元件7。
在图16/17的实施例的情况中,桥接构件11包括:
(a)安装块29,它具有可以容纳顶部弦杆元件7并且可以沿着顶部弦杆元件7滑动至所要求的位置的中空芯部,然后抵靠在腹部弦杆元件9上,或者在那个位置处挤压、焊接或以其它方式连接在顶部弦杆元件7上;
(b)一对弦杆元件37,每个在一个端部处连接在块29上并且布置成从块29向下延伸;以及
(c)一对底部弦杆元件51,它们平行于块29的芯部轴线并且可以被挤压、焊接或以其它方式连接到模板构件3的底部弦杆元件8。
在图18/19的实施例的情况中,桥接构件包括点焊在模板构件3的底盘6的下表面上的板35。
在图20/21的实施例的情况中,桥接构件11为与在图14/15实施例中所示相同的三角框架结构。在图20/21的实施例的情况中,框架15如此设置,从而框架的底部位于在这些图中所示的中间地板支撑件13上方。
在图22和23中所示的结构模板构件3在许多方面为与在前面所述的图中所示的结构模板构件3相同的基本结构。
图22和23显示出用来减小位于相邻加强构件之间的成形钢板的部分的横向变形即向下突出的可选方案。
图22和23显示出重叠的结构模板构件。在这些情况中,所讨论的成形钢板的部分为重叠板的相邻侧面部分,包括形成板的搭接部分61的凸形结构38和凹形结构37。
在图22中所示的布置中,模板构件包括以在相对端部处与相邻加强构件连接的钢筋63形式的结构元件以及在一个端部处与钢筋63连接并且形成为接合搭接部分61的钩子的中间定位的拉杆65。
在图23中所示的布置中,结构模板构件包括以布置成金字塔形状的钢筋63的框架形式的结构元件,并且中心顶点位于搭接部分61的上方,以及向下并向外延伸的钢筋,而且钢筋63的下端邻接在紧挨着加强构件的肋条5上。
在图22和23中所示的两种布置中,钢筋63和钢筋63的框架将载荷传递给加强构件71,由此在将湿混凝土浇注到这些板上时抵抗成形钢板的重叠部分的向下变形。
上述实施例为根据本发明的结构模板构件的许多可能实施例的例子。
可以在不脱离本发明的精神和范围的情况下对参照附图所描述的本发明的这些优选实施例作出许多改进。
例如,虽然通过接合紧固件19来将在图11和12中所示的空隙形成部分27固定在结构模板构件3的底部构件上,但是本发明并不限于此,而是可以延伸至任意合适的将这些空隙成形部固定在底部构件的方法。
另外例如,虽然底部构件被描述成由钢板形成,但是本发明并不限于此,该底部构件可以由任意合适的金属或非金属材料形成。

Claims (55)

1.一种结构模板构件包括:
(a)成形金属板形式的底部构件,该底部构件具有相对的端部和相对的侧面,该底部构件包括纵向延伸的平行肋条、多个位于这些肋条之间的底盘、以及凸形和凹形成形部,这些成形部沿着底部构件的侧面并使得多个结构模板构件能够以并排重叠关系设置,其中所述肋条在所述底部构件的底盘上方的高度不大于所述加强构件在所述底盘上方的高度的20%,其中所述底部构件的肋条的高度和数目这样选择:所述底部构件的宽度为以下宽度的至少80%:即在平板中形成所述肋条并且生产出所述底部构件之前的平板的宽度;以及
(b)在结构上与所述底部构件连接的至少一个加强构件。
2.如权利要求1所述的结构模板构件,其特征在于,所述肋条在所述底部构件的底盘上方的高度不大于20mm。
3.如权利要求1所述的结构模板构件,其特征在于,所述肋条在所述底部构件的底盘上方的高度不大于15mm。
4.如权利要求1所述的结构模板构件,其特征在于,所述肋条在所述底部构件的底盘上方的高度不大于10mm。
5.如权利要求1所述的结构模板构件,其特征在于,所述底部构件的肋条在所述底盘上方的高度不大于所述加强构件在所述底盘上方的高度的15%。
6.如权利要求1所述的结构模板构件,其特征在于,所述加强部件包括格栅梁,该格栅梁由位于底部构件上方的顶部弦杆元件和与该顶部弦杆元件以及底部构件的所述肋条和/或底盘连接的腹部弦杆元件形成。
7.如权利要求6所述的结构模板构件,其特征在于,所述格栅梁还包括与所述顶部弦杆元件平行并且与所述腹部弦杆元件连接的底部弦杆元件。
8.如权利要求1所述的结构模板构件,其特征在于,所述加强构件为倒置槽式构件形式。
9.如权利要求7所述的结构模板构件,其特征在于,所述倒置槽式构件具有一顶壁和两个侧面,并且这些侧面与顶壁构件连接且底部位于底部构件上方。
10.一种结构模板构件,它包括:
(a)金属板形式的底部构件;以及
(b)在结构上与底部构件连接的倒置槽式构件形式的至少一个加强构件。
11.如权利要求10所述的结构模板构件,其特征在于,所述底部构件为平金属板形式。
12.如权利要求10所述的结构模板构件,其特征在于,所述底部构件为成形金属板形式并且包括沿着底部构件的长度延伸的平行肋条以及多个位于这些肋条之间的底盘。
13.如权利要求12所述的结构模板构件,其特征在于,所述肋条为小肋条。
14.如权利要求10至13中任一项所述的结构模板构件,其特征在于,所述槽式构件具有一顶壁和两个侧面,并且所述侧面与底部构件连接,而底部位于顶壁构件上方。
15.如权利要求10所述的结构模板构件,其特征在于,所述槽式构件由轧制金属板形成。
16.如权利要求15所述的结构模板构件,其特征在于,所述轧制板厚为0.6-1.2mm。
17.如权利要求15所述的结构模板构件,其特征在于,所述轧制板厚为0.6-0.8mm。
18.如权利要求10所述的结构模板构件,其特征在于,所述槽式构件的高度为80-240mm。
19.如权利要求10所述的结构模板构件,其特征在于,所述槽式构件的高度为130-240mm。
20.如权利要求10所述的结构模板构件,其特征在于,所述槽式构件在该槽式构件的侧面到底部构件的连接之间测量出的宽度为90-190mm。
21.如权利要求10所述的结构模板构件,其特征在于,所述槽式构件的侧面具有向外翻转的凸缘,以改善该槽式构件的侧面和底部构件之间的连接。
22.如权利要求10所述的结构模板构件,其特征在于,所述槽式构件的一个或两个侧面包括受压或者以其它方式形成到所述一个或两个侧面的平面之外的部分,从而对结构模板构件的局部弯曲提供阻力并且提高了该结构模板构件的剪切能力。
23.如权利要22所述的结构模板构件,其特征在于,所述受压部分为在所述一个或两个侧面中的肋条或波纹。
24.如权利要求23所述的结构模板构件,其特征在于,所述肋条的轴线与所述底部构件的纵向方向横向地延伸。
25.如权利要求23或24所述的结构模板构件,其特征在于,所述波纹的波峰和波谷与所述底部构件的纵向方向横向地延伸。
26.如权利要求10所述的结构模板构件,其特征在于,所述槽式构件和所述底部构件限定了一不透水空隙,用于在构造复合板中在将湿混凝土浇注到该构件上时减小结构模板构件的横向变形、和/或用于在完成的复合板中为建筑物设施提供进出通道。
27.如权利要求10所述的结构模板构件,其特征在于,所述槽式构件的一个或两个侧面包括有开口,用来允许通向所述槽式构件的内部,由此湿混凝土能够在构造复合板期间流进由所述槽式构件和所述底部构件限定的空间中。
28.如权利要求10所述的结构模板构件,其特征在于,所述槽式构件的侧面包括对准的开口,用于使得加强钢筋/电线/电缆能够在构造复合板期间设置成横向延伸穿过所述槽式构件。
29.如权利要求10所述的结构模板构件,其特征在于,所述槽式构件还包括顶部弦杆元件,该顶部弦杆元件安装在所述槽式构件上或由其固定。
30.如权利要求29所述的结构模板构件,其特征在于,所述顶部弦杆元件为杆或棒或板。
31.如权利要求30所述的结构模板构件,其特征在于,所述板具有上翻和/或下翻部分,用于改善在复合板中结构模板构件部件与混凝土的机械互锁。
32.一种结构模板构件,它包括:
(a)金属板形式的底部构件;
(b)在结构上与底部构件连接的至少一个加强构件;以及
(c)桥接构件,它与该加强构件的一个或两个端部连接和/或位于沿着该加强构件的长度的一个或多个位置处,用来使得能够从加强构件直接将载荷传递给用于该结构模板构件的暂时支撑件或永久支撑件。
33.如权利要求32所述的结构模板构件,其特征在于,所述桥接构件为连接在所述加强构件上的弦杆元件的形式。
34.如权利要求33所述的结构模板构件,其特征在于,所述弦杆元件为框架的形式。
35.如权利要求33或34所述的结构模板构件,其特征在于,所述弦杆元件包括允许所述弦杆元件与所述加强构件可调连接的部件。
36.如权利要求32所述的结构模板构件,其特征在于,所述桥接部件为由钢片或钢板形成的面板形式。
37.如权利要求32所述的结构模板构件,其特征在于,所述桥接构件为与所述结构模板构件的底部构件连接的细长构件的形式。
38.如权利要求32所述的结构模板构件,其特征在于,所述加强构件包括格栅梁,该格栅梁由位于所述底部构件上方的顶部弦杆元件和与所述顶部弦杆元件以及所述底部构件连接的腹部弦杆元件形成。
39.如权利要求38所述的结构模板构件,其特征在于,所述格栅梁还包括与所述顶部弦杆元件平行并且与所述腹部弦杆元件连接的底部弦杆元件。
40.如权利要求32所述的结构模板构件,其特征在于,所述加强构件为倒置槽式构件的形式。
41.如权利要求40所述的结构模板构件,其特征在于,所述倒置槽式构件具有一顶壁和两个侧面,并且所述侧面与所述顶壁构件连接,而底部位于底部构件上方。
42.一种结构模板构件,它包括:
(a)金属板形式的底部构件;
(b)在结构上与所述底部构件连接的多个加强构件;
(c)不透水空隙,它与位于相邻加强构件之间的所述底部构件的一部分接触,用于减小在将湿混凝土浇注到所述结构模板构件上时该部分的横向变形。
43.如权利要求42所述的结构模板构件,其特征在于,所述空隙不用作结构件。
44.如权利要求42或43所述的结构模板构件,其特征在于,所述空隙在位于相邻加强构件之间的所述底部构件部分的大部分宽度上延伸。
45.如权利要求42或43所述的结构模板构件,其特征在于,所述空隙在位于相邻加强构件的所述底部构件的至少70%的部分上延伸。
46.如权利要求42所述的结构模板构件,其特征在于,包括多个沿着位于相邻加强构件之间的底部构件部分的长度间隔开的空隙。
47.如权利要求42所述的结构模板构件,其特征在于,包括沿着位于相邻加强构件之间的底部构件部分的长度延伸的单个空隙。
48.如权利要求42所述的结构模板构件,其特征在于,所述空隙在高度方面较小,从而使得能够在构造复合板中使用该构件,这些复合板将受到明显的双向弯曲作用,因此需要沿着横向于所述加强构件的方向进行相当大的加强或预加应力以加强该复合板。
49.如权利要求42所述的结构模板构件,其特征在于,所述空隙由粘接或以其它方式固定在所述底部构件上的材料块来限定。
50.如权利要求42所述的结构模板构件,其特征在于,所述底部构件为成形金属板形式,它具有纵向延伸的肋条和位于这些肋条之间的底盘。
51.如权利要求50所述的结构模板构件,其特征在于,所述空隙通过由以下构件包围的空间来限定:(i)所述底部构件;(ii)所述底部构件肋条的侧面或其它靠近位于相邻加强构件之间的底部构件部分的合适构件的侧面;以及(iii)位于底部构件上方延伸越过所述部分并且接触相邻肋条或其它适当构件的板材。
52.如权利要求50所述的结构模板构件,其特征在于,所述空隙通过由以下构件包围的空间来限定:(i)所述底部构件;以及(ii)成形板材,它具有由所述底部构件的肋条以及其它合适的紧固件固定的侧面。
53.如权利要求50所述的结构模板构件,其特征在于,所述空隙还通过由以下构件包围的空间来限定:(i)所述底部构件;以及(ii)处于向上翻转姿态中的槽式构件,该槽式构件的底部位于所述底部构件的上方并且形成空隙的顶部,而且该槽式构件的侧面向下延伸并且在结构上与在所述底部构件上且形成该空隙的另两个侧面连接。
54.一种复合地板,它包括如权利要求1所述的结构模板构件和位于该构件上的一层硬化混凝土。
55.一种垂直墙板形式的复合板,它包括如权利要求1所述的结构模板构件和位于该构件上的一层硬化混凝土或其它合适的可铸造板材。
CNB028139828A 2001-06-12 2002-06-11 结构模板构件 Expired - Fee Related CN1307352C (zh)

Applications Claiming Priority (5)

Application Number Priority Date Filing Date Title
AUPR5604A AUPR560401A0 (en) 2001-06-12 2001-06-12 A structural formwork member
AUPR5604 2001-06-12
AUPS0937 2002-03-06
AUPS0937A AUPS093702A0 (en) 2002-03-06 2002-03-06 A structural formwork member
PCT/AU2002/000754 WO2002101168A1 (en) 2001-06-12 2002-06-11 A structural formwork member

Publications (2)

Publication Number Publication Date
CN1527899A CN1527899A (zh) 2004-09-08
CN1307352C true CN1307352C (zh) 2007-03-28

Family

ID=32231620

Family Applications (1)

Application Number Title Priority Date Filing Date
CNB028139828A Expired - Fee Related CN1307352C (zh) 2001-06-12 2002-06-11 结构模板构件

Country Status (3)

Country Link
EP (1) EP1421241A1 (zh)
CN (1) CN1307352C (zh)
TW (1) TWI247841B (zh)

Families Citing this family (4)

* Cited by examiner, † Cited by third party
Publication number Priority date Publication date Assignee Title
CN102134906A (zh) * 2011-03-02 2011-07-27 天津市建科机械制造有限公司 整体型骨架结构的桁架
CN103046679B (zh) * 2013-01-22 2014-09-03 江苏银环新型建材科技有限公司 一种混凝土成型用的钢筋模板
AU2013206540B1 (en) * 2013-06-26 2014-09-11 Inhabit Studio Limited An edge-formwork element with integrated channel
CN108894422A (zh) * 2018-07-12 2018-11-27 华南理工大学 装配式压型钢板-混凝土组合楼板及施工方法

Citations (8)

* Cited by examiner, † Cited by third party
Publication number Priority date Publication date Assignee Title
CA704842A (en) * 1965-03-02 E. Curran Bernard Composite floor construction utilizing metal cellular flooring and concrete
AU1262070A (en) * 1970-03-16 1971-09-23 HENRY LIVINGSTON BURN, KENNETH CAMPBELL GRIFFIES and FREDERICK JOHN BROOKMAN Load carrying panel
AU426485B2 (en) * 1969-05-13 1971-11-11 Civil & Civic Pty. Limited Improvements in reinforced concrete constr tion
AU4882172A (en) * 1972-11-16 1974-05-16 Burn H L Tridetic floor system
GB2060730A (en) * 1979-09-15 1981-05-07 Tinsley Building Prod Ltd Concrete floors
WO1997017509A1 (en) * 1995-11-09 1997-05-15 Germix Oy Composite slab, a profile plate thereof and a method for producing a composite slab
AU707101B2 (en) * 1995-01-06 1999-07-01 Broken Hill Proprietary Company Limited, The A structural member
JPH11192613A (ja) * 1997-12-29 1999-07-21 Nkk Corp 鋼底型枠及び床版

Patent Citations (8)

* Cited by examiner, † Cited by third party
Publication number Priority date Publication date Assignee Title
CA704842A (en) * 1965-03-02 E. Curran Bernard Composite floor construction utilizing metal cellular flooring and concrete
AU426485B2 (en) * 1969-05-13 1971-11-11 Civil & Civic Pty. Limited Improvements in reinforced concrete constr tion
AU1262070A (en) * 1970-03-16 1971-09-23 HENRY LIVINGSTON BURN, KENNETH CAMPBELL GRIFFIES and FREDERICK JOHN BROOKMAN Load carrying panel
AU4882172A (en) * 1972-11-16 1974-05-16 Burn H L Tridetic floor system
GB2060730A (en) * 1979-09-15 1981-05-07 Tinsley Building Prod Ltd Concrete floors
AU707101B2 (en) * 1995-01-06 1999-07-01 Broken Hill Proprietary Company Limited, The A structural member
WO1997017509A1 (en) * 1995-11-09 1997-05-15 Germix Oy Composite slab, a profile plate thereof and a method for producing a composite slab
JPH11192613A (ja) * 1997-12-29 1999-07-21 Nkk Corp 鋼底型枠及び床版

Also Published As

Publication number Publication date
EP1421241A1 (en) 2004-05-26
TWI247841B (en) 2006-01-21
CN1527899A (zh) 2004-09-08
HK1066255A1 (zh) 2005-03-18

Similar Documents

Publication Publication Date Title
JP5143956B2 (ja) 階高節減型鋼コンクリート合成スラブ・梁用成形鋼板組立梁
US3894370A (en) Reinforced structures incorporating strip deck material
US20070000197A1 (en) Structural decking system
AU2002256575B2 (en) A structural formwork member
KR101116073B1 (ko) 층고절감형 합성보
CN114562140B (zh) 叠合板式构造的装配整体式水池的接缝结构
AU2002256575A1 (en) A structural formwork member
EP2689075B1 (en) System for reinforcing concrete slabs
CN108571169B (zh) 工厂预制钢砼叠合剪力墙装配式建筑施工方法
KR101069394B1 (ko) 데크패널
CN1307352C (zh) 结构模板构件
KR101105404B1 (ko) 캡 플레이트를 활용한 단부 연속화 데크 플레이트 시스템
KR20190070032A (ko) Z형 강선 래티스근 부착형 합성 데크플레이트 및 그 제조 방법
CN117386066A (zh) 一种预制uhpc梁构件及梁板连接结构
KR102416409B1 (ko) 칸막이벽 설치를 위한 광폭데크
CN113482210B (zh) 一种单向密肋组合楼盖
KR100511413B1 (ko) 건설용 합성 데크플레이트
RU2380494C1 (ru) Стыковое соединение сборных железобетонных колонн с монолитным перекрытием
HK1066255B (zh) 结构模板构件
AU2004206038B2 (en) Structural decking system
CN222275897U (zh) 一种新型楼面预制混凝土叠合板
CN222976200U (zh) 一种钢结构房楼承板的铺设结构
CN220565474U (zh) 一种装配式建筑的预制结构
CN113622574B (zh) 双桁架楼承板的组装方法
JP2024171265A (ja) 合成スラブ構造及び合成スラブ構造を施工する施工方法

Legal Events

Date Code Title Description
C06 Publication
PB01 Publication
C10 Entry into substantive examination
SE01 Entry into force of request for substantive examination
REG Reference to a national code

Ref country code: HK

Ref legal event code: DE

Ref document number: 1066255

Country of ref document: HK

C14 Grant of patent or utility model
GR01 Patent grant
C19 Lapse of patent right due to non-payment of the annual fee
CF01 Termination of patent right due to non-payment of annual fee