CN101813499A - Method and device for calibrating three-dimensional micro tactile sensor - Google Patents

Method and device for calibrating three-dimensional micro tactile sensor Download PDF

Info

Publication number
CN101813499A
CN101813499A CN 201010136209 CN201010136209A CN101813499A CN 101813499 A CN101813499 A CN 101813499A CN 201010136209 CN201010136209 CN 201010136209 CN 201010136209 A CN201010136209 A CN 201010136209A CN 101813499 A CN101813499 A CN 101813499A
Authority
CN
China
Prior art keywords
tactile sensor
dimensional micro
sensor
micro
calibration
Prior art date
Legal status (The legal status is an assumption and is not a legal conclusion. Google has not performed a legal analysis and makes no representation as to the accuracy of the status listed.)
Granted
Application number
CN 201010136209
Other languages
Chinese (zh)
Other versions
CN101813499B (en
Inventor
雷李华
王丽华
郭彤
李源
Current Assignee (The listed assignees may be inaccurate. Google has not performed a legal analysis and makes no representation or warranty as to the accuracy of the list.)
Shanghai Institute of Measurement and Testing Technology
Original Assignee
Shanghai Institute of Measurement and Testing Technology
Priority date (The priority date is an assumption and is not a legal conclusion. Google has not performed a legal analysis and makes no representation as to the accuracy of the date listed.)
Filing date
Publication date
Application filed by Shanghai Institute of Measurement and Testing Technology filed Critical Shanghai Institute of Measurement and Testing Technology
Priority to CN 201010136209 priority Critical patent/CN101813499B/en
Publication of CN101813499A publication Critical patent/CN101813499A/en
Application granted granted Critical
Publication of CN101813499B publication Critical patent/CN101813499B/en
Expired - Fee Related legal-status Critical Current
Anticipated expiration legal-status Critical

Links

Images

Landscapes

  • Force Measurement Appropriate To Specific Purposes (AREA)

Abstract

本发明为一种三维微触觉传感器的校准方法与装置,其特征在于:在隔振腔中安装三维微触觉传感器固定装置、微位移输入装置、CCD摄像头和激光干涉仪;三维微触觉传感器通过不同的夹持机构安放在旋转平台上,微位移输入装置通过控制装置实现三维微触觉传感器的Z轴粗动定位和传感器与压电陶瓷的零接触,压电陶瓷通过控制系统输出振幅信号给三维微触觉传感器施加位移约束信号,再通过信号采集系统和上机软件,建立输入—输出关系图,通过激光干涉仪的校准系统对压电陶瓷的位移约束量进行跟踪测量,实现三维微触觉传感器性能参数的测试和校准。本发明解决了多种传感方式的三维微触觉传感器的线性、量程、精度等多个性能的校准工作。

Figure 201010136209

The invention is a calibration method and device for a three-dimensional micro-tactile sensor, which is characterized in that: a three-dimensional micro-tactile sensor fixing device, a micro-displacement input device, a CCD camera and a laser interferometer are installed in a vibration isolation cavity; the three-dimensional micro-tactile sensor passes through different The clamping mechanism is placed on the rotating platform. The micro-displacement input device realizes the Z-axis coarse motion positioning of the three-dimensional micro-tactile sensor and the zero contact between the sensor and the piezoelectric ceramic through the control device. The piezoelectric ceramic outputs an amplitude signal to the three-dimensional micro-tactile sensor through the control system. The tactile sensor applies a displacement constraint signal, and then establishes the input-output relationship diagram through the signal acquisition system and the computer software, and uses the calibration system of the laser interferometer to track and measure the displacement constraint of the piezoelectric ceramic to realize the performance parameters of the three-dimensional micro-tactile sensor testing and calibration. The invention solves the calibration work of multiple performances such as linearity, range, precision and the like of the three-dimensional micro-tactile sensor in various sensing modes.

Figure 201010136209

Description

A kind of calibration steps of three-dimensional micro tactile sensor and device
Technical field
The present invention relates to a kind of method of correction of instrument, particularly disclose a kind of calibration steps and device of measuring the three-dimensional micro tactile sensor that micron/nano uses.
Background technology
In the last few years, become an important motivity that promotes the sensor development with the fusion of semiconductor technology, this fusion makes the performance of sensor more powerful, and volume is more and more littler, expedites the emergence of out microsensor.The appearance of microsensor makes originally in field that much can not application sensors and is able to the application sensors part, thereby provides condition for the intellectuality of system product.Expedited the emergence of large quantities of novel micro nanometer rice sensors thus, the correlation detection technology of micron/nano size has been proposed new challenge.Conventional sensors is because the unicity of signal, low precision and limited to the feeble signal acquisition capacity, so corresponding various calibrating installation and method often can only be to the realization of conventional sensors to calibrating.Because sensitivity height, precision that the sensor acknowledge(ment) signal of micrometer/nanometer size requires are good, the collection feeble signal, so the signal handling capacity of calibrating installation is had higher requirement.Three-dimensional micro tactile sensor can be realized the measurement to the micrometer/nanometer level of geometric senses such as multidimensional size, position and shape characteristic, the whether superior accuracy that directly affects undersized transmission of quantity value of three-dimensional micro tactile sensor performance, simultaneously also significant to little machining precision and technological level.So the three-dimensional micro tactile sensor that design is finished carries out accurately, calibration timely, the actual characteristic of understanding three-dimensional micro tactile sensor is significant for himself exploitation and design.Long term growth to micro-nano industry has great impetus.Design and a kind ofly can will effectively solve comparison and detection the clamping calibrating installation of multiple three-dimensional micro tactile sensor and method to the performance parameter of three-dimensional micro tactile sensor.
Summary of the invention
Purpose of the present invention proposes a kind of calibration steps and device of three-dimensional micro tactile sensor, can effectively solve multiple sensing mode (pressure resistance type, inductance type, whether the calibration operation of the linearity of the three-dimensional micro tactile sensor of one dimension piezoelectric type), two dimension, three-dimensional and array, range, hysteresis quality, a plurality of performances of precision is assessed its performance and is adhered to specification.
The present invention is achieved in that a kind of calibration steps of three-dimensional micro tactile sensor, it is characterized in that: three-dimensional micro tactile sensor stationary installation, micrometric displacement input media, CCD camera and laser interferometer are installed in shock-isolation chamber; Three-dimensional micro tactile sensor is placed on the rotation platform by different clamping devices, the micrometric displacement input media realizes that by control device the Z axle coarse motion location of three-dimensional micro tactile sensor contacts with zero of piezoelectric ceramics with sensor, piezoelectric ceramics applies the displacement constraint signal for described three-dimensional micro tactile sensor by control system output amplitude signal, signal acquiring system and last machine software by three-dimensional micro tactile sensor, set up input---output relation figure, calibration system by laser interferometer is carried out tracking measurement to the displacement constraint amount of piezoelectric ceramics, realizes the test and the calibration of three-dimensional micro tactile sensor performance parameter.
The calibrating installation of three-dimensional micro tactile sensor is positioned in the shock-isolation chamber, and the shock-isolation chamber physical efficiency effectively absorbs the noise of extraneous certain frequency scope, can realize the noise isolation in the calibration process, and stable calibration environment is provided, and realizes high-precision calibration.Shock-isolation chamber can be realized freely locating by automatic locking mechanism, after tested three-dimensional micro tactile sensor is fixing, closes shock-isolation chamber and finishes calibration operation under the isolation environment.
The calibrating installation of three-dimensional micro tactile sensor in the course of the work, three-dimensional micro tactile sensor is all monitored by a CCD monitor in real time with the situation that contacts of piezoelectric ceramics, prevents the infringement of excessive three-dimensional micro tactile sensor that causes of displacement and micro-displacement apparatus; The piece calibration device is placed on the air supporting vibration-isolating platform, reduces the influence of ambient noise to measuring.
The apparatus and method of calibrating design at the performance of three-dimensional micro tactile sensor have following feature:
(1) in order to eliminate the influence of calibration process environment, calibration process is finished in the shock-isolation chamber of sealing, the in-built CCD camera head, after shock-isolation chamber is closed, monitor in real time by the CCD supervision, observe the situation that contacts of three-dimensional micro tactile sensor and micro-displacement platform, prevent the damage of excessive three-dimensional micro tactile sensor that causes of piezoelectric ceramics displacement and piezoelectric ceramics.
(2) in order to solve the horizontal and axial restraint of three-dimensional micro tactile sensor parts, be fixed on high-precision 360 ° of rotation platforms by clamping device, realize that by the control device (comprising manual and automatic Rotation Controllers) of rotation platform the XOY arbitrary plane angle performance that laterally, axially reaches of three-dimensional micro tactile sensor is calibrated.
(3) fix for the different directions that solves three-dimensional micro tactile sensor and rotation platform, designed axial, horizontal clamping device, realize effective clamping of three-dimensional micro tactile sensor parts, and guarantee that the three-dimensional micro tactile sensor parts have enough surpluses and realize effective beat.The clamping device of piezoelectric ceramics is realized the interlock of piezoelectric ceramics and gear train, and effectively realizes the clamping of piezoelectric ceramics.
(4) the coarse motion location on the Z-direction of the gear train of displacement input media and controller realization piezoelectric ceramics contacts with zero of piezoelectric ceramics with three-dimensional micro tactile sensor, after piezoelectric ceramics contacts with three-dimensional micro tactile sensor is zero, realize that by the piezoelectric ceramics control system displacement constraint signal pressure electroceramics displacement constraint signal to a certain degree causes that sensor output changes again, carry out data acquisition and demonstration by signal modulation and Acquisition Circuit, set up input---output relation figure.
(5) by the tracking measurement of laser interferometer to the high-precision displacement constraint signal of piezoelectric ceramics output, the displacement variable that obtains by laser interferometer measurement with collect input---output relation figure effectively compares, realize the high-precision calibration of the performance of three-dimensional micro tactile sensor.
The invention has the beneficial effects as follows: the actual performance to multiple three-dimensional micro tactile sensor realizes calibration and parameter calibration, solution is to the investigation of three-dimensional micro tactile sensor its actual performance before installation, realize linearity, range, the hysteresis quality of three-dimensional micro tactile sensor, the calibration of precision property, for the raising of micro fabrication provides foundation.Solved in the active demand to the calibration of geometrical dimensional measurement apparatus performance of little processing and manufacturing and microstructure field tests, achievement in research has important application prospects and practical value.For the exploitation and the improvement direction of novel three-dimensional micro tactile sensor were put forward effective foundation, also provide good scheme reference for developing new micro-/ nano means of testing and surveying instrument, and significant for the raising that promotes the microstructure surveying instrument.Simultaneously, to the development of high precision measuring system more and promote further developing of micro-nano precision measurement measuring technique and have important scientific meaning and learning value equally.
The invention will be further described below in conjunction with drawings and Examples.
Description of drawings
Fig. 1 is a three-dimensional micro tactile sensor calibrating installation synoptic diagram of the present invention;
Fig. 2 is the stationary installation assembly drawing of three-dimensional micro tactile sensor of the present invention;
Fig. 3 is a micrometric displacement input media assembly drawing of the present invention;
Fig. 4 a is the horizontal clamping device synoptic diagram of three-dimensional micro tactile sensor of the present invention;
Fig. 4 b is the axial clamping structural scheme of mechanism of three-dimensional micro tactile sensor of the present invention;
Fig. 4 c is a piezoelectric ceramics clamping device synoptic diagram of the present invention;
Fig. 5 a is a three-dimensional micro tactile sensor lateral performance calibration mode synoptic diagram of the present invention;
Fig. 5 b is a three-dimensional micro tactile sensor axial property calibration mode synoptic diagram of the present invention.
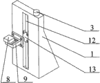
In the drawings: 1, fixed support; 2, rotating disc manual knob; 3, gear train manual knob; 4, index dial; 5, rotation platform; 6, sensor clamping mechanism; 7, three-dimensional micro tactile sensor; 8, piezoelectric ceramics; 9, piezoelectric ceramics clamping device; 10, CCD camera system; 11, laser interferometer; 12, gear train guide rail; 13, gear train article carrying platform; 14, platform web joint; 15, sensor clamping plate; 16, platform web joint; 17, sensor clamping plate; 18, laser via; 19, platform web joint; 20, piezoelectric ceramics grip block.
Embodiment
With reference to the accompanying drawings 1, three-dimensional micro tactile sensor calibrating installation of the present invention comprises fixed support 1, rotating disc manual knob 2, gear train manual knob 3, index dial 4, rotation platform 5, three-dimensional micro tactile sensor clamping device 6, three-dimensional micro tactile sensor 7, piezoelectric ceramics 8, piezoelectric ceramics clamping device 9, CCD camera system 10 and laser interferometer 11.
With reference to the accompanying drawings 2, the stationary installation of three-dimensional micro tactile sensor comprises: fixed support 1, rotating disc manual knob 2, index dial 4, rotation platform 5, sensor clamping mechanism 6 and three-dimensional micro tactile sensor 7.On fixed support 1, installed and can have 1 " rotation platform 5 of resolving power; realize three-dimensional micro tactile sensors 7 fixing with angle by sensor clamping mechanism 6, by be installed on the fixed support 1 rotating disc manual knob 2 and automatically Rotation Controllers realize the high precision angle orientation of XOY plane.The calibration mode synoptic diagram of two kinds of three-dimensional micro tactile sensors shown in accompanying drawing 5a and the 5b: a. lateral performance calibration mode b. is axially to the performance calibration mode.Select clamping device by two kinds of orientation, realize horizontal, axial restraint, realize location, any angle in the XOY plane by rotation platform drive three-dimensional micro tactile sensor, can realize effective calibration the multidimensional calibrating and the array three-dimensional micro tactile sensor of single gauge head sensor.
The input of three-dimensional micro tactile sensor displacement constraint signal.Micrometric displacement input media assembly drawing of the present invention comprises fixed support 1, gear train manual knob 3, gear train guide rail 12, gear train article carrying platform 13, sensor clamping mechanism 6, piezoelectric ceramics 8 shown in the accompanying drawing 3.For the coarse motion adjusting of Z axle and the high-precision signal input of piezoelectric ceramics micrometric displacement amount, Z-direction gear train guide rail 12 and gear train article carrying platform 13 are installed on fixed support 1, by sensor clamping mechanism 6, realize piezoelectric ceramics 8 and the flat interlock of gear train article carrying platform and effectively fixing, realize that by the gear train manual knob of installing on automatic transmission control device and the fixed support 13 gear train drives piezoelectric ceramics 8 and realizes friction speed, the displacement output of pattern and precision, the Primary Location of realization piezoelectric ceramics and three-dimensional micro tactile sensor gauge head parts.In order to realize effectively calibrating the displacement response performance of three-dimensional micro tactile sensor, by having high-resolution piezoelectric ceramic part, the prefabricated control of the signal mode of selection piezoelectric ceramics and speed, mobile displacement realizes high-precision, the displacement constraint amount of certain Oscillation Amplitude realizes the high-precision signal input to three-dimensional micro tactile sensor.
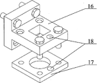
Accompanying drawing 4a is the horizontal clamping device synoptic diagram of three-dimensional micro tactile sensor of the present invention.The axial clamping structural scheme of mechanism of accompanying drawing 4b three-dimensional micro tactile sensor of the present invention, platform web joint 16 center evolution connected in stars are realized depositing of three-dimensional micro tactile sensor sensor circuit part and holding of three-dimensional micro tactile sensor.Open through hole at the center, realize the three-dimensional effective clamping with sensor fixed part of penetrating of touching little sense sensor parts.Laterally the platform web joint 14 and the sensor clamping plate 15 of clamping device leave laser via 18, realize effective tracking measurement of 11 pairs of piezoelectric ceramics displacement constraints of laser interferometer amount.Utilize Ultraprecision Machining machining screw cover and bolt, make the three-dimensional micro tactile sensor parts be fixed on the center of rotation platform, guaranteed the verticality and the bearing accuracy of three-dimensional micro tactile sensor by sensor clamping plate 15,17.
Accompanying drawing 4c is a piezoelectric ceramics clamping device of the present invention, by horizontal embedded groove and screw, realizes the effectively fixing of piezoelectric ceramics 8.
Embodiment:
The calibration implementation method of three-dimensional micro tactile sensor." clamping device 6 of the three-dimensional micro tactile sensor that the rotation platform 5 of resolution and different azimuth are installed is realized the fixing and location of three-dimensional micro tactile sensor; by piezoelectric ceramics clamping device 9 piezoelectric ceramics 8 is fixed near under the three-dimensional micro tactile sensor 7, realizes that by manual control gear train piezoelectric ceramic part contacts with zero of three-dimensional micro tactile sensor then by one 1.Whole measurement calibration process is monitored by the CCD monitor in real time by being installed in the CCD camera system 10 in the shock-isolation chamber, thereby clearly distinguishes the exposure level of three-dimensional micro tactile sensor parts and piezoelectric ceramics.After three-dimensional micro tactile sensor zero contact, using piezoelectric ceramics 8 instead provides 4 different driving voltages for three-dimensional micro tactile sensor 7, the low frequency displacement signal of output various amplitude carries out data acquisition and demonstration by signal condition system and Acquisition Circuit, sets up input---output relation figure.Laser interferometer 11 be installed in piezoelectric ceramics directly over, catoptron is placed on the piezoelectric ceramics, the setting in motion of piezoelectric ceramics is before with laser interferometer zero setting, by laser interference the constrained displacement input quantity of piezoelectric ceramics is carried out tracking measurement, with measured value and input---the output relation figure compare of analysis that collects, the actual performance of assessment three-dimensional micro tactile sensor.
The present invention for narrate accurately, convenient, be described in detail with three-dimensional micro tactile sensor, and the present invention to the calibration of one dimension, two dimension, three-dimensional, many gauge heads of array three-dimensional micro tactile sensor all within invention scope.The present invention is to all devices open and that disclose, parts and method can produce by using for reference this paper disclosure, although device of the present invention, parts and method are described by detailed implementation process, but those skilled in the art obviously can not break away from content of the present invention, the described method and apparatus of the application is spliced in the spirit and scope or change, or increase and decrease some parts, more particularly, the replacement that all are similar and change apparent to those skilled in the artly, they are regarded as being included in spirit of the present invention, among scope and the content.

Claims (4)

1.一种三维微触觉传感器的校准方法,其特征在于:在隔振腔中安装三维微触觉传感器固定装置、微位移输入装置、CCD摄像头和激光干涉仪;三维微触觉传感器通过不同的夹持机构安放在旋转平台上,微位移输入装置通过控制装置实现三维微触觉传感器的Z轴粗动定位和传感器与压电陶瓷的零接触,压电陶瓷通过控制系统输出振幅信号给所述的三维微触觉传感器施加位移约束信号,通过三维微触觉传感器的信号采集系统和上机软件,建立输入——输出关系图,通过激光干涉仪的校准系统对压电陶瓷的位移约束量进行跟踪测量,实现三维微触觉传感器性能参数的测试和校准,具体操作步骤如下:1. A calibration method for a three-dimensional micro-tactile sensor, characterized in that: a three-dimensional micro-tactile sensor fixture, a micro-displacement input device, a CCD camera and a laser interferometer are installed in a vibration-isolation cavity; the three-dimensional micro-tactile sensor passes through different clamping The mechanism is placed on the rotating platform, and the micro-displacement input device realizes the Z-axis coarse motion positioning of the three-dimensional micro-tactile sensor and the zero contact between the sensor and the piezoelectric ceramic through the control device, and the piezoelectric ceramic outputs an amplitude signal to the three-dimensional micro-tactile sensor through the control system. The tactile sensor applies a displacement constraint signal, through the signal acquisition system of the three-dimensional micro-tactile sensor and the computer software, an input-output relationship diagram is established, and the calibration system of the laser interferometer is used to track and measure the displacement constraint of the piezoelectric ceramic, realizing three-dimensional The test and calibration of the performance parameters of the micro-tactile sensor, the specific operation steps are as follows: (1)校准过程在密封的隔振腔中完成,内置CCD摄像头,隔振腔关闭后,通过CCD监视进行实时监控,观察三维微触觉传感器与微位移平台的接触情况,防止压电陶瓷位移过大引起的三维微触觉传感器和压电陶瓷的损坏;(1) The calibration process is completed in a sealed vibration isolation chamber with a built-in CCD camera. After the vibration isolation chamber is closed, real-time monitoring is carried out through CCD monitoring to observe the contact between the three-dimensional micro-tactile sensor and the micro-displacement platform to prevent the displacement of piezoelectric ceramics. Large damage caused by three-dimensional micro-tactile sensors and piezoelectric ceramics; (2)通过夹持机构固定在高精度的360°旋转平台,通过旋转平台的控制装置(包括手动和自动旋转控制器)实现三维微触觉传感器的横向、轴向及XOY任意平面夹角性能校准;(2) Fixed on a high-precision 360° rotating platform by a clamping mechanism, and realize the horizontal, axial and XOY arbitrary plane angle performance calibration of the three-dimensional micro-tactile sensor through the control device of the rotating platform (including manual and automatic rotation controllers) ; (3)设计了轴向、横向夹持机构,实现三维微触觉传感器部件的有效夹持,并保证三维微触觉传感器部件具有足够余量实现有效偏摆,设计了压电陶瓷的夹持机构实现压电陶瓷与传动机构的连动性,并有效实现压电陶瓷的夹持;(3) The axial and lateral clamping mechanisms are designed to realize the effective clamping of the three-dimensional micro-tactile sensor components, and to ensure that the three-dimensional micro-tactile sensor components have sufficient margin to achieve effective deflection, and the piezoelectric ceramic clamping mechanism is designed to achieve The linkage between piezoelectric ceramics and the transmission mechanism, and effectively realize the clamping of piezoelectric ceramics; (4)位移输入装置的传动机构和控制器实现压电陶瓷的Z轴方向上的粗动定位和三维微触觉传感器与压电陶瓷的零接触,压电陶瓷与三维微触觉传感器零接触后,再通过压电陶瓷控制系统实现一定程度的位移约束信号压电陶瓷位移约束信号引起传感器输出改变,通过信号调制和采集电路进行数据采集和显示,建立输入——输出关系图;(4) The transmission mechanism and controller of the displacement input device realize the coarse motion positioning of the piezoelectric ceramic in the Z-axis direction and the zero contact between the three-dimensional micro-tactile sensor and the piezoelectric ceramic. After zero contact between the piezoelectric ceramic and the three-dimensional micro-tactile sensor, Then through the piezoelectric ceramic control system, a certain degree of displacement constraint signal is realized. The piezoelectric ceramic displacement constraint signal causes the output of the sensor to change, and the data is collected and displayed through the signal modulation and acquisition circuit, and the input-output relationship diagram is established; (5)通过激光干涉仪对压电陶瓷输出的高精度的位移约束信号的跟踪测量,由激光干涉仪测量得到的位移变化量与采集得到的输入——输出关系图进行有效的比对,实现三维微触觉传感器的性能的高精度校准。(5) Track and measure the high-precision displacement constraint signal output by the piezoelectric ceramics through the laser interferometer, and effectively compare the displacement change measured by the laser interferometer with the input-output relationship diagram collected to realize High-precision calibration of the performance of 3D microtactile sensors. 2.一种权利要求1所述方法制成的三维微触觉传感器的校准装置,其特征在于:三维微触觉传感器校准装置包括固定支架、旋转盘手动旋钮、传动手动旋钮、刻度盘、旋转平台、三维微触觉传感器夹持机构、三维微触觉传感器、压电陶瓷、压电陶瓷夹持机构、CCD摄像系统和激光干涉仪;三维微触觉传感器通过三维微触觉传感器夹持机构安装在旋转平台上,旋转平台与刻度盘连接并安装在固定支架上部,旋转盘手动旋钮在该固定支架的顶部,压电陶瓷通过压电陶瓷夹持机构安装在另一个固定支架上,CCD摄像系统独立安装在支架顶部,激光干涉仪悬挂在两固定支架的上空。2. a calibration device for the three-dimensional micro-tactile sensor made by the method of claim 1, characterized in that: the three-dimensional micro-tactile sensor calibration device comprises a fixed support, a rotating disc manual knob, a transmission manual knob, a dial, a rotating platform, Three-dimensional micro-tactile sensor clamping mechanism, three-dimensional micro-tactile sensor, piezoelectric ceramics, piezoelectric ceramic clamping mechanism, CCD camera system and laser interferometer; the three-dimensional micro-tactile sensor is installed on the rotating platform through the three-dimensional micro-tactile sensor clamping mechanism, The rotating platform is connected with the dial and installed on the upper part of the fixed bracket. The manual knob of the rotating disc is on the top of the fixed bracket. The piezoelectric ceramics are installed on another fixed bracket through the piezoelectric ceramic clamping mechanism, and the CCD camera system is independently installed on the top of the bracket. , the laser interferometer is suspended above the two fixed brackets. 3.根据权利要求2所述的三维微触觉传感器的校准装置,其特征在于还包括三维微触觉传感器的微位移输入装置:固定支架、传动机构手动旋钮、传动机构导轨、传动机构载物平台、压电陶瓷和压电陶瓷夹持机构。3. the calibration device of three-dimensional micro-tactile sensor according to claim 2, is characterized in that also comprising the micro-displacement input device of three-dimensional micro-tactile sensor: fixed support, transmission mechanism manual knob, transmission mechanism guide rail, transmission mechanism loading platform, Piezoceramics and piezoceramic clamping mechanisms. 4.根据权利要求2所述的三维微触觉传感器的校准装置,其特征在于:所述的三维微触觉传感器夹持机构分为传感器横向夹持机构和传感器轴向夹持机构,传感器横向夹持机构包括平台连接板和传感器夹持板,传感器轴向夹持机构包括平台连接板、传感器夹持板和激光通孔;所述的压电陶瓷夹持机构包括平台连接板和压电陶瓷夹持板。4. the calibration device of three-dimensional micro-tactile sensor according to claim 2, is characterized in that: described three-dimensional micro-tactile sensor clamping mechanism is divided into sensor lateral clamping mechanism and sensor axial clamping mechanism, and sensor lateral clamping mechanism The mechanism includes a platform connecting plate and a sensor clamping plate, and the sensor axial clamping mechanism includes a platform connecting plate, a sensor clamping plate and a laser through hole; the piezoelectric ceramic clamping mechanism includes a platform connecting plate and a piezoelectric ceramic clamping plate.
CN 201010136209 2010-03-30 2010-03-30 Method and device for calibrating three-dimensional micro tactile sensor Expired - Fee Related CN101813499B (en)

Priority Applications (1)

Application Number Priority Date Filing Date Title
CN 201010136209 CN101813499B (en) 2010-03-30 2010-03-30 Method and device for calibrating three-dimensional micro tactile sensor

Applications Claiming Priority (1)

Application Number Priority Date Filing Date Title
CN 201010136209 CN101813499B (en) 2010-03-30 2010-03-30 Method and device for calibrating three-dimensional micro tactile sensor

Publications (2)

Publication Number Publication Date
CN101813499A true CN101813499A (en) 2010-08-25
CN101813499B CN101813499B (en) 2011-06-08

Family

ID=42620814

Family Applications (1)

Application Number Title Priority Date Filing Date
CN 201010136209 Expired - Fee Related CN101813499B (en) 2010-03-30 2010-03-30 Method and device for calibrating three-dimensional micro tactile sensor

Country Status (1)

Country Link
CN (1) CN101813499B (en)

Cited By (10)

* Cited by examiner, † Cited by third party
Publication number Priority date Publication date Assignee Title
CN102967289A (en) * 2012-11-01 2013-03-13 华中科技大学 Device for calibrating static and dynamic characteristics of contact probe type contourgraph sensor
CN103185548A (en) * 2011-12-31 2013-07-03 睿励科学仪器(上海)有限公司 Auxiliary device and method for measuring platform performance parameters of semiconductor machine
CN104048588A (en) * 2014-06-25 2014-09-17 中国科学院长春光学精密机械与物理研究所 Calibration device for plate condenser displacement sensor
CN110017856A (en) * 2019-03-28 2019-07-16 北京农业智能装备技术研究中心 A kind of sensor calibrating system
CN111289030A (en) * 2020-03-07 2020-06-16 中国计量科学研究院 A capacitive sensor stability testing device
CN111856686A (en) * 2020-08-21 2020-10-30 山东大学 A Multi-dimensional Adjustable Piezoelectric Drive Optical Adjustment Frame Based on Clamping Fixture
CN114923412A (en) * 2022-05-24 2022-08-19 绍兴职业技术学院 Calibration method for multi-measuring-head measuring system of shaft parts
CN115330641A (en) * 2022-10-12 2022-11-11 天津大学 Image restoration method, system and device based on MHD angular velocity sensor
CN115847487A (en) * 2022-12-24 2023-03-28 西安交通大学 Bionic touch finger friction experiment device
CN115854887A (en) * 2023-02-20 2023-03-28 四川思创博睿工业设计有限公司 Distance measuring mechanism and method

Citations (9)

* Cited by examiner, † Cited by third party
Publication number Priority date Publication date Assignee Title
CN1067505A (en) * 1991-06-05 1992-12-30 北京理工大学 Combined tactile sensor
CN2156492Y (en) * 1993-05-07 1994-02-16 北京理工大学 Flexible photo touch sensor
EP0922431A1 (en) * 1997-03-28 1999-06-16 Seiko Epson Corporation Tactile sense detector and notification unit
CN1246087A (en) * 1997-01-29 2000-03-01 株式会社安川电机 Device and method for calibrating robot
EP0997801A2 (en) * 1998-10-27 2000-05-03 Karl-Heinz Schmall Linear drive means for machining tools
CN1582217A (en) * 2001-11-01 2005-02-16 阿森姆布里昂股份有限公司 Method of calibrating a component placement machine, device suitable for carrying out such a method, and calibration component suitable for use in such a method or device
CN1975322A (en) * 2006-12-04 2007-06-06 天津大学 Micro-geometric sense measuring device based on nano-measuring machine and micro-tactometering head
US20080202202A1 (en) * 2004-09-14 2008-08-28 Jun Ueda Tactile Sensor and Use Thereof
CN201335681Y (en) * 2009-01-20 2009-10-28 东南大学 Accurate position measuring device in flexible tactile device

Patent Citations (9)

* Cited by examiner, † Cited by third party
Publication number Priority date Publication date Assignee Title
CN1067505A (en) * 1991-06-05 1992-12-30 北京理工大学 Combined tactile sensor
CN2156492Y (en) * 1993-05-07 1994-02-16 北京理工大学 Flexible photo touch sensor
CN1246087A (en) * 1997-01-29 2000-03-01 株式会社安川电机 Device and method for calibrating robot
EP0922431A1 (en) * 1997-03-28 1999-06-16 Seiko Epson Corporation Tactile sense detector and notification unit
EP0997801A2 (en) * 1998-10-27 2000-05-03 Karl-Heinz Schmall Linear drive means for machining tools
CN1582217A (en) * 2001-11-01 2005-02-16 阿森姆布里昂股份有限公司 Method of calibrating a component placement machine, device suitable for carrying out such a method, and calibration component suitable for use in such a method or device
US20080202202A1 (en) * 2004-09-14 2008-08-28 Jun Ueda Tactile Sensor and Use Thereof
CN1975322A (en) * 2006-12-04 2007-06-06 天津大学 Micro-geometric sense measuring device based on nano-measuring machine and micro-tactometering head
CN201335681Y (en) * 2009-01-20 2009-10-28 东南大学 Accurate position measuring device in flexible tactile device

Non-Patent Citations (2)

* Cited by examiner, † Cited by third party
Title
《传感器技术》 19901031 叶世雄 触觉传感技术评述 , 第5期 2 *
《液压与气动》 19881231 李建藩,等 气动触觉控制的装配机械手 , 第4期 2 *

Cited By (14)

* Cited by examiner, † Cited by third party
Publication number Priority date Publication date Assignee Title
CN103185548A (en) * 2011-12-31 2013-07-03 睿励科学仪器(上海)有限公司 Auxiliary device and method for measuring platform performance parameters of semiconductor machine
CN103185548B (en) * 2011-12-31 2016-03-09 睿励科学仪器(上海)有限公司 Measure servicing unit and the method for the platform property parameter of semiconductor board
CN102967289A (en) * 2012-11-01 2013-03-13 华中科技大学 Device for calibrating static and dynamic characteristics of contact probe type contourgraph sensor
CN104048588A (en) * 2014-06-25 2014-09-17 中国科学院长春光学精密机械与物理研究所 Calibration device for plate condenser displacement sensor
CN110017856B (en) * 2019-03-28 2020-12-29 北京农业智能装备技术研究中心 Sensor calibration system
CN110017856A (en) * 2019-03-28 2019-07-16 北京农业智能装备技术研究中心 A kind of sensor calibrating system
CN111289030A (en) * 2020-03-07 2020-06-16 中国计量科学研究院 A capacitive sensor stability testing device
CN111856686A (en) * 2020-08-21 2020-10-30 山东大学 A Multi-dimensional Adjustable Piezoelectric Drive Optical Adjustment Frame Based on Clamping Fixture
CN114923412A (en) * 2022-05-24 2022-08-19 绍兴职业技术学院 Calibration method for multi-measuring-head measuring system of shaft parts
CN114923412B (en) * 2022-05-24 2024-03-12 绍兴职业技术学院 Calibration method for shaft part multi-measuring head measuring system
CN115330641A (en) * 2022-10-12 2022-11-11 天津大学 Image restoration method, system and device based on MHD angular velocity sensor
CN115847487A (en) * 2022-12-24 2023-03-28 西安交通大学 Bionic touch finger friction experiment device
CN115854887A (en) * 2023-02-20 2023-03-28 四川思创博睿工业设计有限公司 Distance measuring mechanism and method
CN115854887B (en) * 2023-02-20 2023-05-16 四川思创博睿工业设计有限公司 Distance measuring mechanism and method

Also Published As

Publication number Publication date
CN101813499B (en) 2011-06-08

Similar Documents

Publication Publication Date Title
CN101813499A (en) Method and device for calibrating three-dimensional micro tactile sensor
CN105865714B (en) A kind of rotor unbalance measurement apparatus based on grating scale feedback signal
CN204831330U (en) Three -axle table's attitude sensor test system
CN103616127B (en) Trace to the source caliberating device and the source tracing method of micro-cantilever elastic constant
CN105444949B (en) A kind of rotary inertia testboard based on torque sensor
CN104266792B (en) A kind of micro-nano force value standard set-up based on electromagnetic compensation balance and source tracing method thereof
CN102539028B (en) Vertical ultra-micro force value measuring device based on principle of electrostatic force and source tracing method thereof
CN101881626A (en) Self-correcting horizontal loading device
CN103630098B (en) The non-contact detection method of straight-line displacement platform Motion Parallel degree
CN105136418B (en) Micro- disturbance torque simulation system vibration characteristics device for testing and analyzing
CN204142273U (en) Calibration device for dynamic index of eddy current sensor
CN102564862B (en) A method for testing the rigidity of a pendulum plate
CN106989723B (en) Ultra-high precision tilt test platform
CN105675723A (en) Method for obtaining surface contact rigidity based on system characteristic frequency, and detection apparatus thereof
CN106123809A (en) A kind of sub-rad level angle-measuring equipment
CN101187623A (en) Applicable to the multi-axis stress state dynamic friction coefficient measurement device in the tube expansion forming process
CN205879132U (en) Inferior rad level angle measurement device
CN104359618A (en) Device for field calibration of dynamometer torquemeter of rotary mechanical test bed
CN116930554A (en) Speed sensor calibration system and calibration method for precision instrument vibration isolator
CN114739553A (en) General detection device of clutch suction
CN113494980B (en) Metering calibration method for large-range mass center measuring table
CN202329940U (en) Measuring device for calibration of dynamic balancing machine
CN102426000B (en) Device and method for detecting coplanarity of two series adjacent intersecting rotary axes exposed at intersection point
CN221926019U (en) A high-precision calibration device for a tap density meter
CN101135634A (en) Measuring System of Coefficient of Dynamic Friction in Material Forming

Legal Events

Date Code Title Description
C06 Publication
PB01 Publication
SE01 Entry into force of request for substantive examination
C14 Grant of patent or utility model
GR01 Patent grant
CF01 Termination of patent right due to non-payment of annual fee
CF01 Termination of patent right due to non-payment of annual fee

Granted publication date: 20110608

Termination date: 20160330