BRPI0519087B1 - Instrumento para inserção de um implante no canal de schlemm do olho - Google Patents

Instrumento para inserção de um implante no canal de schlemm do olho Download PDF

Info

Publication number
BRPI0519087B1
BRPI0519087B1 BRPI0519087-8A BRPI0519087A BRPI0519087B1 BR PI0519087 B1 BRPI0519087 B1 BR PI0519087B1 BR PI0519087 A BRPI0519087 A BR PI0519087A BR PI0519087 B1 BRPI0519087 B1 BR PI0519087B1
Authority
BR
Brazil
Prior art keywords
implant
channel
instrument
filament
traction
Prior art date
Application number
BRPI0519087-8A
Other languages
English (en)
Inventor
Robert Stegmann
Stanley R. Conston
David J. Kupiecki
John McKenzie
Candice D. Pinson
Ronald Yamamoto
Original Assignee
Iscience Interventional Corporation
Priority date (The priority date is an assumption and is not a legal conclusion. Google has not performed a legal analysis and makes no representation as to the accuracy of the date listed.)
Filing date
Publication date
Family has litigation
First worldwide family litigation filed litigation Critical https://patents.darts-ip.com/?family=36587389&utm_source=google_patent&utm_medium=platform_link&utm_campaign=public_patent_search&patent=BRPI0519087(B1) "Global patent litigation dataset” by Darts-ip is licensed under a Creative Commons Attribution 4.0 International License.
Application filed by Iscience Interventional Corporation filed Critical Iscience Interventional Corporation
Publication of BRPI0519087A2 publication Critical patent/BRPI0519087A2/pt
Publication of BRPI0519087B1 publication Critical patent/BRPI0519087B1/pt
Publication of BRPI0519087B8 publication Critical patent/BRPI0519087B8/pt

Links

Images

Classifications

    • AHUMAN NECESSITIES
    • A61MEDICAL OR VETERINARY SCIENCE; HYGIENE
    • A61FFILTERS IMPLANTABLE INTO BLOOD VESSELS; PROSTHESES; DEVICES PROVIDING PATENCY TO, OR PREVENTING COLLAPSING OF, TUBULAR STRUCTURES OF THE BODY, e.g. STENTS; ORTHOPAEDIC, NURSING OR CONTRACEPTIVE DEVICES; FOMENTATION; TREATMENT OR PROTECTION OF EYES OR EARS; BANDAGES, DRESSINGS OR ABSORBENT PADS; FIRST-AID KITS
    • A61F2/00Filters implantable into blood vessels; Prostheses, i.e. artificial substitutes or replacements for parts of the body; Appliances for connecting them with the body; Devices providing patency to, or preventing collapsing of, tubular structures of the body, e.g. stents
    • A61F2/02Prostheses implantable into the body
    • A61F2/14Eye parts, e.g. lenses or corneal implants; Artificial eyes
    • AHUMAN NECESSITIES
    • A61MEDICAL OR VETERINARY SCIENCE; HYGIENE
    • A61FFILTERS IMPLANTABLE INTO BLOOD VESSELS; PROSTHESES; DEVICES PROVIDING PATENCY TO, OR PREVENTING COLLAPSING OF, TUBULAR STRUCTURES OF THE BODY, e.g. STENTS; ORTHOPAEDIC, NURSING OR CONTRACEPTIVE DEVICES; FOMENTATION; TREATMENT OR PROTECTION OF EYES OR EARS; BANDAGES, DRESSINGS OR ABSORBENT PADS; FIRST-AID KITS
    • A61F9/00Methods or devices for treatment of the eyes; Devices for putting in contact-lenses; Devices to correct squinting; Apparatus to guide the blind; Protective devices for the eyes, carried on the body or in the hand
    • A61F9/007Methods or devices for eye surgery
    • A61F9/00781Apparatus for modifying intraocular pressure, e.g. for glaucoma treatment
    • AHUMAN NECESSITIES
    • A61MEDICAL OR VETERINARY SCIENCE; HYGIENE
    • A61FFILTERS IMPLANTABLE INTO BLOOD VESSELS; PROSTHESES; DEVICES PROVIDING PATENCY TO, OR PREVENTING COLLAPSING OF, TUBULAR STRUCTURES OF THE BODY, e.g. STENTS; ORTHOPAEDIC, NURSING OR CONTRACEPTIVE DEVICES; FOMENTATION; TREATMENT OR PROTECTION OF EYES OR EARS; BANDAGES, DRESSINGS OR ABSORBENT PADS; FIRST-AID KITS
    • A61F9/00Methods or devices for treatment of the eyes; Devices for putting in contact-lenses; Devices to correct squinting; Apparatus to guide the blind; Protective devices for the eyes, carried on the body or in the hand
    • A61F9/007Methods or devices for eye surgery

Landscapes

  • Health & Medical Sciences (AREA)
  • Ophthalmology & Optometry (AREA)
  • General Health & Medical Sciences (AREA)
  • Public Health (AREA)
  • Engineering & Computer Science (AREA)
  • Biomedical Technology (AREA)
  • Heart & Thoracic Surgery (AREA)
  • Vascular Medicine (AREA)
  • Life Sciences & Earth Sciences (AREA)
  • Animal Behavior & Ethology (AREA)
  • Veterinary Medicine (AREA)
  • Surgery (AREA)
  • Nuclear Medicine, Radiotherapy & Molecular Imaging (AREA)
  • Cardiology (AREA)
  • Oral & Maxillofacial Surgery (AREA)
  • Transplantation (AREA)
  • Prostheses (AREA)
  • Acyclic And Carbocyclic Compounds In Medicinal Compositions (AREA)
  • Medicines That Contain Protein Lipid Enzymes And Other Medicines (AREA)
  • Medicinal Preparation (AREA)

Abstract

implante para o tratamento de glaucoma, instrumento para inserção de um implante no canal de schlemm do olho, e, método para aumentar o fluxo de saída aquoso do fluido através do canal de schlemm no olho. um implante é colocado dentro do canal de schlemm do olho e fornece tração à rede trabecular. a tração é continua e aumenta o fluxo de saída aquoso sem a necessidade de administrar drogas colinérgicas para tratar o glaucoma.

Description

INSTRUMENTO PARA INSERÇÃO DE UM IMPLANTE NO CANAL DE SCHLEMM DO OLHO Fundamentos da Invenção
[001] O glaucoma é uma condição doentia dos olhos em que a pressão intraocular aumentada (IOP) é criada mediante o bloqueio do mecanismo de drenagem do fluido aquoso produzido na parte anterior dos olhos. Tais condições de fluxo de saída aquoso são geralmente tratadas por drogas tópicas na forma de colírios, mas pode resultar em tratamento cirúrgico se o tratamento de droga se torne ineficaz devido à perda de resposta à droga ou fraca submissão do paciente.
[002] Pesquisa oftálmica tem indicado que a maior resistência ao fluxo de saída aquoso é a rede trabecular, mais especificamente, o tecido justacanalicular na parede interna do canal de Schlemm (Grant, M.W., Arch. Ophthal. 1963; 69:783-801). A cirurgia tradicional do glaucoma tal como trabeculectomia, envolve uma dissecação do retalho do olho e a remoção de uma parte do tecido esclerótico e da rede trabecular para desviar o trajeto do fluxo de saída aquoso normal e formar um trajeto de fluxo de saída direto a partir da câmara anterior. O fluido aquoso é direcionado posteriormente sob o retalho cirúrgico e a um lago sub-conjuntival conhecido como uma vesícula. As complicações pós-cirúrgicas e o manejo da vesícula são questões significativas com a trabeculectomia e procedimentos similares.
[003] Os tratamentos cirúrgicos recentemente desenvolvidos para o glaucoma envolvem o acesso cirúrgico do canal de Schlemm pela maneira de um ou mais retalhos cirúrgicos e subseqüentemente dilatação do canal para aumentar a drenagem do humor aquoso no trajeto de drenagem natural em lugar de uma vesícula. Os mecanismos envolvidos na dilatação do canal de Schlemm para auxiliar o fluxo de saída aquoso não são completamente elucidados. A dilatação ou expansão do canal pode causar uma comunicação direta entre o canal de Schlemm e o espaço justacanalicular e pode intensificar o fluxo de saída aquoso (Smit, B.A., Johnstone, M.A., Ophthalmology, 2002; 109:786-792). Além disso, a dilatação do canal pode também limitar a capacidade da parede interna ser distendida externamente mediante o aumento da pressão intraocular e comprimir contra a parede externa para aumentar a resistência do fluxo de saída aquoso (Ellingsen, B.A., Grant, W.M., Investigative Ophthalmology, 1972; 11(1): 21-8).
[004] Vários métodos e dispositivos para a cirurgia de glaucoma que envolve o canal de Schlemm foram descritos na técnica anterior. Stegmann, et al. na US 5.486.165 apresentam uma microcânula designada para a liberação de substâncias no canal de Schlemm durante a cirurgia de glaucoma. Na US 2002/0013546, Grieshaber, et al. apresentam um dispositivo para sustentar um lúmen expandido do canal de Schlemm em uma posição permanentemente expandida. Lynch, et al. na US 6.464.724 descrevem um dispositivo de stent para expandir e manter a desobstrução do canal de Schlemm. Neuhann na US 6.494.857 descreve um dispositivo tubular longitudinalmente curvado.
[005] Outros métodos para melhorar a drenagem do humor aquoso no canal de Schlemm envolvem a colocação de um desvio que forma uma passagem de fluido entre a câmara anterior e o canal. Ver Lynch et al. Na US 6.450.984, Hill na US 6.533.768 e Gharib et al. Na US 20020165478.
[006] As drogas colinérgicas tais como pilocarpina são o tratamento médico mais antigo para o glaucoma. Estas drogas funcionam por uma ação mecânica mediante o aumento do tônus muscular ciliar que extrai o esporão escleral adjavente adjacente à rede trabecular voltado para uma direção posterior e interior. A tração é desse modo aplicada à rede trabecular, abrindo os espaços intertrabecular, aumentando o fluxo de saída aquoso, e reduzindo a pressão intraocular. A presente invenção descreve um implante que reside dentro do canal de Schlemm do olho e fornece tração à rede trabecular similar à ação das drogas colinérgicas ou mióticas. O uso de um implante fornece tração contínua e aumento no fluxo de saída aquoso sem re-administração de uma droga e sem os efeitos colaterais da droga. Além disso, visto que o implante aplica tração à rede trabecular diretamente, os efeitos óticos nos olhos tais como deslocamento miópico flutuante e visão diminuída na iluminação obscurecida produzida por drogas colinérgicas são evitados.
[007] Embora a técnica anterior descreva vários meios de desviar ou sondar o lúmen do canal de Schlemm, não ensina um meio de aumentar o fluxo de saída aquoso mediante a aplicação de tração não induzida por droga à rede trabecular na parede interna do canal. A presente invenção descreve um novo método no tratamento cirúrgico de glaucoma mediante a colocação de um implante no canal de Schlemm que é designado para transmitir tração mecânica à rede trabecular de interface sobre a parede interna do canal, desse modo aumentando o fluxo de saída aquoso e reduzindo a pressão intraocular.
[008] Esta invenção é direcionada a um implante oftálmico, que pode ser diretamente inserido no canal de Schlemm para melhorar o fluxo de saída aquoso através do trajeto trabeculocanalicular durante um período de tempo prolongado. A invenção é direcionada às formas de realização e materiais de um tal implante, e também aos instrumentos para a colocação do implante por métodos minimamente invasivos.
Sumário da Invenção
[009] A invenção é direcionada a um implante para o tratamento de glaucoma que compreende um elemento alongado com extremidades distais e próximas posicionáveis dentro do canal de Schlemm do olho de modo a fornecer uma força de tracionamento à parede interna do canal para desse modo aumentar a permeabilidade de fluido da parede interna do canal. A força de tracionamento pode ser axialmente aplicada. A tração axial é distinguível da tração radial. A matriz estende o canal de Schlemm em seu eixo longitudinal. Esta radialmente estende o canal. A força de tracionamento pode ser fornecida através de um elemento de preensão em dita uma ou ambas extremidades do implante e é incorporável a um elemento de tração que fornece a força de fracionamento. Em uma forma de realização, o elemento de tração pode ser uma mola que pode ser acomodada em um alojamento de proteção. Em uma outra forma de realização, o elemento de tração pode ser um elemento de frisamento para prender o implante em uma posição tracionada. O implante pode ser fornecido com uma extremidade expandida ou forma de seção transversal com uma força de tracionamento na faixa de cerca de 1 a 11 gramas.
[0010] O implante pode ser fornecido com rigidez mecânica suficiente para transmitir a força de tracionamento à parede interna após a colocação dentro do canal.
[0011] Em algumas formas de realização, o implante pode compreender um filamento helicoidal ou pelo menos dois filamentos entrelaçados entre si em uma maneira helicoidal ou fixados em uma maneira paralela.
[0012] Em algumas formas de realização, o implante pode compreender um filamento em serpentina tendo um aspecto de seção transversal circular ou oval.
[0013] Em uma outra forma de realização, o implante pode compreender as primeiras regiões de uma primeira dimensão da seção transversal interespaçada com as segundas regiões de uma segunda dimensão da seção transversal em que a primeira dimensão da seção transversal é maior do que a segunda dimensão da seção transversal. Em algumas formas de realização, as primeiras regiões compreendem esferas ou segmentos cilíndricos e podem livremente girar em relação às segundas regiões.
[0014] Em outra forma de realização o implante pode compreender alças conectadas a um elemento axial ou conectadas nas extremidades alternantes.
[0015] O implante pode ser fornecido com uma forma para promover o fluxo de humor aquoso a partir da parede interna do canal até os canais coletores sobre a parede externa do canal. Em algumas formas de realização, o implante pode compreender múltiplas esferas angulares que se parecem com um perfil denteado, perfis semicirculares em repetição, um filamento helicoidal ou um tubo com canais internos.
[0016] O implante pode compreender um metal, um polímero biocompatível e/ou um agente biologicamente ativo. O agente biologicamente ativo pode ser um agente anti-trombogênico, agente anti-microbial, agente anti-inflamatório, agente anti-fibrótico, agente anti-proliferativo celular ou agente anti-aderência.
[0017] A invenção é também direcionada a um instrumento para inserção de um implante no canal de Schlemm do olho que compreende um implante compreendendo um elemento alongado com extremidades distais e proximais posicionáveis dentro de dito canal de modo a fornecer uma força de tracionamento à parede interna do canal para desse modo aumentar a permeabilidade de fluido da parede interna do canal, o implante ligado a uma cânula flexível ou fio de guia. O instrumento pode ainda compreender um elemento mecânico sobre a cânula para a ligação do implante na cânula. Em algumas formas de realização, o elemento mecânico pode compreender um orifício, fenda ou uma área de diâmetro aumentado em uma ponta da cânula.
[0018] O instrumento pode também compreender um elemento guia para a localização do instrumento durante a colocação e avanço dentro do canal de Schlemm. Em uma forma de realização, o elemento guia pode ser um sinalizador ótico de fibra. O instrumento pode também compreender um elemento mecânico dilatável para a dilatação do canal, um lúmen para injeção de materiais viscosos, um revestimento lúbrico e/ou uma ponta arredondada.
[0019] Um método é fornecido para aumentar o fluxo de saída do fluido através do canal de Schlemm que é útil para o tratamento de glaucoma. O implante é colocado no canal de Schlemm mediante o uso de um instrumento de liberação flexível ligado ao implante. O método compreende posicionar o instrumento e o implante dentro do canal, liberar o implante e conectar as extremidades distais e proximais do implante para aplicar força de tracionamento suficiente sobre a parede interna do canal para aumentar a permeabilidade de fluido. Um método é também fornecido para aumentar o fluxo de saída aquoso de fluido através do canal de Schlemm no olho mediante o posicionamento no canal de um instrumento de liberação ligado ao implante que prende uma das extremidades distais ou proximais do implante dentro do canal, ajustando o implante para fornecer força de tracionamento suficiente sobre a parede interna do canal para aumentar a permeabilidade de fluido da parede interna do canal, e prender a outra das extremidades distais e proximais dentro de dito canal para manter a força de tracionamento sobre a parede interna do canal.
Descrição dos Desenhos
[0020] A Figura 1 é uma vista em corte transversal da parte anterior do olho humano indicando a localização do canal de Schlemm e outras estruturas relevantes.
[0021] A Figura 2 é uma vista seccional em 3-D indicando a transversal do canal de Schlemm ao redor do limbo.
[0022] A Figura 3 é uma vista em corte transversal de um implante filamentoso colocado dentro do canal de Schlemm e que fornece tração sobre a parte da parede interna (rede trabecular) do canal.
[0023] As Figs. 4a e 4b apresentam duas formas de realização de um implante filamentoso que compreende uma seção transversal não uniforme. A Fig. 4 a mostra um formato de “esferas em um fio”. A Fig. 4b mostra uma série de segmentos cilíndricos de diâmetro variável.
[0024] As Figs. 5a e 5b apresentam duas formas de realização de filamentos de tração dispostos em um padrão axial. A Fig. 5a mostra uma série de alças ovais conectadas em extremidades alternantes. A Fig. 5b mostra uma série de alças conectadas ao longo de uma estrutura.
[0025] As Figs. 6a e 6b apresentam duas formas de realização de dispositivos de tração em uma configuração de múltiplas esferas designadas para colocar a parede interna do canal de Schlemm em tração. A Fig. 6a mostra um dispositivo configurado em um padrão denteado. A Fig. 6b mostra um dispositivo configurado com esferas semi-circulares em série.
[0026] A Figura 7 mostra um implante filamentoso com um dispositivo de preensão compreendendo um elemento de molas para fornecer tração sobre o filamento in situ no olho.
[0027] As Figs 8a e 8b apresentam um implante filamentoso em posição expandida e contraída com um dispositivo de preensão que compreende um elemento de molas em um alojamento de proteção para fornecer tração sobre o filamento in situ no olho.
[0028] A Figura 9 mostra um implante filamentoso com um elemento de preensão que compreende um acoplamento pregueado para ligar as duas extremidades do filamento entre si sob tração.
[0029] As Figs. 10a-10c apresentam instrumentos de liberação com características sobre a ponta distal para ligação de um implante filamentoso. A Fig. 10a mostra um instrumento de liberação com uma ponta distal de diâmetro maior do que a haste.A Fig 10b mostra um instrumento de liberação com uma ponta distal maior, um segmento curto de haste e depois um segmento expandido de haste. A Fig. 10c mostra um instrumento de liberação com um ponto de ligação tabulado como um componente do instrumento.
[0030] As Figs. 11a e 11b apresentam um implante que compreende uma série de alças redondas ligeiramente sobrepostas da maneira de uma mola em espiral achatada. A Fig. 11a mostra a vista lateral quando comprimido.
[0031] A Fig. 12 mostra um implante da invenção na forma de um filamento helicoidal.
[0032] A Fig. 13 mostra um implante de acordo com a invenção que é tubular na forma com canais internos direcionados a partir da superfície de interface da parede interna do canal de Schlemm até a superfície de interface da parede externa.
[0033] A Figura 14 é um gráfico de fluxo de saída de fluido vs tração aplicada em um implante filamentoso de prolene como descrito de acordo com o Exemplo 2.
[0034] A Figura 15 é um gráfico de fluxo de saída de fluido como uma função da tração sobre um implante filamentoso de prolene em três diferentes pressões intraoculares como descrito de acordo com o Exemplo 3.
[0035] A Figura 16 é um gráfico de barras que resume o fluxo de saída em testes de tração descritos no Exemplo 4.
Descrição das Formas de Realização
[0036] A invenção fornece um implante oftálmico que compreende um elemento alongado flexível com extremidades distais (o mais distante do instrumento de inserção) e proximais (o mais próximo do instrumento de inserção), e dimensões da seção transversal menores do que o canal de Schlemm, que pode ser inserido no canal e posicionado para fornecer força de tracionamento suficiente à rede trabecular de interface sobre a parede interna do canal para melhorar o fluxo de saída do humor aquoso. Referindo-se às Figs. 1 e 2, o canal de Schlemm 10 é um canal em forma de arco no olho adjacente à rede trabecular. O humor aquoso se drena da câmara anterior através da rede trabecular na parede interna do canal de Schlemm e dentro do canal. A partir do canal, o humor aquoso é guiado para dentro dos canais coletores e eventualmente para dentro das veias aquosas e do sistema venoso. O canal de Schlemm possui um raio na faixa de aproximadamente 5 a 7 mm e dimensões típicas em corte transversal oval de 200 mícrons por 50 mícrons. O acesso cirúrgico ao canal de Schlemm pode ser executado pela dissecação de um retalho esclerótico, como executado nos procedimentos cirúrgicos de viscocanalostomia e de esclerectomia profunda, ou por uma incisão radial esclerótica. Assim que o acesso cirúrgico é alcançado, o implante é colocado dentro do canal de Schlemm e é guiado ao longo da circunferência do canal de Schlemm. O canal pode ser pré-dilatado por tal meio como injeção de um viscoelástico de modo a facilitar a colocação do implante.
[0037] Referindo-se à fig. 3, em uma forma de realização a extremidade distal do implante 11 pode então ser prendida na extremidade proximal e aproximada em uma maneira para aplicar tração ao longo do eixo longitudinal do implante, e desse modo transmitir uma força radialmente intrínseca 12 à parede interna do canal de Schlemm. Embora não pretendendo ser limitado por qualquer teoria particular, além de aumentar o fluxo de saída aquoso através da parede interna do canal pela aplicação de tração, a força radialmente intrínseca pode também atuar para limitar a distração da parede interna. A distração da parede interna pode diminuir o fluxo de saída aquoso através do canal devido ao contato da parede interna com a parede externa.
[0038] Em uma forma de realização, o implante compreende um filamento que é colocado dentro e inteiramente ao longo da circunferência do canal de Schlemm. As extremidades proximais e distais do filamento são atadas entre si para aplicar uma força mecânica intrínseca sobre a parede interna do canal. O filamento pode compreender material elástico ou não elástico ou uma combinação de materiais elásticos e não elásticos. A tração pode ser executada mediante o uso de um implante elástico que possui a vantagem de aplicar tração uniformemente sobre a circunferência do canal pelo estiramento do implante antes de unir as extremidades. Esta forma de realização particular do implante aplica uma força e tração mecânica à parede interna do canal e à rede trabecular, mas não entra em contato ou aplica força mecânica às outras paredes do canal. O filamento pode ser tão pequeno quanto 10 mícrons de diâmetro ou tão grande quanto o canal, aproximadamente 200 mícrons. Além disso, se o canal for dilatado antes da implantação ou estirado durante a implantação, os filamentos de dimensões muito maiores, até 350 mícrons de diâmetro, podem ser implantados. O filamento pode ou não pode ter um lúmen ou canais internos ou externos para o transporte de humor aquoso. O filamento pode ter uma seção transversal uniforme ou não uniforme para intensificar o fluxo de saída aquoso no canal. O filamento pode compreender qualquer material que seja não tóxico e não inflamatório aos tecidos de interface. A reação mínima do tecido é desejada para minimizar a formação do tecido fibroso na interface implante-tecido, que pode comprometer o fluxo de saída de humor aquoso. O implante pode também compreender um ou mais filamentos enrolados entre si ou dispostos em uma maneira paralela.
[0039] Em uma forma de realização alternativa, o implante compreende um filamento compreendendo as primeiras regiões de uma primeira dimensão da seção transversal interespaçadas com as segundas regiões de uma segunda dimensão da seção transversal tal que a primeira dimensão da seção transversal é maior do que a segunda dimensão da seção transversal. Este corte transversal não uniforme, tal como as áreas uniformemente espaçadas de forma relativa da seção transversal maior, resulta em um implante que se parece com um cordão de esferas ou segmentos cilíndricos, tal como mostrado nas duas formas de realização da Fig. 4a e Fig 4b. As esferas ou áreas de dimensão da seção transversal maior, 13, 14, podem compreender o mesmo material como as regiões de filamento menor ou alternativamente podem compreender um outro material. As esferas ou áreas de seção transversal maior podem ser mecanicamente integrais com as regiões de filamento menores ou fabricadas tais que as esferas sejam atravessadas pelo filamento menor através de um canal nas esferas. Os canais de esfera e as dimensões do filamento podem ser feitos sob medida para permitir a rotação livre da esfera ao longo do eixo formado pelo canal para minimizar a irritação mecânica aos tecidos de interface durante o movimento.
[0040] Em uma outra forma de realização alternativa, o implante pode compreender um ou mais elementos de tração axialmente alinhados. Os elementos de tração podem ser filamentos, incluindo fios, tendo um aspecto de seção transversal circular ou oval. Os elementos podem ser conectados entre si, como mostrado na Fig. 5 a, em uma configuração de filamento em curva para formar uma série de curvas de filamento oval 15 ligada entre si alternativamente na parte de cima e na parte de baixo das curvas, criando um padrão de estilo “espinha de peixe”. Referindo-se à Fig. 5b, os elementos 16 podem ser uma série de curvas filamentosas conectadas ao longo de um elemento de estrutura axial 17. Alternativamente, referindo-se à Fig. 11, o implante pode compreender uma série de curvas redondas 31, adjacentes uma a outra ou ligeiramente sobrepostas, da maneira de uma mola em espiral achatada. Os elementos podem ser componentes separados que podem ser serialmente colocados dentro do canal. A força mecânica pode ser aplicada ao longo do eixo do implante para aplicar tração axial somente na parede interna do canal. Além disso, os elementos de tração pode ser dispostos dentro do canal para colocar a parede interna do canal em tração por força mecânica entre a parede interna e externa, isto é, o eixo de seção transversal curto do canal; ou entre as paredes anteriores e posteriores do canal, isto é, o eixo de seção transversal longo do canal ou uma combinação destes. Desta maneira, os elementos de tração podem ser designados a não apenas fornecer força de tracionamento apropriada à parede interna do canal, mas também fornecer uma força de expansão secundária para separar as paredes do canal ou dilatar o canal.
[0041] Em outra forma de realização alternativa, o implante pode compreender um filamento de tração com uma forma para promover o fluxo de saída de humor aquoso a partir da parede interna do canal de Schlemm até os canais coletores sobre a parede externa do canal. Referindo-se à Fig. 6a, o filamento é fornecido em uma configuração com múltiplas misturas angulares 18a para se parecer com um perfil denteado. Os perfis semi-circulares de repetição 18b podem ser fornecidos como mostrado na Fig. 6b. Referindo-se à Fig. 12, um filamento helicoidal 32 pode também ser usado. O implante 33 pode também ser tubular na forma como exemplificado na Fig. 13 com canais internos 34 direcionados a partir da interface superficial da parede interna do canal até a interface superficial da parede externa. Estas formas de realização formam trajetos de fluxo radialmente externos a partir da parede interna até a parede externa do canal enquanto se aplica tração à parede interna.
[0042] O implante é preferível tendo rigidez mecânica suficiente para transmitir tração à parede interna do canal de Schlemm. O implante pode também ter complacência suficiente para permitir algum movimento da parede interna do canal de Schlemm devido à função normal dos olhos. O implante pode também ser usado em seções para fornecer a mesma funcionalidade como um implante único colocado ao longo da circunferência inteira do canal. Por exemplo, em lugar de completamente atravessar o comprimento circunferencial do canal para permitir a conexão da extremidade proximal do implante com a extremidade distal, o implante pode ocupar um segmento da circunferência. Em uma forma de realização, uma extremidade do implante pode ser fixada no tecido próximo ou dentro do canal e a outra estendida no canal e fixada no tecido em alguma distância ao longe após transmitir tração suficiente do implante entre as duas extremidades para fornecer a força intrínseca desejada sobre a parede interna do canal. Desta maneira, um olho de paciente pode ser tratado em segmentos, por exemplo, na situação onde a cirurgia anterior dos olhos tornou uma parte do canal inacessível a um implante completamente circunferencial.
[0043] O implante pode adicionalmente compreender um dispositivo de preensão para facilitar a ligação à outra extremidade do implante ou aos tecidos. O dispositivo de preensão pode ser ligado a uma extremidade do implante ou pode ser um componente separado que leva em conta a ligação e tração de ambas as extremidades do implante. O dispositivo de preensão pode compreender o mesmo material como o filamento, um material diferente ou uma pluralidade de materiais. Por exemplo, um anel pequeno pode ser fabricado sobre a extremidade proximal de um filamento de implante para facilitar a ligação da extremidade distal do filamento em uma curva. O dispositivo de preensão pode compreender um mecanismo de ligação para a extremidade distal do implante tal que a extremidade distal pode ser diretamente ligada ao dispositivo de preensão e submetido à tração com um mecanismo tipo lingüeta de catraca.
[0044] Alternativamente, como mostrado na Fig. 9, um grampo tal como um elemento plissado 19, que pode ser um componente separado ou pode ser fabricado em uma extremidade do implante, pode ser usado para prender a outra extremidade do implante ou ao tecido próximo.
[0045] O dispositivo de preensão pode compreender um elemento de tração tal como um material elástico ou mola. Na Fig. 7 e Fig. 8, uma mola 20 é mostrada a qual permite a tração sobre o implante a ser ajustada durante a colocação cirúrgica ou em um segundo procedimento subseqüente após a implantação. A mola 20 pode também levar em conta a mudança elástica do comprimento de implante para acomodar o movimento do tecido e desse modo minimizar o movimento na interface implante-tecido e irritação mecânica resultante. A mola pode ser configurada para residir dentro de um estojo ou alojamento de proteção 21 para impedir a restrição do movimento da mola pelo tecido de interface assim como proteger o tecido de ser invadido pelo elemento de mola. A mola pode também ser fornecida com um aspecto para medir a tração colocada sobre o implante, tal como um indicador de extração de mola configurado no estojo de proteção externo 21. A mola pode ser visualizada in situ por gonioscopia através da córnea para avaliar pós operativamente o funcionamento do implante. Tipicamente, uma mola ou outro material de tração elástico deve fornecer cerca de 4 a 6 gramas força por mm de mudança no comprimento.
[0046] Em geral, o implante é colocado no canal de Schlemm mediante o uso de um instrumento de liberação flexível ligado ao implante. Isto pode ser executado pelo posicionamento do instrumento e implante dentro do canal, liberando o implante e conectando as extremidades distais e proximais do implante para aplicar força de tracionamento suficiente sobre a parede interna do canal para aumentar a permeabilidade de fluido. Se a rigidez mecânica do implante posicionado isoladamente for suficiente para transmitir força de tracionamento suficiente sobre a parede interna do canal, então a conexão das extremidades do implante pode não ser necessária. Alternativamente, uma extremidade do implante pode ser ancorada ao tecido, depois a extremidade pode ser ancorada no tecido após o ajuste do implante para ter a tração apropriada. Desta maneira, as duas extremidades do implante não necessitam ser atadas uma a outra ou o implante não necessita atravessar o comprimento circunferencial inteiro do canal.
[0047] O implante é preferivelmente colocado no canal de Schlemm mediante o uso de um instrumento de liberação flexível que é usado para entrar no canal tal como descrito pela PCT/US02/37572, aqui incorporada por referência. O implante é progressivamente avançado ao longo do canal de Schlemm na localidade desejada pelo instrumento de liberação, tal como uma cânula, opcionalmente com dilatação anterior ou concorrente do canal. O implante pode ser atado ao instrumento de liberação e liberado do instrumento assim que colocado na posição desejada dentro do canal de Schlemm ou após atravessar a circunferência do canal.
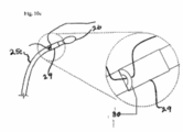
[0048] Alternativamente, o instrumento de liberação pode ser colocado na posição desejada dentro do canal, e o implante fixado em uma extremidade do instrumento, tal como uma cânula ou fio de guia, e puxado para dentro do canal durante a retirada do instrumento flexível. Como mostrado nas Figs. 10a-10c o instrumento de liberação 25a, 25b e 25c pode ter aspectos para auxiliar a ligação e liberação do implante ou seu dispositivo de preensão. O instrumento pode ter um segmento de diâmetro aumentado 26 ou segmentos 27, 28 na extremidade distal para facilitar a ligação de uma extremidade do implante. Alternativamente, tais aspectos podem incluir projetos tais como um orifício ou fenda apropriadamente feito sob medida em uma extremidade do instrumento para inserir e ligar uma parte do implante. O instrumento de liberação pode ter elemento mecânico ativo tal como colar 29 que acomoda uma ponta de ilhó 30 para ligar o implante e/ou para liberar o implante ligado assim que colocado apropriadamente no canal de Schlemm. O instrumento de liberação pode também conter aspectos tais como um lúmen de liberação para permitir a liberação de um fluido em dilatação ao canal de Schlemm antes da, ou concorrente com a, colocação do implante. Uma vez no local desejado, os aspectos mecânicos no membro do instrumento de liberação podem ser usados para liberar o implante na posição apropriada.
[0049] O instrumento de liberação pode compreender um fio de guia flexível ou uma microcânula flexível designado para a canulação de 360o do canal de Schlemm. O instrumento de liberação tipicamente será fabricado tendo um diâmetro na faixa de cerca de 50 a 350 mícrons para ajustar-se dentro do canal. O instrumento de liberação flexível pode ter uma extremidade distal curvada em uma maneira para aproximar o raio da curvatura do canal de Schlemm, tipicamente de 5 a 7 mm. O instrumento pode também compreender um elemento guia para efetuar o avanço apropriado da parte distal tal como descrito na PCT/US02/37572. Tal elemento guia pode compreender marcações ou um dispositivo de transmissão luminosa tal como um sinalizador de fibra ótica na ponta distal do instrumento de liberação que permite o cirurgião identificar e localizar a ponta distal através dos tecidos escleróticos em excesso mediante a visualização direta ou formação de imagem não invasiva durante a inserção e avanço do instrumento dentro do canal.
[0050] A dilatação do canal de Schlemm durante o avanço do instrumento de liberação foi observada para facilitar a colocação atraumática do instrumento de liberação e implante. A dilatação pode ser executada mediante a injeção de um fluido com viscosidade elevada tal como um material viscoelástico cirúrgico na ponta distal do instrumento através de um lúmen no instrumento. Alternativamente, o instrumento pode compreender elementos dilatáveis na ponta distal que pode ser repetidamente expandida e contraída para dilatar o canal durante o avanço do dispositivo. Uma ponta distal redonda e um tratamento superficial lúbrico pode facilitar a inserção e avanço progressivo do instrumento de liberação.
[0051] Para verificar o posicionamento do instrumento de liberação no canal de Schlemm vários métodos são úteis, incluindo o uso de uma ponta sinalizadora de fibra ótica incorporado no instrumento de liberação, localização visual direta durante a dissecção cirúrgica ou pelo guia de imagem externa tal como formação de imagem por ultra-som ou tomografia de coerência ótica. O posicionamento acurado dentro do canal pode ser auxiliado pelas características do instrumento tais como marcações para indicar o comprimento dentro do canal, revestimentos ou maçadores para auxiliar a formação de imagem, e marcações para indicar o alinhamento rotacional. Além disso, o instrumento ou implante pode incorporar marcadores para assistir na determinação de sua localização tais como revestimentos fluorescentes ou ultrassonicamente refletivos ou marcadores rádio-opacos.
[0052] Em uma forma de realização alternativa, o implante pode ser colocado sob visualização direta da câmara anterior do olho. O implante atado em um instrumento de liberação pode ser colocado através de uma incisão da córnea na câmara anterior e através da rede trabecular do olho dentro do canal de Schlemm.
[0053] O implante pode compreender uma variedade de materiais com biocompatibilidade adequada e propriedades mecânicas, incluindo meais tais como aços inoxidáveis, titânio, tungstênio, ligas de níquel-titânio, ligas de cobalto-cromo, polímeros biocompatíveis tais como polimetilmetacrilato, poliimida, náilon, policarbonato, poliestireno, polímero fluorados, polieteretercetona, polissulfona, polietileno, polipropileno, poliésteres, poliuretano, polidimetilsiloxano, tereftalato de polibutileno, tereftalato de polietileno, parileno, cerâmicas flexíveis, carbono, materiais biodegradáveis tais como ácido poliláctico, ácido poliglicólico, poliidroxibuturato, polidioxanona, carbonato de politrimetileno, biopolímeros tais como seda, colágeno, gelatina, glicosoaminoglicanos, quitina, derivados de quitina e elastina, e compósitos de tais materiais. Um implante filamentoso pode ser circular, oval, retangular ou em uma variedade de outras formas em corte transversal. O implante pode ser configurado de um pedaço de filamento ou fio, cortado de um comprimento de material com a configuração em corte transversal desejado, quimicamente cauterizado, mecanicamente ou trabalhado à máquina com laser, extrusado ou moldado.
[0054] O implante pode também compreender agentes biologicamente ativos para promover a resposta biológica favorável pelos tecidos de interface tais como a minimização de coágulos sangüíneos (agentes anti-trombóticos), inflamação, infecção e fibrose (agentes anti-fibróticos). Tais agentes incluem agentes de anti-coagulação tais como heparina, TPA, agentes anti-microbianos tais como antibióticos, agentes anti-inflamatórios tais como esteróides, agentes anti-aderência tais como ácido hialurônico e anti-proliferação celular ou agentes anti-fibróticos tais como rapamicina, 5-fluorouracila, mitomicina, metotrexato ou paclitaxol. Os agentes biologicamente ativos podem ser incorporados no implante ou aplicados como um revestimento.
[0055] Uma outra função do implante é que ele pode servir como um marcador e assim ser visualizado e avaliado da câmara anterior para ser usado de modo preso como um alvo de alinhamento para o tratamento a laser da rede trabecular. Por exemplo, o material de implante de construção e projeto pode permitir o tratamento a laser do tecido adjacente como um meio de aumentar o fluxo de saída do humor aquoso na região do implante. O tratamento a laser pode ser usado para aumentar a permeabilidade da rede trabecular ou qualquer tecido fibrótico que possa se desenvolver na região do implante. O laser pode ser direcionado para a área desejada de tratamento através da córnea por métodos não invasivos ou pela inserção de uma fibra ótica na câmara anterior. O implante pode ter geometria ou revestimentos opticamente ativos para auxiliar na visualização e tratamento a laser do tecido adjacente.
[0056] Os seguintes exemplos são fornecidos para ilustrar a invenção, mas não são destinados a limitar a invenção de qualquer maneira.
Exemplo 1
[0057] Globos inteiros humanos foram obtidos de um banco de tecido qualificado. Os olhos foram inflados em aproximadamente 10 mm Hg de pressão da câmara anterior e colocados em um recipiente em forma de taça. Uma dissecação esclerótica de retalho único foi executada e o canal de Schlemm foi exposto, permitindo o acesso ao óstio do canal. Uma microcânula oftálmica de diâmetro de 20 mícrons (microcânula iTRACK™, iScience Surgical Corp.) foi usada para canular a circunferência inteira do canal. A microcânula foi designada a fornecer um meio de expandir o canal de Schlemm através da injeção dos materiais viscoelásticos, e compreendia uma ponta sinalizadora iluminada para fornecer indicação visual da localização da microcânula quando no canal.
[0058] A microcânula foi preparada com viscoelástico (Healon GV, Advanced Medical Optics, Inc) e inserida no óstio do canal. Usando uma quantidade mínima de injeção de viscoelástico para abrir o canal e fornecer ambiente lúbrico, a microcânula foi avançada completamente ao redor do canal. A ponta distal foi arrancada do sítio cirúrgico em uma distância suficiente para fixar o dispositivo de implante. Um filamento de polipropileno de aproximadamente 28 microns de diâmetro (Prolene, Ethicon, Inc.) foi fixado na extremidade distal da microcânula, que foi depois retirado puxando o filamento de dentro e ao redor do canal. O filamento foi removido da ponta da microcânula e as duas extremidades fixadas em um nó cirúrgico com tração na curva, desse modo aplicando tração à parede interna do canal de Schlemm e da rede trabecular.
Exemplo 2
[0059] Um globo inteiro humano foi preparação similar ao Exemplo 1 acima. O globo foi colocado em um banho na temperatura ambiente de salina tamponanda de fosfato, e uma agulha de infusão de calibre 30 colocada através da córnea para fornecer entrada de fluido. A agulha foi ligada a um reservatório contendo salina tamponada de fosfato fixado em uma altura de 5,4 polegadas (13,7 cm) sobre a altura da Câmara Anterior para fornecer uma infusão em pressão constante de 10 mm Hg. O circuito de fluido também compreendeu um medidor de fluxo digital (Sensiron, Inc) para registrar as vazões em um computador PC. Uma leitura de fluxo de linha de base estável foi tomada antes da dissecção cirúrgica. O acesso cirúrgico e colocação de implante como descrito no Exemplo 1 acima foi executado, com as exceções de que um acesso de dois retalhos foi usado similar à cirurgia de viscocanalostomia e esclerectomia profunda, e o filamento não foi fixado. As extremidades do filamento foram apresentadas sob o retalho cirúrgico e o retalho cirúrgico foi cuidadosamente selado com adesivo de cianoacrilato sem aderir o filamento nos tecidos. As extremidades do filamento foram fixadas nas pontas de um par de hemostatos. Esta disposição levou em conta a aplicação e liberação de tração à curva do filamento no canal mediante a abertura e fechamento dos hemostatos.
[0060] O globo voltou ao sistema de perfusão e foi deixado se aproximar do equilíbrio de fluxo de saída sem tração sobre o filamento. A tração foi depois aplicada ao filamento mediante a abertura dos hemostatos, e novamente o fluxo de saída foi deixado se estabilizar. A tração e liberação alternadas foram executadas em um intervalo de 15 minutos enquanto se registra as vazões. A vazão mudou de um valor não tensionado de 1,22 ± 0,05 ul/min para um valor tensionado de 1,93 ± 0,01 ul/min, um aumento de 58 %. Ver a Fig. 14.
Exemplo 3
[0061] Em uma outra série de experiências, cada extremidade do filamento de diâmetro de 28 mícrons implantada no cadal de Schlemm foi ligada a níveis de força mecânica de 30 gramas (Wagner Instruments) em uma fixação tal que as forças de tração podem ser aplicadas às extremidades do filamento. As medições de fluxo de saída foram tomadas em três diferentes valores de pressão intraoculares e com tração variável. O valor do Recurso de fluxo de saída foi calculado mediante a divisão da vazão em ul/min pela pressão em mm Hg. Os resultados experimentais indicam um valor ideal para aumentar o recurso de fluxo de saída em uma faixa de tração de aproximadamente 6 a 10 gramas força ao longo do comprimento inteiro do eixo todo de implante, ou de 0,159 a 0,265 grama por mm de comprimento de arco do canal para um diâmetro de 12 mm nominal da curvatura do canal. O fluxo de saída foi significativamente aumentado na faixa de tração de 1 a 11 gramas força ou de 0,027 a 0,292 grama força por mm de comprimento de arco do canal para um diâmetro de 12 mm nominal da curvatura do canal. Outro aumento na tração levaria a um decréscimo no recurso de fluxo de saída até o ponto de falência dos tecidos. Ver a Fig. 15.
Exemplo 4
[0062] Em uma série de experiências, um dispositivo de tração para o filamento foi testado. O dispositivo de tração consistia de uma micro mola de extração fabricada de liga de níquel-titânio (Nitinol). O elemento de molar era compreendido de fio de 38 mícrons de diâmetro, enrolado em uma hélice acondicionada fechada (molar) com um diâmetro externo de 175 mícrons e um comprimento de espiral ativa de 1,1 mm. As extremidades da mola foram configuradas em curvas fechadas em ângulos retos ao eixo da molar, para a ligação ao implante filamentoso. A mola foi designada para funcionar na região superelástica linear de Nitinol para fornecer uma força de mola linear na faixa de 4 a 6 gramas força/mm. O elemento de mola foi encaixado em um tubo de poliimida de parede fina com extremidades abertas. A mola foi estendida em um comprimento de aproximadamente 4 mm e depois mantida em extração com prendedores de fio pequenos repousando entre uma curva de mola e o alojamento de tubo de poliimida. Desta maneira, a mola pode ser ligada a uma curva do filamento enquanto se estende e após a liberação dos prendedores de fio, a mola deve comprimir desse modo colocando tração sobre a curva proporcional à quantidade de deflexão da mola. A tração no filamento pode ser determinada pelo exame visual da quantidade de extração da mola.
[0063] Os globos inteiros humanos enucleados foram preparados como no Exemplo 2 acima. As experiências comparativas foram trabalhadas usando o filamento de polipropileno por si mesmo como o grupo de controle e o dispositivo de tração como o grupo de teste. No grupo de controle, o filamento foi separado em uma curva usando um nó deslizante e aplicada tanta tração quanto possa ser razoavelmente obtida com técnicas manuais. No grupo de teste, a mola estendida do dispositivo de tração foi ligada em cada extremidade do filamento, o afrouxamento foi removido da curva e os prendedores liberados removidos permitindo a mola retrair e tensionar o filamento.
[0064] A experiência foi repetida quatro vezes com um aumento significativo no fluxo de saída (aproximadamente duas vezes os valores de controle) observado em 3 das 4 experiências. A quarta experiência não indicou nenhuma mudança aparente. Ver a Fig. 16. Além de tudo, um aumento médio no fluxo de saída de aproximadamente 75 % foi demonstrado pelo uso do filamento com um dispositivo de tração.
Exemplo 5
[0065] Uma experiência foi preparada como no Exemplo 3 acima. Nesta experiência, um filamento de aço inoxidável de 25 mícrons de diâmetro foi colocado na e ao redor da circunferência do canal de Schlemm e depois ligado aos níveis de força mecânica para medir a tração aplicada no filamento e na parede interna do canal. Um sistema de formação de imagem por ultra-som de alta resolução (iVIEW™ imaging system, iScience Surgical Corp) foi usado para tirar imagens em corte transversal do canal com o filamento implantado sob diferentes tensões. As imagens foram tiradas em 0, 5, 10, 15 e 20 gramas de tração sobre o filamento. As imagens indicam uma distração crescente do canal de Schlemm com tração crescente do filamento. Foi observado que o canal de Schlemm era visível com um lúmen aberto em todas as tensões aplicadas, incluindo em tensões de filamento que demonstraram pouco ou nenhum aumento no fluxo de saída aquoso ou recurso aquoso (0, 20 gramas de tração aplicada). Estes resultados indicam a importância da quantidade apropriada de tração aplicada à parede interna do canal de Schlemm e da rede trabecular para aumentar o fluxo de saída aquoso.
[0066] A descrição precedente das formas de realização específicas revela a natureza geral da invenção para que outros possam facilmente modificar e/ou adaptar as várias aplicações de tais formas de realização específicas sem divergir do conceito geral. Portanto, tais adaptações e modificações devem ser e são destinadas a serem compreendidas dentro do significado e faixa de equivalentes das formas de realização divulgadas. Deve ficar compreendido que a fraseologia ou terminologia aqui empregada é para o propósito de descrição e não de limitação.

Claims (11)

  1. Instrumento para inserção de um implante (11) no canal de Schlemm (10) do olho, o instrumento caracterizado pelo fato de que compreende
    um instrumento de liberação flexível (25) tendo um diâmetro e um comprimento suficiente para inserção circunferencial em 360° no canal de Schlemm (10), o dito instrumento (25) compreendendo:
    um elemento mecânico (26-30) compreendendo um ilhó (30), ranhura, ou um segmento de diâmetro aumentado (26-28) na ponta do dito instrumento de liberação (25) para anexar o dito implante (11); e
    um elemento guia para localizar o dito instrumento durante a colocação e avanço;
    um implante (11) anexado ao dito elemento mecânico (26-30), o dito implante (11) compreendendo um elemento alongado com extremidades distais e proximais e tendo um diâmetro e comprimento suficientes para atravessar a circunferência do canal (10) por onde as extremidades proximal e distal são conectáveis para formar um circuito no canal para manter as extremidades conectadas sob tração axial de forma que a tração axial no circuito transmite uma força uniforme (12) à parede interna do canal sobre a circunferência do canal radialmente intrínseca relativa ao comprimento circunferencial do canal (10).
  2. Instrumento de acordo com a reivindicação 1, caracterizado pelo fato de que compreende ainda um revestimento lúbrico.
  3. Instrumento de acordo com a reivindicação 1, caracterizado pelo fato de que ainda compreende um sinalizador de fibra ótica.
  4. Instrumento de acordo com a reivindicação 1, caracterizado pelo fato de que dito instrumento de liberação compreende uma cânula.
  5. Instrumento de acordo com a reivindicação 1, caracterizado pelo fato de que compreende ainda um elemento mecânico expansível para dilatar o dito canal.
  6. Instrumento de acordo com a reivindicação 1, caracterizado pelo fato de que ainda compreende um lúmen para injeção de materiais viscosos.
  7. Instrumento de acordo com a reivindicação 1, caracterizado pelo fato de que o dito instrumento de liberação (25) compreende uma ponta redonda.
  8. Instrumento de acordo com a reivindicação 1, caracterizado pelo fato de que o dito instrumento de liberação (25) compreende um fio guia.
  9. Instrumento de acordo com a reivindicação 1, caracterizado pelo fato de que o dito implante (11) compreende um filamento.
  10. Instrumento de acordo com a reivindicação 9, caracterizado pelo fato de que o dito filamento compreende material não elástico.
  11. Instrumento de acordo com a reivindicação 9, caracterizado pelo fato de que o filamento compreende material elástico.
BRPI0519087A 2004-12-16 2005-12-16 instrumento para inserção de um implante no canal de schlemm do olho BRPI0519087B8 (pt)

Applications Claiming Priority (3)

Application Number Priority Date Filing Date Title
US63736804P 2004-12-16 2004-12-16
US60/637,368 2004-12-16
PCT/US2005/045675 WO2006066103A2 (en) 2004-12-16 2005-12-16 Ophthalmic implant for treatment of glaucoma

Publications (3)

Publication Number Publication Date
BRPI0519087A2 BRPI0519087A2 (pt) 2008-12-23
BRPI0519087B1 true BRPI0519087B1 (pt) 2020-09-24
BRPI0519087B8 BRPI0519087B8 (pt) 2021-06-22

Family

ID=36587389

Family Applications (1)

Application Number Title Priority Date Filing Date
BRPI0519087A BRPI0519087B8 (pt) 2004-12-16 2005-12-16 instrumento para inserção de um implante no canal de schlemm do olho

Country Status (9)

Country Link
US (1) US8034105B2 (pt)
EP (3) EP2505168A1 (pt)
KR (1) KR20070092279A (pt)
CN (1) CN101128171A (pt)
AU (1) AU2005316420B2 (pt)
BR (1) BRPI0519087B8 (pt)
CA (1) CA2592459C (pt)
DE (1) DE05854403T1 (pt)
WO (1) WO2006066103A2 (pt)

Families Citing this family (93)

* Cited by examiner, † Cited by third party
Publication number Priority date Publication date Assignee Title
US8313454B2 (en) 1997-11-20 2012-11-20 Optonol Ltd. Fluid drainage device, delivery device, and associated methods of use and manufacture
ATE380536T1 (de) 1999-04-26 2007-12-15 Gmp Vision Solutions Inc Aufblasbare vorrichtung zur behandlung von glaukoma
US6638239B1 (en) 2000-04-14 2003-10-28 Glaukos Corporation Apparatus and method for treating glaucoma
US7867186B2 (en) 2002-04-08 2011-01-11 Glaukos Corporation Devices and methods for treatment of ocular disorders
US7431710B2 (en) 2002-04-08 2008-10-07 Glaukos Corporation Ocular implants with anchors and methods thereof
EP1977724A1 (en) 2001-04-07 2008-10-08 Glaukos Corporation System for treating ocular disorders
US7331984B2 (en) 2001-08-28 2008-02-19 Glaukos Corporation Glaucoma stent for treating glaucoma and methods of use
US20120010702A1 (en) * 2004-12-16 2012-01-12 Iscience Interventional Corporation Ophthalmic implant for treatment of glaucoma
CN101163729B (zh) 2005-04-22 2013-04-10 三菱化学株式会社 来自生物质资源的聚酯及其制造方法
US20070202186A1 (en) 2006-02-22 2007-08-30 Iscience Interventional Corporation Apparatus and formulations for suprachoroidal drug delivery
WO2007139808A2 (en) * 2006-05-25 2007-12-06 Ayyala Ramesh S Device for delivery of antifibrotic agents & method
US7909789B2 (en) 2006-06-26 2011-03-22 Sight Sciences, Inc. Intraocular implants and methods and kits therefor
US8968396B2 (en) 2007-07-23 2015-03-03 Powervision, Inc. Intraocular lens delivery systems and methods of use
JP5411140B2 (ja) * 2007-09-07 2014-02-12 キュー エル ティー インク. 涙管インプラントの検出
AU2014200768B2 (en) * 2007-09-24 2016-03-03 Alcon Inc. Ocular implants and methods
US7740604B2 (en) 2007-09-24 2010-06-22 Ivantis, Inc. Ocular implants for placement in schlemm's canal
US20170360609A9 (en) 2007-09-24 2017-12-21 Ivantis, Inc. Methods and devices for increasing aqueous humor outflow
US20090082862A1 (en) 2007-09-24 2009-03-26 Schieber Andrew T Ocular Implant Architectures
US8734377B2 (en) 2007-09-24 2014-05-27 Ivantis, Inc. Ocular implants with asymmetric flexibility
CA2700503C (en) * 2007-09-24 2016-05-24 Ivantis, Inc. Ocular implants and methods
US8512404B2 (en) * 2007-11-20 2013-08-20 Ivantis, Inc. Ocular implant delivery system and method
US8808222B2 (en) 2007-11-20 2014-08-19 Ivantis, Inc. Methods and apparatus for delivering ocular implants into the eye
US9789290B2 (en) * 2008-01-28 2017-10-17 Peter Forsell Drainage device comprising a filter cleaning device
US8109896B2 (en) * 2008-02-11 2012-02-07 Optonol Ltd. Devices and methods for opening fluid passageways
JP2011513002A (ja) 2008-03-05 2011-04-28 イバンティス インコーポレイテッド 緑内障を治療する方法及び器具
EP2334268B1 (en) 2008-06-25 2017-08-02 Novartis Ag Ocular implant with shape change capabilities
EP2389138B1 (en) 2008-12-05 2021-09-15 Ivantis, Inc. Apparatus for delivering ocular implants into the eye
CH700161A2 (de) * 2008-12-22 2010-06-30 Grieshaber Ophthalmic Res Foun Implantat zum einführen in den schlemmschen kanal eines auges.
BRPI1010657A2 (pt) * 2009-05-15 2017-07-18 Iscience Interventional Corp dispositivo para acessar o espaço sub-rentinal de um olho , introduzir de haste tubular , dispositivo de cânula, e , método para cateterizar o espaço sub-retinal adjacente à mácula de um olho
JP5695035B2 (ja) 2009-06-03 2015-04-01 フォーサイト・ビジョン5・インコーポレイテッドForsight Vision5,Inc. 前眼部薬物供給
CA2766192C (en) 2009-07-09 2017-10-24 Ivantis, Inc. Ocular implants for residing partially in schlemm's canal
EP2451375B1 (en) 2009-07-09 2018-10-03 Ivantis, Inc. Single operator device for delivering an ocular implant
WO2011046949A2 (en) * 2009-10-12 2011-04-21 The Regents Of The University Of Colorado, A Body Corporate Implants for reducing intraocular pressure
AU2010310484A1 (en) 2009-10-23 2012-05-10 Ivantis, Inc. Ocular implant system and method
NL2004047C2 (en) * 2010-01-04 2011-07-05 D O R C Dutch Ophthalmic Res Ct International B V An ophthalmic surgical device and a method of performing ophthalmic surgery.
EP2531138B1 (en) * 2010-02-05 2016-11-30 Sight Sciences, Inc. Intraocular implants and related kits and methods
US20120022424A1 (en) * 2010-05-27 2012-01-26 Iscience Interventional Corporation Device for placing circumferential implant in schlemm's canal
US8545430B2 (en) 2010-06-09 2013-10-01 Transcend Medical, Inc. Expandable ocular devices
US9510973B2 (en) 2010-06-23 2016-12-06 Ivantis, Inc. Ocular implants deployed in schlemm's canal of the eye
CN101889882A (zh) * 2010-07-22 2010-11-24 姚万钧 医用导丝
WO2012051575A2 (en) 2010-10-15 2012-04-19 Iscience Interventional Corporation Device for ocular access
KR20140048086A (ko) * 2011-02-04 2014-04-23 타리스 바이오메디컬 인코포레이티드 저 용해성 약물의 제어 방출을 위한 이식가능한 디바이스
JP5902720B2 (ja) 2011-02-23 2016-04-13 グリースハーバー オフサルミック リサーチ ファンデーションGrieshaber Ophthalmic Research Foundation 緑内障を治療するためのインプラント
US8747299B2 (en) 2011-06-02 2014-06-10 Grieshaber Ophtalmic Research Foundation Method and device for the pathology analysis of the Schlemm's canal
US8657776B2 (en) 2011-06-14 2014-02-25 Ivantis, Inc. Ocular implants for delivery into the eye
CN102824238B (zh) * 2011-06-16 2014-07-09 王宁利 一种施莱姆氏管(Schlemm)扩张支架及其组合体
CA2848397C (en) 2011-09-14 2022-04-26 Forsight Vision5, Inc. Ocular insert apparatus and methods
US8663150B2 (en) 2011-12-19 2014-03-04 Ivantis, Inc. Delivering ocular implants into the eye
US9956116B2 (en) * 2012-02-03 2018-05-01 Innovative Glaucoma Solutions, Llc Method and apparatus for treating an ocular disorder
EP2844200B1 (en) 2012-03-20 2020-11-25 Sight Sciences, Inc Ocular delivery systems
CA3098762C (en) 2012-03-26 2023-01-17 Glaukos Corporation System and method for delivering multiple ocular implants
US9358156B2 (en) 2012-04-18 2016-06-07 Invantis, Inc. Ocular implants for delivery into an anterior chamber of the eye
US9308082B2 (en) * 2012-08-07 2016-04-12 RegenEye, L.L.C. Ocular collar stent for treating narrowing of the irideocorneal angle
US20140060159A1 (en) * 2012-08-31 2014-03-06 Johnson & Johnson Consumer Companies, Inc. Permeability flow cell and hydraulic conductance system
HUE046128T2 (hu) 2012-10-26 2020-02-28 Forsight Vision5 Inc Szemészeti rendszer gyógyszer szembe való késleltetett kibocsátására
WO2014085450A1 (en) 2012-11-28 2014-06-05 Ivantis, Inc. Apparatus for delivering ocular implants into an anterior chamber of the eye
JP6717740B2 (ja) 2013-03-15 2020-07-01 パワーヴィジョン・インコーポレーテッド 眼内レンズの収容および載置装置ならびにその使用方法
US10517759B2 (en) 2013-03-15 2019-12-31 Glaukos Corporation Glaucoma stent and methods thereof for glaucoma treatment
CN110302004B (zh) 2013-05-03 2023-04-28 科尼尔赛德生物医学公司 用于眼部注射的设备和方法
CN103251479B (zh) * 2013-05-22 2014-10-29 王宁利 施莱姆氏管(Schlemm)扩张支架
US10010447B2 (en) 2013-12-18 2018-07-03 Novartis Ag Systems and methods for subretinal delivery of therapeutic agents
US9205181B2 (en) 2014-01-09 2015-12-08 Rainbow Medical, Ltd. Injectable hydrogel implant for treating glaucoma
WO2015184173A1 (en) 2014-05-29 2015-12-03 Dose Medical Corporation Implants with controlled drug delivery features and methods of using same
US10709547B2 (en) 2014-07-14 2020-07-14 Ivantis, Inc. Ocular implant delivery system and method
US10507101B2 (en) 2014-10-13 2019-12-17 W. L. Gore & Associates, Inc. Valved conduit
US10299958B2 (en) 2015-03-31 2019-05-28 Sight Sciences, Inc. Ocular delivery systems and methods
WO2016168141A1 (en) 2015-04-13 2016-10-20 Forsight Vision5, Inc. Ocular insert composition of semi-crystalline or crystalline pharmaceutically active agent
ES2962607T3 (es) 2015-08-14 2024-03-20 Alcon Inc Implante ocular con sensor de presión
US11925578B2 (en) 2015-09-02 2024-03-12 Glaukos Corporation Drug delivery implants with bi-directional delivery capacity
US11938058B2 (en) 2015-12-15 2024-03-26 Alcon Inc. Ocular implant and delivery system
CN105769433A (zh) * 2016-01-08 2016-07-20 王素常 螺旋型Schlemm管支架
WO2017192565A1 (en) 2016-05-02 2017-11-09 Clearside Biomedical, Inc. Systems and methods for ocular drug delivery
CN110177527B (zh) 2016-08-12 2022-02-01 科尼尔赛德生物医学公司 用于调节药剂递送用针的插入深度的装置和方法
US11523940B2 (en) * 2017-03-17 2022-12-13 W. L. Gore & Associates, Inc. Delivery aids for glaucoma shunts
CN107174397A (zh) * 2017-06-29 2017-09-19 天津优视眼科技术有限公司 一种眼科靶向植入支架的治疗装置
US11116625B2 (en) 2017-09-28 2021-09-14 Glaukos Corporation Apparatus and method for controlling placement of intraocular implants
US11576816B2 (en) 2017-10-18 2023-02-14 Jesus Moreno Opthalmic microsurgical instrument
US10987247B2 (en) 2017-10-18 2021-04-27 Jesus Moreno Opthalmic microsurgical instrument
CN107837139B (zh) * 2017-12-04 2024-07-09 广州聚明生物科技有限公司 房水引流装置及其制作方法
ES2980255T3 (es) 2018-02-22 2024-09-30 Alcon Inc Implante ocular
EP3843676A1 (en) 2018-08-29 2021-07-07 W.L. Gore & Associates, Inc. Drug therapy delivery systems and methods
US11678983B2 (en) 2018-12-12 2023-06-20 W. L. Gore & Associates, Inc. Implantable component with socket
WO2020186293A1 (en) * 2019-03-15 2020-09-24 Minas Theodore Coroneo Ophthalmic compositions, and ocular uses thereof, of indigo carmine
CN114502098A (zh) 2019-07-10 2022-05-13 阿奎健康公司 眼支架和递送系统
US11259961B2 (en) 2019-07-22 2022-03-01 Iantrek, Inc. Methods and devices for increasing aqueous drainage of the eye
US11504270B1 (en) 2019-09-27 2022-11-22 Sight Sciences, Inc. Ocular delivery systems and methods
JP7579594B2 (ja) 2020-05-15 2024-11-08 アイフロー・インコーポレーテッド 哺乳類の眼の従来の房水排出路内の移植物のための方法及び装置
CA3202776A1 (en) 2021-01-11 2022-07-14 Wayne A. Noda Systems and methods for viscoelastic delivery
EP4398854A4 (en) 2021-09-10 2025-06-25 Iantrek, Inc. METHODS AND DEVICES FOR INCREASING AQUEOUS DRAINAGE FROM THE EYE
US12527691B2 (en) 2021-11-05 2026-01-20 W. L. Gore & Associates, Inc. Fluid drainage devices, systems, and methods
AU2024309881A1 (en) 2023-06-30 2025-11-20 Alcon Inc. System and methods for compensating for intraocular lens tilt
US12440377B2 (en) 2023-11-06 2025-10-14 Aquea Health, Inc. Eye stents and delivery systems and methods
WO2025158339A1 (en) * 2024-01-26 2025-07-31 Liqid Medical Proprietary Limited Shunt and method for treating an ocular disorder of pressure

Family Cites Families (32)

* Cited by examiner, † Cited by third party
Publication number Priority date Publication date Assignee Title
US5360399A (en) 1992-01-10 1994-11-01 Robert Stegmann Method and apparatus for maintaining the normal intraocular pressure
US6102045A (en) * 1994-07-22 2000-08-15 Premier Laser Systems, Inc. Method and apparatus for lowering the intraocular pressure of an eye
US5485165A (en) * 1994-08-15 1996-01-16 The United States Of America As Represented By The Secretary Of The Army Broadband high efficiency full wave open coaxial stub loop antenna
EP0898947A3 (de) 1997-08-15 1999-09-08 GRIESHABER & CO. AG SCHAFFHAUSEN Verfahren und Vorrichtung zum Verbessern des Kammerwasserabflusses in einem Auge
WO2000007525A1 (en) * 1998-08-05 2000-02-17 Keravision, Inc. Corneal implant with migration preventer
DE19840047B4 (de) * 1998-09-02 2004-07-08 Neuhann, Thomas, Prof.Dr.med. Vorrichtung zur gezielten Verbesserung und/oder dauerhaften Gewährleistung des Durchlässigkeitsvermögens für Augenkammerwasser durch das Trabekelwerk in den Schlemmschen Kanal
US20050119601A9 (en) * 1999-04-26 2005-06-02 Lynch Mary G. Shunt device and method for treating glaucoma
ATE380536T1 (de) * 1999-04-26 2007-12-15 Gmp Vision Solutions Inc Aufblasbare vorrichtung zur behandlung von glaukoma
US6221078B1 (en) * 1999-06-25 2001-04-24 Stephen S. Bylsma Surgical implantation apparatus
US6726676B2 (en) 2000-01-05 2004-04-27 Grieshaber & Co. Ag Schaffhausen Method of and device for improving the flow of aqueous humor within the eye
US6375642B1 (en) * 2000-02-15 2002-04-23 Grieshaber & Co. Ag Schaffhausen Method of and device for improving a drainage of aqueous humor within the eye
US6638239B1 (en) * 2000-04-14 2003-10-28 Glaukos Corporation Apparatus and method for treating glaucoma
US6533768B1 (en) * 2000-04-14 2003-03-18 The Regents Of The University Of California Device for glaucoma treatment and methods thereof
US20020143284A1 (en) 2001-04-03 2002-10-03 Hosheng Tu Drug-releasing trabecular implant for glaucoma treatment
US7708711B2 (en) * 2000-04-14 2010-05-04 Glaukos Corporation Ocular implant with therapeutic agents and methods thereof
US7867186B2 (en) * 2002-04-08 2011-01-11 Glaukos Corporation Devices and methods for treatment of ocular disorders
JP3364654B2 (ja) * 2000-05-31 2003-01-08 独立行政法人産業技術総合研究所 仮想形態生成装置及び生成方法
EP1292256A1 (en) 2000-06-19 2003-03-19 Glaukos Corporation Stented trabecular shunt and methods thereof
FR2813521B1 (fr) * 2000-09-01 2003-06-13 Ioltechnologie Production Drain a glaucome
US6962573B1 (en) * 2000-10-18 2005-11-08 Wilcox Michael J C-shaped cross section tubular ophthalmic implant for reduction of intraocular pressure in glaucomatous eyes and method of use
WO2002036052A1 (en) 2000-11-01 2002-05-10 Glaukos Corporation Glaucoma treatment device
US6692524B2 (en) * 2001-01-19 2004-02-17 Georges Baikoff Techniques and implants for correcting presbyopia
US20020133168A1 (en) 2001-03-16 2002-09-19 Smedley Gregory T. Applicator and methods for placing a trabecular shunt for glaucoma treatment
US6666841B2 (en) * 2001-05-02 2003-12-23 Glaukos Corporation Bifurcatable trabecular shunt for glaucoma treatment
EP1977724A1 (en) 2001-04-07 2008-10-08 Glaukos Corporation System for treating ocular disorders
US8267995B2 (en) * 2001-08-03 2012-09-18 David Castillejos Method and intra sclera implant for treatment of glaucoma and presbyopia
RU2004107571A (ru) 2001-08-16 2004-11-10 Джи Эм Пи ВИЖН СОЛЮШНЗ, ИНК. (US) Усовершенствованное шунтирующее устройство и способ лечения глаукомы
WO2003045290A1 (en) * 2001-11-21 2003-06-05 Iscience Corporation Ophthalmic microsurgical system
US7186232B1 (en) * 2002-03-07 2007-03-06 Glaukoa Corporation Fluid infusion methods for glaucoma treatment
US20040024345A1 (en) * 2002-04-19 2004-02-05 Morteza Gharib Glaucoma implant with valveless flow bias
WO2004093761A1 (en) 2003-04-16 2004-11-04 Iscience Surgical Corporation Opthalmic microsurgical instruments
JP2007534383A (ja) * 2004-04-23 2007-11-29 ジーエムピー ヴィジョン ソルーションズ インコーポレイテッド 留置シャント装置及び緑内障のための装置及び方法

Also Published As

Publication number Publication date
DE05854403T1 (de) 2010-08-26
BRPI0519087A2 (pt) 2008-12-23
EP2215996B1 (en) 2013-04-03
BRPI0519087B8 (pt) 2021-06-22
EP2505168A1 (en) 2012-10-03
EP1833440B1 (en) 2012-08-22
AU2005316420B2 (en) 2011-11-10
WO2006066103B1 (en) 2006-10-26
WO2006066103A2 (en) 2006-06-22
JP5060960B2 (ja) 2012-10-31
WO2006066103A3 (en) 2006-09-08
AU2005316420A1 (en) 2006-06-22
EP1833440A2 (en) 2007-09-19
CN101128171A (zh) 2008-02-20
KR20070092279A (ko) 2007-09-12
JP2008523917A (ja) 2008-07-10
EP2215996A3 (en) 2010-09-08
EP2215996A2 (en) 2010-08-11
US8034105B2 (en) 2011-10-11
CA2592459C (en) 2017-08-22
US20060195187A1 (en) 2006-08-31
CA2592459A1 (en) 2006-06-22

Similar Documents

Publication Publication Date Title
BRPI0519087B1 (pt) Instrumento para inserção de um implante no canal de schlemm do olho
US20200121504A1 (en) Ophthalmic implant for treatment of glaucoma
US11504275B2 (en) Methods and apparatus for treating glaucoma
TWI527572B (zh) 治療青光眼之裝置
JP4643561B2 (ja) 流体を排出し、かつ眼圧を低下させるシャント装置及び同シャント装置を含むシステム
EP2254535B1 (en) Devices for opening fluid passageways
AU2003273339B2 (en) Apparatus and method for surgical bypass of aqueous humor
JP2012196481A (ja) 房水排出の外科的強化のための装置
AU2012200785A1 (en) Ophthalmic implant for treatment of glaucoma
JP5060960B6 (ja) 緑内障治療のための眼科用インプラント
HK1117024A (en) Ophthalmic implant for treatment of glaucoma
JP2024073371A (ja) 眼科手術用器具およびその使用方法
RU2332174C1 (ru) Способ восстановления проходимости слезно-носового протока
CN118044942A (zh) 眼科手术器械及其使用方法
JP4606878B6 (ja) 房水を外科的にバイパスするための装置
BR112019008830B1 (pt) Um sistema de shunt e shunt

Legal Events

Date Code Title Description
B06F Objections, documents and/or translations needed after an examination request according [chapter 6.6 patent gazette]
B07D Technical examination (opinion) related to article 229 of industrial property law [chapter 7.4 patent gazette]

Free format text: DE ACORDO COM O ARTIGO 229-C DA LEI NO 10196/2001, QUE MODIFICOU A LEI NO 9279/96, A CONCESSAO DA PATENTE ESTA CONDICIONADA A ANUENCIA PREVIA DA ANVISA. CONSIDERANDO A APROVACAO DOS TERMOS DO PARECER NO 337/PGF/EA/2010, BEM COMO A PORTARIA INTERMINISTERIAL NO 1065 DE 24/05/2012, ENCAMINHA-SE O PRESENTE PEDIDO PARA AS PROVIDENCIAS CABIVEIS.

B07G Grant request does not fulfill article 229-c lpi (prior consent of anvisa) [chapter 7.7 patent gazette]
B06U Preliminary requirement: requests with searches performed by other patent offices: procedure suspended [chapter 6.21 patent gazette]
B09A Decision: intention to grant [chapter 9.1 patent gazette]
B16A Patent or certificate of addition of invention granted [chapter 16.1 patent gazette]

Free format text: PRAZO DE VALIDADE: 10 (DEZ) ANOS CONTADOS A PARTIR DE 24/09/2020, OBSERVADAS AS CONDICOES LEGAIS.

B16C Correction of notification of the grant [chapter 16.3 patent gazette]

Free format text: PRAZO DE VALIDADE: 20 (VINTE) ANOS CONTADOS A PARTIR DE 16/12/2005, OBSERVADAS AS CONDICOES LEGAIS. PATENTE CONCEDIDA CONFORME ADI 5.529/DF, QUE DETERMINA A ALTERACAO DO PRAZO DE CONCESSAO

B21F Lapse acc. art. 78, item iv - on non-payment of the annual fees in time

Free format text: REFERENTE A 19A ANUIDADE.

B24J Lapse because of non-payment of annual fees (definitively: art 78 iv lpi, resolution 113/2013 art. 12)

Free format text: EM VIRTUDE DA EXTINCAO PUBLICADA NA RPI 2805 DE 08-10-2024 E CONSIDERANDO AUSENCIA DE MANIFESTACAO DENTRO DOS PRAZOS LEGAIS, INFORMO QUE CABE SER MANTIDA A EXTINCAO DA PATENTE E SEUS CERTIFICADOS, CONFORME O DISPOSTO NO ARTIGO 12, DA RESOLUCAO 113/2013.