WO2025041270A1 - 容器架設装置、及び、容器 - Google Patents

容器架設装置、及び、容器 Download PDF

Info

Publication number
WO2025041270A1
WO2025041270A1 PCT/JP2023/030179 JP2023030179W WO2025041270A1 WO 2025041270 A1 WO2025041270 A1 WO 2025041270A1 JP 2023030179 W JP2023030179 W JP 2023030179W WO 2025041270 A1 WO2025041270 A1 WO 2025041270A1
Authority
WO
WIPO (PCT)
Prior art keywords
container
section
installation
installation device
holding
Prior art date
Legal status (The legal status is an assumption and is not a legal conclusion. Google has not performed a legal analysis and makes no representation as to the accuracy of the status listed.)
Pending
Application number
PCT/JP2023/030179
Other languages
English (en)
French (fr)
Inventor
純平 保刈
俊樹 山形
匡 柴原
Current Assignee (The listed assignees may be inaccurate. Google has not performed a legal analysis and makes no representation or warranty as to the accuracy of the list.)
Hitachi High Tech Corp
Original Assignee
Hitachi High Tech Corp
Priority date (The priority date is an assumption and is not a legal conclusion. Google has not performed a legal analysis and makes no representation as to the accuracy of the date listed.)
Filing date
Publication date
Application filed by Hitachi High Tech Corp filed Critical Hitachi High Tech Corp
Priority to KR1020257029849A priority Critical patent/KR20250141251A/ko
Priority to JP2025541221A priority patent/JPWO2025041270A1/ja
Priority to CN202380095050.XA priority patent/CN120813843A/zh
Priority to PCT/JP2023/030179 priority patent/WO2025041270A1/ja
Priority to TW113130922A priority patent/TWI903699B/zh
Priority to TW114125982A priority patent/TW202540656A/zh
Publication of WO2025041270A1 publication Critical patent/WO2025041270A1/ja
Anticipated expiration legal-status Critical
Pending legal-status Critical Current

Links

Images

Classifications

    • GPHYSICS
    • G01MEASURING; TESTING
    • G01NINVESTIGATING OR ANALYSING MATERIALS BY DETERMINING THEIR CHEMICAL OR PHYSICAL PROPERTIES
    • G01N35/00Automatic analysis not limited to methods or materials provided for in any single one of groups G01N1/00 - G01N33/00; Handling materials therefor
    • G01N35/02Automatic analysis not limited to methods or materials provided for in any single one of groups G01N1/00 - G01N33/00; Handling materials therefor using a plurality of sample containers moved by a conveyor system past one or more treatment or analysis stations
    • G01N35/026Automatic analysis not limited to methods or materials provided for in any single one of groups G01N1/00 - G01N33/00; Handling materials therefor using a plurality of sample containers moved by a conveyor system past one or more treatment or analysis stations having blocks or racks of reaction cells or cuvettes
    • BPERFORMING OPERATIONS; TRANSPORTING
    • B01PHYSICAL OR CHEMICAL PROCESSES OR APPARATUS IN GENERAL
    • B01LCHEMICAL OR PHYSICAL LABORATORY APPARATUS FOR GENERAL USE
    • B01L9/00Supporting devices; Holding devices
    • B01L9/52Supports specially adapted for flat sample carriers, e.g. for plates, slides, chips
    • B01L9/523Supports specially adapted for flat sample carriers, e.g. for plates, slides, chips for multisample carriers, e.g. used for microtitration plates
    • BPERFORMING OPERATIONS; TRANSPORTING
    • B01PHYSICAL OR CHEMICAL PROCESSES OR APPARATUS IN GENERAL
    • B01LCHEMICAL OR PHYSICAL LABORATORY APPARATUS FOR GENERAL USE
    • B01L9/00Supporting devices; Holding devices
    • B01L9/54Supports specially adapted for pipettes and burettes
    • B01L9/543Supports specially adapted for pipettes and burettes for disposable pipette tips, e.g. racks or cassettes
    • GPHYSICS
    • G01MEASURING; TESTING
    • G01NINVESTIGATING OR ANALYSING MATERIALS BY DETERMINING THEIR CHEMICAL OR PHYSICAL PROPERTIES
    • G01N35/00Automatic analysis not limited to methods or materials provided for in any single one of groups G01N1/00 - G01N33/00; Handling materials therefor
    • G01N35/02Automatic analysis not limited to methods or materials provided for in any single one of groups G01N1/00 - G01N33/00; Handling materials therefor using a plurality of sample containers moved by a conveyor system past one or more treatment or analysis stations
    • BPERFORMING OPERATIONS; TRANSPORTING
    • B01PHYSICAL OR CHEMICAL PROCESSES OR APPARATUS IN GENERAL
    • B01LCHEMICAL OR PHYSICAL LABORATORY APPARATUS FOR GENERAL USE
    • B01L2200/00Solutions for specific problems relating to chemical or physical laboratory apparatus
    • B01L2200/18Transport of container or devices
    • GPHYSICS
    • G01MEASURING; TESTING
    • G01NINVESTIGATING OR ANALYSING MATERIALS BY DETERMINING THEIR CHEMICAL OR PHYSICAL PROPERTIES
    • G01N35/00Automatic analysis not limited to methods or materials provided for in any single one of groups G01N1/00 - G01N33/00; Handling materials therefor
    • G01N2035/00178Special arrangements of analysers
    • G01N2035/00207Handling bulk quantities of analyte
    • GPHYSICS
    • G01MEASURING; TESTING
    • G01NINVESTIGATING OR ANALYSING MATERIALS BY DETERMINING THEIR CHEMICAL OR PHYSICAL PROPERTIES
    • G01N35/00Automatic analysis not limited to methods or materials provided for in any single one of groups G01N1/00 - G01N33/00; Handling materials therefor
    • G01N35/02Automatic analysis not limited to methods or materials provided for in any single one of groups G01N1/00 - G01N33/00; Handling materials therefor using a plurality of sample containers moved by a conveyor system past one or more treatment or analysis stations
    • G01N35/04Details of the conveyor system
    • G01N2035/0401Sample carriers, cuvettes or reaction vessels
    • G01N2035/0418Plate elements with several rows of samples
    • G01N2035/0425Stacks, magazines or elevators for plates
    • GPHYSICS
    • G01MEASURING; TESTING
    • G01NINVESTIGATING OR ANALYSING MATERIALS BY DETERMINING THEIR CHEMICAL OR PHYSICAL PROPERTIES
    • G01N35/00Automatic analysis not limited to methods or materials provided for in any single one of groups G01N1/00 - G01N33/00; Handling materials therefor
    • G01N35/02Automatic analysis not limited to methods or materials provided for in any single one of groups G01N1/00 - G01N33/00; Handling materials therefor using a plurality of sample containers moved by a conveyor system past one or more treatment or analysis stations
    • G01N35/04Details of the conveyor system
    • G01N2035/0401Sample carriers, cuvettes or reaction vessels
    • G01N2035/0427Sample carriers, cuvettes or reaction vessels nestable or stockable

Definitions

  • the present invention relates to a container installation device and a container.
  • Patent Document 1 there is a container installation device that installs multiple containers containing chips, reagents, samples, and other contents inside the device in a stacked state and raises and lowers the containers with an elevator (see, for example, Patent Document 1).
  • the container installation device described in Patent Document 1 is used in an automatic analyzer for analyzing samples, and is configured to lift multiple stacked part racks up to a rack collection station located above with an elevator.
  • Patent Document 1 As explained below, the conventional technology disclosed in Patent Document 1 is desired to make it difficult for foreign objects to get mixed into the stored items and to allow the containers to be removed from the device in the exact order in which they were installed.
  • the top of the lower container can come into contact with the bottom of the upper container, which can cause foreign objects to become mixed into the contents of the lower container.
  • the present invention provides a container installation device comprising an installation section for installing multiple containers inside, the multiple containers having engagement sections on at least the left and right side portions, and an elevator for raising and lowering the containers inside the installation section, the installation section having multiple insertion openings that open into the front portion and are used to insert the containers into the installation section, an removal opening that opens into the ceiling portion and is used to remove the containers from inside the installation section, multiple holding sections that are provided on the left and right inner wall portions and are used to hold the containers horizontally by engaging with the engagement sections of the containers, and an insertion opening guide section that is provided to block a portion of the insertion opening and is used to guide the insertion of the containers into the insertion opening.
  • an installation section for installing multiple containers inside, the multiple containers having engagement sections on at least the left and right side portions, and an elevator for raising and lowering the containers inside the installation section
  • the installation section having multiple insertion openings that open into the front portion and are used to insert the containers into the installation section, an removal opening that opens into the ceiling portion and is used to remove
  • the present invention makes it possible to prevent foreign objects from entering the contents of a container and improve the order in which the container is used.
  • FIG. 1 is a perspective view of a container installation device and a container according to a first embodiment.
  • FIG. 1 is a perspective view of a container installation device according to a first embodiment.
  • FIG. 2 is a perspective view of a movable holding part of the container installation device according to the first embodiment.
  • FIG. FIG. 2 is a perspective view of the container as viewed from diagonally above to the right.
  • 1 is a perspective view of the container as viewed from diagonally below on the right.
  • FIG. FIG. FIG. FIG. FIG. 11 is a perspective view of a modified container as viewed from diagonally above right.
  • FIG. 11 is a perspective view of a modified container as viewed from diagonally below on the right.
  • 4 is an explanatory diagram of a storage state of the container erection device of the first embodiment.
  • FIG. 11 is an explanatory diagram (5) of the operation of the container installation device according to the third embodiment.
  • FIG. 11 is a perspective view of a container installation device according to a fourth embodiment.
  • 13 is an explanatory diagram (1) showing the operation of the container installation device according to the fourth embodiment.
  • FIG. 13 is an explanatory diagram (2) of the operation of the container installation device according to the fourth embodiment.
  • 13 is an explanatory diagram (3) showing the operation of the container installation device according to the fourth embodiment.
  • this embodiment will be described in detail with reference to the drawings. Note that each figure is merely a schematic illustration to allow a sufficient understanding of the invention. Therefore, the present invention is not limited to the illustrated examples. In addition, in each figure, common or similar components are given the same reference numerals, and duplicate explanations thereof will be omitted.
  • FIG. 1 is a perspective view of the container erection device 10 and a container 60 according to the first embodiment.
  • Fig. 2 is a perspective view of the container erection device 10.
  • Fig. 3 is a perspective view of a movable holding part of the container erection device 10.
  • a genetic testing device is a device in which it is desired to prevent foreign matter from entering the contents of a container and to improve the order in which the containers are used.
  • the container erection device 10 includes an erection section 11, an elevator 12, an operation section 41, and a control section 42. Note that in the example shown in FIG. 1, the operation section 41 and the control section 42 are illustrated, but in other drawings, the operation section 41 and the control section 42 are omitted in order to easily explain the configuration and operation of the container erection device 10 (this also applies to other embodiments).
  • the erection section 11 is a component that erects therein a plurality of containers 60.
  • the plurality of containers 60 are erected inside the container erection device 10 in a vertically stacked manner.
  • the elevator 12 is a component that raises and lowers the container 60 inside the installation section 11 .
  • the operation unit 41 is a component that is operated by a user.
  • the operation unit 41 is used, for example, to instruct the elevator 12 to start an elevation operation.
  • the control unit 42 is a component that controls the operation of each part of the container erection device 10.
  • control unit 42 will be described as starting the lifting and lowering operation of the elevator 12 in response to a command input to the container erection device 10 by the user operating the operation unit 41 to start the lifting and lowering operation of the elevator 12.
  • the operation of the elevator 12 is automatically controlled by the control unit 42, and is not stopped when the user stops operating the operation unit 41, but is stopped when a predetermined height position is reached and detected by a sensor (not shown) or the like.
  • the installation section 11 is formed into a shape by performing sheet metal processing (bending) on a flat metal member.
  • the installation section 11 is described as being made of a metal material to ensure strength.
  • the installation section 11 may be made of a resin material or the like as long as sufficient strength can be ensured.
  • the installation section 11 has multiple insertion openings 21, one removal opening 26, multiple stages of holding sections 30, multiple insertion opening guide sections 22, and an insertion restriction section 35.
  • the insertion opening 21 is an opening for inserting the container 60 into the inside of the installation part 11.
  • the insertion opening 21 is provided as an opening on the front part of the installation part 11. In this embodiment, it will be described as having three insertion openings 21 provided in the vertical direction.
  • the outlet 26 is an opening for removing the container 60 from inside the installation section 11.
  • the outlet 26 is provided in the ceiling of the installation section 11.
  • the holding portion 30 is a component for holding the container 60 horizontally by engaging with the engagement portion 62 of the container 60.
  • the holding portion 30 is configured to have a horizontal surface using a plate-shaped member.
  • the holding portion 30 is provided on the left and right inner wall portions of the erection portion 11.
  • the holding portion 30 holds the container 60 in a hanging manner when the container 60 is erected, and releases the hold when the container 60 is raised and lowered by the elevator 12. After all the containers 60 have been raised and lowered by the elevator 12, an empty space is formed at the lowest insertion port 21, and the next container 60 is inserted there, so the holding portion 30 holds the container 60.
  • the holding parts 30 are arranged so as to protrude into the installation part 11 from the left and right inner wall parts of the installation part 11.
  • the lowest holding part 30 is configured as a fixed holding part 31 inside the installation part 11.
  • the fixed holding part 31 is configured from a flat plate-like member.
  • the holding parts 30 other than the lowest stage are configured as movable holding parts 32 inside the installation part 11 so as to be movable when the container 60 rises with the rise of the elevator 12.
  • two movable holding parts 32 are provided.
  • the movable holding part 32 has a holding member 33 (FIG. 3) and a movable mechanism 34 for moving the holding member 33. Details of the movable holding part 32 will be described later.
  • the spacing T30a, T30b, and T30c (FIG. 7) between the multiple stages of holding parts 30 in the height direction is greater than the height T12 (FIG. 4B) of the container 60 below the engagement part 62. Therefore, the container installation device 10 can prevent the upper container 60 from contacting the lower container 60 when inserting and installing multiple containers 60 inside the installation part 11.
  • the insertion port guide section 22 is a component for guiding the insertion of the container 60 into the insertion port 21.
  • the insertion port guide section 22 is provided so as to cover a portion of the insertion port 21 of the installation section 11.
  • the upper end (upper edge) of the insertion port guide section 22 determines the lower limit insertion position of the container 60.
  • the upper end of the insertion port guide section 22 guides the container 60 to a position where the upper container 60 does not come into contact with the foreign matter prevention section 72 provided on the upper surface of the lower container 60 when the container 60 is inserted into the insertion port 21 (when the container 60 is installed in the installation section 11).
  • the upper end of the insertion port guide section 22 guides the insertion of the container 60 so that the engagement section of the container 60 does not slip under the holding section 30 of the installation section 11 when the container 60 is inserted into the insertion port 21 (when the container 60 is installed in the installation section 11).
  • the lower end (lower edge) of the insertion port guide section 22 defines the upper limit insertion position of the container 60.
  • the lower end of the insertion port guide section 22 guides the container 60 to a position where the foreign matter intrusion prevention section 72 provided on the upper surface of the lower container 60 does not contact the upper container 60 when the container 60 is inserted into the insertion port 21 (when the container 60 is installed in the installation section 11).
  • the container installation device 10 regulates the vertical position of the container 60 inserted into the insertion port 21 through the gap formed between the lower end (lower edge) and upper end (upper edge) of the two insertion port guide sections 22 arranged vertically.
  • Such an insertion port guide section 22 can prevent the upper container 60 from interfering with the foreign matter intrusion prevention section 72 of the lower container 60.
  • the widthwise end (right side) of the insertion port guide section 22 determines the left and right positions of the container 60. That is, the widthwise end of the insertion port guide section 22 guides the container 60 to a position in the opposite direction from the insertion port guide section 22 when the container 60 is inserted into the insertion port 21 (when the container 60 is installed in the installation section 11). In addition, the widthwise end of the insertion port guide section 22 guides the container 60 to a position in the opposite direction from the insertion port guide section 22 when the container 60 is raised. Such a widthwise end of the insertion port guide section 22 can keep the position of the container 60 constant.
  • the insertion port guide portion 22 is provided on one side of the insertion port 21 of the installation section 11 to restrict the insertion direction of the container 60 to a certain direction (in this embodiment, the longitudinal direction of the container 60).
  • the insertion port 21 has an asymmetric structure by providing the insertion port guide portion 22 on one side of the insertion port 21 to prevent the container 60 from being installed in the wrong orientation.
  • the insertion port guide portion 22 is provided on the left side of the insertion port 21 of the installation section 11.
  • Such a container installation device 10 allows the user to insert the container 60 in the back direction (rear direction) while the insertion port guide portion 22 moves the container 60 to the right. This allows the container installation device 10 to guide the insertion of the container 60 so that the notch portion 65 of the container 60 fits into the insertion restriction portion 35 of the installation section 11.
  • the insertion port guide section 22 is configured from a rectangular plate-like member.
  • the shape of the insertion port guide section 22 is not limited to the illustrated example.
  • the upper edge portion of the insertion port guide section 22 is provided at the same height as the portion of the holding section 30 that holds the container 60 so as to contact the bottom surface of the engagement section 62 (Figs. 4A to 4E) of the container 60 when the container 60 is inserted, thereby guiding the insertion of the container 60.
  • the container installation device 10 can cause the insertion port guide section 22 to function as a reinforcement for the left holding section 30 against the vertical load of the container 60.
  • the width W22 (Fig. 2) of the insertion opening 21 where the insertion opening guide section 22 is provided is shorter than the vertical width L11 (Fig. 4A) of the storage section 61 of the container 60, which will be described later. In other words, “horizontal width W22 (Fig. 2) ⁇ vertical width L11 (Fig. 4A)". Also, the width W22 (Fig. 2) of the insertion opening 21 where the insertion opening guide section 22 is provided is shorter than the vertical width L12 (Fig. 4C) of the engagement section 62 of the container 60, which will be described later. In other words, “horizontal width W22 (Fig. 2) ⁇ vertical width L12 (Fig. 4C)".
  • Such a container erection device 10 can limit the insertion direction of the container 60 into the insertion opening 21 of the erection section 11 to only the front-to-rear direction of the container 60.
  • the width W22 (Fig. 2) of the insertion opening 21 where the insertion opening guide section 22 is provided is longer than the width W11 (Fig. 4A) of the storage section 61 of the container 60 described later, and is shorter than the width W12 (Fig. 4C) of the engagement section 62 of the container 60 described later.
  • width W12 (Fig. 4A) ⁇ width W22 (Fig. 2) ⁇ width W12 (Fig. 4C)
  • Such a container erection device 10 can insert the container 60 into the erection section 11 only when the storage section 61 (Fig. 4A) of the container 60 described later passes through the insertion opening 21 where the insertion opening guide section 22 is provided. Therefore, the container erection device 10 can prevent the upper container 60 from contacting the lower container 60 when inserting multiple containers 60 into the erection section 11.
  • the insertion restriction portion 35 is a component that restricts the insertion of the container 60 inserted in the wrong direction into the installation portion 11.
  • the insertion restriction portion 35 is provided in a protruding shape so as to fit into a notch 65 (FIGS. 4A to 4C) provided at a corner of the engagement portion 62 (FIGS. 4A to 4E) of the container 60.
  • the insertion restriction portion 35 is provided at a corner of the back (rear) of the installation portion 11 on the side opposite the insertion port guide portion 22 (in this embodiment, the right side).
  • Such a container installation device 10 has the user insert the container 60 in the back direction (rear direction) with the container 60 shifted to the right by the insertion port guide portion 22.
  • the container installation device 10 can restrict the insertion of a container 60 that has been inserted into the installation section 11 in an incorrect direction by the insertion restriction section 35.
  • the position and shape of the insertion restriction section 35 are not limited to those shown in the illustration, as long as it is possible to restrict the insertion of a container 60 that has been inserted into the installation section 11 in an incorrect direction.
  • the movable holding portion 32 has a holding member 33 that engages with an engagement portion 62 of the container 60, a hinge shaft 34a (shaft portion) that axially supports the holding member 33 so as to be rotatable, and a kick spring 34b (urging member) that urges the holding member 33 toward the inside of the container 60.
  • the hinge shaft 34a (shaft portion) and the kick spring 34b (urging member) constitute a movable mechanism 34 that moves the holding member 33.
  • the holding member 33 is configured to rotate around the hinge shaft 34a (shaft portion), and is urged toward the inside of the container 60 by the kick spring 34b (urging member).
  • the retaining member 33 is described as being made of a metal material to ensure strength.
  • the retaining member 33 may be made of a resin material or the like as long as sufficient strength can be ensured.
  • the holding member 33 has an inclined surface, and when the container 60 rises in conjunction with the rise of the elevator 12, the engagement portion 62 (Figs. 4A to 4E) of the container 60 abuts against the inclined surface. At this time, the holding member 33 is pushed outward by the engagement portion 62 (Figs. 4A to 4E) of the container 60, and retreats in the direction from the inside to the outside of the container 60. Then, when the container 60 rises further, the holding member 33 is released from abutment with the engagement portion 62 (Figs. 4A to 4E) of the container 60. At this time, the holding member 33 is pushed inward by the kick spring 34b (biasing member), and advances in the direction from the outside to the inside of the container 60.
  • the kick spring 34b biasing member
  • the holding member 33 has a horizontal surface 33a and a regulating surface 33b.
  • the horizontal surface 33a is a surface that holds the container 60 horizontally by engaging (supporting) with the engaging portion 62 (Figs. 4A to 4E) of the container 60 when the holding member 33 has advanced into the container 60.
  • the regulating surface 33b is a surface that stops the rotation of the holding member 33 and maintains the horizontal surface 33a in the horizontal direction by abutting against the outer wall surface of the erection portion 11 (or the wall surface of a separately provided member not shown) when the holding member 33 has advanced into the container 60.
  • Figure 4A is a perspective view of the container 60 as viewed from diagonally above right.
  • Figure 4B is a perspective view of the container 60 as viewed from diagonally below right.
  • Figure 4C is a top view of the container 60.
  • Figure 4D is a front view of the container 60.
  • Figure 4E is a front cross-sectional view of the container 60.
  • the container 60 is described as being configured as a tip rack on which a plurality of tips are mounted.
  • the container 60 may also be one that stores reagents, specimens, etc.
  • the container 60 has an asymmetrical structure so as to prevent the container 60 from being installed in the wrong orientation.
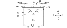
  • the container 60 includes a storage section 61, an engagement section 62, a foreign matter prevention section 72, legs 63, and a notch 65.
  • the engagement portion 62 is provided so as to protrude from at least the left and right side portions of the container 60 by different protrusion amounts.
  • the protrusion amount W62a of the left engagement portion 62a is greater than the protrusion amount W62b of the right engagement portion 62b.
  • protrusion amount W62a of engagement portion 62a > protrusion amount W62b of engagement portion 62b.
  • Such a container 60 can restrict the insertion direction of the container 60 when the container 60 is inserted into the insertion port 21 of the installation part 11 in which the insertion port guide part 22 is provided.
  • the engagement part 62a since the protrusion amount W62a of the engagement part 62a of such a container 60 is large, the engagement part 62a reaches the holding part 30 of the installation part 11 after passing through the insertion port 21 of the installation part 11 in which the insertion port guide part 22 is provided. Therefore, the container 60 can have the engagement part 62a engage (support) well with the holding part 30 of the installation part 11.
  • the container 60 is also configured such that the engagement portion 62 protrudes outward from the storage portion 61. Therefore, when a user grips the container 60, the engagement portion 62 functions as an anti-slip device, preventing the container 60 from being accidentally dropped by the user. Furthermore, when the container 60 is erected on the erection portion 11 of the container erection device 10, the engagement portion 62 engages with the holding portion 30, thereby preventing the container 60 from being erected in a position where it should not be erected (a position other than the erection completion position).
  • the container 60 has a foreign matter intrusion prevention section 72 that protrudes above the ceiling surface 64.
  • the container 60 also has a hollow space formed between the legs 63.
  • the height of the hollow space is set to a height that forms a gap 73 between the bottom surface 61a of the storage section 61 in the upper container 60 and the top of the foreign matter intrusion prevention section 72 in the lower container 60 when multiple containers 60 are stacked one on top of the other inside the container installation device 10 so that the contact surface 63a of the leg 63 of the upper container 60 abuts against the lower container 60.
  • the container 60 can be modified, for example, as a container 160 shown in Fig. 5A and Fig. 5B.
  • Fig. 5A is a perspective view of the modified container 160 as viewed from diagonally above and to the right.
  • Fig. 5B is a perspective view of the modified container 160 as viewed from diagonally below and to the right.
  • the legs 63 are provided on the four side surfaces of the storage section 61, front, back, left and right, so as to protrude downward.
  • the legs 63 are provided on the lower part of the four side surfaces of the container 60.
  • this type of container 160 Compared to container 60 (FIGS. 4A and 4B), this type of container 160 has no opening between the legs 63, so when multiple containers 160 are inserted into the installation section 11, it is not possible to make it difficult for the upper container 160 to come into contact with the lower container 160.
  • container 160 is provided at the bottom of the four side portions of container 160, the strength of the legs 63 can be improved compared to container 60. Such a container 160 can suppress bending and breakage of the legs 63.
  • FIG. 6 is an explanatory diagram of the container erection device 10 in a stored state.
  • Figures 7 to 11 are explanatory diagrams of the operation of the container erection device 10.
  • the explanation will be given assuming that a user inserts a container 60 into the erection section 11.
  • the container erection device 10 operates as follows in order to standardize the erection order and the use order and to maximize the number of additional erections.
  • the container installation device 10 installs a plurality of containers 60 in a stacked state inside the installation section 11.
  • the user inserts all of the containers 60 into the insertion openings 21 of the installation section 11, the number of containers that can be accommodated in the installation section 11, so that there are no gaps in the insertion openings 21 of the installation section 11.
  • the containers 60 are inserted from the upper insertion opening 21 to the lower insertion opening 21 in order of earliest use. That is, the user inserts, for example, the container 60a that is used first into the top insertion opening 21, the container 60b that is used second into the middle insertion opening 21, and the container 60c that is used third earliest (latest) into the bottom insertion opening 21.
  • the user can change the order in which the containers 60 are inserted, so long as the user can insert the containers 60 into the insertion slot 21 of the row that corresponds to the order of use. Therefore, the user can, for example, first insert the container 60b, which is the second earliest to be used, into the insertion slot 21 of the middle row, then insert the container 60c, which is the third earliest to be used, into the insertion slot 21 of the bottom row, and then insert the container 60a, which is the first earliest to be used, into the insertion slot 21 of the top row.
  • each container 60 is installed in a state where it is spaced apart from the other containers 60. That is, the container installation device 10 installs container 60a by holding the engaging section 62 of container 60a with the movable holding section 32 of the upper tier. The container installation device 10 also installs container 60b by holding the engaging section 62 of container 60b with the movable holding section 32 of the lower tier. The container installation device 10 also installs container 60c by holding the engaging section 62 of container 60c with the fixed holding section 31.
  • the container erection device 10 raises the elevator 12 (see arrow A11). At this time, the first container 60c from the bottom rises. At that time, the engagement portion 62 of the first container 60c from the bottom rises and moves away from the fixed holding portion 31. Then, the ground contact surface 63a of the second container 60b from the top abuts against the first container 60c from the bottom. At this time, the container erection device 10 forms a gap 73 between the bottom surface 61a of the storage portion 61 of the second container 60b from the top and the top of the foreign matter intrusion prevention portion 72 of the first container 60c from the bottom.
  • the container installation device 10 raises the elevator 12, the containers 60a, 60b, and 60c rise (see arrow A12).
  • the engagement portion 62 of the second container 60b from the top rises and moves away from the movable holding portion 32 in the lower tier.
  • the ground contact surface 63a of the first container 60a from the top abuts against the second container 60b from the top.
  • the container installation device 10 forms a gap 73 between the bottom surface 61a of the storage portion 61 of the first container 60a from the top and the top of the foreign matter intrusion prevention portion 72 of the second container 60b from the top.
  • the engagement portion 62 of the first container 60a from the top rises and moves away from the movable holding portion 32 in the upper tier.
  • the engaging portion 62 of the container 60 comes into contact with the holding member 33 of the movable holding part 32.
  • the holding member 33 of the movable holding part 32 is pushed by the engaging portion 62 of the container 60 and rotates in the backward direction.
  • the engaging portion 62 of the container 60 and the holding member 33 of the movable holding part 32 are released from contact with each other.
  • the holding member 33 of the movable holding part 32 is pushed by the kick spring 34b (biasing member) and rotates in the forward direction.
  • the holding member 33 stops rotating when the restricting surface 33b comes into contact with the outer wall surface of the erection part 11 (or the wall surface of a separately provided member not shown). At this time, the horizontal surface 33a of the holding member 33 is arranged in the horizontal direction.
  • the container installation device 10 raises the elevator 12
  • the containers 60a, 60b, and 60c rise further (see arrow A13).
  • the first container 60a from the top is sent out from the removal port 26 to the outside of the installation section 11.
  • the second container 60b from the top is installed on the upper movable holding section 32. The user removes the first container 60a from the top that has been sent out to the outside of the installation section 11.
  • the container erection device 10 lowers the elevator 12 (see arrow A14). Then, the containers 60b and 60c are lowered. At this time, the container erection device 10 holds the engagement portion 62 of the container 60b with the upper movable holding portion 32 and erects the container 60b. The container erection device 10 also holds the engagement portion 62 of the container 60c with the lower movable holding portion 32 and erects the container 60c. Since an empty space is formed in the lowest insertion port 21 of the erection portion 11, the user can insert the next container 60 into the lowest insertion port 21.
  • Such a container erection device 10 can erect the containers 60 in the same order as the order in which the containers 60 are used. Therefore, the container erection device 10 can operate by removing the containers 60 from the device and using them in the order in which they were erected.
  • the container installation device 10 includes an installation section 11 and an elevator 12.
  • the installation section 11 is a component that installs a plurality of containers 60 having engagement sections 62 on at least the left and right side surfaces.
  • the elevator 12 is a component that raises and lowers the containers 60 inside the installation section 11.
  • the installation section 11 has a plurality of insertion openings 21 for inserting the containers 60 into the installation section 11, an ejection opening 26 for removing the containers 60 from the installation section 11, a plurality of holding sections 30 for holding the containers 60 horizontally by engaging with the engagement sections 62 of the containers 60, and an insertion opening guide section 22 for guiding the insertion of the containers 60 into the insertion openings 21.
  • the plurality of insertion openings 21 are provided to open on the front surface of the installation section 11.
  • the ejection opening 26 is provided to open on the ceiling of the installation section 11.
  • the holding portions 30 are provided on the left and right inner wall portions of the bridging portion 11.
  • the insertion opening guide portions 22 are provided so as to close a part of the insertion opening 21 of the bridging portion 11.
  • the container erection device 10 guides the insertion position of the container 60 with the insertion port guide section 22. Therefore, the container erection device 10 can insert the container 60 without the upper container 60 colliding with the lower container 60. Therefore, the container erection device 10 can prevent foreign objects from entering the contents 71 inside the container 60. Furthermore, the container erection device 10 can erect the containers 60 in the same order as the order in which the containers 60 are used. Therefore, the container erection device 10 can operate by removing and using the containers 60 in the order in which they were erected. Therefore, the container erection device 10 can prevent foreign objects from entering and improve the order in which the containers 60 are used.
  • the insertion port guide portion 22 may be provided on either the left or right side of the insertion port 21 of the installation portion 11.
  • the container installation device 10 allows the user to insert the container 60 in the rearward direction while the container 60 is moved in the direction opposite to the side where the insertion port guide section 22 is provided. Therefore, the container installation device 10 can effectively guide the insertion of the container 60.
  • the upper edge portion of the insertion port guide portion 22 may be provided at the same height as the portion of the holding portion 30 that holds the container 60.
  • the container erection device 10 guides the insertion height position of the container 60 with the upper edge portion of the insertion port guide section 22. Therefore, the container erection device 10 can insert the container 60 so that the upper container 60 does not collide with the lower container 60. Therefore, the container erection device 10 can prevent foreign objects from entering the contents 71 inside the container 60.
  • the holding portion 30 is preferably positioned so as to protrude into the interior of the installation portion 11 from the left and right inner wall portions of the installation portion 11.
  • the container installation device 10 can install the container 60 well inside the installation section 11.
  • the lowest stage holding section 30 is configured as a fixed holding section 31 inside the erection section 11, while the holding sections 30 other than the lowest stage are configured as movable holding sections 32 inside the erection section 11 so as to be movable when the container 60 rises in conjunction with the rise of the elevator 12.
  • the container installation device 10 can send out the container 60 installed on the movable holding part 32 and the fixed holding part 31 toward the removal outlet 26 by raising the elevator 12.
  • the movable holding portion 32 may be configured to include a holding member 33 that engages with the engagement portion 62 of the container 60, a hinge shaft 34a (shaft portion) that axially supports the holding member 33 so that it can rotate freely, and a kick spring 34b (biasing member) that biases the holding member 33 toward the inside of the container 60.
  • the container erection device 10 can move the holding member 33 toward the inside of the container 60 by using the kick spring 34b (biasing member).
  • the container erection device 10 rotates backward and then forward. This container erection device 10 can erect the containers 60 in the order of use.
  • the spacing T30a, T30b, and T30c (FIG. 7) between the multiple stages of holding sections 30 in the height direction may be greater than the height T12 (FIG. 4B) of the container 60 below the engagement section 62.
  • the container installation device 10 can prevent the upper container 60 from coming into contact with the lower container 60 when multiple containers 60 are inserted and installed inside the installation section 11.
  • the installation section 11 may have an insertion restriction section 35 that restricts the insertion of a container 60 that has been inserted into the installation section 11 in the wrong direction.
  • the container installation device 10 when the container 60 is inserted into the installation section 11 in the wrong direction, the insertion restriction section 35 can stop the container 60 from being fully inserted. Therefore, the container installation device 10 can prevent the user from fully inserting the container 60 in the wrong direction.
  • the installation section 11 is configured in a [shape by subjecting a flat metal member to sheet metal processing (bending).
  • the holding section 30 is preferably configured to have a horizontal surface by a plate-shaped member.
  • the container erection device 10 can form the erection section 11 by deforming a plate-like member into a shape.
  • the container erection device 10 can form the erection section 11 at low cost.
  • the container 60 is a container that is vertically stacked inside the container erection device 10.
  • the container 60 includes a storage section 61 for storing an object 71 inside, an engagement section 62 provided at least on the left and right side surfaces and for engaging with a holding section 30 provided on the left and right inner wall sections of the container erection device 10, a foreign matter intrusion prevention section 72 provided at the upper part and for preventing foreign matter from intruding inside, and a leg section 63 provided at the lower part and for forming a hollow space inside.
  • a storage section 61 for storing an object 71 inside
  • an engagement section 62 provided at least on the left and right side surfaces and for engaging with a holding section 30 provided on the left and right inner wall sections of the container erection device 10
  • a foreign matter intrusion prevention section 72 provided at the upper part and for preventing foreign matter from intruding inside
  • a leg section 63 provided at the lower part and for forming a hollow space inside.
  • the height of the hollow space is set to a height that forms a gap 73 between the bottom surface of the storage section 61 of the upper container 60 and the top of the foreign matter intrusion prevention section 72 of the lower container 60 when the multiple containers 60 are vertically stacked inside the container erection device 10.
  • the container 60 according to this embodiment can prevent the upper container 60 from coming into contact with the lower container 60 when multiple containers 60 are mounted on the container mounting device 10.
  • the engagement portion 62 may be provided so as to protrude from at least the left and right side portions of the container 60 by different protrusion amounts W62a, W62b.
  • the container 60 according to this embodiment can restrict the insertion direction when it is installed on the container installation device 10.
  • the protrusion amount W62a of the engagement portion 62a of this container 60 is large, the engagement portion 62a reaches the holding portion 30 of the installation portion 11 after passing through the insertion port 21 of the installation portion 11 in which the insertion port guide portion 22 is provided. Therefore, the container 60 can have the engagement portion 62a engage (support) well with the holding portion 30 of the installation portion 11.
  • the container 60 has a rectangular shape when viewed from above, and preferably has a notch 65 at one of its four corners that is formed so that the insertion restriction section 35 provided inside the container installation device 10 can fit into it.
  • the insertion restriction portion 35 provided inside the container erection device 10 does not fit into the notch 65, and the container is not inserted completely and stops midway. This prevents the user from inserting the container 60 completely into the container erection device 10 in the wrong direction.
  • the container 60 according to this embodiment may have a different length in one direction than in the other direction when viewed from above.
  • the user When inserting the container 60 according to this embodiment into the container installation device 10, the user can be guided to insert the container 60 in the direction that is longer in length.
  • the legs 63 may be provided only on the lower parts of the left and right side surfaces of the container 60.
  • the container 60 has openings between the legs 63 at the front and rear, making it difficult for the upper container 60 to come into contact with the lower container 60 when multiple containers 60 are inserted into the installation section 11. Therefore, the container 60 can easily prevent foreign objects from entering the contents 71 inside the container 60.
  • the engagement portion 62 may be provided in the form of a protrusion so as to function as an anti-slip device.
  • the engagement portion 62 functions as an anti-slip device, so the container 60 can be prevented from being accidentally dropped by the user.
  • the legs 63 may be configured to be provided on the lower part of the four side surfaces of the container 60.
  • the container 60 has legs 63 at the bottom of the four side surfaces of the container 160, so the strength of the legs 63 can be improved compared to the container 60.
  • the container installation device 10 can prevent the intrusion of foreign matter and improve the order in which the containers 60 are used.
  • FIG. 12 is a perspective view of the container erection device 10A according to the second embodiment.
  • Fig. 13 is a front view of the container erection device 10A.
  • Fig. 14 is an explanatory diagram of the container erection device 10A.
  • Fig. 15 is a perspective view of the movable holding part 32 of the container erection device 10A.
  • the container installation device 10A of this embodiment 2 differs from the container installation device 10 of embodiment 1 (see Figure 2) in that it has an installation part 111 instead of the installation part 11.
  • the installation section 111 is configured in a frame shape using rod-shaped members.
  • the installation section 111 is composed of a left installation section 111a and a right installation section 111b.
  • An insertion restriction section 35 is provided at the rear of the right installation section 111b.
  • an insertion port guide section 22a is provided on the left installation section 111a.
  • the insertion port guide section 22a is configured in a ] shape using a rod-shaped member.
  • the upper edge of the insertion port guide section 22a is provided at the same height as the part of the holding section 30 that holds the container 60 so that it comes into contact with the bottom surface of the engagement section 62 (Figs. 4A to 4E) of the container 60 when the container 60 is inserted, thereby guiding the insertion of the container 60.
  • the container installation device 10A of this embodiment 2 has three insertion openings 21 on the front portion, and one removal opening 26 (FIG. 12) on the ceiling portion, similar to the container installation device 10 of embodiment 1 (see FIG. 2).
  • the container erection device 10A erects multiple containers 60 in a stacked state inside the erection section 111. Each container 60 is inserted from the upper insertion port 21 to the lower insertion port 21 in the order of earliest use.
  • the container erection device 10A of this embodiment 2 operates in the same manner as the container erection device 10 of embodiment 1 (see Figure 2).
  • the fixed holding part 31 of the container erecting device 10A is made of a flat plate-like member.
  • the movable holding part 32 of the container erecting device 10A is made of a rod-like member and is frame-like so as to have a horizontal surface.
  • the movable holding part 32 has a holding member 133 that engages with the engagement part 62 of the container 60 and a movable mechanism 134 that moves the holding member 133.
  • the holding member 133 has a plate part 133a that engages with the engagement part 62 of the container 60 and a shaft part 133b that supports the plate part 133a so that it can rotate freely.
  • the holding member 133 is made of a plurality of flat plate-like members joined together.
  • the movable mechanism 134 has a regulating member 134a that regulates the rotation of the holding member 133 and a kick spring 134b (urging member) that urges the holding member 133 toward the inside of the container 60.
  • the holding member 133 is described as being made of a metal material to ensure strength.
  • the holding member 133 may be made of a resin material or the like as long as sufficient strength can be ensured.
  • the engaging portion 62 of the container 60 abuts against the holding member 133.
  • the holding member 133 is pushed outward by the engaging portion 62 of the container 60, and retreats in a direction from the inside to the outside of the container 60.
  • the holding member 133 is released from abutment with the engaging portion 62 of the container 60.
  • the holding member 133 is pushed inward by the kick spring 134b (biasing member), and advances in a direction from the outside to the inside of the container 60.
  • the holding member 133 pushed inward by the kick spring 134b stops rotating in a state advanced into the interior of the container 60, as a portion of the holding member 133 abuts against the regulating member 134a.
  • the holding member 133 provided on the left-side bridge portion 111a and the holding member 133 provided on the right-side bridge portion 111b stop at an angle that allows the container 60 to be held horizontally between them.
  • the installation section 111 can be configured by a rod-shaped member.
  • the fixed holding section 31 can be configured by a flat plate-shaped member.
  • the movable holding section 32 can be configured by a rod-shaped member.
  • the fixed holder 31 of the container erecting device 10A is configured by a flat plate-like member.
  • the container erecting device 10A can configure the holding member 133 of the movable holder 32 by a rod-like member.
  • This container erection device 10A can prevent the intrusion of foreign matter and improve the order of use of the containers 60. Furthermore, compared to the container installation device 10 of embodiment 1, this container installation device 10A has a configuration in which the side of the installation section 111 is open, so that the user can visually check the condition of each container 60 installed on the installation section 111 from the side of the installation section 111.
  • Fig. 16 is a perspective view of the container erection device 10B according to the third embodiment.
  • Fig. 17 is a front view of the container erection device 10B.
  • the container installation device 10B of this embodiment 3 differs from the container installation device 10 of embodiment 1 (see Figure 2) in that the movable holding part 32 is composed of a holding member 233 and a solenoid 234 (electrically-operated member) and in that it has a container detection sensor 235.
  • the holding member 233 is a member that engages with the engagement portion 62 of the container 60.
  • the holding member 233 is configured to slide in the left-right direction.
  • the solenoid 234 is an electrically-driven member that selectively advances (advances) or retreats the holding member 233 by sliding it relative to the internal space inside the installation section 11 .
  • the container detection sensor 235 is a sensor that detects the container 60 (particularly the engagement portion 62 of the container 60 ) rising inside the installation portion 11 .
  • the movable holding portion 32 is configured such that the holding member 233 is slidably moved by a solenoid 234 (electrically-driven member), but is not limited to the mechanism shown in the figure.
  • Figures 18 to 22 are explanatory diagrams of the operation of the container erection device 10B.
  • the container erection device 10B In the initial state, the container erection device 10B is in a state in which the holding members 233 of each stage are advanced (advanced into the internal space inside the erection section 11).
  • the container installation device 10B installs multiple containers 60 in a stacked state inside the installation section 11. Each container 60 is inserted from the upper insertion port 21 to the lower insertion port 21 in the order of earliest use. The user inserts each tier of containers 60 into the installation section 11 to install them. At this time, each container 60 is installed in a state separated from the other containers 60. In other words, the container installation device 10B installs container 60a with the upper tier movable holding section 32. The container installation device 10B also installs container 60b with the lower tier movable holding section 32. The container installation device 10B also installs container 60c with the fixed holding section 31.
  • the container installation device 10B raises the elevator 12 (see arrow B11).
  • the first container 60c from the bottom rises.
  • the engagement part 62 of the first container 60c from the bottom rises and moves away from the fixed holding part 31.
  • the ground surface 63a (FIG. 4E) of the second container 60b from the top abuts against the first container 60c from the bottom.
  • the container installation device 10B drives the solenoid 234 of the lower movable holding portion 32 to move the holding member 233 of the lower movable holding portion 32 backward.
  • the container installation device 10B raises the elevator 12
  • the contact surface 63a (FIG. 4E) of the first container 60a from the top abuts against the second container 60b from the top, and containers 60a, 60b, and 60c rise (see arrow B12).
  • the engagement portion 62 (FIG. 4E) of the first container 60a from the top rises and separates from the upper movable holding portion 32.
  • the upper container detection sensor 235 detects the rise of container 60a (particularly the engagement portion 62 (FIG. 4E) of container 60a).
  • the container installation device 10B drives the solenoid 234 of the upper movable holding portion 32 to retract the holding member 233 of the upper movable holding portion 32.
  • the container installation device 10B raises the elevator 12, the containers 60a, 60b, and 60c rise further (see arrow B13). As a result, the first container 60a from the top is sent out from the removal port 26 to the outside of the installation section 11.
  • the engagement part 62 (FIG. 4E) of the second container 60b from the top is positioned higher than the upper container detection sensor 235. Therefore, the upper container detection sensor 235 detects the rise of the container 60b (particularly the engagement part 62 (FIG. 4E) of the container 60b).
  • the container installation device 10B drives the solenoids 234 of the upper and lower movable holding parts 32 to advance the holding members 233 of the upper and lower movable holding parts 32. The user then takes out the first container 60a from the top that has been sent out to the outside of the installation section 11.
  • the container erection device 10B lowers the elevator 12 (see arrow B14). Then, the containers 60b and 60c are lowered. At this time, the container erection device 10B holds the engagement portion 62 (FIG. 4E) of the container 60b with the upper movable holding portion 32 and erects the container 60b. The container erection device 10B also holds the engagement portion 62 (FIG. 4E) of the container 60c with the lower movable holding portion 32 and erects the container 60c. Since an empty space is formed in the lowest insertion port 21 of the erection portion 11, the user can insert the next container 60 into the lowest insertion port 21.
  • Such a container erection device 10B can erect the containers 60 in the same order as the order in which the containers 60 are used. Therefore, the container erection device 10B can operate by removing the containers 60 from the device and using them in the order in which they were erected.
  • This container erection device 10B can prevent the intrusion of foreign matter and improve the order of use of the containers 60. Furthermore, compared to the container installation device 10 of embodiment 1, this container installation device 10A uses a solenoid 234 (electric member) instead of a kick spring 34b (biasing member) for the movable holding part 32, thereby reducing the operating noise of the movable holding part 32.
  • Fig. 23 is a perspective view of the container erection device 10C according to the fourth embodiment.
  • the container erection device 10C of this embodiment 4 differs from the container erection device 10 of embodiment 1 (see FIG. 2) in that the erection section 11 has a holding section 30 only at the insertion openings 21 of the steps other than the top step (i.e., the second step from the top and the first step from the bottom). Therefore, in this embodiment, the container erection device 10C has a fixed holding section 31 on the first step from the bottom and a movable holding section 32 on the second step from the top.
  • Figures 24 to 26 are explanatory diagrams of the operation of the container installation device 10C.
  • the container installation device 10C is in a state where the container 60 has not yet been installed.
  • the user inserts container 60b into the second-highest insertion slot 21 (FIG. 24) and causes container 60b to be held by movable holding portion 32.
  • container installation device 10C can guide the insertion of container 60a by using insertion port guide portion 22 provided at insertion port 21 so that container 60a avoids foreign matter prevention portion 72 of container 60b and is placed on top of container 60b.
  • the container installation device 10C can interrupt and stack another container 60 (e.g., container 60c) on top of a container 60 (e.g., container 60b) that has already been installed on the movable holding section 32, in cases such as when an emergency inspection is to be performed, although this will disrupt the chronological order of the containers 60 to be used.
  • container 60c e.g., container 60c
  • container 60b e.g., container 60b
  • This container erection device 10C can prevent the intrusion of foreign matter and improve the order of use of the containers 60. Moreover, since the upper movable holding unit 32 is omitted in the container erecting device 10C, the container erecting device 10C can be manufactured at a lower cost than the container erecting device 10 according to the first embodiment. In addition, the container erecting device 10C can be suitably used in the case of an operation in which the additionally erected container 60 is used with the highest priority, such as an emergency inspection, and when a discrepancy between the erection order and the use order can be tolerated.
  • the present invention is not necessarily limited to having all of the components described.
  • the present invention allows for certain components to be added to other components, or for some components to be changed to other components.
  • the present invention allows for some components to be deleted.

Landscapes

  • Chemical & Material Sciences (AREA)
  • Health & Medical Sciences (AREA)
  • Chemical Kinetics & Catalysis (AREA)
  • Clinical Laboratory Science (AREA)
  • General Health & Medical Sciences (AREA)
  • Life Sciences & Earth Sciences (AREA)
  • Analytical Chemistry (AREA)
  • Biochemistry (AREA)
  • Physics & Mathematics (AREA)
  • General Physics & Mathematics (AREA)
  • Immunology (AREA)
  • Pathology (AREA)
  • Details Of Rigid Or Semi-Rigid Containers (AREA)
  • Passenger Equipment (AREA)
  • Automatic Analysis And Handling Materials Therefor (AREA)
  • Stackable Containers (AREA)

Abstract

容器架設装置(10)は、少なくとも左右の側面部に係合部(62)が設けられた複数の容器(60)を内部で架設する架設部(11)と、架設部の内部で容器を昇降させる昇降機(12)と、を備える。架設部は、前面部に開口して設けられ、かつ、架設部の内部に容器を挿入するための複数の挿入口(21)と、天井部に開口して設けられ、かつ、架設部の内部から容器を取り出すための取出口(26)と、左右の内壁部に設けられ、かつ、容器の係合部と係合することで容器を水平に保持するための複数段の保持部(30)と、挿入口の一部を塞ぐように設けられ、かつ、挿入口への容器の挿入をガイドするための挿入口ガイド部(22)と、を有する。

Description

容器架設装置、及び、容器
 本発明は、容器架設装置、及び、容器に関する。
 従来、チップや試薬、検体等の収納物が収納された複数の容器を装置の内部で積み重ねた状態で架設し、昇降機で容器を昇降させる容器架設装置がある(例えば、特許文献1参照)。特許文献1に記載された容器架設装置は、試料を分析するための自動分析器に用いたものであり、複数の積み重ねられた部品ラックを上方に配置されたラック回収ステーションまで昇降機で持ち上げる構成になっている。
特表2021-529314号公報
 特許文献1に開示された従来技術は、以下に説明するように、異物を収納物に混入させ難くすることや、架設した順序通りに容器を装置から取り出すことが望まれている。
 例えば、従来技術は、チップや試薬、検体等の収納物(内容物)が収納された複数の容器を装置の内部に積み重ねて架設する際に、下側の容器の頂部が上側の容器の底面と接触してしまい、下側の容器の収納物に異物が混入する可能性がある。
 また、この種の装置では、容器の収納物の残量や品質を好適に管理するために、架設した順序通りに容器を装置から取り出して使用する運用を行うことが望まれている。しかしながら、従来技術は、最初に架設した容器が最下段に配置され、最後に架設した容器が最上段に配置され、最上段に配置された最後の容器からその下側に配置された容器の順序で取り出されて使用する構成になっている。そのため、従来技術は、容望まれる容器の使用順序とは異なる順序で容器が架設されており、架設した順序通りに容器を装置から取り出して使用する運用を行うことができない。
 本発明は、前記した課題を解決するためになされたものであり、容器内の収納物への異物の混入防止と容器の使用順序の改善を実現する容器架設装置、及び、当該容器架設装置に用いる容器を提供することを主な目的とする。
 前記目的を達成するため、本発明は、容器架設装置であって、少なくとも左右の側面部に係合部が設けられた複数の容器を内部で架設する架設部と、前記架設部の内部で前記容器を昇降させる昇降機と、を備え、前記架設部は、前面部に開口して設けられ、かつ、当該架設部の内部に前記容器を挿入するための複数の挿入口と、天井部に開口して設けられ、かつ、当該架設部の内部から前記容器を取り出すための取出口と、左右の内壁部に設けられ、かつ、前記容器の前記係合部と係合することで前記容器を水平に保持するための複数段の保持部と、前記挿入口の一部を塞ぐように設けられ、かつ、前記挿入口への前記容器の挿入をガイドするための挿入口ガイド部と、を有する構成とする。
 その他の手段は、後記する。
 本発明によれば、容器内の収納物への異物の混入防止と容器の使用順序の改善を実現することができる。
実施形態1に係る容器架設装置と容器の斜視図である。 実施形態1に係る容器架設装置の斜視図である。 実施形態1に係る容器架設装置の可動保持部の斜視図である。 右斜め上から見た容器の斜視図である。 右斜め下から見た容器の斜視図である。 容器の上面図である。 容器の正面図である。 容器の正面断面図である。 右斜め上から見た変形例の容器の斜視図である。 右斜め下から見た変形例の容器の斜視図である。 実施形態1に係る容器架設装置の収納状態の説明図である。 実施形態1に係る容器架設装置の動作説明図(1)である。 実施形態1に係る容器架設装置の動作説明図(2)である。 実施形態1に係る容器架設装置の動作説明図(3)である。 実施形態1に係る容器架設装置の動作説明図(4)である。 実施形態1に係る容器架設装置の動作説明図(5)である。 実施形態2に係る容器架設装置の斜視図である。 実施形態2に係る容器架設装置の正面図である。 実施形態2に係る容器架設装置の説明図である。 実施形態2に係る容器架設装置の可動保持部の斜視図である。 実施形態3に係る容器架設装置の斜視図である。 実施形態3に係る容器架設装置の正面図である。 実施形態3に係る容器架設装置の動作説明図(1)である。 実施形態3に係る容器架設装置の動作説明図(2)である。 実施形態3に係る容器架設装置の動作説明図(3)である。 実施形態3に係る容器架設装置の動作説明図(4)である。 実施形態3に係る容器架設装置の動作説明図(5)である。 実施形態4に係る容器架設装置の斜視図である。 実施形態4に係る容器架設装置の動作説明図(1)である。 実施形態4に係る容器架設装置の動作説明図(2)である。 実施形態4に係る容器架設装置の動作説明図(3)である。
 以下、図面を参照して、本発明の実施の形態(以下、「本実施形態」と称する)について詳細に説明する。なお、各図は、発明を十分に理解できる程度に、概略的に示しているに過ぎない。よって、本発明は、図示例のみに限定されるものではない。また、各図において、共通する構成要素や同様な構成要素については、同一の符号を付し、それらの重複する説明を省略する。
 [実施形態1]
 <容器架設装置の構成>
 以下、図1から図3を参照して、本実施形態1に係る容器架設装置10の構成について説明する。図1は、本実施形態1に係る容器架設装置10と容器60の斜視図である。図2は、容器架設装置10の斜視図である。図3は、容器架設装置10の可動保持部の斜視図である。本実施形態では、容器架設装置10が遺伝子検査装置に用いられる場合を想定して説明する。遺伝子検査装置は、容器内の収納物への異物の混入防止と容器の使用順序の改善が望まれる装置である。
 図1に示すように、本実施形態に係る容器架設装置10は、架設部11と、昇降機12と、操作部41と、制御部42を備えている。なお、図1に示す例では、操作部41と制御部42を図示しているが、他の図面では容器架設装置10の構成及び動作を分かり易く説明するために操作部41と制御部42を省略する(他の実施形態も同様。)。
 架設部11は、複数の容器60を内部で架設する構成要素である。容器60は、容器架設装置10の内部で複数が上下方向に重なって架設される。
 昇降機12は、架設部11の内部で容器60を昇降させる構成要素である。
 操作部41は、ユーザによって操作される構成要素である。操作部41は、例えば、昇降機12の昇降動作の開始指示に用いられる。
 制御部42は、容器架設装置10の各部の動作を制御する構成要素である。
 本実施形態では、制御部42は、ユーザが操作部41を操作して昇降機12の昇降動作の開始指示を容器架設装置10に入力した場合に、これに応答して昇降機12の昇降動作を開始するものとして説明する。なお、本実施形態では、昇降機12の動作は、制御部42による自動制御となっており、ユーザが操作部41の操作を止めると停止するのではなく、所定の高さ位置に到達したときに、それを図示せぬセンサ等で検知して停止するものとして説明する。
 図2に示すように、本実施形態では、架設部11は、平板状の金属部材を板金加工(曲げ加工)することによって、]状に構成されている。本実施形態では、架設部11は、強度を確保するために金属材で構成されているものとして説明する。ただし、架設部11は、十分な強度を確保することができるのであれば、樹脂材等で構成してもよい。架設部11は、架設部11は、複数の挿入口21と、1つの取出口26と、複数段の保持部30と、複数の挿入口ガイド部22と、挿入規制部35と、を有する。
 挿入口21は、架設部11の内部に容器60を挿入するための開口部である。挿入口21は、架設部11の前面部に開口して設けられている。本実施形態では、上下方向に3つの挿入口21が設けられているものとして説明する。
 取出口26は、架設部11の内部から容器60を取り出すための開口部である。取出口26は、架設部11の天井部に開口して設けられている。
 保持部30は、容器60の係合部62と係合することで容器60を水平に保持するための構成要素である。本実施形態では、保持部30は、板状の部材によって、水平面を有するように、構成されている。保持部30は、架設部11の左右の内壁部に設けられている。保持部30は、容器60の架設時に容器60をぶら下げるように保持し、昇降機12による容器60の昇降時に保持を解除する。また保持部30は、昇降機12による全ての容器60の昇降後に、最下段の挿入口21に空きスペースが形成され、そこに追加で次の容器60が挿入されるため、その容器60を保持する。
 保持部30は、架設部11の左右の内壁部から架設部11の内部に突出するように配置される。本実施形態では、複数段の保持部30のうち、最下段の保持部30は、架設部11の内部に固定保持部31として構成されている。固定保持部31は、平坦な板状の部材によって構成されている。一方、最下段以外の保持部30は、昇降機12の上昇に伴って容器60が上昇するときに可動するように、架設部11の内部に可動保持部32として構成されている。
 本実施形態では、可動保持部32は、2つ設けられている。以下、2つの可動保持部32を区別する場合に、「上段の可動保持部32」と「下段の可動保持部32」と称する。可動保持部32は、保持部材33(図3)と、保持部材33を可動させるための可動機構34とを有している。可動保持部32の詳細については、後記する。
 高さ方向の複数段の保持部30の間隔T30a,T30b,T30c(図7)は、係合部62よりも下側の容器60の高さT12(図4B)よりも高くなっている。そのため、容器架設装置10は、複数の容器60を架設部11の内部に挿入して架設する際に、上側の容器60が下側の容器60に接触することを抑制することができる。
 挿入口ガイド部22は、挿入口21への容器60の挿入をガイドするための構成要素である。挿入口ガイド部22は、架設部11の挿入口21の一部を塞ぐように設けられている。挿入口ガイド部22の上端部(上辺)は、容器60の挿入下限位置を規定する。つまり、挿入口ガイド部22の上端部は、挿入口21への容器60の挿入時(架設部11での容器60の架設時)に、上側の容器60が下側の容器60の上面に設けられた異物混入防止部72に接触しない位置に誘導する。また、挿入口ガイド部22の上端部は、挿入口21への容器60の挿入時(架設部11での容器60の架設時)に、容器60の係合部が架設部11の保持部30の下に潜り込まないように、容器60の挿入を誘導する。また、挿入口ガイド部22の下端部(下辺)は、容器60の挿入上限位置を規定する。つまり、挿入口ガイド部22の下端部は、挿入口21への容器60の挿入時(架設部11での容器60の架設時)に、下側の容器60の上面に設けられた異物混入防止部72が上側の容器60に接触しない位置に誘導する。換言すると、容器架設装置10は、上下に並んだ2つの挿入口ガイド部22の下端部(下辺)と上端部(上辺)との間に形成される隙間を介して、挿入口21に挿入する容器60の上下方向の位置を規制する。このような挿入口ガイド部22は、上側の容器60が下側の容器60の異物混入防止部72に干渉することを防止することができる。
 また、挿入口ガイド部22の幅方向端部(右辺)は、容器60の左右位置を規定する。つまり、挿入口ガイド部22の幅方向端部は、挿入口21への容器60の挿入時(架設部11での容器60の架設時)に、容器60を挿入口ガイド部22とは逆側の方向の位置に誘導する。また、挿入口ガイド部22の幅方向端部は、容器60の上昇時に、容器60を挿入口ガイド部22とは逆側の方向の位置に誘導する。このような挿入口ガイド部22の幅方向端部は、容器60の位置を一定化することができる。
 挿入口ガイド部22は、容器60の挿入方向を一定方向(本実施形態では、容器60の長手方向)に規制するために、架設部11の挿入口21の左右の片側に設けられている。つまり、挿入口21は、誤った向きでの容器60を架設することを防止できるように、挿入口21の片側に挿入口ガイド部22を設けることで、左右が非対称な構造になっている。本実施では、挿入口ガイド部22は、架設部11の挿入口21の左側に設けられている。このような容器架設装置10は、挿入口ガイド部22によって右方向に容器60を寄せた状態で、ユーザに容器60を奥方向(後方向)に挿入させることができる。これにより、容器架設装置10は、容器60の切欠部65が架設部11の挿入規制部35に嵌まるように、容器60の挿入を誘導することができる。
 本実施形態では、挿入口ガイド部22は、矩形の板状部材によって構成されている。ただし、挿入口ガイド部22の形状は、図示例に限定されるものではない。挿入口ガイド部22の上辺部分は、容器60の挿入時に容器60の係合部62(図4A~図4E)の底面に接触して容器60の挿入をガイドするように、保持部30の容器60を保持する箇所と同等の高さ位置に設けられている。また、容器架設装置10は、挿入口ガイド部22を、容器60の上下方向の荷重に対する左側の保持部30の補強材として機能させることができる。
 挿入口ガイド部22が設けられている部分の挿入口21の横幅W22(図2)は、容器60の後記する収納部61の縦幅L11(図4A)よりも短くなっている。つまり、「横幅W22(図2)<縦幅L11(図4A)」となっている。また、挿入口ガイド部22が設けられている部分の挿入口21の横幅W22(図2)は、容器60の後記する係合部62の縦幅L12(図4C)よりも短くなっている。つまり、「横幅W22(図2)<縦幅L12(図4C)」となっている。このような容器架設装置10は、架設部11の挿入口21への容器60の挿入方向を、容器60の前後方向にのみ制限することができる。
 また、挿入口ガイド部22が設けられている部分の挿入口21の横幅W22(図2)は、容器60の後記する収納部61の横幅W11(図4A)よりも長く、かつ、容器60の後記する係合部62の横幅W12(図4C)よりも短くなっている。つまり、「横幅W12(図4A)<横幅W22(図2)<横幅W12(図4C)」となっている。このような容器架設装置10は、容器60の後記する収納部61(図4A)が挿入口ガイド部22が設けられている部分の挿入口21を通るときにのみ、容器60を架設部11の内部に挿入することができる。そのため、容器架設装置10は、複数の容器60を架設部11の内部に挿入する際に、上側の容器60が下側の容器60に接触することを防止することができる。
 挿入規制部35は、誤った方向で架設部11の内部に挿入された容器60の挿入を規制する構成要素である。挿入規制部35は、容器60の係合部62(図4A~図4E)の角部に設けられた切欠部65(図4A~図4C)に嵌まり込むように突起状に設けられている。本実施形態では、挿入規制部35は、架設部11の内部において、挿入口ガイド部22とは対向する側(本実施形態では、右側)の奥部(後部)の角に設けられている。このような容器架設装置10は、挿入口ガイド部22によって容器60を右方向に寄せた状態で、ユーザに容器60を奥方向(後方向)に挿入させる。このとき、容器60の挿入方向が誤っていると、挿入規制部35が容器60の切欠部65(図4A~図4C)に嵌まらないため、容器60が完全に挿入されずに途中で停止する。したがって、容器架設装置10は、挿入規制部35によって誤った方向で架設部11の内部に挿入された容器60の挿入を規制することができる。なお、挿入規制部35の位置や形状は、誤った方向で架設部11の内部に挿入された容器60の挿入を規制することができれば、図示例に限定されるものではない。
 <可動保持部の構成>
 図3に示すように、可動保持部32は、容器60の係合部62と係合する保持部材33と、保持部材33を回動自在に軸支するヒンジシャフト34a(軸部)と、容器60の内部方向に保持部材33を付勢するキックバネ34b(付勢部材)と、を有している。ヒンジシャフト34a(軸部)とキックバネ34b(付勢部材)は、保持部材33を可動する可動機構34を構成している。保持部材33は、ヒンジシャフト34a(軸部)を中心に回動する構成になっており、キックバネ34b(付勢部材)によって容器60の内部方向に付勢されている。
 本実施形態では、保持部材33は、強度を確保するために金属材で構成されているものとして説明する。ただし、保持部材33は、十分な強度を確保することができるのであれば、樹脂材等で構成してもよい。
 保持部材33は、傾斜面を有しており、昇降機12の上昇に伴って容器60が上昇する際に、容器60の係合部62(図4A~図4E)が傾斜面に当接する。このとき、保持部材33は、容器60の係合部62(図4A~図4E)によって外方向に押されることで、容器60の内部から外部に方向に後退する。そして、保持部材33は、容器60がさらに上昇すると、容器60の係合部62(図4A~図4E)との当接が解除される。このとき、保持部材33は、キックバネ34b(付勢部材)によって内方向に押されることで、容器60の外部から内部に方向に前進する。
 保持部材33は、水平面33aと、規制面33bと、を有している。水平面33aは、保持部材33が容器60の内部に前進した状態において、容器60の係合部62(図4A~図4E)と係合(支持)することで容器60を水平に保持する面である。規制面33bは、保持部材33が容器60の内部に前進した状態において、架設部11の外壁面(又は、別途設けた図示せぬ部材の壁面)と当接することで、保持部材33の回動を停止させて、水平面33aを水平方向に維持する面である。
 <容器の構成>
 以下、図4A~図4E、及び、図5A及び図5Bを参照して、容器60の構成について説明する。図4Aは、右斜め上から見た容器60の斜視図である。図4Bは、右斜め下から見た容器60の斜視図である。図4Cは、容器60の上面図である。図4Dは、容器60の正面図である。図4Eは、容器60の正面断面図である。本実施形態では、容器60が複数のチップを搭載するチップラックとして構成されているものとして説明する。ただし、容器60は、試薬や検体等を収納するものであってもよい。容器60は、誤った向きでの容器60を架設することを防止できるように、左右が非対称な構造になっている。
 図4Aに示すように、容器60は、収納部61と、係合部62と、異物混入防止部72と、脚部63と、切欠部65と、を備える。
 収納部61は、内部に収納物71を収納するための構成要素である。収納部61は、矩形の立方体状の形状を呈している。左右方向の収納部61の横幅W11は、前後方向の収納部61の縦幅L11よりも短くなっている。つまり、「横幅W11<縦幅L11」となっている。
 係合部62は、容器60の少なくとも左右の側面部に設けられ、かつ、容器架設装置10の架設部11において左右の内壁部に設けられた保持部30と係合する構成要素である。本実施形態では、係合部62は、容器60の前後左右の側面部に、収納部61から突出するように設けられている。容器60の前後左右の側面部に設けられた係合部62のうち、容器60の左側に設けられた係合部62aと容器60の右側に設けられた係合部62bとが、架設部11の保持部30と係合する。左側の係合部62aと右側の係合部62bは、収納部61からの突出量が異なっている。
 異物混入防止部72は、容器60の上部に設けられ、かつ、容器60内の収納物71への異物の混入を防止する構成要素である。本実施形態では、容器60に搭載されたチップに設けられているものとして説明する。異物混入防止部72は、天井面64から上方に突出するように設けられている。なお、図4Bでは、天井面64は、係合部62の裏に隠れている。
 脚部63は、容器60の下部に設けられ、かつ、内部(脚部63同士の間)に中空空間を形成する構成要素である。脚部63は、昇降機12による容器60の昇降時に、上側の容器60が下側の容器60の異物混入防止部72を避けて下側の容器60の上に載るように形成されている。つまり、脚部63は、上側の容器60が下側の容器60の異物混入防止部72に干渉することを防止する。図4Bに示すように、係合部62よりも下側の容器60の高さT12は、脚部63の高さ分だけ、係合部62よりも下側の収納部61の高さT11よりも高くなっている。図4A~図4Eに示す例では、脚部63は、収納部61の四方の側面部のうち、左右2面の側面部に下方に突出するように設けられている。つまり、脚部63は、容器60の四方の側面部のうち左右の側面部の下部にのみ設けられている。このような容器60は、前面部と後面部において、脚部63と脚部63との間が開口しているため、複数の容器60を架設部11に挿入する際に、上側の容器60が下側の容器60に接触し難くすることができる。そのため、容器60は、容器60内の収納物71への異物の混入防止を実現し易くすることができる。また、容器60は、後記する容器160(図5A及び図5B)と比べて、上側の容器60が下側の容器60に接触し難くすることができるため、架設部11の保持部30同士の間隔を小さくすることができる。そのため、容器60は、架設部11の高さを小さくすること(つまり、架設部11の小型化を図る)ができる。なお、脚部63の形状は、上側の容器60が下側の容器60の異物混入防止部72を避けて下側の容器60の上に載るよう位置や高さが設定されていれば、図示例に限定されない。
 切欠部65は、架設部11の内部の挿入規制部35が嵌まり込むように形成された部位である。本実施形態では、切欠部65は、係合部62bの奥側(後側)の角部に設けられている。容器60は、切欠部65が奥側になるように、架設部11に対する挿入方向が1方向に設定されている。
 図4Cに示すように、容器60の係合部62は、上面視で矩形の形状を呈している。また、容器60の係合部62は、上面視で一方向の長さと他方向の長さが異なっている。本実施形態では、左右方向の係合部62の横幅W12は、前後方向の係合部62の縦幅L12よりも短くなっている。つまり、「横幅W12<縦幅L12」となっている。このような容器60は、架設部11への挿入時に、長さが横幅W12よりも長い縦幅L12の方向(つまり、前後方向)に容器60を挿入させるようにユーザを誘導することができる。
 また、係合部62は、4つの角部の1つ(本実施形態では、右奥側の角部)に、架設部11の挿入規制部35が嵌まり込むように形成された切欠部65を有している。このような容器60は、容器60の挿入方向が誤っている場合に、挿入規制部35と衝突することで、所定位置よりも奥側に挿入できないようにすることができる。
 図4Dに示すように、係合部62は、容器60の少なくとも左右の側面部から異なる突出量で突出するように設けられている。本実施形態では、左側の係合部62aの突出量W62aが、右側の係合部62bの突出量W62bよりも大きくなっている。つまり、「係合部62aの突出量W62a>係合部62bの突出量W62b」となっている。
 このような容器60は、挿入口ガイド部22が設けられた架設部11の挿入口21に容器60を挿入する際に、容器60の挿入方向を制限することができる。また、このような容器60は、係合部62aの突出量W62aが大きいため、挿入口ガイド部22が設けられた架設部11の挿入口21を通過した後の状態において、係合部62aが架設部11の保持部30に届く。したがって、容器60は、係合部62aを架設部11の保持部30に良好に係合(支持)させることができる。
 また、容器60は、係合部62が収納部61の外側に突出する構成になっている。そのため、ユーザが容器60を把持する際に、係合部62が滑り止めとして機能するため、容器60は、ユーザが誤って落下させてしまうことを抑制することができる。また、容器60は、容器架設装置10の架設部11に架設される際に、係合部62が保持部30に係合することで、本来架設されるべきでない位置(架設完了位置でない位置)に架設されることを防止することができる。
 図4Eに示すように、容器60は、天井面64よりも上側に突出する異物混入防止部72を有している。また、容器60は、脚部63と脚部63との間に中空空間が形成されている。図8及び図9に示すように、中空空間の高さは、上側の容器60の脚部63の接地面63aが下側の容器60に当接するように、複数の容器60が容器架設装置10の内部で上下に重なって架設されたときに、上側の容器60における収納部61の底面61aと下側の容器60における異物混入防止部72の頂部との間に隙間73を形成する高さに設定されている。
 <容器の変形例>
 容器60は、例えば図5A及び図5Bに示す容器160のように変形することができる。図5Aは、右斜め上から見た変形例の容器160の斜視図である。図5Bは、右斜め下から見た変形例の容器160の斜視図である。
 図5A及び図5Bに示すように、容器160では、脚部63は、収納部61の前後左右の4面の側面部に下方に突出するように設けられている。つまり、容器160では、脚部63は、容器60の四方の側面部の下部に設けられている。
 このような容器160は、容器60(図4A及び図4B)と比較すると、脚部63と脚部63との間が開口していないため、複数の容器160を架設部11に挿入する際に、上側の容器160が下側の容器160に接触し難くすることはできない。しかしながら、容器160は、容器160の四方の側面部の下部に設けられているため、容器60よりも脚部63の強度を向上させることができる。このような容器160は、脚部63の撓みや破損を抑制することができる。
 <容器架設装置の動作>
 以下、図6~図11を参照して、容器架設装置10の動作について説明する。図6は、容器架設装置10の収納状態の説明図である。図7~図11は、容器架設装置10の動作説明図である。ここでは、ユーザが容器60を架設部11に挿入する場合を想定して説明する。容器架設装置10は、一度の検査サイクルで容器60を使い切らずに、容器60を追加して架設する運用を行う場合に、架設順序と使用順序の一律化を図るために、また、追加架設数の最大化を図るために、以下のように動作する。
 図6に示すように、容器架設装置10は、複数の容器60を架設部11の内部で積み重ねた状態で架設する。このとき、ユーザは、架設部11の挿入口21に歯抜けが発生しないように、架設部11に収容できる個数分の全ての容器60を挿入口21に挿入する。各容器60は、使用順序が早いものから順番に、上側の挿入口21から下側の挿入口21に挿入される。つまり、ユーザは、例えば、使用順序が1番目に早い容器60aを最上段の挿入口21に挿入し、使用順序が2番目に早い容器60bを中段の挿入口21に挿入し、使用順序が3番目に早い(1番目に遅い)容器60cを最下段の挿入口21に挿入する。なお、使用順序が早い容器60から順番に、上側の挿入口21から下側の挿入口21に挿入される点は、他の実施形態でも同様である。また、ユーザは、使用順序に沿った段の挿入口21に容器60を挿入することができれば、容器60を挿入する順序を変更することができる。したがって、ユーザは、例えば、最初に、使用順序が2番目に早い容器60bを中段の挿入口21に挿入し、次に、使用順序が3番目に早い容器60cを最下段の挿入口21に挿入し、次に、使用順序が1番目に早い容器60aを最上段の挿入口21に挿入することもできる。
 図7に示すように、ユーザは、各段の容器60を架設部11の内部に挿入して架設する。このときに、各容器60は、他の容器60と離間した状態で架設される。つまり、容器架設装置10は、上段の可動保持部32で容器60aの係合部62を保持して、容器60aを架設する。また、容器架設装置10は、下段の可動保持部32で容器60bの係合部62を保持して、容器60bを架設する。また、容器架設装置10は、固定保持部31で容器60cの係合部62を保持して、容器60cを架設する。
 図8に示すように、ユーザが操作部41(図1)を操作して昇降機12の昇降動作の開始指示をすると、容器架設装置10は、昇降機12を上昇させる(矢印A11参照)。このとき、下から1番目の容器60cが上昇する。その際に、下から1番目の容器60cの係合部62が上昇して固定保持部31から離間する。そして、上から2番目の容器60bの接地面63aが下から1番目の容器60cに当接する。このとき、容器架設装置10は、上から2番目の容器60bにおける収納部61の底面61aと下から1番目の容器60cにおける異物混入防止部72の頂部との間に、隙間73を形成する。
 この後、図9に示すように、容器架設装置10が昇降機12を上昇させると、容器60a,60b,60cが上昇する(矢印A12参照)。その際に、上から2番目の容器60bの係合部62が上昇して下段の可動保持部32から離間する。そして、上から1番目の容器60aの接地面63aが上から2番目の容器60bに当接する。このとき、容器架設装置10は、上から1番目の容器60aにおける収納部61の底面61aと上から2番目の容器60bにおける異物混入防止部72の頂部との間に、隙間73を形成する。さらに、上から1番目の容器60aの係合部62が上昇して上段の可動保持部32から離間する。
 なお、容器60が上昇することで、容器60の係合部62と可動保持部32の保持部材33とが当接する。このとき、可動保持部32の保持部材33は、容器60の係合部62に押されて後退方向に回動する。その後に、さらに容器60が上昇することで、容器60の係合部62と可動保持部32の保持部材33との当接が解除される。このとき、可動保持部32の保持部材33は、キックバネ34b(付勢部材)に押されて前進方向に回動する。保持部材33は、規制面33bが架設部11の外壁面(又は、別途設けた図示せぬ部材の壁面)と当接することで、回動を停止する。このとき、保持部材33の水平面33aは、水平方向に配置される。
 この後、図10に示すように、容器架設装置10が昇降機12を上昇させると、容器60a,60b,60cがさらに上昇する(矢印A13参照)。これにより、上から1番目の容器60aが取出口26から架設部11の外部に送り出される。このとき、上から2番目の容器60bが上段の可動保持部32に架設される。ユーザは、架設部11の外部に送り出された上から1番目の容器60aを取り出す。
 この後、図11に示すように、容器架設装置10は、昇降機12を下降させる(矢印A14参照)。すると、容器60b,60cが下降する。このとき、容器架設装置10は、上段の可動保持部32で容器60bの係合部62を保持して、容器60bを架設する。また、容器架設装置10は、下段の可動保持部32で容器60cの係合部62を保持して、容器60cを架設する。ユーザは、架設部11の最下段の挿入口21に空きスペースが形成されるので、次の容器60を最下段の挿入口21に挿入することができる。このような容器架設装置10は、容器60の使用順序と同じ順序で容器60を架設することができる。そのため、容器架設装置10は、架設した順序通りに容器60を装置から取り出して使用する運用を行うことができる。
 <容器架設装置の主な特徴>
 (1)図1及び図2に示すように、本実施形態に係る容器架設装置10は、架設部11と、昇降機12と、を備える。架設部11は、少なくとも左右の側面部に係合部62が設けられた複数の容器60を内部で架設する構成要素である。昇降機12は、架設部11の内部で容器60を昇降させる構成要素である。架設部11は、架設部11の内部に容器60を挿入するための複数の挿入口21と、架設部11の内部から容器60を取り出すための取出口26と、容器60の係合部62と係合することで容器60を水平に保持するための複数段の保持部30と、挿入口21への容器60の挿入をガイドするための挿入口ガイド部22と、を有する。複数の挿入口21は、架設部11の前面部に開口して設けられている。取出口26は、架設部11の天井部に開口して設けられている。保持部30は、架設部11の左右の内壁部に設けられている。挿入口ガイド部22は、架設部11の挿入口21の一部を塞ぐように設けられている。
 このような本実施形態に係る容器架設装置10は、挿入口ガイド部22で容器60の挿入位置をガイドする。そのため、容器架設装置10は、上側の容器60が下側の容器60に衝突しないように、容器60を挿入することができる。したがって、容器架設装置10は、容器60内の収納物71への異物の混入防止を実現することができる。また、このような容器架設装置10は、容器60の使用順序と同じ順序で容器60を架設することができる。そのため、容器架設装置10は、架設した順序通りに容器60を装置から取り出して使用する運用を行うことができる。したがって、容器架設装置10は、異物の混入防止と容器60の使用順序の改善を実現することができる。
 (2)図2に示すように、本実施形態に係る容器架設装置10において、挿入口ガイド部22は、架設部11の挿入口21の左右の片側に設けられているとよい。
 このような本実施形態に係る容器架設装置10は、挿入口ガイド部22が設けられている側とは逆側の方向に容器60を寄せた状態で、ユーザに容器60を奥方向(後方向)に挿入させることができる。そのため、容器架設装置10は、容器60の挿入を良好にガイドすることができる。
 (3)図2に示すように、本実施形態に係る容器架設装置10において、挿入口ガイド部22の上辺部分は、保持部30の容器60を保持する箇所と同等の高さ位置に設けられているとよい。
 このような本実施形態に係る容器架設装置10は、挿入口ガイド部22の上辺部分で容器60の挿入高さ位置をガイドする。そのため、容器架設装置10は、上側の容器60が下側の容器60に衝突しないように、容器60を挿入することができる。したがって、容器架設装置10は、容器60内の収納物71への異物の混入防止を実現することができる。
 (4)図2及び図3に示すように、本実施形態に係る容器架設装置10において、保持部30は、架設部11の左右の内壁部から架設部11の内部に突出するように配置されるとよい。
 このような本実施形態に係る容器架設装置10は、架設部11の内部で容器60を良好に架設することができる。
 (5)図2に示すように、本実施形態に係る容器架設装置10において、複数段の保持部30のうち、最下段の保持部30は、架設部11の内部に固定保持部31として構成され、一方、最下段以外の保持部30は、昇降機12の上昇に伴って容器60が上昇するときに可動するように、架設部11の内部に可動保持部32として構成されているとよい。
 このような本実施形態に係る容器架設装置10は、昇降機12を上昇させることで、可動保持部32と固定保持部31に架設された容器60を取出口26に向けて送り出すことができる。
 (6)図3に示すように、本実施形態に係る容器架設装置10において、可動保持部32は、容器60の係合部62と係合する保持部材33と、保持部材33を回動自在に軸支するヒンジシャフト34a(軸部)と、容器60の内部方向に保持部材33を付勢するキックバネ34b(付勢部材)と、を有する構成になっているとよい。
 このような本実施形態に係る容器架設装置10は、キックバネ34b(付勢部材)によって保持部材33を容器60の内部方向にすることができる。そして、容器架設装置10は、昇降機12の上昇に伴って容器60が保持部材33の横を通り過ぎるときに、後退するように回動した後、前進するように回動する。このような容器架設装置10は、使用順序通りに容器60を架設することができる。
 (7)本実施形態に係る容器架設装置10において、高さ方向の複数段の保持部30の間隔T30a,T30b,T30c(図7)は、係合部62よりも下側の容器60の高さT12(図4B)よりも高いとよい。
 このような本実施形態に係る容器架設装置10は、複数の容器60を架設部11の内部に挿入して架設する際に、上側の容器60が下側の容器60に接触することを抑制することができる。
 (8)図2及び図3に示すように、本実施形態に係る容器架設装置10において、架設部11は、架設部11の内部に挿入方向を誤って挿入された容器60の挿入を規制する挿入規制部35を有するとよい。
 このような本実施形態に係る容器架設装置10は、誤った方向で架設部11の内部に容器60が挿入された場合に、挿入規制部35によって容器60を完全に挿入させずに途中で停止させることができる。そのため、容器架設装置10は、ユーザが誤った方向で容器60を完全に挿入することを防止することができる。
 (9)図1及び図2に示すように、本実施形態に係る容器架設装置10において、架設部11は、平板状の金属部材を板金加工(曲げ加工)することによって、]状に構成されている。この構成の場合に、保持部30は、板状の部材によって、水平面を有するように、構成されているとよい。
 このような本実施形態に係る容器架設装置10は、板状の部材を]状に変形することで架設部11を構成することができる。このような、容器架設装置10は、低コストで架設部11を構成することができる。
 <容器の主な特徴>
 (1)本実施形態に係る容器60は、容器架設装置10の内部で複数が上下方向に重なって架設される容器である。図4Aに示すように、容器60は、内部に収納物71を収納するための収納部61と、少なくとも左右の側面部に設けられ、かつ、容器架設装置10の左右の内壁部に設けられた保持部30と係合するための係合部62と、上部に設けられ、かつ、内部への異物の混入を防止するための異物混入防止部72と、下部に設けられ、かつ、内部に中空空間を形成するための脚部63と、を備える。図8及び図9に示すように、中空空間の高さは、複数の容器60が容器架設装置10の内部で上下に重なって架設されたときに、上側の容器60における収納部61の底面と下側の容器60における異物混入防止部72の頂部との間に隙間73を形成する高さに設定されている。
 このような本実施形態に係る容器60は、複数の容器60を容器架設装置10に架設する際に、上側の容器60が下側の容器60に接触することを抑制することができる。
 (2)図4Dに示すように、本実施形態に係る容器60において、係合部62は、容器60の少なくとも左右の側面部から異なる突出量W62a,W62bで突出するように設けられているとよい。
 このような本実施形態に係る容器60は、容器架設装置10に架設する際に、挿入方向を制限することができる。また、このような容器60は、係合部62aの突出量W62aが大きいため、挿入口ガイド部22が設けられた架設部11の挿入口21を通過した後の状態において、係合部62aが架設部11の保持部30に届く。したがって、容器60は、係合部62aを架設部11の保持部30に良好に係合(支持)させることができる。
 (3)図4Cに示すように、本実施形態に係る容器60は、上面視で矩形の形状を呈しており、かつ、4つの角部の1つに、容器架設装置10の内部に設けられた挿入規制部35が嵌まり込むように形成された切欠部65を有するとよい。
 このような本実施形態に係る容器60は、誤った方向で容器架設装置10の内部に挿入された場合に、容器架設装置10の内部に設けられた挿入規制部35が切欠部65に嵌まらないため、完全に挿入されずに途中で停止する。そのため、容器60は、ユーザが誤った方向で容器架設装置10の内部に完全に挿入することを防止することができる。
 (4)図4Cに示すように、本実施形態に係る容器60は、上面視で一方向の長さと他方向の長さが異なるとよい。
 このような本実施形態に係る容器60は、容器架設装置10への挿入時に、長さが長い方向に容器60を挿入させるようにユーザを誘導することができる。
 (5)図4A~図4Eに示すように、本実施形態に係る容器60において、脚部63は、容器60の四方の側面部のうち左右の側面部の下部にのみ設けられているとよい。
 このような本実施形態に係る容器60は、前面部と後面部において、脚部63と脚部63との間が開口しているため、複数の容器60を架設部11に挿入する際に、上側の容器60が下側の容器60に接触し難くすることができる。そのため、容器60は、容器60内の収納物71への異物の混入防止を実現し易くすることができる。
 (6)図4A~図4Eに示すように、本実施形態に係る容器60において、係合部62は、滑り止めとして機能するように、突起状に設けられているとよい。
 このような本実施形態に係る容器60は、係合部62が滑り止めとして機能するため、容器60は、ユーザが誤って落下させてしまうことを抑制することができる。
 (7)図5A及び図5Bに示すように、本実施形態に係る容器160において、脚部63は、容器60の四方の側面部の下部に設けられている構成にしてもよい。
 このような本実施形態に係る容器60は、容器160の四方の側面部の下部に脚部63が設けられているため、容器60よりも脚部63の強度を向上させることができる。
 以上の通り、本実施形態1に係る容器架設装置10によれば、異物の混入防止と容器60の使用順序の改善を実現することができる。
 [実施形態2]
 以下、図12~図15を参照して、本実施形態2に係る容器架設装置10Aの構成について説明する。図12は、本実施形態2に係る容器架設装置10Aの斜視図である。図13は、容器架設装置10Aの正面図である。図14は、容器架設装置10Aの説明図である。図15は、容器架設装置10Aの可動保持部32の斜視図である。
 図12及び図13に示すように、本実施形態2に係る容器架設装置10Aは、実施形態1に係る容器架設装置10(図2参照)と比較すると、架設部11の代わりに、架設部111を備える点で相違している。
 架設部111は、棒状の部材によって、フレーム状に構成されたものである。架設部111は、左側の架設部111aと、右側の架設部111bとで構成されている。右側の架設部111bの後部には、挿入規制部35が設けられている。また、左側の架設部111aには、挿入口ガイド部22aが設けられている。
 挿入口ガイド部22aは、棒状の部材によって、]状に構成されている。挿入口ガイド部22aの上辺部分は、容器60の挿入時に容器60の係合部62(図4A~図4E)の底面に接触して容器60の挿入をガイドするように、保持部30の容器60を保持する箇所と同等の高さ位置に設けられている。
 図14に示すように、本実施形態2に係る容器架設装置10Aは、実施形態1に係る容器架設装置10(図2参照)と同様に、前面部に3つの挿入口21を有するとともに、天井部に1つの取出口26(図12)を有している。
 容器架設装置10Aは、複数の容器60を架設部111の内部で積み重ねた状態で架設する。各容器60は、使用順序が早いものから順番に、上側の挿入口21から下側の挿入口21に挿入される。本実施形態2に係る容器架設装置10Aは、実施形態1に係る容器架設装置10(図2参照)と同様に、動作する。
 図15に示すように、容器架設装置10Aの固定保持部31は、平坦な板状の部材によって構成されている。一方、容器架設装置10Aの可動保持部32は、棒状の部材によって、水平面を有するように、フレーム状に構成されている。本実施形態では、可動保持部32は、容器60の係合部62と係合する保持部材133と、保持部材133を可動させる可動機構134とを有している。保持部材133は、容器60の係合部62と係合する板部133aと、板部133aを回動自在に軸支する軸部133bと、を有している。図15に示す例では、保持部材133は、複数の平板状の部材を接合した構成になっている。可動機構134は、保持部材133の回動を規制する規制部材134aと、容器60の内部方向に保持部材33を付勢するキックバネ134b(付勢部材)と、を有している。
 本実施形態では、保持部材133は、強度を確保するために金属材で構成されているものとして説明する。ただし、保持部材133は、十分な強度を確保することができるのであれば、樹脂材等で構成してもよい。
 保持部材133は、昇降機12の上昇に伴って容器60が上昇する際に、容器60の係合部62が当接する。このとき、保持部材133は、容器60の係合部62によって外方向に押されることで、容器60の内部から外部に方向に後退する。そして、保持部材133は、容器60がさらに上昇すると、容器60の係合部62との当接が解除される。このとき、保持部材133は、キックバネ134b(付勢部材)によって内方向に押されることで、容器60の外部から内部に方向に前進する。キックバネ134b(付勢部材)によって内方向に押された保持部材133は、一部が規制部材134aに当接することで、容器60の内部に前進した状態で回動を停止する。これにより、左側の架設部111aに設けられた保持部材133と右側の架設部111bに設けられた保持部材133とは、互いの間で容器60を水平に保持することが可能な角度に停止する。
 このような容器架設装置10Aは、棒状の部材によって架設部111を構成することができる。また、容器架設装置10Aは、平坦な板状の部材によって固定保持部31を構成することができる。また、容器架設装置10Aは、棒状の部材によって可動保持部32
容器架設装置10Aの固定保持部31は、平坦な板状の部材によって構成されている。一方、容器架設装置10Aは、棒状の部材によって可動保持部32の保持部材133を構成することができる。
 このような容器架設装置10Aは、実施形態1に係る容器架設装置10と同様に、異物の混入防止と容器60の使用順序の改善を実現することができる。
 しかも、このような容器架設装置10Aは、実施形態1に係る容器架設装置10に比べて、架設部111の側方が開口した構成になっているため、架設部111の側方から架設部111に架設された各容器60の状態をユーザが視認することができる。
 [実施形態3]
 以下、図16及び図17を参照して、本実施形態3に係る容器架設装置10Bの構成について説明する。図16は、本実施形態3に係る容器架設装置10Bの斜視図である。図17は、容器架設装置10Bの正面図である。
 図16及び図17に示すように、本実施形態3に係る容器架設装置10Bは、実施形態1に係る容器架設装置10(図2参照)と比較すると、可動保持部32が保持部材233とソレノイド234(電動部材)で構成されている点と、容器検知センサ235を有する点で相違している。
 保持部材233は、容器60の係合部62と係合する部材である。保持部材233は、左右方向にスライド移動する構成になっている。図16に示す例では、
 ソレノイド234は、架設部11の内部の内部空間に対して保持部材233をスライド移動で選択的に前進(進出)又は後退させる電動部材である。
 容器検知センサ235は、架設部11の内部で上昇する容器60(特に容器60の係合部62)を検知するセンサである。
 なお、本実施形態では、可動保持部32は、ソレノイド234(電動部材)が保持部材233をスライド移動させる構成になっているが、図示例の機構に限定されるものではない。
 以下、図18~図22を参照して、容器架設装置10Bの動作について説明する。図18~図22は、容器架設装置10Bの動作説明図である。初期状態において、容器架設装置10Bは、各段の保持部材233を前進させた状態(架設部11の内部の内部空間に進出させた状態)になっている。
 図18に示すように、容器架設装置10Bは、複数の容器60を架設部11の内部で積み重ねた状態で架設する。各容器60は、使用順序が早いものから順番に、上側の挿入口21から下側の挿入口21に挿入される。ユーザは、各段の容器60を架設部11の内部に挿入して架設する。このときに、各容器60は、他の容器60と離間した状態で架設される。つまり、容器架設装置10Bは、上段の可動保持部32で容器60aを架設する。また、容器架設装置10Bは、下段の可動保持部32で容器60bを架設する。また、容器架設装置10Bは、固定保持部31で容器60cを架設する。
 図19に示すように、ユーザが操作部41(図1)を操作して昇降機12の昇降動作の開始指示をすると、容器架設装置10Bは、昇降機12を上昇させる(矢印B11参照)。このとき、下から1番目の容器60cが上昇する。その際に、下から1番目の容器60cの係合部62が上昇して固定保持部31から離間する。そして、上から2番目の容器60bの接地面63a(図4E)が下から1番目の容器60cに当接する。この後、下から1番目の容器60cがさらに上昇すると、上から2番目の容器60bが下から1番目の容器60cに押されて上昇する。その際に、上から2番目の容器60bの係合部62(図4E)が上昇して下段の可動保持部32の保持部材233から離間する。このとき、下段の容器検知センサ235が容器60b(特に容器60bの係合部62(図4E))の上昇を検知する。すると、容器架設装置10Bは、下段の可動保持部32のソレノイド234を駆動して下段の可動保持部32の保持部材233を後退させる。
 この後、図20に示すように、容器架設装置10Bが昇降機12を上昇させると、上から1番目の容器60aの接地面63a(図4E)が上から2番目の容器60bに当接し、容器60a,60b,60cが上昇する(矢印B12参照)。その際に、上から1番目の容器60aの係合部62(図4E)が上昇して上段の可動保持部32から離間する。このとき、上段の容器検知センサ235が容器60a(特に容器60aの係合部62(図4E))の上昇を検知する。すると、容器架設装置10Bは、上段の可動保持部32のソレノイド234を駆動して上段の可動保持部32の保持部材233を後退させる。
 この後、図21に示すように、容器架設装置10Bが昇降機12を上昇させると、容器60a,60b,60cがさらに上昇する(矢印B13参照)。これにより、上から1番目の容器60aが取出口26から架設部11の外部に送り出される。このとき、上から2番目の容器60bの係合部62(図4E)が上段の容器検知センサ235よりも高い位置に配置される。そのため、上段の容器検知センサ235が容器60b(特に容器60bの係合部62(図4E))の上昇を検知する。すると、容器架設装置10Bは、上段と下段の可動保持部32のソレノイド234を駆動して上段と下段の可動保持部32の保持部材233を前進させる。この後、ユーザは、架設部11の外部に送り出された上から1番目の容器60aを取り出す。
 この後、図22に示すように、容器架設装置10Bは、昇降機12を下降させる(矢印B14参照)。すると、容器60b,60cが下降する。このとき、容器架設装置10Bは、上段の可動保持部32で容器60bの係合部62(図4E)を保持して、容器60bを架設する。また、容器架設装置10Bは、下段の可動保持部32で容器60cの係合部62(図4E)を保持して、容器60cを架設する。ユーザは、架設部11の最下段の挿入口21に空きスペースが形成されるので、次の容器60を最下段の挿入口21に挿入することができる。このような容器架設装置10Bは、容器60の使用順序と同じ順序で容器60を架設することができる。そのため、容器架設装置10Bは、架設した順序通りに容器60を装置から取り出して使用する運用を行うことができる。
 このような容器架設装置10Bは、他の実施形態に係る容器架設装置10,10Aと同様に、異物の混入防止と容器60の使用順序の改善を実現することができる。
 しかも、このような容器架設装置10Aは、実施形態1に係る容器架設装置10に比べて、可動保持部32にキックバネ34b(付勢部材)を用いずにソレノイド234(電動部材)を用いるため、可動保持部32の作動音を低減することができる。
 [実施形態4]
 以下、図23を参照して、本実施形態4に係る容器架設装置10Cの構成について説明する。図23、本実施形態4に係る容器架設装置10Cの斜視図である。
 図23に示すように、本実施形態4に係る容器架設装置10Cは、実施形態1に係る容器架設装置10(図2参照)と比較すると、架設部11が最上段以外の段(つまり、上から2番目と下から1番目の段)の挿入口21にのみ保持部30を有する点で相違している。したがって、本実施形態では、容器架設装置10Cは、下から1番目の段に固定保持部31を有し、上から2番目の段に可動保持部32を有している。
 以下、図24~図26を参照して、容器架設装置10Cの動作について説明する。図24~図26は、容器架設装置10Cの動作説明図である。
 図24に示す例では、容器架設装置10Cは、容器60をまだ架設していない状態になっている。
 図25に示すように、ユーザは容器60bを上から2番目の段の挿入口21(図24)に挿入し、容器60bを可動保持部32に保持させる。
 次に、図26に示すように、ユーザは容器60aを上から1番目の段の挿入口21(図24)に挿入し、容器60aを容器60bの上に載置する。また、ユーザは容器60cを下から1番目の段の挿入口21(図24)に挿入し、容器60cを固定保持部31に保持させる。なお、容器60aと容器60cの挿入順序は逆であってもよい。
 この後、ユーザが操作部41(図1)を操作して昇降機12の昇降動作の開始指示をすると、容器架設装置10Cは、実施形態1の容器架設装置10と同様に動作する。
 容器架設装置10Cは、架設済みの容器60bの上に容器60aを積み重ねる場合に、容器架設装置10Cは、挿入口21に設けられた挿入口ガイド部22により、容器60aが容器60bの異物混入防止部72を避けて容器60bの上に載るように、容器60aの挿入を誘導することができる。
 また、容器架設装置10Cは、使用する容器60の時系列が崩れてしまうが、緊急性を伴う検査を行う場合等に、既に可動保持部32に架設されている容器60(例えば、容器60b)の上に、別の容器60(例えば、容器60c)を割り込みで積み重ねることができる。
 このような容器架設装置10Cは、実施形態1に係る容器架設装置10と同様に、異物の混入防止と容器60の使用順序の改善を実現することができる。
 しかも、このような容器架設装置10Cは、実施形態1に係る容器架設装置10に比べて、上段の可動保持部32が排除されているため、その分だけ安価に製造することができる。また、このような容器架設装置10Cは、緊急性を伴う検査等の、追加架設する容器60を最優先で使用する運用の場合で、かつ、架設順序と使用順序の不一致を許容できるときに、好適に利用することができる。
 なお、本発明は、前記した実施形態に限定されるものではなく、本発明の要旨を逸脱しない範囲で種々の変更や変形を行うことができる。
 例えば、前記した実施形態は、本発明の要旨を分かり易く説明するために詳細に説明したものである。そのため、本発明は、必ずしも説明した全ての構成要素を備えるものに限定されるものではない。また、本発明は、ある構成要素に他の構成要素を追加したり、一部の構成要素を他の構成要素に変更したりすることができる。また、本発明は、一部の構成要素を削除することもできる。
 10,10A,10B,10C  容器架設装置
 11,111,111a,111b  架設部
 12  昇降機
 21  挿入口
 22,22a  挿入口ガイド部
 26  取出口
 30  保持部
 31  固定保持部
 32  可動保持部
 33,133,233  保持部材
 33a  水平面
 33b  規制面
 34,134  可動機構
 34a  ヒンジシャフト(軸部)
 34b,134b  キックバネ(付勢部材)
 35  挿入規制部
 41  操作部
 42  制御部
 60,60a,60b,60c,160  容器
 61  収納部
 61a  底面
 62,62a,62b  係合部
 63  脚部
 63a  接地面
 64  天井面
 65  切欠部
 71  収納物
 72  異物混入防止部
 73  隙間
 133a  板部
 133b  軸部
 134a  規制部材
 233  保持部材
 234  ソレノイド(電動部材)
 235  容器検知センサ

Claims (13)

  1.  少なくとも左右の側面部に係合部が設けられた複数の容器を内部で架設する架設部と、
     前記架設部の内部で前記容器を昇降させる昇降機と、を備え、
     前記架設部は、
     前面部に開口して設けられ、かつ、当該架設部の内部に前記容器を挿入するための複数の挿入口と、
     天井部に開口して設けられ、かつ、当該架設部の内部から前記容器を取り出すための取出口と、
     左右の内壁部に設けられ、かつ、前記容器の前記係合部と係合することで前記容器を水平に保持するための複数段の保持部と、
     前記挿入口の一部を塞ぐように設けられ、かつ、前記挿入口への前記容器の挿入をガイドするための挿入口ガイド部と、を有する
    ことを特徴とする容器架設装置。
  2.  請求項1に記載の容器架設装置において、
     前記挿入口ガイド部は、前記挿入口の左右の片側に設けられている
    ことを特徴とする容器架設装置。
  3.  請求項1に記載の容器架設装置において、
     前記挿入口ガイド部の上辺部分は、前記保持部の前記容器を保持する箇所と同等の高さ位置に設けられている
    ことを特徴とする容器架設装置。
  4.  請求項1に記載の容器架設装置において、
     前記保持部は、前記架設部の左右の内壁部から前記架設部の内部に突出するように配置される
    ことを特徴とする容器架設装置。
  5.  請求項1に記載の容器架設装置において、
     複数段の前記保持部のうち、最下段の保持部は、前記架設部の内部に固定保持部として構成され、一方、最下段以外の保持部は、前記昇降機の上昇に伴って前記容器が上昇するときに可動するように、前記架設部の内部に可動保持部として構成されている
    ことを特徴とする容器架設装置。
  6.  請求項5に記載の容器架設装置において、
     前記可動保持部は、
     前記容器の前記係合部と係合する保持部材と、
     前記保持部材を回動自在に軸支する軸部と、
     前記容器の内部方向に前記保持部材を付勢する付勢部材と、を有する構成になっている
    ことを特徴とする容器架設装置。
  7.  請求項1に記載の容器架設装置において、
     高さ方向の複数段の前記保持部の間隔は、前記係合部よりも下側の前記容器の高さよりも高い
    ことを特徴とする容器架設装置。
  8.  請求項1に記載の容器架設装置において、
     前記架設部は、前記架設部の内部に挿入方向を誤って挿入された容器の挿入を規制する挿入規制部を有する
    ことを特徴とする容器架設装置。
  9.  請求項1に記載の容器架設装置において、
     前記架設部は、板状の部材によって、]状に構成されている
    ことを特徴とする容器架設装置。
  10.  請求項1に記載の容器架設装置において、
     前記架設部は、棒状の部材によって、フレーム状に構成されている
    ことを特徴とする容器架設装置。
  11.  請求項5に記載の容器架設装置において、
     前記架設部は、前記架設部の内部で上昇する前記容器を検知するための容器検知センサを有し、
     前記可動保持部は、
     前記容器の前記係合部と係合する保持部材と、
     前記架設部の内部の内部空間に対して前記保持部材を選択的に前進又は後退させる電動部材と、を有する構成になっている
    ことを特徴とする容器架設装置。
  12.  容器架設装置の内部で複数が上下方向に重なって架設される容器であって、
     内部に収納物を収納するための収納部と、
     少なくとも左右の側面部に設けられ、かつ、容器架設装置の左右の内壁部に設けられた保持部と係合するための係合部と、
     上部に設けられ、かつ、内部への異物の混入を防止するための異物混入防止部と、
     下部に設けられ、かつ、内部に中空空間を形成するための脚部と、を備え、
     前記中空空間の高さは、複数の当該容器が前記容器架設装置の内部で上下に重なって架設されたときに、上側容器の前記収納部の底面と下側容器の前記異物混入防止部の頂部との間に隙間を形成する高さに設定されている
    ことを特徴とする容器。
  13.  請求項12に記載の容器において、
     前記係合部は、当該容器の少なくとも左右の側面部から異なる突出量で突出するように設けられている
    ことを特徴とする容器。
PCT/JP2023/030179 2023-08-22 2023-08-22 容器架設装置、及び、容器 Pending WO2025041270A1 (ja)

Priority Applications (6)

Application Number Priority Date Filing Date Title
KR1020257029849A KR20250141251A (ko) 2023-08-22 2023-08-22 용기 가설 장치, 및, 용기
JP2025541221A JPWO2025041270A1 (ja) 2023-08-22 2023-08-22
CN202380095050.XA CN120813843A (zh) 2023-08-22 2023-08-22 容器架设装置及容器
PCT/JP2023/030179 WO2025041270A1 (ja) 2023-08-22 2023-08-22 容器架設装置、及び、容器
TW113130922A TWI903699B (zh) 2023-08-22 2024-08-16 容器架設裝置
TW114125982A TW202540656A (zh) 2023-08-22 2024-08-16 容器

Applications Claiming Priority (1)

Application Number Priority Date Filing Date Title
PCT/JP2023/030179 WO2025041270A1 (ja) 2023-08-22 2023-08-22 容器架設装置、及び、容器

Publications (1)

Publication Number Publication Date
WO2025041270A1 true WO2025041270A1 (ja) 2025-02-27

Family

ID=94731957

Family Applications (1)

Application Number Title Priority Date Filing Date
PCT/JP2023/030179 Pending WO2025041270A1 (ja) 2023-08-22 2023-08-22 容器架設装置、及び、容器

Country Status (5)

Country Link
JP (1) JPWO2025041270A1 (ja)
KR (1) KR20250141251A (ja)
CN (1) CN120813843A (ja)
TW (2) TWI903699B (ja)
WO (1) WO2025041270A1 (ja)

Citations (6)

* Cited by examiner, † Cited by third party
Publication number Priority date Publication date Assignee Title
JP2003344431A (ja) * 2002-05-17 2003-12-03 Bionex Inc 液体分配及び処理システム
JP2005249650A (ja) * 2004-03-05 2005-09-15 Matsushita Electric Ind Co Ltd マイクロプレートの供給収納装置およびマイクロプレートの供給方法ならびに収納方法
JP2014126392A (ja) * 2012-12-25 2014-07-07 Tosoh Corp ノズルチップラックの供給装置
WO2017163607A1 (ja) * 2016-03-23 2017-09-28 株式会社 日立ハイテクノロジーズ 自動分析装置
WO2020054033A1 (ja) * 2018-09-13 2020-03-19 株式会社島津製作所 オートサンプラ用のプレートチェンジャ
JP2021039068A (ja) * 2019-09-05 2021-03-11 株式会社柴崎製作所 検体希釈装置、検体集約装置、および検体希釈方法

Family Cites Families (4)

* Cited by examiner, † Cited by third party
Publication number Priority date Publication date Assignee Title
US7326565B2 (en) * 2002-11-19 2008-02-05 Sanyo Electric Co., Ltd. Storage apparatus
JP7221997B2 (ja) 2018-06-29 2023-02-14 エフ. ホフマン-ラ ロシュ エージー. 自動分析器
US12000848B2 (en) * 2019-04-08 2024-06-04 Molecular Devices, Llc Incubation system and method for automated cell culture and testing
CN217779387U (zh) * 2022-08-05 2022-11-11 江苏支点生物科技有限公司 一种酵母无细胞菌株消毒后保存用存放柜

Patent Citations (6)

* Cited by examiner, † Cited by third party
Publication number Priority date Publication date Assignee Title
JP2003344431A (ja) * 2002-05-17 2003-12-03 Bionex Inc 液体分配及び処理システム
JP2005249650A (ja) * 2004-03-05 2005-09-15 Matsushita Electric Ind Co Ltd マイクロプレートの供給収納装置およびマイクロプレートの供給方法ならびに収納方法
JP2014126392A (ja) * 2012-12-25 2014-07-07 Tosoh Corp ノズルチップラックの供給装置
WO2017163607A1 (ja) * 2016-03-23 2017-09-28 株式会社 日立ハイテクノロジーズ 自動分析装置
WO2020054033A1 (ja) * 2018-09-13 2020-03-19 株式会社島津製作所 オートサンプラ用のプレートチェンジャ
JP2021039068A (ja) * 2019-09-05 2021-03-11 株式会社柴崎製作所 検体希釈装置、検体集約装置、および検体希釈方法

Also Published As

Publication number Publication date
TW202540656A (zh) 2025-10-16
TW202509475A (zh) 2025-03-01
CN120813843A (zh) 2025-10-17
TWI903699B (zh) 2025-11-01
KR20250141251A (ko) 2025-09-26
JPWO2025041270A1 (ja) 2025-02-27

Similar Documents

Publication Publication Date Title
US9678093B2 (en) Automatic analyzer
US9025275B1 (en) System for limiting access to internal environment of storage library via cartridge access port
US8418881B2 (en) Tissue cassette dispensing apparatus
JPWO2006098441A1 (ja) スライドガラスカセット及びカセットホルダ
KR20090026127A (ko) 캡 공급 장치
WO2025041270A1 (ja) 容器架設装置、及び、容器
EP3690834A1 (en) Dispensing device
JP2025159180A (ja) 薬剤供給装置
JP7199802B2 (ja) 図書保管設置用のトレイ、及びトレイを備えた図書保管装置
CN102682528B (zh) 自动售货机的商品搬出装置
JP2017040513A (ja) ノズルチップ供給装置
JP7012506B2 (ja) 図書保管装置
JP7822659B2 (ja) 薬剤供給装置
JP7816742B2 (ja) 薬剤供給装置
JP7807778B2 (ja) 薬剤供給装置
JP7430401B2 (ja) 物品収納容器および物品送出装置
JP7758327B2 (ja) 薬剤供給装置
JP4936995B2 (ja) 棒金収納装置
JP2025116261A (ja) 薬剤供給装置
JP2017040512A (ja) ノズルチップ供給装置
JP2006146688A (ja) 自動販売機
US8982506B1 (en) Multi-directional media element magazine retention
JP2026020401A (ja) 薬剤供給装置
HK1225100A1 (en) Automatic analyzer
HK1225100B (en) Automatic analyzer

Legal Events

Date Code Title Description
121 Ep: the epo has been informed by wipo that ep was designated in this application

Ref document number: 23949731

Country of ref document: EP

Kind code of ref document: A1

ENP Entry into the national phase

Ref document number: 2025541221

Country of ref document: JP

Kind code of ref document: A

WWE Wipo information: entry into national phase

Ref document number: 2025541221

Country of ref document: JP

WWE Wipo information: entry into national phase

Ref document number: 202380095050.X

Country of ref document: CN

WWP Wipo information: published in national office

Ref document number: 202380095050.X

Country of ref document: CN