WO2024084366A1 - 半導体装置、及び、記憶装置 - Google Patents

半導体装置、及び、記憶装置 Download PDF

Info

Publication number
WO2024084366A1
WO2024084366A1 PCT/IB2023/060395 IB2023060395W WO2024084366A1 WO 2024084366 A1 WO2024084366 A1 WO 2024084366A1 IB 2023060395 W IB2023060395 W IB 2023060395W WO 2024084366 A1 WO2024084366 A1 WO 2024084366A1
Authority
WO
WIPO (PCT)
Prior art keywords
conductor
insulator
oxide semiconductor
oxide
transistor
Prior art date
Legal status (The legal status is an assumption and is not a legal conclusion. Google has not performed a legal analysis and makes no representation as to the accuracy of the status listed.)
Ceased
Application number
PCT/IB2023/060395
Other languages
English (en)
French (fr)
Japanese (ja)
Inventor
井坂史人
恵木勇司
大野敏和
奥野直樹
高橋寛暢
國武寛司
掛端哲弥
Current Assignee (The listed assignees may be inaccurate. Google has not performed a legal analysis and makes no representation or warranty as to the accuracy of the list.)
Semiconductor Energy Laboratory Co Ltd
Original Assignee
Semiconductor Energy Laboratory Co Ltd
Priority date (The priority date is an assumption and is not a legal conclusion. Google has not performed a legal analysis and makes no representation as to the accuracy of the date listed.)
Filing date
Publication date
Application filed by Semiconductor Energy Laboratory Co Ltd filed Critical Semiconductor Energy Laboratory Co Ltd
Priority to KR1020257015123A priority Critical patent/KR20250093510A/ko
Priority to CN202380073210.0A priority patent/CN120188582A/zh
Priority to JP2024550928A priority patent/JPWO2024084366A1/ja
Publication of WO2024084366A1 publication Critical patent/WO2024084366A1/ja
Anticipated expiration legal-status Critical
Ceased legal-status Critical Current

Links

Images

Classifications

    • HELECTRICITY
    • H10SEMICONDUCTOR DEVICES; ELECTRIC SOLID-STATE DEVICES NOT OTHERWISE PROVIDED FOR
    • H10DINORGANIC ELECTRIC SEMICONDUCTOR DEVICES
    • H10D30/00Field-effect transistors [FET]
    • H10D30/60Insulated-gate field-effect transistors [IGFET]
    • H10D30/67Thin-film transistors [TFT]
    • H10D30/674Thin-film transistors [TFT] characterised by the active materials
    • H10D30/6755Oxide semiconductors, e.g. zinc oxide, copper aluminium oxide or cadmium stannate
    • HELECTRICITY
    • H10SEMICONDUCTOR DEVICES; ELECTRIC SOLID-STATE DEVICES NOT OTHERWISE PROVIDED FOR
    • H10BELECTRONIC MEMORY DEVICES
    • H10B12/00Dynamic random access memory [DRAM] devices
    • HELECTRICITY
    • H10SEMICONDUCTOR DEVICES; ELECTRIC SOLID-STATE DEVICES NOT OTHERWISE PROVIDED FOR
    • H10BELECTRONIC MEMORY DEVICES
    • H10B53/00Ferroelectric RAM [FeRAM] devices comprising ferroelectric memory capacitors
    • H10B53/30Ferroelectric RAM [FeRAM] devices comprising ferroelectric memory capacitors characterised by the memory core region
    • HELECTRICITY
    • H10SEMICONDUCTOR DEVICES; ELECTRIC SOLID-STATE DEVICES NOT OTHERWISE PROVIDED FOR
    • H10DINORGANIC ELECTRIC SEMICONDUCTOR DEVICES
    • H10D30/00Field-effect transistors [FET]
    • H10D30/01Manufacture or treatment
    • H10D30/021Manufacture or treatment of FETs having insulated gates [IGFET]
    • HELECTRICITY
    • H10SEMICONDUCTOR DEVICES; ELECTRIC SOLID-STATE DEVICES NOT OTHERWISE PROVIDED FOR
    • H10DINORGANIC ELECTRIC SEMICONDUCTOR DEVICES
    • H10D30/00Field-effect transistors [FET]
    • H10D30/01Manufacture or treatment
    • H10D30/021Manufacture or treatment of FETs having insulated gates [IGFET]
    • H10D30/031Manufacture or treatment of FETs having insulated gates [IGFET] of thin-film transistors [TFT]
    • HELECTRICITY
    • H10SEMICONDUCTOR DEVICES; ELECTRIC SOLID-STATE DEVICES NOT OTHERWISE PROVIDED FOR
    • H10DINORGANIC ELECTRIC SEMICONDUCTOR DEVICES
    • H10D30/00Field-effect transistors [FET]
    • H10D30/60Insulated-gate field-effect transistors [IGFET]
    • H10D30/67Thin-film transistors [TFT]
    • HELECTRICITY
    • H10SEMICONDUCTOR DEVICES; ELECTRIC SOLID-STATE DEVICES NOT OTHERWISE PROVIDED FOR
    • H10DINORGANIC ELECTRIC SEMICONDUCTOR DEVICES
    • H10D30/00Field-effect transistors [FET]
    • H10D30/60Insulated-gate field-effect transistors [IGFET]
    • H10D30/67Thin-film transistors [TFT]
    • H10D30/6757Thin-film transistors [TFT] characterised by the structure of the channel, e.g. transverse or longitudinal shape or doping profile
    • HELECTRICITY
    • H10SEMICONDUCTOR DEVICES; ELECTRIC SOLID-STATE DEVICES NOT OTHERWISE PROVIDED FOR
    • H10DINORGANIC ELECTRIC SEMICONDUCTOR DEVICES
    • H10D30/00Field-effect transistors [FET]
    • H10D30/60Insulated-gate field-effect transistors [IGFET]
    • H10D30/68Floating-gate IGFETs
    • HELECTRICITY
    • H10SEMICONDUCTOR DEVICES; ELECTRIC SOLID-STATE DEVICES NOT OTHERWISE PROVIDED FOR
    • H10DINORGANIC ELECTRIC SEMICONDUCTOR DEVICES
    • H10D30/00Field-effect transistors [FET]
    • H10D30/60Insulated-gate field-effect transistors [IGFET]
    • H10D30/69IGFETs having charge trapping gate insulators, e.g. MNOS transistors
    • HELECTRICITY
    • H10SEMICONDUCTOR DEVICES; ELECTRIC SOLID-STATE DEVICES NOT OTHERWISE PROVIDED FOR
    • H10DINORGANIC ELECTRIC SEMICONDUCTOR DEVICES
    • H10D62/00Semiconductor bodies, or regions thereof, of devices having potential barriers
    • H10D62/80Semiconductor bodies, or regions thereof, of devices having potential barriers characterised by the materials
    • H10D62/875Semiconductor bodies, or regions thereof, of devices having potential barriers characterised by the materials being semiconductor metal oxide, e.g. InGaZnO
    • HELECTRICITY
    • H10SEMICONDUCTOR DEVICES; ELECTRIC SOLID-STATE DEVICES NOT OTHERWISE PROVIDED FOR
    • H10DINORGANIC ELECTRIC SEMICONDUCTOR DEVICES
    • H10D84/00Integrated devices formed in or on semiconductor substrates that comprise only semiconducting layers, e.g. on Si wafers or on GaAs-on-Si wafers
    • HELECTRICITY
    • H10SEMICONDUCTOR DEVICES; ELECTRIC SOLID-STATE DEVICES NOT OTHERWISE PROVIDED FOR
    • H10DINORGANIC ELECTRIC SEMICONDUCTOR DEVICES
    • H10D84/00Integrated devices formed in or on semiconductor substrates that comprise only semiconducting layers, e.g. on Si wafers or on GaAs-on-Si wafers
    • H10D84/01Manufacture or treatment
    • H10D84/0123Integrating together multiple components covered by H10D12/00 or H10D30/00, e.g. integrating multiple IGBTs
    • H10D84/0126Integrating together multiple components covered by H10D12/00 or H10D30/00, e.g. integrating multiple IGBTs the components including insulated gates, e.g. IGFETs
    • HELECTRICITY
    • H10SEMICONDUCTOR DEVICES; ELECTRIC SOLID-STATE DEVICES NOT OTHERWISE PROVIDED FOR
    • H10DINORGANIC ELECTRIC SEMICONDUCTOR DEVICES
    • H10D84/00Integrated devices formed in or on semiconductor substrates that comprise only semiconducting layers, e.g. on Si wafers or on GaAs-on-Si wafers
    • H10D84/01Manufacture or treatment
    • H10D84/02Manufacture or treatment characterised by using material-based technologies
    • H10D84/03Manufacture or treatment characterised by using material-based technologies using Group IV technology, e.g. silicon technology or silicon-carbide [SiC] technology
    • H10D84/038Manufacture or treatment characterised by using material-based technologies using Group IV technology, e.g. silicon technology or silicon-carbide [SiC] technology using silicon technology, e.g. SiGe
    • HELECTRICITY
    • H10SEMICONDUCTOR DEVICES; ELECTRIC SOLID-STATE DEVICES NOT OTHERWISE PROVIDED FOR
    • H10DINORGANIC ELECTRIC SEMICONDUCTOR DEVICES
    • H10D84/00Integrated devices formed in or on semiconductor substrates that comprise only semiconducting layers, e.g. on Si wafers or on GaAs-on-Si wafers
    • H10D84/80Integrated devices formed in or on semiconductor substrates that comprise only semiconducting layers, e.g. on Si wafers or on GaAs-on-Si wafers characterised by the integration of at least one component covered by groups H10D12/00 or H10D30/00, e.g. integration of IGFETs
    • H10D84/82Integrated devices formed in or on semiconductor substrates that comprise only semiconducting layers, e.g. on Si wafers or on GaAs-on-Si wafers characterised by the integration of at least one component covered by groups H10D12/00 or H10D30/00, e.g. integration of IGFETs of only field-effect components
    • H10D84/83Integrated devices formed in or on semiconductor substrates that comprise only semiconducting layers, e.g. on Si wafers or on GaAs-on-Si wafers characterised by the integration of at least one component covered by groups H10D12/00 or H10D30/00, e.g. integration of IGFETs of only field-effect components of only insulated-gate FETs [IGFET]
    • H10P14/29
    • H10P14/3434
    • H10P34/42

Definitions

  • One embodiment of the present invention relates to a method for forming a metal oxide film. Another embodiment of the present invention relates to a transistor including the metal oxide and a method for manufacturing the transistor. Another embodiment of the present invention relates to a semiconductor device using the metal oxide and a method for manufacturing the semiconductor device. Another embodiment of the present invention relates to a memory device using the metal oxide and a method for manufacturing the memory device.
  • one embodiment of the present invention is not limited to the above technical field.
  • Examples of the technical field of one embodiment of the present invention include semiconductor devices, display devices, light-emitting devices, power storage devices, memory devices, electronic devices, lighting devices, input devices (e.g., touch sensors), input/output devices (e.g., touch panels), driving methods thereof, or manufacturing methods thereof.
  • a semiconductor device is a device that utilizes semiconductor characteristics, and refers to a circuit including a semiconductor element (transistor, diode, photodiode, etc.), a device having such a circuit, etc. Also, it refers to any device that can function by utilizing semiconductor characteristics. For example, an integrated circuit, a chip including an integrated circuit, and an electronic component that houses a chip in a package are examples of semiconductor devices. Also, memory devices, display devices, light-emitting devices, lighting devices, and electronic devices may themselves be semiconductor devices and each may have a semiconductor device.
  • a CPU is a collection of semiconductor elements that have semiconductor integrated circuits (at least transistors and memories) that are chipped by processing a semiconductor wafer and have electrodes that serve as connection terminals.
  • IC chips Semiconductor circuits (IC chips) such as LSIs, CPUs, and memories are mounted on circuit boards, such as printed wiring boards, and are used as components in a variety of electronic devices.
  • transistors are widely used in electronic devices such as integrated circuits (ICs) and display devices.
  • ICs integrated circuits
  • Silicon-based semiconductor materials are widely known as semiconductor materials that can be used in transistors, but oxide semiconductors are also attracting attention as other materials.
  • Patent Document 1 discloses a low-power consumption CPU that utilizes the property of low leakage current of transistors using oxide semiconductors.
  • Patent Document 2 discloses a memory device that can retain stored contents for a long period of time by utilizing the property of low leakage current of transistors using oxide semiconductors.
  • Patent Document 3 and Non-Patent Document 1 disclose a technique for increasing the density of integrated circuits by stacking a first transistor using an oxide semiconductor film and a second transistor using an oxide semiconductor film to provide multiple overlapping memory cells.
  • Patent Document 4 discloses a vertical transistor in which the side surface of the oxide semiconductor is covered by a gate electrode via a gate insulator.
  • Non-Patent Documents 2 and 3 disclose techniques for fabricating transistors using oxide semiconductors having a CAAC structure.
  • An object of one embodiment of the present invention is to provide a novel metal oxide and a method for forming the same.
  • an object of one embodiment of the present invention is to provide a transistor, semiconductor device, or memory device that can be miniaturized or highly integrated.
  • an object of one embodiment of the present invention is to provide a highly reliable transistor, semiconductor device, or memory device.
  • an object of one embodiment of the present invention is to provide a transistor with a large on-state current.
  • an object of one embodiment of the present invention is to provide a transistor with favorable electrical characteristics.
  • an object of one embodiment of the present invention is to provide a semiconductor device or memory device with low power consumption.
  • an object of one embodiment of the present invention is to provide a memory device with high operation speed.
  • an object of one embodiment of the present invention is to provide a method for manufacturing the transistor, semiconductor device, or memory device.
  • One aspect of the present invention is a semiconductor device that includes an oxide semiconductor, a first conductor, a second conductor, a third conductor, and a first insulator, the first conductor and the second conductor each have a portion in contact with the oxide semiconductor, the third conductor overlaps the oxide semiconductor via the first insulator, the oxide semiconductor has a first portion provided along the first surface and a second portion provided along a second surface that is inclined with respect to the first surface, the ratio of the thickness of the second portion to the thickness of the first portion is 0.8 to 1.2, the oxide semiconductor includes indium and one or more selected from gallium, tin, and zinc, and the aluminum concentration of the oxide semiconductor is 0.01 atomic% to 10 atomic%.
  • Another aspect of the present invention is a semiconductor device that includes an oxide semiconductor, a first conductor, a second conductor, a third conductor, a first insulator, and a second insulator, the first insulator is in contact with the top surface of the first conductor, the second conductor is located on the first insulator, the oxide semiconductor has a first portion in contact with the top surface of the first conductor, a second portion in contact with a side surface of the first insulator, and a third portion in contact with the second conductor, the second insulator is located on the oxide semiconductor, the third conductor is located on the second insulator, and overlaps with the oxide semiconductor via the second insulator, the ratio of the thickness of the second portion to the thickness of the first portion is 0.8 to 1.2, the oxide semiconductor includes indium and one or more selected from gallium, tin, and zinc, and the aluminum concentration of the oxide semiconductor is 0.01 atomic% to 10 atomic%.
  • one aspect of the present invention includes an oxide semiconductor, a first conductor, a second conductor, a third conductor, a first insulator, and a second insulator, the first insulator being in contact with an upper surface of the first conductor, the second conductor being located on the first insulator, the first insulator and the second conductor having a first opening that reaches the first conductor, and the oxide semiconductor having, inside the first opening, a first portion that is in contact with an upper surface of the first conductor and a second portion that is in contact with a side surface of the first insulator, and a third portion that is in contact with the second conductor.
  • the second insulator is located on the oxide semiconductor
  • the third conductor is located on the second insulator and overlaps with the oxide semiconductor via the second insulator at a position overlapping with the first opening
  • the ratio of the thickness of the second portion to the thickness of the first portion is 0.8 or more and 1.2 or less
  • the oxide semiconductor contains indium and one or more selected from gallium, tin, and zinc
  • the aluminum concentration of the oxide semiconductor is 0.01 atomic% or more and 10 atomic% or less.
  • the aluminum concentration of the oxide semiconductor is preferably 0.01 atomic% or more and 5 atomic% or less.
  • the carbon concentration of the oxide semiconductor is preferably greater than or equal to 1 ⁇ 10 17 atoms/cm 3 and less than or equal to 5 ⁇ 10 19 atoms/cm 3 .
  • one aspect of the present invention is a memory device having the above-mentioned semiconductor device, a fourth conductor, a third insulator, and a capacitor, the capacitor having a fifth conductor, a fourth insulator on the fifth conductor, and a first conductor on the fourth insulator, the third insulator having a second opening reaching the fourth conductor, and at least a portion of the fifth conductor, at least a portion of the fourth insulator, and at least a portion of the first conductor are disposed in the second opening.
  • Another aspect of the present invention is a method for forming a metal oxide film, comprising a first step of supplying a first compound containing indium into a chamber and then supplying an oxidizing agent into the chamber, and a second step of supplying a second compound into the chamber and then supplying an oxidizing agent into the chamber, wherein the aluminum content of the first compound is 0.01 ppm or more and 500 ppm or less, the aluminum content of the second compound is less than the aluminum content of the first compound, and the second compound contains gallium, tin, or zinc.
  • Another aspect of the present invention is a method for forming a metal oxide film, comprising a first step of supplying a first compound containing indium into a chamber and then supplying an oxidizing agent into the chamber, and a second step of supplying a second compound into the chamber and then supplying the oxidizing agent into the chamber, wherein the aluminum content of the first compound is 0.01 ppm or more and 500 ppm or less, the aluminum content of the second compound is less than the aluminum content of the first compound, and the sum of the time for supplying the oxidizing agent in the first step and the time for supplying the oxidizing agent in the second step is 90 seconds or more.
  • the second compound preferably contains gallium or zinc.
  • each of the first step and the second step at least once, and then to carry out microwave treatment in an oxygen-containing atmosphere.
  • each of the first step and the second step at least once, and then perform microwave treatment in an oxygen-containing atmosphere to form a first cycle, and to repeat the first cycle multiple times.
  • Another embodiment of the present invention includes a first insulator, an oxide semiconductor covering the first insulator, a first conductor and a second conductor on the oxide semiconductor, a second insulator disposed on the first conductor and the second conductor and having an opening overlapping with a region between the first conductor and the second conductor, a third insulator disposed in the opening and on the oxide semiconductor, and a third conductor disposed in the opening and on the third insulator, wherein the height of the first insulator in a cross-sectional view in a channel width direction is
  • the semiconductor device has a first portion that is longer than the width of the edge, the oxide semiconductor has a first portion that is provided along the first surface, and a second portion that is provided along the second surface that is inclined with respect to the first surface, the ratio of the thickness of the second portion to the thickness of the first portion is 0.8 to 1.2, the oxide semiconductor has indium and one or more selected from gallium, tin, and zinc, and the aluminum concentration of the oxide semiconductor is 0.01
  • the side of the opening of the second insulator coincides or roughly coincides with the side of the first conductor and the side of the second conductor.
  • the first conductor preferably functions as one of the source electrode and drain electrode of the transistor.
  • the second conductor preferably functions as the other of the source electrode and drain electrode of the transistor.
  • the third conductor preferably functions as the gate electrode of the transistor.
  • the oxide semiconductor and the third conductor face each other with the third insulator in between, and on the other side of the first insulator, the oxide semiconductor and the third conductor face each other with the third insulator in between.
  • the first conductor contacts the oxide semiconductor on one side and the other side of the first insulator, and the second conductor contacts the oxide semiconductor on one side and the other side of the first insulator.
  • the height of the first insulator is greater than or equal to 2 times and less than or equal to 20 times the width of the first insulator.
  • Another embodiment of the present invention is a memory device including the above-described semiconductor device and a capacitor, in which one electrode of the capacitor is electrically connected to a first conductor of the semiconductor device.
  • the capacitor is preferably disposed over a third conductor. At least a part of the capacitor is preferably overlapped with the oxide semiconductor and the third conductor.
  • a novel metal oxide and a method for forming the same can be provided.
  • a transistor, a semiconductor device, or a memory device that can be miniaturized or highly integrated can be provided.
  • a highly reliable transistor, a semiconductor device, or a memory device can be provided.
  • a transistor with a large on-state current can be provided.
  • a transistor with good electrical characteristics can be provided.
  • a semiconductor device or a memory device with low power consumption can be provided.
  • a memory device with a high operating speed can be provided.
  • a method for manufacturing the above-mentioned transistor, semiconductor device, or memory device can be provided.
  • 1A to 1E are cross-sectional views showing an example of a method for forming a metal oxide film.
  • 2A to 2D are cross-sectional views showing an example of a metal oxide.
  • 3A to 3D are cross-sectional views showing an example of a metal oxide.
  • 4A to 4C are diagrams showing examples of ranges of atomic ratios of metal oxides.
  • 5A to 5D are cross-sectional views showing an example of a method for forming a metal oxide film.
  • 6A to 6C are cross-sectional views showing an example of a method for forming a metal oxide film.
  • FIG. 7 is a plan view and a cross-sectional view showing an example of a film forming apparatus.
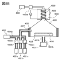
  • FIG. 8A and 8B are cross-sectional views showing an example of a film forming apparatus.
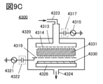
  • 9A to 9C are cross-sectional views showing an example of a film forming apparatus.
  • 10A and 10B are cross-sectional views showing an example of a film forming apparatus.
  • 11A and 11B are diagrams showing an example of a method for forming a metal oxide film.
  • 12A and 12B are diagrams showing an example of a method for forming a metal oxide film.
  • FIG. 13 is a diagram showing an example of a method for forming a metal oxide film.
  • 14A to 14D are cross-sectional views showing an example of a memory device.
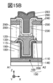
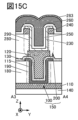
  • Fig. 15A is a plan view showing an example of a memory device
  • FIG. 15C are cross-sectional views showing an example of a memory device
  • Fig. 15D is a circuit diagram showing an example of a memory device
  • 16A and 16B are cross-sectional views showing an example of a memory device.
  • 17A to 17D are cross-sectional views showing an example of a memory device.
  • 18A and 18B are cross-sectional views showing an example of a memory device.
  • 19A to 19D are cross-sectional views showing an example of a memory device.
  • 20A and 20B are cross-sectional views showing an example of a memory device.
  • Fig. 21A is a plan view showing an example of a semiconductor device
  • Fig. 21B to Fig. 21D are cross-sectional views showing an example of the semiconductor device.
  • FIG. 22A and 22B are cross-sectional views showing an example of a semiconductor device.
  • Fig. 23A is a plan view showing an example of a semiconductor device
  • Fig. 23B to Fig. 23D are cross-sectional views showing an example of the semiconductor device.
  • 24A and 24B are cross-sectional views showing an example of a semiconductor device.
  • 25A to 25C are cross-sectional views showing an example of a semiconductor device.
  • 26A and 26C are plan views and sectional views of an example of a storage device, respectively.
  • 27A and 27B are plan and cross-sectional views illustrating an example of a storage device.
  • 28A is a plan view of an example of a storage device
  • FIG 28B is a cross-sectional view of the example of the storage device.
  • 29A is a plan view of an example of a storage device
  • FIG 29B is a cross-sectional view of the example of the storage device.
  • 30A to 30C are plan layouts showing an example of a storage device.
  • 31A to 31C are plan layouts showing an example of a storage device.
  • FIG. 32 is a cross-sectional view showing an example of a storage device.
  • FIG. 33 is a block diagram illustrating an example of a storage device.
  • 34A and 34B are schematic diagrams showing an example of a storage device.
  • 35A to 35D are circuit diagrams showing an example of a memory device.
  • FIG. 36 is a circuit diagram showing an example of a memory device.
  • 37A and 37B are diagrams illustrating an example of an electronic component.
  • FIG. 38A and 38B are diagrams showing an example of an electronic device
  • Fig. 38C to Fig. 38E are diagrams showing an example of a mainframe computer.
  • FIG. 39 is a diagram showing an example of space equipment.
  • FIG. 40 is a diagram illustrating an example of a storage system that can be applied to a data center.
  • FIG. 41 is a diagram showing the results of XPS analysis of Example 1.
  • 42A and 42B are diagrams showing the results of Hall effect measurement in Example 1.
  • FIG. 43 is a diagram showing the results of SIMS analysis of Example 1.
  • FIG. 44 is a diagram showing the results of SIMS analysis of Example 1.
  • FIG. 45 is a diagram showing the results of SIMS analysis of Example 1.
  • 46A and 46B are diagrams showing the results of SIMS analysis of Example 1.
  • FIG. 47 is a diagram showing the results of SIMS analysis of Example 1.
  • FIG. 48 is a diagram showing the Id-Vg characteristics of the transistor of Example 1.
  • 49A to 49D are cross-sectional observation images of the IGZO film of Example 1.
  • 50A to 50D are diagrams showing the results of SIMS analysis of Example 2.
  • ordinal numbers “first” and “second” are used for convenience and do not limit the number of components or the order of the components (e.g., the order of processes or the order of stacking).
  • an ordinal number attached to a component in one place in this specification may not match an ordinal number attached to the same component in another place in this specification or in the claims.
  • a transistor is a type of semiconductor element that can perform functions such as amplifying current or voltage and switching operations that control conduction or non-conduction.
  • transistor includes IGFETs (Insulated Gate Field Effect Transistors) and thin film transistors (TFTs).
  • a transistor is an element having at least three terminals including a gate, a drain, and a source.
  • a transistor has a region (also called a channel formation region) in which a channel is formed between the drain (drain terminal, drain region, or drain electrode) and the source (source terminal, source region, or source electrode), and a current can flow between the source and drain through the channel formation region.
  • a channel formation region refers to a region through which a current mainly flows.
  • source and drain may be interchanged when transistors of different polarity are used, or when the direction of current changes during circuit operation. For this reason, in this specification, the terms “source” and “drain” can be used interchangeably.
  • the impurity of a semiconductor refers to, for example, anything other than the main component constituting the semiconductor.
  • an element with a concentration of less than 0.1 atomic % can be said to be an impurity.
  • the defect level density of the semiconductor may increase or the crystallinity may decrease.
  • the semiconductor is an oxide semiconductor
  • examples of the impurity that changes the characteristics of the semiconductor include, for example, a Group 1 element, a Group 2 element, a Group 13 element, a Group 14 element, a Group 15 element, and a transition metal other than the main component of the oxide semiconductor.
  • Specific examples of the impurity include, for example, hydrogen, lithium, sodium, silicon, boron, phosphorus, carbon, and nitrogen.
  • water may also function as an impurity.
  • oxygen vacancies also referred to as V O
  • V O oxygen vacancies
  • an oxynitride refers to a material whose composition contains more oxygen than nitrogen.
  • An oxynitride refers to a material whose composition contains more nitrogen than oxygen.
  • SIMS secondary ion mass spectrometry
  • XPS X-ray photoelectron spectroscopy
  • SIMS is suitable when the content of the target element is high (e.g., 0.5 atomic% or more, or 1 atomic% or more).
  • SIMS is suitable when the content of the target element is low (e.g., 0.5 atomic% or less, or 1 atomic% or less).
  • the term “insulator” can be replaced with “insulating film” or “insulating layer.”
  • the term “conductor” can be replaced with “conductive film” or “conductive layer.”
  • the term “semiconductor” can be replaced with “semiconductor film” or “semiconductor layer.”
  • parallel refers to a state in which two straight lines are arranged at an angle of -10 degrees or more and 10 degrees or less. Therefore, it also includes cases in which the angle is -5 degrees or more and 5 degrees or less.
  • approximately parallel refers to a state in which two straight lines are arranged at an angle of -30 degrees or more and 30 degrees or less.
  • Perfect refers to a state in which two straight lines are arranged at an angle of 80 degrees or more and 100 degrees or less. Therefore, it also includes cases in which the angle is 85 degrees or more and 95 degrees or less.
  • approximately perpendicular refers to a state in which two straight lines are arranged at an angle of 60 degrees or more and 120 degrees or less.
  • electrically connected includes a connection via "something that has some kind of electrical action.”
  • something that has some kind of electrical action is not particularly limited as long as it allows electrical signals to be sent and received between the connected objects.
  • something that has some kind of electrical action includes electrodes or wiring, as well as switching elements such as transistors, resistive elements, coils, capacitive elements, and other elements with various functions.
  • the off-state current refers to a leakage current between the source and drain when a transistor is in an off state (also referred to as a non-conducting state or a cut-off state).
  • the off-state refers to a state in which the voltage Vgs between the gate and source of an n-channel transistor is lower than the threshold voltage Vth (higher than Vth for a p-channel transistor).
  • the top surface shape of a certain component refers to the contour shape of the component in a planar view.
  • a planar view refers to a view from the normal direction of the surface on which the component is formed or the surface of the support (e.g., substrate) on which the component is formed.
  • a tapered shape refers to a shape in which at least a part of the side of the structure is inclined with respect to the substrate surface or the surface to be formed.
  • the side of the structure, the substrate surface, and the surface to be formed do not necessarily need to be completely flat, and may be approximately planar with a slight curvature, or approximately planar with fine irregularities.
  • A covers B
  • at least a part of A covers B. Therefore, for example, it can be rephrased as saying that A has an area that covers B.
  • the metal oxide of one embodiment of the present invention can be used as a semiconductor material, an insulating material, or a conductive material, depending on the type, combination, composition, and the like of the elements constituting the metal oxide.
  • the metal oxide of one embodiment of the present invention can be used, for example, in the semiconductor layer of a transistor.
  • the metal oxide may also be called an oxide semiconductor or an oxide.
  • the metal oxide film formation method of one embodiment of the present invention uses the ALD (Atomic Layer Deposition) method, which allows extremely thin and uniform films to be formed. This makes it suitable for forming metal oxide films that form fine transistors.
  • ALD Atomic Layer Deposition
  • an inorganic precursor is a precursor that contains carbon as a constituent element
  • an inorganic precursor is a precursor that does not contain carbon as a constituent element.
  • a metal oxide film formed using an inorganic precursor can have a lower impurity concentration (e.g., at least one of hydrogen concentration, carbon concentration, and nitrogen concentration) in the film compared to a metal oxide film formed using an organic precursor.
  • a lower impurity concentration e.g., at least one of hydrogen concentration, carbon concentration, and nitrogen concentration
  • the metal oxide film formation temperature can be lowered compared to when an inorganic precursor is used.
  • the impurities may get into the metal oxide, adversely affecting the physical properties of the metal oxide and even the characteristics of a semiconductor device that uses the metal oxide.
  • metal oxide that does not contain aluminum as a main component may affect the physical properties of the metal oxide.
  • metal oxides that do not contain aluminum as a main component include indium zinc oxide (In-Zn oxide) and indium gallium zinc oxide (In-Ga-Zn oxide, also referred to as IGZO).
  • the IGZO film when aluminum is present in an IGZO film in an oxidized state (such as Al 2 O 3 ), the IGZO film becomes highly resistive. If the highly resistive IGZO film is used in a semiconductor layer, the on-current of a transistor becomes low.
  • aluminum has a high bond dissociation energy with oxygen and functions as a carrier suppressing element. Specifically, the bond dissociation energy between aluminum and oxygen is higher than the bond dissociation energy between Ga and oxygen. For this reason, the presence of aluminum in the IGZO film can make it difficult for oxygen vacancies (Vo) to be generated. If an IGZO film in which Vo is difficult to generate is used as the semiconductor layer, it is possible to suppress the negative bias light deterioration of the transistor. For this reason, it is not necessary to completely remove aluminum from the metal oxide, and in some cases aluminum may be included in the metal oxide to an extent that does not have a detrimental effect.
  • a precursor with a low aluminum content is used to produce a metal oxide that does not contain aluminum as a main component. This makes it possible to prevent the aluminum concentration in the formed metal oxide film from becoming too high.
  • metal oxide when metal oxide is formed using the ALD method, it may be difficult to sufficiently remove impurities in the film even if the metal oxide is subjected to a heat treatment after film formation.
  • a high-temperature process e.g., a process exceeding 700°C
  • productivity decreases.
  • the carbon concentration in the film is reduced by supplying a sufficient amount of oxidizing agent, for example, by making the total time of the step of supplying the oxidizing agent in the entire process of forming the metal oxide film sufficiently long, or by increasing the proportion of ozone (O 3 ) contained in the oxidizing agent.
  • a microwave treatment in an oxygen-containing atmosphere as an impurity removal treatment.
  • impurities in the film can be removed. This makes it possible to suppress impurities contained in raw materials such as precursors from remaining in the metal oxide. Therefore, the impurity concentration in the metal oxide can be reduced. Also, the crystallinity of the metal oxide can be increased.
  • an impurity removal process intermittently in an oxygen-containing atmosphere during film formation.
  • the impurity removal process may be performed both during and after film formation.
  • a metal oxide with a low impurity content can be formed for use in the semiconductor layer of a fine transistor.
  • a metal oxide with high crystallinity can be formed for use in the semiconductor layer of a fine transistor. This makes it possible to realize a transistor that is fine and has good electrical characteristics. In addition, it makes it possible to realize a transistor that is fine and has good reliability. In particular, it is preferable to form a metal oxide with a CAAC structure.
  • one aspect of the present invention is a method for forming a metal oxide film, comprising a first step of supplying a first compound containing indium into a chamber, and then supplying an oxidizing agent into the chamber, and a second step of supplying a second compound into the chamber, and then supplying an oxidizing agent into the chamber.
  • the method may further comprise a third step of supplying a third compound into the chamber, and then supplying an oxidizing agent into the chamber.
  • the aluminum content of the first compound is preferably 0.001 ppm or more, 0.01 ppm or more, or 0.1 ppm or more, and is preferably 1000 ppm or less, more preferably 500 ppm or less, more preferably 100 ppm or less, more preferably 50 ppm or less, more preferably 10 ppm or less, and even more preferably 1 ppm or less.
  • the second compound and the third compound each preferably contain at least one of gallium, tin, and zinc.
  • the preferred range of the aluminum content of the second compound and the aluminum content of the third compound is the same as the preferred range of the aluminum content of the first compound.
  • the total time for supplying the oxidizing agent in one cycle is preferably 10 seconds or more, more preferably 30 seconds or more, more preferably 60 seconds or more, more preferably 90 seconds or more, even more preferably 120 seconds or more, and preferably 150 seconds or less, 200 seconds or less, 250 seconds or less, or 300 seconds or less.
  • one cycle is performed by carrying out the above-mentioned first step and second step once each.
  • the total time for supplying the oxidizing agent in one cycle corresponds to the sum of the time for supplying the oxidizing agent in the first step and the time for supplying the oxidizing agent in the second step.
  • one cycle is performed by carrying out the above-mentioned first step, second step, and third step once each.
  • the total time for supplying the oxidizing agent in one cycle corresponds to the sum of the time for supplying the oxidizing agent in the first to third steps.
  • the proportion of ozone in the gas is preferably 10% or more, more preferably 20% or more, more preferably 30% or more, more preferably 40% or more, more preferably 50% or more, more preferably 60% or more, more preferably 70% or more, more preferably 80% or more, more preferably 90% or more, and particularly preferably 100%.
  • a higher proportion of ozone is preferable because it promotes the oxidation of the metal and reduces the carbon concentration in the metal oxide.
  • the substrate temperature When supplying the oxidizing agent, it is preferable to set the substrate temperature to 150°C or higher, 200°C or higher, or 250°C or higher.
  • the upper limit of the substrate temperature can be the lower of the decomposition temperature of the precursor such as the first compound and the decomposition temperature of ozone (e.g., 300°C). Increasing the substrate temperature is preferable because it reduces the impurity concentration in the metal oxide.
  • an impurity removal treatment is preferably performed under an atmosphere containing oxygen.
  • the impurity removal treatment is a treatment for releasing impurities contained in the metal oxide from the film.
  • impurity removal treatments include plasma treatment, microwave treatment, and heat treatment.
  • the substrate temperature is at least room temperature (e.g., 25°C), at least 100°C, at least 200°C, at least 300°C, or at least 400°C, and at most 500°C, or at most 450°C. It is also preferable that the heat treatment temperature is at least 100°C, at least 200°C, at least 300°C, or at least 400°C, and at most 500°C, or at most 450°C.
  • the temperature during the impurity removal process is preferably set to a temperature equal to or lower than the maximum temperature in the manufacturing process of a transistor or semiconductor device, in particular, so that the content of impurities in the metal oxide can be reduced without reducing productivity.
  • the productivity of a transistor or semiconductor device can be increased by setting the maximum temperature in the manufacturing process of a transistor or semiconductor device using the metal oxide of one embodiment of the present invention to 500° C. or lower, preferably 450° C. or lower.
  • the impurity removal process is preferably performed at a temperature lower than the decomposition temperature of both the first compound and the second compound. Furthermore, when a third compound is used, it is preferable to perform the process at a temperature lower than the decomposition temperature of the third compound. Furthermore, the impurity removal process may be performed at a temperature higher than 500°C (for example, higher than 500°C and equal to or lower than 700°C).
  • the impurity removal process may be performed while irradiating light (e.g., ultraviolet light). This can promote the desorption of impurities.
  • light sources include lasers and mercury lamps.
  • oxygen radicals can be generated by photoexcitation and reacted with hydrogen, carbon, nitrogen, etc., to reduce impurities in the film and promote crystallization. By irradiating light, it may be easier to remove impurities even at a lower heating temperature than when light irradiation is not performed.
  • light may be irradiated during film formation.
  • first step light may be irradiated onto the surface on which the metal oxide is to be formed while the first compound is being supplied into the chamber and/or while the oxidizing agent is being supplied into the chamber.
  • second and third steps may be irradiated onto the surface on which the metal oxide is to be formed while the first compound is being supplied into the chamber and/or while the oxidizing agent is being supplied into the chamber.
  • first and second steps it is preferable to perform the first and second steps at least once each and then perform an impurity removal process in an oxygen-containing atmosphere as a first cycle, and to perform the first and second steps at least once each in an order different from that of the first cycle and then perform an impurity removal process in an oxygen-containing atmosphere as a second cycle, and to alternately repeat the first and second cycles multiple times.
  • the impurity removal treatment for example, every time the first step or the second step is carried out fewer times, or every time both steps are carried out in a range of 5 to 10 times.
  • impurities may not be sufficiently removed by simply performing an impurity removal process after forming a metal oxide film.
  • an impurity removal process By introducing an impurity removal process intermittently (at intervals) during film formation, it is possible to sufficiently remove impurities from the metal oxide.
  • Another aspect of the present invention is a method for forming a film of an indium compound using an ALD method, in which a precursor containing indium (e.g., triethylindium precursor) is supplied into a chamber, and then an oxidizing agent is supplied into the chamber.
  • the aluminum content of the precursor is preferably 0.001 ppm or more, 0.01 ppm or more, or 0.1 ppm or more, and is preferably 1000 ppm or less, more preferably 500 ppm or less, more preferably 100 ppm or less, more preferably 50 ppm or less, more preferably 10 ppm or less, and even more preferably 1 ppm or less.
  • Metal oxides may have lattice defects.
  • Lattice defects include point defects such as atomic vacancies and heteroatoms, line defects such as dislocations, surface defects such as grain boundaries, and volume defects such as voids.
  • Factors that cause the generation of lattice defects include a deviation in the ratio of the number of atoms of the constituent elements (an excess or deficiency of constituent atoms) and impurities.
  • the metal oxide used in the semiconductor layer of a transistor When a metal oxide is used in the semiconductor layer of a transistor, lattice defects in the metal oxide can cause carrier generation or capture. Therefore, if a metal oxide with many lattice defects is used in the semiconductor layer of a transistor, the electrical characteristics of the transistor may become unstable. Therefore, it is preferable that the metal oxide used in the semiconductor layer of a transistor has few lattice defects.
  • V O H oxygen vacancies
  • the transistor is likely to have normally-on characteristics (characteristics in which a channel exists and a current flows through the transistor even when no voltage is applied to the gate electrode). Therefore, it is preferable that oxygen vacancies and impurities are reduced as much as possible in the channel formation region in the metal oxide. In other words, it is preferable that the carrier concentration of the channel formation region in the metal oxide is reduced and the channel formation region in the metal oxide is made i-type (intrinsic) or substantially i-type.
  • the types of lattice defects likely to exist in metal oxides and the amount of lattice defects present vary depending on the structure of the metal oxide or the method of forming the metal oxide film.
  • Non-single crystal structures include, for example, CAAC structures, polycrystalline structures, nc structures, pseudo-amorphous (a-like) structures, and amorphous structures.
  • A-like structures have a structure between the nc structure and the amorphous structure.
  • the crystallinity of the metal oxide of one embodiment of the present invention is not particularly important.
  • metal oxides having an a-like structure and metal oxides having an amorphous structure have voids or low-density regions. That is, metal oxides having an a-like structure and metal oxides having an amorphous structure have lower crystallinity than metal oxides having an nc structure and metal oxides having a CAAC structure. In addition, metal oxides having an a-like structure have a higher hydrogen concentration in the metal oxide than metal oxides having an nc structure and metal oxides having a CAAC structure. Therefore, lattice defects are easily generated in metal oxides having an a-like structure and metal oxides having an amorphous structure.
  • a metal oxide having a crystal part for the semiconductor layer of the transistor it is preferable to use a metal oxide having high crystallinity.
  • a metal oxide having a CAAC structure or a metal oxide having a single crystal structure By using such a metal oxide for the transistor, it is possible to realize a transistor having good electrical characteristics. In addition, it is possible to realize a highly reliable transistor.
  • a metal oxide for the channel formation region of the transistor, which increases the on-current of the transistor.
  • the crystal has a crystal structure in which multiple layers (for example, a first layer, a second layer, and a third layer) are stacked. That is, the crystal has a layered crystal structure (also called a layered crystal or layered structure). In this case, the c-axis of the crystal is oriented in the direction in which the multiple layers are stacked.
  • metal oxides having the crystal include single crystal oxide semiconductors and CAAC-OS (c-axis aligned crystalline oxide semiconductors).
  • the c-axis of the crystal in the normal direction to the surface on which the metal oxide is formed or the film surface. This allows the multiple layers to be arranged parallel or approximately parallel to the surface on which the metal oxide is formed or the film surface. In other words, the multiple layers extend in the channel length direction.
  • the above three-layered crystal structure has the following structure.
  • the first layer has an atomic coordination structure of an oxygen octahedron with the metal of the first layer at the center.
  • the second layer has an atomic coordination structure of an oxygen trigonal bipyramid or tetrahedron with the metal of the second layer at the center.
  • the third layer has an atomic coordination structure of an oxygen trigonal bipyramid or tetrahedron with the metal of the third layer at the center.
  • the crystal structure of the above crystals includes, for example, a YbFe 2 O 4 type structure, a Yb 2 Fe 3 O 7 type structure, and modified structures thereof.
  • each of the first layer to the third layer is preferably composed of one metal element or multiple metal elements having the same valence, and oxygen.
  • the valence of the one or multiple metal elements constituting the first layer is preferably the same as the valence of the one or multiple metal elements constituting the second layer.
  • the first layer and the second layer may have the same metal element.
  • the valence of the one or multiple metal elements constituting the first layer is different from the valence of the one or multiple metal elements constituting the third layer.
  • the above structure improves the crystallinity of the metal oxide and increases the mobility of the metal oxide. Therefore, by using the metal oxide in the channel formation region of a transistor, the on-state current of the transistor increases, and the electrical characteristics of the transistor can be improved.
  • the metal oxide of one embodiment of the present invention preferably contains at least indium or zinc.
  • metal elements include gallium and tin.
  • the metal oxide is an In-M-Zn oxide having indium (In), element M, and zinc (Zn).
  • the element M is gallium or tin.
  • Other elements that can be used for element M include yttrium, boron, titanium, iron, nickel, germanium, zirconium, molybdenum, lanthanum, cerium, neodymium, hafnium, tantalum, tungsten, magnesium, calcium, cobalt, and aluminum.
  • a combination of multiple elements mentioned above can be used as element M.
  • metal oxides examples include indium zinc oxide (In-Zn oxide), indium tin oxide (In-Sn oxide), indium titanium oxide (In-Ti oxide), indium gallium oxide (In-Ga oxide), indium gallium tin oxide (In-Ga-Sn oxide), gallium zinc oxide (Ga-Zn oxide, also referred to as GZO), indium tin zinc oxide (In-Sn-Zn oxide, also referred to as ITZO (registered trademark)), indium titanium zinc oxide (In-Ti-Zn oxide), indium gallium zinc oxide (In-Ga-Zn oxide, also referred to as IGZO), and indium gallium tin zinc oxide (In-Ga-Sn-Zn oxide, also referred to as IGZTO).
  • ITZO indium tin zinc oxide
  • ITZO registered trademark
  • the field effect mobility of the transistor can be increased.
  • the metal oxide may have one or more metal elements with a higher period number in the periodic table instead of indium.
  • the metal oxide may have one or more metal elements with a higher period number in addition to indium.
  • Examples of metal elements with a higher period number include metal elements belonging to the fifth period and metal elements belonging to the sixth period.
  • the metal elements include yttrium, zirconium, silver, cadmium, tin, antimony, barium, lead, bismuth, lanthanum, cerium, praseodymium, neodymium, promethium, samarium, and europium. Note that lanthanum, cerium, praseodymium, neodymium, promethium, samarium, and europium are called light rare earth elements.
  • the metal oxide may also contain one or more nonmetallic elements.
  • the field effect mobility of the transistor may be increased.
  • nonmetallic elements include carbon, nitrogen, phosphorus, sulfur, selenium, fluorine, chlorine, bromine, and hydrogen.
  • the metal oxide becomes highly crystalline, and the diffusion of impurities in the metal oxide can be suppressed. Therefore, fluctuations in the electrical characteristics of the transistor can be suppressed, and reliability can be improved.
  • the formation of oxygen vacancies in the metal oxide can be suppressed. Therefore, carrier generation due to oxygen vacancies can be suppressed, and a transistor with a small off-current can be obtained. Furthermore, fluctuations in the electrical characteristics of the transistor can be suppressed, and reliability can be improved.
  • the transistor can obtain a large on-current and high frequency characteristics.
  • In-Ga-Zn oxide may be used as an example of a metal oxide.
  • the metal oxide film formation method of the present invention it is preferable to deposit atoms one layer at a time.
  • the ALD method is used, so that it is easy to form a metal oxide having the above-mentioned layered crystal structure.
  • Examples of the ALD method include the Thermal ALD method, in which the reaction between the precursor and reactant is carried out using only thermal energy, and the Plasma Enhanced ALD (PEALD) method, in which a plasma-excited reactant is used.
  • Thermal ALD method in which the reaction between the precursor and reactant is carried out using only thermal energy
  • PEALD Plasma Enhanced ALD
  • the ALD method can deposit atoms one layer at a time, and therefore has the following advantages: extremely thin films can be formed; films can be formed on structures with high aspect ratios; films can be formed with fewer defects such as pinholes; films can be formed with excellent coverage; and films can be formed at low temperatures.
  • the PEALD method may be preferable because it can form films at lower temperatures by using plasma.
  • some precursors used in the ALD method contain elements such as carbon or chlorine.
  • films formed by the ALD method may contain more elements such as carbon or chlorine than films formed by other film formation methods. Note that the quantification of these elements can be performed using XPS or SIMS.
  • the metal oxide film formation method of one embodiment of the present invention uses the ALD method, but adopts one or both of the conditions of a high substrate temperature during film formation and the implementation of an impurity removal process, and therefore the amount of carbon and chlorine contained in the film may be smaller than when the ALD method is used without applying these.
  • the ALD method is a film formation method in which a film is formed by a reaction on the surface of a workpiece, unlike a film formation method in which particles released from a target are deposited. Therefore, it is a film formation method that is not easily affected by the shape of the workpiece and has good step coverage.
  • the ALD method has excellent step coverage and excellent thickness uniformity, making it suitable for coating the surface of an opening with a high aspect ratio.
  • the ALD method since the ALD method has a relatively slow film formation speed, it may be preferable to use it in combination with other film formation methods such as a sputtering method or a CVD method, which have a fast film formation speed.
  • a method of forming a first metal oxide film using a sputtering method and forming a second metal oxide film on the first metal oxide using an ALD method can be mentioned.
  • the second metal oxide may grow as a crystal with the crystal part as a nucleus.
  • the ALD method can control the composition of the resulting film by the amount of raw material gas introduced.
  • the ALD method can form a film of any composition by adjusting the amount of raw material gas introduced, the number of introductions (also called the number of pulses), the time required for one pulse (also called the pulse time), and the like.
  • the ALD method can form a film whose composition changes continuously by changing the raw material gas while forming the film.
  • the time required for film formation can be shortened compared to forming a film using multiple film formation chambers because no time is required for transportation and pressure adjustment. Therefore, the productivity of semiconductor devices can be increased in some cases.
  • a transistor with high field effect mobility can be realized.
  • a highly reliable transistor can be realized.
  • a miniaturized or highly integrated transistor can be realized. For example, a transistor with a channel length of 2 nm to 30 nm can be manufactured.
  • the carrier concentration of the channel formation region of the oxide semiconductor is preferably 1 ⁇ 10 18 cm ⁇ 3 or less, 1 ⁇ 10 17 cm ⁇ 3 or less, 1 ⁇ 10 16 cm ⁇ 3 or less, 1 ⁇ 10 15 cm ⁇ 3 or less, 1 ⁇ 10 14 cm ⁇ 3 or less, 1 ⁇ 10 13 cm ⁇ 3 or less, 1 ⁇ 10 12 cm ⁇ 3 or less, 1 ⁇ 10 11 cm ⁇ 3 or less, or 1 ⁇ 10 10 cm ⁇ 3 or less.
  • the lower limit of the carrier concentration of the channel formation region is not particularly limited, but can be, for example, 1 ⁇ 10 ⁇ 9 cm ⁇ 3 .
  • the impurity concentration in the oxide semiconductor film is reduced to reduce the density of defect states.
  • a low impurity concentration and a low density of defect states are referred to as high-purity intrinsic or substantially high-purity intrinsic.
  • an oxide semiconductor with a low carrier concentration may be referred to as a high-purity intrinsic or substantially high-purity intrinsic oxide semiconductor.
  • a highly pure intrinsic or substantially highly pure intrinsic oxide semiconductor film may have a low density of trap states because of its low density of defect states.
  • the charge trapped in the trap states of the oxide semiconductor takes a long time to disappear and may behave as if it were a fixed charge. Therefore, a transistor in which a channel formation region is formed in an oxide semiconductor with a high density of trap states may have unstable electrical characteristics.
  • an impurity in an oxide semiconductor refers to, for example, anything other than the main component that constitutes the oxide semiconductor.
  • an element with a concentration of less than 0.1 atomic % can be considered an impurity.
  • the band gap of the oxide semiconductor is preferably larger than that of silicon (typically 1.1 eV), and is preferably 2 eV or more, more preferably 2.5 eV or more, and further preferably 3.0 eV or more.
  • the off-state current (also referred to as Ioff) of the transistor can be reduced.
  • OS transistors use oxide semiconductors, which are semiconductor materials with a wide band gap, and therefore the short channel effect can be suppressed. In other words, OS transistors are transistors that do not have the short channel effect or have an extremely small short channel effect.
  • the short channel effect is a degradation of electrical characteristics that becomes evident as transistors are miniaturized (channel length is reduced).
  • Specific examples of short channel effects include a decrease in threshold voltage, an increase in subthreshold swing value (sometimes referred to as S value), and an increase in leakage current.
  • S value refers to the amount of change in gate voltage in the subthreshold region that changes the drain current by one order of magnitude at a constant drain voltage.
  • characteristic length is widely used as an index of resistance to short channel effects.
  • Characteristic length is an index of how easily the potential of the channel formation region bends. The smaller the characteristic length, the steeper the potential rises, and therefore the more resistant it is to short channel effects.
  • OS transistors are accumulation-type transistors, while Si transistors are inversion-type transistors. Therefore, compared to Si transistors, OS transistors have smaller characteristic lengths between the source region and the channel-forming region, and between the drain region and the channel-forming region. Therefore, OS transistors are more resistant to the short-channel effect than Si transistors. In other words, when it is desired to manufacture a transistor with a short channel length, OS transistors are more suitable than Si transistors.
  • the OS transistor can also be regarded as having an n + / n ⁇ /n + accumulation-type junction-less transistor structure or an n + /n ⁇ /n + accumulation-type non-junction transistor structure in which the channel formation region is an n ⁇ type region and the source and drain regions are n + type regions.
  • the OS transistor can have good electrical characteristics even when the semiconductor device is miniaturized or highly integrated. For example, good electrical characteristics can be obtained even when the channel length or gate length of the OS transistor is 20 nm or less, 15 nm or less, 10 nm or less, 7 nm or less, or 6 nm or less, and 1 nm or more, 3 nm or more, or 5 nm or more.
  • the gate length is the length of the gate electrode in the direction in which carriers move inside the channel formation region when the transistor is operating.
  • the cutoff frequency of the transistor can be improved.
  • the cutoff frequency of the transistor can be set to, for example, 50 GHz or more, preferably 100 GHz or more, and more preferably 150 GHz or more in a room temperature environment.
  • an oxide semiconductor contains a large amount of aluminum unintentionally, the physical properties of the oxide semiconductor may be affected. For example, if aluminum is present in an oxidized state (such as Al 2 O 3 ), the resistance of the oxide semiconductor increases. If an oxide semiconductor with a high resistance is used in a channel formation region of a transistor, the on-state current of the transistor decreases.
  • aluminum has a high bond dissociation energy with oxygen and functions as a carrier suppressing element.
  • the presence of aluminum in an oxide semiconductor can make it difficult for oxygen vacancies (Vo) to be generated. If an oxide semiconductor in which Vo is unlikely to be generated is used in the channel formation region of a transistor, negative bias light photodegradation of the transistor can be suppressed.
  • the aluminum concentration in the oxide semiconductor so that the reliability and electrical characteristics of the transistor are both good.
  • the aluminum concentration in the channel formation region of the oxide semiconductor obtained by STEM-EDX is preferably 0.01 atomic% or more, and preferably 10 atomic% or less, more preferably 5 atomic% or less, more preferably 3 atomic% or less, more preferably 1 atomic% or less, and even more preferably 0.1 atomic% or less. Or it may be 0.01 atomic% or less.
  • the aluminum concentration in the channel formation region of the oxide semiconductor measured by SIMS is preferably 1 ⁇ 10 22 atoms/cm 3 or less, more preferably 1 ⁇ 10 21 atoms/cm 3 or less, still more preferably 1 ⁇ 10 20 atoms/cm 3 or less, still more preferably 5 ⁇ 10 19 atoms/cm 3 or less, still more preferably 1 ⁇ 10 19 atoms/cm 3 or less, still more preferably 5 ⁇ 10 18 atoms/cm 3 or less, and still more preferably 1 ⁇ 10 18 atoms/cm 3 or less.
  • the presence of aluminum and the state of the aluminum present can be confirmed by the Al2p spectrum obtained by XPS analysis of an oxide semiconductor. For example, if the peak position is in the range of 74.2 eV to 74.8 eV, it can be said that aluminum is present in an oxidized state.
  • the carbon concentration in a channel formation region of the oxide semiconductor measured by SIMS is 1 ⁇ 10 20 atoms/cm 3 or less, preferably 5 ⁇ 10 19 atoms/cm 3 or less, more preferably 3 ⁇ 10 19 atoms/cm 3 or less, more preferably 1 ⁇ 10 19 atoms/cm 3 or less, more preferably 3 ⁇ 10 18 atoms/cm 3 or less, and further preferably 1 ⁇ 10 18 atoms/cm 3 or less.
  • the silicon concentration in the channel formation region of the oxide semiconductor measured by SIMS is 1 ⁇ 10 20 atoms/cm 3 or less, preferably 5 ⁇ 10 19 atoms/cm 3 or less, more preferably 3 ⁇ 10 19 atoms/cm 3 or less, more preferably 1 ⁇ 10 19 atoms/cm 3 or less, more preferably 3 ⁇ 10 18 atoms/cm 3 or less, and still more preferably 1 ⁇ 10 18 atoms/cm 3 or less.
  • the nitrogen concentration in a channel formation region of an oxide semiconductor obtained by SIMS is set to 1 ⁇ 10 20 atoms/cm 3 or less, preferably 5 ⁇ 10 19 atoms/cm 3 or less, more preferably 1 ⁇ 10 19 atoms/cm 3 or less, more preferably 5 ⁇ 10 18 atoms/cm 3 or less, more preferably 1 ⁇ 10 18 atoms/cm 3 or less, and further preferably 5 ⁇ 10 17 atoms/cm 3 or less.
  • Hydrogen contained in the oxide semiconductor reacts with oxygen bonded to a metal atom to form water, which may form an oxygen vacancy.
  • an electron serving as a carrier may be generated.
  • some of the hydrogen may bond to oxygen bonded to a metal atom to generate an electron serving as a carrier. Therefore, a transistor using an oxide semiconductor containing hydrogen is likely to have normally-on characteristics. For this reason, it is preferable that hydrogen in a channel formation region of the oxide semiconductor is reduced as much as possible.
  • the hydrogen concentration in the channel formation region of the oxide semiconductor obtained by SIMS is 1 ⁇ 10 20 atoms/cm 3 or less, preferably 5 ⁇ 10 19 atoms/cm 3 or less, more preferably 1 ⁇ 10 19 atoms/cm 3 or less, more preferably 5 ⁇ 10 18 atoms/cm 3 or less, and further preferably 1 ⁇ 10 18 atoms/cm 3 or less.
  • the concentration of the alkali metal or the alkaline earth metal in a channel formation region of the oxide semiconductor obtained by SIMS is set to 1 ⁇ 10 18 atoms/cm 3 or less, preferably 2 ⁇ 10 16 atoms/cm 3 or less.
  • a first source gas (sometimes called a precursor, precursor, or metal precursor) for the reaction and a second source gas (sometimes called a reactant, reactant, oxidizer, or nonmetal precursor) are alternately introduced into the chamber, and the introduction of these source gases is repeated to form a film.
  • the introduction of the source gas can be switched, for example, by switching the respective switching valves (sometimes called high-speed valves).
  • an inert gas such as nitrogen (N 2 ), argon (Ar), or helium (He) may be introduced into the chamber together with the source gas as a carrier gas.
  • the uniformity of the film formed is also improved, which is preferable.
  • precursor 11a is introduced into a chamber and the precursor 11a is adsorbed onto the surface of substrate 10.
  • ALD window is determined by the temperature characteristics, vapor pressure, decomposition temperature, etc. of the precursor.
  • an inert gas e.g., argon, helium, or nitrogen
  • the second step is also called purging.
  • vacuum exhaust refers to exhausting at a pressure at least lower than atmospheric pressure (reduced pressure state).
  • a reactant 12a e.g., an oxidizing agent
  • a reactant 12a is introduced into the chamber and reacted with the precursor 11a adsorbed on the surface of the substrate 10, so that some of the components contained in the precursor 11a are desorbed while the metal elements constituting the precursor 11a are still adsorbed on the substrate 10.
  • a layer of oxide 13a formed by oxidizing part of the precursor 11a is formed on the surface of the substrate 10.
  • the oxidizing agent may be ozone (O 3 ), oxygen (O 2 ), water (H 2 O), nitrogen dioxide (N 2 O), hydrogen peroxide (H 2 O 2 ), and plasma, radicals, ions, and the like of these.
  • oxygen may be constantly supplied as an oxidizing agent and plasma may be generated in the third step.
  • oxygen plasma is formed in the third step and functions as reactant 12a.
  • a precursor 11a that does not react with oxygen heated to the above temperature may be used in any step other than the third step.
  • precursor 11b having a metal element different from precursor 11a is introduced, and a process similar to the first step is carried out to adsorb precursor 11b onto the surface of the oxide layer 13a.
  • the precursor 11b is adsorbed to the layer of oxide 13a, and a self-terminating mechanism of the surface chemical reaction is activated, so that the precursor 11b is not further adsorbed onto the layer of precursor 11b on the substrate 10.
  • reactant 12b is introduced into the chamber, and a process similar to the third step is carried out. As a result, a layer of oxide 13b, which is formed by oxidizing a portion of precursor 11b, is formed on the layer of oxide 13a.
  • Reactant 12b may be made of the same material as reactant 12a, or it may be made of a different material.
  • steps 1 to 4 are performed to form a layer of oxide 13c on the layer of oxide 13b.
  • a compound having a metal element different from that of precursors 11a and 11b is used as the precursor.
  • the reactant may be the same material as one or both of reactants 12a and 12b, or may be a material different from either of them.
  • an oxide layer can be formed by performing steps 1 to 4 as one set (also referred to as one cycle), and by repeating this set, a layered crystal structure in which multiple oxide layers are stacked can be formed.
  • the thickness of the metal oxide with a layered crystal structure is preferably 1 nm or more and less than 100 nm, and more preferably 3 nm or more and less than 20 nm.
  • the process shown in FIG. 1 is preferably performed while heating the substrate.
  • the substrate temperature is preferably set to 200° C. or higher and 600° C. or lower, and more preferably 300° C. or higher and 450° C. or lower.
  • the substrate temperature is preferably set to a temperature lower than the decomposition temperature of any of the precursors used. This allows the multiple types of precursors used to be adsorbed onto the target (e.g., substrate) during film formation by the ALD method without being decomposed.
  • impurities such as hydrogen or carbon contained in the precursor or reactant can be removed from the metal oxide in each of the first to fourth steps.
  • carbon in the metal oxide can be released as CO 2 or CO.
  • hydrogen in the metal oxide can be released as H 2 O.
  • rearrangement of metal atoms and oxygen atoms can be performed, and each oxide layer can be arranged with high order. Therefore, a metal oxide with a highly crystalline layered crystal structure, particularly a metal oxide with a CAAC structure, can be formed.
  • FIG. 1A illustrates an example of a configuration in which precursor 11a is adsorbed onto substrate 10, but is not limited to this.
  • an insulating film insulating film having one or more of oxygen, nitrogen, silicon, aluminum, hafnium, etc.
  • a conductive film conductive film having one or more of tungsten, tantalum, molybdenum, zirconium, aluminum, titanium, etc.
  • precursor 11a may be adsorbed onto a structure formed of an insulating film, a conductive film, etc. on substrate 10.
  • the decomposition temperature of the precursor used in the film formation is not too low.
  • the decomposition temperature of the precursor is preferably 200°C or higher and 700°C or lower, more preferably 300°C or higher and 650°C or lower, and even more preferably 400°C or higher and 600°C or lower.
  • Inorganic precursors contain less impurities such as hydrogen and carbon, and can prevent an increase in the impurity concentration in the metal oxide film being formed. On the other hand, inorganic precursors tend to have a higher decomposition temperature than organic precursors.
  • a method for forming a metal oxide film uses an organic precursor, forms the film while heating the substrate, and performs an impurity removal process, thereby suppressing an increase in the impurity concentration in the metal oxide film being formed.
  • the frequency of the impurity removal treatment is not particularly limited. A higher frequency is preferable because it is easier to remove impurities, but there is a risk of lower productivity. A lower frequency is preferable because it is possible to shorten the time of the metal oxide film formation process, but there is a risk of impurities not being sufficiently removed.
  • the impurity removal treatment can be performed each time one of oxides 13a to 13c is formed, but it is preferable to perform the impurity removal treatment each time multiple oxide layers are formed or multiple stacked structures 14 are formed, because this simplifies the process.
  • the impurity removal treatment may be performed once after the metal oxide film formation is completed.
  • the impurity removal treatment may be performed every time n oxide layers (n is an integer of 1 to 100, preferably an integer of 2 to 50, more preferably an integer of 5 to 30) are formed.
  • a metal oxide can be formed by repeatedly forming oxides 13a, 13b, 13c, 13a, and 13b in this order, performing the impurity removal treatment, forming oxides 13c, 13a, 13b, 13c, and 13a in this order, performing the impurity removal treatment, forming oxides 13b, 13c, 13a, 13b, and 13c in this order, and performing the impurity removal treatment.
  • an impurity removal process may be performed every time m layers (m is an integer between 1 and 50, preferably between 2 and 30, more preferably between 5 and 10) of the laminate structure 14 are formed.
  • examples of impurity removal treatments include plasma treatment, microwave treatment, and heat treatment.
  • the impurity removal treatment may also be performed while irradiating light.
  • the chamber in which the impurity removal process is performed may be the same as the chamber in which the first to fourth steps are performed, or it may be a different chamber.
  • the chamber for film formation and the chamber for impurity removal process may be the same or different.
  • the substrate temperature is preferably set to room temperature (e.g., 25°C) or higher, 100°C or higher, 200°C or higher, 300°C or higher, or 400°C or higher, and 500°C or lower, or 450°C or lower.
  • the temperature of the heat treatment is preferably set to 100°C or higher, 200°C or higher, 300°C or higher, or 400°C or higher, and 500°C or lower, or 450°C or lower.
  • the temperature during the impurity removal treatment is preferably set to a temperature equal to or lower than the maximum temperature in the manufacturing process of the transistor or semiconductor device, in particular, so that the content of impurities in the metal oxide can be reduced without reducing productivity.
  • the processing time of the third step can be extended to allow the plasma treatment to also function as an impurity removal treatment.
  • the third step can be performed once out of multiple times for a longer processing time than the other times, making it a process that also serves as an impurity removal treatment.
  • microwave processing refers to processing using, for example, a device having a power source that generates high-density plasma using microwaves.
  • microwaves refer to electromagnetic waves having a frequency of 300 MHz or more and 300 GHz or less.
  • Microwave processing can also be called microwave-excited high-density plasma processing.
  • the microwave treatment it is preferable to use a microwave treatment device having a power source that generates high-density plasma using microwaves.
  • the frequency of the microwave treatment device is preferably 300 MHz or more and 300 GHz or less, more preferably 2.4 GHz or more and 2.5 GHz or less, and can be set to, for example, 2.45 GHz.
  • the power of the power source that applies microwaves in the microwave treatment device is preferably 1000 W or more and 10000 W or less, more preferably 2000 W or more and 5000 W or less.
  • the microwave treatment device may have a power source that applies RF to the substrate side. In addition, by applying RF to the substrate side, oxygen ions generated by high-density plasma can be efficiently guided into the film.
  • the microwave treatment is preferably carried out under reduced pressure, with the pressure being preferably from 10 Pa to 1000 Pa, and more preferably from 300 Pa to 700 Pa.
  • the treatment temperature is preferably from room temperature (25°C) to 750°C, more preferably from 300°C to 500°C, and can be from 400°C to 450°C.
  • a heat treatment may be performed continuously without exposure to the outside air.
  • the temperature of the heat treatment is, for example, preferably 100°C or higher and 750°C or lower, more preferably 300°C or higher and 500°C or lower, and even more preferably 400°C or higher and 450°C or lower.
  • the microwave treatment can be performed using, for example, oxygen gas and argon gas.
  • the oxygen flow ratio ( O2 /( O2 +Ar)) is greater than 0% and less than 100%.
  • the oxygen flow ratio ( O2 /( O2 +Ar)) is greater than 0% and less than 50%. More preferably, the oxygen flow ratio ( O2 /( O2 +Ar)) is greater than 10% and less than 40%. Even more preferably, the oxygen flow ratio ( O2 /( O2 +Ar)) is greater than 10% and less than 30%.
  • the heat treatment is performed in a nitrogen gas or inert gas atmosphere, or in an atmosphere containing 10 ppm or more, 1% or more, or 10% or more of an oxidizing gas.
  • a nitrogen gas or inert gas atmosphere or in an atmosphere containing 10 ppm or more, 1% or more, or 10% or more of an oxidizing gas.
  • the heat treatment may be performed under reduced pressure.
  • the heat treatment may be performed in an atmosphere containing 10 ppm or more, 1% or more, or 10% or more of an oxidizing gas to compensate for the oxygen that has been desorbed.
  • the heat treatment may be performed in an atmosphere of ultra-dry air (air with a water content of 20 ppm or less, preferably 1 ppm or less, preferably 10 ppb or less).
  • the gas used in the heat treatment is highly purified.
  • the amount of moisture contained in the gas used in the heat treatment is preferably 1 ppb or less, more preferably 0.1 ppb or less, and even more preferably 0.05 ppb or less.
  • impurities such as hydrogen or carbon contained in the metal oxide can be removed.
  • carbon in the metal oxide can be released as CO2 and CO
  • hydrogen in the metal oxide can be released as H2O .
  • the heat treatment is preferably performed at 100°C or higher and 500°C or lower, more preferably 200°C or higher and 500°C or lower, even more preferably 250°C or higher and 500°C or lower, even more preferably 300°C or higher and 500°C or lower, even more preferably 350°C or higher and 450°C or lower, and even more preferably 400°C or higher and 450°C or lower.
  • the heat treatment is performed in an atmosphere of nitrogen gas or inert gas, or an atmosphere containing 10 ppm or more, 1% or more, or 10% or more of an oxidizing gas.
  • the heat treatment may also be performed under reduced pressure.
  • heat treatment may be performed in an atmosphere containing 10 ppm or more, 1% or more, or 10% or more of an oxidizing gas to compensate for the oxygen that has been released.
  • impurities such as hydrogen or carbon contained in the metal oxide can be removed.
  • carbon in the metal oxide can be released as CO2 and CO
  • hydrogen in the metal oxide can be released as H2O .
  • rearrangement of metal atoms and oxygen atoms can be carried out, improving crystallinity. Therefore, a metal oxide having a highly crystalline layered crystal structure, particularly a metal oxide having the above CAAC structure, can be formed.
  • plasma treatment or microwave treatment may be performed.
  • the stack structure 14 of oxides 13a to 13c is repeated, but the present invention is not limited to this.
  • a metal oxide in which a single layer, two layers, or four or more oxide layers are repeatedly formed may be used.
  • the oxides 13a, 13b, and 13c are repeatedly stacked without changing the order, but the present invention is not limited to this.
  • the order of the oxides 13a, 13b, and 13c may be changed each time the layers are stacked.
  • the composition of the oxides 13a, 13b, and 13c may be changed in the middle of the film.
  • oxide 13a different oxide layers are provided adjacent to each other, such as oxide 13a, oxide 13b, and oxide 13c, but the present invention is not limited to this.
  • a structure in which the same oxide layers are continuously provided such as oxide 13a, oxide 13a, oxide 13b, oxide 13b, oxide 13c, and oxide 13c, may be used.
  • ozone, oxygen, or water when used as a reactant or oxidant, these are not limited to gaseous or molecular states, but also include plasma, radical, and ionic states.
  • a radical ALD device or plasma ALD device described below may be used.
  • the pulse time for introducing the oxidizing agent may be increased.
  • examples of the preferred time for supplying the oxidizing agent in one cycle are as described above.
  • the oxidizing agent may be introduced multiple times. When the oxidizing agent is introduced multiple times, the same type of oxidizing agent may be introduced, or different types of oxidizing agents may be introduced. For example, water may be introduced into the chamber as the first oxidizing agent, and then the chamber may be evacuated, and ozone or oxygen not containing hydrogen may be introduced into the chamber as the second oxidizing agent, and then the chamber may be evacuated.
  • the present invention is not limited to this.
  • the second source gas may be introduced into the chamber and then the first source gas may be introduced into the chamber.
  • the third step and the fourth step may be performed first, and then the first step, the second step, the third step, and the fourth step may be performed, and thereafter the first step to the fourth step may be repeated to form a film.
  • the third step and the fourth step may be repeated multiple times, and then the first step to the fourth step may be repeated to form a film.
  • the film formation atmosphere in the chamber can be controlled.
  • O 3 and O 2 can be introduced as oxidizing agents to create an oxygen atmosphere in the chamber.
  • the oxygen concentration in the film to be formed can be increased, which is preferable.
  • oxygen can be supplied to the insulator and oxide that are the base of the film.
  • a semiconductor device formed using such a method has good characteristics and can obtain high reliability.
  • water can be introduced as an oxidizing agent to form a hydrophilic group on the formation surface. This can further improve the adsorption of the precursor.
  • the introduction of the second raw material gas in the third step and the vacuum evacuation or introduction of the inert gas in the fourth step may be repeated multiple times.
  • the first and second steps may be performed after the first, second, third, fourth, third, fourth steps, third, fourth steps, and so on.
  • O3 and O2 may be introduced as oxidizing agents in the third step, and an inert gas may be introduced in the fourth step, and this process may be repeated multiple times.
  • an inert gas may be introduced in the fourth step, and this process may be repeated multiple times.
  • H2O may be used as an oxidizing agent in the first third step
  • O3 may be used as an oxidizing agent in the second or subsequent third steps.
  • the amount of desorbed water molecules is 1.0 ⁇ 10 13 molecules/cm 2 to 1.0 ⁇ 10 16 molecules/cm 2 , preferably 1.0 ⁇ 10 13 molecules/cm 2 to 3.0 ⁇ 10 15 molecules/cm 2 , in the surface temperature range of 100° C. to 700° C. or 100° C. to 500° C. as determined by TDS analysis.
  • the ALD method is a film formation method in which precursors and reactants are reacted using thermal energy.
  • the temperature required for the reaction of the precursors and reactants is determined by their temperature characteristics, vapor pressure, decomposition temperature, etc., but is 100°C to 600°C, preferably 200°C to 600°C, and more preferably 300°C to 600°C.
  • the ALD method in which a plasma-excited reactant is introduced into the chamber as a third source gas is sometimes called the plasma ALD method.
  • a plasma generating device is provided at the introduction point of the third source gas.
  • ICP Inductively Coupled Plasma
  • the ALD method in which the precursor and reactant react using thermal energy is sometimes called the thermal ALD method.
  • a plasma-excited reactant is introduced in the third step to form a film.
  • the first to fourth steps are repeated and a plasma-excited reactant (second reactant) is introduced at the same time to form a film.
  • the reactant introduced in the third step is called the first reactant.
  • the second reactant used in the third raw material gas can be made of a material similar to the oxidizing agent. That is, plasma-excited ozone, oxygen, and water can be used as the second reactant.
  • a nitriding agent may be used as the second reactant.
  • nitriding agent nitrogen (N 2 ) or ammonia (NH 3 ) can be used.
  • a mixed gas of nitrogen (N 2 ) and hydrogen (H 2 ) can be used as the nitriding agent.
  • a mixed gas of 5% nitrogen (N 2 ) and 95% hydrogen (H 2 ) can be used as the nitriding agent.
  • argon (Ar), helium (He) or nitrogen (N 2 ) may be used as the carrier gas of the second reactant.
  • a carrier gas such as argon, helium or nitrogen
  • nitrogen when forming an oxide film such as a metal oxide film using the plasma ALD method, if nitrogen is used as the carrier gas, nitrogen may be mixed into the film, and the desired film quality may not be obtained. In this case, it is preferable to use argon or helium as the carrier gas.
  • the ALD method can deposit extremely thin films with uniform thickness. It also has a high surface coverage rate, even on uneven surfaces.
  • the plasma ALD method it is possible to form a film at an even lower temperature than with the thermal ALD method.
  • the plasma ALD method it is sometimes possible to form a film at temperatures below 100°C without reducing the film formation rate.
  • plasma damage can be reduced by generating plasma from a plasma source such as an inductively coupled plasma (ICP) or electron cyclotron resonance plasma (ECR) away from the substrate.
  • a plasma source such as an inductively coupled plasma (ICP) or electron cyclotron resonance plasma (ECR) away from the substrate.
  • ICP inductively coupled plasma
  • ECR electron cyclotron resonance plasma
  • Figure 2A is a diagram showing an oxide 60 having an In-M-Zn oxide formed on a structure 50.
  • the structure refers to an element that constitutes a semiconductor device such as a transistor.
  • the structure 50 includes conductors such as a substrate, a gate electrode, a source electrode, and a drain electrode, insulators such as a gate insulating film, an interlayer insulating film, and a base insulating film, and semiconductors such as metal oxides or silicon.
  • Figure 2A shows a case where the surface of the structure 50 to be deposited is arranged parallel to the substrate (not shown).
  • Fig. 2B is an enlarged view showing the atomic arrangement in a crystal in a region 53 which is a part of the oxide 60 in Fig. 2A.
  • the element M is a metal element with a valence of +3.
  • the crystals of oxide 60 are formed by repeatedly stacking a layer 21 having indium (In) and oxygen, a layer 31 having element M and oxygen, and a layer 41 having zinc (Zn) and oxygen, in that order.
  • Layers 21, 31, and 41 are arranged parallel or approximately parallel to the deposition surface of structure 50. That is, the a-b plane of oxide 60 is parallel or approximately parallel to the deposition surface of structure 50, and the c-axis of oxide 60 is parallel or approximately parallel to the normal direction of the deposition surface of structure 50.
  • each of layers 21, 31, and 41 of the crystal is composed of one metal element and oxygen, and is arranged with good crystallinity, which increases the mobility of the metal oxide.
  • the order of stacking layers 21, 31, and 41 may be changed.
  • layers 21, 41, and 31 may be repeatedly stacked in this order.
  • layers 21, 31, 41, 21, 41, and 31 may be repeatedly stacked in this order.
  • part of the element M in layer 31 may be replaced with zinc, and part of the zinc in layer 41 may be replaced with element M.
  • Figure 2C shows an oxide 62 having an In-M-Zn oxide formed on the structure 50.
  • Figure 2D is an enlarged view showing the atomic arrangement in the crystal in region 54, which is part of the oxide 62 in Figure 2C.
  • the crystal of oxide 62 has layer 23 having indium (In), element M, and oxygen, layer 41 having zinc (Zn) and oxygen, and layer 31 having element M and oxygen.
  • oxide 62 multiple layers are repeatedly stacked in the order of layer 23, layer 41, layer 31, and layer 41.
  • Layer 23, layer 31, and layer 41 are arranged parallel or approximately parallel to the deposition surface of structure 50.
  • the a-b plane of oxide 62 is parallel or approximately parallel to the deposition surface of structure 50
  • the c-axis of oxide 62 is parallel or approximately parallel to the normal direction of the deposition surface of structure 50.
  • the stacking order of layers 23, 31, and 41 may be changed.
  • part of the element M in layer 31 may be replaced with zinc
  • part of the zinc in layer 41 may be replaced with element M.
  • layer 21 or layer 31 may be formed instead of layer 23.
  • FIG. 3A a laminated structure may be formed in which oxide 62 is formed on structure 50, and oxide 60 is formed on top of that.
  • FIG. 3B is an enlarged view showing the atomic arrangement in the crystal in region 56, which is a part of oxide 62 and oxide 60 in FIG. 3A.
  • the oxide shown in FIG. 3A is an oxide film in which the atomic ratio changes midway through the film.
  • the crystallinity of oxide 60 on oxide 62 can be improved.
  • the oxide 62 and the oxide 60 are not limited to the structure shown in FIG. 3B, and as described above, the structures of the oxide 62 and the oxide 60 may be changed.
  • the layer 21 is disposed at the boundary between the oxide 62 and the oxide 60, but this is not limited thereto.
  • the layer 23 may be formed at the boundary between the oxide 62 and the oxide 60.
  • the ALD method allows deposition on structures with high aspect ratios, and allows deposition with excellent coverage on the side surfaces of structures.
  • crystalline metal oxides such as CAAC structures can be easily formed regardless of the orientation of the surface to be deposited.
  • metal oxides can be formed with good coverage on the top, bottom, side, and inclined surfaces of the structure. That is, metal oxides having an approximately constant film thickness in the normal direction can be formed on each surface to be deposited.
  • the ratio of the minimum film thickness to the maximum film thickness can be 0.5 to 1, preferably 0.7 to 1, and more preferably 0.9 to 1.
  • the metal oxide has a crystalline structure
  • its c-axis is oriented in a direction approximately parallel to the normal direction of each surface to be deposited. That is, the c-axis is oriented perpendicular to each surface to be deposited.
  • FIG. 3C shows a case where the deposition surface of the structure 50 is arranged perpendicular to the substrate (not shown), and an oxide 64 is formed on the surface of the structure 50.
  • FIG. 3D is an enlarged view of a region 58 which is a part of the oxide 64 in FIG. 3C.
  • FIG. 3D shows a state where a layer 21 containing indium (In), a layer 31 containing element M, and a layer 41 containing zinc (Zn) are stacked on the side surface of the structure 50.
  • the layer 21 containing indium is arranged parallel or approximately parallel to the deposition surface of the structure 50
  • the layer 31 containing element M is arranged parallel or approximately parallel to the deposition surface of the structure 50 thereon
  • the layer 41 containing zinc is arranged parallel or approximately parallel to the deposition surface of the structure 50 thereon. That is, the a-b plane of the oxide 60 is parallel or approximately parallel to the deposition surface of the structure 50, and the c-axis of the oxide 60 is parallel or approximately parallel to the normal direction of the deposition surface of the structure 50.
  • metal oxides with atomic ratios of [In]:[M]:[Zn] 0:2:1, and those close to this ratio, as shown in Figures 4A, 4B, and 4C, tend to have a spinel-type crystal structure.
  • multiple phases may coexist in a metal oxide (two-phase coexistence, three-phase coexistence, etc.).
  • a metal oxide two-phase coexistence, three-phase coexistence, etc.
  • two phases, a spinel-type crystal structure and a layered crystal structure tend to coexist.
  • two phases, a bixbyite-type crystal structure and a layered crystal structure tend to coexist.
  • grain boundaries may be formed between the different crystal structures.
  • Area A in FIG. 4A shows an example of a preferred range of atomic ratios of indium, element M, and zinc in the metal oxide.
  • a metal oxide with a high indium content has a higher carrier mobility than a metal oxide with a low indium content.
  • region C includes the aforementioned region that is likely to have a spinel crystal structure, so it is preferable to have a composition that avoids the region that is likely to have a spinel crystal structure.
  • the metal oxide used in the channel formation region and the low resistance region preferably has an atomic ratio shown in region A of FIG. 4A, which has high carrier mobility.
  • the metal oxide is provided so as to surround the channel formation region and the low resistance region, it is preferable to have an atomic ratio shown in region C of FIG. 4C, which has relatively high insulation.
  • the metal oxide provided so as to surround the channel formation region and the low resistance region may be the same as the metal oxide used in the channel formation region and the low resistance region.
  • region B shown in FIG. 4B even among regions A, excellent metal oxides with high carrier mobility and high reliability can be obtained.
  • the electrical conductivity characteristics of the metal oxide vary greatly depending on the atomic ratio.
  • a raw material gas containing a precursor having indium is introduced into the chamber, and the precursor is adsorbed onto the surface of the structure 50.
  • the aluminum content of the indium-containing precursor is preferably 0.001 ppm or more, 0.01 ppm or more, or 0.1 ppm or more, and is preferably 1000 ppm or less, more preferably 500 ppm or less, more preferably 100 ppm or less, more preferably 50 ppm or less, more preferably 10 ppm or less, and even more preferably 1 ppm or less.
  • the aluminum content of the indium-containing precursor may be 0.001 ppm or less.
  • the precursor used in this embodiment it is preferable to use a precursor that has been purified by performing distillation (also called rectification) two or more times.
  • distillation also called rectification
  • By using such a precursor it is easy to form a film of a metal oxide with few impurities, which is preferable.
  • distillation multiple times it is possible to further suppress impurities caused by the starting materials used in the production of the precursor from remaining in the precursor, which is preferable.
  • the present invention is not limited to the above, and a precursor that has been distilled once, i.e., purified by simple distillation, may be used. By using simple distillation, it is possible to reduce production costs, which is preferable.
  • the precursor-containing raw material gas includes, in addition to the precursor, a carrier gas such as argon, helium, or nitrogen.
  • precursors containing indium include trimethylindium (structural formula (101) below), triethylindium (structural formula (102) below), ethyldimethylindium, tris(1-methylethyl)indium, tris(2,2,6,6-tetramethyl-3,5-heptanedionate)indium, cyclopentadienylindium, indium(III) acetylacetonate, (diethylphosphino)dimethylindium, chlorodimethylindium, bromodimethylindium, dimethyl(2-propanolato)indium, trifluoroindium (indium(III) fluoride), indium(III) chloride, indium(III) bromide, and indium(III) iodide.
  • the introduction of the source gas is stopped, and the chamber is purged to remove excess precursors and reaction products from the chamber.
  • an oxidizing agent containing oxygen is introduced into the chamber as a reactant and reacted with the adsorbed precursor, so that components other than indium are desorbed while leaving indium adsorbed on the substrate, thereby forming a layer 21 in which indium and oxygen are combined.
  • oxidizing agent ozone (O 3 ), oxygen (O 2 ), water (H 2 O), nitrogen dioxide (N 2 O), hydrogen peroxide (H 2 O 2 ), and plasma, radicals, and ions thereof can be used.
  • the proportion of ozone in the gas is preferably 10% or more, more preferably 20% or more, more preferably 30% or more, more preferably 40% or more, more preferably 50% or more, more preferably 60% or more, more preferably 70% or more, more preferably 80% or more, more preferably 90% or more, and particularly preferably 100%.
  • a higher proportion of ozone is preferable because it promotes the oxidation of the metal and reduces the carbon concentration in the metal oxide.
  • a source gas containing a precursor having element M is introduced into the chamber, and the precursor is adsorbed onto layer 21.
  • the precursor is adsorbed onto layer 21.
  • gallium or tin it is preferable to use gallium or tin as element M.
  • the aluminum content of the precursor having element M is preferably 0.001 ppm or more, 0.01 ppm or more, or 0.1 ppm or more, and is preferably 1000 ppm or less, more preferably 500 ppm or less, more preferably 100 ppm or less, more preferably 50 ppm or less, more preferably 10 ppm or less, and even more preferably 1 ppm or less.
  • the aluminum content of the precursor having element M may also be 0.001 ppm or less.
  • precursors having gallium include trimethylgallium, triethylgallium (structural formula (103) below), tris(dimethylamido)gallium (structural formula (104) below), triphenylgallium, diethyl(3-methyl-2,4-cyclopropanediene-1-yl)gallium, [4-(1,1-dimethyl)phenyl]dimethylgallium, dimethyl(4-methylphenyl)gallium, dimethylphenylgallium, methyldiphenylgallium, ethyldimethylgallium, dimethylmethylenegallium, gallium(III) acetylacetonate, tris(2,2 ,6,6-tetramethyl-3,5-heptanedionate)gallium, dimethyl(2-methyl-2-propanolato)gallium, methoxydimethylgallium, hydroxydimethylgallium, (methanethiolato)dimethylgallium
  • precursors containing tin include tetramethyltin, tetraethyltin, tetraethenyltin, tetraallyltin, tributylvinyltin, allyltributyltin, tributylstannylacetylene, tributylphenyltin, chlorotrimethyltin, chlorotriethyltin, tin(IV) fluoride, tin(IV) chloride, tin(IV) bromide, and tin(IV) iodide.
  • the introduction of the source gas is stopped, and the chamber is purged to remove excess precursors and reaction products from the chamber.
  • an oxidizing agent is introduced into the chamber as a reactant and reacted with the adsorbed precursor, so that the components other than element M are desorbed while element M is still adsorbed on the substrate, thereby forming layer 31 in which element M is combined with oxygen.
  • some of the oxygen adsorbed on layer 31 may constitute layer 41, which will be described later.
  • a raw material gas containing a zinc-containing precursor is introduced into the chamber, and the precursor is adsorbed onto layer 31. At this time, a part of layer 41 in which zinc and oxygen are combined may be formed.
  • the aluminum content of the zinc-containing precursor is preferably 0.001 ppm or more, 0.01 ppm or more, or 0.1 ppm or more, and is preferably 1000 ppm or less, more preferably 500 ppm or less, more preferably 100 ppm or less, more preferably 50 ppm or less, more preferably 10 ppm or less, and even more preferably 1 ppm or less.
  • the aluminum content of the zinc-containing precursor may also be 0.001 ppm or less.
  • precursors containing zinc include dimethylzinc, diethylzinc (structural formula (105) below), bis(1-methylethyl)zinc, bis(1,1-dimethylethyl)zinc, dibutylzinc, diethenylzinc, dicyclohexylzinc, bis(2,2,6,6-tetramethyl-3,5-heptanedionate)zinc, zinc fluoride, zinc chloride, chloromethylzinc, zinc bromide, bromomethylzinc, and zinc iodide.
  • the introduction of the source gas is stopped, and the chamber is purged to remove excess precursors and reaction products from the chamber.
  • an oxidizing agent is introduced into the chamber as a reactant and reacted with the adsorbed precursor, thereby desorbing components other than zinc while leaving zinc adsorbed on the substrate, thereby forming a layer 41 in which zinc and oxygen are combined.
  • the total time for supplying the oxidizing agent in the three steps shown in Figures 5B, 5D, and 6B is preferably 10 seconds or more, more preferably 30 seconds or more, more preferably 60 seconds or more, more preferably 90 seconds or more, even more preferably 120 seconds or more, and preferably 150 seconds or less, 200 seconds or less, 250 seconds or less, or 300 seconds or less.
  • layer 21 is formed again on layer 41 by the method described above (FIG. 6C).
  • oxide 60 can be formed on the substrate or structure.
  • precursors listed above include those that contain, in addition to metal elements, either or both of carbon and chlorine.
  • Films formed using precursors that contain carbon may contain carbon.
  • Films formed using precursors that contain halogens such as chlorine may contain halogens such as chlorine.
  • the steps shown in FIGS. 5A to 5D and 6A to 6C are preferably performed while heating the substrate.
  • the substrate temperature is preferably 150° C. or more, 200° C. or more, or 250° C. or more. Also, it is preferable to set the substrate temperature to 600° C. or less, 500° C. or less, 450° C. or less, 400° C. or less, or the decomposition temperature of the precursor or less. Also, when ozone is used as the oxidizing agent, it is preferable to set the temperature to the decomposition temperature of ozone or less.
  • impurities such as hydrogen or carbon contained in the precursor or reactant can be removed from the metal oxide in each process of FIGS. 5A to 6C.
  • carbon in the metal oxide can be released as CO 2 and CO
  • hydrogen in the metal oxide can be released as H 2 O.
  • rearrangement of metal atoms and oxygen atoms can be performed, and each oxide layer can be arranged in a highly orderly manner. Therefore, a metal oxide having a crystalline portion can be formed.
  • a metal oxide having a highly crystalline layered crystal structure for example, a metal oxide having a CAAC structure, can be formed.
  • n is an integer of 1 to 50, preferably an integer of 2 to 30, more preferably an integer of 5 to 10. It is also preferable to perform the impurity removal process after the formation of the oxide 60.
  • impurities such as hydrogen or carbon contained in the metal oxide can be removed.
  • carbon in the metal oxide can be released as CO2 and CO
  • hydrogen in the metal oxide can be released as H2O .
  • rearrangement of metal atoms and oxygen atoms can be performed, and crystallinity can be improved.
  • a metal oxide having a crystalline portion can be formed.
  • a metal oxide having a highly crystalline layered crystal structure particularly a metal oxide having the above CAAC structure, can be formed.
  • oxide 60 As described above, by forming oxide 60 using the ALD method, it is possible to form a metal oxide having a CAAC structure in which the c-axis is oriented approximately parallel to the normal direction of the deposition surface.
  • 5A to 5D and 6A to 6C show an example in which layer 21 is formed as a layer containing indium, layer 31 is formed thereon as a layer containing element M, and layer 41 is further formed thereon as a layer containing zinc, but this embodiment is not limited to this.
  • One of layer 31 and layer 41 may be formed, layer 21 may be formed thereon, and the other of layer 31 and layer 41 may be formed thereon.
  • one of layer 31 and layer 41 may be formed, the other of layer 31 and layer 41 may be formed thereon, and layer 21 may be formed thereon.
  • the above layers 21, 31, and 41 may be formed appropriately according to the atomic ratio.
  • the formation of layer 41 may be repeated multiple times before and after the formation of layer 31, thereby forming a stack of layers 31 and 41 between two layers 21 having the desired number of atoms, number of layers, and thickness.
  • both the metal oxide of one embodiment of the present invention and another metal oxide may be used.
  • the metal oxide of one embodiment of the present invention may be used in combination with a metal oxide having at least one of indium and zinc and aluminum (which may further contain at least one of gallium and tin).
  • metal oxides containing at least one of indium and zinc and aluminum include indium gallium aluminum oxide (In-Ga-Al oxide), aluminum zinc oxide (Al-Zn oxide, also written as AZO), indium aluminum zinc oxide (In-Al-Zn oxide, also written as IAZO), and indium gallium aluminum zinc oxide (In-Ga-Al-Zn oxide, also written as IGAZO, IGZAO, or IAGZO).
  • precursors containing aluminum include trimethylaluminum, triethylaluminum, chlorodimethylaluminum, dichloromethylaluminum, bromodimethylaluminum, iododimethylaluminum, aluminum acetylacetonate, tris(2,2,6,6-tetramethyl-3,5-heptanedionate)aluminum, dimethylchloroaluminum, diethylchloroaluminum, aluminum(III) chloride, aluminum(III) bromide, and aluminum(III) iodide.
  • Fig. 7 is a schematic diagram of a multi-chamber type film forming apparatus 4000
  • Figs. 8 to 10 are cross-sectional views of an ALD apparatus that can be used for the film forming apparatus 4000.
  • the film forming apparatus 4000 shown in FIG. 7 has a loading/unloading chamber 4002, a loading/unloading chamber 4004, a transfer chamber 4006, a film forming chamber 4008, a film forming chamber 4009, a treatment chamber 4011, and a transfer arm 4014.
  • the loading/unloading chamber 4002, the loading/unloading chamber 4004, the film forming chamber 4008, the film forming chamber 4009, and the treatment chamber 4011 are independently connected to the transfer chamber 4006 via gate valves. This allows continuous processing to be performed in the film forming chamber 4008, the film forming chamber 4009, and the treatment chamber 4011 without exposure to the atmosphere, and prevents impurities from being mixed into the film. In addition, contamination of the interface between the substrate and the film and the interface between each film is reduced, and clean interfaces are obtained.
  • the loading/unloading chamber 4002, the loading/unloading chamber 4004, the transfer chamber 4006, the film-forming chamber 4008, the film-forming chamber 4009, and the processing chamber 4011 are preferably filled with an inert gas (such as nitrogen gas) with a controlled dew point to prevent moisture from adhering thereto, and it is desirable to maintain a reduced pressure.
  • an inert gas such as nitrogen gas
  • An ALD device can be used in the film formation chamber 4008 and the film formation chamber 4009.
  • a film formation device other than an ALD device may be used in either the film formation chamber 4008 or the film formation chamber 4009.
  • film formation devices that can be used in the film formation chamber 4008 and the film formation chamber 4009 include a sputtering device, a plasma enhanced CVD (PECVD: Plasma CVD) device, a thermal CVD (TCVD: Thermal CVD) device, a photo CVD (Photo CVD) device, a metal CVD (MCVD: Metal CVD) device, and a metal organic CVD (MOCVD: Metal CVD) device.
  • a device having functions other than those of a film forming device such as a heating device (typically, a vacuum heating device) or a plasma generating device (typically, a microwave processing device) in the processing chamber 4011.
  • a heating device typically, a vacuum heating device
  • a plasma generating device typically, a microwave processing device
  • the deposition chamber 4008 is an ALD device
  • the deposition chamber 4009 is a sputtering device
  • the treatment chamber 4011 is a heating device
  • a base insulating film can be formed in the deposition chamber 4009
  • an oxide semiconductor film that functions as an active layer can be formed in the deposition chamber 4008, and a heat treatment can be performed after the oxide semiconductor film is formed in the treatment chamber 4011.
  • the deposition of the base insulating film, the deposition of the oxide semiconductor film, and the heat treatment can be performed consecutively without exposure to the air. Therefore, after the metal oxide film is formed, the heat treatment can be performed without increasing impurities such as hydrogen or carbon in the film.
  • the film formation apparatus 4000 is configured to have a loading/unloading chamber 4002, a loading/unloading chamber 4004, a film formation chamber 4008, a film formation chamber 4009, and a processing chamber 4011, but the present invention is not limited to this.
  • the film formation apparatus 4000 may be configured to have one film formation chamber, or three or more.
  • the film formation apparatus 4000 may be configured to have two or more processing chambers.
  • the film formation apparatus 4000 may be of a single-wafer type, or a batch type in which films are formed on multiple substrates at once.
  • the thermal ALD apparatus has a film forming chamber (chamber 4520), a raw material supply unit 4521 (raw material supply units 4521a to 4521c), a raw material supply unit 4531, high-speed valves 4522a to 4522d that are introduction amount controllers, a gas supply unit 4532, a raw material inlet 4523, a raw material outlet 4524, and an exhaust unit 4525.
  • the raw material inlet 4523 installed in the chamber 4520 is connected to the raw material supply unit 4521a, the raw material supply unit 4521b, the raw material supply unit 4521c, the raw material supply unit 4531, and the gas supply unit 4532 via a supply pipe and a valve, respectively, and the raw material outlet 4524 is connected to the exhaust unit 4525 via, for example, an exhaust pipe, a valve, and a pressure regulator.
  • the chamber 4520 includes a substrate holder 4526, and the substrate 4530 is placed on the substrate holder 4526.
  • the substrate holder 4526 may have a rotation mechanism.
  • a heater 4527 is provided on the outer wall of the chamber 4520, and the temperature of the inside of the chamber 4520, the substrate holder 4526, and the surface of the substrate 4530 can be controlled.
  • the heater 4527 can control the temperature of the surface of the substrate 4530 to 100°C or higher and 600°C or lower, preferably 300°C or higher and 500°C or lower, and more preferably 400°C or higher and 450°C or lower.
  • the temperature of the heater 4527 itself can be set to 100°C or higher and 600°C or lower.
  • a raw material gas is formed from a solid raw material or a liquid raw material by a vaporizer or a heating means.
  • the raw material supply unit 4521a, the raw material supply unit 4521b, the raw material supply unit 4521c, and the raw material supply unit 4531 may be configured to supply a gaseous raw material gas.
  • a metal oxide can be formed by appropriately selecting the raw materials (such as a volatile organometallic compound) used in the raw material supply unit 4521 and the raw material supply unit 4531 and introducing them into the chamber 4520.
  • the raw materials such as a volatile organometallic compound
  • a precursor containing indium is supplied from raw material supply unit 4521a
  • a precursor containing gallium is supplied from raw material supply unit 4521b
  • a precursor containing zinc is supplied from raw material supply unit 4521c.
  • the precursors described above can be used as the precursor containing indium, the precursor containing gallium, and the precursor containing zinc.
  • a reactant is supplied from the raw material supply unit 4531.
  • an oxidizing agent containing at least one of ozone, oxygen, and water can be used.
  • a carrier gas is supplied from the gas supply unit 4532.
  • An inert gas such as argon (Ar), helium (He), or nitrogen (N 2 ) can be used as the carrier gas.
  • the precursor of the raw material supply unit 4521 and the reactant of the raw material supply unit 4531 are mixed with the carrier gas and introduced into the chamber 4520.
  • a piping heater 4534a is provided to cover the piping or valves between the raw material supply unit 4521a, the raw material supply unit 4521b, the raw material supply unit 4521c, the raw material supply unit 4531, and the gas supply unit 4532 and the chamber 4520.
  • a piping heater 4534b is provided to cover the piping or valves between the exhaust device 4525 and the chamber 4520.
  • the temperatures of the piping heater 4534a and the piping heater 4534b may be appropriately set within a range of, for example, room temperature or higher and 300°C or lower.
  • the temperatures of the piping heater 4534a, the piping heater 4534b, and the heater 4527 can be controlled independently.
  • the temperature control of the piping heater 4534a, the piping heater 4534b, and the heater 4527 may be adjusted collectively.
  • the high-speed valves 4522a to 4522d can be precisely controlled in time. This allows the raw material gases supplied from the raw material supply units 4521a, 4521b, 4521c, and 4531 to be controlled and introduced into the chamber 4520.
  • the corresponding high-speed valves among the high-speed valves 4522a to 4522c are opened.
  • the high-speed valve 4522d is opened.
  • the high-speed valves 4522a to 4522d are closed, and only the carrier gas contained in the gas supply unit 4532 is introduced into the chamber 4520.
  • FIG. 8A shows an example in which three raw material supply units 4521 and one raw material supply unit 4531 are provided, this embodiment is not limited to this. One, two, or four or more raw material supply units 4521 may be provided. Also, two or more raw material supply units 4531 may be provided.
  • the heater 4527, the raw material inlet 4523, and the raw material outlet 4524 are arranged at the bottom of the chamber 4520, but the arrangement of these can be set appropriately without being limited to this.
  • the inlets of the raw material supply unit 4521a, the raw material supply unit 4521b, the raw material supply unit 4521c, the raw material supply unit 4531, and the gas supply unit 4532 are combined into the raw material inlet 4523, but the arrangement is not limited to this and each may have a different inlet.
  • the plasma ALD device has a film formation chamber (chamber 4020), a raw material supply unit 4021 (raw material supply units 4021a to 4021c), a raw material supply unit 4031, high-speed valves 4022a to 4022d which are introduction amount controllers, a gas supply unit 4032, a raw material inlet 4023, a raw material inlet 4033, a raw material outlet 4024, and an exhaust device 4025.
  • a film formation chamber chamber 4020
  • a raw material supply unit 4021 raw material supply units 4021a to 4021c
  • a raw material supply unit 4031 high-speed valves 4022a to 4022d which are introduction amount controllers
  • a gas supply unit 4032 a raw material inlet 4023, a raw material inlet 4033, a raw material outlet 4024, and an exhaust device 4025.
  • the raw material inlet 4023 and raw material inlet 4033 installed in the chamber 4020 are connected to the raw material supply unit 4021a, raw material supply unit 4021b, raw material supply unit 4021c, raw material supply unit 4031, and gas supply unit 4032 via supply pipes and valves, respectively, and the raw material outlet 4024 is connected to the exhaust device 4025 via an exhaust pipe, a valve, and a pressure regulator.
  • a substrate holder 4026 is provided inside the chamber 4020, and a substrate 4030 is placed on the substrate holder 4026.
  • a heater 4027 is provided on the outer wall of the chamber, and pipe heaters 4034a and 4034b are provided to cover pipes connected to the chamber.
  • the chamber 4020 corresponds to the chamber 4520
  • the raw material supply unit 4021 corresponds to the raw material supply unit 4521
  • the raw material supply unit 4031 corresponds to the raw material supply unit 4531
  • the high-speed valves 4022a to 4022d correspond to the high-speed valves 4522a to 4522d
  • the gas supply unit 4032 corresponds to the gas supply unit 4532
  • the raw material inlet 4023 corresponds to the raw material inlet 4523
  • the raw material outlet 4024 corresponds to the raw material outlet 4524
  • the exhaust device 4025 corresponds to the exhaust device 4525
  • the substrate holder 4026 corresponds to the substrate holder 4526
  • the substrate 4030 corresponds to the substrate 4530
  • the heater 4027 corresponds to the heater 4527
  • the pipe heater 4034a corresponds to the pipe heater 4534a
  • the pipe heater 4034b corresponds to the pipe heater 4534b.
  • the plasma ALD device can perform film formation by the plasma ALD method in addition to the thermal ALD method by connecting a plasma generator 4028 to the chamber 4020.
  • the plasma generator 4028 is preferably an ICP type plasma generator using a coil 4029 connected to a high-frequency power source.
  • the high-frequency power source can output power having a frequency of 10 kHz to 100 MHz, preferably 1 MHz to 60 MHz, and more preferably 2 MHz to 60 MHz. For example, it can output power having a frequency of 13.56 MHz.
  • the plasma ALD method can form a film without reducing the film formation rate even at low temperatures, so it is suitable for use in a single-wafer film formation device with low film formation efficiency.
  • the reactant discharged from the raw material supply unit 4031 passes through the plasma generator 4028 and becomes a plasma state.
  • the reactant in a plasma state is introduced into the chamber 4020 from the raw material inlet 4033.
  • the reactant discharged from the raw material supply unit 4031 may be configured to be mixed with a carrier gas.
  • the substrate holder 4526 may also be provided with a mechanism for applying a constant potential or high frequency. Alternatively, the substrate holder 4526 may be floating or grounded.
  • the raw material inlet 4033 is located at the top of the chamber 4520, the heater 4027 and the raw material inlet 4023 are located on the side of the chamber 4520, and the raw material outlet 4524 is located at the bottom of the chamber 4520, but this is not limiting and these locations can be set as appropriate.
  • FIG. 9A is a schematic diagram showing one embodiment of a plasma ALD device.
  • the plasma ALD device 4100 is provided with a reaction chamber 4120 and a plasma generation chamber 4111 above the reaction chamber 4120.
  • the reaction chamber 4120 can be called a chamber.
  • the reaction chamber 4120 and the plasma generation chamber 4111 can be collectively called a chamber.
  • the reaction chamber 4120 has a raw material inlet 4123 and a raw material outlet 4124, and the plasma generation chamber 4111 has a raw material inlet 4133.
  • a high frequency such as RF or a microwave can be applied by a plasma generation device 4128 to a gas introduced into the plasma generation chamber 4111 to generate a plasma 4131 in the plasma generation chamber 4111.
  • microwaves with a frequency of 2.45 GHz are typically used.
  • plasma generated by applying such microwaves and a magnetic field is sometimes called ECR (Electron Cyclotron Resonance) plasma.
  • the reaction chamber 4120 also has a substrate holder 4126, on which the substrate 4130 is placed.
  • the raw material gas introduced from the raw material inlet 4123 is decomposed by heat from a heater provided in the reaction chamber 4120 and deposited on the substrate 4130.
  • the raw material gas introduced from the raw material inlet 4133 is turned into a plasma state by the plasma generation device 4128.
  • the raw material gas in the plasma state recombines with electrons or other molecules before reaching the surface of the substrate 4130, and reaches the substrate 4130 in a radical state.
  • an ALD device that uses radicals to form a film is sometimes called a radical ALD (radical-enhanced ALD) device.
  • the plasma ALD device 4100 a configuration in which the plasma generation chamber 4111 is provided at the top of the reaction chamber 4120 is shown, but this embodiment is not limited to this.
  • the plasma generation chamber 4111 may be provided adjacent to the side of the reaction chamber 4120.
  • FIG. 9B is a schematic diagram showing one embodiment of a plasma ALD apparatus.
  • the plasma ALD apparatus 4200 has a chamber 4220.
  • the chamber 4220 has an electrode 4213, a raw material outlet 4224, and a substrate holder 4226, and a substrate 4230 is placed on the substrate holder 4226.
  • the electrode 4213 has a raw material inlet 4223 and a shower head 4214 that supplies the introduced raw material gas into the chamber 4220.
  • a power source 4215 that can apply high frequency through a capacitor 4217 is connected to the electrode 4213.
  • the substrate holder 4226 may be provided with a mechanism for applying a constant potential or high frequency. Alternatively, the substrate holder 4226 may be floating or grounded.
  • the electrode 4213 and the substrate holder 4226 function as an upper electrode and a lower electrode for generating plasma 4231, respectively.
  • the raw material gas introduced from the raw material inlet 4223 is decomposed by heat from a heater provided in the chamber 4220 and deposited on the substrate 4230.
  • the raw material gas introduced from the raw material inlet 4223 becomes a plasma state between the electrode 4213 and the substrate holder 4226.
  • the raw material gas in the plasma state is incident on the substrate 4230 due to a potential difference (also called an ion sheath) generated between the plasma 4231 and the substrate 4230.
  • FIG 9C is a schematic diagram showing one embodiment of a plasma ALD apparatus different from that of Figure 9B.
  • the plasma ALD apparatus 4300 has a chamber 4320.
  • the chamber 4320 has an electrode 4313, a raw material outlet 4324, and a substrate holder 4326, and a substrate 4330 is placed on the substrate holder 4326.
  • the electrode 4313 has a raw material inlet 4323 and a shower head 4314 that supplies the introduced raw material gas into the chamber 4320.
  • a power source 4315 that can apply high frequency power via a capacitor 4317 is connected to the electrode 4313.
  • the substrate holder 4326 may be provided with a mechanism for applying a constant potential or high frequency power. Alternatively, the substrate holder 4326 may be floating or grounded.
  • the electrode 4313 and the substrate holder 4326 function as an upper electrode and a lower electrode for generating plasma 4331, respectively.
  • the plasma ALD apparatus 4300 differs from the plasma ALD apparatus 4200 in that it has a mesh 4319 connected to a power source 4321 capable of applying high frequency through a capacitor 4322 between the electrode 4313 and the substrate holder 4326. By providing the mesh 4319, the plasma 4231 can be separated from the substrate 4130.
  • the source gas introduced from the source inlet 4323 is decomposed by heat from a heater provided in the chamber 4320 and deposited on the substrate 4330. Alternatively, the source gas introduced from the source inlet 4323 becomes a plasma state between the electrode 4313 and the substrate holder 4326.
  • the charge of the source gas in the plasma state is removed by the mesh 4319, and the source gas reaches the substrate 4130 in an electrically neutral state such as radicals. Therefore, film formation can be performed with suppressed ion incidence and damage caused by plasma.
  • a plasma process or a microwave process may be performed as the impurity removal process using a plasma ALD apparatus as shown in FIG. 8B and FIG. 9A to FIG. 9C.
  • a plasma ALD apparatus as shown in FIG. 8B and FIG. 9A to FIG. 9C.
  • a plasma ALD apparatus as shown in Figures 8B and 9A to 9C may be used to perform plasma processing or microwave processing after forming a metal oxide film.
  • the ALD apparatus 4400 shown in FIG. 10A has a chamber 4420 and a heater 4427 inside an outer chamber 4410, and a substrate holder 4426 inside the chamber 4420.
  • a precursor, an oxidizer, and a carrier gas are supplied to the chamber 4420 from a raw material inlet 4423 via a raw material supply port 4414.
  • exhaust is performed from the chamber 4420 via a raw material outlet 4424.
  • a substrate 4430 is placed on the substrate holder 4426. As shown in FIG. 10A, the precursor and the oxidant are each supplied from the upper side of the chamber 4420, and a film is formed on the upper surface of the substrate 4430. The precursor and the oxidant are also adsorbed onto the lower surface of the substrate 4430 before being exhausted from the lower side of the chamber 4420, so that a film is also formed on the lower surface of the substrate 4430.
  • a film 4431a is formed on the front surface 4430a of the substrate 4430, and a film 4431b is formed on the back surface 4430b.
  • a film can be formed on both sides of the substrate 4430.
  • films 4431a and 4431b have the same or approximately the same thickness. Also, depending on the types of precursor and oxidizing agent, films 4431a and 4431b may have the same or approximately the same composition, or may have different compositions.
  • an element that is easily adsorbed may have a higher concentration in a film formed on the front surface than in a film formed on the back surface.
  • aluminum contained as an impurity in triethylindium has a higher concentration in film 4431a formed on the front surface of the substrate than in film 4431b formed on the back surface.
  • the film When using the ALD apparatus 4400, the film may be formed with the front surface of the substrate facing upward, which is known as the face-up method, or with the front surface of the substrate facing downward (substrate inverted), which is known as the face-down method.
  • a method that can form a film of the desired composition can be selected as appropriate.
  • Fig. 11 to Fig. 13 the introduction of the first source gas to the fourth source gas is indicated by ON, and a period in which the source gas is not introduced is indicated by OFF.
  • FIG. 11A shows a film formation sequence using the ALD apparatus shown in FIG. 8A.
  • the substrate 4530 is set on the substrate holder 4526 in the chamber 4520 (step S101).
  • the temperature of the heater 4527 is adjusted (step S102).
  • the temperatures of the pipe heaters 4534a and 4534b may also be adjusted.
  • the substrate 4530 is held on the substrate holder 4526 so that the temperature of the substrate 4530 is uniform across the substrate surface (step S103).
  • a metal oxide film is formed according to the first to fourth steps described above (step S104). Note that if temperature adjustment of the heater 4527 is not required after the substrate 4530 is set (step S101), step S102 may be omitted.
  • a first source gas (source gas having a precursor) and a second source gas (source gas having a reactant) are alternately introduced into the chamber 4520 to form a film on the substrate 4530.
  • the introduction of the first source gas and the second source gas is performed in a pulsed manner. During the period when neither the first source gas nor the second source gas is introduced, the chamber 4520 is purged.
  • the introduction of the first source gas (first step above), the purging of the first source gas (second step above), the introduction of the second source gas (third step above), and the purging of the second source gas (fourth step above) are set as one cycle, and a film having a desired film thickness is formed by repeating this cycle. Note that although no mention is made here of the intermittent impurity removal process, the impurity removal process may be performed in the chamber 4520 or another chamber every time the cycle is repeated several times.
  • a second source gas having a reactant may be introduced into the chamber 4020.
  • the second source gas it is preferable to introduce one or more selected from ozone (O 3 ), oxygen (O 2 ), and water (H 2 O), which function as an oxidizing agent.
  • ozone O 3
  • oxygen O 2
  • water H 2 O
  • ozone and oxygen as the second source gas, the chamber can be made into an oxygen atmosphere, and oxygen can be supplied to the base insulating film formed on the substrate 4530.
  • the second source gas is preferably introduced in a pulsed manner similar to the method shown in step S104, but the present invention is not limited to this.
  • the second source gas may be introduced continuously. During the period in which the second source gas is not introduced, the chamber 4520 is evacuated.
  • a layered crystalline oxide having multiple different oxide layers can be formed.
  • a film formation sequence corresponding to the film formation process of In-Ga-Zn oxide shown in Figures 5 and 6 will be described with reference to Figure 11B.
  • FIG. 11B shows an example in which a film is formed using first to third source gases each having a different precursor in step S104 of the film formation sequence. Note that steps S101 to S103 are as described above.
  • the first source gas contains a precursor containing indium
  • the third source gas contains a precursor containing gallium
  • the fourth source gas contains a precursor containing zinc.
  • the first source gas is introduced, and a precursor having indium is adsorbed onto the substrate 4530 (corresponding to FIG. 5A). Then, the introduction of the first source gas is stopped, and the excess first source gas in the chamber is purged.
  • the second source gas is introduced, and the precursor having adsorbed indium is reacted with the oxidizing agent to form an indium oxide layer (corresponding to FIG. 5B). Then, the introduction of the second source gas is stopped, and the excess second source gas in the chamber is purged.
  • the third source gas is introduced, and a precursor containing gallium is adsorbed onto the indium oxide layer (corresponding to FIG. 5C). Then, the introduction of the third source gas is stopped, and the excess third source gas in the chamber is purged.
  • the second source gas is introduced, and the precursor having adsorbed gallium is reacted with the oxidizing agent to form a layer of gallium oxide (corresponding to FIG. 5D). Then, the introduction of the second source gas is stopped, and the excess second source gas in the chamber is purged.
  • the fourth source gas is introduced, and the zinc-containing precursor is adsorbed onto the gallium oxide layer (corresponding to FIG. 6A). Then, the introduction of the fourth source gas is stopped, and the excess fourth source gas in the chamber is purged.
  • a second source gas is introduced, and the precursor having adsorbed zinc is reacted with an oxidizing agent to form a layer of zinc oxide (corresponding to FIG. 6B). Then, the introduction of the second source gas is stopped, and the excess second source gas in the chamber is purged. Furthermore, using the above method, a precursor having indium is adsorbed onto the zinc oxide (corresponding to FIG. 6C).
  • indium oxide, gallium oxide, and zinc oxide constitutes one cycle.
  • the first to fourth raw material gases are introduced in a pulsed manner.
  • the pulse time for introducing the first raw material gas, the third raw material gas, and the fourth raw material gas into the chamber 4520 is preferably 0.05 to 1 second, and more preferably 0.1 to 0.5 seconds.
  • the time for exhausting the first raw material gas, the third raw material gas, and the fourth raw material gas from the chamber 4520 is preferably 0.1 to 15 seconds, and more preferably 0.5 to 10 seconds.
  • the pulse time for introducing the second raw material gas into the chamber 4520 is preferably 0.05 to 30 seconds, and more preferably 0.1 to 15 seconds.
  • the time for exhausting the second raw material gas from the chamber 4520 is preferably 0.1 to 15 seconds, and more preferably 0.1 to 5 seconds.
  • the order of introduction of the first, third, and fourth raw material gases is not limited to this.
  • the fourth gas containing a zinc-containing precursor may be introduced first.
  • Zinc oxide forms a crystal structure more easily than indium oxide and gallium oxide, so stable zinc oxide crystals can be formed in the bottom layer. This makes it relatively easy to form a layer of indium oxide and gallium oxide on top of zinc oxide.
  • In-Ga-Zn oxide film with an atomic ratio of In:Ga:Zn 1:1:1, but the present invention is not limited to this.
  • In-Ga-Zn oxides with different atomic ratios can be formed. It is preferable to set the number of pulses or pulse time of the precursor-containing source gas in one cycle according to the desired atomic ratio of the In-Ga-Zn oxide.
  • the first source gas containing indium, the third source gas containing gallium, and the fourth source gas containing zinc are each pulsed once in one cycle. At this time, the pulse time of each precursor is the same.
  • the first source gas containing indium is pulsed once
  • the third source gas containing gallium is pulsed three times
  • the fourth source gas containing zinc is pulsed four times.
  • raw material gas having the same type of precursor may be continuously introduced between the introduction of raw material gas containing a reactant.
  • the number of pulses of the raw material gas containing the precursor in one cycle is the same as the atomic ratio of the desired In-Ga-Zn oxide.
  • a configuration in which only one type of precursor-containing raw material gas is introduced during the interval in which oxidation is performed with the second raw material gas is shown, but the present invention is not limited to this.
  • a configuration in which two or more types of precursor-containing raw material gases are introduced may also be used.
  • a configuration in which two or more types of precursor-containing raw material gases are introduced simultaneously may also be used.
  • a configuration in which the same type of precursor is introduced twice in succession may also be used.
  • the first raw material gas, the third raw material gas, the fourth raw material gas, the third raw material gas, and the fourth raw material gas are introduced in this order in accordance with the crystal structure shown in FIG. 2D, in which the layers 23, 41, 31, and 41 are stacked in this order.
  • the first raw material gas and the third raw material gas are introduced without the introduction of the second raw material gas in between.
  • the oxidizing agent is introduced after the precursor containing indium contained in the first raw material gas and the precursor containing gallium contained in the third raw material gas are adsorbed.
  • This allows the formation of a layer containing two types of metal elements (indium and gallium) in one oxide layer, as in the layer 23 shown in FIG. 2D.
  • the pulse time of the first raw material gas and the third raw material gas is about half the pulse time of the fourth raw material gas.
  • the ratio of the pulse time of the first source gas containing indium, the pulse time of the third source gas containing gallium, and the pulse time of the fourth source gas containing zinc during one cycle can be made 1:3:4, the same as the atomic ratio.
  • oxides with a constant atomic ratio but the present invention is not limited to this.
  • two or more oxides with different atomic ratios can be deposited in succession.
  • layered oxides with different atomic ratios can be deposited in a single chamber. This makes it possible to prevent impurities such as hydrogen or carbon from entering during the intervals between deposition of each oxide.
  • the film formation method has been described using In-Ga-Zn oxide as an example, but the present invention is not limited to this.
  • Precursors may be appropriately selected according to the metal elements contained in the desired metal oxide. Also, in the above, the number of precursors was one or three, but this is not limited to this, and two or four or more types may be used.
  • a film is formed using a precursor having one type of metal element, but the present invention is not limited to this.
  • a precursor having two or more types of metal elements may be used.
  • a precursor containing indium and gallium, or a precursor containing gallium and zinc may be used. In this case, the number of raw material supply units 4521 shown in FIG. 8A etc. can be reduced.
  • Metal oxide having CAAC structure ⁇ Metal oxide having CAAC structure> The metal oxide having a CAAC structure will be described in detail below.
  • the CAAC structure has multiple crystals, and the c-axes of the multiple crystals are oriented in a specific direction.
  • the specific direction is the thickness direction of the metal oxide having the CAAC structure, the normal direction of the surface on which the metal oxide having the CAAC structure is formed, or the normal direction of the surface of the metal oxide having the CAAC structure.
  • the crystal region refers to the crystal itself of the CAAC structure, or the crystal of the CAAC structure and a region in the vicinity of the crystal. Therefore, the crystal of the CAAC structure may be referred to as a crystal region of the CAAC structure.
  • a crystalline region is a region in which the atomic arrangement has periodicity. If the atomic arrangement is considered as a lattice arrangement, then the crystalline region is also a region in which the lattice arrangement is aligned. Furthermore, the CAAC structure has a region in which multiple crystalline regions are connected in the a-b plane direction, and this region may have distortion. Note that distortion refers to a location in a region in which multiple crystalline regions are connected where the orientation of the lattice arrangement changes between a region in which the lattice arrangement is aligned and another region in which the lattice arrangement is aligned. In other words, a metal oxide having a CAAC structure is a metal oxide that is c-axis oriented and does not have a clear orientation in the a-b plane direction.
  • Each of the multiple crystal regions is composed of one or more tiny crystals (crystals with a maximum diameter of less than 10 nm).
  • the maximum diameter of the crystal region is less than 10 nm.
  • the size of the crystal region may be approximately several tens of nm.
  • the CAAC structure tends to have a layered crystal structure (also called a layered structure) in which a layer having indium (In) and oxygen and a layer having element M, zinc (Zn), and oxygen are stacked.
  • the layer having indium and oxygen may contain element M or zinc.
  • the layer having element M, zinc, and oxygen may contain indium.
  • the layered structure is observed as a lattice image in a high-resolution TEM image, for example.
  • multiple bright spots are observed in the electron diffraction pattern of a metal oxide having a CAAC structure. Note that one spot and another spot are observed at positions that are point-symmetric with respect to the spot of the incident electron beam that has passed through the sample (also called the direct spot).
  • the crystal structure e.g., CAAC structure
  • FFT Fast Fourier Transform
  • the lattice arrangement in the crystal region is based on a hexagonal lattice, but the unit cell is not necessarily a regular hexagon and may be a non-regular hexagon.
  • the above distortion may have a lattice arrangement such as a pentagon or heptagon.
  • a metal oxide having a CAAC structure no clear crystal grain boundaries can be confirmed even in the vicinity of the distortion. In other words, it can be seen that the formation of crystal grain boundaries is suppressed by the distortion of the lattice arrangement. This is thought to be because metal oxides having a CAAC structure can tolerate distortion because the arrangement of oxygen atoms in the a-b plane direction is not dense, or because the bond distance between atoms changes due to the substitution of metal atoms.
  • Metal oxides having a CAAC structure are highly crystalline and have no clearly identified crystal grain boundaries. In other words, metal oxides having a CAAC structure are less likely to experience a decrease in electron mobility due to crystal grain boundaries. Therefore, metal oxides having a CAAC structure have stable physical properties. Therefore, metal oxides having a CAAC structure are resistant to heat and highly reliable. Therefore, metal oxides having a CAAC structure are one of the crystalline oxides having a crystal structure suitable for the semiconductor layer of a transistor.
  • a precursor with a low aluminum content to produce a metal oxide that does not contain aluminum as a main component, it is possible to prevent the aluminum concentration in the formed metal oxide from becoming high.
  • a metal oxide in the semiconductor layer of a transistor By using such a metal oxide in the semiconductor layer of a transistor, a transistor with a high on-state current can be produced.
  • an impurity removal process such as microwave treatment, the crystallinity of the metal oxide can be increased, thereby improving the reliability of the transistor.
  • the semiconductor device according to one embodiment of the present invention includes a transistor.
  • the memory device according to one embodiment of the present invention includes a memory cell.
  • the memory cell includes a transistor and a capacitor.
  • the transistor 200A shown in FIG. 14A has a conductor 120, an oxide semiconductor 230, an insulator 250, a conductor 240, and a conductor 260.
  • the conductor 120, the oxide semiconductor 230, the insulator 250, the conductor 240, and the conductor 260 may each have a single-layer structure or a stacked structure of two or more layers.
  • the conductor 120 is disposed on the insulator 130.
  • the conductor 120 functions as either a source or a drain.
  • An insulator 280 is provided on the conductor 120, and a conductor 240 is provided on the insulator 280.
  • An opening that reaches the conductor 120 is provided in the insulator 280 and the conductor 240.
  • the conductor 240 functions as the other of the source and the drain.
  • the oxide semiconductor 230 is provided along an opening provided in the insulator 280 and the conductor 240, and is in contact with the top surface of the conductor 120 inside the opening.
  • the oxide semiconductor 230 is also in contact with the side surface of the insulator 280 inside the opening. Furthermore, the oxide semiconductor 230 has a portion in contact with the conductor 240.
  • the oxide semiconductor 230 has a region that functions as a channel formation region.
  • the oxide semiconductor 230 is in contact with at least one of the top surface, side surface, and bottom surface (also referred to as the bottom surface) of the conductor 240.
  • the transistor 200A has a so-called bottom-contact structure in which the bottom surface of the oxide semiconductor 230 is in contact with the top surface of the conductor 240 on the insulator 280.
  • the transistor 200A may have a so-called top-contact structure in which the conductor 240 is provided on the oxide semiconductor 230 and the top surface of the oxide semiconductor 230 is in contact with the bottom surface of the conductor 240.
  • the insulator 250 is provided on the oxide semiconductor 230.
  • the conductor 260 is located on the insulator 250 and overlaps with the oxide semiconductor 230 via the insulator 250.
  • the conductor 260 functions as a gate.
  • Transistor 200A has a structure in which the channel formation region surrounds the gate. Therefore, transistor 200A can be said to be a transistor with a CAA (Channel-All-Around) structure.
  • the surfaces of the insulator 280 and the conductor 240 at the opening are inclined with respect to the top surface of the conductor 120.
  • the sidewalls of the opening have a tapered shape.
  • the sidewall of the opening is preferably tapered because this improves the coverage of the oxide semiconductor 230, the insulator 250, and the like that are provided along the opening.
  • the oxide semiconductor 230 can be formed with good coverage.
  • the surfaces of the openings of the insulator 280 and the conductor 240 are perpendicular to the top surface of the conductor 120. Otherwise, the transistor 200B has the same configuration as the transistor 200A.
  • the channel length of the transistor can be shorter than when the opening has a tapered shape. Furthermore, by applying the metal oxide film formation method of one embodiment of the present invention, the oxide semiconductor 230 can be formed with good coverage even when the sidewall of the opening is perpendicular to the top surface of the conductor 120.
  • the transistor 200C shown in FIG. 14C has a conductor 120, an oxide semiconductor 230, an insulator 250, a conductor 240, and a conductor 260.
  • the conductor 120 is disposed on the insulator 130.
  • the conductor 120 functions as either a source or a drain.
  • An insulator 280 is provided on the conductor 120, a conductor 260 is provided on the insulator 280, and an insulator 272 is provided on the conductor 260.
  • An opening reaching the conductor 120 is provided in the insulator 280, the conductor 260, and the insulator 272.
  • the conductor 260 functions as a gate.
  • the insulator 250 is provided along the openings provided in the insulator 280, the conductor 260, and the insulator 272, and has an opening that reaches the conductor 120.
  • the oxide semiconductor 230 is provided along the openings provided in the insulator 280, the conductor 260, and the insulator 272.
  • the oxide semiconductor 230 overlaps with the conductor 260 via the insulator 250.
  • the oxide semiconductor 230 also contacts the upper surface of the conductor 120 via the opening provided in the insulator 250.
  • the insulator 275 is provided so as to fill the recess in the oxide semiconductor 230. Note that if the oxide semiconductor 230 does not have a recess, the insulator 275 does not need to be provided.
  • the conductor 240 is provided on the oxide semiconductor 230.
  • the conductor 240 functions as the other of the source and the drain.
  • Transistor 200C has a structure in which the channel formation region is surrounded by the gate. Therefore, transistor 200C can be said to be a transistor with a GAA (Gate-All-Around) structure.
  • the surfaces of the insulator 280, the conductor 260, and the insulator 272 at the opening are inclined with respect to the top surface of the conductor 120.
  • the sidewalls of the opening have a tapered shape.
  • the sidewall of the opening is preferably tapered because this improves the coverage of the insulator 250, the oxide semiconductor 230, and the like that are provided along the opening.
  • the oxide semiconductor 230 can be formed with good coverage.
  • transistor 200D shown in FIG. 14D the surfaces of insulator 280, conductor 260, and insulator 272 at the openings are perpendicular to the top surface of conductor 120. Otherwise, transistor 200D has the same configuration as transistor 200C.
  • the channel length of the transistor can be shorter than when the opening has a tapered shape. Furthermore, by applying the metal oxide film formation method of one embodiment of the present invention, the oxide semiconductor 230 can be formed with good coverage even when the sidewall of the opening is perpendicular to the top surface of the conductor 120.
  • the oxide semiconductor 230 has a first portion in contact with the top surface of the conductor 120, a second portion in contact with the side surface of the insulator 280, and a third portion in contact with the conductor 240.
  • the first and second parts are located inside an opening provided in the insulator 280.
  • the oxide semiconductor 230 can be in contact with one or more of the top surface, side surface, and bottom surface (also referred to as the bottom surface) of the conductor 240.
  • Figures 14A and 14B show an example in which the oxide semiconductor 230 is in contact with the top surface and side surface of the conductor 240.
  • Figures 14C and 14D show an example in which the oxide semiconductor 230 is in contact with the bottom surface of the conductor 240.
  • the method for forming the oxide semiconductor 230 is preferably the metal oxide film formation method of one embodiment of the present invention shown in embodiment 1.
  • a metal oxide can be formed with good coverage on the top, bottom, side, and inclined surfaces of the structure. That is, a metal oxide can be formed with a roughly constant film thickness in the normal direction on each deposition surface.
  • the ratio of the minimum film thickness to the maximum film thickness can be set to 0.5 or more and 1 or less, preferably 0.7 or more and 1 or less, more preferably 0.8 or more and 1 or less, and more preferably 0.9 or more and 1 or less.
  • the ratio of the thickness of the second portion in contact with the side of the insulator 280 to the thickness of the first portion in contact with the conductor 120 is preferably 0.7 or more and 1.3 or less, more preferably 0.8 or more and 1.2 or less, and even more preferably 0.9 or more and 1.1 or less.
  • the aluminum concentration in the channel formation region of the oxide semiconductor 230 is preferably 0.01 atomic% or more and 10 atomic% or less, more preferably 5 atomic% or less, more preferably 3 atomic% or less, more preferably 1 atomic% or less, and even more preferably 0.1 atomic% or less. Alternatively, it may be 0.01 atomic% or less.
  • the aluminum concentration in the oxide semiconductor 230 is preferably 0.01 atomic% or more and 10 atomic% or less, more preferably 5 atomic% or less, more preferably 3 atomic% or less, more preferably 1 atomic% or less, and even more preferably 0.1 atomic% or less. Alternatively, it may be 0.01 atomic% or less.
  • by reducing the aluminum concentration in the oxide semiconductor both the reliability and electrical characteristics of the transistor can be improved. Furthermore, by extremely reducing the aluminum concentration, the on-current of the transistor can be increased.
  • the carbon concentration in the channel formation region of the oxide semiconductor 230 is 1 ⁇ 10 20 atoms/cm 3 or less, preferably 5 ⁇ 10 19 atoms/cm 3 or less, more preferably 3 ⁇ 10 19 atoms/cm 3 or less, more preferably 1 ⁇ 10 19 atoms/cm 3 or less, more preferably 3 ⁇ 10 18 atoms/cm 3 or less, and still more preferably 1 ⁇ 10 18 atoms/cm 3 or less.
  • the source electrode and the drain electrode are located at different heights, so that the current flowing through the oxide semiconductor 230 flows from top to bottom or bottom to top.
  • the channel length direction has a component in the height direction (vertical direction), so the transistor of one embodiment of the present invention can also be called a vertical transistor, a vertical channel transistor, a vertical channel type transistor, or the like.
  • the transistor can have a source electrode, a semiconductor layer, and a drain electrode that are stacked, so the area occupied can be significantly reduced compared to a so-called planar type transistor in which the semiconductor layer is arranged in a planar shape.
  • FIGS. 15A to 15C are plan and cross-sectional views of a memory device having a transistor 200 and a capacitor 100.
  • FIG. 15A is a plan view of the memory device.
  • FIGS. 15B and 15C are cross-sectional views of the memory device.
  • FIG. 15B is a cross-sectional view of a portion indicated by a dashed line A1-A2 in FIG. 15A.
  • FIG. 15C is a cross-sectional view of a portion indicated by a dashed line A3-A4 in FIG. 15A. Note that some elements are omitted in the plan view of FIG. 15A for clarity.
  • arrows indicating the X-direction, Y-direction, and Z-direction may be attached.
  • the "X-direction” is the direction along the X-axis, and the forward direction and the reverse direction may not be distinguished unless explicitly stated. The same applies to the "Y-direction” and "Z-direction”.
  • the X-direction, Y-direction, and Z-direction are directions that intersect with each other.
  • the X-direction, Y-direction, and Z-direction are directions that are perpendicular to each other.
  • one of the X-direction, Y-direction, and Z-direction may be called the "first direction” or “first direction”.
  • the other may be called the “second direction” or “second direction”.
  • the remaining one may be called the "third direction” or "third direction”.
  • the memory device shown in Figures 15A to 15C has an insulator 140 on a substrate (not shown), a conductor 110 on the insulator 140, a memory cell 150 on the conductor 110, an insulator 180 on the conductor 110, an insulator 280, and an insulator 283 on the memory cell 150.
  • the insulators 140, 180, 280, and 283 function as interlayer films.
  • the conductor 110 functions as wiring.
  • the memory cell 150 has a capacitance element 100 on a conductor 110 and a transistor 200 on the capacitance element 100.
  • the capacitance element 100 has a conductor 115 on the conductor 110, an insulator 130 on the conductor 115, and a conductor 120 on the insulator 130.
  • the conductor 120 functions as one of a pair of electrodes (sometimes called an upper electrode)
  • the conductor 115 functions as the other of the pair of electrodes (sometimes called a lower electrode)
  • the insulator 130 functions as a dielectric.
  • the capacitance element 100 constitutes a MIM (Metal-Insulator-Metal) capacitance.
  • the insulator 180 has an opening 190 that reaches the conductor 110. At least a portion of the conductor 115 is disposed in the opening 190.
  • the conductor 115 has a region that contacts the upper surface of the conductor 110 in the opening 190, a region that contacts the side surface of the insulator 180 in the opening 190, and a region that contacts at least a portion of the upper surface of the insulator 180.
  • the insulator 130 is disposed so that at least a portion of the conductor 120 is disposed so that at least a portion of the conductor 130 is disposed in the opening 190.
  • the conductor 120 is preferably disposed so as to fill the opening 190.
  • the films disposed inside the opening 190 are preferably formed by the ALD method. This improves the coverage of the films.
  • the conductor 115, the insulator 130, and the conductor 120 are preferably formed by the ALD method.
  • the capacitive element 100 has an upper electrode and a lower electrode that face each other with a dielectric between them, not only on the bottom surface but also on the side surfaces, allowing the capacitance per unit area to be increased. Therefore, the deeper the opening 190, the greater the capacitance of the capacitive element 100 can be. Increasing the capacitance per unit area of the capacitive element 100 in this way can stabilize the read operation of the memory device. It can also promote miniaturization or high integration of memory devices.
  • 15B and 15C show an example in which the sidewall of the opening 190 is perpendicular to the top surface of the conductor 110.
  • the opening 190 has a cylindrical shape.
  • a conductor 115 and an insulator 130 are stacked along the sidewall of the opening 190 and the top surface of the conductor 110.
  • a conductor 120 is provided on the insulator 130 so as to fill the opening 190.
  • a capacitance element 100 having such a configuration may be called a trench type capacitance or a trench capacitance.
  • the insulator 280 is disposed on the capacitance element 100. That is, the insulator 280 is disposed on the conductor 115, the insulator 130, and the conductor 120. In other words, the conductor 120 is disposed below the insulator 280.
  • the transistor 200 has a conductor 120, a conductor 240 on the insulator 280, an oxide semiconductor 230, an insulator 250 on the oxide semiconductor 230, and a conductor 260 on the insulator 250.
  • the oxide semiconductor 230 functions as a semiconductor layer
  • the conductor 260 functions as a gate electrode
  • the insulator 250 functions as a gate insulator
  • the conductor 120 functions as one of the source electrode and the drain electrode
  • the conductor 240 functions as the other of the source electrode and the drain electrode.
  • the transistors 200A to 200D shown in FIG. 14A to FIG. 14D may be applied.
  • the insulator 280 and the conductor 240 have an opening 290 that reaches the conductor 120. At least a part of the oxide semiconductor 230 is disposed in the opening 290. Note that the oxide semiconductor 230 has a region that contacts the upper surface of the conductor 120 in the opening 290, a region that contacts the side surface of the conductor 240 in the opening 290, and a region that contacts at least a part of the upper surface of the conductor 240.
  • the insulator 250 is disposed so that at least a part of it is located in the opening 290.
  • the conductor 260 is disposed so that at least a part of it is located in the opening 290.
  • the conductor 260 is preferably disposed so as to fill the opening 290, as shown in FIG. 15B and FIG. 15C.
  • the films disposed inside the opening 290 are preferably formed by using the ALD method. This improves the coverage of the film.
  • the oxide semiconductor 230, the insulator 250, and the conductor 260 are preferably formed by an ALD method. By using the metal oxide film formation method of one embodiment of the present invention, the oxide semiconductor 230 can be formed with good coverage.
  • the oxide semiconductor 230 has a region in contact with the side surface of the conductor 240 in the opening 290 and a region in contact with a part of the top surface of the conductor 240. In this way, the oxide semiconductor 230 contacts not only the side surface but also the top surface of the conductor 240, so that the area of contact between the oxide semiconductor 230 and the conductor 240 can be increased.
  • the transistor 200 is provided so as to overlap with the capacitor 100.
  • the opening 290 in which part of the structure of the transistor 200 is provided has a region that overlaps with the opening 190 in which part of the structure of the capacitor 100 is provided.
  • the conductor 120 functions as one of the source electrode and drain electrode of the transistor 200 and as the upper electrode of the capacitor 100, so that the transistor 200 and the capacitor 100 share part of their structures.
  • the transistor 200 and the capacitor 100 can be provided without significantly increasing the occupied area in a plan view. This reduces the occupied area of the memory cell 150, so that the memory cells 150 can be arranged at a high density, and the memory capacity of the memory device can be increased. In other words, the memory device can be highly integrated.
  • FIG. 15D A circuit diagram of the memory device shown in this embodiment is shown in FIG. 15D.
  • the configuration shown in FIG. 15A to FIG. 15C functions as a memory cell of the memory device.
  • the memory cell has a transistor Tr and a capacitor C.
  • the transistor Tr corresponds to the transistor 200
  • the capacitor C corresponds to the capacitor 100.
  • One of the source and drain of the transistor Tr is connected to one of a pair of electrodes of the capacitance element C.
  • the other of the source and drain of the transistor Tr is connected to the wiring BL.
  • the gate of the transistor Tr is connected to the wiring WL.
  • the other of the pair of electrodes of the capacitance element C is connected to the wiring PL.
  • the wiring BL corresponds to the conductor 240
  • the wiring WL corresponds to the conductor 260
  • the wiring PL corresponds to the conductor 110.
  • the conductor 260 is provided extending in the Y direction
  • the conductor 240 is provided extending in the X direction.
  • the wiring BL and the wiring WL are provided so as to intersect with each other.
  • the wiring PL (conductor 110) is provided in a planar shape, but the present invention is not limited to this.
  • the wiring PL may be provided parallel to the wiring WL (conductor 260) or parallel to the wiring BL (conductor 240).
  • the capacitor 100 includes a conductor 115, an insulator 130, and a conductor 120.
  • the conductor 110 is provided below the conductor 115.
  • the conductor 115 has a region in contact with the conductor 110.
  • the conductor 110 is provided on the insulator 140.
  • the conductor 110 functions as the wiring PL and can be provided, for example, in a planar shape.
  • the conductors described in the [Conductor] section below can be used as the conductor 110 in a single layer or a multilayer structure.
  • a conductive material with high conductivity such as tungsten, can be used as the conductor 110. By using such a conductive material with high conductivity, the conductivity of the conductor 110 can be improved and it can function sufficiently as the wiring PL.
  • the conductor 115 is preferably made of a conductive material that is not easily oxidized or a conductive material that has a function of suppressing the diffusion of oxygen, in a single layer or a laminated layer.
  • a conductive material that is not easily oxidized or a conductive material that has a function of suppressing the diffusion of oxygen in a single layer or a laminated layer.
  • titanium nitride or indium tin oxide with added silicon may be used.
  • a structure in which titanium nitride is laminated on tungsten may be used.
  • a structure in which tungsten is laminated on a first titanium nitride, and a second titanium nitride is laminated on the tungsten may be used.
  • the conductor 110 can be prevented from being oxidized by the insulator 130. Also, when an oxide insulator is used for the insulator 180, the conductor 110 can be prevented from being oxidized by the insulator 180.
  • the insulator 130 is provided on the conductor 115.
  • the insulator 130 is provided so as to contact the upper surface and side surfaces of the conductor 115.
  • the insulator 130 is structured so as to cover the side end portion of the conductor 110. This can prevent the conductor 115 and the conductor 120 from shorting out.
  • the side end of the insulator 130 may be aligned with the side end of the conductor 115.
  • the insulator 130 and the conductor 115 can be formed using the same mask, simplifying the manufacturing process of the memory device.
  • the insulator 130 it is preferable to use a material with a high relative dielectric constant, so-called high-k material, as described in the [Insulator] section below.
  • high-k material a material with a high relative dielectric constant
  • the insulator 130 can be made thick enough to suppress leakage current, and the capacitance of the capacitance element 100 can be sufficiently ensured.
  • the insulator 130 is preferably made of a high-k material and is preferably made of a laminated structure of a high dielectric constant (high-k) material and a material having a higher dielectric strength than the high-k material.
  • the insulator 130 may be made of an insulating film laminated in the order of zirconium oxide, aluminum oxide, and zirconium oxide.
  • the insulator may be made of an insulating film laminated in the order of zirconium oxide, aluminum oxide, zirconium oxide, and aluminum oxide.
  • the insulator may be made of an insulating film laminated in the order of hafnium zirconium oxide, aluminum oxide, hafnium zirconium oxide, and aluminum oxide.
  • a material that can have ferroelectricity may be used as the insulator 130.
  • materials that can have ferroelectricity include metal oxides such as hafnium oxide, zirconium oxide, and HfZrO x (X is a real number greater than 0).
  • materials that can have ferroelectricity include a material in which an element J1 (here, the element J1 is one or more selected from zirconium, silicon, aluminum, gadolinium, yttrium, lanthanum, strontium, etc.) is added to hafnium oxide.
  • the ratio of the number of hafnium atoms to the number of atoms of the element J1 can be set appropriately, and for example, the ratio of the number of hafnium atoms to the number of atoms of the element J1 may be set to 1:1 or close to 1:1.
  • materials that can have ferroelectricity include a material in which an element J2 (here, the element J2 is one or more selected from hafnium, silicon, aluminum, gadolinium, yttrium, lanthanum, strontium, etc.) is added to zirconium oxide.
  • the ratio between the number of zirconium atoms and the number of atoms of element J2 can be set appropriately, for example, the ratio between the number of zirconium atoms and the number of atoms of element J2 may be set to 1: 1 or close to 1.
  • piezoelectric ceramics having a perovskite structure such as lead titanate (PbTiO x ), barium strontium titanate (BST), strontium titanate, lead zirconate titanate (PZT), strontium bismuthate tantalate (SBT), bismuth ferrite (BFO), and barium titanate, may be used.
  • examples of materials that can have ferroelectricity include metal nitrides having element M1, element M2, and nitrogen.
  • element M1 is one or more selected from aluminum, gallium, indium, etc.
  • element M2 is one or more selected from boron, scandium, yttrium, lanthanum, cerium, neodymium, europium, titanium, zirconium, hafnium, vanadium, niobium, tantalum, chromium, etc. It should be noted that the ratio of the number of atoms of element M1 to the number of atoms of element M2 can be set appropriately. Also, metal oxides having element M1 and nitrogen may have ferroelectricity even if they do not contain element M2.
  • examples of materials that can have ferroelectricity include materials in which element M3 is added to the above metal nitride.
  • element M3 is one or more selected from magnesium, calcium, strontium, zinc, cadmium, etc.
  • the ratio of the number of atoms of element M1, the number of atoms of element M2, and the number of atoms of element M3 can be set appropriately.
  • examples of materials that can have ferroelectricity include perovskite-type oxynitrides such as SrTaO 2 N and BaTaO 2 N, and GaFeO 3 with a ⁇ -alumina structure.
  • metal oxides and metal nitrides are given as examples, but the present invention is not limited to these.
  • metal oxynitrides in which nitrogen is added to the above-mentioned metal oxides, or metal oxynitrides in which oxygen is added to the above-mentioned metal nitrides, etc. may be used.
  • the insulator 130 can have a layered structure made of multiple materials selected from the materials listed above.
  • the crystal structure (characteristics) of the materials listed above can change not only depending on the film formation conditions but also on various processes, in this specification, not only materials that exhibit ferroelectricity are called ferroelectrics, but also materials that can have ferroelectricity.
  • the film thickness of the insulator 130 can be 100 nm or less, preferably 50 nm or less, more preferably 20 nm or less, and even more preferably 10 nm or less (typically 2 nm to 9 nm).
  • the film thickness is preferably 8 nm to 12 nm.
  • a layer of a material that can have ferroelectricity may be referred to as a ferroelectric layer, a metal oxide film, or a metal nitride film.
  • a device having such a ferroelectric layer, a metal oxide film, or a metal nitride film may be referred to as a ferroelectric device in this specification, etc.
  • metal oxides containing one or both of hafnium and zirconium are preferable because they can have ferroelectricity even in a small area.
  • the area (occupied area) of the ferroelectric layer in a plan view is 100 ⁇ m 2 or less, 10 ⁇ m 2 or less, 1 ⁇ m 2 or less, or 0.1 ⁇ m 2 or less, the ferroelectricity can be maintained.
  • the area is 10,000 nm 2 or less, or 1,000 nm 2 or less, the ferroelectricity may be maintained.
  • a ferroelectric material is an insulator that is polarized when an electric field is applied from the outside, and the polarization remains even when the electric field is made zero. For this reason, a nonvolatile memory element can be formed using a capacitance element (hereinafter sometimes referred to as a ferroelectric capacitor) that uses this material as a dielectric.
  • a nonvolatile memory element using a ferroelectric capacitor is sometimes called a FeRAM (Ferroelectric Random Access Memory), a ferroelectric memory, etc.
  • a ferroelectric memory has a transistor and a ferroelectric capacitor, and one of the source and drain of the transistor is electrically connected to one terminal of the ferroelectric capacitor. Therefore, when a ferroelectric capacitor is used as the capacitance element 100, the memory device shown in this embodiment functions as a ferroelectric memory.
  • Ferroelectricity is believed to be manifested by the displacement of oxygen or nitrogen in the crystals contained in the ferroelectric layer by an external electric field. It is also presumed that the manifestation of ferroelectricity depends on the crystal structure of the crystals contained in the ferroelectric layer. Therefore, in order for the insulator 130 to manifest ferroelectricity, the insulator 130 must contain crystals. In particular, it is preferable for the insulator 130 to contain crystals having an orthorhombic crystal structure, since ferroelectricity is manifested.
  • the crystal structure of the crystals contained in the insulator 130 may be one or more selected from the cubic, tetragonal, orthorhombic, monoclinic, and hexagonal crystal systems.
  • the insulator 130 may have an amorphous structure. In this case, the insulator 130 may be a composite structure having an amorphous structure and a crystalline structure.
  • the conductor 120 is provided in contact with a portion of the upper surface of the insulator 130.
  • the side end of the conductor 120 is preferably located inside the side end of the conductor 115 in both the X direction and the Y direction.
  • the side end of the conductor 120 may be located outside the side end of the conductor 115.
  • the conductor 120 may be a single layer or a laminate of the conductors described in the section [Conductor] described later. It is preferable to use a conductive material that is not easily oxidized or a conductive material that has a function of suppressing the diffusion of oxygen as the conductor 120.
  • a conductive material that is not easily oxidized or a conductive material that has a function of suppressing the diffusion of oxygen as the conductor 120.
  • titanium nitride or tantalum nitride may be used.
  • a structure in which tantalum nitride is laminated on titanium nitride may be used. In this case, the titanium nitride is in contact with the insulator 130, and the tantalum nitride is in contact with the oxide semiconductor 230.
  • the conductor 120 can be prevented from being excessively oxidized by the oxide semiconductor 230.
  • the conductor 120 can be prevented from being excessively oxidized by the insulator 130.
  • the conductor 120 may be a structure in which tungsten is laminated on titanium nitride, for example.
  • the conductor 120 since the conductor 120 has a region in contact with the oxide semiconductor 230, it is preferable to use a conductive material containing oxygen described in the section [Conductor] described later. By using a conductive material containing oxygen as the conductor 120, the conductor 120 can maintain its conductivity even if it absorbs oxygen. In addition, even when an insulator containing oxygen such as zirconium oxide is used as the insulator 130, the conductor 120 is preferable because it can maintain its conductivity.
  • indium tin oxide also referred to as ITO
  • indium tin oxide with added silicon also referred to as ITSO
  • indium zinc oxide also referred to as IZO (registered trademark)
  • ITO indium tin oxide
  • ITSO indium tin oxide with added silicon
  • IZO indium zinc oxide
  • the insulator 180 functions as an interlayer film, it is preferable that it has a low dielectric constant. By using a material with a low dielectric constant as the interlayer film, the parasitic capacitance that occurs between wirings can be reduced.
  • an insulator containing a material with a low dielectric constant as described in the [Insulator] section below, can be used in a single layer or a multilayer. Silicon oxide and silicon oxynitride are preferable because they are thermally stable. In this case, the insulator 180b contains at least silicon and oxygen.
  • Insulator 180 is shown as a single layer in Figures 15B and 15C, but the present invention is not limited to this. Insulator 180 may have a two-layer laminated structure, or a three-layer or more laminated structure. For example, as shown in Figures 19A to 19D, 20A, and 20B, insulator 180 may have a laminated structure of insulator 180a and insulator 180b on insulator 180a.
  • insulator 180b it is preferable to use an insulating material that can be used for the insulator 180 described above.
  • the insulator 180a it is preferable to use an insulator having barrier properties against oxygen, as described in the [Insulator] section below.
  • the oxygen contained in the insulator 180b may oxidize the conductor 110, increasing its resistance.
  • the leakage current between the upper electrode and the lower electrode may increase. Furthermore, when a material that may have ferroelectricity is used as the insulator 130, the inclusion of impurities such as hydrogen in the material that may have ferroelectricity may reduce the crystallinity of the material that may have ferroelectricity. Therefore, it is preferable to prevent impurities such as hydrogen from being mixed into the insulator 130.
  • the insulator 180a it is preferable to use an insulator having barrier properties against hydrogen, as described in the [Insulator] section below, for the insulator 180a.
  • This can suppress the diffusion of hydrogen into the insulator 130 through the insulator 180b and the conductor 115.
  • Silicon nitride and silicon nitride oxide each have the characteristics of releasing little impurities (e.g., water and hydrogen) from themselves and being difficult for oxygen and hydrogen to permeate, and therefore can be suitably used for the insulator 180a.
  • the insulator 180a contains at least silicon and nitrogen.
  • an insulator having the function of capturing or fixing hydrogen as the insulator 180a, as described in the [Insulator] section below.
  • hydrogen in the insulator 130 can be captured or fixed, and the hydrogen concentration in the insulator 130 can be reduced.
  • Magnesium oxide, aluminum oxide, hafnium oxide, or the like can be used as the insulator 180a.
  • a laminate film of aluminum oxide and silicon nitride on the aluminum oxide may be used as the insulator 180a.
  • an insulator may be provided between the conductor 115 and the insulator 130 and the insulator 180b.
  • An insulator that can be used for the insulator 180a can be used as the insulator. This can prevent hydrogen from diffusing into the insulator 130 through the insulator 180b.
  • the transistor 200 can have a structure including a conductor 120, a conductor 240 on an insulator 280, an oxide semiconductor 230 provided in contact with the upper surface of the conductor 120 exposed in an opening 290, a side surface of the insulator 280 in the opening 290, a side surface of the conductor 240 in the opening 290, and at least a portion of the upper surface of the conductor 240, an insulator 250 provided in contact with the upper surface of the oxide semiconductor 230, and a conductor 260 provided in contact with the upper surface of the insulator 250.
  • the bottom of the opening 290 is the top surface of the conductor 120
  • the sidewalls of the opening 290 are the side surfaces of the insulator 280 and the side surfaces of the conductor 240.
  • 15B and 15C show an example in which the sidewall of the opening 290 is perpendicular to the top surface of the conductor 110.
  • the opening 290 has a cylindrical shape.
  • the opening 290 is circular in plan view, but the present invention is not limited to this.
  • the opening 290 may be approximately circular such as an ellipse, polygonal such as a rectangle, or polygonal such as a rectangle with rounded corners in plan view.
  • the maximum width of the opening 290 may be calculated appropriately according to the shape of the top of the opening 290. For example, if the opening is rectangular in plan view, the maximum width of the opening 290 may be the length of the diagonal line at the top of the opening 290.
  • the portions of the oxide semiconductor 230, the insulator 250, and the conductor 260 that are arranged in the opening 290 are provided to reflect the shape of the opening 290.
  • the oxide semiconductor 230 is provided to cover the bottom and sidewalls of the opening 290
  • the insulator 250 is provided to cover the oxide semiconductor 230
  • the conductor 260 is provided to fill the recess of the insulator 250 that reflects the shape of the opening 290.
  • FIG. 16A shows an enlarged view of the oxide semiconductor 230 and its vicinity in FIG. 15B.
  • FIG. 16B shows a cross-sectional view in the XY plane including the conductor 240 (which can also be said to be a cross-sectional view between the dashed dotted line B1-B2).
  • the oxide semiconductor 230 has a region 230i and regions 230na and 230nb that are arranged to sandwich the region 230i.
  • Region 230na is a region of oxide semiconductor 230 in contact with conductor 120. At least a part of region 230na functions as one of the source region and drain region of transistor 200.
  • Region 230nb is a region of oxide semiconductor 230 in contact with conductor 240. At least a part of region 230nb functions as the other of the source region and drain region of transistor 200.
  • conductor 240 is in contact with the entire outer periphery of oxide semiconductor 230.
  • the other of the source region and drain region of transistor 200 can be formed on the entire outer periphery of a portion of oxide semiconductor 230 that is formed in the same layer as conductor 240.
  • Region 230i is a region between regions 230na and 230nb of the oxide semiconductor 230. At least a part of region 230i functions as a channel formation region of the transistor 200. In other words, the channel formation region of the transistor 200 is located in a region of the oxide semiconductor 230 between the conductor 120 and the conductor 240. It can also be said that the channel formation region of the transistor 200 is located in a region of the oxide semiconductor 230 that is in contact with the insulator 280 or in the vicinity of the region.
  • the channel length of the transistor 200 is the distance between the source region and the drain region. In other words, it can be said that the channel length of the transistor 200 is determined by the thickness of the insulator 280 on the conductor 120.
  • the channel length L of the transistor 200 is indicated by a dashed double-headed arrow. In a cross-sectional view, the channel length L is the distance between the end of the region where the oxide semiconductor 230 and the conductor 120 contact each other and the end of the region where the oxide semiconductor 230 and the conductor 240 contact each other. In other words, the channel length L corresponds to the length of the side surface of the insulator 280 on the opening 290 side in a cross-sectional view.
  • the channel length is set by the exposure limit of photolithography, but in the present invention, the channel length can be set by the film thickness of the insulator 280. Therefore, the channel length of the transistor 200 can be made to be a very fine structure below the exposure limit of photolithography (for example, 60 nm or less, 50 nm or less, 40 nm or less, 30 nm or less, 20 nm or less, or 10 nm or less, and 1 nm or more, or 5 nm or more). This increases the on-current of the transistor 200, and improves the frequency characteristics. Therefore, the read speed and write speed of the memory cell 150 can be improved, and a memory device with high operating speed can be provided.
  • the exposure limit of photolithography for example, 60 nm or less, 50 nm or less, 40 nm or less, 30 nm or less, 20 nm or less, or 10 nm or less, and 1 nm or more, or 5 nm or more.
  • the channel formation region, source region, and drain region can be formed in the opening 290. This allows the area occupied by the transistor 200 to be reduced compared to conventional transistors in which the channel formation region, source region, and drain region are provided separately on the XY plane. This allows the memory device to be highly integrated, thereby increasing the memory capacity per unit area.
  • the oxide semiconductor 230, the insulator 250, and the conductor 260 are arranged concentrically in the XY plane including the channel formation region of the oxide semiconductor 230. Therefore, the side of the conductor 260 arranged at the center faces the side of the oxide semiconductor 230 through the insulator 250. That is, in a plan view, the entire circumference of the oxide semiconductor 230 becomes the channel formation region.
  • the channel width of the transistor 200 is determined by the outer periphery length of the oxide semiconductor 230. That is, it can be said that the channel width of the transistor 200 is determined by the maximum width of the opening 290 (maximum diameter when the opening 290 is circular in a plan view). In FIGS.
  • the maximum width D of the opening 290 is indicated by a double-headed arrow of a two-dot chain line.
  • the channel width W of the transistor 200 is indicated by a double-dot chain line of a one-dot chain line.
  • the maximum width D of the opening 290 is set by the exposure limit of photolithography.
  • the maximum width D of the opening 290 is set by the film thickness of each of the oxide semiconductor 230, the insulator 250, and the conductor 260 provided in the opening 290.
  • the maximum width D of the opening 290 is, for example, 5 nm or more, 10 nm or more, or 20 nm or more, and is preferably 100 nm or less, 60 nm or less, 50 nm or less, 40 nm or less, or 30 nm or less. Note that when the opening 290 is circular in plan view, the maximum width D of the opening 290 corresponds to the diameter of the opening 290, and the channel width W can be calculated as "D x ⁇ ".
  • the channel length L of the transistor 200 is preferably at least smaller than the channel width W of the transistor 200.
  • the channel length L of the transistor 200 of one embodiment of the present invention is 0.1 to 0.99 times, preferably 0.5 to 0.8 times, the channel width W of the transistor 200.
  • the oxide semiconductor 230, the insulator 250, and the conductor 260 are arranged concentrically. This makes the distance between the conductor 260 and the oxide semiconductor 230 approximately uniform, so that a gate electric field can be applied to the oxide semiconductor 230 approximately uniformly.
  • the channel formation region of a transistor using an oxide semiconductor for the semiconductor layer has fewer oxygen vacancies or a lower concentration of impurities such as hydrogen, nitrogen, and metal elements than the source and drain regions.
  • impurities such as hydrogen, nitrogen, and metal elements
  • VOH defects in which hydrogen enters the oxygen vacancies and generate electrons that serve as carriers
  • VOH is also reduced in the channel formation region.
  • the channel formation region of the transistor is a high-resistance region with a low carrier concentration. Therefore, it can be said that the channel formation region of the transistor is i-type (intrinsic) or substantially i-type.
  • the source and drain regions of a transistor that uses an oxide semiconductor for its semiconductor layer have more oxygen vacancies, more VOH , or a higher concentration of impurities such as hydrogen, nitrogen, or metal elements than the channel formation region, and thus have an increased carrier concentration and low resistance.
  • the source and drain regions of the transistor are n-type regions that have a higher carrier concentration and lower resistance than the channel formation region.
  • the opening 290 is provided so that the sidewall of the opening 290 is perpendicular to the top surface of the conductor 110, but the present invention is not limited to this.
  • the sidewall of the opening 290 may have a tapered shape. Tapered sidewalls of the opening 290 are preferable because they improve the coverage of the oxide semiconductor 230, the insulator 250, and the like provided along the opening 290.
  • the opening 190 is provided so that the sidewall of the opening 190 is perpendicular to the top surface of the conductor 110, but the present invention is not limited to this.
  • the sidewall of the opening 190 may have a tapered or inverse tapered shape.
  • a tapered sidewall of the opening 190 is preferable because it improves the coverage of the conductor 115, insulator 130, etc. that are provided along the opening 190.
  • the storage device shown in Figures 17A and 17B has a configuration in which the side walls of the opening 290 are tapered. Note that Figure 15A can be referred to for a plan view of the storage device shown in Figures 17A and 17B.
  • the angle (angle ⁇ 1 shown in FIG. 17A ) between the side surface of the insulator 280 in the opening 290 and the top surface of the conductor 110 is preferably 45 degrees or more and less than 90 degrees. Alternatively, it is preferably 45 degrees or more and 75 degrees or less. Alternatively, it is preferably 45 degrees or more and 65 degrees or less.
  • the shape of the opening 290 shown in Figures 17A and 17B is a truncated cone.
  • the opening 290 is circular in plan view and trapezoidal in cross section.
  • the area of the upper base surface of the truncated cone e.g., the opening provided in the conductor 240
  • the area of the lower base surface of the truncated cone is smaller than the area of the lower base surface of the truncated cone (the upper surface of the conductor 120 exposed at the opening 290).
  • the maximum diameter of the opening 290 may be calculated based on the upper base surface of the truncated cone.
  • the channel length can be set by the film thickness of the insulator 280 and the angle ⁇ 1 between the side surface of the insulator 280 at the opening 290 and the top surface of the conductor 110.
  • the perimeter of the oxide semiconductor 230 may be determined, for example, in a region facing the conductor 240 or at a position half the film thickness of the insulator 280. If necessary, the perimeter at any position of the opening 290 may be the channel width of the transistor 200. For example, the perimeter at the bottom of the opening 290 may be the channel width, or the perimeter at the top of the opening 290 may be the channel width.
  • 17A and 17B show a configuration in which the side of the conductor 240 in the opening 290 and the side of the insulator 280 in the opening 290 coincide with each other, but the present invention is not limited to this.
  • the side of the conductor 240 in the opening 290 and the side of the insulator 280 in the opening 290 may be discontinuous.
  • the inclination of the side of the conductor 240 in the opening 290 and the inclination of the side of the insulator 280 in the opening 290 may differ from each other.
  • the angle between the side of the conductor 240 in the opening 290 and the upper surface of the conductor 110 is preferably smaller than the angle ⁇ 1.
  • the bottom of the conductor 260 located in the opening 290 has a flat region.
  • the film thickness of the insulator 280 (corresponding to the depth of the opening 290), the film thickness of the oxide semiconductor 230, and the film thickness of the insulator 250, the bottom of the conductor 260 located in the opening 290 may not have a flat region.
  • the shape of the bottom of the conductor 260 located in the opening 290 may be needle-like. Note that FIG. 15A can be referred to for the plan views of the memory device shown in FIGS. 17C and 17D.
  • needle-like refers to a shape that becomes thinner toward the tip (closer to the bottom of the conductor 260 located in the opening 290).
  • the tip of the needle may be acute-angled or may have a curved shape that is convex downward.
  • a shape with an acute-angled tip may be called a V-shape.
  • the conductor 260 located in the opening 290 the region facing the oxide semiconductor 230 via the insulator 250 functions as a gate electrode. Therefore, the conductor 260 that fills the opening 290 and has a needle-shaped bottom may be called a needle-shaped gate. Also, as shown in Figures 17A and 17B, even if the conductor 260 has a shape with a flat bottom, it may still be called a needle-shaped gate.
  • the angle (angle ⁇ 2 shown in FIG. 17A) between the side surface of the insulator 180 at the opening 190 and the top surface of the conductor 110 is preferably 45 degrees or more and less than 90 degrees. Alternatively, it is preferably 45 degrees or more and 75 degrees or less. Alternatively, it is preferably 45 degrees or more and 65 degrees or less.
  • the bottom of the conductor 120 located at the opening 190 has a flat region.
  • the film thickness of the insulator 180 corresponding to the depth of the opening 190
  • the film thickness of the conductor 115 corresponding to the film thickness of the conductor 115
  • the film thickness of the insulator 130 the bottom of the conductor 120 located at the opening 190 may not have a flat region.
  • the shape of the bottom of the conductor 120 located at the opening 190 may be needle-shaped. Note that Figure 15A can be referred to for the plan views of the storage device shown in Figures 17C and 17D.
  • angles ⁇ 1 and ⁇ 2 are the same or approximately the same.
  • the angles ⁇ 1 and ⁇ 2 may be different depending on the materials used for the insulators 180 and 280, respectively, and the methods for forming the openings 190 and 290, respectively.
  • the angle ⁇ 1 may be greater than the angle ⁇ 2, or may be smaller than the angle ⁇ 2.
  • one of the angles ⁇ 1 and ⁇ 2 may be 90 degrees or a value close to it.
  • Figures 15B and 15C show a part of the oxide semiconductor 230 inside the side end of the conductor 240.
  • Figures 15B and 15C show a configuration in which the side end of the oxide semiconductor 230 is located inside the side end of the conductor 240. Note that the present invention is not limited to this. For example, a structure in which the side end of the oxide semiconductor 230 and the side end of the conductor 240 coincide in the X direction or Y direction may be used. Alternatively, a structure in which the side end of the oxide semiconductor 230 is located outside the side end of the conductor 240 may be used.
  • the band gap of the metal oxide used as the oxide semiconductor 230 is preferably 2 eV or more, more preferably 2.5 eV or more.
  • the frequency of the refresh operation can be about once per 10 sec, which is 10 times or more or 100 times or more. Note that in the memory device of one embodiment of the present invention, the frequency of the refresh operation can be set to once per 1 sec to 100 sec, preferably once per 5 sec to 50 sec.
  • the metal oxide described in embodiment 1 can be used as the oxide semiconductor 230 in a single layer or a stacked layer form.
  • the composition in the vicinity includes a range of ⁇ 30% of the desired atomic ratio. It is also preferable to use gallium as the element M.
  • the on-state current or the field effect mobility of the transistor can be increased. Furthermore, by containing the element M, the generation of oxygen vacancies (V 2 O 3 ) can be suppressed.
  • the element M is preferably one or more of the above elements, and more preferably one or more selected from gallium, tin, and yttrium.
  • the above atomic ratio is not limited to the atomic ratio of the formed metal oxide film, but may be the atomic ratio of the sputtering target used to form the metal oxide film.
  • energy dispersive X-ray spectrometry EDX
  • XPS X-ray photoelectron spectrometry
  • ICP-MS inductively coupled plasma mass spectrometry
  • ICP-AES inductively coupled plasma-atomic emission spectrometry
  • EDX energy dispersive X-ray spectrometry
  • XPS X-ray photoelectron spectrometry
  • ICP-MS inductively coupled plasma mass spectrometry
  • ICP-AES inductively coupled plasma-atomic emission spectrometry
  • the actual content may differ from the content obtained by analysis due to the influence of analytical accuracy. For example, if the content of element M is low, the content of element M obtained by analysis may be lower than the actual content.
  • the atomic layer deposition (ALD) method can be suitably used to form metal oxides.
  • the metal oxide may be formed by sputtering or CVD.
  • the composition of the formed metal oxide may differ from the composition of the sputtering target.
  • the zinc content in the formed metal oxide may decrease to about 50% compared to the sputtering target.
  • the oxide semiconductor 230 preferably has crystallinity (also referred to as having a crystalline portion).
  • oxide semiconductors having crystallinity include CAAC-OS (c-axis aligned crystalline oxide semiconductor), nc-OS (nanocrystalline oxide semiconductor), polycrystalline oxide semiconductors, single-crystalline oxide semiconductors, and the like.
  • CAAC-OS c-axis aligned crystalline oxide semiconductor
  • nc-OS nanocrystalline oxide semiconductor
  • polycrystalline oxide semiconductors single-crystalline oxide semiconductors, and the like.
  • CAAC-OS c-axis aligned crystalline oxide semiconductor
  • nc-OS nanocrystalline oxide semiconductor
  • polycrystalline oxide semiconductors single-crystalline oxide semiconductors, and the like.
  • CAAC-OS c-axis aligned crystalline oxide semiconductor
  • nc-OS nanocrystalline oxide semiconductor
  • polycrystalline oxide semiconductors single-crystalline oxide semiconductors, and the like.
  • CAAC-OS c-axis aligned crystalline oxide semiconductor
  • nc-OS nanocrystalline oxide semiconductor
  • the CAAC-OS preferably has multiple layered crystal regions with the c-axis oriented in the normal direction to the surface on which it is formed.
  • the oxide semiconductor 230 preferably has layered crystals that are approximately parallel to the sidewall of the opening 290, particularly to the side surface of the insulator 280. With this structure, the layered crystals of the oxide semiconductor 230 are formed approximately parallel to the channel length direction of the transistor 200, thereby increasing the on-state current of the transistor.
  • CAAC-OS is a metal oxide that has a highly crystalline and dense structure and has few impurities and defects (e.g., oxygen vacancies).
  • a temperature e.g. 400° C. or higher and 600° C. or lower
  • the CAAC-OS can be made to have a more crystalline and dense structure. In this way, the density of the CAAC-OS can be further increased, thereby further reducing the diffusion of impurities or oxygen in the CAAC-OS.
  • the oxide semiconductor 230 by using a crystalline oxide such as CAAC-OS as the oxide semiconductor 230, it is possible to suppress the extraction of oxygen from the oxide semiconductor 230 by the source electrode or the drain electrode. As a result, even when heat treatment is performed, oxygen can be suppressed from being extracted from the oxide semiconductor 230, and the transistor 200 is stable against high temperatures (so-called thermal budget) in the manufacturing process.
  • a crystalline oxide such as CAAC-OS
  • the crystallinity of the oxide semiconductor 230 can be analyzed, for example, by X-ray diffraction (XRD), a transmission electron microscope (TEM), or electron diffraction (ED). Alternatively, the analysis may be performed by combining a plurality of these techniques.
  • XRD X-ray diffraction
  • TEM transmission electron microscope
  • ED electron diffraction
  • the oxide semiconductor 230 may have a laminated structure of multiple oxide layers with different chemical compositions. For example, it may have a structure in which multiple types selected from the above metal oxides are appropriately laminated.
  • the oxide semiconductor 230 may have a stacked structure of an oxide semiconductor 230a and an oxide semiconductor 230b on the oxide semiconductor 230a. At least one of the oxide semiconductor 230a and the oxide semiconductor 230b is preferably formed by the metal oxide film formation method of one embodiment of the present invention.
  • the conductivity of the material used for oxide semiconductor 230a is preferably different from the conductivity of the material used for oxide semiconductor 230b.
  • the oxide semiconductor 230a can be made of a material having a higher conductivity than the oxide semiconductor 230b.
  • a material having a high conductivity for the oxide semiconductor 230a in contact with the conductor 120 and the conductor 240 that function as a source electrode or a drain electrode the contact resistance between the oxide semiconductor 230 and the conductor 120 and the contact resistance between the oxide semiconductor 230 and the conductor 240 can be reduced, and a transistor with a large on-state current can be obtained.
  • the threshold voltage of the transistor may shift, and the drain current (hereinafter also referred to as cutoff current) that flows when the gate voltage is 0 V may become large.
  • the threshold voltage may become low. Therefore, it is preferable to use a material with lower conductivity than the oxide semiconductor 230a for the oxide semiconductor 230b.
  • the threshold voltage can be increased, and the transistor can have a small cutoff current. Note that a small cutoff current may be referred to as a normally-off transistor.
  • the oxide semiconductor 230 As described above, by forming the oxide semiconductor 230 into a stacked structure and using a material having a higher conductivity than the oxide semiconductor 230b for the oxide semiconductor 230a, a transistor that is normally off and has a large on-state current can be obtained. Therefore, a memory device that achieves both low power consumption and high performance can be obtained.
  • the carrier concentration of the oxide semiconductor 230a is preferably higher than that of the oxide semiconductor 230b. Increasing the carrier concentration of the oxide semiconductor 230a increases the conductivity, and the contact resistance between the oxide semiconductor 230 and the conductor 120 and the contact resistance between the oxide semiconductor 230 and the conductor 240 can be reduced, resulting in a transistor with a large on-state current. Reducing the carrier concentration of the oxide semiconductor 230b decreases the conductivity, resulting in a normally-off transistor.
  • the oxide semiconductor 230a is made of a material having a higher conductivity than the oxide semiconductor 230b; however, one embodiment of the present invention is not limited to this.
  • the oxide semiconductor 230a may be made of a material having a lower conductivity than the oxide semiconductor 230b.
  • a configuration can be adopted in which the carrier concentration of the oxide semiconductor 230a is lower than the carrier concentration of the oxide semiconductor 230b.
  • the band gap of the first metal oxide used in the oxide semiconductor 230a is preferably different from the band gap of the second metal oxide used in the oxide semiconductor 230b.
  • the difference between the band gap of the first metal oxide and the band gap of the second metal oxide is preferably 0.1 eV or more, more preferably 0.2 eV or more, and even more preferably 0.3 eV or more.
  • the band gap of the first metal oxide used in the oxide semiconductor 230a can be smaller than the band gap of the second metal oxide used in the oxide semiconductor 230b. This can reduce the contact resistance between the oxide semiconductor 230 and the conductor 120 and the contact resistance between the oxide semiconductor 230 and the conductor 240, and can provide a transistor with a large on-state current.
  • the transistor 200 is an n-channel transistor, the threshold voltage can be increased, and the transistor can be a normally-off transistor.
  • band gap of the first metal oxide is smaller than the band gap of the second metal oxide, but one embodiment of the present invention is not limited to this.
  • a configuration in which the band gap of the first metal oxide is larger than the band gap of the second metal oxide can be used.
  • the band gap of the first metal oxide used in the oxide semiconductor 230a can be smaller than the band gap of the second metal oxide used in the oxide semiconductor 230b.
  • the composition of the first metal oxide is preferably different from the composition of the second metal oxide.
  • the band gap can be controlled.
  • the content of element M in the first metal oxide is preferably lower than the content of element M in the second metal oxide.
  • the first metal oxide and the second metal oxide are In-M-Zn oxides
  • the first metal oxide may not contain the element M.
  • the first metal oxide used in the oxide semiconductor 230a may be an In-Zn oxide
  • the second metal oxide used in the oxide semiconductor 230b may be an In-M-Zn oxide.
  • the first metal oxide may be an In-Zn oxide
  • the second metal oxide may be an In-Ga-Zn oxide.
  • the content of element M in the first metal oxide is lower than the content of element M in the second metal oxide, but one embodiment of the present invention is not limited to this.
  • the content of element M in the first metal oxide may be higher than the content of element M in the second metal oxide. Note that it is sufficient that the first metal oxide and the second metal oxide have different compositions, and the contents of elements other than element M may be different.
  • the thickness of the oxide semiconductor 230 is preferably 1 nm or more, 3 nm or more, or 5 nm or more, and 20 nm or less, 15 nm or less, 12 nm or less, or 10 nm or less.
  • each layer (here, oxide semiconductor 230a and oxide semiconductor 230b) constituting the oxide semiconductor 230 may be determined so that the thickness of the oxide semiconductor 230 falls within the above-mentioned range.
  • the thickness of the oxide semiconductor 230a can be determined so that the contact resistance between the oxide semiconductor 230a and the conductor 120 and the contact resistance between the oxide semiconductor 230a and the conductor 240 fall within the required range.
  • the thickness of the oxide semiconductor 230b can be determined so that the threshold voltage of the transistor falls within the required range. Note that the thickness of the oxide semiconductor 230a may be the same as or different from the thickness of the oxide semiconductor 230b.
  • the oxide semiconductor 230 has a two-layer stacked structure of the oxide semiconductor 230a and the oxide semiconductor 230b, but the present invention is not limited to this.
  • the oxide semiconductor 230 may have a stacked structure of three or more layers.
  • the insulators described in the section [Insulators] below can be used in a single layer or a multilayer.
  • silicon oxide or silicon oxynitride can be used as the insulator 250. Silicon oxide and silicon oxynitride are preferred because they are stable against heat.
  • the insulator 250 may be a material with a high relative dielectric constant, so-called high-k material, as described in the [Insulator] section below.
  • high-k material such as hafnium oxide or aluminum oxide may be used.
  • the thickness of the insulator 250 is preferably 0.5 nm or more and 15 nm or less, more preferably 0.5 nm or more and 12 nm or less, and even more preferably 0.5 nm or more and 10 nm or less. It is sufficient that the insulator 250 has a region with the above-mentioned thickness in at least a portion.
  • the concentration of impurities such as water and hydrogen in the insulator 250 is reduced. This can prevent impurities such as water and hydrogen from entering the channel formation region of the oxide semiconductor 230.
  • a portion of the insulator 250 is located outside the opening 290, i.e., above the conductor 240 and the insulator 280. At this time, it is preferable that the insulator 250 covers the side end of the oxide semiconductor 230. This can prevent the conductor 260 and the oxide semiconductor 230 from shorting out. It is also preferable that the insulator 250 covers the side end of the conductor 240. This can prevent the conductor 260 and the conductor 240 from shorting out.
  • the insulator 250 may have a layered structure of an insulator 250a, an insulator 250b on the insulator 250a, and an insulator 250c on the insulator 250b.
  • the insulator 250b is preferably made of a material with a low dielectric constant, as described in the [Insulator] section below.
  • silicon oxide and silicon oxynitride are preferable because they are stable against heat.
  • the insulator 250b contains at least oxygen and silicon. This configuration can reduce the parasitic capacitance that occurs between the conductor 260 and the conductor 240. It is also preferable that the concentration of impurities such as water and hydrogen in the insulator 250b is reduced.
  • the insulator 250a is preferably an insulator having a barrier property against oxygen, as described in the [Insulator] section below.
  • the insulator 250a has a region in contact with the oxide semiconductor 230.
  • the insulator 250a has a barrier property against oxygen, it is possible to suppress oxygen from being released from the oxide semiconductor 230 during heat treatment or the like. This can suppress the formation of oxygen vacancies in the oxide semiconductor 230. This can improve the electrical characteristics and reliability of the transistor 200.
  • aluminum oxide is preferably used as the insulator 250a. In this case, the insulator 250a contains at least oxygen and aluminum.
  • the insulator 250c is preferably an insulator having a barrier property against hydrogen as described in the [Insulator] section below. This can suppress the diffusion of impurities contained in the conductor 260 into the oxide semiconductor 230. Silicon nitride has high hydrogen barrier properties and is therefore suitable as the insulator 250c. In this case, the insulator 250c contains at least nitrogen and silicon.
  • the insulator 250c may further have a barrier property against oxygen.
  • the insulator 250c is provided between the insulator 250b and the conductor 260. This prevents the oxygen contained in the insulator 250b from diffusing into the conductor 260, suppressing oxidation of the conductor 260. In addition, a decrease in the amount of oxygen supplied to the region 230i can be suppressed.
  • an insulator may be provided between the insulator 250b and the insulator 250c.
  • the insulator it is preferable to use an insulator having a function of capturing or fixing hydrogen, as described in the section [Insulator] below.
  • the insulator hydrogen contained in the oxide semiconductor 230 can be captured or fixed more effectively.
  • the hydrogen concentration in the oxide semiconductor 230 can be reduced.
  • hafnium oxide may be used as the insulator.
  • the insulator contains at least oxygen and hafnium.
  • the insulator may have an amorphous structure.
  • the thicknesses of the insulators 250a to 250c are preferably thin and within the aforementioned range.
  • the thicknesses of the insulators 250a, 250b, the insulator having the function of capturing or fixing hydrogen, and the insulator 250c are 1 nm, 2 nm, 2 nm, and 1 nm, respectively.
  • Figures 18A and 18B show a configuration in which the insulator 250 has a three-layer stacked structure of insulators 250a to 250c, the present invention is not limited to this.
  • the insulator 250 may also have a two-layer or four or more layer stacked structure.
  • each layer included in the insulator 250 may be appropriately selected from insulators 250a to 250c and insulators that have the function of capturing or fixing hydrogen.
  • the conductor 260 may be a single layer or a multilayer of the conductors described in the section [Conductor] below.
  • the conductor 260 may be a highly conductive material such as tungsten.
  • a conductive material that is difficult to oxidize or a conductive material that has a function of suppressing the diffusion of oxygen as the conductor 260.
  • conductive materials include conductive materials that contain nitrogen (e.g., titanium nitride or tantalum nitride) and conductive materials that contain oxygen (e.g., ruthenium oxide). This makes it possible to suppress a decrease in the conductivity of the conductor 260.
  • the conductor 260 may have a layered structure of a conductor 260a and a conductor 260b on the conductor 260a.
  • titanium nitride may be used as the conductor 260a
  • tungsten may be used as the conductor 260b.
  • the conductor 260 is provided so as to fill the opening 290, but the present invention is not limited to this.
  • a recess reflecting the shape of the opening 290 may be formed in the center of the conductor 260, and a part of the recess may be located in the opening 290.
  • the recess may be filled with an inorganic insulating material or the like.
  • a part of the conductor 260 is located outside the opening 290, that is, on the conductor 240 and the insulator 280.
  • the side end of the conductor 260 is located inside the side end of the oxide semiconductor 230. This makes it possible to prevent a short circuit between the conductor 260 and the oxide semiconductor 230.
  • the side end of the conductor 260 may coincide with the side end of the oxide semiconductor 230, or may be located outside the side end of the oxide semiconductor 230.
  • the conductor 120 may be provided as described in the [Capacitive element 100] section.
  • 15B and 15C show a configuration in which the top surface of the conductor 120 is flat, but the present invention is not limited to this.
  • a configuration in which a recess that overlaps with the opening 290 is formed on the top surface of the conductor 120 may be used.
  • the conductor 240 may be a single layer or a multilayer of the conductors described in the section [Conductor] below.
  • the conductor 240 may be a highly conductive material such as tungsten.
  • the conductor 240 is made of a conductive material that is not easily oxidized or that has a function of suppressing the diffusion of oxygen.
  • a conductive material that is not easily oxidized or that has a function of suppressing the diffusion of oxygen.
  • titanium nitride or tantalum nitride can be used. With this configuration, it is possible to suppress excessive oxidation of the conductor 240 by the oxide semiconductor 230.
  • a structure in which tungsten is laminated on titanium nitride may be used. By laminating tungsten in this manner, the conductivity of the conductor 240 can be improved, allowing it to function adequately as the wiring BL.
  • the conductor 240 when the conductor 240 is configured by stacking a first conductor and a second conductor, for example, the first conductor may be formed using a conductive material with high conductivity, and the second conductor may be formed using a conductive material containing oxygen.
  • a conductive material containing oxygen as the second conductor of the conductor 240 that contacts the insulator 250, it is possible to suppress the oxygen in the insulator 250 from diffusing into the first conductor of the conductor 240.
  • the oxide semiconductor 230 and the conductor 120 come into contact with each other, a metal compound or oxygen vacancy is formed, and the resistance of the region 230na of the oxide semiconductor 230 is reduced.
  • the contact resistance between the oxide semiconductor 230 and the conductor 120 is reduced.
  • the resistance of the region 230nb of the oxide semiconductor 230 is reduced. Therefore, the contact resistance between the oxide semiconductor 230 and the conductor 240 can be reduced.
  • the insulators 140 and 280 function as interlayer films, it is preferable that they have a low dielectric constant. By using a material with a low dielectric constant as the interlayer film, the parasitic capacitance that occurs between wirings can be reduced. As the insulators 140 and 280, insulators containing a material with a low dielectric constant, as described in the [Insulators] section below, can be used in a single layer or a stack. Silicon oxide and silicon oxynitride are preferable because they are thermally stable.
  • the concentrations of impurities such as water and hydrogen in the insulator 140 and the insulator 280 are reduced. This can suppress the intrusion of impurities such as water and hydrogen into the channel formation region of the oxide semiconductor 230.
  • the insulator 280 disposed in the vicinity of the channel formation region is preferably an insulator containing oxygen that is released by heating (hereinafter may be referred to as excess oxygen).
  • excess oxygen By performing heat treatment on the insulator 280 containing excess oxygen, oxygen can be supplied from the insulator 280 to the channel formation region of the oxide semiconductor 230, thereby reducing oxygen vacancies and VOH .
  • the electrical characteristics of the transistor 200 can be stabilized and the reliability can be improved.
  • the insulator 280 may be an insulator having a function of capturing or fixing hydrogen, as described in the [Insulator] section below. With such a structure, hydrogen in the oxide semiconductor 230 can be captured or fixed, and the hydrogen concentration in the oxide semiconductor 230 can be reduced. Magnesium oxide, aluminum oxide, or the like can be used as the insulator 280.
  • the insulator 280 may have a single layer structure or a laminated structure of two or more layers.
  • the insulator 280 may have a laminated structure of an insulator 280a, an insulator 280b on the insulator 280a, and an insulator 280c on the insulator 280b.
  • the insulator 280b is preferably an insulator containing oxygen.
  • the insulator 280b preferably has a region with a higher oxygen content than at least one of the insulators 280a and 280c.
  • the insulator 280b preferably has a region with a higher oxygen content than each of the insulators 280a and 280c. Increasing the oxygen content of the insulator 280b makes it easier to form an i-type region in the region of the oxide semiconductor 230 that is in contact with the insulator 280b and in its vicinity.
  • oxygen can be supplied to the oxide semiconductor 230.
  • oxygen is supplied from the insulator 280b to the oxide semiconductor 230, particularly to the channel formation region of the oxide semiconductor 230, oxygen vacancies and VOH in the oxide semiconductor 230 can be reduced, and the transistor can have favorable electrical characteristics and high reliability.
  • oxygen can be supplied to the insulator 280b by performing heat treatment in an oxygen-containing atmosphere or plasma treatment in an oxygen-containing atmosphere.
  • Oxygen may also be supplied by forming an oxide film on the upper surface of the insulator 280b in an oxygen atmosphere by a sputtering method. The oxide film may then be removed.
  • the insulator 280b is preferably formed by a deposition method such as a sputtering method or a plasma enhanced chemical vapor deposition (PECVD) method.
  • a deposition method such as a sputtering method or a plasma enhanced chemical vapor deposition (PECVD) method.
  • PECVD plasma enhanced chemical vapor deposition
  • the channel length of the transistor 200 When the channel length of the transistor 200 is short, the influence of oxygen vacancies and VOH in the channel formation region on the electrical characteristics and reliability is particularly large.
  • oxygen from the insulator 280b By supplying oxygen from the insulator 280b to the oxide semiconductor 230, an increase in oxygen vacancies and VOH can be suppressed at least in a region of the oxide semiconductor 230 in contact with the insulator 280b. Therefore, a transistor with a short channel length having favorable electrical characteristics and high reliability can be realized.
  • the insulators 280a and 280c are preferably made of an insulator having a barrier property against oxygen, as described in the [Insulator] section below. This can prevent oxygen contained in the insulator 280b from diffusing to the substrate side through the insulator 280a due to heating, and from diffusing to the insulator 250 side through the insulator 280c. In other words, by sandwiching the insulator 280b from above and below with the insulators 280a and 280c, through which oxygen does not easily diffuse, the oxygen contained in the insulator 280b can be trapped. This can effectively supply oxygen to the oxide semiconductor 230.
  • the oxygen contained in the insulator 280b may oxidize the conductor 120 and the conductor 240, resulting in an increase in resistance.
  • the conductor 120 can be prevented from being oxidized and the resistance from increasing.
  • the conductor 240 can be prevented from being oxidized and the resistance from increasing.
  • the amount of oxygen supplied from the insulator 280b to the oxide semiconductor 230 increases, thereby reducing oxygen vacancies in the oxide semiconductor 230.
  • the region of the oxide semiconductor 230 in contact with the insulator 280a and the region in contact with the insulator 280c receives a smaller amount of oxygen than the region in contact with the insulator 280b. Therefore, the region of the oxide semiconductor 230 in contact with the insulator 280a and the region in contact with the insulator 280c may have low resistance. In other words, by adjusting the thickness of the insulator 280a, the range of the region 230na that functions as one of the source region and the drain region can be controlled. Similarly, by adjusting the thickness of the insulator 280c, the range of the region 230nb that functions as the other of the source region and the drain region can be controlled.
  • the source region and drain region can be controlled by the film thickness of insulator 280a and insulator 280c, so the film thickness of insulator 280a and insulator 280c can be set appropriately according to the characteristics desired for transistor 200.
  • the film thickness of insulator 280c and the film thickness of insulator 280a may be approximately the same.
  • the film thickness of insulator 280c may be smaller than the film thickness of insulator 280a.
  • 19C and 19D show a configuration in which the insulator 280c is provided on the planarized insulator 280b, but the present invention is not limited to this.
  • the insulator 280c may be formed without performing planarization treatment on the insulator 280b. By not performing planarization treatment, the manufacturing cost can be reduced and the production yield can be increased.
  • the insulators 280a, 280b, and 280c can be formed successively without exposure to the atmospheric environment.
  • the insulators 280a to 280c By forming the insulators 280a to 280c without exposing them to the atmospheric environment, it is possible to prevent impurities or moisture from the atmospheric environment from adhering to the insulators 280a to 280c, and it is possible to keep the vicinity of the interface between the insulators 280a and 280b and the vicinity of the interface between the insulators 280b and 280c clean.
  • the insulators 280a and 280c are preferably made of an insulator having a barrier property against hydrogen, as described in the [Insulator] section below. This can prevent hydrogen from diffusing from the outside of the transistor to the oxide semiconductor 230 through the insulator 280a or the insulator 280c. Silicon nitride films and silicon nitride oxide films each have the characteristics of releasing little impurities (e.g., water and hydrogen) from themselves and being difficult for oxygen and hydrogen to permeate, and therefore can be suitably used for the insulators 280a and 280c. Note that the insulators 280a and 280c may be made of the same material or different materials.
  • Insulator 280a is preferably an insulator having a function of capturing or fixing hydrogen, as described in the [Insulator] section below. With such a configuration, hydrogen can be prevented from diffusing from below insulator 280a to oxide semiconductor 230, and hydrogen in oxide semiconductor 230 can be captured or fixed, thereby reducing the hydrogen concentration in oxide semiconductor 230. Insulator 280a can be prevented from diffusing from above insulator 280a to insulator 130, and hydrogen in insulator 130 can be captured or fixed, thereby reducing the hydrogen concentration in insulator 130.
  • Magnesium oxide, aluminum oxide, hafnium oxide, or the like can be used as insulator 280a.
  • a stacked film of aluminum oxide and silicon nitride on the aluminum oxide may be used as insulator 280a.
  • the thickness of the insulator 280a is preferably smaller than that of the insulator 280b.
  • the thickness of the insulator 280c is preferably smaller than that of the insulator 280b.
  • the thicknesses of the insulators 280a and 280c are preferably 1 nm or more and 15 nm or less, more preferably 2 nm or more and 10 nm or less, more preferably 3 nm or more and 7 nm or less, and further preferably 3 nm or more and 5 nm or less.
  • the thickness of the insulator 280b is preferably 3 nm or more and 30 nm or less, more preferably 5 nm or more and 20 nm or less, and more preferably 7 nm or more and 15 nm or less.
  • each of the insulators 280a and 280c contains at least silicon and nitrogen.
  • the insulator 280b contains at least silicon and oxygen.
  • the 20A and 20B show a configuration in which the insulator 280 has a three-layer stacked structure, but this is not a limitation of one embodiment of the present invention.
  • the insulator 280 may have a two-layer or four or more layer stacked structure.
  • the insulator 283 is preferably an insulator having barrier properties against hydrogen, as described in the [Insulator] section below. This can prevent hydrogen from diffusing from outside the transistor to the oxide semiconductor 230 through the insulator 250.
  • a silicon nitride film and a silicon nitride oxide film each have the characteristics of releasing little impurities (e.g., water and hydrogen) from themselves and being difficult for oxygen and hydrogen to permeate, and therefore can be suitably used for the insulator 283.
  • the insulator 283 an insulator having a function of capturing hydrogen or fixing hydrogen, as described in the section [Insulator] below. With such a structure, it is possible to suppress diffusion of hydrogen from above the insulator 283 to the oxide semiconductor 230, and further to capture or fix hydrogen in the oxide semiconductor 230, thereby reducing the hydrogen concentration in the oxide semiconductor 230.
  • the insulator 283, magnesium oxide, aluminum oxide, hafnium oxide, or the like can be used.
  • the insulator 283 may be a stacked film of aluminum oxide and silicon nitride on the aluminum oxide.
  • 15B and 15C show a configuration having a region where the upper surface of the conductor 120 and the lower surface of the oxide semiconductor 230 are in contact with each other, but the present invention is not limited to this.
  • a conductor may be provided between the conductor 120 and the oxide semiconductor 230.
  • a conductor 125 may be provided between the conductor 120 and the oxide semiconductor 230.
  • the conductor 125 it is preferable to use a conductive material containing oxygen described in the section [Conductor] below.
  • a conductive material containing oxygen as the conductor 125, the conductivity can be maintained even if the conductor 125 absorbs oxygen.
  • the diffusion of oxygen in the oxide semiconductor 230 to the conductor 120 can be suppressed.
  • the conductor 125 for example, indium tin oxide, indium tin oxide with added silicon, indium zinc oxide, or the like can be used in a single layer or a stacked layer.
  • a configuration is shown in which the conductor 240 is provided on the insulator 280. Also, a configuration is shown in which the area of the insulator 250 that does not overlap with the conductor 240 has an area that is in contact with the upper surface of the insulator 280. Note that the present invention is not limited to this.
  • the conductor 240 may be configured to be embedded in the insulator.
  • the height of the upper surface of the conductor 240 matches the height of the upper surface of the insulator.
  • an insulator 180 is formed on the conductor 110, and the insulator 180 is processed to form an opening 190 that reaches the conductor 110.
  • a conductor 115 that contacts the side surface of the insulator 180 in the opening 190 is formed, an insulator 130 is formed on the conductor 115, a conductor 120 is formed on the insulator 130, an insulator 280 is formed on the conductor 120, and a conductor 240 is formed on the insulator 280.
  • the conductor 240 and the insulator 280 are processed, respectively, to form an opening 290 that reaches the conductor 120.
  • an oxide semiconductor 230 that contacts the top surface of the conductor 120, the side surface of the insulator 280, and the top surface and side surface of the conductor 240 in the opening 290 is formed, an insulator 250 is formed on the oxide semiconductor 230, and a conductor 260 is formed on the insulator 250.
  • the oxide semiconductor 230 is preferably formed using the metal oxide film formation method described in embodiment 1.
  • the substrate on which the transistor 200 and the capacitor element 100 are formed for example, an insulating substrate, a semiconductor substrate, or a conductive substrate can be used.
  • a insulating substrate for example, a glass substrate, a quartz substrate, a sapphire substrate, a stabilized zirconia substrate (such as an yttria stabilized zirconia substrate), and a resin substrate can be used.
  • a semiconductor substrate made of silicon or germanium, and a compound semiconductor substrate made of silicon carbide, silicon germanium, gallium arsenide, indium phosphide, zinc oxide, or gallium oxide can be used.
  • the semiconductor substrate for example, a semiconductor substrate having an insulating region inside the semiconductor substrate, for example, an SOI (Silicon On Insulator) substrate, can be used.
  • the conductive substrate for example, a graphite substrate, a metal substrate, an alloy substrate, and a conductive resin substrate can be used.
  • the substrate for example, a substrate having a metal nitride, a substrate having a metal oxide, a substrate having a conductor or semiconductor provided on an insulating substrate, a substrate having a conductor or insulator provided on a semiconductor substrate, and a substrate having a semiconductor or insulator provided on a conductive substrate can be used.
  • one or more elements may be provided on the substrate, for example, a capacitance element, a resistance element, a switching element, a light-emitting element, and a memory element.
  • Examples of the insulator include insulating oxides, nitrides, oxynitrides, nitride oxides, metal oxides, metal oxynitrides, and metal nitride oxides.
  • Examples of materials with a high dielectric constant include aluminum oxide, gallium oxide, hafnium oxide, tantalum oxide, zirconium oxide, hafnium zirconium oxide, oxides having aluminum and hafnium, oxynitrides having aluminum and hafnium, oxides having silicon and hafnium, oxynitrides having silicon and hafnium, and nitrides having silicon and hafnium.
  • materials with a low relative dielectric constant include inorganic insulating materials such as silicon oxide, silicon oxynitride, and silicon nitride oxide, and resins such as polyester, polyolefin, polyamide (nylon, aramid, etc.), polyimide, polycarbonate, and acrylic.
  • inorganic insulating materials with a low relative dielectric constant include silicon oxide with added fluorine, silicon oxide with added carbon, silicon oxide with added carbon and nitrogen, and silicon oxide with voids. These silicon oxides may contain nitrogen.
  • the electrical characteristics of a transistor using a metal oxide can be stabilized by surrounding the transistor with an insulator that has a function of suppressing the permeation of impurities such as hydrogen and oxygen.
  • an insulator that has a function of suppressing the permeation of impurities such as hydrogen and oxygen for example, an insulator containing one or more of boron, carbon, nitrogen, oxygen, fluorine, magnesium, aluminum, silicon, phosphorus, chlorine, argon, gallium, germanium, yttrium, zirconium, lanthanum, neodymium, hafnium, and tantalum can be used in a single layer or a stacked layer.
  • an insulator that has a function of suppressing the permeation of impurities such as hydrogen and oxygen
  • metal oxides such as aluminum oxide, magnesium oxide, gallium oxide, germanium oxide, yttrium oxide, zirconium oxide, lanthanum oxide, neodymium oxide, hafnium oxide, and tantalum oxide
  • metal nitrides such as aluminum nitride, silicon nitride oxide, and silicon nitride can be used.
  • Insulators in contact with a semiconductor such as a gate insulator, or insulators provided near a semiconductor layer are preferably insulators having a region containing excess oxygen.
  • insulators having a region containing excess oxygen in contact with a semiconductor layer or in the vicinity of the semiconductor layer, oxygen vacancies in the semiconductor layer can be reduced.
  • Examples of insulators that are likely to form a region containing excess oxygen include silicon oxide, silicon oxynitride, and silicon oxide with vacancies.
  • Insulators having barrier properties against oxygen include oxides containing either or both of aluminum and hafnium, oxides containing hafnium and silicon (hafnium silicate), magnesium oxide, gallium oxide, gallium zinc oxide, silicon nitride, and silicon nitride oxide.
  • oxides containing either or both of aluminum and hafnium include aluminum oxide, hafnium oxide, and oxides containing aluminum and hafnium (hafnium aluminate).
  • Insulators that have barrier properties against hydrogen include aluminum oxide, magnesium oxide, hafnium oxide, gallium oxide, indium gallium zinc oxide, silicon nitride, and silicon nitride oxide.
  • An insulator that has a barrier property against oxygen and an insulator that has a barrier property against hydrogen can be said to have a barrier property against either or both of oxygen and hydrogen.
  • Insulators having the function of capturing or fixing hydrogen include oxides containing magnesium, and oxides containing one or both of aluminum and hafnium. It is more preferable that these oxides have an amorphous structure. In oxides having an amorphous structure, oxygen atoms have dangling bonds, and the dangling bonds may have the property of capturing or fixing hydrogen. It is preferable that these metal oxides have an amorphous structure, but crystalline regions may be formed in some parts.
  • the barrier property refers to a property that the corresponding substance does not easily diffuse (also referred to as a property that the corresponding substance does not easily permeate, a property that the corresponding substance has low permeability, or a function that suppresses the diffusion of the corresponding substance).
  • the function of capturing or fixing the corresponding substance also referred to as gettering
  • hydrogen when described as the corresponding substance refers to at least one of, for example, hydrogen atoms, hydrogen molecules, and substances bonded to hydrogen such as water molecules and OH ⁇ .
  • impurities when described as the corresponding substance refer to impurities in the channel formation region or the semiconductor layer unless otherwise specified, and refer to at least one of, for example, hydrogen atoms, hydrogen molecules, water molecules, nitrogen atoms, nitrogen molecules, nitrogen oxide molecules (N 2 O, NO, NO 2 , etc.), copper atoms, etc.
  • oxygen when described as the corresponding substance refers to at least one of, for example, oxygen atoms, oxygen molecules, etc.
  • the barrier property against oxygen refers to a property that at least one of oxygen atoms, oxygen molecules, etc. does not easily diffuse.
  • the conductor it is preferable to use a metal element selected from aluminum, chromium, copper, silver, gold, platinum, tantalum, nickel, titanium, molybdenum, tungsten, hafnium, vanadium, niobium, manganese, magnesium, zirconium, beryllium, indium, ruthenium, iridium, strontium, lanthanum, etc., or an alloy containing the above-mentioned metal elements as a component, or an alloy combining the above-mentioned metal elements.
  • a nitride of the alloy or an oxide of the alloy may be used as the alloy containing the above-mentioned metal elements as a component.
  • tantalum nitride titanium nitride, tungsten, a nitride containing titanium and aluminum, a nitride containing tantalum and aluminum, ruthenium oxide, ruthenium nitride, an oxide containing strontium and ruthenium, an oxide containing lanthanum and nickel, etc.
  • a semiconductor with high electrical conductivity typified by polycrystalline silicon containing an impurity element such as phosphorus, or a silicide such as nickel silicide may be used.
  • conductive materials containing nitrogen such as nitrides containing tantalum, nitrides containing titanium, nitrides containing molybdenum, nitrides containing tungsten, nitrides containing ruthenium, nitrides containing tantalum and aluminum, or nitrides containing titanium and aluminum
  • conductive materials containing oxygen such as ruthenium oxide, oxides containing strontium and ruthenium, or oxides containing lanthanum and nickel
  • materials containing metal elements such as titanium, tantalum, or ruthenium are preferred because they are conductive materials that are difficult to oxidize, conductive materials that have a function of suppressing the diffusion of oxygen, or materials that maintain conductivity even when oxygen is absorbed.
  • examples of conductive materials containing oxygen include indium oxide containing tungsten oxide, indium oxide containing titanium oxide, indium tin oxide, indium tin oxide containing titanium oxide, indium tin oxide to which silicon has been added, indium zinc oxide, and indium zinc oxide containing tungsten oxide.
  • a conductive film formed using a conductive material containing oxygen may be referred to as an oxide conductive film.
  • conductive materials primarily composed of tungsten, copper, or aluminum are preferred because they have high conductivity.
  • a stacked structure may be formed by combining the above-mentioned material containing a metal element with a conductive material containing oxygen.
  • a stacked structure may be formed by combining the above-mentioned material containing a metal element with a conductive material containing nitrogen.
  • a stacked structure may be formed by combining the above-mentioned material containing a metal element with a conductive material containing oxygen and a conductive material containing nitrogen.
  • a metal oxide is used for the channel formation region of a transistor, it is preferable to use a layered structure in which a material containing the above-mentioned metal element and a conductive material containing oxygen are combined for the conductor that functions as the gate electrode. In this case, it is preferable to provide the conductive material containing oxygen on the channel formation region side. By providing the conductive material containing oxygen on the channel formation region side, oxygen desorbed from the conductive material is easily supplied to the channel formation region.
  • a conductor functioning as a gate electrode it is preferable to use a conductive material containing oxygen and a metal element contained in the metal oxide in which the channel is formed.
  • the conductive material containing the metal element and nitrogen described above may also be used.
  • a conductive material containing nitrogen such as titanium nitride or tantalum nitride, may also be used.
  • Indium tin oxide, indium oxide containing tungsten oxide, indium zinc oxide containing tungsten oxide, indium oxide containing titanium oxide, indium tin oxide containing titanium oxide, indium zinc oxide, and indium tin oxide with added silicon may also be used.
  • Indium gallium zinc oxide containing nitrogen may also be used.
  • the oxide semiconductor 230 can be rephrased as a semiconductor layer including a channel formation region of a transistor.
  • a semiconductor material that can be used for the semiconductor layer is not limited to the above-mentioned metal oxides.
  • a semiconductor material having a band gap (a semiconductor material that is not a zero-gap semiconductor) may be used as the semiconductor.
  • a semiconductor of a single element, a compound semiconductor, or a layered material (also referred to as an atomic layer material, a two-dimensional material, or the like) is preferably used as the semiconductor material.
  • layered material is a general term for a group of materials having a layered crystal structure.
  • a layered crystal structure is a structure in which layers formed by covalent bonds or ionic bonds are stacked via bonds weaker than covalent bonds or ionic bonds, such as van der Waals bonds.
  • Layered materials have high electrical conductivity within a unit layer, that is, high two-dimensional electrical conductivity.
  • Examples of semiconductor elements that can be used in the semiconductor material include silicon and germanium.
  • Examples of silicon that can be used in the semiconductor layer include single crystal silicon, polycrystalline silicon, microcrystalline silicon, and amorphous silicon.
  • Examples of polycrystalline silicon include low temperature polysilicon (LTPS).
  • Compound semiconductors that can be used for the semiconductor material include silicon carbide, silicon germanium, gallium arsenide, indium phosphide, boron nitride, and boron arsenide.
  • the boron nitride that can be used for the semiconductor layer preferably includes an amorphous structure.
  • the boron arsenide that can be used for the semiconductor layer preferably includes crystals with a cubic structure.
  • Examples of layered materials include graphene, silicene, boron carbonitride, and chalcogenides.
  • boron carbonitride carbon atoms, nitrogen atoms, and boron atoms are arranged in a hexagonal lattice structure on a plane.
  • Chalcogenides are compounds that contain chalcogen. Chalcogen is a general term for elements that belong to Group 16, and includes oxygen, sulfur, selenium, tellurium, polonium, and livermorium.
  • Examples of chalcogenides include transition metal chalcogenides and Group 13 chalcogenides.
  • transition metal chalcogenide that functions as a semiconductor.
  • transition metal chalcogenides that can be used as the semiconductor layer include molybdenum sulfide (representatively MoS 2 ), molybdenum selenide (representatively MoSe 2 ), molybdenum tellurium (representatively MoTe 2 ), tungsten sulfide (representatively WS 2 ), tungsten selenide (representatively WSe 2 ), tungsten tellurium (representatively WTe 2 ), hafnium sulfide (representatively HfS 2 ), hafnium selenide (representatively HfSe 2 ), zirconium sulfide (representatively ZrS 2 ), and zirconium selenide (representatively ZrSe 2 ).
  • Fig. 21 and Fig. 22 The semiconductor device illustrated in Fig. 21 and Fig. 22 includes a transistor 200E having a different structure from the above-described transistors 200 and 200A to 200D.
  • FIG. 21A shows a plan view of a semiconductor device according to one embodiment of the present invention.
  • FIG. 21B shows a cross-sectional view taken along dashed lines A1-A2 in FIG. 21A.
  • FIG. 21B is also a cross-sectional view of the transistor 200E in the channel length direction.
  • FIG. 21C shows a cross-sectional view taken along dashed lines A3-A4 in FIG. 21A.
  • FIG. 21C is also a cross-sectional view of the transistor 200E in the channel width direction.
  • FIG. 21D shows a cross-sectional view taken along dashed lines A5-A6 in FIG. 21A.
  • FIG. 21D is also a cross-sectional view of the transistor 200E in the channel width direction. Note that some elements are omitted from the plan view of FIG. 21A for clarity.
  • FIGS. 22A and 22B show enlarged cross-sectional views of the transistor 200E in the channel length direction.
  • Transistor 200E has conductor 205 (conductor 205a and conductor 205b) embedded in insulator 216, insulator 221 on insulator 216 and conductor 205, insulator 222 on insulator 221, insulator 224 on insulator 222, oxide 220 (oxide 220a and oxide 220b) on insulator 224, conductor 242a (conductor 242a1 and conductor 242a2) and conductor 242b (conductor 242b1 and conductor 242b2) on oxide 220, insulator 271a on conductor 242a, insulator 271b on conductor 242b, insulator 250 on oxide 220, and conductor 260 (conductor 260a and conductor 260b) on insulator 250.
  • conductor 260 conductor 260a and conductor 260b
  • An insulator 275 is provided on the insulators 271a and 271b, and an insulator 285 is provided on the insulator 275.
  • the insulators 255, 250, and conductor 260 are disposed inside the openings provided in the insulators 285 and 275.
  • An insulator 282 is provided on the insulator 285 and the conductor 260.
  • An insulator 283 is provided on the insulator 282.
  • An insulator 215 is provided below the insulator 216 and the conductor 205.
  • An insulator 255 is provided between the insulator 242a2, the conductor 242b2, the insulator 271a, the insulator 271b, the insulator 275, and the insulator 285 and the insulator 250.
  • insulator 215, insulator 216, conductor 205, insulator 221, insulator 222, insulator 224, oxide 220, conductor 242a, conductor 242b, insulator 271a, insulator 271b, insulator 275, insulator 285, insulator 255, insulator 250, conductor 260, insulator 282, and insulator 283 may each have a single layer structure or a laminated structure.
  • Oxide 220 has a region that functions as a channel formation region of transistor 200E.
  • Conductor 260 has a region that functions as a first gate electrode (upper gate electrode) of transistor 200E.
  • Insulator 250 has a region that functions as a first gate insulator of transistor 200E.
  • Conductor 205 has a region that functions as a second gate electrode (lower gate electrode) of transistor 200E.
  • Insulator 224, insulator 222, and insulator 221 each have a region that functions as a second gate insulator of transistor 200E.
  • the conductor 242a has a region that functions as one of the source electrode or drain electrode of the transistor 200E.
  • the conductor 242b has a region that functions as the other of the source electrode or drain electrode of the transistor 200E.
  • the oxide 220 preferably has an oxide 220a on the insulator 224 and an oxide 220b on the oxide 220a. By having the oxide 220a below the oxide 220b, it is possible to suppress the diffusion of impurities from structures formed below the oxide 220a to the oxide 220b.
  • the oxide 220 is not limited to a two-layer structure of the oxide 220a and the oxide 220b.
  • the oxide 220 may be, for example, a single-layer structure of the oxide 220b, or may be a laminated structure of three or more layers.
  • a channel formation region and a source region and a drain region are formed on either side of the channel formation region in the transistor 200E. At least a portion of the channel formation region overlaps with the conductor 260.
  • the source region overlaps with the conductor 242a, and the drain region overlaps with the conductor 242b. Note that the source region and the drain region can be interchanged.
  • the channel formation region is a high-resistance region with a low carrier concentration because it has fewer oxygen vacancies or a lower impurity concentration than the source and drain regions. Therefore, the channel formation region can be said to be i-type (intrinsic) or substantially i-type.
  • the source and drain regions are low-resistance regions with high carrier concentrations due to a large number of oxygen vacancies or high concentrations of impurities such as hydrogen, nitrogen, and metal elements.
  • the source and drain regions are n-type regions (low-resistance regions) with a high carrier concentration compared to the channel formation region.
  • the channel formation region, the source region, and the drain region may each be formed with not only oxide 220b but also oxide 220a.
  • concentrations of metal elements and impurity elements such as hydrogen and nitrogen detected in each region may change continuously within each region, not necessarily in a stepwise manner from region to region. In other words, the concentrations of metal elements and impurity elements such as hydrogen and nitrogen may decrease in the region closer to the channel formation region.
  • oxide 220 oxide 220a and oxide 220b.
  • oxide 220a and oxide 220b are preferable to form by the ALD method.
  • oxide 220a by the sputtering method and oxide 220b by the ALD method.
  • the preferred ranges of the aluminum concentration and the carbon concentration in the channel formation region of the oxide 220 are the same as those of the oxide semiconductor 230.
  • the oxide 220 preferably has a laminated structure of multiple oxide layers with different chemical compositions.
  • the atomic ratio of element M to the main metal element is preferably greater than the atomic ratio of element M to the main metal element in the metal oxide used for the oxide 220b.
  • the atomic ratio of element M to In is preferably greater than the atomic ratio of element M to In in the metal oxide used for the oxide 220b. This configuration can suppress the diffusion of impurities and oxygen from structures formed below the oxide 220a to the oxide 220b.
  • the atomic ratio of In to element M is greater than the atomic ratio of In to element M in the metal oxide used for oxide 220a.
  • oxide 220a and oxide 220b have a common element other than oxygen as a main component, the defect state density at the interface between oxide 220a and oxide 220b can be reduced.
  • the defect state density at the interface between oxide 220a and oxide 220b can be reduced.
  • the effect of interface scattering on carrier conduction is reduced, and transistor 200E can obtain a large on-current and high frequency characteristics.
  • the composition in the vicinity includes a range of ⁇ 30% of the desired atomic ratio. It is preferable to use gallium as the element M.
  • the metal oxide that can be used for oxide 220a may be applied as oxide 220b.
  • composition of the metal oxide that can be used for oxide 220a and oxide 220b is not limited to the above.
  • the composition of the metal oxide that can be used for oxide 220a may be applied to oxide 220b.
  • the composition of the metal oxide that can be used for oxide 220b may be applied to oxide 220a.
  • the above atomic ratio is not limited to the atomic ratio of the formed metal oxide film, but may be the atomic ratio of the sputtering target used to form the metal oxide film.
  • Oxide 220b is preferably crystalline. In particular, it is preferable to use CAAC-OS as oxide 220b.
  • oxide 220b By using a crystalline oxide such as CAAC-OS as oxide 220b, it is possible to suppress the extraction of oxygen from oxide 220b by the source or drain electrode. As a result, even when heat treatment is performed, the extraction of oxygen from oxide 220b can be reduced, so that transistor 200E is stable against high temperatures (so-called thermal budget) in the manufacturing process.
  • a crystalline oxide such as CAAC-OS
  • Materials that can be used for the insulators and conductors that make up the semiconductor device shown in Figures 21A to 21D include the various materials listed in the [Insulator] and [Conductor] sections above. Representative examples are described below.
  • the conductor 242a has a layered structure of a conductor 242a1 and a conductor 242a2 on the conductor 242a
  • the conductor 242b has a layered structure of a conductor 242b1 and a conductor 242b2 on the conductor 242b1.
  • the conductors 242a1 and 242b1 in contact with the oxide 220b are preferably conductors that are not easily oxidized, such as metal nitrides. This can prevent the conductors 242a and 242b from being excessively oxidized by the oxygen contained in the oxide 220b.
  • the conductors 242a2 and 242b2 are preferably conductors such as metal layers that have higher conductivity than the conductors 242a1 and 242b1. This allows the conductors 242a and 242b to function as wiring or electrodes with high conductivity.
  • tantalum nitride or titanium nitride can be used as the conductor 242a1 and the conductor 242b1, and tungsten can be used as the conductor 242a2 and the conductor 242b2.
  • distance L2 between conductor 242a1 and conductor 242b1 is smaller than distance L1 between conductor 242a2 and conductor 242b2.
  • the difference between L1 and L2 is equal to or approximately equal to twice the film thickness of insulator 255.
  • the film thickness of insulator 255 refers to the film thickness in the A1-A2 direction of at least a portion of insulator 255.
  • the distance L2 between the conductor 242a1 and the conductor 242b1 is preferably fine because it is reflected in the channel length of the transistor 200E.
  • the distance L2 is 60 nm or less, 50 nm or less, 40 nm or less, 30 nm or less, 20 nm or less, or 10 nm or less, and is 1 nm or more, or 5 nm or more.
  • the distance L2 is about 2 nm or more and 20 nm or less.
  • the openings in the insulator 285 and the insulator 275 overlap the region between the conductor 242a2 and the conductor 242b2.
  • the side of the opening in the insulator 285 coincides or roughly coincides with the side of the conductor 242a2 and the side of the conductor 242b2.
  • a portion of the conductor 242a1 and the conductor 242b1 are formed so as to protrude into the opening.
  • a portion of the upper surface of the conductor 242a1 contacts the conductor 242a2, and a portion of the upper surface of the conductor 242b1 contacts the conductor 242b2.
  • the insulator 255 contacts another portion of the upper surface of the conductor 242a1, another portion of the upper surface of the conductor 242b1, the side of the conductor 242a2, and the side of the conductor 242b2 within the opening. Additionally, the insulator 250 contacts the upper surface of the oxide 220, the side of the conductor 242a1, the side of the conductor 242b1, and the side of the insulator 255.
  • the insulator 255 is preferably an insulator that is difficult to oxidize, such as a nitride.
  • the insulator 255 is formed in a sidewall shape by anisotropic etching in contact with the side wall of an opening provided in the insulator 285 or the like (here, the side wall of the opening corresponds to, for example, the side surface of the insulator 285, etc.).
  • the insulator 255 is formed in contact with the side surface of the conductor 242a2 and the side surface of the conductor 242b2, and has the function of protecting the conductor 242a2 and the conductor 242b2.
  • the conductor 242a1 and the conductor 242b1 are separated and before the insulator 250 is formed.
  • the insulator 255 is formed in contact with the side surface of the conductor 242a2 and the side surface of the conductor 242b2, the conductor 242a2 and the conductor 242b2 can be prevented from being excessively oxidized.
  • silicon nitride can be used as the insulator 255.
  • oxygen can be supplied from the insulator to the oxide semiconductor, thereby reducing oxygen vacancies and VOH .
  • excess oxygen oxygen can be supplied from the insulator to the oxide semiconductor, thereby reducing oxygen vacancies and VOH .
  • excess oxygen oxygen can be supplied from the insulator to the oxide semiconductor, thereby reducing oxygen vacancies and VOH .
  • the on-state current or the field-effect mobility of the transistor 200E may decrease.
  • the amount of oxygen supplied to the source region or drain region varies within the substrate surface, which causes variations in the characteristics of a semiconductor device including a transistor.
  • the conductor may be oxidized and its conductivity may be impaired, which may adversely affect the electrical characteristics and reliability of the transistor.
  • the channel formation region preferably has a reduced carrier concentration and is i-type or substantially i-type, whereas the source and drain regions preferably have a high carrier concentration and are n-type. That is, it is preferable to reduce oxygen vacancies and VOH in the channel formation region of the oxide semiconductor. It is also preferable to prevent an excessive amount of oxygen from being supplied to the source and drain regions and to prevent the amount of VOH in the source and drain regions from being excessively reduced. It is also preferable to have a structure in which the conductivity of the conductor 260, the conductor 242a, the conductor 242b, and the like is not likely to decrease.
  • the oxide semiconductor can form VOH , and therefore the hydrogen concentration needs to be reduced in order to reduce the amount of VOH .
  • Transistor 200E is configured to reduce the hydrogen concentration in the channel formation region, suppress oxidation of conductor 242a, conductor 242b, and conductor 260, and suppress reduction in the hydrogen concentration in the source and drain regions.
  • the insulator 250 in contact with the channel formation region in the oxide 220b preferably has a function of capturing or fixing hydrogen. This can reduce the hydrogen concentration in the channel formation region of the oxide 220b. Thus, VOH in the channel formation region can be reduced, and the channel formation region can be made i-type or substantially i-type.
  • the insulator 250 has a layered structure of an insulator 250a in contact with the oxide 220, an insulator 250b on the insulator 250a, and an insulator 250c on the insulator 250b.
  • the insulator 250a has the function of capturing or fixing hydrogen. It is also preferable to use a high dielectric constant (high-k) material for the insulator 250a.
  • high-k high dielectric constant
  • an aluminum oxide film having an amorphous structure is used as the insulator 250a. Aluminum oxide can be relatively easily formed into an amorphous film using the ALD method.
  • the insulator 250b be made of a thermally stable insulator such as silicon oxide or silicon oxynitride.
  • insulator 250a In order to suppress oxidation of conductor 242a, conductor 242b, and conductor 260, it is preferable to provide an insulator having a barrier property against oxygen near each of conductor 242a, conductor 242b, and conductor 260.
  • the insulators are, for example, insulator 250a, insulator 250c, insulator 255, and insulator 275.
  • the insulator 250a and the insulator 255 preferably have a barrier property against oxygen.
  • the insulator 250a and the insulator 255 preferably have a lower oxygen permeability than at least the insulator 285.
  • the insulator 250a has a region in contact with the side of the conductor 242a1 and the side of the conductor 242b1.
  • the insulator 255 has a region in contact with the upper surface of the conductor 242a1, the upper surface of the conductor 242b1, the side of the conductor 242a2, and the side of the conductor 242b2.
  • the insulator 250a also contacts the side of the insulator 255.
  • the insulator 250a and the insulator 255 have a barrier property against oxygen, it is possible to suppress the side of the conductor 242a and the conductor 242b from being oxidized and the formation of an oxide film on the side. This suppresses a decrease in the on-current or a decrease in the field effect mobility of the transistor 200E.
  • the insulator 250a is provided in contact with the top and side surfaces of the oxide 220b, the side surfaces of the oxide 220a, the side surfaces of the insulator 224, and the top surface of the insulator 222. Since the insulator 250a has a barrier property against oxygen, it is possible to suppress the desorption of oxygen from the channel formation region of the oxide 220b when a heat treatment or the like is performed. Therefore, it is possible to reduce the formation of oxygen vacancies in the oxide 220a and the oxide 220b.
  • the oxygen can be prevented from being excessively supplied to the oxide 220a and the oxide 220b, and an appropriate amount of oxygen can be supplied to the oxide 220a and the oxide 220b. Therefore, it is possible to prevent the source region and the drain region from being excessively oxidized, which would cause a decrease in the on-current of the transistor 200E or a decrease in the field effect mobility.
  • the insulator 255 has a barrier property against hydrogen. This can prevent impurities such as hydrogen contained in the conductors 242a2 and 242b2 from diffusing into the oxide 220b.
  • the insulator 250c also preferably has a barrier property against oxygen.
  • the insulator 250c is provided between the channel formation region of the oxide 220 and the conductor 260, and between the insulator 285 and the conductor 260. This configuration can prevent oxygen contained in the channel formation region of the oxide 220 from diffusing to the conductor 260 and forming oxygen vacancies in the channel formation region of the oxide 220.
  • the oxygen contained in the oxide 220 and the oxygen contained in the insulator 285 can be prevented from diffusing to the conductor 260 and oxidizing the conductor 260.
  • the insulator 250c is preferably at least less permeable to oxygen than the insulator 285. For example, it is preferable to use a silicon nitride film as the insulator 250c.
  • the insulator 250c has a barrier property against hydrogen. This can prevent impurities such as hydrogen contained in the conductor 260 from diffusing into the oxide 220b.
  • the insulator 275 also preferably has a barrier property against oxygen.
  • the insulator 275 is provided between the insulator 285 and the conductor 242a, and between the insulator 285 and the conductor 242b. This configuration can suppress the oxygen contained in the insulator 285 from diffusing to the conductor 242a and the conductor 242b. Therefore, it is possible to suppress the conductor 242a and the conductor 242b from being oxidized by the oxygen contained in the insulator 285, which increases the resistivity and reduces the on-current.
  • the insulator 275 is preferably at least less permeable to oxygen than the insulator 285. For example, it is preferable to use silicon nitride as the insulator 275.
  • the insulator 275 preferably has a barrier property against hydrogen.
  • a barrier property against hydrogen By providing an insulator having a barrier property against hydrogen near each of the source and drain regions in the oxide 220, the diffusion of hydrogen in the source and drain regions to the outside can be reduced, and the reduction in the hydrogen concentration in the source and drain regions can be suppressed. Therefore, the source and drain regions can be made n-type.
  • the channel formation region can be made i-type or substantially i-type, and the source region and drain region can be made n-type, and a semiconductor device with good electrical characteristics can be provided. Furthermore, by using the above configuration, the semiconductor device can have good electrical characteristics even when miniaturized or highly integrated. Furthermore, by miniaturizing the transistor 200E, the high-frequency characteristics can be improved. Specifically, the cutoff frequency can be improved.
  • the insulator 250 functions as a gate insulator.
  • the insulator 250 is provided in an opening formed in the insulator 285 together with the insulator 255 and the conductor 260.
  • the thickness of the insulator 250 is thin.
  • the thicknesses of the layers constituting the insulator 250 are preferably 0.1 nm or more and 10 nm or less, more preferably 0.1 nm or more and 5.0 nm or less, more preferably 0.5 nm or more and 5.0 nm or less, more preferably 1.0 nm or more and less than 5.0 nm, and even more preferably 1.0 nm or more and 3.0 nm or less.
  • each layer constituting the insulator 250 may have a region with the above thickness in at least a portion.
  • ALD methods include the thermal ALD method, in which the reaction of the precursor and the reactant is carried out using only thermal energy, and the PEALD (Plasma Enhanced ALD) method, in which a plasma-excited reactant is used.
  • PEALD Pulsma Enhanced ALD
  • the use of plasma allows film formation at a lower temperature, which may be preferable.
  • the thickness of the insulator 255 is preferably 0.5 nm or more and 20 nm or less, more preferably 0.5 nm or more and 10 nm or less, and even more preferably 0.5 nm or more and 3 nm or less.
  • the insulator 255 only needs to have a region with the above-mentioned thickness in at least a portion. If the thickness of the insulator 255 is made excessively thick, the deposition time of the insulator 255 by the ALD method will be longer and productivity will decrease, so it is preferable to keep the thickness of the insulator 255 within the above range.
  • the semiconductor device shown in FIG. 21A and the like is preferably configured to suppress hydrogen from being mixed into the transistor 200E and the like.
  • aluminum oxide, magnesium oxide, hafnium oxide, zirconium oxide, oxide containing aluminum and hafnium (hafnium aluminate), oxide containing hafnium and zirconium (hafnium zirconium oxide), gallium oxide, silicon nitride, or silicon nitride oxide can be used.
  • the insulators 283 and 221 are made of silicon nitride or the like, which has a higher hydrogen barrier property.
  • the insulator 282 is made of aluminum oxide or the like, which has a high ability to capture or fix hydrogen.
  • the insulator 222 is preferably made of hafnium oxide or the like, which is a high dielectric constant (high-k) material that has a high ability to capture or fix hydrogen.
  • high-k high dielectric constant
  • the region of the insulator 275 that does not overlap with the oxide 220 contacts the insulator 222, the side end of the insulator 275 contacts the insulator 255, and the upper end of the insulator 255 and the upper ends of the insulators 250a to 250c contact the insulator 282.
  • the insulator 285 is separated from the oxide 220 by the insulator 275, the insulator 285 is separated from the insulator 250b by the insulator 255 and the insulator 250a, the conductor 260 is separated from the insulator 250b by the insulator 250c, and the conductors 242a2 and 242b2 are separated from the insulator 250b by the insulator 255 and the insulator 250a.
  • the diffusion of the impurities such as water and hydrogen to the oxide 220 can be reduced.
  • the hydrogen contained in the insulator 250a and the insulator 250b can be captured and fixed to the insulator 282. With this configuration, it is possible to further reduce the diffusion of hydrogen to the oxide semiconductor. This can improve the electrical characteristics and reliability of the semiconductor device.
  • the conductor 205 is arranged so as to overlap the oxide 220 and the conductor 260.
  • the conductor 205 is preferably provided by being embedded in an opening formed in the insulator 216.
  • the conductor 205 is preferably provided extending in the channel width direction, as shown in Figures 21A and 21C. With this configuration, when multiple transistors are provided, the conductor 205 functions as wiring.
  • the conductor 205 preferably has conductor 205a and conductor 205b.
  • Conductor 205a is provided in contact with the bottom surface and side wall of the opening.
  • Conductor 205b is provided so as to fill the recess of conductor 205a formed along the opening.
  • the height of the upper surface of conductor 205 coincides or approximately coincides with the height of the upper surface of insulator 216.
  • a conductive material having the function of reducing hydrogen diffusion for the conductor 205a By using a conductive material having the function of reducing hydrogen diffusion for the conductor 205a, it is possible to prevent impurities such as hydrogen contained in the conductor 205b from diffusing into the oxide 220 via the insulator 216, etc. Furthermore, by using a conductive material having the function of suppressing oxygen diffusion for the conductor 205a, it is possible to suppress the conductor 205b from being oxidized and its conductivity from decreasing. Examples of conductive materials having the function of suppressing oxygen diffusion include titanium, titanium nitride, tantalum, tantalum nitride, ruthenium, and ruthenium oxide.
  • the conductor 205a can have a single layer structure or a multilayer structure of the above conductive materials. For example, the conductor 205a preferably has titanium nitride.
  • the conductor 205b is made of a conductive material mainly composed of tungsten, copper, or aluminum.
  • the conductor 205b contains tungsten.
  • the conductor 205 can function as a second gate electrode.
  • the threshold voltage (Vth) of the transistor 200E can be controlled by changing the potential applied to the conductor 205 independently of the potential applied to the conductor 260.
  • applying a negative potential to the conductor 205 can increase the Vth of the transistor 200E and reduce the off-current. Therefore, applying a negative potential to the conductor 205 can reduce the drain current when the potential applied to the conductor 260 is 0 V, compared to when no negative potential is applied.
  • the electrical resistivity of the conductor 205 is designed taking into consideration the potential applied to the conductor 205, and the film thickness of the conductor 205 is set to match this electrical resistivity.
  • the film thickness of the insulator 216 is approximately the same as that of the conductor 205. Here, it is preferable to make the film thicknesses of the conductor 205 and the insulator 216 thin within the range permitted by the design of the conductor 205. By making the film thickness of the insulator 216 thin, the absolute amount of impurities such as hydrogen contained in the insulator 216 can be reduced, and therefore the diffusion of the impurities into the oxide 220 can be suppressed.
  • the insulator 224 in contact with the oxide 220 preferably comprises, for example, silicon oxide or silicon oxynitride. This allows oxygen to be supplied from the insulator 224 to the oxide 220, reducing oxygen deficiency.
  • the insulator 224 is preferably processed into an island shape, similar to the oxide 220. As a result, when multiple transistors 200E are provided, the insulators 224 are provided with approximately the same size for each transistor 200E. As a result, the amount of oxygen supplied from the insulator 224 to the oxide 220 in each transistor 200E is approximately the same. This makes it possible to suppress variation in the electrical characteristics of the transistors 200E within the substrate surface. However, this is not limited to the above, and the insulator 224 may be configured not to be patterned, similar to the insulator 222.
  • a conductive material that is not easily oxidized or that has the function of suppressing the diffusion of oxygen as the conductors 242a, 242b, and 260.
  • conductive materials include conductive materials that contain nitrogen and conductive materials that contain oxygen. This can suppress a decrease in the conductivity of the conductors 242a, 242b, and 260.
  • the insulators 271a and 271b are inorganic insulators that function as etching stoppers when processing the conductors 242a2 and 242b2, and protect the conductors 242a2 and 242b2.
  • the insulators 271a and 271b are in contact with the conductors 242a2 and 242b2, it is preferable that they are inorganic insulators that are unlikely to oxidize the conductors 242a and 242b. Therefore, as shown in FIG.
  • the insulator 271a has a layered structure of the insulator 271a1 and the insulator 271a2 on the insulator 271a
  • the insulator 271b has a layered structure of the insulator 271b1 and the insulator 271b2 on the insulator 271b1.
  • the insulators 271a1 and 271b1 are made of a nitride insulator that can be used for the insulator 250c so as to prevent the conductors 242a2 and 242b2 from being oxidized.
  • the insulators 271a2 and 271b2 are made of an oxide insulator that can be used for the insulator 250b so as to function as an etching stopper.
  • silicon nitride can be used for the insulators 271a1 and 271b1
  • silicon oxide can be used for the insulators 271a2 and 271b2.
  • the transistor structure in which the electric field of at least the first gate electrode electrically surrounds the channel formation region is called a surrounded channel (S-channel) structure.
  • the S-channel structure disclosed in this specification has a structure different from the Fin type structure and the planar type structure.
  • the S-channel structure disclosed in this specification can also be considered as a type of Fin type structure.
  • the Fin type structure refers to a structure in which the gate electrode is arranged to surround at least two or more sides of the channel (specifically, two, three, or four sides, etc.).
  • the channel formation region can be electrically surrounded.
  • the S-channel structure is a structure that electrically surrounds the channel formation region, so it can be said to be a structure substantially equivalent to a GAA (Gate All Around) structure or a LGAA (Lateral Gate All Around) structure.
  • the channel formation region formed at or near the interface between the oxide 220 and the gate insulator can be the entire bulk of the oxide 220. Therefore, it is possible to improve the current density flowing through the transistor, and it is expected to improve the on-current of the transistor or the field effect mobility of the transistor.
  • the insulator 224 is configured to be arranged in an island shape. Therefore, as shown in FIG. 21C, at least a portion of the lower surface of the conductor 260 can be arranged below the lower surface of the oxide 220b. This allows the conductor 260 to be arranged facing the upper surface and side surface of the oxide 220b, so that the electric field of the conductor 260 can be applied to the upper surface and side surface of the oxide 220b. In this way, by configuring the insulator 224 to be arranged in an island shape, the transistor 200E can have an S-channel structure.
  • the conductor 260 preferably has a conductor 260a and a conductor 260b arranged on the conductor 260a.
  • the conductor 260a is preferably arranged so as to wrap the bottom and side surfaces of the conductor 260b.
  • a conductive material that has a function of suppressing the diffusion of oxygen it is preferable to use, for example, titanium, titanium nitride, tantalum, tantalum nitride, ruthenium, ruthenium oxide, etc.
  • the conductor 260b is preferably a highly conductive conductor.
  • the conductor 260b may be a conductive material containing tungsten, copper, or aluminum as a main component.
  • the conductor 260b may also have a layered structure, for example, a layered structure of titanium or titanium nitride and the above conductive material.
  • the insulators 216 and 285 each have a lower dielectric constant than the insulator 222.
  • the parasitic capacitance that occurs between wirings can be reduced.
  • the semiconductor device illustrated in Fig. 23 to Fig. 25 includes transistors 201a and 201b, which have different structures from the above-described transistors 200 and 200A to 200E.
  • transistors 201a and 201b that are similar to those of transistor 200E, the above description can be referred to.
  • 23A to 23D are plan views and cross-sectional views of a semiconductor device having a transistor 201a and a transistor 201b on a substrate (not shown).
  • the transistor 201b has a structure similar to that of the transistor 201a, the components are given the same hatching pattern as the transistor 201a and are not particularly marked with reference numerals.
  • the transistors 201a and 201b may be collectively referred to as the transistor 201.
  • the semiconductor device shown in this embodiment can function as two 1T (transistor) 1C (capacitor) type memory cells by providing a capacitor electrically connected to the transistor 201a and a capacitor electrically connected to the transistor 201b, and can also be used in a memory device.
  • Figure 23A is a plan view of the semiconductor device.
  • Figures 23B to 23D are cross-sectional views of the semiconductor device.
  • Figure 23B is a cross-sectional view between dashed lines A1-A2 in Figure 23A, and is also a cross-sectional view in the channel length direction of the transistor 201a.
  • Figure 23C is a cross-sectional view between dashed lines A3-A4 in Figure 23A, and is also a cross-sectional view in the channel width direction of the transistors 201a and 201b.
  • Figure 23D is a cross-sectional view between dashed lines A5-A6 in Figure 23A, and is also a cross-sectional view in the channel width direction of the transistors 201a and 201b.
  • FIG. 24A shows an enlarged view of the conductor 260 in FIG. 23B and its vicinity.
  • FIG. 24B shows an enlarged view of the insulator 225 in FIG. 23C and its vicinity.
  • FIG. 25A shows an enlarged view of the conductor 242a in FIG. 23B and its vicinity.
  • FIG. 25B shows an enlarged view of the insulator 225 in FIG. 23D and its vicinity.
  • the semiconductor device shown in Figures 23A to 23D has a stack of insulators 215, 216, and 222, and further has an insulator 225 on the insulator 222, an oxide 220 (oxide 220a and oxide 220b) on the insulator 225 and the insulator 222, a conductor 242 (conductor 242a and conductor 242b) on the oxide 220, an insulator 250 on the oxide 220, and a conductor 260 (conductor 260a and conductor 260b) on the insulator 250.
  • An insulator 275 is provided on the conductor 242, and an insulator 285 is provided on the insulator 275.
  • the insulator 250 and the conductor 260 are disposed inside openings provided in the insulator 285 and the insulator 275.
  • An insulator 282 is provided on the insulator 285 and the conductor 260.
  • An insulator 283 is provided on the insulator 282.
  • Insulator 241a is provided in contact with the inner wall of the opening of insulator 285, etc., and conductor 239a is provided in contact with insulator 241a. Conductor 239a is in contact with conductor 242a. Insulator 241b is provided in contact with the inner wall of the opening of insulator 285, etc., and conductor 239b is provided in contact with insulator 241b. Conductor 239b is in contact with conductor 242b. Note that hereinafter, conductor 239a and conductor 239b may be collectively referred to as conductor 239. Insulator 241a and insulator 241b may be collectively referred to as insulator 241.
  • insulator 215, insulator 216, insulator 222, insulator 225, oxide 220, conductor 242a, conductor 242b, insulator 275, insulator 285, insulator 250, conductor 260, insulator 241, conductor 239, insulator 282, and insulator 283 may each have a single layer structure or a laminated structure.
  • the oxide 220 has a region that functions as a channel formation region of the transistor 201.
  • the conductor 260 has a region that functions as a first gate electrode (upper gate electrode) of the transistor 201.
  • the insulator 250 has a region that functions as a first gate insulator of the transistor 201.
  • the transistors 201a and 201b are each shown as an example of a single-gate transistor without a back gate, but the present invention is not limited thereto.
  • the transistors 200a and 200b may each be a dual-gate transistor with a back gate.
  • the transistor 201 may have a conductor 205 (conductor 205a and conductor 205b) embedded in the insulator 216.
  • the transistor 201 may further have an insulator 221.
  • the conductor 205 has a region that functions as the second gate electrode (lower gate electrode) of the transistor 201.
  • the insulator 222 and the insulator 221 each have a region that functions as the second gate insulator of the transistor 201.
  • the oxide 220 has a folded structure with the insulator 225 interposed therebetween. Therefore, a part of the conductor 260 facing the oxide 220 across the insulator 225 may function as a second gate electrode.
  • Conductor 242a has a region that functions as one of the source electrode or drain electrode of transistor 201.
  • Conductor 242b has a region that functions as the other of the source electrode or drain electrode of transistor 201.
  • Conductor 239a functions as a plug that connects to conductor 242a.
  • Conductor 239b functions as a plug that connects to conductor 242b.
  • the oxide 220 preferably has an oxide 220a covering the insulator 225 and an oxide 220b on the oxide 220a.
  • the oxide 220a contacts the upper surface and side surface of the insulator 225 and the upper surface of the insulator 222.
  • the oxide 220a and the oxide 220b are provided so as to cover the insulator 225 having a high aspect ratio. Therefore, it is preferable that the oxide 220a and the oxide 220b are formed using a film formation method with good coverage such as the ALD method.
  • the oxide 220a and the oxide 220b are formed so as to be folded in half through the insulator 225. With this configuration, the channel formation region of the transistor 201 can be formed on the upper part, the side surface on the A3 side, and the side surface on the A4 side of the insulator 225, so that the channel width per unit area can be increased.
  • oxide 220a below oxide 220b, it is possible to suppress the diffusion of impurities from structures formed below oxide 220a into oxide 220b.
  • the oxide 220 is not limited to a two-layer structure of the oxide 220a and the oxide 220b.
  • the oxide 220 may be, for example, a single-layer structure of the oxide 220b, or may be a laminated structure of three or more layers.
  • a channel formation region and a source region and a drain region are formed on either side of the channel formation region in the transistor 201. At least a portion of the channel formation region overlaps with the conductor 260.
  • the source region overlaps with the conductor 242a, and the drain region overlaps with the conductor 242b. Note that the source region and the drain region can be interchanged.
  • oxide 220 oxide 220a and oxide 220b.
  • a metal oxide can be formed with good coverage on the top, bottom, side, and inclined surfaces of the structure.
  • a metal oxide can be formed with a roughly constant film thickness in the normal direction on each deposition surface.
  • the ratio of the minimum film thickness to the maximum film thickness can be set to 0.5 or more and 1 or less, preferably 0.7 or more and 1 or less, more preferably 0.8 or more and 1 or less, and more preferably 0.9 or more and 1 or less.
  • the ratio of the thickness of the second portion provided along the side surface of the insulator 225 to the thickness of the first portion provided along the top surface of the insulator 222 is preferably 0.7 or more and 1.3 or less, more preferably 0.8 or more and 1.2 or less, and even more preferably 0.9 or more and 1.1 or less.
  • the preferred ranges of the aluminum concentration and the carbon concentration in the channel formation region of the oxide 220 are as described above.
  • oxide 220a and oxide 220b are preferable to form by the ALD method.
  • oxide 220a by the sputtering method and oxide 220b by the ALD method.
  • the insulator 250 may have a four-layer structure.
  • the insulator 250 shown in FIG. 24A is preferably a layered structure of an insulator 250a in contact with the oxide 220, an insulator 250b on the insulator 250a, an insulator 250c on the insulator 250b, and an insulator 250d on the insulator 250c.
  • the insulator 250a and the insulator 250c have the function of capturing hydrogen or fixing hydrogen.
  • a metal oxide such as magnesium oxide or an oxide containing one or both of aluminum and hafnium.
  • oxygen atoms have dangling bonds, and the dangling bonds may have the property of capturing or fixing hydrogen.
  • metal oxides having an amorphous structure have a high ability to capture or fix hydrogen.
  • a high dielectric constant (high-k) material for the insulator 250a and the insulator 250c.
  • An example of a high-k material is an oxide containing one or both of aluminum and hafnium.
  • the insulators 250a and 250c it is preferable to use an oxide containing one or both of aluminum and hafnium, and it is more preferable to use an oxide having an amorphous structure and containing one or both of aluminum and hafnium.
  • aluminum oxide is used as the insulator 250a shown in FIG. 24A.
  • the aluminum oxide preferably has an amorphous structure.
  • the hydrogen contained in the oxide 220b and the like can be more effectively captured and fixed.
  • hafnium oxide is used as the insulator 250c shown in FIG. 24A.
  • the hydrogen contained in the insulators 250b and 250d can be more effectively captured and fixed.
  • the insulator 250b be made of a thermally stable insulator such as silicon oxide or silicon oxynitride.
  • insulators are, for example, insulator 250a, insulator 250d, insulator 250c, and insulator 275.
  • the insulator 250d also preferably has a barrier property against oxygen.
  • the insulator 250d is provided between the channel formation region of the oxide 220 and the conductor 260, and between the insulator 285 and the conductor 260. This configuration can suppress the oxygen contained in the channel formation region of the oxide 220 from diffusing to the conductor 260 and forming oxygen vacancies in the channel formation region of the oxide 220. In addition, it can suppress the oxygen contained in the oxide 220 and the oxygen contained in the insulator 285 from diffusing to the conductor 260 and oxidizing the conductor 260.
  • the insulator 250d is preferably at least less permeable to oxygen than the insulator 285. For example, it is preferable to use a silicon nitride film as the insulator 250d. In this case, the insulator 250d is an insulator having at least nitrogen and silicon.
  • the insulator 250d has a barrier property against hydrogen. This can prevent impurities such as hydrogen contained in the conductor 260 from diffusing into the oxide 220b.
  • the insulators 250a to 250d function as part of the gate insulator.
  • the insulators 250a to 250d are provided in an opening formed in the insulator 285 together with the conductor 260.
  • the thicknesses of the insulators 250a to 250d are each thin.
  • the thicknesses of the insulators 250a to 250d are each preferably 0.1 nm to 10 nm, more preferably 0.1 nm to 5.0 nm, more preferably 0.5 nm to 5.0 nm, more preferably 1.0 nm to less than 5.0 nm, and even more preferably 1.0 nm to 3.0 nm.
  • the insulators 250a to 250d each may have a region with the above thickness at least in a portion thereof.
  • the insulator 250 can have a structure including at least one of the insulators 250a to 250d.
  • the manufacturing process of the semiconductor device can be simplified and productivity can be improved.
  • the insulator 225 is formed on and in contact with the insulator 222. As shown in FIG. 24B and FIG. 25B, the insulator 225 has a shape with a high aspect ratio in a cross-sectional view in the channel width direction.
  • the aspect ratio of the insulator 225 in a cross-sectional view in the channel width direction refers to the ratio of the length L of the insulator 225 in the A3-A4 direction (which can also be called the width L of the insulator 225) to the length H of the insulator 225 in a direction perpendicular to the surface on which the insulator 225 is formed (for example, the insulator 222) (which can also be called the height H of the insulator 225).
  • the height H of the insulator 225 is at least longer than the width L of the insulator 225.
  • the height H of the insulator 225 may be greater than 1 time the width L of the insulator 225, preferably 2 times or more, more preferably 5 times or more, and even more preferably 10 times or more.
  • the height H of the insulator 225 is preferably 20 times or less the width L of the insulator 225.
  • the oxide 220a, the oxide 220b, and the conductor 242 are provided to cover the insulator 225 having such a high aspect ratio.
  • the oxide 220a and the oxide 220b are provided so as to be folded in half with the insulator 225 in between, and the insulator 250 and the conductor 260 are provided to cover the oxide 220b.
  • the oxide 220 and the conductor 260 are provided facing each other with the insulator 250 in between on the upper part, the side surface on the A3 side, and the side surface on the A4 side of the insulator 225.
  • the upper part, the side surface on the A3 side, and the side surface on the A4 side of the insulator 225 each function as a channel formation region. Therefore, the channel width of the transistor 201 is larger by the side surface on the A3 side and the side surface on the A4 side of the insulator 225 compared to when the insulator 225 is not provided.
  • the channel width as described above By increasing the channel width as described above, the on-state current, field effect mobility, frequency characteristics, and the like of the transistor 201 can be improved. This makes it possible to provide a semiconductor device with a high operating speed. In addition, the operating speed of a storage device using the semiconductor device can be increased. In addition, in the above structure, by providing the insulator 225, the channel width can be increased without increasing the area occupied by the transistor 201. This makes it possible to miniaturize or highly integrate the semiconductor device. In addition, the storage capacity of a storage device using the semiconductor device can be increased.
  • the insulator 225 can be made of an insulating material that can be used for the insulators 222, 285, and 250.
  • the insulator 225 has a shape with a high aspect ratio, it is preferable to form the insulator 225 in a sidewall shape on the side of a sacrificial layer (a structure used during the manufacturing process). Therefore, it is preferable to form the insulator 225 using an ALD method, which has good coverage.
  • the insulator 225 can be made of hafnium oxide formed by a thermal ALD method.
  • the insulator 225 of the transistor 201a and the insulator 225 of the transistor 201b can be formed simultaneously.
  • the distance between the two insulators 225 can be set according to the size of the sacrificial layer. Therefore, the distance between the insulators 225 can be reduced, the area occupied by the transistors 201a and 201b can be reduced, and the semiconductor device can be highly integrated.
  • the insulator 225 is not limited to insulating materials in the strict sense.
  • metal oxides with relatively high insulating properties may be used.
  • metal oxides that can be used for the oxide 220a may be used.
  • the upper part of the insulator 225 may have a curved shape.
  • a curved shape can prevent defects such as voids from forming in the oxide 220a, the oxide 220b, and the conductor 242 near the upper part of the insulator 225.
  • Figures 24B and 25B a symmetrical structure is shown in which a curved shape is provided on both the A3 side (A5 side) and the A4 side (A6 side) of the upper part of the insulator 225, but the present invention is not limited to this.
  • an asymmetrical structure may be used in which a curved shape is provided only on the A3 side (A5 side) of the upper part of the insulator 225.
  • the conductor 242a and the conductor 242b are disposed at a distance from each other and are provided on the oxide 220b in contact with each other. As shown in Figures 25A and 25B, the conductor 242 is provided so as to cover the insulator 225, which has a high aspect ratio. Therefore, it is preferable to form the conductor 242 using a film formation method with good coverage, such as the ALD method or the CVD method.
  • the oxide 220a, the oxide 220b, and the conductor 242a are provided so as to be folded in half with the insulator 225 sandwiched therebetween, as shown in FIG. 25B.
  • the conductor 242a contacts the oxide 220b at the top of the insulator 225, the side surface on the A5 side, and the side surface on the A6 side. Therefore, compared to the case where the insulator 225 is not provided, the contact area between the conductor 242a and the oxide 220b is larger by the side surface on the A5 side and the side surface on the A6 side of the insulator 225.
  • FIG. 25B shows the vicinity of the conductor 242a, but the same is true for the conductor 242b.
  • the contact area between the conductor 242b and the oxide 220b is larger, similar to the above-mentioned conductor 242a and the oxide 220b.
  • the on-state current, frequency characteristics, and the like of the transistor 201 can be improved without increasing the area occupied by the transistor 201.
  • This makes it possible to provide a semiconductor device with a high operating speed.
  • the operating speed of a storage device using the semiconductor device can be increased.
  • This also makes it possible to miniaturize or highly integrate the semiconductor device.
  • the storage capacity of a storage device using the semiconductor device can be increased.
  • conductor 260 is disposed in an opening formed in insulator 285, insulator 275, conductor 242a, and conductor 242b.
  • Conductor 260 is disposed in the opening so as to cover the upper surface of insulator 222, the side of oxide 220a, the side of oxide 220b, and the upper surface of oxide 220b via insulator 250.
  • the upper surface of conductor 260 is disposed so as to be flush or approximately flush with the top of insulator 250 and the upper surface of insulator 285.
  • the sidewall of the opening may be perpendicular or approximately perpendicular to the upper surface of the insulator 222, or may be tapered.
  • the sidewall tapered By making the sidewall tapered, the coverage of the insulator 250 and the like provided in the opening of the insulator 285 is improved, and defects such as voids can be reduced.
  • the conductor 260 functions as a first gate electrode of the transistor 201.
  • the conductor 260 is preferably provided extending in the channel width direction, as shown in Figures 23A and 23C. With this configuration, when multiple transistors are provided, the conductor 260 functions as wiring.
  • the conductor 260 is shown as having a two-layer structure.
  • the conductor 260 preferably has a conductor 260a and a conductor 260b arranged on the conductor 260a.
  • the conductor 260a is preferably arranged so as to wrap around the bottom and side surfaces of the conductor 260b.
  • the conductor 260 is formed in a self-aligned manner so as to fill an opening formed in the insulator 285 or the like.
  • the side of the insulator 285 in the opening coincides or approximately coincides with the side of the conductor 242a and the side of the conductor 242b. Therefore, the conductor 260 can be arranged so as to overlap the region between the conductor 242a and the conductor 242b without alignment.
  • Conductor 239a and conductor 239b are formed in the openings of insulator 275, insulator 285, insulator 282, and insulator 283, respectively.
  • the lower surface of conductor 239a contacts the upper surface of conductor 242a
  • the lower surface of conductor 239b contacts the upper surface of conductor 242b.
  • the height of the upper surface of conductor 239 and the height of the upper surface of insulator 283 are approximately the same.
  • the conductor 239 is preferably made of a conductive material containing tungsten, copper, or aluminum as a main component.
  • the conductor 239 may also have a layered structure in which a first conductor is provided in contact with the side of the insulator 241 and a second conductor is provided further inside. In this case, the above-mentioned conductive material can be used as the second conductor.
  • the conductor 239 has a layered structure
  • a conductive material having a function of suppressing the permeation of impurities such as water and hydrogen for the insulators 283, 282, and 285, and the first conductor arranged near the insulator 275.
  • the conductive material having a function of suppressing the permeation of impurities such as water and hydrogen may be used in a single layer or a layered structure. With such a configuration, it is possible to suppress impurities such as water and hydrogen contained in layers above the insulator 283 from being mixed into the oxide 220 through the conductors 239a and 239b.
  • Insulator 241a and insulator 241b are formed in contact with the inner walls of the openings of insulators 275, 285, 282, and 283, respectively.
  • the inner side of insulator 241a contacts conductor 239a, and the inner side of insulator 241b contacts conductor 239b.
  • the insulator 241 may be a barrier insulating film that can be used for the insulator 275, etc.
  • the insulator 241 may be an insulator such as silicon nitride, aluminum oxide, or silicon nitride oxide.
  • impurities such as water and hydrogen contained in the insulator 285, etc., can be prevented from mixing into the oxide 220 through the conductors 239a and 239b.
  • Silicon nitride is particularly suitable because it has high blocking properties against hydrogen.
  • oxygen contained in the insulator 285 can be prevented from being absorbed by the conductors 239a and 239b.
  • the first insulator in contact with the inner wall of the opening, such as the insulator 285, and the second insulator on the inside thereof are made of a combination of a barrier insulating film against oxygen and a barrier insulating film against hydrogen.
  • the first insulator may be aluminum oxide formed by thermal ALD, and the second insulator may be silicon nitride formed by PEALD.
  • This configuration can suppress oxidation of the conductor 239 and also reduce hydrogen contamination of the conductor 239.
  • the present invention is not limited to this.
  • the insulator 241 may be provided as a single layer or a laminated structure of three or more layers.
  • the conductor 239 may be provided as a single layer or a laminated structure of three or more layers.
  • FIG. 25B and other figures a structure in which the conductor 239a contacts the conductor 242a only above the upper end of the insulator 225 is shown, but the present invention is not limited to this.
  • FIG. 25C a structure in which the conductor 239a covers the insulator 225 and the oxide 220a, oxide 220b, and conductor 242a that are folded in half with the insulator 225 in between may be used.
  • the conductor 239a contacts the conductor 242a at the top of the insulator 225, the side surface on the A5 side, and the side surface on the A6 side.
  • the contact area between the conductor 239a and the conductor 242a is larger by the side surface on the A5 side and the side surface on the A6 side of the insulator 225.
  • FIG. 25C shows the vicinity of conductor 239a and conductor 242a, the same applies to conductor 239b and conductor 242b. In other words, the contact area between conductor 239b and conductor 242b is large, similar to the contact area between conductor 239a and conductor 242a described above.
  • transistor 201 By increasing the contact area between conductor 239 and conductor 242 as described above, the on-state current, frequency characteristics, and the like of transistor 201 can be improved without significantly increasing the area occupied by transistor 201. This makes it possible to provide a semiconductor device with a high operating speed. In addition, the operating speed of a storage device using the semiconductor device can be increased. This also makes it possible to miniaturize or highly integrate the semiconductor device. In addition, the storage capacity of a storage device using the semiconductor device can be increased.
  • Figures 26A to 26D show an example of a memory cell composed of a planar transistor and a capacitance element.
  • Figure 26A is a plan view showing an outline of the arrangement of a transistor 200p and a capacitance element 100 provided below the transistor 200p in a cell when a planar transistor is used. Also, Figure 26B is a cross-sectional view corresponding to the dashed line B1-B2 shown in Figure 26A.
  • an element CA such as a wiring and a plug is provided to connect the source electrode or drain electrode of the transistor 200p to one electrode (upper electrode) of the capacitance element 100.
  • Figure 26C is a plan view showing an outline of the arrangement of transistor 200p and capacitive element 100 provided above transistor 200p in a memory cell.
  • Figure 26C is also a cross-sectional view corresponding to dashed line B1-B2 shown in Figure 26D.
  • an element CA such as a wiring and a plug that connects the source electrode or drain electrode of the transistor 200p to one electrode (lower electrode) of the capacitance element 100 is provided.
  • the element CA can be placed in the region where the transistor 200p and the capacitance element 100 overlap. Therefore, this is more advantageous in terms of miniaturization than when the capacitance element 100 is provided below the transistor 200p.
  • the memory cell 150 including the transistor 200 and the capacitor 100 described in this embodiment can be used as a memory cell of a storage device.
  • the transistor 200 is a transistor in which a channel is formed in a semiconductor layer including an oxide semiconductor.
  • the transistor 200 has a small off-state current; therefore, by using the transistor 200 in a storage device, stored content can be retained for a long time. That is, a refresh operation is not required or the frequency of the refresh operation is extremely low; therefore, the power consumption of the storage device can be sufficiently reduced. Furthermore, the high frequency characteristics of the transistor 200 allow high-speed reading and writing of data from and to the storage device.
  • Figure 27A is a plan view of the memory device.
  • Figure 27B is a cross-sectional view of the area indicated by the dashed dotted line A1-A2 in Figure 27A. Note that some elements have been omitted from the plan view of Figure 27A to clarify the drawing.
  • each of the memory cells 150a and 150b shown in FIG. 27A and FIG. 27B has the same configuration as the memory cell 150.
  • the memory cell 150a has a capacitor element 100a and a transistor 200a
  • the memory cell 150b has a capacitor element 100b and a transistor 200b. Therefore, in the memory device shown in FIG. 27A and FIG. 27B, structures having the same functions as the structures constituting the memory device shown in FIG. 15 are denoted by the same reference numerals. Note that in this section as well, the materials constituting the memory device can be the materials described in detail in ⁇ Configuration example of memory device>.
  • a conductor 260 functioning as a wiring WL is provided in each of the memory cells 150a and 150b.
  • a conductor 240 functioning as part of the wiring BL is provided in common to the memory cells 150a and 150b. That is, the conductor 240 is in contact with the oxide semiconductor 230 of the memory cell 150a and the oxide semiconductor 230 of the memory cell 150b.
  • the memory device shown in Figures 27A and 27B has conductors 245 and 246 that are electrically connected to memory cells 150a and 150b and function as plugs (which can also be called connection electrodes).
  • Conductor 245 is disposed in openings formed in insulators 180, 280, and 140, and contacts the bottom surface of conductor 240.
  • Conductor 246 is disposed in openings formed in insulators 287, 283, and 250, and contacts the top surface of conductor 240.
  • conductors 245 and 246 can be made of a conductive material that can be used for conductor 240.
  • the insulator 287 preferably has a low dielectric constant because it functions as an interlayer film. By using a material with a low dielectric constant as the interlayer film, the parasitic capacitance that occurs between wirings can be reduced.
  • an insulator containing a material with a low dielectric constant, as described above in the [Insulator] section, can be used in a single layer or a multilayer configuration.
  • the concentration of impurities such as water and hydrogen in the insulator 287 is reduced. This can prevent impurities such as water and hydrogen from entering the channel formation region of the oxide semiconductor 230.
  • the conductors 245 and 246 function as plugs or wirings for electrically connecting circuit elements, wirings, electrodes, or terminals such as switches, transistors, capacitors, inductors, resistors, and diodes to the memory cells 150a and 150b.
  • the conductor 245 can be electrically connected to a sense amplifier (not shown) provided below the memory device shown in FIG. 27, and the conductor 246 can be electrically connected to a similar memory device (not shown) provided above the memory device shown in FIG. 27.
  • the conductors 245 and 246 function as part of the wiring BL. In this way, by providing a memory device or the like above or below the memory device shown in FIG. 27, the memory capacity per unit area can be increased.
  • memory cell 150a and memory cell 150b are configured to be linearly symmetrical with respect to the perpendicular bisector of dashed line A1-A2 as the axis of symmetry. Therefore, transistor 200a and transistor 200b are also arranged symmetrically with conductor 245 and conductor 246 in between.
  • conductor 240 functions as the other of the source electrode and drain electrode of transistor 200a and as the other of the source electrode and drain electrode of transistor 200b.
  • transistor 200a and transistor 200b share conductor 245 and conductor 246 that function as plugs. In this way, by configuring the connection between two transistors and a plug as described above, a memory device that can be miniaturized or highly integrated can be provided.
  • the conductor 110 functioning as the wiring PL may be provided in each of the memory cells 150a and 150b, or may be provided in common to the memory cells 150a and 150b. However, as shown in FIG. 27B, the conductor 110 is provided at a distance from the conductor 245 to prevent the conductor 110 and the conductor 245 from being short-circuited.
  • a memory cell array can be constructed by arranging the memory cells 150 in a three-dimensional matrix.
  • Figs. 28A and 28B show an example of a memory device in which 4 x 2 x 4 memory cells 150 are arranged in the X, Y, and Z directions.
  • Fig. 28A is a plan view of the memory device.
  • Fig. 28B is a cross-sectional view of the portion indicated by the dashed dotted line A1-A2 in Fig. 28A. Note that some elements have been omitted from the plan view of Fig. 28A to clarify the figure.
  • each of the memory cells 150a to 150d shown in FIG. 28A and FIG. 28B has the same configuration as the memory cell 150.
  • the memory cell 150a has a capacitor 100a and a transistor 200a
  • the memory cell 150b has a capacitor 100b and a transistor 200b
  • the memory cell 150c has a capacitor 100c and a transistor 200c
  • the memory cell 150d has a capacitor 100d and a transistor 200d. Therefore, in the memory device shown in FIG. 28A and FIG. 28B, the same reference numerals are attached to structures having the same functions as the structures constituting the memory device shown in FIG. 15. Note that in this section as well, the materials described in detail in ⁇ Configuration example of memory device> can be used as the constituent materials of the memory device.
  • a memory device consisting of memory cells 150a to 150d is referred to as a memory unit.
  • the memory device shown in Figures 28A and 28B has memory units 160[1,1] to 160[2,4].
  • memory units 160[1,1] to 160[2,4] may be collectively referred to as memory unit 160.
  • Memory unit 160[1,2] is provided on memory unit 160[1,1]
  • memory unit 160[1,3] is provided on memory unit 160[1,2]
  • memory unit 160[1,4] is provided on memory unit 160[1,3].
  • Memory unit 160[2,1] is provided adjacent to memory unit 160[1,1] in the Y direction.
  • Memory unit 160[2,2] is provided above memory unit 160[2,1]
  • memory unit 160[2,3] is provided above memory unit 160[2,2]
  • memory unit 160[2,4] is provided above memory unit 160[2,3].
  • memory unit 160 has memory cell 150c arranged outside memory cell 150a, and memory cell 150d arranged outside memory cell 150b, with conductor 245 at the center.
  • this is a memory device in which memory cell 150c is provided adjacent to memory cell 150a, and memory cell 150d is provided adjacent to memory cell 150b in the memory device shown in FIG. 27.
  • the conductor 260 functioning as the wiring WL is shared between memory cells 150 adjacent in the Y direction.
  • the conductor 240 functioning as part of the wiring BL is shared within the same memory unit. In other words, the conductor 240 is in contact with each of the oxide semiconductors 230 of the memory cells 150a to 150d.
  • a conductor 245 is provided between the conductors 240 of memory units adjacent in the Z direction.
  • the conductor 245 is provided in contact with the upper surface of the conductor 240 of memory unit 160[1,1] and the lower surface of the conductor 240 of memory unit 160[1,2].
  • the wiring BL is formed by the conductors 240 and 245 provided in each memory unit 160.
  • the conductor 245 is electrically connected to a sense amplifier (not shown) provided below the memory device shown in FIG. 28. In this manner, by stacking multiple memory units in the memory device shown in FIG. 28, the memory capacity per unit area can be increased.
  • the memory cells 150a and 150c and the memory cells 150b and 150d are configured to be linearly symmetrical with respect to the perpendicular bisector of the dashed dotted line A1-A2. Therefore, the transistors 200a and 200c and the transistors 200b and 200d are also arranged symmetrically with the conductor 245 in between.
  • the conductor 240 functions as the other of the source electrode and drain electrode of each of the transistors 200a to 200d.
  • the transistors 200a to 200d share the conductor 245 that functions as a plug. In this way, by configuring the connections between the four transistors and the plug as described above, a memory device that can be miniaturized or highly integrated can be provided.
  • FIG. 28 illustrates an example of a configuration in which four layers, each having two memory units, are stacked, but the present invention is not limited to this.
  • the memory device may have one layer having at least one memory cell 150, or two or more layers may be stacked.
  • FIG. 28 shows a configuration in which the conductor 245 functioning as a plug is arranged between the memory cells 150.
  • the configuration shows the conductor 245 functioning as a plug being arranged inside the memory unit 160.
  • the present invention is not limited to this.
  • the conductor 245 may be arranged outside the memory unit.
  • FIGS. 29A and 29B show an example of a memory device in which 3 ⁇ 3 ⁇ 4 memory cells 150 are arranged in the X, Y, and Z directions.
  • FIG. 29A is a plan view of the memory device.
  • FIG. 29B is a cross-sectional view of the area indicated by the dashed dotted line A1-A2 in FIG. 29A. Note that some elements have been omitted from the plan view of FIG. 29A to clarify the drawing.
  • 29A and 29B have a structure in which m layers including memory cells 150 are stacked (m is an integer of 2 or more).
  • the layer provided in the first layer (bottom) is layer 170[1]
  • the layer provided in the second layer is layer 170[2]
  • the layer provided in the (m-1)th layer is layer 170[m-1]
  • the layer provided in the mth layer (top) is layer 170[m], as shown in FIG. 29B.
  • the memory device of one embodiment of the present invention may have a structure in which multiple layers including memory cells 150 are stacked.
  • the conductor 245 may be provided outside the memory unit.
  • the conductor 245 may also be electrically connected to a wiring provided in an upper layer of the layer including the conductor 245.
  • the conductor 245 provided in the layer 170[1] is electrically connected to a wiring provided in the layer 170[2].
  • the wiring provided in the layer 170[2] is provided in the same layer as the lower electrode (conductor 110) of the memory cell 150 included in the layer 170[2]. In other words, the wiring can be formed in the same process as the conductor 110.
  • the conductor 245 is electrically connected to a wiring provided in an upper layer of the layer including the conductor 245, but the present invention is not limited to this.
  • the conductor 245 may be electrically connected to a wiring provided in the layer including the conductor 245.
  • the conductor 245 provided in the layer 170[1] may be electrically connected to a wiring provided in the layer 170[1].
  • the wiring provided in the layer 170[1] is provided in the same layer as the lower electrode (conductor 110) of the memory cell 150 included in the layer 170[1]. In other words, the wiring can be formed in the same process as the conductor 110.
  • FIG. 30A the planar layout of the memory device shown in FIG. 29A is shown in FIG. 30A.
  • the planar layout in FIG. 30A shows an area including 4 ⁇ 4 memory cells 150.
  • a conductor 260 functioning as a wiring WL
  • a conductor 240 functioning as a wiring BL
  • an opening 290 the memory cell 150 is provided in an area where the conductor 260, the conductor 240, and the opening 290 overlap.
  • the opening 290 is provided in an area of the conductor 240 where the conductor 240 and the conductor 260 intersect.
  • Figure 30A shows a configuration in which memory cells 150 are arranged in a matrix. Also, a configuration in which openings 290 are arranged in a matrix is shown. Also, a configuration in which conductors 260 are provided extending in the Y direction (also called the column direction), and conductors 240 are provided extending in the X direction (also called the row direction). In other words, a configuration in which conductors 260 and 240 are orthogonal to each other is shown.
  • conductors 260 have a uniform width in a direction perpendicular to the direction in which conductors 260 extend (X direction), and conductors 240 have a uniform width in a direction perpendicular to the direction in which conductors 240 extend (Y direction) is shown. Note that the present invention is not limited to this.
  • Figure 30B is another example of a planar layout of a memory device.
  • the planar layout of Figure 30B illustrates conductors 260, conductors 240, memory cells 150, and openings 290, similar to Figure 30A.
  • the memory device shown in Figure 30B differs from the memory device shown in Figure 30A mainly in the arrangement of memory cells 150, the arrangement of openings 290, the shape of conductors 240, and the direction in which conductors 260 extend.
  • the memory cells 150 are arranged in odd and even rows with a shift of half the repeating unit of the memory cells 150.
  • the memory cells 150 are also arranged in odd and even columns with a shift of half the repeating unit.
  • the openings 290 shown in FIG. 30B are arranged in odd and even rows with a shift of half the repeating unit of the openings 290.
  • the openings 290 are also arranged in odd and even columns with a shift of half the repeating unit.
  • the memory cell adjacent to the first memory cell in the X direction is the second memory cell
  • the memory cell adjacent to the first memory cell in the extension direction of the conductor 260 that is closer to the second memory cell is the third memory cell.
  • the center of the third memory cell is preferably located on a straight line that passes through the middle between the first memory cell and the second memory cell and is parallel to the Y direction.
  • the third memory cell can be said to be located at a position shifted by half a repeat unit in the X direction from each of the first memory cell and the second memory cell.
  • the extension direction of conductor 260 is arranged at an angle to the Y direction.
  • conductor 240 is arranged extending in the X direction. That is, depending on the arrangement of memory cell 150 (or opening 290), the extension direction of conductor 260 may not be perpendicular to the extension direction of conductor 240. In other words, conductor 260 does not need to be perpendicular to conductor 240, and conductor 260 and conductor 240 are arranged to intersect.
  • the conductor 240 has a first region and a second region.
  • the first region is the opening 290 and the region in the vicinity thereof, and the width in the Y direction of the first region is the first width.
  • the first region can be said to have a shape with rounded corners of a rectangle.
  • the second region is a region between adjacent openings 290 in one conductor 240 (also can be said to be a region between two adjacent first regions), and the width in the Y direction of the second region is the second width. In this case, it is preferable that the second width is smaller than the first width.
  • Figure 30C is another example of a planar layout of a memory device.
  • the planar layout of Figure 30C illustrates conductor 260, conductor 240, memory cell 150, and opening 290, similar to Figure 30B.
  • the memory device illustrated in Figure 30C differs from the memory device illustrated in Figure 30B mainly in the shape of the first region of conductor 240.
  • the first region of the conductor 240 shown in FIG. 30B has a rectangular shape with rounded corners in a plan view, and one side of the rectangle is parallel to the X or Y direction.
  • the first region of the conductor 240 shown in FIG. 30C has a rectangular shape with rounded corners in a plan view, and the diagonal of the rectangle is parallel to the X or Y direction. Even with this configuration, the physical distance between the conductors 240 can be reduced when the memory cells 150 (or the openings 290) are arranged with a shift of half a repeating unit in rows and columns. This allows for miniaturization and high integration of the memory device.
  • Figures 30B and 30C show an example in which the first region of the conductor 240 has a rectangular shape with rounded corners in a plan view, but the present invention is not limited to this.
  • FIG. 31A is another example of a planar layout of a memory device.
  • the planar layout of FIG. 31A illustrates conductor 260, conductor 240, memory cell 150, and opening 290, similar to FIG. 30B.
  • the memory device illustrated in FIG. 31A differs from the memory device illustrated in FIG. 30B or FIG. 30C mainly in the shape of the first region of conductor 240.
  • the first region of the conductor 240 shown in FIG. 31B is circular in plan view. Even with this configuration, when the memory cells 150 (or the openings 290) are arranged in rows and columns with a shift of half a repeating unit, the physical distance between the conductors 240 can be reduced. This allows for miniaturization and high integration of the memory device.
  • the first region of the conductor 240 in plan view is not limited to the shape described above.
  • the first region of the conductor 240 in plan view may be an approximately circular shape such as an ellipse, a polygonal shape such as a rectangle, or a polygonal shape such as a rectangle with rounded corners.
  • FIG. 31A shows a configuration in which the width of the conductor 260 in the direction perpendicular to the direction in which the conductor 260 extends is uniform, but the present invention is not limited to this.
  • Figure 31B is another example of a planar layout of a memory device.
  • the planar layout of Figure 31B illustrates conductor 260, conductor 240, memory cell 150, and opening 290, similar to Figure 31A.
  • the memory device shown in Figure 31B differs from the memory device shown in Figure 31A mainly in the shape of conductor 260.
  • the conductor 260 shown in FIG. 31B has a first region and a second region, similar to the conductor 240.
  • the first region is the opening 290 and the region in its vicinity, and is circular in plan view.
  • the second region is the region between adjacent openings 290 in one conductor 260 (which can also be said to be the region between two adjacent first regions).
  • the first region of the conductor 260 overlaps with the first region of the conductor 240.
  • Figure 31C is another example of a planar layout of a memory device.
  • the planar layout of Figure 31C illustrates conductor 260, conductor 240, memory cell 150, and opening 290, similar to Figure 31A.
  • the memory device shown in Figure 31C differs from the memory device shown in Figure 31A mainly in the shape and extension direction of conductor 260.
  • the conductor 260 shown in FIG. 31C has a meandering shape like a triangular wave in plan view, and is provided extending in the Y direction. With this configuration, when the memory cells 150 (or the openings 290) are arranged with a shift of half a repeating unit in rows and columns, the physical distance between the conductors 260 can be reduced. This allows for miniaturization and high integration of the memory device.
  • the conductor 260 in plan view is not limited to the above, and may be meandering shaped, for example.
  • Figure 32 shows an example of the cross-sectional configuration of a memory device in which a layer having memory cells is stacked on a layer in which a driver circuit including a sense amplifier is provided.
  • a capacitor 100 is provided above a transistor 300, and a transistor 200 is provided above the transistor 300 and the capacitor 100.
  • Transistor 300 is one of the transistors contained in the sense amplifier.
  • the configuration of the memory cell 150 (transistor 200 and capacitive element 100) shown in FIG. 32 is as described above.
  • the bit line can be shortened by configuring the sense amplifier so that it overlaps with the memory cell 150. This reduces the bit line capacitance, enabling the memory device to operate at high speed.
  • the transistor 200 is not subjected to the thermal history during the manufacture of the capacitor 100. Therefore, in the transistor 200, it is possible to suppress deterioration of electrical characteristics such as fluctuations in threshold voltage and increases in parasitic resistance, as well as increases in variations in electrical characteristics due to deterioration of electrical characteristics.
  • the memory device shown in FIG. 32 can correspond to the memory device 80 described in embodiment 3.
  • the transistor 300 corresponds to the transistor included in the sense amplifier 46 in the memory device 80.
  • the memory cell 150 corresponds to the memory cell 32
  • the transistor 200 corresponds to the transistor 37
  • the capacitance element 100 corresponds to the capacitance element 38.
  • the transistor 300 is provided on a substrate 311 and has a conductor 316 that functions as a gate, an insulator 315 that functions as a gate insulator, a semiconductor region 313 that is a part of the substrate 311, and a low-resistance region 314a and a low-resistance region 314b that function as a source region or a drain region.
  • the transistor 300 may be either a p-channel type or an n-channel type.
  • the semiconductor region 313 (part of the substrate 311) in which the channel is formed has a convex shape.
  • the side and top surface of the semiconductor region 313 are covered with a conductor 316 via an insulator 315.
  • the conductor 316 may be made of a material that adjusts the work function.
  • Such a transistor 300 is also called a FIN type transistor because it uses the convex portion of the semiconductor substrate.
  • an insulator that contacts the upper portion of the convex portion and functions as a mask for forming the convex portion may be provided.
  • a semiconductor film having a convex shape may be formed by processing an SOI substrate.
  • transistor 300 shown in FIG. 32 is just an example, and the structure is not limited thereto, and an appropriate transistor can be used depending on the circuit configuration or driving method.
  • a wiring layer having an interlayer film, wiring, plugs, etc. may be provided between each structure. Also, multiple wiring layers may be provided depending on the design.
  • the conductor functioning as a plug or wiring may be given the same reference symbol as a group of multiple structures.
  • the wiring and the plug electrically connected to the wiring may be integrated. That is, there are cases where a part of the conductor functions as the wiring, and cases where a part of the conductor functions as the plug.
  • an insulator 320, an insulator 322, an insulator 324, and an insulator 326 are stacked in this order as an interlayer film.
  • a conductor 328 is embedded in the insulators 320 and 322, and a conductor 330 is embedded in the insulators 324 and 326.
  • the conductors 328 and 330 function as plugs or wiring.
  • the insulator functioning as an interlayer film may also function as a planarizing film that covers the uneven shape underneath.
  • the top surface of the insulator 322 may be planarized by a planarization process using a CMP method or the like to improve flatness.
  • a wiring layer may be provided on the insulator 326 and the conductor 330.
  • the insulator 350, the insulator 352, and the insulator 354 are stacked in this order.
  • the conductor 356 is formed on the insulator 350, the insulator 352, and the insulator 354.
  • the conductor 356 functions as a plug or wiring.
  • the insulators 352 and 354, which function as interlayer films, can be the insulators that can be used in memory devices, as described above.
  • Conductors that function as plugs or wiring can be the conductors described above under [Conductors]. It is preferable to use a high-melting point material such as tungsten or molybdenum that has both heat resistance and conductivity, and it is preferable to use tungsten. Alternatively, it is preferable to form the material from a low-resistance conductive material such as aluminum or copper. By using a low-resistance conductive material, the wiring resistance can be reduced.
  • the conductor 240 of the transistor 200 is electrically connected to the low-resistance region 314b, which functions as the source region or drain region of the transistor 300, via the conductor 643, the conductor 642, the conductor 644, the conductor 645, the conductor 646, the conductor 356, the conductor 330, and the conductor 328.
  • the conductor 643 is embedded in the insulator 280.
  • the conductor 642 is provided on the insulator 130 and embedded in the insulator 641.
  • the conductor 642 can be manufactured using the same material and process as the conductor 120.
  • the conductor 644 is embedded in the insulator 180 and the insulator 130.
  • the conductor 645 is embedded in the insulator 647.
  • the conductor 645 can be manufactured using the same material and process as the conductor 110.
  • the conductor 646 is embedded in the insulator 648.
  • the insulator 648 electrically insulates the transistor 300 from the conductor 110.
  • a novel transistor, semiconductor device, and memory device can be provided.
  • a transistor, semiconductor device, and memory device that can be miniaturized or highly integrated can be provided.
  • a highly reliable transistor, semiconductor device, and memory device can be provided.
  • a transistor with a large on-state current, and a semiconductor device and memory device including the transistor can be provided.
  • a semiconductor device and memory device with little variation in transistor characteristics can be provided.
  • a transistor with good electrical characteristics, and a semiconductor device and memory device including the transistor can be provided.
  • a semiconductor device and memory device with low power consumption can be provided.
  • a memory device with good frequency characteristics can be provided.
  • a memory device with high operating speed can be provided.
  • a memory device of one embodiment of the present invention will be described with reference to Fig. 33 to Fig. 36.
  • a configuration example of a memory device in which a layer having memory cells is stacked over a layer in which a driver circuit including a sense amplifier is provided will be described.
  • ⁇ Configuration example 4 of storage device> 33 is a block diagram illustrating a configuration example of a memory device 80 according to one embodiment of the present invention.
  • the memory device 80 illustrated in FIG. 33 includes a layer 20 and a stacked layer 70.
  • Layer 20 is a layer having Si transistors.
  • element layers 30[1] to 30[m] (m is an integer of 2 or more) are stacked.
  • Element layers 30[1] to 30[m] are layers having OS transistors.
  • Layer 70, in which layers having OS transistors are stacked, can be stacked on layer 20.
  • FIG. 33 shows an example in which the element layers 30[1] to 30[m] have multiple memory cells 32 arranged in a matrix of m rows and n columns (n is an integer of 2 or more).
  • the memory cell 32 in the first row and first column is indicated as memory cell 32[1,1] and the memory cell 32 in the mth row and nth column is indicated as memory cell 32[m,n].
  • an arbitrary row may be indicated as row i.
  • An arbitrary column may be indicated as column j.
  • i is an integer between 1 and m
  • j is an integer between 1 and n.
  • the memory cell 32 in the ith row and jth column is indicated as memory cell 32[i,j].
  • i+ ⁇ ⁇ is a positive or negative integer
  • m wirings WL extending in the row direction, m wirings PL extending in the row direction, and n wirings BL extending in the column direction are illustrated.
  • the first wiring WL (first row) is indicated as wiring WL[1]
  • the mth wiring WL (mth row) is indicated as wiring WL[m].
  • the first wiring PL (first row) is indicated as wiring PL[1]
  • the mth wiring PL (mth row) is indicated as wiring PL[m].
  • the first wiring BL (first column) is indicated as wiring BL[1]
  • the nth wiring BL (nth column) is indicated as wiring BL[n]. Note that the number of layers of the element layers 30[1] to 30[m] and the number of wirings WL (and wirings PL) do not have to be the same.
  • the multiple memory cells 32 in the i-th row are electrically connected to the wiring WL (wiring WL[i]) in the i-th row and the wiring PL (wiring PL[i]) in the i-th row.
  • the multiple memory cells 32 in the j-th column are electrically connected to the wiring BL (wiring BL[j]) in the j-th column.
  • the wiring BL functions as a bit line for writing and reading data.
  • the wiring WL functions as a word line for controlling the on/off (conductive or non-conductive) of an access transistor that functions as a switch.
  • the wiring PL functions as a constant potential line connected to a capacitor. Note that a wiring CL (not shown) can be provided separately as a wiring for transmitting the backgate potential.
  • the memory cells 32 of each of the element layers 30[1] to 30[m] are connected to the sense amplifier 46 via the wiring BL.
  • the wiring BL can be arranged in the horizontal and vertical directions on the substrate surface on which the layer 20 is provided.
  • the length of the wiring between the element layer 30 and the sense amplifier 46 can be shortened.
  • the signal propagation distance between the memory cell and the sense amplifier can be shortened, and the resistance and parasitic capacitance of the bit line are significantly reduced, so that the power consumption and signal delay can be reduced. Therefore, the power consumption and signal delay of the memory device 80 can be reduced.
  • Layer 20 has a power switch 71 (PSW), a power switch 72, and a peripheral circuit 22.
  • Peripheral circuit 22 has a drive circuit 40, a control circuit 73, and a voltage generation circuit 74.
  • Each circuit in layer 20 has a Si transistor.
  • each circuit, signal, and voltage can be selected or removed as needed. Alternatively, other circuits or other signals may be added.
  • Signals BW, CE, GW, CLK, WAKE, ADDR, WDA, PON1, and PON2 are input signals from the outside, and signal RDA is an output signal to the outside.
  • Signal CLK is a clock signal.
  • signals BW, CE, and GW are control signals.
  • Signal CE is a chip enable signal
  • signal GW is a global write enable signal
  • signal BW is a byte write enable signal.
  • Signal ADDR is an address signal.
  • Signal WDA is write data
  • signal RDA is read data.
  • Signals PON1 and PON2 are power gating control signals. Signals PON1 and PON2 may be generated by control circuit 73.
  • the control circuit 73 is a logic circuit that has the function of controlling the overall operation of the memory device 80. For example, the control circuit performs a logical operation on the signals CE, GW, and BW to determine the operation mode (e.g., write operation, read operation) of the memory device 80. Alternatively, the control circuit 73 generates a control signal for the drive circuit 40 so that this operation mode is executed.
  • the control circuit 73 performs a logical operation on the signals CE, GW, and BW to determine the operation mode (e.g., write operation, read operation) of the memory device 80.
  • the control circuit 73 generates a control signal for the drive circuit 40 so that this operation mode is executed.
  • the voltage generation circuit 74 has the function of generating a negative voltage.
  • the signal WAKE has the function of controlling the input of the signal CLK to the voltage generation circuit 74. For example, when an H-level signal is given to the signal WAKE, the signal CLK is input to the voltage generation circuit 74, and the voltage generation circuit 74 generates a negative voltage.
  • the drive circuit 40 is a circuit for writing and reading data to the memory cells 32.
  • the drive circuit 40 has a row decoder 42, a column decoder 44, a row driver 43, a column driver 45, an input circuit 47, an output circuit 48, and the sense amplifier 46 described above.
  • the row decoder 42 and the column decoder 44 have the function of decoding the signal ADDR.
  • the row decoder 42 is a circuit for specifying the row to be accessed
  • the column decoder 44 is a circuit for specifying the column to be accessed.
  • the row driver 43 has the function of selecting the wiring WL specified by the row decoder 42.
  • the column driver 45 has the function of writing data to the memory cell 32, reading data from the memory cell 32, and retaining the read data.
  • the input circuit 47 has a function of holding a signal WDA.
  • the data held by the input circuit 47 is output to the column driver 45.
  • the output data of the input circuit 47 is data (Din) to be written to the memory cell 32.
  • the data (Dout) read from the memory cell 32 by the column driver 45 is output to the output circuit 48.
  • the output circuit 48 has a function of holding Dout.
  • the output circuit 48 has a function of outputting Dout to the outside of the memory device 80.
  • the data output from the output circuit 48 is the signal RDA.
  • the power switch 71 has a function of controlling the supply of VDD to the peripheral circuit 22.
  • the power switch 72 has a function of controlling the supply of VHM to the row driver 43.
  • the high power supply voltage of the memory device 80 is VDD
  • the low power supply voltage is GND (ground potential).
  • VHM is a high power supply voltage used to set the word line to a high level, and is higher than VDD.
  • the on/off of the power switch 71 is controlled by the signal PON1, and the on/off of the power switch 72 is controlled by the signal PON2.
  • the number of power domains to which VDD is supplied in the peripheral circuit 22 is one, but it is also possible to have multiple power domains. In this case, a power switch can be provided for each power domain.
  • the element layer 30 provided in the first layer is shown as element layer 30[1]
  • the element layer 30 provided in the second layer is shown as element layer 30[2]
  • the element layer 30 provided in the fifth layer is shown as element layer 30[5].
  • wiring WL and wiring PL extending in the X direction
  • wiring BL and wiring BLB extending in the Y direction and Z direction (directions perpendicular to the substrate surface on which the driving circuit is provided).
  • Wiring BLB is an inverted bit line. Note that in order to make the drawing easier to understand, some of the wiring WL and wiring PL of each element layer 30 are omitted.
  • Figure 34B shows a schematic diagram illustrating a configuration example of the sense amplifier 46 connected to the wiring BL and wiring BLB shown in Figure 34A, and the memory cells 32 included in the element layers 30[1] to 30[5] connected to the wiring BL and wiring BLB. Note that a configuration in which multiple memory cells (memory cells 32) are electrically connected to one wiring BL and wiring BLB is also called a "memory string.”
  • Figure 34B shows an example of the circuit configuration of the memory cell 32 connected to the wiring BLB.
  • the memory cell 32 has a transistor 37 and a capacitor 38.
  • the transistor 37, the capacitor 38, and each wiring (BL, WL, etc.) may also be referred to as wiring BL[1] and wiring WL[1], etc.
  • the memory cell 150 exemplified in the previous embodiment can be applied to the memory cell 32. That is, the transistor 200 can be used as the transistor 37, and the capacitor 100 can be used as the capacitor 38.
  • the transistor 300 (see Figure 32) can be used as the transistor included in the sense amplifier 46.
  • one of the source and drain of the transistor 37 is connected to the wiring BL.
  • the other of the source and drain of the transistor 37 is connected to one electrode of the capacitor 38.
  • the other electrode of the capacitor 38 is connected to the wiring PL.
  • the gate of the transistor 37 is connected to the wiring WL.
  • the wiring PL is a wiring that provides a constant potential to maintain the potential of the capacitance element 38.
  • the number of wirings can be reduced by connecting multiple wirings PL together as a single wiring.
  • the OS transistors are stacked, and the wiring that functions as the bit line is arranged in a vertical direction to the substrate surface on which the layer 20 is provided.
  • the transistor 37 and the capacitor 38 of the memory cell 32 are arranged in a vertical direction to the substrate surface on which the layer 20 is provided.
  • 35A and 35B show a circuit diagram corresponding to the above-mentioned memory cell 32 and a diagram for explaining a circuit block corresponding to the circuit diagram.
  • the memory cell 32 may be represented as a block in the drawings.
  • the wiring BL shown in Fig. 35A and 35B can be represented in the same manner even when replaced with wiring BLB.
  • 35C and 35D show a circuit diagram corresponding to the above-mentioned sense amplifier 46 and a diagram explaining a circuit block corresponding to the circuit diagram.
  • the sense amplifier 46 shows a switch circuit 82, a precharge circuit 83, a precharge circuit 84, and an amplifier circuit 85.
  • wiring SA_OUT and wiring SA_OUTB that output the read signal are also shown.
  • the switch circuit 82 has, for example, n-channel transistors 82_1 and 82_2.
  • the transistors 82_1 and 82_2 switch the conduction state between the wiring pair of the wiring SA_OUT and the wiring SA_OUTB and the wiring pair of the wiring BL and the wiring BLB in response to the signal CSEL.
  • the precharge circuit 83 is composed of n-channel transistors 83_1 to 83_3 as shown in FIG. 35C.
  • the precharge circuit 83 is a circuit for precharging the wiring BL and the wiring BLB to an intermediate potential VPRE corresponding to a potential VDD/2 in response to a signal EQ.
  • the precharge circuit 84 is composed of p-channel transistors 84_1 to 84_3 as shown in FIG. 35C.
  • the precharge circuit 84 is a circuit for precharging the wiring BL and the wiring BLB to an intermediate potential VPRE corresponding to a potential VDD/2 in response to a signal EQB.
  • the amplifier circuit 85 is composed of p-channel transistors 85_1 and 85_2 and n-channel transistors 85_3 and 85_4 connected to the wiring SAP or wiring SAN.
  • the wiring SAP or wiring SAN is a wiring that has a function of providing VDD or VSS.
  • the transistors 85_1 to 85_4 are transistors that form an inverter loop.
  • FIG. 35D shows a diagram for explaining a circuit block corresponding to the sense amplifier 46 described in FIG. 35C etc.
  • the sense amplifier 46 may be represented as a block in drawings etc.
  • Figure 36 is a circuit diagram of the memory device 80 of Figure 33.
  • Figure 36 illustrates the circuit blocks described in Figures 35A to 35D.
  • the layer 70 including the element layer 30[m] has a memory cell 32.
  • the memory cell 32 shown in FIG. 36 is connected to a pair of wirings BL[1] and BLB[1], or wirings BL[2] and BLB[2].
  • the memory cell 32 connected to the wiring BL is a memory cell to which data is written or read.
  • the wiring BL[1] and the wiring BLB[1] are connected to the sense amplifier 46[1], and the wiring BL[2] and the wiring BLB[2] are connected to the sense amplifier 46[2].
  • the sense amplifier 46[1] and the sense amplifier 46[2] can read data in response to the various signals described in FIG. 35C.
  • the semiconductor device of one embodiment of the present invention can be used for, for example, electronic components, electronic devices, large scale computers, space equipment, and data centers (also referred to as data centers (DCs)).
  • Electronic components, electronic devices, large scale computers, space equipment, and data centers using the semiconductor device of one embodiment of the present invention are effective in achieving high performance, such as low power consumption.
  • FIG. 37A shows a perspective view of a substrate (mounting substrate 704) on which an electronic component 700 is mounted.
  • the electronic component 700 shown in FIG. 37A has a semiconductor device 710 in a mold 711. In FIG. 37A, some parts are omitted in order to show the inside of the electronic component 700.
  • the electronic component 700 has lands 712 on the outside of the mold 711. The lands 712 are electrically connected to electrode pads 713, and the electrode pads 713 are electrically connected to the semiconductor device 710 via wires 714.
  • the electronic component 700 is mounted on, for example, a printed circuit board 702. A plurality of such electronic components are combined and electrically connected on the printed circuit board 702 to complete the mounting substrate 704.
  • the semiconductor device 710 also has a drive circuit layer 715 and a memory layer 716.
  • the memory layer 716 is configured by stacking a plurality of memory cell arrays.
  • the drive circuit layer 715 and the memory layer 716 can be monolithically stacked. In the monolithically stacked configuration, each layer can be connected without using a through electrode technology such as a TSV (Through Silicon Via) or a bonding technology such as a Cu-Cu direct bonding.
  • a so-called on-chip memory configuration can be formed in which the memory is formed directly on the processor. By configuring the on-chip memory, it is possible to increase the speed of the operation of the interface between the processor and the memory.
  • connection wiring can be reduced compared to technologies that use through electrodes such as TSVs, and it is therefore possible to increase the number of connection pins.
  • Increasing the number of connection pins enables parallel operation, which makes it possible to improve the memory bandwidth (also called memory bandwidth).
  • the multiple memory cell arrays in the memory layer 716 are formed using OS transistors and the multiple memory cell arrays are monolithically stacked.
  • OS transistors By monolithically stacking the multiple memory cell arrays, it is possible to improve one or both of the memory bandwidth and the memory access latency.
  • the bandwidth is the amount of data transferred per unit time
  • the access latency is the time from access to the start of data exchange.
  • Si transistors when Si transistors are used for the memory layer 716, it is difficult to stack them monolithically compared to OS transistors. Therefore, it can be said that OS transistors have a superior structure to Si transistors in a monolithically stacked configuration.
  • the semiconductor device 710 may also be referred to as a die.
  • a die refers to a chip piece obtained during the manufacturing process of a semiconductor chip by forming a circuit pattern on, for example, a disk-shaped substrate (also called a wafer) and cutting it into a dice shape.
  • Semiconductor materials that can be used for the die include, for example, silicon (Si), silicon carbide (SiC), and gallium nitride (GaN).
  • Si silicon
  • SiC silicon carbide
  • GaN gallium nitride
  • a die obtained from a silicon substrate also called a silicon wafer
  • a silicon die obtained from a silicon substrate (also called a silicon wafer) may be called a silicon die.
  • Electronic component 730 is an example of a SiP (System in Package) or MCM (Multi Chip Module).
  • Electronic component 730 has an interposer 731 provided on a package substrate 732 (printed circuit board), and a semiconductor device 735 and multiple semiconductor devices 710 provided on interposer 731.
  • Electronic component 730 shows an example in which semiconductor device 710 is used as a high bandwidth memory (HBM).
  • Semiconductor device 735 can be used in integrated circuits such as a central processing unit (CPU), a graphics processing unit (GPU), or a field programmable gate array (FPGA).
  • CPU central processing unit
  • GPU graphics processing unit
  • FPGA field programmable gate array
  • the package substrate 732 may be, for example, a ceramic substrate, a plastic substrate, or a glass epoxy substrate.
  • the interposer 731 may be, for example, a silicon interposer or a resin interposer.
  • the interposer 731 has multiple wirings and functions to electrically connect multiple integrated circuits with different terminal pitches.
  • the multiple wirings are provided in a single layer or multiple layers.
  • the interposer 731 also functions to electrically connect the integrated circuits provided on the interposer 731 to electrodes provided on the package substrate 732.
  • the interposer may be called a "rewiring substrate” or "intermediate substrate.”
  • a through electrode may be provided in the interposer 731, and the integrated circuits and the package substrate 732 may be electrically connected using the through electrode.
  • a TSV may be used as the through electrode.
  • the interposer on which the HBM is mounted is required to have fine, high-density wiring. Therefore, it is preferable to use a silicon interposer for the interposer on which the HBM is mounted.
  • silicon interposers In addition, in SiP and MCM using silicon interposers, deterioration in reliability due to differences in the expansion coefficient between the integrated circuit and the interposer is unlikely to occur. In addition, since the surface of the silicon interposer is highly flat, poor connection between the integrated circuit mounted on the silicon interposer and the silicon interposer is unlikely to occur. In particular, it is preferable to use silicon interposers in 2.5D packages (2.5-dimensional mounting) in which multiple integrated circuits are arranged horizontally on the interposer.
  • a heat sink may be provided overlapping the electronic component 730.
  • electrodes 733 may be provided on the bottom of the package substrate 732.
  • FIG. 37B shows an example in which the electrodes 733 are formed from solder balls. By providing solder balls in a matrix on the bottom of the package substrate 732, BGA (Ball Grid Array) mounting can be achieved.
  • the electrodes 733 may also be formed from conductive pins. By providing conductive pins in a matrix on the bottom of the package substrate 732, PGA (Pin Grid Array) mounting can be achieved.
  • the electronic component 730 can be mounted on other substrates using various mounting methods, including but not limited to BGA and PGA.
  • mounting methods include SPGA (Staggered Pin Grid Array), LGA (Land Grid Array), QFP (Quad Flat Package), QFJ (Quad Flat J-leaded package), and QFN (Quad Flat Non-leaded package).
  • FIG. 38A a perspective view of an electronic device 6500 is shown in FIG. 38A.
  • the electronic device 6500 shown in FIG. 38A is a portable information terminal that can be used as a smartphone.
  • the electronic device 6500 includes a housing 6501, a display portion 6502, a power button 6503, a button 6504, a speaker 6505, a microphone 6506, a camera 6507, a light source 6508, a control device 6509, and the like.
  • the control device 6509 includes, for example, one or more selected from a CPU, a GPU, and a storage device.
  • the semiconductor device of one embodiment of the present invention can be applied to the display portion 6502, the control device 6509, and the like.
  • the electronic device 6600 shown in FIG. 38B is an information terminal that can be used as a notebook personal computer.
  • the electronic device 6600 includes a housing 6611, a keyboard 6612, a pointing device 6613, an external connection port 6614, a display portion 6615, a control device 6616, and the like.
  • the control device 6616 includes, for example, one or more selected from a CPU, a GPU, and a storage device.
  • the semiconductor device of one embodiment of the present invention can be applied to the display portion 6615, the control device 6616, and the like. Note that the use of the semiconductor device of one embodiment of the present invention for the control device 6509 and the control device 6616 described above is preferable because power consumption can be reduced.
  • Fig. 38C shows a perspective view of the large scale computer 5600.
  • the large scale computer 5600 shown in Fig. 38C has a rack 5610 housing a plurality of rack-mounted computers 5620.
  • the large scale computer 5600 may also be called a supercomputer.
  • the computer 5620 can have the configuration shown in the perspective view of FIG. 38D, for example.
  • the computer 5620 has a motherboard 5630, which has multiple slots 5631 and multiple connection terminals.
  • a PC card 5621 is inserted into the slot 5631.
  • the PC card 5621 has connection terminals 5623, 5624, and 5625, each of which is connected to the motherboard 5630.
  • the PC card 5621 shown in FIG. 38E is an example of a processing board equipped with a CPU, a GPU, a storage device, and the like.
  • the PC card 5621 has a board 5622.
  • the board 5622 also has a connection terminal 5623, a connection terminal 5624, a connection terminal 5625, a semiconductor device 5626, a semiconductor device 5627, a semiconductor device 5628, and a connection terminal 5629.
  • FIG. 38E illustrates semiconductor devices other than the semiconductor device 5626, the semiconductor device 5627, and the semiconductor device 5628, but for those semiconductor devices, the following description of the semiconductor device 5626, the semiconductor device 5627, and the semiconductor device 5628 can be referred to.
  • connection terminal 5629 has a shape that allows it to be inserted into the slot 5631 of the motherboard 5630, and the connection terminal 5629 functions as an interface for connecting the PC card 5621 and the motherboard 5630.
  • An example of the standard for the connection terminal 5629 is PCIe.
  • Connection terminals 5623, 5624, and 5625 can be, for example, interfaces for supplying power to PC card 5621, inputting signals, and the like. They can also be, for example, interfaces for outputting signals calculated by PC card 5621. Examples of standards for connection terminals 5623, 5624, and 5625 include USB (Universal Serial Bus), SATA (Serial ATA), and SCSI (Small Computer System Interface). In addition, when a video signal is output from connection terminals 5623, 5624, and 5625, examples of the standards for each include HDMI (registered trademark).
  • the semiconductor device 5626 has a terminal (not shown) for inputting and outputting signals, and the semiconductor device 5626 and the board 5622 can be electrically connected by inserting the terminal into a socket (not shown) provided on the board 5622.
  • the semiconductor device 5627 has multiple terminals, and the semiconductor device 5627 and the board 5622 can be electrically connected by, for example, soldering the terminals to wiring provided on the board 5622 using a reflow method.
  • Examples of the semiconductor device 5627 include an FPGA, a GPU, and a CPU.
  • the electronic component 730 can be used as the semiconductor device 5627.
  • the semiconductor device 5628 has multiple terminals, and the semiconductor device 5628 and the board 5622 can be electrically connected by, for example, soldering the terminals to wiring provided on the board 5622 using a reflow method.
  • Examples of the semiconductor device 5628 include a memory device.
  • the electronic component 700 can be used as the semiconductor device 5628.
  • the mainframe computer 5600 can also function as a parallel computer. By using the mainframe computer 5600 as a parallel computer, it is possible to perform large-scale calculations required for artificial intelligence learning and inference, for example.
  • the semiconductor device of one embodiment of the present invention can be suitably used in space equipment.
  • the semiconductor device of one embodiment of the present invention includes an OS transistor.
  • the OS transistor has small changes in electrical characteristics due to radiation exposure.
  • the OS transistor has high resistance to radiation and can be suitably used in an environment where radiation may be incident.
  • the OS transistor can be suitably used when used in outer space.
  • the OS transistor can be used as a transistor constituting a semiconductor device provided in a space shuttle, an artificial satellite, or a space probe.
  • Examples of radiation include X-rays and neutron rays.
  • outer space refers to an altitude of 100 km or higher, for example, and the outer space described in this specification may include one or more of the thermosphere, the mesosphere, and the stratosphere.
  • Figure 39 shows an artificial satellite 6800 as an example of space equipment.
  • the artificial satellite 6800 has a body 6801, a solar panel 6802, an antenna 6803, a secondary battery 6805, and a control device 6807. Note that Figure 39 also shows a planet 6804 in space.
  • the secondary battery 6805 may be provided with a battery management system (also called BMS) or a battery control circuit.
  • BMS battery management system
  • the use of OS transistors in the battery management system or battery control circuit described above is preferable because it consumes low power and has high reliability even in space.
  • outer space is an environment with radiation levels 100 times higher than on Earth.
  • radiation include electromagnetic waves (electromagnetic radiation) such as X-rays and gamma rays, as well as particle radiation such as alpha rays, beta rays, neutron rays, proton rays, heavy ion rays, and meson rays.
  • the solar panel 6802 When sunlight is irradiated onto the solar panel 6802, the power required for the operation of the satellite 6800 is generated. However, for example, in a situation where the solar panel is not irradiated with sunlight, or where the amount of sunlight irradiating the solar panel is small, the amount of power generated is small. Therefore, there is a possibility that the power required for the operation of the satellite 6800 will not be generated. In order to operate the satellite 6800 even in a situation where the generated power is small, it is advisable to provide the satellite 6800 with a secondary battery 6805. Note that the solar panel may be called a solar cell module.
  • the artificial satellite 6800 can generate a signal.
  • the signal is transmitted via the antenna 6803, and can be received, for example, by a receiver installed on the ground or by another artificial satellite.
  • the position of the receiver that received the signal can be measured.
  • the artificial satellite 6800 can constitute a satellite positioning system.
  • the control device 6807 has a function of controlling the artificial satellite 6800.
  • the control device 6807 is configured using, for example, one or more of a CPU, a GPU, and a storage device.
  • a semiconductor device including an OS transistor which is one embodiment of the present invention, is preferably used for the control device 6807.
  • the OS transistor has smaller fluctuations in electrical characteristics due to radiation exposure than a Si transistor. In other words, the OS transistor has high reliability even in an environment where radiation may be incident, and can be preferably used.
  • the artificial satellite 6800 can also be configured to have a sensor.
  • the artificial satellite 6800 can have the function of detecting sunlight reflected off an object on the ground.
  • the artificial satellite 6800 can have a thermal infrared sensor, the artificial satellite 6800 can have the function of detecting thermal infrared rays emitted from the earth's surface. From the above, the artificial satellite 6800 can have the function of, for example, an earth observation satellite.
  • an artificial satellite is illustrated as an example of space equipment, but the present invention is not limited to this.
  • the semiconductor device of one embodiment of the present invention can be suitably used in space equipment such as a spaceship, a space capsule, and a space probe.
  • OS transistors As explained above, compared to Si transistors, OS transistors have the advantages of being able to achieve a wider memory bandwidth and having higher radiation resistance.
  • the semiconductor device can be suitably used in a storage system applied to a data center or the like.
  • the data center is required to perform long-term management of data, such as ensuring the immutability of the data.
  • it is necessary to increase the size of the building, for example, by installing storage and servers for storing a huge amount of data, securing a stable power source for holding the data, or securing cooling equipment required for holding the data.
  • a semiconductor device By using a semiconductor device according to one embodiment of the present invention in a storage system applied to a data center, it is possible to reduce the power required to store data and to miniaturize the semiconductor device that stores the data. This makes it possible to miniaturize the storage system, miniaturize the power source for storing data, and reduce the scale of cooling equipment. This makes it possible to save space in the data center.
  • the semiconductor device of one embodiment of the present invention consumes less power, and therefore heat generation from the circuit can be reduced. Therefore, adverse effects of the heat generation on the circuit itself, peripheral circuits, and modules can be reduced. Furthermore, by using the semiconductor device of one embodiment of the present invention, a data center that operates stably even in a high-temperature environment can be realized. Therefore, the reliability of the data center can be improved.
  • Figure 40 shows a storage system applicable to a data center.
  • the storage system 7000 shown in Figure 40 has multiple servers 7001sb as hosts 7001 (illustrated as Host Computer). It also has multiple storage devices 7003md as storage 7003 (illustrated as Storage).
  • the host 7001 and storage 7003 are shown connected via a storage area network 7004 (illustrated as SAN: Storage Area Network) and a storage control circuit 7002 (illustrated as Storage Controller).
  • SAN Storage Area Network
  • the host 7001 corresponds to a computer that accesses data stored in the storage 7003.
  • the hosts 7001 may be connected to each other via a network.
  • Storage 7003 uses flash memory to reduce data access speed, i.e. the time required to store and output data, but this time is significantly longer than the time required by DRAM, which can be used as cache memory within the storage.
  • storage systems typically provide cache memory within the storage to reduce the time required to store and output data.
  • the above-mentioned cache memory is used in the storage control circuit 7002 and the storage 7003. Data exchanged between the host 7001 and the storage 7003 is stored in the cache memory in the storage control circuit 7002 and the storage 7003, and then output to the host 7001 or the storage 7003.
  • OS transistors as transistors for storing data in the cache memory, which hold a potential corresponding to the data
  • the frequency of refreshing can be reduced and power consumption can be reduced.
  • miniaturization is possible.
  • the application of the semiconductor device of one embodiment of the present invention to any one or more selected from electronic components, electronic devices, mainframe computers, space equipment, and data centers is expected to have an effect of reducing power consumption. Therefore, while energy demand is expected to increase with the improvement in performance or high integration of semiconductor devices, the use of the semiconductor device of one embodiment of the present invention can also reduce emissions of greenhouse gases such as carbon dioxide (CO 2 ). In addition, the semiconductor device of one embodiment of the present invention is effective as a measure against global warming because of its low power consumption.
  • CO 2 greenhouse gases
  • an oxide semiconductor film of one embodiment of the present invention and a semiconductor device of one embodiment of the present invention were fabricated and evaluated, and the results are described.
  • the sample was fabricated by forming a silicon oxide (SiOx) film with a thickness of approximately 100 nm as a base film by heat-treating a silicon substrate in a hydrogen chloride (HCl) atmosphere, and then forming an IGZO film with a thickness of approximately 20 nm as an oxide semiconductor film using the ALD method.
  • SiOx silicon oxide
  • HCl hydrogen chloride
  • the SiOx film and the IGZO film were formed on both sides of the substrate.
  • a film formation device was used in which IGZO films (corresponding to films 4431a and 4431b) were formed on both sides of the substrate (corresponding to front surface 4430a and back surface 4430b of substrate 4430) as shown in Figures 10A and 10B.
  • the specific method for forming the IGZO film was as follows: ⁇ IGZO film formation conditions>.
  • IGZO film formation conditions The precursors used to form the IGZO film were triethylindium (TEI), triethylgallium (TEG), and diethylzinc (DEZ).
  • TEI triethylindium
  • TOG triethylgallium
  • DEZ diethylzinc
  • Ozone ( O3 ) and oxygen ( O2 ) were used as oxidizers.
  • the combined gas flow rate of O3 gas and O2 gas was 1000 sccm, and the ozone concentration was 19 wt%.
  • N2 gas was used as the carrier gas, and the gas flow rate was 150 sccm.
  • IGZO (111) film As a specific one-cycle film formation method, a gas having TEI was introduced into the chamber for 0.1 seconds, purged for 3 seconds, and then O3 gas and O2 gas were introduced for 45 seconds and purged for 3 seconds. Next, a gas having TEG was introduced into the chamber for 0.1 seconds, purged for 10 seconds, then O3 gas and O2 gas were introduced for 45 seconds and purged for 3 seconds. Next, a gas having DEZ was introduced into the chamber for 0.1 seconds, purged for 3 seconds, then O3 gas and O2 gas were introduced for 9 seconds and purged for 3 seconds. The substrate temperature during film formation was 200°C.
  • the surface area of the IGZO film of the prepared sample was subjected to XPS analysis.
  • the XPS analysis was performed on the IGZO film formed on the front side of the sample.
  • the obtained spectrum of Al2p is shown in Figure 41.
  • the horizontal axis represents binding energy [eV]
  • the vertical axis represents photoelectron intensity (arbitrary units).
  • the peak position of the bond energy of a certain element when analyzed by XPS refers to the value of the bond energy at which the intensity of the energy spectrum is maximum within the range corresponding to the bond energy of that element.
  • the quantitative value of Al obtained from the XPS spectrum was approximately 4.0 atomic %.
  • the lower detection limit for Al is approximately 1.0 atomic %.
  • the sample was prepared by forming an IGZO (111) film with a thickness of approximately 35 nm on a quartz substrate using the ALD method.
  • the above-mentioned ⁇ IGZO film formation conditions> were applied to sample C. That is, the introduction time of the oxidizer ( O3 gas and O2 gas) after the introduction of the gas having TEI was 45 seconds, the introduction time of the oxidizer after the introduction of the gas having TEG was 45 seconds, and the introduction time of the oxidizer after the introduction of the gas having DEZ was 9 seconds. Furthermore, after performing a heat treatment at 450°C for 1 hour in an atmosphere of ultra-dry air, a heat treatment was performed for 1 hour in a reduced pressure atmosphere. The heating temperatures in the reduced pressure atmosphere were set to six conditions of 150°C, 200°C, 250°C, 300°C, 350°C, and 400°C.
  • Sample B was prepared in the same manner as sample C, except that the oxidizer was introduced for 30 seconds after the introduction of the gas containing TEI, 30 seconds after the introduction of the gas containing TEG, and 6 seconds after the introduction of the gas containing DEZ.
  • the oxidant introduction time after the introduction of the gas containing TEI was 15 seconds
  • the oxidant introduction time after the introduction of the gas containing TEG was 15 seconds
  • the oxidant introduction time after the introduction of the gas containing DEZ was 3 seconds. Otherwise, it was prepared in the same way as sample C.
  • the heating temperature in the reduced pressure atmosphere was also performed at 100°C in addition to the six conditions similar to those for samples B and C.
  • Figure 42A shows the resistivity of the IGZO film formed on the back surface of the three samples.
  • the horizontal axis represents the heating temperature [°C] under a reduced pressure atmosphere
  • the vertical axis represents the resistivity [ ⁇ cm].
  • sample C which had a longer oxidizing agent introduction time, tended to have higher resistivity and lower carrier concentration than samples A and B under low heating temperature conditions (e.g., 150°C). However, under high heating temperature conditions (e.g., 200°C or higher), the resistivity and carrier concentration were comparable to those of samples A and B.
  • low heating temperature conditions e.g. 150°C
  • high heating temperature conditions e.g. 200°C or higher
  • the IGZO film formed on the front surface of each sample tended to have a higher resistivity and a lower carrier concentration than the IGZO film formed on the back surface.
  • the higher the heating temperature e.g., 200°C or higher
  • the higher the resistivity and the lower the carrier concentration e.g. 200°C or higher
  • the samples were prepared by forming a SiOx film with a thickness of approximately 100 nm as a base film by heat treating a silicon substrate in an HCl atmosphere, and then forming an oxide film using the ALD method.
  • oxide films Four types of oxide films were prepared: an InOx film, a GaOx film, a ZnOx film, and an IGZO (111) film.
  • the IGZO film was formed to a thickness of about 35 nm.
  • the method of forming the IGZO film was the same as that of the above-mentioned sample A. That is, the introduction time of the oxidizer ( O3 gas and O2 gas) after the introduction of the gas having TEI was 15 seconds, the introduction time of the oxidizer after the introduction of the gas having TEG was 15 seconds, and the introduction time of the oxidizer after the introduction of the gas having DEZ was 3 seconds.
  • the substrate temperature during film formation was 200°C, and after the film formation, a heat treatment was performed at 450°C for 1 hour in an atmosphere of ultra-dry air, and then a heat treatment was performed at 400°C for 1 hour in a reduced pressure atmosphere.
  • the InOx film, GaOx film, and ZnOx film were each formed to a thickness of approximately 10 nm using the precursor used to form the IGZO film.
  • a gas containing TEI was introduced into the chamber for 0.1 seconds, and then purged for 3 seconds. Then, O3 gas and O2 gas were introduced for 30 seconds, and purged for 3 seconds.
  • a gas containing TEG was introduced into the chamber for 0.1 seconds, purged for 10 seconds, and then O3 gas and O2 gas were introduced for 30 seconds and purged for 3 seconds.
  • a gas containing DEZ was introduced into the chamber for 0.1 seconds, purged for 3 seconds, and then O3 gas and O2 gas were introduced for 6 seconds and purged for 3 seconds.
  • the substrate temperature during film formation was 200°C, and after film formation, a heat treatment was performed at 450°C for 1 hour in an ultra-dry air atmosphere.
  • the percentage of Al detected by EDX analysis was 7.7 atomic % on the front surface of the sample and 1.2 atomic % on the back surface.
  • the percentage of Al detected by EDX analysis in the GaOx film was below the detection limit on both the front and back surfaces, with the percentage below 0.2 atomic % on the front surface of the sample and below 0.1 atomic % on the back surface.
  • the percentage of Al detected by EDX analysis in the ZnOx film was below the detection limit on both the front and back sides, with the percentage below 0.1 atomic % on the front side of the sample and below 0.3 atomic % on the back side.
  • Al was more clearly detected in InOx than in GaOx and ZnOx. Therefore, it was found that the InOx film formation cycle is the main source of Al contamination when forming IGZO films using the ALD method.
  • Al is used as the starting material for synthesizing the precursor (TEI) used in forming the InOx film. Therefore, it was suggested that Al remaining in the precursor may have been mixed in during film formation. It was also found that the Al content was lower on the back side of the sample compared to the front side.
  • the percentage of Al detected by EDX analysis in the IGZO film was 2.4 atomic % on the front surface of the sample and 0.6 atomic % on the back surface. This shows that the amount of Al detected in the IGZO film is less than that in the InOx single film. It was also found that the Al content was less on the back surface of the sample than on the front surface.
  • the results of Hall effect measurements and EDX analysis show that the IGZO film formed on the front surface of the substrate contains a large amount of Al, and therefore when the temperature of the heat treatment in a reduced pressure atmosphere is high, aluminum oxide, an insulator, is likely to form. This is thought to have caused the increase in resistivity and the decrease in carrier concentration.
  • the IGZO film formed on the back surface of the substrate contains a smaller proportion of Al than the front surface, so even if the temperature of the heat treatment in a reduced pressure atmosphere is high, the effect of Al (formation of aluminum oxide) is small, and it is thought that the carrier concentration increases and the resistance decreases due to the increase in oxygen vacancies (Vo) in the IGZO.
  • the sample was fabricated by forming a SiOx film with a thickness of approximately 100 nm as a base film by heat treating a silicon substrate in an HCl atmosphere, and then forming an IGZO film with a thickness of approximately 20 nm using the ALD method.
  • samples D1, D2, E1, E2, F1, and F2 Six types of samples were prepared for SIMS measurement: samples D1, D2, E1, E2, F1, and F2. Samples D, E, and F were prepared in the same manner, except for the time the oxidizing agent was introduced.
  • sample D1 The above-mentioned ⁇ IGZO film formation conditions> were applied to sample D1. That is, the introduction time of the oxidizer ( O3 gas and O2 gas) after the introduction of the gas having TEI was 45 seconds, the introduction time of the oxidizer after the introduction of the gas having TEG was 45 seconds, and the introduction time of the oxidizer after the introduction of the gas having DEZ was 9 seconds.
  • Sample D2 was further subjected to a heat treatment at 450°C for 1 hour in an atmosphere of ultra-dry air. It can be said that sample D1 and sample D2 have a time of supplying the oxidizer for 99 seconds during the process of forming one layer of IGZO. This time is also referred to as the ozone supply time for one layer hereinafter.
  • sample E1 the introduction time of the oxidizing agent after the introduction of the gas containing DEZ was set to 45 seconds. Otherwise, it was prepared in the same manner as sample D1.
  • sample E2 a heat treatment was further performed at 450°C for 1 hour in an ultra-dry air atmosphere.
  • the ozone supply time for one layer was 135 seconds.
  • sample F1 the introduction time of the oxidizer after the introduction of the gas containing TEI was 60 seconds, the introduction time of the oxidizer after the introduction of the gas containing TEG was 60 seconds, and the introduction time of the oxidizer after the introduction of the gas containing DEZ was 60 seconds.
  • sample F2 a heat treatment was further performed at 450°C for 1 hour in an ultra-dry air atmosphere.
  • the ozone supply time for one layer for samples F1 and F2 was 180 seconds.
  • the H concentration was about 5 ⁇ 10 atoms/ cm in samples D1, E1, and F1, regardless of the ozone supply time. Also, in samples D2, E2, and F2, which were subjected to a heat treatment at 450° C., the H concentration could be reduced to about 5.5 ⁇ 10 atoms/ cm .
  • the C concentration could be reduced by increasing the ozone supply time.
  • the C concentration could be reduced to about 5 ⁇ 10 18 atoms/cm 3. It is considered that the carbon derived from the ethyl group of the precursor could be removed by increasing the ozone supply time.
  • the N concentration was low, below the lower detection limit (3.7 ⁇ 10 17 atoms/cm 3 or less), regardless of the ozone supply time and whether or not heat treatment was performed.
  • the samples were prepared by forming a silicon oxide (SiOx) film with a thickness of approximately 100 nm as a base film on a silicon substrate using thermal oxidation, and then forming an oxide film with a thickness of approximately 20 nm using the ALD method.
  • SiOx silicon oxide
  • oxide films Four types of oxide films were prepared: an InOx film, a GaOx film, a ZnOx film, and an IGZO (111) film.
  • the SiOx film and the IGZO film were formed on both sides of the substrate.
  • an ALD apparatus was used in which oxide films were formed on both sides of the substrate (front surface 4430a and back surface 4430b) as shown in Figures 10A and 10B.
  • the above-mentioned ⁇ IGZO film formation conditions> were applied to the formation of the IGZO film. That is, the introduction time of the oxidizing agent ( O3 gas and O2 gas) after the introduction of the gas containing TEI was set to 45 seconds, the introduction time of the oxidizing agent after the introduction of the gas containing TEG was set to 45 seconds, and the introduction time of the oxidizing agent after the introduction of the gas containing DEZ was set to 9 seconds.
  • the substrate temperature during film formation was set to 200°C.
  • the InOx film, GaOx film, and ZnOx film were formed using the precursor used to form the IGZO film.
  • the oxidizing agent was introduced for 15 seconds for the InOx film and GaOx film, and for 3 seconds for the ZnOx film.
  • the Al concentration of the IGZO film formed on the front surface is about 7.7 ⁇ 10 21 atoms/cm 3 in FIG. 46A, and about 4.1 ⁇ 10 21 atoms/cm 3 in FIG. 46B.
  • the Al concentration of the IGZO film formed on the back surface is about 4.4 ⁇ 10 20 atoms/cm 3 in FIG. 46A, and about 6.8 ⁇ 10 20 atoms/cm 3 in FIG. 46B.
  • the Al concentration of the IGZO film formed on the back surface is lower than that of the IGZO film formed on the front surface.
  • the precursor is supplied from above the substrate and is adsorbed onto the front surface of the substrate.
  • the precursor is also adsorbed onto the back surface.
  • the impurity (Al) contained in the precursor is preferentially adsorbed onto the front surface.
  • the IGZO film formed on the back surface may have a lower Al concentration than the IGZO film formed on the front surface.
  • Figure 47 shows the results of SIMS analysis of the aluminum concentration (Al concentration) of the InOx film, GaOx film, and ZnOx film formed on the front surface of the substrate.
  • the horizontal axis indicates the depth from the sample surface, and the position at a depth of 0 nm on the left edge corresponds to the sample surface (the surface of the InOx film, GaOx film, or ZnOx film).
  • the Al concentration of the InOx film formed on the front surface was about 7 ⁇ 10 21 atoms/cm 3.
  • the Al concentration of the GaOx film and the Al concentration of the ZnOx film formed on the front surface were each below the lower detection limit, being about 9 ⁇ 10 15 atoms/cm 3 .
  • the SIMS analysis also showed that InOx had a higher Al concentration than GaOx and ZnOx.
  • the IGZO film formed on the front surface of the substrate has a higher Al concentration than the IGZO film formed on the back surface. Furthermore, from the XPS analysis, it was found that Al exists in the IGZO film in the form of Al 2 O 3 or the like. From the Hall effect measurement, it was confirmed that the IGZO film formed on the front surface of the substrate tends to have a higher resistivity and a lower carrier concentration than the IGZO film formed on the back surface.
  • the resistance of the IGZO film formed on the front surface is higher than that of the IGZO film formed on the back surface because the IGZO film contains more Al than the IGZO film formed on the back surface, and the Al exists in an oxidized state.
  • transistors having the structures shown in FIGS. 21A to 21D were manufactured and their electrical characteristics were evaluated.
  • silicon nitride with a thickness of about 60 nm and aluminum oxide with a thickness of about 40 nm were formed by sputtering.
  • silicon oxide with a thickness of about 130 nm was formed by sputtering.
  • a three-layer stacked structure of titanium nitride, tungsten, and titanium nitride was formed by metal CVD to a total thickness of about 130 nm.
  • silicon nitride was formed to a thickness of about 5 nm using the PEALD method
  • hafnium oxide was formed to a thickness of about 15 nm using the ALD method
  • silicon oxide was formed to a thickness of about 20 nm using the sputtering method.
  • tantalum nitride was formed to a thickness of about 5 nm using a sputtering method
  • tungsten was formed to a thickness of about 15 nm using a sputtering method
  • silicon nitride to a thickness of about 5 nm and silicon oxide to a thickness of about 10 nm were formed by stacking using a sputtering method.
  • silicon nitride to a thickness of about 5 nm was formed using a PEALD method.
  • the insulator 280 was formed by stacking silicon oxide with a thickness of approximately 125 nm and silicon nitride with a thickness of approximately 120 nm using a sputtering method, and then planarized by CMP processing.
  • silicon nitride was formed to a thickness of about 10 nm using the PEALD method.
  • silicon oxide was formed to a thickness of about 1.5 nm using the PEALD method, hafnium oxide was formed to a thickness of about 1 nm using the ALD method, and silicon nitride was formed to a thickness of about 1 nm using the ALD method.
  • titanium nitride was formed to a thickness of about 5 nm and tungsten was formed to a thickness of about 150 nm using the metal CVD method.
  • aluminum oxide was formed to a thickness of about 10 nm
  • silicon nitride was formed to a thickness of about 20 nm
  • silicon oxide was formed to a thickness of about 50 nm using the sputtering method (corresponding to insulators 282 and 283).
  • the maximum temperature to which the transistor was subjected during the manufacturing process was 450°C.
  • the transistor fabricated in this example is an n-channel transistor, and was fabricated so that the channel length (L) and channel width (W) were each 20 nm.
  • the electrical characteristics of the transistor fabricated as described above were evaluated.
  • the Id-Vg characteristics were measured as the electrical characteristics.
  • the Id-Vg characteristics were measured by setting the drain voltage Vd to 1.2 V, the source voltage Vs to 0 V, and sweeping the gate voltage Vg from -4 V to +4 V in 0.1 V steps. The measurement was also performed at room temperature.
  • Figure 48 shows the Id-Vg characteristics of the transistors included in the fabricated samples.
  • the vertical axis represents the drain current Id [A]
  • the horizontal axis represents the gate-source voltage (Vg) [V].
  • a transistor exhibiting good switching characteristics could be manufactured using an oxide semiconductor according to one embodiment of the present invention.
  • microwave treatment Next, a microwave treatment was performed on the IGZO film having a thickness of about 3 nm, which was prepared by applying the above-mentioned ⁇ IGZO film formation conditions>, and a cross-sectional STEM observation was performed. Here, a cross-sectional observation of the IGZO film formed on the front surface of the substrate was performed.
  • the microwave treatment was performed using 150 sccm Ar gas and 50 sccm O2 gas as treatment gas, with a pressure of 400 Pa, a power of 4000 W, and a treatment temperature of 250° C.
  • the treatment times were 10 minutes, 30 minutes, and 60 minutes. Samples that were not subjected to microwave treatment were also prepared.
  • Figure 49A is a cross-sectional STEM image of a sample containing an IGZO film prepared without microwave treatment.
  • Figures 49B to 49D are cross-sectional STEM images of samples that were subjected to microwave treatment.
  • the treatment time was 10 minutes in Figure 49B, 30 minutes in Figure 49C, and 60 minutes in Figure 49D.
  • microwave treatment can form metal oxides with high crystallinity and a layered crystal structure.
  • an oxide semiconductor film according to one embodiment of the present invention was fabricated and evaluated, and the results are described.
  • the sample was fabricated by forming a silicon oxide (SiOx) film with a thickness of approximately 100 nm as a base film by heat-treating a silicon substrate in a hydrogen chloride (HCl) atmosphere, and then forming an IGZO film with a thickness of approximately 20 nm as an oxide semiconductor film using the ALD method.
  • SiOx silicon oxide
  • HCl hydrogen chloride
  • the SiOx film and the IGZO film were formed on both sides of the substrate.
  • a film formation device was used in which IGZO films (corresponding to films 4431a and 4431b) were formed on both sides of the substrate (corresponding to front surface 4430a and back surface 4430b of substrate 4430) as shown in Figures 10A and 10B.
  • the precursors used to form the IGZO film were triethylindium (TEI), triethylgallium (TEG), and diethylzinc (DEZ).
  • TEI triethylindium
  • TOG triethylgallium
  • DEZ diethylzinc
  • Ozone ( O3 ) and oxygen ( O2 ) were used as oxidizers.
  • the combined gas flow rate of O3 gas and O2 gas was 1000 sccm, and the ozone concentration was 19 wt%.
  • N2 gas was used as the carrier gas, and the gas flow rate was 150 sccm.
  • IGZO (111) film As a specific one-cycle film formation method, a gas having TEI was introduced into the chamber for 0.1 seconds, purged for 3 seconds, and then O3 gas and O2 gas were introduced for 60 seconds and purged for 3 seconds. Next, a gas having TEG was introduced into the chamber for 0.1 seconds, purged for 10 seconds, then O3 gas and O2 gas were introduced for 60 seconds and purged for 3 seconds.
  • sample G1 a sample that was further subjected to a heat treatment at 450° C. for 1 hour in an ultra-dry air atmosphere is called sample G2.
  • Figures 50A to 50D show the SIMS analysis results for the aluminum concentration (Al concentration) of the IGZO film formed on the front surface of sample G1, and the hydrogen concentration (H concentration), carbon concentration (C concentration), and nitrogen concentration (N concentration) of the IGZO film formed on the front surface of each sample.
  • the horizontal axis indicates the depth from the sample surface, with the position at a depth of 0 nm on the left edge corresponding to the sample surface (surface of the IGZO film).
  • the background (BG, lower limit of measurement) is also shown with a dashed line.
  • the Al concentration in the IGZO film was below the lower limit of measurement (5.1 x 1015 atoms/ cm3 ).
  • the IGZO film formed on the front surface tended to have a higher Al concentration than the IGZO film formed on the back surface.
  • an In precursor with a lower aluminum content was used compared to the In precursor used in Example 1. It is believed that this was the reason why the Al concentration of the IGZO film formed on the front surface was sufficiently reduced.

Landscapes

  • Thin Film Transistor (AREA)
  • Semiconductor Memories (AREA)
  • Engineering & Computer Science (AREA)
  • Physics & Mathematics (AREA)
  • Condensed Matter Physics & Semiconductors (AREA)
  • General Physics & Mathematics (AREA)
  • Manufacturing & Machinery (AREA)
  • Computer Hardware Design (AREA)
  • Microelectronics & Electronic Packaging (AREA)
  • Power Engineering (AREA)
PCT/IB2023/060395 2022-10-21 2023-10-16 半導体装置、及び、記憶装置 Ceased WO2024084366A1 (ja)

Priority Applications (3)

Application Number Priority Date Filing Date Title
KR1020257015123A KR20250093510A (ko) 2022-10-21 2023-10-16 반도체 장치 및 기억 장치
CN202380073210.0A CN120188582A (zh) 2022-10-21 2023-10-16 半导体装置及存储装置
JP2024550928A JPWO2024084366A1 (enExample) 2022-10-21 2023-10-16

Applications Claiming Priority (4)

Application Number Priority Date Filing Date Title
JP2022168999 2022-10-21
JP2022-168999 2022-10-21
JP2022173106 2022-10-28
JP2022-173106 2022-10-28

Publications (1)

Publication Number Publication Date
WO2024084366A1 true WO2024084366A1 (ja) 2024-04-25

Family

ID=90737107

Family Applications (1)

Application Number Title Priority Date Filing Date
PCT/IB2023/060395 Ceased WO2024084366A1 (ja) 2022-10-21 2023-10-16 半導体装置、及び、記憶装置

Country Status (4)

Country Link
JP (1) JPWO2024084366A1 (enExample)
KR (1) KR20250093510A (enExample)
CN (1) CN120188582A (enExample)
WO (1) WO2024084366A1 (enExample)

Cited By (1)

* Cited by examiner, † Cited by third party
Publication number Priority date Publication date Assignee Title
WO2025243160A1 (ja) * 2024-05-23 2025-11-27 株式会社半導体エネルギー研究所 金属酸化物層、及びトランジスタ

Citations (9)

* Cited by examiner, † Cited by third party
Publication number Priority date Publication date Assignee Title
JP2013165260A (ja) * 2012-01-10 2013-08-22 Semiconductor Energy Lab Co Ltd 半導体装置および半導体装置の作製方法
JP2015073039A (ja) * 2013-10-04 2015-04-16 株式会社半導体エネルギー研究所 半導体装置
JP2016146422A (ja) * 2015-02-09 2016-08-12 株式会社ジャパンディスプレイ 表示装置
JP2016149552A (ja) * 2015-02-11 2016-08-18 株式会社半導体エネルギー研究所 半導体装置、および半導体装置の作製方法
JP2019134077A (ja) * 2018-01-31 2019-08-08 東芝メモリ株式会社 トランジスタ及び半導体記憶装置並びにトランジスタの製造方法
WO2019234561A1 (ja) * 2018-06-08 2019-12-12 株式会社半導体エネルギー研究所 半導体装置、および半導体装置の作製方法
WO2021140407A1 (ja) * 2020-01-10 2021-07-15 株式会社半導体エネルギー研究所 半導体装置、および半導体装置の作製方法
WO2021171136A1 (ja) * 2020-02-28 2021-09-02 株式会社半導体エネルギー研究所 金属酸化物、金属酸化物の成膜方法、および金属酸化物の成膜装置
US20220189957A1 (en) * 2020-12-10 2022-06-16 Intel Corporation Transistors, memory cells, and arrangements thereof

Family Cites Families (4)

* Cited by examiner, † Cited by third party
Publication number Priority date Publication date Assignee Title
WO2011077967A1 (en) 2009-12-25 2011-06-30 Semiconductor Energy Laboratory Co., Ltd. Semiconductor device
CN103069717B (zh) 2010-08-06 2018-01-30 株式会社半导体能源研究所 半导体集成电路
US9312257B2 (en) 2012-02-29 2016-04-12 Semiconductor Energy Laboratory Co., Ltd. Semiconductor device
KR20220062524A (ko) 2019-09-20 2022-05-17 가부시키가이샤 한도오따이 에네루기 켄큐쇼 반도체 장치 및 반도체 장치의 제작 방법

Patent Citations (9)

* Cited by examiner, † Cited by third party
Publication number Priority date Publication date Assignee Title
JP2013165260A (ja) * 2012-01-10 2013-08-22 Semiconductor Energy Lab Co Ltd 半導体装置および半導体装置の作製方法
JP2015073039A (ja) * 2013-10-04 2015-04-16 株式会社半導体エネルギー研究所 半導体装置
JP2016146422A (ja) * 2015-02-09 2016-08-12 株式会社ジャパンディスプレイ 表示装置
JP2016149552A (ja) * 2015-02-11 2016-08-18 株式会社半導体エネルギー研究所 半導体装置、および半導体装置の作製方法
JP2019134077A (ja) * 2018-01-31 2019-08-08 東芝メモリ株式会社 トランジスタ及び半導体記憶装置並びにトランジスタの製造方法
WO2019234561A1 (ja) * 2018-06-08 2019-12-12 株式会社半導体エネルギー研究所 半導体装置、および半導体装置の作製方法
WO2021140407A1 (ja) * 2020-01-10 2021-07-15 株式会社半導体エネルギー研究所 半導体装置、および半導体装置の作製方法
WO2021171136A1 (ja) * 2020-02-28 2021-09-02 株式会社半導体エネルギー研究所 金属酸化物、金属酸化物の成膜方法、および金属酸化物の成膜装置
US20220189957A1 (en) * 2020-12-10 2022-06-16 Intel Corporation Transistors, memory cells, and arrangements thereof

Cited By (1)

* Cited by examiner, † Cited by third party
Publication number Priority date Publication date Assignee Title
WO2025243160A1 (ja) * 2024-05-23 2025-11-27 株式会社半導体エネルギー研究所 金属酸化物層、及びトランジスタ

Also Published As

Publication number Publication date
JPWO2024084366A1 (enExample) 2024-04-25
CN120188582A (zh) 2025-06-20
KR20250093510A (ko) 2025-06-24

Similar Documents

Publication Publication Date Title
TW202411456A (zh) 形成金屬氧化物之方法
WO2024052774A1 (ja) 半導体装置の作製方法
KR20240046038A (ko) 반도체 장치, 반도체 장치의 제작 방법, 및 전자 기기
WO2024079586A1 (ja) 半導体装置、及び記憶装置
WO2024047487A1 (ja) 記憶装置
WO2024084366A1 (ja) 半導体装置、及び、記憶装置
WO2024057166A1 (ja) 半導体装置
KR20250059432A (ko) 기억 장치 및 기억 장치의 제작 방법
WO2024057165A1 (ja) 記憶装置
WO2025052212A1 (ja) 半導体装置
WO2024252249A1 (ja) 半導体装置、半導体装置の作製方法、及び電子機器
WO2025163448A1 (ja) 半導体装置
WO2025243155A1 (ja) 半導体装置
WO2025172811A1 (ja) 半導体装置
WO2025083532A1 (ja) 半導体装置
WO2025163447A1 (ja) 半導体装置
WO2025163452A1 (ja) 半導体装置
JP2026012091A (ja) 半導体装置及び半導体装置の作製方法
JP2025010009A (ja) 酸化物半導体層、半導体装置、及び半導体装置の作製方法
JP2025077014A (ja) 半導体装置
WO2024095110A1 (ja) 半導体装置、及び、半導体装置の作製方法
WO2025046435A1 (ja) 半導体装置
WO2024095108A1 (ja) 半導体装置、及び記憶装置
JP2025010089A (ja) 半導体装置、及び半導体装置の作製方法
WO2026009123A1 (ja) 半導体装置、半導体装置の作製方法

Legal Events

Date Code Title Description
121 Ep: the epo has been informed by wipo that ep was designated in this application

Ref document number: 23879296

Country of ref document: EP

Kind code of ref document: A1

WWE Wipo information: entry into national phase

Ref document number: 2024550928

Country of ref document: JP

WWE Wipo information: entry into national phase

Ref document number: 202380073210.0

Country of ref document: CN

ENP Entry into the national phase

Ref document number: 20257015123

Country of ref document: KR

Kind code of ref document: A

NENP Non-entry into the national phase

Ref country code: DE

WWP Wipo information: published in national office

Ref document number: 202380073210.0

Country of ref document: CN

WWP Wipo information: published in national office

Ref document number: 1020257015123

Country of ref document: KR

122 Ep: pct application non-entry in european phase

Ref document number: 23879296

Country of ref document: EP

Kind code of ref document: A1