WO2024070591A1 - 伸縮性デバイス - Google Patents

伸縮性デバイス Download PDF

Info

Publication number
WO2024070591A1
WO2024070591A1 PCT/JP2023/032845 JP2023032845W WO2024070591A1 WO 2024070591 A1 WO2024070591 A1 WO 2024070591A1 JP 2023032845 W JP2023032845 W JP 2023032845W WO 2024070591 A1 WO2024070591 A1 WO 2024070591A1
Authority
WO
WIPO (PCT)
Prior art keywords
wiring
substrate
protective layer
main surface
stretchable device
Prior art date
Legal status (The legal status is an assumption and is not a legal conclusion. Google has not performed a legal analysis and makes no representation as to the accuracy of the status listed.)
Ceased
Application number
PCT/JP2023/032845
Other languages
English (en)
French (fr)
Japanese (ja)
Inventor
祐依 中村
俊文 飛鳥井
Current Assignee (The listed assignees may be inaccurate. Google has not performed a legal analysis and makes no representation or warranty as to the accuracy of the list.)
Murata Manufacturing Co Ltd
Original Assignee
Murata Manufacturing Co Ltd
Priority date (The priority date is an assumption and is not a legal conclusion. Google has not performed a legal analysis and makes no representation as to the accuracy of the date listed.)
Filing date
Publication date
Application filed by Murata Manufacturing Co Ltd filed Critical Murata Manufacturing Co Ltd
Priority to JP2024549982A priority Critical patent/JP7758216B2/ja
Publication of WO2024070591A1 publication Critical patent/WO2024070591A1/ja
Priority to US19/066,516 priority patent/US20250203765A1/en
Anticipated expiration legal-status Critical
Ceased legal-status Critical Current

Links

Images

Classifications

    • HELECTRICITY
    • H05ELECTRIC TECHNIQUES NOT OTHERWISE PROVIDED FOR
    • H05KPRINTED CIRCUITS; CASINGS OR CONSTRUCTIONAL DETAILS OF ELECTRIC APPARATUS; MANUFACTURE OF ASSEMBLAGES OF ELECTRICAL COMPONENTS
    • H05K1/00Printed circuits
    • H05K1/02Details
    • H05K1/0277Bendability or stretchability details
    • H05K1/0283Stretchable printed circuits
    • HELECTRICITY
    • H01ELECTRIC ELEMENTS
    • H01RELECTRICALLY-CONDUCTIVE CONNECTIONS; STRUCTURAL ASSOCIATIONS OF A PLURALITY OF MUTUALLY-INSULATED ELECTRICAL CONNECTING ELEMENTS; COUPLING DEVICES; CURRENT COLLECTORS
    • H01R12/00Structural associations of a plurality of mutually-insulated electrical connecting elements, specially adapted for printed circuits, e.g. printed circuit boards [PCB], flat or ribbon cables, or like generally planar structures, e.g. terminal strips, terminal blocks; Coupling devices specially adapted for printed circuits, flat or ribbon cables, or like generally planar structures; Terminals specially adapted for contact with, or insertion into, printed circuits, flat or ribbon cables, or like generally planar structures
    • H01R12/50Fixed connections
    • H01R12/59Fixed connections for flexible printed circuits, flat or ribbon cables or like structures
    • H01R12/61Fixed connections for flexible printed circuits, flat or ribbon cables or like structures connecting to flexible printed circuits, flat or ribbon cables or like structures
    • HELECTRICITY
    • H05ELECTRIC TECHNIQUES NOT OTHERWISE PROVIDED FOR
    • H05KPRINTED CIRCUITS; CASINGS OR CONSTRUCTIONAL DETAILS OF ELECTRIC APPARATUS; MANUFACTURE OF ASSEMBLAGES OF ELECTRICAL COMPONENTS
    • H05K1/00Printed circuits
    • H05K1/02Details
    • H05K1/14Structural association of two or more printed circuits
    • HELECTRICITY
    • H05ELECTRIC TECHNIQUES NOT OTHERWISE PROVIDED FOR
    • H05KPRINTED CIRCUITS; CASINGS OR CONSTRUCTIONAL DETAILS OF ELECTRIC APPARATUS; MANUFACTURE OF ASSEMBLAGES OF ELECTRICAL COMPONENTS
    • H05K1/00Printed circuits
    • H05K1/02Details
    • H05K1/14Structural association of two or more printed circuits
    • H05K1/142Arrangements of planar printed circuit boards in the same plane, e.g. auxiliary printed circuit insert mounted in a main printed circuit
    • HELECTRICITY
    • H05ELECTRIC TECHNIQUES NOT OTHERWISE PROVIDED FOR
    • H05KPRINTED CIRCUITS; CASINGS OR CONSTRUCTIONAL DETAILS OF ELECTRIC APPARATUS; MANUFACTURE OF ASSEMBLAGES OF ELECTRICAL COMPONENTS
    • H05K3/00Apparatus or processes for manufacturing printed circuits
    • H05K3/36Assembling printed circuits with other printed circuits
    • HELECTRICITY
    • H05ELECTRIC TECHNIQUES NOT OTHERWISE PROVIDED FOR
    • H05KPRINTED CIRCUITS; CASINGS OR CONSTRUCTIONAL DETAILS OF ELECTRIC APPARATUS; MANUFACTURE OF ASSEMBLAGES OF ELECTRICAL COMPONENTS
    • H05K2201/00Indexing scheme relating to printed circuits covered by H05K1/00
    • H05K2201/05Flexible printed circuits [FPCs]
    • H05K2201/058Direct connection between two or more FPCs or between flexible parts of rigid PCBs
    • HELECTRICITY
    • H05ELECTRIC TECHNIQUES NOT OTHERWISE PROVIDED FOR
    • H05KPRINTED CIRCUITS; CASINGS OR CONSTRUCTIONAL DETAILS OF ELECTRIC APPARATUS; MANUFACTURE OF ASSEMBLAGES OF ELECTRICAL COMPONENTS
    • H05K2201/00Indexing scheme relating to printed circuits covered by H05K1/00
    • H05K2201/07Electric details
    • H05K2201/0753Insulation
    • HELECTRICITY
    • H05ELECTRIC TECHNIQUES NOT OTHERWISE PROVIDED FOR
    • H05KPRINTED CIRCUITS; CASINGS OR CONSTRUCTIONAL DETAILS OF ELECTRIC APPARATUS; MANUFACTURE OF ASSEMBLAGES OF ELECTRICAL COMPONENTS
    • H05K2201/00Indexing scheme relating to printed circuits covered by H05K1/00
    • H05K2201/09Shape and layout
    • H05K2201/09209Shape and layout details of conductors
    • H05K2201/09218Conductive traces
    • H05K2201/09236Parallel layout

Definitions

  • This disclosure relates to stretchable devices.
  • a conventional stretchable device is described in JP 2008-108890 A (Patent Document 1).
  • This stretchable device has a first substrate, a first wiring provided on the first substrate, a second substrate facing the first substrate in the thickness direction of the first substrate, a second wiring provided on the second substrate facing the first wiring in the thickness direction, and a connection member that electrically connects the first wiring and the second wiring.
  • the region where the first wiring and the second wiring overlap and the region where the connection member exists constitute a wiring region where the first wiring and the second wiring are electrically connected.
  • the wiring region coincides with the substrate overlap region where the first substrate and the second substrate overlap.
  • the protective layer is provided on all parts of the first wiring that are exposed from the second substrate. In other words, when viewed from the thickness direction, the wiring region where the first wiring and the second wiring are electrically connected and the protective layer overlap region where the first substrate and the protective layer overlap are adjacent to each other.
  • the object of the present disclosure is to provide a stretchable device that can reduce damage to the stretchable device when stretching the device and can also suppress deterioration of the performance of the stretchable device.
  • a stretchable device includes: A first base material having elasticity; A first wiring provided on a first main surface of the first base material; a second base material that faces the first base material in a first direction that is a thickness direction of the first base material and is connected to the first base material; a second wiring provided on a first main surface of the second base material, facing the first wiring in the first direction, and electrically connected to the first wiring; a first protective layer provided on the first main surface of the first base material so as to cover a portion of the first wiring; A first overlap region where the first base material and the first protective layer overlap as viewed from the first direction is separated from a wiring region where the first wiring and the second wiring are electrically connected.
  • the stretchable device can reduce damage to the stretchable device when stretching the device, and can also suppress deterioration of the performance of the stretchable device.
  • FIG. 1 is a partially enlarged top view diagrammatically illustrating a stretchable device according to a first embodiment of the present disclosure.
  • FIG. 2 is an exploded plan view illustrating a schematic diagram of the stretchable device according to the first embodiment of the present disclosure.
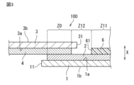
  • FIG. 3 is a cross-sectional view taken along line III-III of FIG.
  • FIG. 4 is a partial cross-sectional view of a stretchable device according to a second embodiment of the present disclosure.
  • FIG. 5 is a partial cross-sectional view of a stretchable device according to a third embodiment of the present disclosure.
  • FIG. 6 is a partial cross-sectional view of a stretchable device according to a fourth embodiment of the present disclosure.
  • FIG. 1 is a partially enlarged top view diagrammatically illustrating a stretchable device according to a first embodiment of the present disclosure.
  • FIG. 2 is an exploded plan view illustrating a schematic diagram of the stretchable device according to the first embodiment of the present disclosure.
  • FIG. 3 is a cross
  • FIG. 7 is a partial cross-sectional view of a stretchable device according to a fifth embodiment of the present disclosure.
  • FIG. 8 is a partial cross-sectional view of a stretchable device according to a sixth embodiment of the present disclosure.
  • FIG. 9 is a partial cross-sectional view of a stretchable device according to a seventh embodiment of the present disclosure.
  • FIG. 10 is a partial cross-sectional view of a stretchable device according to an eighth embodiment of the present disclosure.
  • Fig. 1 is a partial top view of the stretchable device 100.
  • Fig. 2 is an exploded plan view of the stretchable device 100.
  • Fig. 3 is a cross-sectional view of the stretchable device 100 taken along line III-III in Fig. 1. Note that the cross-sectional views in this specification are cross-sectional views parallel to the first direction, including an area where the first substrate 1 and the second substrate 3 overlap, as viewed from a first direction, which is the thickness direction of the first substrate.
  • the first direction is indicated by a double-headed arrow X.
  • the thickness direction of the first substrate 1, the thickness direction of the second substrate 3, and the first direction X coincide with each other.
  • the stretchable device 100 comprises a first substrate 1, a second substrate 3, a first wiring 2, a second wiring 4, and a first protective layer 6.
  • the first substrate 1 and the second substrate 3 are connected.
  • the first wiring 2 provided on the first main surface 1a of the first substrate 1 and the second wiring 4 provided on the first main surface 3a of the second substrate 3 are electrically connected.
  • the first protective layer 6 is provided on the first main surface 1a of the first substrate 1 so as to cover a portion of the first wiring 2.
  • the shape of the stretchable device 100 is not particularly limited. In this specification, a structure in which two substrates are connected is described as an example, but three or more substrates may be connected.
  • the first wiring 2 is not limited to the arrangement shown in FIG. 1, and the extension direction is not limited either. Specifically, the longitudinal direction of the first substrate 1 and the extension direction of the first wiring 2 do not have to coincide, and the first wiring 2 does not have to extend in one direction.
  • the number of first wirings 2 is not particularly limited, and may be one or more. When there are multiple first wirings 2, they may include wiring that is not electrically connected to the second wiring 4. The same applies to the arrangement and number of second wirings 4.
  • “above” in this specification does not have to coincide with the top and bottom when the stretchable device 100 is in use. More specifically, “on the main surface of the first substrate 1" does not refer to an absolute direction such as vertically upward as determined by the direction of gravity, but rather refers to the direction toward the outside of the outside and inside that are bounded by the main surface of the first substrate 1. The same is true for “on the main surface of the second substrate 3.”
  • “above” with respect to an element includes not only an upper position away from the element, that is, an upper position via another object on the element or an upper position with a gap therebetween, but also a position directly above the element (on).
  • first substrate 1 and the second substrate 3 face each other in the first direction X, and partially overlap when viewed from the first direction X.
  • first wiring 2 and the second wiring 4 face each other in the first direction X.
  • the first substrate 1 is stretchable. By having the first substrate 1 stretchable, the stretching of the first wiring 2 is not inhibited, and the risk of breakage due to stretching during use of the stretchable device 100 can be reduced.
  • a stretchable substrate is a sheet- or film-shaped substrate made of a stretchable resin material.
  • the resin material preferably contains at least one resin selected from the group consisting of acrylic resins, styrene resins, and urethane resins.
  • An example of an urethane resin is thermoplastic polyurethane.
  • the thickness of the first substrate 1 is not particularly limited, but from the viewpoint of not inhibiting the stretching of the surface of the living body when attached to the living body, it is preferably 1 mm or less, more preferably 100 ⁇ m or less, and even more preferably 50 ⁇ m or less. In addition, the thickness of the first substrate 1 is more preferably 1 ⁇ m or more.
  • the first substrate 1 has a first main surface 1a and a second main surface 1b located opposite each other.
  • the first substrate 1 has a first substrate end 11 connecting the first main surface 1a and the second main surface 1b.
  • the first substrate end 11 is the end of the first substrate 1 that is closer to the second substrate 3, in other words, the end that overlaps with the second wiring 4 when viewed from the first direction X.
  • ends different from the first substrate end 11 are not shown in FIGS. 1, 2, and 3.
  • the first wiring 2 is provided on the first main surface 1a of the first substrate 1.
  • the first wiring 2 is preferably elastic.
  • materials for the first wiring 2 include a mixture of metal powder such as Ag, Cu, and/or Ni as conductive particles and an elastomer resin such as a silicone resin.
  • the average particle size of the conductive particles is not particularly limited, but is preferably 0.01 ⁇ m or more and 10 ⁇ m or less.
  • the conductive particles are preferably spherical in shape, and may be flat or have a protruding structure to improve elasticity.
  • the elastomer resin contains at least one resin (elastomer resin) selected from the group consisting of epoxy resin, urethane resin, acrylic resin, and silicone resin, which is preferable for ensuring elasticity.
  • the thickness of the first wiring 2 is preferably 100 ⁇ m or less, and more preferably 50 ⁇ m or less.
  • the thickness of the elastic wiring is more preferably 1 ⁇ m or more.
  • the thickness, width, and length of the first wiring are not particularly limited.
  • the first wiring 2 does not have to be elastic.
  • the material of the first wiring 2 is, for example, a conductive paste containing a mixture of Ag and resin
  • the conductive paste is applied to the first substrate 1.
  • the application method may be screen printing, gravure printing, or inkjet printing.
  • the conductive paste is then thermally cured to obtain a predetermined resistance value, thereby forming the first wiring 2 on the first substrate 1.
  • the second substrate 3 is preferably elastic.
  • the second substrate 3 preferably has a larger Young's modulus than the first wiring 2.
  • Specific examples include substrates such as FPC (Flexible Printed Circuit), FFC (Flexible Flat Cable), and PCB (Printed Circuit Board).
  • FPC Flexible Printed Circuit
  • FFC Flexible Flat Cable
  • PCB Printed Circuit Board
  • the second substrate 3 has a first main surface 3a and a second main surface 3b located opposite each other.
  • the second substrate 3 has a second substrate end 31 connecting the first main surface 3a and the second main surface 3b.
  • the second substrate end 31 is the end of the second substrate 3 closer to the first substrate 1, in other words, the end that overlaps with the first wiring 2 when viewed from the first direction X. Specifically, of both ends in the up-down direction in FIG. 1, it is the end closer to the first substrate 1, and of both ends in the left-right direction in FIG. 3, it is the end closer to the first substrate 1. Note that ends different from the second substrate end 31 are not shown in FIGS. 1, 2, and 3.
  • the second substrate 3 is connected to the first substrate 1. That is, the first main surface 1a of the first substrate 1 and the first main surface 3a of the second substrate 3 are directly connected by welding or the like. Specifically, the first main surface 1a of the first substrate 1 and the first main surface 3a of the second substrate 3 are thermocompression bonded.
  • the first substrate 1 and the second substrate 3 may be connected via an adhesive member such as a thermoplastic adhesive.
  • the second substrate 3 does not have to be stretchable.
  • materials for the second substrate 3 include sheet- or film-shaped substrates such as PET and polyimide, and substrates such as FPC, FFC, and PCB.
  • the material for the second substrate 3 may be the same as the material for the first substrate 1.
  • the second wiring 4 is provided on the first main surface 3a of the second substrate 3.
  • the second wiring 4 is preferably elastic.
  • the second wiring 4 is preferably a wiring having a larger Young's modulus than the first wiring 2.
  • a metal wiring such as copper foil can be used.
  • the thickness of the second wiring 4 is preferably 1 ⁇ m or more and 100 ⁇ m or less, and more preferably 50 ⁇ m or less.
  • the first wiring 2 and the second wiring 4 are in direct contact with each other and electrically connected.
  • the second wiring 4 does not have to be elastic.
  • the material of the second wiring 4 may be the same as the material of the first wiring 2.
  • the second wiring 4 is electrically connected to the first wiring 2. Specifically, the first wiring 2 and the second wiring 4 are in contact with each other and electrically connected to each other. When viewed from the first direction X, a region where the first wiring 2 and the second wiring 4 overlap constitutes a wiring region Z0 where the first wiring 2 and the second wiring 4 are electrically connected to each other.
  • the first wiring 2 and the second wiring 4 may be electrically connected via a conductive connecting member. In this case, when viewed from the first direction X, the region where the first wiring 2 and the second wiring 4 overlap and the region where the connecting member exists configure a wiring region Z0 where the first wiring 2 and the second wiring 4 are electrically connected.
  • the first protective layer 6 is provided on the first main surface 1a of the first substrate 1 so as to cover a portion of the first wiring 2. In this way, the first protective layer 6 covers a portion of the first wiring 2, so that even if water droplets or foreign matter adhere across the gap between adjacent first wirings 2, it is possible to suppress short circuits between adjacent first wirings 2, and it is also possible to suppress the first wirings 2 from coming into contact with air or moisture, thereby suppressing the occurrence of oxidation or corrosion of the first wirings 2.
  • the first protective layer 6 may be provided so as to cover all of the first wirings 2 as a whole, or the first protective layer 6 may be provided in separate portions so as to cover each of the first wirings 2 individually.
  • the first protective layer 6 covers a portion of the first wiring 2, contacts the first main surface 1a of the first substrate 1, and overlaps with the first substrate 1 when viewed from the first direction X.
  • the first protective layer 6 contacts a portion of the area of the first substrate 1 that is exposed from the first wiring 2. Note that the first protective layer 6 does not have to cover the first wiring 2 and not contact the first substrate 1.
  • the first protective layer 6 are preferably a resin material or a mixture of a resin material and an inorganic material.
  • the resin material include urethane-based, styrene-based, olefin-based, silicone-based, fluorine-based, nitrile rubber, latex rubber, vinyl chloride, ester-based, amide-based, and other elastomer-based resins, epoxy, phenolic, acrylic, polyester, imide-based, rosin, cellulose, polyethylene terephthalate-based, polyethylene naphthalate-based, and polycarbonate-based resins.
  • the first protective layer 6 is preferably insulating. By making the first protective layer 6 insulating, ion migration of the first wiring 6 can be more reliably suppressed.
  • the first protective layer 6 is provided, for example, by applying an insulating material or attaching a laminate material.
  • the thickness of the first protective layer 6 is preferably 1 ⁇ m or more and 100 ⁇ m or less, and more preferably 50 ⁇ m or less. By making the thickness of the first protective layer 6 1 ⁇ m or more, the durability of the first protective layer 6 can be ensured. Furthermore, by making the thickness of the first protective layer 6 100 ⁇ m or less, the overall height can be reduced. Note that if the thickness of the first protective layer 6 is not constant, the maximum dimension of the first protective layer 6 in the first direction X is taken as the thickness.
  • the first protective layer 6 also has a first protective layer end 61.
  • the first protective layer end 61 is the end of the first protective layer 6 that is closer to the first substrate end 11, specifically, of both ends in the up-down direction in FIG. 1, it is the end that is closer to the first substrate end 11, and of both ends in the left-right direction in FIG. 3, it is the end that is closer to the first substrate end 11. Note that ends different from the first protective layer end 61 are not shown in FIGS. 1, 2, and 3.
  • the first overlap region Z11 where the first substrate 1 and the first protective layer 6 overlap is separated from the wiring region Z0 where the first wiring 2 and the second wiring 4 are electrically connected.
  • the first protective layer end 61 and the end of the second wiring 4 are separated.
  • the wiring region Z0 and the first overlap region Z11 are separated in the extension direction of the first wiring 2.
  • the extension direction of the first wiring 2 and the extension direction of the second wiring 4 are the same.
  • the first overlap region Z11 is separated from the wiring region Z0 when viewed from the first direction X, so that a first non-overlapping region Z12 that does not overlap with the first protective layer 6 of the first substrate 1 exists between the first overlap region Z11 and the wiring region Z0 when viewed from the first direction X.
  • the first non-overlapping region Z12 exists between the first protective layer end 61 and the end of the second wiring 4 when viewed from the first direction X.
  • the stress applied to the stretchable device 100 can be alleviated in the first non-overlapping region Z12. This makes it possible to reduce damage to the stretchable device 100, such as breakage of the first wiring 2, and also to suppress deterioration in the performance of the stretchable device 100, such as an increase in the resistance value of the first wiring 2.
  • the stretchability of the first substrate 1 decreases, and this becomes a portion with high rigidity in the stretchable device 100.
  • the first overlapping region Z11 the first substrate 1, the first wiring 2, and the first protective layer 6 overlap, so the stretchability of the first substrate 1 decreases, and this becomes a portion with high rigidity in the stretchable device 100.
  • the first non-overlapping region Z12 the first substrate 1 is not covered with the first protective layer 6, so the stretchability of the first substrate 1 can be ensured, and this becomes a portion with stretchability in the stretchable device 100. Therefore, when the stretchable device 100 stretches or shrinks, the stress applied to the portion with high rigidity can be absorbed by the first non-overlapping region Z12.
  • the inventor of the present application focused on the fact that when the stretchable device 100 is stretched, stress is concentrated locally in a portion with high rigidity. Furthermore, the inventor of the present application focused on the fact that the rigidity of the wiring region Z0 is different from that of the first overlapping region Z11 because the number of layers in the wiring region Z0 (four layers: the first wiring 2, the second wiring 4, the first substrate 1, and the second substrate 3) is different from the number of layers in the first overlapping region Z11 (three layers: the first substrate 1, the first wiring 2, and the first protective layer 6).
  • the inventor of the present application found that when the wiring region Z0 and the first overlapping region Z11 are adjacent to each other as viewed from the first direction X as in the conventional case, stress is concentrated between the wiring region Z0 and the first overlapping region Z11. From this perspective, the inventor of the present application has realized a stretchable device 100 that can relieve stress by making the portion where this stress is concentrated (i.e., between the wiring region Z0 and the first overlapping region Z11) a stretchable portion (i.e., the first non-overlapping region Z12).
  • the shortest distance between the first overlap region Z11 and the wiring region Z0 as viewed from the first direction X is 1 ⁇ m or more and 30 mm or less, more preferably 1 ⁇ m or more and 10 mm or less.
  • the shortest distance between the first protective layer end 61 and the second substrate end 31 in the extension direction of the first wiring 2 is 1 ⁇ m or more and 30 mm or less. Therefore, since the shortest distance is 1 ⁇ m or more, the expansion and contraction performance of the first substrate 1 can be improved in the first non-overlapping region Z12, and stress relaxation can be improved in the first non-overlapping region Z12.
  • the shortest distance is 30 mm or less, the expansion and contraction performance of the first substrate 1 can be sufficiently ensured in the first non-overlapping region Z12, and exposure of the first wiring 2 can be reduced to reduce short circuits between adjacent first wirings 2.
  • connection in the stretchable device 100 will be described.
  • the first substrate 1 and the second substrate 3 are thermocompression-bonded by applying heat and pressure. This connects the first substrate 1 and the second substrate 3.
  • the first wiring 2 and the second wiring 4 are in contact with each other and electrically connected.
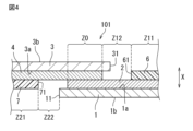
  • Fig. 4 is a partial cross-sectional view of a stretchable device 101 according to the second embodiment.
  • the stretchable device 101 according to the second embodiment is different from the stretchable device 100 according to the first embodiment in that a second protective layer is provided.
  • the stretchable device 101 of the second embodiment further includes a second protective layer 7.
  • the material and thickness of the second protective layer 7 are the same as the material and thickness of the first protective layer 6, but the thickness may be different, and similarly the material may be different.
  • the second protective layer 7 is provided on the first main surface 3a of the second substrate 3 so as to cover a portion of the second wiring 4. In this way, the second protective layer 7 covers a portion of the second wiring 4, so that even if water droplets or foreign matter adhere across the gap between adjacent second wirings 4, it is possible to suppress short circuits between adjacent second wirings 4, and it is also possible to suppress the exposure of the second wiring 4 to air and moisture, thereby suppressing the occurrence of oxidation and corrosion of the second wiring 4.
  • the second protective layer 7 covers a portion of the second wiring 4, contacts the first main surface 3a of the second substrate 3, and overlaps with the second substrate 3 when viewed from the first direction X.
  • the second protective layer 7 contacts a portion of the area of the second substrate 3 that is exposed from the second wiring 4. Note that the second protective layer 7 does not have to cover the second wiring 4 and not contact the second substrate 3.
  • the second protective layer 7 has a second protective layer end 71.
  • the second protective layer end 71 is the end of the second protective layer 7 that is closer to the second substrate end 31, specifically, of both ends in the left-right direction in FIG. 4, it is the end that is closer to the second substrate end 31. Note that ends different from the second protective layer end 71 are not shown in FIG. 4.
  • the second overlap region Z21 where the second substrate 3 and the second protective layer 7 overlap is separated from the wiring region Z0.
  • the second protective layer end 71 and the first substrate end 11 are separated.
  • the wiring region Z0 and the second overlap region Z21 are separated in the extension direction of the second wiring 4.
  • the extension direction of the first wiring 2 and the extension direction of the second wiring 4 are the same.
  • the second overlap region Z21 is separated from the wiring region Z0 when viewed from the first direction X, so that a second non-overlapping region Z22 that does not overlap with the second protective layer 7 of the second substrate 3 exists between the second overlap region Z21 and the wiring region Z0 when viewed from the first direction X.
  • the second non-overlapping region Z22 exists between the second protective layer end 71 and the first substrate end 11 when viewed from the first direction X.
  • the stretchable device 101 when the stretchable device 101 is stretched, the stress applied to the stretchable device 101 can be alleviated in the second non-overlapping region Z22.
  • damage to the stretchable device 101 such as breakage of the second wiring 4 can be reduced, and a decrease in the performance of the stretchable device 101, such as an increase in the resistance value of the second wiring 4, can be suppressed.
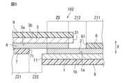
  • Fig. 5 is a partial cross-sectional view of a stretchable device 102 according to the third embodiment.
  • the stretchable device 102 according to the third embodiment is different from the stretchable device 101 according to the second embodiment in that a third protective layer and a fourth protective layer are provided.
  • the stretchable device 102 of the third embodiment further includes a third protective layer 8 and a fourth protective layer 9.
  • the material and thickness of the third protective layer 8 and the fourth protective layer 9 are the same as the material and thickness of the first protective layer 6, but the thickness may be different, and similarly the material may be different.
  • the third protective layer 8 is provided on the second main surface 1b of the first substrate 1.
  • the third protective layer 8 preferably covers the entire second main surface 1b of the first substrate 1, but it is sufficient if it covers at least a portion of the second main surface 1b of the first substrate 1.
  • the third protective layer 8 improves the waterproof performance of the first substrate 1. Furthermore, by using a biocompatible material for the third protective layer 8, biocompatibility is improved.
  • the fourth protective layer 9 is provided on the second main surface 3b of the second substrate 3.
  • the fourth protective layer 9 preferably covers the entire second main surface 3b of the second substrate 3, but may cover only a portion of the second main surface 3b of the second substrate 3.
  • the fourth protective layer 9 improves the waterproof performance of the second substrate 3. Furthermore, by using a biocompatible material for the fourth protective layer 9, biocompatibility is improved.
  • the third protective layer 8 and the fourth protective layer 9 may be provided. Also, at least one of the third protective layer 8 and the fourth protective layer 9 may be provided for the stretchable device 100 according to the first embodiment.
  • Fig. 6 is a partial cross-sectional view of a stretchable device 103 according to the fourth embodiment.
  • the stretchable device 103 according to the fourth embodiment is different from the stretchable device 100 according to the first embodiment in that a first insulating layer and a second insulating layer are provided.
  • the stretchable device 103 of the fourth embodiment further includes a first insulating layer 21 and a second insulating layer 22.
  • the material of the first insulating layer 21 and the second insulating layer 22 is different from the material of the first protective layer 6.
  • the first insulating layer 21 and the second insulating layer 22 are preferably made of a material that has a lower water absorption rate than the first substrate 1.
  • materials for the first insulating layer 21 and the second insulating layer 22 include silicone resins, acrylic resins, olefin resins, modified urethane resins, vinyl chloride resins, polyester resins, polyamide resins, polyolefin resins, polyethylene resins, and polypropylene resins.
  • the first insulating layer 21 and the second insulating layer 22 are formed, for example, by printing.
  • the first insulating layer 21 covers at least a part of the exposed surface of the first wiring 2.
  • the exposed surface of the first wiring 2 is the surface of the outer surface of the first wiring 2 that is exposed to the outside. Specifically, the exposed surface of the first wiring 2 is the surface of the first wiring 2 that is not covered by the first substrate 1, the first protective layer 6, and the second wiring 4.
  • the first insulating layer 21 preferably covers the entire exposed surface of the first wiring 2, but may cover a part of the exposed surface of the first wiring 2.
  • the first insulating layer 21 is also preferably present between the first wiring 2 and the first protective layer 6.
  • the first insulating layer 21 does not overlap the second wiring 4 in the first direction X, but a part of the first insulating layer 21 may overlap the second wiring 4 in the first direction X. According to the above configuration, the first insulating layer 21 prevents a short circuit between adjacent first wirings 2 due to water droplets or foreign matter, improving reliability.
  • An insulating paste which is the material of the first insulating layer 21, is printed on the first wiring 2 using a screen printing method or the like. At this time, in a cross section perpendicular to the extension direction of the first wiring 2, the insulating paste is preferably printed to a size 1 ⁇ m to 10 mm larger than the width of the first wiring 2, and more preferably 20 ⁇ m to 1000 ⁇ m larger.
  • the second insulating layer 22 covers at least a part of the exposed surface of the second wiring 4.
  • the exposed surface of the second wiring 4 is the surface of the outer surface of the second wiring 4 that is exposed to the outside.
  • the exposed surface of the second wiring 4 is the surface of the second wiring 4 that is not covered by the second substrate 3 and the first wiring 2.
  • the second insulating layer 22 preferably covers the entire exposed surface of the second wiring 4, but may cover a part of the exposed surface of the second wiring 4.
  • the second insulating layer 22 does not overlap the first wiring 2 in the first direction X, but a part of the second insulating layer 22 may overlap the first wiring 2 in the first direction X. According to the above configuration, the second insulating layer 22 prevents short circuits between adjacent second wirings 4 due to water droplets or foreign matter, improving reliability.
  • first insulating layer 21 and the second insulating layer 22 may be provided for the stretchable devices 101 and 102 according to the second and third embodiments.
  • Fig. 7 is a partial cross-sectional view of a stretchable device 104 according to the fifth embodiment.
  • the stretchable device 104 according to the fifth embodiment is different from the stretchable device 103 according to the fourth embodiment in that a third insulating layer and a fourth insulating layer are provided.
  • the stretchable device 104 of the fifth embodiment further includes a third insulating layer 23 and a fourth insulating layer 24.
  • the materials of the third insulating layer 23 and the fourth insulating layer 24 may be the same as the materials of the first insulating layer 21 and the second insulating layer 22, or may be different materials.
  • the third insulating layer 23 is disposed between the first wiring 2 and the first substrate 1 in the first direction X.
  • the third insulating layer 23 is provided on the first main surface 1a of the first substrate 1, and is in contact with the lower surface of the first wiring 2 (i.e., the surface of the first wiring 2 facing the first main surface 1a of the first substrate 1).
  • first substrate 1 is moisture permeable, moisture may penetrate from the first substrate 1 to the first wiring 2, causing ion migration.
  • the third insulating layer 23 it is possible to prevent moisture from penetrating from the first substrate 1 to the first wiring 2.
  • a stretchable device 104 is provided that prevents short circuits in the first wiring 2.
  • the fourth insulating layer 24 is disposed between the second wiring 4 and the second substrate 3 in the first direction X.
  • the fourth insulating layer 24 is provided on the first main surface 3a of the second substrate 3 and is in contact with the lower surface of the second wiring 4 (i.e., the surface of the second wiring 4 facing the first main surface 3a of the second substrate 3).
  • the second substrate 3 is moisture permeable, moisture may penetrate from the second substrate 3 to the second wiring 4, causing ion migration.
  • the fourth insulating layer 24 it is possible to suppress the penetration of moisture from the second substrate 3 to the second wiring 4.
  • a stretchable device 104 is provided that suppresses short circuits in the second wiring 4.
  • the third insulating layer 23 and the fourth insulating layer 24 may be provided for the stretchable devices 100, 101, and 102 according to the first, second, and third embodiments.
  • the third insulating layer 23 may be arranged, for example, so as to cover only the underside of the first wiring 2, or may be arranged in a portion of the first substrate 1 where there is no first wiring 2.
  • the third insulating layer 23 may be arranged so as to cover the entire first substrate 1. As long as the third insulating layer 23 is in contact with the second wiring 2, a different layer may be arranged between the first substrate 1 and the third insulating layer 23.
  • the fourth insulating layer 24 may be similar to the third insulating layer 23.
  • Fig. 8 is a partial cross-sectional view of a stretchable device 105 according to the sixth embodiment.
  • the stretchable device 105 according to the sixth embodiment is different from the stretchable device 103 according to the fourth embodiment in that a first covering layer and a second covering layer are provided.
  • the stretchable device 105 of the sixth embodiment further includes a first covering layer 41 and a second covering layer 42.
  • the materials of the first covering layer 41 and the second covering layer 42 are different from the material of the first protective layer 6.
  • the first covering layer 41 covers at least the end of the second substrate 3 on the first substrate side. With this structure, the second substrate 3 can be protected from external forces. More preferably, the first covering layer 41 covers the first main surface 1a side of the first substrate 1. Specifically, the first covering layer 41 covers at least a portion of the first main surface 1a of the first substrate 1, at least a portion of the first insulating layer 21, at least a portion of the first protective layer 6, and at least a portion of the second main surface 3b of the second substrate 3. With this structure, the portion of the first wiring 2 exposed from the first protective layer 6 and the first protective layer 6 can be protected from external forces.
  • the first coating layer 41 is a resin material.
  • the first coating layer 41 is preferably a resin having flexibility. Specifically, it may be formed of ionomer resin, polyester resin, styrene resin, olefin resin, epoxy resin, urethane resin, acrylic resin, or silicone resin, and is preferably formed of silicone resin.
  • the first coating layer 41 may also be a thermoplastic resin. Specifically, it may be thermoplastic polyurethane (TPU), or styrene-butadiene-styrene copolymer resin (SBS) as a styrene resin.
  • TPU thermoplastic polyurethane
  • SBS styrene-butadiene-styrene copolymer resin
  • the first coating layer 41 may be composed of multiple members. By using a resin for the first coating layer 41, the connection part can be more effectively protected from external forces.
  • the second covering layer 42 covers at least the end of the first substrate 1 on the second substrate side. With this structure, the first substrate 1 can be protected from external forces. More preferably, the second covering layer 42 covers the first main surface 3a side of the second substrate 3. Specifically, the second covering layer 42 covers at least a portion of the first main surface 3a of the second substrate 3, at least a portion of the second insulating layer 22, and at least a portion of the second main surface 1b of the first substrate 1. With the above-mentioned configuration, the portion of the second wiring 4 exposed from the second insulating layer 22 and the second insulating layer 22 can be protected from external forces.
  • the second coating layer 42 is a resin material.
  • the first coating layer 41 is preferably a resin having flexibility. Specifically, it may be formed of ionomer resin, polyester resin, styrene resin, olefin resin, epoxy resin, urethane resin, acrylic resin, or silicone resin, and is preferably formed of silicone resin.
  • the second coating layer 42 may also be a thermoplastic resin. Specifically, it may be thermoplastic polyurethane (TPU), or styrene-butadiene-styrene copolymer resin (SBS) as a styrene resin.
  • TPU thermoplastic polyurethane
  • SBS styrene-butadiene-styrene copolymer resin
  • the second coating layer 42 may be composed of a plurality of members. By using a resin for the second coating layer 42, the connection portion can be more suitably protected from external forces.
  • the first coating layer 41 and the second coating layer 42 may be the same member or different
  • Members containing resin such as the first protective layer 6, the first insulating layer 21, and the second insulating layer 22, may have cytotoxicity.
  • the first coating layer 41 it is possible to suppress leakage of cytotoxic components.
  • the same effect can be achieved for the second coating layer 42.
  • the first coating layer 41 and the second coating layer 42 it is possible to further suppress leakage of cytotoxic components.
  • the first covering layer 41 continuously covers the second main surface 3b of the second substrate 3, the first insulating layer 21, and the first protective layer 6.
  • the first covering layer 41 continuously covers the wiring region Z0, the first non-overlapping region Z12, and the first overlapping region Z11.
  • the first covering layer 41 covers the first non-overlapping region Z12 that forms a recess with respect to the wiring region Z0 and the first overlapping region Z11, so a stretchable device 105 that can reduce the recess can be provided. Therefore, a stretchable device 105 with improved wearability can be provided.
  • the first covering layer 41 overlaps the first protective layer 6 when viewed from the first direction X.
  • the first covering layer 41 is disposed on the first protective layer 6, and the step between the first main surface 1a side of the first substrate 1 and the second main surface 3b side of the second substrate 3 is reduced by the thickness of the first protective layer 6.
  • the second coating layer 42 also continuously covers the first main surface 3a of the second substrate 3 and the second main surface 1b of the first substrate 1. This makes it possible to prevent damage to the first main surface 3a of the second substrate 3 and the second main surface 1b of the first substrate 1.
  • first covering layer 41 and the second covering layer 42 may be provided for the stretchable devices 100, 101, 102, and 104 according to the first, second, third, and fifth embodiments.
  • Fig. 9 is a partial cross-sectional view of a stretchable device 106 according to the seventh embodiment.
  • the stretchable device 106 according to the seventh embodiment is different from the stretchable device 100 according to the first embodiment in that a connecting member is provided.
  • the stretchable device 106 of the seventh embodiment further includes a connection member 5.
  • the connection member 5 is shown in FIG. 9 with hatching.
  • the connection member 5 electrically connects the first wiring 2 and the second wiring 4.
  • the region where the first wiring 2 and the second wiring 4 overlap and the region where the connection member 5 exists constitute a wiring region Z0 where the first wiring 2 and the second wiring 4 are electrically connected.
  • connection member 5 is located between the first wiring 2 and the second wiring 4.
  • a part of the connection member 5 is located outside the end of the first wiring 2 so as to cover the end of the first wiring 2 in the extension direction.
  • a part of the connection member 5 is located outside the end of the second wiring 4 so as to cover the end of the second wiring 4 in the extension direction.
  • Examples of the connection member 5 include ACF (Anisotropic Conductive Film), conductive paste, solder, etc.
  • the connection member 5 preferably contains resin and conductive particles. The conductive particles contained in the connection member 5 come into contact with the first wiring 2 and the second wiring 4, thereby electrically connecting the first wiring 2 and the second wiring 4.
  • connection member 5 connects the first wiring 2 and the second wiring 4.
  • the connection member 5 also contacts the first main surface 1a of the first substrate 1 and the first main surface 3a of the second substrate 3, connecting the first substrate 1 and the second substrate 3.
  • the connection of the stretchable device 106 will be described.
  • the first substrate 1 and the second substrate 3 may be pressure-bonded, such as by applying pressure.
  • the connection member 5 is deformed and the overall thickness changes. In other words, the stretchable device 106 can be made low-profile.
  • the connection member 5 containing conductive particles is provided between the first wiring 2 and the second wiring 4, if the distance between the first wiring 2 and the second wiring 4 in the first direction X is greater than the maximum diameter of the conductive particles, electrical continuity cannot be achieved. In such a case, by performing pressure bonding as described above, the distance between the first wiring 2 and the second wiring 4 in the first direction X is reduced. Therefore, the electrical connection between the first wiring 2 and the second wiring 4 can be more reliably achieved.
  • first wiring 2 and the second wiring 4 are electrically connected before crimping, crimping does not have to be performed. Also, if the connection member 5 has adhesive properties, crimping does not have to be performed. Also, there are no particular limitations on the crimping method.
  • Fig. 10 is a partial cross-sectional view of a stretchable device 107 according to the eighth embodiment.
  • the stretchable device 107 according to the eighth embodiment is different from the stretchable device 106 according to the seventh embodiment in the length of the second base material.
  • the second substrate 3 extends in the first direction X to a position where it overlaps the first protective layer 6. Specifically, the second substrate end 31 of the second substrate 3 overlaps the first protective layer 6 when viewed from a direction perpendicular to the first direction X. In other words, the second substrate 3 overlaps the first non-overlapping region Z12. This allows the second substrate 3 to protect the exposed portion of the first wiring 2 located in the first non-overlapping region Z12.
  • a first base material having elasticity A first wiring provided on a first main surface of the first base material; a second base material that faces the first base material in a first direction that is a thickness direction of the first base material and is connected to the first base material; a first wiring layer provided on a first main surface of the second base material and facing the first wiring in the first direction; A second wiring electrically connected to the first wiring; a first protective layer provided on the first main surface of the first base material so as to cover a portion of the first wiring; A stretchable device, wherein a first overlap region where the first base material and the first protective layer overlap when viewed from the first direction is separated from a wiring region where the first wiring and the second wiring are electrically connected.
  • a second protective layer is provided on the first main surface of the second base material
  • the stretchable device according to ⁇ 1> wherein a second overlapping region where the second base material and the second protective layer overlap when viewed from the first direction is separated from the wiring region.
  • the stretchable device according to ⁇ 1> or ⁇ 2> further comprising a third protective layer provided on the second main surface of the first substrate.
  • ⁇ 5> The stretchable device according to any one of ⁇ 1> to ⁇ 4>, further comprising a first insulating layer covering at least a portion of the exposed surface of the first wiring.
  • ⁇ 6> The stretchable device according to any one of ⁇ 1> to ⁇ 5>, further comprising a second insulating layer covering at least a portion of the exposed surface of the second wiring.
  • ⁇ 7> The stretchable device according to any one of ⁇ 1> to ⁇ 6>, further comprising a third insulating layer between the first wiring and the first base material.
  • ⁇ 8> The stretchable device according to any one of ⁇ 1> to ⁇ 7>, further comprising a fourth insulating layer between the second wiring and the second base material.
  • ⁇ 9> The stretchable device according to any one of ⁇ 1> to ⁇ 8>, further comprising a first covering layer covering the first main surface side of the first base material.
  • ⁇ 10> The stretchable device according to ⁇ 9>, wherein the first covering layer overlaps the first protective layer when viewed from the first direction.
  • ⁇ 11> The stretchable device according to any one of ⁇ 1> to ⁇ 10>, further comprising a second covering layer covering the first main surface side of the second base material.
  • ⁇ 12> The stretchable device according to ⁇ 11>, wherein the second covering layer continuously covers the first main surface side of the second substrate and the second main surface side of the first substrate.
  • Stretchable device 1 First substrate 1a First main surface 1b Second main surface 11 End of first substrate 2 First wiring 3 Second substrate 3a First main surface 3b Second main surface 31 End of second substrate 4 Second wiring 5 Connection member 6 First protective layer 61 End of first protective layer 7 Second protective layer 71 End of second protective layer 8 Third protective layer 9 Fourth protective layer 21 First insulating layer 22 Second insulating layer 23 Third insulating layer 24 Fourth insulating layer 41 First covering layer 42 Second covering layer X First direction Z0 Wiring region Z11 First overlapping region Z12 First non-overlapping region Z21 Second overlapping region Z22 Second non-overlapping region

Landscapes

  • Engineering & Computer Science (AREA)
  • Microelectronics & Electronic Packaging (AREA)
  • Manufacturing & Machinery (AREA)
  • Structure Of Printed Boards (AREA)
PCT/JP2023/032845 2022-09-28 2023-09-08 伸縮性デバイス Ceased WO2024070591A1 (ja)

Priority Applications (2)

Application Number Priority Date Filing Date Title
JP2024549982A JP7758216B2 (ja) 2022-09-28 2023-09-08 伸縮性デバイス
US19/066,516 US20250203765A1 (en) 2022-09-28 2025-02-28 Stretchable device

Applications Claiming Priority (2)

Application Number Priority Date Filing Date Title
JP2022-155135 2022-09-28
JP2022155135 2022-09-28

Related Child Applications (1)

Application Number Title Priority Date Filing Date
US19/066,516 Continuation US20250203765A1 (en) 2022-09-28 2025-02-28 Stretchable device

Publications (1)

Publication Number Publication Date
WO2024070591A1 true WO2024070591A1 (ja) 2024-04-04

Family

ID=90477429

Family Applications (1)

Application Number Title Priority Date Filing Date
PCT/JP2023/032845 Ceased WO2024070591A1 (ja) 2022-09-28 2023-09-08 伸縮性デバイス

Country Status (3)

Country Link
US (1) US20250203765A1 (enExample)
JP (1) JP7758216B2 (enExample)
WO (1) WO2024070591A1 (enExample)

Citations (6)

* Cited by examiner, † Cited by third party
Publication number Priority date Publication date Assignee Title
JP2007088055A (ja) * 2005-09-20 2007-04-05 Sumitomo Electric Ind Ltd フレキシブルプリント配線板およびその製造方法
JP2010129803A (ja) * 2008-11-28 2010-06-10 Nitto Denko Corp 配線回路基板およびその製造方法
WO2013105402A1 (ja) * 2012-01-13 2013-07-18 東海ゴム工業株式会社 配線体接続構造体
US20170040306A1 (en) * 2015-06-30 2017-02-09 Apple Inc. Electronic Devices With Soft Input-Output Components
JP2018010967A (ja) * 2016-07-13 2018-01-18 日本メクトロン株式会社 フレキシブルプリント配線板及びその製造方法
WO2019093069A1 (ja) * 2017-11-07 2019-05-16 大日本印刷株式会社 伸縮性回路基板および物品

Family Cites Families (3)

* Cited by examiner, † Cited by third party
Publication number Priority date Publication date Assignee Title
CN101536617B (zh) * 2006-11-15 2011-11-09 松下电器产业株式会社 电路板连接结构和电路板
JP2013135172A (ja) * 2011-12-27 2013-07-08 Sumitomo Electric Printed Circuit Inc プリント配線板及びプリント配線板の接続構造
JP6405334B2 (ja) * 2016-04-18 2018-10-17 日本メクトロン株式会社 伸縮性配線基板、及び、伸縮性配線基板の製造方法

Patent Citations (6)

* Cited by examiner, † Cited by third party
Publication number Priority date Publication date Assignee Title
JP2007088055A (ja) * 2005-09-20 2007-04-05 Sumitomo Electric Ind Ltd フレキシブルプリント配線板およびその製造方法
JP2010129803A (ja) * 2008-11-28 2010-06-10 Nitto Denko Corp 配線回路基板およびその製造方法
WO2013105402A1 (ja) * 2012-01-13 2013-07-18 東海ゴム工業株式会社 配線体接続構造体
US20170040306A1 (en) * 2015-06-30 2017-02-09 Apple Inc. Electronic Devices With Soft Input-Output Components
JP2018010967A (ja) * 2016-07-13 2018-01-18 日本メクトロン株式会社 フレキシブルプリント配線板及びその製造方法
WO2019093069A1 (ja) * 2017-11-07 2019-05-16 大日本印刷株式会社 伸縮性回路基板および物品

Also Published As

Publication number Publication date
JPWO2024070591A1 (enExample) 2024-04-04
US20250203765A1 (en) 2025-06-19
JP7758216B2 (ja) 2025-10-22

Similar Documents

Publication Publication Date Title
JP6518451B2 (ja) 伸縮性回路基板
US9136212B2 (en) Circuit board
US12016117B2 (en) Extensible and contractible mounting board
CN207802503U (zh) 多层基板以及电子设备
US20240422919A1 (en) Stretchable device
WO2024070591A1 (ja) 伸縮性デバイス
US20240324099A1 (en) Stretchable device
JP7718604B2 (ja) 伸縮性デバイス
JP2011253979A (ja) プリント配線板の接続構造、配線板接続体及び電子機器
CN119318210A (zh) 伸缩性器件
JP5006162B2 (ja) 電気接続部材
JP7747227B2 (ja) 配線基板
JP7613632B2 (ja) 伸縮性デバイス
JP7563632B2 (ja) 伸縮配線基板
JP7605343B2 (ja) 伸縮デバイス
JP7559972B2 (ja) 伸縮性実装基板
WO2025033274A1 (ja) 伸縮性デバイス
JP4085609B2 (ja) 端子付き配線基板
WO2025249078A1 (ja) 伸縮性デバイス
WO2024252805A1 (ja) 伸縮性デバイス
WO2023032329A1 (ja) 伸縮性配線基板
JP2018107209A (ja) 伸縮性配線基板及び伸縮性基板の製造方法
JP4640581B2 (ja) カメラモジュールの実装構造
CN120731663A (zh) 伸缩性器件
JP2014183086A (ja) 積層型配線板

Legal Events

Date Code Title Description
121 Ep: the epo has been informed by wipo that ep was designated in this application

Ref document number: 23871828

Country of ref document: EP

Kind code of ref document: A1

WWE Wipo information: entry into national phase

Ref document number: 2024549982

Country of ref document: JP

NENP Non-entry into the national phase

Ref country code: DE

122 Ep: pct application non-entry in european phase

Ref document number: 23871828

Country of ref document: EP

Kind code of ref document: A1