WO2023100613A1 - 撮像装置およびカメラシステム - Google Patents

撮像装置およびカメラシステム Download PDF

Info

Publication number
WO2023100613A1
WO2023100613A1 PCT/JP2022/041784 JP2022041784W WO2023100613A1 WO 2023100613 A1 WO2023100613 A1 WO 2023100613A1 JP 2022041784 W JP2022041784 W JP 2022041784W WO 2023100613 A1 WO2023100613 A1 WO 2023100613A1
Authority
WO
WIPO (PCT)
Prior art keywords
photoelectric conversion
conversion unit
pixel
imaging device
voltage
Prior art date
Legal status (The legal status is an assumption and is not a legal conclusion. Google has not performed a legal analysis and makes no representation as to the accuracy of the status listed.)
Ceased
Application number
PCT/JP2022/041784
Other languages
English (en)
French (fr)
Japanese (ja)
Inventor
浩章 飯島
雅史 村上
Current Assignee (The listed assignees may be inaccurate. Google has not performed a legal analysis and makes no representation or warranty as to the accuracy of the list.)
Panasonic Intellectual Property Management Co Ltd
Original Assignee
Panasonic Intellectual Property Management Co Ltd
Priority date (The priority date is an assumption and is not a legal conclusion. Google has not performed a legal analysis and makes no representation as to the accuracy of the date listed.)
Filing date
Publication date
Application filed by Panasonic Intellectual Property Management Co Ltd filed Critical Panasonic Intellectual Property Management Co Ltd
Priority to CN202280076668.7A priority Critical patent/CN118266230A/zh
Priority to JP2023564842A priority patent/JPWO2023100613A1/ja
Publication of WO2023100613A1 publication Critical patent/WO2023100613A1/ja
Priority to US18/664,980 priority patent/US20240305895A1/en
Anticipated expiration legal-status Critical
Ceased legal-status Critical Current

Links

Images

Classifications

    • HELECTRICITY
    • H04ELECTRIC COMMUNICATION TECHNIQUE
    • H04NPICTORIAL COMMUNICATION, e.g. TELEVISION
    • H04N23/00Cameras or camera modules comprising electronic image sensors; Control thereof
    • H04N23/70Circuitry for compensating brightness variation in the scene
    • H04N23/73Circuitry for compensating brightness variation in the scene by influencing the exposure time
    • HELECTRICITY
    • H04ELECTRIC COMMUNICATION TECHNIQUE
    • H04NPICTORIAL COMMUNICATION, e.g. TELEVISION
    • H04N23/00Cameras or camera modules comprising electronic image sensors; Control thereof
    • H04N23/70Circuitry for compensating brightness variation in the scene
    • H04N23/74Circuitry for compensating brightness variation in the scene by influencing the scene brightness using illuminating means
    • HELECTRICITY
    • H04ELECTRIC COMMUNICATION TECHNIQUE
    • H04NPICTORIAL COMMUNICATION, e.g. TELEVISION
    • H04N25/00Circuitry of solid-state image sensors [SSIS]; Control thereof
    • H04N25/10Circuitry of solid-state image sensors [SSIS]; Control thereof for transforming different wavelengths into image signals
    • HELECTRICITY
    • H04ELECTRIC COMMUNICATION TECHNIQUE
    • H04NPICTORIAL COMMUNICATION, e.g. TELEVISION
    • H04N25/00Circuitry of solid-state image sensors [SSIS]; Control thereof
    • H04N25/50Control of the SSIS exposure
    • H04N25/53Control of the integration time
    • H04N25/532Control of the integration time by controlling global shutters in CMOS SSIS
    • HELECTRICITY
    • H04ELECTRIC COMMUNICATION TECHNIQUE
    • H04NPICTORIAL COMMUNICATION, e.g. TELEVISION
    • H04N25/00Circuitry of solid-state image sensors [SSIS]; Control thereof
    • H04N25/50Control of the SSIS exposure
    • H04N25/57Control of the dynamic range
    • H04N25/58Control of the dynamic range involving two or more exposures
    • H04N25/581Control of the dynamic range involving two or more exposures acquired simultaneously
    • H04N25/585Control of the dynamic range involving two or more exposures acquired simultaneously with pixels having different sensitivities within the sensor, e.g. fast or slow pixels or pixels having different sizes
    • HELECTRICITY
    • H04ELECTRIC COMMUNICATION TECHNIQUE
    • H04NPICTORIAL COMMUNICATION, e.g. TELEVISION
    • H04N25/00Circuitry of solid-state image sensors [SSIS]; Control thereof
    • H04N25/70SSIS architectures; Circuits associated therewith
    • H04N25/79Arrangements of circuitry being divided between different or multiple substrates, chips or circuit boards, e.g. stacked image sensors
    • HELECTRICITY
    • H10SEMICONDUCTOR DEVICES; ELECTRIC SOLID-STATE DEVICES NOT OTHERWISE PROVIDED FOR
    • H10FINORGANIC SEMICONDUCTOR DEVICES SENSITIVE TO INFRARED RADIATION, LIGHT, ELECTROMAGNETIC RADIATION OF SHORTER WAVELENGTH OR CORPUSCULAR RADIATION
    • H10F39/00Integrated devices, or assemblies of multiple devices, comprising at least one element covered by group H10F30/00, e.g. radiation detectors comprising photodiode arrays
    • H10F39/10Integrated devices
    • H10F39/12Image sensors

Definitions

  • the present disclosure relates to imaging devices and camera systems.
  • CMOS Complementary Metal Oxide Semiconductor
  • the CMOS image sensor has the advantages of low power consumption and access per pixel.
  • a so-called rolling shutter method in which exposure and readout of signal charges are sequentially performed for each row of a pixel array, is generally applied as a signal readout method to a CMOS image sensor.
  • the start and end of exposure are different for each row of the pixel array. Therefore, when an object moving at high speed is imaged, a distorted image of the object may be obtained, and when a flash is used, differences in brightness may occur within the image. Under these circumstances, there is a demand for a so-called global shutter function, in which the start and end of exposure are common to all pixels in the pixel array.
  • Patent Document 1 in an image sensor having a laminated structure in which a circuit portion and a photoelectric conversion portion are separated, by changing the voltage supplied to the photoelectric conversion portion, signal charges are transferred from the photoelectric conversion portion to the charge accumulation region.
  • a method is disclosed to control movement and achieve global shutter functionality.
  • Patent Document 2 by stacking a plurality of photoelectric conversion units, it is possible to extract signals of each color. A technique is disclosed that enables individual control.
  • Patent Document 3 discloses a technique of stacking photoelectric conversion layers for the purpose of imaging visible light and near-infrared light, and separately extracting signals from the respective photoelectric conversion layers.
  • Patent Document 4 discloses an inspection method using visible light and near-infrared rays.
  • the present disclosure provides an imaging device and a camera system capable of suppressing image quality deterioration when including a plurality of photoelectric conversion units.
  • An imaging device includes first pixels and second pixels.
  • the first pixel generates a signal charge by photoelectric conversion and has sensitivity in a first invisible wavelength region; a first signal detection circuit connected to the first photoelectric conversion unit; including.
  • the second pixel includes a second photoelectric conversion section that generates a signal charge by photoelectric conversion and has sensitivity in a second wavelength band, and a second signal detection circuit connected to the second photoelectric conversion section.
  • the exposure period of the second photoelectric conversion unit does not overlap with the light emission period of the light that is incident on the first photoelectric conversion unit and is emitted from illumination and has an emission peak in the first wavelength band.
  • a camera system includes the imaging device described above and an illumination device that emits light having an emission peak in the first wavelength band.
  • the illumination device does not emit the light during the exposure period of the second photoelectric conversion unit.
  • an imaging device and a camera system capable of suppressing image quality deterioration.
  • FIG. 1 is a block diagram showing an example of a functional configuration of a camera system according to an embodiment.
  • FIG. 2 is a schematic diagram showing a schematic configuration of the imaging device according to the embodiment.
  • FIG. 3A is a schematic diagram showing an exemplary circuit configuration of a pixel including a first photoelectric conversion unit and peripheral circuits in the imaging device according to the embodiment;
  • FIG. 3B is a schematic diagram showing an exemplary circuit configuration of a pixel including a second photoelectric conversion unit and peripheral circuits in the imaging device according to the embodiment;
  • FIG. 4 is a cross-sectional view schematically showing an exemplary cross-sectional structure of a pixel in the imaging device according to the embodiment.
  • FIG. 5 is a schematic diagram showing the configuration of another imaging device according to the embodiment.
  • FIG. 6 is a diagram showing an example of an absorption spectrum in a photoelectric conversion layer containing tin naphthalocyanine.
  • 7A is a cross-sectional view schematically showing an example of a configuration of a photoelectric conversion layer in a first photoelectric conversion unit according to the embodiment
  • FIG. 7B is a cross-sectional view schematically showing an example of a configuration of a photoelectric conversion layer in a second photoelectric conversion section according to the embodiment
  • FIG. FIG. 8 is a graph showing exemplary photocurrent characteristics of the photoelectric conversion layer according to the embodiment.
  • FIG. 9 is a diagram for explaining an operation example of the imaging device according to the embodiment
  • FIG. 10 is a diagram for explaining a comparative example of the operation of the imaging device.
  • FIG. 9 is a diagram for explaining an operation example of the imaging device according to the embodiment
  • FIG. 10 is a diagram for explaining a comparative example of the operation of the imaging device.
  • FIG. 11 is a schematic diagram showing a schematic configuration of an imaging device according to Modification 1.
  • FIG. 12 is a schematic diagram showing an exemplary circuit configuration of a pixel including a second photoelectric conversion unit and peripheral circuits in an imaging device according to Modification 2.
  • FIG. 13 is a cross-sectional view schematically showing an exemplary cross-sectional structure of a pixel in an imaging device according to modification 2.
  • FIG. 14A and 14B are diagrams for explaining an operation example of the imaging device according to Modification 2.
  • FIG. 12 is a schematic diagram showing an exemplary circuit configuration of a pixel including a second photoelectric conversion unit and peripheral circuits in an imaging device according to Modification 2.
  • FIG. 13 is a cross-sectional view schematically showing an exemplary cross-sectional structure of a pixel in an imaging device according to modification 2.
  • FIG. 14A and 14B are diagrams for explaining an operation example of the imaging device according to Modification 2.
  • the plurality of photoelectric conversion units include a photoelectric conversion unit having sensitivity in the invisible wavelength region, so that an image of invisible light can be acquired.
  • Invisible light images may be able to obtain information that cannot be confirmed with visible light, and are useful for crime prevention, inspection, and the like.
  • the amount of ambient light may be insufficient. done.
  • the invisible illumination light also enters the photoelectric conversion units that are not used for imaging the invisible illumination light among the plurality of photoelectric conversion units.
  • the imaging device includes a photoelectric conversion unit having sensitivity in the near-infrared wavelength region and a photoelectric conversion unit having sensitivity in the visible light wavelength region
  • the near-infrared illumination light is a photoelectric conversion unit having sensitivity in the visible light wavelength region. It also enters the conversion section. Since near-infrared illumination light often has visible light wavelength components such as red in part, the near-infrared illumination light causes the photoelectric conversion of the photoelectric conversion unit that is sensitive to the visible light wavelength region. occurs. As a result, the amount of signal charge generated by the photoelectric conversion unit having sensitivity in the visible light wavelength region changes, and the image quality of the resulting image deteriorates, such as color shift.
  • the present disclosure has been made based on such knowledge, and can suppress image quality deterioration due to invisible illumination light in an imaging device having a plurality of photoelectric conversion units including a photoelectric conversion unit having sensitivity in an invisible wavelength range.
  • An imaging device and camera system are provided. Details are described below.
  • An imaging device includes first pixels and second pixels.
  • the first pixel generates a signal charge by photoelectric conversion and has sensitivity in a first invisible wavelength region; a first signal detection circuit connected to the first photoelectric conversion unit; including.
  • the second pixel includes a second photoelectric conversion section that generates a signal charge by photoelectric conversion and has sensitivity in a second wavelength band, and a second signal detection circuit connected to the second photoelectric conversion section.
  • the exposure period of the second photoelectric conversion unit is the light from the illumination that is incident on the first photoelectric conversion unit and does not overlap with the light emission period of the light having the emission peak in the first wavelength band.
  • unintended photoelectric conversion tends to occur in the second photoelectric conversion unit due to light having an emission peak in the first wavelength band for imaging using the first photoelectric conversion unit. Since the exposure period of the second photoelectric conversion unit does not overlap with the light emission period of light having an emission peak in the first wavelength band, even if the light has a component that affects the photoelectric conversion of the second photoelectric conversion unit. , the light does not generate unintended signal charges in the second photoelectric conversion unit. Therefore, image quality deterioration can be suppressed.
  • the imaging device according to the second aspect of the present disclosure may be the imaging device according to the first aspect, and the first pixel and the second pixel may each be an effective pixel.
  • an imaging device is the imaging device according to the first aspect or the second aspect, in which the first photoelectric conversion section and the second photoelectric conversion section are stacked. good too.
  • an imaging device may be the imaging device according to any one of the first aspect to the third aspect, and may further include at least one voltage supply circuit,
  • Each of the first photoelectric conversion unit and the second photoelectric conversion unit includes a pixel electrode, a counter electrode facing the pixel electrode, and a photoelectric conversion layer positioned between the pixel electrode and the counter electrode.
  • the sensitivity of at least one of the first photoelectric conversion unit and the second photoelectric conversion unit can be changed by changing the voltage applied between the pixel electrode and the counter electrode by the at least one voltage supply circuit. It may be variable.
  • the sensitivity at the time of imaging using at least one of the first photoelectric conversion unit and the second photoelectric conversion unit can be adjusted only by changing the applied voltage.
  • an imaging device is the imaging device according to the fourth aspect, wherein the at least one of the first photoelectric conversion unit and the second photoelectric conversion unit is the at least It may be driven by a global shutter method in which an exposure period is defined by changing the voltage applied between the pixel electrode and the counter electrode by one voltage supply circuit.
  • the imaging device is the imaging device according to the fourth aspect, in which each of the first photoelectric conversion unit and the second photoelectric conversion unit supplies the at least one voltage It may be driven by a global shutter method in which the exposure period is defined by the change in the voltage applied between the pixel electrode and the counter electrode by the circuit.
  • an imaging device is an imaging device according to any one of the first to sixth aspects, wherein the third photoelectric conversion unit and the third photoelectric conversion unit and a connected third signal detection circuit.
  • each photoelectric conversion unit has sensitivity in the wavelength regions of red, green, and blue, color images can be easily obtained.
  • the imaging device further includes a fourth photoelectric conversion unit, if each photoelectric conversion unit has sensitivity in the wavelength regions of red, green, blue, and near-infrared rays, a color image and a near-infrared image can be easily obtained. can be obtained.
  • an imaging device is the imaging device according to any one of the first aspect to the seventh aspect, wherein the first wavelength range is a wavelength in the near-infrared wavelength range and the second wavelength range may be a wavelength range within the visible light wavelength range.
  • a visible light image and a near-infrared image can be acquired with one imaging device.
  • an imaging device is the imaging device according to the eighth aspect, wherein the exposure period of the first photoelectric conversion unit is longer than the exposure period of the second photoelectric conversion unit. It can be short.
  • a photoelectric conversion part having sensitivity in the near-infrared wavelength region is likely to generate dark current due to thermal excitation because the bandgap of the photoelectric conversion material used is narrow.
  • an imaging device is the imaging device according to any one of the first to seventh aspects, wherein the first wavelength range is a wavelength range within an ultraviolet wavelength range and the second wavelength range may be a wavelength range within a visible light wavelength range.
  • a visible light image and an ultraviolet image can be acquired with one imaging device.
  • an imaging device is the imaging device according to any one of the first to seventh aspects, wherein the first wavelength range and the second wavelength range are each: The wavelength range may be in the near-infrared wavelength range.
  • images corresponding to near-infrared rays with different wavelengths can be acquired with a single imaging device.
  • an imaging device is the imaging device according to any one of the first to eleventh aspects, wherein the second photoelectric conversion unit includes a silicon photodiode.
  • a camera system includes an imaging device according to any one of the first to twelfth aspects, and an illumination device that emits light having an emission peak in the first wavelength range.
  • the illumination device does not emit the light during the exposure period of the second photoelectric conversion unit.
  • the light emitted by the lighting device during the exposure period of the second photoelectric conversion unit does not enter the second photoelectric conversion unit, so that the light does not generate unintended signal charges in the second photoelectric conversion unit. Therefore, light having an emission peak in the first wavelength band does not affect the output of an image captured using the second photoelectric conversion unit, and image quality deterioration can be suppressed.
  • the camera system according to the fourteenth aspect of the present disclosure is the camera system according to the thirteenth aspect, wherein the illumination device emits the light during a period overlapping with the exposure period of the first photoelectric conversion unit. good too.
  • the light emitted by the lighting device can be captured using the first photoelectric conversion unit, so the image quality of the captured image can be improved.
  • the terms “upper” and “lower” do not refer to the upward direction (vertically upward) and the downward direction (vertically downward) in absolute spatial recognition, but are based on the stacking order in the stacking structure. It is used as a term defined by a relative positional relationship. Specifically, the light-receiving side of the imaging device is defined as “upper”, and the side opposite to the light-receiving side is defined as “lower”. Note that terms such as “upper” and “lower” are used only to specify the mutual arrangement of members, and are not intended to limit the orientation of the imaging apparatus when it is used.
  • the terms “above” and “below” are used not only when two components are spaced apart from each other and there is another component between the two components, but also when two components are spaced apart from each other. It also applies when two components are in contact with each other and are placed in close contact with each other.
  • FIG. 1 is a block diagram showing an example of the functional configuration of the camera system according to this embodiment.
  • the camera system 1 includes an imaging device 100, an illumination device 200, and a control section 300.
  • illumination light 602 emitted by the illumination device 200 is reflected by the subject 600 .
  • the reflected light 604 generated by the reflection of the illumination light 602 by the subject 600 is converted into electric charge by the photoelectric conversion unit of the imaging device 100, and is extracted as an electric signal to be imaged.
  • imaging device 100, lighting device 200, and control unit 300 are shown as separate functional blocks, but imaging device 100, lighting device 200, and control unit 300 Two or more may be integrated.
  • imaging device 100 may include lighting device 200 .
  • the imaging device 100 converts light incident on the camera system 1 into an electrical signal and outputs an image (image signal).
  • the imaging device 100 includes a first photoelectric conversion unit 13a and a second photoelectric conversion unit 13b.
  • Each of the first photoelectric conversion unit 13a and the second photoelectric conversion unit 13b is, for example, a photoelectric conversion element.
  • Light from illumination for example, enters the first photoelectric conversion unit 13a and the second photoelectric conversion unit 13b.
  • the illumination light incident on the first photoelectric conversion unit 13a and the second photoelectric conversion unit 13b is mainly reflected light generated by reflection of the illumination light emitted by the illumination device 200 on the subject. is.
  • the first photoelectric conversion unit 13a and the second photoelectric conversion unit 13b each generate signal charges through photoelectric conversion.
  • a signal corresponding to the amount of signal charge generated by each of the first photoelectric conversion unit 13a and the second photoelectric conversion unit 13b is read out and output from the imaging device 100 as an image signal.
  • the first photoelectric conversion unit 13a and the second photoelectric conversion unit 13b have sensitivities in different wavelength ranges.
  • the first photoelectric conversion unit 13a has sensitivity to the invisible first wavelength band.
  • the second photoelectric conversion unit 13b has sensitivity in the second wavelength band.
  • having sensitivity to a certain wavelength means having an external quantum efficiency of 1% or more at a certain wavelength.
  • the illumination device 200 irradiates the subject with illumination light.
  • the illumination device 200 emits, as illumination light, at least light having an emission peak in the first wavelength region to which the first photoelectric conversion unit 13a is sensitive.
  • the illumination device 200 has, for example, a first light source 210a and a second light source 210b.
  • the first light source 210a emits light containing, for example, a component having a wavelength in at least part of the first wavelength band to which the first photoelectric conversion section 13a is sensitive.
  • the first light source 210a emits light having an emission peak in, for example, the first wavelength band.
  • the second light source 210b emits light containing, for example, a component having a wavelength in at least part of the second wavelength range to which the second photoelectric conversion section 13b is sensitive.
  • the second light source 210b emits light having an emission peak in the second wavelength band, for example.
  • the types of light sources used as the first light source 210a and the second light source 210b are not particularly limited as long as they can emit light of desired wavelengths.
  • the first light source 210a and the second light source 210b are, for example, halogen light sources, LED (Light Emitting Diode) light sources, organic EL (Electro Luminescence) light sources, laser diode light sources, or the like.
  • a plurality of light sources having different emission wavelengths may be used in combination for the first light source 210a and the second light source 210b.
  • the first wavelength range is an invisible wavelength range as described above, and is, for example, a wavelength range included in the ultraviolet wavelength range or the near-infrared wavelength range. Therefore, it is possible to capture an image using invisible light such as ultraviolet light or near-infrared light using the first photoelectric conversion unit 13a, so that an image useful for crime prevention or inspection can be acquired.
  • the second wavelength range is, for example, a wavelength range included in any one of the ultraviolet wavelength range, the visible light wavelength range, and the near-infrared wavelength range.
  • the first photoelectric conversion unit 13a may have sensitivity to wavelengths other than the first wavelength range.
  • the second photoelectric conversion unit 13b may have sensitivity to wavelengths other than the second wavelength range.
  • the first wavelength range is a wavelength range within the near-infrared wavelength range
  • the second wavelength range is a wavelength range within the visible light wavelength range. Therefore, the first light source 210a emits light having an emission peak in the near-infrared wavelength region. Also, the second light source 210b emits light having an emission peak in the visible light wavelength region. In this case, the light emitted by the first light source 210a is converted by the first photoelectric converter 13a having sensitivity in the near-infrared wavelength region, extracted as an electric signal, and captured. Also, the light emitted by the second light source 210b is converted by the second photoelectric conversion unit 13b having sensitivity in the visible light wavelength region, extracted as an electric signal, and captured. This makes it possible to realize the imaging device 100 that separates and extracts signals corresponding to visible light and near-infrared light. Therefore, for example, a visible light image and a near-infrared image can be acquired.
  • the near-infrared wavelength region refers to, for example, a wavelength region of 680 nm or more and 3000 nm or less.
  • the near-infrared wavelength region may refer to a wavelength region of 700 nm or more and 2000 nm or less, or may refer to a wavelength region of 700 nm or more and 1600 nm or less.
  • the visible light wavelength region refers to, for example, a wavelength region of 380 nm or more and less than 680 nm.
  • the ultraviolet wavelength range refers to, for example, a wavelength range of 100 nm or more and less than 380 nm, and may refer to a wavelength range of 200 nm or more and less than 380 nm.
  • all electromagnetic waves including visible light, infrared rays and ultraviolet rays are expressed as "light" for convenience.
  • the first wavelength range may be a wavelength range within the ultraviolet wavelength range
  • the second wavelength range may be a wavelength range within the visible light wavelength range. Accordingly, the imaging device 100 that separates and extracts signals corresponding to visible light and ultraviolet light can be realized. Therefore, for example, a visible light image and an ultraviolet image can be acquired.
  • each of the first wavelength band and the second wavelength band may be a wavelength band within the near-infrared wavelength region. Accordingly, the imaging apparatus 100 that separates and extracts signals corresponding to near-infrared rays having different wavelengths can be realized. Therefore, for example, two types of near-infrared images with different wavelengths can be acquired. For example, by generating a difference image using such two types of near-infrared images, it is possible to obtain a near-infrared image in which the influence of absorption of ambient light or moisture is reduced.
  • At least one of the first wavelength range and the second wavelength range is a wavelength range within the near-infrared wavelength range
  • at least one may be a wavelength range within the range of 820 nm or more and 980 nm or less.
  • an inexpensive LED light source having an emission peak at 820 nm or more and 980 nm or less can be used as the light source of the illumination device 200 that emits illumination light.
  • the number of light sources included in the lighting device 200 is not limited to two, and may be one, or three or more.
  • lighting device 200 may be configured to include only first light source 210a as a light source.
  • the second photoelectric conversion unit 13b converts reflected light, which is ambient light or light from an external light source reflected by the object, into electric charges.
  • the first light source 210a and the second light source 210b may not be provided in one lighting device, and the camera system 1 includes the lighting device having the first light source 210a and the lighting device having the second light source 210b. and a plurality of lighting devices may be provided.
  • the camera system 1 may not include the illumination device 200 .
  • the control unit 300 is a control circuit that controls operations of the imaging device 100 and the lighting device 200 .
  • the control unit 300 outputs various drive signals to the imaging device 100 and the lighting device 200, for example.
  • Control unit 300 is realized by, for example, a microcomputer.
  • the functions of the control unit 300 may be realized by a combination of a general-purpose processing circuit and software, or may be realized by hardware specialized for such processing.
  • control unit 300 for example, the function of controlling the driving of the imaging device 100 may be included in the imaging device 100 .
  • the control unit 300 may be provided in the imaging device 100 as a control circuit or the like. Therefore, the driving of the peripheral circuits and pixels of the imaging device 100 to be described later may be performed based on the control of the control unit 300 provided outside the imaging device 100 . It may be performed based on the control of the unit 300).
  • FIG. 2 is a schematic diagram showing a schematic configuration of an imaging device according to this embodiment.
  • FIG. 2 schematically shows a photoelectric conversion unit of each pixel of the imaging device 100 according to the present embodiment and a signal detection circuit connected thereto.
  • the imaging device 100 includes a first photoelectric conversion unit 13a, a signal detection circuit 14a connected to the first photoelectric conversion unit 13a, a second photoelectric conversion unit 13b, and a second photoelectric conversion unit. 13b, and a semiconductor substrate 20 provided with the signal detection circuit 14a and the signal detection circuit 14b.
  • the signal detection circuit 14a is an example of a first signal detection circuit.
  • the signal detection circuit 14b is an example of a second signal detection circuit.
  • FIG. 2 shows the first photoelectric conversion unit 13a and the second photoelectric conversion unit 13b for four pixels, respectively. is not particularly limited. Also, the number of pixels in the first photoelectric conversion unit 13a and the number of pixels in the second photoelectric conversion unit 13b may be the same or different. For example, FIG. 2 illustrates an example in which a four-pixel second photoelectric conversion unit 13b is stacked on a four-pixel first photoelectric conversion unit 13a. 4 pixels of the second photoelectric conversion unit 13b may be stacked.
  • Both the first photoelectric conversion unit 13a and the second photoelectric conversion unit 13b may have sensitivity to at least one of visible light, near-infrared rays, infrared rays, and ultraviolet rays.
  • a color filter in a Bayer array is provided above the second photoelectric conversion unit 13b having sensitivity in the entire visible light wavelength region, and each pixel provided in the second photoelectric conversion unit 13b is connected to the corresponding color filter. Accordingly, pixel signals corresponding to red, blue and green light intensities may be output.
  • each pixel provided in the first photoelectric conversion unit 13a having sensitivity in the near-infrared wavelength region may output a pixel signal corresponding to the intensity of near-infrared rays. Thereby, a color image corresponding to the signal charge of the second photoelectric conversion unit 13b is obtained, and a near-infrared image corresponding to the signal charge of the first photoelectric conversion unit 13a is obtained.
  • the signal detection circuit 14a and the signal detection circuit 14b are formed on the same plane on the semiconductor substrate 20 in the example shown in FIG.
  • the signal detection circuits 14a and 14b may be formed side by side on the same plane on the semiconductor substrate 20 as shown in FIG. 2, or may be vertically divided and formed on different planes.
  • FIG. 3A is a schematic diagram showing an exemplary circuit configuration of a pixel including a first photoelectric conversion unit and peripheral circuits in the imaging device according to the present embodiment.
  • FIG. 3B is a schematic diagram showing an exemplary circuit configuration of a pixel including a second photoelectric conversion unit and peripheral circuits in the imaging device according to the present embodiment.
  • the imaging device 100 includes a plurality of pixels including a plurality of pixels 10a and a plurality of pixels 10b, and peripheral circuits. More specifically, the imaging device 100 includes a pixel array PA including a plurality of two-dimensionally arranged pixels 10a and a plurality of two-dimensionally arranged pixels 10b, and a peripheral circuit.
  • 3A and 3B schematically show examples in which the pixels 10a and the pixels 10b are arranged in a matrix of two rows and two columns, respectively.
  • the first photoelectric conversion unit 13a and the signal detection circuit 14a constitute at least part of the pixel 10a
  • the second photoelectric conversion unit 13b and the signal detection circuit 14b constitute at least part of the pixel 10b.
  • the first photoelectric conversion unit 13a of the pixel 10a and the second photoelectric conversion unit 13b of the pixel 10b are stacked.
  • the number and arrangement of pixels 10a and pixels 10b in imaging device 100 are not limited to the examples shown in FIGS. 3A and 3B.
  • the pixel 10a is an example of a first pixel
  • the pixel 10b is an example of a second pixel.
  • the peripheral circuit drives the pixel array PA and acquires an image based on signal charges generated by the first photoelectric conversion unit 13a and the second photoelectric conversion unit 13b.
  • the peripheral circuits include, for example, a voltage supply circuit 32a connected to the pixels 10a, a reset voltage source 34a, a vertical scanning circuit 36a, a column signal processing circuit 37a, a horizontal signal readout circuit 38a, and a voltage source connected to the power line 40a.
  • the peripheral circuits include, for example, a voltage supply circuit 32b connected to the pixel 10b, a reset voltage source 34b, a vertical scanning circuit 36b, a column signal processing circuit 37b, a horizontal signal readout circuit 38b, and a voltage source connected to the power supply line 40b.
  • the imaging apparatus 100 may include a control circuit that controls driving of peripheral circuits other than itself as a circuit included in the peripheral circuits.
  • the pixels 10a and 10b are, for example, effective pixels.
  • effective pixels are pixels that are actually used for image output or pixels that are used during sensing, and do not include optical black pixels and dummy pixels that are used to measure dark noise.
  • the pixel 10a shown in FIG. 3A and the peripheral circuit connected to the pixel 10a and the pixel 10b shown in FIG. 3B and the peripheral circuit connected to the pixel 10b have, for example, functionally similar circuit configurations.
  • a circuit configuration of the pixel 10a having the first photoelectric conversion unit 13a and the pixel 10b having the second photoelectric conversion unit 13b will be described with reference to FIGS. 3A and 3B.
  • Each pixel 10a has a first photoelectric conversion unit 13a and a signal detection circuit 14a.
  • Each pixel 10b has a second photoelectric conversion unit 13b and a signal detection circuit 14b.
  • each of the first photoelectric conversion unit 13a and the second photoelectric conversion unit 13b has a photoelectric conversion layer sandwiched between two electrodes facing each other, and converts incident light into receive and generate signal charges.
  • the entire first photoelectric conversion unit 13a does not need to be an independent element for each pixel 10a.
  • a portion of the first photoelectric conversion unit 13a may extend over a plurality of pixels 10a.
  • the second photoelectric conversion unit 13b does not need to be an independent element for each pixel 10b as a whole.
  • the signal detection circuit 14a is a circuit that detects signal charges generated by the first photoelectric conversion unit 13a.
  • the signal detection circuit 14b is a circuit that detects signal charges generated by the second photoelectric conversion unit 13b.
  • the signal detection circuit 14a includes a signal detection transistor 24a and an address transistor 26a.
  • the signal detection circuit 14b also includes a signal detection transistor 24b and an address transistor 26b.
  • Signal detection transistors 24a and 24b and address transistors 26a and 26b are, for example, field effect transistors (FETs), respectively, where N-channel MOSFETs (Metal Oxide Semiconductor Field Effect Transistor).
  • Each transistor such as signal detection transistors 24a and 24b, address transistors 26a and 26b, and reset transistors 28a and 28b to be described later, has a control terminal, an input terminal and an output terminal.
  • a control terminal is, for example, a gate.
  • the input terminal is one of the drain and the source, for example the drain.
  • the output terminal is the other of the drain and the source, for example the source.
  • the control terminal of the signal detection transistor 24a has an electrical connection with the first photoelectric conversion section 13a.
  • the signal charge generated by the first photoelectric conversion unit 13a is accumulated in a region including the charge accumulation node 41a between the gate of the signal detection transistor 24a and the first photoelectric conversion unit 13a.
  • the control terminal of the signal detection transistor 24b is electrically connected to the second photoelectric conversion section 13b.
  • the signal charges generated by the second photoelectric conversion unit 13b are accumulated in a region including the charge accumulation node 41b between the gate of the signal detection transistor 24b and the second photoelectric conversion unit 13b.
  • the signal charges are holes or electrons.
  • a charge storage node is at least part of a charge storage region that stores signal charge, and is also called a “floating diffusion node”. The details of the structures of the first photoelectric conversion unit 13a and the second photoelectric conversion unit 13b will be described later.
  • the first photoelectric conversion unit 13a of each pixel 10a further has a connection with the sensitivity control line 42a.
  • the sensitivity control line 42a is connected to the voltage supply circuit 32a.
  • the second photoelectric conversion unit 13b of each pixel 10b is further connected to a sensitivity control line 42b.
  • the sensitivity control line 42b is connected to the voltage supply circuit 32b.
  • the voltage supply circuit is also called a sensitivity control electrode supply circuit.
  • Each of the voltage supply circuits 32a and 32b is a circuit capable of supplying at least two voltages.
  • the voltage supply circuit 32a supplies voltage to the first photoelectric conversion unit 13a. Specifically, the voltage supply circuit 32a supplies a predetermined voltage to the first photoelectric conversion unit 13a through the sensitivity control line 42a when the imaging device 100 operates. Also, the voltage supply circuit 32b supplies voltage to the second photoelectric conversion unit 13b. Specifically, the voltage supply circuit 32b supplies a predetermined voltage to the second photoelectric conversion section 13b through the sensitivity control line 42b when the imaging device 100 operates.
  • the voltage supply circuits 32a and 32b are not limited to a specific power supply circuit, and may be a circuit that generates a predetermined voltage, or a circuit that converts a voltage supplied from another power source into a predetermined voltage. good too.
  • the voltage supplied from the voltage supply circuit 32a to the first photoelectric conversion unit 13a is switched between a plurality of voltages different from each other, whereby the charge storage node 41a from the first photoelectric conversion unit 13a is controlled to start and end the accumulation of signal charges in the .
  • the voltage supplied from the voltage supply circuit 32b to the second photoelectric conversion unit 13b is switched between a plurality of voltages different from each other. Start and end of accumulation is controlled.
  • the electronic shutter is switched. Action is performed. An example of the operation of the imaging device 100 will be described later.
  • Each pixel 10a is connected to a power supply line 40a that supplies power supply voltage VDD.
  • Each pixel 10b has a connection with a power supply line 40b that supplies a power supply voltage VDD.
  • the input terminal of the signal detection transistor 24a is connected to the power line 40a. Since the power line 40a functions as a source follower power supply, the signal detection transistor 24a amplifies and outputs the signal generated by the first photoelectric conversion section 13a.
  • the input terminal of the signal detection transistor 24b is connected to the power line 40b. Since the power line 40b functions as a source follower power supply, the signal detection transistor 24b amplifies and outputs the signal generated by the second photoelectric conversion section 13b.
  • the input terminal of the address transistor 26a is connected to the output terminal of the signal detection transistor 24a.
  • the output terminal of the address transistor 26a is connected to one of a plurality of vertical signal lines 47a arranged for each column of pixels 10a in the pixel array PA.
  • the control terminal of the address transistor 26a is connected to the address control line 46a, and by controlling the potential of the address control line 46a, the output of the signal detection transistor 24a can be selectively read out to the corresponding vertical signal line 47a. can be done.
  • the input terminal of the address transistor 26b is connected to the output terminal of the signal detection transistor 24b.
  • the output terminal of the address transistor 26b is connected to one of a plurality of vertical signal lines 47b arranged for each column of pixels 10b in the pixel array PA.
  • the control terminal of the address transistor 26b is connected to the address control line 46b, and by controlling the potential of the address control line 46b, the output of the signal detection transistor 24b can be selectively read out to the corresponding vertical signal line 47b. can be done.
  • the address control line 46a is connected to the vertical scanning circuit 36a. Also, in the example shown in FIG. 3B, the address control line 46b is connected to the vertical scanning circuit 36b.
  • the vertical scanning circuit is also called "row scanning circuit".
  • the vertical scanning circuit 36a selects a plurality of pixels 10a arranged in each row by applying a predetermined voltage to the address control line 46a.
  • the vertical scanning circuit 36b applies a predetermined voltage to the address control line 46b to select the plurality of pixels 10b arranged in each row on a row-by-row basis.
  • the vertical signal line 47a is a main signal line that transmits pixel signals from the plurality of pixels 10a of the pixel array PA to peripheral circuits.
  • a column signal processing circuit 37a is connected to the vertical signal line 47a.
  • the vertical signal line 47b is a main signal line that transmits pixel signals from the plurality of pixels 10b of the pixel array PA to peripheral circuits.
  • a column signal processing circuit 37b is connected to the vertical signal line 47b.
  • the column signal processing circuit is also called "row signal storage circuit”.
  • the column signal processing circuits 37a and 37b respectively perform noise suppression signal processing typified by correlated double sampling, analog-to-digital conversion (AD conversion), and the like. As shown in FIG.
  • a column signal processing circuit 37a is provided corresponding to each column of pixels 10a in the pixel array PA.
  • a horizontal signal readout circuit 38a is connected to these column signal processing circuits 37a.
  • the column signal processing circuit 37b is provided corresponding to each column of the pixels 10b in the pixel array PA.
  • a horizontal signal readout circuit 38b is connected to these column signal processing circuits 37b.
  • the horizontal signal readout circuit is also called a "column scanning circuit".
  • the horizontal signal readout circuit 38a sequentially reads signals from the plurality of column signal processing circuits 37a to the horizontal common signal line 49a. Further, the horizontal signal readout circuit 38b sequentially reads signals from the plurality of column signal processing circuits 37b to the horizontal common signal line 49b.
  • the pixel 10a has a reset transistor 28a.
  • the pixel 10b has a reset transistor 28b.
  • Reset transistors 28a and 28b can be, for example, field effect transistors, as can signal detection transistors 24a and 24b and address transistors 26a and 26b, respectively.
  • N-channel MOSFETs are used as the reset transistors 28a and 28b will be described below unless otherwise specified.
  • the reset transistor 28a is connected between the reset voltage line 44a that supplies the reset voltage Vr and the charge storage node 41a.
  • a control terminal of the reset transistor 28a is connected to a reset control line 48a, and the potential of the charge storage node 41a can be reset to the reset voltage Vr by controlling the potential of the reset control line 48a.
  • the reset control line 48a is connected to the vertical scanning circuit 36a. Therefore, when the vertical scanning circuit 36a applies a predetermined voltage to the reset control line 48a, the plurality of pixels 10a arranged in each row can be reset row by row.
  • reset transistor 28b is connected between reset voltage line 44b that supplies reset voltage Vr and charge storage node 41b.
  • a control terminal of the reset transistor 28b is connected to a reset control line 48b, and the potential of the charge storage node 41b can be reset to the reset voltage Vr by controlling the potential of the reset control line 48b.
  • the reset control line 48b is connected to the vertical scanning circuit 36b. Therefore, when the vertical scanning circuit 36b applies a predetermined voltage to the reset control line 48b, it is possible to reset the plurality of pixels 10b arranged in each row on a row-by-row basis.
  • a reset voltage line 44a that supplies a reset voltage Vr to the reset transistor 28a is connected to the reset voltage source 34a.
  • a reset voltage line 44b for supplying a reset voltage Vr to the reset transistor 28b is connected to the reset voltage source 34b.
  • a reset voltage source is also called a "reset voltage supply circuit".
  • the reset voltage sources 34a and 34b only need to have a configuration capable of supplying a predetermined reset voltage Vr to the reset voltage lines 44a and 44b during operation of the imaging device 100, similarly to the voltage supply circuits 32a and 32b described above. , is not limited to any particular power supply circuit.
  • Each of voltage supply circuits 32a and 32b and reset voltage sources 34a and 34b may be part of a single voltage supply circuit or may be independent and separate voltage supply circuits.
  • One or both of the voltage supply circuit 32a and the reset voltage source 34a may be part of the vertical scanning circuit 36a.
  • the sensitivity control voltage from the voltage supply circuit 32a and/or the reset voltage Vr from the reset voltage source 34a may be supplied to each pixel 10a via the vertical scanning circuit 36a.
  • one or both of the voltage supply circuit 32b and the reset voltage source 34b may be part of the vertical scanning circuit 36b.
  • the sensitivity control voltage from the voltage supply circuit 32b and/or the reset voltage Vr from the reset voltage source 34b may be supplied to each pixel 10b via the vertical scanning circuit 36b.
  • the power supply voltage VDD of the signal detection circuits 14a and 14b can be used as the reset voltage Vr.
  • a voltage supply circuit (not shown in FIG. 3A) that supplies a power supply voltage to each pixel 10a and the reset voltage source 34a can be shared.
  • the power supply line 40a and the reset voltage line 44a can be shared, the wiring in the pixel array PA can be simplified.
  • a voltage supply circuit (not shown in FIG. 3B) that supplies a power supply voltage to each pixel 10b and the reset voltage source 34b can be shared.
  • the power supply line 40b and the reset voltage line 44b can be shared, the wiring in the pixel array PA can be simplified.
  • using different voltages for the reset voltage Vr and the power supply voltage VDD of the signal detection circuits 14a and 14b enables more flexible control of the imaging device 100.
  • FIG. 4 is a cross-sectional view schematically showing an exemplary cross-sectional structure of pixels 10a and 10b according to the present embodiment.
  • the above-described signal detection transistors 24a and 24b, address transistors 26a and 26b and reset transistors 28a and 28b are formed on semiconductor substrate 20.
  • the semiconductor substrate 20 is not limited to a substrate whose entirety is a semiconductor.
  • the semiconductor substrate 20 may be an insulating substrate or the like having a semiconductor layer provided on the surface on which the photosensitive region is formed.
  • the semiconductor substrate 20 has a plurality of semiconductor layers, and the signal detection transistor 24a, the address transistor 26a and the reset transistor 28a and the signal detection transistor 24b, the address transistor 26b and the reset transistor 28b are formed in different semiconductor layers.
  • the signal detection transistor 24a, the address transistor 26a and the reset transistor 28a and the signal detection transistor 24b, the address transistor 26b and the reset transistor 28b are formed in different semiconductor layers.
  • Si P-type silicon
  • FIG. 4 an example in which the first photoelectric conversion section 13a and the second photoelectric conversion section 13b having the same size are arranged in the same region of the semiconductor substrate 20 in plan view will be described.
  • the semiconductor substrate 20 has impurity regions 26s, 24s, 24d, 28d and 28s, and an isolation region 20t for electrical isolation between pixels.
  • impurity regions 26s, 24s, 24d, 28d and 28s are N-type regions.
  • the element isolation region 20t is also provided between the impurity regions 24d and 28d.
  • the element isolation region 20t is formed, for example, by implanting acceptor ions under predetermined implantation conditions.
  • the impurity regions 26s, 24s, 24d, 28d and 28s are diffusion layers formed in the semiconductor substrate 20, for example.
  • signal detection transistors 24a and 24b each include impurity regions 24s and 24d and a gate electrode 24g.
  • Gate electrode 24g is formed using a conductive material.
  • the conductive material is, for example, polysilicon imparted with conductivity by being doped with impurities, but may also be a metal material.
  • the impurity region 24s functions as, for example, source regions of the signal detection transistors 24a and 24b.
  • the impurity region 24d functions as, for example, drain regions of the signal detection transistors 24a and 24b. Channel regions of signal detection transistors 24a and 24b are formed between impurity regions 24s and 24d.
  • the address transistors 26a and 26b each include impurity regions 26s and 24s and a gate electrode 26g connected to an address control line 46a or 46b (see FIGS. 3A and 3B) not shown in FIG.
  • Gate electrode 26g is formed using a conductive material.
  • the conductive material is, for example, polysilicon imparted with conductivity by being doped with impurities, but may also be a metal material.
  • signal detection transistor 24a and address transistor 26a are electrically connected to each other by sharing impurity region 24s.
  • signal detection transistor 24b and address transistor 26b are electrically connected to each other by sharing impurity region 24s.
  • Impurity region 26s functions as, for example, source regions of address transistors 26a and 26b.
  • Impurity region 26s is connected to vertical signal line 47a or 47b (see FIGS. 3A and 3B) not shown in FIG.
  • the reset transistors 28a and 28b respectively include impurity regions 28d and 28s and a gate electrode 28g connected to a reset control line 48a or 48b (see FIGS. 3A and 3B) not shown in FIG.
  • the gate electrode 28g is formed using, for example, a conductive material.
  • the conductive material is, for example, polysilicon imparted with conductivity by being doped with impurities, but may also be a metal material.
  • the impurity region 28s functions as, for example, source regions of the reset transistors 28a and 28b.
  • Impurity region 28s is connected to reset voltage line 44a or 44b (see FIGS. 3A and 3B) not shown in FIG.
  • Impurity region 28d functions as, for example, a drain region of reset transistors 28a and 28b.
  • An interlayer insulating layer 50 is arranged on the semiconductor substrate 20 so as to cover the signal detection transistors 24a and 24b, the address transistors 26a and 26b, and the reset transistors 28a and 28b.
  • the interlayer insulating layer 50 is made of, for example, an insulating material such as silicon oxide.
  • wiring layers 56 a and 56 b may be arranged in the interlayer insulating layer 50 .
  • the wiring layers 56a and 56b are made of metal such as copper, for example.
  • the wiring layer 56a may include wiring such as the above vertical signal line 47a in part thereof, for example.
  • the wiring layer 56b may include wiring such as the above vertical signal line 47b in part thereof, for example.
  • the number of insulating layers in interlayer insulating layer 50 and the number of layers included in wiring layers 56a and 56b arranged in interlayer insulating layer 50 can be set arbitrarily, and are not limited to the example shown in FIG. .
  • the first photoelectric conversion section 13a and the second photoelectric conversion section 13b are arranged on the interlayer insulating layer 50.
  • the plurality of pixels 10a and the plurality of pixels 10b that constitute the pixel array PA are formed in and on the semiconductor substrate 20.
  • a plurality of pixels 10a and pixels 10b arranged two-dimensionally on the semiconductor substrate 20 form a photosensitive region.
  • the photosensitive area is also called the "pixel area”.
  • the distance between two adjacent pixels 10a and the distance between two adjacent pixels 10b can each be approximately 2 ⁇ m, for example.
  • the distance between two adjacent pixels is also called "pixel pitch”.
  • the first photoelectric conversion unit 13a and the second photoelectric conversion unit 13b are supplied with light from above the first photoelectric conversion unit 13a and the second photoelectric conversion unit 13b, in other words, from the side opposite to the semiconductor substrate 20 side. Light enters from the side.
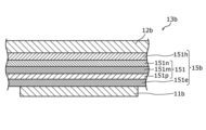
  • the first photoelectric conversion section 13a includes a pixel electrode 11a, a counter electrode 12a, and a photoelectric conversion layer 15a arranged therebetween.
  • the counter electrode 12a and the photoelectric conversion layer 15a are formed across a plurality of pixels 10a.
  • the pixel electrode 11a is provided for each pixel 10a, and is electrically isolated from the pixel electrode 11a of the other pixel 10a by being spatially separated from the pixel electrode 11a of the other adjacent pixel 10a. ing.
  • the second photoelectric conversion section 13b includes a pixel electrode 11b, a counter electrode 12b, and a photoelectric conversion layer 15b arranged therebetween.
  • the counter electrode 12b and the photoelectric conversion layer 15b are formed across a plurality of pixels 10b.
  • the pixel electrode 11b is provided for each pixel 10b, and is electrically separated from the pixel electrode 11b of the other pixel 10b by being spatially separated from the pixel electrode 11b of the other adjacent pixel 10b. ing.
  • the second photoelectric conversion section 13b is stacked above the first photoelectric conversion section 13a with an insulating layer 62 interposed therebetween. Light transmitted through the second photoelectric conversion unit 13b and the insulating layer 62 is incident on the first photoelectric conversion unit 13a.
  • the second photoelectric conversion unit 13b and the insulating layer 62 transmit at least part of the light of the wavelength to which the first photoelectric conversion unit 13a is sensitive. Thus, light incident on the first photoelectric conversion unit 13a passes through the second photoelectric conversion unit 13b.
  • Light incident on the imaging device 100 enters both the first photoelectric conversion unit 13a and the second photoelectric conversion unit 13b. Therefore, even if light in a wavelength range to which one of the first photoelectric conversion unit 13a and the second photoelectric conversion unit 13b is sensitive is incident, the light may affect the photoelectric conversion of the other.
  • a sealing layer, a color filter, a microlens, and the like may be further provided above the second photoelectric conversion unit 13b.
  • the pixel electrode 11a is an electrode for reading out signal charges generated by the first photoelectric conversion unit 13a. At least one pixel electrode 11a exists for each pixel 10a. The pixel electrode 11a is electrically connected to the gate electrode 24g and the impurity region 28d of the signal detection transistor 24a. The pixel electrode 11b is an electrode for reading signal charges generated by the second photoelectric conversion unit 13b. At least one pixel electrode 11b exists for each pixel 10b. The pixel electrode 11b is electrically connected to the gate electrode 24g and the impurity region 28d of the signal detection transistor 24b. Also, the pixel electrode 11b is arranged on the first photoelectric conversion section 13a side of the photoelectric conversion layer 15b.
  • the counter electrode 12a is arranged to face the pixel electrode 11a with the photoelectric conversion layer 15a interposed therebetween.
  • the counter electrode 12a is arranged, for example, on the side of the photoelectric conversion layer 15a on which light is incident. Therefore, the light transmitted through the counter electrode 12a is incident on the photoelectric conversion layer 15a.
  • the counter electrode 12a is arranged, for example, on the second photoelectric conversion section 13b side of the photoelectric conversion layer 15a. Therefore, the first photoelectric conversion section 13a and the second photoelectric conversion section 13b are stacked such that the counter electrode 12a faces the pixel electrode 11b.
  • the counter electrode 12a and the pixel electrode 11b are adjacent to each other with the insulating layer 62 interposed therebetween.
  • the counter electrode 12b is arranged to face the pixel electrode 11b with the photoelectric conversion layer 15b interposed therebetween.
  • the counter electrode 12b is arranged, for example, on the side of the photoelectric conversion layer 15b on which light is incident. Therefore, the light transmitted through the counter electrode 12b is incident on the photoelectric conversion layer 15b.
  • the pixel electrode 11b, the counter electrode 12a, and the counter electrode 12b are each transparent electrodes made of, for example, a transparent conductive material.
  • Transparent as used herein means transmitting at least a portion of light in the wavelength range to be detected, and does not necessarily transmit light over the entire wavelength range of visible light.
  • the counter electrode 12b transmits at least part of the light of the wavelength to which the first photoelectric conversion section 13a is sensitive and at least part of the light of the wavelength to which the second photoelectric conversion section 13b is sensitive.
  • the pixel electrode 11b and the counter electrode 12a transmit at least part of the light of the wavelength to which the first photoelectric conversion unit 13a is sensitive.
  • Transparent conducting oxides such as ITO, IZO, AZO, FTO, SnO 2 , TiO 2 and ZnO 2 can be used for the transparent electrode.
  • the pixel electrode 11a is formed using a conductive material.
  • the conductive material is, for example, a metal such as aluminum or copper, a metal nitride, or polysilicon that is doped with impurities to make it conductive.
  • the pixel electrode 11a may be a light shielding electrode.
  • a TaN electrode with a thickness of 100 nm as the pixel electrode 11a
  • a sufficient light shielding property can be realized.
  • channels of transistors in this example, at least one of the signal detection transistors 24a and 24b, the address transistors 26a and 26b, and the reset transistors 28a and 28b
  • a light shielding film may be formed in the interlayer insulating layer 50 using the wiring layers 56a and 56b described above.
  • the pixel electrode 11a may be a transparent electrode.
  • the pixel electrode 11a and the counter electrode 12a may be arranged with their positions reversed from the arrangement shown in FIG. In this case, if the pixel electrode 11a is a transparent electrode and the counter electrode 12a is formed using a conductive material, it may not be a transparent electrode. Moreover, in this case, the plug 52a is arranged so as to penetrate the counter electrode 12a and the photoelectric conversion layer 15a.
  • the pixel electrode 11b and the counter electrode 12b may be arranged with their positions reversed from the arrangement shown in FIG.
  • the plug 52b is arranged so as to penetrate the counter electrode 12b and the photoelectric conversion layer 15b as well.
  • first photoelectric conversion unit 13a and the second photoelectric conversion unit 13b may be arranged with their positions reversed from the arrangement shown in FIG.
  • the photoelectric conversion layers 15a and 15b each receive incident light and generate hole-electron pairs.
  • Photoelectric conversion layers 15a and 15b are each made of, for example, an organic material.
  • each of the photoelectric conversion layers 15a and 15b may have a structure in which a plurality of layers are laminated. A specific example of the material forming the photoelectric conversion layers 15a and 15b will be described later.
  • the counter electrode 12a has a connection with the sensitivity control line 42a connected to the voltage supply circuit 32a. Also, here, the counter electrode 12a is formed across a plurality of pixels 10a. Therefore, it is possible to collectively apply a desired magnitude of sensitivity control voltage from the voltage supply circuit 32a to the plurality of pixels 10a via the sensitivity control line 42a. Also, as described with reference to FIG. 3B, the counter electrode 12b has a connection with the sensitivity control line 42b connected to the voltage supply circuit 32b. Also, here, the counter electrode 12b is formed across a plurality of pixels 10b.
  • At least one of the counter electrodes 12a and 12b may be provided separately for each pixel 10a or 10b as long as a desired sensitivity control voltage can be applied from the voltage supply circuit 32a or 32b.
  • at least one of the photoelectric conversion layers 15a and 15b may be separately provided for each pixel 10a or 10b.
  • the voltage supply circuits 32a and 32b respectively supply different voltages to the counter electrode 12a or 12b between the exposure period and the non-exposure period.
  • the “exposure period” refers to accumulation of signal charge, which is one of positive and negative charges generated by photoelectric conversion of the first photoelectric conversion unit 13a and the second photoelectric conversion unit 13b, in a charge accumulation region or the like. , and may be called a "charge accumulation period”.
  • non-exposure period a period other than the exposure period during which the imaging apparatus is in operation.
  • the “non-exposure period” is not limited to the period during which light is blocked from entering the first photoelectric conversion unit 13a or the second photoelectric conversion unit 13b. A period during which light is applied to 13b may be included.
  • the “non-exposure period” includes a period during which signal charges are unintentionally accumulated in the charge accumulation region due to the occurrence of parasitic sensitivity.
  • the "non-exposure period” includes the “readout period” and the “reset period”.
  • the “readout period” signals corresponding to the amount of signal charges generated by the first photoelectric conversion unit 13a and the second photoelectric conversion unit 13b (that is, the amount of signal charge accumulated in the charge accumulation region) are detected by signal detection circuits. 14a and 14b are readout periods.
  • the “reset period” is a period for resetting the potential of the charge accumulation region that accumulates signal charges generated by the first photoelectric conversion unit 13a and the second photoelectric conversion unit 13b. Specifically, in the "reset period", the potential of the charge accumulation region is reset to the reset voltage Vr.
  • an "exposure period”, a “non-exposure period”, a “readout period” and a “reset period” are defined for each of the pixels 10a and 10b.
  • a signal corresponding to the amount of signal charge generated by the first photoelectric conversion unit 13a is read out. It can also be said that they are the “exposure period”, the “non-exposure period”, the “readout period” and the “reset period” of the first photoelectric conversion unit 13a.
  • the "exposure period”, “non-exposure period”, “readout period” and “reset period” of the pixel 10b are set. can also be said to be the “exposure period”, the “non-exposure period”, the “readout period” and the “reset period” of the second photoelectric conversion unit 13b. Details of each period will be described later.
  • one of the hole-electron pairs generated in the photoelectric conversion layer 15a by photoelectric conversion is used as a signal charge in the pixel. It can be collected by electrode 11a.
  • holes can be selectively collected by the pixel electrode 11a by making the potential of the counter electrode 12a higher than that of the pixel electrode 11a.
  • the potential of the counter electrode 12b with respect to the potential of the pixel electrode 11b, either holes or electrons of the hole-electron pairs generated in the photoelectric conversion layer 15b by photoelectric conversion are converted into signal charges. can be collected by the pixel electrode 11b as .
  • holes can be selectively collected by the pixel electrode 11b by making the potential of the counter electrode 12b higher than that of the pixel electrode 11b.
  • a case in which holes are used as signal charges will be exemplified below.
  • electrons can also be used as signal charges.
  • the potential of the counter electrode 12a is set lower than that of the pixel electrode 11a
  • the potential of the counter electrode 12b is set lower than that of the pixel electrode 11b.
  • the pixel electrode 11a opposed to the counter electrode 12a receives positive and negative charges generated by photoelectric conversion in the photoelectric conversion layer 15a. Collect one.
  • the pixel electrode 11b facing the counter electrode 12b is applied with an appropriate bias voltage between the counter electrode 12b and the pixel electrode 11b, so that the positive and negative charges generated by photoelectric conversion in the photoelectric conversion layer 15b are removed. Collect one of them.
  • the imaging device 100 is provided with an insulating layer 62 arranged between the first photoelectric conversion section 13a and the second photoelectric conversion section 13b.
  • the insulating layer 62 electrically separates the first photoelectric conversion section 13a and the second photoelectric conversion section 13b.
  • a pixel electrode 11a, a photoelectric conversion layer 15a, a counter electrode 12a, an insulating layer 62, a pixel electrode 11b, a photoelectric conversion layer 15b, and a counter electrode 12b are laminated in this order from the lower side.
  • the insulating layer 62 is made of a transparent insulating material.
  • the insulating layer 62 transmits at least part of light having a wavelength to which the first photoelectric conversion unit 13a is sensitive. Silicon oxynitride, aluminum oxide, or the like, for example, can be used for the insulating layer 62 .
  • the pixel electrode 11a is connected to the gate electrode 24g of the signal detection transistor 24a via the plug 52a, the wiring 53a and the contact plug 54a.
  • the gate of the signal detection transistor 24a has an electrical connection with the pixel electrode 11a.
  • the plug 52a, the wiring 53a, and the contact plug 54a constitute at least part of the charge storage node 41a (see FIG. 3A) between the signal detection transistor 24a and the first photoelectric conversion section 13a.
  • the wiring 53a can be part of the wiring layer 56a.
  • the pixel electrode 11a is also connected to the impurity region 28d of the reset transistor 28a through the plug 52a, the wiring 53a and the contact plug 55a. In the configuration illustrated in FIG.
  • the gate electrode 24g of the signal detection transistor 24a, the plug 52a, the wiring 53a, the contact plugs 54a and 55a, and the impurity region 28d, which is one of the source and drain regions of the reset transistor 28a, form the pixel. It functions as a charge storage region of the pixel 10a that stores the signal charge collected by the electrode 11a.
  • the pixel electrode 11b is connected to the gate electrode 24g of the signal detection transistor 24b via the plug 52b, the wiring 53b and the contact plug 54b.
  • the gate of the signal detection transistor 24b has an electrical connection with the pixel electrode 11b.
  • the plug 52b penetrates through the first photoelectric conversion section 13a and the insulating layer 62 .
  • the plug 52b, the wiring 53b, and the contact plug 54b constitute at least part of the charge storage node 41b (see FIG. 3B) between the signal detection transistor 24b and the second photoelectric conversion section 13b.
  • the wiring 53b may be part of the wiring layer 56b.
  • the pixel electrode 11b is also connected to the impurity region 28d of the reset transistor 28b through the plug 52b, wiring 53b and contact plug 55b.
  • the gate electrode 24g of the signal detection transistor 24b, the plug 52b, the wiring 53b, the contact plugs 54b and 55b, and the impurity region 28d which is one of the source and drain regions of the reset transistor 28b, form the pixel. It functions as a charge storage region of the pixel 10b that stores the signal charge collected by the electrode 11b.
  • Plugs 52a and 52b, wirings 53a and 53b, and contact plugs 54a, 54b, 55a and 55b are each formed using a conductive material.
  • plugs 52a and 52b and wires 53a and 53b are each made of metal such as copper.
  • each of the contact plugs 54a, 54b, 55a and 55b is made of polysilicon to which conductivity is imparted by being doped with impurities.
  • Plugs 52a and 52b, interconnections 53a and 53b, and contact plugs 54a, 54b, 55a and 55b may be formed using the same material or different materials.
  • an insulating coating 61b is formed around the plug 52b.
  • the insulating coating 61b is located between the plug 52b and the first photoelectric conversion part 13a.
  • the plug 52b and the first photoelectric conversion portion 13a are not in contact with each other and are electrically insulated by the insulating coating 61b.
  • the insulating coating 61b is formed using an insulating material such as silicon oxide or silicon nitride, for example.
  • a voltage corresponding to the amount of signal charges accumulated in the charge accumulation region of the pixel 10a is applied to the gate of the signal detection transistor 24a.
  • Signal detection transistor 24a amplifies this voltage.
  • the voltage amplified by the signal detection transistor 24a is selectively read out as a signal voltage through the address transistor 26a.
  • a voltage corresponding to the amount of signal charges accumulated in the charge accumulation region of the pixel 10b is applied to the gate of the signal detection transistor 24b.
  • Signal detection transistor 24b amplifies this voltage.
  • the voltage amplified by the signal detection transistor 24b is selectively read out as a signal voltage via the address transistor 26b.
  • FIG. 5 is a schematic diagram showing the configuration of another imaging device according to this embodiment.
  • FIG. 5 schematically shows a photoelectric conversion section and a signal detection circuit included in the imaging device, and omits illustration of other configurations.
  • FIG. 5 illustrates the pixel structure above the upper end of the interlayer insulating layer 50 and the connection between the photoelectric conversion section and the signal detection circuit.
  • the imaging device 110 differs from the imaging device 100 mainly in that it further includes photoelectric conversion units 13c and 13d and signal detection circuits 14c and 14d.
  • the imaging device 110 includes reset transistors for resetting the photoelectric conversion units 13c and 13d, and the photoelectric conversion unit 13c, similarly to the imaging device 100 described with reference to FIGS. 3A to 4 . and a peripheral circuit for acquiring an image based on the signal charges generated in 13d.
  • the photoelectric conversion units 13c and 13d are examples of a third photoelectric conversion unit.
  • Signal detection circuits 14c and 14d are an example of a third signal detection circuit.
  • the photoelectric conversion unit 13c and the signal detection circuit 14c may constitute part of the pixel 10a or the pixel 10b, or may constitute at least part of a pixel different from the pixel 10a and the pixel 10b. Further, the photoelectric conversion unit 13d and the signal detection circuit 14d may constitute a part of the pixel 10a or the pixel 10b, or may constitute at least part of a pixel different from the pixel 10a and the pixel 10b. .
  • the photoelectric conversion units 13c and 13d are stacked above the first photoelectric conversion unit 13a and the second photoelectric conversion unit 13b. Specifically, in the imaging device 110, the first photoelectric conversion unit 13a, the second photoelectric conversion unit 13b, the photoelectric conversion unit 13c, and the photoelectric conversion unit 13d are stacked in this order from the lower side. Note that the stacking order of the photoelectric conversion units is not particularly limited.
  • the first photoelectric conversion unit 13a, the second photoelectric conversion unit 13b, the photoelectric conversion unit 13c, and the photoelectric conversion unit 13d have, for example, sensitivities in different wavelength ranges.
  • An insulating layer 62a is arranged between the second photoelectric conversion portion 13b and the photoelectric conversion portion 13c.
  • the second photoelectric conversion portion 13b and the photoelectric conversion portion 13c are electrically insulated by the insulating layer 62a.
  • An insulating layer 62b is arranged between the photoelectric conversion section 13c and the photoelectric conversion section 13d.
  • the photoelectric conversion portion 13c and the photoelectric conversion portion 13d are electrically insulated by the insulating layer 62b.
  • the photoelectric conversion portion 13c has a pixel electrode 11c, a counter electrode 12c arranged to face the pixel electrode 11c, and a photoelectric conversion layer 15c arranged between the pixel electrode 11c and the counter electrode 12c.
  • the pixel electrode 11c is connected to the signal detection circuit 14c via a plug 52c or the like.
  • the plug 52c penetrates the first photoelectric conversion portion 13a, the second photoelectric conversion portion 13b, and the insulating layers 62 and 62a.
  • An insulating coating 61c is formed around the plug 52c. The insulating coating 61c is located between the plug 52c and the first photoelectric conversion portion 13a and the second photoelectric conversion portion 13b.
  • the photoelectric conversion section 13d has a pixel electrode 11d, a counter electrode 12d arranged to face the pixel electrode 11d, and a photoelectric conversion layer 15d arranged between the pixel electrode 11d and the counter electrode 12d.
  • the pixel electrode 11d is connected to the signal detection circuit 14d via a plug 52d or the like.
  • the plug 52d penetrates the first photoelectric conversion portion 13a, the second photoelectric conversion portion 13b, the photoelectric conversion portion 13c, and the insulating layers 62, 62a and 62b.
  • An insulating coating 61d is formed around the plug 52d. The insulating coating 61d is positioned between the plug 52d and the first photoelectric conversion portion 13a, the second photoelectric conversion portion 13b, and the photoelectric conversion portion 13c.
  • the imaging device 110 can increase the types of signals that can be acquired by each photoelectric conversion unit. Therefore, by adjusting the wavelength to which each photoelectric conversion unit is sensitive, a color image or the like can be easily obtained.
  • the imaging device 110 includes three or more photoelectric conversion units, light incident on the imaging device 110 enters each photoelectric conversion unit. Therefore, even if light in a wavelength range to which one photoelectric conversion unit is sensitive is incident, the light may affect photoelectric conversion of other photoelectric conversion units.
  • the photoelectric conversion layer 15a is irradiated with light, and a bias voltage is applied between the pixel electrode 11a and the counter electrode 12a to generate positive and negative voltages generated by photoelectric conversion.
  • One of the charges can be collected by the pixel electrode 11a and stored in the charge storage region.
  • the photoelectric conversion layer 15a exhibiting photocurrent characteristics as described below for the first photoelectric conversion portion 13a and by reducing the potential difference between the pixel electrode 11a and the counter electrode 12a to a certain extent, charge accumulation can be achieved. It is possible to suppress the signal charges already accumulated in the region from moving to the counter electrode 12a via the photoelectric conversion layer 15a.
  • the second photoelectric conversion unit 13b can also achieve a global shutter function by the same operation as the first photoelectric conversion unit 13a. An operation example of the imaging device 100 will be described later.
  • the photoelectric conversion layers 15a and 15b each contain, for example, a semiconductor material.
  • a semiconductor material for example, an organic semiconductor material is used as the semiconductor material.
  • At least one of the photoelectric conversion layers 15a and 15b contains tin naphthalocyanine represented by the following general formula (1), for example.
  • tin naphthalocyanine represented by the following general formula (1) may be simply referred to as "tin naphthalocyanine”.
  • R 1 to R 24 independently represent a hydrogen atom or a substituent.
  • Substituents are not limited to specific substituents. Substituents include deuterium atoms, halogen atoms, alkyl groups (including cycloalkyl groups, bicycloalkyl groups and tricycloalkyl groups), alkenyl groups (including cycloalkenyl groups and bicycloalkenyl groups), alkynyl groups, aryl groups, heterocyclic group (also called heterocyclic group), cyano group, hydroxy group, nitro group, carboxy group, alkoxy group, aryloxy group, silyloxy group, heterocyclicoxy group, acyloxy group, carbamoyloxy group, alkoxycarbonyl oxy group, aryloxycarbonyloxy group, amino group (including anilino group), ammonio group, acylamino group, aminocarbonylamino group, alkoxycarbonylamino group, aryl
  • the tin naphthalocyanine represented by the general formula (1) can be synthesized using a naphthalene derivative represented by the following general formula (2) as a starting material, as shown in Patent Document 6, for example.
  • R 25 to R 30 in general formula (2) may be the same substituents as R 1 to R 24 in general formula (1).
  • R 1 to R 24 are hydrogen atoms or deuterium atoms. 16 or more of R 1 to R 24 may be hydrogen atoms or deuterium atoms, or all of them may be hydrogen atoms or deuterium atoms. Furthermore, the tin naphthalocyanine represented by the following formula (3) is advantageous in terms of ease of synthesis.
  • the stannous naphthalocyanine represented by the general formula (1) above generally absorbs in the wavelength range of 200 nm or more and 1100 nm or less.
  • tin naphthalocyanine represented by the above formula (3) has an absorption peak at a wavelength of approximately 870 nm, as shown in FIG.
  • FIG. 6 is a diagram showing an example of an absorption spectrum in a photoelectric conversion layer containing tin naphthalocyanine represented by formula (3) above.
  • a sample in which a photoelectric conversion layer (thickness: 30 nm) is laminated on a quartz substrate is used.
  • the photoelectric conversion layer formed from a material containing tin naphthalocyanine has absorption in the near-infrared wavelength region. That is, by selecting a material containing tin naphthalocyanine as a material forming at least one of the photoelectric conversion layers 15a and 15b, for example, an optical sensor capable of detecting near-infrared rays can be realized.
  • photoelectric conversion layer 15a contains tin naphthalocyanine.
  • a naphthalocyanine derivative whose central metal is not tin but another metal such as silicon or germanium may be used.
  • an axial ligand may be coordinated to the central metal of the naphthalocyanine derivative.
  • FIG. 7A is a cross-sectional view schematically showing an example of the configuration of the photoelectric conversion layer 15a in the first photoelectric conversion body 13a.
  • FIG. 7B is a cross-sectional view schematically showing an example of the configuration of the photoelectric conversion layer 15b in the second photoelectric conversion body 13b.
  • the photoelectric conversion layer 15a and the photoelectric conversion layer 15b have, for example, the same lamination structure.
  • the photoelectric conversion layer 15a has, for example, a hole blocking layer 150h, a photoelectric conversion structure 150, and an electron blocking layer 150e.
  • a hole blocking layer 150h is disposed between the photoelectric conversion structure 150 and the counter electrode 12a.
  • the electron blocking layer 150e is arranged between the photoelectric conversion structure 150 and the pixel electrode 11a.
  • the photoelectric conversion layer 15b has, for example, a hole blocking layer 151h, a photoelectric conversion structure 151, and an electron blocking layer 151e.
  • the hole blocking layer 151h is arranged between the photoelectric conversion structure 151 and the counter electrode 12b.
  • the electron blocking layer 151e is arranged between the photoelectric conversion structure 151 and the pixel electrode 11b.
  • Photoelectric conversion structures 150 and 151 each include at least one of a p-type semiconductor and an n-type semiconductor.
  • the photoelectric conversion structure 150 includes, for example, a p-type semiconductor layer 150p, an n-type semiconductor layer 150n, and a mixed layer 150m sandwiched between the p-type semiconductor layer 150p and the n-type semiconductor layer 150n. and
  • the p-type semiconductor layer 150p is arranged between the electron blocking layer 150e and the mixed layer 150m, and has the function of photoelectric conversion and/or hole transport.
  • the n-type semiconductor layer 150n is arranged between the hole blocking layer 150h and the mixed layer 150m, and has the function of photoelectric conversion and/or electron transport. Also, as shown in FIG.
  • the photoelectric conversion structure 151 may include, for example, a p-type semiconductor layer 151p, an n-type semiconductor layer 151n, and a mixed semiconductor layer sandwiched between the p-type semiconductor layer 151p and the n-type semiconductor layer 151n. layer 151m.
  • the p-type semiconductor layer 151p is arranged between the electron blocking layer 151e and the mixed layer 151m and has the function of photoelectric conversion and/or hole transport.
  • the n-type semiconductor layer 151n is arranged between the hole blocking layer 151h and the mixed layer 151m, and has the function of photoelectric conversion and/or electron transport.
  • each of the mixed layers 150m and 151m may contain at least one of a p-type semiconductor and an n-type semiconductor.
  • the p-type semiconductor layers 150p and 151p each include, for example, an organic p-type semiconductor.
  • N-type semiconductor layers 150n and 151n each include, for example, an organic n-type semiconductor. Therefore, the photoelectric conversion structure 150 includes, for example, an organic photoelectric conversion material containing tin naphthalocyanine represented by the general formula (1) described above, an organic p-type semiconductor, and an organic n-type semiconductor.
  • Organic p-type semiconductors are donor organic semiconductors, mainly represented by hole-transporting organic compounds, and refer to organic compounds that have the property of easily donating electrons. More specifically, an organic p-type semiconductor refers to an organic compound with a smaller ionization potential when two organic materials are used in contact with each other. Therefore, any organic compound can be used as the donor organic compound as long as it is an electron-donating organic compound.
  • the donor organic semiconductor is not limited to these, and any organic compound having a smaller ionization potential than the organic compound used as the acceptor organic compound, which will be described later, can be used as the donor organic semiconductor.
  • An acceptor organic compound is also called an "n-type organic compound".
  • the tin naphthalocyanine mentioned above is an example of an organic p-type semiconductor material.
  • Organic n-type semiconductors are acceptor organic semiconductors, mainly represented by electron-transporting organic compounds, and refer to organic compounds that easily accept electrons. More specifically, the organic n-type semiconductor refers to the organic compound with the higher electron affinity when two organic compounds are used in contact with each other. Therefore, as the acceptor organic compound, any organic compound can be used as long as it is an electron-accepting organic compound.
  • fullerenes, fullerene derivatives, condensed aromatic carbocyclic compounds naphthalene derivatives, anthracene derivatives, phenanthrene derivatives, tetracene derivatives, pyrene derivatives, perylene derivatives, fluoranthene derivatives
  • 5 to 7 containing nitrogen, oxygen and sulfur atoms.
  • heterocyclic compounds e.g. pyridine, pyrazine, pyrimidine, pyridazine, triazine, quinoline, quinoxaline, quinazoline, phthalazine, cinnoline, isoquinoline, pteridine, acridine, phenazine, phenanthroline, tetrazole, pyrazole, imidazole, thiazole, oxazole, indazole, benz imidazole, benzotriazole, benzoxazole, benzothiazole, carbazole, purine, triazolopyridazine, triazolopyrimidine, tetrazaindene, oxadiazole, imidazopyridine, pyrrolidine, pyrrolopyridine, thiadiazolopyridine, dibenzazepine, tribenzazepine, etc.
  • heterocyclic compounds e.g. pyridine, pyrazine, pyr
  • any organic compound having a higher electron affinity than the organic compound used as the donor organic compound can be used as the acceptor organic semiconductor.
  • a donor organic compound is also called a “p-type organic compound”.
  • the mixed layers 150m and 151m can each be bulk heterojunction structure layers containing, for example, an organic p-type semiconductor and an organic n-type semiconductor.
  • the tin naphthalocyanine represented by the general formula (1) can be used as the organic p-type semiconductor material.
  • Fullerenes and/or fullerene derivatives, for example, can be used as organic n-type semiconductor materials.
  • the material forming the p-type semiconductor layer 150p may be the same as the p-type semiconductor material contained in the mixed layer 150m. Also, the material forming the p-type semiconductor layer 151p may be the same as the p-type semiconductor material contained in the mixed layer 151m. Similarly, the material forming the n-type semiconductor layer 150n may be the same as the n-type semiconductor material contained in the mixed layer 150m. Also, the material forming the n-type semiconductor layer 151n may be the same as the n-type semiconductor material contained in the mixed layer 151m.
  • Patent Document 7 Japanese Patent No. 5553727
  • Japanese Patent No. 5553727 Japanese Patent No. 5553727
  • Materials used for the photoelectric conversion layers 15a and 15b are not limited to organic semiconductor materials. At least one of photoelectric conversion layers 15a and 15b may contain an inorganic semiconductor material such as amorphous silicon or a compound semiconductor as a p-type semiconductor and/or an n-type semiconductor. At least one of the photoelectric conversion layers 15a and 15b may include a layer made of an organic material and a layer made of an inorganic material.
  • the photoelectric conversion layer 15b can be a photoelectric conversion layer having sensitivity in the visible light wavelength region, for example, by using subphthalocyanine as a p-type semiconductor and fullerene and/or a fullerene derivative as an n-type semiconductor.
  • At least one of the photoelectric conversion layers 15a and 15b can be a photoelectric conversion layer having sensitivity in the ultraviolet wavelength region by using, for example, copper phthalocyanine as the p-type semiconductor and fullerene C60 as the n-type semiconductor.
  • photoelectric conversion layer 15a may not include at least one of hole blocking layer 150h, electron blocking layer 150e, p-type semiconductor layer 150p, and n-type semiconductor layer 150n.
  • Photoelectric conversion layer 15b may not include at least one of hole blocking layer 151h, electron blocking layer 151e, p-type semiconductor layer 151p, and n-type semiconductor layer 151n.
  • photocurrent characteristics in photoelectric conversion layer Next, photocurrent characteristics in the photoelectric conversion layers 15a and 15b will be described. Although the photocurrent characteristics of the photoelectric conversion layer 15a of the first photoelectric conversion unit 13a will be representatively described below, the photoelectric conversion layer 15b of the second photoelectric conversion unit 13b may also have similar photocurrent characteristics. Therefore, the components such as the first photoelectric conversion unit 13a and the peripheral circuits connected to the first photoelectric conversion unit 13a described below are replaced with the second photoelectric conversion unit 13b and the second photoelectric conversion unit 13b corresponding to the components. The photocurrent characteristics of the photoelectric conversion layer 15b of the second photoelectric conversion section 13b can also be explained by reading the components such as the peripheral circuits connected to .
  • FIG. 8 is a diagram showing exemplary photocurrent characteristics of the photoelectric conversion layer 15a.
  • the thick solid line graph shows an exemplary current-voltage characteristic (IV characteristic) of the photoelectric conversion layer 15a under light irradiation.
  • IV characteristic current-voltage characteristic
  • FIG. 8 also shows an example of IV characteristics of the photoelectric conversion layer 15a in a state in which light is not irradiated, by a thick broken line.
  • FIG. 8 shows an example in which a bulk heterojunction structure obtained by co-evaporation of tin naphthalocyanine and fullerene C60 is applied to the photoelectric conversion layer 15a.
  • the combination of materials for is not particularly limited.
  • FIG. 8 shows changes in current density flowing between the main surfaces when the bias voltage applied between the two main surfaces of the photoelectric conversion layer 15a is changed under constant illuminance.
  • the forward and reverse directions of the bias voltage are defined as follows.
  • a forward bias voltage is applied such that the potential of the p-type semiconductor layer is higher than that of the n-type semiconductor layer. is defined as the bias voltage of
  • a bias voltage at which the potential of the p-type semiconductor layer is lower than that of the n-type semiconductor layer is defined as a reverse bias voltage.
  • the photoelectric conversion layer 15a has a bulk heterojunction structure, as schematically shown in FIG. 1 of the above-mentioned Japanese Patent No. 5553727, one surface of the two main surfaces of the bulk heterojunction structure facing the electrode The surface has more p-type semiconductors than n-type semiconductors, and the other surface has more n-type semiconductors than p-type semiconductors. Therefore, a bias voltage is applied in the forward direction so that the potential on the main surface side where more p-type semiconductors than n-type semiconductors appear is higher than the potential on the main surface side where more n-type semiconductors than p-type semiconductors appear. Defined as the bias voltage.
  • a voltage that makes the potential of the counter electrode 12a higher than the potential of the pixel electrode 11a is the reverse bias voltage.
  • the voltage at which the potential of the counter electrode 12a becomes lower than the potential of the pixel electrode 11a is the forward bias voltage.
  • the photocurrent characteristics of the photoelectric conversion layer 15a are roughly characterized by three voltage ranges from the first voltage range to the third voltage range.
  • the first voltage range is a reverse bias voltage range in which the absolute value of the output current density increases as the reverse bias voltage increases.
  • the first voltage range may be a voltage range in which the photocurrent increases as the bias voltage applied between the main surfaces of the photoelectric conversion layer 15a increases.
  • the second voltage range is a forward bias voltage range in which the output current density increases as the forward bias voltage increases. That is, the second voltage range is a voltage range in which the forward current increases as the bias voltage applied between the main surfaces of the photoelectric conversion layer 15a increases.
  • the third voltage range is the voltage range between the first voltage range and the second voltage range.
  • the sensitivity of the first photoelectric conversion unit 13a is variable by changing the bias voltage applied to the photoelectric conversion layer 15a by the voltage supply circuit 32a. Thereby, the sensitivity at the time of imaging using the first photoelectric conversion unit 13a can be adjusted only by changing the bias voltage to be applied.
  • the sensitivity of the first photoelectric conversion unit 13a changes.
  • the sensitivity of the first photoelectric conversion section 13a similarly changes. Also, in this case, the sensitivity of the first photoelectric conversion unit 13a to which the bias voltage having the voltage value in the third voltage range is applied is almost zero.
  • the sensitivity of the second photoelectric conversion section 13b is variable by changing the bias voltage applied to the photoelectric conversion layer 15b by the voltage supply circuit 32b.
  • the first to third voltage ranges can be distinguished by the slope of the photocurrent characteristic graph when using linear vertical and horizontal axes.
  • the average slopes of the graphs in the first voltage range and the second voltage range are indicated by thin solid lines L1 and L2, respectively.
  • the rate of change in output current density with respect to increase in bias voltage in the first voltage range, the second voltage range, and the third voltage range are different from each other.
  • a third voltage range is defined as a voltage range in which the rate of change of the output current density with respect to the bias voltage is less than the rate of change in the first voltage range and the rate of change in the second voltage range.
  • the third voltage range may be determined based on the rising (falling) position in the graph showing the IV characteristic.
  • the third voltage range is, for example, greater than -1V and less than +1V. In the third voltage range, even if the bias voltage is changed, the current density between the main surfaces of the photoelectric conversion layer 15a hardly changes. As illustrated in FIG. 8, in the third voltage range, the absolute value of current density is, for example, 100 ⁇ A/cm 2 or less.
  • FIG. 9 is a diagram for explaining an operation example of the imaging device according to the present embodiment.
  • FIG. 9 also partially shows the operation of the illumination device 200 provided in the camera system 1 .
  • FIG. 9 shows the timing of the fall (or rise) of the synchronization signal, the temporal change in the magnitude of the bias voltage applied to the photoelectric conversion layers 15a and 15b, and the pixel array PA (see FIGS. 3A and 3B). The timing of reset and exposure in each row and the timing of light emission by the illumination device 200 are shown together.
  • the graph (a) at the top of FIG. 9 shows the falling (or rising) timing of the vertical synchronization signal Vss.
  • the vertical synchronization signal Vss corresponding to the pixel 10a and the vertical synchronization signal Vss corresponding to the pixel 10b fall (or rise) at the same timing.
  • the graph of FIG. 9(b) shows the falling (or rising) timing of the horizontal synchronizing signal Hss.
  • the horizontal synchronizing signal Hss corresponding to the pixel 10a and the horizontal synchronizing signal Hss corresponding to the pixel 10b fall (or rise) at the same timing.
  • Part (c) of FIG. 9 shows an example of temporal changes in the voltage Vb_b applied from the voltage supply circuit 32b to the counter electrode 12b via the sensitivity control line 42b.
  • Part (d) of FIG. 9 shows temporal changes in the potential ⁇ _b of the counter electrode 12b with respect to the potential of the pixel electrode 11b.
  • a double arrow G3_b in the graph of the potential ⁇ _b indicates the above-described third voltage range in the photoelectric conversion layer 15b.
  • FIG. 9 shows an example of temporal changes in the voltage Vb_a applied from the voltage supply circuit 32a to the counter electrode 12a via the sensitivity control line 42a.
  • Part (f) of FIG. 9 shows temporal changes in the potential ⁇ _a of the counter electrode 12a with respect to the potential of the pixel electrode 11a.
  • a double arrow G3_a in the graph of the potential ⁇ _a indicates the above-described third voltage range in the photoelectric conversion layer 15a.
  • the chart in (g) of FIG. 9 schematically shows reset and exposure timings in each row of the pixel array PA.
  • the chart in (h) of FIG. 9 schematically shows the timing of light emission and extinguishing of the lighting device 200 .
  • the L_b chart indicates the timing of light emission and extinguishing of the second light source 210b
  • the chart of L_a indicates the timing of light emission and extinguishing of the first light source 210a.
  • FIG. 9 An operation example of the imaging device 100 will be described below with reference to FIGS. 3A, 3B, 4, and 9.
  • FIG. 9 an example of the operation in the case where the total number of pixel rows included in the pixel array PA is eight will be described.
  • the chart (g) of FIG. 9 four rows from R0_b to R3_b are pixel rows of the pixels 10b having the second photoelectric conversion units 13b, and R4_a to R7_a are pixel rows.
  • Four rows are pixel rows of the pixels 10a having the first photoelectric conversion units 13a.
  • the second photoelectric conversion units 13b of the R0_b-th row to the R3_b-th row are stacked, for example, on the first photoelectric conversion units 13a of the R4_a-th row to the R7_a-th row, and the first photoelectric conversion units 13a of the R4_a-th row to the R7_a-th row are stacked. It is a positional relationship in which it overlaps with the portion 13a in plan view. Note that the arrangement of the pixel rows shown in chart (g) of FIG. 9 does not have to match the arrangement of the actual pixel rows, and the actual pixel arrangement is not particularly limited.
  • resetting of the charge accumulation regions of each pixel 10a and each pixel 10b in the pixel array PA and readout of pixel signals after resetting are performed. For example, as shown in FIG. 9, based on the vertical synchronization signal Vss, resetting of the plurality of pixels 10b belonging to the R0_b-th row is started (time t0). Note that the dotted rectangles in the chart (g) of FIG. 9 schematically represent the signal readout period. This readout period may include a reset period for resetting the potentials of the charge storage regions of the pixels 10a and 10b.
  • the potential of the address control line 46b of the R0_b-th row is controlled to turn on the address transistor 26b whose gate is connected to the address control line 46b.
  • the reset transistor 28b whose gate is connected to the reset control line 48b is turned on.
  • the charge storage node 41b and the reset voltage line 44b are connected, and the reset voltage Vr is supplied to the charge storage region. That is, the potentials of the gate electrode 24g of the signal detection transistor 24b and the pixel electrode 11b of the second photoelectric conversion section 13b are reset to the reset voltage Vr.
  • the pixel signals after reset are read out from the pixels 10b in the R0_b-th row via the vertical signal line 47b.
  • the pixel signal obtained at this time is a pixel signal corresponding to the magnitude of the reset voltage Vr.
  • the reset transistor 28b and the address transistor 26b are turned off. When reading out a signal corresponding to the amount of signal charge accumulated in the pixel 10b in the previous frame, the pixel signal may be read out even before the reset.
  • pixels belonging to rows R0_b to R3_b and rows R4_a to R7_a are reset and read row by row in accordance with the horizontal synchronization signal Hss. Execute sequentially.
  • the period from time t0 to time t4 is the reset period and readout period of the pixel 10b
  • the period from time t4 to time t8 is the reset period and readout period of the pixel 10a.
  • the pulse interval of the horizontal synchronizing signal Hss in other words, the period from the selection of one row to the selection of the next row may be referred to as "1H period".
  • the period from time t0 to time t1 corresponds to the 1H period.
  • the 1H period is the same length as the timing cycle of the fall (or rise) of the horizontal synchronizing signal Hss.
  • the resetting and reading of pixels 10a in rows R4_a to R7_a are performed in the same manner as for pixels 10b described above.
  • the address transistor 26a whose gate is connected to the address control line 46a is turned on.
  • the reset transistor 28a whose gate is connected to the reset control line 48a is turned on.
  • the charge storage node 41a and the reset voltage line 44a are connected, and the reset voltage Vr is supplied to the charge storage region.
  • the potentials of the gate electrode 24g of the signal detection transistor 24a and the pixel electrode 11a of the first photoelectric conversion unit 13a are reset to the reset voltage Vr.
  • the pixel signals after reset are read out from the pixels 10a in the R4_a row via the vertical signal line 47a.
  • the reset transistor 28a and the address transistor 26a are turned off.
  • the pixel signal may be read out even before the reset.
  • a voltage V3_b is applied from the voltage supply circuit 32b to the counter electrode 12b such that the potential difference between the voltage V3_b and the voltage V3_b falls within the above-described third voltage range.
  • the voltage V3_a is applied from the voltage supply circuit 32a to the counter electrode 12a so that the potential difference between the pixel electrode 11a and the counter electrode 12a is within the above-described third voltage range.
  • the photoelectric conversion layer 15a of the first photoelectric conversion unit 13a and the second photoelectric conversion unit 13b is in a state in which a bias voltage within the third voltage range is applied.
  • the period indicated by the dotted rectangle and the hatched rectangle represents the non-exposure period.
  • the voltage V3_a for applying the bias voltage in the third voltage range to the photoelectric conversion layer 15a and the voltage V3_b for applying the bias voltage in the third voltage range to the photoelectric conversion layer 15b are not limited to 0V.
  • the exposure period of the pixels 10a belonging to the R4_a-th to R7_a-th rows is started based on the horizontal synchronization signal Hss (time t9).
  • white rectangles schematically represent the exposure period in each row.
  • the exposure period of the pixel 10a is started by the voltage supply circuit 32a switching the voltage applied to the counter electrode 12a to a voltage Ve_a different from the voltage V3_a.
  • the voltage Ve_a is, for example, a voltage (for example, about 10 V) such that the potential difference between the pixel electrode 11a and the counter electrode 12a is within the above-described first voltage range.
  • signal charges (holes in this embodiment) in the photoelectric conversion layer 15a are collected by the pixel electrode 11a and accumulated in the charge accumulation region including the charge accumulation node 41a. be.
  • the exposure period of the pixels 10a belonging to the R4_a-th row to the R7_a-th row ends (time t14).
  • the exposure period and the non-exposure period are switched by switching the voltage applied to the counter electrode 12a between the voltage V3_a and the voltage Ve_a. That is, the exposure period is defined by changing the voltage applied between the pixel electrode 11a and the counter electrode 12a by the voltage supply circuit 32a.
  • the start (time t9) and end (time t14) of the exposure period of the pixels 10a belonging to the R4_a-th to R7_a-th rows in this example are common to all the pixels 10a included in the pixel array PA. is.
  • the exposure period of the pixels 10b belonging to the R0_b-th row to the R3_b-th row starts based on the horizontal synchronization signal Hss (time t15).
  • the exposure period of the pixel 10b is started by the voltage supply circuit 32b switching the voltage applied to the counter electrode 12b to a voltage Ve_b different from the voltage V3_b.
  • the voltage Ve_b is, for example, a voltage (for example, about 10 V) such that the potential difference between the pixel electrode 11b and the counter electrode 12b is within the above-described first voltage range.
  • the exposure period of the pixels 10b belonging to the R0_b-th row to the R3_b-th row ends (time t29).
  • the exposure period and the non-exposure period are switched by switching the voltage applied to the counter electrode 12b between the voltage V3_b and the voltage Ve_b. That is, the exposure period is defined by changing the voltage applied between the pixel electrode 11b and the counter electrode 12b by the voltage supply circuit 32b.
  • the start (time t15) and end (time t29) of the exposure period of the pixels 10b belonging to the R0_b-th to R3_b-th rows in this example are common to all the pixels 10b included in the pixel array PA. is.
  • the operation described here is an example in which driving by the global shutter method is applied to both the pixel 10a having the first photoelectric conversion unit 13a and the pixel 10b having the second photoelectric conversion unit 13b in the imaging device 100. is.
  • the illumination device 200 causes the first light source 210a to emit light from the start (time t9) to the end (time t14) of the exposure period of the pixel 10a. That is, the first light source 210a of the illumination device 200 emits light during a period overlapping with the exposure period of the pixels 10a including the first photoelectric conversion units 13a. In this example, the light emission period of the first light source 210a and the exposure period of the pixel 10a are the same period. As a result, light emitted by the first light source 210a and reflected by the subject enters the first photoelectric conversion unit 13a and the second photoelectric conversion unit 13b during the exposure period of the pixel 10a.
  • a white rectangle in chart (h) of FIG. 9 schematically represents the light emission period of the light source.
  • a hatched rectangle in the chart (h) of FIG. 9 schematically represents a period during which the light source is extinguished.
  • the illumination device 200 causes the second light source 210b to emit light from the start (time t15) to the end (time t29) of the exposure period of the pixel 10b. That is, the second light source 210b of the illumination device 200 emits light during a period overlapping with the exposure period of the pixel 10b including the second photoelectric conversion unit 13b. In this example, the light emission period of the second light source 210b and the exposure period of the pixel 10b are the same period. As a result, light emitted by the second light source 210b and reflected by the subject enters the first photoelectric conversion unit 13a and the second photoelectric conversion unit 13b during the exposure period of the pixel 10b. Also, the second light source 210b is turned off during the non-exposure period of the pixel 10b.
  • the timing of light emission of the illumination device 200 is controlled by the control unit 300, for example.
  • the control unit 300 acquires a signal indicating driving timing of pixels in the imaging device 100 from the imaging device 100, and controls light emission of the lighting device 200 based on the acquired signal. Further, the control unit 300 may output signals for controlling the timing of the exposure period in the imaging device 100 and the timing of the light emission period in the lighting device 200 to the imaging device 100 and the lighting device 200 .
  • the illumination device 200 emits light by turning on the first light source 210a and the second light source 210b so as to synchronize with the exposure periods of the pixels 10a and 10b.
  • the object is irradiated with illumination light in the wavelength range to which the first photoelectric conversion unit 13a or the second photoelectric conversion unit 13b is sensitive during the exposure period, so that the image quality of the image captured by the imaging device 100 is improved. can.
  • the illumination device 200 does not emit light during the non-exposure period of each of the pixels 10a and 10b, it is possible to extend the life of the first light source 210a and the second light source 210b and reduce the energy consumption.
  • the exposure period of the pixel 10b overlaps with the light emission period of the first light source 210a in the illumination device 200 (time t9 to time t14). do not have. That is, the first light source 210a does not emit light during the exposure period of the pixel 10b. Therefore, the light from the first light source 210a does not affect the photoelectric conversion of the second photoelectric conversion section 13b.
  • the first light source 210a when the first wavelength range is a wavelength range within the near-infrared wavelength range and the second wavelength range is a wavelength range within the visible light wavelength range, the first light source 210a emits near-infrared light, but the near-infrared light source emits near-infrared light.
  • the emitted light may have a visible light component in part. Even in such a case, since the first light source 210a does not emit light during the exposure period of the pixel 10b, the component of light that affects the photoelectric conversion of the second photoelectric conversion unit 13b is incident on the second photoelectric conversion unit 13b. It is possible to suppress the generation of unintended signal charges in the second photoelectric conversion unit 13b.
  • the exposure period of the pixel 10a (time t9 to time t14) does not overlap with the light emission period of the second light source 210b in the illumination device 200 (time t15 to time t29). Thereby, generation of unintended signal charges in the first photoelectric conversion unit 13a can be suppressed.
  • the wavelength region to which the second photoelectric conversion unit 13b has sensitivity may extend to part of the near-infrared wavelength region as well as the second wavelength region within the visible light wavelength region.
  • the second photoelectric conversion unit 13b may also have sensitivity in a wavelength range of about 680 nm to 720 nm.
  • the first light source 210a emits only near-infrared light having a component of 700 nm to 1100 nm
  • photoelectric conversion may occur in the second photoelectric conversion unit 13b when the near-infrared light is incident on the second photoelectric conversion unit 13b.
  • the first light source 210a does not emit light during the exposure period of the pixel 10b. 13b and unintended generation of signal charges in the second photoelectric conversion unit 13b can be suppressed.
  • signal charges are read out from pixels belonging to each row of the pixel array PA based on the horizontal synchronization signal Hss.
  • readout of signal charges from pixels belonging to each of rows R0_b to R3_b and rows R4_a to R7_a is sequentially performed row by row.
  • a period from when a pixel belonging to a certain row is selected to when a pixel belonging to that row is selected again is sometimes referred to as a "1V period”.
  • the period from time t0 to time t31 corresponds to a 1V period.
  • a 1V period corresponds to, for example, one frame period.
  • the 1V period is the same length as the cycle of the fall (or rise) timing of the vertical synchronization signal Vss.
  • the address transistor 26b of the R0_b-th row is turned on.
  • a pixel signal corresponding to the signal charge amount accumulated in the charge accumulation region of the pixel 10b during the exposure period is output to the vertical signal line 47b.
  • the reset transistor 28b may be turned on to reset the pixel 10b and, if necessary, to read the pixel signal after the reset.
  • the address transistor 26b and, if necessary, the reset transistor 28b are turned off.
  • a similar operation is sequentially performed on the pixels 10b belonging to the R1_b-th to R3_b-th rows and the pixels 10a belonging to the R4_a-th to R7_a-th rows.
  • the reading after the exposure period of the pixels 10a in the R4_a-th row to the R7_a-th row is performed in the same manner as the pixel 10b. Specifically, taking the R4_a row as an example, first, the address transistor 26a in the R4_a row is turned on. As a result, a pixel signal corresponding to the signal charge amount accumulated in the charge accumulation region of the pixel 10a during the exposure period is output to the vertical signal line 47a. Following the reading of the pixel signal, the reset transistor 28a may be turned on to reset the pixel 10a and, if necessary, to read the pixel signal after the reset.
  • the address transistor 26a and, if necessary, the reset transistor 28a are turned off.
  • a similar operation is sequentially performed on the pixels 10a belonging to the R5_a-th to R7_a-th rows on a row-by-row basis.
  • the signal read after the exposure period and the signal read between time t0 and time t8 After reading signal charges from pixels belonging to each row of the pixel array PA after the exposure period from time t31, the signal read after the exposure period and the signal read between time t0 and time t8.
  • a signal from which fixed noise has been removed can be obtained by taking the difference of . Note that when resetting is performed after the pixel signal is read out from t31 after the exposure period, the difference between the readout of the pixel signal after the reset and the readout of the pixel signal before the reset is taken to obtain fixed noise. may be obtained by removing the In this case, it is not necessary to read the pixel signal after the reset between time t0 and time t8.
  • the photoelectric conversion layer 15a of the first photoelectric conversion section 13a is in a state of being applied with a bias voltage within the third voltage range. . Further, during the non-exposure period of the pixel 10b, the voltage V3_b is applied to the counter electrode 12b, so that the photoelectric conversion layer 15b of the second photoelectric conversion section 13b is applied with the bias voltage in the third voltage range. It is in. Therefore, even when light is incident on the photoelectric conversion layers 15a and 15b, signal charges are hardly further accumulated in the charge accumulation regions. Therefore, the generation of noise due to unintended mixture of charges is suppressed.
  • Conversion layers 15a and 15b are in a state where a bias voltage in the third voltage range is applied. In the state where the bias voltage in the third voltage range is applied, it is possible to suppress the movement of the signal charge already accumulated in the charge accumulation region to the counter electrode 12a through the photoelectric conversion layer 15a. Similarly, it is possible to suppress the movement of signal charges already accumulated in the charge accumulation region to the counter electrode 12b through the photoelectric conversion layer 15b.
  • the start and end of the exposure period are controlled by the voltage Vb_a applied to the counter electrode 12a and the voltage Vb_b applied to the counter electrode 12b. That is, according to the present embodiment, a global shutter function can be realized without providing a transfer transistor or the like in each pixel 10a and each pixel 10b.
  • the electronic shutter is executed by controlling the voltages Vb_a and Vb_b without transferring the signal charges via the transfer transistors, so that faster operation is possible.
  • the exposure period of the pixel 10b is the light emission period of the light from the first light source 210a having an emission peak in the invisible first wavelength region to which the first photoelectric conversion unit 13a is sensitive. Do not overlap. Accordingly, the light from the first light source 210a does not affect the photoelectric conversion of the second photoelectric conversion section 13b. Therefore, while suppressing the generation of unintended signal charges in the second photoelectric conversion unit 13b due to the incidence of the light component that affects the photoelectric conversion of the second photoelectric conversion unit 13b into the second photoelectric conversion unit 13b, An image captured using the second photoelectric conversion unit 13b is output. Therefore, the imaging device 100 can suppress image quality deterioration.
  • the exposure period of the pixel 10a is shorter than the exposure period of the pixel 10b.
  • the first photoelectric conversion unit 13a of the pixel 10a has sensitivity in the near-infrared wavelength region, the bandgap of the photoelectric conversion material used for the first photoelectric conversion unit 13a becomes narrow, so dark current is likely to occur due to thermal excitation. . Therefore, since the exposure period of the pixel 10a is shorter than the exposure period of the pixel 10b, it is possible to reduce the influence of dark current and suppress deterioration of image quality.
  • the light emission period of the illumination device 200 that emits illumination light during the exposure period of the pixel 10a can be shortened, power consumption can be reduced and the life of the light source can be lengthened.
  • reading and resetting of the pixels belonging to each of the R0_b-th to R3_b-th rows and the R4_a-th to R7_a-th rows are sequentially performed row by row, but the present invention is not limited to this.
  • the reading and resetting of the pixels 10b on the R0_b-th to R3_b-th rows and the reading and resetting of the pixels 10a on the R4_a-th to R7_a-th rows overlap if the circuits for reading are configured independently. It may be done during the period.
  • the light emission period of the first light source 210a and the exposure period of the pixels 10a do not have to be the same period as long as they overlap.
  • the light emission period of the second light source 210b and the exposure period of the pixel 10b may not be the same period as long as they overlap.
  • the second light source 210b may not emit light.
  • the second photoelectric conversion unit 13b has sensitivity in the visible light wavelength region, imaging using the second photoelectric conversion unit 13b is easy using ambient light.
  • light having an emission peak in the first wavelength range to which the first photoelectric conversion unit 13a is sensitive may be emitted from another lighting device other than the lighting device 200, or the like.
  • the exposure period of the pixel 10a may be the same as the exposure period of the pixel 10b, or may be longer than the exposure period of the pixel 10b.
  • the light emission period of the first light source 210a should not overlap with the exposure period of pixels including photoelectric conversion units other than the first photoelectric conversion unit 13a. Device 110 operates.
  • FIG. 10 is a diagram for explaining a comparative example of the operation of the imaging device. Parts (a) to (h) of FIG. 10 show the same items as parts (a) to (h) of FIG.
  • resetting of the charge accumulation regions of each pixel 10a and each pixel 10b in the pixel array PA and readout of pixel signals after resetting are performed. For example, as shown in FIG. 10, based on the vertical synchronization signal Vss, resetting of the plurality of pixels 10b belonging to the R0_b-th row is started (time t0). In synchronization with the horizontal synchronizing signal Hss, the pixels belonging to the rows R0_b to R3_b and the rows R4_a to R7_a are sequentially reset and read row by row.
  • the voltage supply circuit 32b applies voltage to the counter electrode 12b.
  • the exposure period of the pixels 10b belonging to the R0_b-th row to the R3_b-th row is started (time t5).
  • the second light source 210b starts emitting light simultaneously with the start of the exposure period of the pixel 10b (time t5).
  • the voltage supply circuit 32a applies voltage to the counter electrode 12a based on the horizontal synchronization signal Hss.
  • the voltage supply circuit 32a applies voltage to the counter electrode 12a based on the horizontal synchronization signal Hss.
  • the voltage By switching the voltage to a voltage Ve_a different from the voltage V3_a, the exposure period of the pixels 10a belonging to the R4_a-th row to the R7_a-th row is started (time t9).
  • the first light source 210a starts emitting light (time t9).
  • the time t9 when the first light source 210a starts emitting light is in the middle of the exposure period of the pixel 10b. Therefore, light from the first light source 210a is incident on the second photoelectric conversion unit 13b during the exposure period of the pixel 10b, and unintended signal charges are likely to be generated in the second photoelectric conversion unit 13b.
  • the second light source 210b emits light. Therefore, light from the second light source 210b is incident on the first photoelectric conversion unit 13a during the exposure period of the pixel 10a, and unintended signal charges are likely to be generated in the first photoelectric conversion unit 13a.
  • the voltage supply circuit 32b switches the voltage applied to the counter electrode 12b to the voltage V3_b again, thereby ending the exposure period of the pixels 10b belonging to the R0_b-th row to the R3_b-th row (time t29).
  • the second light source 210b stops emitting light (time t29).
  • signal charges are read out from the pixels belonging to each row of the pixel array PA.
  • readout of signal charges from pixels belonging to each of rows R0_b to R3_b and rows R4_a to R7_a is sequentially performed row by row.
  • the voltage supply circuit 32a switches the voltage applied to the counter electrode 12a to the voltage V3_a again, thereby ending the exposure period of the pixels 10a belonging to the R4_a-th row to the R7_a-th row (time t33).
  • the first light source 210a stops emitting light (time t33).
  • the exposure period of the pixel 10b overlaps with the light emission period of the first light source 210a. Therefore, during the exposure period of the pixel 10b, light from the first light source 210a is incident on the second photoelectric conversion unit 13b, and unintended signal charges are generated in the second photoelectric conversion unit 13b. Therefore, image quality of an image captured using the second photoelectric conversion unit 13b is degraded.
  • the second wavelength range is a wavelength range within the visible light wavelength range
  • a visible light image and a near-infrared image are acquired by the imaging device 100
  • a color filter may be provided above the second photoelectric conversion unit 13b.
  • the color filters include, for example, color filters that transmit red and near-infrared wavelengths, color filters that transmit green and near-infrared wavelengths, and color filters that transmit blue and near-infrared wavelengths. These color filters are arranged, for example, in a Bayer array in the photosensitive area.
  • the light emitted by the first light source 210a has an emission peak in the near-infrared wavelength region, but may also have a red wavelength component. Therefore, when the first light source 210a emits light during the exposure period of the pixel 10b, the light from the first light source 210a passes through a color filter that transmits red and near-infrared wavelengths and enters the second photoelectric conversion unit 13b. As a result, color shift occurs in the resulting image due to unintended generation of signal charges in the pixels 10b provided with color filters that transmit red and near-infrared wavelengths.
  • the exposure period of the pixel 10b does not overlap with the light emission period of the first light source 210a. Therefore, unlike the comparative example, unintended signal charges are not generated, and deterioration in image quality in an image captured using the second photoelectric conversion unit 13b can be suppressed.
  • the present invention is not limited to this. Since image quality deterioration occurs regardless of the presence or absence of color filters, the effect of suppressing image quality deterioration can be obtained even if the imaging apparatus 100 is not provided with color filters.
  • FIG. 11 is a schematic diagram showing a schematic configuration of an imaging device according to Modification 1. As shown in FIG. As shown in FIG. 11, the imaging device 100a according to Modification 1 differs from the imaging device 100 according to the embodiment in that the first photoelectric conversion unit 13a and the second photoelectric conversion unit 13b are arranged on the same plane. differ.
  • the first photoelectric conversion unit 13a and the second photoelectric conversion unit 13b are arranged on the same plane, the light from the first light source 210a may enter the second photoelectric conversion unit 13b. , image quality deterioration can be suppressed by performing the same operation as the above operation example.
  • the imaging device 100 drives both the pixels 10a and 10b by the global shutter method, but the present invention is not limited to this.
  • the imaging device 100 may switch driving of at least one of the pixels 10a and 10b from the global shutter method to the rolling shutter method according to the subject.
  • the voltage applied to the counter electrode 12a by the voltage supply circuit 32a can be fixed at the voltage Ve_a during both the exposure period and the non-exposure period.
  • the exposure period can be defined by the time from the reset timing of the charge storage region including the charge storage node 41a to the signal readout.
  • the voltage applied to the counter electrode 12b by the voltage supply circuit 32b can be fixed at the voltage Ve_b during both the exposure period and the non-exposure period.
  • the exposure period can be defined by the time from the reset timing of the charge storage region including the charge storage node 41b to the signal readout.
  • the circuit connected to the pixel 10a and the circuit connected to the pixel 10b may be partly shared.
  • at least one of the voltage supply circuits 32a and 32b, the reset voltage sources 34a and 34b, the vertical scanning circuits 36a and 36b, the horizontal signal readout circuits 38a and 38b, and the power supply lines 40a and 40b are connected to both the pixels 10a and 10b. may be a single shared circuit connected to the
  • the signal detection circuit 14a and the signal detection circuit 14b may share some circuit elements.
  • the signal detection circuit 14a and the signal detection circuit 14b have a switch or the like that can switch the connection between the charge storage node 41a and the charge storage node 41b, so that circuit elements after the signal detection transistor or the address transistor are shared. may be
  • each of the signal detection transistors 24a and 24b, the address transistors 26a and 26b, and the reset transistors 28a and 28b are N-channel MOSFETs, but this is not the only option. At least one of signal detection transistors 24a and 24b, address transistors 26a and 26b and reset transistors 28a and 28b may be P-channel MOSFETs. At least one of signal detection transistors 24a and 24b, address transistors 26a and 26b and reset transistors 28a and 28b may be other transistors such as bipolar transistors instead of field effect transistors.
  • each of the first photoelectric conversion unit 13a and the second photoelectric conversion unit 13b has a structure including a pair of electrodes and a photoelectric conversion layer sandwiched between the pair of electrodes. Not exclusively.
  • one of the first photoelectric conversion unit 13 a and the second photoelectric conversion unit 13 b may have a photodiode provided on the semiconductor substrate 20 .
  • FIG. 12 is a schematic diagram showing an exemplary circuit configuration of a pixel including a second photoelectric conversion unit and peripheral circuits in an imaging device according to Modification 2. As shown in FIG. In the following description of the imaging device 500 according to Modification Example 2, differences from the imaging device 100 according to the embodiment will be mainly described, and descriptions of common points will be omitted or simplified.
  • the imaging device 500 according to Modification 2 differs from the imaging device 100 according to the embodiment in that the pixels 510b are provided instead of the pixels 10b and the voltage supply circuit 32b is not provided.
  • the pixel 510b has a second photoelectric conversion unit 513b and a charge storage node 541b instead of the second photoelectric conversion unit 13b and the charge storage node 41b of the pixel 10b, and additionally has a transfer transistor 25b.
  • the pixel 510b is an example of a second pixel.
  • An imaging device 500 according to modification 2 is provided in the camera system 1 instead of the imaging device 100, for example.
  • the imaging device 500 includes a pixel array PA including a plurality of pixels 510b arranged two-dimensionally.
  • the circuit configuration of the plurality of pixels 10a of the imaging device 500 is, for example, the same as that of the imaging device 100, and the configuration shown in FIG. 3A is applicable.
  • Each pixel 510b has a second photoelectric conversion unit 513b, a signal detection circuit 14b, a transfer transistor 25b and a reset transistor 28b.
  • the second photoelectric conversion unit 513b has a photodiode provided on the semiconductor substrate 20 and receives incident light to generate signal charges.
  • the second photoelectric conversion unit 513b has sensitivity to, for example, a wavelength range within the visible light wavelength range.
  • the signal detection circuit 14b detects signal charges generated by the second photoelectric conversion unit 513b.
  • the transfer transistor 25b may be a field effect transistor. An example in which an N-channel MOSFET is applied as the transfer transistor 25b will be described below unless otherwise specified. Note that the transfer transistor 25b may be a P-channel MOSFET. Also, the transfer transistor 25b may be another transistor such as a bipolar transistor instead of a field effect transistor.
  • the input terminal of the transfer transistor 25b is electrically connected to the second photoelectric conversion section 513b. Specifically, the input terminal of the transfer transistor 25b is connected to the cathode electrode of the photodiode of the second photoelectric conversion unit 513b.
  • the output terminal of the transfer transistor 25b is connected to the charge storage node 541b. That is, the second photoelectric conversion unit 513b is connected to the charge storage node 541b via the transfer transistor 25b.
  • a control terminal of the transfer transistor 25b is connected to the transfer control line 43b.
  • the signal charge generated by the second photoelectric conversion unit 513b and accumulated in the second photoelectric conversion unit 513b is transferred to the charge accumulation region including the charge accumulation node 541b.
  • a charge accumulation region including the charge accumulation node 541b accumulates signal charges transferred from the second photoelectric conversion unit 513b.
  • the transfer control line 43b is connected to the vertical scanning circuit 36b for each pixel row. Therefore, when the vertical scanning circuit 36b applies a predetermined voltage to the transfer control line 43b, the signal charges of the second photoelectric conversion units 513b of the plurality of pixels 510b arranged in each row are transferred to the charge storage node 541b in units of rows. It is possible to
  • the control terminal of the signal detection transistor 24b is connected to the charge accumulation node 541b.
  • the signal detection transistor 24b amplifies and outputs the signal charge transferred from the second photoelectric conversion unit 513b to the charge accumulation region including the charge accumulation node 541b.
  • reset transistor 28b is connected between reset voltage line 44b and charge storage node 541b.
  • the control terminal of the reset transistor 28b is connected to the reset control line 48b, and the potential of the charge storage node 541b can be reset to the reset voltage Vr by controlling the potential of the reset control line 48b. Further, when the transfer transistor 25b is on, the potential of the second photoelectric conversion unit 513b is reset at the same time as the charge storage node 541b.
  • FIG. 13 is a cross-sectional view schematically showing an exemplary cross-sectional structure of pixels 10a and 510b according to modification 2. As shown in FIG.
  • the second photoelectric conversion section 513b and the transfer transistor 25b are formed on the semiconductor substrate 20.
  • Signal detection transistor 24b, address transistor 26b and reset transistor 28b are formed on semiconductor substrate 20 at positions not shown in the cross section shown in FIG.
  • the semiconductor substrate 20 has impurity regions 25d and 513s.
  • impurity regions 25d and 513s are N-type regions.
  • the impurity regions 25d and 513s are diffusion layers formed in the semiconductor substrate 20, for example.
  • the second photoelectric conversion unit 513b is, for example, an embedded silicon photodiode formed in the semiconductor substrate 20 and including an impurity region 513s.
  • the impurity region 513s is provided for each pixel 510b.
  • the transfer transistor 25b includes an impurity region 25d, a portion of the impurity region 513s, and a gate electrode 25g connected to the transfer control line 43b (see FIG. 12) not shown in FIG.
  • Gate electrode 25g is formed using a conductive material.
  • the conductive material is, for example, polysilicon imparted with conductivity by being doped with impurities, but may also be a metal material.
  • a contact plug 57b and a wiring 58b are formed in the interlayer insulating layer 50.
  • the contact plug 57b is made of, for example, polysilicon to which conductivity is imparted by being doped with impurities.
  • the wiring 58b is made of metal such as copper, for example.
  • Impurity region 25d is connected to one end of contact plug 57b.
  • the other end of the contact plug 57b is connected to the wiring 58b.
  • Contact plug 57b and interconnection 58b form part of charge storage node 541b (see FIG. 12).
  • Wiring 58b may be part of wiring layer 56b.
  • the wiring 58b, the contact plug 57b, and the impurity region 25d function as a charge accumulation region of the pixel 510b to which the signal charge of the second photoelectric conversion portion 513b is transferred.
  • the first photoelectric conversion section 13a is stacked above the second photoelectric conversion section 513b with the interlayer insulating layer 50 interposed therebetween.
  • the first photoelectric conversion unit 13a overlaps the charge accumulation region connected to the second photoelectric conversion unit 513b in plan view. Note that the first photoelectric conversion unit 13a and the second photoelectric conversion unit 513b do not have to overlap in plan view.
  • the pixel electrode 11a of the first photoelectric conversion unit 13a in the imaging device 500 is, for example, a transparent electrode.
  • the pixel electrode 11a is preferably a transparent electrode. If the pixel electrode 11a does not overlap the second photoelectric conversion portion 513b in plan view, the pixel electrode 11a may be an opaque electrode made of metal or the like.
  • Light transmitted through the first photoelectric conversion unit 13a and the interlayer insulating layer 50 is incident on the second photoelectric conversion unit 513b.
  • the first photoelectric conversion section 13a and the interlayer insulating layer 50 transmit at least part of the light of the wavelength to which the second photoelectric conversion section 513b is sensitive.
  • the operation example described below is an operation example when the imaging device 500 acquires an image.
  • the differences from the operation example of the image pickup apparatus 100 will be mainly explained, and the explanation of the common points will be omitted or simplified.
  • FIG. 14A and 14B are diagrams for explaining an operation example of the imaging device 500 according to Modification 2.
  • FIG. Parts (a), (b) and (e) to (h) of FIG. 14 show the same items as parts (a), (b) and (e) to (h) of FIG.
  • the graph of (c) of FIG. 14 shows an example of the change over time of the voltage Vtg applied to the control terminal of the transfer transistor 25b through the transfer control line 43b.
  • the transfer transistor 25b is off when the voltage Vtg applied to the control terminal is VL, and is on when the voltage Vtg applied to the control terminal is VH.
  • the readout period and exposure period of the signal of the pixel 10a are the same timings as the pixel 10a in the operation example of the imaging device 100.
  • the signal readout period and exposure period of the pixel 510b are the same timings as the pixel 10b in the operation example of the imaging device 100.
  • the same operation as the operation example of the imaging device 100 described using FIG. 9 is performed. Also, until time t14, the voltage Vtg applied to the control terminal of the transfer transistor 25b is the voltage VL.
  • the exposure period of the pixels 510b belonging to the R0_b-th row to the R3_b-th row starts based on the horizontal synchronization signal Hss (time t15).
  • the exposure period of the pixel 510b is started by temporarily switching the voltage Vtg applied to the control terminal of the transfer transistor 25b from the voltage VL to the voltage VH by the vertical scanning circuit 36b.
  • the transfer transistor 25b is temporarily turned on.
  • the reset transistor 28b is also turned on, and the potentials of the charge accumulation region of the pixel 510b and the second photoelectric conversion unit 513b are reset.
  • the signal charge generated by the second photoelectric conversion unit 513b receiving light is accumulated in the second photoelectric conversion unit 513b without being transferred to the charge accumulation node 541b.
  • Reset transistor 28b is also turned off during the exposure period of pixel 510b. In the example shown in FIG. 14, the exposure period starts at the timing when the transfer transistor 25b is turned on. good.
  • the vertical scanning circuit 36b again temporarily switches the voltage Vtg applied to the control terminal of the transfer transistor 25b from the voltage VL to the voltage VH, thereby ending the exposure period of the pixel 510b (time t29).
  • the transfer transistor 25b is temporarily turned on, and the signal charge accumulated in the second photoelectric conversion unit 513b is transferred to the charge accumulation region including the charge accumulation node 541b via the transfer transistor 25b.
  • the reset transistor 28b is off, and the signal charge transferred from the second photoelectric conversion unit 513b to the charge accumulation region of the pixel 510b and accumulated in the charge accumulation region is stored in the pixel.
  • the signals are sequentially read out during the signal readout period of 510b. In the example shown in FIG. 14, the exposure period ends when the transfer transistor 25b turns off after it turns on, but the exposure period may end when the transfer transistor 25b turns on. .
  • the illumination device 200 causes the first light source 210a to emit light from the start (time t9) to the end (time t14) of the exposure period of the pixel 10a. That is, the first light source 210a of the illumination device 200 emits light during a period overlapping with the exposure period of the pixels 10a including the first photoelectric conversion units 13a. In this example, the light emission period of the first light source 210a and the exposure period of the pixel 10a are the same period. As a result, light emitted by the first light source 210a and reflected by the subject enters the first photoelectric conversion unit 13a and the second photoelectric conversion unit 513b during the exposure period of the pixel 10a. Also, the first light source 210a is turned off during the non-exposure period of the pixel 10a.
  • the illumination device 200 causes the second light source 210b to emit light from the start (time t15) to the end (time t29) of the exposure period of the pixel 510b. That is, the second light source 210b of the illumination device 200 emits light during a period overlapping with the exposure period of the pixel 510b including the second photoelectric conversion unit 513b. In this example, the light emission period of the second light source 210b and the exposure period of the pixel 510b are the same period. As a result, light emitted by the second light source 210b and reflected by the subject enters the first photoelectric conversion unit 13a and the second photoelectric conversion unit 513b during the exposure period of the pixel 510b. Also, the second light source 210b is turned off during the non-exposure period of the pixel 510b.
  • the exposure period of the pixel 510b (time t15 to time t29) is the light emission period of the first light source 210a in the lighting device 200 (time t29). t9 to time t14) do not overlap. That is, the first light source 210a does not emit light during the exposure period of the pixel 510b. Therefore, the light from the first light source 210a does not affect the photoelectric conversion of the second photoelectric conversion unit 513b.
  • the imaging device 500 can suppress image quality deterioration.
  • the imaging device according to the present disclosure is applicable to image sensors, for example.
  • the imaging device according to the present disclosure can be used for medical cameras, robot cameras, security cameras, cameras mounted on vehicles, and the like.

Landscapes

  • Engineering & Computer Science (AREA)
  • Multimedia (AREA)
  • Signal Processing (AREA)
  • Transforming Light Signals Into Electric Signals (AREA)
  • Solid State Image Pick-Up Elements (AREA)
PCT/JP2022/041784 2021-12-02 2022-11-09 撮像装置およびカメラシステム Ceased WO2023100613A1 (ja)

Priority Applications (3)

Application Number Priority Date Filing Date Title
CN202280076668.7A CN118266230A (zh) 2021-12-02 2022-11-09 摄像装置及相机系统
JP2023564842A JPWO2023100613A1 (enExample) 2021-12-02 2022-11-09
US18/664,980 US20240305895A1 (en) 2021-12-02 2024-05-15 Imaging device and camera system

Applications Claiming Priority (4)

Application Number Priority Date Filing Date Title
JP2021196519 2021-12-02
JP2021-196519 2021-12-02
JP2022131170 2022-08-19
JP2022-131170 2022-08-19

Related Child Applications (1)

Application Number Title Priority Date Filing Date
US18/664,980 Continuation US20240305895A1 (en) 2021-12-02 2024-05-15 Imaging device and camera system

Publications (1)

Publication Number Publication Date
WO2023100613A1 true WO2023100613A1 (ja) 2023-06-08

Family

ID=86611988

Family Applications (1)

Application Number Title Priority Date Filing Date
PCT/JP2022/041784 Ceased WO2023100613A1 (ja) 2021-12-02 2022-11-09 撮像装置およびカメラシステム

Country Status (3)

Country Link
US (1) US20240305895A1 (enExample)
JP (1) JPWO2023100613A1 (enExample)
WO (1) WO2023100613A1 (enExample)

Families Citing this family (22)

* Cited by examiner, † Cited by third party
Publication number Priority date Publication date Assignee Title
US12323812B2 (en) 2020-05-01 2025-06-03 Digital Global Systems, Inc. System, method, and apparatus for providing dynamic, prioritized spectrum management and utilization
US12219365B2 (en) 2020-05-01 2025-02-04 Digital Global Systems, Inc. System, method, and apparatus for providing dynamic, prioritized spectrum management and utilization
US12413984B2 (en) 2020-05-01 2025-09-09 Digital Global Systems, Inc. System, method, and apparatus for providing dynamic, prioritized spectrum management and utilization
US12177679B2 (en) 2020-05-01 2024-12-24 Digital Global Systems, Inc. System, method, and apparatus for providing dynamic, prioritized spectrum management and utilization
US12294866B2 (en) 2020-05-01 2025-05-06 Digital Global Systems, Inc. System, method, and apparatus for providing dynamic, prioritized spectrum management and utilization
US12262211B2 (en) 2020-05-01 2025-03-25 Digital Global Systems, Inc. System, method, and apparatus for providing dynamic, prioritized spectrum management and utilization
US11700533B2 (en) 2020-05-01 2023-07-11 Digital Global Systems, Inc. System, method, and apparatus for providing dynamic, prioritized spectrum management and utilization
US11849332B2 (en) 2020-05-01 2023-12-19 Digital Global Systems, Inc. System, method, and apparatus for providing dynamic, prioritized spectrum management and utilization
US12212974B2 (en) 2020-05-01 2025-01-28 Digital Global Systems, Inc. System, method, and apparatus for providing dynamic, prioritized spectrum management and utilization
US11638160B2 (en) 2020-05-01 2023-04-25 Digital Global Systems, Inc. System, method, and apparatus for providing dynamic, prioritized spectrum management and utilization
US12513528B2 (en) 2020-05-01 2025-12-30 Digital Global Systems, Inc. System, method, and apparatus for providing dynamic, prioritized spectrum management and utilization
US12133082B2 (en) 2020-05-01 2024-10-29 Digital Global Systems, Inc. System, method, and apparatus for providing dynamic, prioritized spectrum management and utilization
US11653213B2 (en) 2020-05-01 2023-05-16 Digital Global Systems. Inc. System, method, and apparatus for providing dynamic, prioritized spectrum management and utilization
US11395149B2 (en) 2020-05-01 2022-07-19 Digital Global Systems, Inc. System, method, and apparatus for providing dynamic, prioritized spectrum management and utilization
US12262213B2 (en) 2020-05-01 2025-03-25 Digital Global Systems, Inc. System, method, and apparatus for providing dynamic, prioritized spectrum management and utilization
US12096230B2 (en) 2020-05-01 2024-09-17 Digital Global Systems, Inc. System, method, and apparatus for providing dynamic, prioritized spectrum management and utilization
US12309599B2 (en) 2020-05-01 2025-05-20 Digital Global Systems, Inc. System, method, and apparatus for providing dynamic, prioritized spectrum management and utilization
US12256225B2 (en) 2020-05-01 2025-03-18 Digital Global Systems, Inc. System, method, and apparatus for providing dynamic, prioritized spectrum management and utilization
US12192777B2 (en) 2020-05-01 2025-01-07 Digital Global Systems, Inc. System, method, and apparatus for providing dynamic, prioritized spectrum management and utilization
US12302113B2 (en) 2020-05-01 2025-05-13 Digital Global Systems, Inc. System, method, and apparatus for providing dynamic, prioritized spectrum management and utilization
US11665547B2 (en) 2020-05-01 2023-05-30 Digital Global Systems, Inc. System, method, and apparatus for providing dynamic, prioritized spectrum management and utilization
CN116472717A (zh) * 2020-12-11 2023-07-21 松下知识产权经营株式会社 摄像装置及驱动方法

Citations (3)

* Cited by examiner, † Cited by third party
Publication number Priority date Publication date Assignee Title
JP2014207493A (ja) * 2011-08-24 2014-10-30 パナソニック株式会社 撮像装置
WO2017094229A1 (ja) * 2015-12-03 2017-06-08 パナソニックIpマネジメント株式会社 撮像装置
JP2019186738A (ja) * 2018-04-10 2019-10-24 キヤノン株式会社 撮像装置

Family Cites Families (10)

* Cited by examiner, † Cited by third party
Publication number Priority date Publication date Assignee Title
JPH08327334A (ja) * 1995-06-05 1996-12-13 Toshiba Corp ギャップ測定装置
DE10257422A1 (de) * 2002-12-09 2004-07-08 Specialty Minerals Michigan Inc., Bingham Farms Verfahren zum Positionieren einer Messvorrichtung, die optische Strahlung emittiert und empfängt, zum Messen von Verschleiß der Auskleidung eines Behälters
DE102006040612B4 (de) * 2006-08-30 2011-12-08 Z-Laser Optoelektronik Gmbh Abstandsmessvorrichtung
JP2008107194A (ja) * 2006-10-25 2008-05-08 Iyasaka Seiki Kk 車輌のホイールアライメント測定装置
JP2008171911A (ja) * 2007-01-10 2008-07-24 Tokyo Electron Ltd ラフネス評価方法及びシステム
US8325333B2 (en) * 2009-11-04 2012-12-04 National Formosa University Geometric error measuring device
JP2014163690A (ja) * 2013-02-21 2014-09-08 Mitsutoyo Corp 形状測定装置
TWI518300B (zh) * 2014-11-26 2016-01-21 財團法人工業技術研究院 光學校正裝置與光學校正方法
EP3569976B1 (de) * 2018-05-16 2023-07-05 Klingelnberg GmbH Rauheitsmesstaster, vorrichtung mit rauheitsmesstaster und entsprechende verwendung
CN113050112B (zh) * 2019-03-21 2024-06-04 深圳市光鉴科技有限公司 用于增强飞行时间分辨率的系统和方法

Patent Citations (3)

* Cited by examiner, † Cited by third party
Publication number Priority date Publication date Assignee Title
JP2014207493A (ja) * 2011-08-24 2014-10-30 パナソニック株式会社 撮像装置
WO2017094229A1 (ja) * 2015-12-03 2017-06-08 パナソニックIpマネジメント株式会社 撮像装置
JP2019186738A (ja) * 2018-04-10 2019-10-24 キヤノン株式会社 撮像装置

Also Published As

Publication number Publication date
US20240305895A1 (en) 2024-09-12
JPWO2023100613A1 (enExample) 2023-06-08

Similar Documents

Publication Publication Date Title
WO2023100613A1 (ja) 撮像装置およびカメラシステム
JP7445865B2 (ja) 撮像装置
JP7178595B2 (ja) 撮像装置
US11233955B2 (en) Imaging apparatus including unit pixel, counter electrode, photoelectric conversion layer, and computing circuit
JP7178612B2 (ja) 撮像装置
JP6975935B2 (ja) 光検出装置
JP2018125850A (ja) 撮像装置
JP2018125839A (ja) 撮像装置の制御方法及び撮像装置
US20240298096A1 (en) Imaging device and camera system
CN118266230A (zh) 摄像装置及相机系统
CN118235424A (zh) 摄像装置及相机系统
US20250317666A1 (en) Imaging device and camera system
US20250330695A1 (en) Imaging device and camera system

Legal Events

Date Code Title Description
121 Ep: the epo has been informed by wipo that ep was designated in this application

Ref document number: 22901046

Country of ref document: EP

Kind code of ref document: A1

WWE Wipo information: entry into national phase

Ref document number: 202280076668.7

Country of ref document: CN

ENP Entry into the national phase

Ref document number: 2023564842

Country of ref document: JP

Kind code of ref document: A

NENP Non-entry into the national phase

Ref country code: DE

122 Ep: pct application non-entry in european phase

Ref document number: 22901046

Country of ref document: EP

Kind code of ref document: A1