WO2021132293A1 - パンツ型吸収性物品 - Google Patents

パンツ型吸収性物品 Download PDF

Info

Publication number
WO2021132293A1
WO2021132293A1 PCT/JP2020/048065 JP2020048065W WO2021132293A1 WO 2021132293 A1 WO2021132293 A1 WO 2021132293A1 JP 2020048065 W JP2020048065 W JP 2020048065W WO 2021132293 A1 WO2021132293 A1 WO 2021132293A1
Authority
WO
WIPO (PCT)
Prior art keywords
dorsal
absorbent article
absorbent
ventral
pants
Prior art date
Legal status (The legal status is an assumption and is not a legal conclusion. Google has not performed a legal analysis and makes no representation as to the accuracy of the status listed.)
Ceased
Application number
PCT/JP2020/048065
Other languages
English (en)
French (fr)
Japanese (ja)
Inventor
光佑 有田
藍子 恩田
亮太 蔵前
Current Assignee (The listed assignees may be inaccurate. Google has not performed a legal analysis and makes no representation or warranty as to the accuracy of the list.)
Kao Corp
Original Assignee
Kao Corp
Priority date (The priority date is an assumption and is not a legal conclusion. Google has not performed a legal analysis and makes no representation as to the accuracy of the date listed.)
Filing date
Publication date
Application filed by Kao Corp filed Critical Kao Corp
Priority to CN202080089970.7A priority Critical patent/CN114929173A/zh
Priority to CN202310843240.7A priority patent/CN116747079A/zh
Publication of WO2021132293A1 publication Critical patent/WO2021132293A1/ja
Anticipated expiration legal-status Critical
Ceased legal-status Critical Current

Links

Images

Classifications

    • AHUMAN NECESSITIES
    • A61MEDICAL OR VETERINARY SCIENCE; HYGIENE
    • A61FFILTERS IMPLANTABLE INTO BLOOD VESSELS; PROSTHESES; DEVICES PROVIDING PATENCY TO, OR PREVENTING COLLAPSING OF, TUBULAR STRUCTURES OF THE BODY, e.g. STENTS; ORTHOPAEDIC, NURSING OR CONTRACEPTIVE DEVICES; FOMENTATION; TREATMENT OR PROTECTION OF EYES OR EARS; BANDAGES, DRESSINGS OR ABSORBENT PADS; FIRST-AID KITS
    • A61F13/00Bandages or dressings; Absorbent pads
    • A61F13/15Absorbent pads, e.g. sanitary towels, swabs or tampons for external or internal application to the body; Supporting or fastening means therefor; Tampon applicators
    • A61F13/45Absorbent pads, e.g. sanitary towels, swabs or tampons for external or internal application to the body; Supporting or fastening means therefor; Tampon applicators characterised by the shape
    • A61F13/49Absorbent pads, e.g. sanitary towels, swabs or tampons for external or internal application to the body; Supporting or fastening means therefor; Tampon applicators characterised by the shape specially adapted to be worn around the waist, e.g. diapers, nappies
    • AHUMAN NECESSITIES
    • A61MEDICAL OR VETERINARY SCIENCE; HYGIENE
    • A61FFILTERS IMPLANTABLE INTO BLOOD VESSELS; PROSTHESES; DEVICES PROVIDING PATENCY TO, OR PREVENTING COLLAPSING OF, TUBULAR STRUCTURES OF THE BODY, e.g. STENTS; ORTHOPAEDIC, NURSING OR CONTRACEPTIVE DEVICES; FOMENTATION; TREATMENT OR PROTECTION OF EYES OR EARS; BANDAGES, DRESSINGS OR ABSORBENT PADS; FIRST-AID KITS
    • A61F13/00Bandages or dressings; Absorbent pads
    • A61F13/15Absorbent pads, e.g. sanitary towels, swabs or tampons for external or internal application to the body; Supporting or fastening means therefor; Tampon applicators
    • A61F13/45Absorbent pads, e.g. sanitary towels, swabs or tampons for external or internal application to the body; Supporting or fastening means therefor; Tampon applicators characterised by the shape
    • A61F13/49Absorbent pads, e.g. sanitary towels, swabs or tampons for external or internal application to the body; Supporting or fastening means therefor; Tampon applicators characterised by the shape specially adapted to be worn around the waist, e.g. diapers, nappies
    • A61F13/49007Form-fitting, self-adjusting disposable diapers
    • A61F13/49009Form-fitting, self-adjusting disposable diapers with elastic means
    • AHUMAN NECESSITIES
    • A61MEDICAL OR VETERINARY SCIENCE; HYGIENE
    • A61FFILTERS IMPLANTABLE INTO BLOOD VESSELS; PROSTHESES; DEVICES PROVIDING PATENCY TO, OR PREVENTING COLLAPSING OF, TUBULAR STRUCTURES OF THE BODY, e.g. STENTS; ORTHOPAEDIC, NURSING OR CONTRACEPTIVE DEVICES; FOMENTATION; TREATMENT OR PROTECTION OF EYES OR EARS; BANDAGES, DRESSINGS OR ABSORBENT PADS; FIRST-AID KITS
    • A61F13/00Bandages or dressings; Absorbent pads
    • A61F13/15Absorbent pads, e.g. sanitary towels, swabs or tampons for external or internal application to the body; Supporting or fastening means therefor; Tampon applicators
    • A61F13/45Absorbent pads, e.g. sanitary towels, swabs or tampons for external or internal application to the body; Supporting or fastening means therefor; Tampon applicators characterised by the shape
    • A61F13/49Absorbent pads, e.g. sanitary towels, swabs or tampons for external or internal application to the body; Supporting or fastening means therefor; Tampon applicators characterised by the shape specially adapted to be worn around the waist, e.g. diapers, nappies
    • A61F13/49007Form-fitting, self-adjusting disposable diapers
    • A61F13/49009Form-fitting, self-adjusting disposable diapers with elastic means
    • A61F13/49011Form-fitting, self-adjusting disposable diapers with elastic means the elastic means is located at the waist region
    • AHUMAN NECESSITIES
    • A61MEDICAL OR VETERINARY SCIENCE; HYGIENE
    • A61FFILTERS IMPLANTABLE INTO BLOOD VESSELS; PROSTHESES; DEVICES PROVIDING PATENCY TO, OR PREVENTING COLLAPSING OF, TUBULAR STRUCTURES OF THE BODY, e.g. STENTS; ORTHOPAEDIC, NURSING OR CONTRACEPTIVE DEVICES; FOMENTATION; TREATMENT OR PROTECTION OF EYES OR EARS; BANDAGES, DRESSINGS OR ABSORBENT PADS; FIRST-AID KITS
    • A61F13/00Bandages or dressings; Absorbent pads
    • A61F13/15Absorbent pads, e.g. sanitary towels, swabs or tampons for external or internal application to the body; Supporting or fastening means therefor; Tampon applicators
    • A61F13/45Absorbent pads, e.g. sanitary towels, swabs or tampons for external or internal application to the body; Supporting or fastening means therefor; Tampon applicators characterised by the shape
    • A61F13/49Absorbent pads, e.g. sanitary towels, swabs or tampons for external or internal application to the body; Supporting or fastening means therefor; Tampon applicators characterised by the shape specially adapted to be worn around the waist, e.g. diapers, nappies
    • A61F13/49007Form-fitting, self-adjusting disposable diapers
    • A61F13/49009Form-fitting, self-adjusting disposable diapers with elastic means
    • A61F13/49017Form-fitting, self-adjusting disposable diapers with elastic means the elastic means being located at the crotch region
    • AHUMAN NECESSITIES
    • A61MEDICAL OR VETERINARY SCIENCE; HYGIENE
    • A61FFILTERS IMPLANTABLE INTO BLOOD VESSELS; PROSTHESES; DEVICES PROVIDING PATENCY TO, OR PREVENTING COLLAPSING OF, TUBULAR STRUCTURES OF THE BODY, e.g. STENTS; ORTHOPAEDIC, NURSING OR CONTRACEPTIVE DEVICES; FOMENTATION; TREATMENT OR PROTECTION OF EYES OR EARS; BANDAGES, DRESSINGS OR ABSORBENT PADS; FIRST-AID KITS
    • A61F13/00Bandages or dressings; Absorbent pads
    • A61F13/15Absorbent pads, e.g. sanitary towels, swabs or tampons for external or internal application to the body; Supporting or fastening means therefor; Tampon applicators
    • A61F13/45Absorbent pads, e.g. sanitary towels, swabs or tampons for external or internal application to the body; Supporting or fastening means therefor; Tampon applicators characterised by the shape
    • A61F13/49Absorbent pads, e.g. sanitary towels, swabs or tampons for external or internal application to the body; Supporting or fastening means therefor; Tampon applicators characterised by the shape specially adapted to be worn around the waist, e.g. diapers, nappies
    • A61F13/494Absorbent pads, e.g. sanitary towels, swabs or tampons for external or internal application to the body; Supporting or fastening means therefor; Tampon applicators characterised by the shape specially adapted to be worn around the waist, e.g. diapers, nappies characterised by edge leakage prevention means
    • AHUMAN NECESSITIES
    • A61MEDICAL OR VETERINARY SCIENCE; HYGIENE
    • A61FFILTERS IMPLANTABLE INTO BLOOD VESSELS; PROSTHESES; DEVICES PROVIDING PATENCY TO, OR PREVENTING COLLAPSING OF, TUBULAR STRUCTURES OF THE BODY, e.g. STENTS; ORTHOPAEDIC, NURSING OR CONTRACEPTIVE DEVICES; FOMENTATION; TREATMENT OR PROTECTION OF EYES OR EARS; BANDAGES, DRESSINGS OR ABSORBENT PADS; FIRST-AID KITS
    • A61F13/00Bandages or dressings; Absorbent pads
    • A61F13/15Absorbent pads, e.g. sanitary towels, swabs or tampons for external or internal application to the body; Supporting or fastening means therefor; Tampon applicators
    • A61F13/45Absorbent pads, e.g. sanitary towels, swabs or tampons for external or internal application to the body; Supporting or fastening means therefor; Tampon applicators characterised by the shape
    • A61F13/49Absorbent pads, e.g. sanitary towels, swabs or tampons for external or internal application to the body; Supporting or fastening means therefor; Tampon applicators characterised by the shape specially adapted to be worn around the waist, e.g. diapers, nappies
    • A61F13/494Absorbent pads, e.g. sanitary towels, swabs or tampons for external or internal application to the body; Supporting or fastening means therefor; Tampon applicators characterised by the shape specially adapted to be worn around the waist, e.g. diapers, nappies characterised by edge leakage prevention means
    • A61F13/49406Absorbent pads, e.g. sanitary towels, swabs or tampons for external or internal application to the body; Supporting or fastening means therefor; Tampon applicators characterised by the shape specially adapted to be worn around the waist, e.g. diapers, nappies characterised by edge leakage prevention means the edge leakage prevention means being at the crotch region
    • AHUMAN NECESSITIES
    • A61MEDICAL OR VETERINARY SCIENCE; HYGIENE
    • A61FFILTERS IMPLANTABLE INTO BLOOD VESSELS; PROSTHESES; DEVICES PROVIDING PATENCY TO, OR PREVENTING COLLAPSING OF, TUBULAR STRUCTURES OF THE BODY, e.g. STENTS; ORTHOPAEDIC, NURSING OR CONTRACEPTIVE DEVICES; FOMENTATION; TREATMENT OR PROTECTION OF EYES OR EARS; BANDAGES, DRESSINGS OR ABSORBENT PADS; FIRST-AID KITS
    • A61F13/00Bandages or dressings; Absorbent pads
    • A61F13/15Absorbent pads, e.g. sanitary towels, swabs or tampons for external or internal application to the body; Supporting or fastening means therefor; Tampon applicators
    • A61F13/45Absorbent pads, e.g. sanitary towels, swabs or tampons for external or internal application to the body; Supporting or fastening means therefor; Tampon applicators characterised by the shape
    • A61F13/49Absorbent pads, e.g. sanitary towels, swabs or tampons for external or internal application to the body; Supporting or fastening means therefor; Tampon applicators characterised by the shape specially adapted to be worn around the waist, e.g. diapers, nappies
    • A61F13/496Absorbent pads, e.g. sanitary towels, swabs or tampons for external or internal application to the body; Supporting or fastening means therefor; Tampon applicators characterised by the shape specially adapted to be worn around the waist, e.g. diapers, nappies in the form of pants or briefs
    • AHUMAN NECESSITIES
    • A61MEDICAL OR VETERINARY SCIENCE; HYGIENE
    • A61FFILTERS IMPLANTABLE INTO BLOOD VESSELS; PROSTHESES; DEVICES PROVIDING PATENCY TO, OR PREVENTING COLLAPSING OF, TUBULAR STRUCTURES OF THE BODY, e.g. STENTS; ORTHOPAEDIC, NURSING OR CONTRACEPTIVE DEVICES; FOMENTATION; TREATMENT OR PROTECTION OF EYES OR EARS; BANDAGES, DRESSINGS OR ABSORBENT PADS; FIRST-AID KITS
    • A61F13/00Bandages or dressings; Absorbent pads
    • A61F13/15Absorbent pads, e.g. sanitary towels, swabs or tampons for external or internal application to the body; Supporting or fastening means therefor; Tampon applicators
    • A61F13/51Absorbent pads, e.g. sanitary towels, swabs or tampons for external or internal application to the body; Supporting or fastening means therefor; Tampon applicators characterised by the outer layers of the pads
    • AHUMAN NECESSITIES
    • A61MEDICAL OR VETERINARY SCIENCE; HYGIENE
    • A61FFILTERS IMPLANTABLE INTO BLOOD VESSELS; PROSTHESES; DEVICES PROVIDING PATENCY TO, OR PREVENTING COLLAPSING OF, TUBULAR STRUCTURES OF THE BODY, e.g. STENTS; ORTHOPAEDIC, NURSING OR CONTRACEPTIVE DEVICES; FOMENTATION; TREATMENT OR PROTECTION OF EYES OR EARS; BANDAGES, DRESSINGS OR ABSORBENT PADS; FIRST-AID KITS
    • A61F13/00Bandages or dressings; Absorbent pads
    • A61F13/15Absorbent pads, e.g. sanitary towels, swabs or tampons for external or internal application to the body; Supporting or fastening means therefor; Tampon applicators
    • A61F13/53Absorbent pads, e.g. sanitary towels, swabs or tampons for external or internal application to the body; Supporting or fastening means therefor; Tampon applicators characterised by the absorbing medium
    • AHUMAN NECESSITIES
    • A61MEDICAL OR VETERINARY SCIENCE; HYGIENE
    • A61FFILTERS IMPLANTABLE INTO BLOOD VESSELS; PROSTHESES; DEVICES PROVIDING PATENCY TO, OR PREVENTING COLLAPSING OF, TUBULAR STRUCTURES OF THE BODY, e.g. STENTS; ORTHOPAEDIC, NURSING OR CONTRACEPTIVE DEVICES; FOMENTATION; TREATMENT OR PROTECTION OF EYES OR EARS; BANDAGES, DRESSINGS OR ABSORBENT PADS; FIRST-AID KITS
    • A61F13/00Bandages or dressings; Absorbent pads
    • A61F13/15Absorbent pads, e.g. sanitary towels, swabs or tampons for external or internal application to the body; Supporting or fastening means therefor; Tampon applicators
    • A61F13/53Absorbent pads, e.g. sanitary towels, swabs or tampons for external or internal application to the body; Supporting or fastening means therefor; Tampon applicators characterised by the absorbing medium
    • A61F13/531Absorbent pads, e.g. sanitary towels, swabs or tampons for external or internal application to the body; Supporting or fastening means therefor; Tampon applicators characterised by the absorbing medium having a homogeneous composition through the thickness of the pad
    • A61F13/532Absorbent pads, e.g. sanitary towels, swabs or tampons for external or internal application to the body; Supporting or fastening means therefor; Tampon applicators characterised by the absorbing medium having a homogeneous composition through the thickness of the pad inhomogeneous in the plane of the pad

Definitions

  • the present invention relates to pants-type absorbent articles such as pants-type disposable diapers.
  • Pants-type disposable diapers whose main members are the ventral panel, the dorsal panel, and the crotch panel are known.
  • This type of diaper has the advantage that the wearer can easily move his / her feet and the appearance of the diaper in the worn state is neat because the foot can be secured in the crotch area.
  • the buttocks are easily exposed, and the covering property is not sufficient. Therefore, it has been proposed to arrange an elastic member extending in the lateral direction to provide a stretchable portion on the dorsal panel to improve the covering property of the buttocks (see Patent Documents 1 and 2).
  • Patent Document 3 in a disposable diaper provided with an absorber composed of two layers of an upper layer absorber and a lower layer absorber, the upper layer absorber is composed of pulp and an absorbent polymer, and the lower layer absorber is placed between two sheets. It is described that it is composed of an absorbent polymer arranged therein.
  • the present invention relates to a pants-type absorbent article.
  • the absorbent article is between the ventral exterior body arranged on the ventral side of the wearer, the dorsal exterior body arranged on the back side of the wearer, and the ventral exterior body and the dorsal exterior body. It is provided with an absorbent body fixed to these exterior bodies so as to bridge over.
  • the absorbent article has a longitudinal direction extending between the ventral exterior body and the dorsal exterior body and a lateral direction orthogonal to the longitudinal direction, and both sides of the ventral exterior body and the dorsal exterior body. It is provided with a side seal portion formed by joining the portions.
  • the absorbent body comprises an absorber having an absorbent sheet with two identical or different fiber sheets and absorbent polymer particles arranged between the fiber sheets.
  • the dorsal exterior body includes a dorsal extending portion extending downward from the side sealing portion.
  • the dorsal extension portion includes a dorsal first expansion / contraction region that extends along the lateral direction and can be expanded / contracted along the lateral direction. In a plan view of the absorbent article, the dorsal first stretchable region does not overlap the lateral central region of the absorber and overlaps the lateral region adjacent to the central region.
  • FIG. 1 is a diagram schematically showing a natural state of a pants-type disposable diaper, which is an embodiment of the pants-type absorbent article of the present invention.
  • FIG. 2 is a developed plan view schematically showing the skin-facing surface side of the diaper shown in FIG. 1 in the unfolded and stretched state.
  • FIG. 3 is an exploded perspective view schematically showing the skin-facing surface side of the diaper shown in FIG. 1 in the unfolded and stretched state.
  • FIG. 4 is a cross-sectional view schematically showing a cross section along the vertical center line CLx of FIG. 2 in the wearing state of the diaper shown in FIG.
  • FIG. 5 is a cross-sectional view schematically showing a cross section taken along line II of FIG. 2 in the wearing state of the diaper shown in FIG.
  • FIG. 6 is a cross-sectional view schematically showing a cross section along the thickness direction of one embodiment of an absorbent sheet that can be used as an absorber according to the present invention.
  • FIG. 7 is a schematic perspective view of the absorbent sheet shown in FIG.
  • FIG. 8 is a schematic enlarged view illustrating another arrangement form of the auxiliary layer.
  • FIG. 9 is a schematic diagram illustrating the configuration of a modified example of the auxiliary layer.
  • FIG. 10 is a schematic diagram illustrating the configuration of an auxiliary layer provided with a low-rigidity portion.
  • FIG. 11 is a developed plan view schematically showing the configuration of pants-type absorbent articles having different configurations of the dorsal exterior body.
  • FIG. 12 is a developed plan view schematically showing the configuration of pants-type absorbent articles having different configurations of the dorsal exterior body.
  • FIG. 13 is a developed plan view schematically showing the configuration of pants-type absorbent articles having different configurations of the absorbent body.
  • the absorber is arranged in the vicinity of the footrest in the wearing state, and the absorber is easily deformed due to the movement of the wearer.
  • the deformed absorber may enter the buttocks, leading to deterioration of the wearing appearance, wearing discomfort, and liquid leakage.
  • a thin absorber as described in Patent Document 3 is adopted, the absorber is significantly deformed due to the low rigidity of the absorber.
  • the present invention relates to a pants-type absorbent article that prevents deformation of the absorbent body without impairing the good fit of the thin absorbent body and exhibits an excellent appearance when worn.
  • the pants-type absorbent article of the present invention will be described based on the preferred embodiment thereof with reference to the drawings.
  • FIG. 2 show a pants-type diaper 1 which is an embodiment of the pants-type absorbent article of the present invention.
  • the diaper 1 has a vertical direction X corresponding to the front-back direction of the wearer and a horizontal direction Y orthogonal to the vertical direction X.
  • the diaper 1 has a crotch portion C and a ventral side portion A and a dorsal side portion B extending in the longitudinal direction X from the front and back of the crotch portion C.
  • the diaper 1 extends in the vertical direction X from the ventral side A to the dorsal side B.
  • the "anterior-posterior direction of the wearer” is a direction extending between the ventral side and the dorsal side of the wearer via the inseam.
  • the inseam C is a portion arranged in the crotch of the wearer when the diaper 1 is worn.
  • the ventral portion A is a portion arranged on the ventral side of the wearer, that is, on the anterior side of the inseam C when the diaper 1 is worn.
  • the dorsal portion B is a portion arranged on the dorsal side, that is, the posterior side of the wearer with respect to the inseam C in the wearing state of the diaper 1.
  • Diaper 1 has a vertical center line CLx located in the center of the vertical direction X.
  • the vertical center line CLx is a virtual straight line that bisects the unfolded and stretched diaper 1 in the vertical direction X and extends in the horizontal direction Y as shown in FIG.
  • the "expanded and stretched state" of the diaper 1 means that the diaper 1 is separated from the side seal portion described later to be in the deployed state, and the diaper 1 in the deployed state is stretched with the elastic members of each part to design dimensions (the influence of the elastic members). It refers to the state in which it is unfolded until it becomes the same as the dimensions when it is unfolded in a plane with all removed.
  • the diaper 1 includes an absorbent main body 2 and an exterior body 3.
  • the exterior body 3 includes outer layer sheets 31 and 32 and inner layer sheets 33 and 34 from the non-skin facing surface side to the skin facing surface side.
  • the outer layer sheet 31 and the inner layer sheet 33 are joined to each other to form a ventral exterior body 3A arranged on the ventral side of the wearer, and the outer layer sheet 32 and the inner layer sheet 34 are joined to each other to form the dorsal side of the wearer. It constitutes the dorsal exterior body 3B to be arranged.
  • the outer layer sheets 31 and 32 are elastic sheets.
  • the outer layer sheets 31 and 32 form the outer surface of the diaper 1, that is, the non-skin facing surface, at least on the ventral side A and the dorsal side B.
  • the inner layer sheets 33 and 34 are non-stretchable sheets.
  • the outer layer sheets 31 and 32 are joined to the inner layer sheets 33 and 34 in a state of being elongated in the lateral direction Y, respectively, by a known joining method such as an adhesive.
  • the diaper 1 is a pair of sides formed by joining the AS and BS on both sides of the ventral exterior body 3A and the dorsal exterior body 3B to each other by a known joining method such as an adhesive, a heat seal, or an ultrasonic seal.
  • the seal portions S and S are provided.
  • the diaper 1 has a waist opening WH through which the wearer's torso is passed by joining the ventral exterior body 3A and the dorsal exterior body 3B at the side seal portions S and S.
  • It is a pants-type absorbent article in which a pair of leg openings LH and LH through which the wearer's lower limbs are passed are formed.
  • the "skin facing surface” is a surface of the diaper 1 which is an absorbent article or a component thereof (for example, an absorbent main body), which is directed toward the skin side of the wearer when the diaper 1 is worn, that is, relatively worn.
  • the side closer to the skin of the person, and the "non-skin facing surface” is directed to the side of the diaper 1 or its constituent members opposite to the skin side when the diaper 1 is worn, that is, the side relatively far from the wearer's skin. It is a surface to be diapered.
  • the term "when worn” as used herein means a state in which the normal proper wearing position, that is, the correct wearing position of the absorbent article is maintained, and the absorbent article is in a state deviated from the wearing position. Does not include.
  • the ventral exterior 3A and the dorsal exterior 3B are divided in the vertical direction X, and these exteriors are bridged between the ventral exterior 3A and the dorsal exterior 3B. It is provided with an absorbent body 2 fixed to. As shown in FIG. 2, the absorbent main body 2 has a rectangular shape in a plan view, and its longitudinal direction coincides with the vertical direction X of the diaper 1, and the lateral direction of the ventral exterior body 3A and the dorsal exterior body 3B. It is arranged in the central part of Y and extends in the vertical direction X from the ventral side A to the dorsal side B.
  • the absorbent body 2 includes an absorber 5.
  • the absorber 5 includes a thin absorbent sheet 51 and an auxiliary layer 52 mounted on the absorbent sheet 51 to form the thin absorbent body 5.
  • the ventral exterior body 3A and the dorsal exterior body 3B are arranged in an elongated state between the outer layer sheet 31 and the inner layer sheet 33, and between the outer layer sheet 32 and the inner layer sheet 34.
  • a plurality of thread-shaped or band-shaped waist elastic members 41 and 41 are provided, respectively.
  • a plurality of waist elastic members 41 are laterally arranged in the opening end of the wearer's waist opening WH and the region in the vicinity thereof in each of the ventral side portion A and the dorsal side portion B. It is in an extended state in Y and is intermittently arranged at predetermined intervals in the vertical direction X.
  • the waist elastic member 41 extends outward in the same direction from the edge of the absorbent body 2 in the vertical direction X between the side seal portions S along the vertical direction X in each of the ventral side portion A and the dorsal side portion B. It is arranged in the area where it was put out. Such an area corresponds to the wearer's waist circumference and its vicinity in the wearing state.
  • the waist elastic member 41 is arranged in a state in which elastic elasticity is exhibited over substantially the entire length of the exterior body 3 in the lateral direction Y. As a result, as shown in FIG. 1, a substantially continuous annular waist gather WG is formed over the entire circumference of the waist opening WH.
  • the waist circumference gather of the ventral side A includes a ventral exterior body 3A and a plurality of elastic members 42 for forming waist circumference gathers fixed to the ventral exterior body 3A.
  • the waist circumference gather of the dorsal side portion B includes a back side exterior body 3B and a plurality of elastic members 42 for forming waist circumference gathers fixed to the back side exterior body 3B.
  • the elastic member 42 is arranged in a region overlapping the absorber 5 in the horizontal direction Y when the diaper 1 is viewed along the vertical direction X.
  • the elastic member 42 extends in the horizontal direction Y and is arranged intermittently in the vertical direction X on the ventral exterior body 3A and the dorsal exterior body 3B.
  • the elastic member 42 is a plurality of thread-like or strip-shaped elastic members arranged in an extended state between the outer layer sheets 31 and 32 and the inner layer sheets 33 and 34.
  • the waist circumference gather BG is formed by fixing the elastic member 42 to the dorsal exterior body 3B in a state of being extended in the lateral direction Y, and then releasing the elastic member 42 from the extended state.
  • the elastic member 42 contracts to form a gathered BG around the waist in a region below the waist gathered WG.
  • the expansion / contraction area in which the waist circumference gather BG is formed in the ventral side A of the diaper 1 is also referred to as “ventral first expansion / contraction area X2”.
  • the elastic member 42 arranged in the dorsal exterior body 3B in the extended state is the dorsal second elastic member extending in the lateral direction Y.
  • the elastic member 42 is arranged in a region where the dorsal exterior body 3B and the absorber 5 overlap in the horizontal direction Y.
  • the stretchable area in the dorsal side B of the diaper 1 on which the gathered BG around the waist is formed is also referred to as "dorsal second stretchable area X3".
  • the elastic member 42 located in the region from the lower end Sa of the side seal portion S in the vertical direction X to the upper end 5a of the absorber 5 is the absorber 5 and the dorsal exterior body in the lateral direction Y.
  • the absorber 5 is made shorter than the other elastic members 42 so as not to be arranged in the central region 5A in the lateral direction Y.
  • the elastic member 42 is not arranged in the central region 5A of the absorber 5, but when the elastic member 42 is also arranged in the central region 5A, the elasticity is not exhibited. It is preferable to arrange with.
  • the inner end 42a, which is one end of the elastic member 42, is fixed by the dorsal second fixing portion 71 formed in the side region 5B adjacent to the central region 5A in the absorber 5.
  • the dorsal exterior body 3B includes a dorsal extending portion 39 extending from the lower end Sa of the side seal portion S toward the lower crotch C where the vertical center line CLx is located. There is.
  • the dorsal extending portion 39 includes a dorsal stretching region X1 extending along the lateral direction Y and expanding and contracting along the lateral direction Y.
  • the dorsal extending portion 39 is formed with curved portions 39a and 39b that are curved so that the length in the lateral direction Y gradually becomes shorter toward the lower crotch portion C.
  • the curved portions 39a and 39b are formed from the side edges 39c and 39d of the dorsal extending portion 39 located in the lateral direction Y toward the ends 39e and 39f located on the central side.
  • the width W in the lateral direction Y from the end 39e to the end 39f is formed wider than the width W1 in the lateral direction Y of the absorbent main body 2, and the absorbent main body 2 is formed laterally from the dorsal extending portion 39. It is formed so as not to protrude to the outside of Y.
  • the dorsal expansion / contraction region X1 includes leg elastic members 43, 43 which are first elastic members on the dorsal side extending in the lateral direction Y.
  • the leg elastic members 43, 43 are arranged in the dorsal expansion / contraction region X1 along the curved portions 39a, 39b of the dorsal extending portion 39 so that at least a part thereof draws a curve along the circumference of the wearer's legs. Has been done.
  • the dorsal expansion / contraction region X1 can be expanded / contracted by arranging the leg elastic members 43, 43 in an extended state.
  • the leg elastic members 43, 43 are composed of a plurality of thread-like or band-shaped elastic members.
  • the outer ends 43a, 43a of the leg elastic members 43, 43 are located and fixed on the side edges 39c, 39d of the dorsal extending portion 39.
  • the inner ends 43b, 43b, which are one ends of the leg elastic members 43, 43, are arranged closer to the ends 39e, 39f. These inner ends 43b and 43b are arranged so as not to reach the central region 5A of the absorbent body 2 (absorbent body 5), but to reach the side region 5B adjacent to the central region 5A.
  • the inner ends 43b, 43b are fixed by the dorsal first fixing portions 70, 70 formed at least in the side regions 5B and 5B.
  • the outer body is divided into the ventral outer body 3A and the dorsal outer body 3B, and the inseam C is an absorbent main body using a thin absorbent sheet 51. Since 2 is arranged, the wearer can easily move his / her legs and the fit is good. Further, the back side exterior body 3B is formed with a back side extension portion 39 extending downward from the lower end Sa of the side seal portion S and having a back side expansion / contraction region X1 that can be expanded / contracted along the lateral direction Y. Therefore, along with the fit around the buttocks, the appearance when worn becomes like underwear, and exhibits an excellent appearance.
  • the dorsal expansion / contraction region X1 can be expanded / contracted by the leg elastic member 43, the feeling of stiffness of the dorsal extension 39 at the inseam C can be further reduced, so that the wearer's comfort is improved and the wearing state is improved. It looks like underwear and has an excellent appearance. Further, since the leg elastic member 43 is not arranged in the central region 5A of the absorber 5, the contraction action on the central region 5A can be reduced, so that the deformation of the absorber 5 (absorbent sheet 51) in the central region 5A is suppressed. It is preferable in that it does. In the following description, the dorsal expansion / contraction area X1 is also referred to as “dorsal first expansion / contraction area X1”.
  • the elastic member 42 extends at the time of mounting. At that time, the pulling force acts on the side region 5B of the absorber 5. Due to this, the occurrence of wrinkles and wrinkles in the lateral direction Y of the absorber 5 can be prevented more effectively.
  • the dorsal stretchable region X1 can be stretched and contracted by the leg elastic member 43, and at least a part thereof is arranged so as to draw a curve along the circumference of the wearer's leg. As a result, the feeling of stiffness of the dorsal extending portion 39 in the inseam C can be reduced. As a result, the appearance of the diaper 1 when worn becomes like underwear, and the diaper 1 exhibits an excellent appearance.
  • the leg elastic members 43 and 43 are not arranged in the central region 5A of the absorber 5, but when the leg elastic members 43 and 43 are arranged up to the central region 5A, elasticity is not exhibited. It is preferable to arrange in such a manner. Even in that case, fixing the inner ends 43b and 43b by the dorsal first fixing portions 70 and 70 formed in the side regions 5B and 5B is possible even in the thin absorber 5 in the lateral direction Y. It is advantageous in that it can effectively prevent the occurrence of wrinkles and wrinkles.
  • the dorsal first expansion / contraction region X1 formed by the leg elastic members 43, 43 does not overlap with the central region 5A of the absorber 5 in the lateral direction Y. Moreover, it overlaps with the side regions 5B and 5B adjacent to the central region 5A. Further, the dorsal first fixing portion 70, which is a fixing portion of the leg elastic member 43, and the dorsal second fixing portion 71, which is a fixing portion of the elastic member 42, are arranged apart from each other in the vertical direction X.
  • the total area of both fixing portions is narrowed as compared with the case where the dorsal first fixing portion 70 and the dorsal second fixing portion 71 are integrated. Since the dorsal first fixing portion 70 and the dorsal second fixing portion 71 generally have an adhesive, their rigidity tends to be high, but the rigidity is increased by narrowing the total area of both fixing portions. It is possible to reduce the pulling force of the leg elastic member 43, which effectively acts on the central region 5A of the absorber 5.
  • the dorsal exterior body 3B and the absorbent main body 2 are fixed by the main body fixing portion 73 as shown in FIGS. 2, 3 and 5.
  • the main body fixing portion 73 is arranged so as to overlap the dorsal first fixing portion 70 in the plan view of the diaper 1.
  • the absorbent body 2 is a liquid-permeable surface sheet 10 arranged at a position relatively close to the wearer's skin, and is arranged at a position relatively far from the wearer's skin. It is composed of a liquid-impermeable or liquid-impermeable or water-repellent (that is, leak-proof) back surface sheet 11 and an absorber 5 interposed between the front surface sheet 10 and the back surface sheet 11.
  • the absorber 5 includes an absorbent sheet 51 and an auxiliary layer 52, and a core wrap sheet (not shown) that covers the outer surfaces of the absorbent sheet 51 and the auxiliary layer 52.
  • These members constituting the absorbent main body 2 are integrated by a known joining method such as an adhesive. As these members constituting the absorbent main body 2, those normally used in this type of absorbent article may be used without particular limitation on the premise that the members are in accordance with the description described later. it can.
  • the surface sheet 10 crosses the skin-facing surface side of the absorber 5 (a pair of standing portions 50 and a non-standing portion 53 described later) in the lateral direction Y, and both sides of the absorbent body 5 in the surface sheet 10 along the vertical direction X.
  • the extending portion 10E from the edge (a pair of standing portions 50, 50; the first expansion / contraction region) is wound around the non-skin facing surface side of the absorber 5.
  • the pair of extending portions 10E and 10E of the surface sheet 10 are formed by the absorber 5 and the leak-proof cuff forming sheet 80 described later at the base end portion 81 of the leak-proof cuff 8 described later, respectively. It is fixed in between.
  • the surface sheet 10 does not cover the entire non-skin facing surface of the absorber 5, and is located at the center of the non-skin facing surface of the absorber 5 in the lateral direction Y (between the pair of base end portions 81, 81). The portion) is not covered with the surface sheet 10 (extending portion 10E).
  • a pair of leakage-proof cuffs 8 and 8 extending in the vertical direction X and a pair of main body firsts are provided on both sides of the absorbent main body 2 (absorbent body 5) along the vertical direction X.
  • 1 expansion and contraction areas 90 and 90 are arranged, respectively.
  • the pair of leak-proof cuffs 8 and 8 and the pair of main body first expansion / contraction areas 90 and 90 are arranged so as not to overlap the central area 5A in the lateral direction but to overlap the side area 5B adjacent to the central area 5A.
  • the first expansion / contraction area 90, 90 of the main body is arranged outside the pair of leakage-proof cuffs 8, 8 in the lateral direction Y.
  • the main body first expansion / contraction regions 90 and 90 include a plurality of leg-surrounding elastic members 91 extending in the vertical direction X.
  • the leg circumference elastic member 91 is included in the seat 92 in an extended state so as to extend in the vertical direction X through the crotch portion C.
  • the sheet 92 is joined to the absorber 5 side via an adhesive member 86.
  • the first expansion and contraction areas 90 and 90 of the main body can be expanded and contracted by arranging the elastic members 91 and 91 around the legs in an extended state.
  • the leg-surrounding elastic members 91 and 91 are composed of a plurality of thread-like or band-shaped elastic members.
  • leg gather LG is also formed on the left and right portions arranged around the legs of the wearer, that is, both sides of the diaper 1 in the vertical direction X. It is made to be formed. As shown in FIG. 2, these plurality of elastic members around the legs are arranged so that one end 91a side is located in the dorsal first expansion and contraction area X1 and the other end 91b is located in the ventral first expansion and contraction area X2. Has been done.
  • the total length of the elastic member 91 around the leg along the vertical direction X is such that one end 91a is located in the dorsal first expansion / contraction region X1 and the other end 91b is located in the ventral first expansion / contraction region X2 in the extended state.
  • the leg-surrounding elastic member 91 is arranged so that one end 91a does not overlap with the dorsal second expansion / contraction region (X3).
  • one end 91a is arranged so as to overlap the inner ends 43b, 43b of the leg elastic members 43, 43 in the dorsal first expansion / contraction region X1.
  • the main body first expansion / contraction areas 90 and 90 do not overlap with the dorsal second expansion / contraction area X3, but overlap with the ventral first expansion / contraction area X2.
  • the absorbent body 2 is integrated with the ventral exterior 3A and the dorsal exterior 3B by fixing the sheet 92 to the ventral exterior 3A and the dorsal exterior 3B by the body fixing portions 72 and 73. Will be done.
  • the main body first expansion / contraction area 90 and the dorsal first expansion / contraction area X1 included in the absorbent main body 2 overlap each other in the plan view of the diaper 1.
  • the inner ends 43b, 43b of the leg elastic members 43, 43 and the ends 91a, 91a of the leg elastic members 91, 91 are overlapped and fixed. Therefore, when the first elastic region X1 on the dorsal side is extended and the leg elastic members 43 and 43 are extended when the diaper 1 is worn, the leg elastic members 91 and 91 are also extended outward in the vertical direction X in conjunction with the extension. ..
  • the tensile force of the leg elastic members 43, 43 and the leg elastic members 91, 91 is applied to the lateral regions 5B and 5B of the absorber 5 on which they overlap, in the lateral and longitudinal directions on the back side. Since it acts on the outside of X, even a thin absorber 5 can effectively prevent wrinkles and wrinkles that occur in both the vertical direction X and the horizontal direction Y.
  • the first expansion / contraction region 90 of the main body does not overlap with the second expansion / contraction region X3 on the back side having a plurality of elastic members 42, a force applied in the vertical direction X is applied particularly on the back side of the thin absorbent sheet 51. It can be suppressed moderately. As a result, the absorbent sheet 51 is less likely to wrinkle or wrinkle in the vicinity of the buttocks, and has the effect of obtaining a good fit and a wearing appearance.
  • the ventral first expansion / contraction area X2 provided on the ventral exterior body 3A and the main body first expansion / contraction area 90 overlap.
  • the elastic member 42 of the ventral first expansion / contraction region X2 and the other ends 91b, 91b of the leg circumference elastic members 91, 91 are fixed in the ventral exterior body 3A in an overlapping state. Due to this, when the first elastic region X2 on the ventral side is extended and the plurality of elastic members 42 are extended when the diaper 1 is worn, the elastic members 91 and 91 around the legs are also outside the vertical direction X in conjunction with the extension. It is stretched toward you.
  • the tensile force of the elastic members 42 and the elastic members 91 and 91 around the legs acts on the lateral regions 5B and 5B of the absorber 5, which is the region where both elastic members overlap, in the lateral direction Y and the longitudinal direction X. To do.
  • the absorbent sheet 51 is thin, it is possible to effectively prevent wrinkles and wrinkles that occur in both the vertical direction X and the horizontal direction Y.
  • the leak-proof cuff 8 has a base end portion 81 in which the leak-proof cuff forming sheet 80 is fixed to another member, and an upright portion 82 in which the sheet 80 stands up on the wearer side.
  • the base end portion 81 is a portion that serves as a standing base end when the standing portion 82 stands up toward the wearer's skin side when the diaper 1 is worn.
  • the leak-proof cuff forming sheet 80 is fixed to another member, for example, the back surface sheet 11 by an adhesive such as hot melt or a known fixing method such as heat fusion.
  • An elastic member 83 for forming a leak-proof cuff is arranged so as to extend in the vertical direction X at the free end portion of the standing portion 82 (the portion closest to the wearer's skin when the standing portion 82 stands up).
  • the leak-proof cuff forming elastic member 83 is fixed between the leak-proof cuff forming sheets 80 and 80 forming a two-layer structure in an elongated state by a fixing method such as an adhesive.
  • the number of elastic members 83 is not particularly limited, and may be one or a plurality of elastic members 83.
  • the upright portion 82 When the diaper 1 is worn, the upright portion 82 stands up toward the wearer's skin side with the base end portion 81 as the upright base end due to the contraction force of the elastic member 83 for forming the leak-proof cuff.
  • the upright standing portion 82 blocks the outward movement of body fluid such as urine excreted by the wearer in the lateral direction Y, so that the side of the absorber 5 described later In combination with the effect of blocking the body fluid by the pair of standing portions 50, 50 on both sides in the direction Y, lateral leakage is effectively suppressed.
  • the central region 5A of the absorbent body 2 in the vertical direction X is projected toward the non-skin facing surface side (back surface sheet 11 side) due to the contraction force of the elastic member 83 for forming the leak-proof cuff. Since the entire diaper 1 is curved and deformed so as to be, the diaper 1 can easily fit the wearer's body shape. Further, since the upright portion 82 extends outward in the vertical direction X beyond the dorsal end portion 52d located on the dorsal side of the auxiliary layer 52, the upright portion 82 can be reliably erected, which is preferable. ..
  • the absorber 5 is located at least in the inseam C, with the central region 5A in the lateral direction Y of the absorber 5 in between, and both side regions 5B and 5B, and is located on the skin side of the wearer when worn. It has a pair of standing portions 50, 50 that stand up toward each other, and a non-standing portion 53 that is located in the central region 5A and is sandwiched between the pair of standing portions 50, 50. Specifically, as shown in FIGS. 4 and 5, both side edges of the absorber 5 along the vertical direction X or its vicinity (specifically, within 15 mm from the side edges of the absorber 5 along the vertical direction X). A side elastic member 9 for erecting the upright portion 50 is arranged in the region).
  • the side elastic member 9 is arranged between the surface sheet 10 and the absorbent sheet 51. That is, the absorbent body 2 is formed with a pair of standing portions 50, 50 extending in the vertical direction X on both sides of the absorbent body 5. The standing portions 50, 50 extend outward in the vertical direction X beyond the dorsal end portion 52d of the auxiliary layer 52.
  • the side elastic member 9 is arranged between the absorbent sheet 51 and the surface sheet 10 in a state of being extended in the vertical direction X, and is at least on the absorbent sheet 51 and further on the surface sheet 10, such as an adhesive. It is fixed by a known fixing method of.
  • the side elastic members 9 are arranged at least in the lower crotch C, and may be one or a plurality of side elastic members 9 as shown in the drawing.
  • the upright portion 50 and the upright portion 82 do not necessarily have to exceed the dorsal end portion 52d of the auxiliary layer 52, and if they extend at least to the vicinity of the dorsal end portion 52d, the upright portion 50 and the upright portion 82 Can be fully launched.
  • the term "neighborhood" as used herein means that the edge position of the standing portion 50 (the edge position of the side elastic member 9) and the edge position of the standing portion 82 (the edge position of the elastic member 83) in the vertical direction X are on the dorsal side. Based on the fact that the end portion 52d and the vertical direction X coincide with each other, it is within the design allowable range in the vertical direction X.
  • neighborehood refers to a range of up to ⁇ 35 mm for the upright portion 50 and up to ⁇ 10 mm for the upright portion 82 when the dorsal end portion 52d is set as a reference position in the vertical direction.
  • the side elastic members 9 are fixed to both sides of the absorber 5 in the lateral direction Y in an extended state, so that when the diaper 1 is worn, both sides of the absorber 5 in the lateral direction Y are fixed. Due to the contraction of the side elastic member 9, the portion stands up as a pair of standing portions 50, 50 toward the skin side of the wearer. At this time, in the cross-sectional view along the lateral direction Y, the absorber 5 has a non-standing portion 53 as a bottom and a pair of standing portions 50, 50 extending diagonally from the bottom toward the skin side of the wearer as side portions. Make a tray shape.
  • the elastic member and the elastic region having the elastic function equipped in the diaper 1 and the side regions 5B and 5B of the thin absorber 5 are connected via the fixed portion. .. Therefore, if each elastic member or elastic region is elastically deformed when the diaper 1 is worn, the deformation is transmitted to the side regions 5B and 5B of the absorber 5. As a result, a pulling force acts on the side regions 5B and 5B of the absorber 5 in the pulling direction (for example, outward in the lateral direction Y), so that the absorber 5 is extended in the pulling direction. Due to this, the occurrence of wrinkles and wrinkles of the absorber 5 at the time of mounting can be effectively prevented.
  • various known elastic materials usually used for this kind of absorbent article can be used without particular limitation as materials for various elastic members in the diaper 1, including the side elastic member 9.
  • examples thereof include synthetic rubbers such as styrene-butadiene, butadiene, isoprene and neoprene, natural rubbers, EVA, elastic polyolefins and polyurethanes.
  • a thread-like (thread rubber, etc.) or string-like (flat rubber, etc.) having a rectangular, square, circular, polygonal cross section, or a multifilament type thread-like member is preferably used. it can.
  • the absorber 5 has a rectangular shape in a plan view, and is arranged in the center region 5A of the absorber 5 by being arranged in the center of the absorbent sheet 51 in the horizontal direction Y so that the long side is along the vertical direction X. Has been done.
  • the auxiliary layer 52 is arranged in a region where the dorsal expansion / contraction region X1 and the absorber 5 overlap in the horizontal direction Y when the diaper 1 is viewed along the vertical direction X.
  • the absorber 5 has a multi-layer structure in which the central region 5A is a laminate of the absorbent sheet 51 and the auxiliary layer 52, and the lateral regions 5B and 5B adjacent to the central region 5A are single absorbent sheets 51 alone. It has a layered structure.
  • the auxiliary layer 52 has the same thickness and the same density (basis weight) in the vertical direction X and the horizontal direction Y. Therefore, the central region 5A of the absorber 5 has higher rigidity than the lateral regions 5B and 5B. Further, when the auxiliary layer 52 is arranged in the central region 5A (non-standing portion 53) in the lateral direction Y, the bending starting point when the pair of standing portions 50 stand up is located in the lateral direction Y of the auxiliary layer 52.
  • the pair of standing portions 50 are lifted at the inseam C during mounting, and the standing operation can be performed more reliably, so that the fit is improved. Further, when the pair of standing portions 50 extends beyond the dorsal end portion 52d located on the dorsal exterior body 3B side of the auxiliary layer 52, the standing portions 50 are lifted and stand up at the lower crotch C. The fit is improved because the operation can be performed more reliably.
  • the length of the dorsal extending portion 39 in the lateral direction becomes shorter as it goes downward, so that the dorsal extending portion 39 in the inseam C feels stiff. Can be reduced. As a result, the comfort of the wearer is improved, the fit is further improved, and the appearance in the worn state becomes like underwear, and the appearance is excellent.
  • the auxiliary layer 52 is preferably composed of a mixed product fiber containing at least a water-absorbent natural fiber and an absorbent polymer.
  • the mixed fiber may consist of, for example, only water-absorbent natural fibers and absorbent polymers, or may contain other materials, such as synthetic fibers, in addition to the water-absorbent natural fibers and absorbent polymers.
  • the length of the auxiliary layer 52 in the vertical direction X will be described.
  • the length L of the auxiliary layer 52 from the dorsal end 52d to the ventral end 52c on the opposite side in the vertical direction is from the end 52a located in the horizontal direction Y to the end. It is formed longer than the length L1 up to 52b.
  • the dorsal end 52d is located substantially in the center of the dorsal expansion / contraction region X1 of the dorsal extension 39 in the vertical direction X, and the ventral end 52c is near the vertical center line CLx. It is arranged on the absorbent sheet 51 so as to be located.
  • auxiliary layer 52 is arranged closer to the dorsal exterior body 3B in this way, the rigidity of the absorber 5 in particular of the wearer, especially in the vicinity of the buttocks and intergluteal cleft, is increased, and wrinkles and wrinkles are generated in these parts. It is preferable because it can be effectively prevented.
  • the auxiliary layer 52 As another arrangement of the auxiliary layer 52, from the viewpoint of further increasing the rigidity on the buttocks side, for example, as shown in FIG. 8, the lower end Sa and the dorsal side of the side seal portion S which is the start position of the dorsal expansion / contraction region X1.
  • the ends 52d may be aligned and arranged.
  • the length L (total length) of the auxiliary layer 52 is preferably at least the length of the dorsal expansion / contraction region X1 or more.
  • the auxiliary layer 152 shown in the figure is arranged in the central region 5A in the lateral direction Y of the absorbent sheet 51.
  • the auxiliary layer 152 has a substantially rectangular shape extending from the dorsal exterior body 3B to the ventral exterior body 3A, and a widening portion 153 is formed on the ventral end portion 152c side.
  • the dorsal end portion 152d located on the dorsal side of the auxiliary layer 152 overlaps the dorsal expansion / contraction area X1 of the dorsal exterior body 3B, and the widening portion 153 expands / contracts around the abdomen of the ventral exterior body 3A.
  • the end faces 152a and 152b of the auxiliary layer 152 other than the widening portion 153 extend in the vertical direction X in a plan view, and the widths of the end faces 152a and 152b substantially coincide with the width L1 of the dorsal end portion 152d.
  • the widening portion 153 is a portion where the length in the lateral direction Y increases from the dorsal exterior body 3B toward the ventral exterior body 3A, and the width L2 is formed longer than the width L1 of the dorsal end portion 152d. Has been done.
  • the widening portion 153 is formed with end faces 153a and 153b located in the lateral direction Y as inclined surfaces so that the length in the lateral direction Y continuously increases for the purpose of following the outer shape of the leg when mounted. There is.
  • This inclined portion is arranged so as to overlap the lower end edge 3Aa of the ventral exterior body 3A in a plan view.
  • the widening portion 153 may be in a form in which the length in the lateral direction Y is not continuously increased, but may be in a form in which the length is gradually increased.
  • the lower end edge 3Aa of the ventral exterior body 3A is arranged so as to overlap the widening portion 153.
  • the auxiliary layer 152 has a length extending from the dorsal exterior body 3B to the ventral exterior body 3A because the rigidity of the absorber 5 in the entire vertical direction X of the inseam C can be increased. Further, since the widening portion 153 formed so that the length in the lateral direction Y continuously increases is arranged on the ventral exterior body 3A side, the liquid absorption capacity of the absorber 5 on the ventral side can be secured. Therefore, it is preferable. Since the widening portion 153 has end faces 153a and 153b inclined so as to overlap the lower end edge 3Aa of the ventral exterior body 3A, the widening portion 153 deforms along the circumference of the wearer's leg when the diaper is worn.
  • the fit at the time of wearing is improved and the wearer can easily move the foot.
  • the auxiliary layer 152 overlaps with the dorsal expansion / contraction area X1 of the dorsal exterior body 3B in a plan view, and the widening portion 153 overlaps with the waist circumference expansion / contraction area X2 of the ventral exterior body 3A. It is preferable because the fit of the is further improved.
  • the auxiliary layer 52 has the same thickness and the same density (basis weight) in the vertical direction X and the horizontal direction Y, but extends in the vertical direction X as shown in FIG.
  • the auxiliary layer 52 may have a low-rigidity portion 521 having a lower rigidity than the other portions.
  • the low-rigidity portion 521 is a groove-shaped recess recessed from the auxiliary layer 52 toward the absorbent sheet 51, extends along the vertical direction X in the central region of the absorber 5, and is arranged in the horizontal direction Y. It is a formed multi-row low-rigidity part.
  • the low-rigidity portion 521 is not limited to the multi-row form, and may be, for example, a single low-rigidity portion composed of one low-rigidity portion 521.
  • the portion overlapping the groove-shaped recess in a plan view has a lower basis weight than the periphery, that is, the mass (basis weight) per unit area of the forming material is smaller than the periphery, and the portion has a low rigidity. It is said to be 521.
  • One end 521a of the low-rigidity portion 521 located on the ventral exterior body 3A side extends beyond the lower end edge 3Aa of the ventral exterior body 3A to a position where it overlaps with the gathered BG around the waist.
  • the other end 521b of the low-rigidity portion 521 located on the back side exterior body 3B side does not reach the back side exterior body 3B.
  • the low-rigidity portion 521 When the low-rigidity portion 521 is partially formed on the auxiliary layer 52 in this way, the number of the low-rigidity portions 521, the length in the vertical direction X, and the length (width) in the horizontal direction Y can be adjusted. It is preferable because the rigidity of the auxiliary layer 52 and the rigidity of the absorber 5 can be easily adjusted. Further, when the low-rigidity portion 521 is formed as a groove-shaped recess, it is located on the side that comes into contact with the wearer's skin at the time of wearing, and thus can function as a liquid conduction flow path, which is more preferable.
  • the leg elastic members 43 and 43 are arranged in the dorsal elastic region X1 of the dorsal exterior body 3B, but the configurations other than the leg elastic members 43 and 43 described in the above embodiment are described.
  • the configuration of the dorsal exterior body is different from that of the above-described embodiment.
  • the configuration of the elastic member provided in the dorsal telescopic region X1 of the dorsal extending portion 39 is different from that of the conventional embodiments.
  • the elastic member 47 is an elastic member arranged in a linearly extended state along the lateral direction Y, and the dorsal exterior body can be expanded and contracted in the lateral direction Y.
  • the elastic member 47 is a plurality of thread-like or strip-shaped elastic members arranged between the outer layer sheet 32 and the inner layer sheet 34 in an extended state.
  • the elastic members 47 extend in the horizontal direction Y and are arranged on the dorsal exterior body 3B intermittently in the vertical direction X. Therefore, on the back side exterior body, gathers similar to the waist circumference gather BG by the elastic member 41 are formed on the back side extending portion 39.
  • the elastic member 47 is not arranged in the central region of the absorber 5, and is laterally divided into Y with the absorber 5 as a boundary. According to the diaper 1A having such a configuration, the same action and effect as that of the diaper 1 of the embodiments described above can be obtained.
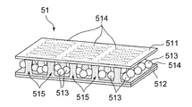
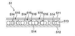
  • the absorbent sheet 51 is a thin absorbent sheet including a first fiber sheet 511, a second fiber sheet 512, and a plurality of particles of the absorbent polymer 513 arranged between both sheets 511 and 512. Is. Both sheets 511 and 512 are joined to each other by an adhesive 514. In the illustrated form, the adhesive 514 is arranged on the inner surface of each of the sheets 511 and 512 (the surface facing the absorbent polymer 513). The plurality of particles of the absorbent polymer 513 are arranged in a certain unit in the plane direction of the absorbent sheet 51, and form an arrangement region of the absorbent polymer 513.
  • the absorbent polymer 513 is arranged in such a manner that no gap that can be visually recognized macroscopically is observed.
  • no gaps that can be visually recognized macroscopically are observed means that the absorbent polymer 513 is arranged so as to evenly cover one surface of the fiber sheet, but the region is microscopically viewed. In this case, it is permissible that voids between the absorbent polymers 513 are unintentionally formed. This void is about 10 to 1000 ⁇ m.
  • the voids between the absorptive polymers 513 that are microscopically observed in the arrangement region of the absorptive polymer 513 are also referred to as "microscopic voids".
  • the first fiber sheet 511 and the second fiber sheet 512 are directly bonded by the adhesive 514 without the intervention of the absorbent polymer 513 (hereinafter, this is simply referred to as “this". It also has a "direct bonding site") 515.
  • the direct joining site 515 is formed in each of the above-mentioned microscopic voids.
  • the adhesive 514 becomes a columnar shape and both sheets 511 and 512 are directly bonded to each other.
  • a plurality of direct joining portions 515 are formed in a regular or irregular scattered spot shape when the absorbent sheet 51 is viewed in the sheet plane direction.
  • the absorbent polymer 513 can be sufficiently exhibited in liquid absorbency while being held at a predetermined position on the absorbent sheet 51.
  • the direct bonding portion 515 can be formed, for example, by appropriately adjusting the basis weight and particle size of the absorbent polymer 513, or the coating amount and area of the adhesive 514.
  • the absorbent sheet 51 in addition to the direct bonding portion 515, the sites where both sheets 511 and 512 are bonded by the adhesive 514 via the absorbent polymer 513 (hereinafter, this is referred to as this). It is also referred to as an "indirect joint site"). It is preferable to have 516.
  • the application site of the adhesive 514 in the first fiber sheet 511, the presence site of the absorbent polymer 513, and the application site of the adhesive 514 in the second fiber sheet 512 overlap in the thickness direction. There is.
  • the absorbent polymer 513 can be held in a predetermined position on the absorbent sheet 51, the unintended movement or uneven distribution of the absorbent polymer 513 can be further reduced, and the absorbent sheet can be further reduced.
  • the liquid absorbency of 51 can be further enhanced.
  • an adhesive having flexibility that can be stretched according to the swelling change accompanying the liquid absorption of the absorbent polymer 513 examples include (co) polymers of vinyl monomers such as 2-ethylhexyl acrylate, butyl acrylate, ethyl acrylate, cyanoacrylate, vinyl acetate, and methyl methacrylate (ethylene vinyl acetate copolymer and the like). ) Etc., acrylic adhesive containing one or more, silicone-based adhesive containing polydimethylsiloxane polymer polymer, etc., and natural rubber-based adhesive containing natural rubber, polyisoprene, chloroprene, etc.
  • Isoprene-based adhesive styrene-butadiene copolymer (SBR), styrene-isoprene-styrene block copolymer (SIS), styrene-butadiene-styrene block copolymer (SBS), styrene-ethylene-butadiene-styrene block Examples thereof include rubber-based adhesives such as styrene-based adhesives containing one or more polymers (SEBS) and styrene-ethylene-propylene-styrene block copolymers (SEPS). These may be used alone or in combination of two or more. As shown in FIG.
  • the adhesive 514 when the adhesive 514 is arranged on the facing surface (inner surface) of each of the sheets 511 and 512 with the absorbent polymer 513, the adhesive 514 arranged on the first fiber sheet 511. And the adhesive 514 arranged on the second fiber sheet 512 may be the same type or different types.
  • both sheets 511 are excellent in flexibility and elasticity, and both sheets 511 and 512 are maintained in a directly bonded state even after the swelling of the absorbent polymer 513, and contraction force is exhibited to develop both sheets 511.
  • a rubber-based adhesive as the adhesive 514, and it is more preferable to use a styrene-based adhesive among the rubber-based adhesives.
  • the adhesive 514 is preferably a hot melt adhesive from the viewpoint of achieving both the flexibility of the adhesive and the adhesiveness to the sheet.
  • the hot melt adhesive include the above-mentioned various adhesives, tackifiers such as petroleum resin and polyterpene resin, plasticizers such as paraffin oil, and, if necessary, phenol-based, amine-based, and phosphorus-based adhesives. It may contain an antioxidant such as a benzimidazole type.
  • the adhesive 514 present at the direct bonding portion 515 provides an appropriate bonding force between the fiber sheets 511 and 512 to the extent that the absorbent polymer 513 does not move or fall off. It can be expressed and the absorbent polymer 513 carried in place between the fiber sheets 511 and 512. Further, since the absorbent polymer 513 exhibits an appropriate bonding force to the extent that it can sufficiently swell, the liquid absorbability of the absorbent polymer 513 can be sufficiently exhibited.
  • the adhesive 514 since the adhesive 514 has elasticity, the extension of the adhesive 514 present at the direct bonding site 515 due to the swelling of the absorbent polymer 513 and the accompanying adhesion The force balance with the contraction of the agent 514 is likely to occur, and the bonding force capable of both supporting the absorbent polymer 513 at an appropriate position and securing a space in which the absorbent polymer 513 can swell is efficiently developed. be able to. As a result, the liquid absorbency of the absorbent sheet 51 is further improved.
  • the adhesive 514 is preferably applied to the inner surface of each of the sheets 511 and 512, that is, the surface facing the absorbent polymer 513.
  • the adhesives 514 applied to both sheets 511 and 512 are bonded to each other to efficiently form the direct bonding portion 515 on the absorbent sheet 51, and the absorbent polymer 513 is supported at an appropriate position. And the securing of the space in which the absorbent polymer 513 can swell can be achieved at the same time.
  • the adhesive 514 can easily exist in the gap between the fibers constituting both sheets 511 and 512, peeling at the interface between both sheets 511 and 512 and the adhesive 514 is unlikely to occur. There is also the advantage of becoming.
  • the first fiber sheet 511 is bonded to the second fiber sheet 512.
  • the adhesive 514 is discontinuously applied to the region so as to have a non-coated portion, and the adhesive 514 is spread over the entire area of the joint region of the second fiber sheet 512 with the first fiber sheet 511 without any gap. It is preferably applied continuously.
  • the liquid receiving surface which is the surface where the absorbent sheet 51 and the liquid first come into contact with each other, is the non-existent surface of the adhesive 514 in the first fiber sheet 511, that is, the outer surface of the absorbent sheet 51 on the first fiber sheet 511 side. It is also preferable to use it as a surface.
  • the bonding region is a region in which the absorbent polymer 513 is arranged in such a manner that no gaps that can be visually recognized macroscopically are observed.
  • Examples of the form in which the adhesive 514 is applied discontinuously so as to have a non-applied portion in the first fiber sheet 511 include a spiral shape, a summit shape, an omega shape, a curtain shape, and a striped shape.
  • the adhesive 514 applied to the first fiber sheet 511 has a spiral shape.
  • the ratio of particles of the absorbent polymer 513 to the absorbent sheet 51 (hereinafter, also referred to as “SAP ratio”) is, for example, preferably 60% by mass or more, more preferably 70% by mass or more, and preferably 95% by mass. Hereinafter, it is more preferably 90% by mass or less. According to such an absorbent sheet 51, it can be made thin while maintaining the absorbent performance.
  • the SAP ratio is measured, for example, by the following method.
  • the absorbent sheet 51 is taken out from the diaper 1 in a certain area (for example, 9 cm 2 to 100 cm 2). In this case, care should be taken to cut out the absorbent sheet 51 only in a place where no gap between the absorbent polymers 513 that can be visually recognized macroscopically is observed.
  • the absorbent sheet 51 is decomposed using a solvent that dissolves the adhesive, and the two fiber sheets 511, 512 and the absorbent polymer 513 are separated.
  • the mass of the fiber sheets 511 and 512 and the mass of the absorbent polymer 513 are measured.
  • Calculate the SAP ratio from the following formula.
  • SAP ratio ((mass of absorbent polymer 513) / (mass of absorbent polymer 513 + mass of each fiber sheet 511 and 512)) ⁇ 100
  • the structure of the absorbent sheet may be other than the structure described as the absorbent sheet 51.
  • a sheet containing water-absorbent fibers that sandwich the sheets with pressure embossing instead of an adhesive may be used. Can be mentioned.
  • the dorsal extension 39 may be rectangular in plan view, as shown in FIG.
  • the absorber 5 may have a configuration in which the auxiliary layer 52 is not provided and the absorbent sheet 51 is provided.
  • the auxiliary layer 52 may be arranged over the entire region where the dorsal expansion / contraction region X1 and the absorber 5 overlap in the horizontal direction Y when the diaper 1 is viewed along the vertical direction X.
  • the present invention further discloses the following pants-type absorbent articles. ⁇ 1> These so as to bridge the ventral exterior body arranged on the ventral side of the wearer, the dorsal exterior body arranged on the back side of the wearer, and the ventral exterior body and the dorsal exterior body. It is provided with an absorbent main body fixed to the outer body of the body, has a vertical direction extending between the ventral outer body and the dorsal outer body, and a horizontal direction orthogonal to the vertical direction, and the ventral outer body.
  • a pants-type absorbent article having a side seal portion formed by joining the body and both side portions of the dorsal exterior body.
  • the absorbent body comprises an absorber having an absorbent sheet with two identical or different fiber sheets and absorbent polymer particles arranged between the fiber sheets.
  • the dorsal exterior body includes a dorsal extending portion extending downward from the side sealing portion.
  • the dorsal extension has a first dorsal stretchable area that extends along the lateral direction and is stretchable along the lateral direction. In a plan view of the absorbent article, the dorsal first stretchable region does not overlap the lateral central region of the absorber and overlaps the lateral region adjacent to the central region. Mold-absorbent article.
  • the dorsal first elastic region can be expanded and contracted by arranging the dorsal first elastic member extending in the lateral direction.
  • One end of the dorsal first elastic member is fixed by at least a dorsal first fixing portion formed in the side region adjacent to the central region of the absorber.
  • the dorsal exterior body has the dorsal exterior body and the absorbent body in the lateral direction.
  • the overlapping region has a dorsal second expansion / contraction region in which the dorsal second elastic member extending in the lateral direction is arranged.
  • the dorsal second elastic member is not arranged in the lateral central region of the absorber, or is arranged in such a manner that elasticity is not exhibited when the second elastic member is arranged.
  • the dorsal second elastic member has one end fixed by at least a dorsal second fixing portion formed in the side region adjacent to the central region of the absorber, said ⁇ 1.
  • the pants-type absorbent article described in. ⁇ 3> The pants-type absorbent article according to ⁇ 2>, wherein the dorsal first fixing portion and the dorsal second fixing portion are separated from each other in the vertical direction.
  • the dorsal exterior body and the absorbent body are fixed by a body fixing portion.
  • ⁇ 6> On both sides of the absorber, the main body first expansion / contraction area extending in the vertical direction is provided.
  • the absorbent body is provided with a body first stretchable region extending in the vertical direction on both sides of the absorbent body.
  • the pants-type absorbent article according to any one of ⁇ 2> to ⁇ 5>, wherein the first expansion / contraction area of the main body does not overlap with the second expansion / contraction area of the dorsal side.
  • the ventral exterior body comprises a ventral first stretchable region that is stretchable in the lateral direction.
  • the absorber comprises an auxiliary layer that overlaps the absorbent sheet.
  • the auxiliary layer is made of a mixed product fiber containing at least a water-absorbent natural fiber and an absorbent polymer.
  • It has a pair of leak-proof cuffs extending in the vertical direction on both sides of the absorbent body along the vertical direction.
  • the leak-proof cuff has an upright portion that stands up on the wearer side.
  • side elastic members for erecting the upright portion are arranged on or near both side edges of the absorber along the vertical direction.
  • the auxiliary layer has the widening portion at or near the lower end edge of the ventral exterior body, and the lateral length of the auxiliary layer is continuously increased at the widening portion.
  • the ventral exterior body comprises a ventral first stretchable region that is stretchable in the lateral direction.
  • the dorsal extending portion has a lateral width from one end to the other end wider than the lateral width of the absorbent body of ⁇ 1> to ⁇ 16>.
  • the pants-type absorbent article according to any one.
  • the absorbent body comprises a liquid permeable surface sheet located relatively close to the wearer's skin. The surface sheet traverses the skin-facing surface side of the absorber in the lateral direction, and the extending portions from both side edges of the surface sheet along the longitudinal direction of the absorber are non-skin-facing surfaces of the absorber.
  • the pants-type absorbent article according to any one of ⁇ 1> to ⁇ 17>, which is wrapped around the side.
  • the pants-type absorbent article according to 1. ⁇ 20> The pants-type absorbent article according to any one of ⁇ 1> to ⁇ 19>, wherein the central region of the absorber has a higher rigidity than the side region of the absorber.
  • auxiliary layer extends in the vertical direction and has a low-rigidity portion having a lower rigidity than other portions in the auxiliary layer.
  • the ratio of the particles of the absorbent polymer to the absorbent sheet is preferably 60% by mass or more, more preferably 70% by mass or more, preferably 95% by mass or less, and more preferably 90% by mass or less.
  • the pants-type absorbent article of the present invention deformation of the absorbent body is prevented without impairing the good fit of the thin absorbent body. Further, according to the pants-type absorbent article of the present invention, the wearer can easily move his / her feet. Further, according to the pants-type absorbent article of the present invention, the appearance in the worn state becomes like underwear, and the appearance is excellent.

Landscapes

  • Health & Medical Sciences (AREA)
  • Epidemiology (AREA)
  • Engineering & Computer Science (AREA)
  • Biomedical Technology (AREA)
  • Heart & Thoracic Surgery (AREA)
  • Vascular Medicine (AREA)
  • Life Sciences & Earth Sciences (AREA)
  • Animal Behavior & Ethology (AREA)
  • General Health & Medical Sciences (AREA)
  • Public Health (AREA)
  • Veterinary Medicine (AREA)
  • Absorbent Articles And Supports Therefor (AREA)
PCT/JP2020/048065 2019-12-26 2020-12-23 パンツ型吸収性物品 Ceased WO2021132293A1 (ja)

Priority Applications (2)

Application Number Priority Date Filing Date Title
CN202080089970.7A CN114929173A (zh) 2019-12-26 2020-12-23 短裤型吸收性物品
CN202310843240.7A CN116747079A (zh) 2019-12-26 2020-12-23 短裤型吸收性物品

Applications Claiming Priority (2)

Application Number Priority Date Filing Date Title
JP2019236119A JP7377705B2 (ja) 2019-12-26 2019-12-26 パンツ型吸収性物品
JP2019-236119 2019-12-26

Publications (1)

Publication Number Publication Date
WO2021132293A1 true WO2021132293A1 (ja) 2021-07-01

Family

ID=76573287

Family Applications (1)

Application Number Title Priority Date Filing Date
PCT/JP2020/048065 Ceased WO2021132293A1 (ja) 2019-12-26 2020-12-23 パンツ型吸収性物品

Country Status (3)

Country Link
JP (1) JP7377705B2 (enExample)
CN (2) CN114929173A (enExample)
WO (1) WO2021132293A1 (enExample)

Cited By (1)

* Cited by examiner, † Cited by third party
Publication number Priority date Publication date Assignee Title
CN116531177A (zh) * 2022-02-03 2023-08-04 王子控股株式会社 吸收性物品

Families Citing this family (2)

* Cited by examiner, † Cited by third party
Publication number Priority date Publication date Assignee Title
JP7761463B2 (ja) * 2021-11-19 2025-10-28 花王株式会社 吸収性物品
JP7760445B2 (ja) * 2022-06-07 2025-10-27 花王株式会社 パンツ型吸収性物品

Citations (5)

* Cited by examiner, † Cited by third party
Publication number Priority date Publication date Assignee Title
JP2008036198A (ja) * 2006-08-08 2008-02-21 Kao Corp パンツ型使い捨ておむつ
JP2015073844A (ja) * 2013-10-11 2015-04-20 花王株式会社 吸収性パッド
JP2016067433A (ja) * 2014-09-26 2016-05-09 大王製紙株式会社 パンツタイプ使い捨ておむつ
JP2018068818A (ja) * 2016-11-01 2018-05-10 花王株式会社 パンツ型使い捨ておむつ
JP2019084042A (ja) * 2017-11-07 2019-06-06 ユニ・チャーム株式会社 吸収性物品

Family Cites Families (8)

* Cited by examiner, † Cited by third party
Publication number Priority date Publication date Assignee Title
JP5614899B2 (ja) * 2012-11-22 2014-10-29 花王株式会社 パンツ型吸収性物品
JP6086398B2 (ja) * 2014-09-26 2017-03-01 大王製紙株式会社 吸収性物品
JP6674205B2 (ja) * 2014-10-20 2020-04-01 花王株式会社 パンツ型使い捨ておむつ
JP6453051B2 (ja) * 2014-11-10 2019-01-16 花王株式会社 パンツ型吸収性物品
CN205379413U (zh) * 2016-01-08 2016-07-13 福建恒安集团有限公司 一种一次性吸收物品
JP6224782B1 (ja) * 2016-07-28 2017-11-01 花王株式会社 パンツ型吸収性物品
JP2018094217A (ja) * 2016-12-15 2018-06-21 花王株式会社 パンツ型使い捨ておむつ
JP6941518B2 (ja) * 2016-12-28 2021-09-29 花王株式会社 吸収性物品

Patent Citations (5)

* Cited by examiner, † Cited by third party
Publication number Priority date Publication date Assignee Title
JP2008036198A (ja) * 2006-08-08 2008-02-21 Kao Corp パンツ型使い捨ておむつ
JP2015073844A (ja) * 2013-10-11 2015-04-20 花王株式会社 吸収性パッド
JP2016067433A (ja) * 2014-09-26 2016-05-09 大王製紙株式会社 パンツタイプ使い捨ておむつ
JP2018068818A (ja) * 2016-11-01 2018-05-10 花王株式会社 パンツ型使い捨ておむつ
JP2019084042A (ja) * 2017-11-07 2019-06-06 ユニ・チャーム株式会社 吸収性物品

Cited By (1)

* Cited by examiner, † Cited by third party
Publication number Priority date Publication date Assignee Title
CN116531177A (zh) * 2022-02-03 2023-08-04 王子控股株式会社 吸收性物品

Also Published As

Publication number Publication date
JP2021104151A (ja) 2021-07-26
JP7377705B2 (ja) 2023-11-10
CN116747079A (zh) 2023-09-15
CN114929173A (zh) 2022-08-19

Similar Documents

Publication Publication Date Title
CN103237533B (zh) 一次性尿布及其制造方法
RU2740882C1 (ru) Одноразовый подгузник
CN104379107B (zh) 吸收性物品及制造吸收性物品的方法
JP2017148111A (ja) パンツ型吸収性物品
JP6467213B2 (ja) 使い捨て着用物品
WO2021132293A1 (ja) パンツ型吸収性物品
JP2014233501A (ja) 使い捨て着用物品
JP5916345B2 (ja) 使い捨て吸収性物品
JP6172885B2 (ja) 褥瘡予防の手段を有する使い捨ておむつ
CN107847371B (zh) 吸收性物品
JP2021159509A (ja) パンツ型吸収性物品
JP2002291799A (ja) 吸収性物品
JP7377704B2 (ja) パンツ型吸収性物品
JPWO2013094726A1 (ja) 使い捨て着用物品
JP6164083B2 (ja) 使い捨ておむつ
JP6164084B2 (ja) 使い捨ておむつ
RU2787496C1 (ru) Впитывающее изделие типа трусов
RU2787497C1 (ru) Впитывающее изделие типа трусов
JP7409985B2 (ja) 吸収性物品
JP7642452B2 (ja) 吸収性物品
JP7025496B1 (ja) 吸収性物品
JP5138441B2 (ja) 吸収性物品の製造方法
JP2012081065A (ja) 吸収性物品
RU2729876C1 (ru) Одноразовый подгузник
WO2022009686A1 (ja) 吸収性物品

Legal Events

Date Code Title Description
121 Ep: the epo has been informed by wipo that ep was designated in this application

Ref document number: 20907346

Country of ref document: EP

Kind code of ref document: A1

NENP Non-entry into the national phase

Ref country code: DE

122 Ep: pct application non-entry in european phase

Ref document number: 20907346

Country of ref document: EP

Kind code of ref document: A1