WO2020262178A1 - ジョブ処理システム - Google Patents

ジョブ処理システム Download PDF

Info

Publication number
WO2020262178A1
WO2020262178A1 PCT/JP2020/023875 JP2020023875W WO2020262178A1 WO 2020262178 A1 WO2020262178 A1 WO 2020262178A1 JP 2020023875 W JP2020023875 W JP 2020023875W WO 2020262178 A1 WO2020262178 A1 WO 2020262178A1
Authority
WO
WIPO (PCT)
Prior art keywords
job
unit
display
registration
job registration
Prior art date
Legal status (The legal status is an assumption and is not a legal conclusion. Google has not performed a legal analysis and makes no representation as to the accuracy of the status listed.)
Ceased
Application number
PCT/JP2020/023875
Other languages
English (en)
French (fr)
Japanese (ja)
Inventor
勇基 山本
Current Assignee (The listed assignees may be inaccurate. Google has not performed a legal analysis and makes no representation or warranty as to the accuracy of the list.)
Kyocera Document Solutions Inc
Original Assignee
Kyocera Document Solutions Inc
Priority date (The priority date is an assumption and is not a legal conclusion. Google has not performed a legal analysis and makes no representation as to the accuracy of the date listed.)
Filing date
Publication date
Application filed by Kyocera Document Solutions Inc filed Critical Kyocera Document Solutions Inc
Priority to EP20833169.4A priority Critical patent/EP3993377A4/en
Priority to US17/616,019 priority patent/US11586404B2/en
Priority to JP2021526857A priority patent/JP7147981B2/ja
Priority to CN202080044958.4A priority patent/CN114009000B/zh
Publication of WO2020262178A1 publication Critical patent/WO2020262178A1/ja
Anticipated expiration legal-status Critical
Ceased legal-status Critical Current

Links

Images

Classifications

    • GPHYSICS
    • G06COMPUTING OR CALCULATING; COUNTING
    • G06FELECTRIC DIGITAL DATA PROCESSING
    • G06F3/00Input arrangements for transferring data to be processed into a form capable of being handled by the computer; Output arrangements for transferring data from processing unit to output unit, e.g. interface arrangements
    • G06F3/12Digital output to print unit, e.g. line printer, chain printer
    • G06F3/1201Dedicated interfaces to print systems
    • G06F3/1223Dedicated interfaces to print systems specifically adapted to use a particular technique
    • G06F3/1237Print job management
    • G06F3/126Job scheduling, e.g. queuing, determine appropriate device
    • G06F3/1263Job scheduling, e.g. queuing, determine appropriate device based on job priority, e.g. re-arranging the order of jobs, e.g. the printing sequence
    • BPERFORMING OPERATIONS; TRANSPORTING
    • B41PRINTING; LINING MACHINES; TYPEWRITERS; STAMPS
    • B41JTYPEWRITERS; SELECTIVE PRINTING MECHANISMS, i.e. MECHANISMS PRINTING OTHERWISE THAN FROM A FORME; CORRECTION OF TYPOGRAPHICAL ERRORS
    • B41J29/00Details of, or accessories for, typewriters or selective printing mechanisms not otherwise provided for
    • B41J29/38Drives, motors, controls or automatic cut-off devices for the entire printing mechanism
    • B41J29/393Devices for controlling or analysing the entire machine ; Controlling or analysing mechanical parameters involving printing of test patterns
    • GPHYSICS
    • G06COMPUTING OR CALCULATING; COUNTING
    • G06FELECTRIC DIGITAL DATA PROCESSING
    • G06F3/00Input arrangements for transferring data to be processed into a form capable of being handled by the computer; Output arrangements for transferring data from processing unit to output unit, e.g. interface arrangements
    • G06F3/12Digital output to print unit, e.g. line printer, chain printer
    • G06F3/1201Dedicated interfaces to print systems
    • G06F3/1202Dedicated interfaces to print systems specifically adapted to achieve a particular effect
    • G06F3/1203Improving or facilitating administration, e.g. print management
    • GPHYSICS
    • G06COMPUTING OR CALCULATING; COUNTING
    • G06FELECTRIC DIGITAL DATA PROCESSING
    • G06F3/00Input arrangements for transferring data to be processed into a form capable of being handled by the computer; Output arrangements for transferring data from processing unit to output unit, e.g. interface arrangements
    • G06F3/12Digital output to print unit, e.g. line printer, chain printer
    • G06F3/1201Dedicated interfaces to print systems
    • G06F3/1202Dedicated interfaces to print systems specifically adapted to achieve a particular effect
    • G06F3/1203Improving or facilitating administration, e.g. print management
    • G06F3/1207Improving or facilitating administration, e.g. print management resulting in the user being informed about print result after a job submission
    • GPHYSICS
    • G06COMPUTING OR CALCULATING; COUNTING
    • G06FELECTRIC DIGITAL DATA PROCESSING
    • G06F3/00Input arrangements for transferring data to be processed into a form capable of being handled by the computer; Output arrangements for transferring data from processing unit to output unit, e.g. interface arrangements
    • G06F3/12Digital output to print unit, e.g. line printer, chain printer
    • G06F3/1201Dedicated interfaces to print systems
    • G06F3/1223Dedicated interfaces to print systems specifically adapted to use a particular technique
    • G06F3/1237Print job management
    • G06F3/1259Print job monitoring, e.g. job status
    • GPHYSICS
    • G06COMPUTING OR CALCULATING; COUNTING
    • G06FELECTRIC DIGITAL DATA PROCESSING
    • G06F3/00Input arrangements for transferring data to be processed into a form capable of being handled by the computer; Output arrangements for transferring data from processing unit to output unit, e.g. interface arrangements
    • G06F3/12Digital output to print unit, e.g. line printer, chain printer
    • G06F3/1201Dedicated interfaces to print systems
    • G06F3/1223Dedicated interfaces to print systems specifically adapted to use a particular technique
    • G06F3/1237Print job management
    • G06F3/1267Job repository, e.g. non-scheduled jobs, delay printing
    • GPHYSICS
    • G06COMPUTING OR CALCULATING; COUNTING
    • G06FELECTRIC DIGITAL DATA PROCESSING
    • G06F3/00Input arrangements for transferring data to be processed into a form capable of being handled by the computer; Output arrangements for transferring data from processing unit to output unit, e.g. interface arrangements
    • G06F3/12Digital output to print unit, e.g. line printer, chain printer
    • G06F3/1201Dedicated interfaces to print systems
    • G06F3/1223Dedicated interfaces to print systems specifically adapted to use a particular technique
    • G06F3/1237Print job management
    • G06F3/1274Deleting of print job
    • GPHYSICS
    • G06COMPUTING OR CALCULATING; COUNTING
    • G06FELECTRIC DIGITAL DATA PROCESSING
    • G06F3/00Input arrangements for transferring data to be processed into a form capable of being handled by the computer; Output arrangements for transferring data from processing unit to output unit, e.g. interface arrangements
    • G06F3/12Digital output to print unit, e.g. line printer, chain printer
    • G06F3/1201Dedicated interfaces to print systems
    • G06F3/1278Dedicated interfaces to print systems specifically adapted to adopt a particular infrastructure
    • G06F3/1285Remote printer device, e.g. being remote from client or server
    • HELECTRICITY
    • H04ELECTRIC COMMUNICATION TECHNIQUE
    • H04NPICTORIAL COMMUNICATION, e.g. TELEVISION
    • H04N1/00Scanning, transmission or reproduction of documents or the like, e.g. facsimile transmission; Details thereof
    • H04N1/00127Connection or combination of a still picture apparatus with another apparatus, e.g. for storage, processing or transmission of still picture signals or of information associated with a still picture
    • H04N1/00204Connection or combination of a still picture apparatus with another apparatus, e.g. for storage, processing or transmission of still picture signals or of information associated with a still picture with a digital computer or a digital computer system, e.g. an internet server
    • HELECTRICITY
    • H04ELECTRIC COMMUNICATION TECHNIQUE
    • H04NPICTORIAL COMMUNICATION, e.g. TELEVISION
    • H04N1/00Scanning, transmission or reproduction of documents or the like, e.g. facsimile transmission; Details thereof
    • H04N1/0035User-machine interface; Control console
    • H04N1/00405Output means
    • H04N1/00477Indicating status, e.g. of a job
    • HELECTRICITY
    • H04ELECTRIC COMMUNICATION TECHNIQUE
    • H04NPICTORIAL COMMUNICATION, e.g. TELEVISION
    • H04N1/00Scanning, transmission or reproduction of documents or the like, e.g. facsimile transmission; Details thereof
    • H04N1/0035User-machine interface; Control console
    • H04N1/00405Output means
    • H04N1/00482Output means outputting a plurality of job set-up options, e.g. number of copies, paper size or resolution
    • HELECTRICITY
    • H04ELECTRIC COMMUNICATION TECHNIQUE
    • H04NPICTORIAL COMMUNICATION, e.g. TELEVISION
    • H04N1/00Scanning, transmission or reproduction of documents or the like, e.g. facsimile transmission; Details thereof
    • H04N1/00912Arrangements for controlling a still picture apparatus or components thereof not otherwise provided for
    • H04N1/00915Assigning priority to, or interrupting, a particular operation
    • HELECTRICITY
    • H04ELECTRIC COMMUNICATION TECHNIQUE
    • H04NPICTORIAL COMMUNICATION, e.g. TELEVISION
    • H04N1/00Scanning, transmission or reproduction of documents or the like, e.g. facsimile transmission; Details thereof
    • H04N1/00912Arrangements for controlling a still picture apparatus or components thereof not otherwise provided for
    • H04N1/00915Assigning priority to, or interrupting, a particular operation
    • H04N1/0092Assigning priority according to size job or task, e.g. small jobs first
    • HELECTRICITY
    • H04ELECTRIC COMMUNICATION TECHNIQUE
    • H04NPICTORIAL COMMUNICATION, e.g. TELEVISION
    • H04N1/00Scanning, transmission or reproduction of documents or the like, e.g. facsimile transmission; Details thereof
    • H04N1/04Scanning arrangements, i.e. arrangements for the displacement of active reading or reproducing elements relative to the original or reproducing medium, or vice versa
    • HELECTRICITY
    • H04ELECTRIC COMMUNICATION TECHNIQUE
    • H04NPICTORIAL COMMUNICATION, e.g. TELEVISION
    • H04N1/00Scanning, transmission or reproduction of documents or the like, e.g. facsimile transmission; Details thereof
    • H04N1/0035User-machine interface; Control console
    • H04N1/00405Output means
    • H04N1/00408Display of information to the user, e.g. menus
    • HELECTRICITY
    • H04ELECTRIC COMMUNICATION TECHNIQUE
    • H04NPICTORIAL COMMUNICATION, e.g. TELEVISION
    • H04N1/00Scanning, transmission or reproduction of documents or the like, e.g. facsimile transmission; Details thereof
    • H04N1/00912Arrangements for controlling a still picture apparatus or components thereof not otherwise provided for
    • H04N1/00954Scheduling operations or managing resources

Definitions

  • the present invention relates to a job processing system including an information processing device and an image forming device connected via a network, and particularly updates a display of a plurality of jobs in the information processing device and the image forming device and a job registration indicating the execution order thereof. Regarding the technology to be processed.
  • a host computer and an image forming apparatus connected to the host computer via a network are provided, and the host computer accepts a plurality of jobs and job registrations indicating the execution order of the plurality of jobs, and is transmitted from the host computer.
  • the image forming apparatus sequentially executes a plurality of jobs indicated by the job registration according to the execution order.
  • the display unit of the image forming apparatus is configured so that the job execution status is not displayed, the job execution status from the host computer cannot be known on the display unit of the image forming apparatus, and the job execution status is changed. Confirmation and job cancellation cannot be executed. Therefore, it is necessary to display the execution status of job registration in real time also on the display unit of the image forming apparatus.
  • Patent Document 1 includes a server device and an image forming device connected by a network, and acquires and acquires update information of an icon and a label name corresponding to the application for the current language of the home screen of the image forming device.
  • the icon and the label name are displayed as compared with the case where the display of the icon and the label name is updated after acquiring a plurality of update information corresponding to each of the plurality of languages. And a system that shortens the time until the label name display is updated is described.
  • the present invention has been made in view of the above circumstances, can reduce the processing load of display update in the image forming apparatus, and provides the execution status of job registration in the information processing apparatus and the image forming apparatus in real time.
  • the purpose is to make it possible.
  • the job processing system includes an information processing apparatus and an image forming apparatus connected to the information processing apparatus via a network, and the job transmitted from the information processing apparatus is subjected to the image forming apparatus.
  • the information processing device is a job processing system to be processed by the user, and the information processing apparatus is a job registration indicating a plurality of jobs and an execution order of the plurality of jobs according to an operation unit operated by the user and an operation on the operation unit by the user.
  • the image forming apparatus includes a job registration receiving unit that receives the information processing unit and a first transmitting unit that transmits the job registration received by the job registration receiving unit to the image forming apparatus, and the image forming apparatus is transmitted from the first transmitting unit.
  • a second receiving unit that receives the job registration, a display unit, a plurality of jobs received by the second receiving unit, and a display control unit that displays the execution order of the plurality of jobs on the display unit.
  • the job execution control unit that sequentially controls the execution of the plurality of jobs indicated by the job registration according to the execution order of the plurality of jobs and the job execution control unit controls the job execution control unit, the job execution is completed.
  • the display control unit includes a second transmission unit that transmits a completion notification indicating execution completion to the information processing apparatus, and the display control unit completes the execution when the job execution is completed under the control of the job execution control unit.
  • the display of the completed job is erased from the display unit, the information processing device includes a first receiving unit for receiving the completion notification, and the job registration receiving unit receives the completion notification received by the first receiving unit.
  • the indicated job whose execution has been completed is deleted from the job registration, and the first transmission unit of the information processing apparatus is after the transmission of the job registration, and the job registration reception unit is directed to the operation unit by the user. According to the operation, when the content change of the transmitted job registration is accepted, the changed job registration is transmitted to the image forming apparatus, and the job execution control unit performs a plurality of jobs indicated by the changed job registration.
  • the display control unit of the image forming apparatus receives the changed job registration when the second receiving unit receives the changed job registration.
  • the display of the changed job registration is not updated, and the display of the changed job registration is updated when a predetermined display update condition is satisfied after the reception.
  • the processing load of display update in the image forming apparatus can be reduced, and the execution status of job registration can be provided in real time in the information processing apparatus and the image forming apparatus.
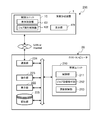
  • FIG. 1 is a diagram showing a job processing system according to the first embodiment of the present invention.
  • the job processing system 200 of the first embodiment is a system including a host computer 20 which is an example of an information processing device and an image forming device 1 connected to the host computer 20 via a network. Is.
  • FIG. 2 is a functional block diagram showing a main internal configuration example of the host computer of the first embodiment.
  • the host computer 20 is, for example, a notebook computer, and includes a control unit 210, a display unit 222, an operation unit 223, a communication unit 224, and a storage unit 225. These components are capable of transmitting and receiving data or signals through the bus to each other.
  • the host computer 20 is, for example, a notebook computer, but may be a tablet computer, a desktop computer, or the like.
  • the display unit 222 is a display device such as a liquid crystal display (LCD: Liquid Crystal Display) or an organic EL (OLED: Organic Light-Emitting Diode) display.
  • LCD Liquid Crystal Display
  • OLED Organic Light-Emitting Diode
  • the operation unit 223 is operated by the user.
  • the operation unit 223 uses, for example, a keyboard on which a user performs a job registration operation indicating a plurality of jobs and the execution order of the plurality of jobs, or a touch panel (not shown) arranged in front of the display unit 222. Be prepared.
  • the communication unit 224 is a communication interface including a communication module such as a LAN chip (not shown).
  • the communication unit 224 has a communication function with the image forming apparatus 1.
  • the storage unit 225 is a storage device such as an HDD (Hard Disk Drive) that stores various types of data.
  • the storage unit 225 stores, for example, the job registration.
  • the control unit 210 is composed of a processor, RAM (Random Access Memory), ROM (Read Only Memory), and the like.
  • the processor is a CPU (Central Processing Unit), an MPU (Micro-Processing Unit), an ASIC (Application Specific Integrated Circuit), or the like.
  • the control unit 210 includes a control unit 211, a job registration reception unit 212, and an update control unit 213.
  • the control unit 210 functions as a control unit 211, a job registration reception unit 212, and an update control unit 213 when the first control program stored in the storage unit 225 is executed by the processor. It should be noted that each of the above-mentioned components of the control unit 210 may be configured by a hard circuit, not depending on the operation based on the above-mentioned first control program.
  • the control unit 211 controls the overall operation of the host computer 20.
  • the job registration reception unit 212 accepts a plurality of jobs and job registration indicating the execution order of the plurality of jobs according to the operation of the operation unit 223 by the user.
  • the communication unit 224 transmits the job registration received by the job registration reception unit 212 to the image forming apparatus 1.
  • the communication unit 224 is an example of a first transmission unit within the scope of claims.
  • the image forming apparatus 1 is a multifunction device having a plurality of functions such as a copy function, a printer function, a scanner function, and a facsimile function.
  • the image forming apparatus 1 includes an apparatus main body 2, an image reading unit 5 arranged above the apparatus main body 2, and a connecting portion provided between the image reading unit 5 and the apparatus main body 2. It is composed of 3.
  • a plurality of constituent devices for realizing various functions of the image forming apparatus 1 are housed in the housing 7 constituting the outer shell of the image forming apparatus 1.
  • the housing 7 houses an image reading unit 5, an image forming unit 12 (FIG. 3), a fixing unit 13 (FIG. 3), a paper feeding unit 30, and the like.
  • the image reading unit 5 is an ADF (Auto Document Feeder) having a document conveying unit 6 and a scanner that optically reads a document conveyed by the document conveying unit 6 or a document placed on a contact glass (not shown). is there.
  • ADF Auto Document Feeder
  • the image reading unit 5 reads the originals transported by the document conveying unit 6 or the originals placed on the contact glass (not shown) one by one to obtain the originals. Get an image.
  • the image forming unit 12 includes a photoconductor drum, a charging device, an exposure device, a developing device, and a transfer device, and is used from an image read by the image reading unit 5, a host computer 20 connected to a network, or another facsimile device. An image is formed (printed) on the recording paper supplied from the paper feed unit 30 using the sent print data. The image-formed recording paper is subjected to a fixing process by the fixing unit 13 and then discharged to the discharge tray 4.
  • the operation unit 47 is operated by the user.
  • the operation unit 47 is, for example, a start key for instructing the execution of a function possible by the image forming apparatus 1, a decision key (enter key) for confirming the operation of the user (operator), and further for inputting numerical values. It is equipped with a numerical input key and the like.
  • the operation unit 47 includes a display unit 473 that displays operation guidance and the like to the user.
  • the display unit 473 is a display device including a touch panel, and the user can operate the image forming device 1 by touching an image or an icon displayed on the display unit 473.
  • FIG. 3 is a block diagram showing a main internal configuration example of the image forming apparatus of the first embodiment.
  • the image forming apparatus 1 includes a control unit 10.
  • the control unit 10 is composed of a processor, a RAM (Random Access Memory), a ROM (Read Only Memory), and the like.
  • the processor is a CPU (Central Processing Unit), an MPU (Micro-Processing Unit), an ASIC (Application Specific Integrated Circuit), or the like.
  • the image reading unit 5 includes a reading mechanism having a light irradiation unit, a CCD sensor, and the like under the control of the control unit 10.
  • the image reading unit 5 irradiates the document with the light irradiation unit and receives the reflected light with the CCD sensor to read the image from the document.
  • the image processing unit 31 processes the original image read by the image reading unit 5 as necessary. For example, the image processing unit 31 performs predetermined image processing such as shading correction in order to improve the quality of the image read by the image reading unit 5 after being formed by the image forming unit 12.
  • predetermined image processing such as shading correction
  • the image memory 32 is an area for temporarily storing the original image obtained by reading by the image reading unit 5 and temporarily storing the image to be image-formed by the image forming unit 12.
  • the image forming unit 12 forms an image such as a document image read by the image reading unit 5 and print data received from a network-connected host computer 20.
  • the fixing unit 13 heats a recording paper on which an image (toner image) is formed on the surface by the image forming process of the image forming unit 12, and performs a fixing process of fixing the image on the recording paper by thermocompression bonding.
  • the operation unit 47 receives instructions from the user regarding various operations and processes that can be executed by the image forming apparatus 1.
  • the operation unit 47 includes a display unit 473 that displays an operation guide or the like to the user.
  • the facsimile communication unit 71 is provided with an encoding / decoding unit, a modulation / demodulation unit, and an NCU (Network Control Unit) (not shown), and transmits and receives facsimiles using a public telephone network.
  • NCU Network Control Unit
  • the network interface unit 91 is composed of a communication module such as a LAN board, and transmits / receives various data to / from the host computer 20 via a LAN or the like connected to the network interface unit 91. Further, the network interface unit 91 receives the print data from the host computer 20. In particular, the network interface unit 91 receives the job registration transmitted from the host computer 20.
  • the network interface unit 91 is an example of a second receiving unit within the scope of claims.
  • the HDD (Hard Disk Drive) 92 is a large-capacity storage device that stores various data, programs, original images read by the image reading unit 5, and the like.
  • the drive motor 70 is a drive source that applies a rotational driving force to each rotating member and a transport roller on an equal footing in the image forming unit 12, the fixing unit 13, and the like.
  • the control unit 10 includes a control unit 100, a display control unit 101, and a job execution control unit 102.
  • the control unit 10 functions as a control unit 100, a display control unit 101, and a job execution control unit 102 when the second control program stored in the HDD 92 is executed by the processor. It should be noted that each of the above-mentioned components of the control unit 10 may be configured by a hard circuit, not depending on the operation based on the above-mentioned second control program.
  • the control unit 100 controls the overall operation of the image forming apparatus 1. Further, the control unit 100 includes an image reading unit 5, a document transporting unit 6, an image processing unit 31, an image memory 32, an image forming unit 12, a fixing unit 13, an operation unit 47, a display unit 473, a facsimile communication unit 71, and a network interface. It is connected to the unit 91, the HDD (hard disk drive) 92, etc., and controls the drive of each of these units.
  • HDD hard disk drive
  • the display control unit 101 causes the display unit 473 to display the plurality of jobs indicated by the job registration received by the network interface unit 91 and the execution order of the plurality of jobs.
  • the job execution control unit 102 sequentially controls the execution of a plurality of jobs indicated by job registration according to the execution order of the plurality of jobs.
  • the network interface unit 91 When the job execution is completed under the control of the job execution control unit 102, the network interface unit 91 sends a completion notification indicating the completion of the execution of the job to the host computer 20.
  • the network interface unit 91 is an example of a second transmission unit within the scope of claims.
  • the display control unit 101 deletes the display of the job for which the execution has been completed from the display unit 473.
  • the communication unit 224 of the host computer 20 receives the completion notification.
  • the communication unit 224 is an example of a first receiving unit within the scope of claims.
  • the job registration reception unit 212 deletes the job whose execution has been completed indicated by the completion notification received by the communication unit 224 from the job registration.
  • the communication unit 224 of the host computer 20 receives the content change of the transmitted job registration after the job registration is transmitted and when the job registration reception unit 212 receives the operation of the operation unit 223 by the user.
  • the changed job registration is transmitted to the image forming apparatus 1.
  • the job registration reception unit 212 accepts at least one of a change in the job execution order and a change in the job setting content as a content change for the transmitted job registration according to an operation on the operation unit 223 by the user.
  • the content change of the job registration it is described below that the change of the job execution order is accepted.
  • the job execution control unit 102 sequentially controls the execution of a plurality of jobs indicated by the changed job registration according to the execution order of the plurality of jobs.
  • the display control unit 101 of the image forming apparatus 1 When the network interface unit 91 receives the changed job registration, the display control unit 101 of the image forming apparatus 1 does not update the display of the changed job registration at the time of receiving the changed job registration, and does not update the display of the changed job registration. Later, when the predetermined display update condition is satisfied, the display is updated to the changed job registration display.
  • the display control unit 101 of the image forming apparatus 1 assumes that the predetermined display update condition is satisfied, and updates the display of the changed job registration.
  • the job registration reception unit 212 is operated by the user within the period from the transmission of the job registration by the communication unit 224 to the completion of the execution of all the jobs related to the job registration.
  • the instruction information for instructing a specific job among a plurality of jobs in the changed job registration is provided. It is transmitted from the communication unit 224 to the image forming apparatus 1.
  • the update control unit 213 is at least one before the changed job closest to the last job in the job execution order indicated by the changed job registration among the plurality of jobs in the changed job registration.
  • the job is specified as a specific job, and instruction information instructing the specified specific job is transmitted from the communication unit 224 to the image forming apparatus 1.
  • the display control unit 101 of the image forming apparatus 1 assumes that the predetermined display update condition is satisfied, and updates the display of the changed job registration.
  • FIG. 4 is a flowchart showing an example of job registration execution processing in the job processing system of the first embodiment.
  • 5A to 5C are diagrams showing an example of display screens of the host computer and the image forming apparatus at the time of job registration execution processing, respectively.
  • 6A and 6B are diagrams showing an example of display screens of the host computer and the image forming apparatus at the time of job registration execution processing, respectively.
  • the job registration reception unit 212 of the host computer 20 accepts a plurality of jobs and job registration indicating the execution order of the plurality of jobs according to the operation of the operation unit 223 by the user (S11).
  • the job registration "JOB List” is displayed on the display unit 222.
  • the five jobs "JOB_ID1”, “JOB_ID2”, “JOB_ID3”, “JOB_ID4", and "JOB_ID5" are executed in this order.
  • the five jobs are all print jobs, but various jobs such as a fax transmission job and a scan job other than the print job may be included.
  • the job registration reception unit 212 accepts the registration of "JOB List" shown in FIG. 5A, and the job registration is stored in the storage unit 225. Will be done.
  • the communication unit 224 of the host computer 20 transmits the job registration received by the job registration reception unit 212 to the image forming apparatus 1.
  • the network interface unit 91 of the image forming apparatus 1 receives the job registration transmitted from the communication unit 224 of the host computer 20.
  • the control unit 100 registers the job registration in the HDD 92 (S31).
  • the display control unit 101 causes the display unit 473 to display the plurality of jobs indicated by the job registration received by the network interface unit 91 and the execution order of the plurality of jobs (S32).
  • the network interface unit 91 of the image forming apparatus 1 transmits a signal indicating that the job has been registered to the communication unit 224 of the host computer 20 under the control of the control unit 100.
  • the control unit 211 of the host computer 20 completes the execution of the job related to the job registration after the job registration is transmitted from the host computer 20 to the image forming apparatus 1 (at least the execution of all the jobs of the job registration is completed).
  • the job order is changed according to the acceptance (S12).
  • the changed job registration "JOB List” is displayed on the display unit 222 by the operation of the operation unit 223 by the user.
  • the changed "JOB List” shown in FIG. 5B has been changed to the execution order of "JOB_ID3", "JOB_ID2", “JOB_ID4", "JOB_ID5", and "JOB_ID1".
  • the update control unit 213 has the changed job (here) closest to the last job (“JOB_ID1”) in the job execution order indicated by the changed job registration among the plurality of jobs in the changed job registration. Then, the job (here, "JOB_ID4") at least one before (two before in this embodiment) before "JOB_ID1") is specified as a specific job (S13). Then, as shown in FIG. 5B, the control unit 211 attaches a specific mark (for example, “*”) indicating the specified specific job (“JOB_ID4”) and displays it on the display unit 222. For example, a specific mark (for example, "*”) is displayed in association with a specific job ("JOB_ID4").
  • a specific mark for example, “*”
  • the user touches the registration key K12 displayed on the display unit 222, so that the job registration reception unit 212 accepts the changed job registration "JOB List".
  • the changed job registration is stored in the storage unit 225 (S14).
  • the communication unit 224 of the host computer 20 transmits the changed job registration to the image forming apparatus 1.
  • the control unit 100 of the image forming apparatus 1 registers the changed job registration received by the network interface unit 91 in the HDD 92 (S33). Further, the update control unit 213 causes the communication unit 224 to transmit instruction information instructing a specific job (here, “JOB_ID4”) among the plurality of jobs of the changed job registration to the image forming apparatus 1.
  • the communication unit 224 transmits the instruction information instructing the specific job among the plurality of jobs in the changed job registration to the image forming apparatus 1.
  • the network interface unit 91 of the image forming apparatus 1 transmits a signal indicating that the job has been registered to the communication unit 224 of the host computer 20 under the control of the control unit 100.
  • the image forming apparatus 1 receives the changed job registration (S33 in FIG. 4), the display of the changed job registration is not updated when the changed job registration is received, so that it is shown in FIG. 5B of the display unit 473.
  • the display screen remains the same as the display of the job registration before the change shown in FIG. 5A.
  • the communication unit 224 of the host computer 20 transmits an execution instruction signal instructing job execution to the image forming apparatus 1 under the control of the control unit 211 (S15).
  • the job execution control unit 102 of the image forming apparatus 1 executes "JOB_ID3", which is the first job of the changed job registration, based on the received execution instruction signal (S34).
  • the display control unit 101 of the image forming apparatus 1 deletes the display of the completed job from the display unit 473 (S35). As shown in FIG. 5C, the display control unit 101 deletes "JOB_ID3", which is the first job of the changed job registration, from "JOB List" of the display unit 473.
  • control unit 100 of the image forming apparatus 1 causes the network interface unit 91 to send a completion notification indicating the completion of the execution of the job to the host computer 20.
  • the communication unit 224 of the host computer 20 receives the completion notification. Then, the job registration reception unit 212 deletes the "JOB_ID3", which is the job for which the execution is completed, indicated by the completion notification received by the communication unit 224, from the changed job registration (S16). The control unit 211 deletes "JOB_ID3", which is the first job of the changed job registration, from "JOB List" of the display unit 222.
  • the control unit 211 of the host computer 20 determines whether or not the job to be executed first in the job registration after the change at the present time is a specific job (S17).
  • the job to be executed first in the job registration after the change at the present time is "JOB_ID2”
  • the control unit 211 determines that it is not a specific job ("NO” in S17).
  • the process returns to S15.
  • the execution process of the job "JOB_ID2" is performed in the same manner as in the case of the above-mentioned "JOB_ID3" (S15, S34, S35, S16).
  • the control unit 211 of the host computer 20 determines that the job to be executed first in the job registration after the change at the present time is a specific job when it is "JOB_ID4" as shown in FIG. 6A. (“YES” in S17), and the communication unit 224 transmits the execution instruction signal instructing the execution of the specific job to the image forming apparatus 1 (S18).
  • the job execution control unit 102 of the image forming apparatus 1 executes "JOB_ID4", which is a specific job of the changed job registration, based on the received execution instruction signal (S36).
  • the image forming apparatus 1 has received the changed job registration in S33, but the predetermined display update condition is not satisfied, that is, the instruction information is not received, so that the display control unit 101 , As shown in FIG. 6A, the display of the changed job registration is not updated, and only the display of the job whose execution is completed is deleted. As shown in FIG. 6A, only the display of the jobs that have been executed is deleted without displaying the change in the execution order of the jobs.
  • the display control unit 101 of the image forming apparatus 1 displays the display of the specific job "JOB_ID4" whose execution is completed. It is erased from the part 473 (S37). As shown in FIG. 6B, the display control unit 101 deletes "JOB_ID4", which is a specific job of the changed job registration, from "JOB List" of the display unit 473.
  • control unit 100 of the image forming apparatus 1 causes the network interface unit 91 to send a completion notification indicating the completion of execution of the job to the host computer 20. ..
  • the communication unit 224 of the host computer 20 receives the completion notification. Then, the job registration reception unit 212 deletes "JOB_ID4", which is a specific job whose execution has been completed, indicated by the completion notification received by the communication unit 224, from the changed job registration (S16). As shown in FIG. 6B, the control unit 211 deletes the changed job registration specific job "JOB_ID4" from the "JOB List" of the display unit 222.
  • the display control unit 101 updates the display of the changed job registration, assuming that the predetermined display update condition is satisfied (S38). As shown in FIG. 6B, the display control unit 101 of the image forming apparatus 1 updates the display of the current job registration after the change, that is, changes the job execution order to "JOB_ID5" and "JOB_ID1" and displays the display unit. It is displayed on 473.
  • the control unit 211 of the host computer 20 determines whether or not there is a next job (S20), where the next job is "JOB_ID5" and there is a next job ("YES" in S20). ), So return to S15. Then, the job "JOB_ID5" is executed (S15, S34, S35, S16), and then the job “JOB_ID1" is executed (S15, S34), as in the case of the above-mentioned "JOB_ID3". , S35, S16).
  • control unit 211 determines that it is not a specific job (“NO” in S17), determines whether or not there is a next job (S20), and here there is no next job (“NO” in S20). Therefore, this process is terminated.
  • the job execution control unit 102 sequentially executes a plurality of jobs indicated by the changed job registration according to the execution order of the plurality of jobs. Since the execution is controlled to, the job can be executed appropriately according to the changed job registration.
  • the display control unit 101 updates the display of the changed job registration when the network interface unit 91 receives the changed job registration. Instead, when the predetermined display update condition is satisfied after the reception, the display is updated to the changed job registration display.
  • the processing load of the display update in the image forming apparatus 1 can be reduced. In this way, since the processing load of the display update in the image forming apparatus 1 is reduced, even if there are a plurality of changes in the job registration, it relates to the job registration displayed on the display unit 473 of the image forming apparatus 1. The job execution status can be confirmed or the job can be canceled, and the performance of the image forming apparatus 1 can be ensured.
  • the second transmission unit of the image forming apparatus 1 transmits a completion notification indicating the completion of the execution of the job to the host computer 20, and the display control unit 101 of the image forming apparatus 1 sends a completion notification to the host computer 20.
  • the display of the job for which the execution has been completed is deleted from the display unit 473.
  • the communication unit 224 of the host computer 20 receives the completion notification from the image forming apparatus 1.
  • the job registration reception unit 212 of the host computer 20 deletes the job whose execution has been completed indicated by the completion notification received by the communication unit 224 from the job registration.
  • the job whose execution has been completed can be appropriately deleted on the display unit 473 of the image forming apparatus 1, and can be appropriately deleted from the job registration on the host computer 20. Therefore, the execution status of job registration can be provided in real time on the host computer 20 and the image forming apparatus 1.
  • the processing load of the display update in the image forming apparatus 1 can be reduced, the performance in the image forming apparatus 1 can be ensured even if there are a plurality of changes in the job registration, and the host computer 20 and the image can be obtained.
  • the job registration execution status can be provided in real time in the forming device 1.
  • the update control unit 213 of the host computer 20 changes the content of the transmitted job registration after the job registration is transmitted by the communication unit 224 and according to the operation of the job registration reception unit 212 on the operation unit 223 by the user. Is received, the communication unit 224 transmits the instruction information indicating a specific job among the plurality of jobs of the changed job registration to the image forming apparatus 1.
  • the display control unit 101 of the image forming apparatus 1 assumes that the predetermined display update condition is satisfied, and updates the display of the changed job registration. Therefore, it is possible to provide a suitable configuration in which the display is updated only when the display update condition is satisfied, instead of updating the display sequentially every time there is a change in the job registration.
  • the job registration reception unit 212 accepts a change in the job execution order as a content change for the transmitted job registration according to an operation on the operation unit 223 by the user.
  • the display is not updated sequentially every time there is a change in job registration, but a predetermined display within each update timing. Only when the update condition is satisfied, the display of the changed job registration is updated. Therefore, the display is updated only when the display update condition is satisfied, instead of updating the display sequentially every time there is a change in the job registration. Thereby, the processing load of the display update in the image forming apparatus 1 can be reduced.
  • the update control unit 213 when the update control unit 213 receives the content change of the transmitted job registration, the update control unit 213 has the job indicated by the changed job registration among the plurality of jobs of the changed job registration.
  • the job at least one before the changed job closest to the last job in the execution order is specified as a specific job, and instruction information instructing the specified specific job is transmitted from the communication unit 224 to the image forming apparatus 1. ..
  • the user does not need to specify a specific job, so that the operation load on the user can be reduced.
  • at least one job before the changed job closest to the last job in the job execution order indicated by the changed job registration is specified as a specific job, and after the execution of the specific job is completed, after the specific job.
  • the updated display of the changed job registration can be surely provided. From the above, it is possible to reduce the operation load by the user, reduce the processing load of the display update, and surely provide the update display of the job registration after the change.
  • FIG. 7 is a flowchart showing an example of job registration execution processing in the job processing system of the second embodiment.
  • the update control unit 213 specifies a specific job, but in the second embodiment, the update control unit 213 accepts the specific job according to the user's designation, which is different from the above-mentioned first embodiment. Since they are different, the update control unit 213 of the second embodiment will be described in detail.
  • the same configurations as those shown in FIGS. 2 and 3 are designated by the same reference numerals and the description thereof will be omitted.
  • the job registration reception unit 212 receives a change in the content of the transmitted job registration in accordance with an operation on the operation unit 223 by the user, a plurality of changed job registrations are performed.
  • the job specified by the user is accepted as a specific job, and the communication unit 224 transmits the instruction information instructing the accepted specific job to the image forming apparatus 1.
  • the update control unit 213 is an arbitrary job (here, “here,” among a plurality of jobs of the changed job registration displayed on the display unit 222, according to an operation on the operation unit 223 by the user.
  • the specified job is accepted as a specific job (S13A).
  • the control unit 211 attaches a specific mark (for example, “*”) indicating the specified specific job (“JOB_ID4”) and displays it on the display unit 222.
  • FIG. 5A The display screen shown in FIG. 5A is the same as the display of the job registration before the change shown in FIG. 5A. This point is the same as in the case of the first embodiment described above.
  • the display control unit 101 updates the display of the changed job registration, assuming that the predetermined display update condition is satisfied (FIG. 7). S38). As shown in FIG. 6B, the display control unit 101 of the image forming apparatus 1 updates the display of the current job registration after the change, that is, changes the job execution order to "JOB_ID5" and "JOB_ID1" and displays the display unit. It is displayed on 473.
  • the update control unit 213 among the plurality of jobs of the changed job registration.
  • the specific job is accepted by the user's designation, and the communication unit 224 transmits the instruction information instructing the accepted specific job to the image forming apparatus 1.
  • the user can specify in advance the display update timing in the image forming apparatus 1. Therefore, it is possible to improve the degree of freedom of display update in the image forming apparatus 1 while reducing the processing load of the display update in the image forming apparatus 1.
  • FIG. 8 is a flowchart showing an example of job registration execution processing in the job processing system of the third embodiment.
  • the update control unit 213 of the host computer 20 designates a specific job, and when the execution of the designated specific job is completed in the image forming apparatus 1, the display unit 473 of the image forming apparatus 1 is displayed. Is updated (that is, updated to the changed job registration display).
  • the update control unit 213 of the host computer 20 receives the content change for job registration reaches a predetermined number of changes, an image of the display update signal is formed.
  • the image forming apparatus 1 receives the display update signal
  • the image forming apparatus 1 updates the display of the display unit 473 (that is, updates the display of the changed job registration). Is different. Therefore, the update control unit 213 of the third embodiment will be described in detail.
  • the same configurations as those shown in FIGS. 2 and 3 are designated by the same reference numerals and the description thereof will be omitted.
  • the update control unit 213 of the host computer 20 registers the transmitted job after the communication unit 224 transmits the job registration and the job registration reception unit 212 operates the operation unit 223 by the user.
  • the display update signal is sent from the communication unit 224 to the image forming apparatus 1. Send it.
  • the display control unit 101 of the image forming apparatus 1 assumes that the predetermined display update condition is satisfied, and updates the display of the changed job registration.
  • S41 is provided in place of S13 in FIG. 4, S17 to S19 and S36 to S38 in FIG. 4 are deleted, and S42 and S51 are provided.
  • the update control unit 213 changes the content of the transmitted job registration after the job registration is transmitted by the communication unit 224 and according to the operation of the job registration reception unit 212 on the operation unit 223 by the user (here, the job).
  • the number of times the execution order is changed) is stored in the HDD 92 (S41).
  • the update control unit 213 determines whether or not the number of times the content change of the job registration is accepted has reached a predetermined number of changes (for example, 5 times) (S42), and is predetermined. When the number of changes (for example, 5 times) has been reached (“YES” in S42), the display update signal is transmitted from the communication unit 224 to the image forming apparatus 1.
  • the display control unit 101 updates the display of the changed job registration, assuming that the predetermined display update condition is satisfied (S51 in FIG. 8).
  • the display control unit 101 of the image forming apparatus 1 updates the display of the changed job registration and causes the display unit 473 to display the display.
  • the update control unit 213 of the host computer 20 is after the transmission of the job registration by the communication unit 224, and the job registration reception unit 212 follows the operation on the operation unit 223 by the user.
  • the display update signal is transmitted from the communication unit 224 to the image forming apparatus 1.
  • the display control unit 101 of the image forming apparatus 1 assumes that the predetermined display update condition is satisfied, and updates the display to the changed job registration display. Therefore, it is possible to provide a suitable configuration in which the display is updated only when the display update condition is satisfied, instead of updating the display sequentially every time there is a change in the job registration.
  • a change in the job execution order is accepted as a content change for job registration, but in the modification, as shown in FIGS. 9 to 11, the content for job registration is accepted.
  • the change a case where a change in the job execution order and a change in the job setting contents are accepted will be described.
  • FIG. 9 is a flowchart showing an example of job registration execution processing in the modified example job processing system.
  • 10A to 10C, FIGS. 11A, and 11B are diagrams showing an example of display screens of the host computer and the image forming apparatus at the time of job registration execution processing of the modified example, respectively.
  • the job registration execution process in the job processing system of the third embodiment shown in FIG. 9 differs from the first embodiment in that S12A is provided in place of S12 of FIG. 4 as shown in FIG. The processing of S12A of FIG. 9 will be described.
  • the control unit 211 of the host computer 20 completes the execution of the job related to the job registration after the job registration is transmitted from the host computer 20 to the image forming apparatus 1 (at least all the jobs of the job registration are executed).
  • the job registration reception unit 212 accepts a change in the job execution order and a change in the job setting contents as a change in the contents of the job registration, the job contents are changed according to the acceptance (S12A).
  • the changed job registration "JOB List” is displayed on the display unit 222 by the operation of the operation unit 223 by the user.
  • the image forming apparatus 1 receives the changed job registration (S33 in FIG. 9), the display of the changed job registration is not updated when the change is received, so FIG. 10B of the display unit 473.
  • the display screen shown in FIG. 10A is the same as the display of the job registration before the change shown in FIG. 10A.
  • the display control unit 101 assumes that the predetermined display update condition is satisfied, and updates the display of the changed job registration (S37). S38 in FIG. 9).
  • the display control unit 101 of the image forming apparatus 1 updates the display of the job registration after the change at the present time, that is, changes the job execution order to "JOB_ID5" and "JOB_ID1", and The number of copies to be printed is changed to 4 and 3 and displayed on the display unit 473.
  • job registration reception unit 212 may only accept changes in the job settings as changes in the contents of the job registration.
  • the job registration receiving unit 212 changes the contents of the transmitted job registration according to the operation of the operation unit 223 by the user, and at least one of the changes in the job execution order and the changes in the job settings. Accept one.
  • the display is not updated sequentially every time there is a change in the job registration. Only when the predetermined display update condition is satisfied in each update timing, the display of the changed job registration is updated. Therefore, the display is updated only when the display update condition is satisfied, instead of updating the display sequentially every time there is a change in the job registration. Thereby, the processing load of the display update in the image forming apparatus 1 can be reduced.
  • the content change of the job registration is accepted before the execution of the job being registered is started. It may be the case that the content change of the job registration is accepted after the execution of at least one job being registered is started, and the processing load of the display update in the image forming apparatus 1 can be reduced.
  • FIGS. 1 to 11 are merely one embodiment of the present invention, and the present invention is not intended to be limited to the configuration and processing.

Landscapes

  • Engineering & Computer Science (AREA)
  • Theoretical Computer Science (AREA)
  • Human Computer Interaction (AREA)
  • General Engineering & Computer Science (AREA)
  • Physics & Mathematics (AREA)
  • General Physics & Mathematics (AREA)
  • Multimedia (AREA)
  • Signal Processing (AREA)
  • Computing Systems (AREA)
  • Accessory Devices And Overall Control Thereof (AREA)
  • Facsimiles In General (AREA)
PCT/JP2020/023875 2019-06-28 2020-06-18 ジョブ処理システム Ceased WO2020262178A1 (ja)

Priority Applications (4)

Application Number Priority Date Filing Date Title
EP20833169.4A EP3993377A4 (en) 2019-06-28 2020-06-18 Job processing system
US17/616,019 US11586404B2 (en) 2019-06-28 2020-06-18 Job processing system
JP2021526857A JP7147981B2 (ja) 2019-06-28 2020-06-18 ジョブ処理システム
CN202080044958.4A CN114009000B (zh) 2019-06-28 2020-06-18 作业处理系统

Applications Claiming Priority (2)

Application Number Priority Date Filing Date Title
JP2019121755 2019-06-28
JP2019-121755 2019-06-28

Publications (1)

Publication Number Publication Date
WO2020262178A1 true WO2020262178A1 (ja) 2020-12-30

Family

ID=74060906

Family Applications (1)

Application Number Title Priority Date Filing Date
PCT/JP2020/023875 Ceased WO2020262178A1 (ja) 2019-06-28 2020-06-18 ジョブ処理システム

Country Status (5)

Country Link
US (1) US11586404B2 (enExample)
EP (1) EP3993377A4 (enExample)
JP (1) JP7147981B2 (enExample)
CN (1) CN114009000B (enExample)
WO (1) WO2020262178A1 (enExample)

Families Citing this family (1)

* Cited by examiner, † Cited by third party
Publication number Priority date Publication date Assignee Title
JP7367382B2 (ja) * 2019-08-21 2023-10-24 ブラザー工業株式会社 プログラム

Citations (4)

* Cited by examiner, † Cited by third party
Publication number Priority date Publication date Assignee Title
JP2002063004A (ja) * 2000-08-18 2002-02-28 Ricoh Co Ltd 印刷制御装置、印刷制御方法およびその方法をコンピュータに実行させるプログラムを記録したコンピュータ読み取り可能な記録媒体
JP2006320029A (ja) * 2006-08-22 2006-11-24 Fuji Xerox Co Ltd ジョブリスト表示装置およびその方法
JP2018111261A (ja) 2017-01-12 2018-07-19 富士ゼロックス株式会社 情報処理装置、画像形成装置、及びプログラム
JP2019079471A (ja) * 2017-10-27 2019-05-23 富士ゼロックス株式会社 情報処理装置及びプログラム

Family Cites Families (8)

* Cited by examiner, † Cited by third party
Publication number Priority date Publication date Assignee Title
JP4533213B2 (ja) * 2005-03-31 2010-09-01 キヤノン株式会社 印刷システム及びその制御方法、コンピュータプログラム
US8107115B2 (en) * 2005-08-29 2012-01-31 Xerox Corporation Method and system for queue synchronization
JP5004320B2 (ja) * 2006-02-15 2012-08-22 キヤノン株式会社 ジョブ処理装置、ジョブ処理方法及びプログラム
US9626343B2 (en) * 2010-04-05 2017-04-18 Facebook, Inc. Caching pagelets of structured documents
CN104145253B (zh) * 2012-03-02 2017-03-15 富士通株式会社 图像发送方法、以及装置
JP6302316B2 (ja) * 2014-03-26 2018-03-28 キヤノン株式会社 記録システム、情報処理装置、及びその制御方法
CN107977068A (zh) * 2016-10-25 2018-05-01 中兴通讯股份有限公司 一种终端的延迟显示的方法、装置及终端
JP6926826B2 (ja) * 2017-08-28 2021-08-25 コニカミノルタ株式会社 画像形成装置及び情報処理装置

Patent Citations (4)

* Cited by examiner, † Cited by third party
Publication number Priority date Publication date Assignee Title
JP2002063004A (ja) * 2000-08-18 2002-02-28 Ricoh Co Ltd 印刷制御装置、印刷制御方法およびその方法をコンピュータに実行させるプログラムを記録したコンピュータ読み取り可能な記録媒体
JP2006320029A (ja) * 2006-08-22 2006-11-24 Fuji Xerox Co Ltd ジョブリスト表示装置およびその方法
JP2018111261A (ja) 2017-01-12 2018-07-19 富士ゼロックス株式会社 情報処理装置、画像形成装置、及びプログラム
JP2019079471A (ja) * 2017-10-27 2019-05-23 富士ゼロックス株式会社 情報処理装置及びプログラム

Non-Patent Citations (1)

* Cited by examiner, † Cited by third party
Title
See also references of EP3993377A4

Also Published As

Publication number Publication date
JP7147981B2 (ja) 2022-10-05
CN114009000B (zh) 2024-04-26
CN114009000A (zh) 2022-02-01
US20220253259A1 (en) 2022-08-11
JPWO2020262178A1 (enExample) 2020-12-30
EP3993377A1 (en) 2022-05-04
US11586404B2 (en) 2023-02-21
EP3993377A4 (en) 2023-07-05

Similar Documents

Publication Publication Date Title
JP6926692B2 (ja) 印刷システムおよびプログラム
JP6928894B2 (ja) 印刷システムおよびプログラム
US8638461B2 (en) Image forming apparatus and method for providing user interface screen of image forming apparatus
US9413918B2 (en) Image forming system, server, image forming apparatus, and image forming method that ensure simple execution of application
JP2009064177A (ja) 画像形成装置、情報同期システム、情報設定方法
US20090195822A1 (en) Job processing apparatus, control method therefor, and computer-readable storage medium
JP7147981B2 (ja) ジョブ処理システム
JP2007304881A (ja) プリンタシステム、プリンタドライバ、及び画像形成装置
JPWO2020262178A5 (enExample)
JP5066196B2 (ja) 画像表示装置、通信機器及び画像形成装置
JP3538617B2 (ja) 記録装置及びその情報処理システム
JP2004151816A (ja) ホスト装置
JP6233148B2 (ja) 画像形成システム、サーバー、画像形成装置、端末、画像形成方法、及びプログラム
JP6477824B2 (ja) 画像形成装置
JP2001243155A (ja) ネットワーク管理装置及び情報処理装置及び制御方法並びに記憶媒体
JP3934647B2 (ja) データ管理システム及び画像形成装置
US11743400B2 (en) Electronic apparatus that causes display device to display information corresponding to keyword and interrogative in inputted character string for questioning a location, and image forming apparatus
US10939003B2 (en) Information processing device and image forming apparatus
JP2011199748A (ja) 画像表示装置及び画像形成装置
JP2007067807A (ja) データ送信装置およびデータ送信方法およびプログラム
JP2002271555A (ja) マルチファンクション・システム及びその動作方法
JP2021068241A (ja) 表示システム
JP2003067213A (ja) 画像形成装置及び該装置におけるプログラム更新方法
JP2004328576A (ja) 画像読み取り装置
JP2010130361A (ja) 画像形成装置

Legal Events

Date Code Title Description
121 Ep: the epo has been informed by wipo that ep was designated in this application

Ref document number: 20833169

Country of ref document: EP

Kind code of ref document: A1

ENP Entry into the national phase

Ref document number: 2021526857

Country of ref document: JP

Kind code of ref document: A

NENP Non-entry into the national phase

Ref country code: DE

WWE Wipo information: entry into national phase

Ref document number: 2020833169

Country of ref document: EP

WWW Wipo information: withdrawn in national office

Ref document number: 2020833169

Country of ref document: EP