WO2020235250A1 - 空調装置 - Google Patents

空調装置 Download PDF

Info

Publication number
WO2020235250A1
WO2020235250A1 PCT/JP2020/016163 JP2020016163W WO2020235250A1 WO 2020235250 A1 WO2020235250 A1 WO 2020235250A1 JP 2020016163 W JP2020016163 W JP 2020016163W WO 2020235250 A1 WO2020235250 A1 WO 2020235250A1
Authority
WO
WIPO (PCT)
Prior art keywords
air
heat exchange
unit
refrigerant
outside air
Prior art date
Legal status (The legal status is an assumption and is not a legal conclusion. Google has not performed a legal analysis and makes no representation as to the accuracy of the status listed.)
Ceased
Application number
PCT/JP2020/016163
Other languages
English (en)
French (fr)
Japanese (ja)
Inventor
西田 伸
Current Assignee (The listed assignees may be inaccurate. Google has not performed a legal analysis and makes no representation or warranty as to the accuracy of the list.)
Denso Corp
Original Assignee
Denso Corp
Priority date (The priority date is an assumption and is not a legal conclusion. Google has not performed a legal analysis and makes no representation as to the accuracy of the date listed.)
Filing date
Publication date
Application filed by Denso Corp filed Critical Denso Corp
Priority to CN202080036106.0A priority Critical patent/CN113840746B/zh
Publication of WO2020235250A1 publication Critical patent/WO2020235250A1/ja
Priority to US17/526,751 priority patent/US11774149B2/en
Anticipated expiration legal-status Critical
Ceased legal-status Critical Current

Links

Images

Classifications

    • BPERFORMING OPERATIONS; TRANSPORTING
    • B60VEHICLES IN GENERAL
    • B60HARRANGEMENTS OF HEATING, COOLING, VENTILATING OR OTHER AIR-TREATING DEVICES SPECIALLY ADAPTED FOR PASSENGER OR GOODS SPACES OF VEHICLES
    • B60H1/00Heating, cooling or ventilating [HVAC] devices
    • B60H1/00642Control systems or circuits; Control members or indication devices for heating, cooling or ventilating devices
    • B60H1/00814Control systems or circuits characterised by their output, for controlling particular components of the heating, cooling or ventilating installation
    • B60H1/00878Control systems or circuits characterised by their output, for controlling particular components of the heating, cooling or ventilating installation the components being temperature regulating devices
    • B60H1/00899Controlling the flow of liquid in a heat pump system
    • B60H1/00921Controlling the flow of liquid in a heat pump system where the flow direction of the refrigerant does not change and there is an extra subcondenser, e.g. in an air duct
    • BPERFORMING OPERATIONS; TRANSPORTING
    • B60VEHICLES IN GENERAL
    • B60HARRANGEMENTS OF HEATING, COOLING, VENTILATING OR OTHER AIR-TREATING DEVICES SPECIALLY ADAPTED FOR PASSENGER OR GOODS SPACES OF VEHICLES
    • B60H1/00Heating, cooling or ventilating [HVAC] devices
    • B60H1/00007Combined heating, ventilating, or cooling devices
    • B60H1/00021Air flow details of HVAC devices
    • B60H1/00035Air flow details of HVAC devices for sending an air stream of uniform temperature into the passenger compartment
    • B60H1/0005Air flow details of HVAC devices for sending an air stream of uniform temperature into the passenger compartment the air being firstly cooled and subsequently heated or vice versa
    • BPERFORMING OPERATIONS; TRANSPORTING
    • B60VEHICLES IN GENERAL
    • B60HARRANGEMENTS OF HEATING, COOLING, VENTILATING OR OTHER AIR-TREATING DEVICES SPECIALLY ADAPTED FOR PASSENGER OR GOODS SPACES OF VEHICLES
    • B60H1/00Heating, cooling or ventilating [HVAC] devices
    • B60H1/22Heating, cooling or ventilating [HVAC] devices the heat being derived otherwise than from the propulsion plant
    • BPERFORMING OPERATIONS; TRANSPORTING
    • B60VEHICLES IN GENERAL
    • B60HARRANGEMENTS OF HEATING, COOLING, VENTILATING OR OTHER AIR-TREATING DEVICES SPECIALLY ADAPTED FOR PASSENGER OR GOODS SPACES OF VEHICLES
    • B60H1/00Heating, cooling or ventilating [HVAC] devices
    • B60H1/32Cooling devices
    • FMECHANICAL ENGINEERING; LIGHTING; HEATING; WEAPONS; BLASTING
    • F25REFRIGERATION OR COOLING; COMBINED HEATING AND REFRIGERATION SYSTEMS; HEAT PUMP SYSTEMS; MANUFACTURE OR STORAGE OF ICE; LIQUEFACTION SOLIDIFICATION OF GASES
    • F25BREFRIGERATION MACHINES, PLANTS OR SYSTEMS; COMBINED HEATING AND REFRIGERATION SYSTEMS; HEAT PUMP SYSTEMS
    • F25B47/00Arrangements for preventing or removing deposits or corrosion, not provided for in another subclass
    • F25B47/02Defrosting cycles
    • FMECHANICAL ENGINEERING; LIGHTING; HEATING; WEAPONS; BLASTING
    • F25REFRIGERATION OR COOLING; COMBINED HEATING AND REFRIGERATION SYSTEMS; HEAT PUMP SYSTEMS; MANUFACTURE OR STORAGE OF ICE; LIQUEFACTION SOLIDIFICATION OF GASES
    • F25BREFRIGERATION MACHINES, PLANTS OR SYSTEMS; COMBINED HEATING AND REFRIGERATION SYSTEMS; HEAT PUMP SYSTEMS
    • F25B49/00Arrangement or mounting of control or safety devices
    • F25B49/005Arrangement or mounting of control or safety devices of safety devices
    • FMECHANICAL ENGINEERING; LIGHTING; HEATING; WEAPONS; BLASTING
    • F25REFRIGERATION OR COOLING; COMBINED HEATING AND REFRIGERATION SYSTEMS; HEAT PUMP SYSTEMS; MANUFACTURE OR STORAGE OF ICE; LIQUEFACTION SOLIDIFICATION OF GASES
    • F25BREFRIGERATION MACHINES, PLANTS OR SYSTEMS; COMBINED HEATING AND REFRIGERATION SYSTEMS; HEAT PUMP SYSTEMS
    • F25B49/00Arrangement or mounting of control or safety devices
    • F25B49/02Arrangement or mounting of control or safety devices for compression type machines, plants or systems
    • F25B49/022Compressor control arrangements
    • FMECHANICAL ENGINEERING; LIGHTING; HEATING; WEAPONS; BLASTING
    • F25REFRIGERATION OR COOLING; COMBINED HEATING AND REFRIGERATION SYSTEMS; HEAT PUMP SYSTEMS; MANUFACTURE OR STORAGE OF ICE; LIQUEFACTION SOLIDIFICATION OF GASES
    • F25BREFRIGERATION MACHINES, PLANTS OR SYSTEMS; COMBINED HEATING AND REFRIGERATION SYSTEMS; HEAT PUMP SYSTEMS
    • F25B5/00Compression machines, plants or systems, with several evaporator circuits, e.g. for varying refrigerating capacity
    • F25B5/04Compression machines, plants or systems, with several evaporator circuits, e.g. for varying refrigerating capacity arranged in series
    • BPERFORMING OPERATIONS; TRANSPORTING
    • B60VEHICLES IN GENERAL
    • B60HARRANGEMENTS OF HEATING, COOLING, VENTILATING OR OTHER AIR-TREATING DEVICES SPECIALLY ADAPTED FOR PASSENGER OR GOODS SPACES OF VEHICLES
    • B60H1/00Heating, cooling or ventilating [HVAC] devices
    • B60H1/00007Combined heating, ventilating, or cooling devices
    • B60H1/00021Air flow details of HVAC devices
    • B60H2001/00078Assembling, manufacturing or layout details
    • B60H2001/00085Assembling, manufacturing or layout details of air intake
    • BPERFORMING OPERATIONS; TRANSPORTING
    • B60VEHICLES IN GENERAL
    • B60HARRANGEMENTS OF HEATING, COOLING, VENTILATING OR OTHER AIR-TREATING DEVICES SPECIALLY ADAPTED FOR PASSENGER OR GOODS SPACES OF VEHICLES
    • B60H1/00Heating, cooling or ventilating [HVAC] devices
    • B60H1/00007Combined heating, ventilating, or cooling devices
    • B60H1/00021Air flow details of HVAC devices
    • B60H2001/00078Assembling, manufacturing or layout details
    • B60H2001/00107Assembling, manufacturing or layout details characterised by the relative position of the heat exchangers, e.g. arrangements leading to a curved airflow
    • BPERFORMING OPERATIONS; TRANSPORTING
    • B60VEHICLES IN GENERAL
    • B60HARRANGEMENTS OF HEATING, COOLING, VENTILATING OR OTHER AIR-TREATING DEVICES SPECIALLY ADAPTED FOR PASSENGER OR GOODS SPACES OF VEHICLES
    • B60H1/00Heating, cooling or ventilating [HVAC] devices
    • B60H1/00007Combined heating, ventilating, or cooling devices
    • B60H1/00021Air flow details of HVAC devices
    • B60H2001/00114Heating or cooling details
    • B60H2001/00121More than one heat exchanger in parallel
    • BPERFORMING OPERATIONS; TRANSPORTING
    • B60VEHICLES IN GENERAL
    • B60HARRANGEMENTS OF HEATING, COOLING, VENTILATING OR OTHER AIR-TREATING DEVICES SPECIALLY ADAPTED FOR PASSENGER OR GOODS SPACES OF VEHICLES
    • B60H1/00Heating, cooling or ventilating [HVAC] devices
    • B60H1/00007Combined heating, ventilating, or cooling devices
    • B60H1/00021Air flow details of HVAC devices
    • B60H2001/0015Temperature regulation
    • B60H2001/00164Temperature regulation with more than one by-pass
    • BPERFORMING OPERATIONS; TRANSPORTING
    • B60VEHICLES IN GENERAL
    • B60HARRANGEMENTS OF HEATING, COOLING, VENTILATING OR OTHER AIR-TREATING DEVICES SPECIALLY ADAPTED FOR PASSENGER OR GOODS SPACES OF VEHICLES
    • B60H1/00Heating, cooling or ventilating [HVAC] devices
    • B60H1/00007Combined heating, ventilating, or cooling devices
    • B60H1/00021Air flow details of HVAC devices
    • B60H2001/0015Temperature regulation
    • B60H2001/00178Temperature regulation comprising an air passage from the HVAC box to the exterior of the cabin
    • BPERFORMING OPERATIONS; TRANSPORTING
    • B60VEHICLES IN GENERAL
    • B60HARRANGEMENTS OF HEATING, COOLING, VENTILATING OR OTHER AIR-TREATING DEVICES SPECIALLY ADAPTED FOR PASSENGER OR GOODS SPACES OF VEHICLES
    • B60H1/00Heating, cooling or ventilating [HVAC] devices
    • B60H1/00642Control systems or circuits; Control members or indication devices for heating, cooling or ventilating devices
    • B60H1/00814Control systems or circuits characterised by their output, for controlling particular components of the heating, cooling or ventilating installation
    • B60H1/00878Control systems or circuits characterised by their output, for controlling particular components of the heating, cooling or ventilating installation the components being temperature regulating devices
    • B60H2001/00949Control systems or circuits characterised by their output, for controlling particular components of the heating, cooling or ventilating installation the components being temperature regulating devices comprising additional heating/cooling sources, e.g. second evaporator
    • FMECHANICAL ENGINEERING; LIGHTING; HEATING; WEAPONS; BLASTING
    • F25REFRIGERATION OR COOLING; COMBINED HEATING AND REFRIGERATION SYSTEMS; HEAT PUMP SYSTEMS; MANUFACTURE OR STORAGE OF ICE; LIQUEFACTION SOLIDIFICATION OF GASES
    • F25BREFRIGERATION MACHINES, PLANTS OR SYSTEMS; COMBINED HEATING AND REFRIGERATION SYSTEMS; HEAT PUMP SYSTEMS
    • F25B2339/00Details of evaporators; Details of condensers
    • F25B2339/04Details of condensers
    • F25B2339/047Water-cooled condensers
    • FMECHANICAL ENGINEERING; LIGHTING; HEATING; WEAPONS; BLASTING
    • F25REFRIGERATION OR COOLING; COMBINED HEATING AND REFRIGERATION SYSTEMS; HEAT PUMP SYSTEMS; MANUFACTURE OR STORAGE OF ICE; LIQUEFACTION SOLIDIFICATION OF GASES
    • F25BREFRIGERATION MACHINES, PLANTS OR SYSTEMS; COMBINED HEATING AND REFRIGERATION SYSTEMS; HEAT PUMP SYSTEMS
    • F25B2700/00Sensing or detecting of parameters; Sensors therefor
    • F25B2700/21Temperatures
    • F25B2700/2104Temperatures of an indoor room or compartment
    • FMECHANICAL ENGINEERING; LIGHTING; HEATING; WEAPONS; BLASTING
    • F25REFRIGERATION OR COOLING; COMBINED HEATING AND REFRIGERATION SYSTEMS; HEAT PUMP SYSTEMS; MANUFACTURE OR STORAGE OF ICE; LIQUEFACTION SOLIDIFICATION OF GASES
    • F25BREFRIGERATION MACHINES, PLANTS OR SYSTEMS; COMBINED HEATING AND REFRIGERATION SYSTEMS; HEAT PUMP SYSTEMS
    • F25B2700/00Sensing or detecting of parameters; Sensors therefor
    • F25B2700/21Temperatures
    • F25B2700/2106Temperatures of fresh outdoor air

Definitions

  • the present disclosure relates to an air conditioner equipped with a heat pump cycle.
  • Patent Document 1 discloses a vehicle air conditioner including a heat pump cycle.
  • the heat pump cycle of Patent Document 1 adjusts the temperature of the air blown into the vehicle interior in the vehicle air conditioner. Further, the heat pump cycle of Patent Document 1 is configured so that the refrigerant circuit can be switched according to the operation mode of the vehicle air conditioner.
  • the vehicle air conditioner of Patent Document 1 executes operation in an operation mode in which air is heated, such as a heating mode and a dehumidifying heating mode.
  • the heat pump cycle of Patent Document 1 is a refrigerant circuit in which the high-pressure refrigerant discharged from the compressor flows into the indoor condenser and the low-pressure refrigerant decompressed by the expansion valve flows into the outdoor heat exchanger. Can be switched to.
  • the heat absorbed by the refrigerant from the outside air in the outdoor heat exchanger is dissipated from the refrigerant to the air in the indoor condenser to heat the air.
  • the refrigerant evaporation temperature in the outdoor heat exchanger becomes 0 ° C. or less, and frost may occur in the outdoor heat exchanger.
  • frost formation deteriorates the heat exchange performance between the refrigerant and the outside air in the outdoor heat exchanger.
  • frost is formed on the outdoor heat exchanger, the heating capacity of the air in the heat pump cycle is reduced.
  • the heat pump cycle of Patent Document 1 circulates the high-pressure refrigerant discharged from the compressor in the order of the indoor condenser, the outdoor heat exchanger, and the suction port of the compressor, that is, the refrigerant constituting the so-called hot gas cycle. Switch to circuit.
  • the outdoor heat exchanger is defrosted while the air is heated by the indoor condenser.
  • an object of the present disclosure is to provide an air conditioner including a heat pump cycle, which can reduce the energy consumed for defrosting a heat exchange portion where frost has formed. To do.
  • the air conditioner of the first aspect of the present disclosure includes a heat pump cycle, an inside / outside air switching unit on the inlet side of the heat exchange unit, and an inside / outside air switching unit on the outlet side of the heat exchange unit.
  • the heat pump cycle has a compressor, a heating unit, a decompression unit, and a heat exchange unit.
  • the compressor compresses and discharges the refrigerant.
  • the heating unit heats the air blown to the air-conditioned space using the refrigerant discharged from the compressor as a heat source.
  • the depressurizing unit decompresses the refrigerant on the downstream side of the heating unit.
  • the heat exchange unit exchanges heat between the refrigerant flowing out of the decompression unit and air.
  • the inside / outside air switching section on the inlet side of the heat exchange section switches between a ventilation path that guides the inside air inside the air-conditioned space to the heat exchange section and a ventilation path that guides the outside air outside the air-conditioning target space to the heat exchange section.
  • the inside / outside air switching section on the outlet side of the heat exchange section switches between a ventilation path that guides the air that has passed through the heat exchange section into the air-conditioned space and a ventilation path that guides the air that has passed through the heat exchange section to the outside of the air-conditioned space.
  • the inside / outside air switching unit on the outlet side of the heat exchange unit switches to a ventilation path that guides the air that has passed through the heat exchange unit to the outside of the air-conditioned space.
  • the inside / outside air switching section on the inlet side of the heat exchange section switches to the ventilation path that guides the inside air to the heat exchange section. Further, the temperature of the refrigerant flowing through the heat exchange section is maintained within a predetermined reference defrosting temperature range by reducing the flow rate of the refrigerant flowing through the heat exchange section as compared with the heating mode.
  • the inside / outside air switching section on the outlet side of the heat exchange section switches to a ventilation path that guides the air that has passed through the heat exchange section to the outside of the air-conditioned space. Therefore, in the heating mode, the air-conditioned space can be heated by guiding the air heated by the heating unit to the air-conditioned space. Further, in the heating mode, the heat absorbed by the refrigerant from the outside air in the heat exchange section is used as a heat source, and the air can be reliably heated in the heating section.
  • the inside / outside air switching section on the inlet side of the heat exchange section switches to the ventilation path that guides the inside air to the heat exchange section. Therefore, the heat of the inside air, which has a relatively high temperature, can be used to defrost the heat exchange section.
  • the temperature of the refrigerant flowing through the heat exchange section is kept within the standard defrost temperature range in which the heat exchange section can be defrosted by reducing the flow rate of the refrigerant flowing through the heat exchange section as compared with the heating mode. Maintained in. Therefore, the heat exchange portion can be effectively defrosted.
  • the energy consumed for defrosting the heat exchange unit can be reduced.
  • the air conditioner of the second aspect of the present disclosure includes a heat pump cycle, a first inlet side inside / outside air switching section, a first outlet side inside / outside air switching section, a second inlet side inside / outside air switching section, and a second. It is equipped with an outlet side inside / outside air switching unit.
  • the heat pump cycle has a compressor, a heating unit, a first decompression unit, a first heat exchange unit, a second decompression unit, and a second heat exchange unit.
  • the compressor compresses and discharges the refrigerant.
  • the heating unit heats the air blown to the air-conditioned space using the refrigerant discharged from the compressor as a heat source.
  • the first decompression unit decompresses the refrigerant on the downstream side of the heating unit.
  • the first heat exchange unit exchanges heat between the refrigerant flowing out from the first decompression unit and air.
  • the second decompression section decompresses the refrigerant flowing out of the first heat exchange section.
  • the second heat exchange unit exchanges heat between the refrigerant flowing out from the second decompression unit and air.
  • the inside / outside air switching section on the first inlet side switches between a ventilation path that guides the inside air in the air-conditioned space to the first heat exchange section and a ventilation path that guides the outside air outside the air-conditioned space to the first heat exchange section.
  • the inside / outside air switching section on the first outlet side switches between a ventilation path that guides the air that has passed through the first heat exchange section into the air-conditioned space and a ventilation path that guides the air that has passed through the first heat exchange section to the outside of the air-conditioned space. ..
  • the inside / outside air switching section on the second inlet side switches between a ventilation path that guides the inside air to the second heat exchange section and a ventilation path that guides the outside air to the second heat exchange section.
  • the inside / outside air switching section on the second outlet side switches between a ventilation path that guides the air that has passed through the second heat exchange section into the air-conditioned space and a ventilation path that guides the air that has passed through the second heat exchange section to the outside of the air-conditioned space. ..
  • the heating unit is arranged so that the air that has passed through at least the first heat exchange unit can be heated.
  • the inside / outside air switching unit on the first outlet side switches to a ventilation path that guides the air that has passed through the first heat exchange unit into the air-conditioned space.
  • the heating unit heats the air that has passed through the first heat exchange unit.
  • the inside / outside air switching section on the second inlet side switches to a ventilation path that guides the outside air to the second heat exchange section.
  • the inside / outside air switching section on the second outlet side switches to a ventilation path that guides the air that has passed through the second heat exchange section to the outside of the air-conditioned space.
  • the inside / outside air switching section on the second inlet side switches to the ventilation path that guides the inside air to the second heat exchange section. Further, the temperature of the refrigerant flowing through the second heat exchange section is maintained within a predetermined reference defrost temperature range by reducing the flow rate of the refrigerant flowing through the second heat exchange section as compared with the dehumidifying and heating mode.
  • the inside / outside air switching unit on the first outlet side switches to a ventilation path that guides the air that has passed through the first heat exchange unit into the air-conditioned space.
  • the heating unit heats the air that has passed through the first heat exchange unit. Therefore, the dehumidifying and heating of the air-conditioned space can be performed by reheating the air cooled and dehumidified by the first heat exchange unit and guiding it to the air-conditioned space.
  • the inside / outside air switching section on the second inlet side switches to the ventilation path that guides the outside air to the second heat exchange section.
  • the inside / outside air switching section on the second outlet side switches to a ventilation path that guides the air that has passed through the second heat exchange section to the outside of the air-conditioned space. Therefore, the heat absorbed by the refrigerant from the outside air in the second heat exchange section can be used as a heat source, and the air can be reliably reheated in the heating section.
  • the inside / outside air switching section on the second inlet side switches to the ventilation path that guides the inside air to the second heat exchange section. Therefore, the heat of the inside air, which has a relatively high temperature, can be used to defrost the second heat exchange section.
  • the temperature of the refrigerant flowing through the second heat exchange section can be defrosted by reducing the flow rate of the refrigerant flowing through the second heat exchange section as compared with the dehumidifying heating mode. It is maintained within the standard dehumidification temperature range. Therefore, the second heat exchange section can be effectively defrosted.
  • the energy consumed for defrosting the second heat exchange section can be reduced.
  • the air conditioner according to the third aspect of the present disclosure includes a heat pump cycle, a first inlet side inside / outside air switching unit, a first outlet side inside / outside air switching unit, a second inlet side inside / outside air switching unit, and a second. It is equipped with an outlet side inside / outside air switching unit.
  • the heat pump cycle has a compressor, a heating unit, a first decompression unit, a second decompression unit, a first heat exchange unit, a second heat exchange unit, and a refrigerant circuit switching unit.
  • the compressor compresses and discharges the refrigerant.
  • the heating unit heats the blown air blown to the air-conditioned space using the high-pressure refrigerant discharged from the compressor as a heat source.
  • the first decompression unit decompresses the refrigerant on the downstream side of the heating unit.
  • the second decompression unit decompresses the refrigerant on the downstream side of the heating unit.
  • the first heat exchange unit exchanges heat between the refrigerant flowing out from one of the first decompression unit and the second decompression unit and air.
  • the second heat exchange unit exchanges heat between the refrigerant flowing out from the other of the first decompression unit and the second decompression unit and air.
  • the refrigerant circuit switching unit switches the refriger
  • the inside / outside air switching section on the first inlet side switches between a ventilation path that guides the inside air in the air-conditioned space to the first heat exchange section and a ventilation path that guides the outside air outside the air-conditioned space to the first heat exchange section.
  • the inside / outside air switching section on the first outlet side switches between a ventilation path that guides the air that has passed through the first heat exchange section into the air-conditioned space and a ventilation path that guides the air that has passed through the first heat exchange section to the outside of the air-conditioned space. ..
  • the inside / outside air switching section on the second inlet side switches between a ventilation path that guides the inside air to the second heat exchange section and a ventilation path that guides the outside air to the second heat exchange section.
  • the inside / outside air switching section on the second outlet side switches between a ventilation path that guides the air that has passed through the second heat exchange section into the air-conditioned space and a ventilation path that guides the air that has passed through the second heat exchange section to the outside of the air-conditioned space. ..
  • the heating unit is arranged so that the air that has passed through the first heat exchange unit and the air that has passed through the second heat exchange unit can be heated.
  • the refrigerant circuit switching unit is configured so that at least the first refrigerant circuit and the second refrigerant circuit can be switched.
  • the first refrigerant circuit is a refrigerant circuit in which the refrigerant flows in the order of the first decompression unit, the first heat exchange unit, the second decompression unit, and the second heat exchange unit.
  • the second refrigerant circuit is a refrigerant circuit in which the refrigerant flows in the order of the first decompression unit, the second heat exchange unit, the second decompression unit, and the first heat exchange unit.
  • the first outlet side inside / outside air switching unit and the second outlet side inside / outside air switching unit operate one of the first heat exchange unit and the second heat exchange unit. Switch to a ventilation path that guides the passing air into the air-conditioned space.
  • the heating unit heats the air that has passed through one of the heat exchange units.
  • the first inlet side inside / outside air switching section and the second inlet side inside / outside air switching section switch the outside air to a ventilation path that guides the outside air to the first heat exchange section and the other heat exchange section of the second heat exchange section.
  • the first outlet side inside / outside air switching unit and the second outlet side inside / outside air switching unit switch to a ventilation path that guides the air that has passed through the other heat exchange unit to the outside of the air-conditioned space.
  • the first inlet side inside / outside air switching section and the second inlet side inside / outside air switching section switch to a ventilation path that guides the inside air to the other heat exchange section. Further, the temperature of the refrigerant flowing through the other heat exchange section is maintained within a predetermined reference defrost temperature range by reducing the flow rate of the refrigerant flowing through the other heat exchange section as compared with the dehumidification / heating mode.
  • the first outlet side inside / outside air switching section and the second outlet side inside / outside air switching section switch to a ventilation path that guides the air that has passed through one of the heat exchange sections into the air-conditioned space.
  • the heating unit heats the air that has passed through one of the heat exchange units. Therefore, the dehumidifying and heating of the air-conditioned space can be performed by reheating the air cooled and dehumidified by one of the heat exchange units and guiding it to the air-conditioned space.
  • the first inlet side inside / outside air switching section and the second inlet side inside / outside air switching section switch to a ventilation path that guides the outside air to the other heat exchange section.
  • the first outlet side inside / outside air switching unit and the second outlet side inside / outside air switching unit switch to a ventilation path that guides the air that has passed through the other heat exchange unit to the outside of the air-conditioned space. Therefore, the heat absorbed by the refrigerant from the outside air in the other heat exchanger can be used as a heat source, and the air can be reliably reheated in the heating unit.
  • the inside / outside air switching section on the first inlet side and the inside / outside air switching section on the second inlet side switch to a ventilation path that guides the inside air to the other heat exchange section. Therefore, the heat of the inside air, which is relatively hot, can be used to defrost the other heat exchange section.
  • the temperature of the refrigerant flowing through the other heat exchange section can be defrosted and the other heat exchange section can be defrosted by reducing the flow rate of the refrigerant flowing through the other heat exchange section as compared with the dehumidifying heating mode. It is maintained within the standard dehumidification temperature range. Therefore, it is possible to effectively defrost the other heat exchange section.
  • the energy consumed for defrosting the other heat exchange unit can be reduced.
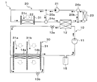
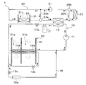
  • the air conditioner according to the present disclosure is applied to the vehicle air conditioner 1 mounted on an electric vehicle.
  • An electric vehicle is a vehicle that obtains driving force for traveling from an electric motor.
  • the vehicle air conditioner 1 air-conditions the interior of an electric vehicle, which is a space subject to air conditioning.
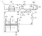
  • the vehicle air conditioner 1 includes a heat pump cycle 10, a heat medium circuit 20, an air conditioner unit 30, a control device 40, and the like.
  • the heat pump cycle 10 adjusts the temperature of the air blown into the vehicle interior in the vehicle air conditioner 1.
  • the heat pump cycle 10 includes a compressor 11, a water-refrigerant heat exchanger 12, a first expansion valve 13a, a first heat exchanger 14a, a second expansion valve 13b, a second heat exchanger 14b, an accumulator 15, and the like. There is.
  • an HFO-based refrigerant (specifically, R1234yf) is used as the refrigerant.
  • the heat pump cycle 10 constitutes a vapor compression type subcritical refrigeration cycle in which the refrigerant pressure on the high pressure side does not exceed the critical pressure of the refrigerant.
  • Refrigerant oil (specifically, PAG oil) for lubricating the compressor 11 is mixed in the refrigerant.
  • a part of the refrigerating machine oil circulates in the heat pump cycle 10 together with the refrigerant.
  • the compressor 11 sucks in the refrigerant in the heat pump cycle 10, compresses it, and discharges it.
  • the compressor 11 is arranged in the drive unit room on the front side of the vehicle interior.
  • the drive device room forms a space in which at least a part of a drive device (for example, an electric motor) for outputting a driving force for traveling is arranged.
  • the compressor 11 is an electric compressor that rotationally drives a fixed-capacity compression mechanism with a fixed discharge capacity by an electric motor.
  • the number of revolutions (that is, the refrigerant discharge capacity) of the compressor 11 is controlled by a control signal output from the control device 40 described later.
  • the inlet side of the refrigerant passage of the water-refrigerant heat exchanger 12 is connected to the discharge port of the compressor 11.
  • the water-refrigerant heat exchanger 12 has a refrigerant passage for circulating the high-pressure refrigerant discharged from the compressor 11 and a heat medium passage for circulating the heat medium circulating in the heat medium circuit 20 described later.
  • the water-refrigerant heat exchanger 12 exchanges heat between the high-pressure refrigerant flowing through the refrigerant passage and the heat medium flowing through the heat medium passage. In the water-refrigerant heat exchanger 12, the heat of the high-pressure refrigerant can be dissipated to the heat medium to heat the heat medium.
  • the inlet side of the first expansion valve 13a is connected to the outlet of the refrigerant passage of the water-refrigerant heat exchanger 12.
  • the first expansion valve 13a is a first decompression unit that depressurizes the refrigerant flowing out from the refrigerant passage of the water-refrigerant heat exchanger 12. Further, the first expansion valve 13a is a first flow rate adjusting unit that adjusts the flow rate of the refrigerant flowing out to the downstream side.
  • the first expansion valve 13a is an electric variable throttle mechanism having a valve body that changes the throttle opening degree and an electric actuator (specifically, a stepping motor) that displaces the valve body.
  • the operation of the first expansion valve 13a is controlled by a control pulse output from the control device 40.
  • the first expansion valve 13a has a fully open function that functions as a mere refrigerant passage without exerting a refrigerant depressurizing action and a flow rate adjusting action by fully opening the valve opening. Further, the first expansion valve 13a has a fully closed function of closing the refrigerant passage by fully closing the valve opening degree.
  • the refrigerant inlet side of the first heat exchanger 14a is connected to the outlet of the first expansion valve 13a.
  • the first heat exchanger 14a is a first heat exchange unit that exchanges heat between the refrigerant flowing out from the first expansion valve 13a and air.
  • the first heat exchanger 14a is arranged in the first air passage 31a formed in the casing 31 of the air conditioning unit 30, which will be described later.
  • the tank-and-tube heat exchanger has a plurality of refrigerant tubes and a pair of tanks.
  • the refrigerant tube is a metal tube that allows the refrigerant to flow inside.
  • the plurality of refrigerant tubes are laminated and arranged at intervals in a predetermined direction.
  • An air passage for passing air that exchanges heat with the refrigerant is formed between adjacent refrigerant tubes.
  • the tank is a metal bottomed tubular member that extends in the stacking direction of a plurality of refrigerant tubes. Each pair of tanks is connected to both ends of a plurality of refrigerant tubes. Inside the tank, a distribution space for distributing the refrigerant to a plurality of refrigerant tubes and a collecting space for collecting the refrigerant flowing out from the plurality of refrigerant tubes are formed.
  • a heat exchange core portion is formed that exchanges heat between the refrigerant flowing through each refrigerant tube and the air flowing through the air passage.
  • Heat exchange fins that promote heat exchange between the refrigerant and air may be arranged in the air passage.
  • a plurality of (specifically, two) heat exchange core portions are set in the air flow direction. They are arranged in series. Further, in the first heat exchanger 14a, the longitudinal direction of the refrigerant tube is arranged so as to have a component extending in the vertical direction.
  • the inlet side of the second expansion valve 13b is connected to the refrigerant outlet of the first heat exchanger 14a.
  • the second expansion valve 13b is a second decompression unit that depressurizes the refrigerant flowing out from the refrigerant passage of the first heat exchanger 14a. Further, the second expansion valve 13b is a second flow rate adjusting unit that adjusts the flow rate of the refrigerant flowing out to the downstream side.
  • the basic configuration of the second expansion valve 13b is the same as that of the first expansion valve 13a.
  • the refrigerant inlet side of the second heat exchanger 14b is connected to the outlet of the second expansion valve 13b.
  • the second heat exchanger 14b is a second heat exchange unit that exchanges heat between the refrigerant flowing out from the second expansion valve 13b and the air.
  • the second heat exchanger 14b is arranged in the second air passage 31b formed in the casing 31 of the air conditioning unit 30.
  • the basic configuration of the second heat exchanger 14b is the same as that of the first heat exchanger 14a.
  • the inlet side of the accumulator 15 is connected to the refrigerant outlet of the second heat exchanger 14b.
  • the accumulator 15 is a low-pressure side liquid storage unit that separates the gas-liquid of the refrigerant that has flowed into the inside and stores the separated liquid-phase refrigerant as a surplus refrigerant in the cycle.
  • the suction port side of the compressor 11 is connected to the gas phase refrigerant outlet of the accumulator 15.
  • the heat medium circuit 20 is a circuit for circulating a heat medium.
  • a heat medium pump 21, a heater core 22, a heat medium radiator 23, a heat medium passage of a water-refrigerant heat exchanger 12, and the like are connected to the heat medium circuit 20.
  • an ethylene glycol aqueous solution is used as the heat medium.
  • the heat medium pump 21 pumps the heat medium in the heat medium circuit 20.
  • the heat medium pump 21 is an electric pump whose rotation speed (that is, pumping capacity) is controlled by a control voltage output from the control device 40.
  • the heat medium inlet side of the heater core 22 is connected to the discharge port of the heat medium pump 21.
  • the heater core 22 exchanges heat between the heat medium pumped from the heat medium pump 21 and the air blown into the vehicle interior. In the heater core 22, the heat of the heat medium can be dissipated to the air to heat the heat medium.
  • the heater core 22 is arranged in the third air passage 31c formed in the casing 31 of the air conditioning unit 30.
  • One inflow port of the first flow rate adjusting valve 24a is connected to the heat medium outlet of the heater core 22.
  • the heat medium circuit 20 is connected to a first bypass passage 20a that guides the heat medium pumped from the heat medium pump 21 to the other inflow port side of the first flow rate adjusting valve 24a by bypassing the heater core 22. ing.
  • the inlet side of the heat medium passage of the water-refrigerant heat exchanger 12 is connected to the outlet of the first flow rate adjusting valve 24a.
  • the first flow rate adjusting valve 24a adjusts the flow rate ratio of the flow rate of the heat medium flowing into the heater core 22 and the flow rate of the heat medium flowing into the first detour passage 20a among the heat media pumped from the heat medium pump 21. ..
  • the first flow rate adjusting valve 24a is an electric three-way flow rate adjusting valve whose operation is controlled by a control signal output from the control device 40.
  • the heat medium inlet side of the heat medium radiator 23 is connected to the outlet of the heat medium passage of the water-refrigerant heat exchanger 12.
  • the heat medium radiator 23 exchanges heat between the heat medium flowing out of the heat medium passage of the water-refrigerant heat exchanger 12 and the outside air blown by an outside air blower (not shown).
  • the heat contained in the heat medium can be dissipated to the outside air to cool the heat medium.
  • the heat medium radiator 23 is arranged on the front side in the drive unit room. Therefore, when the vehicle is running, the running wind that has flowed into the drive unit room through the grill can be applied to the heat medium radiator 23.
  • One inflow port of the second flow rate adjusting valve 24b is connected to the heat medium outlet of the heat medium radiator 23.
  • the heat medium flowing out of the heat medium passage of the water-refrigerant heat exchanger 12 is guided to the other inflow port side of the second flow rate adjusting valve 24b by bypassing the heat medium radiator 23.
  • the second detour passage 20b is connected.
  • the suction port side of the heat medium pump 21 is connected to the outlet of the second flow rate adjusting valve 24b.
  • the second flow rate adjusting valve 24b is of the heat medium flowing out of the heat medium passage of the water-refrigerant heat exchanger 12 and the flow rate of the heat medium flowing into the heat medium radiator 23 and the heat medium flowing into the second bypass passage 20b. Adjust the flow rate ratio with the flow rate.
  • the basic configuration of the second flow rate adjusting valve 24b is the same as that of the first flow rate adjusting valve 24a.
  • the water-refrigerant heat exchanger 12 can heat the heat medium using the high-pressure refrigerant as a heat source. Further, the heater core 22 can heat the air blown into the vehicle interior by using the heat medium as a heat source. That is, the water-refrigerant heat exchanger 12 and the heater core 22 of the present embodiment form a heating unit that heats air using a high-pressure refrigerant as a heat source. Further, the first expansion valve 13a depressurizes the refrigerant on the downstream side of the heating portion.
  • the air-conditioning unit 30 is a unit in which a plurality of constituent devices are integrated in order to blow out appropriately temperature-controlled air to an appropriate position in the vehicle interior in the vehicle air-conditioning device 1.
  • the air conditioning unit 30 has a casing 31.
  • the casing 31 forms the outer shell of the air conditioning unit and forms an air passage inside.
  • the casing 31 is made of a resin (specifically, polypropylene) having a certain degree of elasticity and excellent strength.
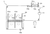
  • a first air passage 31a, a second air passage 31b, a third air passage 31c, and a fourth air passage 31d are formed inside the casing 31 . At least a part of each air passage formed in the casing 31 is adjacent to each other.
  • a part of the portion of the casing 31 forming the third air passage 31c and a part of the casing 31 forming the fourth air passage 31d are arranged in the passenger compartment R1. Further, in the air conditioning unit 30, a portion forming the first air passage 31a of the casing 31, a portion forming the second air passage 31b of the casing 31, and other portions are arranged in the drive unit room R2. ..
  • the vehicle compartment R1 and the drive unit compartment R2 are separated by a partition wall 38.
  • the partition wall 38 corresponds to a partition wall member for soundproofing and fire prevention called a dash panel or a firewall in a normal engine vehicle that obtains a driving force for traveling a vehicle from an internal combustion engine (engine).
  • a first heat exchanger 14a is arranged in the first air passage 31a. Therefore, the first air passage 31a is an air passage through which the air flowing into the first heat exchanger 14a and the air passing through the first heat exchanger 14a flow.
  • the first inlet side inside / outside air switching device 32a On the most upstream side of the air flow of the first air passage 31a, the first inlet side inside / outside air switching device 32a, which is the first inlet side inside / outside air switching portion, is arranged.
  • the first inlet side inside / outside air switching device 32a has a ventilation path that guides the inside air, which is the air inside the vehicle interior, to the inlet side of the first heat exchanger 14a as the air flowing into the first heat exchanger 14a, and the air outside the vehicle interior.
  • the ventilation path that guides the outside air to the inlet side of the first heat exchanger 14a is switched.
  • the first inlet side inside / outside air switching device 32a has a first inlet side outside air door 321a and a first inlet side inside air door 322a.
  • the first entrance side outside air door 321a opens and closes the first outside air introduction port 323a.
  • the first outside air introduction port 323a is an introduction port for introducing outside air into the first air passage 31a.
  • the first outside air introduction port 323a is formed in a portion of the casing 31 forming the first air passage 31a on the upstream side of the air flow from the first heat exchanger 14a.
  • the first entrance side inside air door 322a opens and closes the first inside air introduction port 35a.
  • the first inside air introduction port 35a communicates the first air passage 31a and the fourth air passage 31d.
  • the first inside air introduction port 35a is an introduction port for introducing inside air into the first air passage 31a via the fourth air passage 31d.
  • the first inside air introduction port 35a is formed in a portion of the casing 31 forming the first air passage 31a on the upstream side of the air flow from the first heat exchanger 14a.
  • the first inlet side outside air door 321a and the first inlet side inside air door 322a are connected to a first inlet side electric actuator (not shown) via a link mechanism or the like.
  • the first inlet side outside air door 321a and the first inlet side inside air door 322a are driven in conjunction with each other by the first inlet side electric actuator.
  • the first inlet side electric actuator can continuously adjust the opening degrees of the first outside air introduction port 323a and the first inside air introduction port 35a.
  • the first inlet-side electric actuator can increase the opening degree of the first inside air introduction port 35a as the opening degree of the first outside air introduction port 323a decreases.
  • the operation of the first inlet-side electric actuator is controlled by a control signal output from the control device 40.
  • the first outlet side inside / outside air switching device 33a which is the first outlet side inside / outside air switching unit, is arranged.
  • the inside / outside air switching device 33a on the first outlet side guides the air that has passed through the first heat exchanger 14a to the vehicle interior via the third air passage 31c, and the air that has passed through the first heat exchanger 14a. Switch to the ventilation path leading to the outside.
  • the first outlet side inside / outside air switching device 33a has a first outlet side outdoor door 331a and a first outlet side indoor door 332a.
  • the first outlet side outdoor door 331a opens and closes the first outdoor outlet 333a.
  • the first outdoor outlet 333a is an outlet that allows air to flow out of the room from the first air passage 31a.
  • the first outside air introduction port 323a is formed in a portion of the casing 31 forming the first air passage 31a on the downstream side of the air flow from the first heat exchanger 14a.
  • the first exit side indoor door 332a opens and closes the first indoor outlet 35b.
  • the first indoor outlet 35b communicates the first air passage 31a and the third air passage 31c.
  • the first indoor outlet 35b is an outlet that allows air to flow out from the first air passage 31a to the indoor side via the third air passage 31c.
  • the first indoor outlet 35b is formed in a portion of the casing 31 forming the first air passage 31a on the downstream side of the air flow from the first heat exchanger 14a.
  • the first exit side outdoor door 331a and the first exit side indoor door 332a are connected to a first outlet side electric actuator (not shown) via a link mechanism or the like.
  • the first exit side outdoor door 331a and the first exit side indoor door 332a are driven in conjunction with each other by the first outlet side electric actuator.
  • the first outlet side electric actuator can continuously adjust the opening degrees of the first outdoor outlet 333a and the first indoor outlet 35b.
  • the first outlet-side electric actuator can increase the opening degree of the first indoor outlet 35b as the opening degree of the first outdoor outlet 333a decreases.
  • the operation of the first outlet-side electric actuator is controlled by a control signal output from the control device 40.
  • a second heat exchanger 14b is arranged in the second air passage 31b. Therefore, the second air passage 31b is an air passage through which the air flowing into the second heat exchanger 14b and the air passing through the second heat exchanger 14b flow.
  • a second inlet side inside / outside air switching device 32b as a second inlet side inside / outside air switching unit is arranged.
  • the second inlet side inside / outside air switching device 32b has a ventilation path that guides the inside air to the upstream side of the second heat exchanger 14b as air flowing into the second heat exchanger 14b, and the outside air upstream of the second heat exchanger 14b. Switch to the ventilation path leading to the side.
  • the second inlet side inside / outside air switching device 32b has a second inlet side outside air door 321b and a second inlet side inside air door 322b.
  • the second entrance side outside air door 321b opens and closes the second outside air introduction port 323b.
  • the second outside air introduction port 323b is an introduction port for introducing outside air into the second air passage 31b.
  • the second outside air introduction port 323b is formed in a portion of the casing 31 forming the second air passage 31b on the upstream side of the air flow from the second heat exchanger 14b.
  • the second entrance side inside air door 322b opens and closes the second inside air introduction port 35c.
  • the second inside air introduction port 35c communicates the second air passage 31b and the fourth air passage 31d.
  • the second inside air introduction port 35c is an introduction port for introducing inside air into the second air passage 31b via the fourth air passage 31d.
  • the second inside air introduction port 35c is formed in a portion of the casing 31 forming the second air passage 31b on the upstream side of the air flow from the second heat exchanger 14b.
  • the second inlet side outside air door 321b and the second inlet side inside air door 322b are connected to a second inlet side electric actuator (not shown) via a link mechanism or the like.
  • the second inlet side outside air door 321b and the second inlet side inside air door 322b are driven in conjunction with each other by the second inlet side electric actuator.
  • the second inlet side electric actuator can continuously adjust the opening degree of the second outside air introduction port 323b and the second inside air introduction port 35c.
  • the second inlet-side electric actuator can increase the opening degree of the second inside air introduction port 35c as the opening degree of the second outside air introduction port 323b decreases.
  • the operation of the second inlet-side electric actuator is controlled by a control signal output from the control device 40.
  • a second outlet side inside / outside air switching device 33b which is a second outlet side inside / outside air switching unit, is arranged.
  • the inside / outside air switching device 33b on the second outlet side guides the air that has passed through the second heat exchanger 14b to the vehicle interior via the third air passage 31c, and the air that has passed through the second heat exchanger 14b. Switch to the ventilation path leading to the outside.
  • the second outlet side inside / outside air switching device 33b has a second outlet side outdoor door 331b and a second outlet side indoor door 332b.
  • the second outlet side outdoor door 331b opens and closes the second outdoor outlet 333b.
  • the second outdoor outlet 333b is an outlet that allows air to flow out of the room from the second air passage 31b.
  • the second outside airflow outlet 333b is formed in a portion of the casing 31 forming the second air passage 31b on the downstream side of the air flow from the second heat exchanger 14b.
  • the second outlet side indoor door 332b opens and closes the second indoor outlet 35d.
  • the second indoor outlet 35d communicates the second air passage 31b and the third air passage 31c.
  • the second indoor outlet 35d is an outlet that allows air to flow out from the second air passage 31b to the indoor side via the third air passage 31c.
  • the second indoor outlet 35d is formed in a portion of the casing 31 that forms the second air passage 31b on the downstream side of the air flow from the second heat exchanger 14b.
  • the second exit side outdoor door 331b and the second exit side indoor door 332b are connected to a second outlet side electric actuator (not shown) via a link mechanism or the like.
  • the second outlet side outdoor door 331b and the second exit side indoor door 332b are driven in conjunction with each other by the second outlet side electric actuator.
  • the second outlet side electric actuator can continuously adjust the opening degree of the second chamber outdoor outlet 333b and the second indoor outlet 35d.
  • the second outlet-side electric actuator can increase the opening degree of the second indoor outlet 35d as the opening degree of the second outdoor outlet 333b decreases.
  • the operation of the second outlet-side electric actuator is controlled by a control signal output from the control device 40.
  • a discharge blower 36 is arranged on the downstream side of the first outdoor outlet 333a of the first air passage 31a and the second outdoor outlet 333b of the second air passage 31b.
  • the discharge blower 36 is an electric blower that sucks in the air flowing out from the first outdoor outlet 333a and the second outdoor outlet 333b and discharges the air to the outside.
  • the rotation speed (that is, the blowing capacity) of the discharge blower 36 is controlled by the control voltage output from the control device 40.
  • the third air passage 31c is an air passage through which the air flowing into the heater core 22 and the air passing through the heater core 22 flow.
  • An outside air introduction device 32c which is an outside air introduction part, is arranged on the most upstream side of the air flow of the third air passage 31c.
  • the outside air introduction device 32c causes the outside air to flow into the third air passage 31c. More specifically, the outside air introduction device 32c guides the outside air bypassing the first heat exchanger 14a and the second heat exchanger 14b to the inlet side of the heater core 22 constituting the heating unit.
  • the outside air introduction device 32c has an outside air introduction door 321c.
  • the outside air introduction door 321c opens and closes the third outside air introduction port 323c.
  • the third outside air introduction port 323c is an introduction port for introducing outside air into the third air passage 31c.
  • the third outside air introduction port 323c is formed in a portion of the casing 31 forming the third air passage 31c on the upstream side of the air flow from the heater core 22.
  • first indoor outlet 35b that communicates the first air passage 31a and the third air passage 31c is a portion of the casing 31 that forms the third air passage 31c on the upstream side of the air flow from the heater core 22. Is formed in.
  • second indoor outlet 35d that communicates the second air passage 31b and the third air passage 31c is a portion of the casing 31 that forms the third air passage 31c on the upstream side of the air flow from the heater core 22. Is formed in.
  • the heater core 22 is arranged so that the air flowing into the third air passage 31c from the outside air introduction portion can be heated. Further, the heater core 22 is arranged so that the air that has passed through the first heat exchanger 14a and has flowed into the third air passage 31c from the first indoor outlet 35b can be heated. Further, the heater core 22 is arranged so that the air that has passed through the second heat exchanger 14b and has flowed into the third air passage 31c from the second chamber outlet 35d can be heated.
  • An indoor blower 37 is located on the downstream side of the air flow of the third outside air inlet 323c, the first indoor outlet 35b, and the second indoor outlet 35d in the third air passage 31c, and on the upstream side of the air flow from the heater core 22. Is placed.
  • the indoor blower 37 is an electric blower that sucks the air that has flowed into the third air passage 31c and blows it toward the vehicle interior.
  • the rotation speed (that is, the blowing capacity) of the indoor blower 37 is controlled by the control voltage output from the control device 40.
  • a centrifugal blower equipped with a turbofan is used as the indoor blower 37.
  • a ventilation passage is formed by connecting a plurality of air passages via an introduction port or the like as in the present embodiment
  • the pressure loss generated when air flows through the ventilation passage tends to increase.
  • a centrifugal blower equipped with a turbofan is effective in that it tends to blow air into the vehicle interior because the pressure ratio tends to be high.
  • a plurality of opening holes (not shown) for blowing air that has passed through the heater core 22 into the vehicle interior are formed in a portion of the casing 31 that forms the most downstream portion of the third air passage 31c.
  • the face opening hole is an opening hole for blowing air toward the upper body of the occupant in the vehicle interior.
  • the foot opening hole is an opening hole for blowing air toward the feet of the occupant.
  • the defroster opening hole is an opening hole for blowing air toward the inner surface of the front window glass of the vehicle.
  • An outlet mode switching door (not shown) is arranged on the upstream side of these opening holes.
  • the blow-out mode switching door switches the opening holes for blowing out the air-conditioning air by opening and closing each opening hole.
  • the blowout mode switching door is driven by an electric actuator for driving the blowout mode switching door.
  • the operation of the electric actuator for driving the blowout mode switching door is controlled by the control signal output from the control device 40.
  • the fourth air passage 31d is an air passage that introduces and circulates inside air.
  • a heating unit inlet side switching device 34a and a heating unit outlet side switching device 34b are arranged at a portion of the casing 31 that separates the third air passage 31c and the fourth air passage 31d.
  • the heating unit inlet side switching device 34a switches between a ventilation path that guides the inside air to the first inside air introduction port 35a and the second inside air introduction port 35c side and a ventilation path that directly sucks the inside air into the indoor blower 37. It is a side switching part. More specifically, the heating unit inlet side switching device 34a bypasses the first air passage 31a and the second air passage 31b and sucks the inside air flowing through the fourth air passage 31d into the indoor blower 37.
  • the heating unit inlet side switching device 34a has a heating unit inlet side door 341a.
  • the heating unit inlet side door 341a opens and closes the heating unit inlet side opening 35e.
  • the opening 35e on the inlet side of the heating portion communicates the third air passage 31c and the fourth air passage 31d.
  • the opening 35e on the inlet side of the heating portion is formed in a portion of the casing 31 forming the third air passage 31c on the upstream side of the air flow from the suction port of the indoor blower 37.
  • the heating unit inlet side door 341a is connected to a heating unit inlet side electric actuator (not shown).
  • the heating unit inlet side door 341a is driven by the heating unit inlet side electric actuator.
  • the operation of the electric actuator on the inlet side of the heating unit is controlled by a control signal output from the control device 40.
  • the heating unit outlet side switching device 34b directly guides the air heated by the heater core 22 constituting the heating unit to the vehicle interior and the air heated by the heater core 22 to the fourth air passage 31d. It is a switching part on the outlet side of the heating part that switches between the ventilation path and the air passage. More specifically, the heating unit outlet side switching device 34b can bypass the air heated by the heater core 22 and return the air to the first inside air introduction port 35a and the second inside air introduction port 35c side.
  • the heating unit outlet side switching device 34b has a heating unit outlet side door 341b.
  • the heating unit outlet side door 341b opens and closes the heating unit outlet side opening 35f.
  • the opening 35f on the outlet side of the heating portion communicates the third air passage 31c and the fourth air passage 31d.
  • the opening 35f on the outlet side of the heating portion is formed in a portion of the casing 31 forming the third air passage 31c on the downstream side of the air flow from the heater core 22.
  • the heating unit outlet side door 341b is connected to a heating unit outlet side electric actuator (not shown).
  • the heating unit outlet side door 341b is driven by the heating unit outlet side electric actuator.
  • the operation of the electric actuator on the outlet side of the heating unit is controlled by a control signal output from the control device 40.
  • the first inside air introduction port 35a that communicates the fourth air passage 31d and the first air passage 31a is a portion of the casing 31 that forms the fourth air passage 31d and is larger than the opening 35e on the inlet side of the heating portion. 4 It is formed in a portion of the air passage 31d on the downstream side of the air flow.
  • the second inside air introduction port 35c that communicates the fourth air passage 31d and the second air passage 31b is the second portion of the casing 31 that forms the fourth air passage 31d, rather than the opening 35e on the inlet side of the heating portion. 4 It is formed in a portion of the air passage 31d on the downstream side of the inside air flow.
  • each door of each of the switching devices 32a to 32c, 33a, 33b, 34a, 34b has an outside air introduction port, each inside air introduction port, each outdoor outlet, and each indoor flow. It shows the state where the exit and each opening are closed.
  • the control device 40 is composed of a well-known microcomputer including a CPU, ROM, RAM, and the like, and peripheral circuits thereof.
  • the control device 40 performs various calculations and processes based on the air conditioning control program stored in the ROM, and various control target devices 11, 13a, 13b, 21, 24a, 24b, 32a, 32b, connected to the output side. It controls the operation of 32c, 33a, 33b, 34a, 34b, 36, 37 and the like.
  • control sensor includes an inside air temperature sensor 41a, an outside air temperature sensor 41b, a solar radiation amount sensor 41c, and the like. Further, as the control sensor, the high pressure pressure sensor 41d, the first heat exchanger temperature sensor 41e, the second heat exchanger temperature sensor 41f, the first refrigerant temperature sensor 41g, the second refrigerant temperature sensor 41h, and the third refrigerant temperature sensor 41i, heat medium temperature sensor 41j and the like are included.
  • the internal air temperature sensor 41a is an internal air temperature detection unit that detects the internal air temperature Tr, which is the temperature inside the vehicle.
  • the outside air temperature sensor 41b is an outside air temperature detection unit that detects the outside air temperature Tam, which is the temperature outside the vehicle interior.
  • the solar radiation amount sensor 41c is a solar radiation amount detection unit that detects the solar radiation amount As emitted into the vehicle interior. This is a high-pressure pressure detection unit that detects the high-pressure pressure Pd of the high-pressure refrigerant discharged from the high-pressure pressure sensor 41d and the compressor 11.
  • the first heat exchanger temperature sensor 41e is a first heat exchanger temperature detection unit that detects the refrigerant evaporation temperature (that is, the temperature of the first heat exchanger 14a) in the first heat exchanger 14a.
  • the second heat exchanger temperature sensor 41f is a second heat exchanger temperature detection unit that detects the refrigerant evaporation temperature (that is, the temperature of the second heat exchanger 14b) in the second heat exchanger 14b.
  • the first refrigerant temperature sensor 41g is a first refrigerant temperature detecting unit that detects the first refrigerant temperature T1, which is the temperature of the refrigerant flowing out from the refrigerant passage of the water-refrigerant heat exchanger 12.
  • the second refrigerant temperature sensor 41h is a second refrigerant temperature detection unit that detects the second refrigerant temperature T2, which is the temperature of the refrigerant flowing out of the first heat exchanger 14a.
  • the third refrigerant temperature sensor 41i is a third refrigerant temperature detection unit that detects the third refrigerant temperature T3, which is the temperature of the refrigerant flowing out from the second heat exchanger 14b.
  • the heat medium temperature sensor 41j is a heat medium temperature detection unit that detects the heat medium temperature Tw, which is the temperature of the heat medium flowing into the heater core 22.
  • an operation panel 42 arranged near the instrument panel in the front part of the vehicle interior is connected to the input side of the control device 40. Operation signals from various operation switches provided on the operation panel 42 are input to the control device 40. Specific examples of the various operation switches provided on the operation panel 42 include an auto switch, an air conditioner switch, an air volume setting switch, and a temperature setting switch.
  • the auto switch is an operation switch that sets or cancels the automatic control operation of the refrigeration cycle device 10.
  • the air conditioner switch is an operation switch that requires the air to be cooled by the first heat exchanger 14a or the second heat exchanger 14b.
  • the air volume setting switch is an operation switch for manually setting the air volume of the indoor blower 37.
  • the temperature setting switch is an operation switch for setting the target temperature Tset in the vehicle interior.
  • control device 40 of the present embodiment is integrally composed of a control unit that controls various control target devices connected to the output side thereof. Therefore, a configuration (that is, hardware and software) that controls the operation of each controlled device constitutes a control unit that controls the operation of each controlled device.
  • the configuration that controls the operation of the compressor 11 of the heat pump cycle 10 is the compressor control unit 40a.
  • the configuration for controlling the operation of the first inlet side inside / outside air switching device 32a is the first inlet side inside / outside air switching control unit 40b.
  • the configuration for controlling the operation of the second inlet side inside / outside air switching device 32b is the second inlet side inside / outside air switching control unit 40c.
  • the configuration for controlling the operation of the outside air introduction device 32c is the outside air introduction control unit 40d.
  • the configuration for controlling the operation of the first outlet side inside / outside air switching device 33a is the first outlet side inside / outside air switching control unit 40e.
  • the configuration for controlling the operation of the second outlet side inside / outside air switching device 33b is the second outlet side inside / outside air switching control unit 40f.
  • the configuration for controlling the operation of the heating unit inlet side switching device 34a is the heating unit inlet side switching control unit 40g.
  • the configuration for controlling the operation of the heating unit outlet side switching device 34b is the heating unit outlet side switching control unit 40h.
  • the vehicle air conditioner 1 can switch an operation mode such as a cooling mode, a heating mode, a dehumidifying heating mode, and a dehumidifying mode in order to air-condition the interior of the vehicle.
  • the cooling mode is an operation mode in which cooled air is blown into the vehicle interior.
  • the heating mode is an operation mode in which the heated air is blown into the vehicle interior.
  • the dehumidifying / heating mode is an operation mode in which the cooled and dehumidified air is reheated and blown out into the vehicle interior.
  • the defrosting mode is an operation mode for removing frost on the heat exchanger in which frost has formed.
  • the operation mode is switched by executing the air conditioning control program stored in the control device 40 in advance.
  • the air conditioning control program is executed when the auto switch of the operation panel 42 is turned on (ON).
  • the operation mode is switched based on the detection signals of various control sensors and the operation signals of the operation panel. The operation of each operation mode will be described below.
  • the cooling mode is an operation mode that is mainly executed when the outside air temperature Tam is relatively high (20 ° C. or higher in this embodiment).
  • the inside air cooling mode, the outside air cooling mode, and the combined cooling mode can be switched as the cooling mode.
  • control device 40 operates the compressor 11 of the heat pump cycle 10. More specifically, the control device 40 controls the refrigerant discharge capacity of the compressor 11 so that the second heat exchanger temperature Tefin2 detected by the second heat exchanger temperature sensor 41f approaches the target evaporator temperature TEO. To do.
  • the target evaporator temperature TEO is determined based on the target blowout temperature TAO of the air blown into the vehicle interior by referring to the control map for the cooling mode stored in advance in the control device 40.
  • the target blowout temperature TAO is calculated using the detection signals of various control sensors and the operation signals of the operation panel.
  • the target evaporator temperature TEO is increased as the target outlet temperature TAO increases. Further, the target evaporator temperature TEO is determined to be a value capable of suppressing frost formation in the second heat exchanger 14b (at least 1 ° C. or higher in this embodiment).
  • control device 40 sets the first expansion valve 13a in the fully open state. Further, the control device 40 puts the second expansion valve 13b in a throttled state in which the refrigerant depressurizing action is exerted. More specifically, the control device 40 controls the operation of the second expansion valve 13b so that the supercooling degree SC2 of the refrigerant flowing into the second expansion valve 13b approaches the target supercooling degree SCO2.
  • the target supercooling degree SCO2 is determined based on the second refrigerant temperature T2 detected by the second refrigerant temperature sensor 41h with reference to the control map for the cooling mode stored in the control device 40 in advance.
  • the target supercooling degree SCO2 is determined so that the coefficient of performance (that is, COP) of the cycle approaches the maximum value.
  • control device 40 operates the heat medium pump 21 of the heat medium circuit 20 so as to exert a predetermined reference pumping capacity.
  • control device 40 controls the operation of the first flow rate adjusting valve 24a so that the total flow rate of the heat medium discharged from the heat medium pump 21 flows into the heat medium passage of the water-refrigerant heat exchanger 12. Further, the control device 40 controls the operation of the second flow rate adjusting valve 24b so that the total flow rate of the heat medium flowing out from the heat medium passage of the water-refrigerant heat exchanger 12 flows into the heat medium radiator 23.
  • control device 40 controls the operation of the first inlet side inside / outside air switching device 32a so as to open the first outside air introduction port 323a of the air conditioning unit 30 and close the first inside air introduction port 35a. That is, the inside / outside air switching device 32a on the first inlet side switches the outside air to the ventilation path that guides the outside air to the first heat exchanger 14a.
  • control device 40 controls the operation of the first outlet side inside / outside air switching device 33a so as to open the first indoor / outdoor outlet 333a and close the first indoor outlet 35b. That is, the first outlet side inside / outside air switching device 33a switches to a ventilation path that guides the air that has passed through the first heat exchanger 14a to the outside of the vehicle interior.
  • control device 40 controls the operation of the second inlet side inside / outside air switching device 32b so as to close the second outside air introduction port 323b and open the second inside air introduction port 35c. That is, the inside / outside air switching device 32b on the second inlet side switches the inside air to the ventilation path that guides the inside air to the second heat exchanger 14b.
  • control device 40 controls the operation of the second outlet side inside / outside air switching device 33b so as to close the second indoor / outdoor outlet 333b and open the second indoor outlet 35d. That is, the second outlet side inside / outside air switching device 33b switches to a ventilation path that guides the air that has passed through the second heat exchanger 14b into the vehicle interior.
  • control device 40 controls the operation of the outside air introduction device 32c so as to close the third outside air introduction port 323c. Further, the control device 40 controls the operation of the heating unit inlet side switching device 34a so as to close the heating unit inlet side opening 35e. Further, the control device 40 controls the operation of the heating unit outlet side switching device 34b so as to close the heating unit outlet side opening 35f.
  • control device 40 operates the discharge blower 36 so as to exert a predetermined reference blower capacity.
  • control device 40 operates the indoor blower 37 so as to exert the target blowing ability.
  • the target blowing capacity of the indoor blower 37 is determined based on the target blowing temperature TAO with reference to the control map stored in the control device 40 in advance.
  • the blowing capacity of the indoor blower 37 is maximized in the extremely low temperature region (maximum cooling region) and the extremely high temperature region (maximum heating region) of the target blowing temperature TAO.
  • the blowing capacity is reduced according to the rise in the target blowout temperature TAO, and the target blowout temperature TAO rises from the cryogenic temperature region to the intermediate temperature region.
  • the blowing capacity is reduced according to the decrease in the target blowing temperature TAO.
  • the target blowing temperature TAO falls within a predetermined intermediate temperature range, the blowing capacity is minimized.
  • the high-pressure refrigerant discharged from the compressor 11 flows into the refrigerant passage of the water-refrigerant heat exchanger 12.
  • the refrigerant flowing into the refrigerant passage of the water-refrigerant heat exchanger 12 exchanges heat with the heat medium flowing through the heat medium passage.
  • the refrigerant dissipates heat to the heat medium and condenses. As a result, the heat medium is heated.
  • the refrigerant flowing into the first heat exchanger 14a exchanges heat with the air (specifically, the outside air) flowing into the first air passage 31a from the first outside air introduction port 323a of the air conditioning unit 30.
  • the refrigerant dissipates heat to the air and further condenses. As a result, the air flowing through the first air passage 31a is heated.
  • the refrigerant flowing out of the first heat exchanger 14a flows into the second expansion valve 13b and is depressurized.
  • the low-pressure refrigerant decompressed by the second expansion valve 13b flows into the second heat exchanger 14b.
  • the refrigerant flowing into the second heat exchanger 14b exchanges heat with the air (specifically, the inside air) flowing into the second air passage 31b from the second inside air introduction port 35c of the air conditioning unit 30.
  • the refrigerant absorbs heat from the air and evaporates. As a result, the air flowing through the second air passage 31b is cooled.
  • the refrigerant flowing out of the second heat exchanger 14b flows into the accumulator 15.
  • the refrigerant flowing into the accumulator 15 is gas-liquid separated.
  • the vapor-phase refrigerant separated by the accumulator 15 is sucked into the compressor 11 and compressed again.
  • the heat medium having the full flow rate pumped from the heat medium pump 21 flows into the heat medium passage of the water-refrigerant heat exchanger 12.
  • the heat medium flowing into the heat medium passage of the water-refrigerant heat exchanger 12 exchanges heat with the refrigerant flowing through the refrigerant passage.
  • the heat medium is heated.
  • the heat medium that has flowed into the heat medium radiator 23 exchanges heat with the outside air.
  • the heat medium dissipates heat to the outside air and is cooled.
  • the heat medium flowing out of the heat medium radiator 23 is sucked into the heat medium pump 21 and pumped again.
  • Air (specifically, outside air) flows into the first air passage 31a through the first outside air introduction port 323a.
  • the air flowing into the first air passage 31a is heated by exchanging heat with the refrigerant in the first heat exchanger 14a.
  • the air heated by the first heat exchanger 14a flows out from the first outdoor outlet 333a.
  • the air flowing out from the first outdoor outlet 333a is sucked into the discharge blower 36 and discharged to the outside of the vehicle interior.
  • the air (specifically, the inside air) flowing through the fourth air passage 31d flows into the second air passage 31b through the second inside air introduction port 35c.
  • the air flowing into the second air passage 31b exchanges heat with the refrigerant in the second heat exchanger 14b and is cooled.
  • the air cooled by the second heat exchanger 14b flows into the third air passage 31c via the second chamber outlet 35d.
  • the air flowing into the third air passage 31c is sucked into the indoor blower 37 and blown to the heater core 22.
  • the heat medium does not circulate in the heater core 22. Therefore, the air flowing into the heater core 22 is blown into the vehicle interior without being heated by the heat medium. As a result, cooling of the passenger compartment is realized.
  • the inside air cooling mode In the inside air cooling mode, the inside air is circulated and blown to be cooled by the second heat exchanger 14b. Therefore, by switching to the inside air cooling mode immediately after starting the cooling, quick-acting cooling in the vehicle interior can be expected.
  • (A-2) Outside air cooling mode In the outside air cooling mode, the control device 40 controls the operation of the compressor 11, the first expansion valve 13a, and the second expansion valve 13b of the heat pump cycle 10 as in the inside air cooling mode. .. Further, the control device 40 controls the operation of the heat medium pump 21, the first flow rate adjusting valve 24a, and the second flow rate adjusting valve 24b of the heat medium circuit 20 as in the internal air cooling mode.
  • control device 40 controls the operation of the first inlet side inside / outside air switching device 32a and the first outlet side inside / outside air switching device 33a of the air conditioning unit 30 in the same manner as in the inside air cooling mode.
  • control device 40 controls the operation of the second inlet side inside / outside air switching device 32b so as to open the second outside air introduction port 323b and close the second inside air introduction port 35c. That is, the second inlet side inside / outside air switching device 32b switches the outside air to the ventilation path that guides the outside air to the second heat exchanger 14b. Further, the control device 40 controls the operation of the second outlet side inside / outside air switching device 33b as in the inside air cooling mode.
  • control device 40 controls the operation of the outside air introduction device 32c, the heating unit inlet side switching device 34a, and the heating unit outlet side switching device 34b, similarly to the inside air cooling mode. Further, the control device 40 controls the operation of the discharge blower 36 and the indoor blower 37 in the same manner as in the inside air cooling mode.
  • the heat pump cycle 10 and the heat medium circuit 20 in the outside air cooling mode operate in the same manner as in the inside air cooling mode.
  • Air (specifically, outside air) flows into the first air passage 31a through the first outside air introduction port 323a.
  • the air flowing into the first air passage 31a is heated by the first heat exchanger 14a and discharged to the outside of the vehicle interior in the same manner as in the inside air cooling mode.
  • Air (specifically, outside air) flows into the second air passage 31b through the second outside air introduction port 323b.
  • the air flowing into the second air passage 31b exchanges heat with the refrigerant in the second heat exchanger 14b and is cooled.
  • the air cooled by the second heat exchanger 14b flows into the third air passage 31c via the second chamber outlet 35d.
  • the air flowing into the third air passage 31c is blown into the vehicle interior in the same manner as in the inside air cooling mode. As a result, cooling of the passenger compartment is realized.
  • control device 40 controls the operation of the compressor 11 of the heat pump cycle 10 as in the inside air cooling mode.
  • control device 40 sets the first expansion valve 13a in the throttled state. More specifically, the control device 40 controls the operation of the first expansion valve 13a so that the supercooling degree SC1 of the refrigerant flowing into the first expansion valve 13a approaches the target supercooling degree SCO1.
  • the target supercooling degree SCO1 is determined based on the first refrigerant temperature T1 detected by the first refrigerant temperature sensor 41g with reference to the control map for the cooling mode stored in the control device 40 in advance.
  • the target supercooling degree SCO1 is determined so that the coefficient of performance (that is, COP) of the cycle approaches the maximum value.
  • control device 40 makes the second expansion valve 13b fully open.
  • control device 40 controls the operation of the heat medium pump 21, the first flow rate adjusting valve 24a, and the second flow rate adjusting valve 24b of the heat medium circuit 20 as in the internal air cooling mode.
  • control device 40 controls the operation of the first inlet side inside / outside air switching device 32a so as to open the first outside air introduction port 323a of the air conditioning unit 30 and close the first inside air introduction port 35a. That is, the inside / outside air switching device 32a on the first inlet side switches the outside air to the ventilation path that guides the outside air to the first heat exchanger 14a.
  • control device 40 controls the operation of the inside / outside air switching device 33a on the first outlet side so as to close the first indoor / outdoor outlet 333a and open the first indoor outlet 35b. That is, the first outlet side inside / outside air switching device 33a switches to a ventilation path that guides the air that has passed through the first heat exchanger 14a into the vehicle interior.
  • control device 40 controls the operation of the second inlet side inside / outside air switching device 32b so as to open the second outside air introduction port 323b and close the second inside air introduction port 35c. That is, the second inlet side inside / outside air switching device 32b switches the outside air to the ventilation path that guides the outside air to the second heat exchanger 14b.
  • control device 40 controls the operation of the second outlet side inside / outside air switching device 33b so as to close the second indoor / outdoor outlet 333b and open the second indoor outlet 35d. That is, the second outlet side inside / outside air switching device 33b switches to a ventilation path that guides the air that has passed through the second heat exchanger 14b into the vehicle interior.
  • control device 40 controls the operation of the outside air introduction device 32c, the heating unit inlet side switching device 34a, and the heating unit outlet side switching device 34b, similarly to the inside air cooling mode. Further, the control device 40 stops the discharge blower 36. Further, the control device 40 controls the operation of the indoor blower 37 in the same manner as in the inside air cooling mode.
  • the high-pressure refrigerant discharged from the compressor 11 flows into the refrigerant passage of the water-refrigerant heat exchanger 12.
  • the heat medium is heated in the same manner as in the inside air cooling mode.
  • the refrigerant flowing into the first heat exchanger 14a exchanges heat with the air (specifically, the outside air) flowing into the first air passage 31a from the first outside air introduction port 323a of the air conditioning unit 30.
  • the refrigerant absorbs heat from the air and evaporates. As a result, the air flowing through the first heat exchanger 14a is cooled.
  • the refrigerant flowing out of the first heat exchanger 14a flows into the second heat exchanger 14b via the fully open second expansion valve 13b.
  • the refrigerant flowing into the second heat exchanger 14b exchanges heat with the air (specifically, the outside air) flowing into the second air passage 31b from the second outside air introduction port 323b of the air conditioning unit 30.
  • the refrigerant absorbs heat from the air and evaporates. As a result, the air flowing through the second air passage 31b is cooled.
  • the refrigerant flowing out of the second heat exchanger 14b flows into the accumulator 15.
  • the refrigerant flowing into the accumulator 15 is gas-liquid separated.
  • the vapor-phase refrigerant separated by the accumulator 15 is sucked into the compressor 11 and compressed again.
  • the heat medium circuit 20 in the combined cooling mode operates in the same manner as in the inside air cooling mode.
  • Air (specifically, outside air) flows into the first air passage 31a through the first outside air introduction port 323a.
  • the air flowing into the first air passage 31a is cooled by the first heat exchanger 14a.
  • the air cooled by the first heat exchanger 14a flows into the third air passage 31c via the first chamber outlet 35b.
  • Air (specifically, outside air) flows into the second air passage 31b through the second outside air introduction port 323b.
  • the air flowing into the second air passage 31b is cooled by the second heat exchanger 14b.
  • the air cooled by the second heat exchanger 14b flows into the third air passage 31c via the second chamber outlet 35d.
  • the air flowing into the third air passage 31c is blown into the vehicle interior in the same manner as in the inside air cooling mode. As a result, cooling of the passenger compartment is realized.
  • the air can be cooled by both the first heat exchanger 14a and the second heat exchanger 14b, so that a sufficient flow rate of air can be cooled.
  • the inside / outside air switching device 32a on the first inlet side may switch to a ventilation path that guides the inside air to the first heat exchanger 14a.
  • the inside / outside air switching device 32b on the second inlet side may switch to a ventilation path that guides the inside air to the second heat exchanger 14b.
  • the heating mode is an operation mode that is mainly executed when the outside air temperature Tam is relatively low (0 ° C. or lower in this embodiment).
  • the inside air heating mode, the outside air heating mode, and the ventilation heating mode can be switched as the heating mode.
  • (B-1) Internal air heating mode
  • the control device 40 operates the compressor 11 of the heat pump cycle 10. More specifically, the control device 40 controls the refrigerant discharge capacity of the compressor 11 so that the high pressure Pd detected by the high pressure sensor 41d approaches the target high pressure PDO.
  • the target high-pressure PDO is determined based on the target outlet temperature TAO with reference to the control map for the heating mode stored in advance in the control device 40.
  • control map of the present embodiment it is determined that the target high pressure PDO is increased as the target blowing temperature TAO increases.
  • control device 40 sets the first expansion valve 13a in the throttled state. Further, the control device 40 sets the second expansion valve 13b in the fully open state. More specifically, the control device 40 controls the operation of the first expansion valve 13a so that the supercooling degree SC1 of the refrigerant flowing into the first expansion valve 13a approaches the target supercooling degree SCO1.
  • the target supercooling degree SCO1 is determined based on the first refrigerant temperature T1 detected by the first refrigerant temperature sensor 41g with reference to the control map for the heating mode stored in the control device 40 in advance. In the control map of the present embodiment, the target supercooling degree SCO1 is determined so that the coefficient of performance of the cycle approaches the maximum value.
  • control device 40 operates the heat medium pump 21 of the heat medium circuit 20 so as to exert a predetermined reference pumping capacity.
  • control device 40 controls the operation of the first flow rate adjusting valve 24a so that the total flow rate of the heat medium discharged from the heat medium pump 21 flows into the heater core 22. Further, the control device 40 controls the operation of the second flow rate adjusting valve 24b so that the heat medium temperature Tw detected by the heat medium temperature sensor 41j approaches the target heat medium temperature TWO.
  • the target heat medium temperature TWO is determined based on the target blowout temperature TAO with reference to the control map for the heating mode stored in advance in the control device 40.
  • control device 40 controls the operation of the first inlet side inside / outside air switching device 32a so as to open the first outside air introduction port 323a of the air conditioning unit 30 and close the first inside air introduction port 35a. That is, the inside / outside air switching device 32a on the first inlet side switches the outside air to the ventilation path that guides the outside air to the first heat exchanger 14a.
  • control device 40 controls the operation of the first outlet side inside / outside air switching device 33a so as to open the first indoor / outdoor outlet 333a and close the first indoor outlet 35b. That is, the first outlet side inside / outside air switching device 33a switches to a ventilation path that guides the air that has passed through the first heat exchanger 14a to the outside of the vehicle interior.
  • control device 40 controls the operation of the second inlet side inside / outside air switching device 32b so as to open the second outside air introduction port 323b and close the second inside air introduction port 35c. That is, the second inlet side inside / outside air switching device 32b switches the outside air to the ventilation path that guides the outside air to the second heat exchanger 14b.
  • control device 40 controls the operation of the second outlet side inside / outside air switching device 33b so as to open the second indoor / outdoor outlet 333b and close the second indoor outlet 35d. That is, the second outlet side inside / outside air switching device 33b switches to a ventilation path that guides the air that has passed through the second heat exchanger 14b to the outside of the vehicle interior.
  • control device 40 controls the operation of the outside air introduction device 32c so as to close the third outside air introduction port 323c. Further, the control device 40 controls the operation of the heating unit inlet side switching device 34a so as to open the heating unit inlet side opening 35e. Further, the control device 40 controls the operation of the heating unit outlet side switching device 34b so as to close the heating unit outlet side opening 35f.
  • control device 40 controls the operation of the discharge blower 36 and the indoor blower 37 in the same manner as in the inside air cooling mode.
  • the high-pressure refrigerant discharged from the compressor 11 flows into the refrigerant passage of the water-refrigerant heat exchanger 12.
  • the high-pressure refrigerant flowing into the refrigerant passage of the water-refrigerant heat exchanger 12 exchanges heat with the heat medium flowing through the heat medium passage.
  • the refrigerant dissipates heat to the heat medium and condenses. As a result, the heat medium is heated.
  • the refrigerant flowing into the first heat exchanger 14a exchanges heat with the air (specifically, the outside air) flowing into the first air passage 31a from the first outside air introduction port 323a of the air conditioning unit 30.
  • the refrigerant absorbs heat from the air and evaporates.
  • the refrigerant flowing out of the first heat exchanger 14a flows into the second heat exchanger 14b via the fully open second expansion valve 13b.
  • the refrigerant flowing into the second heat exchanger 14b exchanges heat with the air (specifically, the outside air) flowing into the second air passage 31b from the second outside air introduction port 323b of the air conditioning unit 30.
  • the refrigerant absorbs heat from the air and evaporates.
  • the refrigerant flowing out of the second heat exchanger 14b flows into the accumulator 15.
  • the refrigerant flowing into the accumulator 15 is gas-liquid separated.
  • the gas phase refrigerant separated by the accumulator 15 is sucked into the compressor 11 and compressed again.
  • the heat medium pumped from the heat medium pump 21 flows into the heater core 22.
  • the heat medium flowing into the heater core 22 exchanges heat with the air flowing through the third air passage 31c.
  • the heat medium dissipates heat to the air. As a result, the air flowing through the third air passage 31c is heated.
  • the heat medium flowing out of the heater core 22 flows into the heat medium passage of the water-refrigerant heat exchanger 12.
  • the heat medium that has flowed into the heat medium passage of the water-refrigerant heat exchanger 12 exchanges heat with the refrigerant and is heated.
  • the heat medium that has flowed into the heat medium radiator 23 dissipates heat to the outside air and is cooled.
  • the heat medium flowing out of the heat medium radiator 23 flows into one inflow port of the second flow rate regulating valve 24b.
  • the heat medium that has flowed into the second bypass passage 20b from the heat medium passage of the water-refrigerant heat exchanger 12 flows into the other inflow port of the second flow rate adjusting valve 24b.
  • the heat medium flowing out from the second flow rate adjusting valve 24b is sucked into the heat medium pump 21 and pumped back to the heater core 22 side.
  • Air (specifically, outside air) flows into the first air passage 31a through the first outside air introduction port 323a.
  • the air flowing into the first air passage 31a exchanges heat with the refrigerant in the first heat exchanger 14a and is cooled.
  • the air cooled by the first heat exchanger 14a flows out from the first outdoor outlet 333a.
  • the air flowing out from the first outdoor outlet 333a is sucked into the discharge blower 36 and discharged to the outside of the vehicle interior.
  • Air (specifically, outside air) flows into the second air passage 31b through the second outside air introduction port 323b.
  • the air flowing into the second air passage 31b is cooled by exchanging heat with the refrigerant in the second heat exchanger 14b.
  • the air cooled by the second heat exchanger 14b flows out from the second outdoor outlet 333b.
  • the air flowing out from the second outdoor outlet 333b is sucked into the discharge blower 36 and discharged to the outside of the vehicle interior.
  • the air flowing through the fourth air passage 31d (specifically, the inside air) flows into the third air passage 31c through the opening 35e on the inlet side of the heating portion.
  • the air flowing into the third air passage 31c is sucked into the indoor blower 37 and blown to the heater core 22.
  • the air flowing into the heater core 22 exchanges heat with the heat medium and is heated.
  • the air heated by the heater core 22 is blown into the vehicle interior. As a result, heating of the vehicle interior is realized.
  • the inside air heating mode In the inside air heating mode, the inside air is circulated and heated by the heater core 22. Therefore, by switching to the inside air heating mode immediately after starting the heating, quick-acting heating in the vehicle interior can be expected.
  • (B-2) Outside air heating mode In the outside air heating mode, the control device 40 controls the operation of the compressor 11, the first expansion valve 13a, and the second expansion valve 13b of the heat pump cycle 10 as in the inside air heating mode. .. Further, the control device 40 controls the operation of the heat medium pump 21, the first flow rate adjusting valve 24a, and the second flow rate adjusting valve 24b of the heat medium circuit 20 as in the internal air heating mode.
  • the first inlet side inside / outside air switching device 32a, the first outlet side inside / outside air switching device 33a, the second inlet side inside / outside air switching device 32b, and the second 2 Controls the operation of the outlet side inside / outside air switching device 33b.
  • control device 40 controls the operation of the outside air introduction device 32c so as to open the third outside air introduction port 323c. Further, the control device 40 controls the operation of the heating unit inlet side switching device 34a so as to close the heating unit inlet side opening 35e. Further, the control device 40 controls the operation of the heating unit outlet side switching device 34b so as to close the heating unit outlet side opening 35f.
  • control device 40 controls the operation of the discharge blower 36 and the indoor blower 37 in the same manner as in the inside air cooling mode.
  • the heat pump cycle 10 and the heat medium circuit 20 in the outside air heating mode operate in the same manner as in the inside air heating mode.
  • Air (specifically, outside air) flows into the first air passage 31a through the first outside air introduction port 323a.
  • the air flowing into the first air passage 31a is cooled by the first heat exchanger 14a and discharged to the outside of the vehicle interior in the same manner as in the inside air heating mode.
  • Air (specifically, outside air) flows into the second air passage 31b through the second outside air introduction port 323b.
  • the air flowing into the second air passage 31b is cooled by the second heat exchanger 14b and discharged to the outside of the vehicle interior in the same manner as in the inside air heating mode.
  • Air (specifically, outside air) flows into the third air passage 31c through the third outside air introduction port 323c.
  • the air flowing into the third air passage 31c is sucked into the indoor blower 37 and blown to the heater core 22.
  • the air flowing into the heater core 22 exchanges heat with the heat medium and is heated.
  • the air heated by the heater core 22 is blown into the vehicle interior. As a result, heating of the vehicle interior is realized.
  • (B-3) Ventilation heating mode In the ventilation heating mode, the control device 40 controls the operation of the compressor 11 of the heat pump cycle 10 as in the inside air heating mode.
  • control device 40 sets the first expansion valve 13a in the throttled state. More specifically, the control device 40 has a temperature at which the refrigerant evaporation temperature in the first heat exchanger 14a is lower than the internal air temperature Tr and does not cause frost formation in the first heat exchanger 14a (this). In the embodiment, the operation of the first expansion valve 13a is controlled so as to have a temperature higher than 1 ° C.).
  • control device 40 sets the second expansion valve 13b in the throttled state. More specifically, the control device 40 controls the operation of the second expansion valve 13b so that the supercooling degree SC1 of the refrigerant flowing into the first expansion valve 13a approaches the target supercooling degree SCO1.
  • control device 40 controls the operation of the heat medium pump 21, the first flow rate adjusting valve 24a, and the second flow rate adjusting valve 24b of the heat medium circuit 20 as in the internal air heating mode.
  • control device 40 controls the operation of the first inlet side inside / outside air switching device 32a so as to close the first outside air introduction port 323a of the air conditioning unit 30 and open the first inside air introduction port 35a. That is, the inside / outside air switching device 32a on the first inlet side switches the inside air to the ventilation path that guides the inside air to the first heat exchanger 14a.
  • control device 40 controls the operation of the first outlet side inside / outside air switching device 33a so as to open the first indoor / outdoor outlet 333a and close the first indoor outlet 35b. That is, the first outlet side inside / outside air switching device 33a switches to a ventilation path that guides the air that has passed through the first heat exchanger 14a to the outside of the vehicle interior.
  • control device 40 controls the operation of the second inlet side inside / outside air switching device 32b and the second outlet side inside / outside air switching device 33b, similarly to the inside air heating mode.
  • control device 40 controls the operation of the outside air introduction device 32c so as to open the third outside air introduction port 323c. Further, the control device 40 controls the operation of the heating unit inlet side switching device 34a so as to close the heating unit inlet side opening 35e. Further, the control device 40 controls the operation of the heating unit outlet side switching device 34b so as to close the heating unit outlet side opening 35f.
  • control device 40 controls the operation of the discharge blower 36 and the indoor blower 37 in the same manner as in the inside air heating mode.
  • the high-pressure refrigerant discharged from the compressor 11 flows into the refrigerant passage of the water-refrigerant heat exchanger 12.
  • the heat medium is heated in the same manner as in the inside air heating mode.
  • the refrigerant flowing out of the refrigerant passage of the water-refrigerant heat exchanger 12 flows into the first expansion valve 13a and is depressurized.
  • the low-pressure refrigerant decompressed by the first expansion valve 13a flows into the first heat exchanger 14a.
  • the refrigerant flowing into the first heat exchanger 14a exchanges heat with the air (specifically, the inside air) flowing into the first air passage 31a from the first inside air introduction port 35a of the air conditioning unit 30.
  • the refrigerant absorbs heat from the air and evaporates.
  • the refrigerant flowing out of the first heat exchanger 14a flows into the second expansion valve 13b and is depressurized.
  • the low-pressure refrigerant decompressed by the second expansion valve 13b flows into the second heat exchanger 14b.
  • the refrigerant flowing into the second heat exchanger 14b absorbs heat from the air (specifically, the outside air) and evaporates, as in the inside air heating mode.
  • the refrigerant flowing out of the second heat exchanger 14b flows into the accumulator 15.
  • the refrigerant flowing into the accumulator 15 is gas-liquid separated.
  • the gas phase refrigerant separated by the accumulator 15 is sucked into the compressor 11 and compressed again.
  • the heat medium circuit 20 in the ventilation heating mode operates in the same manner as in the inside air heating mode.
  • the air (specifically, the inside air) that has passed through the fourth air passage 31d flows into the first air passage 31a through the first inside air introduction port 35a.
  • the air flowing into the first air passage 31a exchanges heat with the refrigerant and is cooled.
  • the air cooled by the first heat exchanger 14a flows out from the first outdoor outlet 333a.
  • the air flowing out from the first outdoor outlet 333a is sucked into the discharge blower 36 and discharged to the outside of the vehicle interior.
  • Air (specifically, outside air) flows into the second air passage 31b through the second outside air introduction port 323b.
  • the air flowing into the second air passage 31b is cooled by the second heat exchanger 14b and discharged to the outside of the vehicle interior in the same manner as in the inside air heating mode.
  • Air (specifically, outside air) flows into the third air passage 31c through the third outside air introduction port 323c.
  • the air flowing into the third air passage 31c is sucked into the indoor blower 37 and blown to the heater core 22.
  • the air flowing into the heater core 22 exchanges heat with the heat medium and is heated.
  • the air heated by the heater core 22 is blown into the vehicle interior. As a result, heating of the vehicle interior is realized.
  • the dehumidifying and heating mode is an operation mode that is mainly executed when the outside air temperature Tam is medium or low temperature (in this embodiment, 0 ° C. or higher and 20 ° C. or lower). Further, in the vehicle air conditioner 1 of the present embodiment, the first dehumidifying / heating mode and the second dehumidifying / heating mode can be switched as the dehumidifying / heating mode.
  • the first dehumidifying / heating mode is executed when the outside air temperature Tam is equal to or higher than a predetermined standard dehumidifying / heating temperature KTam (10 ° C. in this embodiment). Further, the second dehumidifying / heating mode is executed when the outside air temperature Tam is lower than the standard dehumidifying / heating temperature KTam.
  • control device 40 controls the operation of the compressor 11 of the heat pump cycle 10 as in the inside air heating mode.
  • control device 40 sets the first expansion valve 13a in the throttled state. More specifically, the control device 40 makes the refrigerant evaporation temperature in the first heat exchanger 14a lower than the outside air temperature Tam and equal to or higher than the refrigerant evaporation temperature in the second heat exchanger 14a. In addition, the operation of the first expansion valve 13a is controlled.
  • control device 40 sets the second expansion valve 13b in the throttled state. More specifically, the control device 40 controls the operation of the second expansion valve 13b so that the refrigerant evaporation temperature in the second heat exchanger 14b becomes the reference evaporation temperature KTe2 (1 ° C. in this embodiment). To do.
  • control device 40 controls the operation of the heat medium pump 21, the first flow rate adjusting valve 24a, and the second flow rate adjusting valve 24b of the heat medium circuit 20 as in the internal air heating mode.
  • control device 40 controls the operation of the first inlet side inside / outside air switching device 32a so as to open the first outside air introduction port 323a of the air conditioning unit 30 and close the first inside air introduction port 35a. That is, the inside / outside air switching device 32a on the first inlet side switches the outside air to the ventilation path that guides the outside air to the first heat exchanger 14a.
  • control device 40 controls the operation of the first outlet side inside / outside air switching device 33a so as to open the first indoor / outdoor outlet 333a and close the first indoor outlet 35b. That is, the first outlet side inside / outside air switching device 33a switches to a ventilation path that guides the air that has passed through the first heat exchanger 14a to the outside of the vehicle interior.
  • control device 40 controls the operation of the second inlet side inside / outside air switching device 32b so as to close the second outside air introduction port 323b and open the second inside air introduction port 35c. That is, the inside / outside air switching device 32b on the second inlet side switches the inside air to the ventilation path that guides the inside air to the second heat exchanger 14b.
  • control device 40 controls the operation of the second outlet side inside / outside air switching device 33b so as to close the second indoor / outdoor outlet 333b and open the second indoor outlet 35d. That is, the second outlet side inside / outside air switching device 33b switches to a ventilation path that guides the air that has passed through the second heat exchanger 14b into the vehicle interior.
  • control device 40 controls the operation of the outside air introduction device 32c so as to close the third outside air introduction port 323c. Further, the control device 40 controls the operation of the heating unit inlet side switching device 34a so as to close the heating unit inlet side opening 35e. Further, the control device 40 controls the operation of the heating unit outlet side switching device 34b so as to close the heating unit outlet side opening 35f.
  • control device 40 controls the operation of the discharge blower 36 and the indoor blower 37 in the same manner as in the inside air cooling mode.
  • the high-pressure refrigerant discharged from the compressor 11 flows into the refrigerant passage of the water-refrigerant heat exchanger 12.
  • the heat medium is heated in the same manner as in the inside air heating mode.
  • the refrigerant flowing out of the refrigerant passage of the water-refrigerant heat exchanger 12 flows into the first expansion valve 13a and is depressurized.
  • the low-pressure refrigerant decompressed by the first expansion valve 13a flows into the first heat exchanger 14a.
  • the refrigerant flowing into the first heat exchanger 14a exchanges heat with the air (specifically, the outside air) flowing into the first air passage 31a from the first outside air introduction port 323a of the air conditioning unit 30.
  • the refrigerant absorbs heat from the air and evaporates.
  • the refrigerant flowing out of the first heat exchanger 14a flows into the second expansion valve 13b and is depressurized.
  • the low-pressure refrigerant decompressed by the second expansion valve 13b flows into the second heat exchanger 14b.
  • the refrigerant flowing into the second heat exchanger 14b exchanges heat with the air (specifically, the inside air) flowing into the second air passage 31b from the second inside air introduction port 35c.
  • the refrigerant absorbs heat from the air and evaporates. As a result, the air flowing through the second air passage 31b is cooled and dehumidified.
  • the refrigerant flowing out of the second heat exchanger 14b flows into the accumulator 15.
  • the refrigerant flowing into the accumulator 15 is gas-liquid separated.
  • the gas phase refrigerant separated by the accumulator 15 is sucked into the compressor 11 and compressed again.
  • the heat medium circuit 20 in the first dehumidifying / heating mode operates in the same manner as in the inside air heating mode.
  • Air (specifically, outside air) flows into the first air passage 31a through the first outside air introduction port 323a.
  • the air flowing into the first air passage 31a is cooled by the first heat exchanger 14a and discharged to the outside of the vehicle interior in the same manner as in the inside air heating mode.
  • the air (specifically, the inside air) flowing through the fourth air passage 31d flows into the second air passage 31b through the second inside air introduction port 35c.
  • the air flowing into the second air passage 31b exchanges heat with the refrigerant in the second heat exchanger 14b, is cooled, and is dehumidified.
  • the air dehumidified by the second heat exchanger 14b flows into the third air passage 31c via the second chamber outlet 35d.
  • the air flowing into the third air passage 31c is sucked into the indoor blower 37 and blown to the heater core 22.
  • the air flowing into the heater core 22 exchanges heat with the heat medium and is reheated.
  • the air reheated by the heater core 22 is blown into the vehicle interior. As a result, dehumidifying and heating of the vehicle interior is realized.
  • the refrigerant evaporation temperature of the first heat exchanger 14a is higher than the refrigerant evaporation temperature of the second heat exchanger 14b. Therefore, frost does not occur in any of the heat exchangers of the first heat exchanger 14a and the second heat exchanger 14b.
  • control device 40 controls the operation of the compressor 11 of the heat pump cycle 10 as in the inside air heating mode.
  • control device 40 sets the first expansion valve 13a in the throttled state. More specifically, the control device 40 controls the operation of the first expansion valve 13a so that the refrigerant evaporation temperature in the first heat exchanger 14a becomes the reference evaporation temperature KTe1 (1 ° C. in this embodiment). To do.
  • control device 40 sets the second expansion valve 13b in the throttled state. More specifically, the control device 40 controls the operation of the second expansion valve 13b so that the refrigerant evaporation temperature in the second heat exchanger 14a is lower than the outside air temperature Tam.
  • control device 40 controls the operation of the heat medium pump 21, the first flow rate adjusting valve 24a, and the second flow rate adjusting valve 24b of the heat medium circuit 20 as in the internal air heating mode.
  • control device 40 controls the operation of the first inlet side inside / outside air switching device 32a so as to close the first outside air introduction port 323a of the air conditioning unit 30 and open the first inside air introduction port 35a. That is, the inside / outside air switching device 32a on the first inlet side switches the inside air to the ventilation path that guides the inside air to the first heat exchanger 14a.
  • control device 40 controls the operation of the inside / outside air switching device 33a on the first outlet side so as to close the first indoor / outdoor outlet 333a and open the first indoor outlet 35b. That is, the first outlet side inside / outside air switching device 33a switches to a ventilation path that guides the air that has passed through the first heat exchanger 14a into the vehicle interior.
  • control device 40 controls the operation of the second inlet side inside / outside air switching device 32b so as to open the second outside air introduction port 323b and close the second inside air introduction port 35c. That is, the second inlet side inside / outside air switching device 32b switches the outside air to the ventilation path that guides the outside air to the second heat exchanger 14b.
  • control device 40 controls the operation of the second outlet side inside / outside air switching device 33b so as to open the second indoor / outdoor outlet 333b and close the second indoor outlet 35d. That is, the second outlet side inside / outside air switching device 33b switches to a ventilation path that guides the air that has passed through the second heat exchanger 14b to the outside of the vehicle interior.
  • control device 40 controls the operation of the outside air introduction device 32c so as to close the third outside air introduction port 323c. Further, the control device 40 controls the operation of the heating unit inlet side switching device 34a so as to close the heating unit inlet side opening 35e. Further, the control device 40 controls the operation of the heating unit outlet side switching device 34b so as to close the heating unit outlet side opening 35f.
  • control device 40 controls the operation of the discharge blower 36 and the indoor blower 37 in the same manner as in the inside air cooling mode.
  • the high-pressure refrigerant discharged from the compressor 11 flows into the refrigerant passage of the water-refrigerant heat exchanger 12.
  • the heat medium is heated in the same manner as in the inside air heating mode.
  • the refrigerant flowing out of the refrigerant passage of the water-refrigerant heat exchanger 12 flows into the first expansion valve 13a and is depressurized.
  • the low-pressure refrigerant decompressed by the first expansion valve 13a flows into the first heat exchanger 14a.
  • the refrigerant flowing into the first heat exchanger 14a exchanges heat with the air (specifically, the inside air) flowing into the first air passage 31a from the first inside air introduction port 35a of the air conditioning unit 30.
  • the refrigerant absorbs heat from the air and evaporates.
  • the refrigerant flowing out of the first heat exchanger 14a flows into the second expansion valve 13b and is depressurized.
  • the low-pressure refrigerant decompressed by the second expansion valve 13b flows into the second heat exchanger 14b.
  • the refrigerant flowing into the second heat exchanger 14b exchanges heat with the air (specifically, the outside air) flowing into the second air passage 31b from the second outside air introduction port 323b.
  • the refrigerant absorbs heat from the air and evaporates.
  • the refrigerant flowing out of the second heat exchanger 14b flows into the accumulator 15.
  • the refrigerant flowing into the accumulator 15 is gas-liquid separated.
  • the gas phase refrigerant separated by the accumulator 15 is sucked into the compressor 11 and compressed again.
  • the heat medium circuit 20 in the second dehumidifying / heating mode operates in the same manner as in the inside air heating mode.
  • the air (specifically, the inside air) that has passed through the fourth air passage 31d flows into the first air passage 31a through the first inside air introduction port 35a.
  • the air flowing into the first air passage 31a exchanges heat with the refrigerant in the first heat exchanger 14a, is cooled, and is dehumidified.
  • the air cooled by the first heat exchanger 14b flows into the third air passage 31c through the first chamber outlet 35b.
  • Air (specifically, outside air) flows into the second air passage 31b through the second outside air introduction port 323b.
  • the air flowing into the second air passage 31b is cooled by the second heat exchanger 14b and discharged to the outside of the vehicle interior in the same manner as in the inside air heating mode.
  • the air flowing into the third air passage 31c is sucked into the indoor blower 37 and blown to the heater core 22.
  • the air flowing into the heater core 22 exchanges heat with the heat medium and is reheated.
  • the air reheated by the heater core 22 is blown into the vehicle interior. As a result, dehumidifying and heating of the vehicle interior is realized.
  • the refrigerant evaporation temperature in the second heat exchanger 14b may become 0 ° C. or lower. Further, the absolute humidity of the outside air when the second dehumidifying and heating mode is executed is higher than the absolute humidity of the outside air when the heating mode is executed. Therefore, in the second dehumidifying / heating mode, there is a high possibility that frost will occur on the second heat exchanger 14b.
  • frost formation blocks the air passage of the second heat exchanger 14b, and significantly deteriorates the heat exchange performance between the refrigerant and the outside air. As a result, if frost is formed on the second heat exchanger 14b, the heating capacity of the air in the heat pump cycle 10 is reduced.
  • control routine shown in the flowchart of FIG. 12 is executed to defrost the second heat exchanger 14b.
  • the control routine shown in FIG. 12 is executed at predetermined intervals as a subroutine of the air conditioning control program when the second dehumidifying / heating mode is being executed.
  • step S11 of FIG. 12 it is determined whether or not the predetermined frost formation condition is satisfied.
  • the frosting condition is satisfied when the time during which the second heat exchanger temperature Tefin2 is below the reference frost temperature is equal to or greater than the reference frost time. It is supposed to have been done.
  • the reference frost temperature is set to ⁇ 5 ° C. and the reference frost time is set to 5 minutes.
  • step S11 When it is determined in step S11 that the frost formation condition is satisfied, the process proceeds to step S12. In step S12, the mode is switched from the second dehumidifying / heating mode to the dehumidifying mode, and the process proceeds to step S13. The details of the defrost mode will be described later. If it is not determined in step S11 that the frost formation condition is satisfied, the process returns to the main routine.
  • step S13 it is determined whether or not the defrosting end condition is satisfied.
  • the defrosting end condition is satisfied when the time during which the defrosting operation is continued exceeds the standard frost formation time.
  • the standard frost formation time is set to 3 minutes.
  • step S13 When it is determined in step S13 that the defrosting end condition is satisfied, the process proceeds to step S14.
  • step S14 the dehumidification mode is switched to the second dehumidification / heating mode again, and the process returns to the main routine. If it is not determined in step S13 that the defrosting end condition is satisfied, the process proceeds to step S12, and the defrosting mode is continued. The details of the defrosting mode will be described below.
  • the low internal air temperature defrosting mode is a defrosting mode executed when the internal air temperature Tr is equal to or lower than the standard defrosting internal air temperature KTr (0 ° C. in this embodiment).
  • (D-1) Normal Defrost Mode In the normal defrost mode, the control device 40 reduces the refrigerant discharge capacity of the compressor 11 of the heat pump cycle 10. That is, the flow rate of the refrigerant flowing through the second heat exchanger 14b is lower than that of the second dehumidifying / heating mode. However, the control device 40 operates the compressor 11 without stopping it.
  • control device 40 controls the operation of the second expansion valve 13b so that the temperature of the refrigerant flowing through the second heat exchanger 14b is within the predetermined reference defrost temperature range. More specifically, in the defrost mode, the control device 40 operates the compressor 11 and the second expansion valve 13b so that the temperature of the refrigerant flowing through the second heat exchanger 14b is within the reference defrost temperature range. Control.
  • control device 40 controls the operation of the first expansion valve 13a so that the amount of heat absorption and dissipation in the entire cycle can be balanced according to the operation of the compressor 11 and the second expansion valve 13b.
  • control device 40 controls the operation of the heat medium pump 21, the first flow rate adjusting valve 24a, and the second flow rate adjusting valve 24b of the heat medium circuit 20 as in the internal air heating mode.
  • control device 40 controls the operation of the first inlet side inside / outside air switching device 32a so as to close the first outside air introduction port 323a of the air conditioning unit 30 and open the first inside air introduction port 35a. That is, the inside / outside air switching device 32a on the first inlet side switches the inside air to the ventilation path that guides the inside air to the first heat exchanger 14a.
  • control device 40 controls the operation of the inside / outside air switching device 33a on the first outlet side so as to close the first indoor / outdoor outlet 333a and open the first indoor outlet 35b. That is, the first outlet side inside / outside air switching device 33a switches to a ventilation path that guides the air that has passed through the first heat exchanger 14a into the vehicle interior.
  • control device 40 controls the operation of the second inlet side inside / outside air switching device 32b so as to close the second outside air introduction port 323b and open the second inside air introduction port 35c. That is, the inside / outside air switching device 32b on the second inlet side switches the inside air to the ventilation path that guides the inside air to the second heat exchanger 14b.
  • control device 40 controls the operation of the second outlet side inside / outside air switching device 33b so as to close the second indoor / outdoor outlet 333b and open the second indoor outlet 35d. That is, the second outlet side inside / outside air switching device 33b switches to a ventilation path that guides the air that has passed through the second heat exchanger 14b into the vehicle interior.
  • control device 40 controls the operation of the outside air introduction device 32c, the heating unit inlet side switching device 34a, and the heating unit outlet side switching device 34b, similarly to the inside air cooling mode. Further, the control device 40 stops the discharge blower 36. Further, the control device 40 controls the operation of the indoor blower 37 in the same manner as in the inside air cooling mode.
  • the high-pressure refrigerant discharged from the compressor 11 flows into the refrigerant passage of the water-refrigerant heat exchanger 12.
  • the temperature of the high-pressure refrigerant is lower than that in the second dehumidifying / heating mode. Therefore, the refrigerant that has flowed into the refrigerant passage of the water-refrigerant heat exchanger 12 flows out of the refrigerant passage with almost no heat radiated to the heat medium.
  • the refrigerant flowing into the first heat exchanger 14a exchanges heat with the air (specifically, the inside air) flowing into the first air passage 31a from the first inside air introduction port 35a of the air conditioning unit 30.
  • the refrigerant dissipates heat or absorbs heat so that the amount of heat absorption and dissipation in the entire cycle can be balanced.
  • the refrigerant flowing out of the first heat exchanger 14a flows into the second expansion valve 13b and is depressurized.
  • the throttle opening of the second expansion valve 13b is adjusted so that the temperature of the refrigerant flowing through the second heat exchanger 14b falls within the reference defrost temperature range.
  • the low-pressure refrigerant decompressed by the second expansion valve 13b flows into the second heat exchanger 14b.
  • the refrigerant dissipates heat to the frost.
  • the frost melts and the defrosting of the second heat exchanger 14b proceeds.
  • the refrigerant flowing out of the second heat exchanger 14b flows into the accumulator 15.
  • the refrigerant flowing into the accumulator 15 is gas-liquid separated.
  • the gas phase refrigerant separated by the accumulator 15 is sucked into the compressor 11 and compressed again.
  • the operation is the same as in the inside air heating mode.
  • Air (specifically, inside air) flows into the first air passage 31a through the first inside air introduction port 35a.
  • the air flowing into the first air passage 31a exchanges heat with the refrigerant in the first heat exchanger 14a.
  • the air that has exchanged heat with the refrigerant in the first heat exchanger 14b flows into the third air passage 31c via the first chamber outlet 35b.
  • the air (specifically, the inside air) flowing through the fourth air passage 31d flows into the second air passage 31b through the second inside air introduction port 35c.
  • the relatively high temperature inside air that has flowed into the second air passage 31b dissipates heat to the frost of the second heat exchanger 14b.
  • the frost melts and the defrosting of the second heat exchanger 14b proceeds.
  • the air flowing into the second air passage 31b is cooled to near 0 ° C. by frost and dehumidified.
  • the air that has passed through the second heat exchanger 14b flows into the third air passage 31c via the second chamber outlet 35d.
  • the air flowing into the third air passage 31c is sucked into the indoor blower 37 and blown to the heater core 22.
  • the air flowing into the heater core 22 exchanges heat with the heat medium and is reheated.
  • the air reheated by the heater core 22 is blown into the vehicle interior.
  • (D-2) Low internal temperature defrost mode In the low internal temperature defrost mode, the control device 40 controls the operation of the compressor 11 so as to exhibit the reference discharge capacity for the predetermined low internal temperature defrost mode. To do.
  • control device 40 sets the first expansion valve 13a in the throttled state. More specifically, the control device 40 controls the operation of the first expansion valve 13a so that the temperature of the refrigerant flowing through the first heat exchanger 14a and the second heat exchanger 14b is within the reference defrost temperature range. .. Further, the control device 40 sets the second expansion valve 13b in the fully open state.
  • control device 40 controls the operation of the heat medium pump 21, the first flow rate adjusting valve 24a, and the second flow rate adjusting valve 24b of the heat medium circuit 20 as in the internal air heating mode.
  • control device 40 controls the operation of the first inlet side inside / outside air switching device 32a so as to close the first inside air introduction port 35a of the air conditioning unit 30.
  • the first inlet side inside / outside air switching device 32a closes the first outside air introduction port 323a, but the first outside air introduction port 323a is closed. You may open it.
  • control device 40 controls the operation of the inside / outside air switching device 33a on the first outlet side so as to open the first indoor outlet 35b.
  • the first outlet side inside / outside air switching device 33a closes the first room / outside air outlet 333a, but the first room / outside air outlet 333a is closed. You may open it.
  • control device 40 controls the operation of the second inlet side inside / outside air switching device 32b so as to close the second outside air introduction port 323b and open the second inside air introduction port 35c. That is, the inside / outside air switching device 32b on the second inlet side switches the inside air to the ventilation path that guides the inside air to the second heat exchanger 14b.
  • control device 40 controls the operation of the second outlet side inside / outside air switching device 33b so as to close the second indoor / outdoor outlet 333b and open the second indoor outlet 35d. That is, the second outlet side inside / outside air switching device 33b switches to a ventilation path that guides the air that has passed through the second heat exchanger 14b into the vehicle interior.
  • control device 40 controls the operation of the outside air introduction device 32c so as to close the third outside air introduction port 323c. Further, the control device 40 controls the operation of the heating unit inlet side switching device 34a so as to close the heating unit inlet side opening 35e.
  • control device 40 controls the operation of the heating unit outlet side switching device 34b so as to open the heating unit outlet side opening 35f. That is, the heating unit outlet side switching device 34b switches to a ventilation path that allows the air heated by the heater core 22 to bypass the vehicle interior and flow into the fourth air passage 31d side.
  • control device 40 stops the discharge blower 36. Further, the control device 40 controls the operation of the indoor blower 37 in the same manner as in the inside air cooling mode.
  • the high-pressure refrigerant discharged from the compressor 11 flows into the refrigerant passage of the water-refrigerant heat exchanger 12.
  • the heat medium is heated.
  • the refrigerant flowing out of the refrigerant passage of the water-refrigerant heat exchanger 12 flows into the first expansion valve 13a and is depressurized.
  • the low-pressure refrigerant decompressed by the first expansion valve 13a flows into the first heat exchanger 14a.
  • the refrigerant dissipates heat to the frost.
  • the frost melts and the defrosting of the second heat exchanger 14b proceeds.
  • the refrigerant flowing out of the second heat exchanger 14b flows into the accumulator 15.
  • the refrigerant flowing into the accumulator 15 is gas-liquid separated.
  • the gas phase refrigerant separated by the accumulator 15 is sucked into the compressor 11 and compressed again.
  • the heat medium circuit 20 in the low internal temperature defrost mode operates in the same manner as the internal air heating mode.
  • the air flowing through the fourth air passage 31d flows into the second air passage 31b through the second inside air introduction port 35c.
  • the air flowing into the second air passage 31b dissipates heat to the frost.
  • defrosting of the second heat exchanger 14b proceeds.
  • the air flowing into the second air passage 31b is cooled to near 0 ° C. by frost and dehumidified.
  • the air that has passed through the second heat exchanger 14b flows into the third air passage 31c via the second chamber outlet 35d.
  • the air flowing into the third air passage 31c is sucked into the indoor blower 37 and blown to the heater core 22.
  • the air flowing into the heater core 22 exchanges heat with the heat medium and is reheated. Since at least a part of the air heated by the heater core 22 is opened by the heating unit outlet side switching device 34b at the heating unit outlet side opening 35f, the air is not blown into the vehicle interior and goes to the fourth air passage 31d. Inflow.
  • the relatively high temperature air that has flowed into the fourth air passage 31d is guided to the second air passage 31b again through the second inside air introduction port 35c. As a result, defrosting of the second heat exchanger 14b is realized.
  • comfortable air conditioning in the vehicle interior can be realized by switching the operation mode.
  • the first outlet side inside / outside air switching device 33a switches to a ventilation path that guides the air that has passed through the first heat exchanger 14a into the vehicle interior.
  • the heater core 22 heats the air that has passed through the first heat exchanger 14a. Therefore, the dehumidifying and heating of the vehicle interior can be performed by reheating the air cooled and dehumidified by the first heat exchanger 14a by the heater core 22 and guiding it to the vehicle interior.
  • the second inlet side inside / outside air switching device 32b switches to the ventilation path that guides the outside air to the second heat exchanger 14b.
  • the inside / outside air switching device 33b on the second outlet side switches to a ventilation path that guides the air that has passed through the second heat exchanger 14b to the outside of the vehicle interior. Therefore, the heat absorbed by the refrigerant from the outside air in the second heat exchanger 14b can be used as a heat source, and the air can be reliably reheated in the heater core 22.
  • the second inlet side inside / outside air switching device 32b switches to the ventilation path that guides the inside air to the second heat exchanger 14b. Therefore, the heat of the inside air, which has a relatively high temperature, can be used to defrost the second heat exchanger 14b.
  • the temperature of the refrigerant flowing through the second heat exchanger 14b is set to the reference defrosting temperature by reducing the flow rate of the refrigerant flowing through the second heat exchanger 14b as compared with the second dehumidification heating mode. It is kept within the range. Therefore, the second heat exchanger 14b can be effectively defrosted.
  • the energy consumed in the heat pump cycle 10 (specifically, consumed by the compressor 11) for defrosting the second heat exchanger 14b.
  • the power generated) can be reduced.
  • the compressor 11 since the compressor 11 is operated, the refrigerant can be circulated in the heat pump cycle 10 and the refrigerant can be circulated in the second heat exchanger 14b. As a result, the temperature equalization of the second heat exchanger 14b is promoted in the normal defrosting mode, so that the second heat exchanger 14b can be defrosted even more effectively.
  • a tank-and-tube type heat exchanger is adopted as the second heat exchanger 14b.
  • the second heat exchanger 14b is arranged so that the longitudinal direction of the refrigerant tube has a component extending in the vertical direction. According to this, the melted frost can be dropped downward to promote defrosting. Then, the defrosting time can be shortened.
  • the second outlet side inside / outside air switching device 33b switches to a ventilation path that guides the air that has passed through the second heat exchange section 14b into the vehicle interior. Therefore, the heater core 22 can reheat the air that has passed through the second heat exchange section 14b to dehumidify and heat the interior of the vehicle.
  • the refrigerant discharge capacity of the compressor 11 is reduced, so that the heating capacity of the heat medium in the water-refrigerant heat exchanger 12 is reduced. Therefore, the heating capacity of the air in the heater core 22 may be temporarily reduced.
  • the heat stored in the heat medium circulating in the heat medium circuit 20 can be used to continue heating the air in the heater core 22. Therefore, it is possible to suppress the deterioration of the heating feeling of the occupant in the normal defrosting mode.
  • the second dehumidifying / heating mode and the normal dehumidifying / heating mode are continuously switched. Therefore, the dehumidifying and heating of the vehicle interior can be continuously performed, and the deterioration of the heating feeling of the occupant can be further suppressed.
  • the operation in the cooling mode can be performed.
  • the inside / outside air switching device 32a on the first inlet side switches the outside air to the ventilation path that guides the outside air to the first heat exchanger 14a.
  • the inside / outside air switching device 33a on the first outlet side switches to a ventilation path that guides the air that has passed through the first heat exchanger 14a to the outside of the vehicle interior.
  • the second inlet side inside / outside air switching device 32b switches to a ventilation path that guides at least one of the inside air and the outside air to the second heat exchanger 14b.
  • the inside / outside air switching device 33b on the second outlet side switches the air that has passed through the second heat exchanger 14b to a ventilation path that guides the air to the vehicle interior. Therefore, the interior of the vehicle can be cooled by guiding the air cooled by the first heat exchanger 14a into the vehicle interior.
  • the vehicle air conditioner 1 of the present embodiment includes a heating unit outlet side switching device 34b. Then, in the low internal air temperature defrosting mode, the heating unit outlet side switching device 34b flows the air heated by the heater core 22 into the second heat exchanger 14b of the second air passage 31b via the fourth air passage 31d. Let me.
  • the second heat exchanger 14b is defrosted. be able to.
  • the operation in the ventilation heating mode can be performed.
  • the inside / outside air switching device 32a on the first inlet side switches the inside air to the ventilation path leading to the first heat exchanger 14a.
  • the first outlet side inside / outside air switching device 33a switches to a ventilation path that guides the air that has passed through the first heat exchanger 14a to the outside of the vehicle interior.
  • the heat of the inside air having a temperature higher than that of the outside air can be absorbed by the refrigerant. Therefore, the heating capacity of the blown air in the heater core 22 can be increased as compared with the inside air heating mode and the outside air heating mode. Further, in the second heat exchanger 14b, the amount of heat absorbed by the refrigerant from the outside air can be reduced. Therefore, it is possible to suppress the occurrence of frost on the second heat exchanger 14b.
  • the refrigerant evaporation temperature in the first heat exchanger 14a is adjusted to a temperature lower than the inside air and not causing frost formation in the first heat exchanger 14a. There is. Therefore, the heat of the inside air can be reliably absorbed by the refrigerant. Further, the first heat exchanger 14a will not be frosted.
  • the vehicle air conditioner 1 of the present embodiment includes an outside air introduction device 32c. Therefore, in the ventilation heating mode, the outside air introduction device 32c can switch to the ventilation passage for introducing the outside air into the third air passage 31c. Further, the inside / outside air switching device 33b on the second outlet side can switch to a ventilation path that guides the air that has passed through the second heat exchanger 14b to the outside of the vehicle interior.
  • the heat of the outside air can be absorbed by the refrigerant in the second heat exchanger 14b. Therefore, the heating capacity of the blown air can be further increased.
  • the indoor condenser 12a exchanges heat between the high-pressure refrigerant discharged from the compressor 11 and the air blown from the indoor blower 37 into the vehicle interior.
  • the heat of the high-pressure refrigerant can be dissipated to the air to heat the air.
  • the indoor condenser 12a is arranged in the third air passage 31c formed in the casing 31 of the air conditioning unit 30, similarly to the heater core 22 described in the first embodiment. That is, the indoor condenser 12a of the present embodiment constitutes a heating unit that heats air using a high-pressure refrigerant as a heat source.
  • the configuration of the other vehicle air conditioner 1 is the same as that of the first embodiment.
  • the heating mode, the dehumidifying heating mode, and the defrosting mode substantially the same as those of the first embodiment are performed by exchanging heat between the refrigerant and the air in the indoor condenser 12a. Can be executed.
  • the energy consumed in the heat pump cycle 10 for defrosting the second heat exchanger 14b can be reduced as in the first embodiment. ..
  • the heat medium circuit 20 is abolished. Therefore, when the second dehumidification / heating mode is switched to the normal dehumidification / heating mode, the air cannot be heated by utilizing the heat stored in the heat medium. Therefore, when the second dehumidifying / heating mode and the normal dehumidifying / heating mode are continuously switched, the heating feeling of the occupant may be deteriorated.
  • the indoor condenser 12a that directly exchanges heat between the refrigerant and the air is adopted, the immediate effect when heating the air in the vehicle interior is high. Therefore, by shortening the cycle of switching between the second dehumidifying and heating mode and the normal dehumidifying and heating mode, it is possible to suppress the deterioration of the heating feeling of the occupant.
  • the heat pump cycle 10 of the present embodiment includes a refrigerant bypass passage 16 and an on-off valve 16a.
  • the refrigerant bypass passage 16 is a refrigerant passage that guides the refrigerant flowing out of the first heat exchanger 14a to the inlet side of the accumulator 15 by bypassing the second expansion valve 13b and the second heat exchanger 14b.
  • the on-off valve 16a is a solenoid valve that opens and closes the refrigerant bypass passage 16. The operation of the on-off valve 16a is controlled by the control voltage output from the control device 40.
  • the configuration of the other vehicle air conditioner 1 is the same as that of the first embodiment.
  • the control device 40 closes the on-off valve 16a to execute the same cooling mode, heating mode, dehumidifying heating mode, and dehumidifying mode as those of the first embodiment. .. Further, in the present embodiment, the control device 40 can execute the endothermic defrost mode by opening the on-off valve 16a. The endothermic defrost mode will be described below.
  • (D-3) Endothermic dehumidification mode In the endothermic defrost mode, the control device 40 controls the operation of the compressor 11 of the heat pump cycle 10 as in the second dehumidification / heating mode. Further, the control device 40 sets the first expansion valve 13a in a throttled state. More specifically, the control device 40 controls the operation of the first expansion valve 13a so that the refrigerant evaporation pressure in the first heat exchanger 14a is lower than the outside air temperature Tam.
  • control device 40 sets the second expansion valve 13b in a fully closed state. Further, the control device 40 opens the on-off valve 16a.
  • control device 40 controls the operation of the heat medium pump 21, the first flow rate adjusting valve 24a, and the second flow rate adjusting valve 24b of the heat medium circuit 20 in the same manner as in the normal defrosting mode.
  • control device 40 controls the operation of the first inlet side inside / outside air switching device 32a so as to open the first outside air introduction port 323a of the air conditioning unit 30 and close the first inside air introduction port 35a. That is, the inside / outside air switching device 32a on the first inlet side switches the outside air to the ventilation path that guides the outside air to the first heat exchanger 14a.
  • control device 40 controls the operation of the first outlet side inside / outside air switching device 33a so as to open the first indoor / outdoor outlet 333a and close the first indoor outlet 35b. That is, the first outlet side inside / outside air switching device 33a switches to a ventilation path that guides the air that has passed through the first heat exchanger 14a to the outside of the vehicle interior.
  • control device 40 controls the operation of the second inlet side inside / outside air switching device 32b and the second outlet side inside / outside air switching device 33b in the same manner as in the normal defrosting mode. Further, the control device 40 controls the operation of the outside air introduction device 32c, the heating unit inlet side switching device 34a, and the heating unit outlet side switching device 34b, similarly to the inside air cooling mode. Further, the control device 40 controls the operation of the discharge blower 36 and the indoor blower 37 in the same manner as in the inside air cooling mode.
  • the high-pressure refrigerant discharged from the compressor 11 flows into the refrigerant passage of the water-refrigerant heat exchanger 12.
  • the heat medium is heated.
  • the refrigerant flowing out of the refrigerant passage of the water-refrigerant heat exchanger 12 flows into the first expansion valve 13a and is depressurized.
  • the low-pressure refrigerant decompressed by the first expansion valve 13a flows into the first heat exchanger 14a.
  • the refrigerant flowing into the first heat exchanger 14a exchanges heat with the air (specifically, the outside air) flowing into the first air passage 31a from the first outside air introduction port 323a of the air conditioning unit 30.
  • the refrigerant absorbs heat from the air and evaporates.
  • the on-off valve 16a Since the on-off valve 16a is open, the refrigerant flowing out of the first heat exchanger 14a flows into the accumulator 15 through the refrigerant bypass passage 16. The refrigerant flowing into the accumulator 15 is gas-liquid separated. The gas phase refrigerant separated by the accumulator 15 is sucked into the compressor 11 and compressed again.
  • the heat medium circuit 20 in the heat absorption and defrosting mode operates in the same manner as in the normal defrosting mode.
  • Air (specifically, outside air) flows into the first air passage 31a through the first outside air introduction port 323a.
  • the air flowing into the first air passage 31a is cooled by the first heat exchanger 14a and discharged to the outside of the vehicle interior in the same manner as in the inside air heating mode.
  • the air (specifically, the inside air) flowing through the fourth air passage 31d flows into the second air passage 31b through the second inside air introduction port 35c.
  • the relatively high temperature inside air that has flowed into the second air passage 31b dissipates heat to the frost.
  • the frost melts and the defrosting of the second heat exchanger 14b proceeds.
  • the air flowing into the second air passage 31b is cooled to near 0 ° C. by frost and dehumidified.
  • the air that has passed through the second heat exchanger 14b flows into the third air passage 31c via the second chamber outlet 35d.
  • the air flowing into the third air passage 31c is sucked into the indoor blower 37 and blown to the heater core 22.
  • the air flowing into the heater core 22 exchanges heat with the heat medium and is reheated.
  • the air reheated by the heater core 22 is blown into the vehicle interior.
  • the energy consumed in the heat pump cycle 10 for defrosting the second heat exchanger 14b is reduced as in the first embodiment. can do.
  • the operation in the endothermic defrost mode can be performed.
  • the heat medium can be heated by the water-refrigerant heat exchanger 12 using the heat absorbed by the refrigerant from the outside air in the first heat exchange unit 14a as a heat source. Therefore, in the endothermic defrosting mode, it is possible to suppress a decrease in the heating capacity of the heat medium as compared with the normal defrosting mode, and it is possible to further suppress the deterioration of the heating feeling of the occupant.
  • the refrigerant evaporation temperature in the first heat exchanger 14a may become 0 ° C. or lower. Therefore, in the endothermic defrost mode, frost may occur on the first heat exchanger 14a. Therefore, under operating conditions in which frost formation occurs in the first heat exchanger 14a before the defrosting of the second heat exchanger 14b is completed, the endothermic defrosting mode may be switched to the normal defrosting mode.
  • the heat pump cycle 10 of the present embodiment includes a receiver 17 instead of the accumulator 15.
  • the receiver 17 is arranged in the refrigerant passage from the outlet of the refrigerant passage of the water-refrigerant heat exchanger 12 to the inlet of the first expansion valve 13a.
  • the receiver 17 is a high-pressure side liquid storage unit that separates the gas and liquid of the refrigerant flowing out from the refrigerant passage of the water-refrigerant heat exchanger 12 and stores the separated liquid-phase refrigerant as a surplus refrigerant in the cycle.
  • the configuration of the other vehicle air conditioner 1 is the same as that of the first embodiment.
  • the vehicle air conditioner 1 of the present embodiment can execute the heating mode, the dehumidifying heating mode, and the dehumidifying mode substantially the same as those of the first embodiment.
  • the control device 40 sets the first expansion valve 13a in a fully open state. Further, the control device 40 puts the second expansion valve 13b in a throttled state in which the refrigerant depressurizing action is exerted. At this time, the control device 40 controls the operation of the second expansion valve 13b so that the degree of superheat of the refrigerant on the outlet side of the second evaporator 14b approaches the reference degree of superheat.
  • the high-pressure refrigerant discharged from the compressor 11 dissipates heat to the heat medium in the water-refrigerant heat exchanger 12 as in the first embodiment. And condense. As a result, the heat medium is heated.
  • the liquid-phase refrigerant flowing into the first heat exchanger 14a exchanges heat with the air (specifically, the outside air) flowing into the first air passage 31a from the first outside air introduction port 323a of the air conditioning unit 30.
  • the liquid phase refrigerant is supercooled.
  • the refrigerant flowing out of the first heat exchanger 14a flows into the second expansion valve 13b and is depressurized.
  • the low-pressure refrigerant decompressed by the second expansion valve 13b flows into the second heat exchanger 14b.
  • the refrigerant flowing into the second heat exchanger 14b exchanges heat with the air flowing into the second air passage 31b of the air conditioning unit 30.
  • the refrigerant absorbs heat from the air and evaporates.
  • the air flowing through the second air passage 31b is cooled.
  • the refrigerant on the outlet side of the second heat exchanger 14b becomes a vapor phase refrigerant having a degree of superheat.
  • the superheated vapor-phase refrigerant flowing out of the second heat exchanger 14b is sucked into the compressor 11 and compressed again.
  • the heat medium circuit 20 and the air conditioning unit 30 operate in the same manner as in the first embodiment. Therefore, in the air conditioning unit 30, the air cooled by the second heat exchanger 14b is blown into the vehicle interior as in the first embodiment. As a result, cooling of the passenger compartment is realized.
  • the energy consumed in the heat pump cycle 10 for defrosting the second heat exchanger 14b is reduced as in the first embodiment. can do.
  • the refrigerant can be supercooled by the first heat exchanger 14a in the inside air cooling mode or the outside air cooling mode. Therefore, the enthalpy difference obtained by subtracting the enthalpy of the refrigerant on the outlet side from the enthalpy of the refrigerant on the inlet side of the second heat exchanger 14b can be increased. As a result, the cooling capacity of air in the second heat exchanger 14b can be improved.
  • the first heat exchanger 14a and the second heat exchanger 14b having different heat exchange capacities are adopted. More specifically, as the first heat exchanger 14a and the second heat exchanger 14b, those having different heat exchange areas are adopted. In the present embodiment, the heat exchange area of the first heat exchanger 14a is smaller than the heat exchange area of the second heat exchanger 14b.
  • the heat exchange area in the heat exchanger means the front area (in other words, the projected area) of the heat exchange core portion when viewed from the air flow direction.
  • the heat exchange performance improves as the heat exchange area increases.
  • the heat exchange areas of the first heat exchanger 14a and the second heat exchanger 14b of the present embodiment are formed in a rectangular shape.
  • the configuration and operation of the other vehicle air conditioner 1 are the same as those in the first embodiment.
  • the vehicle air conditioner 1 of the present embodiment can execute the same cooling mode, heating mode, dehumidifying heating mode, and dehumidifying mode as those of the first embodiment. Therefore, also in the vehicle air conditioner 1 of the present embodiment, the energy consumed in the heat pump cycle 10 for defrosting the second heat exchanger 14b can be reduced as in the first embodiment. ..
  • the amount of heat absorbed by the refrigerant in the second heat exchanger 14b having a large heat exchange area is increased.
  • the amount of heat absorbed by the refrigerant in the second heat exchanger 14b is increased to increase the heating capacity in the vehicle interior. Can be done.
  • the refrigerant absorbs heat from the outside air in the first heat exchanger 14a. Since the first dehumidifying / heating mode is an operation mode executed when the outside air temperature Tam is higher than the second dehumidifying / heating mode, the amount of heat required for reheating the air is the second dehumidifying / heating mode. And so on. Therefore, even if the heat exchange area of the first heat exchanger 14a is small in the first dehumidifying / heating mode, the heating capacity in the vehicle interior is not insufficient.
  • the liquid phase refrigerant is supercooled by the first heat exchanger 14a in the inside air cooling mode or the outside air cooling mode as in the fourth embodiment.
  • the heat exchange area of the first heat exchanger 14a is smaller than the heat exchange area of the second heat exchanger 14b. Therefore, the amount of the liquid phase refrigerant stored in the first heat exchanger 14a can be reduced, and the amount of the refrigerant filled in the heat pump cycle 10 can be reduced.
  • the heat pump cycle 10 of the present embodiment includes a third expansion valve 13c, a cooling bypass passage 18, and a cooler 18a.
  • the cooling bypass passage 18 is a refrigerant passage that guides the refrigerant flowing out of the first heat exchanger 14a to the suction side of the compressor 11 by bypassing the second expansion valve 13b and the second heat exchanger 14b.
  • the third expansion valve 13c is a third decompression unit that depressurizes the refrigerant flowing out from the refrigerant passage of the first heat exchanger 14a.
  • the third expansion valve 13c is arranged in the cooling bypass passage 18. Further, the third expansion valve 13c is a second flow rate adjusting unit that adjusts the flow rate of the refrigerant flowing into the cooler 18a.
  • the basic configuration of the third expansion valve 13c is the same as that of the first expansion valve 13a and the second expansion valve 13b.
  • the cooler 18a exchanges heat between the refrigerant decompressed by the third expansion valve 13c and the object to be cooled.
  • the object to be cooled can be cooled by evaporating the refrigerant to exert an endothermic action.
  • the object to be cooled in this embodiment is a battery that supplies electric power to an electric motor or the like.
  • the battery of the present embodiment is an assembled battery formed by electrically connecting a plurality of battery cells in series or in parallel.
  • the battery cell is a rechargeable secondary battery (in this embodiment, a lithium ion battery).
  • a battery is a battery in which a plurality of battery cells are stacked and arranged so as to have a substantially rectangular parallelepiped shape and housed in a special case.
  • the cooler 18a is integrally formed in the dedicated case by forming a refrigerant passage in the dedicated case of the battery.
  • the configuration of the other vehicle air conditioner 1 is the same as that of the first embodiment.
  • the control device 40 sets the third expansion valve 13c to the fully closed state, so that the cooling mode, the heating mode, the dehumidifying heating mode, and the dehumidifying mode similar to those of the first embodiment are performed. Can be executed.
  • the energy consumed in the heat pump cycle 10 for defrosting the second heat exchanger 14b can be reduced as in the first embodiment. ..
  • control device 40 sets the third expansion valve 13c in the throttled state in the inside air cooling mode or the outside air cooling mode to cool the battery which is the object to be cooled. it can.
  • the vehicle air conditioner 1a will be described with reference to FIGS. 21 to 23.
  • the vehicle air conditioner 1a includes a heat pump cycle 101, a heat medium circuit 20, an air conditioner unit 301, a control device 40, and the like.
  • the heat pump cycle 101 of the present embodiment includes a compressor 11, a water-refrigerant heat exchanger 12, a receiver 17, an expansion valve 13d, a heat exchanger 14c, and the like.
  • the expansion valve 13d is a pressure reducing unit that reduces the pressure of the liquid phase refrigerant flowing out from the receiver 17. Further, the expansion valve 13d is a flow rate adjusting unit that adjusts the flow rate of the refrigerant flowing out to the downstream side.
  • the basic configuration of the expansion valve 13d is the same as that of the first expansion valve 13a and the like.
  • the refrigerant inlet side of the heat exchanger 14c is connected to the outlet of the expansion valve 13d.
  • the heat exchanger 14c is a heat exchange unit that exchanges heat between the refrigerant flowing out from the expansion valve 13d and the air.
  • the basic configuration of the heat exchanger 14c is the same as that of the first heat exchanger 14a and the like.
  • the suction port side of the compressor 11 is connected to the refrigerant outlet of the heat exchanger 14c.
  • the configuration of the other heat pump cycle 10 is the same as that of the heat pump cycle 10 described in the first embodiment. Further, the heat medium circuit 20 of the present embodiment is the same as the heat medium circuit 20 described in the first embodiment.
  • the heater core 22 of the present embodiment is arranged in the heating portion side air passage 31f formed in the casing 311 of the air conditioning unit 301.
  • the air conditioning unit 301 has a casing 311 as in the first embodiment. Inside the casing 311 are an air passage 31e on the heat exchange portion side and an air passage 31f on the heating portion side. At least a part of the heat exchange portion side air passage 31e and the heating portion side air passage 31f is arranged adjacent to each other.
  • a heat exchanger 14c is arranged in the air passage 31e on the heat exchange section side. Therefore, the heat exchange section side air passage 31e is an air passage through which the air flowing into the heat exchanger 14c and the air passing through the heat exchanger 14c flow.
  • a heat exchange section inlet side inside / outside air switching device 32e On the most upstream side of the air flow of the heat exchange section side air passage 31e, a heat exchange section inlet side inside / outside air switching device 32e, which is a heat exchange section inlet side inside / outside air switching section, is arranged.
  • the heat exchanger inlet side inside / outside air switching device 32e has a ventilation path that guides the inside air to the inlet side of the heat exchanger 14c and a ventilation path that guides the outside air to the inlet side of the heat exchanger 14c as air flowing into the heat exchanger 14c. To switch between.
  • the heat exchange section inlet side inside / outside air switching device 32e has a heat exchange section inlet side door 321e.
  • the heat exchange section inlet side door 321e continuously changes the opening ratio between the outside air introduction port for introducing outside air into the heat exchange section side air passage 31e and the inside air introduction port for introducing inside air into the heat exchange section side air passage 31e. ..
  • the heat exchange unit inlet side door 321e is driven by an electric actuator on the heat exchange unit inlet side (not shown).
  • the operation of the electric actuator on the inlet side of the heat exchange unit is controlled by a control signal output from the control device 40.
  • a heat exchange section outlet side inside / outside air switching device 33e which is a heat exchange section outlet side inside / outside air switching section, is arranged on the downstream side of the air flow from the heat exchange section 14c of the heat exchange section side air passage 31e.
  • the heat exchange section outlet side inside / outside air switching device 33e is arranged at a portion that partitions the heat exchange section side air passage 31e and the heating section side air passage 31f of the casing 311.
  • the heat exchange unit outlet side inside / outside air switching device 33e is a heat exchange unit outlet side inside / outside air switching device 33e, which guides the air passing through the heat exchange unit 14c to the vehicle interior via the heating unit side air passage 31f. , The air passage that guides the air that has passed through the heat exchange unit 14c to the outside of the vehicle interior is switched.
  • the heat exchange unit outlet side inside / outside air switching device 33e has a heat exchange unit outlet side door 331e.
  • the heat exchange unit outlet side door 331e continuously changes the opening degree of the heat exchange unit outlet side opening 35 g.
  • the heat exchange section outlet side opening 35g communicates the heat exchange section side air passage 31e and the heating section side air passage 31f.
  • the heat exchange section outlet side opening 35g is formed in a portion of the heating section side air passage 31f on the upstream side of the air flow from the heater core 22. Therefore, in the heater core 22, the air that has passed through the heat exchanger 14c and has flowed into the heating section side air passage 31f from the heat exchange section outlet side opening 35g is arranged so as to be able to heat.
  • the heat exchange unit outlet side door 331e is connected to a heating unit inlet side electric actuator (not shown).
  • the heat exchange unit outlet side door 331e is driven by the heat exchange unit inlet side electric actuator.
  • the operation of the electric actuator on the inlet side of the heat exchange unit is controlled by a control signal output from the control device 40.
  • the heater core 22 is arranged in the air passage 31f on the heating portion side. Therefore, the heating unit side air passage 31f is an air passage through which the air flowing into the heater core 22 and the air passing through the heater core 22 flow.
  • an inside / outside air switching device 32f on the inlet side of the heating unit which is an inside / outside air switching unit on the inlet side of the heating unit, is arranged.
  • the inside / outside air switching device 32f on the inlet side of the heating unit switches between a ventilation path that guides the inside air to the inlet side of the heater core 22 and a ventilation path that guides the outside air to the inlet side of the heater core 22 as the air flowing into the heater core 22.
  • the heating unit inlet side inside / outside air switching device 32f has a heating unit inlet side door 321f.
  • the heating unit inlet side door 321f continuously changes the opening ratio between the outside air introduction port for introducing outside air into the heating unit side air passage 31f and the inside air introduction port for introducing inside air into the heating unit side air passage 31f.
  • the heating unit inlet side door 321f is driven by a heating unit inlet side electric actuator (not shown).
  • the operation of the electric actuator on the inlet side of the heating unit is controlled by a control signal output from the control device 40.
  • a face opening hole, a foot opening hole, and a defroster opening hole are formed on the downstream side of the heater core 22 of the heating portion side air passage 31f of the casing 311. .. Further, a blower 36 for discharging similar to that of the first embodiment is arranged on the downstream side of each outdoor outlet of the casing 311. Further, on the downstream side of the indoor outlet of the casing 311 is an indoor blower 37 similar to that of the first embodiment.
  • the basic configuration of the other vehicle air conditioner 1a is the same as that of the vehicle air conditioner 1 described in the first embodiment.
  • the vehicle air conditioner 1a can switch between a heating mode and a defrosting mode in order to air-condition the interior of the vehicle.
  • the control device 40 operates the compressor 11 of the heat pump cycle 10. More specifically, as in the internal air heating mode of the first embodiment, the refrigerant discharge capacity of the compressor 11 is controlled so that the high pressure pressure Pd approaches the target high pressure PDO. Further, the control device 40 adjusts the throttle opening degree of the expansion valve 13d so that the superheat degree of the refrigerant on the outlet side of the heat exchanger 14c becomes the reference superheat degree, as in the fourth embodiment.
  • control device 40 operates the heat medium pump 21 of the heat medium circuit 20 so as to exert a predetermined reference pumping capacity. Further, the control device 40 controls the operation of the first flow rate adjusting valve 24a and the second flow rate adjusting valve 24b, as in the internal air heating mode of the first embodiment.
  • control device 40 controls the operation of the inside / outside air switching device 32e on the inlet side of the heat exchange unit, and switches the outside air to a ventilation path that guides the outside air to the heat exchanger 14c. Further, the control device 40 controls the operation of the inside / outside air switching device 33e on the outlet side of the heat exchange unit to switch to a ventilation path that guides the air passing through the heat exchanger 14c to the outside of the vehicle interior. Further, the control device 40 controls the operation of the inside / outside air switching device 32f on the inlet side of the heating unit to switch the inside air to the ventilation path leading to the heater core 22.
  • control device 40 controls the operation of the discharge blower 36 and the indoor blower 37, as in the internal air heating mode of the first embodiment.
  • the high-pressure refrigerant discharged from the compressor 11 flows into the refrigerant passage of the water-refrigerant heat exchanger 12.
  • the high-pressure refrigerant flowing into the refrigerant passage of the water-refrigerant heat exchanger 12 exchanges heat with the heat medium flowing through the heat medium passage.
  • the refrigerant dissipates heat to the heat medium and condenses. As a result, the heat medium is heated.
  • the refrigerant flowing into the heat exchanger 14c exchanges heat with the air (specifically, the outside air) flowing into the air passage 31e on the heat exchange section side.
  • the refrigerant absorbs heat from the air and evaporates.
  • the superheated gas phase refrigerant flowing out of the heat exchanger 14c is sucked into the compressor 11 and compressed again.
  • the heat medium circuit 20 in the internal air heating mode operates in the same manner as the internal air heating mode of the first embodiment.
  • the inside / outside air switching device 32e on the inlet side of the heat exchange section allows outside air to flow into the air passage 31e on the heat exchange section side.
  • the air flowing into the air passage 31e on the heat exchange section side exchanges heat with the refrigerant in the heat exchanger 14c and is endothermic.
  • the air cooled by the heat exchanger 14c is guided to the suction side of the discharge blower 36 by the inside / outside air switching device 33e on the outlet side of the heat exchanger and discharged to the outside of the vehicle interior.
  • the inside / outside air switching device 32f on the inlet side of the heating part causes the inside air to flow into the air passage 31f on the heating part side.
  • the air flowing into the air passage 31f on the heating unit side exchanges heat with the heat medium in the heater core 22 and is heated.
  • the air heated by the heater core 22 is sucked into the indoor blower 37 and blown into the vehicle interior. As a result, heating of the vehicle interior is realized.
  • the inside air heating mode In the inside air heating mode, the inside air is circulated and heated by the heater core 22. Therefore, by switching to the inside air heating mode immediately after starting the heating, quick-acting heating in the vehicle interior can be expected.
  • control device 40 controls the operation of the compressor 11 and the expansion valve 13d of the heat pump cycle 10 as in the inside air heating mode. Further, the control device 40 controls the operation of the heat medium pump 21, the first flow rate adjusting valve 24a, and the second flow rate adjusting valve 24b of the heat medium circuit 20 as in the internal air heating mode.
  • control device 40 controls the operation of the heat exchange unit inlet side inside / outside air switching device 32e and the heat exchange unit outlet side inside / outside air switching device 33e in the same manner as in the inside air heating mode. Further, the control device 40 controls the operation of the discharge blower 36 and the indoor blower 37 in the same manner as in the inside air heating mode.
  • the heat pump cycle 10 and the heat medium circuit 20 in the outside air heating mode operate in the same manner as the inside air heating mode described above.
  • outside air flows into the air passage 31e on the heat exchange section side.
  • the air flowing into the air passage 31e on the heat exchange section side is cooled by the heat exchanger 14c and discharged to the outside of the vehicle interior in the same manner as in the inside air heating mode.
  • the inside / outside air switching device 32f on the inlet side of the heating unit allows outside air to flow into the air passage 31f on the heating unit side.
  • the air flowing into the heating section side air passage 31f is heated by the heater core 22 as in the inside air heating mode.
  • the air heated by the heater core 22 is sucked into the indoor blower 37 and blown into the vehicle interior. As a result, heating of the vehicle interior is realized.
  • the refrigerant evaporation temperature in the heat exchanger 14c may become 0 ° C. or lower. Therefore, frost may occur on the heat exchanger 14c.
  • step S14 in FIG. 12 is the “heating mode”.
  • (D) Defrost Mode In the vehicle air conditioner 1a, the operation in the defrost mode can be executed in order to defrost the heat exchanger 14c. Further, the dehumidifying and heating of the vehicle interior can be executed at the same time as the dehumidifying mode is executed. Therefore, the dehumidification mode described below can also be expressed as a dehumidification / heating mode with a dehumidification ability.
  • the control device 40 reduces the refrigerant discharge capacity of the compressor 11 of the heat pump cycle 10. That is, the flow rate of the refrigerant flowing through the heat exchanger 14c is lower than that in the heating mode. However, the control device 40 operates the compressor 11 without stopping it.
  • control device 40 controls the operation of the expansion valve 13d so that the temperature of the refrigerant flowing through the heat exchanger 14c falls within the reference defrost temperature range described in the first embodiment. More specifically, in the defrost mode, the control device 40 controls the operation of the compressor 11 and the expansion valve 13d so that the temperature of the refrigerant flowing through the heat exchanger 14c is within the reference defrost temperature range.
  • control device 40 controls the operation of the heat medium pump 21, the first flow rate adjusting valve 24a, and the second flow rate adjusting valve 24b of the heat medium circuit 20 as in the internal air heating mode.
  • control device 40 controls the operation of the heat medium pump 21, the first flow rate adjusting valve 24a, and the second flow rate adjusting valve 24b of the heat medium circuit 20 as in the internal air heating mode.
  • control device 40 controls the operation of the inside / outside air switching device 32e on the inlet side of the heat exchange unit to switch the inside air to the ventilation path leading to the heat exchanger 14c. Further, the control device 40 controls the operation of the inside / outside air switching device 33e on the outlet side of the heat exchange unit, and switches the air passing through the heat exchanger 14c to a ventilation path that guides the air passing through the heat exchanger 14c to the vehicle interior via the air passage 31f on the heating unit side. ..
  • control device 40 controls the operation of the inside / outside air switching device 32f on the inlet side of the heating unit to switch to the ventilation path that guides the outside air to the heater core 22. Further, the control device 40 stops the discharge blower 36. Further, the control device 40 controls the operation of the indoor blower 37 in the same manner as in the inside air heating mode.
  • the high-pressure refrigerant discharged from the compressor 11 flows into the refrigerant passage of the water-refrigerant heat exchanger 12.
  • the temperature of the high-pressure refrigerant is lower than that in the inside air heating mode and the outside air heating mode. Therefore, the refrigerant that has flowed into the refrigerant passage of the water-refrigerant heat exchanger 12 flows out of the refrigerant passage with almost no heat radiated to the heat medium.
  • the refrigerant dissipates heat to the frost.
  • the frost melts and the defrosting of the second heat exchanger 14b proceeds.
  • the refrigerant flowing out of the heat exchanger 14c is sucked into the compressor 11 and compressed again.
  • the heat medium circuit 20 in the defrosting mode operates in the same manner as in the inside air heating mode.
  • the inside / outside air switching device 32e on the inlet side of the heat exchange section allows the inside air to flow into the air passage 31e on the heat exchange section side.
  • the relatively high temperature inside air that has flowed into the air passage 31e on the heat exchange section side dissipates heat to the frost of the heat exchanger 14c.
  • the frost melts and the defrosting of the heat exchanger 14c proceeds.
  • the air flowing into the heat exchanger 14c is cooled to near 0 ° C. by frost and dehumidified.
  • the air that has passed through the heat exchanger 14c flows into the air passage 31f on the heating unit side by the inside / outside air switching device 33e on the outlet side of the heat exchange unit. Further, the inside / outside air switching device 32f on the inlet side of the heating unit causes the outside air having a relatively low temperature and humidity to flow into the air passage 31f on the heating unit side.
  • the air flowing into the heater core 22 exchanges heat with the heat medium and is reheated.
  • the air reheated by the heater core 22 is blown into the vehicle interior.
  • the inside / outside air switching device 33e on the outlet side of the heat exchanger passes through the heat exchanger 14c in order to realize dehumidification and heating of the vehicle interior at the same time as dehumidification of the heat exchanger 14c.
  • the air is guided to the air passage 31f on the heating unit side.
  • the inside / outside air switching device 33e on the outlet side of the heat exchange unit may guide the air that has passed through the heat exchanger 14c to the outside of the vehicle interior. In this case, the discharge blower 36 may be operated.
  • heating of the vehicle interior and dehumidifying heating can be realized by switching the operation mode.
  • the inside / outside air switching unit 33e on the outlet side of the heat exchange unit guides the air passing through the heat exchanger 14c to the outside of the vehicle interior. Switch to the road. Therefore, in the heating mode, the interior of the vehicle can be heated by guiding the air heated by the heater core 22 to the interior of the vehicle.
  • the heat absorbed by the refrigerant from the outside air in the heat exchanger 14c can be used as a heat source, and the air can be reliably heated by the heater core 22.
  • the refrigerant evaporation temperature in the heat exchanger 14c may become 0 ° C. or lower. Therefore, frost may occur on the heat exchanger 14c.
  • the inside / outside air switching unit 32e on the inlet side of the heat exchange unit switches to the ventilation path that guides the inside air to the heat exchanger 14c. Therefore, the heat of the inside air, which is relatively hot, can be used to defrost the heat exchanger 14c.
  • the temperature of the refrigerant flowing through the heat exchanger 14c is maintained within the standard defrosting temperature range by reducing the flow rate of the refrigerant flowing through the heat exchanger 14c as compared with the heating mode. Therefore, the heat exchanger 14c can be effectively defrosted.
  • the energy consumed in the heat pump cycle 101 for defrosting the heat exchanger 14c can be reduced.
  • the compressor 11 since the compressor 11 is operated, the refrigerant can be circulated in the heat pump cycle 101 and the refrigerant can be circulated in the heat exchanger 14c. As a result, the temperature equalization of the heat exchanger 14c is promoted in the defrosting mode, so that the heat exchanger 14c can be defrosted even more effectively.
  • the heat exchanger outlet side inside / outside air switching device 33e switches to a ventilation path that guides the air that has passed through the heat exchanger 14c to the vehicle interior. Therefore, the heater core 22 can reheat the air that has passed through the heat exchanger 14c to dehumidify and heat the interior of the vehicle.
  • the refrigerant discharge capacity of the compressor 11 is reduced, so that the heating capacity of the heat medium in the water-refrigerant heat exchanger 12 is reduced. Therefore, the heating capacity of the air in the heater core 22 may be temporarily reduced.
  • the heating of air can be continued by the heater core 22 by utilizing the heat stored in the heat medium circulating in the heat medium circuit 20. Therefore, it is possible to suppress the deterioration of the heating feeling of the occupant in the normal defrosting mode.
  • the heating mode and the defrosting mode are continuously switched. Therefore, the heating of the vehicle interior and the dehumidifying heating can be continuously performed, and the deterioration of the heating feeling of the occupant can be further suppressed.
  • the configuration of the vehicle air conditioner 1a is changed with respect to the seventh embodiment.
  • the heat medium circuit 20 is abolished as in the second embodiment.
  • the heat pump cycle 101 of the present embodiment includes an indoor condenser 12a instead of the water-refrigerant heat exchanger 12.
  • the configuration of the other vehicle air conditioner 1a is the same as that of the seventh embodiment.
  • the heating mode and the defrosting mode substantially the same as those of the seventh embodiment can be executed by exchanging heat between the refrigerant and the air in the indoor condenser 12a. it can. Therefore, although there is a possibility that the feeling of heating may be deteriorated as described in the second embodiment, the energy consumed in the heat pump cycle 101 for defrosting the heat exchanger 14c is the same as in the seventh embodiment. Can be reduced.
  • the heat pump cycle 101 of the present embodiment includes the same refrigerant bypass passage 16 and on-off valve 16a as those of the third embodiment.
  • the refrigerant bypass passage 16 of the present embodiment is a refrigerant passage that guides the refrigerant on the outlet side of the expansion valve 13d to the suction side of the compressor 11 by bypassing the heat exchanger 14c.
  • the configuration of the other vehicle air conditioner 1a is the same as that of the seventh embodiment.
  • the on-off valve 16a closes the refrigerant bypass passage 16, it operates in the same manner as in the seventh embodiment. Therefore, as in the seventh embodiment, the energy consumed in the heat pump cycle 101 for defrosting the heat exchanger 14c can be reduced.
  • the flow rate of the refrigerant flowing through the heat exchanger 14c can be reduced by opening the on-off valve 16a. Further, in the water-refrigerant heat exchanger 12, the heat generated by the compression work of the compressor 11 can be dissipated to the heat medium. As a result, in the defrost mode, defrosting of the heat exchanger 14c and dehumidifying and heating of the vehicle interior can be realized.
  • the vehicle air conditioner 1b will be described with reference to FIGS. 26 and 27.
  • the vehicle air conditioner 1b includes a heat pump cycle 102, a heat medium circuit 20, an air conditioner unit 30, a control device 40, and the like.
  • the heat pump cycle 102 of the present embodiment adds a four-way valve 19 as a refrigerant circuit switching unit to the heat pump cycle 10 described in the first embodiment.
  • the four-way valve 19 connects the outlet side of the first expansion valve 13a and one refrigerant inlet / outlet side of the first heat exchanger 14a, and at the same time, connects one refrigerant inlet / outlet side of the second heat exchanger 14b and the inlet side of the accumulator 15. It is possible to switch to the first refrigerant circuit that connects with. Further, the four-way valve 19 connects the outlet side of the first expansion valve 13a and the one refrigerant inlet / outlet side of the second heat exchanger 14b, and at the same time, the refrigerant outlet side of the first heat exchanger 14a and the inlet side of the accumulator 15. It is possible to switch to the second refrigerant circuit that connects with.
  • the discharge port of the compressor 11, the water-refrigerant heat exchanger 12, the first expansion valve 13a, the second heat exchanger 14b, the second expansion valve 13b, the first heat exchanger 14a, and the accumulator It is switched to a refrigerant circuit in which the refrigerant circulates in the order of the suction port of the compressor 11. That is, the heat pump cycle 102 switched to the second refrigerant circuit switches to the refrigerant circuit in which the first heat exchanger 14a and the second heat exchanger 14b are replaced with respect to the heat pump cycle 10 described in the first embodiment. Be done.
  • the configuration of the other vehicle air conditioner 1b is exactly the same as that of the vehicle air conditioner 1 described in the first embodiment. Therefore, when the four-way valve 19 switches the heat pump cycle 102 to the first refrigerant circuit, the vehicle air conditioner 1b operates in exactly the same manner as the vehicle air conditioner 1 described in the first embodiment, and at all. A similar effect can be obtained.
  • the vehicle air conditioner 1b of the present embodiment it is possible to execute the operation in the defrost heating mode that realizes heating of the vehicle interior while defrosting the heat exchanger in which frost has formed.
  • the operation of the defrost heating mode will be described below.
  • (D-4) Defrosting / Heating Mode a defrosting / heating mode when the four-way valve 19 is switched to the first refrigerant circuit will be described as an example.
  • the first heat exchanger 14a is defined as one heat exchange portion where frost formation is unlikely to occur.
  • the second heat exchanger 14b is defined as the other heat exchange section where frost formation may occur.
  • the control device 40 arranges the second heat exchanger 14b, which is the other heat exchange unit, on the upstream side of the refrigerant flow with respect to the first heat exchanger 14a, which is the one heat exchange unit.
  • the operation of the four-way valve 19 is controlled. That is, the control device 40 switches to the second refrigerant circuit.
  • the control device 40 temporarily stops the compressor 11 when the four-way valve 19 switches the refrigerant circuit. Then, the control device 40 controls the operation of the compressor 11 of the heat pump cycle 102 in the same manner as in the second dehumidifying / heating mode after the four-way valve 19 switches the refrigerant circuit.
  • control device 40 sets the first expansion valve 13a in the throttled state. More specifically, the control device 40 controls the operation of the first expansion valve 13a so that the temperature of the refrigerant flowing through the second heat exchanger 14b is within the reference defrost temperature range.
  • control device 40 sets the second expansion valve 13b in the throttled state. More specifically, the control device 40 controls the operation of the first expansion valve 13a so that the refrigerant evaporation temperature in the first heat exchanger 14a is lower than the outside air temperature Tam.
  • control device 40 controls the operation of the heat medium pump 21, the first flow rate adjusting valve 24a, and the second flow rate adjusting valve 24b of the heat medium circuit 20 in the same manner as in the normal defrosting mode.
  • control device 40 controls the operation of the first inlet side inside / outside air switching device 32a so as to open the first outside air introduction port 323a of the air conditioning unit 30 and close the first inside air introduction port 35a. That is, the inside / outside air switching device 32a on the first inlet side switches the outside air to a ventilation path that guides the outside air to the first heat exchanger 14a, which is one of the heat exchangers.
  • control device 40 controls the operation of the first outlet side inside / outside air switching device 33a so as to open the first indoor / outdoor outlet 333a and close the first indoor outlet 35b. That is, the first outlet side inside / outside air switching device 33a switches to a ventilation path that guides the air that has passed through the first heat exchanger 14a, which is one of the heat exchangers, to the outside of the vehicle interior.
  • control device 40 controls the operation of the second inlet side inside / outside air switching device 32b so as to close the second outside air introduction port 323b and open the second inside air introduction port 35c. That is, the second inlet side inside / outside air switching device 32b switches the inside air to a ventilation path that guides the inside air to the second heat exchanger 14b, which is the other heat exchanger.
  • control device 40 controls the operation of the second outlet side inside / outside air switching device 33b so as to close the second indoor / outdoor outlet 333b and open the second indoor outlet 35d. That is, the second outlet side inside / outside air switching device 33b switches to a ventilation path that guides the air that has passed through the second heat exchanger 14b, which is the other heat exchanger, to the vehicle interior.
  • control device 40 controls the operation of the outside air introduction device 32c, the heating unit inlet side switching device 34a, and the heating unit outlet side switching device 34b, similarly to the inside air cooling mode. Further, the control device 40 controls the operation of the discharge blower 36 and the indoor blower 37 in the same manner as in the inside air cooling mode.
  • the high-pressure refrigerant discharged from the compressor 11 flows into the refrigerant passage of the water-refrigerant heat exchanger 12.
  • the heat medium is heated.
  • the low-pressure refrigerant decompressed by the first expansion valve 13a flows into the second heat exchanger 14b via the four-way valve 19.
  • the refrigerant dissipates heat to the frost.
  • the frost melts and the defrosting of the second heat exchanger 14b proceeds.
  • the refrigerant flowing out of the second heat exchanger 14b flows into the second expansion valve 13b and is depressurized. At this time, the throttle opening degree of the second expansion valve 13b is adjusted so that the refrigerant evaporation temperature in the first heat exchanger 14a is lower than the outside air temperature Tam.
  • the low-pressure refrigerant decompressed by the second expansion valve 13b flows into the first heat exchanger 14a.
  • the refrigerant flowing into the first heat exchanger 14a exchanges heat with the air (specifically, outside air) flowing into the first air passage 31a from the first outside air introduction port 323a of the air conditioning unit 30.
  • the refrigerant absorbs heat from the air and evaporates.
  • the refrigerant flowing out of the first heat exchanger 14a flows into the accumulator 15 via the four-way valve 19.
  • the refrigerant flowing into the accumulator 15 is gas-liquid separated.
  • the gas phase refrigerant separated by the accumulator 15 is sucked into the compressor 11 and compressed again.
  • the heat medium circuit 20 in the defrost heating mode operates in the same manner as in the normal defrost mode.
  • Air (specifically, outside air) flows into the first air passage 31a through the first outside air introduction port 323a.
  • the air flowing into the first air passage 31a exchanges heat with the refrigerant in the first heat exchanger 14a and is endothermic.
  • the air heated by the first heat exchanger 14a flows out from the first outdoor outlet 333a.
  • the air flowing out from the first outdoor outlet 333a is sucked into the discharge blower 36 and discharged to the outside of the vehicle interior.
  • the air (specifically, the inside air) flowing through the fourth air passage 31d flows into the second air passage 31b through the second inside air introduction port 35c.
  • the relatively high temperature inside air that has flowed into the second air passage 31b dissipates heat to the frost.
  • the frost melts and the defrosting of the second heat exchanger 14b proceeds.
  • the air flowing into the second air passage 31b is cooled to near 0 ° C. by frost and dehumidified.
  • the air that has passed through the second heat exchanger 14b flows into the third air passage 31c via the second chamber outlet 35d.
  • the air flowing into the third air passage 31c is sucked into the indoor blower 37 and blown to the heater core 22.
  • the air flowing into the heater core 22 exchanges heat with the heat medium and is reheated.
  • the air reheated by the heater core 22 is blown into the vehicle interior.
  • the second heat exchanger 14b becomes one heat exchange unit and the first heat.
  • the exchanger 14a serves as the other heat exchanger. Then, even when the four-way valve 19 switches the heat pump cycle 102 to the second refrigerant circuit, the operation of each operation mode described in the first embodiment and the defrost heating mode described above can be performed.
  • the heat pump is used to defrost the other heat exchange portion, as in the first embodiment, regardless of which refrigerant circuit is switched to.
  • the energy consumed in the cycle 102 can be reduced.
  • the operation in the defrost heating mode can be performed.
  • the heat medium can be heated by the water-refrigerant heat exchanger 12 using the heat absorbed by the refrigerant from the outside air in one of the heat exchange units as a heat source. Therefore, in the defrost heating mode, it is possible to suppress a decrease in the heating capacity of the heat medium as compared with the normal defrost mode, and it is possible to further suppress the deterioration of the heating feeling of the occupant.
  • the refrigerant evaporation temperature in one of the heat exchange units may become 0 ° C. or lower. Therefore, in the defrost heating mode, frost may occur on one of the heat exchange portions. Therefore, under operating conditions in which frost formation occurs in one heat exchange section before the defrosting of the other heat exchange section is completed, the defrost defrost mode may be switched to the normal defrost mode.
  • the heat medium circuit 20 is abolished as in the second embodiment.
  • the heat pump cycle 102 of the present embodiment includes an indoor condenser 12a instead of the water-refrigerant heat exchanger 12.
  • the configuration of the other vehicle air conditioner 1b is the same as that of the tenth embodiment.
  • the heating mode and the defrosting mode can be substantially executed as in the tenth embodiment by exchanging heat between the refrigerant and the air in the indoor condenser 12a. it can. Therefore, although there is a possibility that the feeling of heating may be deteriorated as described in the second embodiment, it is consumed in the heat pump cycle 102 to defrost the other heat exchange portion as in the tenth embodiment. Energy can be reduced.
  • the heat pump cycle 102 of the present embodiment includes the same refrigerant bypass passage 16 and on-off valve 16a as those of the third embodiment.
  • the refrigerant bypass passage 16 of the present embodiment transfers the refrigerant flowing through the refrigerant passage connecting the first heat exchanger 14a and the second expansion valve 13b to the inlet side of the accumulator 15 (that is, the suction side of the compressor 11). I'm leading.
  • the configuration of the other vehicle air conditioner 1b is the same as that of the tenth embodiment.
  • the on-off valve 16a closes the refrigerant bypass passage 16, it operates in the same manner as in the tenth embodiment. Therefore, as in the tenth embodiment, the energy consumed in the heat pump cycle 102 for defrosting the other heat exchange portion can be reduced.
  • the flow rate of the refrigerant flowing through the heat exchanger 14c can be reduced by opening the on-off valve 16a. Further, in the water-refrigerant heat exchanger 12, the heat generated by the compression work of the compressor 11 can be dissipated to the heat medium. As a result, in the defrost mode, defrosting of the heat exchanger 14c and dehumidifying and heating of the vehicle interior can be realized.
  • the heat pump cycle 102 of the present embodiment includes a receiver 17 instead of the accumulator 15 as in the fourth embodiment.
  • the configuration and operation of the other vehicle air conditioner 1b are the same as those in the tenth embodiment.
  • the energy consumed in the heat pump cycle 102 for defrosting the other heat exchange portion can be reduced.
  • the refrigerant can be supercooled by one of the heat exchange units in the inside air cooling mode or the outside air cooling mode. Therefore, it is possible to increase the enthalpy difference by subtracting the enthalpy of the refrigerant on the outlet side from the enthalpy of the refrigerant on the inlet side of the other heat exchange unit. As a result, the cooling capacity of air in the other heat exchange section can be improved.
  • the heat pump cycle 102 of the present embodiment includes a third expansion valve 13c, a cooling bypass passage 18, and a cooler 18a, which are the same as those of the sixth embodiment.
  • the cooling bypass passage 18 of the present embodiment allows the refrigerant flowing through the refrigerant passage connecting the outlet side of the first expansion valve 13b and the four-way valve 19 to flow to the inlet side of the accumulator 15 (that is, the suction side of the compressor 11). Is leading to.
  • the configuration of the other vehicle air conditioner 1b is the same as that of the tenth embodiment.
  • the third expansion valve 13c when the third expansion valve 13c is in the fully closed state, it operates in the same manner as in the tenth embodiment. Therefore, as in the tenth embodiment, the energy consumed in the heat pump cycle 102 for defrosting the other heat exchange portion can be reduced.
  • control device 40 sets the third expansion valve 13c in the throttled state in the inside air cooling mode or the outside air cooling mode to cool the battery which is the object to be cooled. it can.
  • the air conditioner according to the present disclosure is applied to a vehicle air conditioner, but the present invention is not limited to this.
  • the air conditioner according to the present disclosure may be applied to a stationary air conditioner.
  • the vehicle air conditioner capable of executing various operation modes has been described, but the present invention is not limited to this. That is, the vehicle air conditioner only needs to be able to execute the required operation mode.
  • the second defrost heating mode and the normal defrost mode can be switched.
  • the energy consumed in the heat pump cycle 10 for defrosting the second heat exchanger 14b can be reduced.
  • the heating mode that is, either the inside air heating mode or the outside air heating mode
  • the defrosting mode can be switched.
  • the energy consumed in the heat pump cycle 101 for defrosting the heat exchanger 14c can be reduced.
  • the second defrost heating mode and the normal defrost mode can be switched.
  • the energy consumed in the heat pump cycle 102 for defrosting the other heat exchange portion can be reduced.
  • an operation mode other than that described in the above-described embodiment may be implemented.
  • the first outlet side inside / outside air switching device 33a ventilates a part or all of the air that has passed through the first heat exchanger 14a into the vehicle interior. You may switch routes.
  • the heat pump cycles 10, 101, 102 are not limited to those disclosed in the above-described embodiment.
  • the refrigerant circuit switching portion may be formed by combining a plurality of (for example, four) on-off valves.
  • R1234yf is adopted as the refrigerant
  • the refrigerant is not limited to this.
  • R134a, R600a, R410A, R404A, R32, R407C and the like may be adopted.
  • a mixed refrigerant or the like in which a plurality of these refrigerants are mixed may be adopted.
  • the heat medium circuit 20 is not limited to the one disclosed in the above-described embodiment.
  • the heat medium pump 21 may be arranged in the flow path from the first flow rate adjusting valve 24a to the heat medium passage of the water-refrigerant heat exchanger 12. Further, instead of the first flow rate adjusting valve 24a, an electric three-way valve may be adopted.
  • an auxiliary heating unit for heating the heat medium may be arranged in the heat medium circuit 20.
  • an electric heater that generates heat by being supplied with electric power from the control device 40 can be adopted. Then, the control device 40 operates an electric heater so that the heat medium temperature Tw approaches the target heat medium temperature TWO when the heat medium cannot be sufficiently heated by the water-refrigerant heat exchanger 12. Just do it.
  • the heat medium is not limited to this.
  • dimethylpolysiloxane a solution containing nanofluid or the like, an antifreeze solution, an aqueous liquid refrigerant containing alcohol or the like, a liquid medium containing oil or the like can be adopted.
  • the air conditioning units 30 and 301 are not limited to those disclosed in the above-described embodiment.
  • an air bypass passage for passing air by bypassing the heater core 22 or the indoor condenser 12a may be provided in the third air passage 31c of the air conditioning unit 30 or in the air passage 31f on the heating portion side of the air conditioning unit 301. .. Further, an air mix door that adjusts the ratio of the air volume flowing through the heater core 22 or the indoor condenser 12a to the air volume flowing through the air bypass passage may be arranged.
  • the receiver 17 may be adopted as described in the fourth embodiment.
  • the accumulator 15 may be adopted as described in the first embodiment. ..

Landscapes

  • Engineering & Computer Science (AREA)
  • Physics & Mathematics (AREA)
  • Mechanical Engineering (AREA)
  • Thermal Sciences (AREA)
  • General Engineering & Computer Science (AREA)
  • Air-Conditioning For Vehicles (AREA)
PCT/JP2020/016163 2019-05-17 2020-04-10 空調装置 Ceased WO2020235250A1 (ja)

Priority Applications (2)

Application Number Priority Date Filing Date Title
CN202080036106.0A CN113840746B (zh) 2019-05-17 2020-04-10 空调装置
US17/526,751 US11774149B2 (en) 2019-05-17 2021-11-15 Air conditioner

Applications Claiming Priority (2)

Application Number Priority Date Filing Date Title
JP2019-093536 2019-05-17
JP2019093536A JP7120152B2 (ja) 2019-05-17 2019-05-17 空調装置

Related Child Applications (1)

Application Number Title Priority Date Filing Date
US17/526,751 Continuation US11774149B2 (en) 2019-05-17 2021-11-15 Air conditioner

Publications (1)

Publication Number Publication Date
WO2020235250A1 true WO2020235250A1 (ja) 2020-11-26

Family

ID=73222676

Family Applications (1)

Application Number Title Priority Date Filing Date
PCT/JP2020/016163 Ceased WO2020235250A1 (ja) 2019-05-17 2020-04-10 空調装置

Country Status (4)

Country Link
US (1) US11774149B2 (enExample)
JP (1) JP7120152B2 (enExample)
CN (1) CN113840746B (enExample)
WO (1) WO2020235250A1 (enExample)

Cited By (1)

* Cited by examiner, † Cited by third party
Publication number Priority date Publication date Assignee Title
EP4450885A4 (en) * 2021-12-17 2025-04-02 Daikin Industries, Ltd. Ventilation device and ventilation method

Families Citing this family (4)

* Cited by examiner, † Cited by third party
Publication number Priority date Publication date Assignee Title
WO2022230696A1 (ja) * 2021-04-28 2022-11-03 株式会社デンソー 車両用空調装置
KR20230071837A (ko) * 2021-11-15 2023-05-24 현대자동차주식회사 물류 배송차량의 공조장치
KR20230171263A (ko) * 2022-06-13 2023-12-20 현대자동차주식회사 통합 열교환기의 공조 장치 및 시스템
WO2024176692A1 (ja) * 2023-02-24 2024-08-29 株式会社デンソー 空調装置

Citations (4)

* Cited by examiner, † Cited by third party
Publication number Priority date Publication date Assignee Title
JPH0858359A (ja) * 1994-08-26 1996-03-05 Nippondenso Co Ltd 車両用空気調和装置
JP2013193668A (ja) * 2012-03-22 2013-09-30 Panasonic Corp 車両用空調装置
US20180065451A1 (en) * 2015-03-16 2018-03-08 Hanon Systems Vehicular heat pump system
WO2019003694A1 (ja) * 2017-06-28 2019-01-03 株式会社デンソー 空調装置

Family Cites Families (16)

* Cited by examiner, † Cited by third party
Publication number Priority date Publication date Assignee Title
DE102012204404B4 (de) * 2011-03-25 2022-09-08 Denso Corporation Wärmeaustauschsystem und Fahrzeugkältekreislaufsystem
JP5582097B2 (ja) * 2011-06-07 2014-09-03 株式会社デンソー 空調装置
JP6126412B2 (ja) 2012-02-28 2017-05-10 株式会社日本クライメイトシステムズ 車両用空調装置
JP2014000905A (ja) * 2012-06-20 2014-01-09 Denso Corp ヒートポンプサイクル
DE102012108891B4 (de) 2012-09-20 2022-01-27 Hanon Systems Klimatisierungssystem eines Kraftfahrzeuges und Luftleitvorrichtung für einen Wärmeübertrager
JP6189098B2 (ja) 2013-06-14 2017-08-30 三菱重工オートモーティブサーマルシステムズ株式会社 ヒートポンプ式車両用空調システム
WO2016017939A1 (ko) 2014-07-31 2016-02-04 한온시스템 주식회사 차량용 히트 펌프 시스템
DE102015117964B4 (de) 2014-10-24 2020-07-23 Hanon Systems Klimatisierungssystem zur Konditionierung der Luft eines Fahrgastraumes eines Kraftfahrzeuges
DE102015117962B4 (de) 2014-10-24 2025-09-18 Hanon Systems Klimatisierungssystem zur Konditionierung der Luft eines Fahrgastraumes eines Kraftfahrzeuges
JP6390437B2 (ja) * 2015-01-15 2018-09-19 株式会社デンソー 車両用空調装置
CN107438527B (zh) 2015-04-08 2021-07-23 翰昂汽车零部件有限公司 车辆空调系统
CN107531128B (zh) * 2015-06-16 2020-03-17 株式会社电装 车辆用空调装置
DE112016003161T5 (de) * 2015-07-14 2018-04-12 Denso Corporation Wärmepumpenkreislauf
US10457115B2 (en) 2015-08-10 2019-10-29 Hanon Systems Air conditioning system for vehicle
JP7251229B2 (ja) * 2019-03-13 2023-04-04 トヨタ自動車株式会社 車載温調装置
JP7458205B2 (ja) * 2020-02-27 2024-03-29 株式会社デンソー 車両用空調装置

Patent Citations (4)

* Cited by examiner, † Cited by third party
Publication number Priority date Publication date Assignee Title
JPH0858359A (ja) * 1994-08-26 1996-03-05 Nippondenso Co Ltd 車両用空気調和装置
JP2013193668A (ja) * 2012-03-22 2013-09-30 Panasonic Corp 車両用空調装置
US20180065451A1 (en) * 2015-03-16 2018-03-08 Hanon Systems Vehicular heat pump system
WO2019003694A1 (ja) * 2017-06-28 2019-01-03 株式会社デンソー 空調装置

Cited By (1)

* Cited by examiner, † Cited by third party
Publication number Priority date Publication date Assignee Title
EP4450885A4 (en) * 2021-12-17 2025-04-02 Daikin Industries, Ltd. Ventilation device and ventilation method

Also Published As

Publication number Publication date
CN113840746B (zh) 2024-06-07
JP7120152B2 (ja) 2022-08-17
JP2020185961A (ja) 2020-11-19
CN113840746A (zh) 2021-12-24
US20220074636A1 (en) 2022-03-10
US11774149B2 (en) 2023-10-03

Similar Documents

Publication Publication Date Title
US11718156B2 (en) Refrigeration cycle device
US12257880B2 (en) Refrigeration cycle device
JP5949648B2 (ja) 冷凍サイクル装置
JP6278132B2 (ja) ヒートポンプサイクル
CN105874288B (zh) 热泵循环装置
US11506404B2 (en) Refrigeration cycle device
CN112638674B (zh) 制冷循环装置
CN113840746B (zh) 空调装置
JP7176405B2 (ja) 温度調整装置
US20210101451A1 (en) Refrigeration cycle device
JP2000161809A (ja) 冷凍サイクル装置
JP7516761B2 (ja) 冷凍サイクル装置
WO2017010289A1 (ja) ヒートポンプサイクル
JP7632679B2 (ja) ヒートポンプサイクル装置
CN116829386A (zh) 空调装置
WO2020213537A1 (ja) 冷凍サイクル装置
CN107848374A (zh) 车辆用空调装置
JP2013203221A (ja) 車両用の空調装置
JP6390437B2 (ja) 車両用空調装置
JP7655710B2 (ja) 空調装置
JP7294075B2 (ja) 冷凍サイクル装置
JP2022170679A (ja) 車両用空調装置
WO2018180291A1 (ja) 冷凍サイクル装置
JP2023046604A (ja) ヒートポンプサイクル装置
JP2014069639A (ja) 冷凍サイクル装置

Legal Events

Date Code Title Description
121 Ep: the epo has been informed by wipo that ep was designated in this application

Ref document number: 20809738

Country of ref document: EP

Kind code of ref document: A1

NENP Non-entry into the national phase

Ref country code: DE

122 Ep: pct application non-entry in european phase

Ref document number: 20809738

Country of ref document: EP

Kind code of ref document: A1