WO2020166250A1 - モータ一体型流体機械及び垂直離着陸機 - Google Patents

モータ一体型流体機械及び垂直離着陸機 Download PDF

Info

Publication number
WO2020166250A1
WO2020166250A1 PCT/JP2020/000805 JP2020000805W WO2020166250A1 WO 2020166250 A1 WO2020166250 A1 WO 2020166250A1 JP 2020000805 W JP2020000805 W JP 2020000805W WO 2020166250 A1 WO2020166250 A1 WO 2020166250A1
Authority
WO
WIPO (PCT)
Prior art keywords
blade
motor
rotating
outer peripheral
blades
Prior art date
Legal status (The legal status is an assumption and is not a legal conclusion. Google has not performed a legal analysis and makes no representation as to the accuracy of the status listed.)
Ceased
Application number
PCT/JP2020/000805
Other languages
English (en)
French (fr)
Japanese (ja)
Inventor
直昭 藤原
Current Assignee (The listed assignees may be inaccurate. Google has not performed a legal analysis and makes no representation or warranty as to the accuracy of the list.)
Mitsubishi Heavy Industries Ltd
Original Assignee
Mitsubishi Heavy Industries Ltd
Priority date (The priority date is an assumption and is not a legal conclusion. Google has not performed a legal analysis and makes no representation as to the accuracy of the date listed.)
Filing date
Publication date
Application filed by Mitsubishi Heavy Industries Ltd filed Critical Mitsubishi Heavy Industries Ltd
Priority to EP20755522.8A priority Critical patent/EP3904216A4/en
Priority to US17/426,381 priority patent/US11952133B2/en
Publication of WO2020166250A1 publication Critical patent/WO2020166250A1/ja
Anticipated expiration legal-status Critical
Ceased legal-status Critical Current

Links

Images

Classifications

    • BPERFORMING OPERATIONS; TRANSPORTING
    • B64AIRCRAFT; AVIATION; COSMONAUTICS
    • B64CAEROPLANES; HELICOPTERS
    • B64C29/00Aircraft capable of landing or taking-off vertically, e.g. vertical take-off and landing [VTOL] aircraft
    • B64C29/0008Aircraft capable of landing or taking-off vertically, e.g. vertical take-off and landing [VTOL] aircraft having its flight directional axis horizontal when grounded
    • B64C29/0016Aircraft capable of landing or taking-off vertically, e.g. vertical take-off and landing [VTOL] aircraft having its flight directional axis horizontal when grounded the lift during taking-off being created by free or ducted propellers or by blowers
    • BPERFORMING OPERATIONS; TRANSPORTING
    • B64AIRCRAFT; AVIATION; COSMONAUTICS
    • B64CAEROPLANES; HELICOPTERS
    • B64C11/00Propellers, e.g. of ducted type; Features common to propellers and rotors for rotorcraft
    • B64C11/001Shrouded propellers
    • FMECHANICAL ENGINEERING; LIGHTING; HEATING; WEAPONS; BLASTING
    • F04POSITIVE - DISPLACEMENT MACHINES FOR LIQUIDS; PUMPS FOR LIQUIDS OR ELASTIC FLUIDS
    • F04DNON-POSITIVE-DISPLACEMENT PUMPS
    • F04D19/00Axial-flow pumps
    • F04D19/02Multi-stage pumps
    • FMECHANICAL ENGINEERING; LIGHTING; HEATING; WEAPONS; BLASTING
    • F04POSITIVE - DISPLACEMENT MACHINES FOR LIQUIDS; PUMPS FOR LIQUIDS OR ELASTIC FLUIDS
    • F04DNON-POSITIVE-DISPLACEMENT PUMPS
    • F04D25/00Pumping installations or systems
    • F04D25/02Units comprising pumps and their driving means
    • F04D25/06Units comprising pumps and their driving means the pump being electrically driven
    • F04D25/0606Units comprising pumps and their driving means the pump being electrically driven the electric motor being specially adapted for integration in the pump
    • FMECHANICAL ENGINEERING; LIGHTING; HEATING; WEAPONS; BLASTING
    • F04POSITIVE - DISPLACEMENT MACHINES FOR LIQUIDS; PUMPS FOR LIQUIDS OR ELASTIC FLUIDS
    • F04DNON-POSITIVE-DISPLACEMENT PUMPS
    • F04D29/00Details, component parts, or accessories
    • F04D29/26Rotors specially for elastic fluids
    • F04D29/32Rotors specially for elastic fluids for axial flow pumps
    • F04D29/325Rotors specially for elastic fluids for axial flow pumps for axial flow fans
    • F04D29/326Rotors specially for elastic fluids for axial flow pumps for axial flow fans comprising a rotating shroud
    • HELECTRICITY
    • H02GENERATION; CONVERSION OR DISTRIBUTION OF ELECTRIC POWER
    • H02KDYNAMO-ELECTRIC MACHINES
    • H02K1/00Details of the magnetic circuit
    • H02K1/06Details of the magnetic circuit characterised by the shape, form or construction
    • H02K1/12Stationary parts of the magnetic circuit
    • H02K1/17Stator cores with permanent magnets
    • HELECTRICITY
    • H02GENERATION; CONVERSION OR DISTRIBUTION OF ELECTRIC POWER
    • H02KDYNAMO-ELECTRIC MACHINES
    • H02K1/00Details of the magnetic circuit
    • H02K1/06Details of the magnetic circuit characterised by the shape, form or construction
    • H02K1/22Rotating parts of the magnetic circuit
    • H02K1/27Rotor cores with permanent magnets
    • H02K1/2793Rotors axially facing stators
    • HELECTRICITY
    • H02GENERATION; CONVERSION OR DISTRIBUTION OF ELECTRIC POWER
    • H02KDYNAMO-ELECTRIC MACHINES
    • H02K7/00Arrangements for handling mechanical energy structurally associated with dynamo-electric machines, e.g. structural association with mechanical driving motors or auxiliary dynamo-electric machines
    • H02K7/006Structural association of a motor or generator with the drive train of a motor vehicle
    • HELECTRICITY
    • H02GENERATION; CONVERSION OR DISTRIBUTION OF ELECTRIC POWER
    • H02KDYNAMO-ELECTRIC MACHINES
    • H02K7/00Arrangements for handling mechanical energy structurally associated with dynamo-electric machines, e.g. structural association with mechanical driving motors or auxiliary dynamo-electric machines
    • H02K7/14Structural association with mechanical loads, e.g. with hand-held machine tools or fans

Definitions

  • the present invention relates to a motor-integrated fluid machine and a vertical take-off and landing aircraft.
  • a ring motor including a stator, a rotor, and a plurality of propeller blades
  • the stator has a stator support ring and a plurality of windings arranged in the circumferential direction of the fixed support ring.
  • a plurality of pitch blades are coupled to the stator support ring.
  • the rotor has a rotor support ring, a plurality of magnetic poles arranged in the circumferential direction of the rotation support ring, and a central hub.
  • the central hub is coupled to a portion of the stator.
  • a plurality of propeller blades are coupled to the rotating support ring. Therefore, the rotor rotates around the central hub that is coupled to the stator by the winding and the magnetic pole, so that the plurality of propeller blades rotate.
  • a motor-integrated fluid machine such as the ring motor of Patent Document 1
  • the generated thrust acts on the blade.
  • the shaft portion such as the hub
  • the tip end side (free end side) of the blade is displaced by the thrust.
  • the rotation support ring is displaced in the axial direction of the rotation axis along with the displacement of the blade, and the plurality of magnetic poles provided on the rotation support ring are also displaced from the plurality of windings. If the positional relationship between the plurality of magnetic poles and the plurality of windings is deviated and, for example, the gap between the magnetic poles and the windings is widened, the performance of the motor is degraded and the thrust is reduced.
  • an object of the present invention is to provide a motor-integrated fluid machine and a vertical take-off and landing machine that can suppress the performance deterioration of the motor due to the rotation of the blade.
  • a motor-integrated fluid machine of the present invention is a motor-integrated fluid machine that sucks fluid from a suction port and blows out the sucked fluid from an outlet, with a shaft portion provided at the center of a rotary shaft and a shaft centered around the shaft portion.
  • the rotating part is rotatably supported by the shaft part, While the part side is the fixed end side, the outer peripheral part side is the free end side, and the motor is an outer peripheral drive motor that applies power from the outer peripheral part to rotate the rotating part.
  • the predetermined portion of the first blade and the predetermined portion of the second blade can be provided so as to be displaced in the axial direction, so that the rigidity in the axial direction of the plurality of blades can be improved. it can.
  • the axial displacement of the blade due to the thrust can be suppressed, the position of the portion on the free end side can be suppressed from being displaced toward the suction port side due to the thrust.
  • the predetermined part for example, a part on the shaft part side (fixed end side), a part on the outer peripheral part side (free end side), or all parts (entire blade).
  • the rotor-side magnet and the stator-side magnet are provided to face each other in the axial direction of the rotating shaft.
  • the rotor-side magnet and the stator-side magnet are provided to face each other in the radial direction of the rotation shaft.
  • the plurality of blades may be provided in multiple stages in the axial direction of the rotating shaft by the first blade being provided closer to the suction port side than the second blade in the axial direction of the rotating shaft. ,preferable.
  • a plurality of blades can be divided into a first blade and a second blade to form a multi-stage configuration in which they are arranged in the axial direction. Therefore, the axial rigidity of the plurality of blades can be further improved.
  • first blades and the second blades are alternately arranged in the circumferential direction of the rotation shaft.
  • the weight balance of the first blade can be made uniform in the circumferential direction, and similarly, the weight balance of the second blade can be made uniform in the circumferential direction. Therefore, when the plurality of blades are rotated, the whirling of the rotating portion due to uneven distribution of weight can be suppressed.
  • the second blade has a pitch angle, which is an angle with respect to the circumferential direction of the rotating shaft, larger than that of the first blade.
  • the fluid that has passed through the first blade flows down the second blade, that is, along the axial direction of the rotating shaft. Therefore, by increasing the pitch angle of the second blade, it is possible to suitably generate thrust in the second blade. Further, by increasing the pitch angle of the second blade, the second blade can be oriented along the axial direction of the rotating shaft, so that the axial rigidity of the second blade can be further improved.
  • the plurality of blades when the surface formed at the end portion on the suction port side is a rotation surface, the plurality of blades is the rotation surface at the outer peripheral side portion of the first blade.
  • the outer surface of the second blade is flush with the rotating surface, and the inner surface of the first blade is located on the inner surface of the second blade in the axial direction of the rotating shaft.
  • the inner peripheral side (fixed end side) portions of the first blade and the second blade can be provided with axial displacement. Therefore, the rigidity in the axial direction on the inner peripheral side of the plurality of blades can be improved.
  • the inner peripheral side portion of the blade greatly contributes to the displacement of the position on the outer peripheral side of the blade, so by improving the axial rigidity on the inner peripheral side of the plurality of blades, in the axial direction on the outer peripheral side of the blade. Can be suitably suppressed.
  • the outer peripheral side portions of the plurality of blades can be made to be the rotation surfaces that are in the same plane, the thrust can be efficiently generated.
  • the length of the portion on the inner peripheral side of the blade which is not the same plane is preferably 0.5R or less.
  • the outer peripheral portion of the plurality of blades can be made larger than the inner peripheral portion of the plurality of blades, so that the thrust can be generated more efficiently.
  • a vertical take-off and landing aircraft of the present invention includes the above-described motor-integrated fluid machine and a machine body that moves by thrust generated by the motor-integrated fluid machine.
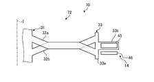
  • FIG. 1 is a cross-sectional view of a motor-integrated fan according to the first embodiment.
  • FIG. 2 is an explanatory diagram schematically showing the periphery of the blade of the motor-integrated fan according to the first embodiment.
  • FIG. 3 is a plan view of the rotating portion of the motor-integrated fan according to the first embodiment as seen from the axial direction.
  • FIG. 4 is an explanatory diagram of the blade of the motor-integrated fan according to the first embodiment as viewed from the radial direction.
  • FIG. 5 is an explanatory diagram schematically showing the periphery of the blade of the motor-integrated fan according to the second embodiment.
  • FIG. 6 is an explanatory view schematically showing the periphery of the blade of the motor-integrated fan according to the third embodiment.
  • FIG. 1 is a cross-sectional view of a motor-integrated fan according to the first embodiment.
  • FIG. 2 is an explanatory diagram schematically showing the periphery of the blade of the motor-integr
  • FIG. 7 is an explanatory diagram schematically showing the periphery of the blade of the motor-integrated fan according to the fourth embodiment.
  • FIG. 8 is an explanatory view schematically showing the periphery of the blade of the motor-integrated fan according to the modified examples of the first to fourth embodiments.
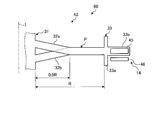
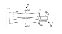
  • the motor-integrated fluid machine according to the first embodiment is an axial fluid machine.
  • the motor-integrated fluid machine is a motor-integrated fan 1 (hereinafter also simply referred to as fan 1) that takes in air from a suction port and blows air from a blowout port to generate propulsive force.
  • the motor-integrated fluid machine is described as being applied to the motor-integrated fan 1, but the configuration is not particularly limited to this.
  • the motor-integrated fluid machine may be applied as, for example, a motor-integrated propulsion device such as a propeller that takes in a liquid such as water or seawater from a suction port and injects the liquid from an outlet to generate a propulsion force. ..
  • the motor-integrated fan 1 is provided, for example, in a vertical take-off and landing aircraft such as a helicopter or a drone.
  • the motor-integrated fan 1 provided in the vertical takeoff and landing aircraft generates a propulsive force for levitating the airframe and a propulsive force for controlling the attitude of the airframe.
  • the motor-integrated fan 1 may be applied to an air cushion vehicle such as a hovercraft. Further, when applied as a motor-integrated propulsion device, it may be applied to a ship.
  • FIG. 1 is a cross-sectional view of a motor-integrated fan according to the first embodiment.
  • the motor-integrated fan 1 is called a duct type propeller or a ducted fan.
  • the motor-integrated fan 1 is used, for example, in a horizontal state in which the axial direction of the rotary shaft I is the vertical direction, and takes in air from the upper side in the vertical direction and blows air to the lower side in the vertical direction. There is.
  • the motor-integrated fan 1 may be used in a vertical state in which the axial direction of the rotary shaft I is horizontal.
  • the motor-integrated fan 1 is a flat fan whose axial length of the rotary shaft I is shorter than the radial length of the rotary shaft I.
  • the motor-integrated fan 1 is a fan in which one motor is integrally provided, and includes a shaft portion 11, a rotating portion 12, an outer peripheral portion 13, a motor 14, a rolling bearing 15, and a current plate 16. ing.
  • the shaft 11 is provided at the center of the rotating shaft I and serves as a support system (fixed side).
  • the axis of rotation of the rotary shaft I is the vertical direction in FIG. 1, and is the direction along the vertical direction. Therefore, the flow direction of the air is along the axial direction of the rotation axis I, and the air flows from the upper side to the lower side in FIG.
  • the shaft portion 11 includes a shaft-side fitting portion 25 that is a portion provided on the upstream side in the axial direction of the rotating shaft I and a shaft body 26 that is a portion provided on the downstream side of the shaft-side fitting portion 25.
  • the hub 31 of the rotating part 12 described later is fitted to the shaft-side fitting part 25.
  • the shaft-side fitting portion 25 has a cylindrical shape, and is provided so as to project in the axial direction from the upstream end surface of the shaft body 26.
  • the shaft-side fitting portion 25 has a cylindrical space formed on the center side of the rotation axis I. A part of the hub 31 of the rotating unit 12 is inserted into this space.
  • the outer peripheral side of the shaft side fitting portion 25 is surrounded by a part of the hub 31 of the rotating portion 12.
  • the shaft body 26 has a substantially conical shape that tapers from the upstream side toward the downstream side in the axial direction. Therefore, the outer peripheral surface of the shaft main body 26 is a surface from the outer side to the inner side in the radial direction from the upstream side to the downstream side in the axial direction.
  • a device Inside the shaft body 26, an internal space in which a device can be installed is formed.
  • the device is, for example, a control device, a camera, or the like. Further, an outer end surface of the rectifying plate 16 described later is connected to the outer peripheral surface of the shaft body 26 in the radial direction.
  • the rotating portion 12 is a rotating system (rotating side) that rotates around the shaft portion 11.
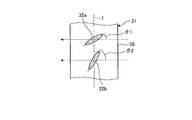
  • FIG. 2 is a cross-sectional view schematically showing the periphery of the blade of the motor-integrated fan according to the first embodiment.
  • the rotating portion 12 is provided on the inflow side, through which air flows, with respect to the shaft portion 11 in the axial direction of the rotating shaft I.
  • the rotating portion 12 has a hub 31, a plurality of blades 32, and a rotation support ring (rotation outer peripheral portion) 33.
  • the rotating part 12 has a configuration in which a plurality of blades 32 are arranged in multiple stages in the axial direction.
  • the hub 31 is provided on the upstream side of the shaft portion 11 in the axial direction, and is rotatably fitted to the shaft-side fitting portion 25.
  • the hub 31 has a hub main body 35 that is a portion provided on the upstream side in the axial direction and a hub side fitting portion 36 that is a portion provided on the downstream side of the hub main body 35.
  • the hub body 35 is formed into a hemispherical surface whose upstream end surface has a predetermined radius of curvature.
  • the hub-side fitting portion 36 has a shape complementary to the shaft-side fitting portion 25.
  • the hub-side fitting portion 36 includes a central shaft 36a provided at the center of the rotating shaft and a cylindrical portion 36b having a cylindrical shape provided on the outer peripheral side of the central shaft 36a.
  • the central shaft 36a is inserted into the space at the center of the rotation shaft of the shaft-side fitting portion 25.
  • the cylindrical portion 36b is provided so as to project in the axial direction from the end surface on the downstream side of the hub body 35.
  • the cylindrical portion 36b is arranged so as to surround the outer periphery of the shaft-side fitting portion 25.
  • the rolling bearing 15 is provided between the inner peripheral surface of the shaft-side fitting portion 25 and the outer peripheral surface of the central shaft 36a of the hub 31.
  • the surface from the end surface of the hub main body 35 to the outer peripheral surface of the shaft main body 26 through the outer peripheral surface of the cylindrical portion 36b is a smooth surface without steps.
  • the plurality of blades 32 are provided so as to extend from the hub 31 toward the outside in the radial direction, and are arranged side by side at a predetermined interval in the circumferential direction. Each blade 32 has a wing shape.
  • the plurality of blades 32 are made of a composite material.
  • the plurality of blades 32 are configured by using a composite material, but are not particularly limited, and may be configured by using a metal material, for example.
  • the plurality of blades 32 are configured to include a first blade 32a that is a part of the blade 32 and a second blade 32b that is a remaining part of the blade 32.
  • the first blade 32a and the second blade 32b are at different positions in the axial direction of the rotation axis I.
  • the first blade 32a is provided on the suction port 38 side of the second blade 32b in the axial direction of the rotating shaft I.
  • the second blade 32b is provided on the air outlet 39 side of the first blade 32a in the axial direction of the rotating shaft I. Therefore, the plurality of blades 32 are arranged in multiple stages (two stages) in the axial direction.
  • FIG. 3 is a plan view of the rotating portion of the motor-integrated fan according to the first embodiment as seen from the axial direction.
  • the first blades 32a and the second blades 32b are alternately arranged in the circumferential direction of the rotation axis I in a plan view. That is, the plurality of first blades 32a are evenly arranged at predetermined intervals in the circumferential direction. Further, the plurality of second blades 32b are evenly arranged in the circumferential direction with a predetermined interval. The plurality of second blades 32b are provided at the center between the first blades 32a adjacent to each other in the circumferential direction.
  • FIG. 4 is an explanatory view of the blade of the motor-integrated fan according to the first embodiment as viewed from the radial direction.
  • the first blade 32a and the second blade 32b have different pitch angles ⁇ 1 and ⁇ 2 with respect to the circumferential direction (rotational direction) of the rotation axis I.
  • the first blade 32a and the second blade 32b are arranged side by side in the axial direction so as to facilitate comparison.
  • the pitch angles ⁇ 1 and ⁇ 2 are angles formed by the circumferential direction and the front-rear direction connecting the leading edge side (the tip side in the rotation direction) and the trailing edge side (the trailing end side in the rotation direction) of the blade 32.
  • the pitch angle ⁇ 2 of the second blade 32b is larger than the pitch angle ⁇ 1 of the first blade 32a.
  • the rotation support ring 33 is formed in an annular shape around the rotation axis I.
  • the rotation support ring 33 is connected to the outer peripheral side of the plurality of blades 32 in the radial direction of the rotation axis I.
  • the rotation support ring 33 includes an inner ring portion 33a that is a portion that forms a part of the inner peripheral surface of the outer peripheral portion 13 described below, and a flange portion 33b that is a portion that is provided so as to project radially outward of the inner ring portion 33a. Is included.
  • the inner peripheral surface of the inner ring portion 33 a on the radially inner side is a part of the inner peripheral surface of the outer peripheral portion 13.
  • the radially outer ends of the blades 32 are connected to the inner peripheral surface of the inner ring portion 33a.
  • the axial length of the inner ring portion 33a is a length at which the plurality of blades 32 arranged in multiple stages can be connected.
  • the flange portion 33b is provided on the upstream side in the axial direction of the inner ring portion 33a.
  • the flange portion 33b holds a permanent magnet 45 of the motor 14, which will be described later.
  • the flange portion 33b holds the permanent magnet 45 so that the permanent magnet 45 faces the downstream side in the axial direction.
  • the above-mentioned rotating part 12 is integrated with a hub 31, a plurality of blades 32, and a rotation support ring 33, and rotates around the hub 31.
  • part or all of the rotating portion 12 may be integrally molded.
  • the plurality of blades 32 and the rotation support ring 33 may be integrally molded using a composite material, or the hub 31, the plurality of blades 32, and the rotation support ring 33. May be integrally molded using a composite material.
  • the rotating part 12 may be made of a metal material, and in this case as well, a part or all of the rotating part 12 may be integrated.
  • the outer peripheral portion 13 is provided on the outer side in the radial direction of the shaft portion 11 and serves as a support system (fixed side).
  • the outer peripheral portion 13 is formed in an annular shape and serves as a duct that generates a thrust by the rotation of the rotating portion 12.
  • an opening on the upstream side serves as a suction port 38 and an opening on the downstream side serves as an air outlet 39 in the axial direction of the rotating shaft I.
  • the duct 13 has a shape in which air is sucked from the suction port 38 and the sucked air is blown out from the air outlet 39 by the rotation of the rotating portion 12, thereby generating thrust.
  • the inner peripheral surface of the duct 13 on the downstream side of the rotating portion 12 is a surface that widens from the suction port 38 side toward the blowout port 39 side.
  • the duct 13 has an annular internal space formed therein for accommodating a flange portion 33b of the rotation support ring 33 of the rotating portion 12 and a coil 46 of the motor 14, which will be described later.
  • the duct 13 holds a coil 46 provided inside the duct 13 at a position facing the permanent magnet 45 held by the rotating unit 12.
  • the motor 14 is an outer peripheral drive motor that rotates the rotating part 12 by applying power from the duct 13 side to the rotating part 12.
  • the motor 14 has a rotor-side magnet provided on the rotating portion 12 side and a stator-side magnet provided on the duct 13 side.
  • the rotor-side magnet is the permanent magnet 45
  • the stator-side magnet is the coil 46 that is an electromagnet.
  • the permanent magnet 45 is provided so as to be held by the flange portion 33b of the rotation support ring 33, and is arranged in an annular shape in the circumferential direction. Further, the permanent magnet 45 is configured such that the positive electrode and the negative electrode are alternately arranged at predetermined intervals in the circumferential direction.
  • the permanent magnets 45 may have a Halbach array.
  • the permanent magnet 45 is provided at a position facing the coil 46 in the axial direction of the rotation axis I.
  • the permanent magnet 45 has a length in the radial direction of the rotating shaft I that is longer than the length in the axial direction of the rotating shaft I.
  • the coils 46 are provided while being held inside the duct 13, and a plurality of coils 46 are provided so as to face each pole of the permanent magnet 45 and are arranged side by side in the circumferential direction.
  • the coil 46 is provided at a position facing the permanent magnet 45 held by the rotating portion 12 in the axial direction of the rotating shaft I. That is, the permanent magnet 45 and the coil 46 are arranged axially so as to face each other in the axial direction of the rotation axis I.
  • the rolling bearing 15 is provided between the inner peripheral surface of the shaft-side fitting portion 25 of the shaft portion 11 and the outer peripheral surface of the central shaft 36a of the hub 31 of the rotating portion 12.
  • the rolling bearing 15 connects the shaft portion 11 and the rotation portion 12 while allowing the rotation portion 12 to rotate with respect to the shaft portion 11.
  • the rolling bearing 15 is, for example, a ball bearing or the like.
  • the current plate 16 is provided by connecting the shaft portion 11 and the duct 13.
  • the current plate 16 is provided on the downstream side of the rotating unit 12 in the axial direction of the rotating shaft I. That is, the current plate 16 is provided at the position of the downstream portion 43 of the duct 13 in the axial direction.
  • a plurality of straightening vanes 16 are arranged side by side in the circumferential direction of the rotation axis I. Further, the straightening vane 16 has a streamlined shape such as a blade shape, and straightens the air flowing from the rotating portion 12 to generate thrust.
  • the shape of the current plate 16 is not limited to the blade shape, and may be a flat plate shape.
  • the rotating portion 12 is rotated by applying power from the duct 13 side to the rotating portion 12 by the magnetic field by the motor 14.
  • the motor-integrated fan 1 sucks air from the suction port 38 and blows air toward the air outlet 39.
  • the air blown out from the rotating part 12 flows along the inner peripheral surface of the duct 13 to generate thrust.
  • the flow of air is rectified by the rectifying plate 16, and the rectifying plate 16 also generates thrust.
  • the air sucked from the suction port 38 passes through the first blade 32a.
  • the air that has passed through the first blade 32a flows downward to the second blade 32b, that is, along the axial direction of the rotation axis I.
  • the air flowing downwards passes through the second blade 32b, is rectified by the rectifying plate 16, and is then blown out from the air outlet 39.
  • the first blade 32a and the second blade 32b can be displaced in the axial direction to have a multi-stage configuration, so that the axial rigidity of the plurality of blades 32 can be increased. Can be improved. Therefore, since the axial displacement of the blade 32 due to the thrust can be suppressed, it is possible to suppress the position of the portion on the free end side, which is the outer peripheral side, from being displaced toward the suction port 38 side by the thrust. As a result, it is possible to prevent the permanent magnet 45 and the coil 46 of the motor 14 from separating from each other and widen the gap, and it is possible to prevent the performance of the motor 14 from being deteriorated due to the rotation of the blade 32. Further, since it is not necessary to change the blade area and the number of blades of the plurality of blades 32, the influence on the design of the blades 32 can be suppressed.
  • the first blades 32a and the second blades 32b can be arranged alternately in the circumferential direction of the rotation axis I. Therefore, the weight balance of the first blade 32a can be made uniform in the circumferential direction, and similarly, the weight balance of the second blade 32b can be made uniform in the circumferential direction. Accordingly, when the plurality of blades 32 are rotated, it is possible to suppress the whirling of the rotating portion 12 due to the uneven distribution of the weight.
  • the pitch angle ⁇ 2 of the second blade 32b can be made larger than the pitch angle ⁇ 1 of the first blade 32a, so that the air that has passed through the first blade 32a does not contact the second blade 32b. Even when the air flows so as to be blown down, the thrust can be appropriately generated in the second blade 32b. Further, by increasing the pitch angle ⁇ 2 of the second blade 32b, the chord length of the second blade 32b can be oriented along the axial direction of the rotation axis I, so that the rigidity of the second blade 32b in the axial direction can be increased. Can be further improved.
  • the motor-integrated fan 1 in which the performance deterioration of the motor 14 due to the rotation of the blade 32 is suppressed, it is possible to provide a vertical take-off and landing aircraft with stable thrust.
  • FIG. 5 is an explanatory diagram schematically showing the periphery of the blade of the motor-integrated fan according to the second embodiment.
  • the motor-integrated fan 60 of the second embodiment is a modification of the blade 32 of the motor-integrated fan 1 of the first embodiment.
  • the plurality of blades 32 are configured to include a first blade 32a and a second blade 32b.
  • the inner peripheral side portion of the first blade 32a and the inner peripheral side portion of the second blade 32b are at different positions in the axial direction of the rotation axis I.
  • the outer peripheral side portion of the first blade 32a and the outer peripheral side portion of the second blade 32b are at the same position in the axial direction of the rotation axis I.
  • the surface formed at the end portion of the blade 32 on the suction port 38 side by the rotation of the plurality of blades 32 is referred to as a rotation surface P.
  • the portion on the inner peripheral side of the first blade 32a is located on the suction port 38 side with respect to the rotation surface P in the portion on the outer peripheral side of the first blade 32a in the axial direction of the rotation axis I, and is located on the outer peripheral side.
  • the air outlet 39 is inclined as it goes.
  • the portion on the inner peripheral side of the second blade 32b is located on the blower outlet 39 side with respect to the rotation surface P in the portion on the outer peripheral side of the second blade 32b in the axial direction of the rotation axis I, and is located on the outer peripheral side. As it goes, it is inclined to the suction port 38.
  • the rotation surface P on the outer peripheral side portion of the first blade 32a and the rotation surface P on the outer peripheral side portion of the second blade 32b are the same surface.
  • the rotation surface P at the inner peripheral side portion of the first blade 32a and the rotation surface P at the inner peripheral side portion of the second blade 32b are not the same surface.
  • the length of the portion on the inner peripheral side of the blade 32 that is not on the same plane is 0.5R or less.
  • the inner peripheral side (fixed end side) portions of the first blade 32a and the second blade 32b can be provided with axial displacement so that a plurality of blades can be provided.
  • the rigidity in the axial direction on the inner peripheral side of 32 can be improved.
  • the portion on the inner peripheral side of the blade 32 greatly contributes to the displacement of the position on the outer peripheral side of the blade 32. Therefore, by improving the axial rigidity on the inner peripheral side of the blade 32, the shaft on the outer peripheral side of the blade 32 is improved.
  • the displacement in the direction can be suitably suppressed.
  • the outer peripheral side portions of the plurality of blades 32 can be the rotation surface P that is in the same plane, the thrust can be efficiently generated.
  • the outer peripheral side portions of the plurality of blades 32 can be made larger than the inner peripheral side portions of the plurality of blades 32, so that the thrust can be generated more efficiently. it can.
  • the inner circumferential side (fixed end side) of the first blade 32a and the second blade 32b are provided with axial displacement, but the present invention is not limited to this configuration.
  • the outer peripheral side (free end side) of the first blade 32a and the second blade 32b may be axially displaced.
  • the portions on the inner peripheral side (fixed end side) of the first blade 32a and the second blade 32b are the rotation surface P that is in the same plane.
  • FIG. 6 is an explanatory view schematically showing the periphery of the blade of the motor-integrated fan according to the third embodiment.
  • the motor-integrated fan 70 of the third embodiment is a modification of the blade 32 of the motor-integrated fan 60 of the second embodiment.
  • the plurality of blades 32 are configured to include a first blade 32a and a second blade 32b.
  • the inner peripheral side and outer peripheral side portions of the first blade 32a and the inner peripheral side and outer peripheral side portions of the second blade 32b are at different positions in the axial direction of the rotation axis I.
  • the central portion of the first blade 32a and the central portion of the second blade 32b are at the same position in the axial direction of the rotation axis I.
  • the surface formed at the end portion of the blade 32 on the suction port 38 side by the rotation of the plurality of blades 32 is referred to as a rotation surface P.
  • the portion on the inner peripheral side of the first blade 32a is located on the suction port 38 side with respect to the rotation surface P in the central portion of the first blade 32a in the axial direction of the rotation axis I, and heads toward the outer peripheral side. Accordingly, the outlet 39 is inclined. Further, the outer peripheral side portion of the first blade 32a is located on the blowout port 39 side with respect to the rotation surface P in the central portion of the first blade 32a in the axial direction of the rotation axis I, and the inner peripheral side thereof. Inclining to the suction port 38 as it goes to.
  • the inner peripheral side portion of the second blade 32b is located on the blower outlet 39 side with respect to the rotation surface P in the central portion of the second blade 32b in the axial direction of the rotation axis I, and heads toward the outer peripheral side. Accordingly, the suction port 38 is inclined. Further, the outer peripheral side portion of the second blade 32b is located on the suction port 38 side with respect to the rotation surface P in the central portion of the second blade 32b in the axial direction of the rotation axis I, and the inner peripheral side thereof. Toward the outlet 39.
  • the rotation surface P in the central portion of the first blade 32a and the rotation surface P in the central portion of the second blade 32b are the same surface.
  • the rotation surface P at the inner peripheral side portion of the first blade 32a and the rotation surface P at the inner peripheral side portion of the second blade 32b are not the same surface.
  • the rotation surface P on the outer peripheral side portion of the first blade 32a and the rotation surface P on the outer peripheral side portion of the second blade 32b are not the same surface.
  • the inner peripheral side portions of the first blade 32a and the second blade 32b can be displaced in the axial direction, and the first blade 32a and the second blade 32b can be displaced.
  • the portion on the outer peripheral side can be displaced in the axial direction. Therefore, the rigidity in the axial direction on the inner peripheral side and the outer peripheral side of the plurality of blades 32 can be improved.
  • the rotation surfaces P in the central portions of the first blade 32a and the second blade 32b are the same surface, but the configuration is not particularly limited to this configuration, and the central portions may be inclined. That is, the first blade 32a may be inclined toward the air outlet 39 from the inner peripheral side toward the outer peripheral side, and the second blade 32b may be inclined toward the suction port 38 from the inner peripheral side toward the outer peripheral side.
  • FIG. 7 is an explanatory diagram schematically showing the periphery of the blade of the motor-integrated fan according to the fourth embodiment.
  • the motor-integrated fan 80 of the fourth embodiment is a modification of the blade 32 of the motor-integrated fan 70 of the third embodiment.
  • the plurality of blades 32 are configured to include a first blade 32a and a second blade 32b. Similar to the third embodiment, the inner peripheral side and outer peripheral side portions of the first blade 32a and the inner peripheral side and outer peripheral side portions of the second blade 32b have different positions in the axial direction of the rotation axis I. ing. On the other hand, the central portion of the first blade 32a and the central portion of the second blade 32b are at the same position in the axial direction of the rotation axis I.
  • the surface formed at the end portion of the blade 32 on the suction port 38 side by the rotation of the plurality of blades 32 is referred to as a rotation surface P.
  • the portion on the inner peripheral side of the first blade 32a is located on the suction port 38 side with respect to the rotation surface P in the central portion of the first blade 32a in the axial direction of the rotation axis I, and heads toward the outer peripheral side. Accordingly, the outlet 39 is inclined. Further, the outer peripheral side portion of the first blade 32a is located on the suction port 38 side with respect to the rotation surface P in the central portion of the first blade 32a in the axial direction of the rotation axis I, and the inner peripheral side thereof. Toward the outlet 39.
  • the inner peripheral side portion of the second blade 32b is located on the blower outlet 39 side with respect to the rotation surface P in the central portion of the second blade 32b in the axial direction of the rotation axis I, and heads toward the outer peripheral side. Accordingly, the suction port 38 is inclined. Further, the outer peripheral side portion of the second blade 32b is located on the blowout port 39 side with respect to the rotation surface P in the central portion of the second blade 32b in the axial direction of the rotation axis I, and the inner peripheral side thereof. Inclining to the suction port 38 as it goes to.
  • the rotation surface P in the central portion of the first blade 32a and the rotation surface P in the central portion of the second blade 32b are the same surface.
  • the rotation surface P at the inner peripheral side portion of the first blade 32a and the rotation surface P at the inner peripheral side portion of the second blade 32b are not the same surface.
  • the rotation surface P on the outer peripheral side portion of the first blade 32a and the rotation surface P on the outer peripheral side portion of the second blade 32b are not the same surface.
  • the inner peripheral portions of the first blade 32a and the second blade 32b can be displaced in the axial direction, and the first blade 32a and the second blade 32b can be displaced.
  • the portion on the outer peripheral side can be displaced in the axial direction. Therefore, the rigidity in the axial direction on the inner peripheral side and the outer peripheral side of the plurality of blades 32 can be improved.
  • the inner peripheral side portion of the first blade 32a and the inner peripheral side portion of the second blade 32b are not flush with each other, and the outer peripheral side portion of the first blade 32a and the second blade
  • the outer peripheral portion of 32b has a non-coplanar surface, and the central portion of the first blade 32a and the central portion of the second blade 32b have the same surface, but the configuration is not particularly limited.
  • the inner peripheral side portion of the first blade 32a and the inner peripheral side portion of the second blade 32b are on the same plane, and the outer peripheral side portion of the first blade 32a and the outer peripheral side portion of the second blade 32b are Alternatively, the central portion of the first blade 32a and the central portion of the second blade 32b may not be flush with each other.
  • FIG. 8 is an explanatory view schematically showing the periphery of the blade of the motor-integrated fan according to the modified examples of the first to fourth embodiments.
  • the permanent magnet 45 and the coil 46 are arranged in a radial arrangement in which they are arranged to face each other in the radial direction of the rotation axis I.
  • FIG. 8 is a diagram applied to the motor-integrated fan 1 of the first embodiment.
  • the rotary support ring 33 holding the permanent magnet 45 holds the permanent magnet 45 in the flange portion 33b provided on the outer peripheral side of the inner ring portion 33a.
  • the permanent magnet 45 is provided on the outer peripheral side of the inner ring portion 33a of the rotation support ring 33 and is held by the flange portion 33b.
  • the permanent magnets 45 are annularly arranged in the circumferential direction.
  • the permanent magnet 45 is provided at a position facing the coil 46 in the radial direction of the rotation axis I.
  • the coils 46 are provided while being held inside the duct 13, and a plurality of coils 46 are provided so as to face each pole of the permanent magnet 45 and are arranged side by side in the circumferential direction.
  • the coil 46 is provided at a position facing the permanent magnet 45 held by the rotating portion 12 in the radial direction of the rotating shaft I. In this way, the permanent magnets 45 and the coils 46 may be arranged radially so as to face each other in the radial direction of the rotation axis I.
  • Motor integrated fan (Embodiment 1) 11 Shaft 12 Rotating Part (Embodiment 1) 13 duct 14 motor 15 rolling bearing 16 straightening plate 31 hub 32 blade 33 rotation support ring 38 suction port 39 air outlet 45 permanent magnet 46 coil 60 motor integrated fan (Embodiment 2) 62 Rotating part (Embodiment 2) 70 Motor Integrated Fan (Embodiment 3) 72 Rotating part (Embodiment 3) 80 Motor integrated fan (Embodiment 4) 82 Rotating part (Embodiment 4)

Landscapes

  • Engineering & Computer Science (AREA)
  • Mechanical Engineering (AREA)
  • General Engineering & Computer Science (AREA)
  • Power Engineering (AREA)
  • Aviation & Aerospace Engineering (AREA)
  • Structures Of Non-Positive Displacement Pumps (AREA)
  • Connection Of Motors, Electrical Generators, Mechanical Devices, And The Like (AREA)
PCT/JP2020/000805 2019-02-12 2020-01-14 モータ一体型流体機械及び垂直離着陸機 Ceased WO2020166250A1 (ja)

Priority Applications (2)

Application Number Priority Date Filing Date Title
EP20755522.8A EP3904216A4 (en) 2019-02-12 2020-01-14 FLUID MACHINE WITH INTEGRATED MOTOR AND VERTICAL TAKE-OFF AND LANDING AIRCRAFT
US17/426,381 US11952133B2 (en) 2019-02-12 2020-01-14 Motor-integrated fluid machine and vertical takeoff and landing aircraft

Applications Claiming Priority (2)

Application Number Priority Date Filing Date Title
JP2019-022928 2019-02-12
JP2019022928A JP7325191B2 (ja) 2019-02-12 2019-02-12 モータ一体型流体機械及び垂直離着陸機

Publications (1)

Publication Number Publication Date
WO2020166250A1 true WO2020166250A1 (ja) 2020-08-20

Family

ID=72045544

Family Applications (1)

Application Number Title Priority Date Filing Date
PCT/JP2020/000805 Ceased WO2020166250A1 (ja) 2019-02-12 2020-01-14 モータ一体型流体機械及び垂直離着陸機

Country Status (4)

Country Link
US (1) US11952133B2 (enExample)
EP (1) EP3904216A4 (enExample)
JP (1) JP7325191B2 (enExample)
WO (1) WO2020166250A1 (enExample)

Families Citing this family (3)

* Cited by examiner, † Cited by third party
Publication number Priority date Publication date Assignee Title
JP7413013B2 (ja) * 2019-12-27 2024-01-15 三菱重工業株式会社 モータ一体型流体機械、垂直離着陸機及びモータ一体型流体機械の設計方法
DE102020133449B3 (de) * 2020-12-15 2021-12-30 Dr. Ing. H.C. F. Porsche Aktiengesellschaft Mantelpropeller eines Luftfahrzeugs, Luftfahrzeug und Bauteil desselben
US12467469B2 (en) * 2024-05-03 2025-11-11 Hamilton Sundstrand Corporation Ram air fan including additively manufactured heat exchanger insert

Citations (8)

* Cited by examiner, † Cited by third party
Publication number Priority date Publication date Assignee Title
US3708251A (en) * 1968-07-01 1973-01-02 North American Rockwell Gearless drive method and means
US4459087A (en) * 1982-06-02 1984-07-10 Aciers Et Outillage Peugeot Fan unit for an internal combustion engine of automobile vehicle
US4483658A (en) * 1979-12-11 1984-11-20 Levine Elliott M Rotational wake reaction steps for Foils
US4953811A (en) * 1988-10-19 1990-09-04 The United States Of America As Represented By The Secretary Of The Army Self-driving helicopter tail rotor
JP2001097288A (ja) * 1999-09-30 2001-04-10 Mitsubishi Heavy Ind Ltd ヘリコプタダクテッドファン
US20110272520A1 (en) * 2009-10-30 2011-11-10 Beijing University Of Technology Electrical driven flying saucer based on magnetic suspension
DE102011054849B3 (de) * 2011-10-27 2013-01-31 Deutsches Zentrum für Luft- und Raumfahrt e.V. Heckrotoranordnung
JP2017109726A (ja) 2015-10-08 2017-06-22 ロッキード マーティン コーポレイションLockheed Martin Corporation プロペラ駆動式乗物用の複雑さを低減したリングモータ設計

Family Cites Families (2)

* Cited by examiner, † Cited by third party
Publication number Priority date Publication date Assignee Title
US5185545A (en) * 1990-08-23 1993-02-09 Westinghouse Electric Corp. Dual propeller shock resistant submersible propulsor unit
US10086933B2 (en) 2015-12-17 2018-10-02 Amazon Technologies, Inc. Redundant aircraft propulsion system using multiple motors per drive shaft

Patent Citations (8)

* Cited by examiner, † Cited by third party
Publication number Priority date Publication date Assignee Title
US3708251A (en) * 1968-07-01 1973-01-02 North American Rockwell Gearless drive method and means
US4483658A (en) * 1979-12-11 1984-11-20 Levine Elliott M Rotational wake reaction steps for Foils
US4459087A (en) * 1982-06-02 1984-07-10 Aciers Et Outillage Peugeot Fan unit for an internal combustion engine of automobile vehicle
US4953811A (en) * 1988-10-19 1990-09-04 The United States Of America As Represented By The Secretary Of The Army Self-driving helicopter tail rotor
JP2001097288A (ja) * 1999-09-30 2001-04-10 Mitsubishi Heavy Ind Ltd ヘリコプタダクテッドファン
US20110272520A1 (en) * 2009-10-30 2011-11-10 Beijing University Of Technology Electrical driven flying saucer based on magnetic suspension
DE102011054849B3 (de) * 2011-10-27 2013-01-31 Deutsches Zentrum für Luft- und Raumfahrt e.V. Heckrotoranordnung
JP2017109726A (ja) 2015-10-08 2017-06-22 ロッキード マーティン コーポレイションLockheed Martin Corporation プロペラ駆動式乗物用の複雑さを低減したリングモータ設計

Also Published As

Publication number Publication date
JP2020137138A (ja) 2020-08-31
JP7325191B2 (ja) 2023-08-14
US11952133B2 (en) 2024-04-09
EP3904216A1 (en) 2021-11-03
US20220161937A1 (en) 2022-05-26
EP3904216A4 (en) 2022-03-09

Similar Documents

Publication Publication Date Title
US12246842B2 (en) Motor-integrated fluid machine and vertical take-off and landing aircraft
JP7182449B2 (ja) モータ一体型ファン及び垂直離着陸機
WO2020166250A1 (ja) モータ一体型流体機械及び垂直離着陸機
JP2021146981A5 (enExample)
JP7281911B2 (ja) モータ一体型流体機械及び垂直離着陸機
EP4247708B1 (en) Electrically powered engine
JP7210409B2 (ja) モータ一体型流体機械及び垂直離着陸機
JP7413013B2 (ja) モータ一体型流体機械、垂直離着陸機及びモータ一体型流体機械の設計方法
US11220332B2 (en) Rotor with pitch control apparatus
WO2025220308A1 (ja) 電動ファンおよび電動垂直離着陸機
JP2022129157A (ja) 流体機械および垂直離着陸機
CN115042967A (zh) 涵道风扇和飞行器
JP2023013296A (ja) 電動ファンおよび電動垂直離着陸機

Legal Events

Date Code Title Description
121 Ep: the epo has been informed by wipo that ep was designated in this application

Ref document number: 20755522

Country of ref document: EP

Kind code of ref document: A1

ENP Entry into the national phase

Ref document number: 2020755522

Country of ref document: EP

Effective date: 20210728

NENP Non-entry into the national phase

Ref country code: DE