WO2020067461A1 - 男性用吸収性物品 - Google Patents

男性用吸収性物品 Download PDF

Info

Publication number
WO2020067461A1
WO2020067461A1 PCT/JP2019/038238 JP2019038238W WO2020067461A1 WO 2020067461 A1 WO2020067461 A1 WO 2020067461A1 JP 2019038238 W JP2019038238 W JP 2019038238W WO 2020067461 A1 WO2020067461 A1 WO 2020067461A1
Authority
WO
WIPO (PCT)
Prior art keywords
dimensional deformation
deformation guiding
absorbent article
width direction
guiding grooves
Prior art date
Legal status (The legal status is an assumption and is not a legal conclusion. Google has not performed a legal analysis and makes no representation as to the accuracy of the status listed.)
Ceased
Application number
PCT/JP2019/038238
Other languages
English (en)
French (fr)
Japanese (ja)
Inventor
明良 ▲高▼平
Current Assignee (The listed assignees may be inaccurate. Google has not performed a legal analysis and makes no representation or warranty as to the accuracy of the list.)
Daio Paper Corp
Original Assignee
Daio Paper Corp
Priority date (The priority date is an assumption and is not a legal conclusion. Google has not performed a legal analysis and makes no representation as to the accuracy of the date listed.)
Filing date
Publication date
Application filed by Daio Paper Corp filed Critical Daio Paper Corp
Priority to CN201980048884.9A priority Critical patent/CN112469377B/zh
Priority to EP19867934.2A priority patent/EP3858312B1/en
Priority to KR1020207029311A priority patent/KR102666257B1/ko
Priority to US17/262,903 priority patent/US20220273502A1/en
Publication of WO2020067461A1 publication Critical patent/WO2020067461A1/ja
Anticipated expiration legal-status Critical
Ceased legal-status Critical Current

Links

Images

Classifications

    • AHUMAN NECESSITIES
    • A61MEDICAL OR VETERINARY SCIENCE; HYGIENE
    • A61FFILTERS IMPLANTABLE INTO BLOOD VESSELS; PROSTHESES; DEVICES PROVIDING PATENCY TO, OR PREVENTING COLLAPSING OF, TUBULAR STRUCTURES OF THE BODY, e.g. STENTS; ORTHOPAEDIC, NURSING OR CONTRACEPTIVE DEVICES; FOMENTATION; TREATMENT OR PROTECTION OF EYES OR EARS; BANDAGES, DRESSINGS OR ABSORBENT PADS; FIRST-AID KITS
    • A61F13/00Bandages or dressings; Absorbent pads
    • A61F13/15Absorbent pads, e.g. sanitary towels, swabs or tampons for external or internal application to the body; Supporting or fastening means therefor; Tampon applicators
    • A61F13/45Absorbent pads, e.g. sanitary towels, swabs or tampons for external or internal application to the body; Supporting or fastening means therefor; Tampon applicators characterised by the shape
    • A61F13/47Sanitary towels, incontinence pads or napkins
    • A61F13/471Sanitary towels, incontinence pads or napkins specially adapted for male use
    • AHUMAN NECESSITIES
    • A61MEDICAL OR VETERINARY SCIENCE; HYGIENE
    • A61FFILTERS IMPLANTABLE INTO BLOOD VESSELS; PROSTHESES; DEVICES PROVIDING PATENCY TO, OR PREVENTING COLLAPSING OF, TUBULAR STRUCTURES OF THE BODY, e.g. STENTS; ORTHOPAEDIC, NURSING OR CONTRACEPTIVE DEVICES; FOMENTATION; TREATMENT OR PROTECTION OF EYES OR EARS; BANDAGES, DRESSINGS OR ABSORBENT PADS; FIRST-AID KITS
    • A61F13/00Bandages or dressings; Absorbent pads
    • A61F13/15Absorbent pads, e.g. sanitary towels, swabs or tampons for external or internal application to the body; Supporting or fastening means therefor; Tampon applicators
    • A61F13/45Absorbent pads, e.g. sanitary towels, swabs or tampons for external or internal application to the body; Supporting or fastening means therefor; Tampon applicators characterised by the shape
    • A61F13/47Sanitary towels, incontinence pads or napkins
    • A61F13/4704Sanitary towels, incontinence pads or napkins having preferential bending zones, e.g. fold lines or grooves
    • AHUMAN NECESSITIES
    • A61MEDICAL OR VETERINARY SCIENCE; HYGIENE
    • A61FFILTERS IMPLANTABLE INTO BLOOD VESSELS; PROSTHESES; DEVICES PROVIDING PATENCY TO, OR PREVENTING COLLAPSING OF, TUBULAR STRUCTURES OF THE BODY, e.g. STENTS; ORTHOPAEDIC, NURSING OR CONTRACEPTIVE DEVICES; FOMENTATION; TREATMENT OR PROTECTION OF EYES OR EARS; BANDAGES, DRESSINGS OR ABSORBENT PADS; FIRST-AID KITS
    • A61F13/00Bandages or dressings; Absorbent pads
    • A61F13/15Absorbent pads, e.g. sanitary towels, swabs or tampons for external or internal application to the body; Supporting or fastening means therefor; Tampon applicators
    • A61F13/53Absorbent pads, e.g. sanitary towels, swabs or tampons for external or internal application to the body; Supporting or fastening means therefor; Tampon applicators characterised by the absorbing medium
    • A61F13/531Absorbent pads, e.g. sanitary towels, swabs or tampons for external or internal application to the body; Supporting or fastening means therefor; Tampon applicators characterised by the absorbing medium having a homogeneous composition through the thickness of the pad
    • A61F13/532Absorbent pads, e.g. sanitary towels, swabs or tampons for external or internal application to the body; Supporting or fastening means therefor; Tampon applicators characterised by the absorbing medium having a homogeneous composition through the thickness of the pad inhomogeneous in the plane of the pad
    • AHUMAN NECESSITIES
    • A61MEDICAL OR VETERINARY SCIENCE; HYGIENE
    • A61FFILTERS IMPLANTABLE INTO BLOOD VESSELS; PROSTHESES; DEVICES PROVIDING PATENCY TO, OR PREVENTING COLLAPSING OF, TUBULAR STRUCTURES OF THE BODY, e.g. STENTS; ORTHOPAEDIC, NURSING OR CONTRACEPTIVE DEVICES; FOMENTATION; TREATMENT OR PROTECTION OF EYES OR EARS; BANDAGES, DRESSINGS OR ABSORBENT PADS; FIRST-AID KITS
    • A61F13/00Bandages or dressings; Absorbent pads
    • A61F13/15Absorbent pads, e.g. sanitary towels, swabs or tampons for external or internal application to the body; Supporting or fastening means therefor; Tampon applicators
    • A61F13/56Supporting or fastening means
    • AHUMAN NECESSITIES
    • A61MEDICAL OR VETERINARY SCIENCE; HYGIENE
    • A61FFILTERS IMPLANTABLE INTO BLOOD VESSELS; PROSTHESES; DEVICES PROVIDING PATENCY TO, OR PREVENTING COLLAPSING OF, TUBULAR STRUCTURES OF THE BODY, e.g. STENTS; ORTHOPAEDIC, NURSING OR CONTRACEPTIVE DEVICES; FOMENTATION; TREATMENT OR PROTECTION OF EYES OR EARS; BANDAGES, DRESSINGS OR ABSORBENT PADS; FIRST-AID KITS
    • A61F5/00Orthopaedic methods or devices for non-surgical treatment of bones or joints; Nursing devices ; Anti-rape devices
    • A61F5/44Devices worn by the patient for reception of urine, faeces, catamenial or other discharge; Colostomy devices
    • A61F5/4401Devices worn by the patient for reception of urine, faeces, catamenial or other discharge; Colostomy devices with absorbent pads
    • AHUMAN NECESSITIES
    • A61MEDICAL OR VETERINARY SCIENCE; HYGIENE
    • A61FFILTERS IMPLANTABLE INTO BLOOD VESSELS; PROSTHESES; DEVICES PROVIDING PATENCY TO, OR PREVENTING COLLAPSING OF, TUBULAR STRUCTURES OF THE BODY, e.g. STENTS; ORTHOPAEDIC, NURSING OR CONTRACEPTIVE DEVICES; FOMENTATION; TREATMENT OR PROTECTION OF EYES OR EARS; BANDAGES, DRESSINGS OR ABSORBENT PADS; FIRST-AID KITS
    • A61F5/00Orthopaedic methods or devices for non-surgical treatment of bones or joints; Nursing devices ; Anti-rape devices
    • A61F5/44Devices worn by the patient for reception of urine, faeces, catamenial or other discharge; Colostomy devices
    • A61F5/451Genital or anal receptacles
    • A61F5/453Genital or anal receptacles for collecting urine or other discharge from male member
    • AHUMAN NECESSITIES
    • A61MEDICAL OR VETERINARY SCIENCE; HYGIENE
    • A61FFILTERS IMPLANTABLE INTO BLOOD VESSELS; PROSTHESES; DEVICES PROVIDING PATENCY TO, OR PREVENTING COLLAPSING OF, TUBULAR STRUCTURES OF THE BODY, e.g. STENTS; ORTHOPAEDIC, NURSING OR CONTRACEPTIVE DEVICES; FOMENTATION; TREATMENT OR PROTECTION OF EYES OR EARS; BANDAGES, DRESSINGS OR ABSORBENT PADS; FIRST-AID KITS
    • A61F5/00Orthopaedic methods or devices for non-surgical treatment of bones or joints; Nursing devices ; Anti-rape devices
    • A61F5/44Devices worn by the patient for reception of urine, faeces, catamenial or other discharge; Colostomy devices
    • A61F2005/4402Devices worn by the patient for reception of urine, faeces, catamenial or other discharge; Colostomy devices disposable
    • AHUMAN NECESSITIES
    • A61MEDICAL OR VETERINARY SCIENCE; HYGIENE
    • A61FFILTERS IMPLANTABLE INTO BLOOD VESSELS; PROSTHESES; DEVICES PROVIDING PATENCY TO, OR PREVENTING COLLAPSING OF, TUBULAR STRUCTURES OF THE BODY, e.g. STENTS; ORTHOPAEDIC, NURSING OR CONTRACEPTIVE DEVICES; FOMENTATION; TREATMENT OR PROTECTION OF EYES OR EARS; BANDAGES, DRESSINGS OR ABSORBENT PADS; FIRST-AID KITS
    • A61F13/00Bandages or dressings; Absorbent pads
    • A61F13/15Absorbent pads, e.g. sanitary towels, swabs or tampons for external or internal application to the body; Supporting or fastening means therefor; Tampon applicators
    • A61F13/53Absorbent pads, e.g. sanitary towels, swabs or tampons for external or internal application to the body; Supporting or fastening means therefor; Tampon applicators characterised by the absorbing medium
    • A61F13/534Absorbent pads, e.g. sanitary towels, swabs or tampons for external or internal application to the body; Supporting or fastening means therefor; Tampon applicators characterised by the absorbing medium having an inhomogeneous composition through the thickness of the pad
    • A61F13/537Absorbent pads, e.g. sanitary towels, swabs or tampons for external or internal application to the body; Supporting or fastening means therefor; Tampon applicators characterised by the absorbing medium having an inhomogeneous composition through the thickness of the pad characterised by a layer facilitating or inhibiting flow in one direction or plane, e.g. a wicking layer
    • A61F2013/53765Absorbent pads, e.g. sanitary towels, swabs or tampons for external or internal application to the body; Supporting or fastening means therefor; Tampon applicators characterised by the absorbing medium having an inhomogeneous composition through the thickness of the pad characterised by a layer facilitating or inhibiting flow in one direction or plane, e.g. a wicking layer characterized by its geometry

Definitions

  • the present invention relates to a men's absorbent article particularly suitable for light incontinence of men, and more specifically, a plurality of pairs of three-dimensional deformations having substantially line-symmetric shapes with respect to the center line in the vertical direction on both sides in the vertical direction of the main body.
  • the present invention relates to a male absorbent article provided with a guide groove.
  • the pad body has a bending guide groove that is concave from the skin-facing surface to the non-skin-facing surface, and the bending guide groove extends obliquely crossing the vertical axis.
  • a male having a first groove and a second groove intersecting with the vertical axis and extending in a direction intersecting with the first groove, wherein the intersection of the first groove and the second groove is located on the vertical axis
  • An absorbent pad is disclosed.
  • Patent Document 2 discloses a male absorbent pad in which a plurality of deformation guide portions are arranged at intervals in the vertical and horizontal directions only in an intermediate region of the pad body.
  • the first groove and the second groove radially located around the intersection M are bent, and the portion located therebetween is formed with the peripheral wall.
  • the cup is deformed so as to exhibit a cup shape having the intersection M as a vertex.
  • the peripheral portion between the deformation guiding portion and the deformation guiding portion is bent, so that it is easily deformed into a curved shape along the wearer's body.
  • the deformation guiding portion is formed in a dot shape, the deformation guiding portion is likely to be deformed into a convex shape having the dot-shaped deformation guiding portion as an apex, and there is a possibility that the same problem as in Patent Document 1 may occur.
  • a main object of the present invention is to provide an absorbent article for men that does not give a wearer a sense of discomfort or discomfort and that is easily fitted to the body.
  • the present invention comprising a main body portion having an absorber, a male absorbent article having a vertical direction and a width direction orthogonal thereto, A plurality of pairs of three-dimensional deformation guiding grooves having a substantially line-symmetric shape with respect to the center line in the up-down direction are provided on both sides in the up-down direction of the main body at intervals in the up-down direction, Each of the three-dimensional deformation guiding grooves is formed in a shape that is gradually inclined outward in the width direction toward the upper side, and an inclination angle that is an angle formed between a direction in which the three-dimensional deformation guiding groove extends and a width direction line is lower.
  • a male absorbent article is provided, wherein one of the three-dimensional deformation guiding grooves and the other of the three-dimensional deformation guiding grooves are spaced apart from each other at the center in the width direction of the male absorbent article.
  • a plurality of pairs of three-dimensional deformation guiding grooves having a substantially line-symmetric shape with respect to the center line in the up-down direction are provided at both sides in the up-down direction of the main body portion.
  • Each of the three-dimensional deformation guiding grooves is formed in a shape that is gradually inclined outward in the width direction toward the upper side in the vertical direction, so that a pair of left and right three-dimensional deformation guiding grooves is formed in a substantially inverted C shape.
  • the inclination angle (the angle between the direction in which the three-dimensional deformation guiding groove extends and the width direction line) is larger in the three-dimensional deformation guiding groove arranged in the lower side than in the three-dimensional deformation guiding groove arranged in the upper side.
  • one of the three-dimensional deformation guiding grooves and the other of the three-dimensional deformation guiding grooves are arranged to be separated from each other at the center in the width direction of the male absorbent article. For this reason, since the three-dimensional deformation guiding groove is not formed at the center in the width direction where the penis contacts when the absorbent article for men is worn, the wearer does not feel uncomfortable or uncomfortable.
  • the penis is pressed against the skin contact surface side of the width direction center portion, so that the width direction center portion is deformed so as to bulge out to the non-skin side from the three-dimensional deformation guiding groove as a starting point.
  • the three-dimensional deformation guiding groove has a larger inclination angle on the lower side in the vertical direction, and the inclination angle is gradually reduced toward the upper side, so that both sides of the three-dimensional space in which the penis at the center in the width direction is accommodated.
  • the lower side is easily bent in a direction close to the vertical direction
  • the upper side is easily bent in a direction close to the width direction.
  • the cross-sectional shape of the three-dimensional space at the center in the width direction is such that the lower side is narrow and the swelling height to the non-skin side is high, and the upper side is wide and the swelling height to the non-skin side is low. . Therefore, the penis easily fits appropriately in the three-dimensional space having such a cross-sectional shape, and the wearer does not feel uncomfortable or uncomfortable.
  • the three-dimensional deformation guiding groove in which the separation distance in the width direction between the widthwise inner end of the three-dimensional deformation guiding groove and the center line in the vertical direction is arranged on the lower side, is arranged on the upper side.
  • the widthwise inner end of the three-dimensional deformation guiding groove serving as a starting point of the three-dimensional deformation at the center in the widthwise direction of the main body portion is located outward in the widthwise direction as going upward.
  • a stepwise step is formed at the center in the width direction when the absorbent article for men is mounted.
  • the formation of a three-dimensional space having a sectional shape is not hindered.
  • a fourth aspect of the present invention in the main body portion, in one or both regions above and below a vertical section in which the plurality of pairs of three-dimensional deformation guiding grooves are formed, substantially in the width direction.
  • the leakage prevention plug extending substantially in the width direction is provided in one or both regions above and below the vertical section in which a plurality of pairs of three-dimensional deformation guiding grooves are formed.
  • the body fluid is prevented from diffusing outside of the leakage prevention blocking groove, and leakage from the vertical edge of the main body is prevented.
  • a non-skin contact surface of the men's absorbent article is provided with a slip-prevention layer for fixing with underwear, 5.
  • An absorbent article for men is provided.
  • the shift preventing layer is provided along the vertical direction at a position where the pair of the three-dimensional deformation guiding grooves and the central portion in the width direction where the pair of three-dimensional deformation guiding grooves are separated in the left and right direction is provided along the vertical direction.
  • a low-weight portion is formed along a vertical direction at a central portion in the width direction in which the pair of the three-dimensional deformation guiding grooves is separated to the left and right. 5.
  • An absorbent article for men according to any one of 5.
  • a low basis weight portion in which the basis weight of the absorber is relatively low is formed along the vertical direction at the center in the width direction where the pair of three-dimensional deformation guiding grooves are separated to the left and right. Therefore, when the absorbent article for men is worn, this region is more likely to be three-dimensionally deformed, and the penis is more easily fitted to the three-dimensionally deformed portion.
  • the male absorbent article is vertically folded at one or a plurality of fold lines spaced apart in the vertical direction in the individual packaging state,
  • the fold line in the individually mounted state is provided at a position that does not intersect with the three-dimensional deformation guiding groove in order to easily cause three-dimensional deformation due to the three-dimensional deformation guiding groove. I have.
  • the wearer does not feel uncomfortable or uncomfortable and can easily fit the body.
  • FIG. 2 is a view taken along line II-II in FIG. 1. It is a perspective view which shows the shape at the time of installation typically.
  • (A) is a view taken along the line IVA-IVA of FIG. 3, and
  • (B) is a view taken along the line IVB-IVB of FIG.
  • FIG. 5 is a view taken along line VV of FIG. 3.
  • FIG. 7B is a view taken along line VIII-VIII in FIG. 6B in a mounted state.
  • FIG. 11 is a view taken along line XI-XI in FIG. 10. It is a top view of the absorbent article for men 1 concerning a modification.
  • the absorbent article for men 1 has a liquid-impervious back sheet 2 made of a polyethylene sheet, a polypropylene sheet, or the like, and a liquid-permeable back sheet 2 that allows body fluids such as urine to permeate quickly.
  • a liquid surface sheet 3 an absorber 4 made of cotton-like pulp or synthetic pulp interposed between the sheets 2 and 3, and the absorber 4 for maintaining the shape of the absorber 4 and improving the diffusivity.
  • a wrapping sheet 5 made of crepe paper or nonwoven fabric covering at least the skin side and the non-skin side.
  • the outer edge of the liquid-impermeable back sheet 2 and the liquid-permeable top sheet 3 is made of an adhesive such as hot melt, heat seal, ultrasonic seal, or the like. And the flap portion F without the absorber 4 is formed on the outer periphery.
  • the male absorbent article 1 has a vertical direction corresponding to the vertical direction of the wearer at the time of wearing, and a width direction orthogonal to the vertical direction.
  • the absorbent article 1 for men has a vertically long shape whose maximum length in the vertical direction is longer than that in the width direction in the plan view shown in FIG. 1.
  • the planar shape of the men's absorbent article 1 is not particularly limited as long as it is a shape that fits the crotch portion.
  • the upper shape has a generally trapezoidal shape with a wide upper side and a narrow lower side.
  • the shape may be an inverted triangle, a circle, an ellipse, a polygon, or the like.
  • the upper outer width of the male absorbent article 1 is preferably 100 to 150 mm, and the lower outer width is preferably 60 to 80 mm.
  • the male absorbent article 1 has a substantially line-symmetrical shape with respect to a vertical center line CL extending in the vertical direction by bisecting the male absorbent article 1 in the width direction.
  • the liquid-impervious back sheet 2 is made of a sheet material having at least water-blocking properties such as an olefin-based resin sheet such as polyethylene or polypropylene.
  • a laminated non-woven fabric obtained by laminating a non-woven fabric on a polyethylene sheet or the like A non-woven fabric sheet (in this case, a liquid-impermeable back sheet is constituted by the waterproof film and the non-woven fabric) can be used after substantially impermeable to liquid has been ensured through a waterproof film.
  • those having moisture permeability tend to be used from the viewpoint of preventing stuffiness.
  • This water-permeable and moisture-permeable sheet material is a microporous sheet obtained by melt-kneading an inorganic filler in an olefin-based resin such as polyethylene or polypropylene to form a sheet, and then stretching it uniaxially or biaxially. It is.
  • a perforated or non-porous nonwoven fabric or a porous plastic sheet is suitably used as the liquid permeable surface sheet 3.
  • the material fibers constituting the nonwoven fabric may be, for example, synthetic fibers such as olefins such as polyethylene or polypropylene, polyesters, polyamides, etc., recycled fibers such as rayon and cupra, and natural fibers such as cotton.
  • a nonwoven fabric obtained by an appropriate processing method such as a lace method, a spun bond method, a thermal bond method, a melt blown method, and a needle punch method can be used.
  • the spunlace method is excellent in flexibility and the spunbond method is excellent in drapability, and the thermal bond method and air-through method are excellent in bulkiness and high compression recovery.
  • the fibers of the nonwoven fabric may be either long fibers or short fibers, but preferably short fibers are used to give the texture of the toweling. Further, in order to facilitate the embossing treatment, it is preferable to use an olefin-based fiber such as polyethylene or polypropylene having a relatively low melting point.
  • composite fibers such as a core-sheath fiber, a side-by-side fiber, and a split fiber, in which a fiber having a high melting point is used as a core and a fiber having a low melting point is used as a sheath, can also be suitably used.
  • the absorber 4 interposed between the liquid-impervious back sheet 2 and the liquid-permeable top sheet 3 is made of, for example, pulp mixed with a highly water-absorbent resin, or pulp mixed with chemical fibers. What mixed a superabsorbent resin is used. As shown in the figure, the absorber 4 is desirably covered with an encapsulating sheet 5 in order to maintain the shape and quickly diffuse the body fluid, and to prevent the body fluid once absorbed from returning. Examples of the pulp include chemical pulp obtained from wood, cellulose fibers such as molten pulp, and those made of artificial cellulose fibers such as rayon and acetate. It is preferably used in terms of price. Further, as the absorber 4, an air-laid absorber whose bulk can be reduced, or a polymer sheet in which a highly water-absorbing resin is disposed between two nonwoven fabric layers may be used.
  • the absorbent body 4 may be mixed with synthetic fibers.
  • the synthetic fibers may be, for example, polyolefins such as polyethylene or polypropylene, polyesters such as polyethylene terephthalate and polybutylene terephthalate, polyamides such as nylon, and copolymers thereof, and the like. It may be a mixture.
  • composite fibers such as a core-sheath type fiber having a high melting point fiber as a core and a low melting point fiber as a sheath, a side-by-side type fiber, and a split type fiber can also be used.
  • a hydrophobic fiber it is desirable to use a surface-treated synthetic fiber having a hydrophilic agent so as to have an affinity for a body fluid.
  • the superabsorbent resin examples include crosslinked polyacrylate, self-crosslinked polyacrylate, saponified acrylate-vinyl acetate copolymer crosslinked product, crosslinked isobutylene / maleic anhydride copolymer, Examples thereof include crosslinked polysulfonates and partially crosslinked water-swellable polymers such as polyethylene oxide and polyacrylamide. Of these, acrylic acid or acrylate-based compounds having excellent water absorption and water absorption speed are preferable. In the production process of the superabsorbent resin having the water absorbing performance, the water absorbing power and the water absorbing speed can be adjusted by adjusting the crosslinking density and the crosslinking density gradient.
  • the wrapping sheet 5 that covers the absorber 4 is provided as in this example, the wrapping sheet 5 is interposed between the liquid-permeable top sheet 3 and the absorber 4 as a result.
  • the wrapping sheet 5 is made of crepe paper, urine is quickly diffused by the wrapping sheet 5 having excellent absorbability, and the urine is prevented from returning.
  • One or both of the absorber 4 and the encapsulating sheet 5 preferably have a color other than white, preferably a relatively dark color with low brightness, such as black or gray. Since the present invention relates to an absorbent article for men, by using a relatively dark color, while giving a calm impression for men, it becomes less noticeable when worn on dark underwear, and traces of urination are less noticeable. Become.
  • the coloring method is not particularly limited, and an appropriate dyeing method or a coloring raw material can be used.
  • coloring may be performed by including activated carbon in one or both of the absorber 4 and the envelope sheet 5. Thereby, the deodorizing effect of activated carbon can be added.
  • a three-dimensional deformation guiding groove 10 that causes the main body 6 to be three-dimensionally deformed so as to conform to the shape of the body when the male absorbent article 1 is mounted.
  • 10... are provided.
  • the three-dimensional deformation guiding grooves 10, 10,... Have a substantially line-symmetric shape with respect to the vertical center line CL of the main body 6, and are provided in a plurality of pairs spaced apart in the vertical direction.
  • the three-dimensional deformation guiding groove 10 is a groove part in which the liquid-permeable surface sheet 3 and the absorber 4 are integrally recessed from the skin contact surface side to the non-skin contact surface side.
  • the groove may be a groove in which only the absorber 4 or the absorber 4 surrounded by the enclosing sheet 5 is depressed.
  • the three-dimensional deformation guiding groove 10 may be concavely concave from the non-skin contact surface side to the skin contact surface side.
  • a method by pressing is used.
  • the liquid permeable surface sheet 3 is provided on the skin contact surface side of the absorber 4 where no groove is formed. Is formed by performing a pressing process from the outer surface side of the liquid-permeable topsheet 3 in a state where the sheets are laminated.
  • the three-dimensional deformation guiding groove 10 is formed by recessing only the absorber 4 in a concave shape
  • the three-dimensional deformation guiding groove 10 is formed at a position where the three-dimensional deformation guiding groove 10 is to be formed by forming a concave groove with a low basis weight of the material of the absorber.
  • the deformation guiding groove 10 can also be formed.
  • the three-dimensional deformation guiding grooves 10 are arranged in left and right pairs in regions on both sides in the width direction that are bisected by the vertical center line CL.
  • the three-dimensional deformation guiding grooves 10, 10 forming the left and right pairs are formed in a left-right symmetric shape having a substantially line-symmetric shape with respect to the vertical center line CL.
  • a plurality of pairs of the left and right three-dimensional deformation guiding grooves 10 are arranged at intervals in the vertical direction. Specifically, in the example shown in FIG. 1, three pairs of 10 a , 10 b , and 10 c are formed in order from the lower side in the up-down direction. It is sufficient that two or more pairs of the three-dimensional deformation guiding grooves 10 are provided, and preferably two to five pairs.
  • Each of the plurality of three-dimensional deformation guiding grooves 10 arranged in the regions on both sides in the width direction is such that, as viewed in a plan view of the men's absorbent article 1 shown in FIG. It is formed with.
  • the three-dimensional deformation guiding grooves 10 and the other three-dimensional deformation guiding grooves 10 are arranged so that the separation distance in the width direction between the one three-dimensional deformation guiding groove 10 and the other gradually increases from the lower side to the upper side.
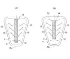
  • the three-dimensional deformation guiding grooves 10 forming a pair have an inverted C shape in plan view from the skin contact surface side in the mounted state shown in FIG.
  • each three-dimensional deformation guiding groove 10 is a straight line in the illustrated example, but may be formed by a curved line, a bent line, a wavy line, or the like that bulges upward or downward.
  • the three-dimensional deformation guiding groove 10 is formed by a continuous line, but may be formed by a dotted line or a discontinuous line composed of a large number of dots arranged at predetermined intervals.
  • an inclination angle ( ⁇ a , ⁇ b in order from the three-dimensional deformation guiding grooves 10 a disposed on the lower side) is an angle formed between the direction in which the three-dimensional deformation guiding grooves 10 and 10 extend and the width direction line.
  • ⁇ c is formed so that the three-dimensional deformation guiding groove 10 arranged on the lower side is larger than the three-dimensional deformation guiding groove 10 arranged on the upper side. That is, the inclination angle has a relation of ⁇ a> ⁇ b> ⁇ c .
  • the three-dimensional deformation introducing groove 10 a arranged on the lower side has an angle relatively close to the vertical direction, while being arranged in a standing state a rather Te
  • solid deformation introducing groove 10 c arranged on the upper side has an angle relatively close to the width direction, they are arranged in a state of sleeping with rather.
  • the inclination angle ⁇ c of the three-dimensional deformation guiding groove 10 c arranged at the uppermost side is preferably less than 45 °, particularly preferably 20 ° to 40 °.
  • the inclination angle ⁇ a of the three-dimensional deformation guiding groove 10 a disposed at the lowermost side is preferably 45 ° or more, particularly preferably 50 ° to 60 °.
  • One pair of the three-dimensional deformation guiding grooves 10 and the other three-dimensional deformation guiding grooves 10 are spaced apart from each other at the center in the width direction of the male absorbent article 1.
  • the three-dimensional deformation guiding grooves 10 are respectively arranged in regions on both sides bisected by the vertical center line CL, and do not extend to the opposite region across the vertical center line CL.
  • a groove-free area where the three-dimensional deformation guiding groove 10 is not provided is formed along the vertical direction at a central portion in the width direction of the main body 6 including the vertical center line CL so as to have a predetermined width.
  • the penis is addressed to the central portion in the width direction where the three-dimensional deformation guiding groove 10 is separated, so that the three-dimensional deformation guiding groove 10, 10.
  • the main body 6 is bent starting from..., And the central part in the width direction swells and deforms toward the non-skin contact surface side, so that the three-dimensional space 11 for accommodating the penis is formed in the central part in the width direction.
  • the deformation at the center in the width direction mainly occurs from the inner edge in the width direction of the three-dimensional deformation guiding grooves 10, 10,... Or a position in the vicinity thereof, and the three-dimensional deformation guiding grooves 10,.
  • the bending direction changes stepwise at each part in the vertical direction. That is, since the lower side is the extending direction steric deformation introducing groove 10 a is the direction closer to the vertical direction, which the body portion 6 is easily bent, upper is close to the width direction extending direction steric deformation introducing groove 10 c Since the direction is the direction, the main body 6 is easily bent in that direction.
  • the cross-sectional shape of the three-dimensional space 11 is, as shown in FIG.
  • the radius of curvature is relatively small toward the non-skin contact surface side, and it is relatively narrow and relatively easy to swell toward the non-skin contact surface side, and as shown in FIG.
  • the radius of curvature gradually becomes an arc having a relatively large radius, and the arc is relatively wide and gradually swells toward the non-skin contact surface side.
  • the planar shape of the three-dimensional space 11 viewed from the skin contact surface side is formed in a fan shape that gradually widens from the lower side to the upper side, and the bulging height to the non-skin side is , Are formed such that the lower side is large and gradually decreases toward the upper side. Since the three-dimensional space 11 having such a shape is formed, the penis of the wearer can be accommodated in the three-dimensional space 11 without a sense of incongruity, and the main body 6 can be appropriately fitted to the crotch of the wearer. Therefore, the wearer does not feel uncomfortable or uncomfortable, and the leakage of bodily fluids can be prevented.
  • the bodily fluid absorbed by the absorber 4 is easily drawn into the three-dimensional deformation guiding groove 10 due to the difference in fiber density, and is quickly diffused over a wide range through the three-dimensional deformation guiding groove 10. Can be prevented and the amount of body fluid absorbed can be increased.
  • the region above the three-dimensional deformation guiding groove 10 c covers the upper side of the three-dimensional space 11 as described above. Since it is arranged so as to cover, it is possible to reliably prevent leakage from above the three-dimensional space 11.
  • the three-dimensional deformation guiding groove 10 is, as shown in FIG. S a in order from, S b, S c), the direction of the three-dimensional deformation introducing groove 10 disposed on the lower side, preferably smaller than the three-dimensional deformation introducing groove 10 disposed on the upper side (S a ⁇ S b ⁇ Sc ). That is, it is formed so that the minimum separation distance between the pair of three-dimensional deformation guiding grooves 10 and 10 gradually increases toward the upper side. For this reason, the three-dimensional space 11 is easily deformed into a fan shape that gradually becomes wider from the lower side to the upper side in a plan view from the skin contact surface side of the male absorbent article 1.
  • the minimum separation distance T in the width direction of the pair of three-dimensional deformation guiding grooves 10 and 10 is 10 mm or more, preferably 10 to 50 mm. With the dimensions in this range, the penis can be accommodated in the three-dimensional space 11 formed at the center in the width direction without a sense of discomfort.
  • the direction in which the plurality of three-dimensional deformation guiding grooves 10 arranged on any one side in the width direction of the plurality of pairs of three-dimensional deformation guiding grooves 10, 10 ... has the above-described inclination angle relationship.
  • the extension line obtained by extending the center line of the three-dimensional deformation guiding groove 10 outward in the width direction intersects at one point (intersection A).
  • both sides of the three-dimensional space 11 in which the center in the width direction is deformed when the absorbent article for men 1 is attached are easily bent along a bending line extending radially from a predetermined point.
  • the three-dimensional space 11 that is deformed in a stepwise manner is more likely to be formed than when the space is extended.
  • the position of the intersection A is arbitrary, but is preferably set at a position outside the main body 6.
  • the three-dimensional deformation guiding grooves 10, 10 which are vertically adjacent to each other are arranged at positions not overlapping in the width direction. That is, as shown in FIG. 1, between the three-dimensional deformation guiding grooves 10, which are vertically adjacent to each other, a band-shaped region M in which no three-dimensional deformation guiding groove is formed is formed over the entire length in the width direction. If the three-dimensional deformation guiding groove is formed at a position overlapping in the width direction, there will be a plurality of bent portions at the same vertical position, and the center in the width direction will be in the vertical direction when the male absorbent article 1 is mounted. On the other hand, there is a possibility that stepwise three-dimensional deformation is hindered.
  • the length L in the width direction of the three-dimensional deformation guiding groove 10 is equal to the width-direction center edge of the three-dimensional deformation guiding groove 10 and the outer edge in the width direction of the three-dimensional deformation guiding groove 10. in the width direction of the point where the width direction line extending from the edge intersects the widthwise end edges of the absorbent body 4 adjacent to the length L x, it is preferably at 1/4 or more (L ⁇ L x / 4 ).
  • the three-dimensional deformation guiding groove 10 is formed with a predetermined width or more in the vertical direction section in which the three-dimensional deformation guiding groove 10 is provided, with respect to the absorber portion in the width direction outside of the three-dimensional deformation guiding groove 10.
  • the absorber is easily bent starting from the three-dimensional deformation guiding groove 10, and the three-dimensional space 11 formed at the center in the width direction is easily formed with a predetermined cross-sectional shape.
  • the three-dimensional deformation guiding groove 10 is preferably formed in an intermediate region of the absorber 4 where the outer end in the width direction does not reach the edge of the absorber 4. Thereby, the body fluid diffused along the groove can be prevented from leaking from the edge of the absorber 4.
  • the main body 6 has one or both of upper and lower sides of a vertical section Y in which the plurality of pairs of three-dimensional deformation guiding grooves 10, 10,... Are formed.
  • Leak-preventing blocking grooves 12 and 13 extending substantially in the width direction can be arranged.
  • the blocking grooves 12 and 13 for leakage prevention are formed so as to continuously straddle both sides of the vertical center line CL, and have a substantially line-symmetric shape with respect to the vertical center line CL. preferable.
  • FIG. 6 shows an example in which a lower leakage prevention blocking groove 12 is provided in an area below the section Y.
  • FIG. 7 shows an upper leakage prevention blocking groove in an area above the section Y. 13 is provided. Note that, in the example shown in the drawing, it is provided only in one of the upper and lower regions, but it may be provided in both the upper and lower regions simultaneously (see FIG. 9B).
  • the body fluid flowing upward or downward through the center in the width direction can be removed without impairing the fit to the penis. And leakage from the vertical edge of the absorber 4 can be effectively prevented.
  • the planar shape of the leakage prevention blocking grooves 12, 13 may be formed in a substantially U-shaped or substantially V-shaped curved or bent convexly upward or downward.
  • FIGS. 6 (A) and 6 (C) when the lower leakage prevention blocking groove 12 is formed in a downwardly convex shape, the fit of the three-dimensional space 11 to the penis is impaired. Without this, the bodily fluid is easily held in the region of the lower leakage prevention blocking groove 12 protruding downward, and the diffusion of the bodily fluid to the lower edge of the absorber 4 is more reliably suppressed. become.
  • FIG. 6 (A) and 6 (C) when the lower leakage prevention blocking groove 12 is formed in a downwardly convex shape, the fit of the three-dimensional space 11 to the penis is impaired. Without this, the bodily fluid is easily held in the region of the lower leakage prevention blocking groove 12 protruding downward, and the diffusion of the bodily fluid to the lower edge of the absorber 4 is more reliably suppressed. become.
  • the upper leakage prevention blocking groove 13 when the planar shape of the upper leakage prevention blocking groove 13 is formed to be upwardly convex, the upper leakage prevention closing groove 13 protruding upward. The body fluid is easily held in the region, and the diffusion of the body fluid to the upper edge of the absorber 4 is more reliably suppressed.
  • FIG. 7 (B) when the upper leakage-preventing blocking groove 13 is formed in a downwardly convex shape, the upper leakage-preventing blocking groove 13 starts from the upper leakage-preventing groove 13. The region above the leakage blocking groove 13 is easily bent toward the skin.
  • the non-skin contact surface of the men's absorbent article 1 be provided with a shift preventing layer 14 for fixing the underwear.
  • a shift preventing layer 14 a known form can be appropriately used, but it is preferable to form the shift preventing layer 14 with an adhesive.
  • the slippage prevention layer 14 is made of an adhesive, the slippage prevention layer 14 is peelably covered with a release sheet (not shown) before the use of the male absorbent article 1.
  • the displacement preventing layer 14 can be arranged in any form, but as shown in FIG. 9, at a portion where the pair of three-dimensional deformation guiding grooves 10 and 10 overlaps in the thickness direction with the widthwise central portion separated to the left and right, It is preferable to provide them along the vertical direction. Accordingly, it is possible to prevent the deformation preventing layer 14 from hindering the deformation of the main body 6 when the male absorbent article 1 is mounted.
  • the displacement preventing layer 14 is located at the center in the width direction which does not overlap the three-dimensional deformation guiding grooves 10, 10,.
  • the sealing grooves 12 and 13 may be formed at positions overlapping the thickness direction.
  • FIG. 2B an area that does not overlap with the leakage prevention blocking grooves 12 and 13 in the thickness direction so as not to hinder the deformation of the main body 6 starting from the leakage prevention blocking grooves 12 and 13. It is preferable to form it.
  • the displacement preventing layer 14 may be formed as a single continuous strip in the vertical direction as shown in the drawing, or may be formed as a plurality of strips separated in the width direction. It may be formed by a discontinuous line in the vertical direction that is separated in the vertical direction at a position overlapping the grooves 12, 13 and the like.
  • the absorber 4 has a structure in which the three-dimensional deformation guiding grooves 10, which form a pair, are arranged vertically in the center in the width direction where the pair of three-dimensional deformation guiding grooves 10 and 10 are separated to the left and right.
  • the low weight part 15 in which the weight of the material (pulp and superabsorbent resin) is relatively low may be formed. Since the low-weight portion 15 has a lower weight than the other absorber portions, the low-weight portion 15 has low rigidity and is easily deformed. Therefore, when the male absorbent article 1 is mounted, the low-weight portion 15 is easily deformed three-dimensionally, and the penis is easily fitted to the three-dimensionally deformed portion.
  • the basis weight of the low basis weight portion 15 is 50% or less, preferably 20% to 50% of the basis weight of the other absorbent portion.
  • a region 16 below the low-mass portion 15 adjusts the basis weight of the constituent material of the absorber 4 to an absorbent portion other than the low-mass portion 15. It is preferable to make it relatively high as compared with. As a result, the amount of bodily fluid that can be absorbed in the lower region 16 is increased, so that the bodily fluid absorbing ability is reduced in the low weight portion 15, and the bodily fluid easily flows to the lower region of the low weight portion 15. The body fluid can be prevented from leaking from the lower region 16.
  • the male absorbent article 1 is configured to be folded in the up-down direction by one or a plurality of fold lines 17 spaced apart in the up-down direction in the individual packaging state.
  • the folding line 17 is preferably provided at a position that does not intersect with the three-dimensional deformation guiding groove 10.
  • the fold line 17 is disposed above or below a longitudinal section between the three-dimensional deformation guiding grooves 10 and 10 adjacent to each other in the vertical direction or a plurality of pairs of the three-dimensional deformation guiding grooves 10. .
  • the fold line 17 when one fold line 17 is provided at the center in the up-down direction, the fold line 17 is formed by the three-dimensional deformation guiding grooves 10 adjacent to each other in the up-down direction. It is preferable to arrange between them.
  • FIG. 12C when a plurality of folding lines 17 are provided at intervals in the vertical direction, in the illustrated example, two folding lines 17 are provided, the folding lines 17 are vertically adjacent to each other. It is preferable to arrange them between the three-dimensional deformation guiding grooves 10, 10 and below the longitudinal section where a plurality of pairs of the three-dimensional deformation guiding grooves 10 are formed.
  • the folding line 17 arranged below the section in the longitudinal direction in which the three-dimensional deformation guiding grooves 10 are formed has a lower leakage prevention blocking groove 12 as shown in the illustrated example. You may arrange
  • SYMBOLS 1 Absorbent article for men, 2 ... Liquid impervious back sheet, 3 ... Liquid permeable top sheet, 4 ... Absorber, 5 ... Envelope sheet, 6 ... Body part, 10 ... Three-dimensional deformation guide groove, 11 ... Three-dimensional space, 12: closing groove for lower leakage prevention, 13: closing groove for upper leakage prevention, 14: shift prevention layer, 15: low weighted portion, 17: folding line

Landscapes

  • Health & Medical Sciences (AREA)
  • Epidemiology (AREA)
  • General Health & Medical Sciences (AREA)
  • Public Health (AREA)
  • Heart & Thoracic Surgery (AREA)
  • Vascular Medicine (AREA)
  • Life Sciences & Earth Sciences (AREA)
  • Animal Behavior & Ethology (AREA)
  • Engineering & Computer Science (AREA)
  • Biomedical Technology (AREA)
  • Veterinary Medicine (AREA)
  • Nursing (AREA)
  • Orthopedic Medicine & Surgery (AREA)
  • Reproductive Health (AREA)
  • Absorbent Articles And Supports Therefor (AREA)
  • Orthopedics, Nursing, And Contraception (AREA)
PCT/JP2019/038238 2018-09-27 2019-09-27 男性用吸収性物品 Ceased WO2020067461A1 (ja)

Priority Applications (4)

Application Number Priority Date Filing Date Title
CN201980048884.9A CN112469377B (zh) 2018-09-27 2019-09-27 男性用吸收性物品
EP19867934.2A EP3858312B1 (en) 2018-09-27 2019-09-27 Absorbent article for men
KR1020207029311A KR102666257B1 (ko) 2018-09-27 2019-09-27 남성용 흡수성 물품
US17/262,903 US20220273502A1 (en) 2018-09-27 2019-09-27 Absorbent article for men

Applications Claiming Priority (2)

Application Number Priority Date Filing Date Title
JP2018-181562 2018-09-27
JP2018181562A JP6994448B2 (ja) 2018-09-27 2018-09-27 男性用吸収性物品

Publications (1)

Publication Number Publication Date
WO2020067461A1 true WO2020067461A1 (ja) 2020-04-02

Family

ID=69953517

Family Applications (1)

Application Number Title Priority Date Filing Date
PCT/JP2019/038238 Ceased WO2020067461A1 (ja) 2018-09-27 2019-09-27 男性用吸収性物品

Country Status (6)

Country Link
US (1) US20220273502A1 (enExample)
EP (1) EP3858312B1 (enExample)
JP (1) JP6994448B2 (enExample)
KR (1) KR102666257B1 (enExample)
CN (1) CN112469377B (enExample)
WO (1) WO2020067461A1 (enExample)

Cited By (1)

* Cited by examiner, † Cited by third party
Publication number Priority date Publication date Assignee Title
US20220273502A1 (en) * 2018-09-27 2022-09-01 Daio Paper Corporation Absorbent article for men

Families Citing this family (3)

* Cited by examiner, † Cited by third party
Publication number Priority date Publication date Assignee Title
WO2021176845A1 (ja) * 2020-03-03 2021-09-10 合同会社Ip技研 尿吸収パッド
JP7519968B2 (ja) * 2021-08-26 2024-07-22 大王製紙株式会社 パンツタイプ使い捨て着用物品
JP7759233B2 (ja) * 2021-10-26 2025-10-23 日本製紙クレシア株式会社 吸収体及び吸収性物品

Citations (5)

* Cited by examiner, † Cited by third party
Publication number Priority date Publication date Assignee Title
JPS61217160A (ja) * 1984-12-24 1986-09-26 キンバリ− クラ−ク コ−ポレ−シヨン 失禁症男性用の吸収性性器収容袋
JP2005532110A (ja) * 2002-07-05 2005-10-27 エスシーエー・ハイジーン・プロダクツ・アーベー 男性用吸収製品
WO2011162657A1 (en) * 2010-06-24 2011-12-29 Sca Hygiene Products Ab Male incontinence protector
JP2015058325A (ja) 2013-09-20 2015-03-30 ユニ・チャーム株式会社 男性用吸収パッド
JP2017006303A (ja) 2015-06-19 2017-01-12 ユニ・チャーム株式会社 吸収パッド

Family Cites Families (10)

* Cited by examiner, † Cited by third party
Publication number Priority date Publication date Assignee Title
JP3815932B2 (ja) * 1999-09-21 2006-08-30 ユニ・チャーム株式会社 使い捨ての男性用尿取り袋
JP5717685B2 (ja) * 2012-04-02 2015-05-13 ユニ・チャーム株式会社 吸収性物品
WO2014084087A1 (ja) * 2012-11-29 2014-06-05 花王株式会社 吸収性パッド
JP5565920B1 (ja) * 2013-09-20 2014-08-06 ユニ・チャーム株式会社 男性用尿取りパッドの包装体
JP5433815B1 (ja) * 2013-09-20 2014-03-05 ユニ・チャーム株式会社 男性用の尿取りパッド
US10478350B2 (en) * 2014-09-30 2019-11-19 Kimberly-Clark Worldwide, Inc. Male incontinence article having an absorbent cup
CN106821600A (zh) * 2017-02-04 2017-06-13 鲁南制药集团股份有限公司 一种卫生护垫及其制备方法
JP6417437B2 (ja) * 2017-03-03 2018-11-07 大王製紙株式会社 男性用吸収性物品
CN108403300B (zh) * 2018-02-11 2021-08-27 泉州天娇妇幼卫生用品有限公司 一种适用于男童的尿不湿
JP6994448B2 (ja) * 2018-09-27 2022-01-14 大王製紙株式会社 男性用吸収性物品

Patent Citations (5)

* Cited by examiner, † Cited by third party
Publication number Priority date Publication date Assignee Title
JPS61217160A (ja) * 1984-12-24 1986-09-26 キンバリ− クラ−ク コ−ポレ−シヨン 失禁症男性用の吸収性性器収容袋
JP2005532110A (ja) * 2002-07-05 2005-10-27 エスシーエー・ハイジーン・プロダクツ・アーベー 男性用吸収製品
WO2011162657A1 (en) * 2010-06-24 2011-12-29 Sca Hygiene Products Ab Male incontinence protector
JP2015058325A (ja) 2013-09-20 2015-03-30 ユニ・チャーム株式会社 男性用吸収パッド
JP2017006303A (ja) 2015-06-19 2017-01-12 ユニ・チャーム株式会社 吸収パッド

Non-Patent Citations (1)

* Cited by examiner, † Cited by third party
Title
See also references of EP3858312A4

Cited By (1)

* Cited by examiner, † Cited by third party
Publication number Priority date Publication date Assignee Title
US20220273502A1 (en) * 2018-09-27 2022-09-01 Daio Paper Corporation Absorbent article for men

Also Published As

Publication number Publication date
EP3858312A1 (en) 2021-08-04
CN112469377A (zh) 2021-03-09
JP6994448B2 (ja) 2022-01-14
CN112469377B (zh) 2022-01-11
US20220273502A1 (en) 2022-09-01
EP3858312B1 (en) 2023-02-15
KR20210062592A (ko) 2021-05-31
EP3858312A4 (en) 2021-11-17
KR102666257B1 (ko) 2024-05-14
JP2020048906A (ja) 2020-04-02

Similar Documents

Publication Publication Date Title
EP3156017B1 (en) Absorbent product
JP5938439B2 (ja) 吸収性物品
JP6138872B2 (ja) 吸収性物品
JP6458102B1 (ja) 吸収性物品
WO2020067461A1 (ja) 男性用吸収性物品
JP6484416B2 (ja) 吸収性物品
KR102592392B1 (ko) 흡수성 물품
JP2015147035A5 (enExample)
JP2017029352A5 (enExample)
JP6232473B1 (ja) 吸収性物品
JP5897762B2 (ja) 吸収性物品
JP2020048906A5 (enExample)
WO2018180602A1 (ja) 吸収性物品
JP5944952B2 (ja) 吸収性物品
JP6479389B2 (ja) 吸収性物品
JP5938438B2 (ja) 吸収性物品
JP7015664B2 (ja) 男性用吸収性物品
JP6417437B2 (ja) 男性用吸収性物品
JP5944951B2 (ja) 吸収性物品
WO2014021307A1 (ja) 吸収性物品
WO2023233780A1 (ja) 吸収性物品
JP2020103406A (ja) 吸収性物品
JP2018149046A (ja) 吸収性物品

Legal Events

Date Code Title Description
121 Ep: the epo has been informed by wipo that ep was designated in this application

Ref document number: 19867934

Country of ref document: EP

Kind code of ref document: A1

NENP Non-entry into the national phase

Ref country code: DE

ENP Entry into the national phase

Ref document number: 2019867934

Country of ref document: EP

Effective date: 20210428