WO2020039877A1 - 電線カバーおよび電線カバー付きコネクタ - Google Patents

電線カバーおよび電線カバー付きコネクタ Download PDF

Info

Publication number
WO2020039877A1
WO2020039877A1 PCT/JP2019/030176 JP2019030176W WO2020039877A1 WO 2020039877 A1 WO2020039877 A1 WO 2020039877A1 JP 2019030176 W JP2019030176 W JP 2019030176W WO 2020039877 A1 WO2020039877 A1 WO 2020039877A1
Authority
WO
WIPO (PCT)
Prior art keywords
electric wire
cover
wire
electric
wires
Prior art date
Legal status (The legal status is an assumption and is not a legal conclusion. Google has not performed a legal analysis and makes no representation as to the accuracy of the status listed.)
Ceased
Application number
PCT/JP2019/030176
Other languages
English (en)
French (fr)
Japanese (ja)
Inventor
洋和 小森
高弘 村田
Current Assignee (The listed assignees may be inaccurate. Google has not performed a legal analysis and makes no representation or warranty as to the accuracy of the list.)
Sumitomo Wiring Systems Ltd
AutoNetworks Technologies Ltd
Sumitomo Electric Industries Ltd
Original Assignee
Sumitomo Wiring Systems Ltd
AutoNetworks Technologies Ltd
Sumitomo Electric Industries Ltd
Priority date (The priority date is an assumption and is not a legal conclusion. Google has not performed a legal analysis and makes no representation as to the accuracy of the date listed.)
Filing date
Publication date
Application filed by Sumitomo Wiring Systems Ltd, AutoNetworks Technologies Ltd, Sumitomo Electric Industries Ltd filed Critical Sumitomo Wiring Systems Ltd
Priority to CN201980051329.1A priority Critical patent/CN112703641B/zh
Priority to US17/268,514 priority patent/US11329422B2/en
Publication of WO2020039877A1 publication Critical patent/WO2020039877A1/ja
Anticipated expiration legal-status Critical
Ceased legal-status Critical Current

Links

Images

Classifications

    • HELECTRICITY
    • H01ELECTRIC ELEMENTS
    • H01RELECTRICALLY-CONDUCTIVE CONNECTIONS; STRUCTURAL ASSOCIATIONS OF A PLURALITY OF MUTUALLY-INSULATED ELECTRICAL CONNECTING ELEMENTS; COUPLING DEVICES; CURRENT COLLECTORS
    • H01R13/00Details of coupling devices of the kinds covered by groups H01R12/70 or H01R24/00 - H01R33/00
    • H01R13/72Means for accommodating flexible lead within the holder
    • HELECTRICITY
    • H01ELECTRIC ELEMENTS
    • H01RELECTRICALLY-CONDUCTIVE CONNECTIONS; STRUCTURAL ASSOCIATIONS OF A PLURALITY OF MUTUALLY-INSULATED ELECTRICAL CONNECTING ELEMENTS; COUPLING DEVICES; CURRENT COLLECTORS
    • H01R13/00Details of coupling devices of the kinds covered by groups H01R12/70 or H01R24/00 - H01R33/00
    • H01R13/56Means for preventing chafing or fracture of flexible leads at outlet from coupling part
    • H01R13/565Torsion-relieving
    • HELECTRICITY
    • H01ELECTRIC ELEMENTS
    • H01RELECTRICALLY-CONDUCTIVE CONNECTIONS; STRUCTURAL ASSOCIATIONS OF A PLURALITY OF MUTUALLY-INSULATED ELECTRICAL CONNECTING ELEMENTS; COUPLING DEVICES; CURRENT COLLECTORS
    • H01R13/00Details of coupling devices of the kinds covered by groups H01R12/70 or H01R24/00 - H01R33/00
    • H01R13/58Means for relieving strain on wire connection, e.g. cord grip, for avoiding loosening of connections between wires and terminals within a coupling device terminating a cable

Definitions

  • an electric wire with a shorter distance inside the cover than the reference electric wire is guided by the guide portion into the extra length accommodation space which is originally a dead space, and the extra length of the electric wire is put into the extra length accommodation space. Can be routed. Thereby, it is possible to prevent the electric wires from getting entangled in the electric wire cover and prevent the workability of assembling the electric wire cover from being reduced.
  • the extra length accommodating space in the wire cover is provided on a side opposite to the wire lead-out position with respect to the guide portion, and the guide portion is inclined in a direction different from the wire lead-out position. It is good also as a structure which has the inclined part which does.
  • the plurality of electric wires are covered with an outer covering that collectively covers the plurality of electric wires, and a water stopping member that stops water between the plurality of electric wires and the outer covering at an end of the outer covering. It may be configured to be pulled out from the wire cover.
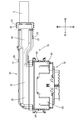
  • the outer housing 60 is formed in a tubular shape penetrating in the front-rear direction, and the inner housing 51 can be fitted into the outer housing 60 from behind.
  • the wire cover 20 has an elongated shape longer in the left-right direction than the housing 50.
  • the electric wire cover 20 is a cover main body 22 having an electric wire introduction portion 21 in which a portion on the left side from a substantially central portion in the left and right direction is opened forward, and an electric wire on the right side of the cover main body 22 extends rightward.
  • the deriving unit 40 is provided.
  • the wire cover 20 is arranged at a position slightly behind the housing 50, and a joint cover 80 attached to a rear portion of the housing 50 and an outer periphery of a front end of the wire cover 20. To be fixed together.
  • the upper joint cover 82 and the lower joint cover 81 can be locked in the front-rear direction with respect to the rear part of the housing 50 and the front end of the wire cover 20.
  • a locking portion 36 is provided which protrudes from the bottom wall 35A of the electric wire routing portion 35 toward the inside of the electric wire routing portion 35.
  • the locking portion 36 has an elongated round pin shape, is located slightly to the left of a substantially central portion in the left-right direction of the wire routing portion 35, and is disposed behind the right-side large-diameter wire routing path 32L. .
  • two large-diameter electric wires WL and three small-diameter electric wires WS introduced from the guide unit 30 are introduced into the electric wire routing unit 35, and the two large-diameter electric wires WL are connected to the guide unit. After being introduced from 30, it is accommodated in the electric wire routing unit 35 in a state where it is bent substantially rightward to the right and extends almost linearly to the electric wire outlet 40.
  • the technology disclosed in the present specification is not limited to the embodiments described above and illustrated in the drawings, and includes, for example, the following various aspects.
  • the plurality of electric wires W are configured by the large-diameter electric wire WL and the small-diameter electric wire WS.
  • the present invention is not limited to this, and the plurality of electric wires may be constituted by only large-diameter electric wires or only small-diameter electric wires, or may be constituted by electric wires having three or more types of wire diameters.

Landscapes

  • Details Of Connecting Devices For Male And Female Coupling (AREA)
  • Connector Housings Or Holding Contact Members (AREA)
PCT/JP2019/030176 2018-08-21 2019-08-01 電線カバーおよび電線カバー付きコネクタ Ceased WO2020039877A1 (ja)

Priority Applications (2)

Application Number Priority Date Filing Date Title
CN201980051329.1A CN112703641B (zh) 2018-08-21 2019-08-01 电线盖及带电线盖连接器
US17/268,514 US11329422B2 (en) 2018-08-21 2019-08-01 Wire cover and connector with wire cover

Applications Claiming Priority (2)

Application Number Priority Date Filing Date Title
JP2018154454A JP6984564B2 (ja) 2018-08-21 2018-08-21 電線カバーおよび電線カバー付きコネクタ
JP2018-154454 2018-08-21

Publications (1)

Publication Number Publication Date
WO2020039877A1 true WO2020039877A1 (ja) 2020-02-27

Family

ID=69593009

Family Applications (1)

Application Number Title Priority Date Filing Date
PCT/JP2019/030176 Ceased WO2020039877A1 (ja) 2018-08-21 2019-08-01 電線カバーおよび電線カバー付きコネクタ

Country Status (4)

Country Link
US (1) US11329422B2 (enExample)
JP (1) JP6984564B2 (enExample)
CN (1) CN112703641B (enExample)
WO (1) WO2020039877A1 (enExample)

Families Citing this family (3)

* Cited by examiner, † Cited by third party
Publication number Priority date Publication date Assignee Title
JP2022124641A (ja) * 2021-02-16 2022-08-26 住友電装株式会社 コネクタ
JP7694272B2 (ja) * 2021-09-07 2025-06-18 株式会社プロテリアル ワイヤハーネス及びケーブルの防水構造
JP7630772B2 (ja) * 2021-11-24 2025-02-18 株式会社オートネットワーク技術研究所 コネクタ

Citations (8)

* Cited by examiner, † Cited by third party
Publication number Priority date Publication date Assignee Title
JPH09261817A (ja) * 1996-03-15 1997-10-03 Molex Inc 通信ケーブル配線トレー
US20010023146A1 (en) * 2000-01-31 2001-09-20 Framatome Connectors International Cable connector
JP2001326020A (ja) * 2000-05-15 2001-11-22 Mitsubishi Electric Corp 電気接続装置
JP2003032866A (ja) * 2001-07-12 2003-01-31 Yazaki Corp フラットワイヤハーネスおよびその余長吸収装置
JP2004319417A (ja) * 2003-04-21 2004-11-11 Molex Inc コンセント装置
JP2013097898A (ja) * 2011-10-28 2013-05-20 Sumitomo Wiring Syst Ltd シール部材
US20150200496A1 (en) * 2014-01-16 2015-07-16 Tyco Electronics Corporation Cable header connector
JP2016076295A (ja) * 2014-10-02 2016-05-12 矢崎総業株式会社 電線係止装置

Family Cites Families (4)

* Cited by examiner, † Cited by third party
Publication number Priority date Publication date Assignee Title
JP2013122900A (ja) * 2011-11-09 2013-06-20 Sumitomo Wiring Syst Ltd コネクタ
JP5778574B2 (ja) 2011-12-27 2015-09-16 矢崎総業株式会社 電線カバー付きコネクタ
JP5667685B1 (ja) * 2013-11-11 2015-02-12 日本航空電子工業株式会社 コネクタ
JP2017010666A (ja) * 2015-06-18 2017-01-12 住友電気工業株式会社 配線部材

Patent Citations (8)

* Cited by examiner, † Cited by third party
Publication number Priority date Publication date Assignee Title
JPH09261817A (ja) * 1996-03-15 1997-10-03 Molex Inc 通信ケーブル配線トレー
US20010023146A1 (en) * 2000-01-31 2001-09-20 Framatome Connectors International Cable connector
JP2001326020A (ja) * 2000-05-15 2001-11-22 Mitsubishi Electric Corp 電気接続装置
JP2003032866A (ja) * 2001-07-12 2003-01-31 Yazaki Corp フラットワイヤハーネスおよびその余長吸収装置
JP2004319417A (ja) * 2003-04-21 2004-11-11 Molex Inc コンセント装置
JP2013097898A (ja) * 2011-10-28 2013-05-20 Sumitomo Wiring Syst Ltd シール部材
US20150200496A1 (en) * 2014-01-16 2015-07-16 Tyco Electronics Corporation Cable header connector
JP2016076295A (ja) * 2014-10-02 2016-05-12 矢崎総業株式会社 電線係止装置

Also Published As

Publication number Publication date
CN112703641A (zh) 2021-04-23
JP2020030907A (ja) 2020-02-27
CN112703641B (zh) 2022-06-28
JP6984564B2 (ja) 2021-12-22
US20210265774A1 (en) 2021-08-26
US11329422B2 (en) 2022-05-10

Similar Documents

Publication Publication Date Title
US6485194B1 (en) Optical connector
US8304653B2 (en) Protector for wire harness and method for fixing protector to wire harness
WO2020039877A1 (ja) 電線カバーおよび電線カバー付きコネクタ
CN109314374B (zh) 保护器以及线束
US20120073852A1 (en) Electric junction box
US20200295553A1 (en) Electric connection box
US20150035396A1 (en) Motor provided with terminal block
CN107054238A (zh) 外部部件、外部部件制造方法及线束
JP6146618B2 (ja) コネクタ
JP6834645B2 (ja) 防水コネクタ
US20210399499A1 (en) Terminal module and connector
JP2020194635A (ja) コネクタ及びワイヤーハーネス
US20180351302A1 (en) Connector housing
JP6319752B2 (ja) ワイヤハーネス
JP6570897B2 (ja) 電線経路規制用カバー
JP7206906B2 (ja) 端子モジュールおよびコネクタ
US10030794B2 (en) Corrugated tube and wire harness
US20100178785A1 (en) Wire connection unit
JP3998550B2 (ja) 電線案内用プロテクタ及びこのプロテクタに用いられる方向規制プロテクタ
WO2022044663A1 (ja) 成形コネクタ
JP4796178B2 (ja) 光モジュールガイド及びクロージャ
JP2017163664A (ja) 電線のプロテクタ保護構造
KR20130040335A (ko) 멀티 플로어 박스
US20240282481A1 (en) Wire harness
JP5394696B2 (ja) コネクタ

Legal Events

Date Code Title Description
121 Ep: the epo has been informed by wipo that ep was designated in this application

Ref document number: 19851502

Country of ref document: EP

Kind code of ref document: A1

DPE1 Request for preliminary examination filed after expiration of 19th month from priority date (pct application filed from 20040101)
NENP Non-entry into the national phase

Ref country code: DE

122 Ep: pct application non-entry in european phase

Ref document number: 19851502

Country of ref document: EP

Kind code of ref document: A1