WO2020031900A1 - 二次電池の劣化判定システム及び劣化判定方法 - Google Patents

二次電池の劣化判定システム及び劣化判定方法 Download PDF

Info

Publication number
WO2020031900A1
WO2020031900A1 PCT/JP2019/030528 JP2019030528W WO2020031900A1 WO 2020031900 A1 WO2020031900 A1 WO 2020031900A1 JP 2019030528 W JP2019030528 W JP 2019030528W WO 2020031900 A1 WO2020031900 A1 WO 2020031900A1
Authority
WO
WIPO (PCT)
Prior art keywords
secondary battery
deterioration
pressure
battery
deterioration determination
Prior art date
Legal status (The legal status is an assumption and is not a legal conclusion. Google has not performed a legal analysis and makes no representation as to the accuracy of the status listed.)
Ceased
Application number
PCT/JP2019/030528
Other languages
English (en)
French (fr)
Japanese (ja)
Inventor
重巳 増田
Current Assignee (The listed assignees may be inaccurate. Google has not performed a legal analysis and makes no representation or warranty as to the accuracy of the list.)
MinebeaMitsumi Inc
Original Assignee
MinebeaMitsumi Inc
Priority date (The priority date is an assumption and is not a legal conclusion. Google has not performed a legal analysis and makes no representation as to the accuracy of the date listed.)
Filing date
Publication date
Application filed by MinebeaMitsumi Inc filed Critical MinebeaMitsumi Inc
Priority to CN201980049070.7A priority Critical patent/CN112514137B/zh
Priority to US17/260,733 priority patent/US11467221B2/en
Priority to EP19847016.3A priority patent/EP3817127B1/en
Publication of WO2020031900A1 publication Critical patent/WO2020031900A1/ja
Anticipated expiration legal-status Critical
Priority to US17/929,850 priority patent/US12092698B2/en
Ceased legal-status Critical Current

Links

Images

Classifications

    • HELECTRICITY
    • H01ELECTRIC ELEMENTS
    • H01MPROCESSES OR MEANS, e.g. BATTERIES, FOR THE DIRECT CONVERSION OF CHEMICAL ENERGY INTO ELECTRICAL ENERGY
    • H01M10/00Secondary cells; Manufacture thereof
    • H01M10/05Accumulators with non-aqueous electrolyte
    • H01M10/052Li-accumulators
    • H01M10/0525Rocking-chair batteries, i.e. batteries with lithium insertion or intercalation in both electrodes; Lithium-ion batteries
    • GPHYSICS
    • G01MEASURING; TESTING
    • G01RMEASURING ELECTRIC VARIABLES; MEASURING MAGNETIC VARIABLES
    • G01R31/00Arrangements for testing electric properties; Arrangements for locating electric faults; Arrangements for electrical testing characterised by what is being tested not provided for elsewhere
    • G01R31/36Arrangements for testing, measuring or monitoring the electrical condition of accumulators or electric batteries, e.g. capacity or state of charge [SoC]
    • G01R31/392Determining battery ageing or deterioration, e.g. state of health
    • GPHYSICS
    • G01MEASURING; TESTING
    • G01LMEASURING FORCE, STRESS, TORQUE, WORK, MECHANICAL POWER, MECHANICAL EFFICIENCY, OR FLUID PRESSURE
    • G01L1/00Measuring force or stress, in general
    • G01L1/20Measuring force or stress, in general by measuring variations in ohmic resistance of solid materials or of electrically-conductive fluids; by making use of electrokinetic cells, i.e. liquid-containing cells wherein an electrical potential is produced or varied upon the application of stress
    • G01L1/205Measuring force or stress, in general by measuring variations in ohmic resistance of solid materials or of electrically-conductive fluids; by making use of electrokinetic cells, i.e. liquid-containing cells wherein an electrical potential is produced or varied upon the application of stress using distributed sensing elements
    • GPHYSICS
    • G01MEASURING; TESTING
    • G01LMEASURING FORCE, STRESS, TORQUE, WORK, MECHANICAL POWER, MECHANICAL EFFICIENCY, OR FLUID PRESSURE
    • G01L1/00Measuring force or stress, in general
    • G01L1/20Measuring force or stress, in general by measuring variations in ohmic resistance of solid materials or of electrically-conductive fluids; by making use of electrokinetic cells, i.e. liquid-containing cells wherein an electrical potential is produced or varied upon the application of stress
    • G01L1/22Measuring force or stress, in general by measuring variations in ohmic resistance of solid materials or of electrically-conductive fluids; by making use of electrokinetic cells, i.e. liquid-containing cells wherein an electrical potential is produced or varied upon the application of stress using resistance strain gauges
    • HELECTRICITY
    • H01ELECTRIC ELEMENTS
    • H01MPROCESSES OR MEANS, e.g. BATTERIES, FOR THE DIRECT CONVERSION OF CHEMICAL ENERGY INTO ELECTRICAL ENERGY
    • H01M10/00Secondary cells; Manufacture thereof
    • H01M10/42Methods or arrangements for servicing or maintenance of secondary cells or secondary half-cells
    • H01M10/425Structural combination with electronic components, e.g. electronic circuits integrated to the outside of the casing
    • HELECTRICITY
    • H01ELECTRIC ELEMENTS
    • H01MPROCESSES OR MEANS, e.g. BATTERIES, FOR THE DIRECT CONVERSION OF CHEMICAL ENERGY INTO ELECTRICAL ENERGY
    • H01M10/00Secondary cells; Manufacture thereof
    • H01M10/42Methods or arrangements for servicing or maintenance of secondary cells or secondary half-cells
    • H01M10/48Accumulators combined with arrangements for measuring, testing or indicating the condition of cells, e.g. the level or density of the electrolyte
    • HELECTRICITY
    • H02GENERATION; CONVERSION OR DISTRIBUTION OF ELECTRIC POWER
    • H02JCIRCUIT ARRANGEMENTS OR SYSTEMS FOR SUPPLYING OR DISTRIBUTING ELECTRIC POWER; SYSTEMS FOR STORING ELECTRIC ENERGY
    • H02J7/00Circuit arrangements for charging or depolarising batteries or for supplying loads from batteries
    • H02J7/0047Circuit arrangements for charging or depolarising batteries or for supplying loads from batteries with monitoring or indicating devices or circuits
    • HELECTRICITY
    • H02GENERATION; CONVERSION OR DISTRIBUTION OF ELECTRIC POWER
    • H02JCIRCUIT ARRANGEMENTS OR SYSTEMS FOR SUPPLYING OR DISTRIBUTING ELECTRIC POWER; SYSTEMS FOR STORING ELECTRIC ENERGY
    • H02J7/00Circuit arrangements for charging or depolarising batteries or for supplying loads from batteries
    • H02J7/0047Circuit arrangements for charging or depolarising batteries or for supplying loads from batteries with monitoring or indicating devices or circuits
    • H02J7/005Detection of state of health [SOH]
    • HELECTRICITY
    • H01ELECTRIC ELEMENTS
    • H01MPROCESSES OR MEANS, e.g. BATTERIES, FOR THE DIRECT CONVERSION OF CHEMICAL ENERGY INTO ELECTRICAL ENERGY
    • H01M10/00Secondary cells; Manufacture thereof
    • H01M10/42Methods or arrangements for servicing or maintenance of secondary cells or secondary half-cells
    • H01M10/44Methods for charging or discharging
    • H01M10/445Methods for charging or discharging in response to gas pressure
    • HELECTRICITY
    • H01ELECTRIC ELEMENTS
    • H01MPROCESSES OR MEANS, e.g. BATTERIES, FOR THE DIRECT CONVERSION OF CHEMICAL ENERGY INTO ELECTRICAL ENERGY
    • H01M50/00Constructional details or processes of manufacture of the non-active parts of electrochemical cells other than fuel cells, e.g. hybrid cells
    • H01M50/10Primary casings; Jackets or wrappings
    • H01M50/102Primary casings; Jackets or wrappings characterised by their shape or physical structure
    • H01M50/103Primary casings; Jackets or wrappings characterised by their shape or physical structure prismatic or rectangular
    • HELECTRICITY
    • H01ELECTRIC ELEMENTS
    • H01MPROCESSES OR MEANS, e.g. BATTERIES, FOR THE DIRECT CONVERSION OF CHEMICAL ENERGY INTO ELECTRICAL ENERGY
    • H01M50/00Constructional details or processes of manufacture of the non-active parts of electrochemical cells other than fuel cells, e.g. hybrid cells
    • H01M50/20Mountings; Secondary casings or frames; Racks, modules or packs; Suspension devices; Shock absorbers; Transport or carrying devices; Holders
    • H01M50/204Racks, modules or packs for multiple batteries or multiple cells
    • H01M50/207Racks, modules or packs for multiple batteries or multiple cells characterised by their shape
    • H01M50/209Racks, modules or packs for multiple batteries or multiple cells characterised by their shape adapted for prismatic or rectangular cells
    • YGENERAL TAGGING OF NEW TECHNOLOGICAL DEVELOPMENTS; GENERAL TAGGING OF CROSS-SECTIONAL TECHNOLOGIES SPANNING OVER SEVERAL SECTIONS OF THE IPC; TECHNICAL SUBJECTS COVERED BY FORMER USPC CROSS-REFERENCE ART COLLECTIONS [XRACs] AND DIGESTS
    • Y02TECHNOLOGIES OR APPLICATIONS FOR MITIGATION OR ADAPTATION AGAINST CLIMATE CHANGE
    • Y02EREDUCTION OF GREENHOUSE GAS [GHG] EMISSIONS, RELATED TO ENERGY GENERATION, TRANSMISSION OR DISTRIBUTION
    • Y02E60/00Enabling technologies; Technologies with a potential or indirect contribution to GHG emissions mitigation
    • Y02E60/10Energy storage using batteries

Definitions

  • the present disclosure relates to a deterioration determination system and a deterioration determination method for a secondary battery.
  • Secondary batteries such as lithium-ion batteries have a high energy density, are compact and lightweight, and are widely used in power storage systems such as electric vehicles and smartphones.
  • Patent Document 1 Lithium-ion batteries deteriorate due to repeated charging and discharging. Therefore, conventionally, there has been proposed a method of detecting the volume expansion at the time of deterioration by measuring the pressure of the main surface of the battery to determine the deterioration of the lithium ion battery.
  • the present disclosure aims to provide a deterioration determination system and a deterioration determination method for a secondary battery that can locally specify a deterioration position of the battery.
  • a deterioration determination system for a secondary battery is mounted on a surface of a secondary battery, and detects at least four pressure detection units that detect pressure on a battery surface at an installation position; A deterioration determination unit that determines the deterioration of the secondary battery based on the measurement value of the pressure detection unit, wherein the deterioration determination unit is configured to perform the deterioration determination by the at least four pressure detection units on the surface of the secondary battery. Estimate the volume expansion position where the volume expansion becomes maximum in the partitioned area.
  • the method for determining deterioration of a secondary battery includes a method of detecting pressure of a battery surface at an attachment position by at least four pressure detection units attached to the surface of the secondary battery.
  • a deterioration determination system and a deterioration determination method for a secondary battery that can locally specify a deterioration position of the battery.
  • FIG. 1 is a block diagram showing a schematic configuration of the deterioration determination system 1 according to the embodiment.
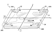
  • FIG. 2 is a schematic diagram illustrating a method for estimating the local deterioration position G of the lithium ion battery 2.
  • the deterioration determination system 1 determines deterioration of a lithium ion battery 2 as an example of a secondary battery. As shown in FIG. 1, the deterioration determination system 1 includes a charging device 3, a control device 4, and strain gauges 5A to 5D (pressure detecting units).
  • the lithium ion battery 2 has, for example, the configuration shown in FIG. 1 and is covered with a thin, substantially rectangular parallelepiped casing 21 having a pair of main surfaces 24.
  • a pair of main surfaces 24 of the housing 21 are arranged so as to face each other along the depth direction of the drawing.
  • the main surface is substantially rectangular, and a positive terminal 22 and a negative terminal 23 are provided on one (upper surface in FIG. 1) of four side surfaces of the housing 21 orthogonal to the main surface 24.
  • One end of each of the positive terminal 22 and the negative terminal 23 protrudes outside from the housing 21 and is connected to the charging device 3.
  • the lithium ion battery 2 may be the single cell shown in FIG. 1 or an assembled battery connecting a plurality of the single cells shown in FIG.
  • the charging device 3 is connected to the positive terminal 22 and the negative terminal 23 of the lithium ion battery 2 and charges the lithium ion battery 2 via the positive terminal 22 and the negative terminal 23.
  • the charging device 3 has, for example, a set value of an allowable charging upper limit (safety factor) according to the degree of deterioration of the battery, and can charge up to the upper limit by checking the remaining amount of the battery. Further, the charging device 3 outputs data such as a time required for full charging to the control device 4.
  • the control device 4 controls charging of the charging device 3. Further, control device 4 estimates a local deterioration position G (see FIG. 2) of lithium ion battery 2 based on information input from strain gauges 5A to 5D.
  • the control device 4 has a charge control unit 41 and a deterioration determination unit 42 as functions related thereto.
  • the charging control unit 41 controls a charging process of the lithium ion battery 2 by the charging device 3.
  • the charging control unit 41 controls a charging time and a voltage value.
  • the charging control unit 41 appropriately adjusts parameters related to charging of the lithium ion battery 2 based on the information on the deterioration position G estimated by the deterioration determination unit 42 so that the battery operates more stably.
  • the data may be output to the device 3.
  • the deterioration determination unit 42 estimates a local deterioration position G of the lithium ion battery 2 based on the measured values S1 to S4 of the strain gauges 5A to 5D.
  • the local deterioration position G is a local portion on the main surface 24 of the lithium ion battery 2 where deterioration has progressed the most.
  • the deterioration determination unit 42 estimates an expansion maximum position G where the volume expansion is maximum in a region defined by the strain gauges 5A to 5D on the main surface 24 of the lithium ion battery 2, and this expansion maximum position G Is output as the local deterioration position G.
  • a specific method of estimating the deteriorated position G will be described later.
  • the control device 4 may be realized by any hardware, software, or a combination thereof.
  • the control device 4 mainly includes a microcomputer mainly including a CPU (Central Processing Unit), a RAM (Random Access Memory), a ROM (Read Only Memory), an auxiliary storage device, an I / O (Input-Output Interface), and the like.
  • the various functions described above are realized by executing various programs stored in a ROM, an auxiliary storage device, or the like on the CPU.
  • the strain gauges 5A to 5D are installed on the surface of the lithium ion battery 2 and output electric signals S1 to S4 according to the strain of the installation portion as shown in FIG.
  • any type such as a metal strain gauge and a semiconductor strain gauge may be used.
  • the strain gauges 5A to 5D are located at four corner regions 24A to 24D (hereinafter also referred to as “corners 24A to 24D”) of the main surface 24 (front surface) of the rectangular parallelepiped lithium ion battery 2. Each is set up.
  • the strain gauge 5A is installed at a corner 24A closer to the negative electrode terminal 23 than the center of the main surface 24 and closer to the negative electrode terminal 23.
  • a strain gauge 5B is installed at a corner 24B closer to the negative electrode terminal 23 than the center of the main surface 24 and farther from the negative electrode terminal 23.
  • a strain gauge 5C is installed at a corner 24C closer to the positive electrode terminal 22 than the center of the main surface 24 and farther from the positive electrode terminal 22.
  • a strain gauge 5D is installed at a corner 24D closer to the positive electrode terminal 22 than the center of the main surface 24 and closer to the positive electrode terminal 22.
  • the strains S1 to S4 detected by the strain gauges 5A to 5D are generated according to the force (load) applied to the installation portion. It is a small mechanical change.
  • the volume of the lithium ion battery 2 expands, a load is applied to the housing 21 of the lithium ion battery 2 from the inside to the outside, and the pressure on the surface of the housing 21 increases.
  • the strains S1 to S4 detected by the strain gauges 5A to 5D also increase. Further, the degree of expansion of the volume differs in each part according to the difference in the degree of deterioration of each part of the battery.
  • each of the strain gauges 5A to 5D arranged at the four corners of the main surface 24 depends on the position on the main surface 24 where the maximum expansion position G at which such volume expansion is maximum (that is, the local deterioration position) is located.
  • the values S1 to S4 differ in appearance.
  • the center position of the main surface 24 is the origin O
  • the extending direction of one side on which the positive electrode terminal 22 and the negative electrode terminal 23 are provided is the x-axis direction
  • the direction orthogonal thereto is the y-axis direction.
  • the maximum expansion position G when the maximum expansion position G is at the origin O, the respective strain gauges 5A to 5D are substantially equidistant from the origin O, so that the gauges 5A to 5D are almost There is a tendency to output the same measured values S1 to S4. After the battery has significantly deteriorated, the maximum expansion position G tends to concentrate substantially at the center of the main surface 24.
  • the maximum expansion position G when the maximum expansion position G is on the x positive side of the origin O, the measured values S1 and S2 of the strain gauges 5A and 5B at the corners 24A and 24B near the maximum expansion position G are different from those of the other strain gauges.
  • the maximum expansion position G is on the x negative side of the origin O, the measured values S3 and S4 of the strain gauges 5C and 5D at the corners 24C and 24D near the maximum expansion position G are different from those of the other strain gauges. It tends to be larger than the measured values S1 and S2 of 5A and 5B. These tendencies are the same in the y-axis direction.
  • the maximum expansion position G of the lithium ion battery 2, that is, the local deterioration position G is estimated by using the properties of the measured values S1 to S4 of the strain gauges 5A to 5D.
  • the deterioration determining unit 42 of the control device 4 calculates the X coordinate of the maximum expansion position G in the x-axis direction and the y-axis from the measured values S1 to S4 using the following equations (1) and (2).
  • the Y coordinate of the direction is calculated.
  • L1 is the length of the main surface 24 in the x-axis direction
  • L2 is the length of the main surface 24 in the y-axis direction.
  • the calculated shift amount in the x-axis direction is calculated as the X coordinate of the maximum expansion position G.
  • Equation (1) is to divide the calculated difference by the sum of the measured values S1 to S4 to normalize the difference to a value close to 0, and then multiply by the length L1 of the side of the main surface 24 in the x-axis direction.
  • the calculated X coordinate is formulated so as to fall within the range between the x-axis positions of the strain gauges 5A and 5B and the x-axis positions of the strain gauges 5C and 5D.
  • equation (2) the sum S1 + S4 of the measured values of the two strain gauges 5A and 5D arranged on the positive side of the y-axis of the two-dimensional coordinate system and the two The difference from the sum S2 + S3 of the measured values of the strain gauges 5B and 5C is calculated, and the amount of displacement in the y-axis direction from the center position O of the main surface 24 is calculated according to the difference.
  • the calculated shift amount in the y-axis direction is calculated as the Y coordinate of the maximum expansion position G.
  • Equation (2) is also similar to equation (1), in which the calculated difference is divided by the sum of the measured values S1 to S4 and normalized to a value close to 0.
  • the calculated Y coordinate is formulated so as to fall within the range between the y-axis positions of the strain gauges 5A and 5D and the y-axis positions of the strain gauges 5B and 5C. I have.
  • the maximum expansion position G calculated from the above equations (1) and (2) is the position where the volume expansion is maximum in the area defined by the strain gauges 5A to 5D. Therefore, it is necessary to provide at least four strain gauges 5A to 5D. However, a configuration may be employed in which more than four strain gauges are provided to improve the estimation accuracy of the deteriorated position G. For example, if four new strain gauges are arranged at the respective intermediate positions (around the midpoints of the four sides of the main surface 24) of the four strain gauges 5A to 5D installed at the four corners, the same degree as when only four are used. Since the number of sensors is doubled in a large section, a more accurate deterioration position estimation can be performed.
  • FIG. 3 is a flowchart illustrating a procedure of a deterioration determination process of the lithium ion battery 2 performed by the deterioration determination system 1 according to the embodiment. The processing of the flowchart in FIG.
  • step S01 pressure detection step
  • strains S1 to S4 at four corners 24A to 24D of main surface 24 of lithium ion battery 2 are measured by strain gauges 5A to 5D.
  • the measured strains S1 to S4 are output to the deterioration determination unit 42.
  • step S02 deterioration determination step
  • the deterioration determination unit 42 sets X, X at the maximum expansion position G on the main surface 24 where the volume expansion is maximum.
  • the Y coordinate is calculated using the above equations (1) and (2).
  • the deterioration determination unit 42 outputs the maximum expansion position G as a local deterioration position G where the deterioration of the battery is most advanced.
  • the charge control unit 41 controls the charging related to improve the safety of the lithium ion battery 2 (for example, information on the deterioration position is stored in BMS (Battery Management). System information).
  • the deterioration determination system 1 of the present embodiment is mounted on the main surface 24 of the lithium ion battery 2 and detects at least four strain gauges 5A to 5D for detecting the pressure on the battery surface at the mounting position, and the strain gauges 5A to 5D.
  • a deterioration determination unit that determines deterioration of the lithium ion battery 2 based on the 5D measurement values S1 to S4.
  • the deterioration determination unit 42 estimates an expansion maximum position G where the volume expansion is maximum in a region defined by the strain gauges 5A to 5D on the surface of the lithium ion battery 2.
  • the expansion maximum position G on the main surface 24 of the lithium ion battery 2 that is, the deteriorated position G where the battery is most deteriorated is locally determined. Can be identified. If the deterioration position G of the lithium ion battery 2 can be specified locally, it can be used as big data used for analyzing the deterioration occurrence mechanism of the lithium ion battery 2, for example. In addition, since information such as the charge suppression control according to the deterioration state of the lithium ion battery 2 can be performed more accurately using the information on the specified deterioration position G, the safety of the lithium ion battery 2 can be improved. This can lead to a longer life of the lithium ion battery 2.
  • the strain is not directly measured at each position on the main surface 24 of the battery to specify the position of the maximum strain, but the four strain gauges 5A to 5D installed at the four corners of the main surface 24 are used. Then, the coordinates of the local deterioration position G are calculated based on the measured values S1 to S4. Thus, if at least four strain gauges 5A to 5D are installed, the deterioration position can be specified, and the number of required sensors can be reduced.
  • the coordinates G (x, y) of the maximum expansion position are calculated using the above equations (1) and (2), so that the measured values of the strain gauges 5A to 5D are obtained. Based on the information of S1 to S4, the local deterioration position G of the lithium ion battery 2 can be estimated with higher accuracy.
  • the local deterioration position G on the battery surface is estimated based on the measured values S1 to S4 of the strain gauges 5A to 5D installed on the surface of the lithium ion battery 2.
  • the cost can be reduced by using the relatively inexpensive strain gauges 5A to 5D.
  • the strain gauges 5A to 5D are installed in the four corner regions 24A to 24D of the substantially rectangular main surface 24 of the lithium ion battery 2, respectively. This makes it possible to maximize the section in which the local deterioration position G can be estimated.
  • the configuration in which the local degradation position G of the battery is estimated based on the measured values S1 to S4 of the strain gauges 5A to 5D installed on the battery surface is exemplified.
  • Any other pressure detecting unit such as a pressure sensor other than the strain gauge may be used as long as it can measure.
  • strain gauges 5A to 5D are provided in the four corner regions of the main surface 24 of the lithium ion battery 2 .
  • at least four strain gauges are sufficient, and each of the strain gauges 5A to 5D May be located other than the four corners of the main surface 24.
  • strain gauges 5A to 5D may be arranged on one surface (side surface, upper surface, etc.) of main surface of lithium ion battery 2 other than main surface 24.
  • the lithium-ion battery 2 is exemplified as the object of the deterioration determination, but the invention can be applied to other secondary batteries such as a nickel-metal hydride battery and a lead battery.
  • Deterioration determination system Lithium ion battery (secondary battery) 3 Charging device 4 Control device 5A-5D Strain gauge (pressure detector) 21 Housing 22 Positive electrode terminal 23 Negative electrode terminal 24 Main surface 24A to 24D Corner 41 Charge control unit 42 Deterioration determination unit Step S01 Pressure detection step Step S02 Deterioration determination step S1 to S4 Measured value G Expansion maximum position L1 Side in x-axis direction Length L2 Length of side in y-axis direction

Landscapes

  • Engineering & Computer Science (AREA)
  • Chemical & Material Sciences (AREA)
  • Manufacturing & Machinery (AREA)
  • Chemical Kinetics & Catalysis (AREA)
  • Electrochemistry (AREA)
  • General Chemical & Material Sciences (AREA)
  • General Physics & Mathematics (AREA)
  • Physics & Mathematics (AREA)
  • Power Engineering (AREA)
  • Medical Informatics (AREA)
  • General Health & Medical Sciences (AREA)
  • Health & Medical Sciences (AREA)
  • Microelectronics & Electronic Packaging (AREA)
  • Materials Engineering (AREA)
  • Secondary Cells (AREA)
  • Charge And Discharge Circuits For Batteries Or The Like (AREA)
  • Testing Resistance To Weather, Investigating Materials By Mechanical Methods (AREA)
  • Tests Of Electric Status Of Batteries (AREA)
PCT/JP2019/030528 2018-08-06 2019-08-02 二次電池の劣化判定システム及び劣化判定方法 Ceased WO2020031900A1 (ja)

Priority Applications (4)

Application Number Priority Date Filing Date Title
CN201980049070.7A CN112514137B (zh) 2018-08-06 2019-08-02 二次电池的劣化判定系统以及劣化判定方法
US17/260,733 US11467221B2 (en) 2018-08-06 2019-08-02 Degradation-determination system and method for determining degradation of secondary battery
EP19847016.3A EP3817127B1 (en) 2018-08-06 2019-08-02 Degradation determination system and degradation determination method for secondary battery
US17/929,850 US12092698B2 (en) 2018-08-06 2022-09-06 Degradation-determination system and method for determining degradation of secondary battery

Applications Claiming Priority (2)

Application Number Priority Date Filing Date Title
JP2018-147714 2018-08-06
JP2018147714A JP6788640B2 (ja) 2018-08-06 2018-08-06 二次電池の劣化判定システム及び劣化判定方法

Related Child Applications (2)

Application Number Title Priority Date Filing Date
US17/260,733 A-371-Of-International US11467221B2 (en) 2018-08-06 2019-08-02 Degradation-determination system and method for determining degradation of secondary battery
US17/929,850 Continuation US12092698B2 (en) 2018-08-06 2022-09-06 Degradation-determination system and method for determining degradation of secondary battery

Publications (1)

Publication Number Publication Date
WO2020031900A1 true WO2020031900A1 (ja) 2020-02-13

Family

ID=69415492

Family Applications (1)

Application Number Title Priority Date Filing Date
PCT/JP2019/030528 Ceased WO2020031900A1 (ja) 2018-08-06 2019-08-02 二次電池の劣化判定システム及び劣化判定方法

Country Status (5)

Country Link
US (2) US11467221B2 (enExample)
EP (1) EP3817127B1 (enExample)
JP (2) JP6788640B2 (enExample)
CN (1) CN112514137B (enExample)
WO (1) WO2020031900A1 (enExample)

Families Citing this family (7)

* Cited by examiner, † Cited by third party
Publication number Priority date Publication date Assignee Title
JP6788640B2 (ja) * 2018-08-06 2020-11-25 ミネベアミツミ株式会社 二次電池の劣化判定システム及び劣化判定方法
KR102721572B1 (ko) * 2020-03-12 2024-10-23 주식회사 엘지에너지솔루션 배터리 셀의 스웰링 검사 장치
KR20210150215A (ko) * 2020-06-03 2021-12-10 주식회사 엘지에너지솔루션 배터리 스웰링 검사 장치 및 방법
KR102825695B1 (ko) 2020-06-23 2025-06-27 주식회사 엘지에너지솔루션 금속 호일 피로 시험 시스템 및 금속 호일 피로 시험 방법
US12066495B2 (en) * 2020-07-31 2024-08-20 Lg Energy Solution, Ltd. Battery cell jig including film-type pressure sensor, and method for measuring swelling of battery cell
KR20230055871A (ko) * 2021-10-19 2023-04-26 주식회사 엘지에너지솔루션 열 폭주 감지용 압력 센서를 구비한 배터리 모듈
CN118176613A (zh) * 2022-10-11 2024-06-11 宁德时代新能源科技股份有限公司 电池析锂的检测方法及相关装置

Citations (5)

* Cited by examiner, † Cited by third party
Publication number Priority date Publication date Assignee Title
WO2010122824A1 (ja) * 2009-04-22 2010-10-28 三菱電機株式会社 位置入力装置
JP2013020826A (ja) * 2011-07-12 2013-01-31 Toyota Motor Corp 組電池の状態検出装置
JP2016134259A (ja) * 2015-01-19 2016-07-25 住友重機械工業株式会社 ハイブリッド型ショベル
JP2018081854A (ja) 2016-11-17 2018-05-24 トヨタ自動車株式会社 リチウムイオン二次電池の制御システム
JP2018147714A (ja) 2017-03-06 2018-09-20 日本特殊陶業株式会社 電気化学反応単セルおよび電気化学反応セルスタック

Family Cites Families (12)

* Cited by examiner, † Cited by third party
Publication number Priority date Publication date Assignee Title
KR100579377B1 (ko) 2004-10-28 2006-05-12 삼성에스디아이 주식회사 이차 전지
JP5444762B2 (ja) * 2008-07-02 2014-03-19 トヨタ自動車株式会社 圧力測定装置及び厚み測定装置
US9054397B2 (en) * 2009-08-11 2015-06-09 Amphenol Thermometrics, Inc. Battery cell with integrated sensing platform
JP5843222B2 (ja) * 2011-11-11 2016-01-13 トヨタ自動車株式会社 電池システム
DE102012207999A1 (de) * 2012-05-14 2013-11-14 Robert Bosch Gmbh Hüllfolie für ein galvanisches Element, elektrochemischer Speicher, elektrochemisches Speichersystem, flexible Folie für eine Hülle eines galvanischen Elements und Verfahren zum Bestimmen einer Zustandsgröße eines elektrochemischen Speichers
JP2014017141A (ja) * 2012-07-10 2014-01-30 Canon Inc 電子機器
US11079212B2 (en) * 2014-10-24 2021-08-03 Qnovo Inc. Circuitry and techniques for determining swelling of a battery/cell and adaptive charging circuitry and techniques based thereon
KR101643723B1 (ko) * 2015-01-13 2016-07-28 주식회사 불스원 쿠션시트의 최대압력 산출방법
JP6788666B2 (ja) * 2015-08-25 2020-11-25 オキシス エナジー リミテッド 電池センサ
US20170098872A1 (en) 2015-09-16 2017-04-06 Oxfordian, Llc Wireless health monitoring of battery cells
CN106595914B (zh) * 2016-11-18 2024-01-02 常州普莱德新能源电池科技有限公司 一种利用应变片确定电芯膨胀程度的方法和装置
JP6788640B2 (ja) * 2018-08-06 2020-11-25 ミネベアミツミ株式会社 二次電池の劣化判定システム及び劣化判定方法

Patent Citations (5)

* Cited by examiner, † Cited by third party
Publication number Priority date Publication date Assignee Title
WO2010122824A1 (ja) * 2009-04-22 2010-10-28 三菱電機株式会社 位置入力装置
JP2013020826A (ja) * 2011-07-12 2013-01-31 Toyota Motor Corp 組電池の状態検出装置
JP2016134259A (ja) * 2015-01-19 2016-07-25 住友重機械工業株式会社 ハイブリッド型ショベル
JP2018081854A (ja) 2016-11-17 2018-05-24 トヨタ自動車株式会社 リチウムイオン二次電池の制御システム
JP2018147714A (ja) 2017-03-06 2018-09-20 日本特殊陶業株式会社 電気化学反応単セルおよび電気化学反応セルスタック

Non-Patent Citations (1)

* Cited by examiner, † Cited by third party
Title
See also references of EP3817127A4

Also Published As

Publication number Publication date
JP6788640B2 (ja) 2020-11-25
EP3817127A1 (en) 2021-05-05
US20210270908A1 (en) 2021-09-02
JP2020024809A (ja) 2020-02-13
JP7094345B2 (ja) 2022-07-01
JP2021015804A (ja) 2021-02-12
US12092698B2 (en) 2024-09-17
US20220413060A1 (en) 2022-12-29
CN112514137B (zh) 2024-07-30
EP3817127B1 (en) 2025-04-23
EP3817127A4 (en) 2021-07-21
US11467221B2 (en) 2022-10-11
CN112514137A (zh) 2021-03-16

Similar Documents

Publication Publication Date Title
JP7094345B2 (ja) 二次電池の劣化判定システム及び劣化判定方法
CN112534626B (zh) 二次电池的劣化判定系统以及劣化判定方法
JP6634854B2 (ja) 蓄電素子管理装置、蓄電素子管理方法、蓄電素子モジュール、蓄電素子管理プログラム及び移動体
EP2811310B1 (en) State of charge detection device
US20150134282A1 (en) Battery residual capacitance calculation device and battery residual capacitance calculation method
JP5733146B2 (ja) 二次電池の測定方法および測定システム
US20180246172A1 (en) Power storage system, control system of secondary battery, and control method of secondary battery
CN114762172B (zh) 用于检查电池单元膨胀的设备
EP3647803A1 (en) Apparatus and method for calculating soh of battery pack
CN114295993A (zh) 电池soc确定方法、装置、车辆及存储介质
KR20230088014A (ko) 이상 배터리 셀 검출 방법 및 시스템
JP6807014B2 (ja) 推定装置、推定方法
US10830823B2 (en) Estimation device and estimation method
JP7497163B2 (ja) 異常検出装置および異常検出方法
US20250368052A1 (en) Solar charging system
US20250158254A1 (en) Battery monitoring systems with direct electrical connection for capacitance measurement in battery cells
CN117895120B (zh) 电池异常的检测方法、装置及存储介质
US20240248144A1 (en) Estimating a battery state of charge under non-uniform temperature conditions
KR102753796B1 (ko) 조전지의 검사 방법
KR20240117034A (ko) 전지 시스템
CN116888806A (zh) 电芯组件、电池单体、电池及用电装置
CN117397089A (zh) 包括冲击感测模块的电池组
CN118124389A (zh) 电池的安全检测方法、设备、存储介质、储能系统和车辆

Legal Events

Date Code Title Description
121 Ep: the epo has been informed by wipo that ep was designated in this application

Ref document number: 19847016

Country of ref document: EP

Kind code of ref document: A1

DPE1 Request for preliminary examination filed after expiration of 19th month from priority date (pct application filed from 20040101)
NENP Non-entry into the national phase

Ref country code: DE

WWG Wipo information: grant in national office

Ref document number: 2019847016

Country of ref document: EP