WO2019077871A1 - 半導体モジュール - Google Patents

半導体モジュール Download PDF

Info

Publication number
WO2019077871A1
WO2019077871A1 PCT/JP2018/031114 JP2018031114W WO2019077871A1 WO 2019077871 A1 WO2019077871 A1 WO 2019077871A1 JP 2018031114 W JP2018031114 W JP 2018031114W WO 2019077871 A1 WO2019077871 A1 WO 2019077871A1
Authority
WO
WIPO (PCT)
Prior art keywords
island
terminal
switching element
terminals
switching elements
Prior art date
Legal status (The legal status is an assumption and is not a legal conclusion. Google has not performed a legal analysis and makes no representation as to the accuracy of the status listed.)
Ceased
Application number
PCT/JP2018/031114
Other languages
English (en)
French (fr)
Japanese (ja)
Inventor
聖 吉水
祐介 増元
福井 英夫
雅由 西畑
Current Assignee (The listed assignees may be inaccurate. Google has not performed a legal analysis and makes no representation or warranty as to the accuracy of the list.)
Denso Corp
Original Assignee
Denso Corp
Priority date (The priority date is an assumption and is not a legal conclusion. Google has not performed a legal analysis and makes no representation as to the accuracy of the date listed.)
Filing date
Publication date
Application filed by Denso Corp filed Critical Denso Corp
Publication of WO2019077871A1 publication Critical patent/WO2019077871A1/ja
Anticipated expiration legal-status Critical
Ceased legal-status Critical Current

Links

Images

Classifications

    • HELECTRICITY
    • H01ELECTRIC ELEMENTS
    • H01LSEMICONDUCTOR DEVICES NOT COVERED BY CLASS H10
    • H01L25/00Assemblies consisting of a plurality of semiconductor or other solid state devices
    • H01L25/03Assemblies consisting of a plurality of semiconductor or other solid state devices all the devices being of a type provided for in a single subclass of subclasses H10B, H10D, H10F, H10H, H10K or H10N, e.g. assemblies of rectifier diodes
    • H01L25/04Assemblies consisting of a plurality of semiconductor or other solid state devices all the devices being of a type provided for in a single subclass of subclasses H10B, H10D, H10F, H10H, H10K or H10N, e.g. assemblies of rectifier diodes the devices not having separate containers
    • H01L25/07Assemblies consisting of a plurality of semiconductor or other solid state devices all the devices being of a type provided for in a single subclass of subclasses H10B, H10D, H10F, H10H, H10K or H10N, e.g. assemblies of rectifier diodes the devices not having separate containers the devices being of a type provided for in group subclass H10D
    • HELECTRICITY
    • H01ELECTRIC ELEMENTS
    • H01LSEMICONDUCTOR DEVICES NOT COVERED BY CLASS H10
    • H01L25/00Assemblies consisting of a plurality of semiconductor or other solid state devices
    • H01L25/18Assemblies consisting of a plurality of semiconductor or other solid state devices the devices being of the types provided for in two or more different main groups of the same subclass of H10B, H10D, H10F, H10H, H10K or H10N
    • HELECTRICITY
    • H02GENERATION; CONVERSION OR DISTRIBUTION OF ELECTRIC POWER
    • H02MAPPARATUS FOR CONVERSION BETWEEN AC AND AC, BETWEEN AC AND DC, OR BETWEEN DC AND DC, AND FOR USE WITH MAINS OR SIMILAR POWER SUPPLY SYSTEMS; CONVERSION OF DC OR AC INPUT POWER INTO SURGE OUTPUT POWER; CONTROL OR REGULATION THEREOF
    • H02M7/00Conversion of AC power input into DC power output; Conversion of DC power input into AC power output
    • H02M7/42Conversion of DC power input into AC power output without possibility of reversal
    • H02M7/44Conversion of DC power input into AC power output without possibility of reversal by static converters
    • H02M7/48Conversion of DC power input into AC power output without possibility of reversal by static converters using discharge tubes with control electrode or semiconductor devices with control electrode
    • HELECTRICITY
    • H01ELECTRIC ELEMENTS
    • H01LSEMICONDUCTOR DEVICES NOT COVERED BY CLASS H10
    • H01L2224/00Indexing scheme for arrangements for connecting or disconnecting semiconductor or solid-state bodies and methods related thereto as covered by H01L24/00
    • H01L2224/01Means for bonding being attached to, or being formed on, the surface to be connected, e.g. chip-to-package, die-attach, "first-level" interconnects; Manufacturing methods related thereto
    • H01L2224/02Bonding areas; Manufacturing methods related thereto
    • H01L2224/04Structure, shape, material or disposition of the bonding areas prior to the connecting process
    • H01L2224/06Structure, shape, material or disposition of the bonding areas prior to the connecting process of a plurality of bonding areas
    • H01L2224/0601Structure
    • H01L2224/0603Bonding areas having different sizes, e.g. different heights or widths
    • HELECTRICITY
    • H01ELECTRIC ELEMENTS
    • H01LSEMICONDUCTOR DEVICES NOT COVERED BY CLASS H10
    • H01L2224/00Indexing scheme for arrangements for connecting or disconnecting semiconductor or solid-state bodies and methods related thereto as covered by H01L24/00
    • H01L2224/01Means for bonding being attached to, or being formed on, the surface to be connected, e.g. chip-to-package, die-attach, "first-level" interconnects; Manufacturing methods related thereto
    • H01L2224/34Strap connectors, e.g. copper straps for grounding power devices; Manufacturing methods related thereto
    • H01L2224/39Structure, shape, material or disposition of the strap connectors after the connecting process
    • H01L2224/40Structure, shape, material or disposition of the strap connectors after the connecting process of an individual strap connector
    • H01L2224/401Disposition
    • H01L2224/40151Connecting between a semiconductor or solid-state body and an item not being a semiconductor or solid-state body, e.g. chip-to-substrate, chip-to-passive
    • H01L2224/40221Connecting between a semiconductor or solid-state body and an item not being a semiconductor or solid-state body, e.g. chip-to-substrate, chip-to-passive the body and the item being stacked
    • H01L2224/40245Connecting between a semiconductor or solid-state body and an item not being a semiconductor or solid-state body, e.g. chip-to-substrate, chip-to-passive the body and the item being stacked the item being metallic
    • HELECTRICITY
    • H01ELECTRIC ELEMENTS
    • H01LSEMICONDUCTOR DEVICES NOT COVERED BY CLASS H10
    • H01L2224/00Indexing scheme for arrangements for connecting or disconnecting semiconductor or solid-state bodies and methods related thereto as covered by H01L24/00
    • H01L2224/01Means for bonding being attached to, or being formed on, the surface to be connected, e.g. chip-to-package, die-attach, "first-level" interconnects; Manufacturing methods related thereto
    • H01L2224/42Wire connectors; Manufacturing methods related thereto
    • H01L2224/47Structure, shape, material or disposition of the wire connectors after the connecting process
    • H01L2224/48Structure, shape, material or disposition of the wire connectors after the connecting process of an individual wire connector
    • H01L2224/481Disposition
    • H01L2224/48151Connecting between a semiconductor or solid-state body and an item not being a semiconductor or solid-state body, e.g. chip-to-substrate, chip-to-passive
    • H01L2224/48221Connecting between a semiconductor or solid-state body and an item not being a semiconductor or solid-state body, e.g. chip-to-substrate, chip-to-passive the body and the item being stacked
    • H01L2224/48245Connecting between a semiconductor or solid-state body and an item not being a semiconductor or solid-state body, e.g. chip-to-substrate, chip-to-passive the body and the item being stacked the item being metallic
    • H01L2224/48247Connecting between a semiconductor or solid-state body and an item not being a semiconductor or solid-state body, e.g. chip-to-substrate, chip-to-passive the body and the item being stacked the item being metallic connecting the wire to a bond pad of the item
    • HELECTRICITY
    • H01ELECTRIC ELEMENTS
    • H01LSEMICONDUCTOR DEVICES NOT COVERED BY CLASS H10
    • H01L2924/00Indexing scheme for arrangements or methods for connecting or disconnecting semiconductor or solid-state bodies as covered by H01L24/00
    • H01L2924/15Details of package parts other than the semiconductor or other solid state devices to be connected
    • H01L2924/181Encapsulation
    • HELECTRICITY
    • H01ELECTRIC ELEMENTS
    • H01LSEMICONDUCTOR DEVICES NOT COVERED BY CLASS H10
    • H01L2924/00Indexing scheme for arrangements or methods for connecting or disconnecting semiconductor or solid-state bodies as covered by H01L24/00
    • H01L2924/15Details of package parts other than the semiconductor or other solid state devices to be connected
    • H01L2924/181Encapsulation
    • H01L2924/183Connection portion, e.g. seal
    • H01L2924/18301Connection portion, e.g. seal being an anchoring portion, i.e. mechanical interlocking between the encapsulation resin and another package part

Definitions

  • the present disclosure relates to a semiconductor module.
  • Patent Document 1 includes switching elements (semiconductor elements) constituting upper and lower arms for two phases, and a drive unit (control circuit) for driving the switching elements, and the switching element and the drive unit are sealed by a sealing resin body.
  • Semiconductor module semiconductor device
  • the semiconductor module In the semiconductor module, four switching elements constituting upper and lower arms for two phases are arranged in a line.
  • the drive unit is disposed to face the two middle switching elements in the direction orthogonal to the alignment direction. All the switching elements are arranged on one side of the drive unit with respect to the flat rectangular drive unit. For this reason, the switching elements at both ends are separated from the drive unit. For this reason, the switching elements at both ends are connected to the drive unit via the wiring board.
  • the pads of the switching element and the wiring substrate are connected by bonding wires
  • the pads of the driving unit and the wiring substrate are connected by bonding wires, whereby the switching element and the driving unit are connected.
  • the wiring substrate is required, the number of parts is increased. In addition, the size of the semiconductor module is increased.
  • the bonding wire length increases, which may cause defects such as disconnection during molding or contact with other parts. is there.
  • An object of the present disclosure is to provide a semiconductor module capable of suppressing defects in bonding wires while suppressing an increase in the number of parts.
  • the semiconductor module has the first pads, has the plurality of switching elements which are disposed in the same thickness direction, and constitutes upper and lower arms for two phases, and the plurality of second pads.
  • the plurality of switching elements are disposed around the drive unit.
  • the switching elements forming the upper and lower arms for two phases are disposed around the drive unit.
  • the length of the bonding wire which connects the 1st pad of each switching element and the 2nd pad of a drive part can be shortened. Since the relay wiring board is not necessary, it is possible to suppress the increase in the number of parts.
  • the sealing resin body when molding the sealing resin body, it is possible to suppress the occurrence of defects such as disconnection in the bonding wire.
  • the bonding wire since the bonding wire has a short length, contact with other portions can be suppressed. That is, defects in the bonding wire can be suppressed.
  • FIG. 2 is a cross-sectional view showing a controller-integrated electric rotating machine according to a first embodiment; It is an expanded sectional view showing a control device part, Is an equivalent circuit diagram,
  • FIG. 10 is a plan view showing the arrangement of semiconductor modules and bus bars; It is a plan view showing a connection structure of a main terminal and a bus bar, It is a perspective view showing a semiconductor module, It is a front view showing a semiconductor module, It is a rear view showing a semiconductor module, It is a top view which shows a semiconductor module, It is a bottom view showing a semiconductor module, FIG.
  • FIG. 8 is a side view seen from the X1 direction shown in FIG. 7; 8 is a cross-sectional view taken along the line XII-XII in FIG. 7; FIG. 8 is a cross-sectional view taken along the line XIII-XIII of FIG. 7; It is the perspective view which abbreviate
  • omitted the sealing resin body It is an exploded perspective view, It is the front view which omitted the sealing resin body, It is the rear view which omitted the sealing resin body, It is the top view which omitted the sealing resin body, It is the bottom view which omitted the sealing resin body, 17 is a side view seen from the X1 direction shown in FIG.
  • FIG. 16 It is a plan view showing a lead frame before tie bar cut, It is a schematic diagram which shows arrangement
  • FIG. 5 is a diagram showing the extending direction of the shunt resistor and the tie bar, It is a figure which shows the effect by parallel arrangement, It is a top view which shows a modification, It is a figure showing a modification, FIG. 7 is a cross-sectional view showing a controller-integrated electric rotating machine of a second embodiment; Is an equivalent circuit diagram, It is a plan view seen from the controller side, In the state which removed the cover, it is the top view seen from the control apparatus part side, Fig.
  • FIG. 6 is an exploded view of the power assembly; It is a perspective view showing a semiconductor module, It is a front view showing a semiconductor module, It is a rear view showing a semiconductor module, It is a top view which shows a semiconductor module, It is a bottom view showing a semiconductor module, 40 is a side view seen from the X1 direction shown in FIG. 40; 40 is a cross-sectional view along the line XLV-XLV in FIG.
  • FIG. 51 is a side view seen from the X1 direction shown in FIG. 48, It is a plan view showing a lead frame before tie bar cut, It is a figure showing a drive part, FIG. 7 is a diagram showing a connection structure between a plurality of semiconductor modules, It is a figure which shows the signal which notifies a failure, FIG.
  • FIG. 17 is a diagram showing control when a short failure occurs, In the reference example, it is a timing chart when a short failure occurs, It is a timing chart when a short failure occurs, It is a figure showing control when temperature abnormality arises,
  • FIG. 10 is a diagram showing control when an open failure occurs, It is a figure which shows the 1st modification of a drive part, It is a figure showing the circuit composition of a drive part, It is a timing chart at startup,
  • FIG. 7 is a diagram showing a through current across phases at the time of digital circuit failure;
  • FIG. 10 is a diagram showing a reference example of a circuit that protects a switching element from a through current,
  • FIG. 73 is a diagram showing a problem when a digital circuit fails in the reference example shown in FIG. 66, It is a figure which shows the 2nd modification of a drive part.
  • FIG. 5 shows a connection structure between the positive electrode terminal and the negative electrode terminal of the main terminals and the bus bar.
  • the signal terminal and the dummy terminal are abbreviate
  • the controller integrated electric rotating machine 1 includes a rotating electric machine unit 10 and a control unit 20 for controlling the rotating electric machine unit 10, and the control unit 20 controls rotation. It is integrated with the electric unit 10.
  • a direction along the rotation axis is referred to as an axial direction.
  • the direction from the control device unit 20 side to the rotating electrical machine unit 10 side is referred to as the front, and the direction from the rotating electrical machine unit 10 side to the control device unit 20 is as the rear.
  • the direction orthogonal to the axial direction is referred to as the radial direction.
  • the rotating electrical machine unit 10 is mounted on a vehicle and generates power for driving the vehicle by being supplied with electric power from a battery.
  • the rotating electrical machine unit 10 functions as, for example, a motor (starter motor) for starting an engine.
  • the rotating electrical machine unit 10 functions as a generator (alternator) that generates electric power for charging the battery by being supplied with driving force from the engine.
  • the rotating electrical machine unit 10 is also referred to as an ISG (Integrated Starter Generator).
  • the rotating electrical machine unit 10 includes a housing 11, a stator 12, a rotor 13, a pulley 14, a slip ring 15, a brush 16, and a magnet 17 for detecting a rotation angle. Is equipped.
  • the housing 11 accommodates the stator 12 and the rotor 13.
  • the housing 11 rotatably supports the rotor 13.
  • a control device unit 20 is fixed to the rear side in the axial direction of the housing 11.
  • the housing 11 has a front housing 110 disposed on the front side in the axial direction and a rear housing 111 disposed on the rear side in the axial direction.
  • the stator 12 forms a part of a magnetic path and generates a rotating magnetic field by being supplied with electric power, specifically, alternating current. Further, by interlinking with the magnetic flux generated by the rotor 13, an alternating current is generated.
  • the stator 12 has a stator core 120 and a stator winding 121.
  • the stator core 120 has a substantially annular shape.
  • the stator core 120 is provided with a plurality of slots (not shown).
  • the stator winding 121 is accommodated in the slot of the stator core 120 and held by the stator core 120.
  • the stator winding 121 is wound around the stator core 120.
  • a Y-connected three-phase winding is used as the stator winding 121.
  • the stator winding 121 includes a stator winding 121a consisting of U-phase, V-phase, and W-phase three-phase windings, and X-phase, Y-phase, and Z-phase three-phase windings.
  • a stator winding 121b The stator windings 121a and 121b are arranged offset from each other by a predetermined electrical angle (for example, 30 °).
  • the rotor 13 constitutes a part of a magnetic path and forms a magnetic pole by being supplied with electric power, specifically, direct current.
  • the rotor 13 generates a rotational force by interlinking with the magnetic flux generated by the stator winding 121. Further, the rotor 13 is rotated by the driving force supplied from the engine, and the generated magnetic flux is interlinked with the stator winding 121, whereby the stator winding 121 generates an alternating current.
  • the rotor 13 has a rotor core 130, a rotor winding 131, a fan 132, and a rotating shaft 133.
  • the rotor core 130 has an annular hollow portion 130 a that accommodates the rotor winding 131.
  • the rotor core 130 has a through hole 130 b to which the rotating shaft 133 is fixed in a state of being inserted.
  • the rotor 13 is disposed such that the outer peripheral surface of the rotor core 130 faces the inner peripheral surface of the stator core 120 at a predetermined distance.
  • the rotor winding 131 generates a magnetic flux by being supplied with direct current, and forms a magnetic pole on the outer peripheral surface of the rotor core 130.
  • the rotor winding 131 is accommodated in the hollow portion 130 a of the rotor core 130 and held by the rotor core 130.
  • the rotor winding 131 is also referred to as a field winding.
  • the fan 132 is provided integrally with the rotor core 130.
  • the fan 132 rotates with the rotor core 130 and distributes the air outside the rotating electrical machine 1 to the inside of the rotating electrical machine unit 10 and the inside of the control device unit 20 through a through hole formed in the housing 11.
  • the fans 132 are respectively provided on both end surfaces of the rotor core 130 in the axial direction which is the extending direction of the rotating shaft 133.
  • the rotating shaft 133 is fixed to the rotor core 130 and rotatably supported by the housing 11.
  • the rotating shaft 133 rotates with the rotor core 130.
  • the rotation shaft 133 has a substantially cylindrical shape, and the axial center portion is fixed to the rotor core 130 in a state of being inserted into the through hole 130 b.
  • the rotation shaft 133 is also referred to as a shaft.
  • a portion of the rotation shaft 133 protrudes forward of the front housing 110 through a through hole provided in the bottom wall of the front housing 110.
  • the rotation shaft 133 is rotatably supported by the front housing 110.
  • a part of the rotation shaft 133 protrudes to the rear of the rear housing 111 through a through hole provided in the bottom wall of the rear housing 111.
  • the rotating shaft 133 is rotatably supported by the rear housing 111.
  • the pulley 14 is connected to a portion of the rotation shaft 133 that protrudes forward from the front housing 110.
  • the pulley 14 rotates with the rotation shaft 133.
  • a belt (not shown) is engaged with the pulley 14. The rotational movement of the rotating shaft 133 is transmitted to the crankshaft of the engine via the belt.
  • the slip ring 15 is fixed to an outer peripheral surface of a portion of the rotation shaft 133 which protrudes rearward from the rear housing 111 via an insulating member 18.
  • the slip ring 15 is a cylindrical member made of metal and is connected to the rotor winding 131 via a wire.
  • the brush 16 is, for example, pressed by a spring toward the rotating shaft 133 in the radial direction, and is in contact with the outer peripheral surface of the slip ring 15.
  • the brush 16 is held by a brush holder 160. Direct current is supplied to the rotor winding 131 via the brush 16 and the slip ring 15.
  • the magnet 17 generates a magnetic field for detecting the rotation angle of the rotor 13.
  • the magnet 17 is fixed to an axial rear end portion of the rotating shaft 133.
  • Control unit When the rotating electrical machine unit 10 functions as an alternator, the control device unit 20 converts the power generated by the rotating electrical machine unit 10 into direct current, and supplies the power to the battery. On the other hand, when the rotating electrical machine unit 10 is made to function as a motor, the power supplied from the battery is converted into an alternating current, and the power is supplied to the rotating electrical machine unit 10.
  • the controller unit 20 includes a case 21, a wiring board 22, an inverter circuit unit 23, a heat sink 24, a field circuit unit 25, a control circuit unit 26, and a bus bar 27. Is equipped. Furthermore, the control device unit 20 is provided with a rotation angle detection element (not shown) that constitutes a rotation angle detection unit together with the magnet 17.
  • the controller unit 20 may include a smoothing capacitor and a snubber capacitor.
  • the case 21 is provided at an axial rear end of the rear housing 111.
  • the case 21 is formed in a box shape using a resin material.
  • the wiring board 22, the inverter circuit unit 23, the heat sink 24, the field circuit unit 25, the control circuit unit 26, the above-described brush 16 and the like are accommodated.
  • the case 21 has a main body portion 210 and a lid portion 211.
  • the wiring board 22, the inverter circuit unit 23, the field circuit unit 25, and the control circuit unit 26 are fixed to the main body unit 210.
  • the bus bar 27 and other bus bars for wiring are fixed to the main body portion 210 which is a resin member.
  • the main body portion 210 has a through hole 210 a at the central portion.
  • the main body portion 210 is fixed to an axial rear end portion of the rear housing 111.
  • the lid portion 211 covers the rear side of the main body portion 210.
  • the wiring board 22 is a so-called printed board.
  • the field circuit unit 25 and the control circuit unit 26 are mounted on the wiring board 22.
  • a power supply circuit and the like are also mounted on the wiring board 22.
  • the wiring substrate 22 is disposed such that the thickness direction thereof substantially coincides with the axial direction.
  • the wiring board 22 is substantially U-shaped with a notch at a part in the circumferential direction of the rotating shaft 133.
  • the wiring board 22 is disposed on the front side in the axial direction with respect to the inverter circuit portion 23 at a distance from the rear housing 111 and the inverter circuit portion 23.
  • the wiring substrate 22, the inverter circuit unit 23, the field circuit unit 25, and the control circuit unit 26 are sealed with a resin 28 in the case 21.
  • the inverter circuit unit 23 supplies alternating current to the stator winding 121.
  • the inverter circuit unit 23 rectifies alternating current supplied from the stator winding 121 and converts it into direct current.
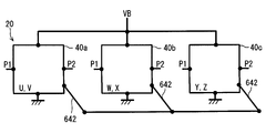
  • the inverter circuit unit 23 is configured by three semiconductor modules 40. Details of the semiconductor module 40 will be described later, and only a brief description will be given here.
  • each of the semiconductor modules 40 has a plurality of switching elements 70 constituting upper and lower arms for two phases.
  • the switching element 70 a MOSFET or an IGBT can be employed. In the present embodiment, an n-channel MOSFET is employed.
  • the switching element 70 has a parasitic diode.
  • the first semiconductor module 40 constitutes upper and lower arms of U phase and V phase
  • the second semiconductor module 40 constitutes upper and lower arms of W phase and X phase
  • the third semiconductor A module 40 constitutes upper and lower arms of Y phase and Z phase.
  • each arm is configured by one switching element 70. That is, the semiconductor module 40 has four switching elements 70 each.
  • the switching element 70 As the switching element 70, the switching element 700H on the upper arm side and the switching element 700L on the lower arm side constituting the first upper and lower arms, and the switching on the upper arm side constituting the second upper and lower arm It has the element 701H and the switching element 701L on the lower arm side. Switching elements 700H and 700L are connected in series, and switching elements 701H and 701L are connected in series.
  • the high potential side electrode of the upper arm side switching elements 700H and 701H, ie, the drain electrode, is connected to the positive electrode side of the battery, and the low potential side electrode of the lower arm side switching elements 700L and 701L, ie, the source electrode is It is connected to the negative side of the battery.
  • the source electrodes of the upper arm side switching elements 700H and 701H and the corresponding drain electrodes of the lower arm side switching elements 700L and 701L are connected to each other.
  • the first upper and lower arms constitute U-phase upper and lower arms
  • the second upper and lower arms constitute V-phase upper and lower arms.
  • the connection point between the switching element 700H and the switching element 700L is connected to the U phase of the stator winding 121a.
  • the connection point between the switching element 701H and the switching element 701L is connected to the V phase of the stator winding 121a.
  • the first upper and lower arms constitute a W-phase upper and lower arm
  • the second upper and lower arms constitute an X-phase upper and lower arm.
  • the connection point between the switching element 700H and the switching element 700L is connected to the W phase of the stator winding 121a.
  • the connection point between the switching element 701H and the switching element 701L is connected to the X phase of the stator winding 121b.
  • the first upper and lower arms constitute Y phase upper and lower arms
  • the second upper and lower arms constitute Z phase upper and lower arms.
  • the connection point between the switching element 700H and the switching element 700L is connected to the Y phase of the stator winding 121b.
  • the connection point between the switching element 701H and the switching element 701L is connected to the Z phase of the stator winding 121b.
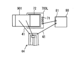
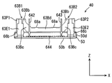
  • the semiconductor module 40 has a main terminal 63 as an external connection terminal as shown in FIGS. 4 and 5. Also, as the main terminals 63, positive electrode terminals 63B1 and 63B2, negative electrode terminals 63E1 and 63E2, and output terminals 63P1 and 63P2 are provided. Each of the semiconductor modules 40 is disposed on the rear side in the axial direction of the wiring board 22.
  • the heat sink 24 is a metal member that radiates the heat generated by the semiconductor module 40.
  • the heat sink 24 has a main body 240 and a plurality of fins 241.
  • the main body portion 240 has a substantially rectangular parallelepiped shape, and the fins 241 project from the surface of the main body portion 240 opposite to the semiconductor module 40.
  • the heat sink 24 is insert-molded on the main body portion 210 of the case 21. In the state of being integrated with the main body portion 210, one surface of the main body portion 240 is exposed in the main body portion 210, and the fin 241 protrudes from the opposite surface.
  • the semiconductor module 40 is in contact with one surface of the main body 240.
  • the heat sink 24 is thermally connected to the semiconductor module 40. For example, a thermally conductive adhesive is interposed between the heat sink 24 and the semiconductor module 40.
  • the field circuit unit 25 is a circuit that supplies DC to the rotor winding 131.
  • the field circuit unit 25 has a switching element.
  • an H bridge circuit is configured by switching elements.
  • the switching element is mounted on the wiring board 22.
  • the control circuit unit 26 is a circuit that controls the inverter circuit unit 23 and the field circuit unit 25.
  • Control circuit unit 26 includes, for example, a microcomputer (microcomputer).
  • the control circuit unit 26 includes, for example, a drive circuit that generates a drive signal of each of the switching elements 70.
  • the drive circuit performs, for example, PWM control of the switching element 70 by a 120-degree conduction method.
  • the drive circuit outputs the generated drive signal to a drive unit 80 described later.
  • the control circuit unit 26 has a current detection circuit that detects the current flowing in each phase based on the voltage value proportional to the current flowing in each phase detected by the shunt resistor 901. The current detection circuit detects the current of each phase via the signal terminal 64 without passing through the drive unit 80.
  • the control circuit unit 26 includes an abnormality detection circuit that detects an abnormality of the switching element 70 based on a notification signal transmitted from the drive unit 80.
  • the control circuit unit 26 has a temperature detection circuit that acquires the forward voltage Vf of the temperature sensing diode integrally formed with the switching element 70 and detects the temperature of the switching element 70. The temperature detection circuit obtains the forward voltage Vf via the drive unit 80.
  • the bus bar 27 is a wiring member connected to the inverter circuit unit 23.
  • the bus bar 27 is insert-molded in the main body portion 210 of the case 21 in a state where the connection portion 270 with the inverter circuit portion 23 is exposed.
  • the bus bar 27 is insert-molded in the main body portion 210 in a state of extending axially forward.
  • the connection portion 270 extends in the same direction as the main terminal 63 in a state adjacent to the corresponding main terminal 63 of the semiconductor module 40. And the adjacent connection part 270 and the main terminal 63 are joined. Specifically, the main terminal 63 and the bus bar 27 are joined by arc welding.
  • the bus bar 27 includes a positive electrode bus bar 27B, a negative electrode bus bar 27E, and output bus bars 27P1 and 27P2.
  • the positive electrode bus bar 27B and the negative electrode bus bar 27E are disposed on the rotary shaft 133 side, ie, the radial inner side with respect to the semiconductor module 40, and the output bus bar 27P1 on the opposite side to the rotary shaft 133, ie, the radial outer side. , 27P2 are arranged.
  • FIG. 4 the positive electrode bus bar 27B and the negative electrode bus bar 27E are disposed on the rotary shaft 133 side, ie, the radial inner side with respect to the semiconductor module 40, and the output bus bar 27P1 on the opposite side to the rotary shaft 133, ie, the radial outer side. , 27P2 are arranged.
  • the positive electrode bus bar 27B is shown inside the negative electrode bus bar 27E for the sake of simplicity in order to clearly show the connection between the positive electrode bus bar 27B and the negative electrode bus bar 27E and the positive electrode terminals 63B1 and 63B2 and the negative electrode terminals 63E1 and 63E2.
  • the positive electrode bus bar 27B is a bus bar 27 that connects the power supply connection portion of the wiring board 22 and the positive electrode terminals 63B1 and 63B2 of the semiconductor module 40 to the positive electrode terminal of the battery.
  • the negative bus bar 27E is a bus bar 27 that connects the power supply connection portion of the wiring board 22 and the negative terminals 63E1 and 63E2 of the semiconductor module 40 directly to the negative terminal of the battery or via the vehicle body.
  • the output bus bar 27P1 is a bus bar 27 that connects the output terminal 63P1 of the semiconductor module 40 to the stator winding 121.
  • the output bus bar 27P2 is a bus bar 27 that connects the output terminal 63P2 to the stator winding 121.
  • the positive electrode bus bar 27B and the negative electrode bus bar 27E are formed, for example, by punching and bending a copper plate.
  • the positive bus bar 27 ⁇ / b> B and the negative bus bar 27 ⁇ / b> E are mutually insulated by the case 21.
  • the positive electrode bus bar 27B exposes the connection portion connected to the wiring board 22 and the connection portion 270 with the positive electrode terminals 63B1 and 63B2 of each semiconductor module 40 to the inside of the case 21 and the connection portion 271 on the battery side It is insert-molded in the case 21 in the state which exposed to the exterior of.
  • the negative bus bar 27E exposes the connecting portion connected to the wiring board 22 and the connecting portion 270 with the negative terminals 63E1 and 63E2 of each semiconductor module 40 to the inside of the case 21, and the connecting portion 272 on the battery side It is insert-molded in the case 21 in the state which exposed to the exterior of.
  • connection portion 271 on the battery side of the positive electrode bus bar 27B and the connection portion 272 on the battery side of the negative electrode bus bar 27E are disposed on the cutout side of the wiring board 22.
  • Two connection portions 271 of the positive electrode bus bar 27B are provided.
  • the two connection parts 271 are connected to each other.
  • One connection portion 272 of the negative electrode bus bar 27E is provided.
  • the connection portion 272 is provided radially outward at an equal distance from the two connection portions 271.
  • the positive electrode bus bar 27 B extends from each of the two connection portions 271.
  • the positive electrode bus bar 27 B extends in parallel to a plane orthogonal to the rotation axis 133.
  • the positive electrode bus bars 27B are arranged in line symmetry with respect to an imaginary line passing through the midpoints of the two connection portions 271 and the center of the rotation shaft 133.
  • one of the positive electrode bus bars 27B extends in the clockwise direction around the rotation axis 133
  • the other positive electrode bus bar 27B extends in the counterclockwise direction around the rotation axis 133.
  • the positive electrode bus bar 27B has an opening on the opposite side to the middle point of the two connection portions 271 with the rotary shaft 133 interposed therebetween.
  • the pair of positive electrode bus bars 27B are separated from each other through the opening without being connected to each other at positions opposite to each other with respect to the middle point of the two connection portions 271 with respect to the rotation shaft 133.
  • the negative bus bar 27 ⁇ / b> E also extends parallel to the plane orthogonal to the rotation axis 133.
  • the negative bus bar 27E is branched into two at the end extending from the connection portion 272 on the battery side toward the rotation shaft 133, one extending clockwise around the rotation shaft 133, and the other counterclockwise around the rotation shaft 133 It extends to
  • the negative bus bar 27 ⁇ / b> E is arranged in line symmetry with respect to an imaginary line passing through the connection portion 272 and the center of the rotating shaft 133.
  • the negative electrode bus bar 27 ⁇ / b> E has an opening on the opposite side to the connecting portion 272 with the rotating shaft 133 interposed therebetween.
  • the branched negative electrode bus bar 27E is separated from the connecting portion 272 via the opening without being connected to each other at the opposite side of the rotary shaft 133.
  • the positive electrode bus bar 27B and the negative electrode bus bar 27E are arranged along each other.
  • the positive electrode bus bar 27B and the negative electrode bus bar 27E are separated in a state in which a predetermined distance is maintained in the radial direction over substantially the entire area of the portions extending along each other.
  • currents flow in opposite directions to each other. Therefore, the inductance can be reduced.
  • the positive electrode bus bar 27B extended in the counterclockwise direction includes positive electrode terminals 63B1 and 63B2 of the semiconductor module 40 constituting upper and lower arms of U phase and V phase, and W phase
  • the positive electrode terminal 63B1 corresponding to the upper and lower arms of the W phase among the semiconductor modules 40 constituting the upper and lower arms of the X phase is connected.
  • the negative electrode bus bar 27E extended counterclockwise the negative terminals 63E1 and 63E2 of the semiconductor module 40 constituting the U-phase and V-phase upper and lower arms and the semiconductor module 40 constituting the W-phase and X-phase upper and lower arms Among them, the negative electrode terminal 63E1 corresponding to the W-phase upper and lower arms is connected.
  • positive electrode bus bar 27B extended clockwise positive electrode terminal 63B2 corresponding to upper and lower arms of X phase among semiconductor modules 40 constituting upper and lower arms of W phase and X phase, Y phase and Z phase
  • the positive terminals 63B1 and 63B2 of the semiconductor module 40 constituting the upper and lower arms are connected.
  • the negative electrode bus bar 27E extended clockwise the negative electrode terminal 63E2 corresponding to the upper and lower arms of the X phase among the semiconductor modules 40 constituting the upper and lower arms of the W phase and the X phase, and the upper and lower sides of the Y phase and the Z phase.
  • the negative terminals 63E1 and 63E2 of the semiconductor module 40 constituting the arm are connected.
  • the three semiconductor modules 40 include the semiconductor module 40 configuring the U-phase and V-phase upper and lower arms, the semiconductor module 40 configuring the W-phase and X-phase upper and lower arms, and the Y-phase and Z-phase upper and lower arms
  • the semiconductor modules 40 to be configured are arranged around the rotation axis 133 in the order.
  • direct current is supplied to the inverter circuit unit 23 through the positive electrode bus bar 27B, the negative electrode bus bar 27E, and the like. Further, direct current is supplied to the field circuit unit 25 and the control circuit unit 26 through the other bus bars for wiring and the wiring board 22.
  • Control circuit unit 26 controls inverter circuit unit 23 and field circuit unit 25 based on a signal input from the outside, for example, an engine ECU.
  • the field circuit unit 25 is controlled by the control circuit unit 26 and supplies direct current to the rotor winding 131 via the brush 16 and the slip ring 15.
  • the inverter circuit unit 23 is controlled by the control circuit unit 26, and converts direct current supplied via the positive electrode bus bar 27B and the negative electrode bus bar 27E into alternating current.
  • the control circuit unit 26 controls the on / off of the switching element 70 to sequentially switch the flowing direction of the current, thereby converting direct current into alternating current.
  • the alternating current converted by the inverter circuit unit 23 is supplied to the stator winding 121 via the output bus bars 27P1 and 27P2.
  • the rotating electrical machine unit 10 generates a driving force to drive the vehicle.
  • the rotational state of the rotor 13 is detected by the rotational angle detection element. Further, the shunt resistor 901 provided in the semiconductor module 40 detects the current flowing in each phase of the stator winding 121. The control circuit unit 26 controls the rotation of the rotary electric machine 1 using these detected values.
  • the stator windings 121a and 121b are alternating current (3 Phase exchange).
  • the inverter circuit unit 23 is controlled by the control circuit unit 26, and converts alternating current supplied from the stator winding 121 via the output bus bars 27P1 and 27P2 into direct current.
  • the control circuit unit 26 controls the on / off of the switching element 70 to sequentially switch the flowing direction of the current to rectify the alternating current. During the dead time of the switching element 70, alternating current is rectified by the parasitic diode.
  • the direct current converted by the inverter circuit unit 23 is supplied to the battery. Thereby, the battery is charged by the power generated by the rotating electrical machine unit 10.
  • the thickness direction of the switching element 70 is orthogonal to the Z direction and the Z direction, and the arrangement direction of the plurality of signal terminals 64 is referred to as the X direction. Further, a direction orthogonal to both the Z direction and the X direction is referred to as a Y direction.
  • the shape when viewed in the XY plane is a plane shape.
  • XY plane view can be said to be projection view in the Z direction.
  • the Z direction substantially coincides with the axial direction. Further, a position near the center of the lead frame 60 in the X direction is indicated as inside, and a position far from the center is indicated as outside. Further, in the Z direction, the direction from the back surface 50b to the one surface 50a of the sealing resin body 50 is referred to as upper, and the direction from the one surface 50a to the back 50b is as lower.
  • the semiconductor module 40 includes a sealing resin body 50, a lead frame 60, a switching element 70, a drive unit 80, and a bridge member 90.
  • the sealing resin body 50 is omitted.
  • the switching element 70, the drive unit 80, and the cross-linking member 90 are mounted, and the lead frame 60 before the molding of the sealing resin body 50, that is, before the tie bar cut is shown.
  • the bonding wires 41 are omitted for the sake of convenience.
  • the semiconductor module 40 is also referred to as a semiconductor package, a switching module, or a semiconductor device.
  • sealing resin body 50 integrally seals a part of the lead frame 60, the switching element 70, the driving unit 80, and the bridging member 90.
  • Sealing resin body 50 is formed using, for example, an epoxy resin.
  • the sealing resin body 50 has a surface 50a which is a surface in the Z direction, a back surface 50b opposite to the surface 50a, and a side surface connecting the surface 50a and the back surface 50b.
  • the semiconductor module 40 is disposed such that the back surface 50 b side of the sealing resin body 50 is in contact with the heat sink 24.
  • the sealing resin body 50 is a substantially rectangular parallelepiped, and has four side surfaces.
  • a main terminal 63 and a signal terminal 64 protrude from a side surface 50c which is a first side surface in the Y direction and a side surface 50d which is a second side surface opposite to the side surface 50c.
  • the sealing resin body 50 is formed by transfer molding. As shown in FIGS. 6 and 7 etc., the sealing resin body 50 has a recess 51.
  • the recess 51 is open to the one surface 50 a and the side surface 50 c.
  • the bottom surface of the recess 51 is substantially flat.
  • the two concave portions 51 are provided corresponding to the positive electrode terminals 63B1 and 63B2.
  • the concave portion 51 is provided at a position overlapping the corresponding positive electrode terminals 63B1 and 63B2 in the projection view from the Z direction.
  • the recess 51 is provided such that a part of the jig can be inserted.
  • the sealing resin body 50 has a convex portion 52 derived from an air vent provided in a molding die not shown.
  • the convex portion 52 protrudes from the side surfaces 50c and 50d.
  • the air vents are provided on the upper and lower molds constituting the mold in order to reduce voids and weld lines caused by air entrainment at the time of molding.
  • the air vents are provided at positions overlapping with the main terminals 63 in the projection view from the Z direction at the portions forming the side surfaces 50 c and 50 d of the upper and lower dies. Therefore, the main terminal 63 is disposed between the protrusions 52 in the Z direction.
  • Reference numeral 53 shown in FIGS. 6 to 8 denotes pin marks derived from ejector pins.
  • Reference numeral 54 shown in FIGS. 6 and 7 denotes a gate mark of a mold.
  • the lead frame 60 is a plate made of metal.
  • the lead frame 60 is formed by punching and bending a metal plate.
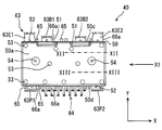
  • the lead frame 60 includes an island 61, a wiring portion 62, a main terminal 63 and a signal terminal 64 which are terminals for external connection, and a dummy terminal 65.
  • the lead frame 60 is substantially line symmetrical with respect to the center in the X direction. In FIG. 21, the center of the lead frame 60 in the X direction is indicated by an alternate long and short dash line.
  • the switching element 70 and the drive unit 80 are disposed on the island 61.
  • the lead frame 60 has five islands 610 to 614 in which the switching element 70 and the driving unit 80 are individually disposed.
  • the islands 610 to 614 have substantially the same thickness and are arranged in the same plane in the Z direction.
  • the islands 610 to 614 are arranged in line symmetry with respect to the center in the X direction.
  • the island 610 is a portion where the drive unit 80 is disposed.
  • the islands 611 to 614 are portions where the switching element 70 is disposed and to which the drain electrode of the disposed switching element 70 is connected.
  • the switching element 700 H is disposed on the island 611, and the switching element 700 L is disposed on the island 612.
  • the switching element 701 H is disposed on the island 613, and the switching element 701 L is disposed on the island 614.
  • the areas of the islands 611 to 614 along the XY plane are substantially equal to one another.
  • the heat release surface 610 a opposite to the arrangement surface of the drive unit 80 is exposed from the back surface 50 b of the sealing resin body 50.
  • the heat radiation surfaces 611a to 614a opposite to the arrangement surface of the switching element 70 are exposed from the back surface 50b.
  • the portion of the island 61 excluding the heat radiation surfaces 610a to 614a is sealed by a sealing resin body 50.
  • the convex part is provided in the side of each island 61. As shown in FIG.
  • the island 610 has a substantially rectangular planar shape.
  • the island 610 is disposed at the center of the lead frame 60 in the X direction.
  • the island 610 as shown in FIG. 16 and FIG. 21, etc., has a convex portion 610b that protrudes in the Y direction from the center of the end opposite to the signal terminal 64.
  • the convex portion 610b may be provided at a position not interfering with the bonding wire 41. For example, when the distance between the pads 71 of the switching elements 700H and 701H is shorter than that of the present embodiment, the convex portions 610b may be provided at both ends instead of the center.
  • the islands 611 to 614 are disposed around the island 610.
  • the islands 612 and 614 in which the lower arm side switching elements 700L and 701L are disposed are provided so as to sandwich the island 610 in the X direction.
  • the islands 612 and 614 are arranged in line symmetry with each other in the X direction.
  • the islands 612 and 614 both have a substantially rectangular planar shape.
  • the islands 612 and 614 each have a predetermined gap with the island 610 in the X direction.
  • the islands 611 and 613 in which the switching elements 700H and 701H on the upper arm side are disposed are provided on the side opposite to the signal terminal 64 in the Y direction with respect to the island 610.
  • the islands 611 and 613 are arranged side by side in the X direction with a predetermined gap.
  • the islands 611 and 613 are arranged in line symmetry with each other in the X direction.
  • the islands 611 and 613 both have a substantially rectangular planar shape.
  • the island 611 faces the islands 610 and 612 in the Y direction.
  • the island 613 faces the islands 610 and 614 in the Y direction.
  • the islands 611 and 613 have convex portions 611 b and 613 b protruding in the Y direction from the end on the signal terminal 64 side, as shown in FIGS.
  • the convex portions 611 b and 613 b are provided to face the island 610 in the Y direction.
  • the convex portion 611 b is provided at the end on the island 613 side in the X direction.
  • the bonding wire 41 is connected to a position away from the island 613 in the convex portion 611 b.
  • the bonding wire 41 is connected to detect the drain potential of the switching element 700H.
  • the convex portion 613 b is provided at the end on the island 611 side in the X direction.
  • the bonding wire 41 is connected to a position away from the island 611 in the convex portion 613 b.
  • the bonding wire 41 is connected to detect the drain potential of the switching element 701H.
  • the wiring portion 62 includes a wiring portion 620 connecting the islands 611 and 612, a wiring portion 621 connecting the island 612 and the negative electrode terminal 63E1, a wiring portion 622 connecting the islands 613 and 614, an island 614 and the negative electrode terminal 63E2.
  • a wiring portion 623 to be connected is provided.
  • the wiring portion 620 is connected to the end of the island 612 opposite to the signal terminal 64.
  • the wiring portion 620 is connected to the end of the island 612 opposite to the island 610 side.
  • the wiring portion 620 is extended in the Y direction, and its tip portion is arranged in parallel with the island 611 while having a predetermined gap with the island 611 in the X direction.
  • the wiring portion 620 is disposed outside the island 611 in the X direction.
  • the wiring portion 621 is connected to the negative electrode terminal 63E1.
  • the wiring portion 621 extends from the negative electrode terminal 63E1 in the Y direction, and its tip end portion is disposed side by side with the island 612 while having a predetermined gap with the island 612 in the X direction.
  • the wiring portion 621 is disposed outside the island 612 in the X direction.
  • the wiring portion 622 is connected to the end of the island 614 opposite to the signal terminal 64.
  • the wiring portion 622 is connected to the end of the island 614 opposite to the island 610 side.
  • the wiring portion 622 is extended in the Y direction, and the tip portion thereof is disposed in parallel with the island 613 while having a predetermined gap with the island 613 in the X direction.
  • the wiring portion 622 is disposed outside the island 613 in the X direction.
  • the wiring portion 623 is connected to the negative electrode terminal 63E2.
  • the wiring portion 623 extends from the negative electrode terminal 63E2 in the Y direction, and its tip end portion is disposed side by side with the island 614 while having a predetermined gap with the island 614 in the X direction.
  • the wiring portion 623 is disposed outside the island 614 in the X direction.
  • the wiring portion 621, the island 612, the island 610, the island 614, and the wiring portion 623 are arranged in this order in the X direction. Further, at the positions of the islands 611 and 613 in the Y direction, the wiring portion 621, the wiring portion 620, the island 611, the island 613, the wiring portion 622, and the wiring portion 623 are sequentially arranged in the X direction.
  • the wiring portions 620 and 621 on the upper arm side and the wiring portions 622 and 623 on the lower arm side are arranged in line symmetry in the X direction.
  • the heat radiation surfaces 620a to 623a opposite to the arrangement surface of the cross-linking member 90 are exposed from the back surface 50b of the sealing resin body 50.
  • the heat radiation surfaces 620a to 623a are surfaces opposite to the surface on the switching element 70 side.
  • heat can be dissipated from the heat dissipation surfaces 620a to 623a.
  • the portions excluding the heat dissipation surfaces 620 a to 623 a are sealed by the sealing resin body 50.
  • the heat radiation surfaces 610a to 614a and 620a to 623a are exposed from the back surface 50b by bringing the heat radiation surfaces 610a to 614a and 620a to 623a into contact with the molding die.
  • the convex part is provided in the side of each wiring part 62. As shown in FIG. 12 etc., in order to suppress peeling of the sealing resin body 50, the convex part is provided in the side of each wiring part 62. As shown in FIG.
  • the portions of the island 61 and the wiring portion 62 are thicker than the portions of the main terminal 63, the signal terminal 64 and the dummy terminal 65.
  • the central portion of the lead frame 60 is thicker than the central portion. Between the broken lines shown in FIG. 21 are thick portions.
  • the heat of the switching element 70 and the drive unit 80 can be dissipated efficiently.
  • the island 61 and the wiring portion 62 are thick, it is possible to suppress the warpage of the lead frame 60 due to the cure shrinkage of the sealing resin body 50.
  • the main terminal 63 and the signal terminal 64 which are terminals for external connection are made thin, punching and bending workability can be improved.
  • the signal terminals 64 can be narrowed in pitch.
  • the main terminal 63 has the positive electrode terminals 63B1 and 63B2, the negative electrode terminals 63E1 and 63E2, and the output terminals 63P1 and 63P2.
  • the positive electrode terminals 63B1 and 63B2 are power supply terminals connected to the positive electrode side of the battery.
  • the positive electrode terminals 63B1 and 63B2 are also referred to as high potential side DC terminals.
  • the positive electrode terminal 63B1 is continuous with the island 611 of the switching element 700H.
  • the positive electrode terminal 63B1 is continued to the end of the island 611 opposite to the island 613 side.
  • the positive electrode terminal 63B1 extends from the end of the island 611 opposite to the signal terminal 64 in the Y direction, protrudes from the side surface 50c of the sealing resin body 50, is bent outside the sealing resin body 50, and extends in the Z direction. It extends upward.
  • the positive electrode terminal 63B2 is connected to the island 613 of the switching element 701H.
  • the positive electrode terminal 63B2 is connected to the end of the island 613 opposite to the island 611 side.
  • the positive electrode terminal 63B2 extends from the end of the island 613 opposite to the signal terminal 64 in the Y direction, protrudes from the side surface 50c, is bent outside the sealing resin body 50, and extends upward in the Z direction.
  • the positive terminals 63B1 and 63B2 are arranged in line symmetry with each other in the X direction.
  • Negative electrode terminals 63E1 and 63E2 are power supply terminals connected to the negative electrode side of the battery.
  • the negative electrode terminals E1 and E2 are also referred to as low potential side DC terminals.
  • the negative electrode terminal 63E1 is disposed outside the positive electrode terminal 63B1 in the X direction.
  • the negative electrode terminal 63E1 extends in the Y direction, protrudes from the side surface 50c, is bent outside the sealing resin body 50, and extends upward in the Z direction.
  • the negative electrode terminal 63E2 is disposed outside the positive electrode terminal 63B2 in the X direction.
  • the negative electrode terminal 63E2 is extended in the Y direction, protrudes from the side surface 50c, is bent outside the sealing resin body 50, and extends upward in the Z direction.
  • the negative terminals 63E1 and 63E2 are arranged in line symmetry with each other in the X direction.
  • the positive electrode terminals 63B1 and 63B2 and the negative electrode terminals 63E1 and 63E2 are arranged in the order of the negative electrode terminal 63E1, the positive electrode terminal 63B1, the positive electrode terminal 63B2 and the negative electrode terminal 63E2 in the X direction.
  • the distance between the negative electrode terminal 63E1 and the positive electrode terminal 63B1 and the distance between the negative electrode terminal 63E2 and the positive electrode terminal 63B2 are shorter than the distance between the positive electrode terminals 63B1 and 63B2.
  • the positive electrode terminals 63B1 and 63B2 and the negative electrode terminals 63E1 and 63E2 are substantially L-shaped in the YZ plane.
  • the positive electrode terminals 63B1 and 63B2 and the negative electrode terminals 63E1 and 63E2 respectively have tie bar marks 66a and 66b as shown in FIG. 7, FIG. 9, FIG. 14 and FIG.
  • the tie bar marks 66a and 66b are cut marks of the tie bar 66 and slightly protrude in the X direction.
  • the tie bar mark 66a is a cut mark of a first tie bar 660a closer to the island 61 in the Y direction
  • the tie bar mark 66b is a cut mark of a second tie bar 660b farther from the island 61 than the tie bar 660a.
  • the positive electrode terminals 63B1 and 63B2 and the negative electrode terminals 63E1 and 63E2 have bent portions between the tie bar marks 66a and 66b in the extending direction.
  • the output terminals 63P1 and 63P2 are also referred to as AC terminals.
  • the output terminal 63P1 is connected to the island 612.
  • the output terminal 63P1 is continuous with the end of the island 612 opposite to the island 610, and is extended obliquely to be apart from the island 612 in the X direction. Specifically, it is obliquely extended to a position not overlapping the switching element 700L in the X direction. Then, the tip is extended in the Y direction, protrudes from the side surface 50d opposite to the positive electrode terminal 63B1, is bent outside the sealing resin body 50, and extends further in the Z direction.
  • the output terminal 63P2 is connected to the island 614.
  • the output terminal 63P2 is continuous with the end of the island 614 opposite to the island 610, and is extended diagonally so as to be apart from the island 614 in the X direction. Specifically, it is obliquely extended to a position not overlapping the switching element 701L in the X direction. Then, it is extended in the Y direction at the tip thereof, protrudes from the side surface 50d, is bent outside the sealing resin body 50, and further extends upward in the Z direction.
  • the output terminals 63P1 and 63P2 are also substantially L-shaped in the YZ plane.
  • the output terminals 63P1 and 63P2 are arranged in line symmetry with each other in the X direction.
  • the output terminals 63P1 and 63P2 also have tie bar marks 66a and 66b, respectively.
  • the tie bar mark 66a is a cut mark of the first tie bar 661a closer to the island 61 in the Y direction
  • the tie bar mark 66b is a cut mark of the second tie bar 661b farther from the island 61 than the tie bar 661a.
  • the output terminals 63P1 and 63P2 have bending portions between the tie bar marks 66a and 66b in the extending directions.
  • the width of the bent portion is narrowed.
  • a narrow portion 63a is provided so as to include the bent portion, and a wide portion is provided so as to sandwich the narrow portion 63a in the extending direction.
  • the portions having the tie bar marks 66a and 66b are wide portions, and a narrow portion 63a including a bent portion is provided therebetween.
  • the width of the portion forming the bent portion is narrowed to reduce the rigidity, so that the bending load at the time of forming the bent portion can be reduced. Also, the bending accuracy can be improved.
  • the corner portion of the projecting tip is chamfered. In other words, it has a tapered shape.
  • a relatively large current tens of amps
  • the main terminal 63 flows to the main terminal 63 in order to rotate the rotating electrical machine 1, so the width of the main terminal 63 is wide.
  • welding can be stably performed at the center in the width direction.
  • the signal terminal 64 is a terminal for outputting a signal to the outside or inputting a signal from the outside.
  • the plurality of signal terminals 64 are arranged side by side in the X direction.
  • Each signal terminal 64 is extended in the Y direction, protrudes from the side surface 50d, is bent outside the sealing resin body 50, and extends upward in the Z direction.
  • the signal terminal 64 is also substantially L-shaped in the YZ plane. In the present embodiment, the signal terminals 64 are inserted into and mounted on the wiring board 22.
  • the signal terminal 64 includes a signal terminal 640 connected to the wiring board 22 and set to the ground potential (GND).
  • the signal terminal 640 is disposed in the middle of the plurality of signal terminals 64.
  • the signal terminal 640 is continuous with the center of the end of the island 610 on the signal terminal 64 side.
  • the signal terminal 640 is disposed at the center of the lead frame 60 in the X direction.
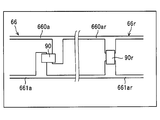
  • the signal terminal 640 is connected to the pad 81 of the drive unit 80 by the bonding wire 41.
  • the bonding wire 41 is connected to the wiring portions 621 and 623 connected to the negative terminals 63E1 and 63E2 and the negative terminals 63E1 and 63E2 without securing the ground potential. Good. That is, the bonding wires 41 may not be connected across the other potential parts such as the islands 612 and 614 and the wiring parts 620 and 622. Therefore, the bonding wire 41 can be prevented from coming into contact with other potential parts to cause a short circuit.
  • the signal terminal 64 includes two signal terminals 641.
  • One of the signal terminals 641 is continuous with the end of the island 612 on the signal terminal 64 side, and the other signal terminal 641 is continuous with the end of the island 614 on the signal terminal 64 side.
  • the island 612 is connected to the source electrode 72 of the switching element 700H via the wiring portion 620 and the clip 900.
  • the island 614 is connected to the source electrode 72 of the switching element 701H via the wiring portion 622 and the clip 900.
  • the wiring portion 620 and the island 612 are wires that connect the source electrode 72 of the switching element 700H and the output terminal 63P1.
  • the wiring portion 622 and the island 614 are wires that connect the source electrode 72 of the switching element 701H and the output terminal 63P2.
  • a drive source potential for driving which is a reference of the drive signal on the upper arm side is supplied from the drive circuit of the control circuit unit 26. Therefore, the inductance of the wiring can be reduced compared to the configuration in which the source potential is supplied from the output terminals 63P1 and 63P2. Thereby, the controllability of the switching element 70 by the control circuit unit 26 can be improved, and the delay of switching can be suppressed.
  • the drive source potential serving as the reference of the lower arm side drive signal from the drive circuit of the control circuit unit 26 is connected to the signal terminal 64 connected to the high potential side of the shunt resistor 901 via the bonding wire 41. Supplied.
  • the semiconductor module 40 has fifteen signal terminals 64. As described above, one is a signal terminal 640 for the ground potential, and two are signal terminals 641 for the source potential on the upper arm side. Of the remaining twelve, four are for drive signals of the switching elements 70, and four are for two shunt resistors 901. One is for acquiring the power supply VCC (for example, 5 V) from the wiring substrate 22 side, and one is for output of any one forward voltage Vf of the temperature sensitive diodes. One is for notification of abnormality or the like, and one is a spare to which the bonding wire 41 is not connected.
  • VCC for example, 5 V
  • the signal terminal 64 excluding the signal terminal 640 has at least one crank portion 64a which is a crank-shaped portion.
  • the crank portion 64a By having the crank portion 64a, the width occupied by the plurality of signal terminals 64 in the X direction is narrowed on the connection side with the wiring substrate 22 than the end on the island 61 side, that is, the connection side of the bonding wire 41 ing.
  • the position of the cranks 64a is set such that the length of the straight portion between the cranks 64a is 2 mm or more.
  • One of the crank portions 64a is provided in the vicinity of the tie bar 661a, and the other crank portion 64a is provided in the vicinity of the tie bar 661b.
  • the mounting portions of the signal terminals 64 on the wiring board 22 are arranged in a zigzag in the XY plane. That is, the signal terminals 64 adjacent to each other in the X direction are shifted in the Y direction.
  • the signal terminals 64 are arranged in two stages. Thus, the space occupied by the signal terminals 64 in the X direction can be reduced, and the semiconductor module 40 can be miniaturized.
  • the wiring substrate 22 can also be miniaturized. Furthermore, since the adjacent signal terminals 64 are spaced apart in the Y direction, noise and interference between the terminals can be reduced.
  • the signal terminal 64 is disposed between the output terminals 63P1 and 63P2 in the X direction.
  • FIG. 22 is a schematic view showing an arrangement image of the output terminals 63P1 and 63P2 and the signal terminal 64. As shown in FIG. The upper part of FIG. 22 shows the present embodiment, and the middle part and the lower part show reference examples. In the reference example, r is added to the end of the reference numerals of the relevant elements of this embodiment.
  • the signal terminals 64 are integrated between the output terminals 63P1 and 63P2.
  • Output terminals 63P1 and 63P2 are disposed at both ends of the signal terminal 64 in the X direction. Therefore, a vacant space 64b indicated by a broken line is generated between the output terminal 63P1 and the signal terminal 64 at one end, and a space 64b is similarly generated between the output terminal 63P2 and the signal terminal 64 at the other end. .
  • the output terminal 63P1r is disposed in the same manner as in the present embodiment, the output terminal 63P2r is disposed between the signal terminals 64r, and the plurality of signal terminals 64r are divided into two. According to this, spaces 64br are generated on both sides of the output terminal 63P2r. Further, in the lower reference example, the output terminals 63P1r and 63P2r are disposed adjacent to each other, and the plurality of signal terminals 64r are divided into two by the output terminals 63P1r and 63P2r. According to this, spaces 64br are generated on both sides of each of the output terminals 63P1r and 63P2r.
  • the arrangement space for the external connection terminals can be reduced in the X direction. That is, waste space can be reduced and the size of the semiconductor module 40 can be miniaturized.
  • the end of the signal terminal 64 on the island 61 side that is, the connection portion of the bonding wire 41 is wider in the X direction than the other portions of the signal terminal 64. .
  • the bonding wire 41 can be stably connected.
  • the width of the part excluding the connection part with the bonding wire 41 is narrow, the arrangement space of the signal terminal 64 can be made small in combination with the above-mentioned crank part 64a.
  • the end on the side of the wide island 61 is caught by the sealing resin body 50, it is possible to suppress the removal of the signal terminal 64 while reducing the arrangement space by the lock hole effect.
  • connection portion of the bonding wire 41 is flat.
  • the bonding wires 41 are respectively connected to the signal terminals 64 and the above-described convex portions 611 b and 613 b.
  • the connection portions of the convex portions 611 b and 613 b and the connection portions of the signal terminals 64 are both flat. Specifically, the flatness of the connection portion is secured by tapping. Thereby, the connection reliability of the bonding wire 41 can be improved. Further, by punching, burrs (not shown) generated when forming the lead frame 60 can be struck and crushed to suppress foreign matter biting at the time of bonding.
  • the dummy terminal 65 does not provide an electrical connection function, and is a portion connected to the tie bar 66 before the tie bar is cut. As shown in FIGS. 7 and 16, a part of the dummy terminal 65 is extended in the Y direction and protrudes from the side surface 50c of the sealing resin body 50. The remainder of the dummy terminal 65 is extended in the Y direction and protrudes from the side surface 50 d. Four dummy terminals 65 are arranged respectively.
  • the dummy terminals 65 are connected to the islands 611 and 613 and the wiring parts 620 and 622, respectively. As shown in FIG. 16 etc., one of the dummy terminals 65 is an end opposite to the signal terminal 64 in the island 611 and extends in the Y direction from the end opposite to the positive electrode terminal 63B1 side. . Another dummy terminal 65 is an end of the island 613 opposite to the signal terminal 64 and extends in the Y direction from the end opposite to the positive electrode terminal 63B2 side.
  • Another dummy terminal 65 is extended in the Y direction from the end of the wiring portion 620, that is, the end opposite to the island 612.
  • Another dummy terminal 65 is extended in the Y direction from the end of the wiring portion 622, that is, the end opposite to the island 614.
  • one dummy terminal 65 is disposed between the negative electrode terminal 63E1 and the positive electrode terminal 63B1, and between the negative electrode terminal 63E2 and the positive electrode terminal 63B2. Further, two dummy terminals 65 are disposed between the positive electrode terminals 63B1 and 63B2. As shown in FIG. 21, the dummy terminals 65 on the side of the positive electrode terminals 63B1 and 63B2 and the negative electrode terminals 63E1 and 63E2 are extended to the first stage tie bar 660a. Therefore, in the state after tie bar cutting, as shown in FIG. 7 and FIG. 16 etc., the tie bar mark 66a of the positive electrode terminals 63B1 and 63B2 and the negative electrode terminals 63E1 and 63E2 is extended to almost the same position in the Y direction. .
  • one of the dummy terminals 65 is extended in the Y direction from the end of the wiring portion 621, that is, the end opposite to the negative electrode terminal 63E1.
  • Another dummy terminal 65 is extended in the Y direction from the end of the wiring portion 623, that is, the end opposite to the negative electrode terminal 63E2.
  • the remaining two dummy terminals 65 are connected to a part of the signal terminal 64 connected to the shunt resistor 901 via the bonding wire 41 and are respectively arranged outside the signal terminal 64.
  • One dummy terminal 65 is disposed outside the output terminals 63P1 and 63P2 in the X direction. In addition, one dummy terminal 65 is disposed between the output terminals 63P1 and 63P2 and the signal terminal 64, respectively. As shown in FIG. 21, the output terminals 63P1 and 63P2 and the dummy terminal 65 on the signal terminal 64 side are extended to the tie bar 661a of the first stage. Therefore, in the state after tie bar cutting, as shown in FIG. 7 and FIG. 16 etc., the tie bar mark 66a of the output terminals 63P1 and 63P2 and the signal terminal 64 is extended to almost the same position in the Y direction.
  • the dummy terminal 65 is extended to substantially the same position as the tie bar mark 66 a. That is, it extends only to a position before the bent portions of the main terminal 63 and the signal terminal 64. Therefore, unlike the main terminal 63 and the signal terminal 64, the dummy terminal 65 does not have a bent portion.
  • the width of the dummy terminal 65 is smaller than the width of the main terminal 63.
  • the switching element 70 has a vertical structure, and has main electrodes on both sides in the Z direction which is the thickness direction of the chip.
  • the pad 71 described above which is a first pad, is provided on one side.
  • the drain electrode (not shown) is formed on the surface facing the island 61, and the source electrode 72 is formed on the surface opposite to the drain electrode formation surface.
  • the pad 71 is formed on the same main surface as the source electrode 72 at a position different from that of the source electrode 72.
  • a temperature sensitive diode is integrally formed.
  • the switching element 70 has a planar rectangular shape. As shown in FIG. 21, the pad 71 is arranged along one side of the switching element 70, specifically, the side opposite to the drive unit 80. In the present embodiment, the switching element 70 has four pads 71, which are arranged in order of source potential detection, gate electrode, anode of temperature sensitive diode, and cathode.
  • the switching element 70 includes the switching element 700H on the upper arm side constituting the first upper and lower arms and the switching element 700L on the lower arm side constituting the first upper and lower arms.
  • it has a switching element 701H on the upper arm side constituting the second upper and lower arms, and a switching element 701L on the lower arm side constituting the second upper and lower arms.
  • the switching element 700H is disposed on the island 611, and the switching element 700L is disposed on the island 612.
  • the switching element 701 H is disposed on the island 613, and the switching element 701 L is disposed on the island 614.
  • the switching elements 700H and 701H on the upper arm side are arranged in line symmetry in the X direction.
  • the lower arm side switching elements 700L and 701L are arranged in line symmetry in the X direction as in the corresponding islands 612 and 614.
  • the switching elements 700H and 701H on the upper arm side are arranged such that the alignment direction of the pad 71 and the source electrode 72 is the Y direction. That is, the pads 71 are arranged in the X direction.
  • the switching elements 700L and 701L on the lower arm side are arranged such that the alignment direction of the pad 71 and the source electrode 72 is the X direction. That is, the arrangement direction of the pads 71 is arranged in the Y direction.
  • the switching elements 70 are positioned and arranged with respect to the corresponding islands 61 so that their centers substantially coincide with each other.
  • the lower arm side switching elements 700L and 701L are disposed outside in the X direction with respect to the upper arm side switching elements 700H and 701H of the same phase. In the X direction, the switching element 700L, the switching element 700H, the switching element 701H, and the switching element 701L are arranged in this order.
  • the positive terminals 63B1 and 63B2 and the output terminals 63P1 and 63P2 connected to the drain electrode of each switching element 70 are of the output terminal 63P1, the positive terminal 63B1, the positive terminal 63B2 and the output terminal 63P2. They are arranged in order. As described above, the arrangement order of the switching elements 70 and the arrangement order of the positive terminals 63B1 and 63B2 and the output terminals 63P1 and 63P2 coincide with each other. Further, the main terminal 63 and the signal terminal 64 protrude only from the opposite side surfaces 50c and 50d.
  • the layout of the lead frame 60 is simplified, and the physical size of the semiconductor module 40 can be miniaturized by increasing the wiring density. Further, since the main terminals 63 and the signal terminals 64 protrude from only the two surfaces of the sealing resin body 50, the connection structure with the bus bar 27 can be simplified also when configuring the control unit 20.
  • the drain electrode of the switching element 70 is connected to the corresponding island 61 through the solder 42.
  • Source electrode 72 is connected to corresponding bridge member 90 via solder 42.
  • the drain electrode of the switching element 700H is connected to the island 611, and the drain electrode of the switching element 700L is connected to the island 612.
  • the drain electrode of the switching element 701H is connected to the island 613, and the drain electrode of the switching element 701L is connected to the island 614.
  • the drive unit 80 drives the switching element 70.
  • the drive signal generated by the drive circuit of the control circuit unit 26 is input to the gate electrode of each of the switching elements 70 via the drive unit 80. That is, the switching element 70 is driven by the drive signal output from the drive unit 80.
  • the drive unit 80 is configured as an IC chip such as an ASIC.
  • the driving unit 80 is fixed to the island 610 via a conductive adhesive 43 such as Ag paste.
  • a plurality of pads 81 On the surface opposite to the surface fixed to the island 610 in the drive unit 80, a plurality of pads 81, which are second pads, are formed.
  • a part of the pad 81 is connected to the pad 71 of the switching element 70 via the bonding wire 41.
  • Another pad 81 is connected to the islands 611 and 613 via bonding wires 41.
  • the rest of the pad 81 is connected to the signal terminal 64 through the bonding wire 41.
  • the drive unit 80 has a circuit for protecting the switching element 70. For example, it has a circuit for detecting the gate-source voltage Vgs of each of the switching elements 70 and a circuit for detecting the drain-source voltage Vds.
  • the drive unit 80 acquires the source potential from the pad 71 via the bonding wire 41.
  • the drain potential is acquired from the islands 611 and 613 through the bonding wire 41.
  • the drive unit 80 has a circuit for detecting the forward voltage Vf of each temperature sensitive diode. The drive unit 80 acquires the anode potential and the cathode potential from the pad 71 via the bonding wire 41.
  • the drive unit 80 further includes a determination circuit that determines an abnormality of the switching element 70 based on the gate-source voltage Vgs, the drain-source voltage Vds, and the forward voltage Vf. Specifically, the determination circuit determines whether overheating of the switching element 70, overcurrent, simultaneous turning on of the upper and lower arms, and the like have occurred.
  • the drive unit 80 has a notification circuit that notifies the control circuit unit 26 of the determination result through the signal terminal 64.
  • the drive unit 80 has a substantially rectangular planar shape.
  • the drive units 80 are arranged in line symmetry with respect to the center line of the lead frame 60 in the X direction.
  • the center of the drive unit 80 substantially coincides with the center line of the lead frame 60 in the X direction. Further, in the X direction, the center of the drive unit 80 substantially coincides with the center of the island 610. Accordingly, the switching elements 700L and 701L on the lower arm side are arranged in line symmetry with respect to the drive unit 80.
  • the driving unit 80 is disposed between the lower arm side switching elements 700L and 701H.
  • the switching element 700H on the upper arm side faces the switching element 700L and the drive unit 80 in the Y direction.
  • the pad 71 of the switching element 700H is disposed outside the island 610 in the X direction.
  • the switching element 701H on the upper arm side faces the switching element 701L and the drive unit 80 in the Y direction.
  • the pad 71 of the switching element 701H is disposed outside the island 610 in the X direction.
  • the four switching elements 70 are disposed around the drive unit 80 in plan view from the Z direction. Thereby, the length of the bonding wire 41 connecting the pad 71 of the switching element 70 and the drive unit 80 can be shortened. Since the relay wiring board is unnecessary, the number of parts can be reduced, and the physical size of the semiconductor module 40 can be miniaturized. In addition, when molding the sealing resin body 50, it is possible to suppress the occurrence of disconnection, connection failure or the like in the bonding wire 41. Since the length is short, the bonding wire 41 can also be inhibited from contacting other parts. That is, defects in the bonding wire 41 can be suppressed. In addition, the wiring density of the bonding wires 41 can be improved to reduce unnecessary space, and the physical size of the semiconductor module 40 can be miniaturized.
  • the drive unit 80 has a substantially rectangular planar shape, and as shown in FIG. 21, the pads 81 of the drive unit 80 are provided on the sides facing the switching elements 70 respectively.
  • pads 81 connected to the switching element 70 are concentrated on three consecutive sides of the drive unit 80. Thereby, the length of the bonding wire 41 can be shortened. Therefore, defects in the bonding wire 41 at the time of molding can be reduced.
  • the size of the semiconductor module 40 can be miniaturized. Note that only the pad 81 connected to the signal terminal 64 is disposed on the remaining one side of the drive unit 80.
  • the switching element 70 has a substantially square shape in detail. As shown in FIG. 21, the pads 71 are arranged in the vicinity of the center of one side of the switching element 70 along the side. As described above, since the pad 71 is disposed at the center of one side, the switching element 70 can be made common as one type of chip. In addition, the bonding wires 41 can be connected to the pads 71 and 81 on the upper arm side and the lower arm side, which are different in the arrangement by 90 degrees, though being made common. Moreover, the length of the bonding wire 41 can be shortened.
  • the signal terminals 64 are collectively arranged on one side of the drive unit 80 in the Y direction. All the signal terminals 64 are arranged on the opposite side of the drive unit 80 to the switching elements 700H and 701H on the upper arm side. The switching element 70 is opposed to the remaining three sides of the drive unit 80. According to this, the connection structure with the drive part 80 can be simplified including the signal terminal 64. Therefore, the length of the bonding wire 41 can be shortened, and the size of the semiconductor module 40 can be reduced.
  • the output terminals 63P1 and 63P2 are connected to the stator winding 121 of the rotary electric machine unit 10 via the output bus bars 27P1 and 27P2, so heat is transmitted from the rotary electric machine unit 10 side. Therefore, the switching element on the lower arm side is susceptible to heat.
  • the drive unit 80 is disposed between the switching elements 700L and 701L on the lower arm side. Further, in the X direction, the switching elements 700H and 701H are arranged in line symmetry, and the switching elements 700L and 701L are arranged in line symmetry. That is, the four switching elements 70 are equally arranged in the XY plane. Then, as shown in FIG. 16, assuming that the distance between the switching elements 700H and 701H on the upper arm side is L1 and the distance between the switching elements 700L and 701L on the lower arm side is L2, the distance L2 is longer than the distance L1. It is done.
  • the switching elements 700L and 701L which are heated by heat received from the rotary electric machine 10 are separated from each other.
  • the thermal interference between the switching elements 700L and 701L can be reduced more than the thermal interference between the switching elements 700H and 701H. Therefore, local overheating in the XY plane can be suppressed, and performance degradation due to heat can be suppressed for all the switching elements 70.
  • the sealing resin body 50 and the bonding wire 41 are not shown.
  • the heat release surfaces 611a to 614a opposite to the arrangement surface of the switching element 70 are exposed from the sealing resin body 50. Therefore, the heat of switching element 70 can be dissipated effectively.
  • the heat release surface 610a opposite to the arrangement surface of the drive unit 80 is exposed from the sealing resin body 50. Accordingly, the heat generated by the drive unit 80 and the heat received from the switching element 70 disposed around the drive unit 80 can be effectively dissipated. Moreover, the drive part 80 can also be miniaturized by the improvement of heat dissipation.
  • the heat release surfaces 620a and 622a opposite to the surfaces on the switching elements 700L and 701L side are sealing resin bodies Exposed from 50.
  • the heat of the switching elements 700L and 701L can be dissipated from the heat radiation surfaces 620a and 622a. That is, it is possible to effectively dissipate heat received from the rotating electrical machine unit 10.
  • the heat of the switching elements 700H and 701H can be dissipated from the heat dissipation surfaces 620a and 622a via the clip 900.
  • the bridging member 90 bridges the two wires. Specifically, the source electrode 72 of the switching element 70 and the corresponding wiring portion 62 are bridged.
  • the bridging member 90 is also referred to as a bridge.
  • the bridge member 90 is also referred to as a relay member because it electrically relays the source electrode 72 and the wiring portion 62.
  • the bridge member 90 has a pair of connection parts 91 as shown in FIGS. 12 and 13 for connection with the source electrode 72 and the wiring part 62.
  • the bridging member 90 is extended in one direction.
  • the bridging member 90 is extended in a direction perpendicular to the thickness direction of the connecting portion 91.
  • the connecting portions 91 are provided at both ends in the extending direction of the bridging member 90.
  • the connection portion 91 is connected to each of the source electrode 72 and the wiring portion 62 through the solder 42.
  • the bridge member 90 has an upper bottom portion 92 and a connecting portion 93 in addition to the pair of connecting portions 91.
  • the connection portion 91 and the upper bottom portion 92 have a thickness direction as a Z direction, and are disposed at different positions in the Z direction.
  • the connecting portion 93 connects the connecting portion 91 and the upper bottom portion 92.
  • the connecting portion 93 has an inclined portion and bent portions provided at both ends of the inclined portion.
  • the shape defined by the upper bottom portion 92 and the connecting portions 93 connected to both ends of the upper bottom portion 92 has a substantially trapezoidal shape in the ZX plane.
  • the upper bottom portion 92 is convex with respect to the connection portion 91.
  • the bridging member 90 is convex on the side opposite to the connecting surface with the solder 42.
  • the bridge member 90 has a clip 900 for relaying electrically and a shunt resistor 901 used for current detection in addition to the relay for electric ing.
  • the bridging member 90 has two clips 900 and two shunt resistors 901 corresponding to the four switching elements 70.
  • the clip 900 connects the switching elements 700H and 701H on the upper arm side and the corresponding wiring parts 620 and 622, respectively.
  • a constituent material of the clip 900 for example, Cu can be used.
  • the surface of Cu is plated with Ni.
  • a pair of bonding wires 41 is connected to the surface opposite to the connection surface of the solder 42.
  • the voltage drop is detected by the bonding wire 41, and the current value of the current flowing between the two wires is detected.
  • the shunt resistor 901 connects the switching elements 700L and 701L on the lower arm side to the corresponding wiring parts 621 and 623, respectively.
  • the detected value of the shunt resistor 901 is output to the control circuit unit 26 via the bonding wire 41 and the signal terminal 64.
  • the clip 900 and the shunt resistor 901 are each arranged such that the extending direction is the X direction and the width direction is the Y direction.
  • the shunt resistor 901 includes a resistor 901a, a pair of electrodes 901b, a joint 901c, and a mark 901d.
  • the shunt resistor 901 has an upper surface 901 e to which the bonding wire 41 for current detection is connected, and a lower surface 901 f to which the solder 42 is connected.
  • the resistor 901a has a resistivity set in advance to detect a current.
  • CuMnNi can be used as the resistor 901 a.
  • the resistor 901a has a flat plate shape.
  • the resistor 901a has a substantially rectangular planar shape.
  • the pair of electrodes 901b is disposed to sandwich the resistor 901a.
  • a resistor 901a is disposed between the pair of electrodes 901b.
  • the electrodes 901b are respectively disposed at both ends of the resistor 901a in one direction orthogonal to the thickness direction of the resistor 901a.
  • a metal having a resistivity smaller than that of the resistor 901a for example, Cu can be used.
  • the surface of Cu is plated with Ni.
  • the electrode 901 b has a substantially crank shape in the ZX plane.
  • the electrode 901 b has two bends respectively.
  • the electrode 901 b forms all of the connection portion 91 described above, all of the connection portion 93, and a part of the upper bottom portion 92.
  • the resistor 901a is supported at a position away from the connection portion 91 in the Z direction by the crank-shaped electrode 901b.
  • the pair of electrodes 901 b is a pair of legs supporting the resistor 901 a.
  • the bonding portion 901 c is a bonding region between the resistor 901 a and the electrode 901 b.
  • the bonding portion 901c is formed at the interface between the resistor 901a and the electrode 901b.
  • the joint portion 901c is formed by welding the resistor 901a and the electrode 901b. For this reason, the joint portion 901c is also referred to as a weld bead area.
  • the width W1 on the upper surface 901e is greater than the width W2 on the lower surface 901f, as shown in FIG. It is narrowed.
  • the width W1 is, for example, 0.6 mm or less.
  • the width of the joint portion 901c is maximized at the lower surface 901f, minimized at the upper surface 901e, and gradually narrowed from the lower surface 901f toward the upper surface 901e.
  • the mark 901 d is a reference of the connection position of the pair of bonding wires 41 for current detection.
  • the electrodes 901 b are formed in the vicinity of the bonding portions 811.
  • the mark 901 d can be formed by press processing, printing, laser irradiation, or the like.
  • a pair of marks 901 d are provided at equal distances from the center so as to straddle the center in the width direction. Thereby, the bonding wire 41 can be connected to the center in the width direction without a mark based on the pair of marks 901d. Thereby, the bondability can be improved.
  • the resistor 901a and the electrode 901b are prepared, and the resistor 901a is disposed between the pair of electrodes 901b. Then, in a state where each of the electrodes 901b is in contact with the resistor 901a, a beam such as an electron beam is irradiated from the lower surface 901f side to weld each of the electrodes 901b with the resistor 901a. Thus, the bonding portion 901c is formed at the interface between the one electrode 901b and the resistor 901a and at the interface between the other electrode 901b and the resistor 901a.
  • the width of the bonding portion 901c becomes maximum at the lower surface 901f and gradually narrows from the lower surface 901f to the upper surface 901e.
  • the shunt resistor 901 can be obtained through punching from a roll material, Ni plating of the electrode 901b, bending of the electrode 901b, and the like.
  • the electrode 901 b is formed of a metal having a resistivity smaller than that of the resistor 901 a, for example, Cu.
  • the Cu is also contained in the bonding portion 901c.
  • Cu has a high TCR (temperature coefficient of resistance) compared to the metal constituting the resistor 901 a. Therefore, in order to improve the current detection accuracy, it is preferable to connect the bonding wire 41 in the vicinity of the end of the resistor 901 a and to reduce Cu between the bonding wires 41 as much as possible. That is, it is preferable to make the electrode 901 b and the bonding portion 901 c existing between the bonding wires 41 as small as possible.
  • the surface of the joint and its periphery are contaminated by spatter, fumes and the like. Also, the surface of the joint and its surroundings are rough. For this reason, in order to ensure bondability, it is necessary to provide a predetermined gap to the joint and connect the bonding wire.
  • the width of the bonding portion 901c is wider at the beam irradiation surface than at the non-irradiation surface of the beam.
  • the beam irradiation surface has a greater effect of sputtering, fumes, etc. on the surface of the bonding portion 901c and its periphery.
  • the irradiated surface of the beam is larger in the rough portion in the bonding portion 901c and the periphery thereof. That is, the portion with a large surface roughness becomes wide. Therefore, when the beam irradiation surface and the bonding surface coincide with each other, the gap must be increased.
  • the width W1 on the upper surface 901e side is smaller than the width W2 on the lower surface 901f side. Therefore, even if a predetermined gap is provided for the bonding portion 901c, the bonding wire 41 can be connected near the end of the resistor 901a.
  • the configuration of W1 ⁇ W2 is realized by irradiating the beam from the lower surface 901f side.
  • the upper surface 901 e is not a beam irradiation surface, and therefore the influence of sputtering and fumes can be reduced as compared to the lower surface 901 f.
  • the portion with large surface roughness can be made smaller. Thereby, the gap with respect to the bonding portion 901c can be reduced.
  • the bonding wire 41 can be connected closer to the end of the resistor 901 a. That is, the detection accuracy of the current can be improved. In the current detection device including the shunt resistor 901 and the bonding wire 41, the detection accuracy of the current can be improved. Further, in the upper surface 901e, which is the suction surface at the time of transportation, the portion having a large surface roughness including the bonding portion 901c is small, so the shunt resistor 901 can be easily suctioned and transported.
  • the mark 901 d is formed on the upper surface 901 e. Therefore, the bonding wire 41 can be accurately connected to the predetermined position using the mark 901 d as a position reference. Thereby, the variation in bonding position can be reduced, and the current detection accuracy can be further enhanced.
  • the structure which does not have the mark 901d is also employable.
  • each of the pair of bonding wires 41 may be connected to the resistor 901a.
  • the upper surface 901e which is the non-irradiated surface of the beam, can reduce the effects of sputtering and fumes as compared to the lower surface 901f. Therefore, the bonding wire 41 can be connected near the end of the resistor 901a, more specifically, near the bonding portion 901c. As a result, while the bonding wire 41 is connected to the resistor 901a, it is possible to suppress a decrease in the detection voltage range (dynamic range). In addition, the influence of the TCR can be eliminated, whereby the current detection accuracy can be improved.
  • one bonding wire 41 may be connected to the electrode 901b, and the other bonding wire 41 may be connected to the resistor 901a.
  • the width of the connection portion 91 of the shunt resistor 901 is shorter than the width of the source electrode 72 of the switching element 70. If the width of the source electrode 72 is equal to or larger than the width of the connection portion 91 of the shunt resistor 901, the change in the width of the connection portion 91 in the shunt resistor 901 can be taken even if the chip size of the switching element 70 changes. be able to. That is, the upper bottom 92 including the resistor 901a, the joint 901c, and part of the electrode 901b may not be changed. Therefore, the design of shunt resistor 901 can be made common.
  • FIG. 28 shows, for example, a case where a current flows from the output terminal 63P1 to the negative electrode terminal 63E1 via the switching element 700L, the shunt resistor 901, and the wiring portion 621.
  • the broken line arrow indicates the current flowing toward the drain electrode of the switching element 700L
  • the solid line arrow indicates the current flowing from the source electrode 72 of the switching element 700L toward the negative electrode terminal 63E1.
  • the shunt resistor 901 is disposed such that the extending direction of the shunt resistor 901 is the X direction. Further, the output terminal 63P1 is drawn outward with respect to the island 612 in an oblique direction, and is extended in the Y direction at the end of the output terminal 63P1.
  • the current flowing through the shunt resistor 901 has a component in the opposite direction to the current flowing through the obliquely extended portion of the output terminal 63P1. Therefore, the mutual inductance of the shunt resistors 901 and hence the ESL can be reduced, thereby enhancing the detection accuracy.
  • the ESL can be reduced while suppressing the complication of the wiring structure, that is, the increase in size of the semiconductor module 40.
  • the bus bar 27 and the rotating electrical machine unit 10 are included.
  • a current loop is formed.
  • the current loop can be made smaller compared to the configuration having the upper and lower arms for one phase in the semiconductor module. This can reduce the radiation noise.
  • FIG. 29 the sealing resin body 50 and the bonding wire 41 are omitted.
  • the broken line arrows shown in FIG. 29 indicate the current paths at the timing when the switching elements 700H and 701L are turned on and the switching elements 700L and 701H are turned off.
  • the switching elements 700H and 700L constituting the first upper and lower arms, the positive electrode terminal 63B1, the negative electrode terminal 63E1, and the output terminal 63P1 are formed by the islands 611 and 612, the wiring portions 620 and 621, the clip 900, and the shunt resistor 901
  • the lines S1 are connected to each other.
  • the switching elements 700H and 700L are connected in series between the batteries by the wiring S1.
  • the switching elements 701H and 701L constituting the second upper and lower arms, the positive electrode terminal 63B2, the negative electrode terminal 63E2, and the output terminal 63P2 are formed by the islands 613 and 614, the wiring portions 622 and 623, the clip 900, and the shunt resistor 901.
  • the interconnections S2 are connected to each other.
  • the switching elements 701H and 701L are connected in series between the batteries by the wiring S2.
  • a conductive member having a permeability higher than that of the sealing resin body 50 is disposed in a region sandwiched by the wires S1 and S2, unlike the wires S1 and S2.
  • the island 610 of the drive unit 80 is disposed as a conductive member.
  • An eddy current is generated in the conductive member by the current loop.
  • the magnetic field generated by the eddy current is generated in the direction that prevents the magnetic field generated by the current loop including the bus bar 27 and the rotating electrical machine unit 10. Thereby, radiation noise can be effectively reduced.
  • the direction of the magnetic field shown on the islands 611 and 613 is due to the current loop
  • the direction of the magnetic field shown on the conductive member (island 610) is due to the eddy current.
  • the arrangement of the main terminals 63 is not particularly limited as long as the island 610 can be arranged in the region sandwiched by the wirings S1 and S2.
  • the positive electrode terminals 63B1 and 63B2 and the negative electrode terminals 63E1 and 63E2 protrude from the side surface 50c of the sealing resin body 50, and the output terminals 63P1 and 63P2 protrude from the opposite side surface 50d.
  • the island 610 is disposed between the wirings S1 and S2 in the X direction. Therefore, the effect of canceling the magnetic field of the current loop can be enhanced by the eddy current. Further, the connection structure with the bus bar 27 can be simplified.
  • positioned is used as a conductive member.
  • the configuration can be simplified and the size of the semiconductor module 40 can be reduced as compared with the configuration using another conductive member with the island 610.
  • the signal terminal 640 of the ground potential is connected to the island 610, and the island 610, which is a conductive member, is grounded. Thereby, the potential fluctuation of the island 610 can be suppressed. And an electric field component can be suppressed and radiation noise can be reduced further.
  • the example of the island 610 is shown as a conductive member, it is not limited to this. Any conductive member having higher permeability than the sealing resin body 50 can be employed.
  • the lead frame 60 before the tie bar cut includes the tie bar 66, the outer frame 67, in addition to the island 61, the wiring portion 62, the main terminal 63, the signal terminal 64, and the dummy terminal 65 described above.
  • a connecting portion 68 is provided.
  • the outer frame 67 has a substantially rectangular ring shape in the XY plane, and a plurality of through holes for positioning the lead frame 60 are provided.
  • the tie bar 66 is provided on the side of the positive electrode terminals 63B1 and 63B2 and the negative electrode terminals 63E1 and 63E2 in the Y direction, the first stage tie bar 660a near the island 61 and the second stage provided at a position farther from the island 61 than the tie bar 660a.
  • the tie bar 66 has a first stage tie bar 661a near the island 61 and a second stage tie bar 661b provided at a position farther from the island 61 than the tie bar 661 on the output terminals 63P1 and 63P2 and the signal terminal 64 side. doing.
  • Each of the tie bars 66 is connected to the outer frame 67 at both ends in the X direction.
  • the tie bar 660a connects the positive electrode terminals 63B1 and 63B2 and the negative electrode terminals 63E1 and 63E2 to the outer frame 67.
  • the tie bar 660a is connected to each of the positive electrode terminals 63B1 and 63B2 and the negative electrode terminals 63E1 and 63E2 at a position closer to the island 61 than the narrow portion 63a.
  • the tie bars 660 a extend in a straight line along the X direction.
  • the islands 611 and 613 and the wiring portions 620 and 622 in which the clip 900 which is the bridging member 90 is disposed are connected to the tie bar 660a by corresponding positive terminals 63B1 and 63B2 and dummy terminals 65.
  • the wiring portions 620 and 622 are connected to the tie bar 660 a by the dummy terminals 65.
  • the tie bar 660b is connected to each of the positive electrode terminals 63B1 and 63B2 and the negative electrode terminals 63E1 and 63E2 at a position farther from the island 61 than the narrow portion 63a and closer to the connection portion with the bus bar 27 There is.
  • the tie bar 660b is connected to the end of the wide portion adjacent to the narrow portion 63a.
  • the positive electrode terminals 63B1 and 63B2 and the negative electrode terminals 63E1 and 63E2 are located at the same positions as the start points of extension from the islands 611 and 613 and the wiring portions 621 and 623, respectively.
  • the tie bar 660a has a portion extending in the X direction and a portion extending in the Y direction.
  • the portions connected to the positive electrode terminals 63B1 and 63B2 are closer to the island 61 in the Y direction than the portions connected to the negative electrode terminals 63E1 and 63E2.
  • An extending portion in the Y direction is disposed between the positive electrode terminal 63B1 and the negative electrode terminal 63E1, and between the positive electrode terminal 63B2 and the negative electrode terminal 63E2.
  • the tie bars 660a and 660b are connected to the outer frame 67 also in the Y direction by the connecting portion 68.
  • the connecting portion 68 is connected to the tie bar 660 a and the tie bar 660 b at a position between the positive electrode terminal 63 B 1 and the dummy terminal 65 connected to the island 611.
  • Another connecting portion 68 is connected at a position between the positive electrode terminal 63B2 connected to the island 613 and the dummy terminal 65.
  • Two connecting portions 68 are disposed between the positive electrode terminals 63B1 and 63B2.
  • Another connecting portion 68 is connected to the tie bar 660 a and the tie bar 660 b at a position between the positive electrode terminal 63 B 1 and the dummy terminal 65 connected to the wiring portion 620.
  • Another connecting portion 68 is connected to the tie bar 660 a and the tie bar 660 b at a position between the positive electrode terminal 63 B 2 and the dummy terminal 65 connected to the wiring portion 622.
  • Each of the connecting portions 68 extends in the Y direction, one end thereof is connected to the tie bar 660 a, and the other end is connected to the outer frame 67.
  • the tie bar 661a connects the output terminals 63P1 and 63P2 and the signal terminal 64 to the outer frame 67.
  • the tie bars 661a extend in a straight line along the X direction.
  • the tie bar 661a is connected to a position closer to the island 61 than the narrow portion 63a of the output terminals 63P1 and 63P2 and the crank portion 64a of the signal terminal 64.
  • the islands 612 and 614 and the wiring portions 621 and 623 in which the shunt resistor 901 which is the bridging member 90 is disposed the islands 612 and 614 are connected to the tie bar 661a by the corresponding output terminals 63P1 and 63P2 and the signal terminal 641.
  • the wiring portions 622 and 623 are connected to the tie bar 661 a by the dummy terminal 65.
  • the tie bar 661b is connected to a position farther from the island 61 than the narrow portions 63a of the output terminals 63P1 and 63P2 and the crank portion 64a of the signal terminal 64 and closer to a connection portion with the bus bar 27 and the wiring board 22 It is done.
  • the tie bars 661b extend in a straight line along the X direction.
  • the second tier tie bars 660b and 661b are wider than the first tier tie bars 660a and 661a. Since the width of the tie bars 660a and 661a is narrow, the tie bars 660a and 661a do not obstruct the bending of the main terminals 63 and the signal terminals 64, and the size of the semiconductor module 40 can be miniaturized. In addition, dimensional deviation at the time of tie bar cutting can be reduced. On the other hand, since the width of the tie bars 660 b and 661 b is wide, the rigidity can be improved thereby, and the deformation of the tie bars 66 can be suppressed at the time of molding the sealing resin body 50. Therefore, the positional accuracy of the main terminal 63 and the signal terminal 64 can be improved. In particular, the positional accuracy of the signal terminal 64 can be improved.
  • connection parts with the outside in the main terminal 63 and the signal terminal 64 are not connected with the outer frame 67, and are free.
  • the main terminals 63 and the signal terminals 64 are separated from the outer frame 67 when the lead frame 60 is punched out of a metal plate.
  • the tip of the signal terminal 64 is swaged as shown in FIG. 6, FIG. 14, and FIG.
  • the tip of the signal terminal 64 is crushed by swaging to have a slope, and has a quadrangular pyramid shape.
  • the signal terminals 64 can be efficiently inserted into and mounted on the wiring board 22. It is possible to crush the burrs by swaging.
  • the dummy terminals 65 disposed adjacent to the signal terminals 64 are extended in the Y direction and connected to the outer frame 67, as shown in FIG. As a result, the number of hanging points with the outer frame 67 increases, so that deformation of the tie bars 661a and 661b can be suppressed at the time of molding. Therefore, the positional accuracy of the output terminals 63P1 and 63P2 and the signal terminal 64 can be improved. In particular, the positional accuracy of the signal terminal 64 can be improved.
  • the bridging member 90 connects the island 61 and the wiring portion 62 via the switching element 70.
  • One of the clips 900 is disposed on the island 611 and the wiring portion 620.
  • Another clip 900 is disposed on the island 613 and the wiring portion 622.
  • One of the shunt resistors 901 is disposed on the island 612 and the wiring portion 621.
  • Another shunt resistor 901 is disposed on the island 614 and the wiring portion 623.
  • a portion where the bridging member 90 is disposed in other words, a projected portion from the Z direction is indicated by a broken line.
  • An arrangement portion 60a of the bridge member 90 in the island 61 and an arrangement portion 60b of the bridge member 90 in the wiring portion 62 in which the same bridge member 90 is arranged are arranged side by side in the X direction. That is, the arranging direction of the placement parts 60a and 60b with respect to the same bridging member 90 is the same as the extending direction of the first stage tie bars 660a and 661a to which the island 61 and the wiring part 62 are connected.
  • the arranging direction of the first stage tie bar marks 66a arranged on the same side with respect to the island 61 and the extending direction of the bridging members 90 are made the same direction (X direction). There is.
  • FIG. 31 compares this embodiment with a reference example.
  • r is added to the end of the reference numerals of the relevant elements of this embodiment.
  • the extending direction of the tie bars 660a and 661a and the extending direction of the bridging member 90 substantially coincide with each other.
  • the extending direction of the tie bars 660ar and 661ar and the extending direction of the bridging member 90r are substantially orthogonal to each other.
  • the maximum length from the tie bar 66 to the bridging member 90 is made longer in the direction orthogonal to the extending direction of the tie bar 66 as compared to the arrangement in which the arrangement is orthogonal. Can.
  • the island 61 and the wiring portion 62 in contact with the molding die are easily bent.
  • the islands 611 to 614 and the wiring portions 62 corresponding to a plurality of phases are provided, height variations easily occur in the islands 611 to 614 and the wiring portions 62 in the Z direction.
  • the islands 611 to 614 and the wiring portion 62 are brought into contact with the molding die in order to expose the heat radiating surfaces 611a to 614a and 620a to 623a from the back surface 50b, height variations occur. Even if it does, the island 61 and the wiring part 62 can relieve stress. Therefore, the stress acting on the junctions between the islands 611 to 614 and the corresponding switching elements 70 can be reduced.
  • the length of the tie bar 66 is also longer in the X direction.
  • at least one of the islands 611 to 614 and the wiring portion 62 which is the arrangement target of the bridging member 90, is connected to the same tie bar 66 at a plurality of places.
  • the islands 611 to 614 are connected to the same tie bar 66 at two places respectively. According to this, it is possible to suppress the deformation of the tie bar 66 at the time of molding the sealing resin body 50. By suppressing the tie bar deformation, it is possible to reduce the stress acting on the junction between the islands 611 to 614 and the corresponding switching element 70.
  • the islands 611 and 613 are connected to the tie bar 660 a by the corresponding positive electrode terminals 63 B 1 and 63 B 2 and to the tie bar 660 a by the dummy terminal 65.
  • the dummy terminal 65 narrower than the main terminal 63, it is possible to suppress an increase in physical size of the lead frame 60 while suppressing the deformation of the tie bar 660a.
  • the dummy terminals 65 connected to the islands 611 and 613 are connected to the outer frame 67 in the Y direction by the connecting portion 68. Also by this, the rigidity can be improved and the deformation of the tie bars 660a and 660b can be suppressed. In addition, since the connecting portion 68 does not provide an electrical connection function, welding to the bus bar 27 is not affected even if it is separated from the outer frame 67 at the time of tie bar cutting.
  • the islands 612 and 614 are connected to the tie bars 661a and 661b by the corresponding output terminals 63P1 and 63P2 and the signal terminal 641.
  • the signal terminal 641 narrower than the main terminal 63, it is possible to suppress an increase in physical size of the lead frame 60 while suppressing the deformation of the tie bars 661a and 661b.
  • the island 61 and the wiring portion 62 in which the same bridging member 90 is disposed are connected to different tie bars 660a and 661a. According to this, the island 61 and the wiring portion 62 are both suspended with respect to the tie bar 66. Therefore, deformation of the tie bar 66 can be suppressed at the time of molding.
  • the extending direction of the bridging member is the Y direction
  • shear stress in the X direction acts on the joint portion of the switching element 70 due to tie bar deformation in the both suspension structure.
  • the extending direction of the bridging member 90 is the same X direction as the tie bar 66, shear stress can be suppressed.
  • the islands 612 and 614 in which the shunt resistor 901 is disposed are connected to the tie bar 661 a by the corresponding output terminals 63P1 and 63P2 and the signal terminal 640, and via the wiring portions 620 and 622 and the dummy terminals 65 connected to the islands 612 and 614. It is connected to a tie bar 660a.
  • the wiring portions 621 and 623 in which the shunt resistor 901 is disposed are connected to the tie bars 660a and 660b via the corresponding negative terminals 63E1 and 63E2, and are connected to the tie bar 661a via the dummy terminals 65.
  • the islands 612 and 614 and the wiring portions 621 and 623 in which the shunt resistor 901 is disposed are both suspended.
  • FIG. 32 shows a modification of the semiconductor module 40.
  • the signal terminal 64 is omitted, and the sealing resin body 50 and the main terminal 63 are illustrated in a simplified manner.
  • the positive electrode terminal 63B1 and the negative electrode terminal 63E1, and the positive electrode terminal 63B2 and the negative electrode terminal 63E2 protruding from the same side surface 50c are arranged in proximity to each other in the X direction.
  • the capacitor 44 is disposed on one of the surface 50a and the back surface 50b of the sealing resin body 50, and the capacitor 44 is connected to the positive electrode terminals 63B1 and 63B2 and the negative electrode terminals 63E1 and 63E2.
  • a capacitor 44 for the snubber circuit is employed, and two capacitors 44 are disposed on the one surface 50a.
  • Recesses 55 which are also open to the side surface 50c are formed in two places on the one surface 50a, and the capacitors 44 are individually disposed in each of the recesses 55.
  • the leads 44a of the capacitor 44 are connected to the positive electrode terminal 63B1 and the negative electrode terminal 63E1, respectively.
  • the leads 44a of another capacitor 44 are connected to the positive electrode terminal 63B2 and the negative electrode terminal 63E2, respectively. According to this, the capacitor 44 can be integrated without increasing the physique in the XY plane.
  • a smoothing capacitor may be disposed instead of the capacitor 44 for the snubber circuit.
  • FIG. 33 shows a modification of the semiconductor module 40.
  • the drive unit 80 has a current detection circuit that detects the current of each phase.
  • the low potential of the shunt resistor 901 is input to the pad 81 of the drive unit 80 through the bonding wire 41, the signal terminal 64, and the bonding wire 41.
  • the switching element 701 L side is also configured the same. According to the above, the length of the bonding wire 41 connected to the shunt resistor 901 can be shortened. For example, generation of defects in bonding wire 41 can be suppressed during molding.
  • the signal terminal 64 corresponding to the low potential side of the shunt resistor 901 is formed by connecting two signal terminals 64 by a connecting portion extending in the X direction.
  • the high potential of the shunt resistor 901 input to the drive unit 80 is substituted by the source potential of the switching element 700L.
  • Second Embodiment This embodiment can refer to the preceding embodiments. Therefore, the description of the portions common to the rotating electrical machine 1 and the semiconductor module 40 shown in the preceding embodiment is simplified or omitted.
  • the rotating electrical machine 1 of the present embodiment also includes the rotating electrical machine unit 10 and the control device unit 20 for controlling the rotating electrical machine unit 10, and the control device unit 20 is a controlled object. Integrated with 10
  • the rotating electrical machine unit 10 functions as a generator (alternator) that generates electric power for charging the battery by being supplied with driving force from the engine.
  • the rotating electrical machine unit 10 includes a housing 11, a stator 12, a rotor 13, a pulley 14, a slip ring 15, and a brush 16 as in the first embodiment.
  • the housing 11 accommodates the stator 12 and the rotor 13 and rotatably supports the rotor 13.
  • a control device unit 20 is fixed to the rear side in the axial direction of the housing 11.
  • the stator 12 has a stator core 120 and a stator winding 121.
  • the stator winding 121 has a stator winding 121a consisting of three-phase windings of U-phase, V-phase and W-phase, and X-phase, Y-phase and Z-phase.
  • a stator winding 121b consisting of three-phase windings.
  • the stator windings 121a and 121b are arranged offset from each other by a predetermined electrical angle (for example, 30 degrees).
  • the rotor 13 is rotated by the driving force supplied from the engine, and the generated magnetic flux is interlinked with the stator winding 121, whereby the stator winding 121 generates an alternating current.
  • the rotor 13 has a rotor core 130, a rotor winding 131, a fan 132, and a rotating shaft 133, as in the first embodiment.
  • the pulley 14 is connected to a portion of the rotating shaft 133 that protrudes forward from the housing 11 and rotates with the rotating shaft 133.
  • the slip ring 15 is fixed to an outer peripheral surface of a portion of the rotation shaft 133 which protrudes rearward from the housing 11 via an insulating member.
  • the slip ring 15 is connected to the rotor winding 131 via a wire.
  • the brush 16 is pressed to the rotary shaft 133 side in the radial direction, for example, by a spring, and is in contact with the outer peripheral surface of the slip ring 15.
  • the brush 16 is held by a brush holder 160. Direct current is supplied to the rotor winding 131 via the brush 16 and the slip ring 15.
  • control unit 20 In order to charge the battery, control unit 20 converts the power generated by rotating electrical machine 10 into direct current, and supplies the power to the battery.
  • the control device unit 20 includes a regulator (not shown) and a rectifier circuit unit 30 shown in FIG.
  • the regulator controls the direct current supplied to the rotor winding 131 to maintain the voltage at a predetermined voltage suitable for charging the battery.
  • the rectifying circuit unit 30 rectifies the alternating current supplied from the rotating electrical machine unit 10 by the switching element 70 and converts it into direct current.
  • the configuration of the rectifier circuit unit 30 is the same as that of the inverter circuit unit 23 shown in the first embodiment.
  • the rectifier circuit unit 30 is configured of three semiconductor modules 40.
  • Each semiconductor module 40 has a plurality of switching elements 70 constituting upper and lower arms for two phases. Also in the present embodiment, an n-channel MOSFET is employed as the switching element 70.
  • the first semiconductor module 40 constitutes upper and lower arms of U phase and V phase
  • the second semiconductor module 40 constitutes upper and lower arms of W phase and X phase
  • the third semiconductor A module 40 constitutes upper and lower arms of Y phase and Z phase.
  • Each arm is constituted by one switching element 70, and each of the semiconductor modules 40 has four switching elements 70.
  • the semiconductor module 40 includes the switching element 700H on the upper arm side and the switching element 700L on the lower arm side constituting the first upper and lower arms, and the switching element 701H on the upper arm side and the lower arm side constituting the second upper and lower arm.
  • Each has a switching element 701L. Switching elements 700H and 700L are connected in series, and switching elements 701H and 701L are connected in series.
  • the control device unit 20 includes power assemblies PA1, PA2 and PA3 constituting the rectifier circuit unit 30, and a cover 31.
  • the power assembly PA1 includes a semiconductor module 40, a heat sink 24, and a bus bar assembly BA1 including a bus bar 27.
  • the power assembly PA2 includes a semiconductor module 40, a heat sink 24, and a bus bar assembly BA2 including a bus bar 27.
  • the power assembly PA3 includes a semiconductor module 40, a heat sink 24, and a bus bar assembly BA3 including a bus bar 27.
  • the heat sink 24 of each of the power assemblies PA1, PA2, PA3 dissipates the heat generated by the corresponding semiconductor module 40.
  • switching elements 700H and 700L constitute U-phase upper and lower arms, and switching elements 701H and 701L constitute V-phase upper and lower arms.
  • the switching elements 700H and 700L constitute W-phase upper and lower arms, and the switching elements 701H and 701L constitute X-phase upper and lower arms.
  • the switching elements 700H and 700L constitute Y-phase upper and lower arms, and the switching elements 701H and 701L constitute Z-phase upper and lower arms.
  • the bus bar assemblies BA1, BA2, BA3 are a collection of bus bars 27 for wiring the corresponding semiconductor modules 40.
  • positive electrode bus bar 27B, negative electrode bus bar 27E, and output bus bars 27P1 and 27P2 for wiring semiconductor module 40 are fixed to the same resin member by insert molding or the like.
  • the positive electrode bus bar 27B, the negative electrode bus bar 27E, and the output bus bars 27P1 and 27P2 are integrated by resin in a state where a predetermined distance is left.
  • the positive electrode bus bar 27B and the negative electrode bus bar 27E are stacked and arranged via a resin.
  • the positive electrode bus bar 27B is connected to the drain electrodes of the switching elements 700H and 701H on the upper arm side.
  • the negative bus bar 27E is connected to the source electrodes of the switching elements 700L and 701L on the lower arm side.
  • the output bus bar 27P1 is connected to the connection point of the switching elements 700H and 700L.
  • the output bus bar 27P2 is connected to the connection point of the switching elements 701H and 701L.
  • semiconductor module 40 is fixed to corresponding bus bar assemblies BA1, BA2 and BA3 in a state of being connected to bus bar 27. Further, the heat sink 24 is fixed to the heat dissipation surface side of the semiconductor module 40.
  • the power supply terminal 32 is integrated only in the power assembly PA1. As shown in FIGS. 37 and 38, the power assembly PA1 includes a power supply terminal 32 and a fixing member 33 in addition to the semiconductor module 40, the heat sink 24, and the bus bar assembly BA1.
  • a wire from the positive electrode of the battery is connected to the power supply terminal 32.
  • the power supply terminal 32 is fixed to the bus bar assembly BA1 by a fixing member 33.
  • the power supply terminal 32 is fixed to the fixing member 33 by a nut 34.
  • the fixing member 33 is integrated with the positive electrode bus bar 27B, the negative electrode bus bar 27E, and the output bus bars 27P1 and 27P2 with resin in a state of being in contact with the positive electrode bus bar 27B.
  • the power assemblies PA1, PA2, PA3 are arranged in a substantially U-shape at the axial rear end of the housing 11 of the rotary electric machine 10 so as to surround the rotary shaft 133. Specifically, around the rotation axis 133, the power assembly PA1, the power assembly PA2, and the power assembly PA3 are arranged in this order. And as shown in FIG. 37, it is fixing to the housing 11 by the volt
  • the positive electrode bus bars 27B are connected to each other in the adjacent power assemblies PA1 and PA2, and the positive electrode bus bars 27B are connected to each other in the adjacent power assemblies PA2 and PA3.
  • the negative bus bars 27E are connected to each other, and in the adjacent power assemblies PA2 and PA3, the negative bus bars 27E are connected to each other.
  • the negative bus bar 27E of the power assembly PA1 is connected to the housing 11 fixed to the vehicle body, and is connected to the negative electrode of the battery via the vehicle body.
  • output bus bar 27P1 is connected to the U phase of stator winding 121a, and output bus bar 27P2 is connected to the V phase of stator winding 121a.
  • output bus bar 27P1 is connected to the W phase of stator winding 121a, and output bus bar 27P2 is connected to the X phase of stator winding 121b.
  • output bus bar 27P1 is connected to the Y phase of stator winding 121b, and output bus bar 27P2 is connected to the Z phase of stator winding 121b.
  • the cover 31 is a resin member that covers the power assemblies PA1, PA2, and PA3.
  • the cover 31 is fixed to the housing 11 so as to cover the power assemblies PA1, PA2, and PA3 in a state in which a part of the power supply terminal 32 is exposed to the outside.
  • the stator windings 121a and 121b are alternating current (3 Phase exchange).
  • the rectifier circuit unit 30 is controlled by the drive unit 80 and rectifies alternating current supplied from the stator winding 121 via the output bus bars 27P1 and 27P2.
  • the drive unit 80 controls the on / off of the switching element 70 to sequentially switch the current flow direction to rectify alternating current.
  • alternating current is rectified by the parasitic diode.
  • the direct current converted by the rectifier circuit unit 30 is supplied to the battery. Thereby, the battery is charged by the power generated by the rotating electrical machine unit 10.
  • the semiconductor module 40 As shown in FIGS. 39 to 53, the semiconductor module 40 according to the present embodiment also includes the sealing resin body 50, the lead frame 60, the switching element 70, the driving unit 80, and the bridging member 90.
  • the sealing resin body 50 is not shown.
  • the lead frame 60 before tie bar cutting is shown.
  • the bonding wire 41 is omitted for the sake of convenience.
  • the sealing resin body 50 has substantially the same configuration as that of the first embodiment.
  • This sealing resin body 50 is also molded by a transfer molding method using, for example, an epoxy resin.
  • the sealing resin body 50 has one surface 50a and a back surface 50b, which are surfaces in the Z direction, and a side surface.
  • the bus bar assemblies BA1, BA2, and BA3 corresponding to the one surface 50a side are disposed, and the heat sink 24 is disposed on the back surface 50b side.
  • side surfaces 50c and 50d from which the main terminal 63 and the signal terminal 64 protrude are provided.
  • a pin mark 53 derived from an ejector pin and a gate mark 54 of a mold are provided on the one surface 50a.
  • a pin mark 53 is provided on the back surface 50b.
  • the islands 611 and 613 are integrated by the connecting portion 615.
  • the notch 615b is provided in the connection part 615, and it enables it to arrange
  • the notches 615 b are respectively provided on both sides of the connecting portion 615 in the Y direction. As a result, the ejector pins are disposed in a well-balanced manner in the XY plane, and in particular, the releasability around the islands 611 and 613 can be improved.
  • the lead frame 60 also includes an island 61, a wiring portion 62, a main terminal 63 and a signal terminal 64 which are terminals for external connection, and a dummy terminal 65.
  • the lead frame 60 is substantially line symmetrical with respect to the center in the X direction except for the arrangement of the signal terminals 64. In FIG. 53, the center of the lead frame 60 in the X direction is indicated by an alternate long and short dash line.
  • the island 61 has islands 610 to 614.
  • the drive unit 80 is disposed on the island 610, and the switching elements 700H, 700L, 701H, and 701L are individually disposed on the islands 611, 612, 613, and 614.
  • the five islands 610 to 614 have substantially the same thickness and are arranged in the same plane in the Z direction.
  • the areas of the islands 611 to 614 along the XY plane are substantially equal to one another.
  • the heat radiation surfaces 610 a to 614 a of the islands 610 to 614 are exposed from the back surface 50 b of the sealing resin body 50.
  • the heat can be dissipated efficiently from the heat dissipation surfaces 610a to 614a.
  • the portion of the island 61 excluding the heat radiation surfaces 610a to 614a is sealed by a sealing resin body 50.
  • convex portions are provided on the side surfaces of each of the islands 61 in order to suppress peeling of the sealing resin body 50.
  • the island 610 has a substantially rectangular planar shape.
  • the drive unit 80 is disposed closer to the signal terminal 64 in the Y direction with respect to the island 610.
  • the island 610 has a non-arranged portion 610 c which is a portion where the drive portion 80 is not arranged on the opposite side to the signal terminal 64, ie, the islands 611 and 613 side. There is.
  • the non-arranged portion 610c can be pressed by a clamp jig (not shown).
  • the island 610 can be stabilized, and the bondability can be improved.
  • the pads 81 are concentrated on three sides of the drive unit 80 having a substantially rectangular planar shape, and the pads 81 on the side opposite to the signal terminal 64 are reduced. There is. In particular, the central pads 81 on the sides are reduced. Therefore, the island 610 can be clamped without disturbing the bonding wire 41.
  • the islands 611 to 614 are disposed around the island 610.
  • the islands 612 and 614 are provided to sandwich the island 610 in the X direction.
  • the islands 612 and 614 both have a substantially rectangular planar shape.
  • the islands 612 and 614 each have a predetermined gap with the island 610 in the X direction.
  • Two bonding wires 41 are connected to the islands 612 and 614, respectively.
  • the bonding wire 41 is connected to the end on the side of the island 610 in the islands 612 and 614, which is opposite to the end on the side of the signal terminal 64.
  • the islands 611 and 613 are provided on the side opposite to the signal terminal 64 in the Y direction with respect to the island 610.
  • the islands 611 and 613 are arranged side by side in the X direction with a predetermined gap.
  • the islands 611 and 613 both have a substantially rectangular planar shape.
  • the island 611 faces the islands 610 and 612 in the Y direction.
  • the island 613 faces the islands 610 and 614 in the Y direction.
  • the islands 611 and 613 are integrated by the connecting portion 615 as an island 61 on the upper arm side.
  • the connecting portion 615 extends in the X direction, and is disposed between the islands 611 and 613.
  • One end of the connecting portion 615 is continuous with the end of the island 611 on the island 613 side, and the other end is continuous with the end of the island 613 on the island 611 side.
  • the connecting portion 615 has substantially the same thickness as the islands 611 and 163, and is disposed in the same plane in the Z direction.
  • the heat release surface 615a opposite to the switching elements 700H and 701H is exposed from the back surface 50b of the sealing resin body 50.
  • the heat of the switching elements 700H and 701H can be dissipated from the heat dissipation surface 615a.
  • notches 615b are provided at both ends in the Y direction, whereby the connecting portion 615 is continuous with the centers of the end portions of the islands 611 and 613.
  • the notches 615 b have substantially the same depth on both sides, and the islands 611 and 613 including the connecting portion 615 have a substantially H shape. That is, in the integrated islands 611 and 613 and the connecting portion 615, the middle connecting portion 615 is a narrow portion, and the islands 611 and 613 sandwiching the connecting portion 615 are a wide portion.
  • Two bonding wires 41 are connected to the connecting portion 615.
  • the islands 61 are arranged in line symmetry in the X direction.
  • the wiring unit 62 has a wiring unit 620 for connecting the islands 611 and 612, a wiring unit 621 for connecting the island 612 and the negative terminal 63E1, a wiring unit 622 for connecting the islands 613 and 614, and an island.
  • a wiring portion 623 for connecting the 614 and the negative electrode terminal 63E2 is provided.
  • the wiring portion 620 is connected to the end of the island 612 opposite to the signal terminal 64.
  • the wiring portion 620 is connected to the end of the island 612 opposite to the island 610 side.
  • the wiring portion 620 is extended in the Y direction, and its tip portion is arranged in parallel with the island 611 while having a predetermined gap with the island 611 in the X direction.
  • the wiring portion 620 is disposed outside the island 611 in the X direction.
  • an output terminal 63P1 is connected. That is, in the present embodiment, in the Y direction, the island 612 is connected to one end of the wiring portion 620, and the output terminal 63P1 is connected to the other end.
  • the island 612 side is a narrow portion
  • the output terminal 63P1 side is a wide portion.
  • the wiring portion 621 is connected to the negative electrode terminal 63E1.
  • the wiring portion 621 extends from the negative electrode terminal 63E1 in the Y direction, and its tip end portion is disposed side by side with the island 612 while having a predetermined gap with the island 612 in the X direction.
  • the wiring portion 621 is disposed outside the island 612 in the X direction.
  • the wiring portion 621 is opposed to the wide portion of the wiring portion 620 in the Y direction.
  • the wiring portion 622 is connected to the end of the island 614 opposite to the signal terminal 64.
  • the wiring portion 622 is connected to the end of the island 614 opposite to the island 610 side.
  • the wiring portion 622 is extended in the Y direction, and the tip portion thereof is disposed in parallel with the island 613 while having a predetermined gap with the island 613 in the X direction.
  • the wiring portion 622 is disposed outside the island 613 in the X direction.
  • an output terminal 63P2 is connected. That is, in the present embodiment, the island 614 is connected to one end of the wiring portion 622 in the Y direction, and the output terminal 63P2 is connected to the other end.
  • the island 614 side is a narrow portion
  • the output terminal 63P2 side is a wide portion.
  • the wiring portion 623 is connected to the negative electrode terminal 63E2.
  • the wiring portion 623 extends from the negative electrode terminal 63E2 in the Y direction, and its tip end portion is disposed side by side with the island 614 while having a predetermined gap with the island 614 in the X direction.
  • the wiring portion 623 is disposed outside the island 614 in the X direction.
  • the wiring portion 623 is opposed to the wide portion of the wiring portion 622 in the Y direction.
  • the wiring portion 621, the island 612, the island 610, the island 614, and the wiring portion 623 are sequentially arranged in the X direction. Further, at the positions of the islands 611 and 613 in the Y direction, the wiring portion 620, the island 611, the island 613, and the wiring portion 622 are arranged in this order in the X direction.
  • the wiring portions 62 are arranged in line symmetry in the X direction.
  • the heat radiation surfaces 620 a to 623 a of the wiring portions 620 to 623 are exposed from the back surface 50 b of the sealing resin body 50.
  • heat can be dissipated from the heat dissipation surfaces 620a to 623a.
  • the portions of the wiring portions 620 to 623 excluding the heat radiation surfaces 620 a to 623 a are sealed by the sealing resin body 50.
  • convex portions are provided on the side surfaces of the wiring portions 62 in order to suppress peeling of the sealing resin body 50.
  • the portions of the island 61 and the wiring portion 62 are thicker than the portions of the main terminal 63, the signal terminal 64, and the dummy terminal 65. Between the broken lines shown in FIG. 53 are thick portions.
  • the heat of the switching element 70 and the drive unit 80 can be dissipated efficiently.
  • warpage of the lead frame 60 caused by curing and shrinkage of the sealing resin body 50 can be suppressed.
  • the main terminals 63 and the signal terminals 64 are thin, punching and bending workability can be improved.
  • the signal terminals 64 can be narrowed in pitch.
  • the main terminal 63 has positive electrode terminals 63B1 and 63B2, negative electrode terminals 63E1 and 63E2, and output terminals 63P1 and 63P2, as in the first embodiment.
  • the positive electrode terminal 63B1 is continuous with the island 611 of the switching element 700H.
  • the positive electrode terminal 63B1 extends from the end of the island 611 opposite to the signal terminal 64 in the Y direction, protrudes from the side surface 50c of the sealing resin body 50, is bent outside the sealing resin body 50, and extends in the Z direction. It extends upward.
  • the positive electrode terminal 63B2 is connected to the island 613 of the switching element 701H.
  • the positive electrode terminal 63B2 extends from the end of the island 613 opposite to the signal terminal 64 in the Y direction, protrudes from the side surface 50c, is bent outside the sealing resin body 50, and extends upward in the Z direction.
  • the positive electrode terminals 63B1 and 63B2 are also integrated. As shown in FIGS. 39 and 53, the positive electrode terminals 63B1 and 63B2 each have a base 63Ba, a connection portion 63Bb, and a connection portion 63Bc. The positive electrode terminals 63B1 and 63B2 are integrated by the connecting portion 63Bd.
  • the base 63Ba is a portion connected to the corresponding island 611 or 613.
  • the base 63 ⁇ / b> Ba is continuous with the islands 611 and 613 at a position closer to the connecting portion 615 than the center in the X direction of the corresponding islands 611 and 613.
  • positive electrode terminal 63B1, B2 has a bending part in the middle of each base 63Ba.
  • the base portion 63Ba is extended in the Y direction before the tie bar cut, and in the state after the tie bar cut and forming, has a substantially L shape in the YZ plane.
  • connection portion 63Bb is a connection portion with the positive electrode bus bar 27B. While integrating the islands 611 and 613, the connecting portion 63Bb is divided into two. In the X direction, the distance between the connection portions 63Bb is longer than any of the distance between the base portions 63Ba and the distance between the switching elements 700H and 701H.
  • the connecting portion 63Bc connects the base portion 63Ba and the connecting portion 63Bb.
  • the connecting portion 63Bb is drawn outward in the X direction from the corresponding base portion 63Ba by the connecting portion 63Bc.
  • the connecting portion 63Bd connects the base portions 63Ba adjacent to each other in the X direction.
  • the connecting portion 63Bd extends in the X direction.
  • One end of the connecting portion 63Bd is connected to the base 63Ba on the positive electrode terminal 63B1 side, and the other end is connected to the base 63Ba on the positive electrode terminal 63B2 side.
  • the output terminal 63P1 is disposed on the outer side in the X direction with respect to the positive electrode terminal 63B1.
  • the output terminal 63P1 is connected to one end of the wiring portion 620 as described above.
  • the output terminal 63P1 extends in the Y direction, protrudes from the same side surface 50c as the positive electrode terminal 63B1, is bent outside the sealing resin body 50, and extends upward in the Z direction.
  • the output terminal 63P2 is connected to one end of the wiring portion 622 as described above.
  • the output terminal 63P2 is disposed on the outer side in the X direction with respect to the positive electrode terminal 63B2.
  • the output terminal 63P2 extends in the Y direction, protrudes from the side surface 50c, is bent outside the sealing resin body 50, and extends upward in the Z direction.
  • the positive electrode terminals 63B1 and 63B2 and the output terminals 63P1 and 63P2 are arranged in the order of the output terminal 63P1, the positive electrode terminal 63B1, the positive electrode terminal 63B2 and the output terminal 63P2 in the X direction.
  • the distance between the output terminal 63P1 and the positive electrode terminal 63B1 and the distance between the output terminal 63P2 and the positive electrode terminal 63B2 are shorter than the distance between the positive electrode terminals 63B1 and 63B2.
  • the distance here is the distance at the connection portion with the corresponding bus bar 27.
  • the positive electrode terminals 63B1 and 63B2 and the output terminals 63P1 and 63P2 are substantially L-shaped in the YZ plane.
  • the positive electrode terminals 63B1 and 63B2 and the output terminals 63P1 and 63P2 respectively have tie bar marks 66a and 66b as in the first embodiment.
  • the tie bar mark 66 a is a cut mark of the tie bar 660 a of the first stage
  • the tie bar mark 66 b is a cut mark of the tie bar 660 b of the second stage.
  • the positive electrode terminals 63B1 and 63B2 and the output terminals 63P1 and 63P2 have bent portions between tie bar marks 66a and 66b.
  • the negative electrode terminals 63E1 and 63E2 are disposed on the opposite side of the positive electrode terminals 63B1 and 63B2 and the output terminals 63P1 and 63P2 with the island 61 and the wiring portion 62 interposed therebetween.
  • the negative electrode terminal 63E1 extends in the Y direction, protrudes from the side surface 50d opposite to the positive electrode terminal 63B1, is bent outside the sealing resin body 50, and extends upward in the Z direction.
  • the negative electrode terminal 63E2 extends in the Y direction, protrudes from the side surface 50d, is bent outside the sealing resin body 50, and extends upward in the Z direction.
  • the negative electrode terminals 63E1 and 63E2 are also substantially L-shaped in the YZ plane.
  • the negative electrode terminal 63E1 is continued to the end of the wiring portion 621 on the signal terminal 64 side.
  • the negative electrode terminal 63E2 is continued to the end of the wiring portion 623 on the signal terminal 64 side.
  • the negative electrode terminals 63E1 and 63E2 are connected to the island 610 by the connecting portion 69.
  • the connecting portion 69 is extended in the X direction.
  • An island 610 is continuous at the center of the connecting portion 69 in the X direction.
  • the connecting portion 69 is continuous with the end of the island 610 on the signal terminal 64 side.
  • the negative electrode terminal 63E1 is connected to one end of the connecting portion 69, and the negative electrode terminal 63E2 is connected to the other end.
  • the connecting portion 69 is thin like the main terminal 63 and the signal terminal 64.
  • the width of the connecting portion 69 is narrower than the width of the signal terminal 64.
  • the connecting portion 69 is continuous on the inner side in the X direction and the wiring portions 621 and 623 corresponding to the outer side in the X direction are continuous.
  • the negative electrode terminals 63E1 and 63E2 are disposed on the signal terminal 64 side, and the connection portion 69 suspends the island 610 from the negative electrode terminals 63E1 and 63E2 on both sides in the X direction.
  • This arrangement can improve the retention strength of the island 610. Further, since the holding strength can be secured by the connecting portion 69, the number of the signal terminals 64 can be increased as compared with the structure reinforced by the dummy terminals.
  • the negative electrode terminals 63E1 and 63E2 also have tie bar marks 66a and 66b, respectively.
  • the tie bar mark 66a is a cut mark of the tie bar 661a of the first stage
  • the tie bar mark 66b is a cut mark of the tie bar 661 b of the second stage.
  • Negative electrode terminal 63E1, 63E2 has a bending part between tie bar mark 66a, 66b.
  • the semiconductor module 40 has two positive electrode terminals 63B1 and 63B2 and two negative electrode terminals 63E1 and 63E2. Therefore, even if welding failure occurs at one of the positive electrode terminals 63B1 and 63B2, for example, the other can maintain the electrical connection. Compared with the structure which has only one positive electrode terminal and one negative electrode terminal, it can suppress that switching element 70 etc. fail by welding detachment.
  • the plurality of signal terminals 64 are arranged side by side in the X direction.
  • signal terminals 642 and 643 for error notification and a test terminal 644 are provided as the signal terminals 64.
  • the signal terminal 642 is a terminal for notifying the other semiconductor modules 40 constituting the rectifier circuit unit 30 that the switching element 70 is abnormal.
  • the signal terminal 643 is a terminal for notifying the regulator of an abnormality of the switching element 70.
  • the signal terminals 642 and 643 extend in the Y direction, project from the side surface 50 d, are bent outside the sealing resin body 50, and extend upward in the Z direction.
  • the signal terminals 642 and 643 are substantially L-shaped in the YZ plane.
  • the test terminal 644 is used to test the rectifier circuit unit 30, for example, to inspect the electrical characteristics before shipping the product.
  • the test terminal 644 extends in the Y direction and protrudes from the side surface 50 d.
  • the test terminal 644 is extended to substantially the same position as the first stage tie bar mark 66 a in the Y direction. Therefore, the test terminal 644 does not have a bend.
  • the sixteen signal terminals 64 two are signal terminals 642 and 643 for error notification, and the remaining 14 are test terminals 644.
  • the second terminal from both ends is used as signal terminals 642 and 643.
  • a capacitor 45 for noise absorption is arranged between the adjacent test terminals 644.
  • the capacitor 45 is a ceramic chip capacitor.
  • the electrode of the capacitor 45 is connected to the test terminal 644 by the solder 42.
  • four capacitors 45 are arranged.
  • connection portions which are projecting tips of the signal terminals 642 and 643 protruding from the side surface 50d are connection portions 63Bb of the positive electrode terminals 63B1 and 63B2 protruding from the side surface 50c to the bus bar 27B and The positions where the output terminals 63P1 and 63P2 do not overlap with the connection portions with the bus bars 27P1 and 27P2 are set.
  • the signal terminals 642 and 643 can be welded from the side surface 50c using the welding electrode in a state where the semiconductor module 40 is placed so that the side surface 50d side is the lower side and the side surface 50c is the upper side. Therefore, the assemblability can be improved.
  • test terminals 644 is a terminal 644 a connected to the island 610 via the connecting portion 69.
  • the test terminal 644a is set to the ground potential (GND) at the time of test.
  • the test terminal 644 a is connected to the pad 81 of the drive unit 80 by the bonding wire 41. Since the bonding wire 41 does not have to straddle other potential portions, the occurrence of short circuit can be suppressed.
  • test terminal 644a in order to secure the ground potential, bonding is performed to the test terminal 644a, not to the connection portion 69 which is extended in the X direction and is flexible.
  • the test terminal 644a is connected to the tie bars 661a and 661b.
  • the test terminal 644 a is wider than the connecting portion 69 and wider than the other signal terminals 64. Therefore, the bondability can be improved while securing the ground potential.
  • a through hole 69a is provided in the connecting portion 69 between the island 610 and the test terminal 644a.
  • the through hole 69a is provided to straddle the test terminal 644a in the X direction.
  • the sealing resin body 50 passes through the through holes 69 a and is disposed on both sides of the thin-walled connecting portion 69.
  • the bonding wire 41 connected to the test terminal 644 a passes over the through hole 69 a and is connected to the pad 81. According to this, due to the lock hole effect, it is possible to suppress the exfoliation on the drive unit 80 side from progressing to the connection portion of the bonding wire 41 in the test terminal 644a. Therefore, the connection reliability of the bonding wire 41 can be improved.
  • the end on the side to which the bonding wire 41 is connected is in the XY plane It inclines to the drive part 80 side.
  • the length of the bonding wire 41 can be shortened for the signal terminal 64 at a position away from the drive unit 80. Therefore, at the time of molding of the sealing resin body 50, generation of defects in the bonding wire 41 can be suppressed. Further, by shortening the wire length, the connection strength of the bonding wire 41 can be improved. In addition, generation of resonance can be suppressed at the time of ultrasonic bonding.
  • all the signal terminals 64 are integrated between the negative terminals 63E1 and 63E2 which are the main terminals 63. Therefore, the arrangement space of the external connection terminal can be reduced in the X direction. That is, waste space can be reduced and the size of the semiconductor module 40 can be miniaturized.
  • connection portion of the bonding wire 41 is flat.
  • the connection portions of the bonding wires 41 at the islands 612 and 614, the connection portion 615, and the signal terminal 64 are all flattened by tapping. Thereby, the connection reliability of the bonding wire 41 can be improved. In addition, burrs can be hit and crushed to suppress foreign matter biting during bonding.
  • the dummy terminals 65 are extended in the Y direction and project two from the side surface 50 c of the sealing resin body 50.
  • One of the dummy terminals 65 is extended in the Y direction from the end of the wiring portion 620 opposite to the island 612.
  • An output terminal 63P1 connected to the same wiring portion 620 is disposed outside the dummy terminal 65 in the X direction.
  • Another dummy terminal 65 is extended in the Y direction from the end of the wiring portion 622 opposite to the island 614.
  • An output terminal 63P2 connected to the same wiring portion 622 is disposed outside the dummy terminal 65 in the X direction.
  • the dummy terminal 65 is extended to substantially the same position in the Y direction as the tie bar mark 66a of the positive electrode terminals 63B1 and 63B2 and the output terminals 63P1 and 63P2 in the state after the tie bar cut. Therefore, the dummy terminal 65 does not have a bend.
  • the width of the dummy terminal 65 is smaller than the width of the main terminal 63.
  • the switching element 70 has a vertical structure, and the pad 71 and the source electrode 72 are formed on the surface opposite to the island 61 as in the first embodiment. In addition, a temperature sensitive diode is integrally formed. As shown in FIGS. 45 and 47, the drain electrode of the switching element 70 is connected to the corresponding island 61 via the solder 42. Source electrode 72 is connected to corresponding bridge member 90 via solder 42.
  • the switching element 70 has a planar rectangular shape. As shown in FIGS. 48 and 53, the pad 71 is disposed along one side of the switching element 70, specifically, the side opposite to the drive unit 80.
  • the switching element 70 has three pads 71, which are arranged in order of a gate electrode, an anode of a temperature sensitive diode, and a cathode.
  • the switching elements 700H and 701H on the upper arm side are arranged in line symmetry in the X direction.
  • the switching elements 700H and 701H are arranged such that the arrangement direction of the pads 71 is the X direction.
  • the lower arm side switching elements 700L and 701L are arranged in line symmetry in the X direction as in the corresponding islands 612 and 614.
  • the switching elements 700L and 701L are arranged such that the arrangement direction of the pads 71 is the Y direction. In the X direction, the switching element 700L, the switching element 700H, the switching element 701H, and the switching element 701L are arranged in this order.
  • the arrangement order of the switching element 70 and the arrangement order of the positive terminals 63B1 and 63B2 and the output terminals 63P1 and 63P2 connected to the drain electrode of the switching element 70 coincide with each other. Further, the main terminal 63 and the signal terminal 64 protrude only from the opposite side surfaces 50c and 50d. Thereby, the layout of the lead frame 60 can be simplified, and the size of the semiconductor module 40 can be miniaturized. Further, the connection structure with the bus bar 27 can be simplified.
  • the drive unit 80 of the present embodiment has a drive circuit that generates a drive signal.
  • the drive unit 80 is configured as an IC chip such as an ASIC.
  • the driving unit 80 is also referred to as a control IC in order to control ON / OFF as well as driving the switching element 70.
  • the drive unit 80 is fixed to the island 610 via the conductive adhesive 43.
  • a plurality of pads 81 are formed on the surface of the drive unit 80 opposite to the surface fixed to the island 610.
  • a part of the pad 81 is connected to the pad 71 of the switching element 70 via the bonding wire 41.
  • Another pad 81 is connected to the connection portion 615, that is, the drains of the switching elements 700H and 701H via the bonding wire 41.
  • Another pad 81 is connected to the islands 612 and 614 via bonding wires 41. The rest of the pad 81 is connected to the signal terminal 64 through the bonding wire 41.
  • the drive circuit of the drive unit 80 controls the on / off of the switching element 70 based on the potentials of the islands 612 and 614, that is, phase voltages P1 and P2 that are output voltages to the rotating electrical machine unit 10.
  • the drive unit 80 is externally connected to the control circuit unit 26 through the signal terminals 642 and 643, with a circuit for protecting the switching element 70, a determination circuit for determining an abnormality of the switching element 70, and the determination result. Has a notification circuit to notify to. The details of the drive unit 80 will be described later.
  • the drive unit 80 has a substantially rectangular planar shape.
  • the drive units 80 are arranged in line symmetry with respect to the center line of the lead frame 60 in the X direction.
  • the switching elements 700 L and 701 L on the lower arm side are arranged in line symmetry with respect to the drive unit 80.
  • the driving unit 80 is disposed between the lower arm side switching elements 700L and 701H.
  • the pads 71 of the switching elements 700H and 701H are disposed outside the island 610 in the X direction.
  • the driving unit 80 has a substantially rectangular planar shape, and the pads 81 are provided on the sides facing the switching elements 70 respectively.
  • the pads 81 connected to the switching element 70 are integrated on three consecutive sides of the drive unit 80. Thereby, the length of the bonding wire 41 can be shortened. Only the pad 81 connected to the signal terminal 64 is disposed on the other side of the drive unit 80.
  • the switching element 70 has a substantially square shape.
  • the pads 71 are arranged in the vicinity of the center of one side of the switching element 70 along the side.
  • the bonding wires 41 can be connected to the pads 71 and 81 on the upper arm side and the lower arm side, which are different in the arrangement by 90 degrees, though being made common.
  • the length of the bonding wire 41 can be shortened.
  • the signal terminals 64 are collectively arranged on one side of the drive unit 80 in the Y direction. All the signal terminals 64 are arranged on the opposite side of the drive unit 80 to the switching elements 700H and 701H on the upper arm side. According to this, the connection structure with the drive part 80 can be simplified including the signal terminal 64. Therefore, the length of the bonding wire 41 can be shortened, and the size of the semiconductor module 40 can be reduced.
  • the drive unit 80 is disposed between the lower arm side switching elements 700L and 701L. Further, in the X direction, the switching elements 700H and 701H are arranged in line symmetry, and the switching elements 700L and 701L are arranged in line symmetry. That is, the four switching elements 70 are equally arranged in the XY plane. Then, as shown in FIG. 48, assuming that the distance between the switching elements 700H and 701H on the upper arm side is L1 and the distance between the switching elements 700L and 701L on the lower arm side is L2, the distance L2 is longer than the distance L1. It is done.
  • the switching elements 700L and 701L which are heated by heat received from the rotating electrical machine 10 are kept away from each other, so that thermal interference between the switching elements 700L and 701L It can reduce than the thermal interference between 701H.
  • thermal interference between the switching elements 700L and 701L can reduce than the thermal interference between 701H.
  • the heat radiation surfaces 611 a to 614 a of the islands 611 to 614 are exposed from the sealing resin body 50. Therefore, the heat of switching element 70 can be dissipated effectively.
  • the heat dissipation surface 610 a of the island 610 is exposed from the sealing resin body 50. Accordingly, the heat generated by the drive unit 80 and the heat received from the switching element 70 disposed around the drive unit 80 can be effectively dissipated.
  • the drive part 80 can also be miniaturized by the improvement of heat dissipation.
  • the heat radiation surfaces 620 a and 622 a of the wiring portions 620 and 622 are exposed from the sealing resin body 50.
  • the heat of the switching elements 700L and 701L can be dissipated from the heat radiation surfaces 620a and 622a.
  • the wiring portions 620 and 622 are connected to the output terminals 63P1 and 63P2, the heat from the rotary electric machine portion 10 can be effectively dissipated.
  • the heat transmitted to the switching elements 700L and 701L can be reduced.
  • the clip 900 is employed as the bridging member 90.
  • the semiconductor module 40 has four clips 900.
  • the connection distance between the source electrode 72 of the switching element 70 and the wiring portion 62 is made substantially equal to each other by the above-described line symmetrical arrangement. Therefore, the four clips 900 can be made common to one type, and the number of parts can be reduced (A173).
  • each of the clips 900 is arranged so that the extending direction is the X direction and the width direction is the Y direction.
  • the lead frame 60 before the tie bar cut has a tie bar 66 and an outer frame 67. And a connecting portion 68.
  • the tie bar 66 of this embodiment also has tie bars 660a and 660b on one side and tie bars 661a and 661b on the other side so as to sandwich the island 61 and the wiring portion 62 in the Y direction.
  • Each tie bar 66 is connected to the outer frame 67 at both ends in the X direction.
  • the tie bar 660a connects the positive electrode terminals 63B1 and 63B2 and the output terminals 63P1 and 63P2 to the outer frame 67.
  • the tie bars 660a and 660b are both connected to the extending portions in the Y direction of the positive electrode terminals 63B1 and 63B2 and the output terminals 63P1 and 63P2, respectively.
  • the tie bars 660a and 660b are connected to the base 63Ba at, for example, the positive electrode terminals 63B1 and 63B2.
  • Each of the tie bars 660a and 660b extends in a straight line along the X direction.
  • the positive electrode terminals 63B1 and 63B2 and the output terminals 63P1 and 63P2 are bent between the tie bars 660a and 660b.
  • the islands 611 and 613 are connected to the tie bars 660a and 660b via the bases 63Ba of the corresponding positive electrode terminals 63B1 and 63B2.
  • the islands 612 and 614 and the wiring portions 620 and 621 are connected to the tie bars 660 a and 660 b via the corresponding dummy terminals 65 and output terminals 63 P 1 and 63 P 2.
  • the positive terminals 63B1 and 63B2 and the output terminals 63P1 and 63P2 have extension points from the islands 611 and 613 and the wiring parts 620 and 622 at the same start position in the Y direction, and the end point of the extension Almost the same position.
  • the positive electrode terminals 63B1 and 63B2 are connected to the outer frame 67 also in the Y direction by the connecting portion 68.
  • the connecting portion 68 is connected to the tip of each of the base portions 63Ba. That is, in the positive electrode terminals 63B1 and 63B2, the connection portion 63Bb with the bus bar 27B is continued to a different portion.
  • the connecting portion 68 extends in the Y direction.
  • the connecting portion 63 ⁇ / b> Bb is disposed outside the connecting portion 68 in the X direction.
  • the semiconductor module 40 has a connection mark 68 a which is a cut mark of the connection portion 68 after the tie bar cut.
  • Dummy terminals 65 connected to the same wiring portions 620 and 622 as the output terminals 63P1 and 63P2 are extended along the corresponding output terminals 63P1 and 63P2.
  • the dummy terminal 65 is extended to the outer frame 67 in the Y direction.
  • the tie bar 661a connects the negative electrode terminals 63E1 and 63E2 and the signal terminal 64 to the outer frame 67.
  • the tie bars 661a and 661b are both connected to the extending portions of the negative terminals 63E1 and 63E2 and the signal terminal 64 in the Y direction.
  • the negative terminals 63E1 and 63E2 and the signal terminal 642 are bent between the tie bars 661a and 661b.
  • the wiring portions 621 and 623 are connected to the tie bars 661 a and 661 b via the negative electrode terminals 63E1 and 63E2.
  • the island 610 is connected to the tie bars 661a and 661b via the connection portion 69 and the negative electrode terminals 63E1 and 63E2.
  • the island 610 is connected to the tie bars 661 a and 661 b through the connecting portion 69 and the test terminal 644 a.
  • the test terminal 644a is connected to the outer frame 67 opposite to the island 610 side as described above.
  • connection between the main terminal 63 and the bus bar 27 is not connected to the outer frame 67 and is free.
  • the signal terminal 64 is connected to the outer frame 67 in the Y direction.
  • the signal terminal 64 is disconnected from the outer frame 67 at the time of tie bar cutting. Since the signal terminal 64 is connected to the outer frame 67, deformation of the tie bars 661a and 661b can be suppressed at the time of molding.
  • Connecting portions 68 are respectively disposed between the signal terminal 64 and the negative electrode terminals 63E1 and 63E2.
  • the connecting portion 68 extends in the Y direction, one end thereof is connected to the tie bar 661 a, and the other end is connected to the outer frame 67.
  • the connecting portion 68 is separated along with the tie bar 66.
  • the connecting portion 68 increases the number of hanging points with the outer frame 67, so that deformation of the tie bars 661a and 661b can be suppressed at the time of molding. Therefore, the positional accuracy of the negative electrode terminals 63E1 and 63E2 and the signal terminals 642 and 643 can be improved.
  • the second tier tie bars 660b and 661b are wider than the first tier tie bars 660a and 661a. Since the width of the tie bars 660a and 661a is narrow, the tie bars 660a and 661a do not obstruct the bending of the main terminals 63 and the signal terminals 64, and the size of the semiconductor module 40 can be miniaturized. In addition, dimensional deviation at the time of tie bar cutting can be reduced. Since the width of the tie bars 660 b and 661 b is wide, the rigidity can be improved thereby, and the deformation of the tie bars 66 can be suppressed at the time of molding the sealing resin body 50.
  • the arrangement portion 60a of the clip 900 in the island 61 and the arrangement portion 60b in the wiring portion 62 in which the same clip 900 is arranged are arranged side by side in the X direction. That is, the arranging direction of the placement parts 60a and 60b with respect to the same clip 900 is the same as the extending direction of the first stage tie bars 660a and 661a to which the island 61 and the wiring part 62 are connected. In this manner, since the maximum length from the tie bar 66 to the clip 900 can be increased by parallel arrangement, the stress acting on the junction between the islands 611 to 614 and the corresponding switching element 70 can be reduced. it can. In the semiconductor module 40 after tie bar cutting, the alignment direction of the tie bar marks 66 a of the first stage disposed on the same side with respect to the island 61 and the extension direction of the clips 900 are the same (X direction). It is done.
  • the island 612 and the wiring portion 620, and the island 614 and the wiring portion 622 are respectively connected to the same tie bars 660a and 660b at a plurality of locations. According to this, it is possible to suppress the deformation of the tie bars 660a and 660b at the time of molding. By suppressing the tie bar deformation, it is possible to reduce the stress acting on the junction between the islands 612 and 614 and the corresponding switching elements 700L and 701L. In addition, it is possible to suppress the drooping of the islands 612 and 614 at positions away from the output terminals 63P1 and 63P2.
  • the island 612 and the wiring portion 620 are connected to the tie bar 660 a via the output terminal 63 P 1 and the dummy terminal 65.
  • the island 614 and the wiring portion 622 are connected to the tie bar 660a via the output terminal 63P2 and the dummy terminal 65.
  • the dummy terminal 65 is connected to the outer frame 67 in the Y direction. Also by this, the rigidity of the lead frame 60 can be improved, and for example, deformation of the tie bars 660a and 660b can be suppressed.
  • the positive electrode terminals 63B1 and 63B2 and the output terminals 63P1 and 63P2 can not be connected to the outer frame 67, so connectivity with the bus bar 27 can be secured.
  • the islands 612 and 614 and the wiring parts 621 and 623 in which the same clip 900 is disposed are connected to different tie bars 660a and 661a. Since the islands 612 and 614 and the wiring portions 621 and 623 are both suspended with respect to the tie bar 66, deformation of the tie bar 66 can be suppressed at the time of molding. Further, since the extension direction of the clip 900 is the same X direction as the tie bar 66, it is possible to suppress the shear stress in the X direction with respect to the joint portion of the switching element 70.
  • the islands 611 and 613 are connected to the tie bars 660a and 660b via the positive electrode terminals 63B1 and 63B2.
  • the positive electrode terminals 63B1 and 63B2 are connected to the outer frame 67 by the connecting portion 68 except for the connection portion 63Bb with the positive electrode bus bar 27B.
  • the rigidity of lead frame 60 can be improved, and deformation of tie bars 660a and 660b can be more effectively suppressed, for example.
  • the connecting portion 68 is connected to the portion excluding the connecting portion 63Bb, it does not affect the welding between the connecting portion 63Bb and the positive electrode bus bar 27B.
  • the drive unit 80 includes a voltage detection circuit 82, a temperature detection circuit 83, a determination circuit 84, a drive circuit 85, and a notification circuit 86.
  • the upper arm side is also referred to as high side
  • the lower arm side is also referred to as low side.
  • the voltage detection circuit 82 corresponds to a voltage detection unit.
  • the voltage detection circuit 82 detects the voltage between the main electrodes of the switching element 70 constituting each arm, that is, the voltage Vds between the drain and the source, or the phase voltages P1 and P2 of the upper and lower arms of each phase.
  • the phase voltage P1 is an output voltage of the first upper and lower arms by the switching elements 700H and 700L.
  • the phase voltage P2 is an output voltage of the second upper and lower arms by the switching elements 701H and 701L.
  • the phase voltages P1 and P2 can be detected from the islands 612 and 614 as described above.
  • the voltage Vds can be detected from the connecting portion 615 and the pad 71 for the source potential.
  • the temperature detection circuit 83 corresponds to a temperature detection unit.
  • the temperature detection circuit 83 detects the temperature of the switching element 70 based on a temperature sensitive diode.
  • the temperature detection circuit 83 detects the temperature by obtaining the anode potential and the cathode potential from the pad 71 for the anode and the cathode.
  • the determination circuit 84 corresponds to a determination unit.
  • the determination circuit 84 determines, based on the voltage value detected by the voltage detection circuit 82, whether or not the switching element 70 is shorted. For example, when switching element 701H is shorted, phase voltage P2 is fixed at power supply voltage VB, and when switching element 701L is shorted, phase voltage P2 is fixed at the ground potential. When switching element 701H is shorted, voltage Vds continues at a constant value of zero, and when switching element 701L is shorted, the source of switching element 701H sticks to the ground, so that voltage Vds is a constant value larger than zero. Continue at (power supply voltage VB).
  • the determination circuit 84 can determine whether or not the switching element 70 is shorted.
  • the determination circuit 84 determines, based on the temperature (forward voltage Vf) detected by the temperature detection circuit 83, whether or not a failure in temperature abnormality occurs in the switching element 70.
  • the drive circuit 85 corresponds to a drive unit.
  • the drive circuit 85 generates a drive signal (gate drive signal) for controlling the switching element 70.
  • the drive circuit 85 controls the on / off of the switching element 70 according to the determination result of the determination circuit 84.
  • the drive circuit 85 turns off the switching element 70 determined to have a failure, and turns on the switching element 70 on the same side as the phase different from the failed switching element 70. For example, when the switching element 700H on the high side fails, the switching element 700H is turned off and the switching element 701H is turned on. When the low side switching element 700L fails, the switching element 700L is turned off and the switching element 701L is turned on.
  • the notification circuit 86 corresponds to a notification unit.
  • the notification circuit 86 notifies another semiconductor module 40 constituting the control device unit 20 of the occurrence of the failure and the information on the side of the failed switching element 70.
  • the semiconductor module 40 has the signal terminal 642 for abnormality notification.
  • reference numerals 40a, 40b and 40c are given in FIG.
  • the semiconductor module 40a constitutes upper and lower arms of U phase and V phase
  • the semiconductor module 40b constitutes upper and lower arms of W phase and X phase
  • the semiconductor module 40c constitutes upper and lower arms of Y phase and Z phase.
  • the signal terminals 642 of the three semiconductor modules 40a, 40b, and 40c are connected to each other to enable bi-directional communication.
  • FIG. 56 shows an example of failure notification of the switching element 70 in the notification signal.
  • a pulse having a width (Hi width) at time t1 indicates occurrence of a failure.
  • a pulse transmitted after a pulse indicating failure occurrence and having a width of time t2 narrower than time t1 indicates a failure on the high side.
  • a pulse transmitted after a pulse indicating failure occurrence and having a width of time t3 narrower than time t1 and wider than time t2 indicates a low side failure.
  • the time t2 may be wider than the time t3. In this way, high side faults and low side faults can be distinguished by changing the pulse width (duty ratio).
  • FIG. 57 shows control when a short failure occurs in the switching element 701L of the semiconductor module 40a. If the determination circuit 84 determines that a short failure has occurred in the switching element 701L based on the voltage value detected by the voltage detection circuit 82, the drive circuit 85 first turns off the switching element 701L and is another phase and is the same. The side switching element 700L is turned on. The other switching elements 70 are turned off. Further, the notification circuit 86 outputs, to the other semiconductor modules 40b and 40c, a notification signal indicating that a failure has occurred on the low side.
  • the drive circuit 85 of the semiconductor modules 40 b and 40 c turns off all the switching elements 70 when receiving the notification signal indicating the failure. This can suppress the flow of through current.
  • the drive circuit 85 turns on all the low-side switching elements 700L and 701L in which a failure occurs in the semiconductor module 40a.
  • FIG. 58 shows a reference example, specifically, a timing chart in the case where a control device unit is configured by using six semiconductor modules constituting upper and lower arms for one phase.
  • a notification signal indicating the failure is output to the other five semiconductor modules. Therefore, after passing a predetermined communication time, the switching elements on the same side are turned on in the other semiconductor modules. Therefore, during communication, current concentrates only on the failed switching element. At the time of power generation, even if the faulty switching element is turned off, the current flows through the parasitic diode, so it can not be shut off.
  • the drive circuit 85 executes the control described above. For this reason, as shown in FIG. 59, when a failure occurs, the switching element 70 on the same side which is another phase in the same semiconductor module 40 is turned on. As described above, when a failure occurs, the normal phase which has not failed in the same semiconductor module 40 immediately shifts to the protection operation. Thus, a current path is formed in addition to the failed switching element 70. Therefore, it is possible to suppress current concentration on the failed switching element 70. Further, when the communication is completed, the switching element 70 on the same side is turned on also in the other semiconductor modules 40. Thereby, the current path is further increased, so that the stress of the switching element 70, the current stress, and the thermal stress can be reduced.
  • FIG. 60 shows control when a temperature abnormality occurs in the switching element 701H of the semiconductor module 40a. If the determination circuit 84 determines that a failure in temperature abnormality has occurred in the switching element 701H based on the temperature detected by the temperature detection circuit 83, the drive circuit 85 first turns off the switching element 701H and is another phase. The switching element 700H on the same side is turned on. The other switching elements 70 are turned off. Further, the notification circuit 86 outputs a notification signal indicating that a failure has occurred on the high side to the other semiconductor modules 40 b and 40 c.
  • the drive circuit 85 of the semiconductor modules 40 b and 40 c turns off all the switching elements 70 when receiving the notification signal indicating the failure. This can suppress the flow of through current.
  • the drive circuit 85 turns on all of the high-side switching elements 700H and 701H in which a failure occurs in the semiconductor module 40a. Therefore, even when the temperature abnormality occurs, the same effect as the short failure can be obtained.
  • the open failure is a failure in which no current flows, the phase voltages P1 and P2 may become abnormal due to inductance components of the stator winding 121 and the like, which may lead to a further failure.
  • FIG. 61 when an open failure occurs, all the switching elements 70 are turned off. Thereby, secondary failure can be suppressed.
  • FIG. 61 shows an example where an open failure has occurred in the switching element 701L.
  • FIG. 62 shows a first modification of the drive unit 80.
  • the drive unit 80 acquires the processing circuit 87 executing predetermined processing and the phase voltages P1 and P2, respectively. When at least one of the phase voltages P1 and P2 exceeds the threshold voltage, the processing circuit 87 is activated from the sleep state. And a power supply circuit 89 for supplying power to the processing circuit 87.
  • the processing circuit 87 corresponds to a processing unit
  • the start circuit 88 corresponds to a start unit
  • the power supply circuit 89 corresponds to a power supply unit.
  • FIG. 63 shows a more specific configuration of the drive unit 80.
  • the processing circuit 87 includes an analog circuit 870 and a digital circuit 871.
  • the processing circuit 87 includes, for example, the voltage detection circuit 82, the temperature detection circuit 83, the determination circuit 84, the drive circuit 85, and the notification circuit 86 described above.
  • the start-up circuit 88 includes an OR gate 880 and a start switch 881 provided downstream of the OR gate 880. Phase voltages P1 and P2 are input to the OR gate 880.
  • the OR gate 880 outputs a Hi level signal when at least one of the phase voltages P1 and P2 exceeds a preset threshold voltage Vth. Thus, the start switch 881 is switched from off to on.
  • the start switch 881 When the start switch 881 is turned on, the power supply circuit 89 is connected to the ground to start operation. Then, the power supply VCC1 is supplied to the analog circuit 870, and the power supply VCC2 is supplied to the digital circuit 871. Thereby, the analog circuit 870 and the digital circuit 871 are switched from the sleep state to the awake state.
  • FIG. 64 shows a case where the phase voltage P2 is fixed to the ground potential due to a short circuit failure of the switching element 701L.
  • the power supply circuit 89 is operated by the phase voltage P1 opposite to the short failure, whereby the power supplies VCC1 and VCC2 can rise and the processing circuit 87 can be activated.
  • the processing circuit 87 can be activated from the sleep state. Therefore, the drive unit 80 can detect a failure of the switching element 70 and protect the failed switching element 70.
  • the circuit delay is omitted.
  • FIG. 65 shows a state where a failure occurs in the digital circuit 871 described above and the drive signal output to the driver 870a of each of the switching elements 700H and 701L among the driver 870a which is the analog circuit 870 is fixed on. If such a failure occurs, as indicated by a broken line arrow in FIG. 65, there is a possibility that a through current may be generated across different phases via the rotating electrical machine unit 10 side, specifically the stator winding 121 etc. is there.
  • the analog circuit 870 r includes a driver 870 ar and a comparator which is a voltage detection circuit 82 r.
  • the digital circuit 871 r includes a drive circuit 85 r, an AND gate 871 ar, and a NOT gate 871 br.
  • r is added to the end of the reference numerals of the relevant elements of this embodiment.
  • the NOT gate 871br is provided between one input of the AND gate 871ar and the voltage detection circuit 82r.
  • the drive signal generated by the drive circuit 85r and the inverted value of the voltage Vds detected by the voltage detection circuit 82r are input to the AND gate 871ar.
  • the output of the AND gate 871ar is input to the driver 870ar.
  • FIG. 66 shows the time of power generation of the rotary electric machine 1 as indicated by solid arrows. Since the voltage Vds indicates zero (0) in which the current direction is normal, the drive signal output from the AND gate 871ar is maintained at 1. As a result, the switching element 70r is kept on.
  • the digital circuit 871 r may not execute a desired operation.
  • the NOT gate 871 br is broken and the inverting function is lost.
  • the drive signal output from the AND gate 871ar is 1 because the voltage Vds is not inverted before the input even though 1 is output indicating an abnormality. It becomes. As a result, the switching element 70 continues to be turned on.
  • FIG. 68 shows a second modification of the drive unit 80.
  • the processing circuit 87 includes a digital circuit 872 different from the digital circuit 871 including the driving circuit 85.
  • the digital circuit 872 is activated by being supplied with a power supply VCC3 different from the power supply VCC2 supplied from the power supply circuit 89 to the digital circuit 871, specifically, a voltage lower than the power supply VCC2.
  • the power supply VCC3 is set to a voltage lower than the power supply VCC2, for example, via a voltage drop resistance.
  • the digital circuit 872 includes an AND gate 872a and a NOT gate 872b.
  • the NOT gate 872 b is provided between one input of the AND gate 872 a and the voltage detection circuit 82.
  • the drive signal output from the AND gate 871a and the inverted value of the voltage Vds are input to the AND gate 872a.
  • the output of the AND gate 872a is input to the driver 870a.
  • the switching element 70 is operated if the direction of the current flowing through the switching element 70 is abnormal. You can switch from on to off. Also, even if a fault occurs in, for example, the NOT gate 872b of the digital circuit 872 and the inversion function is lost, the switching element 70 can be switched from on to off if the direction of the current flowing through the switching element 70 is abnormal. it can. Therefore, redundancy can be improved.
  • the configuration of the semiconductor module 40 shown in the first embodiment can be applied to the rotary electric machine 1 shown in the second embodiment.
  • the configuration of the semiconductor module 40 shown in the second embodiment can be applied to the rotary electric machine 1 shown in the first embodiment.
  • Part of the configuration of the semiconductor module 40 shown in the first embodiment can be combined with the semiconductor module 40 shown in the second embodiment.
  • the configuration of the sealing resin body 50 shown in the first embodiment can be combined with the second embodiment.
  • the lead frame 60 shown in the first embodiment can be combined with the second embodiment.
  • the shunt resistor 901 shown in the first embodiment can be combined with the second embodiment.
  • a part of the configuration of the semiconductor module 40 shown in the second embodiment can be combined with the semiconductor module 40 shown in the first embodiment.
  • the arrangement of the island 61, the wiring portion 62, and the main terminal 63 shown in the second embodiment can be combined with the first embodiment.
  • the drive unit 80 shown in the second embodiment can be combined with the first embodiment.
  • the application target of the configuration in which the extending direction of the tie bar 66 and the extending direction of the bridging member 90, that is, the arranging direction of the placement portions 60a and 60b are substantially parallel is not limited to the above example. If a plurality of islands 61 and wiring connected to the switching element 70 via the bridging member 90 and having a wire different from the island 61 on which the switching element 70 is disposed are provided, variation in the height direction is likely to occur. In particular, when the plurality of islands 61 are arranged in the extending direction of the tie bar 66, the tie bar 66 becomes long.
  • two switching elements 70 constituting upper and lower arms for one phase are disposed in the semiconductor module 40, and islands 61 in which the switching elements 70 are individually disposed are aligned in the X direction which is the extension direction of the tie bar 66.
  • the wiring different from the island 61 in which the switching element 70 is disposed is, for example, another island 61 or a wiring portion 62.
  • the plurality of switching elements 70 are not limited to those constituting the upper and lower arms.

Landscapes

  • Engineering & Computer Science (AREA)
  • Power Engineering (AREA)
  • Microelectronics & Electronic Packaging (AREA)
  • Physics & Mathematics (AREA)
  • Condensed Matter Physics & Semiconductors (AREA)
  • General Physics & Mathematics (AREA)
  • Computer Hardware Design (AREA)
  • Inverter Devices (AREA)
PCT/JP2018/031114 2017-10-19 2018-08-23 半導体モジュール Ceased WO2019077871A1 (ja)

Applications Claiming Priority (2)

Application Number Priority Date Filing Date Title
JP2017-202739 2017-10-19
JP2017202739A JP6988362B2 (ja) 2017-10-19 2017-10-19 半導体モジュール

Publications (1)

Publication Number Publication Date
WO2019077871A1 true WO2019077871A1 (ja) 2019-04-25

Family

ID=66174520

Family Applications (1)

Application Number Title Priority Date Filing Date
PCT/JP2018/031114 Ceased WO2019077871A1 (ja) 2017-10-19 2018-08-23 半導体モジュール

Country Status (2)

Country Link
JP (1) JP6988362B2 (enExample)
WO (1) WO2019077871A1 (enExample)

Cited By (1)

* Cited by examiner, † Cited by third party
Publication number Priority date Publication date Assignee Title
JP2024546550A (ja) * 2022-11-17 2024-12-26 海信家電集団股▲ふん▼有限公司 フレームアセンブリ、パワーモジュール及び設備

Families Citing this family (5)

* Cited by examiner, † Cited by third party
Publication number Priority date Publication date Assignee Title
JP7359581B2 (ja) * 2019-07-10 2023-10-11 株式会社デンソー 半導体装置
JP7660487B2 (ja) 2021-11-22 2025-04-11 三菱電機株式会社 半導体装置
JP7766537B2 (ja) * 2022-03-29 2025-11-10 三菱電機株式会社 半導体装置のリードフレーム及び半導体装置の一体型リードフレーム
WO2024103986A1 (zh) * 2022-11-17 2024-05-23 海信家电集团股份有限公司 功率模块和设备
EP4614557A1 (en) * 2022-11-17 2025-09-10 Hisense Home Appliances Group Co., Ltd. Power module and device

Citations (3)

* Cited by examiner, † Cited by third party
Publication number Priority date Publication date Assignee Title
JP2012249457A (ja) * 2011-05-30 2012-12-13 Denso Corp 半導体モジュール、及び、それを用いた駆動装置
JP2015106685A (ja) * 2013-12-02 2015-06-08 三菱電機株式会社 パワーモジュール及びその製造方法
JP2015171182A (ja) * 2014-03-05 2015-09-28 住友電気工業株式会社 半導体モジュール

Patent Citations (3)

* Cited by examiner, † Cited by third party
Publication number Priority date Publication date Assignee Title
JP2012249457A (ja) * 2011-05-30 2012-12-13 Denso Corp 半導体モジュール、及び、それを用いた駆動装置
JP2015106685A (ja) * 2013-12-02 2015-06-08 三菱電機株式会社 パワーモジュール及びその製造方法
JP2015171182A (ja) * 2014-03-05 2015-09-28 住友電気工業株式会社 半導体モジュール

Cited By (2)

* Cited by examiner, † Cited by third party
Publication number Priority date Publication date Assignee Title
JP2024546550A (ja) * 2022-11-17 2024-12-26 海信家電集団股▲ふん▼有限公司 フレームアセンブリ、パワーモジュール及び設備
JP7744450B2 (ja) 2022-11-17 2025-09-25 海信家電集団股▲ふん▼有限公司 フレームアセンブリ、パワーモジュール及び設備

Also Published As

Publication number Publication date
JP2019075523A (ja) 2019-05-16
JP6988362B2 (ja) 2022-01-05

Similar Documents

Publication Publication Date Title
JP6988362B2 (ja) 半導体モジュール
CN105814785B (zh) 半导体装置、以及使用该半导体装置的交流发电机和电力变换装置
US8031478B2 (en) Power conversion apparatus
KR102170022B1 (ko) 회전 전기 기계를 위한 상호접속된 전자식 전력 모듈의 아키텍처 및 아키텍처를 포함하는 회전 전기 기계
CN107004647B (zh) 电子部件搭载用散热基板
JP6992399B2 (ja) 半導体モジュール
WO2019077873A1 (ja) 制御装置
JPWO2017068636A1 (ja) 一体型電動パワーステアリング装置、及びその製造方法
CN107004648B (zh) 电子部件搭载用散热基板
US20100301692A1 (en) Electrical rotating machine
JP2019195244A (ja) 制御装置一体型回転電機
JP2013099213A (ja) インバータ装置
KR20130136472A (ko) 회전 전기 기계의 전자식 전력 모듈을 상호접속하기 위한 방법, 및 상기 방법을 사용해 얻은 상호접속된 전력 모듈의 조립체
WO2019077870A1 (ja) 半導体モジュール
JP7006120B2 (ja) リードフレーム
WO2019077872A1 (ja) シャント抵抗器及びその製造方法
JP5754646B2 (ja) 車両用回転電機
JP5561623B2 (ja) 端子台、半導体装置および車両用回転電機
JP5729268B2 (ja) 車両用回転電機
JP5754645B2 (ja) 車両用回転電機
WO2022185820A1 (ja) 電気機器
US7439696B2 (en) Rotating electric machine and manufacturing method thereof
JP7395010B2 (ja) 半導体モジュール

Legal Events

Date Code Title Description
121 Ep: the epo has been informed by wipo that ep was designated in this application

Ref document number: 18868270

Country of ref document: EP

Kind code of ref document: A1

NENP Non-entry into the national phase

Ref country code: DE

122 Ep: pct application non-entry in european phase

Ref document number: 18868270

Country of ref document: EP

Kind code of ref document: A1