WO2018190389A1 - 全方向車輪 - Google Patents

全方向車輪 Download PDF

Info

Publication number
WO2018190389A1
WO2018190389A1 PCT/JP2018/015294 JP2018015294W WO2018190389A1 WO 2018190389 A1 WO2018190389 A1 WO 2018190389A1 JP 2018015294 W JP2018015294 W JP 2018015294W WO 2018190389 A1 WO2018190389 A1 WO 2018190389A1
Authority
WO
WIPO (PCT)
Prior art keywords
support
wheel
plate
fixed
support portion
Prior art date
Legal status (The legal status is an assumption and is not a legal conclusion. Google has not performed a legal analysis and makes no representation as to the accuracy of the status listed.)
Ceased
Application number
PCT/JP2018/015294
Other languages
English (en)
French (fr)
Japanese (ja)
Inventor
俊太郎 杉本
一夫 坂東
Current Assignee (The listed assignees may be inaccurate. Google has not performed a legal analysis and makes no representation or warranty as to the accuracy of the list.)
Whill Inc
Original Assignee
Whill Inc
Priority date (The priority date is an assumption and is not a legal conclusion. Google has not performed a legal analysis and makes no representation as to the accuracy of the date listed.)
Filing date
Publication date
Application filed by Whill Inc filed Critical Whill Inc
Priority to EP18784358.6A priority Critical patent/EP3611032A4/en
Priority to CN201890000702.1U priority patent/CN211032034U/zh
Publication of WO2018190389A1 publication Critical patent/WO2018190389A1/ja
Priority to US16/599,402 priority patent/US11273668B2/en
Anticipated expiration legal-status Critical
Ceased legal-status Critical Current

Links

Images

Classifications

    • BPERFORMING OPERATIONS; TRANSPORTING
    • B60VEHICLES IN GENERAL
    • B60BVEHICLE WHEELS; CASTORS; AXLES FOR WHEELS OR CASTORS; INCREASING WHEEL ADHESION
    • B60B19/00Wheels not otherwise provided for or having characteristics specified in one of the subgroups of this group
    • B60B19/003Multidirectional wheels
    • BPERFORMING OPERATIONS; TRANSPORTING
    • B60VEHICLES IN GENERAL
    • B60BVEHICLE WHEELS; CASTORS; AXLES FOR WHEELS OR CASTORS; INCREASING WHEEL ADHESION
    • B60B19/00Wheels not otherwise provided for or having characteristics specified in one of the subgroups of this group
    • B60B19/12Roller-type wheels
    • BPERFORMING OPERATIONS; TRANSPORTING
    • B60VEHICLES IN GENERAL
    • B60BVEHICLE WHEELS; CASTORS; AXLES FOR WHEELS OR CASTORS; INCREASING WHEEL ADHESION
    • B60B2310/00Manufacturing methods
    • B60B2310/20Shaping
    • B60B2310/213Shaping by punching
    • BPERFORMING OPERATIONS; TRANSPORTING
    • B60VEHICLES IN GENERAL
    • B60BVEHICLE WHEELS; CASTORS; AXLES FOR WHEELS OR CASTORS; INCREASING WHEEL ADHESION
    • B60B2310/00Manufacturing methods
    • B60B2310/30Manufacturing methods joining
    • B60B2310/302Manufacturing methods joining by welding
    • BPERFORMING OPERATIONS; TRANSPORTING
    • B60VEHICLES IN GENERAL
    • B60BVEHICLE WHEELS; CASTORS; AXLES FOR WHEELS OR CASTORS; INCREASING WHEEL ADHESION
    • B60B27/00Hubs
    • BPERFORMING OPERATIONS; TRANSPORTING
    • B60VEHICLES IN GENERAL
    • B60BVEHICLE WHEELS; CASTORS; AXLES FOR WHEELS OR CASTORS; INCREASING WHEEL ADHESION
    • B60B2900/00Purpose of invention
    • B60B2900/10Reduction of
    • B60B2900/111Weight

Definitions

  • the present invention relates to an omnidirectional wheel.
  • an omnidirectional wheel a plurality of rollers that form an outer peripheral surface, a plurality of support shafts that rotatably support the plurality of rollers, and a plurality of support members that support the plurality of support shafts two by two And a pair of plate members arranged at intervals in the direction along the rotation axis of the omnidirectional wheel, each rotating around the rotation axis, and each support member formed by cutting a metal block It is known that each support member is fixed to a pair of plate members with bolts (see, for example, Patent Document 1).
  • omnidirectional wheels a plurality of rollers that form an outer peripheral surface, a plurality of support frames that rotatably support the plurality of rollers, and an interval in the direction along the rotation axis of the omnidirectional wheels.
  • a pair of rotating members that rotate about the rotation axis, and each support frame is formed by cutting a metal block so as to accommodate one of the plurality of rollers.
  • a frame is fixed to a pair of rotating members is known (for example, see Patent Document 2).
  • omnidirectional wheels a plurality of rollers that form an outer peripheral surface, a plurality of support shafts that rotatably support the plurality of rollers, and a plurality of plates that extend radially outward from the hub And a plurality of plate-like members that support the plurality of support shafts at the radially outer ends (see, for example, Patent Document 3).
  • a support member or a support frame is provided according to the number of rollers.
  • the support member and the support frame are formed by cutting a metal block and have a thickness dimension sufficient to withstand the impact force applied to each roller, all of the support members and the support frame are present due to the presence of a plurality of support members or support frames. The direction wheel was heavy.
  • the omnidirectional wheel of Patent Document 3 supports each roller by using a plurality of plate-like members that extend radially outward from the hub.
  • each plate-like member is a member whose inner end in the radial direction is fixed to the outer peripheral surface of the hub and extends toward the outer side in the radial direction. Therefore, when a force is applied to the outer end in the radial direction, Deformation tends to occur. For example, one or two of the rollers collide with the step when getting over the step with a load of a passenger, luggage, etc., and at this time each roller has a radial force along with the vehicle. A force in the width direction or the vehicle front-rear direction is also applied, and the plate-like member as in Patent Document 3 is easily deformed.
  • the present invention has been made in view of such circumstances, and an object thereof is to provide an omnidirectional wheel capable of maintaining strength while reducing weight.
  • an omnidirectional wheel having an outer peripheral surface formed by a plurality of rollers and rotating around a rotation axis, the first support portion rotating around the rotation axis, and the first A second support portion that is arranged around the rotation axis along with the first support portion and spaced apart in the direction along the rotation axis, and a plurality of supports that respectively support the plurality of rollers. At least a part of each of the shaft and the first support portion and the second support portion is fixed to the first support portion and the second support portion, and between the first support portion and the second support portion in the direction along the rotation axis.
  • the first and second support portions are spaced apart in the direction along the rotation axis, and each support shaft is supported by each support plate between the first and second support portions. Therefore, it is advantageous in suppressing deformation of each support plate in the vehicle width direction due to the force applied to each roller, and also advantageous in suppressing deformation in the rotational direction around the radial direction of the wheel.
  • At least one of the outer ends in the wheel radial direction of the first and second fixed portions of the respective support plates is the wheel radial direction of the end portion on the support plate side of the support shaft fixed to the support plate. Since it is disposed on the outer side in the wheel radial direction than the inner end of the wheel, it is advantageous in suppressing deformation of each support plate in the rotational direction around the axis extending in the vehicle width direction due to the force applied to each roller. . This structure is useful for reducing the thickness of the support plate.
  • an omnidirectional wheel having an outer peripheral surface formed by a plurality of rollers and rotating around a rotation axis, the first support portion rotating around the rotation axis, and the first A second support portion that is arranged around the rotation axis along with the first support portion and spaced apart in the direction along the rotation axis, and a plurality of supports that respectively support the plurality of rollers. At least a part of each of the shaft and the first support portion and the second support portion is fixed to the first support portion and the second support portion, and between the first support portion and the second support portion in the direction along the rotation axis.
  • a plurality of support plates arranged, one or a plurality of the support shafts being fixed to each of the plurality of support plates, and fixed to the first support portion in each of the support plates.
  • first and second support portions are spaced apart in the direction along the rotation axis, and each support shaft is supported by each support plate between the first and second support portions. Therefore, it is advantageous in suppressing deformation of each support plate in the vehicle width direction due to the force applied to each roller, and also advantageous in suppressing deformation in the rotational direction around the radial direction of the wheel.
  • the first fixed portion is disposed on the outer side in the wheel radial direction than the second fixed portion, the wheel at the end portion on the support plate side of the support shaft fixed to each support plate.
  • the radial position and the position of the first fixed portion in the wheel radial direction can be brought close to or the same.
  • This structure is also advantageous in suppressing deformation of each support plate in the rotational direction around the axis extending in the vehicle width direction due to the force applied to each roller.
  • the position of the inner end of the first fixed portion in the wheel radial direction in the wheel radial direction and the position of the outer end of the second fixed portion in the wheel radial direction are substantially the same. May be the same. If comprised in this way, a 1st to-be-fixed part will be arrange
  • the first support part is a plate-like member provided with a hole in the center
  • the second support part is a plate-like member
  • the outer peripheral shape of the second support part is the It is preferably smaller than the hole of the first support part. If comprised in this way, the 1st and 2nd support part will be formed by press molding, and the 2nd support part will be used using the board material punched in order to provide the hole of the center of the 1st support part in that case Can be formed. For this reason, the quantity of mill ends can be reduced and efficient manufacture can be performed.
  • a said 1st support part is arrange
  • the first fixed part And the support shaft of each roller are aligned in a direction along the rotational axis of the wheel. That is, the support shaft of each roller and the first fixed portion are aligned in the vehicle width direction.
  • the first fixed portion when the first fixed portion is disposed outside the vehicle width direction, when the omnidirectional wheel comes into contact with an obstacle disposed outside the width direction, the first fixed portion comes before each roller. The first fixed part comes into contact with the obstacle.
  • the second fixed portion when the second fixed portion is disposed radially inward with respect to the radial position of the end portion on the support plate side of the support shaft fixed to the support plate, the second fixed portion is placed on each roller. It can arrange
  • the second fixed portion on the inner side in the wheel width direction than each roller.
  • the second fixed portion is placed before each roller. It is possible to prevent the fixed part from contacting the obstacle as much as possible.
  • a buffer member is provided between an axle that supports the omnidirectional wheel rotatably around the rotation axis, and the first support portion and the second support portion.
  • the first support portion is a plate-like member having a fixing portion for fixing the first fixed portion, and the plate-like member is integrally formed with the resin member by insert molding.
  • the resin member is preferably supported by the outer peripheral side of the buffer member.
  • the first support portion is a plate-like member and is integrally formed with the resin member, and the resin member is supported on the outer peripheral side of the buffer member, the first support portion is made of metal for strength. Even in this case, the weight of the omnidirectional wheel can be reduced by the amount of the resin member used.
  • the strength can be maintained while reducing the weight.
  • FIG. 5 is a cross-sectional view taken along line VV of the omnidirectional wheel in FIG. 2. It is a figure which shows the attachment state to the electric mobility of the omnidirectional wheel of this embodiment. It is a front perspective view of the electric mobility with which the omnidirectional wheel of this embodiment was attached.
  • the omnidirectional wheel 1 includes a pair of vibration isolation members 10 supported on an axle 2 via a pair of bearings 2a in the width direction, and outer peripheries of the pair of vibration isolation members 10.
  • the vehicle front-rear direction of the electric mobility 100 may be referred to as the front-rear direction
  • the vehicle width direction may be referred to as the width direction.
  • the electric mobility includes a mobility main body 110 having an omnidirectional wheel 1 as a front wheel, a rear wheel 120, and a body 130 supported by the omnidirectional wheel 1 and the rear wheel 120;
  • a seat unit (seat) 140 that is detachably attached to the mobility main body 110, and a driving device (not shown) such as a motor that is attached to the mobility main body 110 and drives at least one of the omnidirectional wheel 1 and the rear wheel 120.
  • a driving device such as a motor that is attached to the mobility main body 110 and drives at least one of the omnidirectional wheel 1 and the rear wheel 120.
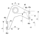
  • each support plate 40 is formed by press molding (punching) and has a shape as shown in FIG. 9 in a plan view of the support plate 40. As shown in FIG. 10, each support plate 40 includes a first support shaft 41 protruding in the thickness direction from one surface in the thickness direction of the support plate 40, and the other in the thickness direction of the support plate 40. A second support shaft 42 protruding from the surface in the thickness direction is fixed.
  • the central axes of the support shafts 41 and 42 are arranged in a plane perpendicular to the rotation axis of the wheel (in this embodiment, the central axis of the axle 2 shown in FIG. 6) 1a, and the radial direction of the wheel (the rotation axis 1a). It extends in a direction perpendicular to (vertical direction).
  • the support plates 40 are arranged in the circumferential direction of the wheel, and two rollers 51 or two rollers 52 are supported on each support plate 40.
  • the wheels are arranged alternately in the circumferential direction. That is, as shown in FIG. 2 and the like, in this omnidirectional wheel 1, a pair of rollers 51 and a pair of rollers 52 are alternately arranged in the circumferential direction of the wheel.
  • each of the rollers 51 and 52 can be rotated around an axis that is disposed in a plane perpendicular to the rotation axis 1a of the wheel and that extends in a direction perpendicular to the radial direction of the wheel.
  • Each roller 51 is formed so that the outer diameter gradually decreases from one to the other along the rotation axis. More specifically, each roller 51 has a substantially truncated cone shape, and the pair of rollers 51 are attached to the first and second support shafts 41 and 42 so that the end surfaces on the large diameter side face each other.
  • Each roller 52 is also formed so that the outer diameter gradually decreases from one to the other along the rotation axis. More specifically, each roller 52 has a substantially truncated cone shape, and the pair of rollers 52 are attached to the first and second support shafts 41 and 42 so that the end surfaces on the large diameter side face each other. The roller 52 has a larger outer diameter than the roller 51.
  • each of the rollers 51 and 52 includes metal core members 51a and 52a and outer peripheral members 51b and 52b that form outer peripheral surfaces of the respective rollers 51 and 52, and the outer peripheral members 51b and 52b. Is formed from a material having rubber-like elasticity. In addition, a plurality of grooves extending in the circumferential direction are provided on the outer peripheral surfaces of the outer peripheral members 51b and 52b (see FIG. 2 and the like). 7 and 8 do not show the grooves on the outer peripheral surfaces of the outer peripheral members 51b and 52b for reasons of drawing.
  • a concave portion 52c is formed at the small diameter end of each roller 52 which is a large diameter roller, and a part of the small diameter end of the adjacent roller 51 which is a small diameter roller enters the concave portion 52c.
  • the rollers 51 and 52 are supported by the support shafts 41 and 42, respectively.
  • Each of the rollers 51 and 52 has a truncated cone shape, and a part of the small-diameter end of the roller 51 enters the recess 52c at the small-diameter end of the roller 52, so that the outer peripheral surface of the omnidirectional wheel 1 is nearly circular. ing.
  • the first hub member 20 includes a first plate-like member (first support portion) 21 having a ring shape with a hole 21a at the center, and a first plate by insert molding. And the resin member 22 formed integrally with the shaped member 21.
  • the first plate-like member 21 has a thickness of several millimeters, an outer periphery 21b having a polygonal shape (hexagonal shape in the embodiment), and a polygonal shape (6 in the present embodiment) similar to the outer periphery 21b.
  • an inner periphery 21c having a square shape), and is formed by press molding (punching molding).
  • the second hub member 30 includes a second plate member (second support portion) 31 having a ring shape with a hole 31a provided at the center, and a second plate by insert molding. And a resin member 32 formed integrally with the shaped member 31.
  • the second plate-like member 31 has a thickness of several millimeters, and has an outer periphery 31b having a polygonal shape (hexagonal shape in the embodiment) and a polygonal shape (6 in the present embodiment) similar to the outer periphery 31b. And an inner periphery 31c having a square shape), and is formed by press molding (punching molding).
  • the outer periphery 31b of the second plate member 31 is formed when the plate material is punched to form the hole 21a of the first plate member 21. That is, the second plate member 31 is formed using a plate material punched to form the hole 21 a of the first plate member 21. For this reason, the shape of the outer periphery 31 b of the second plate-shaped member 31 is smaller in the radial direction than the hole 21 a of the first plate-shaped member 21.
  • the resin members 22 and 32 are made of reinforced plastic containing a reinforcing material such as carbon fiber and glass fiber, and as shown in FIGS. 1 and 5, inner peripheral portions 22 a and 32 a that are continuous in the circumferential direction, A plurality of outer peripheral portions 22b and 32b that are continuous in the circumferential direction and are fixed to the first or second plate-like members 21 and 31, and a plurality of connections between the inner peripheral portions 22a and 32a and the outer peripheral portions 22b and 32b. And spoke portions 22c and 32c.
  • the inner peripheral portions 22a and 32a have disc portions 22d and 32d that face each other, and projecting portions 22e and 32e that extend from the disc portions 22d and 32d toward each other.
  • Each anti-vibration member 10 has a cylindrical shape and is made of a metal inner ring 11, a cylindrical shape that is arranged on the outer peripheral side of the inner ring 11, a metal outer ring 12, and the inner ring 11 and the outer ring 12. And a ring-shaped cushioning member 13 made of a material having rubber-like elasticity disposed therebetween.
  • the inner peripheral surface of the buffer member 13 is fixed to the inner ring 11 by vulcanization adhesion or the like, and the outer peripheral surface of the buffer member 13 is also fixed to the outer ring 12 by vulcanization adhesion or the like.
  • the inner rings 11 of the pair of vibration isolation members 10 are respectively fixed to the outer rings of the bearings 2a.
  • the outer ring 12 is provided with a flange portion 12a extending from the outer peripheral surface to the outer side in the radial direction of the wheel.
  • the inner peripheral portions 22a and 32a of the plate-like members 21 and 31 are disposed between the flange portions 12a of the pair of vibration isolating members 10, and the inner peripheral portions 22a and 32a are provided with a plurality of bolts (fastened) between the pair of flange portions 12a. Member) It is fastened together with FM. Thereby, the 1st and 2nd hub members 20 and 30 are being fixed to the perimeter side of a pair of vibration isolator 10.
  • a metal ring 3 is supported on an inner ring 11 of a pair of vibration isolating members 10, and the ring 3 is a disk-shaped protrusion 3a extending radially outward from the outer peripheral surface thereof. Is provided.
  • the protrusion 3a is disposed between the portions 22e and 32e. The inner diameters of the protrusions 22e and 32e are smaller than the outer diameter of the protrusion 3a.
  • the outer periphery 21b of the first plate-like member 21 is provided with a plurality of notches 21d at intervals in the circumferential direction, and the inner periphery 21c has a plurality of holes spaced at intervals in the circumferential direction. 21e is provided. Each notch 21d and each hole 21e penetrate the 1st plate-shaped member 21 in the plate
  • the outer periphery 31b of the second plate-shaped member 31 is provided with a plurality of notches 31d at intervals in the circumferential direction, and the inner periphery 31c has a plurality at intervals in the circumferential direction.
  • Hole 31e is provided. Each notch 31d and each hole 31e penetrate the 2nd plate-shaped member 31 in the plate
  • each support plate 40 in the direction along the rotational axis 1a of the wheel two convex portions 40a and 40b are provided at intervals in the radial direction of the wheel.
  • two convex portions 40c and 40d are provided at intervals in the radial direction of the wheel.
  • the convex portions 40a, 40b, 40c, 40d are respectively inserted into the notches 21d, the holes 21e, the notches 31d, or the holes 31e.
  • the plate-like member 21 or the second plate-like member 31 is fixed by welding or the like. That is, the convex portions 40a and 40b function as the first fixed portion F1 fixed to the first plate-like member 21 in the support plate 40, and the convex portions 40c and 40d are the second plate-like member in the support plate 40. It functions as the second fixed portion F2 fixed to 31.
  • the hatched range is a range that functions as the first fixed portion F1 and the second fixed portion F2.
  • the respective support shafts 41 and 42 are arranged between the first fixed portion F1 and the second fixed portion F2 in the direction along the rotation axis 1a.
  • the notch 21d and the hole 21e of the first plate member 21 function as a fixing part for fixing the first fixed portion F1
  • the notch 31d and the hole 31e of the second plate member 31 are It functions as a fixing part for fixing the second fixed part F2.
  • the first and second plate-like members 21 and 31 are arranged at intervals in the direction along the rotation axis 1a, and each support is provided between the first and second plate-like members 21 and 31.
  • the support shafts 41 and 42 are supported by the plate 40.
  • the radial position r1 (the radial position with respect to the rotation axis 1a) of the outer end of the first fixed portion F1 of each support plate 40 is a support fixed to the support plate 40.
  • the shafts 41 and 42 are disposed on the radially outer side than the radial position r2 of the radially inner end of the end portion on the support plate 40 side. This is advantageous in suppressing deformation of each support plate 40 in the rotational direction around the axis extending in the vehicle width direction (the direction of arrow C in FIG. 10) due to the force applied to each roller 51, 52.
  • This structure is useful for reducing the thickness of the support plate 40.
  • the radial position r3 of the center position in the radial direction of the first fixed part F1 (the radial direction with respect to the rotation axis 1a) is the second fixed part F2. It arrange
  • the support shaft side of the support shafts 41 and 42 fixed to the respective support plates 40 is provided.
  • the portion closest to the one surface 40 e in the thickness direction ( The position r2 on the inner side in the radial direction of the left end portion of the support shaft 41 shown in FIG. 10 and the position in the radial direction of the first fixed portion F1 (for example, the position of the outer end in the radial direction of the first fixed portion F1).
  • This structure is advantageous in suppressing deformation of each support plate 40 in the rotational direction around the axis extending in the vehicle width direction (the direction of arrow C in FIG. 10) due to the force applied to each roller 51, 52.
  • the radial position r4 of the outer end of the second fixed portion F2 is formed smaller than the radial position r5 of the inner end of the first fixed portion F1 in the radial direction.
  • the radial position r5 and the radial position r4 may be the same. If comprised in this way, the 1st to-be-fixed part F1 is arrange
  • the hole 21a is provided in the center of the 1st plate-shaped member 21, and the 2nd plate-shaped member 31 has a shape which enters in the hole 21a of the 1st plate-shaped member 21, it is the 1st and 2nd
  • the plate-like members 21 and 31 are formed by press molding, and the second plate-like member 31 is formed using a plate material punched in order to provide the central hole 21a of the first plate-like member 21 at that time. Can do.
  • the first plate-like member 21 is arranged on the inner side in the vehicle width direction than the second plate-like member 31. Since the first plate-like member 21 needs to fix the first fixed portion F1 on the outer side in the radial direction, the first plate-like member 21 is arranged on the outer side in the width direction than the rollers 51 and 52 as shown in FIG. On the other hand, since the 2nd plate-shaped member 31 can be made smaller diameter than the 1st plate-shaped member 21, as shown in FIG. 3, it arrange
  • a buffer member 13 is provided between the axle 2 and the first plate member 21 and the second plate member 31. For this reason, the vibration generated between the grounding surface and each of the rollers 51 and 52 is reduced by the buffer member 13 and transmitted to the axle 2, which is advantageous in reducing the vibration of the vehicle.
  • first and second plate-like members 21 and 31 are integrally formed with the resin members 22 and 32 by insert molding, and the resin members 22 and 32 are supported on the outer peripheral side of the buffer member 13. For this reason, even when the first and second plate-like members 21 and 31 are made of metal for strength, the weight of the omnidirectional wheel 1 can be reduced by the amount of use of the resin members 22 and 32.
  • the radial positions of the first and second fixed portions F1, F2 of the support plate 40 that supports the roller 52, which is a large-diameter roller, are small in diameter.
  • the first and second fixed portions F1 and F2 of the support plate 40 that support the roller 52, which is a roller, are respectively arranged radially inward from the radial positions.
  • the roller 51 which is a small diameter roller and the roller 52 which is a large diameter roller can be supported using the several support plate 40 of the same shape.
  • the support plate 40 that supports the roller 51 and the support plate 40 that supports the roller 52 can be different, it is preferable that they are the same as described above.
  • the outer shape of the second plate-like member 31 may be smaller than the hole 21a of the first plate-like member 21.
  • the second plate-like member 31 may be shaped so as not to enter the hole 21 a of the first plate-like member 21.
  • the second hub member 30 has the same structure as the first hub member 20, and the shape of the support plate 40 can be changed so as to be adapted thereto.
  • the first fixed portion F1 is composed of the convex portions 40a and 40b
  • the second fixed portion F2 is composed of the convex portions 40c and 40d.
  • the convex part with the shape where the convex parts 40a, 40b are connected may be the first fixed part F1
  • the convex part with the shape where the convex parts 40c, 40d are connected may be the second fixed part F2. Is possible.
  • the support plate 40 can be formed by other processing methods such as forging and cutting, and can also be formed using other materials such as hard plastic.
  • the 1st plate-shaped member 21 and the 2nd plate-shaped member 31 showed what functions as a 1st support part and a 2nd support part, respectively.
  • the entire first hub member 20 can be integrally formed by press molding, and the entire second hub member 30 can also be integrally formed by press molding.
  • each support plate 40 is supported by the first and second support portions so that the support shafts 41 and 42 are disposed between the first and second support portions in the direction along the rotation axis 1a. Is done.
  • a part of the support plate 40 is inserted into the notch or the hole and fixed by welding or the like.
  • the part of the support plate 40 is fixed to the first and second parts by other methods. It is also possible to fix to the plate-like members 21 and 31. Further, it is possible to support the rollers 51 or the rollers 52 one by one by the support plates 40, and it is also possible to support three or more rollers 51 or the rollers 52 by the support plates 40.
  • the inner peripheral surface and the outer peripheral surface of the buffer member 13 are fixed to the inner ring 11 and the outer ring 12, respectively, but are not bonded to the inner ring 11 and the outer ring 12, It is also possible to use a buffer member 13 that is only sandwiched between the inner ring 11 and the outer ring 12.

Landscapes

  • Engineering & Computer Science (AREA)
  • Mechanical Engineering (AREA)
  • Motorcycle And Bicycle Frame (AREA)
  • Tires In General (AREA)
PCT/JP2018/015294 2017-04-12 2018-04-11 全方向車輪 Ceased WO2018190389A1 (ja)

Priority Applications (3)

Application Number Priority Date Filing Date Title
EP18784358.6A EP3611032A4 (en) 2017-04-12 2018-04-11 OMNIDIRECTIONAL WHEEL
CN201890000702.1U CN211032034U (zh) 2017-04-12 2018-04-11 全方向车轮
US16/599,402 US11273668B2 (en) 2017-04-12 2019-10-11 Omnidirectional wheel

Applications Claiming Priority (2)

Application Number Priority Date Filing Date Title
JP2017-079204 2017-04-12
JP2017079204A JP6914088B2 (ja) 2017-04-12 2017-04-12 全方向車輪

Related Child Applications (1)

Application Number Title Priority Date Filing Date
US16/599,402 Continuation US11273668B2 (en) 2017-04-12 2019-10-11 Omnidirectional wheel

Publications (1)

Publication Number Publication Date
WO2018190389A1 true WO2018190389A1 (ja) 2018-10-18

Family

ID=63793184

Family Applications (1)

Application Number Title Priority Date Filing Date
PCT/JP2018/015294 Ceased WO2018190389A1 (ja) 2017-04-12 2018-04-11 全方向車輪

Country Status (5)

Country Link
US (1) US11273668B2 (enExample)
EP (1) EP3611032A4 (enExample)
JP (1) JP6914088B2 (enExample)
CN (1) CN211032034U (enExample)
WO (1) WO2018190389A1 (enExample)

Cited By (2)

* Cited by examiner, † Cited by third party
Publication number Priority date Publication date Assignee Title
CN114789624A (zh) * 2022-03-16 2022-07-26 上海龙创汽车设计股份有限公司 一种轻量化全向轮及其生产工艺
US11938752B2 (en) 2019-11-08 2024-03-26 WHILL, Inc. Omnidirectional wheel

Families Citing this family (12)

* Cited by examiner, † Cited by third party
Publication number Priority date Publication date Assignee Title
WO2019107227A1 (ja) * 2017-11-28 2019-06-06 本田技研工業株式会社 車輪
USD898324S1 (en) * 2018-08-30 2020-10-06 Shark Wheel, Inc. Pallet truck wheels
CN111251781B (zh) * 2018-11-19 2025-04-25 椅夫健康(厦门)智能科技有限公司 一种万向轮用的焊接轴及其轮组件和万向轮
CN111347823A (zh) * 2018-12-20 2020-06-30 沈阳新松机器人自动化股份有限公司 一种伺服全向轮
WO2021039918A1 (ja) * 2019-08-30 2021-03-04 日本電産シンポ株式会社 駆動力伝達部材、及び、駆動力伝達装置
JP7408464B2 (ja) * 2020-03-31 2024-01-05 ニデックドライブテクノロジー株式会社 回転駆動装置
CN111873698A (zh) * 2020-07-23 2020-11-03 上海交通大学 具有变角全向轮的全向车
US11878551B2 (en) 2020-08-12 2024-01-23 Anhui JBH Medical Apparatus Co., Ltd. Omnidirectional wheel and scooter having omnidirectional wheel
CN114074500A (zh) * 2020-08-12 2022-02-22 北京无疆科技有限公司 全向轮及具有全向轮的代步车
CN115107412B (zh) * 2021-05-11 2025-06-06 上海邦邦机器人有限公司 全向轮及移动设备
CN113246654B (zh) * 2021-06-16 2021-10-19 江苏邦邦智能科技有限公司 全向轮及移动设备
USD1077705S1 (en) 2022-06-30 2025-06-03 Techtronic Cordless Gp Wheel

Citations (7)

* Cited by examiner, † Cited by third party
Publication number Priority date Publication date Assignee Title
WO1986003132A1 (en) 1984-11-20 1986-06-05 International Texas Industries, Inc. Omnidirectional vehicle base
JP2008290638A (ja) 2007-05-28 2008-12-04 Fuji Seisakusho:Kk 双方向ローラ
JP2014205475A (ja) * 2013-04-16 2014-10-30 京町産業車輌株式会社 車輪
JP2015085750A (ja) 2013-10-29 2015-05-07 Whill株式会社 全方向移動車輪およびそれを備えた全方向移動車両
JP2015093513A (ja) * 2013-11-08 2015-05-18 Whill株式会社 全方向移動車輪およびそれを備えた全方向移動車両
JP2015093651A (ja) * 2013-11-14 2015-05-18 本田技研工業株式会社 車輪及び車輪装置及び倒立振子型車両
WO2015197198A2 (en) * 2014-06-25 2015-12-30 Innovationmakers Limited Foldable stroller

Family Cites Families (6)

* Cited by examiner, † Cited by third party
Publication number Priority date Publication date Assignee Title
CN1212213A (zh) * 1998-09-01 1999-03-31 葛尧根 一种万向轮及使用该轮的移动平台
CN202623789U (zh) * 2012-06-19 2012-12-26 杭州电子科技大学 一种新型全向轮结构
JP5994173B2 (ja) * 2013-10-18 2016-09-21 トヨタ自動車東日本株式会社 回転体付車輪及び移動体
JP5994175B2 (ja) * 2013-12-02 2016-09-21 トヨタ自動車東日本株式会社 回転体付車輪及び移動体
JP6950646B2 (ja) * 2018-08-27 2021-10-13 株式会社豊田自動織機 全方向移動型車輪
TWI731292B (zh) * 2019-01-17 2021-06-21 緯創資通股份有限公司 行動載具及其全向輪

Patent Citations (7)

* Cited by examiner, † Cited by third party
Publication number Priority date Publication date Assignee Title
WO1986003132A1 (en) 1984-11-20 1986-06-05 International Texas Industries, Inc. Omnidirectional vehicle base
JP2008290638A (ja) 2007-05-28 2008-12-04 Fuji Seisakusho:Kk 双方向ローラ
JP2014205475A (ja) * 2013-04-16 2014-10-30 京町産業車輌株式会社 車輪
JP2015085750A (ja) 2013-10-29 2015-05-07 Whill株式会社 全方向移動車輪およびそれを備えた全方向移動車両
JP2015093513A (ja) * 2013-11-08 2015-05-18 Whill株式会社 全方向移動車輪およびそれを備えた全方向移動車両
JP2015093651A (ja) * 2013-11-14 2015-05-18 本田技研工業株式会社 車輪及び車輪装置及び倒立振子型車両
WO2015197198A2 (en) * 2014-06-25 2015-12-30 Innovationmakers Limited Foldable stroller

Non-Patent Citations (1)

* Cited by examiner, † Cited by third party
Title
See also references of EP3611032A4

Cited By (2)

* Cited by examiner, † Cited by third party
Publication number Priority date Publication date Assignee Title
US11938752B2 (en) 2019-11-08 2024-03-26 WHILL, Inc. Omnidirectional wheel
CN114789624A (zh) * 2022-03-16 2022-07-26 上海龙创汽车设计股份有限公司 一种轻量化全向轮及其生产工艺

Also Published As

Publication number Publication date
CN211032034U (zh) 2020-07-17
US11273668B2 (en) 2022-03-15
US20200047548A1 (en) 2020-02-13
JP6914088B2 (ja) 2021-08-04
EP3611032A1 (en) 2020-02-19
EP3611032A4 (en) 2020-12-30
JP2018176990A (ja) 2018-11-15

Similar Documents

Publication Publication Date Title
WO2018190389A1 (ja) 全方向車輪
EP3616940B1 (en) Omnidirectional wheel
JP5687325B1 (ja) 全方向移動車輪およびそれを備えた全方向移動車両
EP3081468B1 (en) Omni-wheel, frictional propulsion device and omni-directional vehicle
JP2018176990A5 (enExample)
KR101133996B1 (ko) 메카넘휠
JP6903159B2 (ja) 車輪
WO2021090700A1 (ja) 全方向車輪
JP2012091555A (ja) 走行車輪
CN107364279A (zh) 车辆及其全向轮
CN207106029U (zh) 车辆及其全向轮
JP2017013782A (ja) 自動車車軸における配置のためのゴム・固体支承部
CN102821975B (zh) 用于车辆的车轮轴承
JP5682941B2 (ja) 全方位移動用車輪
CN207106028U (zh) 弹性减震构件及包含该构件的全向轮
JP4983154B2 (ja) 車輪支持用転がり軸受ユニットの製造方法
CN210792686U (zh) 一种麦克纳姆全向轮
CN107444008A (zh) 全向移动轮
CN207229605U (zh) 车轮支承用滚动轴承单元
JP2007022254A (ja) キャスタ及び台車
JP5141114B2 (ja) 車輪支持用転がり軸受ユニット
JP2025158661A (ja) 片持ち回転ローラ配置型円形車輪
KR102520229B1 (ko) 휠 허브 및 이를 포함하는 휠 베어링 조립체
KR20150019637A (ko) 중장비 차량 및 농기계의 솔리드 타이어용 휠
JP2014181786A (ja) ディスクブレーキ

Legal Events

Date Code Title Description
121 Ep: the epo has been informed by wipo that ep was designated in this application

Ref document number: 18784358

Country of ref document: EP

Kind code of ref document: A1

NENP Non-entry into the national phase

Ref country code: DE

ENP Entry into the national phase

Ref document number: 2018784358

Country of ref document: EP

Effective date: 20191112