WO2018155306A1 - 熱交換器 - Google Patents

熱交換器 Download PDF

Info

Publication number
WO2018155306A1
WO2018155306A1 PCT/JP2018/005318 JP2018005318W WO2018155306A1 WO 2018155306 A1 WO2018155306 A1 WO 2018155306A1 JP 2018005318 W JP2018005318 W JP 2018005318W WO 2018155306 A1 WO2018155306 A1 WO 2018155306A1
Authority
WO
WIPO (PCT)
Prior art keywords
flow path
plate
cooling water
cooling
supercharged air
Prior art date
Legal status (The legal status is an assumption and is not a legal conclusion. Google has not performed a legal analysis and makes no representation as to the accuracy of the status listed.)
Ceased
Application number
PCT/JP2018/005318
Other languages
English (en)
French (fr)
Japanese (ja)
Inventor
和貴 鈴木
太一 浅野
Current Assignee (The listed assignees may be inaccurate. Google has not performed a legal analysis and makes no representation or warranty as to the accuracy of the list.)
Denso Corp
Original Assignee
Denso Corp
Priority date (The priority date is an assumption and is not a legal conclusion. Google has not performed a legal analysis and makes no representation as to the accuracy of the date listed.)
Filing date
Publication date
Application filed by Denso Corp filed Critical Denso Corp
Priority to DE112018000931.9T priority Critical patent/DE112018000931T5/de
Publication of WO2018155306A1 publication Critical patent/WO2018155306A1/ja
Priority to US16/535,978 priority patent/US11156406B2/en
Anticipated expiration legal-status Critical
Ceased legal-status Critical Current

Links

Images

Classifications

    • FMECHANICAL ENGINEERING; LIGHTING; HEATING; WEAPONS; BLASTING
    • F28HEAT EXCHANGE IN GENERAL
    • F28DHEAT-EXCHANGE APPARATUS, NOT PROVIDED FOR IN ANOTHER SUBCLASS, IN WHICH THE HEAT-EXCHANGE MEDIA DO NOT COME INTO DIRECT CONTACT
    • F28D9/00Heat-exchange apparatus having stationary plate-like or laminated conduit assemblies for both heat-exchange media, the media being in contact with different sides of a conduit wall
    • F28D9/0031Heat-exchange apparatus having stationary plate-like or laminated conduit assemblies for both heat-exchange media, the media being in contact with different sides of a conduit wall the conduits for one heat-exchange medium being formed by paired plates touching each other
    • F28D9/0043Heat-exchange apparatus having stationary plate-like or laminated conduit assemblies for both heat-exchange media, the media being in contact with different sides of a conduit wall the conduits for one heat-exchange medium being formed by paired plates touching each other the plates having openings therein for circulation of at least one heat-exchange medium from one conduit to another
    • F28D9/0056Heat-exchange apparatus having stationary plate-like or laminated conduit assemblies for both heat-exchange media, the media being in contact with different sides of a conduit wall the conduits for one heat-exchange medium being formed by paired plates touching each other the plates having openings therein for circulation of at least one heat-exchange medium from one conduit to another with U-flow or serpentine-flow inside conduits; with centrally arranged openings on the plates
    • FMECHANICAL ENGINEERING; LIGHTING; HEATING; WEAPONS; BLASTING
    • F28HEAT EXCHANGE IN GENERAL
    • F28DHEAT-EXCHANGE APPARATUS, NOT PROVIDED FOR IN ANOTHER SUBCLASS, IN WHICH THE HEAT-EXCHANGE MEDIA DO NOT COME INTO DIRECT CONTACT
    • F28D9/00Heat-exchange apparatus having stationary plate-like or laminated conduit assemblies for both heat-exchange media, the media being in contact with different sides of a conduit wall
    • F28D9/0062Heat-exchange apparatus having stationary plate-like or laminated conduit assemblies for both heat-exchange media, the media being in contact with different sides of a conduit wall the conduits for one heat-exchange medium being formed by spaced plates with inserted elements
    • F28D9/0075Heat-exchange apparatus having stationary plate-like or laminated conduit assemblies for both heat-exchange media, the media being in contact with different sides of a conduit wall the conduits for one heat-exchange medium being formed by spaced plates with inserted elements the plates having openings therein for circulation of the heat-exchange medium from one conduit to another
    • FMECHANICAL ENGINEERING; LIGHTING; HEATING; WEAPONS; BLASTING
    • F02COMBUSTION ENGINES; HOT-GAS OR COMBUSTION-PRODUCT ENGINE PLANTS
    • F02BINTERNAL-COMBUSTION PISTON ENGINES; COMBUSTION ENGINES IN GENERAL
    • F02B29/00Engines characterised by provision for charging or scavenging not provided for in groups F02B25/00, F02B27/00 or F02B33/00 - F02B39/00; Details thereof
    • F02B29/04Cooling of air intake supply
    • F02B29/045Constructional details of the heat exchangers, e.g. pipes, plates, ribs, insulation, materials, or manufacturing and assembly
    • F02B29/0462Liquid cooled heat exchangers
    • FMECHANICAL ENGINEERING; LIGHTING; HEATING; WEAPONS; BLASTING
    • F28HEAT EXCHANGE IN GENERAL
    • F28FDETAILS OF HEAT-EXCHANGE AND HEAT-TRANSFER APPARATUS, OF GENERAL APPLICATION
    • F28F3/00Plate-like or laminated elements; Assemblies of plate-like or laminated elements
    • F28F3/08Elements constructed for building-up into stacks, e.g. capable of being taken apart for cleaning
    • FMECHANICAL ENGINEERING; LIGHTING; HEATING; WEAPONS; BLASTING
    • F28HEAT EXCHANGE IN GENERAL
    • F28FDETAILS OF HEAT-EXCHANGE AND HEAT-TRANSFER APPARATUS, OF GENERAL APPLICATION
    • F28F9/00Casings; Header boxes; Auxiliary supports for elements; Auxiliary members within casings
    • F28F9/001Casings in the form of plate-like arrangements; Frames enclosing a heat exchange core
    • FMECHANICAL ENGINEERING; LIGHTING; HEATING; WEAPONS; BLASTING
    • F28HEAT EXCHANGE IN GENERAL
    • F28FDETAILS OF HEAT-EXCHANGE AND HEAT-TRANSFER APPARATUS, OF GENERAL APPLICATION
    • F28F9/00Casings; Header boxes; Auxiliary supports for elements; Auxiliary members within casings
    • F28F9/02Header boxes; End plates
    • F28F9/0219Arrangements for sealing end plates into casing or header box; Header box sub-elements
    • F28F9/0224Header boxes formed by sealing end plates into covers
    • FMECHANICAL ENGINEERING; LIGHTING; HEATING; WEAPONS; BLASTING
    • F28HEAT EXCHANGE IN GENERAL
    • F28DHEAT-EXCHANGE APPARATUS, NOT PROVIDED FOR IN ANOTHER SUBCLASS, IN WHICH THE HEAT-EXCHANGE MEDIA DO NOT COME INTO DIRECT CONTACT
    • F28D21/00Heat-exchange apparatus not covered by any of the groups F28D1/00 - F28D20/00
    • F28D2021/0019Other heat exchangers for particular applications; Heat exchange systems not otherwise provided for
    • F28D2021/008Other heat exchangers for particular applications; Heat exchange systems not otherwise provided for for vehicles
    • F28D2021/0082Charged air coolers
    • FMECHANICAL ENGINEERING; LIGHTING; HEATING; WEAPONS; BLASTING
    • F28HEAT EXCHANGE IN GENERAL
    • F28FDETAILS OF HEAT-EXCHANGE AND HEAT-TRANSFER APPARATUS, OF GENERAL APPLICATION
    • F28F2275/00Fastening; Joining
    • F28F2275/02Fastening; Joining by using bonding materials; by embedding elements in particular materials
    • F28F2275/025Fastening; Joining by using bonding materials; by embedding elements in particular materials by using adhesives
    • FMECHANICAL ENGINEERING; LIGHTING; HEATING; WEAPONS; BLASTING
    • F28HEAT EXCHANGE IN GENERAL
    • F28FDETAILS OF HEAT-EXCHANGE AND HEAT-TRANSFER APPARATUS, OF GENERAL APPLICATION
    • F28F2275/00Fastening; Joining
    • F28F2275/04Fastening; Joining by brazing
    • FMECHANICAL ENGINEERING; LIGHTING; HEATING; WEAPONS; BLASTING
    • F28HEAT EXCHANGE IN GENERAL
    • F28FDETAILS OF HEAT-EXCHANGE AND HEAT-TRANSFER APPARATUS, OF GENERAL APPLICATION
    • F28F2275/00Fastening; Joining
    • F28F2275/12Fastening; Joining by methods involving deformation of the elements
    • F28F2275/122Fastening; Joining by methods involving deformation of the elements by crimping, caulking or clinching
    • YGENERAL TAGGING OF NEW TECHNOLOGICAL DEVELOPMENTS; GENERAL TAGGING OF CROSS-SECTIONAL TECHNOLOGIES SPANNING OVER SEVERAL SECTIONS OF THE IPC; TECHNICAL SUBJECTS COVERED BY FORMER USPC CROSS-REFERENCE ART COLLECTIONS [XRACs] AND DIGESTS
    • Y02TECHNOLOGIES OR APPLICATIONS FOR MITIGATION OR ADAPTATION AGAINST CLIMATE CHANGE
    • Y02TCLIMATE CHANGE MITIGATION TECHNOLOGIES RELATED TO TRANSPORTATION
    • Y02T10/00Road transport of goods or passengers
    • Y02T10/10Internal combustion engine [ICE] based vehicles
    • Y02T10/12Improving ICE efficiencies

Definitions

  • the present disclosure relates to a heat exchanger that cools supercharged air of a vehicle.
  • the heat exchanger described in Patent Document 1 includes a plurality of stacked plates and a housing arranged so as to surround the plates.
  • a cooling fluid flow path through which a cooling fluid flows is formed by a gap between adjacent plates. That is, in the heat exchanger described in Patent Document 1, a plurality of cooling fluid flow paths are stacked and arranged along the stacking direction of the plates. Each cooling fluid flow path is communicated with each other via a cylindrical cup portion formed in each of the plurality of plates.
  • the supercharged air is cooled by performing heat exchange between the cooling fluid flowing between the plates and the supercharged air of the vehicle.
  • An object of the present disclosure is to provide a heat exchanger capable of improving the durability of the cup portion.
  • the heat exchanger includes a plurality of cooling plates and a duct plate.
  • the plurality of cooling plates have a cooling water flow path through which the cooling water flows, and are stacked with a predetermined gap.
  • the duct plate is provided around a plurality of stacked cooling plates, and has an inflow side opening through which the supercharged air flows and an outflow side opening through which the supercharged air flows out.
  • a cooling plate has a cup part which connects each cooling water flow path of two cooling plates by joining to an adjacent cooling plate.
  • the cooling water channel has a channel part formed so as to extend from the cup part in a direction orthogonal to the flow direction of the supercharged air.
  • the cup portion is centered at a position shifted in the supercharging air flow direction from the center of the flow passage portion in the flow passage width direction when the direction perpendicular to the flow direction of the cooling water in the flow passage portion is defined as the flow passage width direction. It is formed in a cylindrical shape so as to have an axis.
  • the cup portion configured as described above is more inflow of the duct plate. It is arranged to be separated from the side opening or the outflow side opening. Therefore, even if the inflow side opening portion or the outflow side opening portion of the duct plate is deformed due to the heat of the supercharged air, the cup portion is less likely to be distorted. Therefore, the durability of the cup portion can be improved.
  • FIG. 1 is a block diagram showing a schematic configuration of a vehicle intake system.
  • FIG. 2 is a plan view illustrating a planar structure of the heat exchanger according to the embodiment.
  • Drawing 3 is a side view showing the side structure of the heat exchange part of an embodiment.
  • FIG. 4 is an enlarged view showing a partially enlarged structure of the side structure of the heat exchange unit of the embodiment.
  • Drawing 5 is a front view showing the front structure of the heat exchanger of an embodiment.
  • FIG. 6 is a cross-sectional view showing a part of the cross-sectional structure taken along line VI-VI in FIG.
  • FIG. 7 is a cross-sectional view showing a part of the cross-sectional structure along the line VII-VII in FIG.
  • FIG. 8 is a plan view showing a planar structure of the cooling plate of the embodiment.
  • FIG. 9 is an enlarged side view showing a side structure around the cup portion of the cooling plate of the embodiment.
  • FIG. 10 is a cross-sectional view illustrating a partial cross-sectional structure of the heat exchange unit of the embodiment.
  • FIG. 11 is a plan view showing a planar structure of a cooling plate of a comparative example.
  • FIG. 12 is a plan view showing a planar structure of a cooling plate according to another embodiment.
  • the intake system 10 is provided with a supercharger 12 that supercharges air taken into the engine 11.
  • a supercharger 12 that supercharges air taken into the engine 11.
  • a heat exchanger 13 is provided on the downstream side of the intake air flow from the supercharger 12 in the intake system 10. The heat exchanger 13 cools the supercharged air by supplying heat to the engine 11 by performing heat exchange between the air supercharged by the supercharger 12 and the cooling water. Thereby, since the charging efficiency of the air supplied to the engine 11 increases, the output of the engine 11 can be increased.
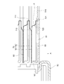
  • the heat exchanger 13 includes a heat exchanging unit 20, tanks 30 and 31, and pipes 40 and 41.
  • the heat exchange unit 20 is formed in a substantially rectangular parallelepiped shape.
  • the heat exchanging unit 20 includes a duct plate 50, a heat exchanging core unit 60, an inflow side caulking plate 52, and an outflow side caulking plate 53.
  • the heat exchange core unit 60 is a part that actually exchanges heat between the supercharged air and the cooling water.
  • the duct plate 50 is provided around the heat exchange core part 60 and is a part that introduces supercharged air into the heat exchange core part 60.
  • the duct plate 50 is composed of a duct plate upper 51a and a duct plate lower 51b assembled in a cylindrical shape.
  • the duct plate 50 is provided so as to surround the heat exchange core part 60. That is, the heat exchange core part 60 is accommodated in the duct plate 50.
  • an inflow side opening 512 is formed on one side of the duct plate 50.
  • the inflow side opening 512 is a portion into which supercharged air flows.
  • an outflow side opening 513 is formed on the other side of the duct plate 50.
  • the outflow side opening 513 is a portion through which supercharged air flows out. That is, in the duct plate 50, the supercharged air flows in the direction from the inflow side opening 512 toward the outflow side opening 513, that is, in the direction indicated by the arrow Y in FIGS.
  • the direction indicated by the arrow Y is also referred to as “supercharging air flow direction”.
  • a cooling water inlet 514 and a cooling water outlet 515 are formed in the duct plate upper 51a.
  • the cooling water inlet 514 is located downstream of the cooling water outlet 515 in the supercharging air flow direction Y.
  • the cooling water inflow side pipe 40 is connected to the cooling water inlet 514.
  • a cooling water outflow side pipe 41 is connected to the cooling water outlet 515. Cooling water flows into the cooling water inlet 514 through the cooling water inflow side piping 40.
  • the cooling water flowing in from the cooling water inlet 514 flows through the heat exchange core unit 60.
  • the cooling water that has passed through the heat exchange core section 60 flows to the cooling water outflow side pipe 41 via the cooling water outlet 515.
  • the inflow side caulking plate 52 is joined to the periphery of the inflow side flange portion 51c of the duct plate upper 51a and the inflow side opening portion 512 of the duct plate lower 51b by brazing or the like. An inlet is formed.
  • the inflow side caulking plate 52 has a tank seal portion 520 and a caulking flange portion 521 in an annular shape with respect to the inflow port, a packing (not shown) is inserted into the tank seal portion 520, and the end portion of the inflow side tank 30 is sealed with the packing.
  • the inflow side tank 30 can be fixed to the heat exchanging unit 20.
  • the outflow side caulking plate 53 is joined to the peripheral edge of the outflow side flange portion 51d of the duct plate upper 51a and the outflow side opening portion 513 of the duct plate lower 51b by brazing or the like. An outlet is formed.
  • the outflow side caulking plate 53 has a tank seal portion 530 and a caulking flange portion 531 in an annular shape with respect to the outflow port, a packing (not shown) is inserted into the tank seal portion 530, and the end portion of the outflow side tank 31 is sealed with the packing. The leakage of the supercharged air side is prevented by caulking, and the outflow side tank 31 can be fixed to the heat exchange unit 20.
  • the heat exchange core unit 60 includes a plurality of cooling plates 70, a plurality of outer fins 80, and a plurality of spacer plates 90.
  • the heat exchange core unit 60 has a structure in which cooling plates 70 and outer fins 80 are alternately stacked. That is, the outer fin 80 is disposed in a predetermined gap formed between two adjacent cooling plates 70 and 70. A gap in which the outer fin 80 is disposed constitutes a supercharged air passage through which supercharged air flows. 3 and 4, only the both end portions of the outer fin 80 are illustrated for convenience, and the other portions are not illustrated.
  • the heat exchange core unit 60 cools the supercharged air by exchanging heat between the cooling water flowing inside the cooling plate 70 and the supercharged air flowing outside the cooling plate 70.
  • the stacking direction of the plurality of cooling plates 70 and the plurality of outer fins 80 is also referred to as “vertical direction”.
  • the cooling plate 70 is formed in a flat shape.
  • the cooling plate 70 includes a pair of plates 71 and 72 joined together. A gap is partially formed between the pair of plates 71 and 72. Due to this gap, as shown in FIG. 8, a cooling water flow path 73 through which the cooling water flows is formed inside the cooling plate 70.
  • the plate 71 disposed closer to the pipes 40 and 41 out of the pair of plates 71 and 72 is also referred to as an “upper plate”.
  • the plate 72 disposed on the side farther from the pipes 40 and 41 out of the pair of plates 71 and 72 is also referred to as a “lower plate”.
  • a through hole 712 is formed in a portion of the upper plate 71 facing the cooling water inlet 514 of the duct plate upper 51a.
  • a burring portion 713 that protrudes upward is formed on the inner peripheral portion of the through hole 712.
  • a through hole 710 is formed in a portion of the upper plate 71 facing the cooling water outlet 515 of the duct plate upper 51 a.
  • a burring portion 711 that protrudes upward is also formed in the inner peripheral portion of the through hole 710.
  • an inflow side cup portion 722 that protrudes in a cylindrical shape downward is formed in a portion of the lower plate 72 facing the cooling water inlet 514 of the duct plate upper 51 a.
  • the inflow side cup portion 722 is a portion for allowing cooling water to flow into the cooling water flow path 73 of the cooling plate 70.
  • a burring portion 723 is formed so as to protrude from the opening portion at the tip of the inflow side cup portion 722.
  • an outflow side cup portion 720 protruding downward in a cylindrical shape is formed in a portion of the lower plate 72 facing the cooling water outlet 515 of the duct plate upper 51 a. .
  • the outflow side cup portion 720 is a portion that causes the cooling water that has flowed through the cooling water flow path 73 of the cooling plate 70 to flow out. As shown in FIG. 9, a burring portion 721 is formed at the opening portion at the tip of the outflow side cup portion 720 so as to protrude.
  • the burring portion 723 provided in the inflow side cup portion 722 among the burring portions is caulked and fixed to the through hole 94 of the spacer plate 90, and the burring portion 713 provided in the through hole 712 of the upper plate 71.
  • the cooling water flow paths (through holes 712 and cup portions 722) of the plurality of stacked cooling plates 70 can be coaxially stacked by being inserted into the through holes 94 of the spacer plate 90 described above.
  • the distribution space G ⁇ b> 1 is configured by the communication between the through-hole 712 and the inflow side cup portion 722 of each cooling plate 70.
  • the distribution space G1 communicates with the cooling water inlet 514 of the duct plate upper 51a and also communicates with the cooling water flow path 73 of each cooling plate 70. That is, the cooling water that has flowed into the heat exchange core 60 from the cooling water inflow side pipe 40 via the cooling water inlet 514 of the duct plate upper 51a is distributed to the cooling water flow paths 73 of the respective cooling plates 70 via the distribution space G1. Is done.
  • the burring portion 721 provided in the outflow side cup portion 720 is caulked and fixed to the through hole 93 of the spacer plate 90, and the burring portion 711 provided in the through hole 710 of the upper plate 71.
  • the cooling water flow paths (through holes 710 and cup portions 720) of the plurality of stacked cooling plates 70 can be coaxially stacked by being inserted into the through holes 93 of the spacer plate 90 described above.
  • the through-hole 710 and the outflow side cup part 720 of each cooling plate 70 are communicated to form a collective space G2.
  • the collective space G2 communicates with the cooling water outlet 515 of the duct plate upper 51a and also communicates with the cooling water flow path 73 of each cooling plate 70. That is, the cooling water that has flowed through the cooling water flow path 73 of each cooling plate 70 is once collected in the collecting space G2, and then flows out to the cooling water outflow side pipe 41 through the cooling water outlet 515 of the duct plate upper 51a.
  • the spacer plate 90 is formed in a plate shape. At both ends of the spacer plate 90 in the supercharging air flow direction Y, blocking walls 92 are formed so as to be folded upward.
  • the outer fin 80 is not disposed at the portion where the blocking wall 92 is disposed.
  • the blocking wall 92 increases the cooling efficiency of the supercharged air by preventing the supercharged air from flowing into the portion where the outer fin 80 is not disposed.
  • the through holes 93 and 94 of the spacer plate 90 arranged at the bottom are closed when the projecting portions 516 and 517 formed in the duct plate lower 51b are fitted.
  • the cooling water flow path 73 formed inside the cooling plate 70 includes a first flow path portion 730, a second flow path portion 731, and a U-turn portion 732.
  • the first flow path portion 730 is formed so as to extend from one end portion 74 where the through hole 712 and the inflow side cup portion 722 in the cooling plate 70 are formed toward the other end portion 75.
  • the first flow path portion 730 is in communication with the distribution space G ⁇ b> 1 through the through hole 712 and the inflow side cup portion 722.
  • the second flow path portion 731 is formed so as to extend from one end portion 74 where the through hole 710 and the outflow side cup portion 720 in the cooling plate 70 are formed toward the other end portion 75.
  • the second flow path portion 731 is communicated with the collective space G ⁇ b> 2 via the through hole 710 and the outflow side cup portion 720.
  • the first flow path portion 730 and the second flow path portion 731 are formed to extend in a direction orthogonal to the supercharging air flow direction Y.
  • the first flow path portion 730 and the second flow path portion 731 are communicated with each other by a U-turn portion 732 at the other end portion 75 of the cooling plate 70.
  • the U-turn portion 732 is formed to be bent in a U shape.
  • the cooling water flows from the distribution space G 1 into the first flow path portion 730, and this cooling water flows through the U-turn portion 732 to the second flow. It flows to the road portion 731.
  • the cooling water that has flowed through the second flow path portion 731 flows into the collective space G2.
  • the axes m1 and m2 in the figure are the flow of the first flow path part 730.
  • the center in the channel width direction H and the center in the channel width direction H of the second channel portion 731 are shown. Therefore, the through hole 712 and the inflow side cup portion 722 are arranged at positions shifted to the upstream side in the supercharging air flow direction from the center m1 of the first flow path portion 730. Further, the through-hole 710 and the outflow side cup portion 720 are arranged at positions shifted to the downstream side in the supercharging air flow direction Y from the center m2 of the second flow path portion 731.
  • the supercharged air passes from the inflow side tank 30 through the inflow side of the inflow side caulking plate 52 to the inside of the duct plate 50 constituted by the duct plate upper 51a and the duct plate lower 51b. be introduced.
  • the supercharged air passes through the gap between the cooling plates 70, that is, the heat exchange core portion 60 where the outer fin 80 is disposed, and flows to the outflow side tank 31.
  • the cooling water flows into the heat exchange core section 60 through the cooling water inflow side pipe 40.
  • the cooling water that has flowed into the heat exchange core portion 60 from the cooling water inflow side pipe 40 is distributed to the cooling water flow paths 73 of the respective cooling plates 70 via the distribution space G1.
  • the cooling water distributed to the cooling water flow path 73 of each cooling plate 70 flows in order through the first flow path portion 730, the U-turn portion 732, and the second flow path portion 731 and is collected in the collective space G2.
  • the supercharged air flows in the direction indicated by the arrow Y outside the cooling plate 70.
  • the cooling water flows through the first flow path portion 730, the U-turn portion 732, and the second flow path portion 731, the supercharged air is cooled by absorbing the heat of the supercharged air.
  • the cooling water collected in the gathering space G2 is discharged to the outside through the cooling water outflow side pipe 41.
  • the duct plate 50 and the caulking plates 52 and 53 are likely to be deformed due to the heat of the supercharged air and the internal pressure.
  • the inflow side caulking plate 52, the duct plate upper 51a, and the duct plate lower 51b which have a high supercharged air temperature, are easily deformed, and the inflow side caulking plate 52 is in the direction indicated by the arrow A as shown in FIG. Since the duct plate 50 and the spacer plate 90 are pulled due to the deformation of the inflow side caulking plate 52 due to the structure, excessive distortion occurs in the portion P of the outflow side cup portion 720 of the cooling plate 70 joined thereto. .
  • the inflow side cup portion 722 of the cooling plate 70 may be distorted in the same manner.
  • the supercharger temperature is lower than that of the inflow side, the generated distortion also occurs. There is a tendency to become smaller.
  • the outflow side cup portion 720 is shifted to the downstream side in the supercharging air flow direction from the center m2 of the second flow path portion 731. It is formed in a cylindrical shape so as to have a central axis at a certain position. Accordingly, as shown in FIG. 11, the outflow side cup portion of the present embodiment is compared with the case where the outflow side cup portion 720 is formed so as to have a central axis at the center m2 of the second flow path portion 731. 720 is disposed away from the inflow side caulking plate 52.
  • the outflow side cup portion 720 is formed in a cylindrical shape so as to have a central axis at a position shifted to the downstream side in the supercharging air flow direction from the center m2 of the second flow path portion 731.
  • the inflow side cup portion 722 is formed in a cylindrical shape so as to have a central axis at a position shifted from the center m1 of the first flow path portion 730 to the upstream side in the flow direction of the supercharged air.
  • the heat exchange section 20 includes the heat exchange core section 60, the duct plate 50, the inflow side caulking plate 52, and the outflow side caulking plate 53, and the cooling plate 70 and the duct plate 50 are joined. And the inflow side caulking plate 52 and the outflow side caulking plate 53, the inflow side caulking plate 52 and the outflow side caulking plate 53 are likely to be deformed by the heat of the supercharged air. This is a factor that tends to cause distortion in the cup portions 720 and 722 due to the structure of the heat exchanger 13. Therefore, the structure in which the cup portions 720 and 722 are arranged as in the present embodiment is particularly effective.
  • the heat exchanger 13 further includes a spacer plate 90 joined to the duct plate lower 51 b and the cooling plate 70, and the spacer plate 90 prevents the supercharged air from flowing outside the outer fin 80.
  • a spacer plate 90 is provided in the heat exchanger 13 when the inflow side caulking plate 52 and the outflow side caulking plate 53 are deformed due to the heat of the supercharged air, the cup portions 720 and 722 are deformed. Distortion is likely to occur. Therefore, the structure in which the cup portions 720 and 722 are arranged as in the present embodiment is particularly effective.
  • the said embodiment can also be implemented with the following forms.
  • the position of the inflow side cup portion 722 may be a position along the center m1 of the first flow path portion 730 in the flow path width direction. Even if it is such a structure, the effect
  • the shape of the cooling water flow path 73 of the cooling plate 70 is not limited to the U shape, and can be changed as appropriate.
  • the shape of the cooling water channel 73 may be, for example, a linear shape.
  • an inflow side cup portion is disposed at one end thereof, and an outflow side cup portion is disposed at the other end portion.
  • the inflow side cup portion and the outflow side cup portion may be formed in a cylindrical shape so as to have a central axis at a position shifted to the downstream side in the supercharging air flow direction from the center of the flow path portion. .
  • the heat exchanger 13 may have a structure that does not have the spacer plate 90. In the heat exchanger 13 having such a structure, even if the cup parts 720 and 722 of the cooling plate 70 arranged at the lowermost stage are joined to the duct plate 50, the cup parts 720 and 722 are connected as in the above embodiment. If it arrange
  • the shape of the cup portions 720 and 722 is not limited to a cylindrical shape, and can be changed to an arbitrary cylindrical shape such as a square cylindrical shape. -This indication is not limited to said specific example. Any of the above specific examples that are appropriately modified by those skilled in the art are also included in the scope of the present disclosure as long as they have the features of the present disclosure. Each element included in each of the specific examples described above, and the arrangement, conditions, shape, and the like thereof are not limited to those illustrated, and can be appropriately changed. Each element included in each of the specific examples described above can be appropriately combined as long as no technical contradiction occurs.

Landscapes

  • Engineering & Computer Science (AREA)
  • Physics & Mathematics (AREA)
  • Thermal Sciences (AREA)
  • Mechanical Engineering (AREA)
  • General Engineering & Computer Science (AREA)
  • Chemical & Material Sciences (AREA)
  • Combustion & Propulsion (AREA)
  • Heat-Exchange Devices With Radiators And Conduit Assemblies (AREA)
  • Supercharger (AREA)
PCT/JP2018/005318 2017-02-21 2018-02-15 熱交換器 Ceased WO2018155306A1 (ja)

Priority Applications (2)

Application Number Priority Date Filing Date Title
DE112018000931.9T DE112018000931T5 (de) 2017-02-21 2018-02-15 Wärmetauscher
US16/535,978 US11156406B2 (en) 2017-02-21 2019-08-08 Heat exchanger

Applications Claiming Priority (2)

Application Number Priority Date Filing Date Title
JP2017030093A JP6699588B2 (ja) 2017-02-21 2017-02-21 熱交換器
JP2017-030093 2017-02-21

Related Child Applications (1)

Application Number Title Priority Date Filing Date
US16/535,978 Continuation US11156406B2 (en) 2017-02-21 2019-08-08 Heat exchanger

Publications (1)

Publication Number Publication Date
WO2018155306A1 true WO2018155306A1 (ja) 2018-08-30

Family

ID=63253693

Family Applications (1)

Application Number Title Priority Date Filing Date
PCT/JP2018/005318 Ceased WO2018155306A1 (ja) 2017-02-21 2018-02-15 熱交換器

Country Status (4)

Country Link
US (1) US11156406B2 (enExample)
JP (1) JP6699588B2 (enExample)
DE (1) DE112018000931T5 (enExample)
WO (1) WO2018155306A1 (enExample)

Families Citing this family (1)

* Cited by examiner, † Cited by third party
Publication number Priority date Publication date Assignee Title
JP2020085288A (ja) * 2018-11-20 2020-06-04 株式会社デンソー 熱交換器

Citations (11)

* Cited by examiner, † Cited by third party
Publication number Priority date Publication date Assignee Title
JPH01106771U (enExample) * 1988-01-08 1989-07-18
JPH09273886A (ja) * 1996-04-04 1997-10-21 Tokyo Radiator Seizo Kk 積層型熱交換器
JPH10238969A (ja) * 1997-02-25 1998-09-11 Toyo Radiator Co Ltd 水冷熱交換器
DE19902504A1 (de) * 1999-01-22 2000-08-10 Behr Gmbh & Co Wärmeübertrager, insbesondere Ladeluftkühler
US20060231241A1 (en) * 2005-04-18 2006-10-19 Papapanu Steven J Evaporator with aerodynamic first dimples to suppress whistling noise
US20100089548A1 (en) * 2007-04-11 2010-04-15 Viorel Braic Heat exchanger
JP2011117715A (ja) * 2009-11-04 2011-06-16 Valeo Systemes Thermiques スーパーチャージ用エアクーラーの熱交換器
WO2013092642A1 (fr) * 2011-12-20 2013-06-27 Valeo Systemes Thermiques Echangeur de chaleur, ensemble d'un tel echangeur et d'une ou de boites collectrices, module d'admission d'air comprenant un tel ensemble
JP2014516150A (ja) * 2011-05-26 2014-07-07 ヴァレオ システム テルミク 特に自動車用の熱交換器、および対応する吸気装置
JP2016142509A (ja) * 2015-02-05 2016-08-08 株式会社デンソー 水冷式冷却器
WO2017018431A1 (ja) * 2015-07-24 2017-02-02 株式会社ティラド 水冷エアークーラの取付構造

Family Cites Families (4)

* Cited by examiner, † Cited by third party
Publication number Priority date Publication date Assignee Title
US3334399A (en) * 1962-12-31 1967-08-08 Stewart Warner Corp Brazed laminated construction and method of fabrication thereof
US5409056A (en) * 1992-05-11 1995-04-25 General Motors Corporation U-flow tubing for evaporators with bump arrangement for optimized forced convection heat exchange
JP3766016B2 (ja) * 2001-02-07 2006-04-12 カルソニックカンセイ株式会社 燃料電池用熱交換器
FR2973491B1 (fr) 2011-03-31 2018-03-30 Valeo Systemes Thermiques Plaque pour echangeur de chaleur et echangeur de chaleur muni de telles plaques

Patent Citations (11)

* Cited by examiner, † Cited by third party
Publication number Priority date Publication date Assignee Title
JPH01106771U (enExample) * 1988-01-08 1989-07-18
JPH09273886A (ja) * 1996-04-04 1997-10-21 Tokyo Radiator Seizo Kk 積層型熱交換器
JPH10238969A (ja) * 1997-02-25 1998-09-11 Toyo Radiator Co Ltd 水冷熱交換器
DE19902504A1 (de) * 1999-01-22 2000-08-10 Behr Gmbh & Co Wärmeübertrager, insbesondere Ladeluftkühler
US20060231241A1 (en) * 2005-04-18 2006-10-19 Papapanu Steven J Evaporator with aerodynamic first dimples to suppress whistling noise
US20100089548A1 (en) * 2007-04-11 2010-04-15 Viorel Braic Heat exchanger
JP2011117715A (ja) * 2009-11-04 2011-06-16 Valeo Systemes Thermiques スーパーチャージ用エアクーラーの熱交換器
JP2014516150A (ja) * 2011-05-26 2014-07-07 ヴァレオ システム テルミク 特に自動車用の熱交換器、および対応する吸気装置
WO2013092642A1 (fr) * 2011-12-20 2013-06-27 Valeo Systemes Thermiques Echangeur de chaleur, ensemble d'un tel echangeur et d'une ou de boites collectrices, module d'admission d'air comprenant un tel ensemble
JP2016142509A (ja) * 2015-02-05 2016-08-08 株式会社デンソー 水冷式冷却器
WO2017018431A1 (ja) * 2015-07-24 2017-02-02 株式会社ティラド 水冷エアークーラの取付構造

Also Published As

Publication number Publication date
JP6699588B2 (ja) 2020-05-27
US20190360757A1 (en) 2019-11-28
US11156406B2 (en) 2021-10-26
DE112018000931T5 (de) 2019-11-21
JP2018136064A (ja) 2018-08-30

Similar Documents

Publication Publication Date Title
JP6520681B2 (ja) 熱交換器
US9909812B2 (en) Heat exchanger
CN103890524B (zh) 特别用于机动车辆的热交换器
CN109804217B (zh) 具有空气动力学特征以改善性能的热交换器
US10690421B2 (en) Heat exchanger and method of cooling a flow of heated air
WO2018180058A1 (ja) 熱交換器
JPWO2018116370A1 (ja) 熱交換装置
CN115176120A (zh) 热交换器
US11603790B2 (en) Heat exchanger
JP2010223508A (ja) 車両用エンジンのインタークーラ
US20080185136A1 (en) Heat exchanger with bypass seal
WO2018123335A1 (ja) インタークーラ
WO2018155306A1 (ja) 熱交換器
JP2016070655A (ja) 熱交換器
JP6944432B2 (ja) 熱交換器
JPWO2017169666A1 (ja) インタークーラ
WO2018123334A1 (ja) インタークーラ
JP6874545B2 (ja) 熱交換器
KR102852235B1 (ko) 수랭식 열교환기
EP3517873B1 (en) Heat exchanger and method of cooling a flow of heated air
KR20190017365A (ko) 인터쿨러
JP6848772B2 (ja) 熱交換器
KR20180023348A (ko) 열교환기
WO2019031121A1 (ja) 熱交換器
WO2020137407A1 (ja) 熱交換器

Legal Events

Date Code Title Description
121 Ep: the epo has been informed by wipo that ep was designated in this application

Ref document number: 18757560

Country of ref document: EP

Kind code of ref document: A1

122 Ep: pct application non-entry in european phase

Ref document number: 18757560

Country of ref document: EP

Kind code of ref document: A1