WO2018151171A1 - 汚水浄化用の気泡発生装置 - Google Patents

汚水浄化用の気泡発生装置 Download PDF

Info

Publication number
WO2018151171A1
WO2018151171A1 PCT/JP2018/005128 JP2018005128W WO2018151171A1 WO 2018151171 A1 WO2018151171 A1 WO 2018151171A1 JP 2018005128 W JP2018005128 W JP 2018005128W WO 2018151171 A1 WO2018151171 A1 WO 2018151171A1
Authority
WO
WIPO (PCT)
Prior art keywords
bubble generating
injection port
bubble
generating device
flow
Prior art date
Legal status (The legal status is an assumption and is not a legal conclusion. Google has not performed a legal analysis and makes no representation as to the accuracy of the status listed.)
Ceased
Application number
PCT/JP2018/005128
Other languages
English (en)
French (fr)
Japanese (ja)
Inventor
吉田 憲史
和宏 伊藤
Current Assignee (The listed assignees may be inaccurate. Google has not performed a legal analysis and makes no representation or warranty as to the accuracy of the list.)
Aience Co Ltd
Original Assignee
Aience Co Ltd
Priority date (The priority date is an assumption and is not a legal conclusion. Google has not performed a legal analysis and makes no representation as to the accuracy of the date listed.)
Filing date
Publication date
Application filed by Aience Co Ltd filed Critical Aience Co Ltd
Priority to US16/485,741 priority Critical patent/US11130101B2/en
Priority to EP18754912.6A priority patent/EP3584002A4/en
Publication of WO2018151171A1 publication Critical patent/WO2018151171A1/ja
Anticipated expiration legal-status Critical
Ceased legal-status Critical Current

Links

Images

Classifications

    • CCHEMISTRY; METALLURGY
    • C02TREATMENT OF WATER, WASTE WATER, SEWAGE, OR SLUDGE
    • C02FTREATMENT OF WATER, WASTE WATER, SEWAGE, OR SLUDGE
    • C02F3/00Biological treatment of water, waste water, or sewage
    • C02F3/02Aerobic processes
    • C02F3/12Activated sludge processes
    • C02F3/22Activated sludge processes using circulation pipes
    • BPERFORMING OPERATIONS; TRANSPORTING
    • B01PHYSICAL OR CHEMICAL PROCESSES OR APPARATUS IN GENERAL
    • B01FMIXING, e.g. DISSOLVING, EMULSIFYING OR DISPERSING
    • B01F25/00Flow mixers; Mixers for falling materials, e.g. solid particles
    • B01F25/40Static mixers
    • BPERFORMING OPERATIONS; TRANSPORTING
    • B01PHYSICAL OR CHEMICAL PROCESSES OR APPARATUS IN GENERAL
    • B01FMIXING, e.g. DISSOLVING, EMULSIFYING OR DISPERSING
    • B01F23/00Mixing according to the phases to be mixed, e.g. dispersing or emulsifying
    • B01F23/20Mixing gases with liquids
    • BPERFORMING OPERATIONS; TRANSPORTING
    • B01PHYSICAL OR CHEMICAL PROCESSES OR APPARATUS IN GENERAL
    • B01FMIXING, e.g. DISSOLVING, EMULSIFYING OR DISPERSING
    • B01F23/00Mixing according to the phases to be mixed, e.g. dispersing or emulsifying
    • B01F23/20Mixing gases with liquids
    • B01F23/23Mixing gases with liquids by introducing gases into liquid media, e.g. for producing aerated liquids
    • B01F23/232Mixing gases with liquids by introducing gases into liquid media, e.g. for producing aerated liquids using flow-mixing means for introducing the gases, e.g. baffles
    • B01F23/2323Mixing gases with liquids by introducing gases into liquid media, e.g. for producing aerated liquids using flow-mixing means for introducing the gases, e.g. baffles by circulating the flow in guiding constructions or conduits
    • B01F23/23231Mixing gases with liquids by introducing gases into liquid media, e.g. for producing aerated liquids using flow-mixing means for introducing the gases, e.g. baffles by circulating the flow in guiding constructions or conduits being at least partially immersed in the liquid, e.g. in a closed circuit
    • B01F23/232311Mixing gases with liquids by introducing gases into liquid media, e.g. for producing aerated liquids using flow-mixing means for introducing the gases, e.g. baffles by circulating the flow in guiding constructions or conduits being at least partially immersed in the liquid, e.g. in a closed circuit the conduits being vertical draft pipes with a lower intake end and an upper exit end
    • BPERFORMING OPERATIONS; TRANSPORTING
    • B01PHYSICAL OR CHEMICAL PROCESSES OR APPARATUS IN GENERAL
    • B01FMIXING, e.g. DISSOLVING, EMULSIFYING OR DISPERSING
    • B01F25/00Flow mixers; Mixers for falling materials, e.g. solid particles
    • B01F25/30Injector mixers
    • BPERFORMING OPERATIONS; TRANSPORTING
    • B01PHYSICAL OR CHEMICAL PROCESSES OR APPARATUS IN GENERAL
    • B01FMIXING, e.g. DISSOLVING, EMULSIFYING OR DISPERSING
    • B01F25/00Flow mixers; Mixers for falling materials, e.g. solid particles
    • B01F25/40Static mixers
    • B01F25/42Static mixers in which the mixing is affected by moving the components jointly in changing directions, e.g. in tubes provided with baffles or obstructions
    • B01F25/43Mixing tubes, e.g. wherein the material is moved in a radial or partly reversed direction
    • B01F25/431Straight mixing tubes with baffles or obstructions that do not cause substantial pressure drop; Baffles therefor
    • BPERFORMING OPERATIONS; TRANSPORTING
    • B01PHYSICAL OR CHEMICAL PROCESSES OR APPARATUS IN GENERAL
    • B01FMIXING, e.g. DISSOLVING, EMULSIFYING OR DISPERSING
    • B01F25/00Flow mixers; Mixers for falling materials, e.g. solid particles
    • B01F25/40Static mixers
    • B01F25/42Static mixers in which the mixing is affected by moving the components jointly in changing directions, e.g. in tubes provided with baffles or obstructions
    • B01F25/43Mixing tubes, e.g. wherein the material is moved in a radial or partly reversed direction
    • B01F25/431Straight mixing tubes with baffles or obstructions that do not cause substantial pressure drop; Baffles therefor
    • B01F25/4319Tubular elements
    • BPERFORMING OPERATIONS; TRANSPORTING
    • B01PHYSICAL OR CHEMICAL PROCESSES OR APPARATUS IN GENERAL
    • B01FMIXING, e.g. DISSOLVING, EMULSIFYING OR DISPERSING
    • B01F25/00Flow mixers; Mixers for falling materials, e.g. solid particles
    • B01F25/40Static mixers
    • B01F25/42Static mixers in which the mixing is affected by moving the components jointly in changing directions, e.g. in tubes provided with baffles or obstructions
    • B01F25/43Mixing tubes, e.g. wherein the material is moved in a radial or partly reversed direction
    • B01F25/431Straight mixing tubes with baffles or obstructions that do not cause substantial pressure drop; Baffles therefor
    • B01F25/43197Straight mixing tubes with baffles or obstructions that do not cause substantial pressure drop; Baffles therefor characterised by the mounting of the baffles or obstructions
    • B01F25/431971Mounted on the wall
    • BPERFORMING OPERATIONS; TRANSPORTING
    • B01PHYSICAL OR CHEMICAL PROCESSES OR APPARATUS IN GENERAL
    • B01FMIXING, e.g. DISSOLVING, EMULSIFYING OR DISPERSING
    • B01F25/00Flow mixers; Mixers for falling materials, e.g. solid particles
    • B01F25/40Static mixers
    • B01F25/42Static mixers in which the mixing is affected by moving the components jointly in changing directions, e.g. in tubes provided with baffles or obstructions
    • B01F25/43Mixing tubes, e.g. wherein the material is moved in a radial or partly reversed direction
    • B01F25/431Straight mixing tubes with baffles or obstructions that do not cause substantial pressure drop; Baffles therefor
    • B01F25/43197Straight mixing tubes with baffles or obstructions that do not cause substantial pressure drop; Baffles therefor characterised by the mounting of the baffles or obstructions
    • B01F25/431974Support members, e.g. tubular collars, with projecting baffles fitted inside the mixing tube or adjacent to the inner wall
    • BPERFORMING OPERATIONS; TRANSPORTING
    • B01PHYSICAL OR CHEMICAL PROCESSES OR APPARATUS IN GENERAL
    • B01FMIXING, e.g. DISSOLVING, EMULSIFYING OR DISPERSING
    • B01F25/00Flow mixers; Mixers for falling materials, e.g. solid particles
    • B01F25/40Static mixers
    • B01F25/42Static mixers in which the mixing is affected by moving the components jointly in changing directions, e.g. in tubes provided with baffles or obstructions
    • B01F25/43Mixing tubes, e.g. wherein the material is moved in a radial or partly reversed direction
    • B01F25/433Mixing tubes wherein the shape of the tube influences the mixing, e.g. mixing tubes with varying cross-section or provided with inwardly extending profiles
    • B01F25/4335Mixers with a converging-diverging cross-section
    • CCHEMISTRY; METALLURGY
    • C02TREATMENT OF WATER, WASTE WATER, SEWAGE, OR SLUDGE
    • C02FTREATMENT OF WATER, WASTE WATER, SEWAGE, OR SLUDGE
    • C02F1/00Treatment of water, waste water, or sewage
    • C02F1/34Treatment of water, waste water, or sewage with mechanical oscillations
    • CCHEMISTRY; METALLURGY
    • C02TREATMENT OF WATER, WASTE WATER, SEWAGE, OR SLUDGE
    • C02FTREATMENT OF WATER, WASTE WATER, SEWAGE, OR SLUDGE
    • C02F3/00Biological treatment of water, waste water, or sewage
    • C02F3/02Aerobic processes
    • C02F3/12Activated sludge processes
    • C02F3/20Activated sludge processes using diffusers
    • CCHEMISTRY; METALLURGY
    • C02TREATMENT OF WATER, WASTE WATER, SEWAGE, OR SLUDGE
    • C02FTREATMENT OF WATER, WASTE WATER, SEWAGE, OR SLUDGE
    • C02F2303/00Specific treatment goals
    • C02F2303/26Reducing the size of particles, liquid droplets or bubbles, e.g. by crushing, grinding, spraying, creation of microbubbles or nanobubbles
    • CCHEMISTRY; METALLURGY
    • C02TREATMENT OF WATER, WASTE WATER, SEWAGE, OR SLUDGE
    • C02FTREATMENT OF WATER, WASTE WATER, SEWAGE, OR SLUDGE
    • C02F3/00Biological treatment of water, waste water, or sewage
    • C02F3/02Aerobic processes
    • C02F3/12Activated sludge processes
    • C02F3/1278Provisions for mixing or aeration of the mixed liquor
    • C02F3/1284Mixing devices
    • YGENERAL TAGGING OF NEW TECHNOLOGICAL DEVELOPMENTS; GENERAL TAGGING OF CROSS-SECTIONAL TECHNOLOGIES SPANNING OVER SEVERAL SECTIONS OF THE IPC; TECHNICAL SUBJECTS COVERED BY FORMER USPC CROSS-REFERENCE ART COLLECTIONS [XRACs] AND DIGESTS
    • Y02TECHNOLOGIES OR APPLICATIONS FOR MITIGATION OR ADAPTATION AGAINST CLIMATE CHANGE
    • Y02WCLIMATE CHANGE MITIGATION TECHNOLOGIES RELATED TO WASTEWATER TREATMENT OR WASTE MANAGEMENT
    • Y02W10/00Technologies for wastewater treatment
    • Y02W10/10Biological treatment of water, waste water, or sewage

Definitions

  • the present invention relates to a bubble generating device for purifying sewage, which is used for a device that performs purification using aerobic bacteria in purification of drainage of water contaminated with mineral oil or vegetable oil or sludge water.
  • a conventional device that mixes and generates fine bubbles in sewage is disposed in sewage to be purified, and air is supplied from an air outlet provided at the lower end in a pipe such as a cylinder. Is discharged to generate an upward flow of bubbles. Then, the upward water flow generated by the bubble flow is made into a spiral water flow with a spiral wing, etc., and bubbles are mixed in the rising water flow, and at the same time, with a bubble miniaturization means having a large number of protrusions arranged inside the pipe Air bubbles are refined to promote purification into sewage.
  • the present invention has been made in view of the above-described problems, and an object of the present invention is to provide a bubble generating device that can efficiently perform bubble injection on sewage at low operating cost.
  • the bubble generator of the present invention includes an outer cylinder arranged vertically in water, and air supplied from an air supply source disposed in the lower center of the outer cylinder.
  • a bubble generating device for purifying sewage comprising: an injection port that injects upward as a flow; and a fine bubble generating means that is disposed in the outer cylinder above the injection port and that refines the bubbles injected from the injection port.
  • a throat portion for restricting a flow path of the water flow and the bubble flow rising inside the outer cylinder is disposed between the injection port and the fine bubble generating means.
  • the throat portion is disposed between the bubble flow injection port and the fine bubble generation means, the bubble flow injected from the injection port is driven by the momentum flowing into the throat portion by buoyancy and inertial force.
  • the water around the injection port is drawn into the throat portion, and the water flow and the bubble flow become a mixed flow in the throat portion, and the flow path is throttled to accelerate the mixed flow of the water flow and the bubble flow.
  • the accelerated bubble group collides with the fine bubble generating means above at a high speed, and the bubble group is finely ruptured by this collision. Become.
  • FIG. 1A is a sectional side view of a bubble generating device according to an embodiment of the present invention
  • FIG. 1B is a sectional view of a throat portion of the bubble generating device.
  • 2 to 5 are plan views in which a part of the apparatus is broken.
  • the bubble generating device 1 is provided with an injection port 2a of a nozzle 2 connected to a known air supply source (not shown) such as a blower blower at the lower end portion, and refines the air ejected from the injection port 2a.
  • the fine bubble generating means 3 is disposed above the injection port 2a.
  • This bubble generating device 1 is fixed in a septic tank 4 that holds and purifies liquid such as sewage with a fixture 5 or the like, and is used in liquid such as sewage.
  • a plurality of columnar bodies 7 are arranged in the axial direction of the outer cylinder 6 inside a cylindrical outer cylinder 6.
  • a throat portion 30 is disposed between the heel nozzle 2 and the fine bubble generating means 3 as shown in FIGS. 1A and 1B.
  • the throat portion 30 is disposed by fixing a cylindrical member made of resin or the like to the inner peripheral surface of the outer cylinder 6 with screws or the like.
  • the throat portion 30 has a lower end inlet opening 30a and an upper end outlet opening 30b formed as a conical tapered surface, and a constricted portion 30b having a circular cross section with an inner diameter reduced between the inlet opening 30a and the outlet opening 30b. It is said that.
  • the injection port 2a of the nozzle 2 is disposed in the vicinity of the boundary between the inlet opening 30a and the throttle portion 30b and is open vertically and coaxially with the central axis of the throttle portion 30b.
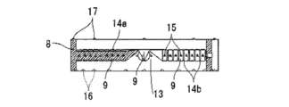
  • the rod cylinder 7 is composed of a cylindrical main body 8 and a plurality of protrusions 9 protruding from the main body 8 toward the center.
  • a cylindrical body 10 having the shape shown in FIG. 2 is further stacked. Arranged.
  • the fine bubble generating means 3 further includes a spacer 11 for arranging the cylindrical bodies 7 and 10 at a predetermined interval.
  • the spacer 11 is composed only of the main body 8 without the protruding portion 9. The spacer 11 maintains the interval when the cylinders 10 are stacked, prevents clogging when the cylinders 10 are clogged, or reduces the number of cylinders 10 to be stacked. Used to maintain the height.
  • the cylindrical outer cylinder 6 and the cylindrical bodies 7 and 10 which are arranged inside the cylinder and are stacked in the axial direction of the outer cylinder 6 with the spacer 11 appropriately sandwiched between the upper and lower two locations (X, Y)
  • the four rivets 12 are fixed to each other. It is desirable that the pressure of the air ejected from the ejection port 2a is adjusted so that the speed of sewage (liquid) passing through the fine bubble generating means 3 is 5 m or more per second.
  • the cylinders 7 adjacent to each other are arranged so as to be shifted by 22.5 degrees in the rotation direction so that the protrusions 9 do not overlap each other when viewed in the axial direction of the cylinders 7 and 10.
  • the columnar body 7 includes a cylindrical main body 8 and a plurality of protrusions 9 protruding from the main body 8 toward the center.
  • the projection 9 is formed at an acute angle at the center C where the tips face each other, and the cavitation generating opening 13 is formed in the center C by the tips 9a of the plurality of projections 9.
  • Each protrusion 9 is set to a predetermined length.
  • the opening 13 is formed at an acute angle at the central portion C where the tip 9a of the protrusion 9 faces, the opening 13 is a substantially cone whose diameter decreases toward the upper side in the axial direction of the cylindrical body 7.
  • the shape in this embodiment, it is a polygonal cone, in particular, see FIG. 7 in particular
  • a radial notch 14a, an axial notch 14b, and a protrusion 15 are formed on the outer periphery of the protrusion 9.
  • the body 8 of the cylindrical body 7 is formed with positioning holes 16 for fixing the positions of the bodies 8 in use and fixing projections 17 on two surfaces facing each other in the axial direction.
  • an inner wall protrusion 18 having a notch 14 b that further promotes bubble generation is formed on the inner wall of the main body 8.
  • the bubble generating action of the fine bubble generating means 3 in this embodiment will be described.
  • FIG. 1B when a bubble is jetted upward into the water from the nozzle 2 a of the nozzle 2, the bubble rises toward the throttle portion 30 b of the throat portion 30 by its buoyancy.
  • the bubble flow flows into the throttle portion 30 b, so that water outside the nozzle 2 is drawn into the throttle portion 30 b of the throat portion 30. Therefore, the bubble flow accelerates the momentum (velocity) of the rising water flow, and the fluid in which the water flow and the bubble flow are mixed flows into the upper fine bubble generating means 3 while rising.
  • FIGS. 12 and 13 show the relationship between a flow of water such as sewage containing bubbles (upward in the figure) and the cylindrical body 7.
  • the upward flow of water in FIGS. The cylindrical water channel flows upward, but in the cylindrical water channel, it tends to gather at the opening 13 in the central portion C.
  • the fluid gathering at the center and in the center is drawn into the polygonal cone-shaped opening 13, and the passage flow velocity becomes faster when passing through the opening 13. And if the flow velocity becomes faster, the pressure in that part decreases (according to Bernoulli's theorem). In this way, a part of the air in the fluid whose pressure has been reduced ruptures and becomes finer fine bubbles as the pressure decreases. That is, cavitation occurs.
  • dirt and mud are mixed in the sewage and the like. Therefore, clogging occurs when the diameter or passage width is small. For this reason, the opening 13 needs to be about 2 mm at a minimum. Further, the local velocity of the fluid passing therethrough needs to be 5 m or more per second.
  • FIG. 13 shows the relationship between the protrusion 9 and the fluid passing through it.
  • the vortex cavitation T is generated by the radial cutout 14a and the axial cutout 14b on the outer periphery of the ridge protrusion 9, and a small turbulent flow is generated by the protrusion 15 to generate the vortex cavitation T and cloud K.
  • the generation of fine bubbles B is promoted as shown in FIG.
  • FIG. 14 is a correlation diagram between the inverter control frequency of the blower that supplies pressurized air to the nozzle 2 and the pressure in the pipe connecting the blower and the nozzle 2.
  • the injection port 2a of the nozzle 2 was disposed at a water depth of 1.75 m (water pressure 17.2 kPa), and the frequency of the blower was changed from 40 Hz to 60 Hz in increments of 10 Hz in five steps.
  • the mark ⁇ indicates the pressure in the pipe when the throat portion 30 is not mounted, and the mark ⁇ indicates the pressure in the pipe when the throat portion 30 is mounted.
  • the pressure in the pipe increases as the blower frequency increases.
  • the pressure in the pipe decreases by attaching the throat portion 30 as compared to the case where the throat portion 30 is not attached.
  • the pressure in the pipe is lower than the water pressure (17.2 kPa). This is because the outlet pressure of the nozzle 2a of the nozzle 2 is reduced as a result of the water flow being accelerated by drawing water into the throttle portion 30b as described above, and the apparent pressure loss of the apparatus is zero or less. It represents the following. Therefore, the power consumption of the blower can be reduced by the pressure drop.
  • the pressure difference between the attachment and non-attachment of the throat part 30 varies depending on the ratio Fn / Ft of the opening area Fn of the injection port 2a and the opening area Ft of the throttle part 30b of the throat part 30.
  • the ratio Fn / Ft may be adjusted to a range of 0.1 to 0.4 or 0.1 to 0.5 (preferably around 0.3).
  • the ratio Fn / Ft is about 0.3, the largest pressure drop can be realized, and the operation cost can be reduced by minimizing the power consumption of the blower.
  • FIG. 15A and FIG. 15B are graphs comparing the diameter and number of bubbles generated by the fine bubble generating means 3 with and without the throat portion 30. As is apparent from this figure, it can be seen that the number of bubbles generated increases reliably by mounting the throat portion 30. In particular, it can be seen that a bubble diameter of 7 ⁇ m can realize the number of bubbles generated three times or more.
  • FIG. 16 is a diagram comparing the turbidity with and without the throat portion 30, and it can be seen that the turbidity increases more than twice by mounting the throat portion 30 of the present invention. In this way, mechanical impact force is generated by the generation and disappearance of water vapor bubbles due to the generation of a large amount of bubbles and strong cavitation, thereby crushing the cell membrane of bacteria and microorganisms to kill and sterilize them.
  • the shape of the throat portion 30 does not necessarily have to be relatively short as illustrated in the drawing portion 30b, and the length thereof can be variously changed as necessary.
  • the injection port 2a of the nozzle 2 may be disposed in the vicinity of the lower end inlet opening 30a of the throat portion 30, and is not necessarily disposed in the vicinity of the boundary between the inlet opening 30a and the throttle portion 30b as illustrated.
  • the ratio Fn / Ft of the opening area Fn of the injection port 2a and the opening area Ft of the throttle part 30b of the throat part 30 does not necessarily need to be about 0.3, but is 0.1 to 0.4 or 0.1 to It can be appropriately changed within the range of 0.5.
  • the throat portion 30 is configured by fixing a cylindrical member such as resin in the outer cylinder 6, or by drawing the outer cylinder 6 itself without using the cylindrical member, It is also possible to cast the outer cylinder 6 into a shape having a throttle part, or to form the outer cylinder 6 by connecting a thick tube and a thin tube with a tapered surface or a smooth different diameter joint.
  • Bubble generating device 2 Nozzle 2a: Injection port 3: Fine bubble generating means 4: Septic tank 5: Fixing tool 6: Outer cylinder 7, 10: Column body 8: Main body 9, 19: Projection 10: Column body 11: Spacer 12: Rivet 13, 20: Opening 14a: Radial cutout 14b: Axial cutout 15: Protrusion 16: Positioning hole 17: Fixing protrusion 18: Inner wall protrusion 21: Edge 30: Throat portion 30a: Entrance opening 30b: Restriction part 30c: Exit opening C: Central part K: Cloud T: Vortex cavitation

Landscapes

  • Chemical & Material Sciences (AREA)
  • Chemical Kinetics & Catalysis (AREA)
  • Dispersion Chemistry (AREA)
  • Life Sciences & Earth Sciences (AREA)
  • Engineering & Computer Science (AREA)
  • Hydrology & Water Resources (AREA)
  • Environmental & Geological Engineering (AREA)
  • Water Supply & Treatment (AREA)
  • Organic Chemistry (AREA)
  • Microbiology (AREA)
  • Biodiversity & Conservation Biology (AREA)
  • Mechanical Engineering (AREA)
  • Aeration Devices For Treatment Of Activated Polluted Sludge (AREA)
  • Physical Water Treatments (AREA)
PCT/JP2018/005128 2017-02-14 2018-02-14 汚水浄化用の気泡発生装置 Ceased WO2018151171A1 (ja)

Priority Applications (2)

Application Number Priority Date Filing Date Title
US16/485,741 US11130101B2 (en) 2017-02-14 2018-02-14 Bubble generating device for sewage purification
EP18754912.6A EP3584002A4 (en) 2017-02-14 2018-02-14 BUBBLE GENERATION DEVICE FOR THE PURIFICATION OF WASTEWATER

Applications Claiming Priority (2)

Application Number Priority Date Filing Date Title
JP2017024815A JP6646300B2 (ja) 2017-02-14 2017-02-14 汚水浄化用の気泡発生装置及び汚水浄化方法
JP2017-024815 2017-02-14

Publications (1)

Publication Number Publication Date
WO2018151171A1 true WO2018151171A1 (ja) 2018-08-23

Family

ID=63170665

Family Applications (1)

Application Number Title Priority Date Filing Date
PCT/JP2018/005128 Ceased WO2018151171A1 (ja) 2017-02-14 2018-02-14 汚水浄化用の気泡発生装置

Country Status (4)

Country Link
US (1) US11130101B2 (enExample)
EP (1) EP3584002A4 (enExample)
JP (1) JP6646300B2 (enExample)
WO (1) WO2018151171A1 (enExample)

Cited By (1)

* Cited by examiner, † Cited by third party
Publication number Priority date Publication date Assignee Title
JP2022085297A (ja) * 2020-11-27 2022-06-08 株式会社豊田中央研究所 蒸発器、および、蒸発器を備えるシステム

Families Citing this family (2)

* Cited by examiner, † Cited by third party
Publication number Priority date Publication date Assignee Title
CN112915932B (zh) * 2021-01-21 2022-03-01 华东理工大学 一种用于气泡发生装置的波瓣混射芯管及气泡发生方法
CN114656051B (zh) * 2022-04-26 2022-11-22 徐州天蓝臭氧设备有限公司 一种环保型微气泡污水处理装置及其使用方法

Citations (6)

* Cited by examiner, † Cited by third party
Publication number Priority date Publication date Assignee Title
US4780217A (en) * 1985-05-07 1988-10-25 Fred Petersen Method for introducing oxygen into water and an apparatus for implementing the said method
JP2003251384A (ja) * 2002-03-05 2003-09-09 Fm Ecology Kenkyusho:Kk 生物廃水処理前処理法
JP3677516B2 (ja) 2001-03-05 2005-08-03 健 宮川 微細化気泡水生成装置
JP2008018330A (ja) * 2006-07-12 2008-01-31 Norifumi Yoshida 気泡発生装置
JP2011121002A (ja) * 2009-12-10 2011-06-23 Takenaka Komuten Co Ltd ナノバブル発生装置
JP2013034953A (ja) * 2011-08-09 2013-02-21 Univ Of Tsukuba スタティックミキサー

Family Cites Families (14)

* Cited by examiner, † Cited by third party
Publication number Priority date Publication date Assignee Title
US3968086A (en) * 1970-06-12 1976-07-06 Atara Corporation Double funnel device for oxygenating sewage
US3969446A (en) * 1974-06-03 1976-07-13 Franklin Jr Grover C Apparatus and method for aerating liquids
US4210613A (en) * 1978-04-06 1980-07-01 Webb William G Water treating device
US4441823A (en) * 1982-07-19 1984-04-10 Power Harold H Static line mixer
US4695378A (en) * 1984-11-07 1987-09-22 The United States Of America As Represented By The Secretary Of The Interior Acid mine water aeration and treatment system
US4764283A (en) * 1985-04-24 1988-08-16 Ashbrook Clifford L Method and apparatus for treating cooling tower water
JPH084731B2 (ja) * 1985-10-11 1996-01-24 三菱レイヨン・エンジニアリング株式会社 気液混合装置
JPH06277691A (ja) 1993-03-25 1994-10-04 Masahiro Takeda 貯水の浄化装置
US6279611B2 (en) * 1999-05-10 2001-08-28 Hideto Uematsu Apparatus for generating microbubbles while mixing an additive fluid with a mainstream liquid
US20040251566A1 (en) * 2003-06-13 2004-12-16 Kozyuk Oleg V. Device and method for generating microbubbles in a liquid using hydrodynamic cavitation
WO2006137121A1 (ja) * 2005-06-20 2006-12-28 Ohr Laboratory Corporation バラスト水処理装置
US20130021868A1 (en) * 2011-07-22 2013-01-24 Doolin Michael B Static Fluid Mixer and Method
US9221022B2 (en) * 2013-04-03 2015-12-29 Westfall Manufacturing Company Static mixer
TWM487134U (zh) * 2014-06-06 2014-10-01 Ching-Ho Lai 微氣泡產生裝置

Patent Citations (6)

* Cited by examiner, † Cited by third party
Publication number Priority date Publication date Assignee Title
US4780217A (en) * 1985-05-07 1988-10-25 Fred Petersen Method for introducing oxygen into water and an apparatus for implementing the said method
JP3677516B2 (ja) 2001-03-05 2005-08-03 健 宮川 微細化気泡水生成装置
JP2003251384A (ja) * 2002-03-05 2003-09-09 Fm Ecology Kenkyusho:Kk 生物廃水処理前処理法
JP2008018330A (ja) * 2006-07-12 2008-01-31 Norifumi Yoshida 気泡発生装置
JP2011121002A (ja) * 2009-12-10 2011-06-23 Takenaka Komuten Co Ltd ナノバブル発生装置
JP2013034953A (ja) * 2011-08-09 2013-02-21 Univ Of Tsukuba スタティックミキサー

Non-Patent Citations (1)

* Cited by examiner, † Cited by third party
Title
See also references of EP3584002A4

Cited By (2)

* Cited by examiner, † Cited by third party
Publication number Priority date Publication date Assignee Title
JP2022085297A (ja) * 2020-11-27 2022-06-08 株式会社豊田中央研究所 蒸発器、および、蒸発器を備えるシステム
JP7317790B2 (ja) 2020-11-27 2023-07-31 株式会社豊田中央研究所 蒸発器、および、蒸発器を備えるシステム

Also Published As

Publication number Publication date
JP6646300B2 (ja) 2020-02-14
US20200001253A1 (en) 2020-01-02
EP3584002A1 (en) 2019-12-25
EP3584002A4 (en) 2020-10-28
US11130101B2 (en) 2021-09-28
JP2018130653A (ja) 2018-08-23

Similar Documents

Publication Publication Date Title
JP4749961B2 (ja) 気泡発生装置
KR101157719B1 (ko) 미소 기포 발생 장치 및 방법
JP5712292B2 (ja) 気泡発生機構及び気泡発生機構付シャワーヘッド
US4123800A (en) Mixer-injector
KR101036227B1 (ko) 미세 기포발생장치
JP2009136864A (ja) マイクロバブル発生装置
JP5573879B2 (ja) 微細気泡発生装置
JP4142728B1 (ja) 気泡微細化器
KR20170104351A (ko) 미세기포 발생장치
JP2002263678A (ja) 微細化気泡水生成装置
JP2008086868A (ja) マイクロバブル発生装置
WO2018151171A1 (ja) 汚水浄化用の気泡発生装置
WO2018117040A1 (ja) 微細気泡を含む気液を生成するための装置およびシステム
JP3213014U (ja) 洗濯機用微細気泡水生成器
JP2018130653A5 (enExample)
TW202344298A (zh) 氣泡粉碎細化裝置及水龍頭
CN111450719B (zh) 一种复合文丘里式微气泡发生装置
JP2010115586A (ja) 微細気泡発生装置
KR102305212B1 (ko) 기포 발생 장치
CN202880986U (zh) 一种辐流曝气头
JP2015223585A (ja) マイクロバブル発生装置
JP2007111616A (ja) 微細気泡発生装置
CN214061831U (zh) 一种出水装置
JP2007268390A (ja) 気泡発生装置
KR20150111631A (ko) 용존 산소 응축 장치

Legal Events

Date Code Title Description
121 Ep: the epo has been informed by wipo that ep was designated in this application

Ref document number: 18754912

Country of ref document: EP

Kind code of ref document: A1

NENP Non-entry into the national phase

Ref country code: DE

ENP Entry into the national phase

Ref document number: 2018754912

Country of ref document: EP

Effective date: 20190916

WWP Wipo information: published in national office

Ref document number: 2018754912

Country of ref document: EP

WWW Wipo information: withdrawn in national office

Ref document number: 2018754912

Country of ref document: EP