WO2018124224A1 - 電池用包装材料用アルミニウム合金箔、電池用包装材料、及び電池 - Google Patents

電池用包装材料用アルミニウム合金箔、電池用包装材料、及び電池 Download PDF

Info

Publication number
WO2018124224A1
WO2018124224A1 PCT/JP2017/047074 JP2017047074W WO2018124224A1 WO 2018124224 A1 WO2018124224 A1 WO 2018124224A1 JP 2017047074 W JP2017047074 W JP 2017047074W WO 2018124224 A1 WO2018124224 A1 WO 2018124224A1
Authority
WO
WIPO (PCT)
Prior art keywords
aluminum alloy
alloy foil
battery packaging
packaging material
battery
Prior art date
Legal status (The legal status is an assumption and is not a legal conclusion. Google has not performed a legal analysis and makes no representation as to the accuracy of the status listed.)
Ceased
Application number
PCT/JP2017/047074
Other languages
English (en)
French (fr)
Japanese (ja)
Inventor
高萩 敦子
石飛 達郎
千秋 初田
款 小向
真代 菅野
Current Assignee (The listed assignees may be inaccurate. Google has not performed a legal analysis and makes no representation or warranty as to the accuracy of the list.)
Dai Nippon Printing Co Ltd
Original Assignee
Dai Nippon Printing Co Ltd
Priority date (The priority date is an assumption and is not a legal conclusion. Google has not performed a legal analysis and makes no representation as to the accuracy of the date listed.)
Filing date
Publication date
Application filed by Dai Nippon Printing Co Ltd filed Critical Dai Nippon Printing Co Ltd
Priority to CN201780081333.3A priority Critical patent/CN110114899B/zh
Priority to US16/472,958 priority patent/US11258123B2/en
Priority to CN202210581496.0A priority patent/CN114843666B/zh
Priority to JP2018559606A priority patent/JP6973414B2/ja
Publication of WO2018124224A1 publication Critical patent/WO2018124224A1/ja
Anticipated expiration legal-status Critical
Priority to JP2021180687A priority patent/JP7184142B2/ja
Priority to US17/573,120 priority patent/US11820104B2/en
Priority to US18/378,836 priority patent/US20240051267A1/en
Ceased legal-status Critical Current

Links

Images

Classifications

    • HELECTRICITY
    • H01ELECTRIC ELEMENTS
    • H01MPROCESSES OR MEANS, e.g. BATTERIES, FOR THE DIRECT CONVERSION OF CHEMICAL ENERGY INTO ELECTRICAL ENERGY
    • H01M50/00Constructional details or processes of manufacture of the non-active parts of electrochemical cells other than fuel cells, e.g. hybrid cells
    • H01M50/10Primary casings; Jackets or wrappings
    • H01M50/116Primary casings; Jackets or wrappings characterised by the material
    • H01M50/124Primary casings; Jackets or wrappings characterised by the material having a layered structure
    • H01M50/126Primary casings; Jackets or wrappings characterised by the material having a layered structure comprising three or more layers
    • BPERFORMING OPERATIONS; TRANSPORTING
    • B32LAYERED PRODUCTS
    • B32BLAYERED PRODUCTS, i.e. PRODUCTS BUILT-UP OF STRATA OF FLAT OR NON-FLAT, e.g. CELLULAR OR HONEYCOMB, FORM
    • B32B15/00Layered products comprising a layer of metal
    • B32B15/04Layered products comprising a layer of metal comprising metal as the main or only constituent of a layer, which is next to another layer of the same or of a different material
    • B32B15/08Layered products comprising a layer of metal comprising metal as the main or only constituent of a layer, which is next to another layer of the same or of a different material of synthetic resin
    • HELECTRICITY
    • H01ELECTRIC ELEMENTS
    • H01MPROCESSES OR MEANS, e.g. BATTERIES, FOR THE DIRECT CONVERSION OF CHEMICAL ENERGY INTO ELECTRICAL ENERGY
    • H01M50/00Constructional details or processes of manufacture of the non-active parts of electrochemical cells other than fuel cells, e.g. hybrid cells
    • H01M50/10Primary casings; Jackets or wrappings
    • H01M50/116Primary casings; Jackets or wrappings characterised by the material
    • H01M50/124Primary casings; Jackets or wrappings characterised by the material having a layered structure
    • BPERFORMING OPERATIONS; TRANSPORTING
    • B32LAYERED PRODUCTS
    • B32BLAYERED PRODUCTS, i.e. PRODUCTS BUILT-UP OF STRATA OF FLAT OR NON-FLAT, e.g. CELLULAR OR HONEYCOMB, FORM
    • B32B15/00Layered products comprising a layer of metal
    • B32B15/04Layered products comprising a layer of metal comprising metal as the main or only constituent of a layer, which is next to another layer of the same or of a different material
    • B32B15/08Layered products comprising a layer of metal comprising metal as the main or only constituent of a layer, which is next to another layer of the same or of a different material of synthetic resin
    • B32B15/082Layered products comprising a layer of metal comprising metal as the main or only constituent of a layer, which is next to another layer of the same or of a different material of synthetic resin comprising vinyl resins; comprising acrylic resins
    • BPERFORMING OPERATIONS; TRANSPORTING
    • B32LAYERED PRODUCTS
    • B32BLAYERED PRODUCTS, i.e. PRODUCTS BUILT-UP OF STRATA OF FLAT OR NON-FLAT, e.g. CELLULAR OR HONEYCOMB, FORM
    • B32B15/00Layered products comprising a layer of metal
    • B32B15/04Layered products comprising a layer of metal comprising metal as the main or only constituent of a layer, which is next to another layer of the same or of a different material
    • B32B15/08Layered products comprising a layer of metal comprising metal as the main or only constituent of a layer, which is next to another layer of the same or of a different material of synthetic resin
    • B32B15/085Layered products comprising a layer of metal comprising metal as the main or only constituent of a layer, which is next to another layer of the same or of a different material of synthetic resin comprising polyolefins
    • BPERFORMING OPERATIONS; TRANSPORTING
    • B32LAYERED PRODUCTS
    • B32BLAYERED PRODUCTS, i.e. PRODUCTS BUILT-UP OF STRATA OF FLAT OR NON-FLAT, e.g. CELLULAR OR HONEYCOMB, FORM
    • B32B15/00Layered products comprising a layer of metal
    • B32B15/04Layered products comprising a layer of metal comprising metal as the main or only constituent of a layer, which is next to another layer of the same or of a different material
    • B32B15/08Layered products comprising a layer of metal comprising metal as the main or only constituent of a layer, which is next to another layer of the same or of a different material of synthetic resin
    • B32B15/088Layered products comprising a layer of metal comprising metal as the main or only constituent of a layer, which is next to another layer of the same or of a different material of synthetic resin comprising polyamides
    • BPERFORMING OPERATIONS; TRANSPORTING
    • B32LAYERED PRODUCTS
    • B32BLAYERED PRODUCTS, i.e. PRODUCTS BUILT-UP OF STRATA OF FLAT OR NON-FLAT, e.g. CELLULAR OR HONEYCOMB, FORM
    • B32B15/00Layered products comprising a layer of metal
    • B32B15/04Layered products comprising a layer of metal comprising metal as the main or only constituent of a layer, which is next to another layer of the same or of a different material
    • B32B15/08Layered products comprising a layer of metal comprising metal as the main or only constituent of a layer, which is next to another layer of the same or of a different material of synthetic resin
    • B32B15/09Layered products comprising a layer of metal comprising metal as the main or only constituent of a layer, which is next to another layer of the same or of a different material of synthetic resin comprising polyesters
    • BPERFORMING OPERATIONS; TRANSPORTING
    • B32LAYERED PRODUCTS
    • B32BLAYERED PRODUCTS, i.e. PRODUCTS BUILT-UP OF STRATA OF FLAT OR NON-FLAT, e.g. CELLULAR OR HONEYCOMB, FORM
    • B32B15/00Layered products comprising a layer of metal
    • B32B15/04Layered products comprising a layer of metal comprising metal as the main or only constituent of a layer, which is next to another layer of the same or of a different material
    • B32B15/08Layered products comprising a layer of metal comprising metal as the main or only constituent of a layer, which is next to another layer of the same or of a different material of synthetic resin
    • B32B15/092Layered products comprising a layer of metal comprising metal as the main or only constituent of a layer, which is next to another layer of the same or of a different material of synthetic resin comprising epoxy resins
    • BPERFORMING OPERATIONS; TRANSPORTING
    • B32LAYERED PRODUCTS
    • B32BLAYERED PRODUCTS, i.e. PRODUCTS BUILT-UP OF STRATA OF FLAT OR NON-FLAT, e.g. CELLULAR OR HONEYCOMB, FORM
    • B32B15/00Layered products comprising a layer of metal
    • B32B15/04Layered products comprising a layer of metal comprising metal as the main or only constituent of a layer, which is next to another layer of the same or of a different material
    • B32B15/08Layered products comprising a layer of metal comprising metal as the main or only constituent of a layer, which is next to another layer of the same or of a different material of synthetic resin
    • B32B15/095Layered products comprising a layer of metal comprising metal as the main or only constituent of a layer, which is next to another layer of the same or of a different material of synthetic resin comprising polyurethanes
    • BPERFORMING OPERATIONS; TRANSPORTING
    • B32LAYERED PRODUCTS
    • B32BLAYERED PRODUCTS, i.e. PRODUCTS BUILT-UP OF STRATA OF FLAT OR NON-FLAT, e.g. CELLULAR OR HONEYCOMB, FORM
    • B32B15/00Layered products comprising a layer of metal
    • B32B15/04Layered products comprising a layer of metal comprising metal as the main or only constituent of a layer, which is next to another layer of the same or of a different material
    • B32B15/08Layered products comprising a layer of metal comprising metal as the main or only constituent of a layer, which is next to another layer of the same or of a different material of synthetic resin
    • B32B15/098Layered products comprising a layer of metal comprising metal as the main or only constituent of a layer, which is next to another layer of the same or of a different material of synthetic resin comprising condensation resins of aldehydes, e.g. with phenols, ureas or melamines
    • BPERFORMING OPERATIONS; TRANSPORTING
    • B32LAYERED PRODUCTS
    • B32BLAYERED PRODUCTS, i.e. PRODUCTS BUILT-UP OF STRATA OF FLAT OR NON-FLAT, e.g. CELLULAR OR HONEYCOMB, FORM
    • B32B15/00Layered products comprising a layer of metal
    • B32B15/20Layered products comprising a layer of metal comprising aluminium or copper
    • BPERFORMING OPERATIONS; TRANSPORTING
    • B32LAYERED PRODUCTS
    • B32BLAYERED PRODUCTS, i.e. PRODUCTS BUILT-UP OF STRATA OF FLAT OR NON-FLAT, e.g. CELLULAR OR HONEYCOMB, FORM
    • B32B27/00Layered products comprising a layer of synthetic resin
    • BPERFORMING OPERATIONS; TRANSPORTING
    • B32LAYERED PRODUCTS
    • B32BLAYERED PRODUCTS, i.e. PRODUCTS BUILT-UP OF STRATA OF FLAT OR NON-FLAT, e.g. CELLULAR OR HONEYCOMB, FORM
    • B32B27/00Layered products comprising a layer of synthetic resin
    • B32B27/06Layered products comprising a layer of synthetic resin as the main or only constituent of a layer, which is next to another layer of the same or of a different material
    • B32B27/08Layered products comprising a layer of synthetic resin as the main or only constituent of a layer, which is next to another layer of the same or of a different material of synthetic resin
    • BPERFORMING OPERATIONS; TRANSPORTING
    • B32LAYERED PRODUCTS
    • B32BLAYERED PRODUCTS, i.e. PRODUCTS BUILT-UP OF STRATA OF FLAT OR NON-FLAT, e.g. CELLULAR OR HONEYCOMB, FORM
    • B32B27/00Layered products comprising a layer of synthetic resin
    • B32B27/16Layered products comprising a layer of synthetic resin specially treated, e.g. irradiated
    • BPERFORMING OPERATIONS; TRANSPORTING
    • B32LAYERED PRODUCTS
    • B32BLAYERED PRODUCTS, i.e. PRODUCTS BUILT-UP OF STRATA OF FLAT OR NON-FLAT, e.g. CELLULAR OR HONEYCOMB, FORM
    • B32B27/00Layered products comprising a layer of synthetic resin
    • B32B27/18Layered products comprising a layer of synthetic resin characterised by the use of special additives
    • B32B27/26Layered products comprising a layer of synthetic resin characterised by the use of special additives using curing agents
    • BPERFORMING OPERATIONS; TRANSPORTING
    • B32LAYERED PRODUCTS
    • B32BLAYERED PRODUCTS, i.e. PRODUCTS BUILT-UP OF STRATA OF FLAT OR NON-FLAT, e.g. CELLULAR OR HONEYCOMB, FORM
    • B32B27/00Layered products comprising a layer of synthetic resin
    • B32B27/28Layered products comprising a layer of synthetic resin comprising synthetic resins not wholly covered by any one of the sub-groups B32B27/30 - B32B27/42
    • BPERFORMING OPERATIONS; TRANSPORTING
    • B32LAYERED PRODUCTS
    • B32BLAYERED PRODUCTS, i.e. PRODUCTS BUILT-UP OF STRATA OF FLAT OR NON-FLAT, e.g. CELLULAR OR HONEYCOMB, FORM
    • B32B27/00Layered products comprising a layer of synthetic resin
    • B32B27/28Layered products comprising a layer of synthetic resin comprising synthetic resins not wholly covered by any one of the sub-groups B32B27/30 - B32B27/42
    • B32B27/283Layered products comprising a layer of synthetic resin comprising synthetic resins not wholly covered by any one of the sub-groups B32B27/30 - B32B27/42 comprising polysiloxanes
    • BPERFORMING OPERATIONS; TRANSPORTING
    • B32LAYERED PRODUCTS
    • B32BLAYERED PRODUCTS, i.e. PRODUCTS BUILT-UP OF STRATA OF FLAT OR NON-FLAT, e.g. CELLULAR OR HONEYCOMB, FORM
    • B32B27/00Layered products comprising a layer of synthetic resin
    • B32B27/30Layered products comprising a layer of synthetic resin comprising vinyl (co)polymers; comprising acrylic (co)polymers
    • B32B27/302Layered products comprising a layer of synthetic resin comprising vinyl (co)polymers; comprising acrylic (co)polymers comprising aromatic vinyl (co)polymers, e.g. styrenic (co)polymers
    • BPERFORMING OPERATIONS; TRANSPORTING
    • B32LAYERED PRODUCTS
    • B32BLAYERED PRODUCTS, i.e. PRODUCTS BUILT-UP OF STRATA OF FLAT OR NON-FLAT, e.g. CELLULAR OR HONEYCOMB, FORM
    • B32B27/00Layered products comprising a layer of synthetic resin
    • B32B27/30Layered products comprising a layer of synthetic resin comprising vinyl (co)polymers; comprising acrylic (co)polymers
    • B32B27/308Layered products comprising a layer of synthetic resin comprising vinyl (co)polymers; comprising acrylic (co)polymers comprising acrylic (co)polymers
    • BPERFORMING OPERATIONS; TRANSPORTING
    • B32LAYERED PRODUCTS
    • B32BLAYERED PRODUCTS, i.e. PRODUCTS BUILT-UP OF STRATA OF FLAT OR NON-FLAT, e.g. CELLULAR OR HONEYCOMB, FORM
    • B32B27/00Layered products comprising a layer of synthetic resin
    • B32B27/32Layered products comprising a layer of synthetic resin comprising polyolefins
    • BPERFORMING OPERATIONS; TRANSPORTING
    • B32LAYERED PRODUCTS
    • B32BLAYERED PRODUCTS, i.e. PRODUCTS BUILT-UP OF STRATA OF FLAT OR NON-FLAT, e.g. CELLULAR OR HONEYCOMB, FORM
    • B32B27/00Layered products comprising a layer of synthetic resin
    • B32B27/32Layered products comprising a layer of synthetic resin comprising polyolefins
    • B32B27/325Layered products comprising a layer of synthetic resin comprising polyolefins comprising polycycloolefins
    • BPERFORMING OPERATIONS; TRANSPORTING
    • B32LAYERED PRODUCTS
    • B32BLAYERED PRODUCTS, i.e. PRODUCTS BUILT-UP OF STRATA OF FLAT OR NON-FLAT, e.g. CELLULAR OR HONEYCOMB, FORM
    • B32B27/00Layered products comprising a layer of synthetic resin
    • B32B27/34Layered products comprising a layer of synthetic resin comprising polyamides
    • BPERFORMING OPERATIONS; TRANSPORTING
    • B32LAYERED PRODUCTS
    • B32BLAYERED PRODUCTS, i.e. PRODUCTS BUILT-UP OF STRATA OF FLAT OR NON-FLAT, e.g. CELLULAR OR HONEYCOMB, FORM
    • B32B27/00Layered products comprising a layer of synthetic resin
    • B32B27/36Layered products comprising a layer of synthetic resin comprising polyesters
    • BPERFORMING OPERATIONS; TRANSPORTING
    • B32LAYERED PRODUCTS
    • B32BLAYERED PRODUCTS, i.e. PRODUCTS BUILT-UP OF STRATA OF FLAT OR NON-FLAT, e.g. CELLULAR OR HONEYCOMB, FORM
    • B32B27/00Layered products comprising a layer of synthetic resin
    • B32B27/38Layered products comprising a layer of synthetic resin comprising epoxy resins
    • BPERFORMING OPERATIONS; TRANSPORTING
    • B32LAYERED PRODUCTS
    • B32BLAYERED PRODUCTS, i.e. PRODUCTS BUILT-UP OF STRATA OF FLAT OR NON-FLAT, e.g. CELLULAR OR HONEYCOMB, FORM
    • B32B27/00Layered products comprising a layer of synthetic resin
    • B32B27/40Layered products comprising a layer of synthetic resin comprising polyurethanes
    • BPERFORMING OPERATIONS; TRANSPORTING
    • B32LAYERED PRODUCTS
    • B32BLAYERED PRODUCTS, i.e. PRODUCTS BUILT-UP OF STRATA OF FLAT OR NON-FLAT, e.g. CELLULAR OR HONEYCOMB, FORM
    • B32B27/00Layered products comprising a layer of synthetic resin
    • B32B27/42Layered products comprising a layer of synthetic resin comprising condensation resins of aldehydes, e.g. with phenols, ureas or melamines
    • BPERFORMING OPERATIONS; TRANSPORTING
    • B32LAYERED PRODUCTS
    • B32BLAYERED PRODUCTS, i.e. PRODUCTS BUILT-UP OF STRATA OF FLAT OR NON-FLAT, e.g. CELLULAR OR HONEYCOMB, FORM
    • B32B33/00Layered products characterised by particular properties or particular surface features, e.g. particular surface coatings; Layered products designed for particular purposes not covered by another single class
    • BPERFORMING OPERATIONS; TRANSPORTING
    • B32LAYERED PRODUCTS
    • B32BLAYERED PRODUCTS, i.e. PRODUCTS BUILT-UP OF STRATA OF FLAT OR NON-FLAT, e.g. CELLULAR OR HONEYCOMB, FORM
    • B32B7/00Layered products characterised by the relation between layers; Layered products characterised by the relative orientation of features between layers, or by the relative values of a measurable parameter between layers, i.e. products comprising layers having different physical, chemical or physicochemical properties; Layered products characterised by the interconnection of layers
    • B32B7/04Interconnection of layers
    • B32B7/12Interconnection of layers using interposed adhesives or interposed materials with bonding properties
    • HELECTRICITY
    • H01ELECTRIC ELEMENTS
    • H01MPROCESSES OR MEANS, e.g. BATTERIES, FOR THE DIRECT CONVERSION OF CHEMICAL ENERGY INTO ELECTRICAL ENERGY
    • H01M10/00Secondary cells; Manufacture thereof
    • H01M10/05Accumulators with non-aqueous electrolyte
    • H01M10/052Li-accumulators
    • H01M10/0525Rocking-chair batteries, i.e. batteries with lithium insertion or intercalation in both electrodes; Lithium-ion batteries
    • HELECTRICITY
    • H01ELECTRIC ELEMENTS
    • H01MPROCESSES OR MEANS, e.g. BATTERIES, FOR THE DIRECT CONVERSION OF CHEMICAL ENERGY INTO ELECTRICAL ENERGY
    • H01M4/00Electrodes
    • H01M4/02Electrodes composed of, or comprising, active material
    • H01M4/64Carriers or collectors
    • H01M4/66Selection of materials
    • H01M4/661Metal or alloys, e.g. alloy coatings
    • H01M4/662Alloys
    • HELECTRICITY
    • H01ELECTRIC ELEMENTS
    • H01MPROCESSES OR MEANS, e.g. BATTERIES, FOR THE DIRECT CONVERSION OF CHEMICAL ENERGY INTO ELECTRICAL ENERGY
    • H01M50/00Constructional details or processes of manufacture of the non-active parts of electrochemical cells other than fuel cells, e.g. hybrid cells
    • H01M50/10Primary casings; Jackets or wrappings
    • H01M50/116Primary casings; Jackets or wrappings characterised by the material
    • H01M50/117Inorganic material
    • H01M50/119Metals
    • HELECTRICITY
    • H01ELECTRIC ELEMENTS
    • H01MPROCESSES OR MEANS, e.g. BATTERIES, FOR THE DIRECT CONVERSION OF CHEMICAL ENERGY INTO ELECTRICAL ENERGY
    • H01M50/00Constructional details or processes of manufacture of the non-active parts of electrochemical cells other than fuel cells, e.g. hybrid cells
    • H01M50/10Primary casings; Jackets or wrappings
    • H01M50/14Primary casings; Jackets or wrappings for protecting against damage caused by external factors
    • H01M50/145Primary casings; Jackets or wrappings for protecting against damage caused by external factors for protecting against corrosion
    • BPERFORMING OPERATIONS; TRANSPORTING
    • B32LAYERED PRODUCTS
    • B32BLAYERED PRODUCTS, i.e. PRODUCTS BUILT-UP OF STRATA OF FLAT OR NON-FLAT, e.g. CELLULAR OR HONEYCOMB, FORM
    • B32B2250/00Layers arrangement
    • B32B2250/033 layers
    • BPERFORMING OPERATIONS; TRANSPORTING
    • B32LAYERED PRODUCTS
    • B32BLAYERED PRODUCTS, i.e. PRODUCTS BUILT-UP OF STRATA OF FLAT OR NON-FLAT, e.g. CELLULAR OR HONEYCOMB, FORM
    • B32B2250/00Layers arrangement
    • B32B2250/40Symmetrical or sandwich layers, e.g. ABA, ABCBA, ABCCBA
    • BPERFORMING OPERATIONS; TRANSPORTING
    • B32LAYERED PRODUCTS
    • B32BLAYERED PRODUCTS, i.e. PRODUCTS BUILT-UP OF STRATA OF FLAT OR NON-FLAT, e.g. CELLULAR OR HONEYCOMB, FORM
    • B32B2255/00Coating on the layer surface
    • B32B2255/06Coating on the layer surface on metal layer
    • BPERFORMING OPERATIONS; TRANSPORTING
    • B32LAYERED PRODUCTS
    • B32BLAYERED PRODUCTS, i.e. PRODUCTS BUILT-UP OF STRATA OF FLAT OR NON-FLAT, e.g. CELLULAR OR HONEYCOMB, FORM
    • B32B2255/00Coating on the layer surface
    • B32B2255/10Coating on the layer surface on synthetic resin layer or on natural or synthetic rubber layer
    • BPERFORMING OPERATIONS; TRANSPORTING
    • B32LAYERED PRODUCTS
    • B32BLAYERED PRODUCTS, i.e. PRODUCTS BUILT-UP OF STRATA OF FLAT OR NON-FLAT, e.g. CELLULAR OR HONEYCOMB, FORM
    • B32B2255/00Coating on the layer surface
    • B32B2255/20Inorganic coating
    • BPERFORMING OPERATIONS; TRANSPORTING
    • B32LAYERED PRODUCTS
    • B32BLAYERED PRODUCTS, i.e. PRODUCTS BUILT-UP OF STRATA OF FLAT OR NON-FLAT, e.g. CELLULAR OR HONEYCOMB, FORM
    • B32B2255/00Coating on the layer surface
    • B32B2255/26Polymeric coating
    • BPERFORMING OPERATIONS; TRANSPORTING
    • B32LAYERED PRODUCTS
    • B32BLAYERED PRODUCTS, i.e. PRODUCTS BUILT-UP OF STRATA OF FLAT OR NON-FLAT, e.g. CELLULAR OR HONEYCOMB, FORM
    • B32B2255/00Coating on the layer surface
    • B32B2255/28Multiple coating on one surface
    • BPERFORMING OPERATIONS; TRANSPORTING
    • B32LAYERED PRODUCTS
    • B32BLAYERED PRODUCTS, i.e. PRODUCTS BUILT-UP OF STRATA OF FLAT OR NON-FLAT, e.g. CELLULAR OR HONEYCOMB, FORM
    • B32B2270/00Resin or rubber layer containing a blend of at least two different polymers
    • BPERFORMING OPERATIONS; TRANSPORTING
    • B32LAYERED PRODUCTS
    • B32BLAYERED PRODUCTS, i.e. PRODUCTS BUILT-UP OF STRATA OF FLAT OR NON-FLAT, e.g. CELLULAR OR HONEYCOMB, FORM
    • B32B2307/00Properties of the layers or laminate
    • B32B2307/30Properties of the layers or laminate having particular thermal properties
    • B32B2307/31Heat sealable
    • BPERFORMING OPERATIONS; TRANSPORTING
    • B32LAYERED PRODUCTS
    • B32BLAYERED PRODUCTS, i.e. PRODUCTS BUILT-UP OF STRATA OF FLAT OR NON-FLAT, e.g. CELLULAR OR HONEYCOMB, FORM
    • B32B2307/00Properties of the layers or laminate
    • B32B2307/40Properties of the layers or laminate having particular optical properties
    • B32B2307/402Coloured
    • BPERFORMING OPERATIONS; TRANSPORTING
    • B32LAYERED PRODUCTS
    • B32BLAYERED PRODUCTS, i.e. PRODUCTS BUILT-UP OF STRATA OF FLAT OR NON-FLAT, e.g. CELLULAR OR HONEYCOMB, FORM
    • B32B2307/00Properties of the layers or laminate
    • B32B2307/50Properties of the layers or laminate having particular mechanical properties
    • B32B2307/514Oriented
    • B32B2307/518Oriented bi-axially
    • BPERFORMING OPERATIONS; TRANSPORTING
    • B32LAYERED PRODUCTS
    • B32BLAYERED PRODUCTS, i.e. PRODUCTS BUILT-UP OF STRATA OF FLAT OR NON-FLAT, e.g. CELLULAR OR HONEYCOMB, FORM
    • B32B2307/00Properties of the layers or laminate
    • B32B2307/50Properties of the layers or laminate having particular mechanical properties
    • B32B2307/584Scratch resistance
    • BPERFORMING OPERATIONS; TRANSPORTING
    • B32LAYERED PRODUCTS
    • B32BLAYERED PRODUCTS, i.e. PRODUCTS BUILT-UP OF STRATA OF FLAT OR NON-FLAT, e.g. CELLULAR OR HONEYCOMB, FORM
    • B32B2307/00Properties of the layers or laminate
    • B32B2307/70Other properties
    • B32B2307/71Resistive to light or to UV
    • BPERFORMING OPERATIONS; TRANSPORTING
    • B32LAYERED PRODUCTS
    • B32BLAYERED PRODUCTS, i.e. PRODUCTS BUILT-UP OF STRATA OF FLAT OR NON-FLAT, e.g. CELLULAR OR HONEYCOMB, FORM
    • B32B2307/00Properties of the layers or laminate
    • B32B2307/70Other properties
    • B32B2307/714Inert, i.e. inert to chemical degradation, corrosion
    • BPERFORMING OPERATIONS; TRANSPORTING
    • B32LAYERED PRODUCTS
    • B32BLAYERED PRODUCTS, i.e. PRODUCTS BUILT-UP OF STRATA OF FLAT OR NON-FLAT, e.g. CELLULAR OR HONEYCOMB, FORM
    • B32B2307/00Properties of the layers or laminate
    • B32B2307/70Other properties
    • B32B2307/724Permeability to gases, adsorption
    • B32B2307/7242Non-permeable
    • B32B2307/7244Oxygen barrier
    • BPERFORMING OPERATIONS; TRANSPORTING
    • B32LAYERED PRODUCTS
    • B32BLAYERED PRODUCTS, i.e. PRODUCTS BUILT-UP OF STRATA OF FLAT OR NON-FLAT, e.g. CELLULAR OR HONEYCOMB, FORM
    • B32B2307/00Properties of the layers or laminate
    • B32B2307/70Other properties
    • B32B2307/724Permeability to gases, adsorption
    • B32B2307/7242Non-permeable
    • B32B2307/7246Water vapor barrier
    • BPERFORMING OPERATIONS; TRANSPORTING
    • B32LAYERED PRODUCTS
    • B32BLAYERED PRODUCTS, i.e. PRODUCTS BUILT-UP OF STRATA OF FLAT OR NON-FLAT, e.g. CELLULAR OR HONEYCOMB, FORM
    • B32B2307/00Properties of the layers or laminate
    • B32B2307/70Other properties
    • B32B2307/732Dimensional properties
    • BPERFORMING OPERATIONS; TRANSPORTING
    • B32LAYERED PRODUCTS
    • B32BLAYERED PRODUCTS, i.e. PRODUCTS BUILT-UP OF STRATA OF FLAT OR NON-FLAT, e.g. CELLULAR OR HONEYCOMB, FORM
    • B32B2307/00Properties of the layers or laminate
    • B32B2307/70Other properties
    • B32B2307/744Non-slip, anti-slip
    • BPERFORMING OPERATIONS; TRANSPORTING
    • B32LAYERED PRODUCTS
    • B32BLAYERED PRODUCTS, i.e. PRODUCTS BUILT-UP OF STRATA OF FLAT OR NON-FLAT, e.g. CELLULAR OR HONEYCOMB, FORM
    • B32B2307/00Properties of the layers or laminate
    • B32B2307/70Other properties
    • B32B2307/752Corrosion inhibitor
    • BPERFORMING OPERATIONS; TRANSPORTING
    • B32LAYERED PRODUCTS
    • B32BLAYERED PRODUCTS, i.e. PRODUCTS BUILT-UP OF STRATA OF FLAT OR NON-FLAT, e.g. CELLULAR OR HONEYCOMB, FORM
    • B32B2457/00Electrical equipment
    • B32B2457/10Batteries
    • BPERFORMING OPERATIONS; TRANSPORTING
    • B32LAYERED PRODUCTS
    • B32BLAYERED PRODUCTS, i.e. PRODUCTS BUILT-UP OF STRATA OF FLAT OR NON-FLAT, e.g. CELLULAR OR HONEYCOMB, FORM
    • B32B2553/00Packaging equipment or accessories not otherwise provided for
    • CCHEMISTRY; METALLURGY
    • C22METALLURGY; FERROUS OR NON-FERROUS ALLOYS; TREATMENT OF ALLOYS OR NON-FERROUS METALS
    • C22CALLOYS
    • C22C21/00Alloys based on aluminium
    • CCHEMISTRY; METALLURGY
    • C22METALLURGY; FERROUS OR NON-FERROUS ALLOYS; TREATMENT OF ALLOYS OR NON-FERROUS METALS
    • C22FCHANGING THE PHYSICAL STRUCTURE OF NON-FERROUS METALS AND NON-FERROUS ALLOYS
    • C22F1/00Changing the physical structure of non-ferrous metals or alloys by heat treatment or by hot or cold working
    • CCHEMISTRY; METALLURGY
    • C22METALLURGY; FERROUS OR NON-FERROUS ALLOYS; TREATMENT OF ALLOYS OR NON-FERROUS METALS
    • C22FCHANGING THE PHYSICAL STRUCTURE OF NON-FERROUS METALS AND NON-FERROUS ALLOYS
    • C22F1/00Changing the physical structure of non-ferrous metals or alloys by heat treatment or by hot or cold working
    • C22F1/04Changing the physical structure of non-ferrous metals or alloys by heat treatment or by hot or cold working of aluminium or alloys based thereon
    • HELECTRICITY
    • H01ELECTRIC ELEMENTS
    • H01MPROCESSES OR MEANS, e.g. BATTERIES, FOR THE DIRECT CONVERSION OF CHEMICAL ENERGY INTO ELECTRICAL ENERGY
    • H01M50/00Constructional details or processes of manufacture of the non-active parts of electrochemical cells other than fuel cells, e.g. hybrid cells
    • H01M50/10Primary casings; Jackets or wrappings
    • H01M50/116Primary casings; Jackets or wrappings characterised by the material
    • H01M50/121Organic material
    • HELECTRICITY
    • H01ELECTRIC ELEMENTS
    • H01MPROCESSES OR MEANS, e.g. BATTERIES, FOR THE DIRECT CONVERSION OF CHEMICAL ENERGY INTO ELECTRICAL ENERGY
    • H01M50/00Constructional details or processes of manufacture of the non-active parts of electrochemical cells other than fuel cells, e.g. hybrid cells
    • H01M50/10Primary casings; Jackets or wrappings
    • H01M50/116Primary casings; Jackets or wrappings characterised by the material
    • H01M50/124Primary casings; Jackets or wrappings characterised by the material having a layered structure
    • H01M50/126Primary casings; Jackets or wrappings characterised by the material having a layered structure comprising three or more layers
    • H01M50/129Primary casings; Jackets or wrappings characterised by the material having a layered structure comprising three or more layers with two or more layers of only organic material
    • HELECTRICITY
    • H01ELECTRIC ELEMENTS
    • H01MPROCESSES OR MEANS, e.g. BATTERIES, FOR THE DIRECT CONVERSION OF CHEMICAL ENERGY INTO ELECTRICAL ENERGY
    • H01M50/00Constructional details or processes of manufacture of the non-active parts of electrochemical cells other than fuel cells, e.g. hybrid cells
    • H01M50/10Primary casings; Jackets or wrappings
    • H01M50/131Primary casings; Jackets or wrappings characterised by physical properties, e.g. gas permeability, size or heat resistance
    • H01M50/133Thickness
    • YGENERAL TAGGING OF NEW TECHNOLOGICAL DEVELOPMENTS; GENERAL TAGGING OF CROSS-SECTIONAL TECHNOLOGIES SPANNING OVER SEVERAL SECTIONS OF THE IPC; TECHNICAL SUBJECTS COVERED BY FORMER USPC CROSS-REFERENCE ART COLLECTIONS [XRACs] AND DIGESTS
    • Y02TECHNOLOGIES OR APPLICATIONS FOR MITIGATION OR ADAPTATION AGAINST CLIMATE CHANGE
    • Y02EREDUCTION OF GREENHOUSE GAS [GHG] EMISSIONS, RELATED TO ENERGY GENERATION, TRANSMISSION OR DISTRIBUTION
    • Y02E60/00Enabling technologies; Technologies with a potential or indirect contribution to GHG emissions mitigation
    • Y02E60/10Energy storage using batteries

Definitions

  • the present invention relates to an aluminum alloy foil for battery packaging material, a battery packaging material, and a battery.
  • a concave portion is formed by cold forming, and a battery element such as an electrode or an electrolytic solution is arranged in the space formed by the concave portion, so that heat fusion is achieved.
  • a battery element such as an electrode or an electrolytic solution
  • Patent Document 1 contains Fe: 1.4% to 2.0%, Si: 0.15% or less in mass%, with the balance being Al. And an aluminum alloy soft foil characterized by having an average crystal grain size of 5 ⁇ m or less and a maximum crystal grain size / average crystal grain size ratio of 3.5 or less. ing.
  • the present inventors have a good moldability even when an aluminum alloy foil having a small average crystal grain size is used as a battery packaging material, such as a conventional aluminum alloy foil disclosed in Patent Document 1.
  • a battery packaging material such as a conventional aluminum alloy foil disclosed in Patent Document 1.
  • pinholes and cracks may occur in the aluminum alloy foil without exhibiting the high formability required in recent years. That is, it has been clarified that the high formability required for battery packaging materials in recent years cannot be sufficiently exhibited by simply using an aluminum alloy foil having a small average crystal grain size.
  • the present invention is an invention made in view of such problems of the prior art. That is, the present invention provides an aluminum alloy foil that, when used in a battery packaging material, hardly exhibits pinholes and cracks even when the battery packaging material is molded, and can exhibit excellent formability. Is the main purpose. Another object of the present invention is to provide a battery packaging material using the aluminum alloy foil and a battery using the battery packaging material.
  • the present inventor has intensively studied to solve the above problems. As a result, it is perpendicular to the rolling direction of the aluminum alloy foil, and the cross section obtained by cutting the aluminum alloy foil in the vertical direction from the surface of the aluminum alloy foil is subjected to crystal analysis by the EBSD method.
  • the ratio of the total area of ⁇ 111 ⁇ planes to the total area of the crystal planes of the face-centered cubic lattice structure acquired is 10% or more, and the cross section is acquired by performing crystal analysis by the EBSD method.
  • the number average crystal grain size R ( ⁇ m) of the crystal having a face-centered cubic lattice structure satisfies the following formula.
  • the inventors do not improve the formability simply by reducing the average crystal grain size of the aluminum alloy foil, but the direction perpendicular to the rolling direction of the aluminum alloy foil is the surface of the aluminum alloy foil.
  • the cross section obtained by cutting the aluminum alloy foil in the vertical direction the crystal plane of aluminum aligned in parallel with the cross section is obtained by performing crystal analysis by the EBSD method.
  • the ratio of the total area of the ⁇ 111 ⁇ plane to the total area of the crystal plane is 10% or more, and the number average crystal grain size and the thickness of the aluminum alloy foil of the crystal having a face-centered cubic lattice structure obtained from the cross section.
  • ⁇ 111 ⁇ plane arranged in parallel with the said cross section is synonymous with ⁇ 111> // RD.
  • ⁇ 111> // RD means that the ⁇ 111> orientation of the aluminum alloy foil containing the face-centered cubic lattice (FCC) structure is parallel to the rolling direction (RD). .
  • the present invention is an invention that has been completed through further studies based on these findings.
  • An aluminum alloy foil for use in battery packaging materials The aluminum alloy foil is obtained by performing a crystallographic analysis by an EBSD method on a cross section obtained by cutting the aluminum alloy foil in a direction perpendicular to the rolling direction of the aluminum alloy foil.
  • the ratio of the total area of ⁇ 111 ⁇ faces to the total area of crystal faces of the face-centered cubic lattice structure is 10% or more, and
  • the number average crystal grain size R ( ⁇ m) of the crystal having a face-centered cubic lattice structure obtained by performing crystal analysis by the EBSD method on the cross section satisfies the following formula: Aluminum alloy foil.
  • Standard deviation of grain size St ⁇ 0.09X + 0.5 X thickness of the aluminum alloy foil ( ⁇ m) Item 4.
  • Item 4. The aluminum alloy foil for battery packaging material according to any one of Items 1 to 3, which contains iron.
  • Item 5. The battery packaging material according to any one of Items 1 to 4, wherein the surface of the aluminum alloy foil is provided with an acid-resistant film containing at least one element selected from the group consisting of phosphorus, chromium, and cerium. Aluminum alloy foil.
  • the surface of the aluminum alloy foil is provided with an acid resistant film, Item 5.
  • Item 8. The acid-resistant film including at least one selected from the group consisting of a phosphorus compound salt, a chromium compound, a fluorine compound, and a triazine thiol compound is provided on the surface of the aluminum alloy foil.
  • Item 9. A battery packaging material comprising a laminate comprising at least a base material layer, the aluminum alloy foil for battery packaging material according to any one of Items 1 to 8, and a heat-fusible resin layer in this order.
  • Item 10. A battery in which a battery element including at least a positive electrode, a negative electrode, and an electrolyte is housed in a package formed of the battery packaging material according to Item 9.
  • the present invention by being used for a battery packaging material, it is possible to provide an aluminum alloy foil that hardly exhibits pinholes and cracks during the molding of the battery packaging material and can exhibit excellent formability. Moreover, according to this invention, the battery packaging material using the said aluminum alloy foil and the battery using the said packaging material for batteries can also be provided.
  • FIG. 1 It is the schematic diagram (a) of the aluminum alloy foil which concerns on this invention, and the schematic diagram (b) of the packaging material for batteries. It is the photograph obtained by observing the glossy surface of a commercially available aluminum alloy foil (Sunfoil manufactured by Toyo Aluminum Co., Ltd.) with a metal microscope (magnification 100 times). A crystal plane of a face-centered cubic lattice structure in a cross section obtained by cutting the aluminum alloy foil in a direction perpendicular to the rolling direction of the aluminum alloy foil according to the present invention. FIG. The colored region indicates the ⁇ 111 ⁇ plane. It is a schematic sectional drawing of an example of the packaging material for batteries which concerns on this invention. It is a schematic sectional drawing of an example of the packaging material for batteries which concerns on this invention.
  • the aluminum alloy foil of the present invention is used for a battery packaging material. Moreover, it is a direction perpendicular to the rolling direction of the aluminum alloy foil, and is obtained by performing a crystallographic analysis by the EBSD method on a cross section obtained by cutting the aluminum alloy foil in the vertical direction from the surface of the aluminum alloy foil.
  • the ratio of the total area of ⁇ 111 ⁇ planes to the total area of crystal faces of the face-centered cubic lattice structure (hereinafter referred to as “the total area of ⁇ 111 ⁇ planes occupying the total area of crystal faces of the face-centered cubic lattice structure” "Percentage” may be abbreviated as "ratio of total area of ⁇ 111 ⁇ face”) is 10% or more, and the cross section is obtained by performing crystal analysis by the EBSD method on the cross section.
  • an EBSD (Electron Backscattered Diffraction Pattern: EBSD) method is an EBSD detector that is one of detectors mounted on a scanning electron microscope (SEM). This is a method of measuring the fine crystal orientation of a crystal sample by capturing and analyzing the Kikuchi pattern derived from electron backscatter diffraction with an EBSD detector screen.
  • SEM scanning electron microscope
  • the numerical range indicated by “to” means “above” or “below”.
  • the notation of 2 to 15 mm means 2 mm or more and 15 mm or less.
  • the aluminum alloy foil 1 of the present invention is used as a battery packaging material. Specifically, the aluminum alloy foil of the present invention is used for a film-like battery packaging material constituted by a laminate, and in addition to improving the strength of the battery packaging material, water, oxygen, light, etc. are contained inside the battery. It functions as a barrier layer for preventing intrusion. Specific examples of the battery packaging material using the aluminum alloy foil of the present invention will be described later.
  • the crystal analysis by the EBSD method is performed on the cross section obtained by cutting the aluminum alloy foil in the direction perpendicular to the rolling direction of the aluminum alloy foil and perpendicularly from the surface of the aluminum alloy foil.
  • the ratio of the total area of ⁇ 111 ⁇ planes to the total area of the crystal planes of the face-centered cubic lattice structure obtained in (1) is 10% or more.
  • the rolling direction of the aluminum alloy foil 1 corresponds to RD when the aluminum alloy foil is manufactured through a rolling process. In the rolling direction (RD) of the aluminum alloy foil 1, as shown in the schematic diagram of FIG. 1A, linear streaks called so-called rolling marks are formed on the surface of the aluminum alloy foil 1.
  • FIG. 1B shows a battery packaging material 10 (for example, one having a base layer 2 on one surface of an aluminum alloy foil 1 and a heat-fusible resin layer 3 on the other surface). The schematic diagram is also shown.
  • the RD of the aluminum alloy foil 1 shown in FIG. 1 (a) corresponds to the MD of the battery packaging material 10 shown in FIG. 1 (b).
  • FIG. 2 shows a photograph obtained by observing the glossy surface of a commercially available aluminum alloy foil (Sunfoil manufactured by Toyo Aluminum Co., Ltd.) with a metal microscope (magnification 100 times).
  • the black linear streaks are the rolling marks T and the rolling marks T extend in the rolling direction (RD).
  • the rolling marks on the surface of the aluminum alloy foil can be confirmed using an apparatus (such as an optical microscope) other than a metal microscope as long as the apparatus can observe the surface by magnifying the surface about 50 to 100 times.
  • the aluminum alloy foil of the present invention includes an aluminum crystal having a face-centered cubic lattice structure.
  • the crystal orientation of the aluminum crystal are analyzed by the EBSD method.
  • the aluminum alloy foil of the present invention is preferably composed of about 90% by mass or more of aluminum, but depending on the composition of the other components, an aluminum crystal different from the face-centered cubic lattice structure, It may also be included.
  • the fact that the aluminum alloy foil contains aluminum crystals having a face-centered cubic lattice structure can be easily estimated from the Kikuchi pattern obtained by analyzing the aluminum alloy foil by the EBSD method. Furthermore, in order to accurately measure that the aluminum alloy foil contains aluminum crystals having a face-centered cubic lattice structure, one of the following two methods is performed. When the surface of the aluminum alloy foil is exposed, the structure can be analyzed using an X-ray diffractometer. If the aluminum alloy foil is covered with resin and the surface of the aluminum alloy foil is not exposed, first, the thickness of the aluminum alloy foil is obtained by polishing, microtome, focused ion beam, broad ion beam, etc. A section sample having a thickness of about 100 nm or less is prepared. Next, the section sample can be subjected to structural analysis by acquiring and analyzing a limited field diffraction pattern of a transmission electron microscope.
  • FIG. 3 shows a schematic diagram of a crystal plane of a face-centered cubic lattice structure in the cross section of the aluminum alloy foil according to the present invention.
  • the colored region indicates the ⁇ 111 ⁇ plane.
  • the ratio of the total area of the ⁇ 111 ⁇ plane is preferably about 20% or more, more preferably about 30% or more, and still more preferably. About 40% or more, particularly preferably about 50% or more.
  • the ⁇ 111 ⁇ plane becomes a sliding surface during molding. Therefore, when the ratio of the total area in the plane direction increases, the crystal of the aluminum alloy becomes slippery and the moldability is improved.
  • the ratio of the total area of the ⁇ 111 ⁇ plane means the total ratio of the area of the ⁇ 111 ⁇ plane among the total area of the crystal planes of the face-centered cubic lattice structure arranged in parallel to the cross section. is doing. However, since an error may occur in the installation position when the measurement sample is installed on the sample stage, an error of about 10 ° may be included in “parallel to the cross section”.
  • the upper limit value of the ratio of the total area of the ⁇ 111 ⁇ plane is not particularly limited and may be about 100%, but there is a possibility that the moldability may deteriorate due to specialization in extensibility in a specific direction. Therefore, examples of the upper limit include about 90% and about 80%, and examples of the lower limit include about 25% or more and about 29% or more.
  • the preferred range of the ratio of the total area of the ⁇ 111 ⁇ plane is about 10 to 90%, about 10 to 80%, about 20 to 90%, about 20 to 80%, about 25 to 90%, about 25 to 80%, 29-90%, 29-80%, 30-90%, 30-80%, 40-90%, 40-80%, 50-90%, 50-80% Degree.
  • the ratio (%) of the total area of the said ⁇ 111 ⁇ surface satisfies the following formula from a viewpoint of improving the moldability of aluminum alloy foil still more effectively.
  • Ratio of total area of ⁇ 111 ⁇ plane (%) ⁇ ⁇ 1.1X + 66 X thickness of the aluminum alloy foil ( ⁇ m)
  • the ratio of the total area of the ⁇ 111 ⁇ plane is large, and as the thickness of the aluminum alloy foil decreases, the ratio of the total area of the ⁇ 111 ⁇ plane increases in formability. Since the influence exerted becomes large, by satisfying the above formula, it becomes possible to exhibit even more excellent moldability.
  • the number average crystal grain size R of the crystal having the face-centered cubic lattice structure obtained by performing the crystal analysis by the EBSD method satisfies the following formula.
  • the upper limit of the R value include about 4.5, about 4.0, and about 3.5
  • examples of the lower limit include about 1.0, about 2.0, and about 3.0.
  • Number average crystal grain size R ⁇ 0.056X + 2.0 X thickness of the aluminum alloy foil ( ⁇ m)
  • the aluminum alloy foil of the present invention has a ratio of the total area of the ⁇ 111 ⁇ plane, and the number average crystal grain size and the thickness of the aluminum alloy foil have such a specific relationship. Therefore, excellent moldability is exhibited.
  • the relationship between the thickness of the aluminum alloy foil and the number average crystal grain size is not considered. For example, when the thickness of the aluminum alloy foil is changed, there is a problem that formability is deteriorated.
  • the number average crystal grain size and the thickness of the aluminum alloy foil have a specific relationship, so that even when the thickness of the aluminum alloy foil is changed. It is possible to exhibit excellent formability. In particular, even when the thickness of the aluminum alloy foil is thin as will be described later, excellent formability can be exhibited.
  • the lower limit of the number average crystal grain size R of the crystals having the face-centered cubic lattice structure is not particularly limited, and is preferably about 1 ⁇ m, and for example, preferably satisfies the following formula.
  • the lower limit is about 1 ⁇ m or satisfies the following formula, it is possible to prevent the yield strength of the aluminum alloy foil from becoming excessively high and the aluminum alloy foil to be hard and formability to be lowered.
  • 0.056X + 0.4 ⁇ number average crystal grain size R X thickness of the aluminum alloy foil ( ⁇ m)
  • the standard deviation of the crystal grain size satisfies the following formula.
  • Standard deviation of grain size St ⁇ 0.09X + 0.5 X thickness of the aluminum alloy foil ( ⁇ m)
  • the lower limit of the standard deviation of the crystal grain size is not particularly limited, and is preferably 0.
  • the ratio of the total area of the ⁇ 111 ⁇ plane of the aluminum alloy foil, the number average crystal grain size, and the standard deviation of the crystal grain size are perpendicular to the rolling direction of the aluminum alloy foil, and the aluminum alloy foil
  • the cross section obtained by cutting the aluminum alloy foil in the vertical direction from the surface of the foil can be measured by performing crystal analysis by the EBSD method.
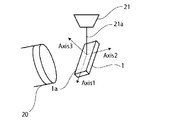
  • FIG. 12 shows a schematic diagram for explaining a method of performing crystal analysis by the EBSD method for the cross section of the aluminum alloy foil.
  • a sample of the aluminum alloy foil 1 is installed so that Axis 1 is ND, Axis 2 is TD, and Axis 3 is RD, and an electron from the SEM objective lens 21 is applied to the cross section 1 a of the aluminum alloy foil 1.
  • the line 21 a is irradiated, and the EBSD detector 20 performs crystal analysis from the Axis 3 direction.
  • the angle formed by each of Axis1, Axis2, and Axis3 is 90 °, and the sample of the aluminum alloy foil 1 is inclined by 70 ° in the Axis1 direction. That is, in a general SEM, the sample is transported horizontally and the electron beam is irradiated straight down from the top. In the present invention, the sample of the aluminum alloy foil 1 is 70 ° in the Axis 1 direction as shown in FIG. It is inclined. Specific measurement conditions are as follows.
  • the number average crystal grain size is a diameter when the area calculated by [(measurement region ⁇ region having CI value of 0.1 or less) / number of crystals] is assumed to be a circle, and is determined by crystal analysis by the EBSD method. This is the number average crystal grain size of crystals contained in a measurement region obtained by connecting a plurality of images to be acquired and having a size of about 10,000 ⁇ m 2 or more.
  • the CI value is as described later.
  • the standard deviation of the crystal grain size is included in the measurement region of about 10,000 ⁇ m 2 or more by connecting a plurality of images obtained by crystal analysis by the EBSD method after removing the region having a CI value of 0.1 or less. This is a value calculated from the distribution of the crystal grain size (diameter when the crystal area is assumed to be a circle).
  • measuring device A device in which an EBSD detector (manufactured by TSL Solutions) is mounted on a Schottky field emission scanning electron microscope is used.
  • the aluminum alloy foil is cut in a direction perpendicular to the rolling direction (RD) to obtain a cross section.
  • the rolling direction of the aluminum alloy foil is a direction in which the glossy surface of the aluminum alloy foil is observed with a metal microscope and linear rolling traces extend.
  • an aluminum alloy foil as a sample is cut out to 5 mm (perpendicular to the rolling direction) ⁇ 10 mm (rolling direction) with a trimming razor and then embedded in a resin.
  • the aluminum alloy foil is cut with the resin in a direction perpendicular to the rolling direction of the aluminum alloy foil and perpendicular to the surface of the aluminum alloy foil, thereby exposing the cross section of the aluminum alloy foil.
  • the obtained cross section is trimmed using a microtome.
  • cutting is performed with a microtome by about 1 mm in a direction perpendicular to the cross section.
  • a broad argon beam is irradiated in a direction perpendicular to the cross section to prepare a measurement cross section.
  • This is an operation for accurately exposing the cross section of the aluminum alloy foil so that the breakage of the mechanical crystal structure occurring in the previous process is minimized.
  • the “vertical direction” at the time of cutting the aluminum alloy foil is confirmed under a stereomicroscope, and may include an error of about 10 °. That is, the allowable range is a direction perpendicular to the rolling direction of 80 to 100 ° in the rolling direction and a direction perpendicular to the surface of 80 to 100 ° with respect to the surface.
  • SEM conditions The conditions of the scanning electron microscope (SEM) used for the EBSD method are as follows. Observation magnification: 2000 times (the observation magnification standard at the time of photographing is Polaroid 545) Acceleration voltage: 15 kV Working distance: 15mm Sample tilt angle: 70 °
  • EBSD conditions Conditions for crystal analysis by the EBSD method are as follows. Step size: 200nm Analysis conditions: The following analysis is performed using crystal orientation analysis software OIM (Ver. 7.3) manufactured by TSL Solutions. A plurality of images are connected, and the measurement area is about 10,000 ⁇ m 2 or more. The upper limit of the measurement region is, for example, about 30000 ⁇ m 2 or less. At this time, the region from the center in the thickness direction of the aluminum alloy foil to both end sides is taken as the measurement region, and the portion where the resin adheres to the cross section or the portion where the acid resistant film exists is excluded from the measurement region. After connecting the images, check the pole figure.
  • the crystal data is rotated so that the symmetry is adjusted.
  • the pole figure used as a reference at that time is measured from the sample surface by XRD.
  • the pole figure obtained from the surface by EBSD in order to remove the influence of the mechanical crystal structure of the sample surface, a wide range measurement is performed after performing mechanical polishing, planar milling, electric field polishing, etc. of the sample surface. Thereafter, the pole figure obtained from the surface direction is rotated by 90 ° so as to be the same as that obtained from the same orientation as the pole figure obtained from the cross section of the target sample. Refer to this pole figure.
  • Analysis is performed by excluding data with a reliability index (CI value) CI value of 0.1 or less defined by crystal orientation analysis software OIM (Ver. 7.3) manufactured by TSL Solutions. Thereby, it is possible to exclude the resin used for the pretreatment existing on the front and back of the sample, the grain boundary existing in the cross section, and the data based on the amorphous.
  • OIM crystal orientation analysis software
  • the battery packaging material can be cut out from the flat portion of the battery, and these measurements can be performed.
  • the thickness of the aluminum alloy foil of the present invention is not particularly limited, but is preferably about 3 to 100 ⁇ m from the viewpoint of being suitably used for battery packaging materials.
  • the aluminum alloy foil of the present invention has a ratio of the total area of the ⁇ 111 ⁇ plane, and the number average crystal grain size and the thickness of the aluminum alloy foil have the above specific relationship. By providing, it exhibits excellent moldability. For this reason, even if the thickness of the aluminum alloy foil of the present invention is, for example, about 100 ⁇ m or less, or about 80 ⁇ m or less, and further about 40 ⁇ m or less, excellent formability can be exhibited.
  • the thickness of the aluminum alloy foil of the present invention is, for example, about 3 ⁇ m or more, about 5 ⁇ m or more, about 10 ⁇ m or more, about 15 ⁇ m or more, about 20 ⁇ m or more.
  • the thickness range of the aluminum alloy foil is preferably about 3 to 100 ⁇ m, about 5 to 100 ⁇ m, about 10 to 100 ⁇ m, about 15 to 100 ⁇ m, about 20 to 100 ⁇ m, about 3 to 80 ⁇ m, about 5 to 80 ⁇ m, Examples thereof include about 10 to 80 ⁇ m, about 15 to 80 ⁇ m, about 20 to 80 ⁇ m, about 3 to 40 ⁇ m, about 5 to 40 ⁇ m, about 15 to 40 ⁇ m, and about 20 to 40 ⁇ m. Since the aluminum alloy foil of the present invention exhibits excellent formability, for example, even when the thickness of the aluminum alloy foil is as thin as about 10 to 40 ⁇ m, further about 10 to 20 ⁇ m, it is suitable for a battery packaging material. Can be used.
  • the aluminum alloy foil of the present invention preferably contains iron from the viewpoint of improving formability.
  • the iron content is preferably about 0.5 to 2.0% by mass, more preferably about 1.2 to 1.8% by mass.
  • the composition of the aluminum alloy constituting the aluminum alloy foil layer can be identified by elemental analysis. Further, the composition of the aluminum alloy can be quantified by ICP emission spectroscopic analysis (Inductively Coupled Plasma Atomic Emission Spectroscopy: ICP-AES).
  • an aluminum alloy which comprises aluminum alloy foil Although it does not restrict
  • Specific examples of the aluminum alloy preferably have a composition defined in JIS H4160: 1994 A8021H-O, JIS H4160: 1994 A8079H-O, JIS H4000: 2014 A8021P-O, JIS H4000: 2014 A8079P-O, and the like. A soft aluminum alloy is mentioned.
  • the aluminum alloy foil having the above-described characteristics can be manufactured by a known manufacturing method, for example, by appropriately adjusting the composition, rolling conditions, thickness, etc. of the aluminum alloy.
  • a metal other than aluminum contained in the aluminum alloy for example, at least one of iron, copper, nickel, silicon, manganese, magnesium, chromium, zinc, titanium, etc.
  • Adjust the amount As a composition of an aluminum alloy, the composition mentioned above is preferable.
  • rolling conditions conditions such as rolling rate, heating temperature, and heating time are adjusted.
  • an aluminum metal or aluminum alloy ingot is homogenized at about 500 to 600 ° C. for about 1 to 2 hours, a hot rolling step, a cold rolling step, and about 300 to 450 ° C. for about 1 to 10 hours.
  • a method including an annealing step may be mentioned.
  • the aluminum alloy foil 1 is preferably subjected to chemical conversion treatment on at least one surface, preferably both surfaces, for the purpose of stabilizing adhesion, preventing dissolution and corrosion, and the like.
  • the chemical conversion treatment refers to a treatment for forming an acid-resistant film on the surface of the aluminum alloy foil.
  • the acid resistant film is included in the aluminum alloy foil.
  • chromate treatment using a chromium compound such as chromium nitrate, chromium fluoride, chromium sulfate, chromium acetate, chromium oxalate, chromium biphosphate, chromic acid acetyl acetate, chromium chloride, potassium sulfate chromium; Phosphoric acid treatment using a phosphoric acid compound such as sodium phosphate, potassium phosphate, ammonium phosphate, polyphosphoric acid; an aminated phenol polymer having a repeating unit represented by the following general formulas (1) to (4) is used Chemical conversion treatment.
  • chromium compounds chromic acid compounds are preferred.
  • the repeating units represented by the following general formulas (1) to (4) may be contained singly or in any combination of two or more. Also good.
  • X represents a hydrogen atom, a hydroxy group, an alkyl group, a hydroxyalkyl group, an allyl group or a benzyl group.
  • R 1 and R 2 are the same or different and each represents a hydroxy group, an alkyl group, or a hydroxyalkyl group.
  • examples of the alkyl group represented by X, R 1 and R 2 include a methyl group, an ethyl group, an n-propyl group, an isopropyl group, an n-butyl group, an isobutyl group, Examples thereof include straight-chain or branched alkyl groups having 1 to 4 carbon atoms such as a tert-butyl group.
  • Examples of the hydroxyalkyl group represented by X, R 1 and R 2 include a hydroxymethyl group, a 1-hydroxyethyl group, a 2-hydroxyethyl group, a 1-hydroxypropyl group, a 2-hydroxypropyl group, 3- Linear or branched chain having 1 to 4 carbon atoms substituted with one hydroxy group such as hydroxypropyl group, 1-hydroxybutyl group, 2-hydroxybutyl group, 3-hydroxybutyl group, 4-hydroxybutyl group An alkyl group is mentioned.
  • the alkyl group and hydroxyalkyl group represented by X, R 1 and R 2 may be the same or different.
  • X is preferably a hydrogen atom, a hydroxy group or a hydroxyalkyl group.
  • the number average molecular weight of the aminated phenol polymer having a repeating unit represented by the general formulas (1) to (4) is preferably about 500 to 1,000,000, for example, about 1,000 to 20,000. More preferred.
  • a coating in which metal oxide such as aluminum oxide, titanium oxide, cerium oxide, tin oxide, or barium sulfate fine particles is dispersed in phosphoric acid is coated.
  • a method of forming a corrosion-resistant treatment layer on the surface of the aluminum alloy foil 1 by performing a baking treatment at about 150 ° C. or higher can be mentioned.
  • a resin layer obtained by crosslinking a cationic polymer with a crosslinking agent may be further formed on the corrosion-resistant treatment layer.
  • examples of the cationic polymer include polyethyleneimine, an ionic polymer complex composed of a polymer having polyethyleneimine and a carboxylic acid, a primary amine graft acrylic resin obtained by graft polymerization of a primary amine on an acrylic main skeleton, and polyallylamine. Or the derivative, aminophenol, etc. are mentioned.
  • these cationic polymers only one type may be used, or two or more types may be used in combination.
  • examples of the crosslinking agent include a compound having at least one functional group selected from the group consisting of an isocyanate group, a glycidyl group, a carboxyl group, and an oxazoline group, and a silane coupling agent. As these crosslinking agents, only one type may be used, or two or more types may be used in combination.
  • an acid-resistant film for example, as an example, at least the surface on the inner layer side of the aluminum alloy foil, first, alkali dipping method, electrolytic cleaning method, acid cleaning method, electrolytic acid cleaning method , Degreased by a known treatment method such as an acid activation method, and then a phosphoric acid metal salt such as chromium phosphate salt, titanium phosphate salt, zirconium phosphate salt, zinc phosphate salt and the like
  • Treatment liquid (aqueous solution) mainly composed of a mixture of metal salts, or treatment liquid (aqueous solution) principally composed of a non-metallic phosphate and a mixture of these non-metallic salts, or acrylic resin
  • a treatment liquid (aqueous solution) composed of a mixture with a water-based synthetic resin such as a phenol resin or a urethane resin is applied by a known coating method such as a roll coating method, a gravure printing method, or a dipping method.
  • the acid-resistant coating it is possible to form the acid-resistant coating.
  • a chromium phosphate salt treatment solution when treated with a chromium phosphate salt treatment solution, it becomes an acid-resistant film made of chromium phosphate, aluminum phosphate, aluminum oxide, aluminum hydroxide, aluminum fluoride, etc., and treated with a zinc phosphate salt treatment solution.
  • an acid-resistant film made of zinc phosphate hydrate, aluminum phosphate, aluminum oxide, aluminum hydroxide, aluminum fluoride or the like is obtained.
  • an acid-resistant film for example, at least the surface on the inner layer side of the aluminum alloy foil, first, an alkali dipping method, an electrolytic cleaning method, an acid cleaning method, an electrolytic acid cleaning method, an acid An acid-resistant film can be formed by performing a degreasing process by a known processing method such as an activation method and then performing a known anodizing process on the degreasing surface.
  • acid-resistant films include phosphate-based and chromic acid-based films.
  • phosphate-based and chromic acid-based films examples include zinc phosphate, iron phosphate, manganese phosphate, calcium phosphate, and chromium phosphate.
  • chromic acid system examples include chromate chromate.
  • an acid-resistant film by forming an acid-resistant film such as a phosphorus compound (for example, phosphate), a chromium compound (for example, chromate), a fluorine compound (fluoride), or a triazine thiol compound.
  • a phosphorus compound for example, phosphate
  • a chromium compound for example, chromate
  • a fluorine compound fluoride
  • a triazine thiol compound such as a phosphorus compound (for example, phosphate), a chromium compound (for example, chromate), a fluorine compound (fluoride), or a triazine thiol compound.
  • the acid-resistant film includes a layer having cerium oxide, phosphoric acid or phosphate, an anionic polymer, and a crosslinking agent that crosslinks the anionic polymer, and the phosphoric acid or phosphate is About 1 to 100 parts by mass may be blended with 100 parts by mass of cerium oxide. It is preferable that the acid-resistant film has a multilayer structure further including a layer having a cationic polymer and a crosslinking agent for crosslinking the cationic polymer.
  • the anionic polymer is poly (meth) acrylic acid or a salt thereof, or a copolymer containing (meth) acrylic acid or a salt thereof as a main component.
  • the said crosslinking agent is at least 1 sort (s) chosen from the group which has a functional group in any one of an isocyanate group, a glycidyl group, a carboxyl group, and an oxazoline group, and a silane coupling agent.
  • the phosphoric acid or phosphate is preferably condensed phosphoric acid or condensed phosphate.
  • the chemical conversion treatment only one type of chemical conversion treatment may be performed, or two or more types of chemical conversion processing may be performed in combination. Furthermore, these chemical conversion treatments may be carried out using one kind of compound alone, or may be carried out using a combination of two or more kinds of compounds. Among the chemical conversion treatments, a chromate treatment, a chemical conversion treatment combining a chromium compound, a phosphate compound, and an aminated phenol polymer are preferable.
  • the acid resistant film examples include those containing at least one of phosphate, chromate, fluoride, and triazine thiol.
  • An acid resistant film containing a cerium compound is also preferable.
  • cerium compound cerium oxide is preferable.
  • the acid resistant film examples include a phosphate film, a chromate film, a fluoride film, and a triazine thiol compound film.
  • a phosphate film As an acid-resistant film, one of these may be used, or a plurality of combinations may be used.
  • a treatment solution comprising a mixture of a metal phosphate and an aqueous synthetic resin, or a mixture of a non-metal phosphate and an aqueous synthetic resin It may be formed of a treatment liquid consisting of
  • the composition of the acid resistant film is analyzed by, for example, physically peeling off the heat-fusible resin layer, the adhesive layer and the like laminated on the aluminum alloy foil in the battery packaging material, It can be performed using ion mass spectrometry.
  • ion mass spectrometry By analyzing the composition of the acid-resistant film using time-of-flight secondary ion mass spectrometry, for example, a peak derived from at least one of Ce + and Cr + is detected.
  • the surface of the aluminum alloy foil is provided with an acid resistant film containing at least one element selected from the group consisting of phosphorus, chromium and cerium.
  • the acid-resistant film on the surface of the aluminum alloy foil of the battery packaging material contains at least one element selected from the group consisting of phosphorus, chromium and cerium using X-ray photoelectron spectroscopy. can do. Specifically, first, in the battery packaging material, the heat-fusible resin layer, the adhesive layer, and the like laminated on the aluminum alloy foil are physically peeled off. Next, the aluminum alloy foil is placed in an electric furnace and left at about 300 ° C. for about 30 minutes to remove organic components present on the surface of the aluminum alloy foil. Then, it confirms that these elements are contained using the X-ray photoelectron spectroscopy of the surface of aluminum alloy foil.
  • the amount of the acid-resistant film formed on the surface of the aluminum alloy foil 1 in the chemical conversion treatment is not particularly limited.
  • a chromium compound per 1 m 2 of the surface of the aluminum alloy foil 1 is used. Is about 0.5 to 50 mg, preferably about 1.0 to 40 mg in terms of chromium, phosphorus compound is about 0.5 to 50 mg, preferably about 1.0 to 40 mg, and aminated phenol polymer is 1 It is desirable that it is contained at a ratio of about 0.0 to 200 mg, preferably about 5.0 to 150 mg.
  • the thickness of the acid-resistant film is not particularly limited, but is preferably about 1 nm to 10 ⁇ m, more preferably 1 to 100 nm, from the viewpoint of the cohesive strength of the film and the adhesive strength with the aluminum alloy foil or the heat-fusible resin layer. About 1 to 50 nm is preferable.
  • the thickness of the acid-resistant film can be measured by observation with a transmission electron microscope or a combination of observation with a transmission electron microscope and energy dispersive X-ray spectroscopy or electron energy loss spectroscopy.
  • a solution containing a compound used for forming an acid-resistant film is applied to the surface of the aluminum alloy foil by a bar coating method, a roll coating method, a gravure coating method, a dipping method, or the like, and then the temperature of the aluminum alloy foil. Is carried out by heating so as to be about 70 to 200 ° C.
  • the aluminum alloy foil may be previously subjected to a degreasing treatment by an alkali dipping method, an electrolytic cleaning method, an acid cleaning method, an electrolytic acid cleaning method, or the like. By performing the degreasing treatment in this way, it is possible to more efficiently perform the chemical conversion treatment on the surface of the aluminum alloy foil.
  • the aluminum alloy foil of the present invention can be suitably used for the battery packaging material of the present invention. That is, the aluminum alloy foil of the present invention is an aluminum alloy foil in a battery packaging material composed of a laminate comprising at least a base material layer, an aluminum alloy foil, and a heat-fusible resin layer in this order. It can be preferably used.
  • the battery packaging material of the present invention is composed of a laminate including at least a base material layer 2, an aluminum alloy foil 1, and a heat-fusible resin layer 3 in this order.
  • the base material layer 2 is the outermost layer side
  • the heat-fusible resin layer 3 is the innermost layer. That is, when the battery is assembled, the battery element is sealed by heat-sealing the heat-fusible resin layers 3 positioned at the periphery of the battery element to seal the battery element.
  • the battery packaging material of the present invention includes an adhesive layer 4 between the base material layer 2 and the aluminum alloy foil 1 as necessary for the purpose of enhancing the adhesiveness thereof. May be.
  • an adhesive layer 5 may be provided between the aluminum alloy foil 1 and the heat-fusible resin layer 3 as necessary for the purpose of improving the adhesiveness thereof.
  • the surface coating layer 6 etc. may be provided in the outer side of the base material layer 2 (opposite side to the heat-fusible resin layer 3) as needed.
  • the thickness of the laminate constituting the battery packaging material of the present invention is not particularly limited, but from the viewpoint of exhibiting high moldability while reducing the thickness of the laminate as much as possible, preferably about 160 ⁇ m or less, More preferred is about 35 to 155 ⁇ m, still more preferred is about 45 to 120 ⁇ m. Even when the thickness of the laminate constituting the battery packaging material of the present invention is as thin as about 160 ⁇ m or less, for example, the present invention can exhibit excellent moldability. For this reason, the packaging material for batteries of this invention can contribute to the improvement of the energy density of a battery.
  • the base material layer 2 is a layer located on the outermost layer side.
  • the material for forming the base material layer 2 is not particularly limited as long as it has insulating properties.
  • the material for forming the base material layer 2 include resin films such as polyester resin, polyamide resin, epoxy resin, acrylic resin, fluorine resin, polyurethane resin, silicon resin, phenol resin, and mixtures and copolymers thereof.
  • a polyester resin and a polyamide resin are mentioned, More preferably, a biaxially stretched polyester resin and a biaxially stretched polyamide resin are mentioned.
  • polyester resin examples include polyethylene terephthalate, polybutylene terephthalate, polyethylene naphthalate, polybutylene naphthalate, copolymerized polyester, and polycarbonate.
  • polyamide resin examples include nylon 6, nylon 66, a copolymer of nylon 6 and nylon 66, nylon 6,10, polyamide MXD6 (polymetaxylylene adipamide), and the like.
  • the base material layer 2 may be formed from a single resin film, but may be formed from two or more resin films in order to improve pinhole resistance and insulation. Specific examples include a multilayer structure in which a polyester film and a nylon film are laminated, a multilayer structure in which a plurality of nylon films are laminated, a multilayer structure in which a plurality of polyester films are laminated, and the like.
  • the base material layer 2 has a multilayer structure, a laminate of a biaxially stretched nylon film and a biaxially stretched polyester film, a laminate of a plurality of biaxially stretched nylon films, and a laminate of a plurality of biaxially stretched polyester films The body is preferred.
  • the base material layer 2 when the base material layer 2 is formed from two resin films, a configuration in which a polyester resin and a polyester resin are stacked, a configuration in which a polyamide resin and a polyamide resin are stacked, or a configuration in which a polyester resin and a polyamide resin are stacked are used. It is more preferable to use a structure in which polyethylene terephthalate and polyethylene terephthalate are laminated, a structure in which nylon and nylon are laminated, or a structure in which polyethylene terephthalate and nylon are laminated.
  • the base material layer 2 is preferably laminated so that the polyester resin is located in the outermost layer.
  • the thickness of each layer is preferably about 2 to 25 ⁇ m.
  • the two or more resin films may be laminated via an adhesive component such as an adhesive or an adhesive resin, and the type and amount of the adhesive component used. Is the same as in the case of the adhesive layer 4 described later.
  • an adhesive component such as an adhesive or an adhesive resin
  • stacking two or more resin films A well-known method can be employ
  • laminating by the dry laminating method it is preferable to use a urethane-based adhesive as the adhesive layer. At this time, the thickness of the adhesive layer is, for example, about 2 to 5 ⁇ m.
  • a lubricant is preferably present on the surface of the base material layer 2 from the viewpoint of improving the moldability of the battery packaging material.
  • an amide type lubricant is mentioned.
  • Specific examples of the amide-based lubricant include saturated fatty acid amide, unsaturated fatty acid amide, substituted amide, methylolamide, saturated fatty acid bisamide, unsaturated fatty acid bisamide, and the like.
  • Specific examples of the saturated fatty acid amide include lauric acid amide, palmitic acid amide, stearic acid amide, behenic acid amide, hydroxy stearic acid amide and the like.
  • the unsaturated fatty acid amide include oleic acid amide and erucic acid amide.
  • substituted amide include N-oleyl palmitic acid amide, N-stearyl stearic acid amide, N-stearyl oleic acid amide, N-oleyl stearic acid amide, N-stearyl erucic acid amide and the like.
  • methylolamide include methylol stearamide.
  • saturated fatty acid bisamides include methylene bis stearamide, ethylene biscapric amide, ethylene bis lauric acid amide, ethylene bis stearic acid amide, ethylene bishydroxy stearic acid amide, ethylene bisbehenic acid amide, hexamethylene bis stearic acid amide.
  • unsaturated fatty acid bisamides include ethylene bisoleic acid amide, ethylene biserucic acid amide, hexamethylene bisoleic acid amide, N, N′-dioleyl adipic acid amide, N, N′-dioleyl sebacic acid amide Etc.
  • fatty acid ester amide include stearoamidoethyl stearate.
  • aromatic bisamide include m-xylylene bis stearic acid amide, m-xylylene bishydroxy stearic acid amide, N, N′-distearyl isophthalic acid amide and the like.
  • One type of lubricant may be used alone, or two or more types may be used in combination.
  • the amount of the lubricant is not particularly limited, but is preferably about 3 mg / m 2 or more, more preferably 4 to 15 mg / m 2 at a temperature of 24 ° C. and a relative humidity of 60%.
  • about m 2 more preferably about 5 to 14 mg / m 2 is mentioned.
  • a lubricant may be contained in the base material layer 2. Further, the lubricant present on the surface of the base material layer 2 may be obtained by leaching the lubricant contained in the resin constituting the base material layer 2 or by applying a lubricant to the surface of the base material layer 2. It may be.
  • the dynamic friction coefficient of the surface of the battery packaging material of the present invention on the side of the base material layer 2 is preferably about 0.5 or less, more preferably about 0.3 or less, and even more preferably about 0. .2 or less.
  • the lower limit of the dynamic friction coefficient is about 0.01.
  • preferable ranges of the dynamic friction coefficient include about 0.01 to 0.5, about 0.01 to 0.3, and about 0.01 to 0.2.
  • the said dynamic friction coefficient is the value measured based on the method prescribed
  • the thickness of the base material layer 2 is not particularly limited as long as it exhibits a function as a base material layer, and is, for example, about 3 to 50 ⁇ m, preferably about 10 to 35 ⁇ m.
  • the adhesive layer 4 is a layer provided between the base material layer 2 and the aluminum alloy foil 1 as necessary in order to firmly bond the base material layer 2 and the aluminum alloy foil 1.
  • the adhesive layer 4 is formed of an adhesive capable of bonding the base material layer 2 and the aluminum alloy foil 1.
  • the adhesive used for forming the adhesive layer 4 may be a two-component curable adhesive or a one-component curable adhesive.
  • the bonding mechanism of the adhesive used for forming the adhesive layer 4 is not particularly limited, and may be any of a chemical reaction type, a solvent volatilization type, a heat melting type, and a hot pressure type.
  • adhesive components that can be used to form the adhesive layer 4 include polyester resins such as polyethylene terephthalate, polybutylene terephthalate, polyethylene naphthalate, polybutylene naphthalate, polyethylene isophthalate, and copolyester; polyethers Polyurethane adhesives; epoxy resins; phenol resin resins; polyamide resins such as nylon 6, nylon 66, nylon 12, copolymer polyamides; polyolefins such as polyolefins, carboxylic acid modified polyolefins, metal modified polyolefins Resin, polyvinyl acetate resin; cellulose adhesive; (meth) acrylic resin; polyimide resin; polycarbonate; amino resin such as urea resin and melamine resin; chloroprene rubber, nitrile - arm, styrene rubbers such as butadiene rubber; and silicone resins. These adhesive components may be used individually by 1 type, and may be used in combination of 2 or more type. Among
  • the adhesive layer 4 may contain a colorant.
  • the battery packaging material can be colored.
  • the colorant known ones such as pigments and dyes can be used.
  • only 1 type may be used for a coloring agent, and 2 or more types may be mixed and used for it.
  • inorganic pigments preferably include carbon black and titanium oxide.
  • organic pigments preferably include azo pigments, phthalocyanine pigments, and condensed polycyclic pigments.
  • the azo pigment include soluble pigments such as watching red and carmine 6C; insoluble azo pigments such as monoazo yellow, disazo yellow, pyrazolone orange, pyrazolone red, and permanent red.
  • the phthalocyanine pigment include copper phthalocyanine pigment, no pigment
  • the metal phthalocyanine pigment include a blue pigment and a green pigment, and examples of the condensed polycyclic pigment include dioxazine violet and quinacridone violet.
  • a pearl pigment, a fluorescent pigment, or the like can be used.
  • carbon black is preferable in order to make the appearance of the battery packaging material black.
  • the average particle diameter of the pigment is not particularly limited, and examples thereof include about 0.05 to 5 ⁇ m, preferably about 0.08 to 2 ⁇ m.
  • the average particle diameter of a pigment be the median diameter measured with the laser diffraction / scattering type particle size distribution measuring apparatus.
  • the content of the pigment in the adhesive layer 4 is not particularly limited as long as the battery packaging material is colored, and examples thereof include about 5 to 60% by mass. *
  • the thickness of the adhesive layer 4 is not particularly limited as long as it exhibits a function as an adhesive layer, and for example, it is about 1 to 10 ⁇ m, preferably about 2 to 5 ⁇ m.
  • the aluminum alloy foil 1 is a layer having a function of preventing water vapor, oxygen, light, and the like from entering the battery, in addition to improving the strength of the battery packaging material.
  • the aluminum alloy foil 1 the above-described aluminum alloy foil 1 of the present invention can be used. The details of the aluminum alloy foil 1 of the present invention are as described above.
  • the aluminum alloy foil of the present invention since the aluminum alloy foil of the present invention described above is used, it has excellent formability. Note that the thickness X of the aluminum alloy foil 1 can be measured by observing the cross section of the battery packaging material, even when the aluminum alloy foil 1 is laminated in the battery packaging material. Further, a crystal analysis by an EBSD method for a cross section obtained by cutting the aluminum alloy foil in a direction perpendicular to the rolling direction of the aluminum alloy foil and perpendicularly from the surface of the aluminum alloy foil is also used as a battery packaging material. It can be performed even when the aluminum alloy foil is laminated.
  • the specific measurement conditions are as described above (pretreatment), in which the battery packaging material is embedded in a resin, and is perpendicular to the rolling direction (RD) of the aluminum alloy foil and perpendicular to the surface of the aluminum alloy foil.
  • the analysis conditions for the aluminum alloy foil 1 are the same as those described above except that the battery packaging material is cut in the direction (ND) to obtain a cross section of the aluminum alloy foil.
  • the adhesive layer 5 is a layer provided between the aluminum alloy foil 1 and the heat-fusible resin layer 3 as necessary in order to firmly bond the aluminum alloy foil 1 and the heat-fusible resin layer 3.
  • the adhesive layer 5 is formed of a resin capable of bonding the aluminum alloy foil 1 and the heat-fusible resin layer 3.
  • the resin used for forming the adhesive layer 5 the same adhesive mechanism and the same types of adhesive components as those exemplified for the adhesive layer 4 can be used.
  • the resin used for forming the adhesive layer 5 polyolefin resins such as polyolefin, cyclic polyolefin, carboxylic acid-modified polyolefin, and carboxylic acid-modified cyclic polyolefin exemplified in the heat-fusible resin layer 3 described later can also be used. .
  • the polyolefin is preferably a carboxylic acid-modified polyolefin, and particularly preferably a carboxylic acid-modified polypropylene. That is, the resin constituting the adhesive layer 5 may include a polyolefin skeleton, and preferably includes a polyolefin skeleton. The fact that the resin constituting the adhesive layer 5 contains a polyolefin skeleton can be analyzed by, for example, infrared spectroscopy, gas chromatography mass spectrometry, etc., and the analysis method is not particularly limited.
  • a peak derived from maleic acid is detected in the vicinity of the wave number of 1760 cm -1 and near the wave number 1780 cm -1.
  • the adhesive layer 5 is a cured product of a resin composition containing an acid-modified polyolefin and a curing agent. May be.
  • Preferred examples of the acid-modified polyolefin include the same carboxylic acid-modified polyolefin and carboxylic acid-modified cyclic polyolefin exemplified in the heat-fusible resin layer 3.
  • the curing agent is not particularly limited as long as it can cure the acid-modified polyolefin.
  • the curing agent include an epoxy curing agent, a polyfunctional isocyanate curing agent, a carbodiimide curing agent, and an oxazoline curing agent.
  • the epoxy curing agent is not particularly limited as long as it is a compound having at least one epoxy group.
  • examples of the epoxy curing agent include epoxy resins such as bisphenol A diglycidyl ether, modified bisphenol A diglycidyl ether, novolac glycidyl ether, glycerin polyglycidyl ether, and polyglycerin polyglycidyl ether.
  • the polyfunctional isocyanate curing agent is not particularly limited as long as it is a compound having two or more isocyanate groups.
  • Specific examples of the polyfunctional isocyanate-based curing agent include isophorone diisocyanate (IPDI), hexamethylene diisocyanate (HDI), tolylene diisocyanate (TDI), diphenylmethane diisocyanate (MDI), those obtained by polymerizing or nurating these, Examples thereof include mixtures and copolymers with other polymers.
  • the carbodiimide curing agent is not particularly limited as long as it is a compound having at least one carbodiimide group (—N ⁇ C ⁇ N—).
  • a polycarbodiimide compound having at least two carbodiimide groups is preferable.
  • the oxazoline-based curing agent is not particularly limited as long as it is a compound having an oxazoline skeleton.
  • Specific examples of the oxazoline-based curing agent include Epocros series manufactured by Nippon Shokubai Co., Ltd.
  • the curing agent may be composed of two or more kinds of compounds.
  • the content of the curing agent in the resin composition forming the adhesive layer 5 is preferably in the range of about 0.1 to 50% by mass, more preferably in the range of about 0.1 to 30% by mass, More preferably, it is in the range of about 0.1 to 10% by mass.
  • the thickness of the adhesive layer 5 is not particularly limited as long as it functions as an adhesive layer. However, when the adhesive exemplified in the adhesive layer 4 is used, it is preferably about 2 to 10 ⁇ m, more preferably 2 to 2 ⁇ m. For example, about 5 ⁇ m. Further, when the resin exemplified in the heat-fusible resin layer 3 is used, it is preferably about 2 to 50 ⁇ m, more preferably about 10 to 40 ⁇ m. In the case of a cured product of an acid-modified polyolefin and a curing agent, it is preferably about 30 ⁇ m or less, more preferably about 0.1 to 20 ⁇ m, and still more preferably about 0.5 to 5 ⁇ m. In the case where the adhesive layer 5 is a cured product of a resin composition containing an acid-modified polyolefin and a curing agent, the adhesive layer 5 can be formed by applying the resin composition and curing it by heating or the like.
  • the heat-fusible resin layer 3 corresponds to the innermost layer, and is a layer that heat-welds the heat-fusible resin layers to each other to seal the battery element when the battery is assembled.
  • the resin component used for the heat-fusible resin layer 3 of the present invention is not particularly limited as long as it can be heat-welded, and examples thereof include polyolefin and acid-modified polyolefin. That is, the resin constituting the heat-fusible resin layer 3 may include a polyolefin skeleton, and preferably includes a polyolefin skeleton. The fact that the resin constituting the heat-fusible resin layer 3 contains a polyolefin skeleton can be analyzed by, for example, infrared spectroscopy, gas chromatography mass spectrometry, etc., and the analysis method is not particularly limited.
  • a peak derived from maleic acid is detected in the vicinity of the wave number of 1760 cm -1 and near the wave number 1780 cm -1.
  • the peak may be small and may not be detected. In that case, it can be analyzed by nuclear magnetic resonance spectroscopy.
  • polyolefins include polyethylene such as low density polyethylene, medium density polyethylene, high density polyethylene, and linear low density polyethylene; homopolypropylene, polypropylene block copolymers (for example, block copolymers of propylene and ethylene), polypropylene Polypropylenes such as random copolymers (eg, random copolymers of propylene and ethylene); ethylene-butene-propylene terpolymers and the like.
  • polyethylene and polypropylene are preferable, and polypropylene is more preferable.
  • the polyolefin may be a cyclic polyolefin.
  • the cyclic polyolefin is a copolymer of an olefin and a cyclic monomer.
  • Examples of the olefin that is a constituent monomer of the cyclic polyolefin include ethylene, propylene, 4-methyl-1-pentene, butadiene, and isoprene.
  • Examples of the cyclic monomer that is a constituent monomer of the cyclic polyolefin include cyclic alkenes such as norbornene; specifically, cyclic dienes such as cyclopentadiene, dicyclopentadiene, cyclohexadiene, and norbornadiene. Styrene is also exemplified as a constituent monomer. Among these, Preferably cyclic alkene, More preferably, norbornene is mentioned.
  • the acid-modified polyolefin is a polymer obtained by modifying the above polyolefin by block polymerization or graft polymerization with carboxylic acid or the like.
  • carboxylic acid used for modification include maleic acid, acrylic acid, itaconic acid, crotonic acid, maleic anhydride, itaconic anhydride and the like.
  • the acid-modified polyolefin may be an acid-modified cyclic polyolefin.
  • the acid-modified cyclic polyolefin is a copolymer obtained by copolymerizing a part of the monomer constituting the cyclic polyolefin in place of the ⁇ , ⁇ -unsaturated carboxylic acid or its anhydride, or ⁇ , ⁇ -unsaturated with respect to the cyclic polyolefin. It is a polymer obtained by block polymerization or graft polymerization of a saturated carboxylic acid or its anhydride.
  • the cyclic polyolefin to be acid-modified is the same as described above.
  • the carboxylic acid used for modification is the same as that used for modification of the acid-modified cycloolefin copolymer.
  • polyolefins preferred are polyolefins, and more preferred are propylene copolymers.
  • propylene copolymer include copolymers of propylene and other olefins such as ethylene-propylene copolymer, propylene-butene copolymer, and ethylene-propylene-butene copolymer.
  • the proportion of the propylene unit contained in the polypropylene is preferably about 50 to 100 mol%, more preferably about 80 to 100 mol%, from the viewpoint of further improving the insulation and durability of the battery packaging material. .
  • the proportion of the ethylene unit contained in the polyethylene is preferably about 50 to 100 mol%, more preferably about 80 to 100 mol%, from the viewpoint of further improving the insulation and durability of the battery packaging material. More preferred.
  • Each of the ethylene copolymer and the propylene copolymer may be a random copolymer or a block copolymer, and a random propylene copolymer is preferred.
  • the heat-fusible resin layer 3 of the present invention preferably has polypropylene, and preferably has a layer formed of polypropylene.
  • the heat-fusible resin layer 3 may be formed by one kind of resin component alone or by a blend polymer in which two or more kinds of resin components are combined. Furthermore, the heat-fusible resin layer 3 may be formed of only one layer, but may be formed of two or more layers using the same or different resin components.
  • a lubricant is preferably present on the surface of the heat-fusible resin layer 3 from the viewpoint of improving the moldability of the battery packaging material.
  • the lubricant is not particularly limited, and a known lubricant can be used, and examples thereof include those exemplified for the base material layer 2 described above. One type of lubricant may be used alone, or two or more types may be used in combination.
  • the amount of lubricant present on the surface of the heat-fusible resin layer 3 is not particularly limited, and is preferably 10 in an environment of a temperature of 24 ° C. and a relative humidity of 60% from the viewpoint of improving the moldability of the battery packaging material. It is about ⁇ 50 mg / m 2 , more preferably about 15 to 40 mg / m 2 .
  • a lubricant may be contained in the heat-fusible resin layer 3.
  • the lubricant present on the surface of the heat-fusible resin layer 3 may be one in which a lubricant contained in the resin constituting the heat-fusible resin layer 3 is exuded, or the heat-fusible resin layer.
  • the surface of 3 may be coated with a lubricant.
  • the coefficient of dynamic friction on the surface of the heat-sealing resin layer 3 of the battery packaging material of the present invention is preferably about 0.5 or less, more preferably about 0.3 or less, and still more preferably Is about 0.2 or less.
  • the lower limit of the dynamic friction coefficient is about 0.01.
  • preferable ranges of the dynamic friction coefficient include about 0.01 to 0.5, about 0.01 to 0.3, and about 0.01 to 0.2.
  • the said dynamic friction coefficient is the value measured based on the method prescribed
  • the thickness of the heat-fusible resin layer 3 of the present invention is not particularly limited as long as it exhibits the function as the heat-fusible resin layer, but from the viewpoint of improving moldability, for example, about 10 to 40 ⁇ m, Preferably, the thickness is about 15 to 40 ⁇ m.
  • the base material layer 2 is optionally formed (the aluminum alloy of the base material layer 2).
  • a surface coating layer 6 may be provided on the opposite side of the foil 1 as necessary.
  • the surface coating layer 6 is a layer located in the outermost layer when the battery is assembled.
  • the surface coating layer 6 can be formed of, for example, polyvinylidene chloride, polyester resin, urethane resin, acrylic resin, epoxy resin, or the like. Of these, the surface coating layer 6 is preferably formed of a two-component curable resin. Examples of the two-component curable resin for forming the surface coating layer 6 include a two-component curable urethane resin, a two-component curable polyester resin, and a two-component curable epoxy resin. Moreover, you may mix
  • Examples of the additive include fine particles having a particle size of about 0.5 nm to 5 ⁇ m.
  • the material of the additive is not particularly limited, and examples thereof include metals, metal oxides, inorganic substances, and organic substances.
  • the shape of the additive is not particularly limited, and examples thereof include a spherical shape, a fiber shape, a plate shape, an indeterminate shape, and a balloon shape.
  • talc silica, graphite, kaolin, montmorilloid, montmorillonite, synthetic mica, hydrotalcite, silica gel, zeolite, aluminum hydroxide, magnesium hydroxide, zinc oxide, magnesium oxide, aluminum oxide, Neodymium oxide, antimony oxide, titanium oxide, cerium oxide, calcium sulfate, barium sulfate, calcium carbonate, calcium silicate, lithium carbonate, calcium benzoate, calcium oxalate, magnesium stearate, alumina, carbon black, carbon nanotubes, high Melting
  • money, aluminum, copper, nickel etc. are mentioned.
  • additives may be used individually by 1 type, and may be used in combination of 2 or more type.
  • silica, barium sulfate, and titanium oxide are preferably used from the viewpoint of dispersion stability and cost.
  • the surface of the additive may be subjected to various surface treatments such as insulation treatment and high dispersibility treatment.
  • the method for forming the surface coating layer 6 is not particularly limited, and examples thereof include a method in which a two-component curable resin for forming the surface coating layer 6 is applied to one surface of the base material layer 2.
  • the additive may be added to the two-component curable resin, mixed, and then applied.
  • the content of the additive in the surface coating layer 6 is not particularly limited, but is preferably about 0.05 to 1.0% by mass, more preferably about 0.1 to 0.5% by mass.
  • the thickness of the surface coating layer 6 is not particularly limited as long as the above function as the surface coating layer 6 is exhibited.
  • the thickness is about 0.5 to 10 ⁇ m, preferably about 1 to 5 ⁇ m.
  • the production method of the battery packaging material of the present invention is not particularly limited as long as a laminate in which layers of a predetermined composition are laminated is obtained, and at least a base material layer and an aluminum alloy There is provided a laminating step for obtaining a laminate in which the foil and the heat-fusible resin layer are provided in this order, and the method using the aluminum alloy foil of the present invention can be adopted as the aluminum alloy foil.
  • a laminate including the base material layer 2, the adhesive layer 4, and the aluminum alloy foil 1 in this order (hereinafter sometimes referred to as “laminate A”) is formed.
  • the laminate A is formed by extruding an adhesive used for forming the adhesive layer 4 on the base material layer 2 or the aluminum alloy foil 1 whose surface is subjected to chemical conversion treatment, if necessary.
  • a coating method such as a coating method or a roll coating method
  • the aluminum alloy foil 1 or the base material layer 2 can be laminated to dry the adhesive layer 4.
  • the adhesive layer 5 and the heat-fusible resin layer 3 are laminated on the aluminum alloy foil 1 of the laminate A in this order.
  • a method of laminating the adhesive layer 5 and the heat-fusible resin layer 3 on the aluminum alloy foil 1 of the laminate A by coextrusion (coextrusion laminating method) (2) a separate adhesive layer 5 and a heat-fusible resin layer 3 are laminated to form a laminate, and this is laminated on the aluminum alloy foil 1 of the laminate A by a thermal lamination method.
  • an adhesive for forming the adhesive layer 5 is laminated by an extrusion method or a solution coating method, dried at a high temperature and further baked, and a heat-fusible resin previously formed into a sheet on the adhesive layer 5 A method of laminating the layer 3 by a thermal laminating method, and (4) a molten adhesive layer 5 between the aluminum alloy foil 1 of the laminate A and the heat-fusible resin layer 3 previously formed into a sheet shape. Adhesion while pouring How 5 through a bonding a laminate A and the heat-welding resin layer 3 (sandwich lamination method).
  • the surface coating layer is laminated on the surface of the base material layer 2 opposite to the aluminum alloy foil 1.
  • the surface coating layer can be formed, for example, by applying the above-described resin forming the surface coating layer to the surface of the base material layer 2.
  • the order of the step of laminating the aluminum alloy foil 1 on the surface of the base material layer 2 and the step of laminating the surface coating layer on the surface of the base material layer 2 are not particularly limited.
  • the aluminum alloy foil 1 may be formed on the surface of the base material layer 2 opposite to the surface coating layer.
  • the method for causing the lubricant to be present on the surface of the base material layer 2 or the heat-fusible resin layer 3 is not particularly limited.
  • a lubricant is blended with the resin constituting the base material layer 2 or the heat-fusible resin layer 3.
  • a method of leaching the lubricant to the surface as necessary, a method of applying the lubricant to the surface of the base material layer 2 or the heat-fusible resin layer 3, and the like can be mentioned.
  • a laminate comprising the heat-fusible resin layer 3 in this order is formed.
  • a heat roll is further provided. You may use for heat processing, such as a contact type, a hot-air type
  • each layer constituting the laminate improves or stabilizes film forming properties, lamination processing, suitability for final processing of secondary products (pouching, embossing), and the like as necessary. Therefore, surface activation treatment such as corona treatment, blast treatment, oxidation treatment, ozone treatment may be performed.
  • the battery packaging material of the present invention is used as a packaging material for sealing and housing battery elements such as a positive electrode, a negative electrode, and an electrolyte.
  • a battery element including at least a positive electrode, a negative electrode, and an electrolyte is formed using the battery packaging material of the present invention, with the metal terminals connected to each of the positive electrode and the negative electrode protruding outward.
  • a flange portion region where the heat-fusible resin layers are in contact with each other
  • heat-sealing the heat-fusible resin layers of the flange portion to seal the battery
  • the battery packaging material of the present invention is used so that the heat-fusible resin portion is on the inner side (surface in contact with the battery element).
  • the battery packaging material of the present invention may be used for either a primary battery or a secondary battery, but is preferably a secondary battery.
  • the type of secondary battery to which the battery packaging material of the present invention is applied is not particularly limited.
  • a lithium ion battery, a lithium ion polymer battery, a lead storage battery, a nickel-hydrogen storage battery, a nickel-cadmium storage battery, a nickel- Examples include iron storage batteries, nickel / zinc storage batteries, silver oxide / zinc storage batteries, metal-air batteries, multivalent cation batteries, capacitors, capacitors, and the like.
  • lithium ion batteries and lithium ion polymer batteries are suitable applications for the battery packaging material of the present invention.
  • Examples 1 to 7 and Comparative Examples 1 to 4 A biaxially stretched nylon film (thickness: 25 ⁇ m) was used as the resin film constituting the base material layer. One side of the biaxially stretched nylon film is subjected to corona treatment. Erucamide was applied as a lubricant to the surface of the biaxially stretched nylon film that had not been subjected to corona treatment (the coating amount was 10 mg / m 2 ). On the other hand, on the surface of the biaxially stretched nylon film that has been subjected to corona treatment, an adhesive layer composed of a two-component urethane adhesive comprising a polyester polyol-based main agent and an aromatic isocyanate-based curing agent has a thickness of 3 ⁇ m after curing.
  • each aluminum alloy foil having the characteristics shown in Table 1 is prepared, and the adhesive layer side of the base material layer and the chemical conversion treated surface of the aluminum alloy foil are laminated and bonded under pressure and heat, and then aging is performed.
  • the chemical conversion treatment of the aluminum alloy foil is performed using a roll coating method in which a treatment liquid composed of a phenol resin, a chromium fluoride compound, and phosphoric acid is applied so that the chromium coating amount is 10 mg / m 2 (dry mass). This was done by applying to both sides of the foil and baking.
  • the aluminum alloy foils of Examples 1 to 7 and Comparative Examples 1 to 4 were prepared by the above-mentioned known methods by adjusting the composition and rolling conditions, respectively. The characteristics are different.
  • acid-modified polypropylene resin unsaturated carboxylic acid graft-modified random polypropylene graft-modified with unsaturated carboxylic acid
  • polypropylene random copolymer constituting the heat-fusible resin layer
  • a two-layer coextruded film composed of an adhesive layer having a thickness of 20 ⁇ m and a heat-fusible resin layer having a thickness of 20 ⁇ m was produced.
  • the laminate made of the above biaxially stretched nylon film / adhesive layer / aluminum alloy foil is superposed and heated so that the adhesive layer of the two-layer coextruded film prepared above is in contact with the aluminum alloy foil side of the laminate.
  • the number average crystal grain size is the diameter when the area calculated by [(measurement region ⁇ region of CI value 0.1 or less) / number of crystals] is assumed to be a circle, and is obtained by crystal analysis by the EBSD method.
  • the number average crystal grain size of the crystals included in the measurement region which is obtained by connecting a plurality of images to be about 10,000 ⁇ m 2 or more.
  • the maximum crystal grain size is a value measured for the largest crystal among the crystals included in the measurement region, assuming that the crystal shape is a circle.
  • the standard deviation of the crystal grain size is determined by removing a region with a CI value of 0.1 or less and then connecting a plurality of images obtained by crystal analysis by the EBSD method so that the crystal contained in the measurement region is about 10,000 ⁇ m 2 or more. It was calculated from the distribution of the crystal grain size (diameter when the crystal area was assumed to be a circle).
  • measuring device A device in which an EBSD detector (manufactured by TSL Solutions) is mounted on a Schottky field emission scanning electron microscope is used.
  • the aluminum alloy foil is cut in a direction perpendicular to the rolling direction (RD) to obtain a cross section.
  • the rolling direction of the aluminum alloy foil is a direction in which the glossy surface of the aluminum alloy foil is observed with a metal microscope and linear rolling traces extend.
  • an aluminum alloy foil as a sample was cut into 5 mm (perpendicular to the rolling direction) ⁇ 10 mm (rolling direction) with a trimming razor and then embedded in a resin.
  • the aluminum alloy foil is cut with the resin in a direction perpendicular to the rolling direction of the aluminum alloy foil and perpendicular to the surface of the aluminum alloy foil, thereby exposing the cross section of the aluminum alloy foil.
  • the obtained cross section is trimmed by using a microtome (Ultramicrotome manufactured by Leica Microsystems).
  • a microtome Ultramicrotome manufactured by Leica Microsystems
  • this trimming in order to reduce the mechanical distortion of the cross-sectional shape, it was cut with a microtome by about 1 mm in the direction perpendicular to the cross-section together with the embedded resin.
  • an ion milling device manufactured by Hitachi High-Technologies Corporation
  • This is an operation for accurately exposing the cross section of the aluminum alloy foil so that the breakage of the mechanical crystal structure occurring in the previous process is minimized.
  • SEM conditions The conditions of the scanning electron microscope (SEM) used for the EBSD method are as follows. Observation magnification: 2000 times (the observation magnification standard at the time of photographing is Polaroid 545) Acceleration voltage: 15 kV Working distance: 15mm Sample tilt angle: 70 °
  • EBSD conditions Conditions for crystal analysis by the EBSD method are as follows. Step size: 200nm Analysis conditions: The following analysis was performed using crystal orientation analysis software OIM (Ver. 7.3) manufactured by TSL Solutions. A plurality of images were connected, and the measurement area was about 10,000 ⁇ m 2 or more. At this time, the region from the center in the thickness direction of the aluminum alloy foil to both end sides was taken as the measurement region, and the portion where the resin adhered to the cross section and the portion where the acid resistant film was present were excluded from the measurement region. After connecting the images, the pole figure was confirmed. Analysis was performed by excluding data with a reliability index (CI value) CI value of 0.1 or less defined by crystal orientation analysis software OIM manufactured by TSL Solutions, Inc. When calculating the ratio of the total area of the ⁇ 111 ⁇ plane, the analysis was performed with an allowable angle of 15 °.
  • CI value reliability index
  • FIG. 8 is a graph showing the relationship between the thickness X ( ⁇ m) of the aluminum alloy foils of Examples 1 to 7 and Comparative Examples 1 to 4 and the ratio (%) of the total area of the ⁇ 111 ⁇ plane.
  • a reference straight line of the ratio (%) of the total area of the ⁇ 111 ⁇ plane ⁇ 1.1X + 66 is drawn.
  • is the result of the example
  • is the result of the comparative example.
  • FIG. 9 is a graph showing the relationship between the thickness X ( ⁇ m) of the aluminum alloy foils of Examples 1 to 7 and Comparative Examples 1 to 4 and the number average crystal grain size R ( ⁇ m).
  • a reference straight line having a number average crystal grain size R 0.056X + 2.0 is drawn.
  • FIG. 10 is a graph showing the relationship between the thickness X ( ⁇ m) of the aluminum alloy foils of Examples 1 to 7 and Comparative Examples 1 to 4 and the standard deviation of the crystal grain size.
  • Each battery packaging material obtained above was cut into 150 mm (TD) ⁇ 100 mm (MD) strips, and 10 test samples were prepared for each battery packaging material.
  • the MD of the battery packaging material corresponds to the rolling direction (RD) of the aluminum alloy foil
  • the TD of the battery packaging material corresponds to the TD of the aluminum alloy foil.
  • the TD is the direction perpendicular to the same plane as MD and RD.
  • the rolling direction of the aluminum alloy foil can be confirmed by the rolling marks of the aluminum alloy foil.
  • a straight mold comprising a rectangular male mold of 30 mm (MD) ⁇ 50 mm (TD) and a female mold having a clearance of 0.5 mm from the male mold was used.
  • test sample was placed on the female mold so that the heat-fusible resin layer side was positioned on the male mold side.
  • About 10 test samples of each battery packaging material each test sample was pressed with a surface pressure of 0.1 MPa so as to have a predetermined molding depth, and cold-molded (drawn one-stage molding).
  • About the test sample after cold forming light was irradiated with penlight in the dark room, and it was checked whether the pinhole and the crack had arisen in aluminum alloy foil by transmission of light.

Landscapes

  • Chemical & Material Sciences (AREA)
  • Chemical Kinetics & Catalysis (AREA)
  • Electrochemistry (AREA)
  • General Chemical & Material Sciences (AREA)
  • Engineering & Computer Science (AREA)
  • Materials Engineering (AREA)
  • Inorganic Chemistry (AREA)
  • Mechanical Engineering (AREA)
  • Metallurgy (AREA)
  • Organic Chemistry (AREA)
  • Crystallography & Structural Chemistry (AREA)
  • Thermal Sciences (AREA)
  • Physics & Mathematics (AREA)
  • Manufacturing & Machinery (AREA)
  • Sealing Battery Cases Or Jackets (AREA)
  • Laminated Bodies (AREA)
  • Cell Electrode Carriers And Collectors (AREA)
  • Chemical Treatment Of Metals (AREA)
PCT/JP2017/047074 2016-12-28 2017-12-27 電池用包装材料用アルミニウム合金箔、電池用包装材料、及び電池 Ceased WO2018124224A1 (ja)

Priority Applications (7)

Application Number Priority Date Filing Date Title
CN201780081333.3A CN110114899B (zh) 2016-12-28 2017-12-27 电池用包装材料用铝合金箔、电池用包装材料和电池
US16/472,958 US11258123B2 (en) 2016-12-28 2017-12-27 Aluminium alloy foil with reduced cracking during molding, battery packaging material, and battery
CN202210581496.0A CN114843666B (zh) 2016-12-28 2017-12-27 电池用包装材料用铝合金箔、电池用包装材料和电池
JP2018559606A JP6973414B2 (ja) 2016-12-28 2017-12-27 電池用包装材料用アルミニウム合金箔、電池用包装材料、及び電池
JP2021180687A JP7184142B2 (ja) 2016-12-28 2021-11-04 電池用包装材料用アルミニウム合金箔、電池用包装材料、及び電池
US17/573,120 US11820104B2 (en) 2016-12-28 2022-01-11 Aluminium alloy foil with reduced cracking during molding, battery packaging material, and battery
US18/378,836 US20240051267A1 (en) 2016-12-28 2023-10-11 Aluminium alloy foil with reduced cracking during molding, battery packaging material, and battery

Applications Claiming Priority (2)

Application Number Priority Date Filing Date Title
JP2016-255180 2016-12-28
JP2016255180 2016-12-28

Related Child Applications (2)

Application Number Title Priority Date Filing Date
US16/472,958 A-371-Of-International US11258123B2 (en) 2016-12-28 2017-12-27 Aluminium alloy foil with reduced cracking during molding, battery packaging material, and battery
US17/573,120 Continuation US11820104B2 (en) 2016-12-28 2022-01-11 Aluminium alloy foil with reduced cracking during molding, battery packaging material, and battery

Publications (1)

Publication Number Publication Date
WO2018124224A1 true WO2018124224A1 (ja) 2018-07-05

Family

ID=62707513

Family Applications (1)

Application Number Title Priority Date Filing Date
PCT/JP2017/047074 Ceased WO2018124224A1 (ja) 2016-12-28 2017-12-27 電池用包装材料用アルミニウム合金箔、電池用包装材料、及び電池

Country Status (4)

Country Link
US (3) US11258123B2 (enExample)
JP (4) JP6973414B2 (enExample)
CN (2) CN114843666B (enExample)
WO (1) WO2018124224A1 (enExample)

Cited By (2)

* Cited by examiner, † Cited by third party
Publication number Priority date Publication date Assignee Title
WO2021064260A1 (es) * 2019-10-04 2021-04-08 Acr Ii Aluminium Group Cooperatief U.A. Procedimiento para proteger un metal durante un proceso de recocido y producto metálico obtenido
WO2025141819A1 (ja) * 2023-12-27 2025-07-03 TeraWatt Technology株式会社 リチウム2次電池

Families Citing this family (3)

* Cited by examiner, † Cited by third party
Publication number Priority date Publication date Assignee Title
US11258123B2 (en) * 2016-12-28 2022-02-22 Dai Nippon Printing Co., Ltd. Aluminium alloy foil with reduced cracking during molding, battery packaging material, and battery
CN112848577A (zh) * 2019-11-27 2021-05-28 无锡恩捷新材料科技有限公司 一种高冲深电池装置用外包装材料及电池
CN115000413B (zh) * 2022-06-07 2024-05-17 南京工程学院 一种动力电池集流体耐热涂碳铝箔及其制备方法

Citations (7)

* Cited by examiner, † Cited by third party
Publication number Priority date Publication date Assignee Title
JP2014065956A (ja) * 2012-09-27 2014-04-17 Kobe Steel Ltd リチウム電池外装用アルミニウム合金箔とその製造方法
JP2014078513A (ja) * 2011-11-07 2014-05-01 Toppan Printing Co Ltd 蓄電デバイス用外装材
JP2014130845A (ja) * 2010-10-14 2014-07-10 Toppan Printing Co Ltd リチウムイオン電池用外装材
JP2016157702A (ja) * 2016-05-26 2016-09-01 凸版印刷株式会社 蓄電デバイス用外装材
JP2016156059A (ja) * 2015-02-25 2016-09-01 三菱アルミニウム株式会社 伸び特性に優れたアルミニウム合金箔および該アルミニウム箔の製造方法
JP2016216752A (ja) * 2015-05-14 2016-12-22 三菱アルミニウム株式会社 アルミニウム箔およびその製造方法
JP2017008364A (ja) * 2015-06-22 2017-01-12 三菱アルミニウム株式会社 アルミニウム合金箔

Family Cites Families (20)

* Cited by examiner, † Cited by third party
Publication number Priority date Publication date Assignee Title
JP4015518B2 (ja) * 2002-05-07 2007-11-28 日本製箔株式会社 アルミニウム合金箔及びその製造方法並びにアルミニウム積層体
US7462425B2 (en) * 2003-09-26 2008-12-09 Kabushiki Kaisha Toshiba Nonaqueous electrolyte secondary battery and battery module
JP4257185B2 (ja) * 2003-11-05 2009-04-22 古河スカイ株式会社 成形加工用アルミニウム合金板およびその製造方法
CN101017887B (zh) * 2005-11-28 2010-06-16 Nec东金株式会社 电池层叠体及电池组件
WO2009157263A1 (ja) * 2008-06-23 2009-12-30 シャープ株式会社 リチウムイオン二次電池
JP2011052292A (ja) * 2009-09-03 2011-03-17 Shingijutsu Kenkyusho:Kk アルミニウム合金物品、アルミニウム合金部材およびその製造方法
JP5623167B2 (ja) * 2010-07-20 2014-11-12 東洋アルミニウム株式会社 アルミニウム合金箔およびその製造方法、アルミニウム合金箔成形容器、食品包装体
CN103140592B (zh) * 2010-09-16 2015-07-15 株式会社Uacj 成形包装体材料
JP6022956B2 (ja) * 2012-01-26 2016-11-09 昭和電工パッケージング株式会社 成形用包装材及びリチウム二次電池
KR102090529B1 (ko) * 2012-05-11 2020-03-18 가부시키가이샤 유에이씨제이 알루미늄 합금호일 및 그 제조 방법, 성형 포장체 재료, 이차전지, 의약품 포장 용기
EP2858138B1 (en) * 2012-06-04 2019-09-25 Dai Nippon Printing Co., Ltd. Packaging material for cell
EP2881478B1 (en) * 2012-08-01 2017-11-15 UACJ Corporation Aluminum alloy foil and method for producing same
JP5959405B2 (ja) * 2012-10-30 2016-08-02 株式会社Uacj アルミニウム合金箔
JP6058363B2 (ja) * 2012-11-21 2017-01-11 株式会社Uacj アルミニウム合金箔、成形包装体材料、電池、医薬品包装容器、及びアルミニウム合金箔の製造方法
KR20160058834A (ko) * 2013-09-20 2016-05-25 다이니폰 인사츠 가부시키가이샤 전지용 포장 재료
KR102281543B1 (ko) * 2013-12-02 2021-07-26 다이니폰 인사츠 가부시키가이샤 전지용 포장 재료
US9899639B2 (en) * 2013-12-11 2018-02-20 Dai Nippon Printing Co., Ltd. Packaging material for cell
JP6496490B2 (ja) 2014-04-16 2019-04-03 三菱アルミニウム株式会社 アルミニウム合金軟質箔およびその製造方法
US10556400B2 (en) * 2014-09-26 2020-02-11 Dai Nippon Printing Co., Ltd. Battery packaging material
US11258123B2 (en) * 2016-12-28 2022-02-22 Dai Nippon Printing Co., Ltd. Aluminium alloy foil with reduced cracking during molding, battery packaging material, and battery

Patent Citations (7)

* Cited by examiner, † Cited by third party
Publication number Priority date Publication date Assignee Title
JP2014130845A (ja) * 2010-10-14 2014-07-10 Toppan Printing Co Ltd リチウムイオン電池用外装材
JP2014078513A (ja) * 2011-11-07 2014-05-01 Toppan Printing Co Ltd 蓄電デバイス用外装材
JP2014065956A (ja) * 2012-09-27 2014-04-17 Kobe Steel Ltd リチウム電池外装用アルミニウム合金箔とその製造方法
JP2016156059A (ja) * 2015-02-25 2016-09-01 三菱アルミニウム株式会社 伸び特性に優れたアルミニウム合金箔および該アルミニウム箔の製造方法
JP2016216752A (ja) * 2015-05-14 2016-12-22 三菱アルミニウム株式会社 アルミニウム箔およびその製造方法
JP2017008364A (ja) * 2015-06-22 2017-01-12 三菱アルミニウム株式会社 アルミニウム合金箔
JP2016157702A (ja) * 2016-05-26 2016-09-01 凸版印刷株式会社 蓄電デバイス用外装材

Cited By (3)

* Cited by examiner, † Cited by third party
Publication number Priority date Publication date Assignee Title
WO2021064260A1 (es) * 2019-10-04 2021-04-08 Acr Ii Aluminium Group Cooperatief U.A. Procedimiento para proteger un metal durante un proceso de recocido y producto metálico obtenido
CN114585757A (zh) * 2019-10-04 2022-06-03 Acr 第二铝业集团合作公司 在退火过程中保护金属的方法和获得的金属产品
WO2025141819A1 (ja) * 2023-12-27 2025-07-03 TeraWatt Technology株式会社 リチウム2次電池

Also Published As

Publication number Publication date
JP6973414B2 (ja) 2021-11-24
CN110114899A (zh) 2019-08-09
JPWO2018124224A1 (ja) 2020-01-16
CN114843666B (zh) 2024-08-13
CN114843666A (zh) 2022-08-02
JP7184142B2 (ja) 2022-12-06
JP2023018087A (ja) 2023-02-07
US20190363312A1 (en) 2019-11-28
US11820104B2 (en) 2023-11-21
JP7658417B2 (ja) 2025-04-08
JP7414114B2 (ja) 2024-01-16
US20220140426A1 (en) 2022-05-05
JP2024038176A (ja) 2024-03-19
JP2022031681A (ja) 2022-02-22
US20240051267A1 (en) 2024-02-15
US11258123B2 (en) 2022-02-22
CN110114899B (zh) 2022-06-14

Similar Documents

Publication Publication Date Title
JP7343007B2 (ja) 電池用包装材料及び電池
JP7708137B2 (ja) 電池用包装材料、その製造方法、電池、及びポリエステルフィルム
JP7658417B2 (ja) 電池用包装材料用アルミニウム合金箔、電池用包装材料、及び電池
CN110998893B (zh) 电池用包装材料和电池
US20250273409A1 (en) Exterior material for electrical storage device, method for manufacturing same, and electrical storage device
JPWO2017179712A1 (ja) 電池用包装材料、その製造方法、電池用包装材料の成形時における不良判定方法、アルミニウム合金箔
US20200243810A1 (en) Battery packaging material, manufacturing method therefor, battery, and aluminum alloy foil
JP7673848B2 (ja) 蓄電デバイス用外装材、その製造方法、及び蓄電デバイス
WO2020235534A1 (ja) 蓄電デバイス用外装材、その製造方法、蓄電デバイス、及びポリアミドフィルム
JP7151484B2 (ja) 電池用包装材料、その製造方法及び電池
WO2021033708A1 (ja) 蓄電デバイス用外装材の成形工程における品質管理方法、蓄電デバイスの製造方法、蓄電デバイス用外装材、及び蓄電デバイス
JP6424933B2 (ja) 電池用包装材料用アルミニウム合金箔、電池用包装材料、及び電池
JP7234794B2 (ja) 蓄電デバイス用外装材、その製造方法、蓄電デバイス、及びポリアミドフィルム
JP7694416B2 (ja) 蓄電デバイス用外装材、その製造方法、及び蓄電デバイス
WO2023171807A1 (ja) 蓄電デバイス用外装材、その製造方法、外観の検査方法、及び蓄電デバイス
WO2021215538A1 (ja) 蓄電デバイス用外装材、その製造方法、及び蓄電デバイス

Legal Events

Date Code Title Description
121 Ep: the epo has been informed by wipo that ep was designated in this application

Ref document number: 17885460

Country of ref document: EP

Kind code of ref document: A1

ENP Entry into the national phase

Ref document number: 2018559606

Country of ref document: JP

Kind code of ref document: A

NENP Non-entry into the national phase

Ref country code: DE

122 Ep: pct application non-entry in european phase

Ref document number: 17885460

Country of ref document: EP

Kind code of ref document: A1