WO2018088146A1 - 施術支援システム、施術支援方法及び施術支援プログラム - Google Patents

施術支援システム、施術支援方法及び施術支援プログラム Download PDF

Info

Publication number
WO2018088146A1
WO2018088146A1 PCT/JP2017/037635 JP2017037635W WO2018088146A1 WO 2018088146 A1 WO2018088146 A1 WO 2018088146A1 JP 2017037635 W JP2017037635 W JP 2017037635W WO 2018088146 A1 WO2018088146 A1 WO 2018088146A1
Authority
WO
WIPO (PCT)
Prior art keywords
marker
operation unit
implant
dimensional model
image
Prior art date
Legal status (The legal status is an assumption and is not a legal conclusion. Google has not performed a legal analysis and makes no representation as to the accuracy of the status listed.)
Ceased
Application number
PCT/JP2017/037635
Other languages
English (en)
French (fr)
Japanese (ja)
Inventor
ビョンヒョン チョ
理一 大内田
誠 橋爪
晋 小栗
Current Assignee (The listed assignees may be inaccurate. Google has not performed a legal analysis and makes no representation or warranty as to the accuracy of the list.)
Kyushu University NUC
Original Assignee
Kyushu University NUC
Priority date (The priority date is an assumption and is not a legal conclusion. Google has not performed a legal analysis and makes no representation as to the accuracy of the date listed.)
Filing date
Publication date
Application filed by Kyushu University NUC filed Critical Kyushu University NUC
Priority to JP2018550096A priority Critical patent/JP7018399B2/ja
Publication of WO2018088146A1 publication Critical patent/WO2018088146A1/ja
Anticipated expiration legal-status Critical
Priority to JP2022012739A priority patent/JP7255927B2/ja
Ceased legal-status Critical Current

Links

Images

Classifications

    • AHUMAN NECESSITIES
    • A61MEDICAL OR VETERINARY SCIENCE; HYGIENE
    • A61CDENTISTRY; APPARATUS OR METHODS FOR ORAL OR DENTAL HYGIENE
    • A61C19/00Dental auxiliary appliances
    • A61C19/04Measuring instruments specially adapted for dentistry
    • AHUMAN NECESSITIES
    • A61MEDICAL OR VETERINARY SCIENCE; HYGIENE
    • A61CDENTISTRY; APPARATUS OR METHODS FOR ORAL OR DENTAL HYGIENE
    • A61C8/00Means to be fixed to the jaw-bone for consolidating natural teeth or for fixing dental prostheses thereon; Dental implants; Implanting tools

Definitions

  • a three-dimensional model of a drill or an implant attached to the distal end portion of the operation unit in a direction perpendicular to the longitudinal direction of the operation unit and used in the operation is generated.
  • the three-dimensional model of the CT image and the three-dimensional model of the virtual implant are displayed, the three-dimensional model of the drill or the implant is superimposed and displayed according to the movement of the operation unit and the subject. Therefore, it is possible to perform intuitive and real-time operation using visual information.
  • the treatment support system includes a support portion having a predetermined length from a position where the reference marker is fixed at a position of any one tooth of the patient, and the support marker is connected to the support portion. It has a marker part arrange
  • the second position marker 16 that is an infrared marker for identification
  • the second imaging unit 17 that images the second marker 16 with infrared rays
  • the first imaging unit 14 and the second imaging unit 17.
  • the treatment components such as at least the tip portion and the drill of the operating section 15, and a practitioner support apparatus 19 to be displayed on the display 18 in a three-dimensional model.
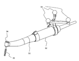
  • FIG. 2 and 3 are first and second diagrams showing the structures of the reference marker 11 and the first position marker 13.
  • FIG. 2 shows a structure in which the reference marker 11 and the first position marker 13 are connected and integrated with the fixing portion 21 fixed to the teeth of the user.
  • FIG. 3 when actually used, at the time of CT imaging, the first position marker 13 is used in the excluded state (FIG. 3A), and at the time of design and operation, It is used in a state where the reference marker 11 is excluded (FIG. 3B).
  • the marker portion 23 When the imaging of the CT image is completed, the marker portion 23 is unnecessary and is removed.
  • the marker portion 23 may be detachably disposed on the support portion 22 or may be bent and removed after the CT scan. And if the marker part 23 is excluded, the 1st position marker 13 will be mounted
  • the first position marker 13 includes a first support part 25 connected to the connection part 24, a first hinge part 26 having a yaw axis as a rotation axis with respect to the first support part 25, and the first hinge part 26.
  • three or more markers are arranged on the same plane on a non-linear line in order to specify a position on a three-dimensional coordinate.
  • the movable parts in the first position marker 13 are only the first hinge part 26 and the second hinge part 28, and the positions are fixed so that other parts cannot be moved.
  • the first hinge portion 26 and the second hinge portion 28 each display a memory indicating a rotation angle, and the positional relationship with the reference marker 11 is specified in advance and converted into data according to each memory. That is, by specifying the coordinates of the infrared marker 30, it is possible to easily convert to the coordinates on the CT image.
  • FIG. 7 is a diagram showing a specific design method. As shown in FIG. 7A, the direction and angle of the handpiece 31 are adjusted in a state where the fixing portion 42 at the tip of the design component 40 is in contact with the teeth of the plaster model. The alignment processing described above is executed by the treatment support device 19 (the details of the treatment support device 19 will be described later), and a three-dimensional model as shown in FIG. Is displayed.
  • FIG. 9 is a hardware configuration diagram of the treatment support apparatus.
  • the treatment support device 19 can be realized by a general computer.
  • the treatment support apparatus 19 includes a CPU 61, a RAM 62, a ROM 63, a hard disk (HD) 64, a communication I / F 65, and an input / output I / F 66.
  • the ROM 63 and the HD 64 store an operating system, a program, three-dimensional model data, and the like.
  • the program is read into the RAM 62 and executed by the CPU 61 as necessary.
  • the communication I / F 65 is an interface for performing communication between apparatuses.
  • the input / output I / F 66 is an interface for receiving input from an input device such as a touch panel, a keyboard, a mouse, and a camera, and outputting data to a printer, a display, or the like.
  • the input / output I / F 66 can connect an external device or the like as necessary.
  • Each processing unit is connected via a bus and exchanges information.
  • the hardware configuration is merely an example, and can be changed as necessary.
  • a three-dimensional model storage unit 73 for storing a three-dimensional modeled object displayed on the display 18, such as a CT image, a drill 35, a handpiece 31, and an artificial tooth root, and the first imaging unit 14
  • the position information acquisition unit 74 for acquiring the position information of the first marker 13 and the position information of the second marker 16 imaged by the second imaging unit 17, the position information of the first marker 13, and the second information Based on the position information of the marker 16, the display unit 18 displays the CT image, the drill 35, the handpiece 31, the artificial tooth root, and the like based on the positioning unit 75 and the operation of the user.
  • the CT image, the design component 40, the handpiece 31, and the three-dimensional model of the virtual artificial tooth root are aligned and displayed by the alignment unit 75 at the time of design.
  • the capture unit 76 performs a capture process based on the operation of the user while adjusting the direction and angle and displaying the virtual artificial tooth root at the desired position and angle.
  • the captured image is stored in the design information storage unit 77 as design information. When the design information is stored for all the implants, the design process is terminated.
  • treatment support system according to the present embodiment can be applied in the same manner in treatment for actually implanting an artificial tooth root after cutting with the drill 35 is completed.
  • the 3D modeling of the CT image is not necessarily performed by the treatment support apparatus 19, and the treatment support apparatus 19 may acquire information that is three-dimensionally modeled on the CT apparatus 12 side.
  • the reference marker 11 is removed and the first position marker 13 is attached.
  • the first imaging unit 14 images the first position marker 13 to acquire the position information
  • the second imaging unit 17 images the second position marker 16 attached to the operation unit 15.
  • the position information is acquired (S4).
  • the alignment unit 75 aligns the tooth position in the CT image with the drill 35 and the artificial tooth root in the operation unit 15 (S5), and the display control unit 78 is aligned.
  • the three-dimensional model is displayed on the display 18 (S6). Note that the processing so far is a common display processing at the time of design and treatment.
  • processing at the time of design and processing at the time of treatment will be described.
  • Design work is started with the aligned three-dimensional model displayed on the display 18.
  • the appropriate position for embedding the artificial tooth root is searched for the gypsum model or the user by operating the handpiece 31.
  • the display control unit 78 displays a three-dimensional model of the artificial tooth root so as to match the operation of the handpiece 31 (S7).
  • the capture unit 76 acquires a captured image of the artificial tooth root by an operation from the user (S8).
  • the acquired captured image is stored in the design information storage unit 77 as design information (S9).
  • design information is captured for all treatment locations, the design process is terminated.
  • the display mode is switched so that the three-dimensional model or the three-dimensional model of the artificial tooth root is displayed at the actual position of the drill 35 (the position of the tip of the handpiece 31) (S14).
  • the treatment proceeds so that the artificial tooth root of the design information matches the drill 35 or the three-dimensional model of the artificial tooth root displayed on the tip of the handpiece 31 (S15). This completes the cutting or artificial tooth root embedding.
  • design information can be created while intuitively grasping an appropriate position for implanting in real time in the design stage of dental implant treatment.
  • the virtual drill or implant 3D model is deleted, and the actual drill or implant 3D model is aligned and displayed for switching.
  • the patient can perform the implant operation accurately only by performing an operation of matching the drill or the three-dimensional model of the implant with the displayed design information.

Landscapes

  • Health & Medical Sciences (AREA)
  • Life Sciences & Earth Sciences (AREA)
  • Animal Behavior & Ethology (AREA)
  • Dentistry (AREA)
  • Epidemiology (AREA)
  • Oral & Maxillofacial Surgery (AREA)
  • General Health & Medical Sciences (AREA)
  • Public Health (AREA)
  • Veterinary Medicine (AREA)
  • Orthopedic Medicine & Surgery (AREA)
  • Engineering & Computer Science (AREA)
  • Biomedical Technology (AREA)
  • Biophysics (AREA)
  • Dental Prosthetics (AREA)
  • Dental Tools And Instruments Or Auxiliary Dental Instruments (AREA)
PCT/JP2017/037635 2016-11-08 2017-10-18 施術支援システム、施術支援方法及び施術支援プログラム Ceased WO2018088146A1 (ja)

Priority Applications (2)

Application Number Priority Date Filing Date Title
JP2018550096A JP7018399B2 (ja) 2016-11-08 2017-10-18 施術支援システム、施術支援方法及び施術支援プログラム
JP2022012739A JP7255927B2 (ja) 2016-11-08 2022-01-31 施術支援システム、施術支援方法及び施術支援プログラム

Applications Claiming Priority (2)

Application Number Priority Date Filing Date Title
JP2016218000 2016-11-08
JP2016-218000 2016-11-08

Publications (1)

Publication Number Publication Date
WO2018088146A1 true WO2018088146A1 (ja) 2018-05-17

Family

ID=62109874

Family Applications (1)

Application Number Title Priority Date Filing Date
PCT/JP2017/037635 Ceased WO2018088146A1 (ja) 2016-11-08 2017-10-18 施術支援システム、施術支援方法及び施術支援プログラム

Country Status (2)

Country Link
JP (2) JP7018399B2 (enExample)
WO (1) WO2018088146A1 (enExample)

Cited By (7)

* Cited by examiner, † Cited by third party
Publication number Priority date Publication date Assignee Title
WO2020152982A1 (ja) * 2019-01-25 2020-07-30 株式会社Grin 歯科用測定器具、測定方法、及びアタッチメント器具
JPWO2020153410A1 (enExample) * 2019-01-22 2020-07-30
WO2020195731A1 (ja) * 2019-03-27 2020-10-01 オムロン株式会社 報知システム、報知装置
JP2020201354A (ja) * 2019-06-07 2020-12-17 株式会社モリタ マーカー取付け器具
WO2021045062A1 (ja) 2019-09-02 2021-03-11 Safe Approach Medical株式会社 施術支援システム及び位置合わせ装置
CN114431988A (zh) * 2022-03-02 2022-05-06 福建医科大学附属口腔医院 用于口腔种植牙领域的动态导航系统及使用方法
CN116035739A (zh) * 2022-12-27 2023-05-02 杭州键嘉医疗科技股份有限公司 一种口腔种植追踪阵列装置及使用方法

Citations (3)

* Cited by examiner, † Cited by third party
Publication number Priority date Publication date Assignee Title
JP2013236749A (ja) * 2012-05-15 2013-11-28 Denso Corp 歯科インプラント手術支援装置
US20140178832A1 (en) * 2012-12-21 2014-06-26 Anatomage Inc. System and method for providing compact navigation-based surgical guide in dental implant surgery
JP2015519108A (ja) * 2012-05-02 2015-07-09 医百科技股▲ふん▼有限公司 口腔内手術中の補助ガイド方法

Family Cites Families (4)

* Cited by examiner, † Cited by third party
Publication number Priority date Publication date Assignee Title
CA2460119A1 (en) 2004-03-04 2005-09-04 Orthosoft Inc. Graphical user interface for computer-assisted surgery
JP5476036B2 (ja) * 2009-04-30 2014-04-23 国立大学法人大阪大学 網膜投影型ヘッドマウントディスプレイ装置を用いた手術ナビゲーションシステムおよびシミュレーションイメージの重ね合わせ方法
US20140309523A1 (en) * 2013-04-16 2014-10-16 Navigate Surgical Technologies, Inc. Three-dimensional extraction tracking for implant modeling
EP3229723B1 (en) * 2014-12-09 2020-12-09 Biomet 3I, LLC Robotic device for dental surgery

Patent Citations (3)

* Cited by examiner, † Cited by third party
Publication number Priority date Publication date Assignee Title
JP2015519108A (ja) * 2012-05-02 2015-07-09 医百科技股▲ふん▼有限公司 口腔内手術中の補助ガイド方法
JP2013236749A (ja) * 2012-05-15 2013-11-28 Denso Corp 歯科インプラント手術支援装置
US20140178832A1 (en) * 2012-12-21 2014-06-26 Anatomage Inc. System and method for providing compact navigation-based surgical guide in dental implant surgery

Cited By (18)

* Cited by examiner, † Cited by third party
Publication number Priority date Publication date Assignee Title
EP3925568A4 (en) * 2019-01-22 2022-08-10 Safe Approach Medical Inc. SURGICAL RESPONSE ASSIST SYSTEM, TREATMENT DEVICE AND PLATE
WO2020153410A1 (ja) 2019-01-22 2020-07-30 Safe Approach Medical株式会社 施術支援システム、処理装置、及びプレート
JP7414286B2 (ja) 2019-01-22 2024-01-16 Safe Approach Medical株式会社 施術支援システム及び処理装置
KR102790166B1 (ko) 2019-01-22 2025-04-07 주식회사 에이포랩 시술지원시스템, 처리장치 및 플레이트
KR20210121093A (ko) * 2019-01-22 2021-10-07 세이프 어프로치 메디칼 인크. 시술지원시스템, 처리장치 및 플레이트
JPWO2020153410A1 (enExample) * 2019-01-22 2020-07-30
US20220008159A1 (en) * 2019-01-22 2022-01-13 Safe Approach Medical Inc. Surgical procedure assistance system, treatment device, and plate
WO2020152982A1 (ja) * 2019-01-25 2020-07-30 株式会社Grin 歯科用測定器具、測定方法、及びアタッチメント器具
WO2020195731A1 (ja) * 2019-03-27 2020-10-01 オムロン株式会社 報知システム、報知装置
US11967183B2 (en) 2019-03-27 2024-04-23 Omron Corporation Notification system and notification device
JP2020201354A (ja) * 2019-06-07 2020-12-17 株式会社モリタ マーカー取付け器具
JP7339024B2 (ja) 2019-06-07 2023-09-05 株式会社モリタ マーカー取付け器具
US20220183771A1 (en) * 2019-09-02 2022-06-16 Safe Approach Medical Inc. Surgical procedure support system and registration apparatus
KR20220052951A (ko) 2019-09-02 2022-04-28 세이프 어프로치 메디칼 인크. 시술지원시스템 및 위치정합장치
JPWO2021045062A1 (enExample) * 2019-09-02 2021-03-11
WO2021045062A1 (ja) 2019-09-02 2021-03-11 Safe Approach Medical株式会社 施術支援システム及び位置合わせ装置
CN114431988A (zh) * 2022-03-02 2022-05-06 福建医科大学附属口腔医院 用于口腔种植牙领域的动态导航系统及使用方法
CN116035739A (zh) * 2022-12-27 2023-05-02 杭州键嘉医疗科技股份有限公司 一种口腔种植追踪阵列装置及使用方法

Also Published As

Publication number Publication date
JP7255927B2 (ja) 2023-04-11
JPWO2018088146A1 (ja) 2019-09-26
JP7018399B2 (ja) 2022-02-10
JP2022050713A (ja) 2022-03-30

Similar Documents

Publication Publication Date Title
JP7255927B2 (ja) 施術支援システム、施術支援方法及び施術支援プログラム
KR102233745B1 (ko) 치과 진료 실습 장치 및 치과 진료 실습 시스템
JP5523487B2 (ja) インプラントのための穿孔補助手段を製造するための方法
EP2785272B1 (en) Dental preparation guide
US9936166B2 (en) Method for planning a dental treatment
US8849015B2 (en) System and apparatus for haptically enabled three-dimensional scanning
KR20210029196A (ko) 증강 현실 유도 수술을 위한 방법 및 시스템
KR20170125360A (ko) 가상의 환경에서 대응하는 가상의 대상을 조작하도록 물리적 대상을 이용하기 위한 방법 및 관련 장치와 컴퓨터 프로그램 제품
JP5322621B2 (ja) ステント作製用口腔模型の製造装置およびステント作製用口腔模型の製造システム
EP3932362A1 (en) Robotic device for dental surgery
US20100291505A1 (en) Haptically Enabled Coterminous Production of Prosthetics and Patient Preparations in Medical and Dental Applications
KR101170056B1 (ko) 의료용 영상장비를 이용한 치아 보철기구 제조 방법
CN107529968A (zh) 用于观察口腔内部的装置
JP6801117B2 (ja) モバイル連動インプラント診断システム
JP2020506033A (ja) インプラント手術ガイド方法
CN104224329B (zh) 牙科手机辅助系统及其操作方法
JP6847404B2 (ja) 三次元計測方法及び三次元計測装置
JP2022050713A5 (enExample)
EP2644156A1 (en) Method and device for comparison of a pre- and post-operative position of a dental implant
JP5046238B2 (ja) X線ct撮影画像の表示方法、x線ct画像表示装置、x線ct撮影装置
CN110742704B (zh) 根管精准定位的嵌入式导板及其制备方法、制备系统、应用、根管精准定位方法
WO2016003256A1 (ko) 치아 교정 시술을 위한 모의시술 방법
JP6573859B2 (ja) 顎骨切削用補助具および顎骨切削用補助具の設計支援装置
JP2024054010A (ja) 施術支援装置、施術支援方法及びプログラム
JP4172772B2 (ja) 根管模型製造装置

Legal Events

Date Code Title Description
121 Ep: the epo has been informed by wipo that ep was designated in this application

Ref document number: 17869705

Country of ref document: EP

Kind code of ref document: A1

ENP Entry into the national phase

Ref document number: 2018550096

Country of ref document: JP

Kind code of ref document: A

NENP Non-entry into the national phase

Ref country code: DE

122 Ep: pct application non-entry in european phase

Ref document number: 17869705

Country of ref document: EP

Kind code of ref document: A1