WO2018055178A1 - Verfahren und werkzeugmaschine zum bearbeiten von plattenförmigen werkstücken, insbesondere von blechen - Google Patents

Verfahren und werkzeugmaschine zum bearbeiten von plattenförmigen werkstücken, insbesondere von blechen Download PDF

Info

Publication number
WO2018055178A1
WO2018055178A1 PCT/EP2017/074283 EP2017074283W WO2018055178A1 WO 2018055178 A1 WO2018055178 A1 WO 2018055178A1 EP 2017074283 W EP2017074283 W EP 2017074283W WO 2018055178 A1 WO2018055178 A1 WO 2018055178A1
Authority
WO
WIPO (PCT)
Prior art keywords
workpiece
tool
axis
workpiece part
upper tool
Prior art date
Legal status (The legal status is an assumption and is not a legal conclusion. Google has not performed a legal analysis and makes no representation as to the accuracy of the status listed.)
Ceased
Application number
PCT/EP2017/074283
Other languages
German (de)
English (en)
French (fr)
Inventor
Dennis Tränklein
Jochen BELLON
Markus Wilhelm
Rainer Hank
Marc Klinkhammer
Leonard Schindewolf
Simon OCKENFUSS
Jens Kappes
Alexander Tatarczyk
Jörg Neupert
Dominik BITTO
Markus MAATZ
Christian JAKISCH
Current Assignee (The listed assignees may be inaccurate. Google has not performed a legal analysis and makes no representation or warranty as to the accuracy of the list.)
Trumpf Werkzeugmaschinen SE and Co KG
Original Assignee
Trumpf Werkzeugmaschinen SE and Co KG
Priority date (The priority date is an assumption and is not a legal conclusion. Google has not performed a legal analysis and makes no representation as to the accuracy of the date listed.)
Filing date
Publication date
Priority claimed from DE102016118175.7A external-priority patent/DE102016118175B4/de
Priority claimed from DE102016120151.0A external-priority patent/DE102016120151A1/de
Application filed by Trumpf Werkzeugmaschinen SE and Co KG filed Critical Trumpf Werkzeugmaschinen SE and Co KG
Priority to JP2019515872A priority Critical patent/JP6772371B2/ja
Priority to CN201780059103.7A priority patent/CN109789475B/zh
Priority to EP17777857.8A priority patent/EP3515628B1/de
Publication of WO2018055178A1 publication Critical patent/WO2018055178A1/de
Anticipated expiration legal-status Critical
Ceased legal-status Critical Current

Links

Images

Classifications

    • BPERFORMING OPERATIONS; TRANSPORTING
    • B21MECHANICAL METAL-WORKING WITHOUT ESSENTIALLY REMOVING MATERIAL; PUNCHING METAL
    • B21DWORKING OR PROCESSING OF SHEET METAL OR METAL TUBES, RODS OR PROFILES WITHOUT ESSENTIALLY REMOVING MATERIAL; PUNCHING METAL
    • B21D45/00Ejecting or stripping-off devices arranged in machines or tools dealt with in this subclass
    • B21D45/003Ejecting or stripping-off devices arranged in machines or tools dealt with in this subclass in punching machines or punching tools
    • BPERFORMING OPERATIONS; TRANSPORTING
    • B21MECHANICAL METAL-WORKING WITHOUT ESSENTIALLY REMOVING MATERIAL; PUNCHING METAL
    • B21DWORKING OR PROCESSING OF SHEET METAL OR METAL TUBES, RODS OR PROFILES WITHOUT ESSENTIALLY REMOVING MATERIAL; PUNCHING METAL
    • B21D28/00Shaping by press-cutting; Perforating
    • B21D28/02Punching blanks or articles with or without obtaining scrap; Notching
    • B21D28/06Making more than one part out of the same blank; Scrapless working
    • BPERFORMING OPERATIONS; TRANSPORTING
    • B21MECHANICAL METAL-WORKING WITHOUT ESSENTIALLY REMOVING MATERIAL; PUNCHING METAL
    • B21DWORKING OR PROCESSING OF SHEET METAL OR METAL TUBES, RODS OR PROFILES WITHOUT ESSENTIALLY REMOVING MATERIAL; PUNCHING METAL
    • B21D43/00Feeding, positioning or storing devices combined with, or arranged in, or specially adapted for use in connection with, apparatus for working or processing sheet metal, metal tubes or metal profiles; Associations therewith of cutting devices
    • B21D43/28Associations of cutting devices therewith
    • B21D43/287Devices for handling sheet or strip material

Definitions

  • the invention relates to a method and a machine tool for processing plate-shaped workpieces, in particular sheets.
  • Such a machine tool is known from EP 2 527 058 B1.
  • This document discloses a machine tool in the form of a press for machining workpieces, wherein an upper tool is provided on a lifting device which is movable relative to a workpiece to be machined along a lifting axis in the direction of the workpiece and in the opposite direction.
  • a lower tool is provided, which is positioned to a bottom.
  • a lifting drive device for a lifting movement of the upper tool is driven by a wedge gear.
  • the lifting drive device with the upper tool arranged thereon can be moved along a positioning axis.
  • the lower tool is moved synchronously to the upper tool.
  • EP 2 722 194 A1 discloses a machine tool in which a top tool is provided on a lifting device in the form of a press for machining workpieces and can be moved along the lifting axis in the direction of the workpiece and a lower tool and in the opposite direction.
  • a table segment provided in the workpiece support for the workpiece to be machined can be lowered downwardly to swivel out the workpiece part separated from the workpiece.
  • the workpiece part falls downwards by a tilting movement and slides along the table segment in the discharge direction. Subsequently, the tool can be picked up by a collecting container or the like.
  • a processing machine for processing plate-shaped workpieces is known. This has in a working area on a transfer device by means of which the workpiece part can be removed after separation from the workpiece from the workpiece support. Subsequently, a subsequent processing is carried out with a follow-up machining tool in the part of the workpiece removed from the workpiece support. Subsequently, after the subsequent processing, the workpiece part is returned to the workpiece support located in the working area of the machine arrangement before the workpiece workpiece mounted on the workpiece support and the follow-up processing product mounted on the workpiece support are removed from the working area of the processing machine by means of a removal device together with the workpiece support ,
  • the invention has for its object to propose a method and a machine tool for machining workpieces, by which an increased process reliability when removing at least one workpiece part separated from the workpiece is made possible.
  • This object is achieved by a method for processing plate-shaped workpieces, in particular sheets, in which an upper tool which along a lifting axis with a lifting drive device in the direction of a workpiece to be machined with the upper tool and in the opposite direction, with at least one motor Drive assembly is positioned along a running perpendicular to the Hubachse upper positioning axis and in which a lower tool, which is aligned with the upper tool is positioned with at least one motor drive assembly along a lower positioning axis which is perpendicular to the stroke axis of the upper tool.
  • the workpiece is located on a workpiece support for machining.
  • the upper and lower tool is moved in the frame interior of a machine frame, with a control, the motor drive assemblies are controlled to move the upper and lower tool.
  • at least one workpiece part is separated from the workpiece.
  • the upper tool is moved outside a space volume which extends above the separated workpiece part and at least through a predetermined part of the base of the workpiece part in the workpiece plane and perpendicular to the workpiece part in the direction to the upper positioning axis or by a predetermined part of the base area and an area outside the base area of the workpiece part in the workpiece plane and a perpendicular to the workpiece part in the direction of the upper positioning axis.
  • the separated workpiece is removed.
  • This method for removal of the at least one workpiece part separated from the workpiece has the advantage that increased process reliability is given.
  • a movement of the workpiece part is not required.
  • the workpiece part can remain in its position on the workpiece support after separation or free cutting until it is removed.
  • an increased removal height is created within the machine frame of the machine tool above the workpiece part to be removed. As a result, larger workpiece parts can be removed reliably. The risk of collision when removing the workpiece to the upper tool is thereby prevented.
  • the at least one workpiece part is removed with a gripping device which is moved above the workpiece and is positioned in the volume of the space before gripping.
  • a collision-free lifting movement of the gripping device can be given to the extent that the at least one workpiece part can be raised against a possibly remaining on the workpiece support workpiece or skeleton, and then lead out, for example, in a plane above the workpiece, the workpiece part from the volume of space and to be transferred to an unloading position.
  • An alternative embodiment of the method provides that prior to lowering a table segment provided in the workpiece support for discharging the at least one workpiece part separated from the workpiece, the upper tool is moved outside the volume of the space.
  • This has the advantage that an acting when lowering the table segment in the workpiece support tilting movement of the resting thereon andparticularlyschleusenden workpiece part is possible and the workpiece part can be discharged without collision.
  • a workpiece edge opposite in the discharge direction can perform a tilting movement.
  • the workpiece part can perform a free tilting movement with the lowering of the table segment and is not hindered by the upper tool located above or the wiper of the upper tool. This also makes it possible that damage to a top of the workpiece part during ejection fail.
  • the upper tool is moved along the upper positioning axis outside the volume of the workpiece part before the lowering movement of the table segment is controlled.
  • the lower tool after a final separation cut or free cutting a residual connection of the workpiece part to the workpiece and during lowering of the table segment for discharging the workpiece part in the last working position is positioned dormant.
  • This also increases the process reliability.
  • the workpiece part, which is loose to the workpiece remains in its position on the workpiece support until the lowering of the table segment. Thus, snagging or shifting of the workpiece part above or below the workpiece can be prevented.
  • the table segment is pivoted about an axis of rotation and lowered, which is aligned parallel to the upper positioning of the upper tool.
  • the table segment can be connected directly to the workpiece support surface, so that after lowering the table segment, which is also referred to as a pivotable parts flap, a safe discharge is enabled.
  • the volume of space can be formed by a tilting region opposite to the Ausschleuscardi workpiece edge of the workpiece part in the discharge of the workpiece part.
  • a length of the Schwarzeusenden workpiece part is released, whose length includes the length of the lowerable table segment, and a distance between the workpiece support surface and an above arranged disturbing edge of the machine frame is determined.
  • This machine tool comprises an upper tool which is movable along a lifting axis with a lifting drive device in the direction of a workpiece to be machined with the upper tool and in the opposite direction and which is positionable with at least one motor drive arrangement along an upper positioning axis perpendicular to the lifting axis and has a lower tool, which is aligned with the upper tool and can be positioned with at least one motor drive arrangement along a lower positioning axis, which is aligned perpendicular to the stroke axis of the upper tool.
  • This machine tool has a machine frame, in the frame interior of the upper and lower tool is movable.
  • the workpiece machine has a control, by which the motor drive arrangements for the process of the upper and lower tool can be controlled.
  • the control By means of the control, the travel movement of the upper tool along the upper positioning axis and the movement of the lower tool along the lower positioning axis can each be controlled independently of one another.
  • the upper tool can be positioned outside a volume of space, wherein the volume of space at least by a predetermined part of the base of the separated workpiece part in the workpiece plane and a perpendicular to the workpiece part in the direction of the upper positioning or by a predetermined Part of the base surface and an area outside the base of the workpiece part in the workpiece plane and a perpendicular to the workpiece part in the direction of the upper positioning results.
  • the advantage is achieved that a sufficient clearance can be created to allow a collision-free removal of the workpiece part from the workpiece or from the workpiece support.
  • the machine tool has a gripping device with at least one holding element and that at least one holding element in the space volume for gripping and for removing the at least one workpiece part is movable.
  • a gripping device may be part of a handling device, whereby an automation is also made possible during the removal and any subsequent processing of the workpiece parts.
  • the gripping device according to a first alternative to a machine frame, preferably an upper horizontal frame leg, is arranged and in particular the holding elements with at least one linear axis of a linear drive can be moved.
  • a compact arrangement of the machine tool on the one hand and integration into an automated work process on the other hand can be made possible.
  • the gripping device may be provided on a handling device, which is designed as a separate module and is associated with a workpiece support. This can also be done automated handling of the workpiece parts.
  • a table segment is provided in the workpiece support, which can be lowered relative to a workpiece support for the removal of a workpiece part.
  • a movement of the upper tool relative to the lower tool is controlled, so that the upper tool is positioned outside the volume of the Schwarzschleusenden workpiece part.
  • the movement space of the trailing edge of the workpiece forms the tilting area or the volume of the room.
  • the upper tool does not hinder such a tilting movement, since this is positioned outside the collision area or the tilting area. As a result, a collision-free rejection can be made possible.
  • a preferred embodiment of the machine tool provides that the table segment is pivotally mounted along a rotation axis. This axis of rotation is aligned parallel to the upper positioning axis. As a result, by controlling a movement of the upper tool along the upper positioning axis, it is possible for the upper tool to be movable outside the tilting area.
  • FIG. 1 shows a perspective view of the machine tool according to the invention
  • FIG. 2 shows a schematic representation of the basic structure of a lifting drive device and of a motor drive according to FIG. 1,
  • FIG. 3 shows a schematic diagram of a superimposed lifting movement in the Y and Z directions of the tappet according to FIG. 1,
  • FIG. 4 shows a schematic diagram of a further superimposed lifting movement in the Y and Z directions of the tappet according to FIG. 1,
  • FIG. 5 shows a schematic view from above of the machine tool according to FIG. 1 with workpiece support surfaces
  • FIG. 6 shows a schematic side view of an upper and lower drive arrangement of the machine tool according to FIG. 1,
  • FIG. 7 shows a further schematic side view of the upper and lower drive arrangement according to FIG. 6,
  • FIG. 8 shows a perspective view of a tool for introducing a cutting gap into a workpiece for producing a workpiece part
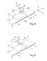
  • FIG. 9 shows a perspective view of a first method step for discharging a workpiece part
  • FIG. 10 shows a perspective view of a subsequent method step for discharging a workpiece part
  • FIG. 11 shows a schematic end view of FIG. 10,
  • FIG. 12 shows a perspective view of the workpiece part removed from a workpiece plane
  • FIG. 13 shows a perspective view of the machine tool with a workpiece support and a gripping device arranged on the machine frame, and
  • Figure 14 is a detailed perspective view of holding elements of the gripping device in Figure 13 in a removal position with an adjacently arranged upper tool.
  • FIG. 1 shows a machine tool 1, which is designed as a stamping press.
  • This machine tool 1 comprises a support structure with a closed machine frame 2. This comprises two horizontal frame legs 3, 4 and two vertical frame legs 5 and 6.
  • the machine frame 2 encloses a frame interior 7, the working area of the machine tool 1 with an upper tool 11 and a lower tool. 9 forms.
  • the machine tool 1 is used for processing plate-shaped workpieces 10, which are not shown for simplicity in Figure 1 and can be arranged for processing purposes in the frame interior 7.
  • a workpiece 10 to be machined is placed on a workpiece support 8 provided in the frame interior 7.
  • the lower tool 9 is mounted, for example in the form of a punching die on the lower horizontal frame leg 4 of the machine frame 2.
  • This punching die can be provided with a die opening.
  • the upper tool 11 and lower tool 9 can be used instead of a punch and a punching die as a punch and a bending die for forming workpieces 10.
  • the upper tool 11 is fixed in a tool holder at a lower end of a plunger 12.
  • the plunger 12 is part of a lifting drive device 13, by means of which the upper tool 11 can be moved in a stroke direction along a lifting axis 14.
  • the lifting axis 14 extends in the direction of the Z-axis of the coordinate system of a indicated in Figure 1 numerical control 15 of the machine tool 1.
  • Perpendicular to the lifting axis 14, the lifting drive device 13 along a positioning axis 16 are moved in the direction of the double arrow.
  • the positioning axis 16 extends in the direction of the Y-axis of the coordinate system of the numerical control 15.
  • the lifting tool 13 receiving the upper tool 11 is moved by means of a motor drive 17 along the positioning axis 16.
  • the movement of the plunger 12 along the lifting axis 14 and the positioning of the lifting drive device 13 along the positioning axis 16 by means of a motor drive 17 in the form of a drive assembly 17, in particular spindle drive assembly, with a running in the direction of the positioning axis 16 and fixedly connected to the machine frame 2 drive spindle 18.
  • the lifting drive device 13 is guided during movements along the positioning axis 16 on three guide rails 19 of the upper frame leg 3, of which two guide rails 19 can be seen in FIG.
  • the one remaining guide rail 19 is parallel to the visible guide rail 19 and is spaced therefrom in the direction X-axis of the coordinate system of the numerical control 15.
  • On the guide rails 19 run guide shoes 20 of the Hubantriebsvorraum 13.
  • the mutual engagement of the guide rail 19 and the guide shoes 20 is such that this connection between the guide rails 19 and the guide shoes 20 can also absorb a load acting in the vertical direction. Accordingly, the lifting device 13 is suspended via the guide shoes 20 and the guide rails 19 on the machine frame 2. Another component of the lifting drive device 13 is a wedge gear 21, by which a position of the upper tool 11 is adjustable relative to the lower tool 9.
  • the lower tool 9 is received movably along a lower positioning axis 25.
  • This lower positioning axis 25 extends in the direction of the Y-axis of the coordinate system of the numerical control 15.
  • the lower positioning axis 25 is aligned parallel to the upper positioning axis 16.
  • the lower tool 9 can be moved directly on the lower positioning axis 16 with a motor drive arrangement 26 along the positioning axis 25.
  • the lower tool 9 can also be provided on a lifting drive device 27, which can be moved along the lower positioning axis 25 by means of the motor drive arrangement 26.
  • This drive arrangement 26 is preferably designed as a spindle drive arrangement.
  • the lower lift drive device 27 may correspond in structure to the upper lift drive device 13.
  • the motor drive assembly 26 may correspond to the motor drive assembly 17.
  • the lower lifting drive device 27 is slidably mounted on the lower horizontal frame leg 4 associated guide rails 19.
  • Guide shoes 20 of the lifting drive device 27 run on the guide rails 19, so that the connection between the guide rails 19 and guide shoes 20 on the lower tool 9 can also absorb a load acting in the vertical direction. Accordingly, the lifting drive device 27 is suspended via the guide shoes 20 and the guide rails 19 on the machine frame 2 and at a distance from the guide rails 19 and guide shoes 20 of the upper lifting drive device 13.
  • the lifting drive device 27 may include a wedge gear 21, by which the position or height of the lower tool 9 along the Z-axis is adjustable.
  • both the motor drives 17 for a movement of the upper tool 11 along the upper positioning axis 16, as well as the one or more motor drives 26 for a movement of the lower tool 9 along the lower positioning axis 25 are controlled independently.
  • the upper and lower tool 11, 9 can be moved synchronously in the direction of the Y-axis of the coordinate system.
  • an independent movement of the upper and lower tool 11, 9 are also driven in different directions.
  • This independent movement of the upper and lower tool 11, 9 can be controlled at the same time.
  • the upper and lower tool 11, 9 may be formed for machining the workpieces 10 in a variety of ways.
  • the wedge gear 21 comprises two drive-side wedge gear elements 122, 123, and two output-side wedge gear elements 124, 125. The latter are structurally combined to form a structural unit in the form of a driven-side double wedge 126.
  • the plunger 12 is rotatably mounted about the lifting axis 14.
  • a motor rotary drive device 128 is housed in the output side double wedge 126 and moves the plunger 12 when necessary along the lifting axis 14.
  • a plunger bearing 129 is shown schematically.
  • the plunger bearing 129 allows low-friction rotational movements of the plunger 12 about the lifting axis 14, on the other hand supports the plunger bearing 129 the plunger 12 in the axial direction and accordingly carries loads acting on the plunger 12 in the direction of the lifting axis 14, in the output side double wedge 126th from.
  • the driven-side double wedge 126 is limited by a wedge surface 130, and by a wedge surface 131 of the output-side gear element 125.
  • the wedge surfaces 130, 131 of the output-side wedge gear elements 124, 125 are opposed by wedge surfaces 132, 133 of the drive-side wedge gear elements 122, 123.
  • longitudinal guides 134, 135 the drive-side wedge gear member 122 and the output side wedge gear member 124 and the drive side wedge gear member 123 and the driven side wedge gear member 125 in the direction of the Y-axis, that is, in the direction of the positioning axis 16 of the Hubantriebsvorraumraum 13, guided relative to each other movable.
  • the drive-side wedge gear element 122 has a motor drive unit 138, the drive-side wedge gear element 123 via a motor drive unit 139. Both drive units 138, 139 together form the spindle drive arrangement 17th
  • motor drive units 138, 139 Common to the motor drive units 138, 139 is the drive spindle 18 shown in FIG. 1 as well as the lifting drive device 13, 27 mounted on the machine frame 2 and consequently supporting structure side.
  • the drive-side wedge gear elements 122, 123 are operated such that they move along the positioning axis 16, for example, which results in a relative movement between the drive-side wedge gear elements 122, 123 on the one hand and the output side wedge gear elements 124, 125 on the other hand , As a result of this relative movement of the output side double wedge 126 and the ram 12 mounted thereon is moved along the lifting axis 14 down.
  • the punch mounted on the plunger 12, for example, as an upper tool 11 performs a working stroke and thereby machined on the workpiece support 28, 29 and the workpiece support 8 mounted workpiece 10.
  • the plunger 12 is again along the Lifting axle 14 is raised or moved upwards.
  • the above-described lifting drive device 13 according to FIG. 2 is preferably constructed identically as the lower lift drive device 27 and accommodates the lower tool 9.
  • FIG. 3 shows a schematic diagram of a possible stroke movement of the plunger 12.
  • the diagram shows a stroke course along the Y-axis and the Z-axis.
  • an oblique lifting movement of the Hubst formulateels 12 down to the workpiece 10 to be driven as shown by the first straight line A.
  • the plunger 12 can be lifted vertically, for example, as shown by the straight line B.
  • an exclusive movement takes place along the Y-axis in accordance with the straight line C, in order to position the plunger 12 for the workpiece 10 for a new working position.
  • the work sequence described above can be repeated. If, for a subsequent processing step, the workpiece 10 is moved on the workpiece support surface 28, 29, a movement along the straight line C can also be dispensed with.
  • the illustrated in the diagram in Figure 3 possible stroke movement of the plunger 12 on the upper tool 11 is preferably combined with a stationary held lower tool 9.
  • the lower tool 9 is positioned within the machine frame 2 such that at the end of a working stroke of the upper tool 11, the upper and lower tool 11, 9 occupy a defined position.
  • This exemplary superimposed stroke course can be controlled both for the upper tool 11 and the lower tool 9.
  • a superimposed lifting movement of the upper tool and / or lower tool 11, 9 can be actuated.
  • FIG. 4 shows a schematic diagram illustrating a lifting movement of the plunger 12 according to the exemplary illustrated line D along a Y-axis and a Z-axis.
  • a lifting movement of the plunger 12 can undergo a curve or arc curve by a superposition of the movements in the Y direction and Z direction is controlled accordingly by the controller 15.
  • Such a flexible superimposition of the movement movements in the X and Z directions allows specific machining tasks to be solved.
  • the control of such a curve can be provided for the upper tool 11 and / or lower tool 9.
  • FIG. 5 shows a schematic view of the machine tool 1 according to FIG.
  • the workpiece support 28 may for example be associated with a loading station, not shown, through which unprocessed workpieces 10 are placed on the workpiece support 28.
  • Adjoining the workpiece support 28, 29 is a feed device 22, which comprises a plurality of grippers 23 in order to grip the workpiece 10 placed on the workpiece support 28.
  • the feed device 22 By means of the feed device 22, the workpiece 10 is passed through the machine frame 2 in the X direction.
  • the feed device 22 can also be moved in the Y direction. As a result, a free movement of the workpiece 10 in the X-Y plane can be provided.
  • the workpiece 10 can be moved by the feed device 22 both in the X direction and counter to the X direction.
  • This movement of the workpiece 10 can be adapted to a movement of the upper tool 11 and lower tool 9 in and counter to the Y direction for the respective processing task.
  • the workpiece support 28 opposite the other workpiece support 29 is provided on the machine frame 2. This may for example be associated with an unloading station. Alternatively, the loading and unloading of the unprocessed workpiece 10 and machined workpiece 10 with workpieces 81 may also be assigned to the same workpiece support 28, 29.
  • the machine tool 1 can furthermore have a laser processing device 201, in particular a laser cutting machine, which is shown only schematically in a plan view in FIG.
  • This laser processing device 201 can be designed, for example, as a CO 2 laser cutting machine.
  • the laser processing device 201 comprises a laser source 202, which generates a laser beam 203, which is guided by means of a beam guide 204 shown schematically to a laser processing head, in particular laser cutting head 206, and focused in this. Thereafter, the laser beam 204 is aligned by a cutting nozzle perpendicular to the surface of the workpiece 10 to machine the workpiece 10.
  • the laser beam 203 preferably acts on the workpiece 10 at the processing location, in particular the cutting location, together with a process gas jet. The cutting point at which the laser beam 203 impinges on the workpiece 10 is adjacent to the processing point of the upper tool 11 and lower tool.
  • the laser cutting head 206 can be moved by a linear drive 207 with a linear axis system at least in the Y direction, preferably in the Y and Z directions.
  • This linear axis system which receives the laser cutting head 206, may be associated with, attached to, or integrated with the machine frame 2.
  • a beam passage opening may be provided in the workpiece support 28.
  • a beam collecting device for the laser beam 21 may be provided below the beam passage opening.
  • the beam passage opening and optionally the beam collecting device can also be designed as a structural unit.
  • the laser processing device 201 may also comprise a solid-state laser as the laser source 202, the radiation of which is guided to the laser cutting head 206 by means of a light-conducting cable.
  • the workpiece support 28, 29 may extend directly to the workpiece support 8, which surrounds the lower tool 9 at least partially. Within a free space resulting therebetween, the lower tool 9 is movable along the lower positioning axis 25 in and counter to the Y direction.
  • the workpiece support 28 is for example a machined workpiece 10, in which a workpiece part 81 is cut free from a cutting gap 83, for example by a punching or by a laser beam processing to a residual compound 82.
  • the workpiece 81 is held in the workpiece 10 and the remaining skeleton.
  • the workpiece 10 is positioned by means of the feed device 22 to the upper and lower tool 11, 9 for a stamping and Ausschleus suits.
  • the residual compound 82 is separated by a punching stroke of the upper tool 11 to the lower tool 9.
  • the workpiece part 81 can be discharged, for example, by partially lowering the workpiece support 8 down.
  • the cut-free workpiece part 81 can be transferred back to the workpiece support 28 or onto the workpiece support 29 in order to unload the workpiece part 81 and the residual grid.
  • small workpiece parts 81 may optionally be discharged through an opening in the lower tool 9.
  • FIG. 6 an end face of the upper drive arrangement 17 and the lower drive end arrangement 26 with a workpiece 10 arranged therebetween is illustrated schematically in simplified form. This view is taken in the Y direction on the upper and lower drive assembly 17, 26th
  • FIG. 7 shows a further schematic side view of the drive arrangements 17, 26 according to FIG. 6 in the X-direction.
  • the upper and lower drive assemblies 17, 26 are aligned with each other, for example, with respect to an upper lift axis 14 and a lower lift axis 30.
  • at least one workpiece part 81 is at least partially cut free and fixed via a residual connection 82 to the workpiece 10 or completely separated from the workpiece 10.
  • the workpiece part 81 has, for example, a rectangular contour.
  • a volume 220 is formed which is limited in height by a distance of the workpiece 10 and a bottom of the upper horizontal frame leg 3.
  • the volume 220 may also be formed by the base of the workpiece part 81 and a perpendicular thereto in the direction of the upper positioning axis 16. Also, the volume 220 may be determined by the base and a lateral extent beyond the base of the workpiece 81 and a perpendicular thereto in the direction of the upper positioning axis 16. Also, the space volume 220 may be a predetermined part of the base of the workpiece part 81 and formed by a lateral extension beyond the base of the workpiece part 81 and a perpendicular thereto. The lateral extent extends into and against the upper positioning axis 16, along which the upper tool 11 is movable.
  • the upper tool 11 is positioned outside the volume 220, so that this volume 220 above the workpiece 10 and below the upper horizontal frame leg 3 is freely accessible and can be exploited for the removal of the workpiece part 81.
  • This free space volume 220 allows a collision-free removal of the workpiece part 81 by a discharge of the workpiece part 81 via a table segment 285 down, as described below in Figures 8 to 12 or by a removal by means of a gripping device 292, as described below with reference to the figures 13 and 14 is described.
  • FIG. 8 a workpiece 10 lying on the workpiece support 28, 29 is schematically illustrated in a simplified manner, which is machined by an upper and lower tool 9, 11.
  • the workpiece 10 is moved during processing for introducing a cutting gap 83 by the gripper 23 in and counter to the X direction.
  • the upper and lower tools 9, 11 are moved accordingly in and counter to the Y direction along the upper and lower positioning axis 16, 25.
  • the workpiece support 28 comprises a table segment 285, which forms part of the workpiece support 28.
  • This table segment 285 can be lowered relative to the workpiece support surface 28 for the removal of workpiece parts 81.
  • the table segment 285 is pivotally mounted about an axis of rotation 286, which is aligned parallel to the positioning axis 16, 25.
  • the table segment 285 preferably extends over the entire width of the workpiece support 28, 29 in the Y direction.
  • the table segment 285 is flush through the pivotable connection to the adjacent workpiece support 8, so that after a lowering movement, the workpiece part 81 can be discharged downwards, as shown for example in Figure 12.
  • the discharge direction is represented by arrows 287.
  • the length of the length of the table segment 285 correspond or are shorter, the last separation section may be in the Y-axis.
  • the last separating cut lies in an X-axis, that is, starting from a beginning of a cutting gap 83 according to arrow 288 (FIG. 8) and, for example, producing a counter-clockwise production of the cutting gap 83, the table segment 285 with respect to the axis of rotation 286 opposite workpiece edge 289 cut. This workpiece edge 289 is aligned, for example, in the Y direction.
  • the upper tool 11 is moved along the upper positioning axis 16.
  • the lower tool 9 is held stationary to the lower positioning axis 25 in the last working position for cutting or free cutting of the workpiece part 81.
  • the upper tool 11 is moved by a distance in relation to the lower tool 9 (FIG. 9), so that it is positioned outside the volume 220. This has the advantage that during a tilting movement of the workpiece edge 289 about the axis of rotation 286 after lowering the table segment 285, the workpiece part 81 does not collide with the upper tool 11.
  • a first phase of the ejection after lowering the table segment 285 is shown in perspective in FIG. 10 and in a front view in FIG.
  • This is based on the fact that the center of gravity of the workpiece part 81 lies in the surface of the table segment 285.
  • the workpiece edge 289 opposite the discharge direction 287 is pivoted in the direction of the upper frame leg 3 with respect to a workpiece plane.
  • Such a maximum tilting movement of the workpiece part 81 is shown in FIG.
  • the upper tool 11 Due to the offset of the position axes 35 of the upper tool 11 to the position axis 48 of the lower tool 9, the upper tool 11 is positioned outside the collision area or the tilting area of the workpiece part 81. As a result, the tilting movement within the free space volume 220 can be carried out unhindered and the workpiece part 81 can be discharged downwards.
  • FIG. 1 A final phase of the discharge process is shown in FIG. In this case, the workpiece edge 289 is already lowered and passes below the workpiece plane of the workpiece 10. Subsequently, after the removal of the workpiece part 81, the table segment 285 can be closed again to form a closed workpiece support 28 and the upper and lower tool 11, 9 are transferred to the workpiece 10 for a new machining operation.
  • FIG. 13 shows in perspective an alternative embodiment of the machine tool to FIGS. 1 and 5.
  • This machine tool 1 differs from the figure 1 and Figure 5 that instead of or in addition to the laser processing device 201 according to Figure 5, a gripping device 292 is provided on the machine frame 2, which via a linear drive 207, which is also disposed on the upper horizontal frame leg 3 , 10 is driven movable above the workpiece.
  • the laser processing device 201 may be provided on an opposite side wall on the horizontal frame leg 3 of the machine tool 1 and have an analogous construction as in FIG.
  • the linear drive 207 for the gripping device 292 may have a horizontal linear axis 293, along which a vertical linear axis 294 can be moved along the Y direction.
  • the gripping device 292 is arranged, which comprises holding elements 295 facing the workpiece 10.
  • the holding elements 295 can be arranged individually and in groups and / or controlled. These retaining elements 295 may be, for example, magnetic suction, vacuum suction or Elektroadophsionssauger.
  • the individual groups of the holding elements 295 can also be controlled individually in order to remove successively one or more workpiece parts 81 separated from the workpiece 10.
  • the gripping device 292 is positioned to remove at least one workpiece part 81 with at least one of the holding elements 295 in the space volume 220 above the workpiece part 81 to be removed.
  • the upper tool 11 has been moved before the positioning of the holding elements 295 in the volume 220 space outside the volume 220, as is apparent from a schematic enlarged view of FIG 14.
  • FIG 14. In this perspective view according to Figure 14, the gripping device 292 opposite side of the machine frame 2 is shown.
  • the upper tool 11 is positioned by the upper drive assembly 17 outside the space volume 220 of the separated workpiece part 81.
  • the retaining elements 295 can be freely moved into a position above the workpiece part 81 or the workpiece parts 81 in the space volume 220 and positioned. Due to the lateral movement of the upper tool 11 before removal of the at least one workpiece part 81, the removal height between the workpiece 10 and a lower side of the upper horizontal frame leg 3 is increased.
  • the at least one workpiece part 81 can rest unmoved on the workpiece support 28, 29 after separation.
  • the lower tool 9 remains stationary during the movement of the upper tool 11 outside of the volume of space 220 in the position in which the last separating cut for the workpiece part 81 took place.
  • the at least one holding element 295 is lowered.
  • the at least one workpiece part 81 is gripped in order to subsequently control a lifting movement of the holding elements 295 in the Z direction.
  • the workpiece part 81 is positioned above the workpiece plane of the workpiece 10.
  • the gripping device 292 with its holding elements 295 led out of the space volume 220 and the workpiece parts are transferred to an unloading position.
  • the automation can be increased.
  • the gripping device 292 and the linear actuator 207 are formed with the at least one linear axis 293, 294 as an independent handling device.
  • This handling device can be assigned to one of the two workpiece supports 28, 29 and positioned adjacent thereto or adjacent thereto.
  • the gripping device 292 of such a handling device can be used and controlled in analogy to the gripping device 292 described in FIGS. 13 and 14 for the removal of the workpiece parts 81.

Landscapes

  • Engineering & Computer Science (AREA)
  • Mechanical Engineering (AREA)
  • Punching Or Piercing (AREA)
  • Machine Tool Units (AREA)
  • Laser Beam Processing (AREA)
  • Turning (AREA)
PCT/EP2017/074283 2016-09-26 2017-09-26 Verfahren und werkzeugmaschine zum bearbeiten von plattenförmigen werkstücken, insbesondere von blechen Ceased WO2018055178A1 (de)

Priority Applications (3)

Application Number Priority Date Filing Date Title
JP2019515872A JP6772371B2 (ja) 2016-09-26 2017-09-26 特に板金である板状工作物の加工のための方法および工具機械
CN201780059103.7A CN109789475B (zh) 2016-09-26 2017-09-26 用于加工板状工件,特别是板材的方法和机床
EP17777857.8A EP3515628B1 (de) 2016-09-26 2017-09-26 Verfahren und werkzeugmaschine zum bearbeiten von plattenförmigen werkstücken, insbesondere von blechen

Applications Claiming Priority (4)

Application Number Priority Date Filing Date Title
DE102016118175.7 2016-09-26
DE102016118175.7A DE102016118175B4 (de) 2016-09-26 2016-09-26 Werkzeugmaschine und Verfahren zum Bearbeiten von plattenförmigen Werkstücken
DE102016120151.0A DE102016120151A1 (de) 2016-10-21 2016-10-21 Verfahren und Werkzeugmaschine zum Bearbeiten von plattenförmigen Werkstücken, insbesondere von Blechen
DE102016120151.0 2016-10-21

Publications (1)

Publication Number Publication Date
WO2018055178A1 true WO2018055178A1 (de) 2018-03-29

Family

ID=60001899

Family Applications (1)

Application Number Title Priority Date Filing Date
PCT/EP2017/074283 Ceased WO2018055178A1 (de) 2016-09-26 2017-09-26 Verfahren und werkzeugmaschine zum bearbeiten von plattenförmigen werkstücken, insbesondere von blechen

Country Status (4)

Country Link
EP (1) EP3515628B1 (enExample)
JP (1) JP6772371B2 (enExample)
CN (1) CN109789475B (enExample)
WO (1) WO2018055178A1 (enExample)

Cited By (2)

* Cited by examiner, † Cited by third party
Publication number Priority date Publication date Assignee Title
CN116213580A (zh) * 2023-02-23 2023-06-06 曲阜天博汽车零部件制造有限公司 一种切边模装置
US20240310808A1 (en) * 2023-03-14 2024-09-19 Henry Butitta Controller-based machine tool system and method of machining wood slat architectural panels

Families Citing this family (1)

* Cited by examiner, † Cited by third party
Publication number Priority date Publication date Assignee Title
DE102019003700A1 (de) * 2019-05-27 2020-12-03 Günther Zimmer Werkstückbearbeitungsstation mit handhabungsgerätgeführter Multibearbeitungseinheit

Citations (5)

* Cited by examiner, † Cited by third party
Publication number Priority date Publication date Assignee Title
EP2008753A1 (de) * 2007-06-30 2008-12-31 Trumpf Werkzeugmaschinen GmbH + Co. KG Werkzeugmaschine und Verfahren zum Bearbeiten eines Werkstückes
EP2177293A1 (de) * 2008-10-17 2010-04-21 Trumpf Werkzeugmaschinen GmbH + Co. KG Verfahren zum Entnehmen eines Werkstückteils und Werkzeugmaschine
DE102009018512A1 (de) 2009-04-24 2010-10-28 Trumpf Sachsen Gmbh Maschinelles Verfahren sowie maschinelle Anordnung zum Bearbeiten von plattenartigen Werkstücken, insbesondere von Blechen
EP2722194A1 (de) 2012-10-22 2014-04-23 TRUMPF Werkzeugmaschinen GmbH + Co. KG Werkzeug zum Bearbeiten von Werkstücken, insbesondere Blechen
EP2527058B1 (de) 2011-05-26 2014-07-16 TRUMPF Werkzeugmaschinen GmbH + Co. KG Werkzeugmaschine in Form einer Presse zum Bearbeiten von Werkstücken, insbesondere von Blechen

Family Cites Families (18)

* Cited by examiner, † Cited by third party
Publication number Priority date Publication date Assignee Title
JPS4725723Y1 (enExample) * 1968-11-27 1972-08-10
US4602541A (en) * 1984-12-06 1986-07-29 Trumpf Gmbh & Co. Punch press with means for rotating the workpiece and method of using same and tooling therefor
JPH04197594A (ja) * 1990-11-28 1992-07-17 Murata Mach Ltd レーザ加工機
JP2517961Y2 (ja) * 1991-03-15 1996-11-20 株式会社アマダ パンチプレスのワークシュータ
JPH05169160A (ja) * 1991-12-16 1993-07-09 Amada Co Ltd ダブルパンチプレス機
JPH0655232A (ja) * 1992-08-07 1994-03-01 Amada Co Ltd パンチング加工機
JP3442590B2 (ja) * 1995-11-20 2003-09-02 株式会社アマダ パンチング加工機およびその加工方法
JPH11267865A (ja) * 1998-03-17 1999-10-05 Hitachi Telecom Technol Ltd 加工済ワークの強制取出し機構を備えた板材加工機
JP2001018020A (ja) * 1999-07-06 2001-01-23 Amada Co Ltd タレットパンチプレスにおけるリポジショニング動作の制御方法及びその装置
JP2001079681A (ja) * 1999-09-10 2001-03-27 Nisshinbo Ind Inc 板金複合加工機
US7889322B2 (en) * 2007-02-20 2011-02-15 Electro Scientific Industries, Inc. Specimen inspection stage implemented with processing stage coupling mechanism
DE202007018546U1 (de) * 2007-06-30 2008-10-16 Trumpf Werkzeugmaschinen Gmbh + Co. Kg Werkzeugmaschine zum trennenden Bearbeiten von Werkstücken
KR20110084327A (ko) * 2008-12-16 2011-07-21 가부시키가이샤 아이에이치아이 용접가공장치 및 이를 이용한 용접가공방법
JP5833299B2 (ja) * 2010-11-02 2015-12-16 株式会社ディスコ レーザー加工装置
CN102601255B (zh) * 2012-02-24 2014-08-13 丰顺县培英电声有限公司 一种汽车音响五金件冲压自动化上下料机械手
CN103611837B (zh) * 2013-12-13 2015-11-04 广东凌丰集团股份有限公司 一种金属圆锅自动切边送料取料装置
JP2016019997A (ja) * 2014-07-15 2016-02-04 ファナック株式会社 被加工物をレーザ加工するレーザ加工システム
CN104493364B (zh) * 2014-09-26 2017-05-17 王毅 仿形镭雕机及3d镭雕方法

Patent Citations (5)

* Cited by examiner, † Cited by third party
Publication number Priority date Publication date Assignee Title
EP2008753A1 (de) * 2007-06-30 2008-12-31 Trumpf Werkzeugmaschinen GmbH + Co. KG Werkzeugmaschine und Verfahren zum Bearbeiten eines Werkstückes
EP2177293A1 (de) * 2008-10-17 2010-04-21 Trumpf Werkzeugmaschinen GmbH + Co. KG Verfahren zum Entnehmen eines Werkstückteils und Werkzeugmaschine
DE102009018512A1 (de) 2009-04-24 2010-10-28 Trumpf Sachsen Gmbh Maschinelles Verfahren sowie maschinelle Anordnung zum Bearbeiten von plattenartigen Werkstücken, insbesondere von Blechen
EP2527058B1 (de) 2011-05-26 2014-07-16 TRUMPF Werkzeugmaschinen GmbH + Co. KG Werkzeugmaschine in Form einer Presse zum Bearbeiten von Werkstücken, insbesondere von Blechen
EP2722194A1 (de) 2012-10-22 2014-04-23 TRUMPF Werkzeugmaschinen GmbH + Co. KG Werkzeug zum Bearbeiten von Werkstücken, insbesondere Blechen

Cited By (3)

* Cited by examiner, † Cited by third party
Publication number Priority date Publication date Assignee Title
CN116213580A (zh) * 2023-02-23 2023-06-06 曲阜天博汽车零部件制造有限公司 一种切边模装置
US20240310808A1 (en) * 2023-03-14 2024-09-19 Henry Butitta Controller-based machine tool system and method of machining wood slat architectural panels
US12422813B2 (en) * 2023-03-14 2025-09-23 Henry Butitta Controller-based machine tool system and method of machining wood slat architectural panels

Also Published As

Publication number Publication date
JP2019529124A (ja) 2019-10-17
JP6772371B2 (ja) 2020-10-21
EP3515628B1 (de) 2025-04-16
CN109789475A (zh) 2019-05-21
EP3515628A1 (de) 2019-07-31
CN109789475B (zh) 2021-06-01

Similar Documents

Publication Publication Date Title
EP3285959B1 (de) Werkzeugmaschine mit einer werkstückauflage und verfahren zum be- und entladen einer werkstückauflage einer werkzeugmaschine
WO2018073310A2 (de) Transportvorrichtung, verfahren und computerprogrammprodukt zum beladen und entladen zumindest einer materialbearbeitungsmaschine
WO2018055190A1 (de) Verfahren; werkzeugmaschine und schlitzwerkzeug zum mehrhubig fortschreitenden schlitzen von plattenförmigen werkstücken
EP3515626B1 (de) Werkzeugmaschine und verfahren zum bearbeiten von plattenförmigen werkstücken
EP3515622B1 (de) Werkzeug und werkzeugmaschine sowie verfahren zum schneiden und/oder umformen von plattenförmigen werkstücken
EP3515623B1 (de) Werkzeug und werkzeugmaschine sowie verfahren zum bearbeiten von plattenförmigen werkstücken
EP3515618B1 (de) Werkzeug und werkzeugmaschine sowie verfahren zur bearbeitung von plattenförmigen werkstücken
EP3515628B1 (de) Verfahren und werkzeugmaschine zum bearbeiten von plattenförmigen werkstücken, insbesondere von blechen
WO2022128535A1 (de) Nachsetzeinrichtung und verfahren zum nachsetzen für ein plattenförmiges werkstück in einer bearbeitungsmaschine
WO2018055183A1 (de) Werkzeug und werkzeugmaschine sowie verfahren zur bearbeitung von plattenförmigen werkstücken
WO2018055184A1 (de) Werkzeug und werkzeugmaschine sowie verfahren zum bearbeiten von plattenförmigen werkstücken
DE102016119435A1 (de) Werkzeug und Werkzeugmaschine sowie Verfahren zum Bearbeiten von plattenförmigen Werkstücken
EP3515617B1 (de) Werkzeug und werkzeugmaschine sowie verfahren zum bearbeiten von plattenförmigen werkstücken
EP2692455B1 (de) Werkzeugmaschine zum Bearbeiten von plattenartigen Werkstücken, insbesondere von Blechen
DE102016120151A1 (de) Verfahren und Werkzeugmaschine zum Bearbeiten von plattenförmigen Werkstücken, insbesondere von Blechen
DE102016120139B4 (de) Verfahren, Werkzeugmaschine und Schlitzwerkzeug zum mehrhubig fortschreitenden Schlitzen von plattenförmigen Werkstücken
DE102016119457A1 (de) Werkzeug und Werkzeugmaschine sowie Verfahren zur Bearbeitung von plattenförmigen Werkstücken
EP2635399A2 (de) Vorrichtung zum bearbeiten eines grossformatigen werkstücks
DE102016119464B4 (de) Werkzeug und Werkzeugmaschine sowie Verfahren zur Bearbeitung von plattenförmigen Werkstücken
EP3515627B1 (de) Werkzeugmaschine und verfahren zum bearbeiten von plattenförmigen werkstücken
DE102016120141B3 (de) Werkzeug und Werkzeugmaschine sowie Verfahren zum Bearbeiten von plattenförmigen Werkstücken
DE102016120035B3 (de) Werkzeug und Werkzeugmaschine sowie Verfahren zum Bearbeiten von plattenförmigen Werkstücken
DE102016119434A1 (de) Werkzeug und Werkzeugmaschine sowie Verfahren zum Schneiden und/oder Umformen von plattenförmigen Werkstücken
DE102016120142A1 (de) Werkzeugmaschine und Verfahren zum Bearbeiten von plattenförmigen Werkstücken
DD261977A1 (de) Manipulator fuer verbundwerkzeuge

Legal Events

Date Code Title Description
121 Ep: the epo has been informed by wipo that ep was designated in this application

Ref document number: 17777857

Country of ref document: EP

Kind code of ref document: A1

ENP Entry into the national phase

Ref document number: 2019515872

Country of ref document: JP

Kind code of ref document: A

WWE Wipo information: entry into national phase

Ref document number: 2017777857

Country of ref document: EP

WWG Wipo information: grant in national office

Ref document number: 2017777857

Country of ref document: EP