WO2018012009A1 - 熱電素子材料とその製造方法 - Google Patents

熱電素子材料とその製造方法 Download PDF

Info

Publication number
WO2018012009A1
WO2018012009A1 PCT/JP2017/000041 JP2017000041W WO2018012009A1 WO 2018012009 A1 WO2018012009 A1 WO 2018012009A1 JP 2017000041 W JP2017000041 W JP 2017000041W WO 2018012009 A1 WO2018012009 A1 WO 2018012009A1
Authority
WO
WIPO (PCT)
Prior art keywords
quantum dot
ligand
thermoelectric element
element material
quantum
Prior art date
Legal status (The legal status is an assumption and is not a legal conclusion. Google has not performed a legal analysis and makes no representation as to the accuracy of the status listed.)
Ceased
Application number
PCT/JP2017/000041
Other languages
English (en)
French (fr)
Japanese (ja)
Inventor
義宏 岩佐
サトリア ズルカルナエン ビスリ
清水 直
Current Assignee (The listed assignees may be inaccurate. Google has not performed a legal analysis and makes no representation or warranty as to the accuracy of the list.)
RIKEN
Original Assignee
RIKEN
Priority date (The priority date is an assumption and is not a legal conclusion. Google has not performed a legal analysis and makes no representation as to the accuracy of the date listed.)
Filing date
Publication date
Application filed by RIKEN filed Critical RIKEN
Publication of WO2018012009A1 publication Critical patent/WO2018012009A1/ja
Priority to US16/244,166 priority Critical patent/US10957838B2/en
Anticipated expiration legal-status Critical
Ceased legal-status Critical Current

Links

Images

Classifications

    • HELECTRICITY
    • H10SEMICONDUCTOR DEVICES; ELECTRIC SOLID-STATE DEVICES NOT OTHERWISE PROVIDED FOR
    • H10NELECTRIC SOLID-STATE DEVICES NOT OTHERWISE PROVIDED FOR
    • H10N10/00Thermoelectric devices comprising a junction of dissimilar materials, i.e. devices exhibiting Seebeck or Peltier effects
    • H10N10/80Constructional details
    • H10N10/85Thermoelectric active materials
    • H10N10/857Thermoelectric active materials comprising compositions changing continuously or discontinuously inside the material
    • HELECTRICITY
    • H10SEMICONDUCTOR DEVICES; ELECTRIC SOLID-STATE DEVICES NOT OTHERWISE PROVIDED FOR
    • H10NELECTRIC SOLID-STATE DEVICES NOT OTHERWISE PROVIDED FOR
    • H10N10/00Thermoelectric devices comprising a junction of dissimilar materials, i.e. devices exhibiting Seebeck or Peltier effects
    • H10N10/01Manufacture or treatment
    • HELECTRICITY
    • H10SEMICONDUCTOR DEVICES; ELECTRIC SOLID-STATE DEVICES NOT OTHERWISE PROVIDED FOR
    • H10NELECTRIC SOLID-STATE DEVICES NOT OTHERWISE PROVIDED FOR
    • H10N10/00Thermoelectric devices comprising a junction of dissimilar materials, i.e. devices exhibiting Seebeck or Peltier effects
    • H10N10/80Constructional details
    • H10N10/85Thermoelectric active materials
    • H10N10/851Thermoelectric active materials comprising inorganic compositions
    • H10N10/852Thermoelectric active materials comprising inorganic compositions comprising tellurium, selenium or sulfur

Definitions

  • the present invention relates to a thermoelectric element material having a quantum dot portion composed of a large number of quantum dots and a method for producing the same.
  • thermoelectric element generates electric power when there is a temperature difference between both ends thereof.
  • S is a Seebeck coefficient (V / K) indicating the ratio of the potential difference to the temperature difference. That is, when the temperature difference ⁇ T between both ends of the thermoelectric element causes a potential difference ⁇ V at both ends, S is ⁇ V / ⁇ T.
  • is the conductivity (1 / m ⁇ ) of the thermoelectric element.
  • thermoelectric element material using a quantum dot is described in the following nonpatent literature 1, for example.
  • Non-Patent Document 1 a nanocomposite is produced by mixing semiconductor nanocrystal PbS and metal nanocrystal Ag.
  • the size of the Seebeck coefficient S of this nanocomposite is about 400 ( ⁇ V / K) at the maximum.
  • Power factor of the nanocomposite is at most 2 ( ⁇ W / cmK 2) about at room temperature, at most 17 ( ⁇ W / cmK 2) about the 850K.
  • thermoelectric element materials using quantum dots a technology that enables a higher power factor than before is desired.
  • an object of the present invention is to provide a thermoelectric element material using a quantum dot and having a high power factor and a method for manufacturing the thermoelectric element material.
  • thermoelectric element material according to the present invention includes a quantum dot portion composed of a large number of quantum dots.
  • quantum dot portion there are carriers that become current carriers. Adjacent quantum dots among many quantum dots are separated from each other, but are close enough to allow carriers to move between the quantum dots.
  • thermoelectric element material having a quantum dot portion composed of a large number of quantum dots and having carriers serving as a current carrier in the quantum dot portion is manufactured.
  • This method has a quantum dot part manufacturing process in which adjacent quantum dots among a large number of quantum dots are separated from each other so that carriers can move between the quantum dots.
  • FIG. 1A and 1B are diagrams for explaining the principle of the present invention.
  • FIG. 1A is a schematic graph of the relationship between the distance d between adjacent quantum dots in the quantum dot portion and the Seebeck coefficient S or the conductivity ⁇ of the quantum dot portion.
  • the horizontal axis indicates the distance d between adjacent quantum dots
  • the vertical axis indicates the Seebeck coefficient S or the conductivity ⁇ of the quantum dot portion.
  • FIG. 1B is a schematic graph of the relationship between the distance d between adjacent quantum dots and the power factor S 2 ⁇ of the quantum dot portion.
  • adjacent quantum dots are separated from each other in the quantum dot portion. This means that d is equal to or greater than the lower limit d min of the range R in FIG. Therefore, the Seebeck coefficient S of the quantum dot portion is a sufficiently large value as a thermoelectric element material. Further, in the present invention, adjacent quantum dots are close enough to allow carriers to move between the quantum dots, so that the conductivity ⁇ of the quantum dot portion has a sufficiently large value as a thermoelectric element material. For example, in FIG. 1A, d is less than or equal to the upper limit d max of the range R.
  • the Seebeck coefficient S and the conductivity ⁇ of the quantum dot portion of the thermoelectric element material are sufficiently large values as the thermoelectric element material, and as a result, a large power factor S 2 ⁇ is obtained.
  • thermoelectric element material by 1st Embodiment of this invention is shown. It is the elements on larger scale of FIG. 2A. It is the elements on larger scale of FIG. 2B. It is explanatory drawing of the discrete energy level in a quantum dot, and shows the case where an ion medium does not exist. It is explanatory drawing of the discrete energy level in a quantum dot, and shows the case where an ion medium is adjoining to a quantum dot part.
  • thermoelectric element material It is a flowchart which shows 1st Embodiment of the manufacturing method of thermoelectric element material. It is a figure for demonstrating the manufacturing method of thermoelectric element material. It is another figure for demonstrating the manufacturing method of thermoelectric element material. It is another figure for demonstrating the manufacturing method of thermoelectric element material. It is another figure for demonstrating the manufacturing method of thermoelectric element material. It is another figure for demonstrating the manufacturing method of thermoelectric element material. It is another figure for demonstrating the manufacturing method of thermoelectric element material. It is a schematic diagram of the quantum dot which the 1st ligand couple
  • thermoelectric element material The structural example for measuring Seebeck coefficient S and electrical conductivity (sigma) of a quantum dot part is shown. It is another figure which shows the structural example for measuring Seebeck coefficient S and electrical conductivity (sigma) of a quantum dot part.
  • the relationship between the gate voltage Vg and the electrical conductivity (sigma) in the thermoelectric element material by 1st Embodiment is shown. It shows the relationship between the gate voltage Vg and the power factor S 2 sigma in the thermoelectric element material according to the first embodiment.
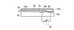
  • FIG. 2A shows a configuration of the thermoelectric element material 10 according to the first embodiment of the present invention.
  • Reference numeral 10 denotes the entire configuration of FIG. 2A.
  • the thermoelectric element material 10 is used for a thermoelectric element. For example, a potential difference is generated between both end portions 3a and 3b due to a temperature difference between both end portions 3a and 3b of the thermoelectric element material 10, and this potential difference is output to a desired external location.
  • the thermoelectric element material 10 includes a quantum dot portion 3 and an ion medium 5.
  • FIG. 2B is a partially enlarged view of FIG. 2A and shows the vicinity of the interface between the quantum dot portion 3 and the ion medium 5.
  • a broken line in FIG. 2B indicates an interface between the quantum dot portion 3 and the ion medium 5.
  • FIG. 2C is a partially enlarged view of FIG. 2B and shows a plurality of quantum dots 7.
  • the quantum dot portion 3 is composed of a large number of quantum dots 7.
  • the quantum dot part 3 is solid.
  • In the quantum dot portion 3, adjacent quantum dots 7 are separated from each other and are close enough to allow the carrier 11 to move between the quantum dots 7.
  • adjacent quantum dots 7 are separated from each other means that adjacent quantum dots 7 are in an unfused state.
  • An unfused state means that each quantum dot 7 maintains the properties of the quantum dot independently.
  • the nature of quantum dots is that the energy levels of electrons are discrete.
  • Each quantum dot 7 may have a dimension of several nm or more and several tens nm or less (for example, 2 nm or more and 20 nm or less).
  • the dimension of the quantum dot 7 is the maximum value among the dimensions of the quantum dot 7 in each direction.
  • the preferable degree of proximity between the quantum dots 7 is, for example, as follows.
  • the distance between the centers of adjacent quantum dots 7 is 1.5 times or less (more preferably 1.2 times or less, more preferably 1.1 times or less) the dimension of the quantum dots 7.
  • the degree of proximity between the quantum dots 7 is not limited to the above example, and may be any degree that allows the carrier 11 to move between adjacent quantum dots 7.
  • adjacent quantum dots 7 are connected to each other through a ligand 9. That is, both end portions of the ligand 9 are respectively coupled to the adjacent quantum dots 7. With this configuration, adjacent quantum dots 7 are separated from each other. In addition, the length of the ligand 9 is so short that the carrier 11 can move between adjacent quantum dots 7. With such a ligand 9, the distance d between adjacent quantum dots 7 is within the range R in FIGS. 1A and 1B described above. In one example, the distance d is d1 in FIGS. 1A and 1B.
  • the ion medium 5 is close to (preferably in contact with) the quantum dot portion 3.
  • the ion medium 5 is solid and is in contact with and coupled to the surface 3 c of the quantum dot portion 3.
  • the ion medium 5 includes ions 12 that are electrically attracted to the carriers 11 of the quantum dot portion 3 as shown in FIG. 2B. Such carriers 11 and ions 12 exist in the vicinity of the interface between the quantum dot portion 3 and the ion medium 5.
  • the charge polarity of the ions 12 is opposite to the charge polarity of the carriers 11 of the quantum dots 7.
  • the carrier 11 of the quantum dot 7 is an electron
  • the ion 12 of the ion medium 5 is a cation.
  • Such an ion medium 5 can be manufactured by a manufacturing method described later.
  • FIG. 3A and FIG. 3B are explanatory diagrams of the discrete energy levels of electrons in a quantum dot.
  • 3A shows a case where the ion medium 5 does not exist
  • FIG. 3B shows a case where the ion medium 5 is close to the quantum dot portion 3 as described above.
  • the conduction band is an energy band in which there are vacant energy levels that are not occupied by electrons. Therefore, when electrons are present in the conduction band, they can become a current bearer by moving to a vacant energy level.
  • the valence band is an energy band in which there is no vacant energy level. For this reason, electrons cannot move to a vacant energy level in the valence band, and cannot become a current bearer.
  • the electron 11 does not exist in the conduction band.
  • the electrons 11 are present in the conduction band in the quantum dot 7 as shown in FIG. 3B. That is, in FIG. 3B, there are a large number of electrons 11 in the energy levels E 1 , E 2 , E 3 , E 4 of the conduction band. This is due to the following reason.
  • the state in which ions 12 are present in the vicinity of the interface with the quantum dot portion 3 in the ion medium 5 corresponds to a state in which a gate voltage Vg (positive potential) is applied to the surface 3c of the quantum dot portion 3.
  • Vg positive potential
  • the distribution of the electrons 11 of the quantum dots 7 near the surface 3c changes from the state of FIG. 3A to the state of FIG. 3B. That is, the number of electrons 11 accommodated in the energy level in the conduction band increases.
  • FIG. 4 is a flowchart showing the first embodiment of the method for manufacturing the thermoelectric element material 10.
  • 5A to 6B are explanatory diagrams of this method. This method includes a quantum dot portion manufacturing process S1 and an ion medium manufacturing process S2.
  • the quantum dot part 3 in which the distance between the quantum dots 7 is adjusted is manufactured. That is, the quantum dot part 3 having a configuration in which the adjacent quantum dots 7 are separated from each other and are close enough to allow the carrier 11 to move between the quantum dots 7 is manufactured.
  • the quantum dot part manufacturing process S1 includes steps S11 to S15.
  • a quantum dot solid 16 is formed by solidifying the quantum dot liquid 15 which is a liquid containing a large number of quantum dots 7 (FIG. 5A).
  • FIG. 7A is a schematic diagram of one quantum dot 7.
  • the first ligand 13 is bonded to each quantum dot 7 as shown in FIG. 7A.
  • the first ligand 13 in FIG. 7A is longer than the ligand 9 in FIG. 2C described above.
  • the reason why the quantum dot solution 15 containing the long first ligand 13 is used is to prevent the quantum dots 7 from approaching and fusing with each other over time.
  • spherical PbS (lead (II) sulfide) is used as the quantum dots 7.
  • a colloidal solution in which PbS and chloroform are combined is prepared as the quantum dot solution 15.
  • the diameter of PbS that is the quantum dot 7 is 3.7 nm
  • the concentration of PbS in the colloidal solution is 5 mg / mL.
  • the first ligand 13 bonded to PbS is oleic acid.
  • step S11 is performed by spin coating as follows.
  • the substrate 18 is rotatably provided.
  • the central axis of this rotation is preferably perpendicular to the upper surface 18a of the substrate 18.
  • the substrate 18 is rotated around the central axis at a speed of 4000 rpm, for example.
  • 10 to 20 microliters of the quantum dot liquid 15 is dropped onto the upper surface 18a.
  • the rotation is continued for 60 seconds.
  • a solvent is scattered from the quantum dot liquid 15 of the upper surface 18a, and the quantum dot liquid 15 is dried.
  • a film-like quantum dot solid 16 in which the quantum dot liquid 15 is dried is formed on the upper surface 18a.
  • a gate electrode 19a and an electrode 19b used in step S22 described later are formed in advance on the upper surface 18a of the substrate 18.
  • a ligand liquid 17 that is a liquid containing the second ligand 9 shorter than the first ligand 13 is dropped onto the quantum dot solid 16 (FIG. 5B).
  • the second ligand 9 is iodine.
  • methanol in which iodine is dissolved may be the ligand liquid 17.
  • 200 microliters of the ligand liquid 17 is dropped onto the quantum dot solid 16.
  • step S13 a solution obtained by dropping the ligand liquid 17 on the quantum dot solid 16 is left for a predetermined time (for example, about 10 minutes).
  • a predetermined time for example, about 10 minutes.
  • Step S14 the remaining first ligand 13 is removed from the quantum dot solid 16.
  • step S ⁇ b> 14 the substrate 18 is rotated so that the solvent in which the first ligand 13 is dissolved (for example, the solvent of the ligand solution 17) is scattered from the quantum dot solid 16.
  • the substrate 18 is rotated at a speed of 4000 rpm for 60 seconds as in step S11.
  • the first ligand 13 is scattered from the quantum dot solid 16 together with the solvent and removed.
  • the first ligand 13 is oleic acid and the solvent in which it is dissolved is methanol.
  • the first quantum dot solid 16 is placed after the step S13 and before the step S14.
  • the above solvent for dissolving the ligand 13 is added dropwise.
  • a quantum dot portion preparation By removing the first ligand 13 from the quantum dot solid 16 by the above steps S11 to S14 (hereinafter referred to as a quantum dot portion preparation) is obtained.
  • steps S11 to S14 are repeated.
  • the quantum dot liquid 15 is dropped onto the quantum dot part preparation formed in the immediately preceding step S14, and the other points are the same as described above.
  • Steps S11 to S14 a stacked body 21 of quantum dot part preparations is obtained as shown in FIG. 5C.
  • step S15 when the quantum dot part preparation body or the stacked body 21 is obtained by steps S11 to S14 or repetition thereof, the process proceeds to step S15.
  • step S15 the quantum dot portion preparation or the laminate 21 is dried.
  • the solvent remaining in the quantum dot part preparation is removed by placing the quantum dot part preparation or the laminated body 21 in a temperature environment of about 105 ° C.
  • the substrate 18 on which the stacked body 21 is formed is placed on a hot plate at about 105 ° C. for about 20 minutes. As a result, what dried the laminated body 21 is obtained as the quantum dot part 3.
  • the quantum dot part manufacturing process S1 is performed in a sealed container (glove box) filled with nitrogen.
  • the ion medium production process S2 includes steps S21 to S23.
  • step S21 the liquid ion medium 23 is brought into contact with the surface 3c of the quantum dot part 3 obtained in the quantum dot part manufacturing process S1.
  • the liquid ion medium 23 is brought into contact with the surface 3c of the quantum dot part 3 obtained in the quantum dot part manufacturing process S1.
  • a film of the liquid ion medium 23 is formed on the surface 3c as shown in FIG. 5D.
  • the liquid ion medium 23 is also in contact with the gate electrode 19a.
  • the liquid ion medium 23 may be a liquid in which ions are present.
  • the liquid ion medium 23 may be a liquid salt composed of ions (that is, an ionic liquid), or may be an ion gel or an electrolyte solution.
  • Step S21 and later-described step S22 are performed in an environment equal to or higher than the melting point of the liquid ion medium 23.
  • the melting point of the liquid ion medium 23 may be room temperature (25 ° C.) or lower, or may be higher than room temperature. This melting point may be, for example, higher than 25 ° C. and 120 ° C. or lower.
  • Examples of the ionic liquid 23 that is solid at an atmospheric pressure of 1 atm and a temperature of 25 ° C. include the following (1) to (5).
  • the melting point is 27 ° C in (1), 84 ° C in (2), 113 ° C in (3), 75 ° C in (4), and 61 ° C in (5).
  • Examples of the ionic liquid 23 that is liquid at an atmospheric pressure of 1 atm and a temperature of 25 ° C. include the following (6) to (10).
  • Examples of the ion gel 23 include the following (11) to (13).
  • PS-PMMA-PS is an abbreviation for polystyrene-poly (methyl-methacrylate) -polystyrene.
  • PVDF-HFP is an abbreviation for poly (vinylidene fluoride-co-hexafluoropropylene).
  • a mixed ionic liquid of [EMIM] [TFSI] and [Me (EG) 1 ] [(Me) PO 3 ] is added to microcellulose fibers (for example, Arbocel (registered trademark) MF40-7)) Things.
  • [Me (EG) 1 ] [(Me) PO 3 ] is an abbreviation for 2- (2-methoxy-ethyl) ethyl methylphosphate.
  • Examples of the other ion medium 23 include the following (14) to (16).
  • P (VPA-AA) that is, poly (vinylphosphonic acid-acrylic acid)
  • PS-PIL-PS triblock copolymer (triblock copolymer) PS is an abbreviation for polystyrene, and PIL is an abbreviation for 1-[(2-acryloyloxy) ethyl] -3-butylimidazolium bis (trifluoromethylsulfonyl) imide.
  • the liquid ion medium 23 is [DEME] [TFSI] in the embodiment.
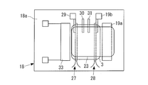
  • step S22 the gate voltage Vg is applied between the voltage application position in the liquid ion medium 23 (the gate electrode 19a in FIG. 6A) and the quantum dot portion 3 (the electrode 19b in FIG. 6A) in the above contact state.
  • This application is performed by the power supply 24.
  • carriers 11 attracted to the ions 12 of the liquid ion medium 23 are generated in the vicinity of the interface (surface 3c) between the quantum dot portion 3 and the liquid ion medium 23.
  • the voltage application position may be a position separated from the interface between the liquid ion medium 23 and the quantum dot portion 3.
  • FIG. 6B is a partially enlarged view of FIG. 6A and shows the vicinity of the surface 3 c of the quantum dot portion 3. As shown in FIG. 6B, in step S22, the electrons 11 and the ions 12 are electrically attracted to each other in the vicinity of the surface 3c.
  • step S22 includes steps S221 to S223.
  • step S221 the gate voltage Vg is applied between the gate electrode 19a and the electrode 19b as described above.
  • step S222 the Seebeck coefficient S and the conductivity ⁇ of the quantum dot portion 3 are measured in step S222.
  • the implementation method of step S222 will be described later.
  • step S223 it is determined whether the Seebeck coefficient S and the conductivity ⁇ measured in step 222 or the power factor S 2 ⁇ obtained from these values is a value within a desired range.
  • step S223 If the result of the determination in step S223 is affirmative, the process proceeds to step S23, otherwise, the value of the gate voltage Vg is changed and steps S221 and S222 are performed again.
  • step S23 the liquid ion medium 23 is solidified to form the solid ion medium 5 in a state where the gate voltage Vg is applied between the gate electrode 19a and the electrode 19b in the above contact state.
  • the gate voltage Vg is a value obtained when the result of determination in step S223 is affirmative.
  • steps S222 and S223 described above may be omitted.
  • the liquid ion medium 23 is solidified in step S23 in a state where the gate voltage Vg obtained in advance is applied between the gate electrode 19a and the electrode 19b.
  • the gate voltage Vg obtained in advance is a value that affirms the result of the determination in step S223.
  • step S23 the thermoelectric element material 10 in which the solid ion medium 5 is in contact with and bonded to the surface 3c of the quantum dot portion 3 is obtained. Further, the number of carriers 11 existing in the quantum dot portion 3 is fixed by step S23.
  • thermoelectric element material 10 of the first embodiment manufactured as described above is used as a thermoelectric element in a state where the liquid ion medium 23 is in a solid state. That is, the thermoelectric element material 10 is used in an environment having a temperature lower than the melting point of the liquid ion medium 23.
  • thermoelectric properties Based on FIG. 8A and FIG. 8B, an example of the method for measuring a thermoelectric characteristic by above-mentioned step S222 is demonstrated. 8A and 8B are top views of the substrate 18 described above.
  • the probes 29 to 31 and the heater 33 are formed on the upper surface 18a of the substrate 18 as shown in FIG. 8A. Form it.
  • the quantum dot part 3 is formed on the upper surface 18a of the substrate 18 according to the above-described quantum dot part manufacturing process S1 (FIG. 8B).
  • the lower surface of the quantum dot portion 3 is in contact with the electrode 19b, resistance thermometers 27 and 28, and probes 29 to 31.
  • Step S222 in the ion medium manufacturing process S2 is performed as follows in a state where a temperature difference is generated in the quantum dot portion 3 by the heater 33.
  • the resistance thermometer 27 measures the temperature T1 at the probe 29, and the resistance thermometer 28 measures the temperature T2 at the electrode 19b.
  • a potential difference ⁇ V1 between the probe 29 and the electrode 19b is measured.
  • the current I is passed between the probe 29 and the electrode 19b in the quantum dot portion 3 using the probe 29 and the electrode 19b, and the potential difference ⁇ V2 between the probes 30 and 31 is measured using the probes 30 and 31.
  • the Seebeck coefficient S ⁇ V1 / (T1 ⁇ T2) is obtained from the measured temperatures T1 and T2 and the potential difference ⁇ V1.
  • the electrical conductivity ⁇ of the quantum dot portion 3 is determined from the current I that has flowed, the measured potential difference ⁇ V2, the distance between the probes 30 and 31, and the cross-sectional area of the quantum dot portion 3. Further, the power factor S 2 ⁇ is obtained from the obtained S and ⁇ .
  • FIGS. 8A and 8B show measurement results of S, ⁇ , and S 2 ⁇ of the thermoelectric element material 10 according to the first embodiment described above.
  • 9A to 9C show values actually obtained by the method of FIGS. 8A and 8B.
  • FIG. 9A shows the relationship between the gate voltage Vg and the Seebeck coefficient S described above.
  • FIG. 9B shows the relationship between the gate voltage Vg and the conductivity ⁇ .
  • FIG. 9C shows the relationship between the gate voltage Vg and the power factor S 2 ⁇ .
  • the thermoelectric element material 10 of the first embodiment has a conventional power factor S 2 ⁇ (about 800 ⁇ W / cmK 2 ) that is significantly higher than 17 ⁇ W / cmK 2 of Non-Patent Document 1, for example. can get.
  • thermoelectric element material 10 according to a second embodiment of the present invention will be described.
  • the points not described below are the same as those in the first embodiment.
  • the thermoelectric element material 10 according to the second embodiment has the quantum dot portion 3 but does not have the ion medium 5.
  • the carrier density in the quantum dot portion 3 is increased by adding impurities to the quantum dots 7.
  • each quantum dot 7 to which the said impurity is added previously is used by step S1 (S11).
  • each quantum dot 7 to which an impurity is added may be obtained by adding Ag as an impurity to PbS as the quantum dot 7.
  • the impurity can be added to the quantum dot 7 by any method as long as the carrier that can move between adjacent quantum dots 7 exists. Also good.
  • the other points of the above-described quantum dot part manufacturing process S1 may be the same as in the case of the first embodiment.
  • any one of the following modification examples 1 to 5 may be adopted alone, or two or more of the modification examples 1 to 5 may be arbitrarily combined and employed. In this case, the points not described below are the same as described above.
  • the modification examples 1, 2, 4, and 5 may be adopted for the first embodiment or the second embodiment, and the modification example 3 may be adopted for the first embodiment.
  • quantum dots 7 are not limited to PbS.
  • quantum dots 7, a metal chalcogenide e.g., PbTe, PbSe, SnTe, SnSe , SnS, CdS, CdTe, ZnTe, ZnSe, FeSe, FeTe, FeS 2, AgTe, AgSe, AgS, HgTe, GeTe, Bi 2 S 3 , Bi 2 Te 3 , Bi 2 Se 3, etc.
  • oxides eg SnO 2 , In 2 O 3 , TiO 2 doped with impurities
  • other binary compounds eg InAs, Bi 1- X Sb X etc.
  • ternary or quaternary compounds eg CuInSe 2 , CuZnS 4 etc.
  • perovskites eg CsPbX 3 (X is Cl, Br or I)
  • single compounds eg Si, C, Ge, etc.
  • metal nanocrystals eg
  • the above-described second ligand 9 is not limited to iodine, and any organic ligand or inorganic ligand can be used as long as adjacent quantum dots 7 are close to each other as described above. It may be.
  • the second ligand 9 may be a single atom ligand.
  • the ion medium of the thermoelectric element material 10 may be a liquid ion medium 23 that has not solidified.
  • the thermoelectric element material 10 is used as a thermoelectric element while the ion medium 23 is in a liquid state and the gate voltage Vg is applied between the voltage application position and the quantum dot portion 3. In this case, step S23 described above is omitted.
  • Steps S11 and S12 described above are not limited to the above, and may be performed by dip coating, for example, as follows.
  • step S11 the substrate 18 is immersed in the quantum dot solution 15 placed in the container, and the substrate 18 is taken out from the container. Thereby, a film of the quantum dot liquid 15 is formed on the upper surface 18a of the substrate 18. Furthermore, the film-like quantum dot solid 16 is obtained by drying and solidifying the film.
  • step S12 the substrate 18 is immersed in the ligand liquid 17 placed in the container, and the substrate 18 is taken out from the container, whereby the quantum dot solid 16 is given the ligand liquid 17. .
  • step S1 may be performed as follows. First, the quantum dot liquid 15 and the ligand liquid 17 are put in a container to produce a mixed liquid (hereinafter simply referred to as a mixed liquid). The mixed solution is left for a predetermined time (for example, about 10 minutes). As a result, as described above, the ligands that bind to each quantum dot 7 are switched from the first ligand 13 to the second ligand 9, and the adjacent quantum dots 7 approach each other and the second Binding through ligand 9. Then, the 1st ligand 13 is precipitated in a liquid mixture. At this time, if necessary, a substance for precipitating the first ligand 13 is added to the mixed solution.
  • a mixed liquid hereinafter simply referred to as a mixed liquid.
  • a liquid obtained by removing the first ligand 13 from the mixed solution is obtained by extracting the supernatant of the mixed solution or by centrifugation. What dried this liquid is obtained as the quantum dot part 3.
  • This drying may be performed as in step S15 described above.
  • the liquid film is formed on the substrate, the temperature of the substrate is set to about 105 ° C., and the process waits until the film becomes the solid quantum dot portion 3.
  • thermoelectric element material 11 carrier (Electrons), 12 ions (positive ions), 13 first ligand, 15 quantum dot liquid, 16 quantum dot solid, 17 ligand liquid, 18 substrate, 18a upper surface, 19a gate electrode, 19b electrode, 21 stacked layers Body, 23 ion medium (liquid ion medium), 24 power supply, 27, 28 resistance thermometer, 29, 30, 31 probe, 33 heater

Landscapes

  • Chemical & Material Sciences (AREA)
  • Inorganic Chemistry (AREA)
  • Engineering & Computer Science (AREA)
  • Manufacturing & Machinery (AREA)
  • Powder Metallurgy (AREA)
PCT/JP2017/000041 2016-07-12 2017-01-04 熱電素子材料とその製造方法 Ceased WO2018012009A1 (ja)

Priority Applications (1)

Application Number Priority Date Filing Date Title
US16/244,166 US10957838B2 (en) 2016-07-12 2019-01-10 Thermoelectric element material and method for manufacturing the same

Applications Claiming Priority (2)

Application Number Priority Date Filing Date Title
JP2016137453A JP6729931B2 (ja) 2016-07-12 2016-07-12 熱電素子材料とその製造方法
JP2016-137453 2016-07-12

Related Child Applications (1)

Application Number Title Priority Date Filing Date
US16/244,166 Continuation-In-Part US10957838B2 (en) 2016-07-12 2019-01-10 Thermoelectric element material and method for manufacturing the same

Publications (1)

Publication Number Publication Date
WO2018012009A1 true WO2018012009A1 (ja) 2018-01-18

Family

ID=60952402

Family Applications (1)

Application Number Title Priority Date Filing Date
PCT/JP2017/000041 Ceased WO2018012009A1 (ja) 2016-07-12 2017-01-04 熱電素子材料とその製造方法

Country Status (3)

Country Link
US (1) US10957838B2 (enExample)
JP (1) JP6729931B2 (enExample)
WO (1) WO2018012009A1 (enExample)

Families Citing this family (3)

* Cited by examiner, † Cited by third party
Publication number Priority date Publication date Assignee Title
US11702590B2 (en) * 2018-04-25 2023-07-18 Nichia Corporation Light-emitting material and light-emitting device
CN115274996A (zh) * 2021-04-30 2022-11-01 香港科技大学 热电堆热通量传感器装置、阵列和可穿戴电子设备
JP2023072395A (ja) * 2021-11-12 2023-05-24 国立研究開発法人産業技術総合研究所 自立型半導体素子およびその製造方法

Citations (3)

* Cited by examiner, † Cited by third party
Publication number Priority date Publication date Assignee Title
WO2008106732A1 (en) * 2007-03-05 2008-09-12 Commonwealth Scientifc And Industrial Research Organisation Thermoelectric material
JP2015056491A (ja) * 2013-09-11 2015-03-23 トヨタ自動車株式会社 ナノコンポジット熱電変換材料及びその製造方法
JP2015070204A (ja) * 2013-09-30 2015-04-13 富士フイルム株式会社 半導体膜、酸化物微粒子分散液、半導体膜の製造方法、及び、薄膜トランジスタ

Patent Citations (3)

* Cited by examiner, † Cited by third party
Publication number Priority date Publication date Assignee Title
WO2008106732A1 (en) * 2007-03-05 2008-09-12 Commonwealth Scientifc And Industrial Research Organisation Thermoelectric material
JP2015056491A (ja) * 2013-09-11 2015-03-23 トヨタ自動車株式会社 ナノコンポジット熱電変換材料及びその製造方法
JP2015070204A (ja) * 2013-09-30 2015-04-13 富士フイルム株式会社 半導体膜、酸化物微粒子分散液、半導体膜の製造方法、及び、薄膜トランジスタ

Non-Patent Citations (4)

* Cited by examiner, † Cited by third party
Title
BISRI SATRIA ZULKARNAEN ET AL.: "Thermoelectric Properties of Colloidal Quantum Dot Solids", DAI 63 KAI JSAP SPRING MEETING KOEN YOKOSHU, 3 March 2016 (2016-03-03), pages 100000000 - 039, ISBN: 978-4-86348-555-6 *
BISRI SATRIA ZULKARNAEN ET AL.: "Very High Seebeck Coefficient in Ultra-Thin-Film of Colloidal Quantum Dot Solids", THE 9TH INTERNATIONAL CONFERENCE ON QUANTUM DOTS, 26 May 2016 (2016-05-26), pages 281, Retrieved from the Internet <URL:http://www.qd2016.omicronrg/download/QD2016Proceedings-compressed.pdf> [retrieved on 20170324] *
BISRI, SATRIA ZULKARNAEN ET AL.: "Low Driving Voltage and High Mobility Ambipolar Field- Effect Transistors with PbS Colloidal Nanocrystals", ADVANCED MATERIALS, vol. 25, no. 31, 21 August 2013 (2013-08-21), pages 4309 - 4314, XP055124231 *
BROWN, PATRICK ET AL.: "Energy Level Modification in Lead Sulfide Quantum Dot Thin Films through Ligand Exchange", ACS NANO, vol. 8, no. 6, 24 June 2014 (2014-06-24), pages 5863 - 5872, XP055274809 *

Also Published As

Publication number Publication date
US10957838B2 (en) 2021-03-23
JP2018010917A (ja) 2018-01-18
JP6729931B2 (ja) 2020-07-29
US20190148614A1 (en) 2019-05-16

Similar Documents

Publication Publication Date Title
Liu et al. Mott and Efros-Shklovskii variable range hopping in CdSe quantum dots films
Kim et al. Additive-free hollow-structured Co3O4 nanoparticle Li-ion battery: the origins of irreversible capacity loss
Xiao et al. Postchemistry of organic particles: when TTF microparticles meet TCNQ microstructures in aqueous solution
US9559617B2 (en) Method and device for generating electricity and method of fabrication thereof
KR102445974B1 (ko) 펠티에 냉각 소자 및 그의 제조 방법
Müller et al. Three-dimensional percolation effect on electrical conductivity in films of metal nanoparticles linked by organic molecules
JP6729931B2 (ja) 熱電素子材料とその製造方法
Talgorn et al. Highly photoconductive CdSe quantum-dot films: influence of capping molecules and film preparation procedure
JP2008503880A (ja) ナノ構造材料およびナノ構造材料を含む光起電力素子
KR20190093578A (ko) 열전 변환 재료 및 그 제조 방법
JP2017525130A (ja) 熱電特性を有する熱電複合体及びその製造方法
Schnitzenbaumer et al. Chalcogenide-ligand passivated CdTe quantum dots can be treated as core/shell semiconductor nanostructures
JP2004523946A (ja) 電子スイッチング、ゲート及び記憶用に使用される、電場によって付加された回転子が活性化される双安定性三環式分子
Basha et al. [Retracted] Spectroscopic and Electrochemical Properties of (1‐x)[PVA/PVP]: x [MgCl26H2O] Blend Polymer Electrolyte Films
Myalitsin et al. Diameter scaling of the optical band gap in individual CdSe nanowires
Saremi et al. Analytical relationship between anion formation and carrier-trap statistics in chalcogenide glass films
WO2014191138A1 (en) Large capacitance electronic components
KR20030061850A (ko) 배향가능한 분자 기계적 소자의 안정화
Noguchi et al. Photoresponses in gold nanoparticle single-electron transistors with molecular floating gates
Lee et al. Power factor measurements of bismuth telluride nanowires grown by pulsed electrodeposition
Lindsay Single molecule electronics
Choi et al. Facile Achievement of Complementary Resistive Switching in Block Copolymer Micelle‐Based Resistive Memories
KR102230527B1 (ko) 정렬된 유무기 복합 열전소재 및 그의 제조방법
Ghanta et al. Unipolar resistive switching and tunneling oscillations in isolated Si–SiOx core–shell nanostructure
Hadiyal et al. Quantized conductance and multilevel memory operation in Mn3O4 nanowire network devices combined with low voltage operation and oxygen vacancy induced resistive switching

Legal Events

Date Code Title Description
121 Ep: the epo has been informed by wipo that ep was designated in this application

Ref document number: 17827144

Country of ref document: EP

Kind code of ref document: A1

NENP Non-entry into the national phase

Ref country code: DE

122 Ep: pct application non-entry in european phase

Ref document number: 17827144

Country of ref document: EP

Kind code of ref document: A1