WO2017212772A1 - 車両用装置 - Google Patents

車両用装置 Download PDF

Info

Publication number
WO2017212772A1
WO2017212772A1 PCT/JP2017/014673 JP2017014673W WO2017212772A1 WO 2017212772 A1 WO2017212772 A1 WO 2017212772A1 JP 2017014673 W JP2017014673 W JP 2017014673W WO 2017212772 A1 WO2017212772 A1 WO 2017212772A1
Authority
WO
WIPO (PCT)
Prior art keywords
vehicle
reprogram
gateway device
ecu
display
Prior art date
Legal status (The legal status is an assumption and is not a legal conclusion. Google has not performed a legal analysis and makes no representation as to the accuracy of the status listed.)
Ceased
Application number
PCT/JP2017/014673
Other languages
English (en)
French (fr)
Japanese (ja)
Inventor
翔 中村
雄三 原田
上原 一浩
Current Assignee (The listed assignees may be inaccurate. Google has not performed a legal analysis and makes no representation or warranty as to the accuracy of the list.)
Denso Corp
Original Assignee
Denso Corp
Priority date (The priority date is an assumption and is not a legal conclusion. Google has not performed a legal analysis and makes no representation as to the accuracy of the date listed.)
Filing date
Publication date
Application filed by Denso Corp filed Critical Denso Corp
Priority to DE112017002909.0T priority Critical patent/DE112017002909T5/de
Priority to CN201780035209.3A priority patent/CN109313591B/zh
Publication of WO2017212772A1 publication Critical patent/WO2017212772A1/ja
Priority to US16/211,473 priority patent/US10908890B2/en
Anticipated expiration legal-status Critical
Ceased legal-status Critical Current

Links

Images

Classifications

    • GPHYSICS
    • G06COMPUTING OR CALCULATING; COUNTING
    • G06FELECTRIC DIGITAL DATA PROCESSING
    • G06F8/00Arrangements for software engineering
    • G06F8/60Software deployment
    • G06F8/65Updates
    • BPERFORMING OPERATIONS; TRANSPORTING
    • B60VEHICLES IN GENERAL
    • B60RVEHICLES, VEHICLE FITTINGS, OR VEHICLE PARTS, NOT OTHERWISE PROVIDED FOR
    • B60R16/00Electric or fluid circuits specially adapted for vehicles and not otherwise provided for; Arrangement of elements of electric or fluid circuits specially adapted for vehicles and not otherwise provided for
    • B60R16/02Electric or fluid circuits specially adapted for vehicles and not otherwise provided for; Arrangement of elements of electric or fluid circuits specially adapted for vehicles and not otherwise provided for electric constitutive elements
    • GPHYSICS
    • G06COMPUTING OR CALCULATING; COUNTING
    • G06FELECTRIC DIGITAL DATA PROCESSING
    • G06F11/00Error detection; Error correction; Monitoring
    • GPHYSICS
    • G06COMPUTING OR CALCULATING; COUNTING
    • G06FELECTRIC DIGITAL DATA PROCESSING
    • G06F13/00Interconnection of, or transfer of information or other signals between, memories, input/output devices or central processing units
    • GPHYSICS
    • G06COMPUTING OR CALCULATING; COUNTING
    • G06FELECTRIC DIGITAL DATA PROCESSING
    • G06F8/00Arrangements for software engineering
    • G06F8/60Software deployment
    • G06F8/65Updates
    • G06F8/654Updates using techniques specially adapted for alterable solid state memories, e.g. for EEPROM or flash memories
    • HELECTRICITY
    • H04ELECTRIC COMMUNICATION TECHNIQUE
    • H04LTRANSMISSION OF DIGITAL INFORMATION, e.g. TELEGRAPHIC COMMUNICATION
    • H04L67/00Network arrangements or protocols for supporting network services or applications
    • H04L67/34Network arrangements or protocols for supporting network services or applications involving the movement of software or configuration parameters 
    • HELECTRICITY
    • H04ELECTRIC COMMUNICATION TECHNIQUE
    • H04WWIRELESS COMMUNICATION NETWORKS
    • H04W4/00Services specially adapted for wireless communication networks; Facilities therefor
    • H04W4/30Services specially adapted for particular environments, situations or purposes
    • H04W4/40Services specially adapted for particular environments, situations or purposes for vehicles, e.g. vehicle-to-pedestrians [V2P]

Definitions

  • the present disclosure relates to a vehicle device.
  • a large number of electronic control units (ECUs) are mounted on the vehicle, and these electronic control units control vehicle equipment in cooperation through an in-vehicle network.
  • ECUs electronice control units
  • Patent Document 1 a technique for updating a program stored in an internal memory of the electronic control device has been provided (see, for example, Patent Document 1).
  • a program update device receives an update file for updating a program from a center device and updates a program corresponding to the update file.
  • An object of the present disclosure is to provide a vehicle device that enables a vehicle user to safely drive and ensure safety when updating a program in response to a request from a terminal operable by the vehicle user. .
  • the reprogram master controls to update the program stored in the reprogram slave in response to the request.
  • the notification command unit issues a notification command to the notification medium of the progress status. For this reason, when requested from the terminal operated by the vehicle user, the progress status can be notified to the notification medium, and the progress status can be appropriately notified to the vehicle user.
  • the vehicle user can roughly grasp the time until the end of the program update when the progress status is notified through the notification medium. Therefore, the vehicle user can determine whether the program is being updated, and can prevent the vehicle from starting accidentally as much as possible. As a result, safety can be ensured.
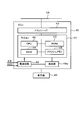
  • FIG. 1 is a block diagram schematically showing the configuration of the vehicle system in the first embodiment.
  • FIG. 2 is a block diagram showing an example of the electrical configuration of the gateway device.
  • FIG. 3 is a block diagram showing an example of the electrical configuration of the ECU.
  • FIG. 4 is a block diagram showing a partial configuration of the network connection form.
  • FIG. 5 is a block diagram showing an example of the electrical configuration of the mobile terminal,
  • FIG. 6A is an external view of a mobile terminal,
  • FIG. 6B is an external view of the in-vehicle display device,
  • FIG. 7 is an explanatory diagram of the content of the travel propriety determination table.
  • FIG. 1 is a block diagram schematically showing the configuration of the vehicle system in the first embodiment.
  • FIG. 2 is a block diagram showing an example of the electrical configuration of the gateway device.
  • FIG. 3 is a block diagram showing an example of the electrical configuration of the ECU.
  • FIG. 4 is a block diagram showing a partial configuration of the
  • FIG. 8 is a sequence diagram showing the overall operation.
  • FIG. 9 is a sequence diagram showing the operation at the time of interruption
  • FIG. 10 shows the first display content of the display.
  • FIG. 11 shows the second display content of the display.
  • FIG. 12A is part 3 of the display content of the display
  • FIG. 12B is the fourth display content of the display
  • FIG. 12C is the fifth display content of the display
  • FIG. 13 is the sixth display content of the display.
  • FIG. 14 is part 7 of the display content of the display.
  • FIG. 15 is a flowchart showing the processing contents of the replog master in the second embodiment.
  • FIG. 16 is a flowchart showing a flow of a notification medium determination method.
  • FIG. 17A is part 8 of the display content of the display.
  • FIG. 17B shows the ninth display content of the display.
  • FIG. 17C is part 10 of the display content of the display.
  • FIG. 17D is part 11 of the display content of the display unit.
  • FIG. 17E is part 12 of the display content of the display.
  • FIG. 17F is part 13 of the display content of the display.
  • FIG. 18 is a flowchart showing the interruption process.
  • FIG. 19 is a flowchart showing the processing contents of the replog master
  • FIG. 20 is a flowchart showing the processing contents of the reprogram slave in the third embodiment.
  • FIG. 21 is a flowchart showing the processing contents of the replog master.
  • (First embodiment) 1 to 14 are explanatory views of the first embodiment.
  • the vehicle system 1 of the present embodiment makes it possible to update a program installed in a vehicle electronic control device (hereinafter referred to as an ECU: Electronic Control Unit) installed in the vehicle.
  • the system is a center device 4 having a file server 2 and a web server 3, a portable terminal (corresponding to a terminal) 5 that is possessed and operated by a vehicle user and can be wirelessly connected to the web server 3, and mounted on the vehicle
  • the in-vehicle system 6 is connected to each other.
  • a monitor tool 48 can be externally connected to the in-vehicle system 6.
  • the file server 2 and the web server 3 are connected to the network.
  • the web server 3 can communicate with the portable terminal 5 through the outside network 7.
  • the web server 3 can communicate with the in-vehicle system 6 through the communication interface 8.
  • the outside-vehicle network 7 represents various communication networks such as a mobile communication network using 3G lines, 4G lines, etc., the Internet network, and a wireless LAN (for example, WiFi (registered trademark)).
  • program update files are stored by the program provider.
  • the file server 2 has a program management function, and an update file can be transmitted to the in-vehicle system 6 through the communication interface 9 in a vehicle equipped with an ECU requiring update processing.
  • the in-vehicle system 6 in the vehicle is connected to a central gateway device (CGW: Central Gateway: hereinafter abbreviated as a gateway device) 10, buses 11 to 15 of an in-vehicle LAN connected to the gateway device 10, and buses 11 to 15.
  • CGW Central Gateway: hereinafter abbreviated as a gateway device
  • a data communication module (hereinafter referred to as DCM: Data Communication Module) 21 and various ECUs 22 to 31, and operates by receiving supply of battery voltage.
  • the DCM 21 is an interface module for performing data communication with the center device 4 and the portable terminal 5 via radio.
  • the gateway device 10 can communicate with the external file server 2, the web server 3, and the mobile terminal 5 using the DCM 21.
  • the gateway device 10 has a function as a reprogram master RM that downloads an update file from the file server 2, transmits the update file to the program update target ECU, and performs update control.
  • the reprogram master RM is an abbreviation for a reprogram master device.
  • the reprogram slave RS is an abbreviation for a reprogram slave device.
  • the reprogram slave RS is any one or more of the ECUs 22 to 31.
  • FIG. 2 shows an example of the electrical configuration of the gateway device 10.
  • the gateway device 10 is connected to all of the plurality of buses 11-15.
  • the gateway device 10 includes a CPU 32, a ROM 33, a RAM 34, a microcomputer (hereinafter referred to as a microcomputer) 36 having a flash memory 35, and a transceiver 37, and the CPU 32 performs various types based on programs stored in a memory as a non-transitional recording medium.
  • the gateway device 10 operates using a power supply circuit 39 that inputs power from a battery power source + B for vehicle device operation, and has a built-in timer.
  • the power supply circuit 39 also receives an accessory power supply ACC and an ignition power supply IG.
  • an LED 38 is connected to the microcomputer 36 of the gateway device 10, and the microcomputer 36 lights / flashes the LED 38 so that internal information (for example, whether driving is possible or the progress of reprogramming) can be displayed to the outside. ing.
  • the in-vehicle LAN buses 11 to 15 shown in FIG. 1 are constructed by, for example, a plurality of networks having different or identical communication protocols. These networks include, for example, a body network N1, a traveling network N2, a multi-network It can be divided into a plurality of networks such as a media network N3. Various ECUs 22 to 31 are connected to the buses 12 to 14 of these networks N1 to N3.
  • a bus (hereinafter referred to as a body bus) 12 of the body network N1 includes, for example, a door ECU 22 having various functions for locking / unlocking the door, and a display control for a meter to be controlled.
  • An ECU such as a meter ECU 23 having various functions, an air conditioner ECU 24 for controlling the air conditioner, and a window ECU 25 for controlling opening / closing of the window glass is connected.
  • These ECUs 22 to 25 are referred to as body system ECUs 22 to 25 as necessary.
  • the door ECU 22 is configured by connecting a door lock motor.
  • an ECU having various functions (for example, an airbag ECU having an airbag control function, a keyless entry ECU having a keyless entry control function based on an operation of a wireless key or a smart key) is connected to the body bus 12 In some cases, illustration and description thereof are omitted.
  • the meter ECU 23 displays various information such as a vehicle speed based on the vehicle speed information, an engine speed based on the engine speed information, and a gasoline remaining amount information acquired by a remaining amount sensor (not shown) on an instrument panel or the like. It is an electronic control device for displaying on the instrument.
  • the bus 13 of the traveling system network N2 (hereinafter referred to as a traveling system bus) 13 includes, for example, an engine ECU 26 having various functions for controlling an engine to be controlled, and a brake ECU 27 having various functions for controlling a brake.
  • a powertrain ECU such as an ECT ECU 28 having various functions for controlling an automatic transmission and a power steering ECU 29 for controlling power steering is connected.
  • These ECUs 26 to 29 are referred to as travel system ECUs 26 to 29 as necessary.
  • the engine ECU 26 enables the vehicle to travel by driving an engine using, for example, gasoline fuel.
  • an ECU having various functions (for example, a parking ECU that detects the on / off state of the parking brake) is connected to the traveling bus 13, but the description thereof is omitted.
  • the engine ECU 26 is connected to various sensors such as a vehicle speed sensor, a throttle opening sensor, and an accelerator pedal opening sensor.
  • a brake pedal sensor is connected to the brake ECU 27.
  • the parking brake on / off detection sensor described above may be connected to the brake ECU 27.
  • a shift lever position sensor or the like is connected to the ECT ECU 28.
  • the shift lever position is a position such as parking (P), reverse (R), neutral (N), drive (D), etc., and the ECT ECU 28 can detect this position with a shift lever position sensor.
  • the bus of the multimedia network N3 (hereinafter referred to as multimedia bus) 14 includes, for example, a navigation ECU (hereinafter referred to as navigation ECU) 30 for controlling a navigation device to be controlled, an electronic toll collection system
  • An ECU such as an ETC ECU 31 for controlling (ETC: Electronic Toll Collection System: registered trademark) is connected.
  • ETC Electronic Toll Collection System: registered trademark
  • These ECUs 30 and 31 are referred to as multimedia ECUs 30 and 31 as necessary.
  • These multimedia ECUs 30 and 31 are vehicle electronic control devices that control multimedia electrical components for providing various types of information to the user as control targets.
  • FIG. 3 shows a basic electrical configuration example of various ECUs such as a navigation ECU.
  • the navigation ECU 30 communicates with other ECUs using a transceiver 40 for sending / receiving data to / from the bus 14 and a communication controller (not shown) that controls communication via the bus 14.
  • a microcomputer hereinafter referred to as a microcomputer 41 that realizes various functions assigned to the ECU in conjunction with the ECU.
  • the microcomputer 41 includes a CPU 42, a ROM 43, a RAM 44, and a flash memory 45, and the CPU 42 performs various processes based on a program stored in a memory as a non-transitional recording medium.
  • the gateway device 10 operates using the output voltage of the power supply circuit 49 that receives power from the battery power supply + B.
  • Various storage devices are connected to the navigation ECU 30, and map data, music data, and the like are stored in these storage devices.
  • the navigation ECU 30 periodically sends information on the current position of the vehicle acquired based on the position detector (eg, GPS receiver) and the map data in the storage device to the multimedia bus 14.
  • the ECUs 22 to 31 have substantially the same hardware configuration as the navigation ECU 30 shown in FIG. 3 although loads (sensors and actuators) connected to the ECUs 22 to 31 may be different from each other. 2 and 3, the gateway device 10 or the ECUs 22 to 31 detect the voltage value of the battery power source + B, the voltage value of the accessory power source ACC, and the voltage value of the ignition power source IG, respectively. Detectors 39a and 49a that compare with a predetermined threshold voltage and output a comparison result to the microcomputers 36 and 46 are provided.
  • a temperature sensor (not shown) for acquiring the operating temperature of each ECU 22 to 31 is connected to all or any of the ECUs 22 to 31, and each ECU 22 to 31 acquires sensor information of the temperature sensor. You can get information on operating temperature.
  • the body system ECUs 22 to 25 are supplied with a switch signal based on an ignition switch or push button for starting / stopping the engine, and the microcomputer 41 of the body system ECUs 22 to 25 responds to the switch signal with the accessory power supply ACC.
  • the output on / off of the ignition power supply IG is controlled using a relay (not shown).
  • the switch signal When this switch signal is OFF, only the battery power + B is supplied to the supply target ECU.
  • the switch signal is ACC
  • the accessory power supply ACC is supplied to the supply target ECU (any one or more of 22 to 31) and set to IG. Then, together with the accessory power supply ACC, the ignition power supply IG is supplied to the ECU to be supplied (any one or more of 22 to 31).
  • each of the ECUs 22 to 31 is connected to the gateway device 10 via a network, and each of the ECUs 22 to 31 is connected to a sensor SE such as the various sensors described above and a switch SW.
  • the sensor SE is a general term for various sensors (for example, a vehicle speed sensor, a water temperature sensor, a camera, an engine speed, a temperature sensor, an air temperature sensor, and a gasoline remaining amount sensor) connected to the ECUs 22 to 31.
  • the switches SW are connected to the ECUs 22 to 31 (for example, an ignition switch, a parking brake on / off detection sensor, a shift lever position sensor, a lock position switch, a seat belt judgment switch, a seating switch, etc.) Are collectively shown.
  • any one or more of the ECUs 22 to 31 is configured by connecting a display 46.
  • the display 46 is a vehicle-mounted display device such as a center information display (CID), a head-up display (HUD), or the like.
  • the indicator 46 may be a meter indicator of an instrument panel.
  • FIG. 6B shows an external view of a CID as the display unit 46.
  • the display unit 46 includes a display unit 46a and an operation unit 46b.
  • the operation unit 46b is configured using an operation switch group mounted on the side of the display unit 46a of the display unit 46 and / or a touch panel below the display screen of the display unit 46a, and configured to be operable by a vehicle user. .
  • a signal related to the operation is transmitted to the navigation ECU 30, and the microcomputer 41 of the navigation ECU 30 executes various processes.
  • the mobile terminal 5 includes a communication unit 5 c and a microcomputer 50 together with a display 5 a and an operation unit 5 b.
  • the microcomputer 50 includes a CPU, a ROM, a RAM, and the like (none of which are shown), and accepts an operation information for the operation unit 5b based on a program stored in a memory serving as a non-transitional recording medium and a display. Various processes such as a display process to 5a are performed.
  • the microcomputer 50 can access the DCM 21 shown in FIG. 1 by short-range wireless communication (for example, Bluetooth (registered trademark)) in addition to the outside network 7 by the communication unit 5c.
  • short-range wireless communication for example, Bluetooth (registered trademark)
  • FIG. 6A has shown the external view of the portable terminal 5, and is equipped with the indicator 5a and the operation part 5b on the external appearance.
  • the programs stored in the microcomputers 41 of the ECUs 22 to 31 shown in FIG. 1 are necessary programs that are executed when the ECUs 22 to 31 control the control target devices assigned to their ECUs. Update files and other non-update target files. That is, the update file indicates at least a part or all of the program files among the entire program files.
  • the gateway device 10 is connected to a network bus 15 for development, testing, and analysis, and an OBD (On-board diagnostics) connector 47 is connected to the bus 15.
  • OBD connector 47 can be connected to the monitor tool 48 from the outside when, for example, a vehicle designer, a dealer, or a worker at a repair shop is required.
  • the gateway device 10 receives all data sent to all the buses 11 to 15 and detects the state in the vehicle, that is, the operation state by the driver, the vehicle state, and the vehicle behavior.
  • the gateway device 10 includes in the flash memory 35 a travelability determination table TA1 in which conditions for updating the program are defined for each of the ECUs 22 to 31.
  • This travelability determination table TA1 does not have to indicate whether travel is possible in association with all of CANID, connection bus, and name, and whether travel is possible in association with any one of CANID, connection bus, or name. It only has to be written.
  • a part of the content of the travel propriety determination table TA1 will be described.
  • the door ECU 22 is connected to the body bus 12, for example, when the monitor tool 48 or the gateway device 10 gives 0x700 as CANID and transmits, the door ECU22 accepts this request, and the door ECU22 receives 0x708 as the CANID.
  • the power steering ECU 29 is connected to the traveling bus 13, but when the monitor tool 48 and the gateway device 10 transmit CANID 0x702 to the power steering ECU 29 via the bus 13, the power steering ECU 29 accepts this request, and the power steering ECU 29
  • the ECU 29 has a CANID of 0x70A and returns a response.
  • the monitor tool 48 or the gateway device 10 transmits a CANID with a number in the 700s
  • the corresponding ECU accepts this request and the number obtained by adding 8 to the CANID received by the ECU. And a response is returned, and information on whether or not the vehicle can travel is stored corresponding to each ECU.
  • the relationship information in which the CANID, ECU name, connection bus, and traveling availability are associated with each other is similarly associated with, for example, the standard format and the extended format defined in the CAN specification.
  • the travel propriety determination table TA1 indicates that the travel system ECUs 26 to 29 cannot travel during the update of the internal program.
  • the multimedia ECUs 30 and 31 are associated with the fact that they can run even while the internal program is being updated. Further, it is stored that the meter ECU 23 and the air conditioner ECU 24 connected to the body bus 12 can travel even during the internal program update.
  • update conditions at the time of travel / stop of the vehicle for example, the level of the remaining battery level, the level of the connected bus load, the level of the vehicle load, the vehicle interior temperature condition, etc.
  • the driving condition information may be associated with these update conditions and stored as related information, or may be set with exception conditions.
  • the CPU executes the program update process with reference to the travel propriety determination table TA1 stored in the flash memory 35 based on the program stored in the memory.
  • the processing of the gateway device 10 in FIG. 8 described below is processing performed by the microcomputer 36 executing a program, and the processing of the portable terminal 5 is performed by the built-in microcomputer 50 executing the program. Process.
  • the file server 2 reprograms the web server 3 through the network in step S2 of FIG. Notify event occurrence.
  • the event occurrence notification is received in step S3 of FIG.
  • the mobile terminal 5 may automatically access the web server 3 and receive an event occurrence notification.
  • the portable terminal 5 displays the event content on the display 5a as shown in FIG.
  • the mobile terminal 5 displays “Update data of in-vehicle program has been confirmed. Do you want to download?” On the display 5 a and displays a download button B 1 on the display 5 a. Display.
  • the portable terminal 5 When the vehicle user presses the download button B1 displayed on the display 5a of the portable terminal 5, for example, an update (download DL) request for the program update file is made.
  • the portable terminal 5 receives this request through the operation unit 5b using a touch panel.
  • the portable terminal 5 designates the update file by making a download request to the gateway device 10 through the web server 3 in step S4 of FIG.
  • the mobile terminal 5 may display the travel propriety information X2 on the display 5a, and in this case, the travel propriety information X2 may be displayed as “permitted”.
  • the web server 3 instructs the gateway device 10 to download the update file through the DCM 21 in step S4.
  • the gateway device 10 determines whether or not download is possible by determining the free capacity and resources of the flash memory 35 and the like. Whether the download is possible or not is determined by whether the remaining amount of the battery power + B mounted on the vehicle is sufficiently larger than a predetermined amount, for example, the voltage of the battery power + B is higher than a predetermined voltage, and the communication interface with the DCM 21
  • One or more or all of the conditions may be included such that the communication radio wave environment with 8 or / and 9 is stable, for example, the mutual received electric field strength level is a predetermined level or higher.
  • the gateway device 10 requests the file for update from the file server 2 through the DCM 21 in step S5 of FIG. 8 on condition that the download is possible.
  • the file server 2 distributes the update file to the gateway device 10 through the DCM 21 in step S6 of FIG. 8, and the gateway device 10 can download the update file in step S6.
  • the gateway device 10 When the gateway device 10 completes downloading the update file, it notifies the mobile terminal 5 that the download has been completed in step S7a in FIG. 8, and the mobile terminal 5 displays the download completion on the display 5a. Further, the gateway device 10 may transmit the download completion to the navigation ECU 30 as shown in step S7b of FIG. 8, and the navigation ECU 30 may display the download completion on the display unit 46.
  • FIG. 11 shows a display example of a download completion screen. Even at this time, the portable terminal 5 displays the travel propriety information on the screen of the display unit 5a.
  • the mobile terminal 5 also displays an update start button B2 on the download completion screen, and the mobile terminal 5 accepts a user pressing instruction for the update start button B2.
  • the vehicle user When the vehicle user confirms the download completion screen, the vehicle user operates the operation unit 5b of the portable terminal 5 or operates the operation unit 46b mounted on the display unit 46 to give an instruction to start reprogramming the update file.
  • a reprogram start instruction When a reprogram start instruction is given, the user issues an operation command (for example, an engine start command) for the in-vehicle device in response to, for example, operating a wireless key or a smart key from outside the vehicle. Then, power supplies for various operations are applied to the power supply circuit 39 of the gateway device 10 and the power supply circuits 49 of the ECUs 22 to 31.
  • the vehicle user issues an update start instruction by executing an application stored in the portable terminal 5 in step S8a and issues a reprogram execution instruction
  • the instruction information is transmitted to the web server 3.
  • the web server 3 notifies the gateway device 10 of an instruction through the DCM 21 in step S8a.
  • the navigation ECU 30 when the vehicle user makes an update request to the navigation ECU 30 by operating the operation unit 46b in step S8b, the navigation ECU 30 notifies the update request to the gateway device 10 and makes a reprogram execution request in step S8b of FIG. .
  • the gateway device 10 specifies an ECU (any one or more of 22 to 31) that is the reprogram slave RS according to the contents of the update file. Then, the gateway device 10 determines the boarding / alighting state in step S9 of FIG. 8, determines the vehicle state in step S10 of FIG. 8, and is specified when these states satisfy the necessary conditions. An update file is transmitted to the reprogram slave RS and a reprogram command is issued.
  • the gateway device 10 collates the CANID, connection bus or name of the reprogram slave RS with the travelability determination table TA1 to determine whether or not the vehicle can travel.
  • this information may be instructed to the mobile terminal 5 and the navigation ECU 30 for an initial notification.
  • the gateway device 10 determines that traveling is not possible when the reprogram slave RS is the ECU 26 to 29 connected to the traveling bus 13. In this case, the gateway device 10 may issue an initial notification command to the portable terminal 5 with the travel propriety information X2 indicating that the travel is impossible. Then, the vehicle user can recognize the travel propriety information X2 indicating that the mobile terminal 5 cannot travel by displaying the travel propriety information X2 indicating that the mobile terminal 5 cannot travel on the display 5a. In this case, the gateway device 10 does not output a reprogram execution command.
  • the determination conditions in step S9 are, for example, condition A1: no occupant is present in the vehicle, condition A2: the voltage of the battery power supply + B is equal to or higher than a predetermined value, condition A3: the door lock position is locked. Condition A4: The shift position is parked and the parking brake is on, Condition A5: The above conditions A1 to A4 are satisfied within a predetermined time from the reprogram start timing, It is to satisfy some or all of them.
  • the gateway device 10 obtains necessary information from the gateway device 10 itself or the ECUs 22 to 31 and determines whether the conditions A1 to A5 are satisfied, or the target ECU among the ECUs 22 to 31 determines the conditions A1 to A5. It is good to voluntarily determine whether or not it is satisfied.
  • the condition A1 may be determined by the above-described boarding determination process.
  • the condition A2 may be determined based on the output results of the detectors 39a and 49a that detect the detected value of the voltage of the battery power supply + B or / and the outputs of the power supply circuits 39 and 49.
  • the condition A3 may be determined based on, for example, a door lock / unlock state obtained by driving a door lock motor acquired by the door ECU 22.
  • the condition A4 may be determined based on, for example, sensor information of a shift lever position sensor acquired by the ECT ECU 28 or the like, and information on an on / off state detection sensor of a parking brake acquired from an ECU such as the parking ECU or the brake ECU 27.
  • the condition A5 is preferably such that the gateway device 10 or another ECU measures a time using, for example, a timer, and satisfies the conditions A1 to A4 before the measurement time passes a predetermined time. Thereby, boarding / alighting state can be determined in step S9.
  • condition A10 the gateway device 10, DCM 21, and the reprogram slave RS do not have any diagnostic abnormality
  • condition A11 the operation temperature of the gateway device 10, DCM 21, and reprogram slave RS is high. No, for example, operating within an appropriate operating temperature range
  • Condition A12 Replog Slave RS or ECU related to Replog Slave RS not being used
  • Condition A13 Battery power + B remaining amount is sufficient
  • A14 The remaining amount of gasoline is sufficient, for example, the remaining amount of gasoline is equal to or greater than a predetermined value
  • Condition A15 User confirmation is obtained when remote rewriting is performed according to a vehicle user instruction
  • Condition A16 Intermediate of gateway device 10 In the buffer area (equivalent to the storage unit) It yl is stored, a predetermined condition, such as.
  • the gateway device 10 acquires these pieces of information from the gateway device 10 itself, the DCM 21, the ECUs 22 to 31, and the like to determine the conditions A10 to A16, or the condition A10 to which the target ECU among the ECUs 22 to 31 corresponds. It is preferable to voluntarily determine whether or not to satisfy A16, and transmit the result to the gateway device 10 to determine whether or not the gateway device 10 comprehensively satisfies the conditions A10 to A16.
  • the condition A10 is desirably determined by the gateway device 10 acquiring diagnostic information indicating the content of the abnormality from the DCM 21, the ECUs 22 to 31 or the target ECU serving as the reprogram slave RS.
  • the condition A11 may be determined based on detection information of temperature sensors installed in the gateway device 10, the DCM 21, and the reprogram slave RS, for example.
  • the condition A12 may be determined based on the operation information of the reprogram slave RS and the operation information of the ECU related to the operation information.
  • condition A13 may be a condition that the detection voltage of the battery power source + B detected by the detection units 39a and 49a satisfies the condition that the detection voltage is equal to or higher than the threshold voltage, or the output voltage of the power supply circuits 39 and 49 is equal to or higher than a predetermined value.
  • the condition A14 may be determined based on detection information from a gasoline remaining amount sensor connected to the meter ECU 23, for example.
  • the gateway device 10 instructs the display 5a of the mobile terminal 5 to display a confirmation button (not shown) together with a message such as “Can I rewrite the program?”
  • a confirmation completion signal is transmitted to the gateway device 10 on the condition that the confirmation button is pressed by the vehicle user and this depression signal is accepted through the operation unit 5b, and the condition A15 is satisfied on the condition that the gateway device 10 accepts the confirmation completion signal. It is good to judge that it satisfies.
  • the condition A16 may be determined to be acceptable because the download DL has been completed without abnormality in step S6 of FIG. Thereby, a vehicle state can be determined.
  • the gateway device 10 When the gateway device 10 does not satisfy the conditions of Steps S9 and S10, the gateway device 10 instructs the portable terminal 5 to display the traveling permission / inhibition information X2 that is not permitted to be displayed on the display 5a. Then, it can be recognized that the vehicle user cannot travel. In this case, the gateway device 10 does not output a reprogram execution command until the conditions of steps S9 and S10 are satisfied.
  • the gateway apparatus 10 determines that the conditions of steps S9 and S10 are satisfied, the gateway apparatus 10 transmits an update file to the reprogram slave RS in step S11 of FIG.
  • the gateway device 10 may execute the reprogram execution command on the condition that the travel enable / disable described in the travel enable / disable table TA1 related to the ECU corresponding to the reprogram slave RS is not travelable and satisfies the conditions of steps S9 and S10. good. Furthermore, the gateway device 10 may issue a reprogram execution command on the condition that the travelability described in the travelability table TA1 related to all ECUs corresponding to the reprogram slave RS is travelable.
  • the reprogram slave RS When the gateway device 10 transmits an update file to the reprogram slave RS in step S11 of FIG. 8 and issues a reprogram execution command, the reprogram slave RS receives the update file and executes reprogram processing in step S12.
  • This rewriting process includes an entry, an old program erasing process, a new updating file writing process, a written updating file verifying process, a subsequent process, and the like.
  • the gateway device 10 when the gateway device 10 issues a reprogram execution command, information indicating that the reprogram is being executed and the stable state maintenance request include the reprogram slave RS and the navigation ECU 30 in steps SB and SC of FIG. It transmits to all other ECUs 22-31. By performing this process, the gateway device 10 can request all ECUs 22 to 31 including the reprogram slave RS to maintain the reprogramming enabled / disabled state and the traveling enabled / disabled state.
  • This stable state maintenance request is, for example, state C1: maintenance of whether or not each ECU 22 to 31 can be reprogrammed, state C2: engine start / stop key switch (or push button) or wireless key switch switch. Even if operated, the state of the ignition power supply IG or accessory power supply ACC is maintained and power supply to each of the ECUs 22 to 31 cannot be stopped.
  • State C3 Upon receiving a wireless operation instruction using a wireless key or a smart key used for keyless entry Also, the ECUs 22 to 31 are requested to maintain the door lock state, state C4: maintain the shift position in the parking state, and the like. Further, the gateway device 10 changes the subroutine of its own program so that the download is not executed even if the state C5: download user instruction is received.
  • each ECU 22 to 31 When each of the ECUs 22 to 31 receives the stable state maintenance request, each ECU 22 to 31 rewrites the contents held in the memory (for example, the RAM 44 and the flash memory 45) and controls the connection load (actuator) so as to maintain the states C1 to C4.
  • the memory for example, the RAM 44 and the flash memory 45
  • the connection load actuator
  • each of the ECUs 22 to 31 holds the data in the memory so as to set the reprogramming enabled / disabled state to non-rewritable.
  • the body system ECUs 22 to 25 prohibit the output stop by relay control of the accessory power source ACC and the ignition power source IG according to the change of the switch signal.
  • the door ECU 22 maintains the door lock state by maintaining the state of the door lock motor M1, and in order to maintain the state C4, the ECT ECU 28 maintains the shift position in the parking state.
  • the stable state maintenance request is provided to stably maintain the ECUs 22 to 31 including the reprogram slave RS in a state where reprogramming is possible by satisfying the conditions of steps S9 and S10.
  • this stable state maintenance request is stable even during reprogramming of each state in the vehicle (for example, the ignition power supply IG, the power supply voltage supply state by the accessory power supply ACC, the shift position, the vehicle unmanned state, etc.).
  • the gateway apparatus 10 can maintain each state of the vehicle, for example, prohibiting a door lock operation or holding the parking brake in an on state by making this stable state maintenance request, and reprogram processing. Can be executed stably.
  • the reprogram slave RS starts reprogramming.
  • the reprogram slave RS notifies the gateway device 10 of a travel permission / prohibition signal at a start timing for executing the update file rewriting process.
  • ECUs other than the ECU constituting the reprogram slave RS (particularly, the ECUs 26 to 29 connected to the traveling bus 13) also transmit a travel propriety signal to the gateway device 10 in response to a request from the gateway device 10, for example.
  • the gateway device 10 receives the plurality of travel enable / disable signals, if it receives a signal indicating that travel is not possible from any one of the ECUs in step S13, the gateway device 10 preferentially receives this travel disable information. And good.
  • the gateway device 10 determines that it can travel in step S13 of FIG. 8 without accepting such information indicating that travel is not possible, the gateway device 10 outputs a travel enable notification signal to the travel bus 13, for example. Then, the ECUs 26 to 29 connected to the traveling bus 13 return the program processing routine to a state where traveling is possible. Further, when it is determined in step S13 in FIG. 8 that the gateway device 10 can travel, the gateway device 10 issues a notification command in step S14 in FIG. At this time, for example, the gateway device 10 notifies the user's portable terminal 5 and / or the navigation ECU 30 of a travel enable notification signal. For example, when the mobile terminal 5 receives the travel enable notification signal, as shown in FIG.
  • the mobile terminal 5 causes the display 5a to display the progress status X1, the travel availability information X2, and the cancel button B3 related to the program update.
  • the display screen of the display 5a a message indicating that the vehicle can run even during program update is displayed.
  • the gateway device 10 does not output a travel enable notification signal to the travel bus 13 when it receives a travel enable / disable signal indicating that it cannot travel from any one ECU in step S13. At this time, the ECUs 26 to 29 connected to the traveling bus 13 determine that traveling is impossible and disable traveling control. Further, the gateway device 10 may output a travel impossibility notification signal to the travel bus 13. Also at this time, the ECUs 26 to 29 connected to the traveling bus 13 determine that traveling is impossible and disable traveling control.
  • the gateway device 10 issues a command to notify the travel availability information X2 indicating that travel is not possible in step S15 of FIG.
  • the portable terminal 5 receives a signal indicating that traveling is not possible, or when it has not received that traveling is possible, as shown in FIG. 12B, it displays traveling availability information X2 indicating that traveling is not possible. To display. At this time, it is desirable to display the remaining time information X3b indicating, for example, how many seconds it is possible to travel with the traveling availability information X2 on the display 5a of the portable terminal 5.
  • the execution completion information is notified to the gateway device 10, and the gateway device 10 notifies the portable terminal 5 of the reprogram completion information.
  • the portable terminal 5 enables the traveling availability information X2 and clearly indicates to the vehicle user by displaying that traveling is possible.
  • Fig. 9 shows a sequence diagram when an interruption request is made.
  • the vehicle user makes an interruption request by operating the portable terminal 5 and pressing the cancel button B3.
  • the interruption request is given to the gateway device 10 through the web server 3 and the DCM 21.
  • the gateway device 10 requests interruption by transmitting an interruption command to the reprogram slave RS in step S21 of FIG.
  • the reprogram slave RS stops the program update process without affecting the travel, or sets the program update process to the initial state to return to the travelable state and interrupts the rewriting.
  • the gateway apparatus 10 transmits a driving possibility notification signal as a driving propriety signal in step S23 of FIG.
  • the data is transmitted to the mobile terminal 5 through the DCM 21 and the web server 3 or transmitted to the navigation ECU 30.
  • the mobile terminal 5 receives this travel enable notification signal, as shown in FIG. 13, the mobile terminal 5 causes the display 5 a of the mobile terminal 5 to display travel enable / disable information X2 indicating that travel is possible. Thereby, it can be judged that the vehicle user can run. Further, the gateway device 10 transmits a travel enable notification signal to the travel bus 13. Then, the ECUs 26 to 29 connected to the traveling bus 13 can determine that they can travel, and return the processing to the vehicle travelable processing routine.
  • the mobile terminal 5 makes an interruption request through the web server 3, but when making an interruption request in the vehicle, another ECU (for example, the navigation ECU 30) transmits the interruption request to the gateway device 10. To do. As a result, the processing is interrupted.
  • another ECU for example, the navigation ECU 30
  • the gateway apparatus 10 since the gateway apparatus 10 has instructed the mobile terminal 5 to display the travel enable / disable information X2, the display 5a can appropriately notify the vehicle user of the drive availability. As a result, the vehicle user can confirm whether or not the vehicle can travel and can immediately determine whether or not the vehicle can be driven. For example, when the system 1 is executing a reprogram of a portion that does not directly affect driving, the vehicle user can be informed that driving is possible, so that the vehicle user can drive as quickly as possible.
  • the gateway device 10 accepts the interruption request when the vehicle user presses the cancel button B3. At this time, when the gateway apparatus 10 accepts this interruption request, it sends an interruption command to request interruption of the update file rewrite processing. At this time, even in the case of an emergency, the reprogram slave RS stops the program update process without affecting the travel, or sets the program update process as an initial state to return to the travelable state and interrupts the rewriting. Then, the gateway device 10 instructs the mobile terminal 5 to display that it can travel after completion of the interruption.
  • the gateway device 10 may transmit an interruption command when it is necessary to interrupt rewriting by determining the operation of the mobile terminal 5 by the vehicle user.
  • the gateway device 10 checks the CANID, connection bus, or name of the reprogram slave RS against the travelability determination table TA1 to determine whether or not the travel is possible, and the display device 5a instructs the mobile terminal 5 to display this travelability information, Since the traveling propriety information X2 is displayed, the vehicle user can immediately confirm the traveling propriety information X2.
  • the gateway device 10 instructs the reprogram slave RS to execute a reprogram on the condition that it is determined that the travel capability of the ECU corresponding to the reprogram slave RS stored in the travel propriety determination table TA1 is allowed to run, the reprogram processing is performed. Can be executed immediately without having to wait.
  • the gateway device 10 When the gateway device 10 receives a travel propriety signal from the reprogram slave RS or an ECU other than the ECU constituting the reprolog slave RS, the gateway device 10 instructs the portable terminal 5 to display the travel propriety information X2 related to the travel propriety signal. For this reason, the vehicle user can check the travel propriety information X2.
  • FIG. 14 shows a display screen instead of FIG. 11 as a modified example, but, for example, a waiting time after the start of update may be displayed before starting the reprogramming. That is, as shown in FIG. 14, in response to the display command of the gateway device 10, the mobile terminal 5 displays the remaining time information X ⁇ b> 3 b of “It is necessary to wait for x0 seconds to travel after starting updating” on the mobile terminal 5. It may be displayed on the device 5a.
  • any of the boarding / alighting conditions A1 to A5 determined in step S9 in FIG. 8 may be provided as necessary.
  • the boarding / alighting state in step S9 in FIG. 8 satisfies the determination condition when the conditions A2 to A5 are satisfied. Therefore, even if the user gets on the vehicle, for example, the door lock is performed. If the door lock condition A3 is satisfied by entering the locked state, the condition A4 is satisfied by holding the shift lever and the parking brake in the predetermined state described above, and the vehicle power supply condition A2 and the time condition A5 are satisfied. The conditions of the boarding / alighting state of S9 are satisfied.
  • step S9 of FIG. 8 a reprogram execution command is output to the reprogram slave RS. Since the user is on board, if the user subsequently performs various operations on the vehicle equipment, the vehicle state may change and the reprogram may fail.
  • the gateway apparatus 10 provide a process for outputting a stable state maintenance request to the reprogram slave RS and other ECUs in steps SB and SC of FIG. Then, each of the ECUs 22 to 31 can stably maintain the vehicle state.
  • an erroneous operation of the vehicle operation unit (operation unit 46b, key switch or push switch, shift lever, handle, accelerator, etc.) by the user It is possible to prevent the vehicle from starting erroneously, reprogram processing failure, and the user's escape from the vehicle.
  • any of the determination conditions A10 to A16 in step S10 may be provided as necessary. Further, the present invention can be similarly applied to the case where the status of the program update process is displayed on the display screen of the display 46 serving as the in-vehicle display device.
  • (Second Embodiment) 15 to 19 show additional explanatory views of the second embodiment. Since the present embodiment is characterized by the progress display command process and the progress determination process, the progress display command process and the progress determination process will be described. As shown in the first embodiment, when the reprogram slave RS receives the update file, it executes reprogram processing.
  • the progress display command process and the progress determination process according to the present embodiment are processes performed by the gateway device 10 serving as the reprogram master RM, and are performed in parallel while the reprogram slave RS is performing the reprogram process. Process.
  • the mobile terminal 5 is equipped with a GPS receiver that receives a GPS signal, and has a position specifying function for specifying a position based on the GPS receiver.
  • the gateway device 10 determines a notification medium.
  • the notification medium indicates various display media such as a display 46 connected to various ECUs, a display such as an LED 38 mounted on the mobile terminal 5, for example, the gateway device 10, and the like.
  • FIG. 16 is a flowchart showing the flow of the notification medium determination method.
  • the gateway device 10 specifies the distance of the mobile terminal 5 from the vehicle in step V1.
  • the gateway device 10 receives the current position by the position specifying function of the mobile terminal 5, compares the current position with the current position specified by the navigation ECU 30, and determines whether the mobile terminal 5 exists around the vehicle. Determine whether or not.
  • whether or not communication is established by a short-range wireless technology (for example, a communicable range of about 10 to 100 m) may be used as a determination material.
  • a short-range wireless technology for example, a communicable range of about 10 to 100 m
  • Bluetooth technology it is determined whether or not pairing is performed. Based on the determination result, it may be determined whether or not the vehicle exists around the vehicle.
  • the gateway device 10 determines NO in step V2, and determines the notification medium as the mobile terminal 5 possessed by the user in step V3. Conversely, when the gateway device 10 determines that the mobile terminal 5 is present around the vehicle, the gateway device 10 determines YES in step V2, and the gateway device 10 determines whether the user is getting on or off the vehicle in step V4. Identify.
  • the gateway device 10 may be specified by using a seating sensor or an intrusion sensor installed in advance in the vehicle interior as shown in the above-described embodiment.
  • the gateway device 10 determines the in-vehicle display device in step V6.
  • This in-vehicle display device represents the display 46, and is a display device such as a CID, a HUD, an instrument panel, and the like that is installed at a position where it can be directly visually recognized from the inside of the vehicle determined to be present. For this reason, if the driver is on board, the information displayed on the display screen of these in-vehicle display devices can be confirmed immediately.
  • the gateway device 10 determines the notification medium to be the user's portable terminal 5 and the LED 38 in step V7.
  • the gateway device 10 determines, for example, the LED 38 in step V7
  • the flashing cycle is lengthened when the progress status X1 is close to 0%, and the flashing cycle is gradually shortened when the progress status X1 is close to 100%.
  • the color of the LED 38 may be changed. For this reason, even if the driver is not in the vehicle, the vehicle user or the like can immediately confirm the information by confirming the lighting / flashing state of the display 5a or the LED 38 of the portable terminal 5.
  • the gateway device 10 determines to display on the mobile terminal 5, the gateway device 10 instructs the mobile terminal 5 to display the content shown in FIG. 17A.
  • the mobile terminal 5 displays the progress status X1, the travel propriety information X2, and the cancel button B3 on the display 5a.
  • the progress status X1 indicates 0%
  • the travel propriety information X2 indicates that travel is possible
  • the cancel button B3 is displayed so as to accept the update interruption.
  • step U2 After the gateway device 10 determines the notification medium, the process returns to the process of FIG. 15, and it is determined in step U2 whether the reprogram is in progress or has been completed.
  • the gateway apparatus 10 performs the series of processes shown in FIGS. 15 and 16, the processes described in the first embodiment are performed in parallel.
  • step U3 the progress is calculated.
  • the gateway device 10 can grasp the transmission end update file by transmitting an update file to the reprogram slave RS and receiving a response signal from the reprolog slave RS.
  • the gateway device 10 divides an update file at the time of reprogramming into messages in accordance with a standard such as UDS (Unified Diagnostic Services) defined by ISO14229, which is a diagnostic communication specification of a passenger car ECU, and transmits it to a reprogram slave RS. To do. At this time, the gateway device 10 transmits a service ID (SID34) indicating the start of data transfer to the reprogram slave RS, and then transmits the data a plurality of times together with a service ID (SID36) indicating the actual data transfer. A service ID (SID 37) indicating the above is transmitted.
  • a service ID SID34
  • the microcomputer 36 of the gateway device 10 can determine the progress status according to the transmission data amount transmitted to the reprogram slave RS.
  • the microcomputer 36 of the gateway device 10 may calculate the progress rate as the progress status by dividing the total amount of rewrite data amount of the update file by the transmission data amount transmitted to the reprogram slave RS.
  • the progress may be determined according to the percentage of the number of repetitions of the SID 36 indicating actual data transfer with respect to the total number of times, or a series of these service IDs (SID34, SID36, The number of transmission repetitions of SID 37) may be counted, and the progress status may be determined according to the number of transmission repetitions.
  • the progress status may be determined based on what percentage of the total number of update files the number of update files transmitted to the reprogram slave RS is, that is, the number of update files.
  • the gateway device 10 transmits an update file for which ECU.
  • the progress status may be determined. That is, the progress status may be determined according to the number of transmissions to the ECU.
  • the ECUs 22 to 31 serving as the reprogram slave RS mainly include the microcomputer 41 shown in FIG. 3, the microcomputer 41 includes a main main microcomputer and sub-microcomputers, and is configured to include a plurality of microcomputers as a whole. In some cases. In such a case, the update file may be reprogrammed for each of these main microcomputers and sub-microcomputers. In such a case, the main microcomputer and sub-microcomputer are regarded as one microcomputer, and the entire update is performed. The progress status may be determined according to what percentage of update files stored in the microcomputer are transmitted with respect to the number of target main microcomputers and sub-microcomputers.
  • the rewriting completion prediction time may be calculated according to the data amount of the update file, and the progress status may be determined using the time from the start of rewriting to the calculated rewriting completion prediction time.
  • These progress determination methods can also be used in combination.
  • the detailed progress status X1 can be acquired, and the progress can be displayed with finer display granularity of the percentage on the indicators 5a, 46, etc.
  • the gateway device 10 determines whether or not the vehicle can travel in step U4.
  • the gateway device 10 compares the CANID, connection bus, name, and other relevant information of the reprogram slave RS with the travel enable / disable determination table TA1 to read out and determine the travel enable / disable.
  • the travel availability information X2 is displayed on the display 5a of the portable terminal 5 together with the progress status X1.
  • the gateway device 10 calculates the time until the vehicle is allowed to travel based on the above-described progress situation in step U7 when the travel possibility determined in step U4 is not possible, and the vehicle is allowed to travel in step U8.
  • the remaining time until is displayed. This remaining time is based on the remaining processing amount obtained by subtracting the processing amount (for example, the transmission data amount, the receiving data amount, the number of update files, the number of blocks, the ratio of the number of ECUs, etc.) with respect to the entire processing amount. Calculated.
  • the gateway device 10 uses the progress status X1 and the traveling availability information X2 as well as the remaining time information X3b until traveling is possible. Displayed on the display 5a. Thereafter, when the reprogramming is completed, the reprogram slave RS notifies the gateway device 10 of this, so the gateway device 10 notifies the mobile terminal 5 of this fact. As a result, the portable terminal 5 displays on the display 5a that reprogramming is complete and ends.
  • a cancel button B3 for forced interruption by the user may be displayed on the display screen of the display 5a.
  • the microcomputer 50 of the portable terminal 5 accepts this request.
  • the mobile terminal 5 transmits this request to the gateway device 10.
  • the gateway device 10 interrupts the reprogram update file transmission process.
  • the gateway device 10 when the gateway device 10 is reprogramming the ECUs 26 to 29 connected to the traveling bus 13, for example, when it is determined that the reprogramming cannot be interrupted, the gateway device 10 sets the cancel button B3 to an unenabled state, and can be interrupted. At this time, the cancel button B3 may be enabled.
  • FIG. 18 shows a flow of processing contents of the gateway device 10 and the portable terminal 5 at the time of interruption.
  • the mobile terminal 5 receives the cancel button B3
  • information about pressing of the cancel button B3 is notified from the mobile terminal 5 to the gateway device 10 through the DCM 21.
  • the gateway device 10 stops rewriting in a state where the travel is not affected in step W2. That is, the reprogram slave RS transmits the travel propriety information as shown in the above-described embodiment, but the gateway device 10 receives the travel propriety information, and the gateway device 10 until the travel propriety information at this time becomes travelable.
  • the rewriting process is stopped at a timing when the vehicle waits and the vehicle can run.
  • the CPU 32 of the gateway device 10 stores this rewrite cancellation information in a storage medium such as the flash memory 35.
  • the gateway device 10 determines the time until the timing at which safe driving is possible even if the update file rewriting process is stopped halfway or the timing at which the reprogram processing is stopped and returned to the program before rewriting. The time is calculated as a time that does not affect the travel, and this time is notified to the mobile terminal 5. Then, as shown in FIG. 17C, the portable terminal 5 displays the notified time information X3c on the display 5a together with the reception message X3d of the cancel button B3 such as “Cancel”.
  • the portable terminal 5 counts the calculated time information X3c using a timer or the like, and when this time has elapsed, in step W3, the travel propriety information X2 is changed from “No” to “Yes”, and “Running is possible”. Is displayed on the display 5a. See FIG. 17D.
  • the timing at which the mobile terminal 5 displays the travelable message X3e on the display screen of the display 5a is connected to the reprogram slave RS or another ECU (for example, the travel bus 13) that allows the gateway device 10 to travel. It is desirable that it is received from the ECUs 26 to 29). That is, after notifying the portable terminal 5 of the time information X3c, the gateway device 10 determines whether or not the vehicle can travel based on the travel availability information received from the reprogram slave RS, and at the timing when the travel availability information becomes possible to travel. 5 is notified, and then the portable terminal 5 preferably displays the travelable message X3e on the display 5a. Then, it can be understood that the user can travel, and the user can start driving the vehicle safely.
  • the gateway device 10 determines whether or not the vehicle can travel based on the travel availability information received from the reprogram slave RS, and at the timing when the travel availability information becomes possible to travel. 5 is notified, and then the portable terminal 5 preferably displays the travelable message X3e on
  • the gateway device 10 mainly starts the reprogram processing.
  • the gateway device 10 refers to the flash memory 35 when the engine is started again and confirms that the rewrite stop information is stored, the gateway device 10 starts the reprogram processing.
  • the gateway device 10 calculates the time until the vehicle can run, and notifies the portable terminal 5 of the remaining time information X3b until the vehicle can run through the DCM 21. Then, as shown in FIG. 17E, the portable terminal 5 switches the travel propriety information X2 from “permitted” to “not permitted” and displays it on the display 5a, and displays the remaining time information X3b on the display 5a.
  • the gateway device 10 When the gateway device 10 accepts that the reprogramming is completed from the reprogram slave RS, the gateway device 10 clears the rewrite cancellation information stored in the flash memory 35 and notifies the portable terminal 5 of the completion information. Displays the progress status X1 as 100%, and informs the user that the vehicle can be traveled from the “not permitted” to the “permitted” information. See FIG. 17F. Accordingly, the user can recognize that the reprogram has been completed and can understand that the vehicle can travel safely and can start driving.
  • the gateway device 10 since the gateway device 10 issues a display command, the mobile terminal 5 displays the travel enable / disable information X2 on the display 5a. Therefore, it is possible to appropriately notify the vehicle user of the travel enable / disable. The user can determine whether or not driving is possible, thereby ensuring safety.
  • the vehicle user can be appropriately notified of the progress status X1.
  • the vehicle user can roughly grasp the time until the end of the program update when the progress status is notified through the notification medium. Therefore, the vehicle user can determine whether the program is being updated, and can prevent the vehicle from starting accidentally as much as possible. Thereby, safety can be ensured.
  • the vehicle user can grasp the progress status X1
  • the display granularity is rough, such as during reprogramming or two stages of reprogramming
  • the vehicle user can only grasp whether or not the reprogramming has been completed. In such a case, if the reprogram time is long, it may be determined that the reprogram has failed.
  • the progress status is determined according to the amount of transmission data transmitted by the gateway device 10 to the reprogram slave RS, the progress status is determined according to the number of transmission completions of the ECU, and the update processing that has been subjected to transmission processing.
  • the progress status is determined according to the number of files, the rewrite completion prediction time is calculated, and the progress status is determined using the time from the start of rewriting to the rewrite completion prediction time.
  • the portable terminal 5 in response to the display command from the gateway device 10, the portable terminal 5 can notify that the progress is normally progressing as finely as possible, such as displaying the granularity of the progress display as a percentage. For this reason, the vehicle user can wait for reprogram end in comfort.
  • the portable terminal 5 displays the remaining time information X3b on the display 5a when the gateway device 10 issues a display command, the user can accurately determine how long the vehicle can be driven by waiting. . The user can effectively use the waiting time.
  • the mobile terminal 5 is configured to display the cancel button B3 on the display 5a and to accept the pressing of the cancel button B3, the user can issue a stop instruction at a timing at which the user wants to stop.
  • the gateway device 10 and the reprogram slave RS are in a state that does not affect the travel and continue to be reprogrammed without stopping until it is determined that travel is possible.
  • the user can drive in a program rewriting state that does not affect the vehicle running and can drive safely.
  • FIG. 19 collectively shows the processing contents of the gateway apparatus 10 serving as the reprogram master RM according to this embodiment.
  • the gateway device 10 receives a reprogramming instruction from the outside, the gateway device 10 executes the reprogramming in step Y1, and then calculates and determines the progress status X1 in step Y2.
  • the gateway device 10 determines whether or not the vehicle can travel in Step Y3, and in Step Y4 instructs the display device (for example, the display device 5a and the LED 38) to display the travel availability information X2 and the progress status X1.
  • the display device for example, the display device 5a and the LED 38
  • the user can grasp the detailed progress status X1, and there is no mistaken operation during rewriting, and even if a remote rewriting command is given, it can be safely rewritten.
  • the gateway device 10 repeats the processing from step Y1 until the reprogramming is completed.
  • the reprogram completion determination method is preferably determined by accepting the reprogram completion information from the reprogram slave RS and determining that the reprogram has been completed at the timing deemed complete, but when the update file has been transmitted to the reprogram slave RS Alternatively, it may be determined that the reprogram has been completed at a timing after a predetermined time has elapsed.
  • the gateway device 10 mainly determines the progress status and whether or not the vehicle can travel, and issues a display command to the display (for example, 5a). According to such a form, the gateway apparatus 10 can control information in an integrated manner.
  • FIGS. 20 and 21 show additional explanatory views of the third embodiment.
  • 20 and 21 are flowcharts showing processing contents of the gateway device 10 and the reprogram slave RS that are the reprogram master RM according to the present embodiment.
  • the processing contents of the gateway device 10 serving as the reprogram master RM illustrated in FIG. 19 may be shared by the reprogram slave RS.
  • the replog slave RS is mainly responsible for calculating and determining the progress status in step T1, determining whether or not the vehicle can travel in step T2, and transmitting the progress status and information indicating whether or not the vehicle can travel to the replog master RM in step T3.
  • the reprogram slave RS may determine the progress status according to the received data amount of the update file received from the gateway device 10.
  • the reprogram slave RS may determine the progress status by calculating the progress ratio by dividing the received data amount received by the total data amount of the update file received from the gateway device 10 in advance. At this time, the progress status may be determined according to what percentage of the number of repetitions of the SID 36 indicating actual data transfer has advanced with respect to the total number of times.
  • the gateway device 10 serving as the replog master RM acquires the progress status and the travel propriety information from the replog slave RS in step Y15, and instructs the display (for example, 5a) to display in step Y16.
  • the gateway device 10 serving as the reprogram master RM can periodically acquire the progress information from the reprogram slave RS by outputting the service ID (SID22).
  • the processing load can be shared between the gateway device 10 and the reprogram slave RS. Since the reprogram completion timing is determined based on the completion information of the reprogram slave RS, the reprogram completion timing can be accurately determined.
  • either the reprogram master RM or the reprogram slave RS may perform the determination process of whether or not traveling is possible and the determination process of the progress status.
  • the present disclosure is not limited to the above-described embodiment, can be implemented with various modifications, and can be applied to various embodiments without departing from the gist thereof. For example, the following modifications or expansions are possible.
  • the present invention is not limited to this, and the progress is made to the web server 3 side of the center apparatus 4.
  • the progress situation X1 may be confirmed by transmitting the situation and allowing the user to access the web server 3 by operating the operation unit 5b of the portable terminal 5.
  • the web server 3 is configured as a notification medium. The same applies to the above-described travel propriety information X2.
  • the relationship between the CANID or ECU name set in the table TA1 of the above-described embodiment and the propriety of traveling is merely an example, and the present invention is not limited to this.
  • the ECUs 22 to 31 of the respective systems are connected to the buses 12 to 14 such as the body bus 12, the traveling bus 13, and the multimedia bus 14; It is not restricted to what was demonstrated by the above-mentioned embodiment.
  • the ECUs 22 to 31 of each system are connected to the buses 12 to 14 such as the body bus 12, the traveling bus 13, and the multimedia bus 14, but the present invention is not limited to this. It is not something.
  • some or all of these ECUs 22 to 31 may be connected to one bus.
  • the ECUs 22 to 25 connected to the body bus 12 and the ECUs 30 and 31 connected to the multimedia bus 14 may be connected to the same bus.
  • the connection bus system of the ECUs 22 to 31 may be changed.
  • at least two or more functions of each ECU 22 to 31 may be integrated into one ECU.
  • the gateway device 10 is used as the reprogram master RM.
  • the present invention is not limited to this.
  • any one of the ECUs other than the ECU functioning as the reprogram slave RS, any one of the mobile terminal 5 and the monitor tool 48 may function as the reprogram master RM.
  • the gateway device 10 includes the travel availability determination table TA1, but the embodiment is not limited thereto.
  • the travel propriety determination table TA1 is stored in any of the ECUs 22 to 31 or the portable terminal 5 and the travel propriety determination table TA1 is shared in the system 1 may be adopted.
  • the LED 38 is shown connected to the gateway device 10, it may be connected to other ECUs 22 to 31.
  • the display unit 46 is shown connected to the navigation ECU 30, it may be connected to other ECUs 22 to 29, 31.
  • the various sensors described above may not be connected to the target ECU described above.
  • These various sensors (for example, a parking brake on / off state detection sensor, shift lever position sensor, gasoline remaining amount sensor) are connected to ECUs other than those described above, and communicate with each other through buses 11-15.
  • the gateway device 10 and other ECUs may acquire these sensor information.
  • the notification medium is not limited to the above-described embodiment, and for example, through a navigation ECU 30 or an audio ECU (not shown). You may apply to the form which alert
  • the present invention is not limited to this.
  • a volatile memory such as a RAM or a nonvolatile memory such as an EEPROM may be applied as the storage unit. You may comprise combining several embodiment mentioned above.
  • FIG. 16 shows an embodiment in which the vehicle user's boarding / alighting state is specified on the assumption that the mobile terminal 5 is present in the vicinity of the vehicle in step V2 in FIG. 16, but is not limited thereto. That is, step V2 may be provided as necessary.
  • Any of the mobile terminal 5, the gateway device 10, the ECU other than the reprogram slave RS, and the monitor tool 48 constitute a reprolog master RM.
  • Any one or more of the ECUs 22 to 31 constitutes a reprogram slave RS.
  • the microcomputer 36 or 41 of the replog master RM is configured as an acquisition unit that acquires the propriety of traveling.
  • the microcomputer 36 or 41 of the reprogram master RM is configured as a boarding / alighting state determination unit that determines a boarding / alighting state of a vehicle occupant.
  • the microcomputer 36 or 41 of the reprogram master RM is configured as a vehicle state determination unit that determines the operation / non-operation state of the engine.
  • the interruption request that transmits an interruption command to the reprogram slave RS and requests interruption of the rewrite processing of the update file. Configured as part.
  • the microcomputer 36 or 41 of the reprogram master RM is configured as a reprogram execution command unit that commands the reprogram slave RS to perform a reprogram.
  • the reprogram execution command unit transmits the reprogram execution command to the reprogram slave RS
  • the microcomputer 36 or 41 of the reprogram master RM determines whether or not the reprogram can be performed and whether the vehicle can run or not to all ECUs including the reprogram slave RS. It is configured as a stable state maintenance request unit that requests maintenance of a state.
  • the microcomputer 36 or 41 of the reprogram master RM is configured as a notification command unit that issues a notification command to the notification medium (the portable terminal 5, the LED 38, the display 46) of the information relating to the travel propriety signal.
  • the microcomputer 36 or 41 of the reprogram master RM is configured as a distance specifying unit that specifies the distance from the vehicle of the terminal 5 operated by the vehicle user.
  • the microcomputer 36 or 41 of the reprogram master RM is configured as a presence / absence determination unit that determines whether or not the terminal is present around the vehicle according to the distance specified by the distance specifying unit.
  • the microcomputer 36 or 41 of the reprogram master RM is configured as a boarding / alighting state specifying unit.
  • the web server 3, the display 5a, the LED 38, and the display 46 are configured as an informing medium for informing whether or not traveling is possible or the progress status.
  • the display 46 is configured as an in-vehicle display device.
  • the flash memories 35 and 45 are configured as a storage unit.
  • the reprogram master RM includes a progress determination unit that determines the progress status, a progress notification command unit that issues a notification command of the progress status, a progress notification control unit that controls the progress status, and a progress that controls display of the progress status. It is configured to realize at least a part of functions of a display control unit, a progress status acquisition unit that acquires a progress status, and a travel propriety determination unit that determines whether or not the vehicle can travel.
  • the functions of the progress determination unit and the travel propriety determination unit may be included in the reprogram slave RS.
  • 1 is a vehicle system
  • 3 is a web server (notification medium)
  • RM is a reprogram master (vehicle device)
  • RS is a reprogram slave
  • 36 is a microcomputer (determination unit, acquisition unit, notification command unit, reprogram).
  • An execution command unit, a boarding / alighting state determination unit, a vehicle state determination unit, a distance specifying unit, a presence / absence determination unit, 41 is a microcomputer (determination unit, acquisition unit, notification command unit, reprogram execution command unit, boarding / alighting state determination unit, Vehicle state determination unit), 5 is a portable terminal (notification medium, terminal), 35 is a flash memory (storage unit), 38 is an LED (notification medium), 45 is a flash memory (storage unit), 46 is a display (vehicle display) (Device, terminal, notification medium), TA1 indicates a travel propriety determination table.
  • the functions of one constituent element may be distributed to a plurality of constituent elements, or the functions of a plurality of constituent elements may be integrated into one constituent element.
  • at least a part of the configuration of the above-described embodiment may be replaced with a known configuration having a similar function.
  • some or all of the configurations of the two or more embodiments described above may be added in combination with each other or may be replaced.

Landscapes

  • Engineering & Computer Science (AREA)
  • Theoretical Computer Science (AREA)
  • General Engineering & Computer Science (AREA)
  • Physics & Mathematics (AREA)
  • General Physics & Mathematics (AREA)
  • Software Systems (AREA)
  • Computer Networks & Wireless Communication (AREA)
  • Signal Processing (AREA)
  • Computer Security & Cryptography (AREA)
  • Mechanical Engineering (AREA)
  • Quality & Reliability (AREA)
  • Stored Programmes (AREA)
  • Information Transfer Between Computers (AREA)
  • Small-Scale Networks (AREA)
PCT/JP2017/014673 2016-06-09 2017-04-10 車両用装置 Ceased WO2017212772A1 (ja)

Priority Applications (3)

Application Number Priority Date Filing Date Title
DE112017002909.0T DE112017002909T5 (de) 2016-06-09 2017-04-10 Fahrzeugvorrichtung
CN201780035209.3A CN109313591B (zh) 2016-06-09 2017-04-10 车辆用装置
US16/211,473 US10908890B2 (en) 2016-06-09 2018-12-06 Vehicle device

Applications Claiming Priority (2)

Application Number Priority Date Filing Date Title
JP2016115308A JP6414568B2 (ja) 2016-06-09 2016-06-09 車両用装置
JP2016-115308 2016-06-09

Related Child Applications (1)

Application Number Title Priority Date Filing Date
US16/211,473 Continuation US10908890B2 (en) 2016-06-09 2018-12-06 Vehicle device

Publications (1)

Publication Number Publication Date
WO2017212772A1 true WO2017212772A1 (ja) 2017-12-14

Family

ID=60577717

Family Applications (1)

Application Number Title Priority Date Filing Date
PCT/JP2017/014673 Ceased WO2017212772A1 (ja) 2016-06-09 2017-04-10 車両用装置

Country Status (5)

Country Link
US (1) US10908890B2 (enExample)
JP (1) JP6414568B2 (enExample)
CN (1) CN109313591B (enExample)
DE (1) DE112017002909T5 (enExample)
WO (1) WO2017212772A1 (enExample)

Cited By (1)

* Cited by examiner, † Cited by third party
Publication number Priority date Publication date Assignee Title
US12175236B2 (en) * 2022-02-15 2024-12-24 Honda Motor Co., Ltd. Operation management device and operation management method

Families Citing this family (48)

* Cited by examiner, † Cited by third party
Publication number Priority date Publication date Assignee Title
JP6805559B2 (ja) 2016-06-09 2020-12-23 株式会社デンソー リプログマスタ
US10479297B2 (en) * 2016-10-27 2019-11-19 Sumitomo Electric Industries, Ltd. Control apparatus, program updating method, and computer program
JP6915500B2 (ja) * 2017-11-06 2021-08-04 トヨタ自動車株式会社 更新システム、電子制御装置、更新管理装置、及び更新管理方法
JP6897630B2 (ja) * 2018-05-11 2021-07-07 株式会社オートネットワーク技術研究所 車載更新装置、更新処理方法及び更新処理プログラム
JP7131475B2 (ja) 2018-05-15 2022-09-06 株式会社デンソー 電子制御装置、セッション確立プログラム及び制御プログラム
JP7068932B2 (ja) * 2018-06-01 2022-05-17 三菱電機株式会社 通信システム
WO2020022265A1 (ja) 2018-07-25 2020-01-30 株式会社デンソー 車両用電子制御システム、プログラム更新の承諾判定方法及びプログラム更新の承諾判定プログラム
JP7379892B2 (ja) 2018-07-25 2023-11-15 株式会社デンソー 車両用電子制御システム、車両側システム及び携帯端末
JP7225596B2 (ja) 2018-07-30 2023-02-21 トヨタ自動車株式会社 プログラム更新システム、プログラム更新サーバーおよび車両
JP7427879B2 (ja) 2018-08-10 2024-02-06 株式会社デンソー 車両用マスタ装置、書換え対象のグループ管理方法及び書換え対象のグループ管理プログラム
JP6973449B2 (ja) 2018-08-10 2021-12-01 株式会社デンソー 車両用電子制御システム、配信パッケージのダウンロード判定方法及び配信パッケージのダウンロード判定プログラム
JP7111074B2 (ja) 2018-08-10 2022-08-02 株式会社デンソー 車両用マスタ装置、セキュリティアクセス鍵の管理方法、セキュリティアクセス鍵の管理プログラム及び車両用電子制御システム
JP7159989B2 (ja) 2018-08-10 2022-10-25 株式会社デンソー 車両用マスタ装置、車両用電子制御システム、アクティベート要求の指示方法及びアクティベート要求の指示プログラム
JP7439402B2 (ja) 2018-08-10 2024-02-28 株式会社デンソー 表示制御装置、書換え進捗状況の表示制御方法及び書換え進捗状況の表示制御プログラム
JP7354631B2 (ja) 2018-08-10 2023-10-03 株式会社デンソー 電子制御装置、車両用電子制御システム、差分データの整合性判定方法及び差分データの整合性判定プログラム
JP7003976B2 (ja) 2018-08-10 2022-01-21 株式会社デンソー 車両用マスタ装置、更新データの検証方法及び更新データの検証プログラム
JP7419689B2 (ja) 2018-08-10 2024-01-23 株式会社デンソー 車両用電子制御システム、センター装置、車両用マスタ装置、表示制御情報の送信制御方法、表示制御情報の受信制御方法、表示制御情報の送信制御プログラム及び表示制御情報の受信制御プログラム
JP7183984B2 (ja) 2018-08-10 2022-12-06 株式会社デンソー センター装置,車両情報通信システム,配信パッケージ送信方法及び配信パッケージの送信プログラム
JP7156192B2 (ja) 2018-08-10 2022-10-19 株式会社デンソー 車両用マスタ装置、非書換え対象の電源管理方法及び非書換え対象の電源管理プログラム
JP7400232B2 (ja) 2018-08-10 2023-12-19 株式会社デンソー 電子制御装置、リトライポイントの特定方法、リトライポイントの特定プログラム及び車両用電子制御システム
JP6973450B2 (ja) 2018-08-10 2021-12-01 株式会社デンソー 車両用マスタ装置、インストールの指示判定方法及びインストールの指示判定プログラム
JP7354658B2 (ja) 2018-08-10 2023-10-03 株式会社デンソー 車両用電子制御システム、進捗表示の画面表示制御方法及び進捗表示の画面表示制御プログラム
JP7047819B2 (ja) 2018-08-10 2022-04-05 株式会社デンソー 電子制御装置、車両用電子制御システム、アクティベートの実行制御方法及びアクティベートの実行制御プログラム
JP7346956B2 (ja) 2018-08-10 2023-09-20 株式会社デンソー 車両用プログラム書換えシステム、車両用マスタ装置、進捗状態の同期制御方法及び進捗状態の同期制御プログラム
JP7484096B2 (ja) 2018-08-10 2024-05-16 株式会社デンソー 電子制御装置、書換えの実行制御方法及び書換えの実行制御プログラム
WO2020032201A1 (ja) * 2018-08-10 2020-02-13 株式会社デンソー 車両用電子制御システム、電源自己保持の実行制御方法及び電源自己保持の実行制御プログラム
WO2020032121A1 (ja) 2018-08-10 2020-02-13 株式会社デンソー 車両用マスタ装置、更新データの検証方法及び更新データの検証プログラム
JP7024765B2 (ja) 2018-08-10 2022-02-24 株式会社デンソー 車両用マスタ装置、更新データの配信制御方法及び更新データの配信制御プログラム
JP7367359B2 (ja) 2018-08-10 2023-10-24 株式会社デンソー 車両用電子制御システム、ファイルの転送制御方法、ファイルの転送制御プログラム及び装置
JP7115429B2 (ja) 2018-08-10 2022-08-09 株式会社デンソー 車両用マスタ装置、ロールバックの実行制御方法及びロールバックの実行制御プログラム
KR102396049B1 (ko) * 2018-10-01 2022-05-10 엘지전자 주식회사 이동 its 스테이션 및 상기 이동 its 스테이션의 메시지 송수신 방법
JP7147065B2 (ja) * 2018-12-07 2022-10-04 ローベルト ボツシユ ゲゼルシヤフト ミツト ベシユレンクテル ハフツング 通信ネットワークを介して接続された複数の電子デバイスが例外を正しく処理するか否かの同時試験
JP6733726B2 (ja) * 2018-12-27 2020-08-05 株式会社デンソー リプログシステム、リプログマスタ及びリプログシステムの報知方法
KR20210043153A (ko) * 2019-10-11 2021-04-21 현대자동차주식회사 Ota 업데이트 제어 방법 및 시스템
US11704106B2 (en) * 2019-11-08 2023-07-18 Toyota Jidosha Kabushiki Kaisha Program update system and vehicle management server
WO2021215188A1 (ja) 2020-04-21 2021-10-28 株式会社デンソー 車両用電子制御システム、データの初期化方法、センター装置、車両用マスタ装置、初期化パッケージの配信プログラム及びデータの初期化プログラム
US11695851B2 (en) * 2020-06-03 2023-07-04 Micron Technology, Inc. Gateway for vehicle with caching buffer for distributed storage system
CN112599172B (zh) * 2020-12-24 2024-05-17 潍柴动力股份有限公司 电子控制单元的数据写入方法、装置及存储介质
JP2022114592A (ja) * 2021-01-27 2022-08-08 日本精機株式会社 車両用表示装置
JP7540401B2 (ja) * 2021-06-22 2024-08-27 トヨタ自動車株式会社 センタ、otaマスタ、方法、プログラム、及び車両
KR20230000809A (ko) * 2021-06-25 2023-01-03 현대자동차주식회사 차량의 ota 업데이트 제어 장치 및 그 방법
JP7313507B1 (ja) 2022-04-22 2023-07-24 三菱電機株式会社 車載情報処理装置
JP7694459B2 (ja) * 2022-05-23 2025-06-18 トヨタ自動車株式会社 車載端末、情報処理方法、及び、車両
JP7740168B2 (ja) * 2022-08-29 2025-09-17 トヨタ自動車株式会社 車両、車両の制御方法、通信システムおよびプログラム
JP7715105B2 (ja) * 2022-09-12 2025-07-30 トヨタ自動車株式会社 車両、システム、通知制御方法、および、プログラム
JP7650421B2 (ja) * 2022-09-21 2025-03-25 トヨタ自動車株式会社 制御装置
KR20240084955A (ko) * 2022-12-07 2024-06-14 현대자동차주식회사 차량 무선 소프트웨어 업데이트 장치 및 방법
KR20250026542A (ko) * 2023-08-17 2025-02-25 현대모비스 주식회사 차량용 정보표시 장치 및 이를 이용한 정보표시 방법

Citations (3)

* Cited by examiner, † Cited by third party
Publication number Priority date Publication date Assignee Title
JP2010093347A (ja) * 2008-10-03 2010-04-22 Toyota Motor Corp 車両用無線通信装置、通信方法
JP2010170304A (ja) * 2009-01-22 2010-08-05 Fujitsu Ten Ltd 管理装置
JP2013002958A (ja) * 2011-06-16 2013-01-07 Fujitsu Ten Ltd サーバ装置、プログラム提供システム、プログラム提供方法、及び、プログラム

Family Cites Families (27)

* Cited by examiner, † Cited by third party
Publication number Priority date Publication date Assignee Title
JP4942261B2 (ja) 2001-07-31 2012-05-30 株式会社デンソー 車両用中継装置、及び、車内通信システム
US6694235B2 (en) 2001-07-06 2004-02-17 Denso Corporation Vehicular relay device, in-vehicle communication system, failure diagnostic system, vehicle management device, server device and detection and diagnostic program
JP4622177B2 (ja) 2001-07-06 2011-02-02 株式会社デンソー 故障診断システム、車両管理装置、サーバ装置、及び検査診断プログラム
JP4920786B2 (ja) * 2008-08-05 2012-04-18 三菱電機株式会社 車載システム
US8134990B2 (en) * 2009-12-14 2012-03-13 Telefonaktiebolaget Lm Ericsson (Publ) Defining adaptive detection thresholds
JP5347997B2 (ja) 2010-02-04 2013-11-20 株式会社デンソー 故障診断用情報収集装置
WO2012098651A1 (ja) * 2011-01-19 2012-07-26 トヨタ自動車 株式会社 移動情報端末、情報管理装置、及び移動情報端末用情報管理システム
JP5920006B2 (ja) 2012-05-14 2016-05-18 富士通株式会社 画面更新制御プログラム、画面更新制御方法、および情報処理装置
US20150204965A1 (en) * 2012-07-06 2015-07-23 Toyota Jidosha Kabushiki Kaisha Position specification system and method
JP6056424B2 (ja) * 2012-11-29 2017-01-11 株式会社デンソー 車載プログラム更新装置
US8930920B2 (en) * 2012-12-31 2015-01-06 Oracle International Corporation Self-optimizing interpreter and snapshot compilation
US9909898B2 (en) * 2013-04-26 2018-03-06 Mitsubishi Electric Corporation In-vehicle device, information distribution server, and facility information display method
US9910660B2 (en) * 2013-08-05 2018-03-06 Harman International Industries, Incorporated Operating system replacement for in-vehicle computing system
EP3041211A4 (en) * 2013-08-30 2017-06-14 Honda Motor Co., Ltd. Vehicle-mounted device, communication system, communication method, and program
JP5975964B2 (ja) * 2013-10-18 2016-08-23 富士通株式会社 情報処理プログラム、情報処理方法、情報処理装置、及び情報処理システム
US10146521B2 (en) * 2014-09-09 2018-12-04 Airpro Diagnostics, Llc Device, system and method for updating the software modules of a vehicle
US9424751B2 (en) * 2014-10-24 2016-08-23 Telogis, Inc. Systems and methods for performing driver and vehicle analysis and alerting
JP2016115308A (ja) 2014-12-18 2016-06-23 セイコーエプソン株式会社 プレビュー表示装置、印刷装置、プレビュー表示方法、印刷方法、プレビュー表示プログラム、記憶媒体
US9507581B2 (en) * 2015-01-14 2016-11-29 Dell Products Lp Systems and methods of device firmware delivery for pre-boot updates
US9608976B2 (en) * 2015-05-26 2017-03-28 Google Inc. In-vehicle shared-screen system with write back to multiple user accounts
US10097973B2 (en) * 2015-05-27 2018-10-09 Apple Inc. Systems and methods for proactively identifying and surfacing relevant content on a touch-sensitive device
US9836300B2 (en) * 2015-06-16 2017-12-05 Lear Corporation Method for updating vehicle ECUs using differential update packages
US9720680B2 (en) * 2015-07-23 2017-08-01 Honda Motor Co., Ltd. Methods and apparatus for wirelessly updating vehicle systems
CN105208112A (zh) * 2015-08-28 2015-12-30 安徽江淮汽车股份有限公司 一种汽车控制器软件远程升级方法及车联网系统
JP6723829B2 (ja) * 2015-09-14 2020-07-15 パナソニック インテレクチュアル プロパティ コーポレーション オブ アメリカPanasonic Intellectual Property Corporation of America ゲートウェイ装置、ファームウェア更新方法及び制御プログラム
KR101792046B1 (ko) * 2015-10-29 2017-11-20 현대자동차주식회사 단말기, 차량 및 그 제어 방법
US10337876B2 (en) * 2016-05-10 2019-07-02 Microsoft Technology Licensing, Llc Constrained-transportation directions

Patent Citations (3)

* Cited by examiner, † Cited by third party
Publication number Priority date Publication date Assignee Title
JP2010093347A (ja) * 2008-10-03 2010-04-22 Toyota Motor Corp 車両用無線通信装置、通信方法
JP2010170304A (ja) * 2009-01-22 2010-08-05 Fujitsu Ten Ltd 管理装置
JP2013002958A (ja) * 2011-06-16 2013-01-07 Fujitsu Ten Ltd サーバ装置、プログラム提供システム、プログラム提供方法、及び、プログラム

Cited By (1)

* Cited by examiner, † Cited by third party
Publication number Priority date Publication date Assignee Title
US12175236B2 (en) * 2022-02-15 2024-12-24 Honda Motor Co., Ltd. Operation management device and operation management method

Also Published As

Publication number Publication date
US20190108014A1 (en) 2019-04-11
DE112017002909T5 (de) 2019-02-21
CN109313591A (zh) 2019-02-05
US10908890B2 (en) 2021-02-02
CN109313591B (zh) 2023-04-21
JP2017220092A (ja) 2017-12-14
JP6414568B2 (ja) 2018-10-31

Similar Documents

Publication Publication Date Title
JP6414568B2 (ja) 車両用装置
JP6856100B2 (ja) リプログマスタ
JP6805559B2 (ja) リプログマスタ
US11693645B2 (en) Vehicle information communication system
US11947953B2 (en) Vehicle electronic control system, progress screen display control method and computer program product
JP6056424B2 (ja) 車載プログラム更新装置
JP3151831B2 (ja) 車両情報通信装置及び車両情報通信システム
US11169797B2 (en) Vehicle controller configuration backup and restoration using data snapshots
JPWO2012056773A1 (ja) 車両用プログラム書換えシステム
US20240069905A1 (en) Vehicular electronic control device, vehicular electronic control system, and updated configuration information determination program
JP2013137729A (ja) プログラム書換システム、制御装置、プログラム配信装置、識別情報記憶装置、及びプログラム書換方法
JP6733726B2 (ja) リプログシステム、リプログマスタ及びリプログシステムの報知方法
JP2006192967A (ja) 遠隔操作制御システムおよび車載遠隔操作制御装置
KR20190067304A (ko) 차량의 배터리 충전 상태 제어 장치 및 그 방법
JP2015041231A (ja) プログラム書換システム、制御装置、プログラム出力装置、蓄積装置、コネクタ、及びプログラム書換方法
WO2020039843A1 (ja) 自動日常点検システム
JP2018115886A (ja) 装置およびプログラム
Kim et al. Compare of vehicle management over the air and on-board diagnostics
US20240086174A1 (en) Vehicular electronic control device and update program

Legal Events

Date Code Title Description
121 Ep: the epo has been informed by wipo that ep was designated in this application

Ref document number: 17809955

Country of ref document: EP

Kind code of ref document: A1

122 Ep: pct application non-entry in european phase

Ref document number: 17809955

Country of ref document: EP

Kind code of ref document: A1