WO2017199804A1 - 電磁弁 - Google Patents
電磁弁 Download PDFInfo
- Publication number
- WO2017199804A1 WO2017199804A1 PCT/JP2017/017639 JP2017017639W WO2017199804A1 WO 2017199804 A1 WO2017199804 A1 WO 2017199804A1 JP 2017017639 W JP2017017639 W JP 2017017639W WO 2017199804 A1 WO2017199804 A1 WO 2017199804A1
- Authority
- WO
- WIPO (PCT)
- Prior art keywords
- valve
- valve body
- seat
- valve seat
- solenoid
- Prior art date
- Legal status (The legal status is an assumption and is not a legal conclusion. Google has not performed a legal analysis and makes no representation as to the accuracy of the status listed.)
- Ceased
Links
Images
Classifications
-
- F—MECHANICAL ENGINEERING; LIGHTING; HEATING; WEAPONS; BLASTING
- F16—ENGINEERING ELEMENTS AND UNITS; GENERAL MEASURES FOR PRODUCING AND MAINTAINING EFFECTIVE FUNCTIONING OF MACHINES OR INSTALLATIONS; THERMAL INSULATION IN GENERAL
- F16K—VALVES; TAPS; COCKS; ACTUATING-FLOATS; DEVICES FOR VENTING OR AERATING
- F16K31/00—Actuating devices; Operating means; Releasing devices
- F16K31/02—Actuating devices; Operating means; Releasing devices electric; magnetic
- F16K31/06—Actuating devices; Operating means; Releasing devices electric; magnetic using a magnet, e.g. diaphragm valves, cutting off by means of a liquid
-
- F—MECHANICAL ENGINEERING; LIGHTING; HEATING; WEAPONS; BLASTING
- F16—ENGINEERING ELEMENTS AND UNITS; GENERAL MEASURES FOR PRODUCING AND MAINTAINING EFFECTIVE FUNCTIONING OF MACHINES OR INSTALLATIONS; THERMAL INSULATION IN GENERAL
- F16K—VALVES; TAPS; COCKS; ACTUATING-FLOATS; DEVICES FOR VENTING OR AERATING
- F16K31/00—Actuating devices; Operating means; Releasing devices
- F16K31/02—Actuating devices; Operating means; Releasing devices electric; magnetic
- F16K31/06—Actuating devices; Operating means; Releasing devices electric; magnetic using a magnet, e.g. diaphragm valves, cutting off by means of a liquid
- F16K31/0644—One-way valve
- F16K31/0655—Lift valves
-
- F—MECHANICAL ENGINEERING; LIGHTING; HEATING; WEAPONS; BLASTING
- F16—ENGINEERING ELEMENTS AND UNITS; GENERAL MEASURES FOR PRODUCING AND MAINTAINING EFFECTIVE FUNCTIONING OF MACHINES OR INSTALLATIONS; THERMAL INSULATION IN GENERAL
- F16K—VALVES; TAPS; COCKS; ACTUATING-FLOATS; DEVICES FOR VENTING OR AERATING
- F16K31/00—Actuating devices; Operating means; Releasing devices
- F16K31/02—Actuating devices; Operating means; Releasing devices electric; magnetic
- F16K31/06—Actuating devices; Operating means; Releasing devices electric; magnetic using a magnet, e.g. diaphragm valves, cutting off by means of a liquid
- F16K31/0603—Multiple-way valves
- F16K31/061—Sliding valves
- F16K31/0617—Sliding valves with flat slides
-
- B—PERFORMING OPERATIONS; TRANSPORTING
- B60—VEHICLES IN GENERAL
- B60T—VEHICLE BRAKE CONTROL SYSTEMS OR PARTS THEREOF; BRAKE CONTROL SYSTEMS OR PARTS THEREOF, IN GENERAL; ARRANGEMENT OF BRAKING ELEMENTS ON VEHICLES IN GENERAL; PORTABLE DEVICES FOR PREVENTING UNWANTED MOVEMENT OF VEHICLES; VEHICLE MODIFICATIONS TO FACILITATE COOLING OF BRAKES
- B60T8/00—Arrangements for adjusting wheel-braking force to meet varying vehicular or ground-surface conditions, e.g. limiting or varying distribution of braking force
- B60T8/32—Arrangements for adjusting wheel-braking force to meet varying vehicular or ground-surface conditions, e.g. limiting or varying distribution of braking force responsive to a speed condition, e.g. acceleration or deceleration
- B60T8/34—Arrangements for adjusting wheel-braking force to meet varying vehicular or ground-surface conditions, e.g. limiting or varying distribution of braking force responsive to a speed condition, e.g. acceleration or deceleration having a fluid pressure regulator responsive to a speed condition
- B60T8/36—Arrangements for adjusting wheel-braking force to meet varying vehicular or ground-surface conditions, e.g. limiting or varying distribution of braking force responsive to a speed condition, e.g. acceleration or deceleration having a fluid pressure regulator responsive to a speed condition including a pilot valve responding to an electromagnetic force
- B60T8/3615—Electromagnetic valves specially adapted for anti-lock brake and traction control systems
- B60T8/363—Electromagnetic valves specially adapted for anti-lock brake and traction control systems in hydraulic systems
-
- F—MECHANICAL ENGINEERING; LIGHTING; HEATING; WEAPONS; BLASTING
- F16—ENGINEERING ELEMENTS AND UNITS; GENERAL MEASURES FOR PRODUCING AND MAINTAINING EFFECTIVE FUNCTIONING OF MACHINES OR INSTALLATIONS; THERMAL INSULATION IN GENERAL
- F16K—VALVES; TAPS; COCKS; ACTUATING-FLOATS; DEVICES FOR VENTING OR AERATING
- F16K1/00—Lift valves or globe valves, i.e. cut-off apparatus with closure members having at least a component of their opening and closing motion perpendicular to the closing faces
- F16K1/32—Details
- F16K1/34—Cutting-off parts, e.g. valve members, seats
-
- F—MECHANICAL ENGINEERING; LIGHTING; HEATING; WEAPONS; BLASTING
- F16—ENGINEERING ELEMENTS AND UNITS; GENERAL MEASURES FOR PRODUCING AND MAINTAINING EFFECTIVE FUNCTIONING OF MACHINES OR INSTALLATIONS; THERMAL INSULATION IN GENERAL
- F16K—VALVES; TAPS; COCKS; ACTUATING-FLOATS; DEVICES FOR VENTING OR AERATING
- F16K27/00—Construction of housing; Use of materials therefor
- F16K27/02—Construction of housing; Use of materials therefor of lift valves
- F16K27/029—Electromagnetically actuated valves
-
- F—MECHANICAL ENGINEERING; LIGHTING; HEATING; WEAPONS; BLASTING
- F16—ENGINEERING ELEMENTS AND UNITS; GENERAL MEASURES FOR PRODUCING AND MAINTAINING EFFECTIVE FUNCTIONING OF MACHINES OR INSTALLATIONS; THERMAL INSULATION IN GENERAL
- F16K—VALVES; TAPS; COCKS; ACTUATING-FLOATS; DEVICES FOR VENTING OR AERATING
- F16K31/00—Actuating devices; Operating means; Releasing devices
- F16K31/02—Actuating devices; Operating means; Releasing devices electric; magnetic
- F16K31/06—Actuating devices; Operating means; Releasing devices electric; magnetic using a magnet, e.g. diaphragm valves, cutting off by means of a liquid
- F16K31/0675—Electromagnet aspects, e.g. electric supply therefor
-
- Y—GENERAL TAGGING OF NEW TECHNOLOGICAL DEVELOPMENTS; GENERAL TAGGING OF CROSS-SECTIONAL TECHNOLOGIES SPANNING OVER SEVERAL SECTIONS OF THE IPC; TECHNICAL SUBJECTS COVERED BY FORMER USPC CROSS-REFERENCE ART COLLECTIONS [XRACs] AND DIGESTS
- Y10—TECHNICAL SUBJECTS COVERED BY FORMER USPC
- Y10T—TECHNICAL SUBJECTS COVERED BY FORMER US CLASSIFICATION
- Y10T137/00—Fluid handling
- Y10T137/8593—Systems
- Y10T137/86493—Multi-way valve unit
- Y10T137/86574—Supply and exhaust
- Y10T137/8667—Reciprocating valve
Definitions
- the present invention relates to an electromagnetic valve which displaces a valve body in a displacement direction of a movable iron core by exciting a solenoid to displace the movable iron core, thereby switching a connection state between a plurality of ports.
- Patent Document 1 An electromagnetic valve configured to displace the valve body in the displacement direction of the movable iron core by exciting the solenoid to displace the movable iron core, thereby switching the connection state between the plurality of ports is disclosed in Patent Document 1 As already disclosed in the prior art.
- a valve support (valve body) including a valve body (elastic portion) made of a resin material is fixedly attached to one end of the movable iron core in the axial direction. It is done.
- a valve accommodating chamber in which the valve support portion and the valve body are accommodated is formed, and a plurality of ports are communicated with the valve accommodating chamber.
- An opening communicating with one of the ports is opened on the bottom surface of the valve storage chamber, and a valve seat for contacting and separating the valve body is formed so as to surround the periphery of the opening. ing.
- the valve body that contacts and separates from the valve seat is provided in the valve support portion fixedly attached to the movable iron core, and the movable iron core and the valve body are It is designed to work together. Therefore, when the valve body abuts on the valve seat and is seated, the kinetic energy of the movable iron core directly exerts an external force such as a stronger compressive force on the valve body in the axial direction. When such a strong external force repeatedly acts on the valve body, there is a possibility that the axial dimension of the valve body may be temporally changed due to wear or irreversible deformation (permanent strain). Then, the stroke amount of the movable iron core, that is, the separation amount of the valve body from the valve seat fluctuates, and as a result, the flow rate of the fluid flowing through the valve seat and the responsiveness of the solenoid valve fluctuate. .
- the technical problem of the present invention is that, in a solenoid valve that operates a valve body by displacing a movable iron core by excitation of a solenoid, a compression force or the like acting on the valve body when the valve body is seated on a valve seat
- a solenoid valve that operates a valve body by displacing a movable iron core by excitation of a solenoid, a compression force or the like acting on the valve body when the valve body is seated on a valve seat
- a valve operation member having a movable iron core portion axially displaced by the excitation action of a solenoid, a plurality of ports through which pressure fluid flows in and out, and these ports communicate And a valve body provided in the valve chamber, and the valve body is displaced due to the axial displacement of the valve operating member to move the valve seat in the valve chamber.
- the valve operating member is capable of axially moving the valve body relative to the valve operating member.
- the valve support has a tip end and a proximal end at both axial ends, and the proximal end of the valve support is one end of the movable iron core in the axial direction.
- valve body In the valve chamber, the valve body is directed to the valve seat side in the axial direction.
- an elastic member which is biased at a time and causes the valve body to be seated on the valve seat by the biasing force, and in the valve support portion, the valve operating member is in the biasing direction of the valve body by the elastic member A valve which, when being displaced in the reverse direction, engages the engaged portion of the valve body seated on the valve seat to move the valve body away from the valve seat against the biasing force of the elastic member.
- An engagement portion is provided, and when the valve operation member is displaced in the biasing direction of the valve body by the elastic member and the valve body is seated on the valve seat, the valve engagement portion is provided with the valve body It is characterized in that it is formed so as to be non-contacting.
- the valve support portion is provided with a positioning surface which is a plane perpendicular to the axis and which faces the biasing direction of the valve body by the elastic member, and in the valve chamber of the valve body
- An abutment surface is provided, which is a plane parallel to the positioning surface and which contacts and separates the positioning surface according to the displacement of the movable core, and the valve operating member is in the biasing direction of the valve disc by the elastic member.
- the positioning surface abuts against the contact surface, and the valve operating member is disposed between the valve engaging portion and the engaged portion of the valve body. It is comprised so that the space
- the valve seat is formed on a bottom wall surface of the valve chamber facing the tip of the valve support portion, the tip surface of the valve support portion forms the positioning surface, and the bottom surface of the valve chamber is An abutment surface may be formed.
- the axial position occupied by the valve engagement portion of the cap member is a position between the tip end surface of the valve support portion and the engaged portion of the valve body.
- a first valve seat as the valve seat, and a second valve seat disposed at a position opposed to the first valve seat in the axial direction The valve body is disposed in the space formed between the valve seats and is always urged toward the first valve seat by the elastic member, and the valve support portion
- the valve engagement portion provided is made of a thin plate having a spring property in the axial direction, and when the valve operation member is displaced in the direction opposite to the biasing direction of the valve body by the elastic member, By engaging with the engaged portion of the valve body seated in the first valve seat, the valve body is separated from the first valve seat against the biasing force of the elastic member and, at the same time, in the second valve seat Sit down.
- valve engagement portion provided on the valve support portion is formed of a thin plate having a spring property in the axial direction
- the valve body acts on the valve body when the valve body abuts on and is seated on the second valve seat.
- the external force in the axial direction can be mitigated by the valve engagement portion absorbing it. Therefore, it is possible to suppress wear and irreversible deformation (permanent strain) of the valve body due to the repeated action of such external force as much as possible.
- the first valve seat may be formed on a bottom wall surface facing the tip of the valve support in the valve chamber. Adopting such a structure enables more rational design of the solenoid valve. .
- the valve engagement portion of the valve operation member is not in contact with the valve body in the axial direction. Since it comprised so that it could prevent that the kinetic energy of the valve operation member containing a movable iron core part acts on a valve body directly, the external force which acts on a valve body in the axial direction can be relieved. Therefore, it is possible to suppress wear and irreversible deformation (permanent distortion) of the valve body due to such an external force repeatedly acting on the valve body, and the temporal change of the dimension of the valve body in the axial direction It becomes possible to suppress.
- the variation of the stroke amount of the movable iron core that is, the variation of the separation amount of the valve body from the valve seat is suppressed, and the variation of the flow rate of the fluid flowing through the valve seat and the response of the solenoid valve is suppressed as much as possible. It becomes possible.
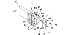
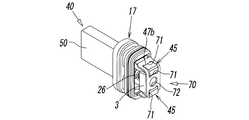
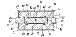
- FIG. It is a sectional side view in the de-energized state which shows one Embodiment of the solenoid valve which concerns on this invention. It is a longitudinal cross-sectional view of FIG. It is a schematic principal part expanded sectional view which shows the state around a valve chamber in FIG. It is a sectional side view which shows the state at the time of the excitation in the said solenoid valve. It is a longitudinal cross-sectional view of FIG. It is a schematic principal part expanded sectional view which shows the state around a valve chamber in FIG. It is a schematic perspective view which disassembles and shows the component relevant to the solenoid part in this embodiment. It is a principal part expanded sectional view along the VIII-VIII line of FIG.
- the solenoid valve 1 according to the present invention is roughly divided into a main valve portion 2 having a valve body 3 for switching a flow path through which pressure fluid such as air flows and a solenoid for driving the valve body 3 of the main valve portion 2.
- the main valve 2 and the solenoid 7 are connected in series in the direction of the axis L of the solenoid valve 1.
- the said main valve part 2 has the valve body 10 whose cross-sectional shape is a rectangle so that FIG.1 and FIG.2 may show.
- a supply port P, an output port A, and an exhaust port R are provided on one side surface of the valve body 10. Further, inside the valve body 10, a valve chamber 11 in which the supply port P, the output port A and the discharge port R communicate with each other is formed. A gasket 29 is attached to each of these ports.
- the valve chamber 11 is provided with a first valve seat 12 and a second valve seat 13 with which the valve body 3 comes in contact with and separated.
- the first valve seat 12 and the second valve The seat 13 is disposed to face the axis L direction.
- the first valve seat 12 is formed on the bottom wall surface 14 of the valve chamber 11 so as to surround the supply passage hole 15 formed substantially at the center of the bottom wall surface 14 and directed to the solenoid portion 7 side. Protruding.
- the supply passage hole 15 communicates with the supply communication passage 16 provided on the bottom side of the valve body 10 relative to the bottom wall surface 14, and the supply communication passage 16 is connected to the supply port P.
- the supply port P communicates with the inside of the valve chamber 11 through the supply through hole 15.
- the second valve seat 13 is provided to a retainer 17 attached to the valve chamber 11.
- the retainer 17 is made of a resin material, and is housed in the valve chamber 11 so as to be located on the opening end side (the solenoid portion 7 side) of the valve chamber 11 with respect to the valve body 3.
- An annular outer peripheral portion 20 fitted to the inner peripheral wall of the valve chamber 11 and a projecting portion 19 formed inside the annular outer peripheral portion 20 so as to project toward the first valve seat 12 are provided.
- a discharge through hole 21 communicating with the discharge port R is formed at the tip (top) of the protrusion 19 formed on the retainer 17, and the discharge through hole 21 is formed.
- the annular second valve seat 13 is formed around the valve.
- An annular groove 22 is formed in the annular outer peripheral portion 20, and sealing members 23 for keeping the inside of the valve chamber 11 airtight are respectively mounted at positions on both sides in the axis L direction of the annular groove 22.
- the annular groove 22 communicates with the discharge communication passage 24 communicating with the discharge through hole 21, whereby the discharge port R passes through the annular groove 22, the discharge communication passage 24, and the discharge through hole 21. It communicates with the inside of the valve chamber 11. Further, a pair of insertion holes 25, 25 into which a pair of support arms 45, 45 of the valve operating member 40 described later are inserted are formed between the projecting portion 19 and the annular outer peripheral portion 20 (FIG. 1) And FIG. 9).
- the poppet type valve body 3 is accommodated in the space between the first valve seat 12 and the second valve seat 13 in the valve chamber 11.
- the valve body 3 is formed in a substantially rectangular shape, for example, of a resin material having both elasticity and sealing properties such as rubber, and the valve body 3 is in contact with the first valve seat 12 and the second valve seat 13.
- an elastic member 26 composed of a coil spring is interposed between the valve body 3 and the retainer 17 which is in a fixed relationship with the valve body 2, and the valve body 3 is made by the elastic member 2.
- the valve body 3 When the solenoid unit 7 is always de-energized (de-energized) toward the first valve seat 12, the valve body 3 is driven by the elastic force of the elastic member 26. Sit on (see Figure 1- Figure 3).
- the base end side of the protrusion 19 in the retainer 17 functions as a spring seat for the elastic member 26.
- a pair of guide grooves 3 a and 3 a opening in opposite directions to each other are provided on the end face of the valve body 3 in the width direction (left and right direction in FIG. It is formed to extend in the axis L direction. Then, by fitting a pair of support arms 45, 45 of the valve operating member 40, which will be described later, into these guide grooves 3a, 3a, the valve body 3 extends between the pair of support arms 45, 45 in the axial L direction. It is slidably supported.
- the valve body 3 can be prevented from moving in the direction orthogonal to the axis of the valve operation member 40, so that the axis of the valve body 3 can be prevented from swaying.
- the valve body 3 can be reliably seated against the first valve seat 12 and the second valve seat 13.
- the solenoid unit 7 has a magnetic cover 30 having a rectangular cross-sectional shape whose one end side (upper side in FIG. 1) in the direction of the axis L is closed by a bonnet 31.
- a bobbin 60 having an exciting coil 32 wound around its outer periphery, a fixed iron core 35 mounted in a central hole 60a of the bobbin 60, and the central hole 60a.
- a magnetic body ring disposed so as to surround the opening of the central hole 60a at the valve operating member 40 slidably fitted in the axial L direction and the end of the bobbin 60 on the valve body 2 side.
- And 80 are provided.
- annular groove 60b is formed between the bonnet 31 and the bobbin 60, and between the bobbin 60 and the magnetic ring 80, respectively. Seal members 38 are attached respectively. Further, from the side surface of the magnetic cover 30, a pair of coil terminals 39, 39 electrically connected to the exciting coil 32 project, and lead wires are respectively connected to the coil terminals 39, 39.
- the fixed iron core 35 is formed of a metal material in a substantially rectangular plate shape, and a flange portion 35a is provided on one end side (upper end side in FIG. 1) of the axis L direction.
- the fixed iron core 35 is held between the bobbin 60 and the bonnet 31 in a state in which the flange portion 35 a is engaged with the end on the bonnet 31 side of the bobbin 60.
- the valve operating member 40 has a movable iron core portion 43 which is displaced in the direction of the axis L by the exciting action of the solenoid portion 7.
- the movable iron core portion 43 is disposed so as to face the fixed iron core 35 side, and becomes a portion which is attracted to or separated from the fixed iron core 35 by energizing or de-energizing the excitation coil 32. There is. Then, the valve operating member 40 is displaced integrally with the movable iron core portion 43 along with the displacement of the movable iron core portion 43 in the direction of the axis L, and the valve body 3 is moved to the first valve seat 12 and the second valve seat 12.
- the valve seat 13 is configured to be selectively seated.
- the valve operating member 40 when the exciting coil 32 is in the energized state (excited state), as shown in FIG. 4 to FIG. 6, the valve operating member 40 is attracted to the fixed iron core 35 and the valve body 3 is the first valve seat 12 And is seated on the second valve seat 13, and the supply port P and the output port A communicate with each other through the valve chamber 11. Conversely, when the exciting coil 32 is in the non-energized state (demagnetized state), the valve operating member 40 is separated from the fixed iron core 35 as shown in FIG. 1 to FIG. The body 3 opens the second valve seat 13 and sits on the first valve seat 12, and the output port A and the discharge port R communicate with each other through the valve chamber 11.
- the valve operating member 40 further includes a valve support portion for supporting the valve body 3 relative to the valve operating member 40 in the axial L direction.
- the valve support portion is composed of a pair of support arms 45 integrally extending seamlessly from the one end 43a of the movable iron core portion 43 in the axis L direction, and a tip and a base are provided at both ends in the axis L direction.
- the proximal end of the valve support portion that is, the proximal ends of the support arms 45, 45 are connected to one end 43a of the movable iron core portion 43 in the direction of the axis L.
- the support arms 45 are arranged at both ends in the width direction (left and right direction in FIG.
- valve operating member 40 is made of a single magnetic metal plate, and the movable iron core portion 43 and the valve supporting portion (i.e., the support arm 45) are integrated by punching out the metal plate. Is formed.
- each of the pair of surfaces 50, 50 parallel to each other in the thickness direction (left and right direction in FIG. 2) of the valve operating member 40 It forms a single plane extending continuously over the iron core portion 43 and the support arms 45, 45.
- the pair of support arms 45 extend into the valve chamber 11 of the valve body 3 through the pair of insertion holes 25 opened in the retainer 17.
- the pair of guide grooves 3a, 3a (see FIG. 8) formed in the valve body 3 are fitted so as to be relatively displaceable in the axis L direction with respect to the valve body 3. It is correct.
- the valve body 3 is slidably supported between the pair of support arms 45 in the direction of the axis L.
- the design freedom of the valve support portion of the valve operating member 40 is further increased. Because of the increase, the structure and configuration of the valve support can be simplified.
- the pair of support arms 45, 45 have hook-like engagement claws 47, 47 at their tip end portions projecting in directions opposite to each other.
- An inclined surface 47 a is formed at the distal end of the engaging claws 47, 47 so as to be gradually inclined toward the axis L toward the distal end surface 46 of the support arm 45.
- An engagement surface 47 b is formed on the end face which is an end face orthogonal to the axis L.
- a cap member 70 formed of a thin metal plate having a spring property and having a substantially U-shaped cross section is installed between the tip portions of the pair of support arms 45, 45. It is done.
- the cap member 70 is provided with a pair of engagement openings 71, 71 engaged with the engagement claws 47, 47 and a valve opening 72 located between the pair of engagement openings 71, 71.
- the valve body 3 is seated on the first valve seat 12 through the valve opening 72.
- the cap member 70 extends in the direction perpendicular to the axis L and has a thin plate-like valve engagement portion 73 having a spring property in the axis L direction, and both left and right ends of the valve engagement portion 73. It has a pair of locking parts 74 and 74 which extend in a substantially perpendicular direction to the valve engaging part 73 from the side, and the connection part of these valve engaging part 73 and the locking part 74 is smoothly continuous. It has an arc shape.
- the valve body 3 is separated from the first valve seat 12 against the biasing force of the elastic member 26 and is seated on the second valve seat 13.
- the valve engagement portion 73 is provided with the valve opening 72 having a substantially circular opening edge, and as shown in FIG. The first valve seat 12 is seated.
- the engagement openings 71 and 71 are formed in a rectangular shape, and provided at a position straddling the valve engagement portion 73 and the engagement portion 74.
- a bent portion 75 bent outward is provided on the tip end side of the locking portion 74.
- the operation of attaching the cap member 70 between the support arms 45, 45 is performed as follows. First, as shown in FIG. 9, after preparing the valve operating member 40, the retainer 17, the elastic member 26, the valve body 3 and the cap member 70, the elastic composed of the coil spring on the outer periphery of the projecting portion 19 of the retainer 17. Attach the member 26. Then, the axes of the valve operating member 40 and the retainer 17 on which the elastic member 26 is mounted are aligned, and the pair of support arms 45 is disposed on one side of the retainer 17 in the axis L direction (opposite side of the projecting portion 19 ) Through the insertion holes 25, 25 of the retainer 17.
- valve body 3 is pushed from the opposite side (projecting portion 19 side) of the valve operating member 40 (support arm 45) against the biasing force of the elastic member 26 toward the retainer 17 side,
- the guide grooves 3a and 3a of the valve body 3 are fitted between a pair of support arms 45 and 45 extending from 25 and 25 (see FIG. 10).
- the cap member 70 is attached between the support arms 45, 45.
- the cap member 70 is supported in a state where the opening side (the locking portion 74 side) of the cap member 70 is opposed to the tip surfaces 46, 46 of the support arms 45, 45.
- the bent portions 75 of the pair of locking portions 74, 74 of the cap member 70 are inclined surfaces of the engaging claws 47 provided at the tip of the support arm 45.
- the distance between the pair of locking portions 74, 74 elastically expands.
- the opening edge (free end side) of the locking opening 71 of the locking portion 74 is displaced to the position of the engaging surface 47 b of the engaging claw 47, and the position of the locking opening 71 and the engaging claw
- the expanded locking portions 74, 74 elastically return, and as shown in FIG. 11, the engaging claws 47 fit into the locking openings 71, and the cap for the support arm 45
- the attachment of the member 70 is completed.
- the position in the direction of the axis L occupied by the valve engagement portion 73 of the cap member 70 is the position between the position of the tip end surface 46 of the support arm 45 and the position of the engaged portion 4 of the valve body 3 It is.
- the tip surfaces 46, 46 of the pair of support arms 45, 45 form a plane orthogonal to the axis L, and the tip surface 46 is the above A positioning surface is formed which faces the biasing direction of the valve body 3 by the elastic member 26, that is, the direction of the first valve seat 12.
- a pair of contact surfaces 27 with which the tip end surfaces 46 and 46 come into contact with each other with displacement of the movable iron core 43. , 27 are provided.
- the pair of contact surfaces 27, 27 is a plane parallel to the tip end surface 46 of the support arm 45.
- these contact surfaces 27, 27 are provided on both sides of the first valve seat 12, that is, on both sides in the width direction (left and right direction in FIG. 3) of the valve body 10 and respectively project toward the solenoid portion 7 side. There is.
- the height at which the abutment surface 27 projects from the bottom wall 14 into the valve chamber 11 is lower than the height at which the first valve seat 12 projects from the bottom wall 14 into the valve chamber 11. That is, the contact surface 27 is located closer to the bottom wall surface 14 than the first valve seat 12.
- the central hole 60a of the bobbin 60 accommodating the valve operating member 40 has a substantially rectangular cross section by the pair of first inner surfaces 61, 61 and the other pair of second inner surfaces 65, 65. Is formed.
- the first inner surfaces 61, 61 face a pair of surfaces 50, 50 located on both sides in the thickness direction of the valve operating member 40
- the second inner surfaces 65, 65 are valve operating members 40 (movable iron core It is opposed to a pair of side end faces 51, 51 which are located at both ends in the width direction (left and right direction in FIG. 12) of the portion 43) and are parallel to each other.
- the step part 64 of is formed.
- the stepped portion 64 extends in the direction of the axis L, and continues from the side portions 62 and 62 of the first inner surface 61 to the second inner surface 65 in the circumferential direction of the central hole 60a.
- a pair of protrusions 66, 66 are formed on the pair of second inner surfaces 65, 65 in the direction of the axis L, respectively.
- the protrusions 66 are formed in the directions (inward directions) facing each other from the second inner surface 65, 65, and the cross-sectional shape thereof is an arc shape.
- the movable iron core portion 43 of the valve operating member 40 is inserted into the central hole 60a of the bobbin 60, so that the pair of side end faces 51, 51 are pivoted by the pair of protruding strips 66, 66. While being slidably supported in the L direction, the pair of surfaces 50, 50 is slidably supported in the axial L direction by the stepped portion 64. Further, the valve operating member 40 penetrates the magnetic material ring 80 and the tip thereof protrudes toward the valve body 2 side. As described above, in the present embodiment, both end surfaces 51 and 51 of the valve operating member 40 and both sides of the pair of surfaces 50 and 50 are slid by the ridge 66 and the step 64 in the center hole 60 a of the bobbin 60. The movable support can effectively prevent the shaft of the valve operating member 40 from being shaken.
- Engaging projecting walls 67, 67 are provided.
- the magnetic ring 80 disposed so as to surround the central hole 60a is provided with an engaged hole portion 81, and the engaged protruding wall 67, 67 is fitted inside the engaged hole portion 81. By fitting, the magnetic ring 80 is positioned coaxially with the bobbin 60.
- the engagement projecting wall 67 of the bobbin 60 has a side wall 68 facing the both sides 51, 51 of the valve operating member 40; It consists of an arc shaped wall portion 69 having a semicircular shape on both sides in the vertical direction in FIG.
- the engaged holes 81 of the magnetic ring 80 face a pair of surfaces 50, 50 of the valve operating member 40 and extend in parallel. It comprises a first surface portion 82, 82 and second surface portions 83, 83 provided on both sides of the first surface portion 82, 82.
- the distance between the first surface portions 82, 82 is determined by the plate thickness of the valve operating member 40 (the distance between the pair of surfaces 50, 50) and the middle portion 63, 63 of the first inner surface 61 in the central hole 60a. It is formed larger than the distance.
- the second surface 83 is a portion with which the engagement projection 67 engages, and is formed on both sides of a linear portion 84 extending in a direction orthogonal to the first surface 82 and the linear portion 84. And a semicircular arc 85.
- the straight portion 84 engages with the outer peripheral surface of the side wall portion 68 in the engagement projection wall 67
- the arc-shaped portion 85 engages with the outer peripheral surface of the arc-shaped end portion 69 in the engagement projection wall 67. Is configured.
- the magnetic ring 80 has an outer peripheral surface having a substantially rectangular shape in a plan view, and a pair of recessed portions 86, 86 are provided on both side surfaces in the width direction of the outer peripheral surface.
- the pair of recesses 86, 86 are engaged with a pair of inward projections 28, 28 formed in the valve chamber 11 of the valve body 2.
- the engagement projection 67 of the bobbin 60 and the engagement hole 81 of the magnetic ring 80 are provided.
- the inward projection 28 are engaged with each other, so that the axial centers of the magnetic ring 80 and the central hole 60a of the bobbin 60 are aligned.
- the engagement projection 67 is between the both sides 51 and 51 of the valve operating member 40 and the second surface 83 of the magnetic ring 80.
- a clearance is formed between the first surface portion 82 of the magnetic ring 80 and the surface 50 of the valve operating member 40, so that the valve operating member 40 and the magnetic ring 80 are in direct contact with each other.
- the valve operating member 40 in the non-energized state (demagnetized state) of the exciting coil 32, the valve operating member 40 is separated from the fixed iron core 35, as shown in FIGS.
- the valve body 3 When in the de-energized state, the valve body 3 is seated on the first valve seat 12 by the biasing force of the elastic member 26 acting through the retainer 17 and the communication between the supply port P and the valve chamber 11 Shut off.
- the 2nd valve seat 13 in the position which counters the 1st valve seat 12 in the direction of an axis L is opened, and the above-mentioned output port A is the above-mentioned discharge through hole 21 and discharge communication way It communicates with the discharge port R via 24. Therefore, the pressure fluid in the valve chamber 11 is discharged to the outside through the discharge port R connected to the outside.
- the tip end face 46 of the valve support portion of the valve operation member 40 when in the demagnetized state, as shown in FIG. 3, the tip end face 46 of the valve support portion of the valve operation member 40, that is, the pair of support arms 45, 45 is the bottom of the valve chamber 11. It is in contact with a pair of contact surfaces 27, 27 on the wall 14. Further, the valve body 3 is seated on the first valve seat 12 positioned in the valve opening 72 of the cap member 70 between the pair of support arms 45, 45. At this time, the valve seat side end surface (engaged portion 4) of the valve body 3 facing the first valve seat 12 and the valve engagement portion 73 of the cap member 70 are not in contact with each other. Between the engaged portion 4 and the valve engagement portion 73, a gap G smaller than the stroke of the valve operation member 40 is formed.
- the valve operating member 40 is attracted to the fixed iron core 35 as shown in FIG. 4 to FIG. It is displaced in the direction of the axis L toward the fixed iron core 35 against the biasing force of the elastic member 26 biased toward the 12 side.
- the pair of support arms 45 of the valve operating member 40 are separated from the arm contact surface 27 and the support arm 45. , 45 engage with the engaged surface 4 of the valve body 3. Then, the valve body 3 sitting on the first valve seat 12 is displaced toward the second valve seat 13 with the guide grooves 3a, 3a supported by the support arms 45, 45.
- the exciting coil 32 is excited.
- the valve body 3 is not displaced toward the second valve seat 13 simultaneously with the displacement of the valve operation member 40, and the gap G between the engaged portion 4 and the valve engagement portion 73 is initially generated.
- the gap G becomes zero, the valve engagement portion 73 engages with the engaged portion 4 of the valve body 3 and then the valve body 3 moves to the second valve seat 13 side. .
- valve body 3 is seated on the second valve seat 13 by the suction operation of the valve operation member 40, the discharge through hole 21 is closed, and the first valve seat 12 opposed to the second valve seat 13 is opened. Ru.
- the supply port P communicates with the output port A through the supply passage hole 15 and the valve chamber 11, and the pressure fluid supplied from the supply port P is output through the output port A (see FIG. 4- see FIG. 6).
- the valve engagement portion 73 of the cap member 70 provided on the pair of support arms 45 is made of a thin plate having a spring property in the direction of the axis L.
- the valve engagement portion 73 can absorb the acting force in the axial L direction acting on the valve body 3 when seated on the valve body 3. Therefore, it is possible to prevent the wear and irreversible deformation (permanent distortion) of the valve body 3 due to the action force acting on the valve body 3 repeatedly.
- the valve operating member 40 separates from the fixed iron core 35 and the valve body 3 is an elastic member. It is separated from the second valve seat 13 by the biasing force of 26. Then, as described above, the first valve seat 12 is closed by the valve body 3 and the second valve seat 13 is opened, and the output port A communicates with the discharge port R via the valve chamber 11, and the atmosphere It will be open to the At this time, the flat end surfaces 46, 46 of the pair of support arms 45, 45 abut the pair of arm abutting surfaces 27, 27 parallel to the end surfaces 46, 46, so the valve operating member 40 It is accurately positioned relative to the valve body 2. Thereby, the responsiveness of the solenoid valve can be managed more accurately.
- valve body 3 is engaged with the engaged portion 4 facing the first valve seat 12 and the valve engagement in the cap member 70. It is comprised so that the said 1st valve seat 12 may be seated in the state which provided the said clearance gap G between the joint parts 73. As shown in FIG. With such a configuration, when the valve body 3 is seated on the first valve seat 12, the kinetic energy of the valve operation member 40 directly acts on the valve body 3 in the present embodiment. This can prevent the external force that acts on the valve body 3 in the direction of the axis L.
- the valve operating member 40 is formed by punching the single metal plate from the movable iron core portion 43 and the valve support portion (support arm 45). If the portion 43 has magnetism and is attracted to and separated from the fixed iron core 35, the valve support portion 40 may be formed as a separate member and integrally connected.
- the port is a three-port type solenoid valve, but the number of ports is not limited to such, and may be two ports.
Landscapes
- Engineering & Computer Science (AREA)
- General Engineering & Computer Science (AREA)
- Mechanical Engineering (AREA)
- Physics & Mathematics (AREA)
- Electromagnetism (AREA)
- Fluid Mechanics (AREA)
- Transportation (AREA)
- Magnetically Actuated Valves (AREA)
Priority Applications (7)
| Application Number | Priority Date | Filing Date | Title |
|---|---|---|---|
| BR112018072418-1A BR112018072418A2 (pt) | 2016-05-19 | 2017-05-10 | válvula solenoide |
| KR1020187035109A KR102262070B1 (ko) | 2016-05-19 | 2017-05-10 | 전자 밸브 |
| CN201780030742.0A CN109154401B (zh) | 2016-05-19 | 2017-05-10 | 电磁阀 |
| MX2018014192A MX2018014192A (es) | 2016-05-19 | 2017-05-10 | Valvula solenoide. |
| RU2018144812A RU2733142C2 (ru) | 2016-05-19 | 2017-05-10 | Электромагнитный клапан |
| DE112017002551.6T DE112017002551T5 (de) | 2016-05-19 | 2017-05-10 | Elektromagnetventil |
| US16/300,999 US10781935B2 (en) | 2016-05-19 | 2017-05-10 | Solenoid valve |
Applications Claiming Priority (2)
| Application Number | Priority Date | Filing Date | Title |
|---|---|---|---|
| JP2016-100914 | 2016-05-19 | ||
| JP2016100914A JP6732202B2 (ja) | 2016-05-19 | 2016-05-19 | 電磁弁 |
Publications (1)
| Publication Number | Publication Date |
|---|---|
| WO2017199804A1 true WO2017199804A1 (ja) | 2017-11-23 |
Family
ID=60325831
Family Applications (1)
| Application Number | Title | Priority Date | Filing Date |
|---|---|---|---|
| PCT/JP2017/017639 Ceased WO2017199804A1 (ja) | 2016-05-19 | 2017-05-10 | 電磁弁 |
Country Status (10)
| Country | Link |
|---|---|
| US (1) | US10781935B2 (enExample) |
| JP (1) | JP6732202B2 (enExample) |
| KR (1) | KR102262070B1 (enExample) |
| CN (1) | CN109154401B (enExample) |
| BR (1) | BR112018072418A2 (enExample) |
| DE (1) | DE112017002551T5 (enExample) |
| MX (1) | MX2018014192A (enExample) |
| RU (1) | RU2733142C2 (enExample) |
| TW (1) | TWI731075B (enExample) |
| WO (1) | WO2017199804A1 (enExample) |
Cited By (1)
| Publication number | Priority date | Publication date | Assignee | Title |
|---|---|---|---|---|
| EP3828451A4 (en) * | 2018-09-21 | 2022-04-27 | SMC Corporation | MAGNETIC VALVE |
Families Citing this family (6)
| Publication number | Priority date | Publication date | Assignee | Title |
|---|---|---|---|---|
| CN114110235A (zh) * | 2020-08-31 | 2022-03-01 | 浙江三花汽车零部件有限公司 | 电磁阀及电磁阀组件 |
| CN114352768B (zh) * | 2020-09-28 | 2024-01-05 | 青岛海尔电冰箱有限公司 | 制冷系统及冰箱 |
| CN112728164A (zh) * | 2021-01-07 | 2021-04-30 | 厦门市得尔美卫浴有限公司 | 一种多方式操控的出水装置 |
| JP1753558S (ja) * | 2023-01-20 | 2023-09-21 | 電磁弁 | |
| JP1752410S (ja) * | 2023-01-20 | 2023-09-06 | 電磁弁組立体用給排気ブロック | |
| JP1752471S (ja) * | 2023-01-20 | 2023-09-06 | 電磁弁組立体用給排気ブロック |
Citations (6)
| Publication number | Priority date | Publication date | Assignee | Title |
|---|---|---|---|---|
| JPS56160371U (enExample) * | 1980-04-30 | 1981-11-30 | ||
| JPS59146671U (ja) * | 1983-03-22 | 1984-10-01 | エスエムシ−株式会社 | ポペツト形直動電磁弁 |
| JPS6056875U (ja) * | 1983-09-26 | 1985-04-20 | エスエムシ−株式会社 | 直動形2ポ−ト電磁弁 |
| JPS6411484U (enExample) * | 1987-07-10 | 1989-01-20 | ||
| JPH09196205A (ja) * | 1996-01-11 | 1997-07-29 | Smc Corp | 3ポート弁 |
| JP2002213635A (ja) * | 2001-01-12 | 2002-07-31 | Saginomiya Seisakusho Inc | 高耐久形電磁弁 |
Family Cites Families (22)
| Publication number | Priority date | Publication date | Assignee | Title |
|---|---|---|---|---|
| US3107893A (en) * | 1961-08-31 | 1963-10-22 | Robbins Aviat Inc | Solenoid actuated fluid valve |
| US3295079A (en) * | 1964-12-03 | 1966-12-27 | Honeywell Inc | Solenoid actuator assembly having a unitary spring clip for the plunger |
| GB1433034A (en) * | 1972-05-26 | 1976-04-22 | Kernforschung Gmbh Ges Fuer | Glandless electromagnetic valve |
| JP4073584B2 (ja) * | 1998-11-04 | 2008-04-09 | 株式会社ミクニ | 弁駆動装置 |
| JP2003059715A (ja) | 2001-08-13 | 2003-02-28 | Smc Corp | 電磁弁用ソレノイド |
| JP3863745B2 (ja) * | 2001-09-04 | 2006-12-27 | Smc株式会社 | 電磁弁 |
| JP3857094B2 (ja) * | 2001-09-04 | 2006-12-13 | Smc株式会社 | 電磁弁 |
| EP1318340B1 (en) | 2001-12-04 | 2006-02-01 | SMC Kabushiki Kaisha | Solenoid-operated valve |
| JP3833525B2 (ja) | 2001-12-04 | 2006-10-11 | Smc株式会社 | 電磁弁 |
| JP3825311B2 (ja) | 2001-12-04 | 2006-09-27 | Smc株式会社 | 電磁弁 |
| US7828265B2 (en) * | 2004-07-30 | 2010-11-09 | Emerson Electric Co. | Solenoid valve |
| US7163188B1 (en) * | 2004-07-30 | 2007-01-16 | Emerson Electric Co. | Solenoid valve for fluid flow |
| JP2008157352A (ja) * | 2006-12-22 | 2008-07-10 | Smc Corp | 電磁弁 |
| KR200440725Y1 (ko) | 2007-02-06 | 2008-06-27 | 신영제어기 주식회사 | 완충기구를 갖는 포펫식 직동형 솔레노이드 밸브 |
| JP4362853B2 (ja) * | 2007-06-18 | 2009-11-11 | Smc株式会社 | 2ポート電磁弁 |
| JP2011133071A (ja) * | 2009-12-25 | 2011-07-07 | Ckd Corp | 自己保持型電磁弁 |
| JP5486987B2 (ja) * | 2010-03-31 | 2014-05-07 | Ckd株式会社 | バランスポペット式電磁弁 |
| RU98517U1 (ru) * | 2010-05-27 | 2010-10-20 | Общество с ограниченной ответственностью Научно-производственное предприятие "Технопроект" | Клапан электромагнитный |
| RU2477408C2 (ru) * | 2010-10-13 | 2013-03-10 | Закрытое акционерное общество Производственная компания "Промконтроллер" | Клапан запорный электромагнитный |
| JP5684088B2 (ja) * | 2011-10-20 | 2015-03-11 | 藤倉ゴム工業株式会社 | 流量調整器 |
| JP2013142470A (ja) | 2012-01-13 | 2013-07-22 | Toto Ltd | 電磁弁 |
| JP5938378B2 (ja) | 2013-09-18 | 2016-06-22 | Ckd株式会社 | 電磁弁 |
-
2016
- 2016-05-19 JP JP2016100914A patent/JP6732202B2/ja active Active
-
2017
- 2017-05-03 TW TW106114676A patent/TWI731075B/zh active
- 2017-05-10 BR BR112018072418-1A patent/BR112018072418A2/pt not_active IP Right Cessation
- 2017-05-10 WO PCT/JP2017/017639 patent/WO2017199804A1/ja not_active Ceased
- 2017-05-10 CN CN201780030742.0A patent/CN109154401B/zh active Active
- 2017-05-10 KR KR1020187035109A patent/KR102262070B1/ko active Active
- 2017-05-10 RU RU2018144812A patent/RU2733142C2/ru active
- 2017-05-10 MX MX2018014192A patent/MX2018014192A/es unknown
- 2017-05-10 DE DE112017002551.6T patent/DE112017002551T5/de active Granted
- 2017-05-10 US US16/300,999 patent/US10781935B2/en not_active Expired - Fee Related
Patent Citations (6)
| Publication number | Priority date | Publication date | Assignee | Title |
|---|---|---|---|---|
| JPS56160371U (enExample) * | 1980-04-30 | 1981-11-30 | ||
| JPS59146671U (ja) * | 1983-03-22 | 1984-10-01 | エスエムシ−株式会社 | ポペツト形直動電磁弁 |
| JPS6056875U (ja) * | 1983-09-26 | 1985-04-20 | エスエムシ−株式会社 | 直動形2ポ−ト電磁弁 |
| JPS6411484U (enExample) * | 1987-07-10 | 1989-01-20 | ||
| JPH09196205A (ja) * | 1996-01-11 | 1997-07-29 | Smc Corp | 3ポート弁 |
| JP2002213635A (ja) * | 2001-01-12 | 2002-07-31 | Saginomiya Seisakusho Inc | 高耐久形電磁弁 |
Cited By (2)
| Publication number | Priority date | Publication date | Assignee | Title |
|---|---|---|---|---|
| EP3828451A4 (en) * | 2018-09-21 | 2022-04-27 | SMC Corporation | MAGNETIC VALVE |
| US11378201B2 (en) | 2018-09-21 | 2022-07-05 | Smc Corporation | Solenoid valve |
Also Published As
| Publication number | Publication date |
|---|---|
| JP6732202B2 (ja) | 2020-07-29 |
| TWI731075B (zh) | 2021-06-21 |
| TW201812200A (zh) | 2018-04-01 |
| BR112018072418A2 (pt) | 2019-02-19 |
| DE112017002551T5 (de) | 2019-02-21 |
| JP2017207159A (ja) | 2017-11-24 |
| RU2018144812A (ru) | 2020-06-19 |
| US10781935B2 (en) | 2020-09-22 |
| US20190277421A1 (en) | 2019-09-12 |
| KR102262070B1 (ko) | 2021-06-08 |
| RU2733142C2 (ru) | 2020-09-29 |
| CN109154401A (zh) | 2019-01-04 |
| KR20190007441A (ko) | 2019-01-22 |
| MX2018014192A (es) | 2019-02-25 |
| RU2018144812A3 (enExample) | 2020-08-03 |
| CN109154401B (zh) | 2021-03-26 |
Similar Documents
| Publication | Publication Date | Title |
|---|---|---|
| WO2017199804A1 (ja) | 電磁弁 | |
| JP6698251B2 (ja) | 電磁弁 | |
| US7523763B2 (en) | Three-port electromagnetic valve | |
| EP1318340B1 (en) | Solenoid-operated valve | |
| JP2017207159A5 (enExample) | ||
| JP2017207158A5 (enExample) | ||
| KR20080059079A (ko) | 전자 밸브 | |
| JP6298384B2 (ja) | 電磁弁用板ばねおよびそれを用いた電磁弁 | |
| KR101492515B1 (ko) | 밸브 | |
| WO2020059591A1 (ja) | 電磁弁 | |
| JP4261425B2 (ja) | 電磁弁 | |
| JP3825311B2 (ja) | 電磁弁 | |
| JP6200869B2 (ja) | 電磁弁 | |
| JP2005337284A (ja) | 三方電磁弁 | |
| JP3833525B2 (ja) | 電磁弁 | |
| JPH0426769Y2 (enExample) | ||
| JP7785545B2 (ja) | 電磁弁 | |
| CN118234983A (zh) | 带有增强型磁通回路的微型介质隔离摇摆隔膜阀 |
Legal Events
| Date | Code | Title | Description |
|---|---|---|---|
| REG | Reference to national code |
Ref country code: BR Ref legal event code: B01A Ref document number: 112018072418 Country of ref document: BR |
|
| 121 | Ep: the epo has been informed by wipo that ep was designated in this application |
Ref document number: 17799229 Country of ref document: EP Kind code of ref document: A1 |
|
| ENP | Entry into the national phase |
Ref document number: 20187035109 Country of ref document: KR Kind code of ref document: A |
|
| ENP | Entry into the national phase |
Ref document number: 112018072418 Country of ref document: BR Kind code of ref document: A2 Effective date: 20181031 |
|
| 122 | Ep: pct application non-entry in european phase |
Ref document number: 17799229 Country of ref document: EP Kind code of ref document: A1 |