WO2017169376A1 - 冷風供給装置 - Google Patents

冷風供給装置 Download PDF

Info

Publication number
WO2017169376A1
WO2017169376A1 PCT/JP2017/006972 JP2017006972W WO2017169376A1 WO 2017169376 A1 WO2017169376 A1 WO 2017169376A1 JP 2017006972 W JP2017006972 W JP 2017006972W WO 2017169376 A1 WO2017169376 A1 WO 2017169376A1
Authority
WO
WIPO (PCT)
Prior art keywords
heat
cold
air
cooling
air supply
Prior art date
Legal status (The legal status is an assumption and is not a legal conclusion. Google has not performed a legal analysis and makes no representation as to the accuracy of the status listed.)
Ceased
Application number
PCT/JP2017/006972
Other languages
English (en)
French (fr)
Japanese (ja)
Inventor
稲田 智洋
拓也 片岡
Current Assignee (The listed assignees may be inaccurate. Google has not performed a legal analysis and makes no representation or warranty as to the accuracy of the list.)
Denso Corp
Original Assignee
Denso Corp
Priority date (The priority date is an assumption and is not a legal conclusion. Google has not performed a legal analysis and makes no representation as to the accuracy of the date listed.)
Filing date
Publication date
Application filed by Denso Corp filed Critical Denso Corp
Publication of WO2017169376A1 publication Critical patent/WO2017169376A1/ja
Anticipated expiration legal-status Critical
Ceased legal-status Critical Current

Links

Images

Classifications

    • BPERFORMING OPERATIONS; TRANSPORTING
    • B60VEHICLES IN GENERAL
    • B60HARRANGEMENTS OF HEATING, COOLING, VENTILATING OR OTHER AIR-TREATING DEVICES SPECIALLY ADAPTED FOR PASSENGER OR GOODS SPACES OF VEHICLES
    • B60H1/00Heating, cooling or ventilating [HVAC] devices
    • B60H1/32Cooling devices
    • FMECHANICAL ENGINEERING; LIGHTING; HEATING; WEAPONS; BLASTING
    • F24HEATING; RANGES; VENTILATING
    • F24FAIR-CONDITIONING; AIR-HUMIDIFICATION; VENTILATION; USE OF AIR CURRENTS FOR SCREENING
    • F24F1/00Room units for air-conditioning, e.g. separate or self-contained units or units receiving primary air from a central station
    • F24F1/02Self-contained room units for air-conditioning, i.e. with all apparatus for treatment installed in a common casing
    • F24F1/0373Self-contained room units for air-conditioning, i.e. with all apparatus for treatment installed in a common casing characterised by heating arrangements
    • F24F1/0375Self-contained room units for air-conditioning, i.e. with all apparatus for treatment installed in a common casing characterised by heating arrangements with additional radiant heat-discharging elements, e.g. electric heaters
    • FMECHANICAL ENGINEERING; LIGHTING; HEATING; WEAPONS; BLASTING
    • F24HEATING; RANGES; VENTILATING
    • F24FAIR-CONDITIONING; AIR-HUMIDIFICATION; VENTILATION; USE OF AIR CURRENTS FOR SCREENING
    • F24F1/00Room units for air-conditioning, e.g. separate or self-contained units or units receiving primary air from a central station
    • FMECHANICAL ENGINEERING; LIGHTING; HEATING; WEAPONS; BLASTING
    • F24HEATING; RANGES; VENTILATING
    • F24FAIR-CONDITIONING; AIR-HUMIDIFICATION; VENTILATION; USE OF AIR CURRENTS FOR SCREENING
    • F24F1/00Room units for air-conditioning, e.g. separate or self-contained units or units receiving primary air from a central station
    • F24F1/02Self-contained room units for air-conditioning, i.e. with all apparatus for treatment installed in a common casing
    • F24F1/0373Self-contained room units for air-conditioning, i.e. with all apparatus for treatment installed in a common casing characterised by heating arrangements
    • F24F1/0378Self-contained room units for air-conditioning, i.e. with all apparatus for treatment installed in a common casing characterised by heating arrangements using thermoelectric or thermomagnetic means, e.g. Peltier elements
    • FMECHANICAL ENGINEERING; LIGHTING; HEATING; WEAPONS; BLASTING
    • F25REFRIGERATION OR COOLING; COMBINED HEATING AND REFRIGERATION SYSTEMS; HEAT PUMP SYSTEMS; MANUFACTURE OR STORAGE OF ICE; LIQUEFACTION SOLIDIFICATION OF GASES
    • F25BREFRIGERATION MACHINES, PLANTS OR SYSTEMS; COMBINED HEATING AND REFRIGERATION SYSTEMS; HEAT PUMP SYSTEMS
    • F25B21/00Machines, plants or systems, using electric or magnetic effects
    • F25B21/02Machines, plants or systems, using electric or magnetic effects using Peltier effect; using Nernst-Ettinghausen effect

Definitions

  • the present disclosure relates to a cold air supply device that provides cold air to a vehicle interior.
  • Patent Document 1 discloses an air conditioning apparatus that cools and heats a bedroom for a nap break provided in a truck.
  • the air conditioner is connected to the Peltier element, the heat absorbing / dissipating part that can conduct heat between the Peltier elements, the blower fan that circulates and discharges the air heat-exchanged with the heat absorbing / dissipating part, and the heat absorbing / dissipating part.
  • a heat exchanger formed to circulate the replacement fluid, and a heat storage unit.
  • a heat exchanger is accommodated in the heat storage unit, and the outer space of the heat exchanger in the heat storage unit is filled with a heat storage material and sealed.
  • the control circuit unit supplies power to the Peltier element so that the surface in contact with the heat absorbing / dissipating part of the Peltier element becomes a cooling surface by heat absorption and the opposite surface becomes a heat generating surface. .
  • the surface of the heat absorbing / dissipating part in close contact with the Peltier element is cooled, and the heat exchange fluid circulating inside is also cooled.
  • the heat storage material filled in the heat storage unit exchanges heat with the heat exchange fluid, the cold energy is stored in the heat storage material.
  • the power supply to the Peltier element is stopped, but the heat exchange fluid circulating through the heat storage unit by the pump is cooled by the cold heat of the heat storage material to cool the heat absorbing and radiating unit.
  • the air in the bedroom sucked by the blower fan is cooled in contact with the surface of the heat absorbing / dissipating part and blown out into the bedroom.
  • the device of Patent Document 1 requires a circuit for circulating a heat exchange fluid in the heat exchanger, the device becomes large. Furthermore, a device for supplying cold air to the passenger is required to have a high cold air supply capability. In order to increase the cold air supply capability, it is effective to ensure that the cold air reaches the occupant. For this reason, it is preferable that the apparatus can be installed in a place close to the occupant. Thus, when there is a restriction on the installation location of the apparatus, it is required to reduce the size of the apparatus.
  • An object of the present disclosure is to provide a cold air supply device capable of achieving both a cold air supply capability and downsizing.
  • the cold air supply device is provided with a Peltier element having a heat radiating part that radiates heat and a heat absorbing part that absorbs heat when controlled to a predetermined energized state, and capable of transferring heat to the heat radiating part.
  • a heat exchange part for heat dissipation to exchange heat with the passing air a cold storage part that accommodates the cold storage material in the container and is capable of transferring heat to the heat absorption part, and is provided to be able to transfer heat to the cold storage part, Cooling heat exchanging part that exchanges heat with the passing air, a fan that can blow air to the heat dissipating heat exchanging part and the cooling heat exchanging part, and air cooling through which air passing through the cooling heat exchanging part flows
  • a ventilation switching device that can be switched between a state of shutting off and opening the main passage, and a control device that controls the operation of the blower and the operation of the ventilation switching device.
  • this cold air supply device in the state where the cooling passage is blocked by the ventilation switching device, the heat generated by the Peltier element is released to the blown air through the heat dissipation heat exchanger, and the cold storage material is cooled by the heat absorption force by the Peltier element. Can be stored. Furthermore, in the state where the cooling passage is opened by the ventilation switching device, the cold heat stored in the cold storage material can be released to the blown air through the cooling heat exchanger, so that cold air is supplied to the passengers in the passenger compartment. Can do.
  • the cold air supply device can be downsized, so that the cold air supply that can be installed at a position close to the occupant in the vehicle A device is obtained. Therefore, it is possible to provide a cold air supply device that can achieve both the cold air supply capability and the miniaturization.
  • the cold air supply device is provided with a Peltier element having a heat radiating part that radiates heat and a heat absorbing part that absorbs heat when controlled to a predetermined energized state, and capable of transferring heat to the heat radiating part.
  • a heat exchange part for heat dissipation to exchange heat with the passing air a cold storage part that accommodates the cold storage material in the container and is capable of transferring heat to the heat absorption part, and is provided to be able to transfer heat to the cold storage part, A heat exchanger for cooling to exchange heat with the passing air, a first fan capable of blowing air to the heat exchanger for heat dissipation, a second fan capable of blowing air to the heat exchanger for cooling, and a Peltier element And a control device for controlling the operation of the first blower and the second blower.
  • the control device controls the Peltier element to a predetermined energized state, does not blow air by the second blower, blows air to the heat radiating heat exchange portion by the first blower, absorbs heat from the heat absorption portion, and stores cold heat in the heat storage material
  • the mode and the cooling mode in which the Peltier element is controlled to be in a predetermined energized state and are blown to the heat-dissipating heat exchange unit by the first blower and are also blown to the cooling heat-exchange unit by the second blower are alternately switched. .
  • the cold air supply device in the cold storage mode, the heat generated by the Peltier element can be released to the blown air via the heat radiating heat exchanging section, and the cold storage can be stored in the cold storage material by the heat absorption force of the Peltier element. Furthermore, in the cooling mode, the cold energy stored in the cold storage material can be released to the blown air through the cooling heat exchanger, so that cold air can be supplied to the passengers in the passenger compartment.
  • the cold wind supply device can be downsized, and can be installed at a position close to the occupant. A cold air supply apparatus is obtained. Therefore, it is possible to provide a cold air supply device that can achieve both the cold air supply capability and the miniaturization.
  • the heat exchanger for cooling is configured integrally with the cold storage unit and is provided so as to be able to transfer heat to the heat absorption unit, and has fins in which the cold storage material is housed by exchanging heat with the passing air.
  • the cool air supply apparatus can be downsized by providing the heat storage part for cooling, which is configured integrally with the cold storage part, having the fins accommodated therein, A cold air supply device that can be installed at a position close to the passenger is obtained. Therefore, it is possible to provide a cold air supply device that can achieve both the cold air supply capability and the miniaturization.
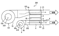
  • a cold air supply device 100 according to the first embodiment will be described with reference to FIGS.
  • the cold air supply device described in the following embodiments can be mounted on a vehicle as illustrated in FIGS. 1 and 2.
  • the vehicle interior R is a target space for supplying cold air.
  • This cold air supply device can be provided as a drowsiness prevention device that has the effect of awakening the occupant's drowsiness, for example, by using it as a device that supplies cold air to the vicinity of the occupant's face.
  • the cold air supply device 100 can be installed on the ceiling of a vehicle, for example, as shown in FIG. Further, the cold air supply device 100 can be installed on a seat 61 on which an occupant sits, for example, as shown in FIG.
  • the up and down arrows shown in FIG. 1 and FIG. 2 indicate directions in a state where the cold air supply device 100 is mounted on the vehicle. Therefore, the upper side, the lower side, the front side, and the rear side are the vehicle upper side, the vehicle lower side, the vehicle front side, and the vehicle rear side, respectively.
  • the cool air supply device 100 includes a blower 1, a ventilation switching device, a heat dissipation heat exchange unit 3, a Peltier module 4, a cold storage unit 5, in a main body forming an outer shell thereof.
  • a heat exchange unit 6 for cooling is provided.
  • the cold air supply apparatus 100 can implement both of a cold storage mode in which cold energy is stored in the cold storage unit 5 and a cooling mode in which the cold energy stored in the cold storage unit 5 is moved to air and allowed to cool as cold air.
  • the case 2 and the blower 1 are integrally connected to constitute the main body of the cold air supply device 100.
  • the case 2 is provided with a Peltier module 4, a cold storage unit 5, an upstream side passage 20, a heat radiation passage 21, and a cooling passage 23.
  • the upstream side passage 20 branches into a heat radiation passage 21 and a cooling passage 23 on the downstream side.
  • the heat dissipation passage 21 is provided with the heat dissipation heat exchanger 3, and the air flowing through the heat dissipation passage 21 contacts the heat dissipation heat exchanger 3.
  • a cooling heat exchange section 6 is installed in the cooling passage 23, and the air flowing through the cooling passage 23 contacts the cooling heat exchange section 6.
  • the Peltier module 4 and the cool storage unit 5 transfer heat between the heat-dissipating heat exchange unit 3 and the cooling heat-exchange unit 6. It is provided integrally. Therefore, the heat exchange unit 3 for heat dissipation, the Peltier module 4, the cool storage unit 5, and the heat exchange unit 6 for cooling are stacked in a row, and are provided inside the case 2 in an integrated state so that heat can be transferred. It has been.
  • the ventilation switching device has an upstream door 7 that opens and closes an upstream passage and a downstream door 8 that opens and closes a downstream passage with respect to the heat exchanger 6 for cooling.
  • Each of the upstream door 7 and the downstream door 8 has an actuator driven by, for example, a servo motor, and its rotational position is controlled.
  • Each of the upstream door 7 and the downstream door 8 is controlled by a cold air ECU 50 which is a control device in the cold air supply device 100 in an open state where the passage is opened and a closed state where the passage is closed.
  • the upstream door 7 is provided at a portion where the heat radiation passage 21 and the cooling passage 23 are branched, and the upstream portion of the cooling passage 23 can be opened and closed.
  • the downstream door 8 is provided at a downstream side of the heat exchanger 6 for cooling, and can block or communicate between the passenger compartment and the heat exchanger 6 for cooling. It is.
  • the cold storage unit 5 accommodates a cold storage material inside the container 5a and is integrally provided so as to be able to transfer heat to the heat absorption unit 4b.
  • the cold storage material is a substance that itself can store and release heat, and for example, paraffin or the like can be adopted.
  • a cold storage material is a substance that undergoes a phase transition between a solid phase and a liquid phase, and a transition from a liquid phase to a solid phase and a transition from a solid phase to a liquid phase are switched according to temperature.
  • the cold storage material may transition so that the cold storage mode and the cool-down mode are repeated in the solid phase region.
  • a temperature sensor 51 that detects the temperature of the cold storage material is provided inside the container 5a of the cold storage unit 5.
  • the temperature sensor 51 may be replaced with a temperature sensor that detects the temperature of any one of the heat exchanger 6 for cooling, the container 5a, and the heat absorber 4b.
  • the temperature of the heat exchanger 6 for cooling, the temperature of the container 5a, and the temperature of the heat absorber 4b are related temperatures related to the temperature of the cold storage material, and these related temperatures are substituted in the processing of the flowchart shown in FIG. Can do.
  • a detection signal of the temperature sensor 51, a communication signal from the air conditioning ECU 60, and the like are input to the input side of the cold air ECU 50.
  • the cold air ECU 50 and the air conditioning ECU 60 are in a relationship of communicating information and commands with each other.
  • an operation signal is input from an operation unit provided on an operation panel near the instrument panel in the front part of the vehicle interior. Examples of the operation unit include an operation switch of the cold air supply device 100.
  • the cold air ECU 50 is a control device in which control means for controlling various devices of the cold air supply device 100 connected to the output side is integrally configured.
  • the hardware and software for controlling the operation of various devices of the cold air supply device 100 constitute a control means.
  • the cold air ECU 50 includes a device such as a microcomputer that operates according to a program as a main hardware element.
  • the cold air ECU 50 includes at least an interface unit 50a to which various devices of the cold air supply device 100, a temperature sensor 51, an operation unit, and an air conditioning ECU 60 are connected, and an arithmetic processing unit 50b.
  • the arithmetic processing unit 50b performs determination processing and arithmetic processing according to environmental information acquired from the temperature sensor 51 through the interface unit 50a and a stored predetermined program.
  • the arithmetic processing unit 50b is a determination processing execution unit in the cold air ECU 50.
  • the interface unit 50a operates the various devices described above based on the determination result and the calculation result by the calculation processing unit 50b. Therefore, the interface unit 50a is an input unit and a control output unit in the control device.
  • the air conditioning ECU 60 is a control device in which control means for controlling various air conditioning devices connected to the output side is integrally configured, and can control the vehicle air conditioner that air-conditions the vehicle interior.
  • the hardware and software for controlling the operation of each air conditioning device constitutes a control means for controlling the operation of each air conditioning component.
  • the air conditioning ECU 60 includes a device such as a microcomputer that operates according to a program as a main hardware element. Detection signals of each sensor group are input to the input side of the air conditioning ECU 60, and operation signals from various operation units provided on an operation panel near the instrument panel in the front of the vehicle interior are input.
  • the operation unit includes, for example, an operation switch of a vehicle air conditioner, a blow mode switching switch for switching a blow-out port mode, a set temperature switch for setting a vehicle interior temperature, and the like.
  • the battery 52 is an example of a power storage device mounted on a vehicle, and is composed of, for example, a secondary battery such as a nickel hydride storage battery or a lithium ion battery.
  • the battery 52 may be a battery pack that is configured integrally by connecting a plurality of single cells so that they can be energized.
  • the battery 52 may be configured to be able to charge power supplied from an external commercial power source. In the vehicle, the electric power stored in the battery 52 is supplied to the cold air supply device 100 and the vehicle air conditioner via the cold air ECU 50 and the air conditioning ECU 60 to operate them.
  • the blower 1 is, for example, an electric blower that rotationally drives a centrifugal fan with an electric motor.
  • the blower 1 is a blowing unit in which the rotation speed and the amount of blown air are controlled by a control voltage output from the cold air ECU 50.
  • the fan casing 10 is formed of resin or metal, and forms a spiral air passage through which blown air blown out from a fan accommodated therein flows.
  • the blowout part of the blower 1 is connected to the upstream passage 20 in the case 2. Therefore, the blower 1 is a device capable of blowing air to the heat-dissipating heat exchange unit 3 and the cooling heat-exchange unit 6.
  • the cold air ECU 50 rotates the electric motor, the blown air flows as shown by solid line arrows in FIGS.
  • the air in the passenger compartment is sucked into the fan casing 10 from the suction portion 10a of the fan casing 10 and blown out from the blower 1, and then flows from the upstream passage 20 through the heat dissipation passage 21 and the cooling passage 23 to pass through the passenger compartment. It is blown out to a predetermined place.
  • the cooling passage 23 communicates with an air outlet that opens toward the upper body of an occupant seated in the front seat of the vehicle, and the heat dissipation passage 21 blows out toward the rear seat. It communicates with the mouth.
  • the cooling passage 23 communicates with an air outlet opening toward the face and head of a passenger seated in the front seat of the vehicle, and the heat radiation passage 21 faces the floor in the vehicle interior. It communicates with the outlet that opens.
  • the Peltier module 4 has one or more Peltier elements inside.
  • the cold air ECU 50 changes the direction of the current flowing through the Peltier element, it is possible to absorb heat or generate heat on one side surface or the other side surface of the Peltier element.
  • the Peltier element has one side plate portion located on the heat exchange portion 3 for heat dissipation and the other side plate portion located on the cold storage portion 5 side. With this configuration, in the cold air supply apparatus 100, the cold air ECU 50 provides a predetermined energized state to the Peltier element so that one side plate portion of the Peltier element generates heat and the other side plate portion absorbs heat.
  • the one side plate portion constitutes the heat dissipation portion 4a of the Peltier element, and the other side plate portion constitutes the heat absorption portion 4b of the Peltier element.
  • the heat radiating heat exchanging section 3 is provided so as to be able to transfer heat to the heat radiating section 4a.
  • the heat exchanger 6 for cooling is provided so as to be able to transfer heat to the heat absorber 4b.
  • a Peltier element is an element that utilizes the Peltier effect in which heat is transferred from one metal to the other when an electric current is passed through a joint between two kinds of metals.
  • the Peltier element for example, a plurality of P-type semiconductors and N-type semiconductors are arranged between two types of metal plates, one metal plate forms an NP junction, and the other metal plate forms a PN junction. It is a configured element.
  • the Peltier element by passing a current through the PN junction, a heat absorption phenomenon occurs in the metal plate corresponding to the N ⁇ P junction, and a heat dissipation phenomenon occurs in the metal plate corresponding to the P ⁇ N junction.
  • the energization to the Peltier element is controlled to a predetermined energization state so that the heat exchange part 3 for heat radiation becomes the heat radiation part 4a and the heat storage part 5 side becomes the heat absorption part 4b.
  • the cold air ECU 50 controls the N-type semiconductor, the heat absorbing portion 4b, and the P-type semiconductor in order of current, and the P-type semiconductor, the heat radiating portion 4a, and the N-type semiconductor are controlled in a predetermined energized state, the heat absorbing portion 4b is controlled. Becomes a part that absorbs heat, and the heat radiation part 4a becomes a part that releases heat.
  • Both the heat-dissipating heat exchanging part 3 and the heat-releasing heat exchanging part 6 are exposed to the air passage and have a plurality of fins composed of a plurality of plate-like members standing at intervals from the base part.
  • the fin is formed of a material containing a metal having high thermal conductivity such as aluminum or copper.
  • the fin is provided such that the main surface is exposed to the air passage in a posture along the air flow direction.
  • the regenerator material is preferably a substance having a latent heat of 100 kJ / kg or more that does not change in temperature when it is melted from a solid to a liquid. According to this cool storage material, it contributes to provision of the cool air supply apparatus provided with the outstanding cool storage performance and cooling performance.
  • This regenerator material can be realized by a material having a main component of C n H 2n + 2 chain saturated hydrocarbon, H 2 O, for example, 90% or more.
  • H 2 O for example, 90% or more.
  • the latent heat is 200 kJ / kg
  • H 2 O the latent heat is 334 kJ / kg.
  • a cool storage material is a substance whose melting temperature which melt
  • This regenerator material can be realized by a material having a main component of C n H 2n + 2 chain saturated hydrocarbon, H 2 O, for example, 90% or more. For example, the melting point of C 13 H 28 is ⁇ 5 ° C., and the melting point of H 2 O is 0 ° C.
  • a cool storage material is a solid cool storage material using the heat which arises with the change of crystal structure (crystal phase change) at predetermined temperature.
  • This cold storage material it is possible to enhance the cold storage performance and the cooling performance by utilizing the heat generated by the crystal phase change.
  • This regenerator material can be realized by a material mainly containing any one of VO 2 , V x O y , V n W 1-n O 2 , and LiVO 2 .
  • the phase change temperature is 4 ° C.
  • the cold air supply device 100 executes processing according to the flowchart of FIG.
  • the cold air ECU 50 controls the operation of the cold air supply device 100 according to the processing procedure shown in FIG.
  • the flowchart of FIG. 7 represents a processing procedure in one cycle of the cold storage mode and the cooling mode.
  • the heat generation action of the Peltier element acts on the air from the heat-dissipating heat exchanging unit 3 through the heat dissipating unit 4a, so that heat is released into the vehicle interior by the air blown into the vehicle interior. Furthermore, since the heat absorption action of the Peltier element acts on the cold storage material through the heat absorption portion 4b, the cold storage material is cooled and cold energy is stored in the cold storage material. At this time, as shown in FIG. 6, the temperature is increased in the order of the heat radiating portion 4 a, the heat radiating heat exchanging portion 3, the air blown into the vehicle interior, and the ambient air around the cooling heat exchanging portion 6. Since the regenerator material is cooled, the temperature of the regenerator material and the temperature of the heat exchanger 6 for cooling are gradually lowered in the same manner. The temperature of the heat exchanger 6 for cooling is slightly higher than the temperature of the regenerator material.
  • the temperature of the cold storage material detected by the temperature sensor 51 is equal to or lower than a predetermined first threshold value.
  • the first threshold is set to a temperature that is higher than the melting point by a predetermined temperature, for example.
  • the first threshold value is set based on experimental values and experience values, and is set to a temperature of the regenerator material that can discharge cool air into the passenger compartment when air is blown to the cool heat exchanger 6. While it is determined in S130 that the temperature of the regenerator material is not equal to or lower than the first threshold, the temperature of the regenerator material continues to decrease as shown in FIG. Repeat until the threshold value is reached.
  • the passage switching device is controlled so as to open the cooling passage 23 in S140.
  • both the upstream door 7 and the downstream door 8 are controlled to be opened.
  • the air blown out from the blower 1 enters a cooling mode in which the air flows into the heat dissipation passage 21 and the cooling passage 23.
  • the heat generation action of the Peltier element acts on the air from the heat exchange part 3 for heat dissipation through the heat radiating part 4a, so that heat is released into the vehicle interior by the air blown into the vehicle interior. And since the cool heat stored in the cool storage material transfers heat to the heat exchanger 6 for cooling and cools the air, the cool air is blown out toward the passenger. Further, even during the cooling mode, the endothermic action of the Peltier element continues to act on the cool storage material through the endothermic portion 4b.
  • the heat exchange part 3 for heat radiation and the blown air begin to exchange heat, so that the temperature of the heat exchange part 3 for heat radiation and the temperature of the cold storage material rise and do not change greatly in the vicinity of the melting point. become.
  • the second threshold is set to a temperature higher than the first threshold.
  • the second threshold value may be set to a temperature that is 5 ° C. to 10 ° C. higher than the first threshold value.
  • the second threshold value may be set to the melting point of the regenerator material or a temperature slightly higher than the melting point.
  • the cold air supply device 100 performs an operation in which the cold storage mode and the cool-off mode are alternately repeated as illustrated in FIG.
  • the cold air supply device 100 includes a Peltier element having a heat radiating part 4a that radiates heat by being controlled in a predetermined energized state and a heat absorbing part 4b that absorbs heat, a heat exchanging part 3 for heat radiating provided to be able to transfer heat to the heat radiating part 4a,
  • the cool storage part 5 and the cool storage heat exchange part 6 provided in the cool storage part 5 so that heat transfer is possible are provided.
  • the cool storage part 5 accommodates the cool storage material in the container 5a and is provided so that heat can be transferred to the heat absorption part 4b.
  • the cold air supply device 100 includes a blower 1 capable of blowing air to the heat-dissipating heat exchange unit 3 and the cooling heat exchange unit 6, and a ventilation switching device capable of switching the cooling passage 23 between a shut-off state and an open state. And a control device that controls the operation of the blower 1 and the operation of the ventilation switching device.
  • the heat generated by the Peltier element is released to the blown air through the heat-dissipating heat exchanging unit 3, and the heat storage force of the Peltier element causes Cold energy is stored. Further, in the state in which the cooling passage 23 is opened by the ventilation switching device, the cold heat stored in the cold storage material can be released to the blown air through the cooling heat exchanger 6, so that cold air can be supplied to the occupant. it can.
  • the cool air supply device 100 can be reduced in size by having a configuration that can be switched between the cool storage mode and the cool discharge mode by the blower 1 and the ventilation switching device, and can be installed at a position close to the occupant in the vehicle. It is. Therefore, it is possible to provide the cold air supply device 100 that can achieve both the cold air supply capability and the miniaturization.
  • the cold air supply device 100 can continuously perform cold storage and cooling by the ventilation switching device, a cold air supply device capable of intermittently providing cold air is obtained. Further, since the latent heat of the regenerator material can be used at the time of cooling, the temperature of the heat exchanger 6 for cooling can be maintained at a low temperature for a certain time. Since the cold air supply device 100 intermittently supplies cold air, the cold air supply device 100 is useful as an occupant drowsiness prevention device that does not always require cold air.
  • the temperature of the cold air can be reduced without increasing the size of the device by setting the first threshold value so that the cold storage time becomes longer or mounting a heat storage material having a low melting point. It becomes possible to do.
  • the ventilation switching device includes an upstream door 7 and a downstream door 8 that open and close each of the upstream passage and the downstream passage with respect to the heat exchanger 6 for cooling.
  • the cooling passage 23 can be reliably closed by the upstream door 7 and the downstream door 8 in the cold storage mode. Therefore, since the outflow of the cold heat from the heat exchange part 6 for natural cooling can be suppressed at the time of the cold storage mode, efficient cold storage can be implemented. Moreover, it contributes also to prevention of the freezing of the heat exchanger 6 for cooling.
  • the cool heat exchanger 6 When the detected temperature detected for any one of the cool storage material, the cool heat exchanger 6, the container 5 a of the cool storage 5, and the heat sink 4 b falls below a predetermined first threshold, the cool heat exchanger 6 Start air blowing against. When the detected temperature rises to a predetermined second threshold value or higher, the control device stops blowing air to the cooling heat exchange unit 6.
  • the cooling mode for supplying cool air to the vehicle interior is started, and when the detected temperature rises above the predetermined second threshold value, the cold storage mode is started.
  • Efficient cold storage and cold air supply are implemented by appropriately setting the first threshold value that triggers the start of the cooling mode and the second threshold value that triggers the start of the cool storage mode, according to the melting point of the cool storage material. be able to.
  • the control device lowers the air volume of the conditioned air into the vehicle compartment by the vehicle air conditioner during the ventilation to the cooling heat exchanger 6 than when the ventilation to the cooling heat exchanger 6 is stopped or Outputs a command to stop conditioned air.
  • air conditioning can be performed so as not to prevent the cool air blown from the cool air supply device 100 from reaching the occupant. Even during the air conditioning operation, it is possible to provide an awakening effect on drowsiness and the like by blowing cool air on the passenger.
  • S130A and S150A are different from the control in the first embodiment.
  • the cool storage mode switched from the cool cooling mode is started in S130A. It is determined whether or not the cold storage mode time T1 has elapsed.
  • the cool storage mode time T1 is a time set in advance based on experimental values and experience values. While it is determined in S130A that the cool storage mode time T1 has not elapsed, the cool storage mode continues as shown in FIG. 6, and the determination process in S130A is repeated until the cool storage mode time T1 has elapsed. .
  • the passage switching device is controlled to open the cooling passage 23 in S140. As a result, the cooling mode is started as shown in FIG.
  • the cooling mode time T2 is a time set in advance based on experimental values and experience values. While it is determined in S150A that the cool-down mode time T2 has not elapsed, the cool-down mode continues as shown in FIG. 6, and the determination process in S150A passes the cool-down mode time T2. Repeat until. When it is determined in S150A that the cool-down mode time T2 has elapsed, this flowchart is ended, and the flowchart is started again. By starting again after the flowchart of FIG. 8 is completed, as shown in FIG. 6, the cold air supply device 100 performs an operation in which the cold storage mode and the cooling mode are alternately repeated.
  • a control apparatus will start ventilation with respect to the heat exchange part 6 for cooling when the cool storage mode time T1 passes after the ventilation to the heat exchange part 6 for cooling is stopped.
  • the cooling mode time T2 has elapsed since the start of blowing air to the cooling heat exchange unit 6, the blowing to the cooling heat exchange unit 6 is stopped.
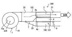
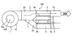
  • a cold air supply device 200 which is another form of the first embodiment, will be described with reference to FIGS.
  • the cold air supply apparatus 200 according to the third embodiment is different from the cold air supply apparatus 100 in that two air blowers are used for ventilation switching.
  • symbol as drawing based on 1st Embodiment, and the structure which is not demonstrated are the same as that of 1st Embodiment, and there exists the same effect.
  • a configuration different from that of the first embodiment will be described.
  • the cold air supply device 200 includes a first blower 101 that can blow air to the heat-dissipating heat exchange unit 3 and a second blower that can blow air to the heat-releasing heat exchange unit 6.
  • the case 102 and the first blower 101, the case 202 and the second blower 9, the Peltier module 4 and the cold storage unit 5 are integrally connected to constitute a main body of the cold air supply device 200.
  • the case 102 is provided with a heat radiation passage 21 therein.
  • the case 202 is provided with a passage 23 for cooling.
  • the heat exchanger 6 for cooling is provided with a downstream door 8 that opens and closes a downstream passage.
  • the heat radiation passage 21 and the cooling passage 23 are not passages branched from one passage, but are passages connected to separate fans.
  • the cold air ECU 50 controls energization of the Peltier element, and controls the operation of the first blower 101 and the operation of the second blower 9.
  • the cold air ECU 50 rotates the electric motor of the first blower 101 to the electric motor of the second blower 9, the blown air flows as shown by solid line arrows in FIGS.
  • the air in the passenger compartment is sucked into the fan casing 10 from the suction portion 10a of the fan casing 10 and blown out from the first blower 101, and then flows through the heat radiation passage 21 and is blown out to a predetermined place in the passenger compartment.
  • the air in the passenger compartment is sucked into the fan casing 90 from the suction portion 90a of the fan casing 90 and blown out from the second blower 9, and then flows through the cooling passage 23 and blows out toward the passengers in the passenger compartment. Is done.
  • the temperature sensor 151 detects the temperature of the heat exchanger 6 for cooling, and outputs information on the detected temperature to the cold air ECU 50.
  • operation of the 1st air blower 101 will be started by S140A.
  • the air blown from the first blower 101 flows into the heat radiation passage 21, and the air blown from the second blower 9 enters the cooling mode in which the air flows into the cooling passage 23. .
  • the cooling mode continues while it is determined in S150 that the temperature of the regenerator material is not equal to or higher than the second threshold value. If it determines with the temperature of a cool storage material being more than a 2nd threshold value in S150, this flowchart will be complete
  • the control device controls the Peltier element to a predetermined energized state, and blows air to the heat-dissipation heat exchanging unit 3 by the first blower 101 without blowing air from the second blower 9, and from the heat absorbing portion 4b.
  • a cold storage mode is performed in which the heat is absorbed and cold is stored in the heat storage material.
  • the control device controls the Peltier element to a predetermined energized state, and sends a cooling mode in which the first blower 101 blows air to the heat dissipation heat exchange unit 3 and the second blower 9 blows air to the cooling heat exchange unit 6. carry out.
  • the control device alternately switches between the cold storage mode and the cooling mode.
  • the cold air supply device 200 in the cold storage mode, the heat generated by the Peltier element is released to the blown air via the heat-dissipating heat exchanging unit 3, and the cold energy is stored in the cold storage material by the heat absorption force of the Peltier element. Furthermore, in the cooling mode, the cold energy stored in the cold storage material can be released to the blown air via the cooling heat exchanger 6, so that cold air can be supplied to the passengers in the vehicle compartment.
  • the cold wind supply apparatus 200 can be downsized by providing a configuration that can be switched between the cold storage mode and the cool discharge mode by the first blower 101 and the second blower 9, it is close to the occupant in the vehicle. Can be installed. Therefore, it is possible to provide the cold air supply apparatus 200 that can achieve both the cold air supply capability and the miniaturization.
  • the cold air supply apparatus 200 since ventilation can be switched according to the operating state of the blower, the responsiveness of the cold air supply can be improved. Moreover, the door which opens and closes a passage can be made unnecessary, and the number can be reduced. Thereby, there is no concern of wind leakage from the door body, the change in sound accompanying the change in ventilation resistance can be suppressed, and the mechanism of the entire apparatus can be simplified. Further, since the number of doors can be reduced, the cooling passage 23 can be shortened, the height of the passage can be suppressed, and the downsizing of the apparatus can be promoted.
  • a cold air supply device 300 which is another embodiment of the first embodiment, will be described with reference to FIGS.
  • the cold air supply apparatus 300 according to the fourth embodiment is different from the cold air supply apparatus 100 in that a cold storage material is incorporated in the heat exchanger 6 for cooling.
  • the components denoted by the same reference numerals as those of the drawings according to the above-described embodiments and the configurations that are not described are the same as those in the above-described embodiment, and have the same effects.
  • a configuration different from the above-described embodiment will be described.
  • the cold air supply device 300 includes a cooling heat exchange section 106 having fins 106a in which the regenerator material 5b is housed.
  • the plurality of fins 106a are a plurality of plate-like members that are erected at intervals from the base portion of the heat exchange unit 106 for cooling. Therefore, the heat-releasing heat exchanging unit 106 is configured integrally with the cold storage unit and is provided so as to be able to transfer heat to the heat absorbing unit 4b.
  • the cold storage material is built in a state in contact with the inner surface of the wall forming the fin 106a.
  • the fin 106a is provided such that the main surface is exposed to the air passage in a posture along the air flow direction.
  • the heat resistance can be suppressed by providing the fin 106a of the heat exchange unit 106 for cooling to have the function of a container for storing the cool storage material 5b, so that the heat transfer efficiency can be suppressed. Can be improved, and the apparatus can be reduced in size.
  • the cold air supply apparatus according to the fifth embodiment is different from the above-described cold air supply apparatus in that it includes a vibration device 53 that vibrates the heat exchanger 6 for cooling.
  • the components denoted by the same reference numerals as those in the drawings according to the above-described embodiments and the configurations that are not described are the same as those in the above-described embodiment, and have the same effects.
  • a configuration different from the above-described embodiment will be described.
  • the cold air ECU 50 controls the Peltier element to a predetermined energized state and operates the vibration device 53 to stop heat exchange for cooling while the air blowing to the cooling heat exchanger is stopped.
  • a vibration is given to the part 6.
  • the vibration device 53 vibrates the heat exchanger 6 for cooling by applying a voltage or an ultrasonic wave. According to this, it is possible to contribute to prevention of freezing of the heat exchange unit 106 for cooling and to suppress ventilation resistance, which contributes to efficient cold air supply.
  • the present disclosure can be practiced without being limited to the illustrated embodiments, and includes the illustrated embodiments and variations thereof by those skilled in the art based thereon.
  • the disclosure is not limited to the combination of components and elements shown in the embodiments, and various modifications can be made.
  • the disclosure can be implemented in various combinations.
  • the disclosure may have additional parts that can be added to the embodiments.
  • the disclosure includes those in which the components and elements of the embodiment are omitted.
  • the disclosure encompasses parts, element replacements, or combinations between one embodiment and another.
  • the technical scope disclosed is not limited to the description of the embodiments.
  • the technical scope disclosed is indicated by the description of the claims, and should be understood to include all modifications within the meaning and scope equivalent to the description of the claims.
  • the control device that controls the operation of the cold air supply device is the cold air ECU 50, but is not limited to the cold air ECU 50.
  • the control device for controlling the operation of the cold air supply device may be the air conditioning ECU 60 or another ECU in which the functions of the cold air ECU 50 are integrated.
  • a predetermined energization is performed to the Peltier element, and the heat radiating unit 4a radiates heat.
  • the heat absorbing portion 4b absorbs heat, but the Peltier element may not be energized.
  • the cool heat stored in the cool storage material 5b in the cool storage mode is discharged to the air through the cool heat exchanger 6 by supplying air to the cool heat exchanger 6, and the cool air is supplied into the vehicle interior. Can do.
  • the cold air supply device is installed on the back side of the ceiling material of the vehicle, on the seat, but is not limited to this installation location. If the cold air supply device is a place where the cool air can be directly blown to the upper body near the occupant's face, the installation location and the installation method can be widely selected in the vehicle.
  • a door that opens and closes the passage may be provided between the second blower 9 and the heat exchanger 6 for cooling.
  • the temperature of the regenerator material used in the processing in the above-described flowchart can be replaced with one of the temperature of the heat exchanger 6 for cooling, the temperature of the container 5a of the regenerator 5 and the temperature of the heat absorber 4b. According to this, since it is not necessary to install the temperature sensor 51 in the container 5a of the cool storage part 5, the concern that a cool storage material leaks from the container 5a can be wiped out.
  • the upstream door 7 and the downstream door 8 may be configured so that, for example, a part of the door body is made of metal and driven by a balance between the electromagnetic force and the biasing force of the spring.

Landscapes

  • Engineering & Computer Science (AREA)
  • Mechanical Engineering (AREA)
  • General Engineering & Computer Science (AREA)
  • Chemical & Material Sciences (AREA)
  • Combustion & Propulsion (AREA)
  • Physics & Mathematics (AREA)
  • Thermal Sciences (AREA)
  • Air-Conditioning For Vehicles (AREA)
  • Devices For Blowing Cold Air, Devices For Blowing Warm Air, And Means For Preventing Water Condensation In Air Conditioning Units (AREA)
PCT/JP2017/006972 2016-03-30 2017-02-24 冷風供給装置 Ceased WO2017169376A1 (ja)

Applications Claiming Priority (2)

Application Number Priority Date Filing Date Title
JP2016-069319 2016-03-30
JP2016069319A JP6493273B2 (ja) 2016-03-30 2016-03-30 冷風供給装置

Publications (1)

Publication Number Publication Date
WO2017169376A1 true WO2017169376A1 (ja) 2017-10-05

Family

ID=59963099

Family Applications (1)

Application Number Title Priority Date Filing Date
PCT/JP2017/006972 Ceased WO2017169376A1 (ja) 2016-03-30 2017-02-24 冷風供給装置

Country Status (2)

Country Link
JP (1) JP6493273B2 (enExample)
WO (1) WO2017169376A1 (enExample)

Cited By (1)

* Cited by examiner, † Cited by third party
Publication number Priority date Publication date Assignee Title
FR3160923A1 (fr) 2024-04-09 2025-10-10 Renault Sas Dispositif de ventilation configuré pour recevoir de manière amovible un module électrique d’échange thermique

Families Citing this family (4)

* Cited by examiner, † Cited by third party
Publication number Priority date Publication date Assignee Title
JP2019069656A (ja) * 2017-10-06 2019-05-09 株式会社デンソー 覚醒装置
JP2019188989A (ja) * 2018-04-24 2019-10-31 株式会社デンソー 冷風供給装置
KR102611141B1 (ko) 2018-11-27 2023-12-08 엘지전자 주식회사 열전모듈이 구비된 공기청정기
JP7417398B2 (ja) * 2019-10-08 2024-01-18 京セラ株式会社 送風装置

Citations (7)

* Cited by examiner, † Cited by third party
Publication number Priority date Publication date Assignee Title
JPH0285010A (ja) * 1988-06-25 1990-03-26 Nippon Denso Co Ltd 冷房装置
JPH037617A (ja) * 1989-06-02 1991-01-14 Mazda Motor Corp 電子冷却システム
JPH0677819U (ja) * 1993-04-09 1994-11-01 エヌオーケー株式会社 除湿器
JPH07260188A (ja) * 1994-03-24 1995-10-13 Aisin Seiki Co Ltd ペルチェ素子を備えた蓄冷式冷風装置
JPH07260186A (ja) * 1994-03-23 1995-10-13 Aisin Seiki Co Ltd 冷風装置
US5901572A (en) * 1995-12-07 1999-05-11 Rocky Research Auxiliary heating and air conditioning system for a motor vehicle
JP2010064660A (ja) * 2008-09-11 2010-03-25 Denso Corp 車両用空調システム

Patent Citations (7)

* Cited by examiner, † Cited by third party
Publication number Priority date Publication date Assignee Title
JPH0285010A (ja) * 1988-06-25 1990-03-26 Nippon Denso Co Ltd 冷房装置
JPH037617A (ja) * 1989-06-02 1991-01-14 Mazda Motor Corp 電子冷却システム
JPH0677819U (ja) * 1993-04-09 1994-11-01 エヌオーケー株式会社 除湿器
JPH07260186A (ja) * 1994-03-23 1995-10-13 Aisin Seiki Co Ltd 冷風装置
JPH07260188A (ja) * 1994-03-24 1995-10-13 Aisin Seiki Co Ltd ペルチェ素子を備えた蓄冷式冷風装置
US5901572A (en) * 1995-12-07 1999-05-11 Rocky Research Auxiliary heating and air conditioning system for a motor vehicle
JP2010064660A (ja) * 2008-09-11 2010-03-25 Denso Corp 車両用空調システム

Cited By (1)

* Cited by examiner, † Cited by third party
Publication number Priority date Publication date Assignee Title
FR3160923A1 (fr) 2024-04-09 2025-10-10 Renault Sas Dispositif de ventilation configuré pour recevoir de manière amovible un module électrique d’échange thermique

Also Published As

Publication number Publication date
JP6493273B2 (ja) 2019-04-03
JP2017178087A (ja) 2017-10-05

Similar Documents

Publication Publication Date Title
JP6493273B2 (ja) 冷風供給装置
JP5619986B2 (ja) 車両用熱システム
KR101020543B1 (ko) 열전소자 이용 공조장치
CN103946042B (zh) 冷却装置
JP5685199B2 (ja) 特に電気自動車のバッテリの冷却装置およびそうした装置を有する車両
CN111556816B (zh) 车辆用冷却装置
CN106457958B (zh) 电动车的温控系统
CN103035974B (zh) 水冷式电池冷却的控制方法
CN111251880A (zh) 用于车辆的热管理系统
WO2013111529A1 (ja) 電池温調装置
US20120222429A1 (en) Vehicle air conditioner
JP2011143911A (ja) 車両用空調ユニット及び車両用空調システム
JP2017178087A5 (enExample)
KR102730520B1 (ko) 전기차용 열관리시스템
US20240399819A1 (en) Vehicle thermal management system
JP2024073319A (ja) 車両用空調システム
CN108242578A (zh) 一种动力电池液相热管理系统
JP2021110500A (ja) 空調装置
JP7559692B2 (ja) 車両用熱マネジメントシステム
KR20060028594A (ko) 하이브리드 차량용 냉각시스템
CN116587811A (zh) 车载热循环系统和车辆
JP7468475B2 (ja) 車両用熱マネジメントシステム
JP4791055B2 (ja) 廃熱回収空調装置及び鉄道車両
JP2020100190A (ja) 送風装置
CN120552571B (zh) 一种车辆的热管理系统和车辆

Legal Events

Date Code Title Description
NENP Non-entry into the national phase

Ref country code: DE

121 Ep: the epo has been informed by wipo that ep was designated in this application

Ref document number: 17773921

Country of ref document: EP

Kind code of ref document: A1

122 Ep: pct application non-entry in european phase

Ref document number: 17773921

Country of ref document: EP

Kind code of ref document: A1