WO2017159747A1 - 電池接続モジュール、電池接続モジュールの製造方法、電池パック、および保護部材 - Google Patents

電池接続モジュール、電池接続モジュールの製造方法、電池パック、および保護部材 Download PDF

Info

Publication number
WO2017159747A1
WO2017159747A1 PCT/JP2017/010485 JP2017010485W WO2017159747A1 WO 2017159747 A1 WO2017159747 A1 WO 2017159747A1 JP 2017010485 W JP2017010485 W JP 2017010485W WO 2017159747 A1 WO2017159747 A1 WO 2017159747A1
Authority
WO
WIPO (PCT)
Prior art keywords
bus bar
battery
main body
connection
connection module
Prior art date
Legal status (The legal status is an assumption and is not a legal conclusion. Google has not performed a legal analysis and makes no representation as to the accuracy of the status listed.)
Ceased
Application number
PCT/JP2017/010485
Other languages
English (en)
French (fr)
Japanese (ja)
Inventor
佐藤 勝則
傑 五十嵐
弘訓 小池
Current Assignee (The listed assignees may be inaccurate. Google has not performed a legal analysis and makes no representation or warranty as to the accuracy of the list.)
Yazaki Corp
Original Assignee
Yazaki Corp
Priority date (The priority date is an assumption and is not a legal conclusion. Google has not performed a legal analysis and makes no representation as to the accuracy of the date listed.)
Filing date
Publication date
Application filed by Yazaki Corp filed Critical Yazaki Corp
Priority to CN201780011489.4A priority Critical patent/CN108701798B/zh
Publication of WO2017159747A1 publication Critical patent/WO2017159747A1/ja
Anticipated expiration legal-status Critical
Ceased legal-status Critical Current

Links

Images

Classifications

    • HELECTRICITY
    • H01ELECTRIC ELEMENTS
    • H01MPROCESSES OR MEANS, e.g. BATTERIES, FOR THE DIRECT CONVERSION OF CHEMICAL ENERGY INTO ELECTRICAL ENERGY
    • H01M50/00Constructional details or processes of manufacture of the non-active parts of electrochemical cells other than fuel cells, e.g. hybrid cells
    • H01M50/50Current conducting connections for cells or batteries
    • HELECTRICITY
    • H01ELECTRIC ELEMENTS
    • H01MPROCESSES OR MEANS, e.g. BATTERIES, FOR THE DIRECT CONVERSION OF CHEMICAL ENERGY INTO ELECTRICAL ENERGY
    • H01M50/00Constructional details or processes of manufacture of the non-active parts of electrochemical cells other than fuel cells, e.g. hybrid cells
    • H01M50/20Mountings; Secondary casings or frames; Racks, modules or packs; Suspension devices; Shock absorbers; Transport or carrying devices; Holders
    • H01M50/204Racks, modules or packs for multiple batteries or multiple cells
    • H01M50/207Racks, modules or packs for multiple batteries or multiple cells characterised by their shape
    • H01M50/213Racks, modules or packs for multiple batteries or multiple cells characterised by their shape adapted for cells having curved cross-section, e.g. round or elliptic
    • HELECTRICITY
    • H01ELECTRIC ELEMENTS
    • H01MPROCESSES OR MEANS, e.g. BATTERIES, FOR THE DIRECT CONVERSION OF CHEMICAL ENERGY INTO ELECTRICAL ENERGY
    • H01M50/00Constructional details or processes of manufacture of the non-active parts of electrochemical cells other than fuel cells, e.g. hybrid cells
    • H01M50/20Mountings; Secondary casings or frames; Racks, modules or packs; Suspension devices; Shock absorbers; Transport or carrying devices; Holders
    • H01M50/218Mountings; Secondary casings or frames; Racks, modules or packs; Suspension devices; Shock absorbers; Transport or carrying devices; Holders characterised by the material
    • H01M50/22Mountings; Secondary casings or frames; Racks, modules or packs; Suspension devices; Shock absorbers; Transport or carrying devices; Holders characterised by the material of the casings or racks
    • H01M50/227Organic material
    • HELECTRICITY
    • H01ELECTRIC ELEMENTS
    • H01MPROCESSES OR MEANS, e.g. BATTERIES, FOR THE DIRECT CONVERSION OF CHEMICAL ENERGY INTO ELECTRICAL ENERGY
    • H01M50/00Constructional details or processes of manufacture of the non-active parts of electrochemical cells other than fuel cells, e.g. hybrid cells
    • H01M50/20Mountings; Secondary casings or frames; Racks, modules or packs; Suspension devices; Shock absorbers; Transport or carrying devices; Holders
    • H01M50/271Lids or covers for the racks or secondary casings
    • HELECTRICITY
    • H01ELECTRIC ELEMENTS
    • H01MPROCESSES OR MEANS, e.g. BATTERIES, FOR THE DIRECT CONVERSION OF CHEMICAL ENERGY INTO ELECTRICAL ENERGY
    • H01M50/00Constructional details or processes of manufacture of the non-active parts of electrochemical cells other than fuel cells, e.g. hybrid cells
    • H01M50/50Current conducting connections for cells or batteries
    • H01M50/572Means for preventing undesired use or discharge
    • H01M50/574Devices or arrangements for the interruption of current
    • H01M50/583Devices or arrangements for the interruption of current in response to current, e.g. fuses
    • HELECTRICITY
    • H01ELECTRIC ELEMENTS
    • H01MPROCESSES OR MEANS, e.g. BATTERIES, FOR THE DIRECT CONVERSION OF CHEMICAL ENERGY INTO ELECTRICAL ENERGY
    • H01M50/00Constructional details or processes of manufacture of the non-active parts of electrochemical cells other than fuel cells, e.g. hybrid cells
    • H01M50/50Current conducting connections for cells or batteries
    • H01M50/572Means for preventing undesired use or discharge
    • H01M50/584Means for preventing undesired use or discharge for preventing incorrect connections inside or outside the batteries
    • H01M50/588Means for preventing undesired use or discharge for preventing incorrect connections inside or outside the batteries outside the batteries, e.g. incorrect connections of terminals or busbars
    • HELECTRICITY
    • H01ELECTRIC ELEMENTS
    • H01MPROCESSES OR MEANS, e.g. BATTERIES, FOR THE DIRECT CONVERSION OF CHEMICAL ENERGY INTO ELECTRICAL ENERGY
    • H01M50/00Constructional details or processes of manufacture of the non-active parts of electrochemical cells other than fuel cells, e.g. hybrid cells
    • H01M50/50Current conducting connections for cells or batteries
    • H01M50/572Means for preventing undesired use or discharge
    • H01M50/584Means for preventing undesired use or discharge for preventing incorrect connections inside or outside the batteries
    • H01M50/59Means for preventing undesired use or discharge for preventing incorrect connections inside or outside the batteries characterised by the protection means
    • H01M50/591Covers
    • YGENERAL TAGGING OF NEW TECHNOLOGICAL DEVELOPMENTS; GENERAL TAGGING OF CROSS-SECTIONAL TECHNOLOGIES SPANNING OVER SEVERAL SECTIONS OF THE IPC; TECHNICAL SUBJECTS COVERED BY FORMER USPC CROSS-REFERENCE ART COLLECTIONS [XRACs] AND DIGESTS
    • Y02TECHNOLOGIES OR APPLICATIONS FOR MITIGATION OR ADAPTATION AGAINST CLIMATE CHANGE
    • Y02EREDUCTION OF GREENHOUSE GAS [GHG] EMISSIONS, RELATED TO ENERGY GENERATION, TRANSMISSION OR DISTRIBUTION
    • Y02E60/00Enabling technologies; Technologies with a potential or indirect contribution to GHG emissions mitigation
    • Y02E60/10Energy storage using batteries

Definitions

  • the present invention relates to a battery connection module, a battery connection module manufacturing method, a battery pack, and a protection member.
  • Patent Document 1 includes a plurality of connecting portions that are connected to the substrate and the electrodes of each power storage element, and are fused when a current of a predetermined value or more flows to cut off an electrical connection with the power storage element; The technology of a connection member provided with this is disclosed.
  • the connection part of Patent Document 1 is formed by punching a substrate and has at least two bent parts bent in the punching direction.
  • connection member of Patent Document 1 is said to be capable of efficiently absorbing and dispersing stress with respect to displacement in the three-dimensional direction between the storage element and the connection member due to vibration or the like while having a fusing characteristic as a fuse. ing.
  • An object of the present invention is to provide a battery connection module, a method for manufacturing the battery connection module, a battery pack, and a protection member that can suppress problems caused by fragments generated by fusing.
  • the battery connection module of the present invention includes a bus bar main body, and a plurality of connection portions that are bent toward one side in the thickness direction with respect to the bus bar main body and connected to the respective battery cells, and A fusing part is provided between the bus bar main body and the battery cell in the connection part, and is disposed between the bus bar electrically connecting the plurality of battery cells, the bus bar main body and the battery cell, And an insulating protective member having a plurality of cylindrical portions that individually surround the plurality of connection portions.
  • a tip end of the cylindrical portion is closed by an end face of the battery cell in a state assembled to the battery cell.
  • the protection member has a cover portion that connects the plurality of cylindrical portions to each other and covers a surface of the bus bar body on the battery cell side.
  • the method for manufacturing a battery connection module according to the present invention is a method for manufacturing a battery connection module for manufacturing the battery connection module, wherein a part between a proximal end and a distal end of the connection portion with respect to the bus bar, and the A punching process for forming the connecting part by punching while leaving a connecting part that connects the bus bar main body, a protection member assembling process that is performed after the punching process and that assembles the protection member to the bus bar, and the protection member assembly A cutting step that is performed after the step and cuts the connecting portion; and a bending step that is performed after the cutting step and bends the connection portion toward one side in the thickness direction of the bus bar body. It is characterized by that.
  • the battery pack of the present invention includes a plurality of battery cells, a bus bar body, and a plurality of connection portions that are bent from the bus bar body toward one side in the thickness direction and connected to the battery cells. And a fusing part is provided between the bus bar main body and the battery cell in the connection part, and a bus bar electrically connecting the plurality of battery cells, and between the bus bar main body and the battery cell. And an insulating protective member having a plurality of cylindrical portions individually surrounding the plurality of connection portions.
  • the protective member of the present invention includes a plurality of insulating cylindrical portions connected to each other in a state of being arranged in parallel, and the plurality of cylindrical portions are bent from the bus bar body toward one side in the thickness direction. And a plurality of connection portions respectively connected to each battery cell.
  • the battery connection module according to the present invention has a bus bar main body, and a plurality of connection portions that are bent toward one side in the thickness direction with respect to the bus bar main body and connected to the respective battery cells, and are connected.
  • a fusing part is provided between the bus bar main body and the battery cell in the section, the bus bar electrically connecting the plurality of battery cells, and the bus bar main body and the battery cell are arranged between the bus bar main body and the battery cell.
  • an insulating protective member having a plurality of cylindrical portions surrounded by According to the battery connection module according to the present invention, by individually enclosing the connection portion with the cylindrical portion, there is an effect that it is possible to suppress problems caused by the fragments generated by the fusing of the fusing portion.
  • FIG. 1 is a side view of the battery pack according to the embodiment.
  • FIG. 2 is a perspective view showing the inside of the battery pack according to the embodiment.
  • FIG. 3 is a plan view of the bus bar according to the embodiment.
  • FIG. 4 is a side view of the bus bar according to the embodiment.
  • FIG. 5 is a perspective view of the protective member according to the embodiment.
  • FIG. 6 is a perspective view of the protective member according to the embodiment as viewed from below.
  • FIG. 7 is a cross-sectional view of the inside of the battery pack according to the embodiment.
  • FIG. 8 is a cross-sectional view of a main part of the battery pack according to the embodiment.
  • FIG. 9 is a perspective view illustrating an assembly procedure of the battery connection module according to the embodiment.
  • FIG. 10 is a plan view illustrating a main part of the bus bar according to the first modification of the embodiment.
  • FIG. 11 is a plan view illustrating a bus bar bending process according to a first modification of the embodiment
  • FIG. 1 is a side view of the battery pack according to the embodiment
  • FIG. 2 is a perspective view showing the inside of the battery pack according to the embodiment
  • FIG. 3 is a plan view of the bus bar according to the embodiment
  • FIG. 4 is the embodiment.
  • FIG. 5 is a perspective view of the protection member according to the embodiment
  • FIG. 6 is a perspective view of the protection member according to the embodiment as viewed from below
  • FIG. 7 is a battery pack according to the embodiment.
  • FIG. 8 is a cross-sectional view of the main part of the battery pack according to the embodiment
  • FIG. 9 is a perspective view for explaining the assembly procedure of the battery connection module according to the embodiment.
  • the side wall of the housing 101 is omitted, and the inside of the housing 101 is illustrated.
  • the battery pack 100 includes a housing 101, a battery connection module 1, and a battery module 10.
  • the shape of the housing 101 is, for example, a hollow rectangular parallelepiped shape.
  • the housing 101 has a bottom wall portion 101a, a top plate portion 101b, and side wall portions that connect the bottom wall portion 101a and the top plate portion 101b.
  • the battery connection module 1 and the battery module 10 are accommodated in the housing 101.
  • the housing 101 further accommodates a connecting member 5, a case 6, an insulating cover 7, and the like.
  • the battery connection module 1 of the present embodiment includes a bus bar 2, a protection member 3, and a case 6.
  • the battery module 10 includes a plurality of stacks 11.
  • Each stack 11 is an aggregate of a plurality of battery cells 4.
  • the stack 11 of the present embodiment has ten battery cells 4.
  • the battery cell 4 has a cylindrical shape, and has a positive electrode at one end in the axial direction and a negative electrode at the other end.
  • the battery cells 4 are arranged with the same poles facing the same side in the axial direction. That is, in one stack 11, the same polarity of the battery cells 4 are adjacent to each other.
  • five battery cells 4 are arranged in two rows.
  • the bus bar 2 and the connection member 5 electrically connect the battery cells 4 of the stack 11 in parallel.
  • each battery cell 4 is accommodated in the housing 101 with the positive electrode facing upward and the negative electrode facing downward.
  • the bus bar 2 electrically connects the positive electrodes of the plurality of battery cells 4 to each other.
  • the connection member 5 electrically connects the negative electrodes of the plurality of battery cells 4 to each other.
  • the connection member 5 is a plate-like member and is made of a conductive material such as metal.
  • the connection member 5 is disposed at the bottom of the housing 101.
  • the connection member 5 has a main body 5a, a plurality of connection portions 5b, and a terminal portion 5c.
  • the main body 5a is a flat plate-shaped main body portion.
  • the connecting portion 5b is bent upward from the main body 5a.
  • the connection portion 5b is electrically connected to the negative electrode of the battery cell 4 and supports the battery cell 4 from below.
  • the terminal portion 5c is bent downward from the main body 5a.
  • the terminal portion 5c is electrically connected to the bus bar 2 of the adjacent stack 11.
  • a plurality of stacks 11 are electrically connected in series. More specifically, the stacks 11 are linearly arranged in the casing 101 along the vertical direction.
  • the “vertical direction” is the longitudinal direction of the stack 11 and the casing 101.
  • the “lateral direction” is a short direction of the stack 11 and the casing 101 and is a direction orthogonal to the vertical direction.
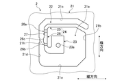
  • the bus bar 2 includes a bus bar main body 21 and a connection portion 22.
  • the bus bar 2 is formed, for example, by punching a metal plate by pressing.
  • the bus bar main body 21 and the connecting portion 22 are integrally formed.
  • the bus bar main body 21 is plate-shaped and has a through hole 21 a corresponding to each battery cell 4.
  • the through hole 21a is formed by punching so as to leave the connecting portion 22.
  • the general shape of the through hole 21a in plan view is a rectangle, for example, a square.
  • the through hole 21a has a first wall surface 21b, a second wall surface 21c, a third wall surface 21d, and a fourth wall surface 21e.
  • the first wall surface 21b and the third wall surface 21d face each other in the vertical direction.
  • the second wall surface 21c and the fourth wall surface 21e face each other in the lateral direction.
  • the connecting part 22 has a plate-like part 23 and a band-like connecting part 24.
  • the plate-like portion 23 is a plate-like component having a rectangular shape in plan view.
  • the plate-like portion 23 is connected to the tip of the connecting portion 24.
  • the plate-like portion 23 has a protrusion 23a at the center.
  • the protrusion 23a protrudes downward, and is formed, for example, by bending a part of the plate-like portion 23.
  • the plate-like portion 23 is connected to the positive electrode 41 of the battery cell 4 by welding, for example, resistance welding.
  • One plate-like part 23 corresponding to one battery cell 4 is electrically connected. That is, the plurality of connection portions 22 of the bus bar 2 are connected to the respective battery cells 4.
  • the connecting portion 24 is a band-shaped component, and is integrated with the bus bar main body 21 and the plate-like portion 23.
  • the connecting part 24 has a first constituent part 25 and a second constituent part 26.
  • the first component 25 extends in the vertical direction from the first wall surface 21b to the third wall surface 21d.
  • the base end of the first component 25 is connected to a position near the second wall surface 21c in the first wall surface 21b.
  • the first component 25 extends in the vertical direction along the second wall surface 21c.
  • the first component 25 is on the same plane as the bus bar body 21.
  • the second component 26 extends laterally from the tip of the first component 25 toward the fourth wall surface 21e.
  • the second component 26 extends along the third wall surface 21d. As shown in FIG. 3, the second component 26 is orthogonal to the first component 25.
  • the second component part 26 connects the tip of the first component part 25 and the plate-like part 23.
  • the tip of the second component part 26 is connected to the plate-like part 23 while being bent toward the first wall surface 21b.
  • the second component 26 is bent downward. More specifically, the second component part 26 is bent at the first bent part 26a and the second bent part 26b.
  • the space between the first component 25 and the first bent portion 26a is horizontal, that is, parallel to the bus bar body 21.
  • the second component 26 is bent obliquely downward at the first bent portion 26a.
  • the first bent part 26a and the second bent part 26b are inclined so as to go downward as they approach the second bent part 26b.
  • the second component part 26 is bent in the horizontal direction at the second bent part 26b.
  • the space between the second bent portion 26 b and the plate-like portion 23 is horizontal, that is, parallel to the bus bar main body 21.
  • connection part 22 is bent toward the one side in the thickness direction of the bus bar main body 21 with respect to the bus bar main body 21.
  • the surface facing the lower side that is, the surface on the battery cell 4 side
  • the surface opposite to the back surface 21f that is, the surface facing upward
  • connection part 22 has a fusing part 27.
  • the fusing part 27 has a fuse function that cuts off the bus bar main body 21 and the battery cell 4 when a current exceeding a predetermined current value flows.
  • the fusing part 27 of this embodiment is a part of the second component part 26.
  • the cross-sectional area of the fusing part 27 is smaller than the cross-sectional area of the other part in the second component part 26. This difference in cross-sectional area is realized, for example, by making the width of the fusing part 27 smaller than the width of the other part in the second component part 26.
  • the whole second component part 26 may be the fusing part 27. In this case, the cross-sectional area of the second component part 26 is made smaller than the cross-sectional area of the first component part 25.
  • the protection member 3 includes a cover portion 31 as a main body and a plurality of cylindrical portions 32.
  • the cover part 31 and the cylindrical part 32 are formed of an insulating material, for example, a synthetic resin.
  • the cover portion 31 covers the surface of the bus bar body 21 on the battery cell 4 side, that is, the back surface 21f.
  • the cover part 31 of this embodiment has a two-layer structure of a first cover part 33 and a second cover part 34.
  • the cover part 31 may be configured by integrally forming a first cover part 33 and a second cover part 34, and the first cover part 33 and the second cover part 34, which are separate members, are combined. May be.
  • the 1st cover part 33 and the 2nd cover part 34 are plate-shaped components, respectively.
  • the first cover part 33 and the second cover part 34 are stacked with a predetermined gap in the thickness direction.
  • the first cover part 33 is located above the second cover part 34.
  • the first cover portion 33 covers the rear surface 21f of the bus bar main body 21, that is, the surface on the battery cell 4 side, and supports the bus bar main body 21 from below.
  • the cylindrical portion 32 is configured integrally with the first cover portion 33.
  • the second cover part 34 covers the stack 11 from above and is supported by the stack 11 from below.
  • the second cover part 34 has a through hole 34a.
  • the through hole 34a penetrates the second cover portion 34 in the plate thickness direction.
  • the shape of the through hole 34a of this embodiment is a circle.
  • the cylindrical portion 32 is formed integrally with at least the first cover portion 33 and protrudes downward from the first cover portion 33.
  • the outer diameter of the cylindrical portion 32 is smaller than the inner diameter of the through hole 34a.
  • the cylindrical portion 32 is arranged coaxially with the through hole 34a, and is inserted into the through hole 34a from above.
  • the tip of the cylindrical portion 32 protrudes below the through hole 34a.
  • the cylindrical portion 32 communicates the space portion above the protection member 3 and the space portion below. In FIG. 6, some of the cylindrical portions 32 are omitted, but actually, the cylindrical portions 32 are inserted into the respective through holes 34a.
  • FIGS. 7 shows a VII-VII cross section of FIG. 2, and FIG. 8 shows a main part of FIG.
  • the connection part 22 of the bus bar 2 is accommodated in the cylindrical part 32 in a state of being connected to the battery cell 4.
  • the cylindrical part 32 accommodates the part which protrudes toward the battery cell 4 side from the bus bar main body 21 among the connection parts 22, specifically, the 2nd structure part 26 and the plate-shaped part 23 inside.
  • the plate-like portion 23 is fixed to the positive electrode 41 of the battery cell 4.
  • the protection member 3 is placed on the stack 11 so as to face the end face 43 of the battery cell 4 on the positive electrode 41 side, and is fixed to the housing 101 and the stack 11.
  • the distal end 32 a of the cylindrical portion 32 abuts on the shoulder portion 42 of the battery cell 4 and is supported from below by the shoulder portion 42.
  • the shoulder portion 42 of the battery cell 4 is a peripheral portion of the positive electrode 41 in the end face 43 of the battery cell 4 on the positive electrode 41 side.
  • the bus bar main body 21 of the bus bar 2 is supported from below by the first cover portion 33 of the protection member 3.
  • a cylindrical accommodation space 36 is formed by the inner peripheral surface of the cylindrical portion 32 and the end surface 43 of the battery cell 4.
  • the connection portion 22 of the bus bar 2 is accommodated in the accommodation space 36.
  • the protection member 3 can regulate the scattering of fragments (hereinafter referred to as “fuse pieces”) that are generated when the melted portion 27 is melted.
  • the scattering of the fuse pieces toward the other battery cells 4 is restricted. Therefore, the battery connection module 1 of the present embodiment can suppress the occurrence of defects due to the fragments generated by the melting of the fusing part 27.
  • the cylindrical portion 32 functions as a support member that is interposed between the battery cell 4 and the bus bar main body 21 and supports the bus bar main body 21 from below.
  • the cylindrical portion 32 supports the bus bar main body 21 from the lower side against vibration and external force, and restricts the bus bar main body 21 from approaching the battery cell 4. Therefore, the cylindrical part 32 can maintain an appropriate insulation distance after the fusing part 27 is blown, and can suppress the occurrence of insufficient insulation distance.
  • the assembly of the battery connection module 1 will be described with reference to FIG.
  • a pulling process for forming the connection portion 22 in the bus bar main body 21 is executed.
  • the through hole 21a is punched from the bus bar body 21 by punching, and the connecting portion 22 is formed.
  • the punching process may be performed simultaneously with the formation of the bus bar main body 21.
  • FIG. 9 shows the bus bar 2 after the punching process and the bending process are performed.
  • a protection member assembly process for assembling the protection member 3 to the bus bar 2 is performed.
  • the protective member assembling step the protective member 3 is assembled to the bus bar body 21 from the back surface 21f side as indicated by an arrow Y1.
  • one protective member 3 is assembled to the plurality of bus bars 2.
  • the protection member 3 is fixed to the bus bar main body 21 so as to accommodate the connection portion 22 inside the cylindrical portion 32.
  • the protection member 3 is fixed to the bus bar body 21 by a known lock mechanism or the like.
  • the case assembling step is a step of assembling the bus bar 2 and the protection member 3 to the case 6.
  • the case 6 has a function as a holding member that holds the bus bar 2 and the protection member 3 and a function as a protection member that protects the bus bar 2 and the protection member 3 from deformation and the like.
  • Case 6 is formed of a non-conductive synthetic resin or the like.
  • a bus bar assembly in which a plurality of bus bars 2 and the protection member 3 are combined is assembled to the case 6 as indicated by an arrow Y2.
  • the bus bar assembly is assembled to the case 6 from the surface 21 g side of the bus bar main body 21.
  • the protection member 3 is fixed to the case 6 by a known locking mechanism or the like so that the bus bar body 21 is sandwiched between the protection member 3 and the case 6. Not only the protection member 3 but also the bus bar body 21 may be fixed to the case 6 by a known locking mechanism or the like.
  • the case 6 has a function of improving the transportability by holding the bus bar 2 and the protection member 3 and a function of covering the bus bar 2 and the protection member 3 and protecting them from an impact or the like.
  • the battery connection module 1 of the present embodiment is completed by the case assembling process.
  • the completed battery connection module 1 is assembled to the battery module 10 in the battery connection module assembly process.
  • the battery connection module assembling step the battery connection module 1 is placed on the battery module 10, and the plate-like portion 23 is welded to the positive electrode 41 of the battery cell 4.
  • the battery connection module 1 is fixed to the battery module 10 directly or indirectly.
  • the case 6 has an opening 6a.
  • the opening 6 a is provided at a position corresponding to the connection portion 22 of the bus bar 2.
  • the opening 6 a faces the connection portion 22 and the positive electrode 41 of the battery cell 4.
  • the electrode of the welding machine is inserted into the cylindrical portion 32 through the opening 6 a and welds the plate-like portion 23 to the battery cell 4.
  • the insulating cover assembling process is executed.
  • the insulating cover 7 is assembled to the battery module 10.
  • the insulating cover 7 may be fixed to the battery module 10 via the case 6 or the like.
  • the insulating cover 7 covers the conductive portions of the battery connection module 1 and the battery module 10 and prevents unintended contact between the worker or tool and the conductive portion. As shown in FIG. 8, the insulating cover 7 closes the opening 6 a of the case 6 from the upper side and covers the bus bar 2 and the conductive parts of the battery cells 4.
  • connection part 22 is connected to the tip 32a of the cylindrical part 32 in a state before the battery connection module 1 is assembled to the battery module 10, that is, in the state of the independent battery connection module 1. It is configured not to be exposed. That is, the cylindrical part 32 accommodates the connection part 22 inside and protects the connection part 22.
  • the plate-like portion 23 is located closer to the bus bar body 21 than the tip 32 a of the tubular portion 32. Therefore, the plate-like portion 23 does not come into contact with other objects or workers during conveyance or assembly.
  • the battery connection module 1 includes the bus bar 2 and the protection member 3.
  • the bus bar 2 includes a plate-like bus bar main body 21 and a plurality of connection portions 22.
  • the connection part 22 is bent toward the one side in the thickness direction of the bus bar main body 21 with respect to the bus bar main body 21 and connected to the battery cell 4.
  • a fusing part 27 is provided between the bus bar body 21 and the battery cell 4 in the connection part 22.
  • the insulating protection member 3 is disposed between the bus bar main body 21 and the battery cell 4 and has a plurality of cylindrical portions 32.
  • the cylindrical portion 32 individually surrounds the plurality of connecting portions 22.
  • the battery connection module 1 according to the present embodiment includes the cylindrical portion 32 that surrounds the connection portion 22, thereby suppressing the scattering of the fuse pieces and poor conduction when the fusing portion 27 is blown.
  • the tip 32 a of the cylindrical portion 32 is closed by the end face 43 of the battery cell 4 in a state where the battery connection module 1 is assembled to the battery module 10.
  • the tip 32 a of the cylindrical portion 32 abuts on the end surface 43 of the battery cell 4.
  • the accommodation space 36 in which at least the lower side is closed is formed.
  • the scattering of the fuse pieces is more reliably suppressed.
  • the cylindrical portion 32 is interposed between the battery cell 4 and the bus bar main body 21 and supports the bus bar main body 21 from below. Therefore, it is possible to suppress the occurrence of insufficient insulation distance when the melted portion 27 is melted.
  • the protection member 3 has a cover portion 31 that connects the plurality of cylindrical portions 32 to each other and covers the surface of the bus bar body 21 on the battery cell 4 side.
  • the cover part 31 connects between the cylindrical parts 32 adjacent to each other and covers the back surface 21f of the bus bar body 21.
  • the cover portion 31 restricts the fuse piece generated in one cylindrical portion 32 from moving into the other cylindrical portion 32. From the viewpoint of suppressing the scattering of the fuse pieces, it is desirable that the cover portion 31 is in contact with the back surface 21f of the bus bar main body 21 or close to the back surface 21f to such an extent that the passage of the fuse pieces can be restricted.
  • the battery pack 100 of the present embodiment includes a plurality of battery cells 4 and the battery connection module 1 described above. Therefore, the battery pack 100 of this embodiment can suppress the malfunction after the fusing part 27 is blown, for example, by suppressing the scattering of the fuse pieces.
  • Protective member 3 of this embodiment has a plurality of insulating cylindrical portions 32 that are connected to each other in a state of being arranged in parallel.
  • the plurality of cylindrical portions 32 individually surround the plurality of connection portions 22 that are bent from the plate-like bus bar main body 21 toward one side in the thickness direction and connected to the battery cell 4. Therefore, the protection member 3 of the present embodiment can suppress problems after the fusing part 27 is blown, for example, by suppressing the scattering of the fuse pieces.
  • FIG. 10 is a plan view illustrating a main part of a bus bar according to a first modification of the embodiment
  • FIG. 11 is a plan view illustrating a bus bar bending process according to the first modification of the embodiment.
  • the bus bar 2 of the first modified example is different from the above embodiment in that a connecting portion 28 is provided.
  • the connecting portion 28 supports the connecting portion 24 and suppresses deformation of the connecting portion 22.
  • the connecting portion 28 connects a part of the connecting portion 24 and the bus bar main body 21.
  • a punching process is performed so as to leave the connecting portion 28.
  • the connecting portion 28 of this modification connects the second constituent portion 26 and the third wall surface 21d in the vertical direction. More specifically, the connecting portion 28 connects the portion on the plate-like portion 23 side with respect to the fusing portion 27 in the second component portion 26 and the third wall surface 21d.
  • the connecting portion 28 is cut until the bus bar 2 is assembled to the battery module 10.
  • the cutting process for cutting the joint portion 28 is executed after the case assembling process, for example.
  • the assembly work of the battery connection module 1 is performed in the following order, for example. Extraction process ⁇ Protection member assembly process ⁇ Case assembly process ⁇ Cutting process ⁇ Bending process
  • the connecting portion 28 is cut and the connecting portion 22 is bent.
  • the connecting portion 28 is cut and the connecting portion 22 is bent.
  • the third wall surface 21d and the second component portion 26 are separated.
  • burrs 21h and 26c remain on the bus bar main body 21 and the second component 26, respectively, as shown in FIG.
  • a bending process is performed after execution of a cutting process, and the 2nd structure part 26 is bent in the 1st bending part 26a and the 2nd bending part 26b.
  • the plate-like portion 23 is in a state of protruding to one side in the thickness direction with respect to the bus bar main body 21.
  • a welding process is a process of welding the plate-shaped part 23 with respect to the battery cell 4, and is contained in said battery connection module assembly
  • the connecting part 22 is bent by pressing the connecting part 22 toward the battery cell 4 by an electrode of a welding machine.
  • a jig for bending the connection portion 22 may be provided in the welding machine, and the bending process may be executed by the jig.
  • the method for manufacturing the battery connection module according to the bus bar 2 of the present modification includes a pulling process, a protective member assembling process, a case assembling process, a cutting process, and a bending process.
  • the connecting portion 22 is removed from the bus bar 2 having the plate-like bus bar main body 21, leaving a connecting portion 28 that connects the bus bar main body 21 to a part between the base end and the distal end of the connecting portion 22.
  • the protection member assembling step is a step performed after the punching step and assembling the protection member 3 to the bus bar 2.
  • the case assembling step is a step of assembling the bus bar 2 and the protection member 3 to the case 6.
  • the cutting process is executed after the protective member assembling process, and is a process of cutting the connecting portion 28.
  • the cutting process is executed after the case assembling process, for example.
  • the bending process is a process that is performed after the cutting process and bends the connecting portion 22 toward one side of the bus bar body 21 in the thickness direction.
  • the connecting portion 22 is supported by the connecting portion 28 until the cutting step is executed, and the deformation of the connecting portion 22 is suppressed. Therefore, the connection part 22 is protected from deformation during the protective member assembling step, the case assembling step, and the conveyance between these steps.
  • the connecting portion 28 is connected to a portion closer to the plate-like portion 23 than the fusing portion 27 in the second component portion 26. That is, the connection part 22 is connected to the bus bar body 21 on both sides of the fusing part 27. Thereby, it becomes possible to relieve the influence of vibration and external force on the fusing part 27 having a small cross-sectional area and suppress deformation of the connecting part 22. Further, the connecting portion 28 is connected to a position shifted from the fusing portion 27. Thereby, it is suppressed that the cross-sectional area of the fusing part 27 shifts from a desired area by the burr 26c.
  • connection unit 22 may have a third component that connects the second component 26 and the plate-like portion 23.
  • the third component extends from the tip of the second component 26 toward the first wall surface 21b.
  • the fusing part 27 may be provided in the first constituent part 25 or the third constituent part instead of the second constituent part 26.
  • the cross-sectional shape of the cylindrical portion 32 may be a polygon such as a rectangle instead of a circle.
  • the cylindrical portion 32 may have a honeycomb shape. Since the hexagonal cylindrical portion 32 has high strength, it can be thinned.

Landscapes

  • Chemical & Material Sciences (AREA)
  • Chemical Kinetics & Catalysis (AREA)
  • Electrochemistry (AREA)
  • General Chemical & Material Sciences (AREA)
  • Connection Of Batteries Or Terminals (AREA)
  • Battery Mounting, Suspending (AREA)
PCT/JP2017/010485 2016-03-18 2017-03-15 電池接続モジュール、電池接続モジュールの製造方法、電池パック、および保護部材 Ceased WO2017159747A1 (ja)

Priority Applications (1)

Application Number Priority Date Filing Date Title
CN201780011489.4A CN108701798B (zh) 2016-03-18 2017-03-15 电池连接模块、电池连接模块的制造方法、电池组及保护部件

Applications Claiming Priority (2)

Application Number Priority Date Filing Date Title
JP2016056043A JP6360092B2 (ja) 2016-03-18 2016-03-18 電池接続モジュール、電池接続モジュールの製造方法、電池パック、および保護部材
JP2016-056043 2016-03-18

Publications (1)

Publication Number Publication Date
WO2017159747A1 true WO2017159747A1 (ja) 2017-09-21

Family

ID=59851905

Family Applications (1)

Application Number Title Priority Date Filing Date
PCT/JP2017/010485 Ceased WO2017159747A1 (ja) 2016-03-18 2017-03-15 電池接続モジュール、電池接続モジュールの製造方法、電池パック、および保護部材

Country Status (3)

Country Link
JP (1) JP6360092B2 (enExample)
CN (1) CN108701798B (enExample)
WO (1) WO2017159747A1 (enExample)

Cited By (1)

* Cited by examiner, † Cited by third party
Publication number Priority date Publication date Assignee Title
CN113994531A (zh) * 2019-04-15 2022-01-28 罗伯特·博世有限公司 具有绝缘汇流条组件的电池模块

Families Citing this family (5)

* Cited by examiner, † Cited by third party
Publication number Priority date Publication date Assignee Title
DE102017219768B4 (de) * 2017-11-07 2021-07-15 Lion Smart Gmbh Verfahren zum Herstellen einer Kontaktplatte für einen Batteriestapel, Kontaktplatte für einen Batteriestapel sowie Batteriestapel
JP7199817B2 (ja) * 2018-03-16 2023-01-06 矢崎総業株式会社 電池パック
KR102820678B1 (ko) * 2019-09-24 2025-06-12 주식회사 엘지에너지솔루션 버스바 플레이트를 포함하는 배터리 모듈, 그것을 포함하는 배터리 팩, 및 전자 디바이스
EP3989354A4 (en) 2019-10-11 2022-11-30 LG Energy Solution, Ltd. BATTERY MODULE WITH BUSBAR PLATE, BATTERY PACK WITH BATTERY MODULE AND ELECTRONIC DEVICE
KR20250034758A (ko) * 2023-09-04 2025-03-11 삼성에스디아이 주식회사 이차전지 모듈

Citations (4)

* Cited by examiner, † Cited by third party
Publication number Priority date Publication date Assignee Title
US20070188147A1 (en) * 2006-02-13 2007-08-16 Straubel Jeffrey B System and method for fusibly linking batteries
JP2012216337A (ja) * 2011-03-31 2012-11-08 Yazaki Corp ヒュージブルリンクブロックの回路構成用バスバー、ヒュージブルリンクブロック、およびヒュージブルリンクブロックの製造方法
JP2014154337A (ja) * 2013-02-08 2014-08-25 Toyota Motor Corp 接続部材
WO2015064097A1 (ja) * 2013-10-31 2015-05-07 パナソニックIpマネジメント株式会社 電池モジュール

Family Cites Families (2)

* Cited by examiner, † Cited by third party
Publication number Priority date Publication date Assignee Title
JP5803513B2 (ja) * 2011-09-29 2015-11-04 ソニー株式会社 電池パック、蓄電システム、電子機器および電動車両
CN204303878U (zh) * 2014-12-05 2015-04-29 东莞市博钺电子有限公司 具有过电流保护功能的导电母排及其动力电池组

Patent Citations (4)

* Cited by examiner, † Cited by third party
Publication number Priority date Publication date Assignee Title
US20070188147A1 (en) * 2006-02-13 2007-08-16 Straubel Jeffrey B System and method for fusibly linking batteries
JP2012216337A (ja) * 2011-03-31 2012-11-08 Yazaki Corp ヒュージブルリンクブロックの回路構成用バスバー、ヒュージブルリンクブロック、およびヒュージブルリンクブロックの製造方法
JP2014154337A (ja) * 2013-02-08 2014-08-25 Toyota Motor Corp 接続部材
WO2015064097A1 (ja) * 2013-10-31 2015-05-07 パナソニックIpマネジメント株式会社 電池モジュール

Cited By (1)

* Cited by examiner, † Cited by third party
Publication number Priority date Publication date Assignee Title
CN113994531A (zh) * 2019-04-15 2022-01-28 罗伯特·博世有限公司 具有绝缘汇流条组件的电池模块

Also Published As

Publication number Publication date
CN108701798B (zh) 2021-02-09
JP2017174512A (ja) 2017-09-28
CN108701798A (zh) 2018-10-23
JP6360092B2 (ja) 2018-07-18

Similar Documents

Publication Publication Date Title
JP6360092B2 (ja) 電池接続モジュール、電池接続モジュールの製造方法、電池パック、および保護部材
JP5716398B2 (ja) 電池及びその製造方法
JP4917927B2 (ja) 車両用多連型ヒューズ装置
JP7057779B2 (ja) 通気式ヒューズハウジング
JP6058738B2 (ja) バスバー及びバッテリーモジュール
JPWO2016072054A1 (ja) 電極部材および集電板、電池ブロック
CN103975458B (zh) 电池配线模块
JP5749701B2 (ja) 蓄電装置
JP6365437B2 (ja) 配線モジュールおよび蓄電モジュール
CN108475757B (zh) 布线模块
JP2021501979A (ja) 電池積層体用の接触板を作製する方法、電池積層体用の接触板及び電池積層体
JP6578881B2 (ja) 配線モジュール
JPWO2012090668A1 (ja) 電池端子用接続板および電池端子用接続板の製造方法
JP5687260B2 (ja) 蓄電装置および蓄電装置の車両搭載構造
JP6238161B2 (ja) 電池集合体と導電路付き端子との接続構造
CN102339975A (zh) 封装电池
JP2017174512A5 (enExample)
JP2020115418A (ja) 組電池、及び、組電池の製造方法
CN111201583A (zh) 多元件熔断器
JP5877181B2 (ja) バスバー構造体、電池モジュール
JP2008091233A (ja) パック電池とその製造方法
JP2015008097A (ja) 電池パック内の安全装置
JP7087348B2 (ja) バスバーモジュール及びバスバー
WO2017014049A1 (ja) 配線モジュール、及び蓄電モジュール
JP5266081B2 (ja) ヒューズ装置及びその製造方法

Legal Events

Date Code Title Description
NENP Non-entry into the national phase

Ref country code: DE

121 Ep: the epo has been informed by wipo that ep was designated in this application

Ref document number: 17766743

Country of ref document: EP

Kind code of ref document: A1

122 Ep: pct application non-entry in european phase

Ref document number: 17766743

Country of ref document: EP

Kind code of ref document: A1