WO2017126176A1 - ヘッドアップディスプレイ装置 - Google Patents

ヘッドアップディスプレイ装置 Download PDF

Info

Publication number
WO2017126176A1
WO2017126176A1 PCT/JP2016/081198 JP2016081198W WO2017126176A1 WO 2017126176 A1 WO2017126176 A1 WO 2017126176A1 JP 2016081198 W JP2016081198 W JP 2016081198W WO 2017126176 A1 WO2017126176 A1 WO 2017126176A1
Authority
WO
WIPO (PCT)
Prior art keywords
image
laser beam
screen member
unit
head
Prior art date
Legal status (The legal status is an assumption and is not a legal conclusion. Google has not performed a legal analysis and makes no representation as to the accuracy of the status listed.)
Ceased
Application number
PCT/JP2016/081198
Other languages
English (en)
French (fr)
Japanese (ja)
Inventor
泰三 宮戸
和幸 石原
一寿 恩田
Current Assignee (The listed assignees may be inaccurate. Google has not performed a legal analysis and makes no representation or warranty as to the accuracy of the list.)
Denso Corp
Original Assignee
Denso Corp
Priority date (The priority date is an assumption and is not a legal conclusion. Google has not performed a legal analysis and makes no representation as to the accuracy of the date listed.)
Filing date
Publication date
Application filed by Denso Corp filed Critical Denso Corp
Priority to CN201680077223.5A priority Critical patent/CN108431668B/zh
Priority to DE112016006256.7T priority patent/DE112016006256B4/de
Priority to US16/070,530 priority patent/US10942352B2/en
Publication of WO2017126176A1 publication Critical patent/WO2017126176A1/ja
Anticipated expiration legal-status Critical
Ceased legal-status Critical Current

Links

Images

Classifications

    • GPHYSICS
    • G02OPTICS
    • G02BOPTICAL ELEMENTS, SYSTEMS OR APPARATUS
    • G02B27/00Optical systems or apparatus not provided for by any of the groups G02B1/00 - G02B26/00, G02B30/00
    • G02B27/01Head-up displays
    • G02B27/0101Head-up displays characterised by optical features
    • BPERFORMING OPERATIONS; TRANSPORTING
    • B60VEHICLES IN GENERAL
    • B60KARRANGEMENT OR MOUNTING OF PROPULSION UNITS OR OF TRANSMISSIONS IN VEHICLES; ARRANGEMENT OR MOUNTING OF PLURAL DIVERSE PRIME-MOVERS IN VEHICLES; AUXILIARY DRIVES FOR VEHICLES; INSTRUMENTATION OR DASHBOARDS FOR VEHICLES; ARRANGEMENTS IN CONNECTION WITH COOLING, AIR INTAKE, GAS EXHAUST OR FUEL SUPPLY OF PROPULSION UNITS IN VEHICLES
    • B60K35/00Instruments specially adapted for vehicles; Arrangement of instruments in or on vehicles
    • B60K35/20Output arrangements, i.e. from vehicle to user, associated with vehicle functions or specially adapted therefor
    • B60K35/21Output arrangements, i.e. from vehicle to user, associated with vehicle functions or specially adapted therefor using visual output, e.g. blinking lights or matrix displays
    • B60K35/215Output arrangements, i.e. from vehicle to user, associated with vehicle functions or specially adapted therefor using visual output, e.g. blinking lights or matrix displays characterised by the combination of multiple visual outputs, e.g. combined instruments with analogue meters and additional displays
    • BPERFORMING OPERATIONS; TRANSPORTING
    • B60VEHICLES IN GENERAL
    • B60KARRANGEMENT OR MOUNTING OF PROPULSION UNITS OR OF TRANSMISSIONS IN VEHICLES; ARRANGEMENT OR MOUNTING OF PLURAL DIVERSE PRIME-MOVERS IN VEHICLES; AUXILIARY DRIVES FOR VEHICLES; INSTRUMENTATION OR DASHBOARDS FOR VEHICLES; ARRANGEMENTS IN CONNECTION WITH COOLING, AIR INTAKE, GAS EXHAUST OR FUEL SUPPLY OF PROPULSION UNITS IN VEHICLES
    • B60K35/00Instruments specially adapted for vehicles; Arrangement of instruments in or on vehicles
    • B60K35/20Output arrangements, i.e. from vehicle to user, associated with vehicle functions or specially adapted therefor
    • B60K35/21Output arrangements, i.e. from vehicle to user, associated with vehicle functions or specially adapted therefor using visual output, e.g. blinking lights or matrix displays
    • B60K35/23Head-up displays [HUD]
    • BPERFORMING OPERATIONS; TRANSPORTING
    • B60VEHICLES IN GENERAL
    • B60KARRANGEMENT OR MOUNTING OF PROPULSION UNITS OR OF TRANSMISSIONS IN VEHICLES; ARRANGEMENT OR MOUNTING OF PLURAL DIVERSE PRIME-MOVERS IN VEHICLES; AUXILIARY DRIVES FOR VEHICLES; INSTRUMENTATION OR DASHBOARDS FOR VEHICLES; ARRANGEMENTS IN CONNECTION WITH COOLING, AIR INTAKE, GAS EXHAUST OR FUEL SUPPLY OF PROPULSION UNITS IN VEHICLES
    • B60K35/00Instruments specially adapted for vehicles; Arrangement of instruments in or on vehicles
    • B60K35/20Output arrangements, i.e. from vehicle to user, associated with vehicle functions or specially adapted therefor
    • B60K35/28Output arrangements, i.e. from vehicle to user, associated with vehicle functions or specially adapted therefor characterised by the type of the output information, e.g. video entertainment or vehicle dynamics information; characterised by the purpose of the output information, e.g. for attracting the attention of the driver
    • BPERFORMING OPERATIONS; TRANSPORTING
    • B60VEHICLES IN GENERAL
    • B60KARRANGEMENT OR MOUNTING OF PROPULSION UNITS OR OF TRANSMISSIONS IN VEHICLES; ARRANGEMENT OR MOUNTING OF PLURAL DIVERSE PRIME-MOVERS IN VEHICLES; AUXILIARY DRIVES FOR VEHICLES; INSTRUMENTATION OR DASHBOARDS FOR VEHICLES; ARRANGEMENTS IN CONNECTION WITH COOLING, AIR INTAKE, GAS EXHAUST OR FUEL SUPPLY OF PROPULSION UNITS IN VEHICLES
    • B60K35/00Instruments specially adapted for vehicles; Arrangement of instruments in or on vehicles
    • B60K35/60Instruments characterised by their location or relative disposition in or on vehicles
    • BPERFORMING OPERATIONS; TRANSPORTING
    • B60VEHICLES IN GENERAL
    • B60RVEHICLES, VEHICLE FITTINGS, OR VEHICLE PARTS, NOT OTHERWISE PROVIDED FOR
    • B60R11/00Arrangements for holding or mounting articles, not otherwise provided for
    • GPHYSICS
    • G02OPTICS
    • G02BOPTICAL ELEMENTS, SYSTEMS OR APPARATUS
    • G02B17/00Systems with reflecting surfaces, with or without refracting elements
    • G02B17/08Catadioptric systems
    • GPHYSICS
    • G02OPTICS
    • G02BOPTICAL ELEMENTS, SYSTEMS OR APPARATUS
    • G02B26/00Optical devices or arrangements for the control of light using movable or deformable optical elements
    • G02B26/08Optical devices or arrangements for the control of light using movable or deformable optical elements for controlling the direction of light
    • G02B26/10Scanning systems
    • GPHYSICS
    • G02OPTICS
    • G02BOPTICAL ELEMENTS, SYSTEMS OR APPARATUS
    • G02B26/00Optical devices or arrangements for the control of light using movable or deformable optical elements
    • G02B26/08Optical devices or arrangements for the control of light using movable or deformable optical elements for controlling the direction of light
    • G02B26/10Scanning systems
    • G02B26/101Scanning systems with both horizontal and vertical deflecting means, e.g. raster or XY scanners
    • BPERFORMING OPERATIONS; TRANSPORTING
    • B60VEHICLES IN GENERAL
    • B60KARRANGEMENT OR MOUNTING OF PROPULSION UNITS OR OF TRANSMISSIONS IN VEHICLES; ARRANGEMENT OR MOUNTING OF PLURAL DIVERSE PRIME-MOVERS IN VEHICLES; AUXILIARY DRIVES FOR VEHICLES; INSTRUMENTATION OR DASHBOARDS FOR VEHICLES; ARRANGEMENTS IN CONNECTION WITH COOLING, AIR INTAKE, GAS EXHAUST OR FUEL SUPPLY OF PROPULSION UNITS IN VEHICLES
    • B60K2360/00Indexing scheme associated with groups B60K35/00 or B60K37/00 relating to details of instruments or dashboards
    • B60K2360/20Optical features of instruments
    • B60K2360/23Optical features of instruments using reflectors
    • BPERFORMING OPERATIONS; TRANSPORTING
    • B60VEHICLES IN GENERAL
    • B60KARRANGEMENT OR MOUNTING OF PROPULSION UNITS OR OF TRANSMISSIONS IN VEHICLES; ARRANGEMENT OR MOUNTING OF PLURAL DIVERSE PRIME-MOVERS IN VEHICLES; AUXILIARY DRIVES FOR VEHICLES; INSTRUMENTATION OR DASHBOARDS FOR VEHICLES; ARRANGEMENTS IN CONNECTION WITH COOLING, AIR INTAKE, GAS EXHAUST OR FUEL SUPPLY OF PROPULSION UNITS IN VEHICLES
    • B60K2360/00Indexing scheme associated with groups B60K35/00 or B60K37/00 relating to details of instruments or dashboards
    • B60K2360/20Optical features of instruments
    • B60K2360/33Illumination features
    • B60K2360/333Lasers
    • BPERFORMING OPERATIONS; TRANSPORTING
    • B60VEHICLES IN GENERAL
    • B60KARRANGEMENT OR MOUNTING OF PROPULSION UNITS OR OF TRANSMISSIONS IN VEHICLES; ARRANGEMENT OR MOUNTING OF PLURAL DIVERSE PRIME-MOVERS IN VEHICLES; AUXILIARY DRIVES FOR VEHICLES; INSTRUMENTATION OR DASHBOARDS FOR VEHICLES; ARRANGEMENTS IN CONNECTION WITH COOLING, AIR INTAKE, GAS EXHAUST OR FUEL SUPPLY OF PROPULSION UNITS IN VEHICLES
    • B60K2360/00Indexing scheme associated with groups B60K35/00 or B60K37/00 relating to details of instruments or dashboards
    • B60K2360/20Optical features of instruments
    • B60K2360/33Illumination features
    • B60K2360/334Projection means
    • BPERFORMING OPERATIONS; TRANSPORTING
    • B60VEHICLES IN GENERAL
    • B60KARRANGEMENT OR MOUNTING OF PROPULSION UNITS OR OF TRANSMISSIONS IN VEHICLES; ARRANGEMENT OR MOUNTING OF PLURAL DIVERSE PRIME-MOVERS IN VEHICLES; AUXILIARY DRIVES FOR VEHICLES; INSTRUMENTATION OR DASHBOARDS FOR VEHICLES; ARRANGEMENTS IN CONNECTION WITH COOLING, AIR INTAKE, GAS EXHAUST OR FUEL SUPPLY OF PROPULSION UNITS IN VEHICLES
    • B60K35/00Instruments specially adapted for vehicles; Arrangement of instruments in or on vehicles
    • B60K35/80Arrangements for controlling instruments
    • BPERFORMING OPERATIONS; TRANSPORTING
    • B60VEHICLES IN GENERAL
    • B60RVEHICLES, VEHICLE FITTINGS, OR VEHICLE PARTS, NOT OTHERWISE PROVIDED FOR
    • B60R2300/00Details of viewing arrangements using cameras and displays, specially adapted for use in a vehicle
    • B60R2300/20Details of viewing arrangements using cameras and displays, specially adapted for use in a vehicle characterised by the type of display used
    • B60R2300/205Details of viewing arrangements using cameras and displays, specially adapted for use in a vehicle characterised by the type of display used using a head-up display
    • GPHYSICS
    • G02OPTICS
    • G02BOPTICAL ELEMENTS, SYSTEMS OR APPARATUS
    • G02B27/00Optical systems or apparatus not provided for by any of the groups G02B1/00 - G02B26/00, G02B30/00
    • G02B27/01Head-up displays
    • G02B27/0101Head-up displays characterised by optical features
    • G02B2027/0112Head-up displays characterised by optical features comprising device for genereting colour display
    • G02B2027/0116Head-up displays characterised by optical features comprising device for genereting colour display comprising devices for correcting chromatic aberration

Definitions

  • the present disclosure relates to a head-up display device (hereinafter, abbreviated as a HUD device) that is mounted on a moving body and displays a virtual image that can be viewed by an occupant.
  • a head-up display device hereinafter, abbreviated as a HUD device
  • the HUD device disclosed in Patent Document 1 includes a laser projection unit, a scanning unit, a screen member, and a refractive element unit.
  • the laser projection unit projects a plurality of laser light beams having different wavelengths from each other.
  • the scanning unit scans the laser beam from the laser projection unit.
  • the screen member is a member on which an image is drawn by the incidence of a laser beam scanned by the scanning unit.
  • the refracting element unit is disposed on the optical path between the scanning unit and the screen member, has a positive refractive power, and adjusts the incident angle of the laser beam to the screen member by refraction. More specifically, the refracting element portion is constituted by a single lens.
  • Patent Document 1 an image is drawn on the screen member by a laser beam in which different wavelengths are superimposed.
  • the laser beam transmitted through each part of the single lens by scanning by the scanning unit is separated into each color due to the dispersibility of the lens medium, and chromatic aberration may occur in the image drawn on the screen member.
  • chromatic aberration may occur in the image drawn on the screen member.
  • a virtual image obtained by projecting such an image on a projection member there is a concern that the visibility may be adversely affected by the chromatic aberration.
  • the present disclosure has been made in view of the problems described above, and an object thereof is to provide a HUD device with high visibility of a virtual image.
  • the head-up display device is mounted on a moving body and displays a virtual image that can be visually recognized by an occupant by projecting an image onto a projection member.
  • the head-up display device includes a laser projection unit that projects a plurality of laser beams having different wavelengths.
  • the head-up display device further includes a scanning unit that scans the laser beam from the laser projection unit.
  • the head-up display device further includes a screen member on which the image is drawn by the incidence of the laser beam scanned by the scanning unit.
  • the head-up display device is disposed on an optical path between the scanning unit and the screen member, has a positive refractive power as a whole, and adjusts an incident angle of the laser beam to the screen member by refraction.
  • An element part is further provided.
  • the refractive element unit includes a positive lens unit having a positive refractive power.
  • the refracting element portion is further formed of a medium having higher dispersion than the positive lens portion, and further includes a negative lens portion having a
  • the drawing It is a schematic diagram which shows the mounting state to the vehicle of the HUD apparatus in one Embodiment, It is a mimetic diagram showing a schematic structure of a HUD device in one embodiment, It is a schematic diagram showing a laser projection unit in one embodiment, It is a schematic diagram showing an optical system from the laser projection unit to the screen member in one embodiment, It is a top view for demonstrating drawing of the image in a screen member, and FIG. 6 is an enlarged view showing a laser beam corresponding to one pixel of FIG. 5 in an enlarged manner, for explaining chromatic aberration.
  • a HUD device 100 according to an embodiment of the present disclosure shown in FIG. 1 is mounted on an instrument panel 2 of a vehicle 1 that is a kind of moving body.
  • the HUD device 100 projects an image IM on a windshield 3 as a projection member of the vehicle 1.
  • the HUD device 100 displays the virtual image VI that can be visually recognized by the occupant seated on the target seat 4 in the vehicle 1. That is, the light of the image IM reflected by the windshield 3 reaches the occupant's eyes in the interior of the vehicle 1 and the occupant perceives the light.
  • the occupant can recognize various information displayed as the virtual image VI. Examples of various information displayed as the virtual image VI include vehicle state values such as vehicle speed and fuel remaining amount, or vehicle information such as road information and visibility assistance information.
  • the windshield 3 of the vehicle 1 is located above the instrument panel 2 and is formed in a translucent plate shape with glass or synthetic resin. Further, the windshield 3 is disposed so as to be inclined toward the rear of the vehicle toward the upper side of the vehicle. In particular, as shown in FIG. 2, the surface 3 a facing the occupant side in the vehicle compartment in the windshield 3 is formed in a smooth concave shape or a planar shape. In the windshield 3, the back surface 3b facing away from the passenger outside the vehicle compartment is formed in a smooth convex shape or a flat shape. As the distance between the front surface 3a and the back surface 3b increases toward the top of the vehicle, the windshield 3 has a wedge-shaped section.
  • the downward direction of the vehicle indicates a direction in which gravity is generated when the vehicle travels on a flat ground or stops on a flat ground.
  • the upper side of the vehicle indicates the opposite direction of the lower side of the vehicle.
  • the vehicle up-down direction indicates the vehicle upper side and the vehicle lower side.
  • a direction along the vehicle vertical direction in the image IM is defined as an image vertical direction Diy
  • a direction perpendicular to the vehicle vertical direction in the image IM is defined as an image horizontal direction Dix.
  • such a HUD device 100 includes a laser projection unit 10, a scanning unit 20, a refraction element unit 30, a reflection element unit 40, a screen member 50, and a light guide unit 60 in a housing 70. It has.
  • the laser projection unit 10 includes a plurality of laser oscillators 12a, 12b, and 12c, a plurality of collimating lenses 14a, 14b, and 14c, and a plurality of dichroic mirrors 16a, 16b, and 16c. .
  • the laser oscillators 12a to 12c, collimating lenses 14a to 14c, and dichroic mirrors 16a to 16c are provided.
  • the three laser oscillators 12a to 12c oscillate laser beams having different wavelengths.
  • the laser oscillator 12a oscillates a green laser beam having a peak wavelength in the range of 490 to 530 nm, preferably 515 nm, for example.
  • the laser oscillator 12b oscillates a blue laser beam having a peak wavelength in the range of 430 to 470 nm, preferably 450 nm, for example.
  • the laser oscillator 12c oscillates a red laser beam having a peak wavelength in the range of 600 to 650 nm, preferably 640 nm, for example.
  • Each laser beam emitted from each laser oscillator 12a to 12c is incident on a corresponding collimator lens 14a to 14c.
  • the three collimating lenses 14a to 14c are arranged at predetermined intervals in the traveling direction of the respective laser beams with respect to the corresponding laser oscillators 12a to 12c. Each of the collimating lenses 14a to 14c refracts the corresponding color laser beam to collimate the laser beam.
  • the three dichroic mirrors 16a to 16c are arranged at predetermined intervals in the traveling direction of each laser beam with respect to the corresponding collimating lenses 14a to 14c, respectively.
  • Each of the dichroic mirrors 16a to 16c reflects a laser beam having a specific wavelength among the laser beams transmitted through the corresponding collimating lenses 14a to 14c, and transmits a laser beam having other wavelengths.
  • the dichroic mirror 16a corresponding to the collimating lens 14a reflects the green laser beam.
  • the dichroic mirror 16b corresponding to the collimating lens 14b reflects the blue laser beam and transmits the green laser beam.
  • the dichroic mirror 16c corresponding to the collimating lens 14c reflects the red laser beam and transmits the green and red laser beams.
  • the dichroic mirror 16b is arranged at a predetermined interval in the traveling direction of the green laser beam after being reflected by the dichroic mirror 16a.
  • a dichroic mirror 16c is arranged at a predetermined interval in the traveling direction of the blue laser beam after being reflected by the dichroic mirror 16b.
  • each of the laser oscillators 12 a to 12 c is electrically connected to the controller 18.
  • Each laser oscillator 12a to 12c oscillates a laser beam in accordance with an electric signal from the controller 18.
  • Various colors can be reproduced by adding and mixing the three color laser beams emitted from the laser oscillators 12a to 12c.
  • the laser projection unit 10 projects the laser beams having different wavelengths from each other toward the scanning unit 20 in a state where the laser beams are superimposed.
  • the scanning unit 20 has a scanning mirror 22 as shown in detail in FIG.
  • the scanning mirror 22 is a MEMS mirror using a micro-electro-mechanical system (MEMS) that scans the laser beam by temporally changing the projection direction PD of the laser beam from the laser projection unit 10.
  • MEMS micro-electro-mechanical system
  • a reflective surface 22 c is formed on the surface facing the dichroic mirror 16 c with a predetermined distance by metal deposition of aluminum or the like.
  • the reflection surface 22c is rotatable around two rotation axes Ax and Ay orthogonal to each other along the reflection surface 22c.
  • Such a scanning mirror 22 is electrically connected to the controller 18 and can change the direction of the reflecting surface 22c in accordance with the scanning signal.
  • the scanning unit 20 can scan the laser light beam in conjunction with the laser projection unit 10 by controlling the scanning mirror 22 by the controller 18.
  • the laser light beam scanned by the scanning unit 20 enters the refractive element unit 30.
  • the refractive element unit 30 is disposed on the optical path between the scanning unit 20 and the screen member 50, particularly in the present embodiment, on the optical path between the scanning unit 20 and the reflective element unit 40.
  • the refractive element section 30 has a positive refractive power as a whole, and adjusts the incident angle of the laser light beam on the screen member 50 by refraction.
  • the refractive element unit 30 includes a negative lens unit 32 having a negative refractive power and a positive lens unit 34 having a positive refractive power. Particularly in the present embodiment, the refractive element portion 30 is integrally formed by bonding the negative lens portion 32 and the positive lens portion 34 to each other.
  • the negative lens unit 32 is disposed closer to the scanning unit 20 than the positive lens unit 34, and the positive lens unit 34 is disposed closer to the screen member 50 than the negative lens unit 32.
  • the negative lens portion 32 is formed of a medium such as glass and has translucency.
  • the negative lens unit 32 has a plurality of refractive surfaces 32a and 32b that refract the laser beam.
  • the refractive surface 32a on the incident side is a convex spherical surface.
  • the exit-side refracting surface 32 b is a concave spherical surface, and is shared with the incident-side refracting surface 34 a of the positive lens portion 34 by being bonded to the positive lens portion 34.
  • the curvature radius of the entrance-side refracting surface 32a is set to be larger than the curvature radius of the exit-side refracting surface 32b, and the negative lens portion 32 is a concave lens having a meniscus shape.
  • the positive lens part 34 is formed to have translucency by a medium such as glass.
  • the positive lens unit 34 has a plurality of refractive surfaces 34a and 34b that refract the laser beam.
  • the incident-side refracting surface 34 b is a convex spherical surface, and is shared with the exit-side refracting surface 32 b of the negative lens portion 32 by bonding to the negative lens portion 32 as described above.
  • the exit-side refracting surface 34b is a convex aspheric surface, and in particular in the present embodiment, is a free-form surface. Therefore, the positive lens portion 34 is a biconvex lens.
  • the laser beam is refracted and transmitted through such a refracting element part 30 and then enters the reflecting element part 40.
  • the reflection element unit 40 is disposed on the optical path between the scanning unit 20 and the screen member 50, particularly in the present embodiment, on the optical path between the refraction element unit 30 and the screen member 50.
  • the reflection element unit 40 has a free-form surface mirror 42.
  • the free-form surface mirror 42 is formed by evaporating aluminum or the like as the reflective surface 42a on the surface of a base material made of synthetic resin or glass.
  • the reflecting surface 42a is a concave free-form surface with a recessed center.
  • the free-form surface mirror 42 of the reflection element unit 40 reflects the laser beam from the refraction element unit 30 toward the screen member 50, so that the incident angle of the laser beam to the screen member 50 in cooperation with the refraction element unit 30. Adjust. Specifically, the adjustment is performed so that the difference in the incident angle to the screen member 50 between the laser beams corresponding to each projection direction PD is minimized.
  • the screen member 50 is a reflective screen formed by depositing aluminum on the surface of a base material made of synthetic resin or glass.
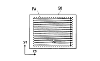
  • the screen member 50 is formed as a micromirror array in which a plurality of small reflecting surfaces 52 are arranged in a projection area PA where a laser beam is projected.
  • each reflecting surface 52 is formed in a concave shape having a sufficiently smaller radius of curvature than each surface 32a to 32b, 34a to 34b, 42a of the refractive element portion 30 and the reflecting element portion 40. It may be formed into a shape.
  • an image IM is drawn on the screen member 50 by the incidence of the laser beam scanned by the scanning unit 20.
  • the scanning unit 20 projects the laser beam toward the projection area PA of the screen member 50 while temporally changing the projection direction PD of the laser beam.
  • the laser beam is sequentially scanned along the plurality of scanning lines SL under the control of the controller 18. As a result, the position where the laser light beam is incident moves in the projection area PA, and the laser light beam is intermittently irradiated with pulses, thereby rendering the image IM.
  • the image IM drawn in the projection area PA is drawn, for example, as 60 frames per second as an image having 480 pixels in the xs direction along the scanning line SL and 240 pixels in the ys direction perpendicular to the scanning line SL.
  • illustration of each reflective surface 52 is abbreviate
  • the laser beam as the light of the image IM constituting each pixel is incident on the light guide unit 60 while being diffused by being reflected by each reflection surface 62a of the screen member 50.
  • the light guide 60 has a concave mirror 62 as shown in FIG.
  • the concave mirror 62 is formed by evaporating aluminum as the reflective surface 62a on the surface of a base material made of synthetic resin or glass.
  • the reflecting surface 62a is formed in a smooth curved surface as a concave shape with a recessed central portion.
  • the concave mirror 62 reflects the light of the image IM from the screen member 50 toward the windshield 3.
  • a light-transmitting dustproof cover 72 is provided in the opening of the housing 70 above the vehicle, and the light of the image IM reflected by the concave mirror 62 passes through the dustproof cover 72 from below the vehicle, The light enters the windshield 3 above the vehicle.
  • the light guide unit 60 enlarges the image IM drawn on the screen member 50 and guides it to the windshield 3.
  • a plane mirror etc. can be added to the light guide part 60.
  • the virtual image VIa reflected by the front surface 3a and the virtual image VIb reflected by the back surface 3b can be visually recognized as a virtual image VI as a slightly shifted double image.
  • the windshield 3 has a cross-sectional wedge shape, for example, it is very difficult to completely match the positions of the virtual images VIa and VIb in the entire virtual image VI.
  • the direction in which the virtual image VIb due to reflection on the back surface 3b deviates from the virtual image VIa due to reflection on the front surface 3a is defined as a shift parallel direction Dd1
  • a direction perpendicular to the shift parallel direction Dd1 is defined as a shift vertical direction Dd2.
  • the shift parallel direction Dd1 approximately matches the image vertical direction Diy
  • the shift vertical direction Dd2 approximately matches the image horizontal direction Dix. Yes.
  • the virtual image VI visually recognized by the occupant is enlarged by the light guide unit 60 and the windshield 3 with respect to the image IM drawn on the screen member 50.
  • the magnification in the image vertical direction Diy is defined as My.
  • the magnification in the shift parallel direction Dd1 is M1.
  • the column of pixels arranged in the xs direction on the screen member 50 is in the image horizontal direction Dix.
  • the pixel rows arranged in the ys direction are arranged along the image up-down direction Diy. That is, the xs direction constituting the image left-right direction Dix is a direction corresponding to the deviation vertical direction Dd2, and the ys direction constituting the image up-down direction Diy direction is a direction corresponding to the deviation parallel direction Dd1 (FIG. 4). (See also 5).
  • the direction corresponding to the xs direction or the ys direction is defined as the direction in which the laser light beam moves by scanning in the xs direction, and the ls direction.
  • the direction in which the laser light beam moves by the scanning is defined as the yl direction (see also FIG. 4).
  • the focal length of the negative lens section 32 is set to f1
  • the Abbe number of the negative lens section 32 is set to ⁇ 1 again.
  • the focal length of the positive lens unit 34 in the xl direction is f2x
  • the focal length of the positive lens unit 34 in the yl direction is f2y
  • the Abbe number of the positive lens unit 34 is again ⁇ 2.
  • the focal length in the xl direction corresponding to the image left-right direction Dix of the positive lens unit 34 is larger than the focal length in the yl direction corresponding to the image vertical direction Diy of the positive lens unit 34. It is getting longer.
  • the radii of curvature in the xl direction corresponding to the image left-right direction Dix are in the image up-down direction Diy at each location including on the optical axis. It is larger than the corresponding radius of curvature in the yl direction.
  • the focal length in the xl direction corresponding to the image left-right direction Dix as a whole is also the refractive element portion 30 as a whole in the yl direction corresponding to the image up-down direction Diy. Longer than focal length.
  • the image IM drawn on the screen member 50 by the laser beam refracted and transmitted by the refraction element unit 30 will be described.
  • the laser beam corresponding to one projection direction PD in the scanning of the scanning unit 20 corresponds to one pixel of the image IM.
  • the incident position on the screen member 50 corresponds to one projection direction PD, and between the colors of the laser light beams in a state where different wavelengths are superimposed to form one pixel. Dislocation chromatic aberration may occur.
  • the chromatic aberration Cx in the image horizontal direction Dix is smaller than the chromatic aberration Cy in the image vertical direction Diy in each laser beam corresponding to each projection direction PD by the refractive element unit 30 based on the above mathematical formula 1.
  • the generated chromatic aberration Cx, Cy varies depending on each pixel of the image IM.
  • the relationship between the chromatic aberration Cx, Cy is established in all the pixels. It is preferable. However, since the chromatic aberration Cx, Cy may not occur or may be extremely small in the first place with respect to the laser beam (for example, the pixel at the center of the image IM) that has passed through the paraxial axis of the refractive element unit 30, the chromatic aberration Cx, Cy described above may occur. The relationship may not be established.
  • the chromatic aberration Cy in the image vertical direction Diy is between the virtual images VIa and VIb in each laser beam corresponding to each projection direction PD. It is smaller than the value obtained by dividing the component in the image vertical direction Diy of the shift amount Ld by the magnification My.
  • the upper limit of the chromatic aberration Cy in the image vertical direction Diy is also preferably established in all pixels.
  • the relationship between the chromatic aberrations Cx and Cy described above holds even when the image vertical direction Diy and the shift parallel direction Dd1 are read, and the image left-right direction Dix and the shift vertical direction Dd2 are read. That is, in the laser beam of the image IM drawn on the screen member 50, the chromatic aberration Cx is shifted, and the chromatic aberration C2 in the direction corresponding to the vertical direction Dd2 and the chromatic aberration C1 in the direction corresponding to the shifted chromatic aberration Cy are shifted. be able to. Furthermore, in this case, the relationship between the chromatic aberration Cy and the magnification My can be read as the relationship between the chromatic aberration C1 and the magnification M1.
  • the laser light flux in a state where different wavelengths are superposed is refracted by the refractive element section 30.
  • a separating action is performed in which the laser beam is separated for each wavelength.
  • the laser beam is refracted by the negative lens portion 32, a canceling action that cancels the separation action occurs.
  • the negative lens portion 32 is formed of a medium that is more highly dispersed than the positive lens portion 34, even if the refractive element portion 30 has a positive refractive power as a whole, the balance between the separating action and the canceling action. Can take.
  • the incident angle to the screen member 50 can be adjusted by the refractive element unit 30 while maintaining the overlapping state of the laser beam. Since the chromatic aberration Cx, Cy (C1, C2) of the image IM drawn on the screen member 50 is suppressed, the visibility of the virtual image VI that is visible by projecting the image IM onto the windshield 3 can be improved. it can.
  • the chromatic aberration C2 in the direction corresponding to the shift vertical direction Dd2 is smaller than the chromatic aberration C1 in the direction corresponding to the shift parallel direction Dd1.
  • the chromatic aberration C1 in the deviation vertical direction Dd2 is preferentially removed while allowing the chromatic aberration C1 in the deviation parallel direction Dd1 to some extent, so that the visibility improvement effect by the refractive element unit 30 can be enhanced.
  • the chromatic aberration C1 in the direction corresponding to the shift parallel direction Dd1 is a shift between the virtual images VIa and VIb due to the reflection of the front surface 3a and the back surface 3b. It is smaller than the value obtained by dividing the amount Ld by the magnification M1. Even if such a chromatic aberration C1 is displayed as a virtual image under the influence of enlargement by the light guide 60 and the windshield 3, it is smaller than the shift amount Ld. Therefore, even when the chromatic aberration C2 in the deviation vertical direction Dd2 is preferentially removed, it is possible to suppress deterioration in visibility due to the chromatic aberration C1 in the deviation parallel direction Dd1.
  • the image IM is projected from the HUD device 100 mounted on the instrument panel 2 onto the windshield 3 above the vehicle.
  • the image IM is projected onto the windshield 3 formed in a translucent plate shape having the front surface 3a facing the passenger side and the back surface 3b facing the opposite side of the front surface 3a, a virtual image due to reflection on the front surface 3a.
  • the virtual image VIb caused by reflection on the back surface 3b with respect to VIa is easily shifted in the image vertical direction Diy. For this reason, even if the chromatic aberration Cy in the image vertical direction Diy is preferentially removed by the refraction element unit 30, the effect of improving the visibility is small because the virtual images VIa and VIb eventually shift.
  • the chromatic aberration Cx in the image horizontal direction Dix is smaller than the chromatic aberration Cy in the image vertical direction Diy.
  • the chromatic aberration Cx in the horizontal direction Dix of the image is preferentially removed while allowing the chromatic aberration Cy in the vertical direction Diy of the image to some extent, so that the effect of improving the visibility by the refractive element unit 30 can be enhanced.
  • the focal length in the xl direction corresponding to the image left-right direction Dix of the refraction element unit 30 is longer than the focal length in the yl direction corresponding to the image up-down direction Diy of the refraction element unit 30.
  • Equation 1 is established, and the chromatic aberration Cx can be preferentially removed.
  • the chromatic aberration Cy in the image vertical direction Diy is an image having a deviation amount Ld between the virtual images VIa and VIb due to reflection of the front surface 3a and the back surface 3b. It is smaller than the value obtained by dividing the vertical Diy component by the magnification My. Even if such chromatic aberration Cy is influenced by the light guide 60 and the windshield 3 and is displayed as a virtual image, the chromatic aberration Cy becomes smaller than the image vertical direction Diy component of the shift amount Ld. Therefore, even when the chromatic aberration Cx in the horizontal direction Dix of the image is preferentially removed, it is possible to suppress the deterioration of visibility due to the chromatic aberration Cy in the vertical direction Diy of the image.
  • the refracting surface 34b arranged closest to the screen member 50 among the plurality of refracting surfaces 32a to 32b and 34a to 34b of the refracting element unit 30 is an aspherical surface.
  • the laser light beam scanned by the scanning unit 20 can further pass through the outer peripheral side of the refracting surface 34b, so that the aberration correction effect by the aspherical surface can be reliably obtained. it can.
  • the reflection element unit 40 that reflects the laser beam is disposed on the optical path between the scanning unit 20 and the screen member 50. Even if such a reflective element section 40 is added, it does not cause an increase in chromatic aberration, so that the quality of the image IM can be improved while suppressing chromatic aberration Cx, Cy (C1, C2). *
  • the refracting element unit 30 is disposed between the scanning unit 20 and the reflecting element unit 40, the refracting element unit 30 is transmitted before the laser beam scanned by the scanning unit 20 is sufficiently expanded. Therefore, the refractive element part 30 can be reduced in size.
  • the reflective element unit 40 may be disposed on the optical path between the scanning unit 20 and the refractive element unit 30.
  • the reflective element unit 40 may not be provided, and only the refractive element unit 30 may be disposed on the optical path between the scanning unit 20 and the screen member 50.
  • the negative lens portion 32 and the positive lens portion 34 are not bonded to each other, and may be formed separately. Specifically, a gap may be provided between the exit-side refractive surface 32 b of the negative lens unit 32 and the incident-side refractive surface 34 a of the positive lens unit 34, and the negative lens unit 32 and the positive lens unit 34 may be provided. And may be arranged slightly apart.
  • the positive lens unit 34 may be arranged closer to the scanning unit 20 than the negative lens unit 32.
  • each of the refracting surfaces 32a to 32b and 34a to 34b of the refracting element unit 30 is not limited to a combination where the refracting surfaces 32a to 32b and 34a are spherical surfaces and the refracting surface 34b is a free curved surface
  • a spherical surface, a rotationally symmetric aspherical surface, a cylindrical surface, a free-form surface, and the like can be employed.
  • the shift parallel direction Dd1 and the image vertical direction Diy do not have to match.
  • the shift vertical direction Dd2 and the image left-right direction Dix do not have to match.
  • the focal length in the direction corresponding to the deviation vertical direction Dd2 of the refractive element unit 30 may be equal to or less than the focal length in the direction corresponding to the deviation parallel direction Dd1 of the refractive element unit 30.
  • the focal length of the refraction element unit 30 in the direction corresponding to the image horizontal direction Dix may be equal to or smaller than the focal length of the refraction element unit 30 in the direction corresponding to the image vertical direction.
  • the chromatic aberration Cy in the direction corresponding to the shift parallel direction Dd1 is the shift amount Ld between the virtual images VIa and VIb due to the reflection of the front surface 3a and the back surface 3b. May be greater than or equal to the value obtained by dividing by the magnification My in the parallel direction. As an example of this, the chromatic aberration Cy may be smaller than the value only in a partial region such as the upper half (or the lower half) of the image IM.
  • the projection member may have a constant distance between the front surface 3a and the back surface 3b.
  • the projection member may be a combiner provided separately from the windshield 3.
  • the projection member may be one in which the displacement of the virtual images VIa and VIb due to the reflection of the front surface 3a and the back surface 3b may not occur, or may not generate the virtual image VIb due to the reflection of the back surface 3b.
  • the present disclosure may be applied to various moving bodies (transportation equipment) such as ships or airplanes other than the vehicle 1.
  • the present disclosure relates to a head-up display device that displays the virtual images VI, VIa, and VIb that are mounted on the moving body 1 and are visible to the occupant by projecting the image IM onto the projection member 3.
  • the head-up display device includes a laser projection unit 10, a scanning unit 20, a screen member 50, and a refractive element unit 30.
  • the laser projection unit 10 projects a plurality of laser beams having different wavelengths from each other.
  • the scanning unit 20 scans the laser beam from the laser projection unit. An image is drawn on the screen member 50 by the incidence of the laser beam scanned by the scanning unit.
  • the refracting element unit 30 is disposed on the optical path between the scanning unit and the screen member, has a positive refracting power as a whole, and adjusts the incident angle of the laser beam to the screen member by refraction.
  • the refractive element section includes a positive lens section 34 having a positive refractive power, and a negative lens section 32 that is formed of a medium having a higher dispersion than the positive lens section and has a negative refractive power.
  • the laser light beams in the state where the mutually different wavelengths are superimposed are refracted by the refractive element portion.
  • a separation action is generated in which the laser beam is separated for each wavelength.
  • the laser beam is refracted by the negative lens portion, a canceling action that cancels the separation action occurs.
  • the negative lens portion is formed of a medium having higher dispersion than the positive lens portion, even if the refractive element portion has a positive refractive power as a whole, a balance between the separation action and the cancellation action should be achieved. Can do.
  • the incident angle to the screen member can be adjusted by the refractive element unit while maintaining the overlapping state of the laser beam. Since the chromatic aberration of the image drawn on the screen member is suppressed, the visibility of the virtual image that can be viewed by projecting the image on the projection member can be improved.

Landscapes

  • Engineering & Computer Science (AREA)
  • Physics & Mathematics (AREA)
  • Mechanical Engineering (AREA)
  • Chemical & Material Sciences (AREA)
  • Combustion & Propulsion (AREA)
  • Transportation (AREA)
  • General Physics & Mathematics (AREA)
  • Optics & Photonics (AREA)
  • Instrument Panels (AREA)
  • Mechanical Optical Scanning Systems (AREA)
  • Fittings On The Vehicle Exterior For Carrying Loads, And Devices For Holding Or Mounting Articles (AREA)
  • Lenses (AREA)
PCT/JP2016/081198 2016-01-19 2016-10-21 ヘッドアップディスプレイ装置 Ceased WO2017126176A1 (ja)

Priority Applications (3)

Application Number Priority Date Filing Date Title
CN201680077223.5A CN108431668B (zh) 2016-01-19 2016-10-21 平视显示器装置
DE112016006256.7T DE112016006256B4 (de) 2016-01-19 2016-10-21 Head-up-anzeigevorrichtung
US16/070,530 US10942352B2 (en) 2016-01-19 2016-10-21 Head-up display apparatus

Applications Claiming Priority (2)

Application Number Priority Date Filing Date Title
JP2016-008265 2016-01-19
JP2016008265A JP6468206B2 (ja) 2016-01-19 2016-01-19 ヘッドアップディスプレイ装置

Publications (1)

Publication Number Publication Date
WO2017126176A1 true WO2017126176A1 (ja) 2017-07-27

Family

ID=59361845

Family Applications (1)

Application Number Title Priority Date Filing Date
PCT/JP2016/081198 Ceased WO2017126176A1 (ja) 2016-01-19 2016-10-21 ヘッドアップディスプレイ装置

Country Status (5)

Country Link
US (1) US10942352B2 (enExample)
JP (1) JP6468206B2 (enExample)
CN (1) CN108431668B (enExample)
DE (1) DE112016006256B4 (enExample)
WO (1) WO2017126176A1 (enExample)

Cited By (2)

* Cited by examiner, † Cited by third party
Publication number Priority date Publication date Assignee Title
JP2020067461A (ja) * 2018-10-19 2020-04-30 本田技研工業株式会社 表示装置
EP4556986A1 (en) * 2023-11-14 2025-05-21 Coretronic Corporation Head-up display device

Families Citing this family (7)

* Cited by examiner, † Cited by third party
Publication number Priority date Publication date Assignee Title
CN109073887B (zh) 2016-04-26 2021-02-19 麦克赛尔株式会社 信息显示装置
JP7233009B2 (ja) * 2017-12-11 2023-03-06 パナソニックIpマネジメント株式会社 ヘッドアップディスプレイおよびヘッドアップディスプレイを搭載した移動体
DE102019200957A1 (de) * 2019-01-25 2020-07-30 Robert Bosch Gmbh Verfahren und Projektionsvorrichtung zum Erzeugen virtueller Bilder
JP7195454B2 (ja) * 2019-10-21 2022-12-23 マクセル株式会社 光源装置、それを利用した情報表示システムおよびヘッドアップディスプレイ装置
CN111596460A (zh) * 2020-06-29 2020-08-28 京东方科技集团股份有限公司 抬头显示系统
DE102020209971A1 (de) * 2020-08-06 2022-02-10 Volkswagen Aktiengesellschaft Intelligentes Head-Up-Display
WO2022045216A1 (ja) * 2020-08-27 2022-03-03 株式会社クラレ 画像表示システム

Citations (4)

* Cited by examiner, † Cited by third party
Publication number Priority date Publication date Assignee Title
JPH02248914A (ja) * 1989-03-22 1990-10-04 Fujitsu Ltd 表示装置
JPH09179060A (ja) * 1995-10-26 1997-07-11 Fujitsu Ltd ヘッドアップディスプレイ
JP2007094394A (ja) * 2005-08-31 2007-04-12 Nidec Sankyo Corp ヘッドアップディスプレイ用光学系
JP2013025205A (ja) * 2011-07-24 2013-02-04 Denso Corp ヘッドアップディスプレイ装置

Family Cites Families (16)

* Cited by examiner, † Cited by third party
Publication number Priority date Publication date Assignee Title
US5037182A (en) * 1990-09-12 1991-08-06 Delco Electronics Corporation Rearview mirror head-up display
JPH09179058A (ja) * 1995-12-22 1997-07-11 Toppan Printing Co Ltd ホログラフィック・コンバイナおよびそれを用いたヘッドアップディスプレイ
JP2001337292A (ja) * 2000-05-29 2001-12-07 Central Glass Co Ltd ヘッドアップディスプレイ
WO2005078511A1 (en) 2004-02-04 2005-08-25 Microvision, Inc. Scanned-beam heads-up display and related systems and methods
US7339737B2 (en) * 2004-04-23 2008-03-04 Microvision, Inc. Beam multiplier that can be used as an exit-pupil expander and related system and method
JP5304380B2 (ja) * 2008-07-23 2013-10-02 株式会社リコー 光走査装置、これを用いた画像投影装置、ヘッドアップディスプレイ装置および携帯電話機
JP2010145924A (ja) 2008-12-22 2010-07-01 Equos Research Co Ltd 画像形成装置、及び、ヘッドアップディスプレイ装置
JP5661788B2 (ja) * 2010-10-04 2015-01-28 パナソニックIpマネジメント株式会社 透過型表示装置、移動体及び制御装置
EP2699956B1 (en) * 2011-04-18 2021-03-03 BAE Systems PLC A projection display
JP2013061554A (ja) * 2011-09-14 2013-04-04 Ricoh Co Ltd 画像形成装置、画像形成装置を搭載した車両
GB2506929A (en) * 2012-10-15 2014-04-16 Bae Systems Plc Head up display
JP6098375B2 (ja) 2013-05-31 2017-03-22 日本精機株式会社 ヘッドアップディスプレイ装置
JP6350811B2 (ja) 2014-06-25 2018-07-04 株式会社スリーボンド シアネートエステル樹脂組成物
JP6577041B2 (ja) * 2015-09-30 2019-09-18 マクセル株式会社 表示装置および表示像投影方法
CN107015369A (zh) * 2017-06-06 2017-08-04 孝感市青谷信息科技有限公司 一种消重影抬头显示装置
JP7451091B2 (ja) 2019-04-05 2024-03-18 株式会社キッツ 一斉開放弁並びにチャッキ弁構造

Patent Citations (4)

* Cited by examiner, † Cited by third party
Publication number Priority date Publication date Assignee Title
JPH02248914A (ja) * 1989-03-22 1990-10-04 Fujitsu Ltd 表示装置
JPH09179060A (ja) * 1995-10-26 1997-07-11 Fujitsu Ltd ヘッドアップディスプレイ
JP2007094394A (ja) * 2005-08-31 2007-04-12 Nidec Sankyo Corp ヘッドアップディスプレイ用光学系
JP2013025205A (ja) * 2011-07-24 2013-02-04 Denso Corp ヘッドアップディスプレイ装置

Cited By (2)

* Cited by examiner, † Cited by third party
Publication number Priority date Publication date Assignee Title
JP2020067461A (ja) * 2018-10-19 2020-04-30 本田技研工業株式会社 表示装置
EP4556986A1 (en) * 2023-11-14 2025-05-21 Coretronic Corporation Head-up display device

Also Published As

Publication number Publication date
DE112016006256T5 (de) 2018-10-04
DE112016006256B4 (de) 2022-11-03
JP2017129683A (ja) 2017-07-27
US10942352B2 (en) 2021-03-09
US20190033586A1 (en) 2019-01-31
CN108431668B (zh) 2020-05-22
CN108431668A (zh) 2018-08-21
JP6468206B2 (ja) 2019-02-13

Similar Documents

Publication Publication Date Title
JP6468206B2 (ja) ヘッドアップディスプレイ装置
JP5370427B2 (ja) ヘッドアップディスプレイ装置
JP6650584B2 (ja) ヘッドアップディスプレイおよびヘッドアップディスプレイを搭載した移動体
JP7715889B2 (ja) ヘッドアップディスプレイ
JP6630921B2 (ja) ヘッドアップディスプレイおよびヘッドアップディスプレイを搭載した移動体
JP7365621B2 (ja) 結像光学系および結像光学系を搭載した移動体
JP6738543B2 (ja) 表示装置及びヘッドアップディスプレイ
JP6579180B2 (ja) 虚像表示装置
JP6675059B2 (ja) ヘッドアップディスプレイおよびヘッドアップディスプレイを搭載した移動体
JP7531145B2 (ja) ヘッドアップディスプレイ
WO2016208196A1 (ja) ヘッドアップディスプレイおよびヘッドアップディスプレイを搭載した移動体
WO2017138430A1 (ja) 表示装置及びヘッドアップディスプレイ
WO2018066675A1 (ja) 変倍投影光学系及び画像表示装置
WO2018186149A1 (ja) ヘッドアップディスプレイシステム、およびヘッドアップディスプレイシステムを備える移動体
US10775620B2 (en) Virtual-image forming device and mobile object
KR102144462B1 (ko) 헤드업 디스플레이 장치
EP3511759B1 (en) Virtual image display device
JP7359152B2 (ja) ヘッドアップディスプレイ装置
JP2018194820A (ja) 虚像形成装置及び移動体
JP6593494B1 (ja) 虚像表示装置
JP2023079736A (ja) 虚像表示装置、それを備える車載システム及び移動装置

Legal Events

Date Code Title Description
121 Ep: the epo has been informed by wipo that ep was designated in this application

Ref document number: 16886416

Country of ref document: EP

Kind code of ref document: A1

WWE Wipo information: entry into national phase

Ref document number: 112016006256

Country of ref document: DE

122 Ep: pct application non-entry in european phase

Ref document number: 16886416

Country of ref document: EP

Kind code of ref document: A1