WO2017104229A1 - 計量包装システム - Google Patents

計量包装システム Download PDF

Info

Publication number
WO2017104229A1
WO2017104229A1 PCT/JP2016/079339 JP2016079339W WO2017104229A1 WO 2017104229 A1 WO2017104229 A1 WO 2017104229A1 JP 2016079339 W JP2016079339 W JP 2016079339W WO 2017104229 A1 WO2017104229 A1 WO 2017104229A1
Authority
WO
WIPO (PCT)
Prior art keywords
weighing
packaging
unit
packaged
article
Prior art date
Legal status (The legal status is an assumption and is not a legal conclusion. Google has not performed a legal analysis and makes no representation as to the accuracy of the status listed.)
Ceased
Application number
PCT/JP2016/079339
Other languages
English (en)
French (fr)
Japanese (ja)
Inventor
近藤 真史
市川 誠
坂上 能章
佐藤 良一
悟史 西辻
Current Assignee (The listed assignees may be inaccurate. Google has not performed a legal analysis and makes no representation or warranty as to the accuracy of the list.)
Ishida Co Ltd
Original Assignee
Ishida Co Ltd
Priority date (The priority date is an assumption and is not a legal conclusion. Google has not performed a legal analysis and makes no representation as to the accuracy of the date listed.)
Filing date
Publication date
Application filed by Ishida Co Ltd filed Critical Ishida Co Ltd
Publication of WO2017104229A1 publication Critical patent/WO2017104229A1/ja
Anticipated expiration legal-status Critical
Ceased legal-status Critical Current

Links

Images

Classifications

    • BPERFORMING OPERATIONS; TRANSPORTING
    • B65CONVEYING; PACKING; STORING; HANDLING THIN OR FILAMENTARY MATERIAL
    • B65BMACHINES, APPARATUS OR DEVICES FOR, OR METHODS OF, PACKAGING ARTICLES OR MATERIALS; UNPACKING
    • B65B9/00Enclosing successive articles, or quantities of material, e.g. liquids or semiliquids, in flat, folded, or tubular webs of flexible sheet material; Subdividing filled flexible tubes to form packages
    • B65B9/10Enclosing successive articles, or quantities of material, in preformed tubular webs, or in webs formed into tubes around filling nozzles, e.g. extruded tubular webs
    • B65B9/20Enclosing successive articles, or quantities of material, in preformed tubular webs, or in webs formed into tubes around filling nozzles, e.g. extruded tubular webs the webs being formed into tubes in situ around the filling nozzles
    • B65B9/207Enclosing successive articles, or quantities of material, in preformed tubular webs, or in webs formed into tubes around filling nozzles, e.g. extruded tubular webs the webs being formed into tubes in situ around the filling nozzles the web advancing continuously
    • BPERFORMING OPERATIONS; TRANSPORTING
    • B65CONVEYING; PACKING; STORING; HANDLING THIN OR FILAMENTARY MATERIAL
    • B65BMACHINES, APPARATUS OR DEVICES FOR, OR METHODS OF, PACKAGING ARTICLES OR MATERIALS; UNPACKING
    • B65B57/00Automatic control, checking, warning, or safety devices
    • BPERFORMING OPERATIONS; TRANSPORTING
    • B65CONVEYING; PACKING; STORING; HANDLING THIN OR FILAMENTARY MATERIAL
    • B65BMACHINES, APPARATUS OR DEVICES FOR, OR METHODS OF, PACKAGING ARTICLES OR MATERIALS; UNPACKING
    • B65B57/00Automatic control, checking, warning, or safety devices
    • B65B57/02Automatic control, checking, warning, or safety devices responsive to absence, presence, abnormal feed, or misplacement of binding or wrapping material, containers, or packages
    • B65B57/06Automatic control, checking, warning, or safety devices responsive to absence, presence, abnormal feed, or misplacement of binding or wrapping material, containers, or packages and operating to control, or to stop, the feed of articles or material to be packaged
    • GPHYSICS
    • G01MEASURING; TESTING
    • G01GWEIGHING
    • G01G19/00Weighing apparatus or methods adapted for special purposes not provided for in the preceding groups
    • G01G19/387Weighing apparatus or methods adapted for special purposes not provided for in the preceding groups for combinatorial weighing, i.e. selecting a combination of articles whose total weight or number is closest to a desired value

Definitions

  • the present invention relates to a weighing and packaging system that combines and weighs articles and wraps the weighed articles.
  • a weighing and packaging system including a combination weighing device and a packaging device has been used.
  • the combination weighing device subdivides articles into a plurality of weighing containers, selects a combination of weighing containers so that the total weight of the divided articles falls within a predetermined range, and discharges the articles from the weighing container.
  • the packaging device after laterally sealing the lower end portion of the packaging material formed into a tube shape, throwing the article discharged from the measuring container into the packaging material, and laterally sealing the upper end portion of the packaging material, A bag in which an article is enclosed is manufactured.
  • Patent Document 1 Japanese Unexamined Patent Application Publication No. 2010-137953 discloses a collective hopper for a combination weighing device. This collective hopper is stored below the lower opening by storing articles to be weighed in the storage section, and dropping and discharging the stored articles from the lower opening formed when the pair of gates are opened. The article is supplied to the receiving port of the packaging apparatus.
  • the reservoir has a tapered shape as it goes downward. The inner surface of each gate that forms the reservoir is curved. Therefore, even if the article is a snack confectionery or the like in which fine powder is likely to be generated, it is possible to prevent sealing failure and clogging of the article in the packaging device due to the fine powder of the article falling late when the gate is opened.
  • the conventional weighing and packaging system immediately stops the entire system when it detects abnormalities such as a sealing failure caused by the lateral sealing mechanism biting in the article and clogging of the article discharged from the combination weighing device. Or using an inspection device installed on the downstream side of the packaging device to detect and remove the laterally sealed bag with the article bitten. Therefore, there has been a problem that the operation efficiency of the combination weighing device and the packaging device is lowered due to the stop of the system and the removal of the bag in which the abnormality is detected.
  • An object of the present invention is to provide a weighing and packaging system capable of automatically adjusting the operations of a combination weighing device and a packaging device and optimizing the operation even when an abnormality is detected when packaging an article. That is.
  • the weighing packaging system includes a weighing device, a packaging device, and a control unit.
  • the weighing device subdivides articles into a plurality of measuring containers, selects a combination of measuring containers so that the total weight of the subdivided articles is within a predetermined range, and discharges the articles from the measuring containers included in the selected combination. To do.
  • the packaging device receives and packages the articles discharged from the weighing device while forming the bag from the packaging material.
  • the control unit controls the weighing device and the packaging device.
  • the packaging device has a pair of seal portions and a detection portion. The pair of seal portions is for sandwiching and sealing the packaging material in the lateral direction.
  • the detection unit detects biting of the article by the pair of seal units. When the detection unit detects biting of the article, the control unit acquires biting information related to biting of the article, and adjusts the operation of the weighing device based on the biting information.
  • the pair of seal portions of the packaging device detects a biting abnormality that causes the article to bite when the packaging material is sealed in the lateral direction.
  • the control unit of the weighing packaging system controls the operation of the weighing device based on the biting information so that the biting abnormality does not occur any more.
  • the biting information is, for example, a position where an article is bitten in a pair of seal portions.
  • the control unit controls the discharge timing of the article by the weighing device. Therefore, the weighing and packaging system can optimize the operation by automatically adjusting the operations of the weighing device and the packaging device even if an abnormality is detected when the article is packaged.
  • control unit adjusts the timing at which the article is discharged from the measuring container.
  • This measuring and packaging system adjusts the timing when the article is discharged so that the article discharged from the measuring container is not caught in the pair of seal portions.
  • the weighing device discharges the articles from the weighing containers included in the combination with a predetermined time interval, and the control unit adjusts the time interval.
  • This measuring and packaging system increases the time interval for discharging articles from a plurality of measuring containers one by one, for example, so that the articles discharged from the plurality of measuring containers do not collide with each other during dropping. As a result, the articles are dispersed and discharged from the weighing device. Thereby, the fall behavior of the articles discharged from the weighing device is stabilized.
  • control unit adjusts the number of measuring containers included in the combination selected by the measuring device.
  • This weighing packaging system distributes articles from the weighing device, for example, by increasing the number of weighing containers that discharge the articles so that the articles discharged from multiple weighing containers do not collide with each other while falling. Let it drain. Thereby, the fall behavior of the articles discharged from the weighing device is stabilized.
  • control unit adjusts the position of the weighing container included in the combination selected by the weighing device.
  • This measuring and packaging system adjusts the position of the measuring container that discharges the articles so that the articles discharged from the plurality of measuring containers do not collide with each other during the fall. Thereby, the fall behavior of the articles discharged from the weighing device is stabilized.
  • control unit adjusts the order of discharging the articles from the measuring container based on the weight of the articles in the measuring container included in the combination selected by the measuring device.
  • This measuring and packaging system adjusts the order of discharging articles one by one from the plurality of measuring containers so that the articles discharged from the plurality of measuring containers do not collide with each other during dropping. Thereby, the fall behavior of the articles discharged from the weighing device is stabilized.
  • control unit adjusts the speed at which the packaging device packages the article when the detection unit detects the biting of the article.
  • This measuring and packaging system temporarily reduces the packaging capacity of the packaging device, for example, so that the articles discharged from the measuring container are not caught in the pair of seal portions.
  • the weighing and packaging system can optimize the operation by automatically adjusting the operations of the combination weighing device and the packaging device even if an abnormality is detected when packaging an article.
  • FIG. 1 is a perspective view of a weighing and packaging system 100 that is an embodiment of the present invention.
  • FIG. 2 is a side view of the weighing and packaging system 100.
  • FIG. 3 is a front view showing a schematic configuration of the weighing and packaging system 100.
  • the weighing and packaging system 100 mainly includes a combination weighing unit 2, a bag making and packaging unit 3, a film supply unit 4, an operation switch 5, a liquid crystal display 6, and a control unit 7 (see FIG. 8).
  • the combination weighing unit 2 measures a predetermined amount of the packaged item C by combination weighing.
  • the package C is a light and brittle food such as potato chips.
  • the combination weighing unit 2 discharges the measured packaging object C downward and supplies it to the bag making and packaging unit 3. The detailed configuration and operation of the combination weighing unit 2 will be described later.
  • the bag making and packaging unit 3 is disposed below the combination weighing unit 2.
  • the bag making and packaging unit 3 wraps the supplied packaging material C with the film F in accordance with the timing when the packaging material C is supplied from the combination weighing unit 2.
  • the film F is a sheet-like thin packaging material.
  • the bag making and packaging unit 3 manufactures the bag B in which the article to be packaged C is sealed. The detailed configuration and operation of the bag making and packaging unit 3 will be described later.
  • the film supply unit 4 is installed adjacent to the bag making and packaging unit 3.
  • the film supply unit 4 supplies the film F to the bag making and packaging unit 3.
  • a film roll 4 a around which the film F is wound is set in the film supply unit 4.
  • the film supply unit 4 unwinds the film F from the film roll 4 a and supplies it to the bag making and packaging unit 3.
  • the operation switch 5 and the liquid crystal display 6 are attached to the front surface of the weighing packaging system 100 main body.
  • the liquid crystal display 6 is a touch panel display disposed at a position where the operator of the operation switch 5 can visually recognize.
  • the operation switch 5 and the liquid crystal display 6 function as an input device that receives instructions for the weighing and packaging system 100 and settings related to the weighing and packaging system 100.
  • the liquid crystal display 6 functions as an output device that displays information related to the weighing packaging system 100.
  • the control unit 7 is a computer including a CPU, a ROM, a RAM, and the like.
  • the control unit 7 is connected to the combination weighing unit 2, the bag making and packaging unit 3, the film supply unit 4, the operation switch 5, and the liquid crystal display 6.
  • the control unit 7 controls the combination weighing unit 2, the bag making and packaging unit 3, and the film supply unit 4 based on inputs from the operation switch 5 and the liquid crystal display 6, and outputs various information to the liquid crystal display 6.
  • the detailed configuration and operation of the control unit 7 will be described later.
  • the combination weighing unit 2 is a weighing machine for measuring a predetermined amount of the object to be packaged C.
  • the article to be packaged C weighed by the combination weighing unit 2 is supplied to the bag making and packaging unit 3.
  • the combination weighing unit 2 mainly includes a dispersion feeder 21, a plurality of troughs 22, a plurality of pool hoppers 23, a plurality of weighing hoppers 24, a collecting chute 25, and a plurality of weight sensors 26.
  • the supplied object to be packaged C is dropped near the center of the dispersion feeder 21.
  • a plurality of troughs 22 are provided on the periphery of the dispersion feeder 21.
  • the dispersion feeder 21 and the trough 22 are given vibrations from a vibrating device (not shown). Thereby, as shown by the arrows in FIG. 3, the articles to be packaged C supplied to the dispersion feeder 21 fall through the troughs 22 and are stored in the pool hoppers 23 corresponding to the troughs 22.
  • Each pool hopper 23 is disposed above the weighing hopper 24 corresponding to each pool hopper 23.
  • the pool hopper 23 temporarily stores the articles C to be supplied to the corresponding weighing hoppers 24.
  • Each weighing hopper 24 has a weight sensor 26.
  • the weight sensor 26 outputs a load signal corresponding to the weight of the article to be packaged C supplied to the corresponding weighing hopper 24.
  • the weight sensor 26 is, for example, a load cell.
  • the combination weighing of the article C to be packaged by the combination weighing unit 2 is performed according to the following procedure.
  • the weight sensor 26 detects the weight of the articles C to be stored in the weighing hoppers 24.
  • the combination closest to the desired value is obtained by calculation.
  • the desired value is the weight of a predetermined amount of the object to be packaged C supplied to the bag making and packaging unit 3.
  • the articles to be packaged C are discharged from the weighing hopper 24 corresponding to the obtained combination toward the collecting chute 25.
  • a predetermined amount of the articles C to be packaged discharged to the collecting chute 25 is supplied to the bag making and packaging unit 3.
  • the weighing hopper 24 that has been emptied after being discharged is replenished with the weighing object C, whereby the combination weighing for measuring a predetermined amount of the weighing object C is executed again.
  • the combination weighing unit 2 includes ten weighing hoppers 24.
  • the ten weighing hoppers 24 are arranged at equal intervals along a virtual circumference (see FIG. 9).
  • FIG. 4 is a perspective view showing a schematic configuration of the bag making and packaging unit 3.
  • six directions consisting of “front (front)”, “rear (back)”, “up”, “down”, “left” and “right” are defined as shown in FIG. .
  • the bag making and packaging unit 3 mainly includes a forming mechanism 13, a pull-down belt mechanism 14, a vertical sealing mechanism 15, a horizontal sealing mechanism 16, and a rotary encoder 40.
  • the forming mechanism 13 forms the sheet-like film F supplied from the film supply unit 4 into a cylindrical shape.
  • the pull-down belt mechanism 14 conveys the film F formed into a cylindrical shape downward.
  • the vertical sealing mechanism 15 seals the overlapping portion of both end portions of the film F formed into a cylindrical shape in the vertical direction parallel to the transport direction to form the cylindrical film Fc.
  • the horizontal sealing mechanism 16 seals the cylindrical film Fc at two locations in the horizontal direction orthogonal to the transport direction, and forms a bag B in which the upper end and the lower end are horizontally sealed.
  • the rotary encoder 40 detects the biting in the sealed portion of the tubular film Fc by the lateral sealing mechanism 16.
  • the forming mechanism 13 includes a tube 13a and a former 13b.
  • the tube 13a is a cylindrical member having an open upper end and a lower end.
  • An article C to be packaged supplied from the combination weighing unit 2 is put into the opening at the upper end of the tube 13a.
  • the former 13b is disposed so as to surround the tube 13a.
  • the pull-down belt mechanism 14 conveys the film F wound around the tube 13a downward while adsorbing it.
  • the pull-down belt mechanism 14 mainly includes a driving roller 14a, a driven roller 14b, and a pair of belts 14c. As shown in FIG. 4, the pair of belts 14c are arranged so as to sandwich the tube 13a on both the left and right sides of the tube 13a, and have a mechanism for adsorbing the film F formed into a cylindrical shape.
  • the pull-down belt mechanism 14 conveys the film F formed into a cylindrical shape downward by rotating the pair of belts 14c by the driving roller 14a and the driven roller 14b.
  • the vertical seal mechanism 15 seals the film F formed in a cylindrical shape in the vertical direction (vertical direction in FIG. 4).
  • the vertical seal mechanism 15 is disposed on the front side of the tube 13a.
  • the vertical seal mechanism 15 is moved in the front-rear direction so as to approach the tube 13a or away from the tube 13a by a drive mechanism (not shown).
  • the vertical sealing mechanism 15 heats the overlapping portion of the film F in the vertical direction by heating the overlapping portion of the film F against the tube 13a with a constant pressure by the driving mechanism, thereby forming the tubular film Fc.
  • the vertical sealing mechanism 15 includes a heater that heats the overlapping portion of the film F, a heater belt that contacts the overlapping portion of the film F, and the like.
  • the lateral seal mechanism 16 includes a pair of seal jaws 51 (a seal jaw 51a and a seal jaw 51b) or a pair of seal jaws 52 (a seal jaw 52a and a seal jaw 52b). Accordingly, the sealed portion of the tubular film Fc conveyed downward is sandwiched along a direction (here, the left-right direction) intersecting the conveying direction of the tubular film Fc, and is laterally sealed.
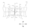
  • FIG. 5 is a side view of the lateral seal mechanism 16 as viewed from the right.
  • FIG. 6 is a side view of the trajectory of the pair of sealing jaws 51 and 52 of the lateral sealing mechanism 16 as viewed from the right direction.
  • FIG. 7 is a side view of a state in which the pair of sealing jaws 51 and 52 of the lateral sealing mechanism 16 is performing a sealing operation.
  • the horizontal seal mechanism 16 mainly includes a first rotating body 50a, a second rotating body 50b, and a horizontal direction pressing mechanism 56 as shown in FIG.
  • the first rotating body 50a is arranged on the front side of the tubular film Fc (left side in FIG. 5).
  • the 2nd rotary body 50b is distribute
  • the horizontal pressing mechanism 56 is a cylinder between the pair of sealing jaws 51 or the pair of sealing jaws 52 when the cylindrical film Fc is sandwiched between the pair of sealing jaws 51 or the pair of sealing jaws 52.
  • the first rotating shaft 53a of the first rotating body 50a is constantly pressed toward the second rotating shaft 53b of the second rotating body 50b (rearward) so that the film-like film Fc is pressurized.
  • the direction in which the first rotating shaft 53a is pressed toward the second rotating shaft 53b is drawn by a right-pointing arrow A1.
  • the first rotating body 50a mainly includes a first rotating shaft 53a, a pair of levers 54a, a pair of levers 55a, a sealing jaw 51a, It has a seal jaw 52a.
  • the first rotating shaft 53a is a rotating shaft of the first rotating body 50a extending in the left-right direction.
  • the first rotating body 50a rotates around the rotation center C1 with the first rotation shaft 53a as a rotation axis in a side view (see FIG. 5).
  • the pair of levers 54a is connected to the vicinity of both ends in the longitudinal direction of the first rotating shaft 53a (near both ends in the left-right direction). Each lever 54a extends from the first rotation shaft 53a in the radial direction of the first rotation shaft 53a. Each lever 54a extends in parallel from the first rotating shaft 53a in the same direction as the other lever 54a.
  • the pair of levers 55a are connected to both ends in the longitudinal direction of the first rotating shaft 53a (near both ends in the left-right direction). Each lever 55a extends in the radial direction of the first rotation shaft 53a from the first rotation shaft 53a. Each lever 55a extends in parallel from the first rotation shaft 53a in the same direction as the other lever 55a.
  • the lever 54a and the lever 55a connected to the vicinity of the right end of the first rotating shaft 53a extend symmetrically with respect to the rotation center C1 of the first rotating body 50a in a side view (see FIG. 5).
  • the lever 54a and the lever 55a connected near the right end of the first rotating shaft 53a extend in the opposite direction with respect to the rotation center C1 of the first rotating body 50a in a side view (see FIG. 5).
  • the lever 54a and the lever 55a connected to the vicinity of the left end of the first rotating shaft 53a extend in point symmetry with respect to the rotation center C1 of the first rotating body 50a in a side view.
  • the lever 54a and the lever 55a connected to the vicinity of the left end of the first rotating shaft 53a extend in the opposite direction with respect to the rotation center C1 of the first rotating body 50a in a side view.
  • the sealing jaw 51a constitutes one of the pair of sealing jaws 51.
  • the seal jaw 51 is an example of a seal member.
  • the seal jaw 51a has a seal surface 511a whose longitudinal direction is the left-right direction (see FIG. 7).
  • the sealing jaw 51a functions as a pair with a sealing jaw 51b described later, and seals the sealed portion of the tubular film Fc. More specifically, the sealing jaw 51 includes a cylindrical film Fc including a sealing surface 511a whose longitudinal direction is the left-right direction of the sealing jaw 51a and a sealing surface 511b whose longitudinal direction is the lateral direction of a sealing jaw 51b described later. The part to be sealed is sandwiched and laterally sealed in the horizontal direction (see FIG. 7).
  • the both ends of the sealing jaw 51a in the longitudinal direction (left-right direction) of the sealing surface 511a are respectively connected to the end of the lever 54a extending from the first rotating shaft 53a. Since the lever 54a is connected to the first rotation shaft 53a as described above, the seal jaw 51a is connected to the first rotation shaft at both ends in the longitudinal direction (left-right direction) of the seal surface 511a via the pair of levers 54a. 53a is supported.
  • the seal jaw 52a constitutes one of the pair of seal jaws 52.
  • the seal jaw 52 is an example of a seal member.
  • the seal jaw 52a has a seal surface (not shown) whose longitudinal direction is the left-right direction.
  • the sealing jaw 52a functions as a pair with a sealing jaw 52b described later, and seals the sealed portion of the tubular film Fc. More specifically, the sealing jaw 52 has a cylindrical shape with a sealing surface whose longitudinal direction is the left-right direction of the sealing jaw 52a and a sealing surface (not shown) whose longitudinal direction is the lateral direction of the sealing jaw 52b described later. The part to be sealed of the film Fc is sandwiched and horizontally sealed in the left-right direction.
  • Both ends of the sealing jaw 52a in the longitudinal direction (left-right direction) of the sealing surface are respectively connected to the end of the lever 55a extending from the first rotating shaft 53a. Since the lever 55a is connected to the first rotating shaft 53a as described above, the sealing jaw 52a is connected to the first rotating shaft at both ends in the longitudinal direction (left-right direction) of the sealing surface via the pair of levers 55a. 53a is supported. Further, since the lever 54a and the lever 55a extend in opposite directions with respect to the rotation center C1 of the first rotating body 50a in a side view, the sealing jaw 52a rotates the sealing jaw 51a and the first rotating body 50a. It is arranged at a position 180 ° apart around the center C1.
  • the second rotating body 50b mainly includes a second rotating shaft 53b, a pair of levers 54b, a pair of levers 55b, a sealing jaw 51b, It has a seal jaw 52b.
  • the second rotating shaft 53b is a rotating shaft of the second rotating body 50b extending in the left-right direction.
  • the second rotating body 50b rotates around the rotation center C2 with the second rotation shaft 53b as a rotation axis in a side view (see FIG. 5).
  • the pair of levers 54b is connected to the vicinity of both ends in the longitudinal direction of the second rotating shaft 53b (near both ends in the left-right direction). Each lever 54b extends from the second rotation shaft 53b in the radial direction of the second rotation shaft 53b. Each lever 54b extends in parallel from the second rotating shaft 53b in the same direction as the other lever 54b.
  • the pair of levers 55b are connected to both ends in the longitudinal direction of the second rotating shaft 53b (near both ends in the left-right direction). Each lever 55b extends from the second rotation shaft 53b in the radial direction of the second rotation shaft 53b. Each lever 55b extends in parallel from the second rotation shaft 53b in the same direction as the other lever 55b.
  • the lever 54b and the lever 55b connected to the vicinity of the right end of the second rotating shaft 53b extend point-symmetrically with respect to the rotation center C2 of the second rotating body 50b in a side view (see FIG. 5).
  • the lever 54b and the lever 55b connected near the right end of the second rotating shaft 53b extend in the opposite direction with respect to the rotation center C2 of the second rotating body 50b in a side view (see FIG. 5).
  • the lever 54b and the lever 55b connected to the vicinity of the left end of the second rotating shaft 53b extend symmetrically with respect to the rotation center C2 of the second rotating body 50b in a side view.
  • the lever 54b and the lever 55b connected near the left end of the second rotating shaft 53b extend in the opposite direction with respect to the rotation center C2 of the second rotating body 50b in a side view.
  • the sealing jaw 51b constitutes one of the pair of sealing jaws 51.
  • the seal jaw 51b has a seal surface 511b whose longitudinal direction is the left-right direction (see FIG. 7). As described above, the sealing jaw 51b functions as a pair with the sealing jaw 51a, and seals the sealed portion of the tubular film Fc.
  • Both ends of the sealing jaw 51b in the longitudinal direction (left-right direction) of the sealing surface 511b are respectively connected to the end of the lever 54b extending from the second rotating shaft 53b. Since the lever 54b is connected to the second rotating shaft 53b as described above, the sealing jaw 51b is connected to the second rotating shaft at both ends in the longitudinal direction (left-right direction) of the sealing surface 511b via the pair of levers 54b. It is supported by 53b.
  • the sealing jaw 52b constitutes one of the pair of sealing jaws 52.
  • the seal jaw 52b has a seal surface (not shown) whose longitudinal direction is the left-right direction. As described above, the sealing jaw 52b functions as a pair with the sealing jaw 52a, and seals the sealed portion of the tubular film Fc.
  • the both ends of the sealing jaw 52b in the longitudinal direction (left-right direction) of the sealing surface are respectively connected to the end of the lever 55b extending from the second rotating shaft 53b. Since the lever 55b is connected to the second rotating shaft 53b as described above, the sealing jaw 52b is connected to the second rotating shaft at both ends in the longitudinal direction (left-right direction) of the sealing surface via the pair of levers 55b. It is supported by 53b. Further, since the lever 54b and the lever 55b extend in opposite directions with respect to the rotation center C2 of the second rotating body 50b in the side view, the sealing jaw 52b rotates the sealing jaw 51b and the second rotating body 50b. It is arranged at a position 180 ° apart around the center C2.
  • the first rotating body 50a is rotated in a side view when the first rotating shaft 53a is driven by a drive motor (not shown). It is rotated around the center C1 (see FIG. 6).
  • the second rotating body 50b is rotated about the rotation center C2 in a side view when the second rotating shaft 53b is driven by a drive motor (not shown) (see FIG. 6).
  • the seal jaw 51a and the seal jaw 52a are rotated along a circular orbit about the rotation center C1 and the seal jaw 51b and the seal jaw 52b are centered on the rotation center C2 (see FIG. 6).
  • the first rotating body 50a is rotated clockwise around the rotation center C1 when viewed from the right side (see FIG. 6).
  • the seal jaw 51a and the seal jaw 52a are rotated clockwise around the rotation center C1 when viewed from the right side.
  • the second rotating body 50b is rotated counterclockwise around the rotation center C2 (see FIG. 6).
  • the seal jaw 51b and the seal jaw 52b are rotated counterclockwise around the rotation center C2 when viewed from the right side.
  • the first rotating body 50a is supported at its both ends by a horizontal moving plate 61 (see FIG. 5) in the horizontal sealing direction (in the left-right direction). More specifically, both ends of the first rotating shaft 53a of the first rotating body 50a in the left-right direction are supported by the horizontal moving plate 61.
  • both ends of the second rotating body 50b are supported by the fixing plates 62 (see FIG. 5) in the horizontal sealing direction (in the left-right direction). More specifically, both ends of the second rotating shaft 53b of the second rotating body 50b in the left-right direction are supported by the fixed plate 62.
  • the fixed plate 62 is fixed to a frame (not shown) of the bag making and packaging unit 3a.
  • the horizontal moving plate 61 is pressed toward the fixed plate 62 by the horizontal direction pressing mechanism 56 (see arrow A1 in FIG. 5). As a result, the first rotating shaft 53 a supported by the horizontal moving plate 61 is pressed toward the second rotating shaft 53 b supported by the fixed plate 62 by the horizontal direction pressing mechanism 56.
  • the horizontal direction pressing mechanism 56 will be described.
  • the horizontal direction pressing mechanism 56 is an example of a fluid pressure utilization pressing mechanism.
  • the horizontal direction pressing mechanism 56 presses the first rotating shaft 53a toward the second rotating shaft 53b using air pressure.
  • the horizontal direction pressing mechanism 56 uses air pressure, but is not limited thereto, and may use, for example, oil pressure.
  • the horizontal direction pressing mechanism 56 mainly has an air cylinder 80, a first connecting rod 81, a connecting plate 82, and a second connecting rod 83 as shown in FIG.
  • the air cylinder 80 is driven by air pressure.
  • the air cylinder 80 is connected to the connection plate 82 via a first connection rod 81 extending rearward from the air cylinder 80.
  • force is transmitted through the first connecting rod 81 and the connecting plate 82 is pressed rearward.
  • a direction in which the connecting plate 82 is pressed is indicated by a right-pointing arrow A ⁇ b> 1.
  • the second connecting rod 83 is a rod-shaped member that connects the connecting plate 82 and the horizontal moving plate 61.
  • the horizontal direction pressing mechanism 56 has four second connecting rods 83. One end of the second connecting rod 83 is connected to the connecting plate 82.
  • the two second connecting rods 83 extend in parallel from the vicinity of the upper right corner and the lower right corner of the connecting plate 82 toward the front. Although not shown, the remaining two second connecting rods 83 extend in parallel from the vicinity of the upper left corner and the lower left corner of the connecting plate 82 toward the front.
  • Two second connecting rods 83 extending forward from the vicinity of the right end of the connecting plate 82 are connected to the horizontal moving plate 61 disposed on the right side of the first rotating body 50a.
  • the two second connecting rods 83 extending forward from the vicinity of the left end portion of the connecting plate 82 are connected to the horizontal moving plate 61 disposed on the left side of the first rotating body 50a.
  • the second connecting rod 83 is not connected to the fixed plate 62 and extends through the fixed plate 62 so as to be slidable.
  • the vicinity of the end (front end) of the second connecting rod 83 opposite to the connecting plate 82 is slidably supported by a rod support member 83a fixed to the frame of the bag making and packaging unit 3a. Since the second connecting rod 83 is slidably supported by the rod support member 83a, the horizontal moving plate 61 connected to the second connecting rod 83 can move in a direction approaching or moving away from the fixed plate 62. .
  • the first rotating shaft 53a supported by the horizontal moving plate 61 is movable in a direction approaching or separating from the second rotating shaft 53b supported by the fixed plate 62.
  • the force by the air cylinder 80 and the force acting on the sealing jaw 51a from the sealing jaw 51b or the sealing jaw 52a from the sealing jaw 52b when the cylindrical film Fc is laterally sealed by the sealing jaw 51 or the sealing jaw 52 The first rotating shaft 53a moves in a direction approaching or leaving the second rotating shaft 53b.
  • the first rotating body 50a and the second rotating body 50b rotate (refer to the arrows shown in the two-dot chain line portion in FIG. 6 for the rotation direction), and the first rotating shaft 53a is moved to the second rotating shaft 53b by the horizontal direction pressing mechanism 56. (Refer to the arrow A2 shown below the first rotating body 50a in FIG. 6 for the pressing direction), the sealing jaw 51a and the sealing jaw 51b are connected to the sealing surface 511a and the sealing jaw of the sealing jaw 51a. Between the sealing surfaces 511b of 51b, the cylindrical film Fc conveyed downward is pinched and pressurized (see FIG. 7).
  • the seal surface 511a and the seal surface 511b have serrations 512a and serrations 512b that mesh with each other, as shown in FIG.
  • the seal jaw 51 sandwiches the tubular film Fc so that the teeth of the serration 512a of the seal surface 511a and the teeth of the serration 512b of the seal surface 511b are engaged, and pressurizes the tubular film Fc.
  • a heater 71 (see FIG. 7) is provided inside the seal jaw 51a and the seal jaw 51b, and the heater 71 heats the seal surface 511a and the seal surface 511b.
  • the sealed portion of the cylindrical film Fc is heat-sealed.
  • the cylindrical film Fc conveyed downward is heat-sealed in order from the downstream side (front side in the conveyance direction) to the upstream side (rear side in the conveyance direction).
  • a knife 72a for separating the bag B from the tubular film Fc is attached to the seal jaw 51b near the center in the short direction of the seal surface 511b (the direction orthogonal to the longitudinal direction of the seal surface 511b).
  • the knife 72a is attached so that the cutting edge protrudes toward the sealing jaw 51a during the sealing operation by the sealing jaw 51a and the sealing jaw 51b (see FIG. 7).
  • a groove 72b is formed near the center of the seal surface 511a in the short direction (a direction perpendicular to the longitudinal direction of the seal surface 511a).
  • the groove 72b engages with the knife 72a protruding from the seal jaw 51b toward the seal jaw 51a.
  • the knife 72a is formed as a slant blade, and cuts the bag B from the tubular film Fc from one end side to the other end side in the horizontal sealing direction (left-right direction).
  • Step 1 The cylindrical film Fc is laterally sealed.
  • Step 2 On the upstream side of the position where the horizontal sealing is performed in Step 1, the bag B which is horizontally sealed using the knife 72a is cut from the tubular film Fc.
  • Step 3 The cylindrical film Fc is laterally sealed upstream from the position cut by the knife 72a in Step 2.
  • the timing at which the horizontal seal or the tubular film Fc is cut in steps 1 to 3 may partially overlap with the timing at which other steps 1 to 3 are performed.
  • the cutting of the tubular film Fc in Step 2 may be started at the timing when the horizontal seal in Step 1 is not completely finished, and the cutting of the tubular film Fc in Step 2 is not finished.
  • the lateral seal of step 3 may be started.
  • the rotary encoder 40 is fixed to the frame of the bag making and packaging unit 3a.
  • the rotary shaft of the rotary encoder 40 has an end on the front side of the second connecting rod 83 (the side opposite to the side connected to the connecting plate 82) so that the second connecting rod 83 rotates in the front-rear direction. Is engaged with the part.
  • Two rotary encoders 40 are provided.
  • a rotary shaft of one rotary encoder 40 is engaged with an end portion of the second connecting rod 83 arranged on the upper right side among the four second connecting rods 83.
  • the rotating shaft of the other rotary encoder 40 is engaged with the end of the second connecting rod 83 arranged on the upper left side.
  • the rotating shaft of one rotary encoder 40 engages with the edge part of the 2nd connecting rod 83 distribute
  • the rotating shaft may be engaged with the end of the second connecting rod 83 arranged on the lower left side.
  • the rotary encoder 40 measures the amount of movement of the second connecting rod 83 in the front-rear direction by measuring the rotation angle of the rotary shaft of the rotary encoder 40.
  • the amount of movement of the second connecting rod 83 in the front-rear direction is such that the second rotating shaft attached to the fixed plate 62 of the first rotating shaft 53a attached to the horizontal moving plate 61 connected to the second connecting rod 83. It is equal to the movement amount for 53b.
  • the rotary encoder 40 measures the rotation angle of the rotary shaft of the rotary encoder 40, whereby the first rotary shaft 53a in the direction in which the first rotary shaft 53a approaches or separates from the second rotary shaft 53b. The amount of movement with respect to the two rotation shafts 53b is measured.
  • the rotary encoder 40 moves the second connecting rod 83 connected to the horizontal moving plate 61 disposed on the right side of the first rotating shaft 53a and the first rotating shaft 53a.
  • the amount of movement of the second connecting rod 83 connected to the horizontal moving plate 61 arranged on the left side is measured.
  • the rotary encoder 40 moves the first rotation shaft 53a on the right end side with respect to the second rotation shaft 53b (right side movement amount) and the second rotation shaft 53b of the first rotation shaft 53a on the left end side.
  • the amount of movement (the amount of left-side movement) is measured. Therefore, even when only one of the left and right end portions of the first rotation shaft 53a approaches or separates from the second rotation shaft 53b, this can be detected.
  • the rotary encoder 40 is used to detect the occurrence of biting in the sealed portion of the tubular film Fc when the tubular film Fc is laterally sealed by the sealing jaws 51 and 52.
  • FIG. 8 is a block diagram of the control unit 7.
  • the control unit 7 is connected to the combination weighing unit 2, the film supply unit 4, the pull-down belt mechanism 14, the vertical sealing mechanism 15, the horizontal sealing mechanism 16, the operation switch 5, and the liquid crystal display 6.
  • the control unit 7 includes a biting determination unit 7a, a discharge timing adjustment unit 7b, a discharge interval adjustment unit 7c, a discharge container number adjustment unit 7d, a discharge container position adjustment unit 7e, a discharge container order adjustment unit 7f, And a packaging capacity adjusting unit 7g.
  • the discharge timing adjustment unit 7b, the discharge interval adjustment unit 7c, the discharge container number adjustment unit 7d, the discharge container position adjustment unit 7e, the discharge container order adjustment unit 7f, and the packaging capacity adjustment unit 7g are collectively adjusted as necessary. These are called parts 7b to 7g.
  • the biting determination unit 7a and the adjustment units 7b to 7g are programs stored in the control unit 7. Details of these programs will be described later.
  • the control unit 7 is connected to each component of the combination weighing unit 2 and constitutes a part of the combination weighing unit 2 as a control unit of the combination weighing unit 2.
  • the control unit 7 also includes each component of the bag making and packaging unit 3 (mainly, a pull-down belt mechanism 14, a vertical seal mechanism 15, a horizontal seal mechanism 16 (drive motors for driving the first and second rotary shafts 53a and 53b, And the air cylinder 80 of the horizontal direction pressing mechanism 56), the rotary encoder 40, and the film supply unit 4).
  • the control unit 7 constitutes a part of the bag making and packaging unit 3 as a control unit of the bag making and packaging unit 3.
  • the control unit 7 controls the combination weighing unit 2 and the bag making and packaging unit 3 by executing the stored program. For example, the control unit 7 controls the combination weighing unit 2 and the bag making and packaging unit 3 so that the combination weighing unit 2 and the bag making and packaging unit 3 perform the following operations.
  • the weight of the article to be packaged C is weighed by a plurality of weighing hoppers 24, and these weighed values are combined so as to have a predetermined total amount. It is discharged downward.
  • the control unit 7 controls the combination weighing unit 2 so that these series of operations are performed.
  • the article C to be packaged discharged from the combination weighing unit 2 is dropped onto the upper opening end of the tube 13a of the bag making and packaging unit 3.
  • the control unit 7 controls the film supply unit 4 as a control unit for controlling the bag making and packaging unit 3 so that the film F is supplied to the forming mechanism 13. Further, the control unit 7 is a control unit for controlling the bag making and packaging unit 3 so that the film F (tubular film Fc) formed in a cylindrical shape by the forming mechanism 13 is transported downward. To control. Further, the control unit 7 controls the vertical sealing mechanism 15 as a control unit for controlling the bag making and packaging unit 3 so that the overlapping portion of both ends of the tubular film Fc conveyed downward is sealed in the vertical direction. To do.
  • control unit 7 is a control unit for controlling the bag making and packaging unit 3 and is directed downward in accordance with the timing at which the articles C to be packaged discharged from the combination weighing unit 2 are discharged from the lower opening end of the tube 13a.
  • the horizontal sealing mechanism 16 is controlled so that the cylindrical film Fc conveyed in this manner is sealed in the horizontal direction and the sealed bag B is separated from the upstream cylindrical film Fc.
  • the control unit 7 has a biting determination unit 7 a as one of the functions of the bag making and packaging unit 3.
  • the biting determination unit 7a is based on the amount of movement of the first rotating shaft 53a with respect to the second rotating shaft 53b (the amount of right-side movement and the amount of left-side movement) measured by the rotary encoder 40 during lateral sealing by the seal jaws 51 and 52. Then, it is determined whether or not biting has occurred in the sealed portion of the tubular film Fc.
  • the biting in the sealed portion of the tubular film Fc occurs, for example, when the package C and the cutting residue of the tubular film Fc are sandwiched between the sealing jaws 51 and 52 in the sealed portion.
  • the main cause of the occurrence of biting in the sealed portion of the tubular film Fc is the timing at which the falling behavior of the packaging object C in the tube 13a is disturbed and the packaging object C is put into the cylindrical film Fc. Is deviated from normal.
  • the specific causes of the disorder of the fall behavior of the packaged article C are that the size and weight of the packaged article C vary, the packaged article C is temporarily clogged in the tube 13a, and the packaged article C Is swollen by an air current or the like in the tube 13a, and the packaging object C dropped from the plurality of weighing hoppers 24 collides in the tube 13a.
  • the biting determination unit 7a of the control unit 7 moves the first rotary shaft 53a relative to the second rotary shaft 53b between when the sealed portion is not bitten and when the sealed portion is bitten. The presence / absence of biting is determined using the difference.
  • the biting determination unit 7a can acquire the height position where biting has occurred based on a change in the amount of movement over time when the portion to be sealed is bitten. For example, in the sealing jaws 51a and 51b shown in FIG. 7, the biting determination unit 7a can acquire at which height position (vertical position) of the sealing surfaces 511a and 511b the biting has occurred. . Thereby, for example, the biting determination unit 7a determines whether biting has occurred above the knife 72a and the groove 72b or whether biting has occurred below the knife 72a and the groove 72b. it can.
  • control unit 7 of the weighing packaging system 100 determines whether or not the packaged item C or the like is bitten in the sealed portion of the tubular film Fc based on the measurement data of the movement amount by the rotary encoder 40. To do. Each time the lateral sealing mechanism 16 laterally seals the tubular film Fc, the biting determination unit 7a determines whether or not biting has occurred in the laterally sealed portion.
  • the control unit 7 controls the operations of the combination weighing unit 2 and the bag making and packaging unit 3 so that no further biting occurs when the biting rate exceeds the target upper limit value.
  • the biting rate is calculated, for example, based on the number of times biting is detected by the biting determination unit 7a every time the bag making and packaging unit 3 performs the horizontal sealing operation a predetermined number of times.
  • the predetermined number of times is, for example, 1000, but can be arbitrarily set.
  • the biting occurrence rate is calculated as 10 out of 1000 times, that is, 1%.
  • control unit 7 When the biting occurrence rate exceeds a predetermined target upper limit value (for example, 2%), the control unit 7 operates the combination weighing unit 2 and the bag making and packaging unit 3 to suppress the biting occurrence rate below the target upper limit value. To control. This control is executed by the adjusting units 7b to 7g of the control unit 7.
  • a predetermined target upper limit value for example, 2%
  • the control unit 7 controls the operations of the combination weighing unit 2 and the bag making and packaging unit 3 based on the biting information when the biting rate exceeds the target upper limit value.
  • the biting information is information regarding the biting state in the sealed portion of the tubular film Fc.
  • the biting information is, for example, information on the height position where biting has occurred on the seal surfaces of the seal jaws 51 and 52.
  • the biting determination unit 7a can acquire biting information when detecting biting in the sealed portion of the tubular film Fc.
  • the control unit 7 executes at least one of the adjusting units 7b to 7g.
  • the program executed by the control unit 7 can be arbitrarily set.
  • the control unit 7 may execute only one program of the adjusting units 7b to 7g, or may execute a combination of a plurality of programs of the adjusting units 7b to 7g.
  • the discharge timing adjustment unit 7b discharges the packaging material C from the weighing hopper 24 so that the packaging material C discharged from the weighing hopper 24 is not sandwiched between the sealing jaws 51 and 52. Automatically adjust the timing.
  • the discharge timing adjustment unit 7b discharges the packaged article C from the weighing hopper 24.
  • the timing to be delayed is delayed by a predetermined time.
  • the discharge timing adjustment unit 7b discharges the package C from the weighing hopper 24.
  • the timing to be set is advanced by a predetermined time.
  • the discharge timing adjusting section 7b can reduce the occurrence of biting in the sealed portion of the tubular film Fc by automatically adjusting the timing at which the package C is discharged.
  • (5-2) Discharge Interval Adjustment Unit When the control unit 7 discharges the package C from the plurality of weighing hoppers 24 selected by the combination weighing unit 2, the control unit 7 simultaneously removes the package C from the plurality of weighing hoppers 24. The operation of discharging the package C from one weighing hopper 24 without discharging is performed a plurality of times while leaving a predetermined time interval (hereinafter referred to as “discharge interval”). The packaged item C can be discharged.
  • the discharge interval adjusting unit 7c automatically adjusts the discharge interval.
  • the discharge interval is set, for example, at an interval of 20 milliseconds.
  • the upper limit value of the discharge interval is set to 200 milliseconds, for example, and can be set to other values.
  • the longer the discharge interval the longer the discharge interval, which is the time from the time when the article to be packaged C is discharged from one weighing hopper 24 to the time when the object to be packaged C is discharged from the next weighing hopper 24. As the discharge interval is longer, the articles C to be packaged discharged from the plurality of weighing hoppers 24 are more dispersed and fall in the tube 13a.
  • the discharge interval adjusting unit 7c disperses and drops the articles to be packaged C in the tube 13a, so that the articles to be packaged C discharged from the plurality of weighing hoppers 24 are dropped while being dropped in the tube 13a. Suppresses collision.
  • the objects to be packaged C that collide may become a large lump, and the article to be packaged C may be temporarily clogged in the tube 13a.
  • the frequency of collision of the article to be packaged C in the tube 13a decreases, and temporary clogging of the article to be packaged C in the tube 13a is also suppressed. .
  • the timing at which the articles to be packaged C are put into the cylindrical film Fc is delayed, and the articles to be packaged C may be sandwiched between the seal jaws 51 and 52. is there. Therefore, as the article to be packaged C is more dispersed and falls in the tube 13a, the article to be packaged C is suppressed from being sandwiched between the seal jaws 51 and 52.
  • the discharge interval adjusting unit 7c can reduce the occurrence of biting in the sealed portion of the tubular film Fc by automatically adjusting the discharge interval.
  • the number of discharge containers adjusting section 7d is the number of discharge containers that are the number of weighing hoppers 24 that discharge the objects to be packaged C when the combination weighing unit 2 measures the objects to be packaged C in combination. Automatically adjust the number.
  • the number of discharge containers may be different each time the combination weighing unit 2 combines and measures the articles to be packaged C. Therefore, as the number of discharge containers, it is assumed that an average value of the number of weighing hoppers 24 that discharge the packaged article C when the combination weighing unit 2 combines and measures the packaged article C a predetermined number of times is used.
  • the number of discharge containers can be set in units of 0.5, for example.
  • the discharge container number adjusting unit 7d increases the number of discharge containers so that the articles to be packaged C are dispersed and dropped in the tube 13a, and the articles to be packaged C discharged from the plurality of weighing hoppers 24 are contained in the tubes 13a. So as not to be temporarily clogged in the tube 13a by colliding with each other while being dropped. Therefore, as the article to be packaged C is more dispersed and dropped in the tube 13a, temporary clogging of the article to be packaged C in the tube 13a is suppressed, and the article to be packaged C is sandwiched between the seal jaws 51 and 52. Is suppressed.
  • the discharge container number adjusting unit 7d can automatically adjust the number of discharge containers to reduce the occurrence of biting in the sealed portion of the tubular film Fc.
  • FIG. 9 is a diagram schematically showing the arrangement of the ten weighing hoppers 24a to 24j when the combination weighing unit 2 is viewed from above along the vertical direction.
  • the weighing hoppers 24b to 24j are arranged clockwise from the position where the weighing hopper 24a is arranged.
  • the positions of the collecting chute 25 and the tube 13a of the bag making and packaging unit 3 are indicated by dotted lines for reference.
  • the weighing hopper 24a and the weighing hopper 24f are arranged at positions facing each other across the tube 13a. Therefore, when the articles to be packaged C are simultaneously discharged from the weighing hopper 24a and the weighing hopper 24f, the articles to be packaged C discharged from the weighing hopper 24a and the articles to be packaged C discharged from the weighing hopper 24f are shown in FIG. As indicated by the arrows, the slides down on the collecting chute 25 in opposite directions may cause a frontal collision when entering the tube 13a. If the articles to be packaged C discharged from the different weighing hoppers 24a to 24j collide front in the tube 13a, the articles to be packaged C may be temporarily clogged in the tube 13a as described above.
  • the weighing hopper 24a and the weighing hopper 24c are not disposed at positions facing each other across the tube 13a.
  • the articles to be packaged C are simultaneously discharged from the weighing hopper 24a and the weighing hopper 24c
  • the articles to be packaged C discharged from the weighing hopper 24a and the objects to be packaged C discharged from the weighing hopper 24c are As indicated by the arrow 9, since they do not face each other when entering the tube 13 a, it is possible to prevent the article C from being temporarily clogged in the tube 13 a.
  • the discharge container position adjusting unit 7e faces each other across the tube 13a when selecting a combination of the weighing hopper 24 based on the weight of the article C to be packaged temporarily stored in the weighing hopper 24.
  • the discharge container position is automatically adjusted so that the set of related weighing hoppers 24 is not included in the combination. Thereby, temporary clogging of the article to be packaged C in the tube 13a is suppressed, and the article to be packaged C is suppressed from being sandwiched between the sealing jaws 51 and 52.
  • the discharge container position adjusting unit 7e can reduce the occurrence of biting in the sealed portion of the tubular film Fc by automatically adjusting the discharge container position.
  • the discharge container order adjustment section 7f temporarily stores in each weighing hopper 24 that discharges the article to be packaged C when the combination weighing unit 2 performs combination weighing on the article to be packaged C. Based on the weight of the packaged goods C, the order in which the packages C are discharged from the weighing hoppers 24 is automatically adjusted.
  • the discharge container order adjusting unit 7f discharges the packages C in descending order of the weight of the packages C temporarily stored in the weighing hopper 24 that discharges the packages C, for example.
  • the combination weighing unit 2 selects a combination of four weighing hoppers 24 when combining and weighing the articles C to be packaged.
  • the weights of the articles C to be temporarily stored in the four weighing hoppers 24 are set as W1, W2, W3, and W4, respectively.
  • the magnitude relationship between the weights W1 to W4 is W1 ⁇ W2 ⁇ W3 ⁇ W4.
  • the discharge container sequence adjustment unit 7f includes four packages in the order of a packaged object C having a weight W4, a packaged object C having a weight W3, a packaged object C having a weight W2, and a packaged object C having a weight W1.
  • the packaged article C is discharged from the weighing hopper 24 four times.
  • the packaged article C is a light article such as potato chips
  • the weight of the packaged article C that is discharged from the weighing hopper 24 and falls inside the tube 13a is small, an airflow from below is applied during the fall in the tube 13a.
  • the packaged item C may rise and become difficult to fall.
  • the packaged article C that has risen in the tube 13a collides with the packaged article C that has been discharged from another weighing hopper 24 and dropped in the tube 13a, the packaged article C in the tube 13a is temporarily clogged. May occur. On the contrary, such a collision is suppressed, so that the weight of the to-be-packaged product C which is discharged
  • the discharge container sequence adjusting unit 7f discharges the packages C in descending order of the weight of the packages C temporarily stored in the weighing hopper 24 that discharges the packages C.
  • temporary clogging of the article to be packaged C is suppressed, and the article to be packaged C is prevented from being sandwiched between the sealing jaws 51 and 52.
  • the discharge container order adjusting unit 7f can automatically reduce the occurrence of biting in the sealed portion of the tubular film Fc by automatically adjusting the order in which the articles C are discharged from each weighing hopper 24. it can.
  • the packaging capability adjusting unit 7g automatically adjusts the packaging capability, which is the capability of the bag making and packaging unit 3 to wrap the article C to be packed in the bag B per unit time.
  • the packaging capacity is expressed as 20 bpm.
  • the packaging capacity can be set in units of 5 bmp, for example.
  • the packaging capacity adjusting unit 7g temporarily reduces the packaging capacity, and the timing at which the packaged article C is discharged from the weighing hopper 24. It is possible to easily synchronize the timing with which the horizontal sealing mechanism 16 performs horizontal sealing on the tubular film Fc. Thereby, it is suppressed that the to-be-packaged goods C are pinched
  • the packaging capacity adjusting unit 7g can reduce the occurrence of biting in the sealed portion of the tubular film Fc by automatically adjusting the packaging capacity.
  • the control unit 7 of the weighing and packaging system 100 controls the operations of the combination weighing unit 2 and the bag making and packaging unit 3 by the adjusting units 7b to 7g.
  • the biting rate can be suppressed to a target upper limit value or less. That is, the control unit 7 is configured so that the combination weighing unit 2 and the bag making and packaging unit 3 can be used when the articles to be packaged C are frequently caught by the sealing jaws 51 and 52 of the lateral seal mechanism 16 during the operation of the weighing and packaging system 100.
  • the weighing and packaging system 100 can quickly optimize the operations of the combination weighing unit 2 and the bag making and packaging unit 3 even if an abnormality is detected when packaging the article C to be packaged. Can do. Therefore, the weighing packaging system 100 can effectively suppress the generation of defective products and improve the operating rate.
  • the control unit 7 of the weighing and packaging system 100 executes an arbitrary program of the adjusting units 7b to 7g.
  • the control unit 7 may execute a plurality of programs of the adjustment units 7b to 7g in order based on a predetermined priority order.
  • the control unit 7 is another program of the adjusting units 7b to 7g when the biting occurrence rate still exceeds the target upper limit value after executing one program of the adjusting units 7b to 7g.
  • a program having a lower priority than the previously executed program is executed.
  • the execution order of the programs is the same as the predetermined priority order.
  • the control unit 7 sets the discharge interval adjusting unit 7c, the discharge container number adjusting unit 7d, the discharge container position adjusting unit 7e, and the packaging capacity adjusting unit 7g in this order. You may execute it one by one. In this case, the control unit 7 first determines whether or not the biting rate is equal to or lower than the target upper limit value after executing the discharge interval adjusting unit 7c, and the biting rate still exceeds the target upper limit value. If so, the discharge container number adjusting unit 7d is executed.
  • the lowest priority is assigned to the packaging capacity adjustment unit 7g that may greatly affect the overall efficiency of the weighing packaging system 100. That is, when the control unit 7 executes a plurality of programs of the adjustment units 7b to 7g, it is preferable to execute the packaging capacity adjustment unit 7g last.
  • the packages C are discharged in descending order of the weight of the packages C temporarily stored in the weighing hopper 24 that discharges the packages C.
  • the control to do was explained.
  • the discharge container sequence adjustment unit 7f is configured to store the packages C temporarily stored in the weighing hoppers 24 that discharge the packages C. Based on the weight, the packages C may be discharged based on other orders. In this case, the order of discharging the articles to be packaged C may be set by the user of the weighing and packaging system 100 using the operation switch 5 and the liquid crystal display 6.
  • the combination weighing unit 2 selects a combination of four weighing hoppers 24 when the combination weighing unit 2 weighs the package C.
  • the weights of the articles C to be temporarily stored in the four weighing hoppers 24 are set as W1, W2, W3, and W4, respectively.
  • the magnitude relationship between the weights W1 to W4 is W1 ⁇ W2 ⁇ W3 ⁇ W4.
  • the following first to fourth modes can be given as the settings relating to the order of discharging the articles to be packaged C.
  • the packages C are discharged in descending order of the weight of the packages C.
  • the discharge container sequence adjustment unit 7f includes four packages in the order of a packaged object C having a weight W4, a packaged object C having a weight W3, a packaged object C having a weight W2, and a packaged object C having a weight W1.
  • the packaged article C is discharged from the weighing hopper 24 four times.
  • the discharge order of such a packaged article C is expressed as W4 ⁇ W3 ⁇ W2 ⁇ W1.
  • the packages C are discharged in ascending order of the weight of the packages C. That is, the discharge order of the packaged goods C is W1 ⁇ W2 ⁇ W3 ⁇ W4.
  • the heaviest package C is discharged first, the lightest package C is discharged next, and this is repeated. That is, the discharge order of the packaged article C is W4 ⁇ W1 ⁇ W3 ⁇ W2.
  • the lightest package C is discharged first, the heaviest package C is discharged next, and this is repeated. That is, the discharge order of the packaged article C is W1 ⁇ W4 ⁇ W2 ⁇ W3.
  • the combination weighing unit 2 discharges the package C according to the weight of the package C supplied to the bag making and packaging unit 3 at a time, the shape and specific gravity of the package C, and the like.
  • the order of discharging the articles C to be packaged temporarily stored in the weighing hopper 24 can be selected from the first to fourth modes.
  • the user of the weighing and packaging system 100 selects the setting (first to fourth modes, etc.) relating to the order of discharging the articles to be packaged C from the plurality of weighing hoppers 24, so that the articles to be packaged C in the tube 13a. Can be prevented from temporarily clogging, and the occurrence of biting in the sealed portion of the tubular film Fc can be reduced.

Landscapes

  • Engineering & Computer Science (AREA)
  • Mechanical Engineering (AREA)
  • Physics & Mathematics (AREA)
  • General Physics & Mathematics (AREA)
  • Containers And Plastic Fillers For Packaging (AREA)
PCT/JP2016/079339 2015-12-14 2016-10-03 計量包装システム Ceased WO2017104229A1 (ja)

Applications Claiming Priority (2)

Application Number Priority Date Filing Date Title
JP2015243364A JP6673685B2 (ja) 2015-12-14 2015-12-14 計量包装システム
JP2015-243364 2015-12-14

Publications (1)

Publication Number Publication Date
WO2017104229A1 true WO2017104229A1 (ja) 2017-06-22

Family

ID=59056038

Family Applications (1)

Application Number Title Priority Date Filing Date
PCT/JP2016/079339 Ceased WO2017104229A1 (ja) 2015-12-14 2016-10-03 計量包装システム

Country Status (2)

Country Link
JP (1) JP6673685B2 (cg-RX-API-DMAC7.html)
WO (1) WO2017104229A1 (cg-RX-API-DMAC7.html)

Cited By (2)

* Cited by examiner, † Cited by third party
Publication number Priority date Publication date Assignee Title
EP3984894A1 (en) * 2020-10-14 2022-04-20 ISHIDA CO., Ltd. Bag-making and packaging machine
EP4134638A1 (en) * 2021-08-12 2023-02-15 ISHIDA CO., Ltd. Weighing and packaging system

Citations (6)

* Cited by examiner, † Cited by third party
Publication number Priority date Publication date Assignee Title
JPS6222028A (ja) * 1985-07-23 1987-01-30 Ishida Scales Mfg Co Ltd 組合せ計量方法
JPH06229816A (ja) * 1993-02-05 1994-08-19 Ishida Co Ltd 組合せ計量装置
JP2000304598A (ja) * 1999-04-26 2000-11-02 Ishida Co Ltd 組合せ計量装置
JP2002249113A (ja) * 2001-02-20 2002-09-03 Tokyo Autom Mach Works Ltd 縦形製袋充填包装機の充填サイクル調整装置およびその調整方法
JP2003011927A (ja) * 2001-06-27 2003-01-15 Ishida Co Ltd 縦型製袋包装機
JP2013190331A (ja) * 2012-03-14 2013-09-26 Ishida Co Ltd 組合せ計量装置

Family Cites Families (1)

* Cited by examiner, † Cited by third party
Publication number Priority date Publication date Assignee Title
IT1283264B1 (it) * 1996-03-15 1998-04-16 Simionato Spa Gruppo di pesatura perfezionato.

Patent Citations (6)

* Cited by examiner, † Cited by third party
Publication number Priority date Publication date Assignee Title
JPS6222028A (ja) * 1985-07-23 1987-01-30 Ishida Scales Mfg Co Ltd 組合せ計量方法
JPH06229816A (ja) * 1993-02-05 1994-08-19 Ishida Co Ltd 組合せ計量装置
JP2000304598A (ja) * 1999-04-26 2000-11-02 Ishida Co Ltd 組合せ計量装置
JP2002249113A (ja) * 2001-02-20 2002-09-03 Tokyo Autom Mach Works Ltd 縦形製袋充填包装機の充填サイクル調整装置およびその調整方法
JP2003011927A (ja) * 2001-06-27 2003-01-15 Ishida Co Ltd 縦型製袋包装機
JP2013190331A (ja) * 2012-03-14 2013-09-26 Ishida Co Ltd 組合せ計量装置

Cited By (3)

* Cited by examiner, † Cited by third party
Publication number Priority date Publication date Assignee Title
EP3984894A1 (en) * 2020-10-14 2022-04-20 ISHIDA CO., Ltd. Bag-making and packaging machine
US12030685B2 (en) 2020-10-14 2024-07-09 Ishida Co., Ltd. Bag-making and packaging machine
EP4134638A1 (en) * 2021-08-12 2023-02-15 ISHIDA CO., Ltd. Weighing and packaging system

Also Published As

Publication number Publication date
JP2017110938A (ja) 2017-06-22
JP6673685B2 (ja) 2020-03-25

Similar Documents

Publication Publication Date Title
JP4094166B2 (ja) 包装システム
JP6239957B2 (ja) 製袋包装機および製袋包装システム
EP3098171B1 (en) Bag making and packaging machine
CN108290651B (zh) 制袋包装机
JP6947393B2 (ja) 製袋包装機及び製袋包装システム
JP6673685B2 (ja) 計量包装システム
JP6258648B2 (ja) 包装機
JP2021001010A (ja) 縦型製袋包装機
JP2015034010A (ja) 2つ以上の製袋ラインを有する製袋包装装置
JP2021089251A (ja) 改善判断システム
AU2017378531B2 (en) Bag making and packaging machine
JP5188102B2 (ja) 箱詰め装置
JP2021001011A (ja) 縦型製袋包装機
WO2017159541A1 (ja) 検査ユニット支持装置、および、検査装置
JP2000229611A (ja) 包装計量システム
JP2023007238A (ja) 製袋包装機
CN111559543A (zh) 计量包装系统
EP4653827A1 (en) Item measurement and discharge apparatus
JP2007084100A (ja) 計量包装装置及び計量包装システム
JP2019168398A (ja) 計量システム及び組合せ計量装置
JP2024117617A (ja) 製袋包装機
JP2023026035A (ja) 計量包装システム

Legal Events

Date Code Title Description
121 Ep: the epo has been informed by wipo that ep was designated in this application

Ref document number: 16875214

Country of ref document: EP

Kind code of ref document: A1

NENP Non-entry into the national phase

Ref country code: DE

122 Ep: pct application non-entry in european phase

Ref document number: 16875214

Country of ref document: EP

Kind code of ref document: A1