WO2017039014A1 - タイヤ - Google Patents

タイヤ Download PDF

Info

Publication number
WO2017039014A1
WO2017039014A1 PCT/JP2016/076019 JP2016076019W WO2017039014A1 WO 2017039014 A1 WO2017039014 A1 WO 2017039014A1 JP 2016076019 W JP2016076019 W JP 2016076019W WO 2017039014 A1 WO2017039014 A1 WO 2017039014A1
Authority
WO
WIPO (PCT)
Prior art keywords
tire
resin material
reinforcing cord
outer peripheral
lldpe
Prior art date
Legal status (The legal status is an assumption and is not a legal conclusion. Google has not performed a legal analysis and makes no representation as to the accuracy of the status listed.)
Ceased
Application number
PCT/JP2016/076019
Other languages
English (en)
French (fr)
Japanese (ja)
Inventor
直幸 曽根
鈴木 隆弘
福島 敦
Current Assignee (The listed assignees may be inaccurate. Google has not performed a legal analysis and makes no representation or warranty as to the accuracy of the list.)
Bridgestone Corp
Original Assignee
Bridgestone Corp
Priority date (The priority date is an assumption and is not a legal conclusion. Google has not performed a legal analysis and makes no representation as to the accuracy of the date listed.)
Filing date
Publication date
Application filed by Bridgestone Corp filed Critical Bridgestone Corp
Priority to EP16842043.8A priority Critical patent/EP3345964B1/en
Priority to US15/756,363 priority patent/US10800209B2/en
Priority to CN201680050427.XA priority patent/CN107922687B/zh
Publication of WO2017039014A1 publication Critical patent/WO2017039014A1/ja
Anticipated expiration legal-status Critical
Ceased legal-status Critical Current

Links

Images

Classifications

    • BPERFORMING OPERATIONS; TRANSPORTING
    • B60VEHICLES IN GENERAL
    • B60CVEHICLE TYRES; TYRE INFLATION; TYRE CHANGING; CONNECTING VALVES TO INFLATABLE ELASTIC BODIES IN GENERAL; DEVICES OR ARRANGEMENTS RELATED TO TYRES
    • B60C5/00Inflatable pneumatic tyres or inner tubes
    • B60C5/01Inflatable pneumatic tyres or inner tubes without substantial cord reinforcement, e.g. cordless tyres, cast tyres
    • BPERFORMING OPERATIONS; TRANSPORTING
    • B60VEHICLES IN GENERAL
    • B60CVEHICLE TYRES; TYRE INFLATION; TYRE CHANGING; CONNECTING VALVES TO INFLATABLE ELASTIC BODIES IN GENERAL; DEVICES OR ARRANGEMENTS RELATED TO TYRES
    • B60C1/00Tyres characterised by the chemical composition or the physical arrangement or mixture of the composition
    • B60C1/0008Compositions of the inner liner
    • BPERFORMING OPERATIONS; TRANSPORTING
    • B60VEHICLES IN GENERAL
    • B60CVEHICLE TYRES; TYRE INFLATION; TYRE CHANGING; CONNECTING VALVES TO INFLATABLE ELASTIC BODIES IN GENERAL; DEVICES OR ARRANGEMENTS RELATED TO TYRES
    • B60C1/00Tyres characterised by the chemical composition or the physical arrangement or mixture of the composition
    • BPERFORMING OPERATIONS; TRANSPORTING
    • B60VEHICLES IN GENERAL
    • B60CVEHICLE TYRES; TYRE INFLATION; TYRE CHANGING; CONNECTING VALVES TO INFLATABLE ELASTIC BODIES IN GENERAL; DEVICES OR ARRANGEMENTS RELATED TO TYRES
    • B60C1/00Tyres characterised by the chemical composition or the physical arrangement or mixture of the composition
    • B60C1/0025Compositions of the sidewalls
    • BPERFORMING OPERATIONS; TRANSPORTING
    • B60VEHICLES IN GENERAL
    • B60CVEHICLE TYRES; TYRE INFLATION; TYRE CHANGING; CONNECTING VALVES TO INFLATABLE ELASTIC BODIES IN GENERAL; DEVICES OR ARRANGEMENTS RELATED TO TYRES
    • B60C1/00Tyres characterised by the chemical composition or the physical arrangement or mixture of the composition
    • B60C1/0041Compositions of the carcass layers
    • BPERFORMING OPERATIONS; TRANSPORTING
    • B60VEHICLES IN GENERAL
    • B60CVEHICLE TYRES; TYRE INFLATION; TYRE CHANGING; CONNECTING VALVES TO INFLATABLE ELASTIC BODIES IN GENERAL; DEVICES OR ARRANGEMENTS RELATED TO TYRES
    • B60C9/00Reinforcements or ply arrangement of pneumatic tyres
    • B60C9/18Structure or arrangement of belts or breakers, crown-reinforcing or cushioning layers
    • B60C9/20Structure or arrangement of belts or breakers, crown-reinforcing or cushioning layers built-up from rubberised plies each having all cords arranged substantially parallel
    • B60C9/22Structure or arrangement of belts or breakers, crown-reinforcing or cushioning layers built-up from rubberised plies each having all cords arranged substantially parallel the plies being arranged with all cords disposed along the circumference of the tyre
    • B60C9/2204Structure or arrangement of belts or breakers, crown-reinforcing or cushioning layers built-up from rubberised plies each having all cords arranged substantially parallel the plies being arranged with all cords disposed along the circumference of the tyre obtained by circumferentially narrow strip winding
    • CCHEMISTRY; METALLURGY
    • C08ORGANIC MACROMOLECULAR COMPOUNDS; THEIR PREPARATION OR CHEMICAL WORKING-UP; COMPOSITIONS BASED THEREON
    • C08LCOMPOSITIONS OF MACROMOLECULAR COMPOUNDS
    • C08L23/00Compositions of homopolymers or copolymers of unsaturated aliphatic hydrocarbons having only one carbon-to-carbon double bond; Compositions of derivatives of such polymers
    • C08L23/02Compositions of homopolymers or copolymers of unsaturated aliphatic hydrocarbons having only one carbon-to-carbon double bond; Compositions of derivatives of such polymers not modified by chemical after-treatment
    • C08L23/04Homopolymers or copolymers of ethene
    • C08L23/06Polyethene
    • CCHEMISTRY; METALLURGY
    • C08ORGANIC MACROMOLECULAR COMPOUNDS; THEIR PREPARATION OR CHEMICAL WORKING-UP; COMPOSITIONS BASED THEREON
    • C08LCOMPOSITIONS OF MACROMOLECULAR COMPOUNDS
    • C08L23/00Compositions of homopolymers or copolymers of unsaturated aliphatic hydrocarbons having only one carbon-to-carbon double bond; Compositions of derivatives of such polymers
    • C08L23/02Compositions of homopolymers or copolymers of unsaturated aliphatic hydrocarbons having only one carbon-to-carbon double bond; Compositions of derivatives of such polymers not modified by chemical after-treatment
    • C08L23/04Homopolymers or copolymers of ethene
    • C08L23/08Copolymers of ethene
    • C08L23/0807Copolymers of ethene with unsaturated hydrocarbons only containing four or more carbon atoms
    • C08L23/0815Copolymers of ethene with unsaturated hydrocarbons only containing four or more carbon atoms with aliphatic 1-olefins containing one carbon-to-carbon double bond
    • CCHEMISTRY; METALLURGY
    • C08ORGANIC MACROMOLECULAR COMPOUNDS; THEIR PREPARATION OR CHEMICAL WORKING-UP; COMPOSITIONS BASED THEREON
    • C08LCOMPOSITIONS OF MACROMOLECULAR COMPOUNDS
    • C08L23/00Compositions of homopolymers or copolymers of unsaturated aliphatic hydrocarbons having only one carbon-to-carbon double bond; Compositions of derivatives of such polymers
    • C08L23/26Compositions of homopolymers or copolymers of unsaturated aliphatic hydrocarbons having only one carbon-to-carbon double bond; Compositions of derivatives of such polymers modified by chemical after-treatment
    • CCHEMISTRY; METALLURGY
    • C08ORGANIC MACROMOLECULAR COMPOUNDS; THEIR PREPARATION OR CHEMICAL WORKING-UP; COMPOSITIONS BASED THEREON
    • C08LCOMPOSITIONS OF MACROMOLECULAR COMPOUNDS
    • C08L77/00Compositions of polyamides obtained by reactions forming a carboxylic amide link in the main chain; Compositions of derivatives of such polymers
    • BPERFORMING OPERATIONS; TRANSPORTING
    • B60VEHICLES IN GENERAL
    • B60CVEHICLE TYRES; TYRE INFLATION; TYRE CHANGING; CONNECTING VALVES TO INFLATABLE ELASTIC BODIES IN GENERAL; DEVICES OR ARRANGEMENTS RELATED TO TYRES
    • B60C1/00Tyres characterised by the chemical composition or the physical arrangement or mixture of the composition
    • B60C2001/005Compositions of the bead portions, e.g. clinch or chafer rubber or cushion rubber
    • CCHEMISTRY; METALLURGY
    • C08ORGANIC MACROMOLECULAR COMPOUNDS; THEIR PREPARATION OR CHEMICAL WORKING-UP; COMPOSITIONS BASED THEREON
    • C08LCOMPOSITIONS OF MACROMOLECULAR COMPOUNDS
    • C08L2207/00Properties characterising the ingredient of the composition
    • C08L2207/06Properties of polyethylene
    • C08L2207/066LDPE (radical process)

Definitions

  • the present invention relates to a tire mounted on a rim, and particularly relates to a tire having a tire skeleton including at least a resin material.
  • pneumatic tires made of rubber, organic fiber materials, steel members, and the like are used for vehicles such as passenger cars.
  • Conventional rubber materials conventionally used for pneumatic tires have no problem in heat resistance.
  • a plurality of processes such as kneading, sheeting, molding, and vulcanization are usually performed, and improvement in productivity has been demanded.
  • thermoplastic resin materials have many advantages from the viewpoint of improving productivity, such as being capable of injection molding.
  • a tire using a thermoplastic resin material is easier to manufacture and less expensive than a conventional rubber tire.
  • a tire is manufactured using a resin material, it is required to realize performance that is comparable to that of a conventional rubber tire while realizing high manufacturing efficiency and low cost.
  • the temperature of the tire becomes high temperature (for example, 90 ° C.) during high-speed running, the tire frame body is required to be excellent in a characteristic that maintains the shape, that is, a so-called creep characteristic.
  • the tire is required to have appropriate elasticity and hardness and to be excellent in durability as a tire.
  • Olefin resin has been tried as a material that can realize tire manufacturing efficiency and low cost.
  • a resin material containing an olefin resin tends to have difficulty in achieving both creep characteristics and durability. Therefore, there is a demand for a tire that uses a resin material containing an olefin resin, particularly polyethylene, as a tire skeleton and has both creep characteristics and durability.
  • the present disclosure aims to provide a tire having both creep characteristics and durability while using a resin material containing polyethylene for a tire frame.
  • a tire having both creep characteristics and durability while using a resin material containing polyethylene for a tire frame.
  • FIG. 1 It is a perspective view showing a section of some tires concerning a 1st embodiment. It is sectional drawing of the bead part with which the rim
  • thermoplastic resin including a thermoplastic elastomer
  • thermosetting resin does not include vulcanized rubber.
  • a numerical range expressed using “to” means a range including numerical values described before and after “to” as a lower limit value and an upper limit value.
  • process is not limited to an independent process, and is included in the term if the intended purpose of the process is achieved even if it cannot be clearly distinguished from other processes.
  • the degree of crystallinity means a value calculated from the endothermic peak area in a curve (DSC curve) obtained by differential scanning calorimetry (DSC).
  • the crystallinity is measured using a differential scanning calorimeter DSC according to ASTM D3418-8. Specifically, an object to be measured is placed on an aluminum pan, an empty pan is set as a control, and measurement is performed at a heating rate of 10 ° C./min. For the temperature correction of the detection part of the measuring device, the melting points of indium and zinc are used, and for the heat amount correction, the heat of fusion of indium is used.
  • the tire according to the present disclosure has an annular tire skeleton formed of a resin material including linear low density polyethylene having a crystallinity of 110 J / g to 138 J / g.
  • linear low density polyethylene having a crystallinity of 110 J / g to 138 J / g may be referred to as “specific LLDPE”.
  • Linear low density polyethylene may be referred to as “LLDPE”.
  • the simple description “LLDPE” includes the specific LLDPE and other LLDPE.
  • the tire according to the present disclosure is considered to have excellent creep characteristics even when the temperature of the tire becomes high (for example, 90 ° C.) during high speed running because the resin material forming the tire frame includes specific LLDPE. . Moreover, the elasticity of a tire is controlled by the suitable range because the resin material which forms a tire frame contains specific LLDPE, and durability excellent as a tire is obtained.
  • annular tire skeleton formed from resin material The tire according to the present disclosure has an annular tire skeleton formed of a resin material including linear low density polyethylene (specific LLDPE) having a crystallinity of 110 J / g to 138 J / g.
  • specific LLDPE linear low density polyethylene
  • the resin material may include a type of resin other than the specific LLDPE.
  • the resin other than the specific LLDPE preferably contains at least one selected from polyamide from the viewpoint of improving heat resistance and polyamide-modified polyethylene from the viewpoint of improving heat resistance and dispersibility of the resin.
  • polyamide from the viewpoint of improving heat resistance
  • polyamide-modified polyethylene from the viewpoint of improving heat resistance and dispersibility of the resin.
  • the resin material includes at least one linear low density polyethylene (specific LLDPE) having a crystallinity of 110 J / g to 138 J / g. As described above, the value measured by DSC is used for the crystallinity.
  • the degree of crystallinity can be adjusted by the molecular weight of the whole LLDPE, the length of the side chain, the number of side chains per 1000 carbon atoms in the main chain, and the like. If the degree of crystallinity is 110 J / g or more, the movement of the molecular chain is limited, so that the specific LLDPE is given appropriate hardness and excellent creep characteristics.
  • the crystallinity of the specific LLDPE is preferably 110 J / g to 132 J / g, more preferably 110 J / g to 125 J / g.
  • linear low density polyethylene is a copolymer of ethylene and an ⁇ -olefin having 3 to 20 carbon atoms having a density of 0.910 g / m 3 or more and less than 0.930 g / m 3. Point to. LLDPE is distinguished from low-density polyethylene (LDPE) in that it does not have long-chain branching having more than 20 carbon atoms.
  • the ⁇ -olefin is preferably an ⁇ -olefin having 4 to 12 carbon atoms from the viewpoint of easily adjusting the crystallinity to a predetermined range.
  • ⁇ -olefin for example, propylene, 1-butene, 1-pentene, 4-methyl-1-pentene, 1-hexene, 1-octene, 1-nonene, 1-decene, 1-dodecene, etc. Is mentioned.
  • LLDPE what was manufactured by the conventionally well-known general manufacturing method using a conventionally well-known general catalyst can be used.
  • catalysts include Ziegler catalysts, metallocene catalysts, vanadium catalysts, and the like. Among these, from the viewpoint of easily adjusting the crystallinity of LLDPE within a predetermined range, metallocene catalysts and Ziegler catalysts are preferable, and metallocene catalysts are more preferable.
  • Conventionally known production methods include production methods such as a gas phase polymerization method, a solution polymerization method, a slurry polymerization method, and a high-pressure ion polymerization method. Among these, from the viewpoint of easily adjusting the crystallinity of LLDPE within a predetermined range, a gas phase polymerization method and a solution polymerization method are preferable, and a gas phase polymerization method is more preferable.
  • the weight average molecular weight of the specific LLDPE is not particularly limited, but is preferably 140,000 to 190,000, more preferably 150,000 to 190,000, and further preferably 150,000 to 170,000.
  • the weight average molecular weight can be measured by gel permeation chromatography (GPC).
  • GPC gel permeation chromatography
  • HPC-8321 GPC / HT manufactured by Tosoh Corporation can be used. .
  • the melting point (Tm) of the specific LLDPE is not particularly limited, but is preferably 100 ° C. or higher. If it is 100 degreeC or more, it will be easy to obtain the tire frame body which can endure the heat_generation
  • the melting point of the specific LLDPE is preferably 105 ° C. or higher, and more preferably 110 ° C. or higher.
  • the melting point of the specific LLDPE is preferably 130 ° C. or lower in view of the molecular structure.
  • fusing point (Tm) means the melting peak temperature when it measures at a temperature increase rate of 10 degree-C / min according to the method prescribed
  • the melt flow rate (MFR) of the specific LLDPE is not particularly limited, but is preferably 0.5 g / 10 min or more and 10.0 g / 10 min or less, 1.0 g / 10 min or more and 9.0 g / 10 min or less. It is more preferable that it is 1.5 g / 10 min or more and 8.0 g / 10 min or less.
  • MFR is 1.5 g / 10 min or more, when the tire frame is injection-molded, the injection property is more excellent.
  • the MFR is 8.0 g / 10 min or less, the heat resistance is more excellent.
  • the MFR is a value measured under conditions of a temperature of 190 ° C. and a load of 2.16 kg according to the method defined in JIS K7210: 2014.
  • the tensile elastic modulus of the specific LLDPE is preferably 100 MPa to 700 MPa, more preferably 140 MPa to 470 MPa, and further preferably 230 MPa to 350 MPa.
  • the rim can be assembled efficiently while maintaining the shape of the tire frame.
  • the tensile elastic modulus is a value measured according to JIS K7113: 1995.
  • LLDPE for example, Umerit 1540F, 2525F, 2540F manufactured by Ube Maruzen Polyethylene Co., Ltd., Novatec LL UF230 manufactured by Nippon Polyethylene Co., Ltd., Ultex Zex 2022L manufactured by Prime Polymer Co., Ltd., Neozex 2511F And Evolue SP1540.
  • the resin material preferably further contains at least one polyamide.
  • the resin material further includes polyamide, the heat resistance of the tire frame body is improved.
  • R 1 represents a molecular chain of an aliphatic hydrocarbon having 2 to 20 carbon atoms.
  • Examples of the molecular chain of an aliphatic hydrocarbon having 2 to 20 carbon atoms include an alkylene group having 2 to 20 carbon atoms.
  • R 2 represents a molecular chain of an aliphatic hydrocarbon having 3 to 20 carbon atoms.
  • Examples of the molecular chain of an aliphatic hydrocarbon having 3 to 20 carbon atoms include an alkylene group having 3 to 20 carbon atoms.
  • R 1 is preferably an aliphatic hydrocarbon molecular chain having 3 to 18 carbon atoms (for example, an alkylene group having 3 to 18 carbon atoms), and an aliphatic hydrocarbon having 4 to 15 carbon atoms.
  • an alkylene group having 4 to 15 carbon atoms is more preferable, and an aliphatic hydrocarbon molecular chain (for example, an alkylene group having 10 to 15 carbon atoms) is particularly preferable.
  • R 2 is preferably an aliphatic hydrocarbon molecular chain having 3 to 18 carbon atoms (eg, an alkylene group having 3 to 18 carbon atoms), and an aliphatic group having 4 to 15 carbon atoms.
  • a hydrocarbon molecular chain (for example, an alkylene group having 4 to 15 carbon atoms) is more preferable, and an aliphatic hydrocarbon molecular chain (for example, an alkylene group having 10 to 15 carbon atoms) is particularly preferable.
  • Examples of the monomer represented by the general formula (1) or the general formula (2) include ⁇ -aminocarboxylic acid and lactam.
  • Examples of the polyamide include polycondensates such as ⁇ -aminocarboxylic acid and lactam, and copolycondensation polymers of diamine and dicarboxylic acid.
  • Examples of ⁇ -aminocarboxylic acids include 6-aminocaproic acid, 7-aminoheptanoic acid, 8-aminooctanoic acid, 10-aminocapric acid, 11-aminoundecanoic acid, 12-aminododecanoic acid and the like having 5 to 20 carbon atoms.
  • Examples thereof include aliphatic ⁇ -aminocarboxylic acids.
  • lactam include aliphatic lactams having 5 to 20 carbon atoms such as lauryl lactam, ⁇ -caprolactam, undecane lactam, ⁇ -enantolactam, and 2-pyrrolidone.
  • diamine examples include ethylene diamine, trimethylene diamine, tetramethylene diamine, hexamethylene diamine, heptamethylene diamine, octamethylene diamine, nonamethylene diamine, decamethylene diamine, undecamethylene diamine, dodecamethylene diamine, 2, 2, 4 And diamine compounds such as aliphatic diamines having 2 to 20 carbon atoms such as trimethylhexamethylenediamine, 2,4,4-trimethylhexamethylenediamine, and 3-methylpentamethylenediamine.
  • the dicarboxylic acid can be represented by HOOC- (R 3 ) m —COOH (R 3 : a hydrocarbon molecular chain having 2 to 20 carbon atoms, m: 0 or 1).
  • R 3 a hydrocarbon molecular chain having 2 to 20 carbon atoms, m: 0 or 1.
  • oxalic acid, succinic acid And aliphatic dicarboxylic acids having 2 to 22 carbon atoms such as glutaric acid, adipic acid, pimelic acid, suberic acid, azelaic acid, sebacic acid and dodecanedioic acid.
  • polyamides examples include polyamides obtained by ring-opening polycondensation of ⁇ -caprolactam (polyamide 6), polyamides obtained by ring-opening polycondensation of undecane lactam (polyamide 11), polyamides obtained by ring-opening polycondensation of lauryl lactam (polyamide 12), and 12-amino.
  • Polyamide obtained by polycondensation of dodecanoic acid (polyamide 12) or polycondensation polyamide (polyamide 66) of diamine and dibasic acid can be used.
  • the polyamide 6 can be represented by, for example, ⁇ CO— (CH 2 ) 5 —NH ⁇ n (n represents an arbitrary number of repeating units). For example, n is preferably 2 to 100, and 3 to 50 is preferable. Further preferred.
  • the polyamide 11 can be represented by, for example, ⁇ CO— (CH 2 ) 10 —NH ⁇ n (n represents an arbitrary number of repeating units). For example, n is preferably 2 to 100, and 3 to 50 is preferable. Further preferred.
  • the polyamide 12 can be represented by, for example, ⁇ CO— (CH 2 ) 11 —NH ⁇ n (n represents an arbitrary number of repeating units). For example, n is preferably 2 to 100, and 3 to 50 is preferable. Further preferred.
  • the polyamide 66 can be represented by, for example, ⁇ CO (CH 2 ) 4 CONH (CH 2 ) 6 NH ⁇ n (n represents an arbitrary number of repeating units).
  • n is preferably 2 to 100, 3 to 50 are more preferable.
  • amide 6 As a commercially available product of amide 6, for example, “UBE nylon” series (for example, 1022B, 1011FB, etc.) manufactured by Ube Industries, Ltd. can be used.
  • amide 11 for example, “Rilsan B” series manufactured by Arkema Co., Ltd. can be used.
  • amide 12 As a commercially available product of amide 12, for example, “UBE nylon” series (for example, 3024U, 3020U, 3014U, etc.) manufactured by Ube Industries, Ltd. can be used.
  • amide 66 for example, “UBE nylon” series (for example, 2020B, 2015B, etc.) manufactured by Ube Industries, Ltd. can be used.
  • amide MX for example, “MX nylon” series (for example, S6001, S6021, S6011, etc.) manufactured by Mitsubishi Gas Chemical Co., Ltd. can be used.
  • the resin material may include at least one polyamide-modified polyethylene.
  • the resin material contains polyamide-modified polyethylene, the heat resistance of the tire frame body is improved.
  • the polyamide-modified polyethylene is easily compatible with the specific LLDPE, it is difficult for the interface between the two resins to be formed in the mixture. Therefore, for example, stress concentration at the interface hardly occurs at the time of bending, and the resistance to bending fatigue of the tire frame body is improved.
  • polyamide-modified polyethylene refers to polyethylene in which polyamide is bonded to a part of a molecular chain. Examples of the polyamide to be bonded to polyethylene include the polyamide.
  • polyethylene examples include low density polyethylene (LDPE), linear low density polyethylene (LLDPE), and high density polyethylene (HDPE).
  • LDPE low density polyethylene
  • LLDPE linear low density polyethylene
  • HDPE high density polyethylene
  • the polyethylene used for the polyamide-modified polyethylene is preferably LLDPE and more preferably specific LLDPE from the viewpoint of compatibility with the specific LLDPE.
  • polyamide-modified polyethylene examples include Arkema LP91.
  • the resin material may contain at least one kind of acid-modified polyethylene.
  • the resin material contains a specific LLDPE and two or more other types of resins, at least one of the other types of resins is preferably acid-modified polyethylene, and each resin can contain acid-modified polyethylene. The dispersibility of is improved. Therefore, the resin material is excellent in bending fatigue resistance.
  • Examples of the acid group possessed by the acid-modified polyethylene include weak acid groups such as a carboxylic acid group, a sulfuric acid group, and a phosphoric acid group from the viewpoint of suppressing deterioration of the resin material, and a carboxylic acid group is particularly preferable.
  • acid-modified means that an unsaturated compound having an acidic group such as a carboxylic acid group, a sulfuric acid group, or a phosphoric acid group is bonded to polyethylene.
  • an unsaturated carboxylic acid generally maleic anhydride
  • an unsaturated bond site of the unsaturated carboxylic acid is bonded (for example, graft polymerization) to polyethylene.
  • the acid modification of polyethylene is carried out by kneading polyethylene, an unsaturated compound having an acidic group (for example, unsaturated carboxylic acid) and an organic peroxide and graft copolymerizing using a twin screw extruder or the like.
  • the addition amount of the unsaturated compound having an acidic group is preferably 0.01 to 20 parts by mass, more preferably 0.01 to 10 parts by mass with respect to 100 parts by mass of polyethylene. If the amount of the unsaturated compound having an acidic group is too small, the amount of grafting to polyethylene is lowered.
  • the organic peroxide may be added in an amount sufficient for carrying out the graft reaction, and is preferably 0.01 parts by mass to 5 parts by mass, and more preferably 0.03 parts by mass to 1 part by mass. .
  • organic peroxide examples include 1,1 bis (t-butylperoxy) cyclohexane, 2,2bis (4,4-di-t-butylperoxycyclohexyl) propane, 1,1-bis (t- Butylperoxy) cyclododecane, t-hexylperoxyisopropyl monocarbonate, t-butylperoxy-3,5,5-trimethylhexanoate, t-butylperoxylaurate, 2,5 dimethyl-2,5- Di (benzoylperoxy) hexane, t-butylperoxyacetate, 2,2-bis (t-butylperoxy) butene, t-butylperoxybenzoate, n-butyl-4,4-bis (t-beroxy) Valerate, di-t-butylberoxyisophthalate, dicumyl peroxide, ⁇ - ⁇ '-bis (t-butylperoxy -M-isopropyl
  • Examples of the acid-modified polyethylene include those obtained by graft polymerization of acrylic acid, methacrylic acid, itaconic acid, crotonic acid, isocrotonic acid, maleic acid and the like onto polyethylene.
  • maleic acid-modified polyethylene graft-modified with maleic anhydride is preferable.
  • the base polymer include linear low density polyethylene (LLDPE) and high density polyethylene (HDPE). Specific examples thereof include Admer NF539, NE827, NE065, and XE070 manufactured by Mitsui Chemicals.
  • Resin materials include rubber, thermoplastic elastomers, thermoplastic resins, various fillers (eg, silica, calcium carbonate, clay), anti-aging agents, oils, plasticizers, colorants, weathering agents, and reinforcement as required. Various additives such as materials may be included.
  • the resin material may contain specific LLDPE alone as a resin component, or may contain specific LLDPE and at least one of other types of resins.
  • the content of the specific LLDPE in the resin material is not particularly limited, but is preferably 50% by mass or more based on the total mass of the resin material, 50% by mass to 100% by mass is more preferable, and 70% by mass to 100% by mass is even more preferable.
  • the content of the specific LLDPE is 50% by mass or more with respect to the total mass of the resin material, the characteristics of the specific LLDPE can be sufficiently exhibited, and the durability and creep characteristics of the tire can be improved.
  • the other type of resin includes at least one selected from polyamide and polyamide-modified polyethylene.
  • the content of the specific LLDPE in the resin material is not particularly limited, but is 50% by mass or more based on the total mass of the resin material. Preferably, 50% by mass to 90% by mass is more preferable, and 65% by mass to 80% by mass is even more preferable.
  • the content of the specific LLDPE is 50% by mass or more with respect to the total mass of the resin material, the characteristics of the specific LLDPE can be sufficiently exhibited, and the durability and creep characteristics of the tire can be improved.
  • the content of the specific LLDPE is 90% by mass or less with respect to the total mass of the resin material, the characteristics of other types of resins can be exhibited more.
  • the content of polyamide in the resin material is not particularly limited, but is preferably 20% by mass or less, and preferably 5% by mass to 20% by mass with respect to the total mass of the resin material. % Is more preferable, and 9% by mass to 19% by mass is more preferable. Heat resistance can be improved, maintaining the elasticity modulus of a resin material moderately as content of polyamide is 20 mass% or less with respect to the total mass of a resin material.
  • the content of the polyamide-modified polyethylene in the resin material is not particularly limited, but is preferably 20% by mass or less, and preferably 5% by mass with respect to the total mass of the resin material. % To 20% by mass is more preferable, and 9% to 19% by mass is more preferable.
  • the resin material contains specific LLDPE and at least one selected from polyamide and polyamide-modified polyethylene, it is preferable to further contain acid-modified polyethylene.
  • the content of acid-modified polyethylene in the resin material is not particularly limited, but is preferably 20% by mass or less, and preferably 10% by mass with respect to the total mass of the resin material. % Or less is more preferable, and 2% by mass to 7% by mass is more preferable.
  • the resin material in the present disclosure preferably includes specific LLDPE and polyamide.
  • the content ratio of the polyamide with respect to the specific LLDPE in the resin material is 0.10 to 0.30. It is preferably 0.12 to 0.29, more preferably 0.14 to 0.29.
  • the content ratio is 0.10 or more, the heat resistance of the resin material is improved.
  • the content ratio is 0.30 or less, the resin material does not become too hard and it is easy to maintain an appropriate elastic modulus as a tire frame body. Therefore, the tire having the tire frame is advantageous in that the bending fatigue resistance required for the tire can be maintained at a sufficient level.
  • the melting point of the resin material containing the specific LLDPE is usually 100 ° C. to 200 ° C., and preferably about 110 ° C. to 200 ° C. from the viewpoint of tire productivity.
  • the heating temperature can be set to be equal to or higher than the melting point of the resin material forming the tire frame body. Since the tire according to the present disclosure uses a resin material containing specific LLDPE, even a skeleton fused at a temperature range of 100 ° C.
  • the heating temperature is preferably 10 ° C. to 150 ° C. higher than the melting point of the resin material containing the specific LLDPE forming the tire frame piece, and more preferably 10 ° C. to 100 ° C. higher.
  • the tensile elastic modulus (hereinafter referred to as “elastic modulus” in this specification means the tensile elastic modulus unless otherwise specified) as defined in JIS K7113: 1995 of the resin material itself containing the specific LLDPE is 100 MPa to 700 MPa. Is preferable, 140 MPa to 470 MPa is more preferable, and 230 MPa to 350 MPa is particularly preferable.
  • the tensile modulus of the resin material is 100 MPa to 700 MPa, the rim can be assembled efficiently while maintaining the shape of the tire frame.
  • the tensile yield strength specified in JIS K7113: 1995 of the resin material itself containing the specific LLDPE is preferably 5 MPa or more, preferably 5 MPa to 20 MPa, and more preferably 5 MPa to 17 MPa.
  • the resin material can withstand deformation against a load applied to the tire during traveling.
  • the tensile yield elongation defined by JIS K7113: 1995 of the resin material itself containing the specific LLDPE is preferably 10% or more, preferably 10% to 70%, and more preferably 15% to 60%.
  • the tensile yield elongation of the resin material is 10% or more, the elastic region is large, and the rim assembly property can be improved.
  • the tensile fracture elongation specified in JIS K7113: 1995 of the resin material itself containing the specific LLDPE is preferably 50% or more, preferably 100% or more, more preferably 150% or more, and particularly preferably 200% or more.
  • the rim assembly property is good and it is possible to make it difficult to break against a collision.
  • the deflection temperature under load (0.45 MPa load) specified in ISO 75-2 or ASTM D648 of the resin material itself containing the specific LLDPE is preferably 50 ° C or higher, preferably 50 ° C to 150 ° C, and 50 ° C to 130 ° C. Is more preferable.
  • the deflection temperature under load of the resin material is 50 ° C. or higher, deformation of the tire skeleton can be suppressed even when vulcanization is performed in the manufacture of the tire.
  • the tire of the present disclosure may include a reinforcing cord layer that is wound in the circumferential direction on the outer peripheral portion of the tire frame body to form a reinforcing cord.
  • the reinforcing cord layer can be configured to include a resin material. In this way, if the reinforcing cord layer contains a resin material, the difference in hardness between the tire and the reinforcing cord layer can be reduced as compared with the case where the reinforcing cord is fixed with cushion rubber.
  • the member can be adhered and fixed to the tire frame.
  • the “resin” is a concept including a thermoplastic resin (including a thermoplastic elastomer) and a thermosetting resin, and does not include vulcanized rubber. Furthermore, when the reinforcing cord member is a steel cord, if the reinforcing cord member is separated from the cushion rubber at the time of disposal of the tire, it is difficult to separate the vulcanized rubber from the reinforcing cord member by heating alone, whereas the resin material is heated. It is possible to separate from the reinforcing cord member only. This is advantageous in terms of tire recyclability. In addition, the resin material usually has a lower loss coefficient (Tan ⁇ ) than vulcanized rubber.
  • the reinforcing cord layer contains a large amount of resin material, the rolling property of the tire can be improved. Furthermore, a resin material having a relatively high elastic modulus as compared with vulcanized rubber has an advantage that the in-plane shear rigidity is large and the stability and wear resistance during running of the tire are excellent.
  • thermosetting resin examples include phenol resin, urea resin, melamine resin, epoxy resin, polyamide resin, and polyester resin.
  • thermoplastic resin examples include urethane resin, olefin resin, vinyl chloride resin, polyamide resin, and polyester resin.
  • thermoplastic elastomer examples include amide-based thermoplastic elastomer (TPA), polyester-based thermoplastic elastomer (TPC), polyolefin-based thermoplastic elastomer (TPO), and polystyrene-based thermoplastic elastomer (TPS) defined in JIS K6418: 2007. ), Polyurethane thermoplastic elastomer (TPU), crosslinked thermoplastic rubber (TPV), other thermoplastic elastomer (TPZ), and the like. Note that it is preferable to use a thermoplastic elastomer in consideration of elasticity required at the time of traveling, moldability at the time of manufacture, and the like.
  • the resin material included in the reinforcing cord layer is a resin material mainly including a specific LLDPE around the cord embedded portion of the tire frame body.
  • covers another resin further may be sufficient.
  • the resin material containing the specific LLDPE that forms the tire frame body preferably contains acid-modified polyethylene from the viewpoint of adhesiveness to other resins.
  • the reinforcing cord layer is constituted by a reinforcing cord coated with a resin material, it is preferable to select a resin material having high fusion property by heat or the like with respect to the specific LLDPE.
  • the resin material contained in the reinforcing cord layer preferably includes a thermoplastic polyolefin resin from the viewpoint of pulling-out property of the reinforcing cord, and more preferably includes polyethylene.
  • Examples of the polyethylene contained in the resin material constituting the reinforcing cord layer include linear low density polyethylene (LLDPE), low density polyethylene (LDPE), high density (HDPE), and acid-modified polyethylene.
  • LLDPE linear low density polyethylene
  • LDPE low density polyethylene
  • HDPE high density polyethylene
  • the elastic modulus (tensile elastic modulus specified in JIS K7113: 1995) of the resin material used for the reinforcing cord layer is set within a range of 0.1 to 10 times the elastic modulus of the resin material forming the tire frame body. It is preferable to do.
  • the elastic modulus of the resin material is 10 times or less than the elastic modulus of the resin material forming the tire frame body, the crown portion does not become too hard and rim assembly is facilitated.
  • the elastic modulus of the resin material is 0.1 times or more of the elastic modulus of the resin material forming the tire frame body, the resin constituting the reinforcing cord layer is not too soft and has excellent in-plane shear rigidity and cornering. Power is improved.
  • the surface of the reinforcing cord member is covered with a resin material by 20% or more from the viewpoint of improving the pullability (hardness of being pulled out) of the reinforcing cord, More preferably, it is covered by 50% or more.
  • the content of the resin material in the reinforcing cord layer is preferably 20% by mass or more from the viewpoint of improving the pullability of the reinforcing cord with respect to the total mass of the material constituting the reinforcing cord layer excluding the reinforcing cord, 50 mass% or more is still more preferable.
  • FIG. 1A is a perspective view showing a cross section of a part of the tire according to the first embodiment.
  • FIG. 1B is a cross-sectional view of a bead portion attached to a rim in the first embodiment.
  • the tire 10 of the present embodiment has a cross-sectional shape that is substantially the same as a conventional general rubber pneumatic tire.
  • the tire 10 includes a pair of bead portions 12 that contact the bead seat 21 and the rim flange 22 of the rim 20 shown in FIG. 1B, and side portions 14 that extend outward from the bead portion 12 in the tire radial direction.
  • a tire case 17 (tire frame) comprising a crown portion 16 (outer peripheral portion) for connecting a tire radial direction outer end of one side portion 14 and a tire radial direction outer end of the other side portion 14.
  • the tire case 17 of the present embodiment is formed of a resin material containing specific LLDPE.
  • the tire case 17 is formed of a resin material containing a specific LLDPE.
  • the present invention is not limited to this configuration, and each tire case 17 is similar to a conventional general rubber pneumatic tire. You may use the resin material which has a different characteristic for every site
  • a reinforcing material polymer material, metal fiber, cord, nonwoven fabric, woven fabric, etc.
  • the tire case 17 may be reinforced.
  • the tire case 17 of the present embodiment is obtained by joining a pair of tire case halves (tire frame pieces) 17A formed of a resin material containing a specific LLDPE.
  • the tire case half 17A is formed by injection molding or the like so that one bead portion 12, one side portion 14, and a half-width crown portion 16 are integrated with each other so as to face each other. It is formed by joining at the tire equator part.
  • the tire case 17 is not limited to the one formed by joining two members, and may be formed by joining three or more members.
  • the tire case half 17A formed of a resin material containing the specific LLDPE can be molded by, for example, vacuum molding, pressure molding, injection molding, melt casting, or the like. For this reason, it is not necessary to perform vulcanization compared to the case where the tire case is molded with rubber as in the prior art, the manufacturing process can be greatly simplified, and the molding time can be omitted.
  • the tire case half body 17A has a symmetrical shape, that is, the one tire case half body 17A and the other tire case half body 17A have the same shape. There is also an advantage that only one type of mold is required.
  • an annular bead core 18 made of a steel cord is embedded in the bead portion 12, similar to a conventional general pneumatic tire.
  • the present invention is not limited to this configuration, and the bead core 18 can be omitted if the rigidity of the bead portion 12 is ensured and there is no problem in fitting with the rim 20.
  • an organic fiber cord, a resin-coated organic fiber cord, or a hard resin may be used.
  • the portion that contacts the rim 20 of the bead portion 12, at least the portion that contacts the rim flange 22 of the rim 20 of the bead portion 12, has a sealing property more than the resin material containing the specific LLDPE that constitutes the tire case 17.
  • An annular seal layer 24 (seal part) made of an excellent material such as rubber is formed.
  • the seal layer 24 may also be formed at a portion where the tire case 17 (bead portion 12) and the bead sheet 21 are in contact with each other.
  • a material having a better sealing property than a resin material containing the specific LLDPE constituting the tire case 17 a softer material can be used than the resin material containing the specific LLDPE constituting the tire case 17.
  • the rubber that can be used for the seal layer 24 it is preferable to use the same type of rubber as that used on the outer surface of the bead portion of a conventional general rubber pneumatic tire. Further, if the sealing property between the rim 20 can be ensured only with the resin material containing the specific LLDPE, the rubber seal layer 24 may be omitted, and other types of sealing materials that are more excellent in sealing properties than the resin material containing the specific LLDPE.
  • a resin may be used. Examples of such other types of resins include polyamide resins, polyolefin resins, polystyrene resins, polyester resins, and the like, and blends of these resins with rubbers or elastomers. A thermoplastic elastomer can also be used.
  • a polyester-based thermoplastic elastomer for example, a polyester-based thermoplastic elastomer, a polyamide-based thermoplastic elastomer, a polystyrene-based thermoplastic elastomer, a polyurethane-based thermoplastic elastomer, or a polyolefin-based thermoplastic elastomer, a combination of these elastomers And a blend with rubber.
  • a reinforcing cord 26 (reinforcing cord member) having higher rigidity than a resin material including a specific LLDPE constituting the tire case 17 is wound around the crown portion 16 in the circumferential direction of the tire case 17. Yes.
  • the reinforcing cord 26 is wound spirally in a state in which at least a part thereof is embedded in the crown portion 16 in a cross-sectional view along the axial direction of the tire case 17, thereby forming a reinforcing cord layer 28.
  • a tread 30 made of a material superior in wear resistance to a resin material including a specific LLDPE constituting the tire case 17, for example, rubber, is disposed.
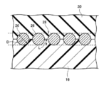
  • FIG. 2 is a cross-sectional view along the tire rotation axis showing a state where a reinforcing cord is embedded in the crown portion of the tire case of the tire of the first embodiment.
  • the reinforcing cord 26 is spirally wound in a state in which at least a part is embedded in the crown portion 16 in a sectional view along the axial direction of the tire case 17.
  • a reinforcing cord layer 28 indicated by a broken line portion in FIG. 2 is formed together with a part of the outer peripheral portion 17.
  • the portion embedded in the crown portion 16 of the reinforcing cord 26 is in close contact with a resin material including the specific LLDPE constituting the crown portion 16 (tire case 17).
  • a monofilament (single wire) such as a metal fiber or an organic fiber, or a multifilament (twisted wire) obtained by twisting these fibers such as a steel cord twisted with a steel fiber can be used.
  • a steel cord is used as the reinforcing cord 26.
  • the burying amount L indicates the burying amount of the reinforcing cord 26 in the tire rotation axis direction with respect to the tire case 17 (crown portion 16).
  • the embedding amount L of the reinforcing cord 26 in the crown portion 16 is preferably not less than 1/5 of the diameter D (diameter of the reinforcing cord member) of the reinforcing cord 26, and more preferably more than 1/2. Most preferably, the entire reinforcing cord 26 is embedded in the crown portion 16.
  • the reinforcing cord layer 28 corresponds to a belt disposed on the outer peripheral surface of the carcass of a conventional rubber pneumatic tire.
  • the tread 30 is disposed on the outer circumferential side of the reinforcing cord layer 28 in the tire radial direction.
  • the rubber used for the tread 30 is preferably the same type of rubber as that used in conventional rubber pneumatic tires.
  • a tread formed of another type of resin that is more excellent in wear resistance than a resin material that includes the specific LLDPE constituting the tire case 17 may be used.
  • the tread 30 is formed with a tread pattern including a plurality of grooves on the ground contact surface with the road surface in the same manner as a conventional rubber pneumatic tire.
  • the joining portion of the tire case half is heated and pressurized by the joining mold, the joining portion is melted and the tire case halves are fused together, and the tire case 17 is formed by integrating these members.
  • the joining portion of the tire case half is heated using the joining mold, but the present invention is not limited to this, for example, the joining portion is heated by a separately provided high-frequency heater or the like.
  • the tire case halves may be joined by being softened or melted beforehand by irradiation with hot air, infrared rays, or the like, and pressurized by a joining mold.
  • FIG. 3 is an explanatory diagram for explaining an operation of embedding a reinforcing cord in a crown portion of a tire case using a cord heating device and rollers.
  • the cord supply device 56 is disposed on the reel 58 around which the reinforcing cord 26 is wound, the cord heating device 59 disposed on the downstream side of the reel 58 in the cord transport direction, and the downstream side of the reinforcing cord 26 in the transport direction.
  • the first roller 60, the first cylinder device 62 that moves the first roller 60 in the direction of contacting and separating from the outer peripheral surface of the tire, and the downstream side in the conveying direction of the reinforcing cord 26 of the first roller 60 A second roller 64, and a second cylinder device 66 that moves the second roller 64 in a direction in which the second roller 64 comes into contact with and separates from the tire outer peripheral surface.
  • the second roller 64 can be used as a metal cooling roller.
  • the surfaces of the first roller 60 and the second roller 64 are made of fluororesin (in this embodiment, Teflon (registered) in order to suppress adhesion of a resin material containing a specific LLDPE that has been melted or softened. Trademark)).
  • the cord supply device 56 has two rollers, the first roller 60 and the second roller 64, but the present invention is not limited to this configuration, and either one of the rollers. It is also possible to have only one (that is, one roller).
  • the cord heating device 59 includes a heater 70 and a fan 72 that generate hot air. Further, the cord heating device 59 includes a heating box 74 through which the reinforcing cord 26 passes through an internal space in which hot air is supplied, and a discharge port 76 for discharging the heated reinforcing cord 26.
  • the temperature of the heater 70 of the cord heating device 59 is raised, and the ambient air heated by the heater 70 is sent to the heating box 74 by the wind generated by the rotation of the fan 72.
  • the reinforcing cord 26 unwound from the reel 58 is fed into a heating box 74 in which the internal space is heated with hot air (for example, the temperature of the reinforcing cord 26 is heated to about 100 to 200 ° C.).
  • the heated reinforcing cord 26 passes through the discharge port 76 and is wound spirally around the outer peripheral surface of the crown portion 16 of the tire case 17 rotating in the direction of arrow R in FIG.
  • the resin material containing the specific LLDPE in the contact portion is melted or softened, and at least a part of the heated reinforcing cord 26 is in the crown portion 16. Embedded in the outer peripheral surface.
  • the resin material containing the specific LLDPE and the reinforcing cord 26 are in a state where there is no gap, that is, a close contact state. Thereby, the air entering to the portion where the reinforcing cord 26 is embedded is suppressed.
  • the reinforcing cord 26 is heated to a temperature higher than the melting point of the resin material including the specific LLDPE of the tire case 17, so that melting or softening of the resin material including the specific LLDPE in the portion in contact with the reinforcing cord 26 is promoted. By doing in this way, it becomes easy to embed the reinforcement cord 26 in the outer peripheral surface of the crown part 16, and air entry can be effectively suppressed.
  • the burying amount L of the reinforcing cord 26 can be adjusted by the heating temperature of the reinforcing cord 26, the tension applied to the reinforcing cord 26, the pressing force by the first roller 60, and the like.
  • the embedding amount L of the reinforcing cord 26 is set to be 1/5 or more of the diameter D of the reinforcing cord 26.
  • the burying amount L of the reinforcing cord 26 is more preferably more than 1/2 of the diameter D, and most preferably the entire reinforcing cord 26 is embedded.
  • the reinforcing cord layer 28 is formed on the outer peripheral side of the crown portion 16 of the tire case 17 by winding the heated reinforcing cord 26 while being embedded in the outer peripheral surface of the crown portion 16.
  • the vulcanized belt-like tread 30 is wound around the outer peripheral surface of the tire case 17 by one turn, and the tread 30 is bonded to the outer peripheral surface of the tire case 17 using an adhesive or the like.
  • the precure tread used for the retread tire conventionally known can be used for the tread 30, for example. This step is the same step as the step of bonding the precure tread to the outer peripheral surface of the base tire of the retreaded tire.
  • the seal layer 24 made of vulcanized rubber is bonded to the bead portion 12 of the tire case 17 using an adhesive or the like, the tire 10 is completed.
  • the tire case 17 is formed of a resin material containing a specific LLDPE, and thus has excellent durability and creep characteristics. Further, in addition to the light resin material itself including the specific LLDPE, the tire 10 has a simple structure as compared with a conventional rubber tire, so that the weight of the tire 10 is light. For this reason, the tire 10 of this embodiment has high durability.
  • this resin material containing the specific LLDPE further contains acid-modified polyethylene
  • this resin material has extremely high adhesion to the reinforcing cord 26 as compared with the case where other resins are used, and further has a fixing performance such as welding strength. Are better.
  • the phenomenon (air entering) in which air remains around the reinforcing cord 26 in the reinforcing cord winding step can be effectively suppressed.
  • the adhesion to the reinforcement cord 26 and the weldability are high, and the entry of air into the periphery of the reinforcement cord member is suppressed, it is possible to effectively suppress the movement of the reinforcement cord 26 due to input during traveling. .
  • the tire constituent member is provided so as to cover the entire reinforcing cord member on the outer peripheral portion of the tire frame body, the movement of the reinforcing cord member is suppressed.
  • the peeling of the tire frame (including the tire frame) is suppressed, and the durability of the tire 10 is improved.
  • the reinforcing cord 26 having a rigidity higher than that of the resin material including the specific LLDPE is spiraled in the circumferential direction on the outer peripheral surface of the crown portion 16 of the tire case 17 formed of the resin material including the specific LLDPE. Therefore, the puncture resistance, the cut resistance, and the circumferential rigidity of the tire 10 are improved. In addition, the creep of the tire case 17 formed of the resin material containing the specific LLDPE is further prevented by improving the circumferential rigidity of the tire 10.
  • At least one of the reinforcing cords 26 is provided on the outer peripheral surface of the crown portion 16 of the tire case 17 formed of a resin material containing the specific LLDPE in a cross-sectional view along the axial direction of the tire case 17 (the cross section shown in FIG. 1A). Since the portion is embedded and is in close contact with the resin material containing the specific LLDPE, the entry of air at the time of manufacture is suppressed, and the movement of the reinforcing cord 26 due to the input during travel is suppressed. Thereby, it is suppressed that peeling etc. arise in reinforcement cord 26, tire case 17, and tread 30, and durability of tire 10 improves.
  • the embedding amount L of the reinforcement cord 26 is 1/5 or more of the diameter D as shown in FIG. 2, the air entry at the time of manufacture is suppressed effectively, the input at the time of driving, etc. This further suppresses the movement of the reinforcing cord 26.
  • the reinforcement cord layer 28 is comprised with the resin material containing specific LLDPE, the difference of the hardness of the tire case 17 and the reinforcement cord layer 28 compared with the case where the reinforcement cord 26 is fixed with cushion rubber. Therefore, the reinforcing cord 26 can be further adhered and fixed to the tire case 17. Thereby, the above-mentioned air entering can be prevented effectively, and it can control effectively that a reinforcement cord member moves at the time of driving.
  • the reinforcing cord 26 when the reinforcing cord 26 is a steel cord, the reinforcing cord 26 can be easily separated and recovered from the resin material containing the specific LLDPE by heating at the time of disposal of the tire, which is advantageous in terms of recyclability of the tire 10. .
  • the resin material containing the specific LLDPE has a lower loss coefficient (Tan ⁇ ) than the vulcanized rubber, if the reinforcing cord layer 28 contains a large amount of the resin material containing the specific LLDPE, the rolling property of the tire is improved. be able to.
  • the resin material containing the specific LLDPE has an advantage that the in-plane shear rigidity is larger than that of the vulcanized rubber, and the stability and wear resistance during running of the tire are excellent.
  • the tread 30 that is in contact with the road surface is made of a rubber material that is more resistant to wear than the resin material containing the specific LLDPE, the wear resistance of the tire 10 is improved. Further, since an annular bead core 18 made of a metal material is embedded in the bead portion 12, the tire case 17, that is, the tire 10 is strong against the rim 20 like the conventional rubber pneumatic tire. Retained.
  • a seal layer 24 made of a rubber material having a sealing property than the resin material containing the specific LLDPE is provided in a portion that contacts the rim 20 of the bead portion 12, a gap between the tire 10 and the rim 20 is provided. Improves the sealing performance. For this reason, compared with the case where it seals with the rim
  • the reinforcing cord 26 is heated, and the resin material containing the specific LLDPE in the portion where the heated reinforcing cord 26 comes into contact is melted or softened.
  • the present invention is not limited to this configuration, and the reinforcing cord 26
  • the hot cord generator may be used without heating the cord 26, and the reinforcing cord 26 may be buried in the crown portion 16 after the outer peripheral surface of the crown portion 16 in which the reinforcing cord 26 is buried is heated.
  • the heat source of the cord heating device 59 is a heater and a fan.
  • the present invention is not limited to this configuration, and the reinforcement cord 26 may be directly heated by radiant heat (for example, infrared rays). Good.
  • the portion in which the resin material in which the reinforcing cord 26 is embedded is melted or softened is forcibly cooled by the metal second roller 64, but the present invention is limited to this configuration.
  • a configuration may be adopted in which cold air is directly blown onto a portion where the resin material is melted or softened to forcibly cool and solidify the melted or softened portion of the resin material.
  • the reinforcing cord 26 is heated.
  • the outer periphery of the reinforcing cord 26 may be covered with a resin material containing the same specific LLDPE as the tire case 17.
  • the resin material covered with the reinforcing cord 26 is also heated, thereby effectively suppressing air entry when embedded in the crown portion 16. .
  • the tire 10 of the first embodiment is a so-called tubeless tire in which an air chamber is formed between the tire 10 and the rim 20 by attaching the bead portion 12 to the rim 20, but the present invention is limited to this configuration. It may be a complete tube shape.
  • FIG. 4A is a cross-sectional view along the tire width direction of the tire of the second embodiment
  • FIG. 4B is a cross section along the tire width direction of the bead portion in a state where a rim is fitted to the tire of the second embodiment
  • FIG. FIG. 5 is a cross-sectional view along the tire width direction showing the periphery of the reinforcing layer of the tire of the second embodiment.
  • the tire case 17 is formed of a resin material containing a specific LLDPE, as in the first embodiment.
  • the tire 200 includes a reinforcing cord layer 28 (indicated by a broken line in FIG. 5) formed by winding a covering cord member 26 ⁇ / b> B around the crown portion 16 in the circumferential direction. Are stacked).
  • the reinforcing cord layer 28 constitutes the outer peripheral portion of the tire case 17 and reinforces the circumferential rigidity of the crown portion 16.
  • the outer peripheral surface of the reinforcing cord layer 28 is included in the outer peripheral surface 17S of the tire case 17.
  • the coated cord member 26B is separate from the resin material containing the specific LLDPE forming the tire case 17 on the cord member (reinforcing cord member) 26A having higher rigidity than the resin material containing the specific LLDPE forming the tire case 17.
  • the coating resin material 27 is coated.
  • the covering cord member 26B is joined (for example, welded or adhered with an adhesive) at the contact portion with the crown portion 16 where the covering cord member 26B and the crown portion 16 are joined.
  • the elastic modulus of the resin material 27 for covering is preferably set within a range of 0.1 to 10 times the elastic modulus of the resin material including the specific LLDPE that forms the tire case 17.
  • the elastic modulus of the coating resin material 27 is 10 times or less than the elastic modulus of the resin material including the specific LLDPE that forms the tire case 17, the crown portion does not become too hard and rim assembly is facilitated.
  • the elastic modulus of the resin material 27 for coating is 0.1 times or more of the elastic modulus of the resin material including the specific LLDPE forming the tire case 17, the resin constituting the reinforcing cord layer 28 is not too soft, Excellent in-belt shear rigidity and improved cornering force.
  • a material similar to the resin material containing the specific LLDPE is used as the coating resin material 27.
  • the covering cord member 26B has a substantially trapezoidal cross section.
  • the upper surface (surface on the outer side in the tire radial direction) of the covering cord member 26B is denoted by reference numeral 26U
  • the lower surface (surface on the inner side in the tire radial direction) is denoted by reference numeral 26D.
  • the cross-sectional shape of the covering cord member 26B is a substantially trapezoidal shape.
  • the present invention is not limited to this configuration, and the cross-sectional shape is from the lower surface 26D side (the tire radial direction inner side) to the upper surface 26U. Any shape may be used as long as the shape excluding the shape that becomes wider toward the side (the tire radial direction outer side).
  • the rubber used for the tread 30 is preferably the same type of rubber as that used for conventional rubber pneumatic tires.
  • a tread formed of another type of resin that is more excellent in wear resistance than a resin material including the specific LLDPE that forms the tire case 17 may be used.
  • the tread 30 is formed with a tread pattern (not shown) including a plurality of grooves on the ground contact surface with the road surface, similarly to the conventional rubber pneumatic tire.
  • the tire manufacturing apparatus is the same as that of the first embodiment described above.
  • the cord member 26A is attached to the reel 58 with the coating resin material 27.
  • a material in which a covering cord member 26B having a substantially trapezoidal cross-sectional shape covered with a resin material containing specific LLDPE is used.
  • the temperature of the heater 70 is raised, and the ambient air heated by the heater 70 is sent to the heating box 74 by the wind generated by the rotation of the fan 72.
  • the coated cord member 26B unwound from the reel 58 is fed into the heating box 74 in which the internal space is heated with hot air (for example, the temperature of the outer peripheral surface of the coated cord member 26B is equal to or higher than the melting point of the coating resin material 27).
  • the covering cord member 26B is heated, the covering resin material 27 is melted or softened.
  • the covering cord member 26B is spirally wound around the outer peripheral surface of the crown portion 16 of the tire case 17 that rotates in the front direction of the paper through the discharge port 76 with a certain tension.
  • the lower surface 26 ⁇ / b> D of the covering cord member 26 ⁇ / b> B contacts the outer peripheral surface of the crown portion 16.
  • the molten or softened covering resin material 27 in the contacted portion spreads on the outer peripheral surface of the crown portion 16, and the covering cord member 26 ⁇ / b> B is welded to the outer peripheral surface of the crown portion 16.
  • the joint strength between the crown portion 16 and the covering cord member 26B is improved.
  • a blasting device (not shown) emits a projection material at a high speed toward the outer peripheral surface 17S while rotating the tire case 17 side toward the outer peripheral surface 17S of the tire case 17.
  • the ejected projection material collides with the outer peripheral surface 17S, and fine roughening unevenness 96 having an arithmetic average roughness Ra of 0.05 mm or more is formed on the outer peripheral surface 17S.
  • the outer peripheral surface 17S becomes hydrophilic, and the wettability of the bonding agent described later is improved.
  • a bonding agent is applied to the outer peripheral surface 17S of the tire case 17 subjected to the roughening treatment.
  • the bonding agent is not particularly limited, such as triazine thiol adhesive, chlorinated rubber adhesive, phenolic resin adhesive, isocyanate adhesive, halogenated rubber adhesive, rubber adhesive, etc. It is preferable to react at a temperature at which the rubber 29 can be vulcanized (90 ° C. to 140 ° C.).
  • the cushion rubber 29 in an unvulcanized state is wound around the outer peripheral surface 17S to which the bonding agent is applied for one round, and a bonding agent such as a rubber cement composition is applied on the cushion rubber 29, A vulcanized or semi-vulcanized tread rubber 30A is wound for one turn to obtain a raw tire case state.
  • the raw tire case is accommodated in a vulcanizing can, a mold or the like and vulcanized.
  • the unvulcanized cushion rubber 29 flows into the roughened irregularities 96 formed on the outer peripheral surface 17S of the tire case 17 by the roughening treatment.
  • the anchor rubber is exerted by the cushion rubber 29 flowing into the roughened unevenness 96, and the bonding strength between the tire case 17 and the cushion rubber 29 is improved. That is, the bonding strength between the tire case 17 and the tread 30 is improved via the cushion rubber 29.
  • the seal layer 24 made of a soft material that is softer than the resin material containing the specific LLDPE is bonded to the bead portion 12 of the tire case 17 using an adhesive or the like, the tire 200 is completed.
  • the tire case 17 is made of a resin material containing a specific LLDPE, and thus has excellent durability and creep characteristics.
  • the tire 200 is light in weight because it has a simpler structure than a conventional rubber tire. For this reason, the tire 200 of this embodiment has high durability, and the automobile using the tire 200 has improved fuel efficiency.
  • the resin material including the specific LLDPE constituting the tire case 17 has extremely high adhesiveness with the resin material including the specific LLDPE for the covering cord member 26B.
  • the reinforcing cord layer 28 is configured to include the covering cord member 26B as described above, the tire case 17 and the reinforcing cord layer 28 are harder than the case where the reinforcing cord member 26A is simply fixed by the cushion rubber 29. Since the difference in thickness can be reduced, the resin material containing the specific LLDPE is excellent in adhesion to both the cord member 26A and the resin material containing the specific LLDPE constituting the tire case 17.
  • the covering cord member 26 ⁇ / b> B can be adhered and fixed to the tire case 17. Thereby, the above-mentioned air entering can be prevented effectively, and it can control effectively that a reinforcement cord member moves at the time of driving.
  • the cord member 26A when the reinforcing cord member 26A is a steel cord, the cord member 26A can be easily separated and recovered from the coated cord member 26B by heating at the time of disposal of the tire, which is advantageous in terms of recyclability of the tire 200.
  • the resin material containing the specific LLDPE has a lower loss coefficient (Tan ⁇ ) than the vulcanized rubber, if the reinforcing cord layer 28 contains a large amount of the resin material containing the specific LLDPE, the rolling property of the tire is improved. be able to.
  • the resin material containing the specific LLDPE has an advantage that the in-plane shear rigidity is larger than that of the vulcanized rubber, and the stability and wear resistance during running of the tire are excellent.
  • the bondability is achieved by the anchor effect. (Adhesiveness) is improved.
  • the resin material containing the specific LLDPE forming the tire case 17 is dug up by the collision of the projection material, the wettability of the bonding agent is improved. Thereby, the bonding agent is held in a uniform applied state on the outer peripheral surface 17S of the tire case 17, and the bonding strength between the tire case 17 and the cushion rubber 29 can be ensured.
  • the projection case is collided with the projection (gap 28A) to roughen the periphery of the recess (concave wall, bottom), so that the tire case 17
  • the bonding strength between the cushion rubber 29 and the cushion rubber 29 can be ensured.
  • the cushion rubber 29 is laminated in the roughened region of the outer peripheral surface 17S of the tire case 17, the bonding strength between the tire case 17 and the cushion rubber can be effectively ensured.
  • the cushion rubber 29 In the vulcanization step, when the cushion rubber 29 is vulcanized, the cushion rubber 29 flows into the roughened irregularities formed on the outer peripheral surface 17S of the tire case 17 by the roughening process. When the vulcanization is completed, the anchor rubber is exerted by the cushion rubber 29 flowing into the roughened unevenness, and the bonding strength between the tire case 17 and the cushion rubber 29 is improved.
  • the tire 200 manufactured by such a tire manufacturing method ensures the bonding strength between the tire case 17 and the cushion rubber 29, that is, the bonding between the tire case 17 and the tread 30 via the cushion rubber 29. Strength is secured. Thereby, the peeling between the outer peripheral surface 17S of the tire case 17 of the tire 200 and the cushion rubber 29 is suppressed during traveling or the like.
  • the puncture resistance and the cut resistance are improved as compared with the outer peripheral portion configured by something other than the reinforcing cord layer 28. To do.
  • the reinforcing cord layer 28 is formed by winding the covering cord member 26B, the circumferential rigidity of the tire 200 is improved.
  • creep of the tire case 17 (a phenomenon in which plastic deformation of the tire case 17 increases with time under a constant stress) is suppressed, and pressure resistance against air pressure from the inner side in the tire radial direction is suppressed. improves.
  • corrugation was comprised in the outer peripheral surface 17S of the tire case 17, this invention is not restricted to this, It is good also as a structure which forms the outer peripheral surface 17S flatly.
  • the tire case 17 may be formed with a reinforcing cord layer so as to cover the covering cord member wound and joined to the crown portion of the tire case with a covering thermoplastic material.
  • the coating thermoplastic material can be ejected onto the reinforcing cord layer 28 in the molten or softened state to form the coating layer.
  • the welding sheet may be heated to be in a molten or softened state and attached to the surface (outer peripheral surface) of the reinforcing cord layer 28 to form a coating layer.
  • the case case 17 (the tire case half 17A) is joined to form the tire case 17.
  • the present invention is not limited to this configuration, and the tire case is formed using a mold or the like. 17 may be integrally formed.
  • the tire 200 of the second embodiment is a so-called tubeless tire in which an air chamber is formed between the tire 200 and the rim 20 by attaching the bead portion 12 to the rim 20, but the present invention is limited to this configuration. Instead, the tire 200 may have a complete tube shape, for example.
  • the cushion rubber 29 is disposed between the tire case 17 and the tread 30.
  • the present invention is not limited thereto, and the cushion rubber 29 may not be disposed.
  • the covering cord member 26B is spirally wound around the crown portion 16.
  • the present invention is not limited thereto, and the covering cord member 26B is discontinuous in the width direction. It is good also as a structure wound up.
  • the coating resin material 27 forming the coating cord member 26B is a resin material containing specific LLDPE, and the coating resin material 27 is heated to be melted or softened to be the outer peripheral surface of the crown portion 16.
  • the present invention is not limited to this configuration, and the coating cord member 26B is applied to the outer peripheral surface of the crown portion 16 by using an adhesive or the like without heating the coating resin material 27. It is good also as a structure which adhere
  • the coating resin material 27 for forming the coating cord member 26B may be a resin material containing specific LLDPE, and the coating cord member 26B may be bonded to the outer peripheral surface of the crown portion 16 using an adhesive or the like without being heated. Good.
  • the covering resin material 27 for forming the covering cord member 26B may be a thermosetting resin
  • the tire case 17 may be formed of a resin material containing a specific LLDPE.
  • the covering cord member 26B may be bonded to the outer peripheral surface of the crown portion 16 using an adhesive or the like, and the portion of the tire case 17 where the covering cord member 26B is disposed is heated to be melted or softened.
  • the covering cord member 26 ⁇ / b> B may be welded to the outer peripheral surface of the crown portion 16 in a state.
  • the covering resin material 27 forming the covering cord member 26B may be a resin material containing a specific LLDPE
  • the tire case 17 may be formed of a resin material containing a specific LLDPE.
  • the covering cord member 26B may be bonded to the outer peripheral surface of the crown portion 16 using an adhesive or the like, and the portion of the tire case 17 where the covering cord member 26B is disposed is heated to be melted or softened.
  • the coating resin material 27 may be heated to a molten or softened state while the coating cord member 26 ⁇ / b> B is welded to the outer peripheral surface of the crown portion 16.
  • both the tire case 17 and the covering cord member 26B are heated and melted or softened, the two are mixed well, so that the bonding strength is improved.
  • both the resin material containing the specific LLDPE forming the tire case 17 and the coating resin material 27 forming the covering cord member 26B are the resin material containing the specific LLDPE, for example, the same kind of material, particularly the same It is preferable to use this material.
  • the outer peripheral surface 17S of the tire case 17 subjected to further roughening treatment may be applied with corona treatment, plasma treatment or the like to activate the surface of the outer peripheral surface 17S and increase the hydrophilicity, and then apply the adhesive.
  • the order for manufacturing the tire 200 is not limited to the order of the second embodiment, and may be changed as appropriate.
  • the embodiments of the present invention have been described above with reference to the embodiments. However, these embodiments are merely examples, and various modifications can be made without departing from the scope of the invention. It goes without saying that the scope of rights of the present invention is not limited to these embodiments.
  • the tire of the present disclosure can be configured as follows as shown in the first embodiment.
  • (1-1) In the tire according to the present disclosure, at least a part of the reinforcing cord member is embedded in the outer peripheral portion of the tire skeleton formed of a resin material containing the specific LLDPE in a cross-sectional view along the axial direction of the tire skeleton.
  • a part of the reinforcing cord member is embedded in the outer peripheral portion of the tire frame body, it is possible to further suppress a phenomenon (air entering) in which air remains around the cord when the reinforcing cord member is wound.
  • the entry of air into the periphery of the reinforcement cord member is suppressed, the movement of the reinforcement cord member due to input during traveling is suppressed.
  • the tire constituent member is provided on the outer peripheral portion of the tire skeleton body so as to cover the entire reinforcement cord member, the movement of the reinforcement cord member is suppressed. ) Is prevented from being peeled off and the durability is improved.
  • the tire according to the present disclosure may be provided with a tread formed of a material having more wear resistance than a resin material including the specific LLDPE on the radially outer side of the reinforcing cord layer.
  • the abrasion resistance of the tire can be further improved by configuring the tread that contacts the road surface with a material that is more resistant to abrasion than the resin material containing the specific LLDPE.
  • a diameter of 1/5 or more of the reinforcing cord member may be embedded in the outer peripheral portion of the tire frame body along the circumferential direction. it can.
  • 1/5 or more of the diameter of the reinforcing cord member is embedded in the outer peripheral portion of the tire frame body in a cross-sectional view along the axial direction of the tire frame body, it is effective to enter the air around the reinforcing cord member It is possible to suppress the movement of the reinforcing cord member due to an input during traveling.
  • the tire frame has a bead portion in contact with the rim bead sheet and the rim flange on the radially inner side, and an annular bead core made of a metal material is embedded in the bead portion.
  • an annular bead core made of a metal material is embedded in the bead portion.
  • the tire of the present disclosure can be provided with a seal portion made of a material having higher sealing performance (adhesion with the rim) than a resin material containing specific LLDPE at a portion where the bead portion contacts the rim.
  • a seal portion made of a material having a higher sealing property than the resin material containing the specific LLDPE at the contact portion between the tire frame body and the rim adhesion between the tire (tire frame body) and the rim is achieved. Can be improved.
  • the rim fit property of the tire can be improved by providing the seal portion.
  • a tire according to the present disclosure includes a tire skeleton piece forming step of forming a tire skeleton piece constituting a part of an annular tire skeleton by using a thermoplastic resin material containing at least a polyolefin-based thermoplastic elastomer; A tire skeleton piece joining step of forming a tire skeleton by applying heat to the joining surfaces of the pieces to fuse two or more paired tire skeleton pieces, and a reinforcing cord member in the circumferential direction on the outer periphery of the tire skeleton And a reinforcing cord member winding step of forming a reinforcing cord layer by winding.
  • a tire frame piece of an annular tire frame body can be formed from a resin material containing specific LLDPE. Since the melting point of the resin material containing the specific LLDPE can be set to about 80 ° C. to 200 ° C., for example, it is not necessary to perform the tire frame piece fusion process at 250 ° C. or higher, and the fusion process is performed at a relatively low temperature Can be implemented. Thus, since the fusion process can be performed at a relatively low temperature, the productivity of the tire can be improved from the viewpoint of the energy utilization rate.
  • the tire skeleton pieces using the resin material containing the specific LLDPE have sufficient adhesion strength between the tire skeleton pieces when they are fused to form the tire skeleton bodies, and the skeleton bodies depend on the temperature at the time of fusion. Since the performance of the tire itself is not deteriorated, durability during running such as puncture resistance and wear resistance of the manufactured tire can be improved.
  • the bonding surface of the tire frame piece is equal to or higher than the melting point of the resin material containing the specific LLDPE constituting the tire frame piece (for example, the melting point + 10 ° C. to + 150 ° C. ) Can be configured to be heated.
  • the joining surfaces of the divided bodies are heated to a temperature equal to or higher than the melting point of the resin material containing the specific LLDPE constituting the tire skeleton pieces, the tire skeleton pieces can be sufficiently fused with each other.
  • the productivity of the tire can be increased while improving the above.
  • the reinforcing cord member winding step at least a part of the reinforcing cord member is embedded while melting or softening the outer periphery of the tire frame body formed in the tire frame piece joining step.
  • the reinforcing cord member can be wound around the outer periphery of the tire frame. In this way, at least a part of the reinforcing cord member is embedded while melting or softening the outer peripheral portion of the tire frame body, and the reinforcing cord member is wound around the outer peripheral portion of the tire frame body, thereby embedding the reinforcing cord member embedded therein.
  • At least a part of the resin material can be welded to a molten or softened resin material containing the specific LLDPE.
  • the air entering between the outer peripheral part of the tire frame and the reinforcing cord member can be further suppressed in a cross-sectional view along the axial direction of the tire frame. Moreover, when the portion in which the reinforcing cord member is embedded is cooled and solidified, the fixing degree of the reinforcing cord member embedded in the tire frame body is improved.
  • the tire manufacturing method can be configured such that the heated reinforcing cord member is embedded in the tire frame body in the reinforcing cord member winding step.
  • the contact portion melts or softens when the heated reinforcing cord member contacts the outer periphery of the tire frame body. Therefore, the reinforcing cord member can be easily embedded in the outer peripheral portion of the tire frame body.
  • the tire manufacturing method can be configured to heat a portion where the reinforcing cord member is embedded in the outer peripheral portion of the tire frame body in the cord member winding step.
  • the heated portion of the tire frame body is melted or softened, so that the reinforcement cord member is easily embedded.
  • the reinforcing cord member in the cord member winding step, is spirally wound in the circumferential direction of the outer peripheral portion of the tire frame body while pressing the reinforcing cord member against the outer peripheral portion of the tire frame body. Can be configured to turn. As described above, when the reinforcing cord member is wound spirally while pressing the reinforcing cord member against the outer peripheral portion of the tire frame body, the amount of the reinforcing cord member embedded in the outer peripheral portion of the tire frame body can be adjusted.
  • the manufacturing method in the cord member winding step, after the reinforcing cord member is wound around the tire frame body, the melted or softened portion of the outer peripheral portion of the tire frame body is cooled. be able to. In this way, after the reinforcing cord member is embedded, the melted or softened portion of the outer periphery of the tire frame body is forcibly cooled to naturally cool the melted or softened portion of the outer periphery of the tire frame body. Faster and faster cooling and solidification. By cooling the tire outer peripheral portion faster than natural cooling, it is possible to suppress deformation of the outer peripheral portion of the tire frame body and to suppress movement of the reinforcing cord member.
  • the tire of this indication can be comprised as follows as demonstrated in 2nd Embodiment. (2-1)
  • the tire according to the present disclosure is further provided with a roughening treatment step in which the outer peripheral surface of the tire frame body is roughened by causing a particulate projection material to collide with the outer peripheral surface of the tire frame body.
  • a laminating step of laminating a tire constituting rubber member on the roughened outer peripheral surface via a bonding agent As described above, when the roughening treatment step is provided, the particulate projection material collides with the outer peripheral surface of the annular tire skeleton formed using the resin material containing the specific LLDPE, and the outer peripheral surface is finely roughened. An uneven surface is formed.
  • corrugation is called roughening process.
  • a tire constituting rubber member is laminated on the outer peripheral surface subjected to the roughening treatment via a bonding agent.
  • the bondability adheresiveness
  • the bondability of the outer peripheral surface is improved.
  • the resin material containing the specific LLDPE forming the tire skeleton is dug up by the collision of the projection material, the wettability of the outer peripheral surface is improved.
  • the bonding agent is held in a uniform applied state on the outer peripheral surface of the tire frame body, and the bonding strength between the tire frame body and the tire constituting rubber member can be ensured.
  • the uneven portion can be manufactured by performing a roughening treatment in a roughening treatment step.
  • the projection material is collided with the uneven portion to roughen the periphery of the recessed portion (concave wall, concave bottom), and the tire Bonding strength between the skeleton body and the tire constituting rubber member can be ensured.
  • the outer peripheral portion of the tire frame body is configured by a reinforcing layer that forms an uneven portion on the outer peripheral surface
  • the resin material containing the specific LLDPE in which the reinforcing layer forms the tire frame body can be configured by winding a covering cord member formed by covering a reinforcing cord with the same or different resin material in the circumferential direction of the tire frame body.
  • the circumferential direction rigidity of a tire frame body can be improved by constituting the perimeter part of a tire frame body with the reinforcement layer constituted by winding a covering cord member in the circumferential direction of a tire frame body.
  • thermoplastic resin material can be used as the resin material constituting the coated cord member.
  • a thermoplastic material having thermoplasticity as the resin material constituting the coated cord member, the tire can be manufactured easily and easily recycled compared to the case where a thermosetting material is used as the resin material. Become.
  • the tire according to the present disclosure can be configured to roughen a region wider than the laminated region of the tire constituent rubber members in the roughening treatment step.
  • the roughening treatment step when the roughening treatment is performed on a region wider than the lamination region of the tire constituent rubber members, the bonding strength between the tire frame body and the tire constituent rubber members can be reliably ensured.
  • the tire according to the present disclosure can be configured to roughen the outer peripheral surface so that the arithmetic average roughness Ra is 0.05 mm or more in the roughening treatment step.
  • the outer peripheral surface of the tire frame body is roughened so that the arithmetic average roughness Ra is 0.05 mm or more in the roughening treatment step
  • the outer peripheral surface subjected to the roughening treatment for example, via a bonding agent
  • the rubber of the tire component rubber member can be poured to the bottom of the roughened irregularities formed by the roughening treatment.
  • unvulcanized or semi-vulcanized rubber can be used as a tire constituent rubber member.
  • the tire constituent rubber member when used as the tire constituent rubber member, when the tire constituent rubber member is vulcanized, the roughening formed on the outer peripheral surface of the tire frame body by the roughening treatment. Rubber flows into the unevenness.
  • the anchor effect is exhibited by the rubber (vulcanized) that has flowed into the roughened unevenness, and the bonding strength between the tire frame body and the tire constituting rubber member can be improved.
  • vulcanized means the state that has reached the degree of vulcanization required for the final product, and the semi-vulcanized state has a higher degree of vulcanization than the unvulcanized state, but is required for the final product. This means that the degree of vulcanization is not reached.
  • the tire of the present disclosure is formed using a resin material containing a specific LLDPE, and an annular tire skeleton body in which the outer peripheral surface is roughened by colliding a particulate projection material with the outer peripheral surface; And a tire constituting rubber member laminated on the roughened outer peripheral surface with a bonding agent.
  • a resin material containing a specific LLDPE and an annular tire skeleton body in which the outer peripheral surface is roughened by colliding a particulate projection material with the outer peripheral surface
  • a tire constituting rubber member laminated on the roughened outer peripheral surface with a bonding agent As described above, when the roughened tire skeleton body is used, the bonding strength between the tire skeleton body and the tire constituting rubber member can be improved by the anchor effect. Moreover, since the outer peripheral surface is roughened, the wettability of the bonding agent is good.
  • the bonding agent is held in a uniform application state on the outer peripheral surface of the tire frame body, the bonding strength between the tire frame body and the tire component rubber member is ensured, and the tire frame body and the tire component rubber member are separated. Can be suppressed.
  • Examples 1 and 2 Comparative Examples 1 to 8
  • injection molding was performed at 180 ° C. to 230 ° C. to obtain sample pieces.
  • Various measurements were carried out using samples obtained by punching test pieces from the sample pieces.
  • Examples 3 to 13, Comparative Examples 9 to 10 Resin materials for producing tire frame bodies of Examples 3 to 13 shown in Table 2 were mixed at 180 ° C. to 230 ° C. by a twin screw extruder with the compositions shown in Table 2 to obtain resin materials. The obtained resin material was pelletized and injection molded at 180 ° C. to 230 ° C. to obtain sample pieces. Various measurements were carried out using samples obtained by punching test pieces from the sample pieces. Using resin materials for producing tire skeletons of Comparative Examples 9 to 10 shown in Table 2, injection molding was performed at 180 ° C. to 230 ° C. to obtain sample pieces. Various measurements were carried out using samples obtained by punching test pieces from the sample pieces.
  • the end of the high speed performance test was the time when the running test at a speed of 260 km / h was completed.
  • the thing which maintained the function as a tire after the end of the running test at a speed of 260 km / h is referred to as “complete running”. Those that occurred and became unable to run were marked as “unfinished”. If the evaluation result is complete, it can be said that the tire has excellent durability.
  • LDPE UBE polyethylene J-2516 manufactured by Ube Maruzen Polyethylene Co., Ltd.
  • LLDPE1 Ube Maruzen Polyethylene Co., Ltd.
  • LLDPE2 Ube Maruzen Polyethylene Co., Ltd.
  • LLDPE3 Ube Maruzen Polyethylene Co., Ltd.
  • LLDPE4 Ube Maruzen Polyethylene Co., Ltd.
  • LLDPE5 Ube Maruzen Polyethylene Co., Ltd.
  • R-PP1 Prime TPO J5710 made by Prime Polymer Co., Ltd.
  • R-PP2 PP J721GR manufactured by Prime Polymer Co., Ltd.
  • TPV M4800NS manufactured by Mitsui Chemicals, Ltd. Miralastomer
  • the weight average molecular weight is a value measured by gel permeation chromatography (GPC), and MFR is a value measured under conditions of a temperature of 230 ° C. and a load of 2.16 kg according to the method defined in JIS K7210: 2014.
  • PA1 UBE nylon 1022B manufactured by Ube Industries, Ltd.
  • PA2 UBESTA 3024U manufactured by Ube Industries, Ltd.
  • PA modified PE APOLHYA LP91 manufactured by Arkema Acid-modified PE: Mitsui Chemicals, Inc.
  • Admer NE065 UBE nylon 1022B manufactured by Ube Industries, Ltd.
  • PA2 UBESTA 3024U manufactured by Ube Industries, Ltd.
  • PA modified PE APOLHYA LP91 manufactured by Arkema Acid-modified PE: Mitsui Chemicals, Inc.
  • Admer NE065 Admer NE065
  • ⁇ Bending fatigue resistance> For Examples 1, 3, and 5, bending fatigue resistance was evaluated in accordance with JIS K6260: 2010. Specifically, a sample piece having a width of 25 mm, a thickness of 6.3 mm, a length of 140 mm to 155 mm, and a radius of curvature of a central groove of 2.38 mm was prepared, and the sample piece was bent and fatigued by A & D Corporation. Using a testing machine FT24-6400, a dematcher bending fatigue test was performed under the condition of a strain amount of 10 mm, and the number of times until the sample piece broke was measured. The results are shown in Table 3 below.
  • Example 3 From comparison between Example 1 and Example 3 in Table 3, it can be seen that a resin material using both LLDPE and polyamide (PA) tends to have lower bending fatigue resistance than a resin material using only LLDPE. In addition, since the bending fatigue resistance of Example 3 is 90,000 times, there is no problem in actual use as a tire. Further, the comparison between Example 3 and Example 5 shows that the bending fatigue resistance is significantly improved when the resin material contains LLDPE, polyamide, and acid-modified PE, as compared with the resin material containing LLDPE and polyamide. I understand that.
  • the tires of Examples 3 to 13 can be applied to a tire manufacturing method including a vulcanization process at a high temperature (for example, 145 ° C.) and a conventional vulcanization process for a long time. It is done. Therefore, by using the tire of the form described in these examples, the tread rubber is separately vulcanized, and then the tire skeleton formed of the resin material and the tread rubber are bonded to suppress the thermal effect on the tire skeleton. This eliminates the need to use a cold vulcanization method and a vulcanization method that limits the temperature of the resin material so that the resin material does not deform. This simplifies the manufacturing process and shortens the vulcanization time, further improving productivity. It is.

Landscapes

  • Chemical & Material Sciences (AREA)
  • Engineering & Computer Science (AREA)
  • Mechanical Engineering (AREA)
  • Health & Medical Sciences (AREA)
  • Chemical Kinetics & Catalysis (AREA)
  • Medicinal Chemistry (AREA)
  • Polymers & Plastics (AREA)
  • Organic Chemistry (AREA)
  • General Chemical & Material Sciences (AREA)
  • Tires In General (AREA)
  • Compositions Of Macromolecular Compounds (AREA)
PCT/JP2016/076019 2015-09-04 2016-09-05 タイヤ Ceased WO2017039014A1 (ja)

Priority Applications (3)

Application Number Priority Date Filing Date Title
EP16842043.8A EP3345964B1 (en) 2015-09-04 2016-09-05 Tire
US15/756,363 US10800209B2 (en) 2015-09-04 2016-09-05 Tire
CN201680050427.XA CN107922687B (zh) 2015-09-04 2016-09-05 轮胎

Applications Claiming Priority (2)

Application Number Priority Date Filing Date Title
JP2015-175171 2015-09-04
JP2015175171A JP6654835B2 (ja) 2015-09-04 2015-09-04 タイヤ

Publications (1)

Publication Number Publication Date
WO2017039014A1 true WO2017039014A1 (ja) 2017-03-09

Family

ID=58187745

Family Applications (1)

Application Number Title Priority Date Filing Date
PCT/JP2016/076019 Ceased WO2017039014A1 (ja) 2015-09-04 2016-09-05 タイヤ

Country Status (5)

Country Link
US (1) US10800209B2 (enExample)
EP (1) EP3345964B1 (enExample)
JP (1) JP6654835B2 (enExample)
CN (1) CN107922687B (enExample)
WO (1) WO2017039014A1 (enExample)

Families Citing this family (2)

* Cited by examiner, † Cited by third party
Publication number Priority date Publication date Assignee Title
JP7371417B2 (ja) * 2019-09-26 2023-10-31 東洋製罐グループホールディングス株式会社 ポリプロピレン系樹脂組成物及びヒートシール用フィルム
EP4640755A1 (en) * 2024-04-26 2025-10-29 Arkema France Thermoplastic polymer composition comprising a polyolefin and a combination of polyamides as a processing aid

Citations (5)

* Cited by examiner, † Cited by third party
Publication number Priority date Publication date Assignee Title
JP2002012709A (ja) * 2000-06-30 2002-01-15 Bridgestone Corp ゴム組成物及びそれを用いた空気入りタイヤ
JP2002052904A (ja) * 2000-08-11 2002-02-19 Kuraray Co Ltd タイヤ内面用インナーライナー
JP2006076407A (ja) * 2004-09-08 2006-03-23 Toyo Tire & Rubber Co Ltd 空気入りタイヤ
JP2012046031A (ja) * 2010-08-25 2012-03-08 Bridgestone Corp タイヤ
JP2015231814A (ja) * 2014-06-10 2015-12-24 株式会社ブリヂストン タイヤ

Family Cites Families (17)

* Cited by examiner, † Cited by third party
Publication number Priority date Publication date Assignee Title
BR9501066A (pt) 1994-03-21 1995-10-17 Goodyear Tire & Rubber Pneumático de borracha dotado de um revestimento interno integral de um composto de borracha curado a enxofre
CN101541530B (zh) 2006-10-26 2015-09-09 埃克森美孚化学专利公司 低湿气渗透性层压结构
WO2008060302A1 (en) * 2006-11-17 2008-05-22 Exxonmobil Chemical Patents Inc. Low permeability laminate construction
EP3251873B1 (en) * 2010-08-25 2019-03-06 Bridgestone Corporation Tire, and tire manufacturing method
CN103189215B (zh) * 2010-08-25 2018-12-18 株式会社普利司通 轮胎、及轮胎的制造方法
CN105034695B (zh) * 2010-08-25 2017-10-17 株式会社普利司通 轮胎及其制造方法
JP5775320B2 (ja) * 2011-02-15 2015-09-09 株式会社ブリヂストン タイヤ
US8470922B2 (en) 2011-03-03 2013-06-25 Exxonmobil Chemical Patents Inc. Ethylene-vinyl alcohol based thermoplastic elastomers and vulcanizates
US20150020946A1 (en) 2012-02-29 2015-01-22 Bridgestone Corporation Tire
IN2014DN07828A (enExample) 2012-02-29 2015-05-15 Bridgestone Corp
WO2013129525A1 (ja) 2012-02-29 2013-09-06 株式会社ブリヂストン タイヤ
WO2013129630A1 (ja) * 2012-03-01 2013-09-06 株式会社ブリヂストン タイヤ
US9884515B2 (en) * 2013-02-28 2018-02-06 Bridgestone Corporation Tire
US10997877B2 (en) * 2014-11-18 2021-05-04 Upm Raflatac Oy Label facestock
WO2016125873A1 (ja) * 2015-02-04 2016-08-11 株式会社ブリヂストン タイヤ
EP3214211B2 (en) * 2016-03-03 2025-09-03 Dow Global Technologies LLC Artificial turfs and method of making the same
EP3275652B1 (en) * 2016-07-27 2020-10-14 Greif International Holding B.V. High-barrier polymer blend composition

Patent Citations (5)

* Cited by examiner, † Cited by third party
Publication number Priority date Publication date Assignee Title
JP2002012709A (ja) * 2000-06-30 2002-01-15 Bridgestone Corp ゴム組成物及びそれを用いた空気入りタイヤ
JP2002052904A (ja) * 2000-08-11 2002-02-19 Kuraray Co Ltd タイヤ内面用インナーライナー
JP2006076407A (ja) * 2004-09-08 2006-03-23 Toyo Tire & Rubber Co Ltd 空気入りタイヤ
JP2012046031A (ja) * 2010-08-25 2012-03-08 Bridgestone Corp タイヤ
JP2015231814A (ja) * 2014-06-10 2015-12-24 株式会社ブリヂストン タイヤ

Non-Patent Citations (1)

* Cited by examiner, † Cited by third party
Title
See also references of EP3345964A4 *

Also Published As

Publication number Publication date
US20180250983A1 (en) 2018-09-06
CN107922687A (zh) 2018-04-17
JP6654835B2 (ja) 2020-02-26
CN107922687B (zh) 2020-10-16
US10800209B2 (en) 2020-10-13
EP3345964A4 (en) 2018-07-25
EP3345964B1 (en) 2020-11-11
EP3345964A1 (en) 2018-07-11
JP2017048353A (ja) 2017-03-09

Similar Documents

Publication Publication Date Title
JP5993545B2 (ja) タイヤ
JP5775320B2 (ja) タイヤ
JP5619527B2 (ja) タイヤ
JP6560973B2 (ja) タイヤ
WO2014157558A1 (ja) タイヤ
JP6602140B2 (ja) タイヤ
JPWO2013129632A1 (ja) タイヤ
JP6654835B2 (ja) タイヤ
JP5778402B2 (ja) タイヤ
JP6047220B2 (ja) 空気入りタイヤ、及び空気入りタイヤの製造方法
JP5778403B2 (ja) タイヤ
JP5901105B2 (ja) 空気入りタイヤ、及び空気入りタイヤの製造方法
JP6014715B2 (ja) タイヤ
JP5960875B2 (ja) タイヤ
JP5893440B2 (ja) タイヤおよびタイヤの製造方法
JP6404777B2 (ja) タイヤ
JP5901735B2 (ja) タイヤ
JPWO2019082767A1 (ja) タイヤ用金属樹脂複合部材及びタイヤ
JP6014714B2 (ja) タイヤ及びその製造方法
JP5758097B2 (ja) タイヤ
JP2015155304A (ja) タイヤ
JP2016172558A (ja) タイヤ

Legal Events

Date Code Title Description
121 Ep: the epo has been informed by wipo that ep was designated in this application

Ref document number: 16842043

Country of ref document: EP

Kind code of ref document: A1

WWE Wipo information: entry into national phase

Ref document number: 15756363

Country of ref document: US

NENP Non-entry into the national phase

Ref country code: DE

WWE Wipo information: entry into national phase

Ref document number: 2016842043

Country of ref document: EP