WO2017017924A1 - Image display device and optical element - Google Patents

Image display device and optical element Download PDF

Info

Publication number
WO2017017924A1
WO2017017924A1 PCT/JP2016/003354 JP2016003354W WO2017017924A1 WO 2017017924 A1 WO2017017924 A1 WO 2017017924A1 JP 2016003354 W JP2016003354 W JP 2016003354W WO 2017017924 A1 WO2017017924 A1 WO 2017017924A1
Authority
WO
WIPO (PCT)
Prior art keywords
image display
display device
eye member
observer
principal ray
Prior art date
Legal status (The legal status is an assumption and is not a legal conclusion. Google has not performed a legal analysis and makes no representation as to the accuracy of the status listed.)
Ceased
Application number
PCT/JP2016/003354
Other languages
English (en)
French (fr)
Inventor
Toshiyuki Yasuda
Current Assignee (The listed assignees may be inaccurate. Google has not performed a legal analysis and makes no representation or warranty as to the accuracy of the list.)
Canon Inc
Original Assignee
Canon Inc
Priority date (The priority date is an assumption and is not a legal conclusion. Google has not performed a legal analysis and makes no representation as to the accuracy of the date listed.)
Filing date
Publication date
Application filed by Canon Inc filed Critical Canon Inc
Priority to US15/747,056 priority Critical patent/US20180364484A1/en
Publication of WO2017017924A1 publication Critical patent/WO2017017924A1/en
Anticipated expiration legal-status Critical
Ceased legal-status Critical Current

Links

Images

Classifications

    • GPHYSICS
    • G02OPTICS
    • G02BOPTICAL ELEMENTS, SYSTEMS OR APPARATUS
    • G02B27/00Optical systems or apparatus not provided for by any of the groups G02B1/00 - G02B26/00, G02B30/00
    • G02B27/01Head-up displays
    • G02B27/017Head mounted
    • G02B27/0172Head mounted characterised by optical features
    • GPHYSICS
    • G02OPTICS
    • G02BOPTICAL ELEMENTS, SYSTEMS OR APPARATUS
    • G02B27/00Optical systems or apparatus not provided for by any of the groups G02B1/00 - G02B26/00, G02B30/00
    • G02B27/01Head-up displays
    • G02B27/0149Head-up displays characterised by mechanical features
    • GPHYSICS
    • G02OPTICS
    • G02BOPTICAL ELEMENTS, SYSTEMS OR APPARATUS
    • G02B27/00Optical systems or apparatus not provided for by any of the groups G02B1/00 - G02B26/00, G02B30/00
    • G02B27/01Head-up displays
    • G02B27/017Head mounted
    • G02B27/0176Head mounted characterised by mechanical features
    • GPHYSICS
    • G02OPTICS
    • G02BOPTICAL ELEMENTS, SYSTEMS OR APPARATUS
    • G02B30/00Optical systems or apparatus for producing three-dimensional [3D] effects, e.g. stereoscopic images
    • G02B30/20Optical systems or apparatus for producing three-dimensional [3D] effects, e.g. stereoscopic images by providing first and second parallax images to an observer's left and right eyes
    • G02B30/34Stereoscopes providing a stereoscopic pair of separated images corresponding to parallactically displaced views of the same object, e.g. 3D slide viewers
    • G02B30/35Stereoscopes providing a stereoscopic pair of separated images corresponding to parallactically displaced views of the same object, e.g. 3D slide viewers using reflective optical elements in the optical path between the images and the observer
    • GPHYSICS
    • G02OPTICS
    • G02BOPTICAL ELEMENTS, SYSTEMS OR APPARATUS
    • G02B30/00Optical systems or apparatus for producing three-dimensional [3D] effects, e.g. stereoscopic images
    • G02B30/20Optical systems or apparatus for producing three-dimensional [3D] effects, e.g. stereoscopic images by providing first and second parallax images to an observer's left and right eyes
    • G02B30/34Stereoscopes providing a stereoscopic pair of separated images corresponding to parallactically displaced views of the same object, e.g. 3D slide viewers
    • G02B30/36Stereoscopes providing a stereoscopic pair of separated images corresponding to parallactically displaced views of the same object, e.g. 3D slide viewers using refractive optical elements, e.g. prisms, in the optical path between the images and the observer
    • HELECTRICITY
    • H04ELECTRIC COMMUNICATION TECHNIQUE
    • H04NPICTORIAL COMMUNICATION, e.g. TELEVISION
    • H04N13/00Stereoscopic video systems; Multi-view video systems; Details thereof
    • H04N13/30Image reproducers
    • H04N13/332Displays for viewing with the aid of special glasses or head-mounted displays [HMD]
    • H04N13/344Displays for viewing with the aid of special glasses or head-mounted displays [HMD] with head-mounted left-right displays
    • GPHYSICS
    • G02OPTICS
    • G02BOPTICAL ELEMENTS, SYSTEMS OR APPARATUS
    • G02B27/00Optical systems or apparatus not provided for by any of the groups G02B1/00 - G02B26/00, G02B30/00
    • G02B27/01Head-up displays
    • G02B27/0149Head-up displays characterised by mechanical features
    • G02B2027/015Head-up displays characterised by mechanical features involving arrangement aiming to get less bulky devices
    • GPHYSICS
    • G02OPTICS
    • G02BOPTICAL ELEMENTS, SYSTEMS OR APPARATUS
    • G02B27/00Optical systems or apparatus not provided for by any of the groups G02B1/00 - G02B26/00, G02B30/00
    • G02B27/01Head-up displays
    • G02B27/0149Head-up displays characterised by mechanical features
    • G02B2027/0152Head-up displays characterised by mechanical features involving arrangement aiming to get lighter or better balanced devices
    • HELECTRICITY
    • H04ELECTRIC COMMUNICATION TECHNIQUE
    • H04NPICTORIAL COMMUNICATION, e.g. TELEVISION
    • H04N5/00Details of television systems
    • H04N5/64Constructional details of receivers, e.g. cabinets or dust covers

Definitions

  • the present invention relates to an image display device having optical elements that are a left eye member and a right eye member, and optical elements that are a left eye member and a right eye member.
  • a head mounted display is known as an image display device that displays an image displayed on an image display element, through left and right optical elements.
  • An HMD is an image display device that is mounted on the head of an observer and that can provide a desired image to the observer.
  • image display devices such as HMDs be wearable by a wide variety of persons and the displayed image can be appropriately seen.
  • the whole device is desired to be reduced in size and weight.
  • the whole optical system including optical elements tends to increase in size and weight. Since an HMD is mounted on the head of an observer, the increase in size of the whole optical system is undesirable in view of the burden of the observer. Ways to suppress the increase in size of the whole optical system include reducing the exit pupil diameter of the optical system. However, in that case, the distance between the observer and the exit pupil needs to be reduced, and the left and right optical elements may touch the nose of the observer.
  • PTL 1 discloses removing parts that may touch the nose of an observer from optical elements that are a left eye member and a right eye member.
  • an image display device of PTL 1 parts that may touch the nose of an observer are removed from optical elements that are a left eye member and a right eye member, and therefore an image having a wide angle of view can be provided while preventing the increases in size of the whole optical system.
  • some of rays that should form an image are lost owing to the partial removal of the optical elements, and the luminance of part of the displayed image decreases.
  • PTL 1 also discloses electrically compensating the decreased luminance, but does not mention any optical approach for suppressing the decrease in luminance of the displayed image, and suppression of the decrease in luminance of the displayed image is insufficient.
  • the present invention provides an image display device having optical elements that are a left eye member and a right eye member in which the decrease in luminance of the displayed image is suppressed while preventing the optical elements from touching the nose of an observer.
  • an image display device includes optical elements that are a left eye member and a right eye member.
  • the image display device has an image display element that displays an image to an observer through the optical elements.
  • the optical elements each have at least one part shape formed so as to avoid the contact with the nose of the observer.
  • the surface of the at least one part shape is substantially parallel to the direction of a principal ray from the image display element.
  • Fig. 1 shows the configuration of an image display device according to a first embodiment.
  • Fig. 2 shows part of a principal ray passing through a prism body.
  • Fig. 3 shows the shape of the prism body.
  • Fig. 4 shows the vignetting of an effective bundle of rays forming a principal ray.
  • Fig. 5 shows the configuration of a head mounted image display device according to a second embodiment.
  • Fig. 6 shows the configuration of a handheld image display device according to the second embodiment.
  • Fig. 7A shows the image display portion in the second embodiment.
  • Fig. 7B shows the image display portion in the second embodiment.
  • Fig. 7C shows the image display portion in the second embodiment.
  • Fig. 8 shows the lower back of the image display portion in the second embodiment.
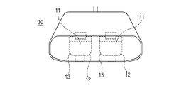
  • Fig. 1 shows the configuration of an image display device according to a first embodiment.
  • An image display element 10 is disposed in front of the left eye EL of an observer P, and an optical element that is a prism body 11 is disposed between the image display element 10 and the left eye EL.
  • the same image display element 10 as that on the left eye side is disposed in front of the right eye ER of the observer P, and an optical element that is the same prism body 11 as that on the left eye side is disposed between the image display element 10 and the right eye ER. That is, the optical elements are a left eye member and a right eye member.
  • the image display elements 10 and the prism bodies 11 are collectively referred to as eyepiece optical system.
  • the prism bodies 11 have a part shape such that nose side parts 12 and 13 are removed.
  • the nose side parts 12 and 13 are removed for the purpose of avoiding interference (contact) between the nose N of the observer P and the left and right prism bodies 11.
  • the prism bodies 11 in this embodiment have a bilaterally symmetrical shape. Because of a bilaterally symmetrical shape, the left and right prism bodies 11 can be manufactured in the same manufacturing process, and the manufacturing cost can be reduced.
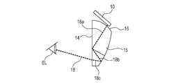
  • Fig. 2 shows part of a principal ray passing through the prism body in the first embodiment.
  • the prism body 11 mainly has three large surfaces: an A surface 14, a B surface 15, and a C surface 16.
  • An image emitted from the image display element 10 passes through the inside of the prism body 11, and is reflected twice by the A surface 14 and the B surface 15, and the image of the image display element 10 is thereby enlarged.
  • the principal ray 18 is emitted from the lower right corner of the display surface of the image display element 10.
  • the principal ray 18 enters through the C surface 16.
  • the principal ray at this time is denoted by 18a.
  • the principal ray 18a travels to the A surface 14.
  • the principal ray 18a is at a shallow angle to the A surface 14, the principal ray 18a is totally reflected by the A surface 14.
  • the principal ray 18a becomes a principal ray 18b, and reaches the B surface 15.
  • an aluminum vapor-deposited film is formed on the B surface 15, the principal ray 18b is reflected by the B surface 15.
  • the principal ray 18b becomes a principal ray 18c, exits through the A surface 14, and is guided to the eye of the observer.
  • Fig. 3 shows the shape of the prism body in this embodiment.
  • the surface 20 is a surface that forms part of the nose side part 13, and is a nose side removal surface.
  • the direction of the principal ray 18c is parallel to the nose side removal surface 20, and the principal ray 18c is located on the nose side removal surface 20.
  • the nose side removal surface 20 is painted black. This is for the purpose of blocking unwanted rays from entering through the nose side removal surface 20, and preventing image quality deterioration such as flare and ghost images due to internal reflection in the prism body 11 on the nose side removal surface 20.
  • an optical thin film such as an aluminum vapor-deposited film or an antireflection film may be formed for the same purpose.
  • the principal ray 19 is emitted from the lower left corner of the display surface of the image display element 10. Since the prism body 11 has a bilaterally symmetrical shape, the principal ray 19 is guided to the eye of the observer through an optical path symmetrical to the optical path of the principal ray 18.
  • the surface 21 is a surface that forms part of the nose side part 12, and is a nose side removal surface.
  • the principal ray 19c is parallel to the nose side removal surface 21, and the principal ray 19c is located on the nose side removal surface 21.
  • the nose side removal surface 21 is painted black to prevent ghost images due to internal reflection of unwanted rays and to block light from entering from the outside of the effective optical path.
  • Fig. 4 shows the vignetting of an effective bundle of rays forming a principal ray in this embodiment.
  • the effective bundle of rays 18d is an effective bundle of rays of the principal ray 18c, and planes (cross-sections) perpendicular to the principal ray 18c are shown.
  • the hatched region on the right side of the nose side removal surface 20 shows part of the bundle of rays being vignetted by the nose side removal surface 20. Since the principal ray 18c is located on the nose side removal surface 20, in the section A-A, the vignetted area is a half of the area of the effective bundle of rays.
  • the hatched region on the right side of the nose side removal surface 20 shows part of the bundle of rays being vignetted by the nose side removal surface 20.
  • the vignetted area is a half of the area of the effective bundle of rays. That is, the vignetting of the effective bundle of rays 18d forming the principal ray 18c is a half at any cross-section, and when the principal ray is parallel to the nose side removal surface 20, the amount of vignetting is the same at any cross-section. Therefore, when the principal ray is parallel to the nose side removal surface, the nose side removal surface is the most efficient as a removal surface.
  • the prism body 11 Since the prism body 11 has a bilaterally symmetrical shape, part of the effective bundle of rays including the principal ray 19 is vignetted by the nose side removal surface 21 also in the nose side part 12 on the left side of the prism body 11.
  • the rate of vignetting is a half of the effective light beam consisting the principal ray 19c, and the amount of vignetting of the effective bundle of rays forming the principal ray 19c is the same at any cross-section.
  • prism bodies 11 are disposed at positions corresponding to both left and right eyes.
  • parts of the prism bodies 11 that are near the nose are removed at the nose side removal surfaces 20 and 21 such that the principal rays 18c and 19c nearest to the nose side removal surfaces 20 and 21 are parallel to the nose side removal surface 20 and 21.
  • a display optical system can be achieved in which prism bodies 11 are unlikely to interfere with the nose of an observer, and the decrease in the amount of light of the observed display image is minimized.
  • the present invention is not limited to complete parallelism.
  • a case in which the angle between the principal ray 18c and the nose side removal surface 20 is 5 degrees is within the range of "substantially parallel" in this embodiment.
  • the angle between the principal ray 18c and the nose side removal surface 20 is 5 degrees
  • the maximum thickness of the prism body 11 near the left and right nose side removal surfaces 20 and 21 is 5 mm.
  • a margin of an optical effective bundle of rays of 0.5 mm is generally allowed, and 0.437 mm is within this range. Therefore, the influence of the decrease in the amount of light of the observed image is small.
  • Fig. 5 shows the configuration of a head mounted image display device.
  • the display optical system described in the first embodiment is applied to a head mounted image display device 1.
  • the head mounted image display device 1 includes an image display portion 30 having a display optical system therein, and a mounting portion 40 mounted on the head.
  • Fig. 6 shows the configuration of a handheld image display device.
  • the display optical system described in the first embodiment is applied to a handheld image display device 2.
  • the handheld image display device 2 includes an image display portion 30 having a display optical system therein, and a handheld portion 50 held by the hands of an observer.
  • Figs. 7A to 7C show the image display portion 30.
  • Fig. 7A is a front view
  • Fig. 7B is a right side view
  • Fig. 7C is a back view.
  • the prism bodies 11 are disposed observably by both left and right eyes, and are surrounded by an exterior member.
  • the central part of the image display portion 30 is recessed, and an exterior nose avoiding portion 30b that does not interfere with the nose of the observer is formed.
  • Fig. 8 shows the lower back of the image display portion.
  • the exterior nose avoiding portion 30b is provided with an exterior nose avoiding surface 30c and an exterior nose avoiding surface 30d.
  • the exterior nose avoiding surface 30c is parallel to the nose side removal surface 20 of the prism body 11 on the left eye side
  • the exterior nose avoiding surface 30d is parallel to the nose side removal surface 21 of the prism body 11 on the right eye side. Therefore, the exterior nose avoiding portion 30b can be large such that it touches the prism bodies 11, and the exterior nose avoiding portion 30b can be maximized without interfering with the prism bodies 11.

Landscapes

  • Physics & Mathematics (AREA)
  • General Physics & Mathematics (AREA)
  • Optics & Photonics (AREA)
  • Engineering & Computer Science (AREA)
  • Multimedia (AREA)
  • Signal Processing (AREA)
  • Testing, Inspecting, Measuring Of Stereoscopic Televisions And Televisions (AREA)
PCT/JP2016/003354 2015-07-24 2016-07-15 Image display device and optical element Ceased WO2017017924A1 (en)

Priority Applications (1)

Application Number Priority Date Filing Date Title
US15/747,056 US20180364484A1 (en) 2015-07-24 2016-07-15 Image display device and optical element

Applications Claiming Priority (2)

Application Number Priority Date Filing Date Title
JP2015146837A JP2017026898A (ja) 2015-07-24 2015-07-24 画像表示装置および光学素子
JP2015-146837 2015-07-24

Publications (1)

Publication Number Publication Date
WO2017017924A1 true WO2017017924A1 (en) 2017-02-02

Family

ID=57884181

Family Applications (1)

Application Number Title Priority Date Filing Date
PCT/JP2016/003354 Ceased WO2017017924A1 (en) 2015-07-24 2016-07-15 Image display device and optical element

Country Status (3)

Country Link
US (1) US20180364484A1 (enExample)
JP (1) JP2017026898A (enExample)
WO (1) WO2017017924A1 (enExample)

Cited By (2)

* Cited by examiner, † Cited by third party
Publication number Priority date Publication date Assignee Title
WO2020040813A1 (en) * 2018-08-23 2020-02-27 Apple Inc. Electronic device with lens position sensing
US12061345B2 (en) 2018-08-23 2024-08-13 Apple Inc. Head-mounted electronic display device with lens position sensing

Citations (8)

* Cited by examiner, † Cited by third party
Publication number Priority date Publication date Assignee Title
JPH06326946A (ja) * 1993-05-13 1994-11-25 Agency Of Ind Science & Technol 眼球運動追従型視覚提示装置
WO2000020951A2 (en) * 1998-10-02 2000-04-13 Honeywell Inc. Hand held computer with see-through display
US6384983B1 (en) * 1999-11-19 2002-05-07 Mixed Realty Systems Laboratory Inc. Image display apparatus
JP2005049690A (ja) * 2003-07-30 2005-02-24 Canon Inc 画像表示光学系
JP2007127782A (ja) * 2005-11-02 2007-05-24 Konica Minolta Photo Imaging Inc 画像表示装置、表示システム
US20090153960A1 (en) * 2007-12-14 2009-06-18 Canon Kabushiki Kaisha Image display apparatus
JP2013025102A (ja) * 2011-07-21 2013-02-04 Olympus Corp 画像表示装置
JP2014225823A (ja) * 2013-05-17 2014-12-04 セイコーエプソン株式会社 虚像表示装置

Family Cites Families (10)

* Cited by examiner, † Cited by third party
Publication number Priority date Publication date Assignee Title
JP2000098293A (ja) * 1998-06-19 2000-04-07 Canon Inc 画像観察装置
JP3730806B2 (ja) * 1999-05-18 2006-01-05 オリンパス株式会社 光学系
JP2001186442A (ja) * 1999-12-27 2001-07-06 Minolta Co Ltd 映像表示装置
JP2001209000A (ja) * 2000-01-24 2001-08-03 Minolta Co Ltd 映像表示装置
JP2001281593A (ja) * 2000-03-29 2001-10-10 Olympus Optical Co Ltd 頭部装着型映像表示装置
JP2002258208A (ja) * 2001-03-01 2002-09-11 Mixed Reality Systems Laboratory Inc 光学素子及びそれを用いた複合表示装置
JP4825244B2 (ja) * 2008-06-26 2011-11-30 オリンパス株式会社 立体視画像表示装置、立体視画像表示方法
JP5266526B2 (ja) * 2008-10-15 2013-08-21 コニカミノルタ株式会社 映像表示装置
JP6135095B2 (ja) * 2012-11-05 2017-05-31 セイコーエプソン株式会社 虚像表示装置
JP2017531212A (ja) * 2014-07-22 2017-10-19 ナブディ,インコーポレーテッド 小型ヘッドアップディスプレイシステム

Patent Citations (8)

* Cited by examiner, † Cited by third party
Publication number Priority date Publication date Assignee Title
JPH06326946A (ja) * 1993-05-13 1994-11-25 Agency Of Ind Science & Technol 眼球運動追従型視覚提示装置
WO2000020951A2 (en) * 1998-10-02 2000-04-13 Honeywell Inc. Hand held computer with see-through display
US6384983B1 (en) * 1999-11-19 2002-05-07 Mixed Realty Systems Laboratory Inc. Image display apparatus
JP2005049690A (ja) * 2003-07-30 2005-02-24 Canon Inc 画像表示光学系
JP2007127782A (ja) * 2005-11-02 2007-05-24 Konica Minolta Photo Imaging Inc 画像表示装置、表示システム
US20090153960A1 (en) * 2007-12-14 2009-06-18 Canon Kabushiki Kaisha Image display apparatus
JP2013025102A (ja) * 2011-07-21 2013-02-04 Olympus Corp 画像表示装置
JP2014225823A (ja) * 2013-05-17 2014-12-04 セイコーエプソン株式会社 虚像表示装置

Cited By (6)

* Cited by examiner, † Cited by third party
Publication number Priority date Publication date Assignee Title
WO2020040813A1 (en) * 2018-08-23 2020-02-27 Apple Inc. Electronic device with lens position sensing
US10823970B2 (en) 2018-08-23 2020-11-03 Apple Inc. Head-mounted electronic display device with lens position sensing
US11126004B2 (en) 2018-08-23 2021-09-21 Apple Inc. Head-mounted electronic display device with lens position sensing
US11726338B2 (en) 2018-08-23 2023-08-15 Apple Inc. Head-mounted electronic display device with lens position sensing
US12061345B2 (en) 2018-08-23 2024-08-13 Apple Inc. Head-mounted electronic display device with lens position sensing
US12422688B2 (en) 2018-08-23 2025-09-23 Apple Inc. Head-mounted electronic display device with lens position sensing

Also Published As

Publication number Publication date
JP2017026898A (ja) 2017-02-02
US20180364484A1 (en) 2018-12-20

Similar Documents

Publication Publication Date Title
US9116342B2 (en) Virtual image display apparatus
US9979936B2 (en) Virtual image display apparatus
CN102692707B (zh) 头部安装型显示装置
US9568731B2 (en) Virtual image display device
US20160238846A1 (en) Light guide prism and image display apparatus
US10168454B2 (en) Head-mounted display device
US10073273B2 (en) Virtual image display apparatus
JP7625456B2 (ja) 光学装置および表示装置
US10261322B2 (en) Virtual image display apparatus
KR101590825B1 (ko) 헤드 마운티드 디스플레이 장치용 복합 렌즈 및 이를 포함하는 디스플레이 장치
US12099188B2 (en) Optical system for generating a virtual image, and smartglasses
US10394028B2 (en) Virtual image display apparatus
JP2017120384A (ja) 虚像表示装置
US9921410B2 (en) Head-mounted display device
WO2017017924A1 (en) Image display device and optical element
WO2020026813A1 (ja) 表示装置
US11099395B2 (en) Virtual image display device
US10295829B2 (en) Optical element and display device
US11630305B2 (en) Attachable image display device and ocular optical system
JP2015179200A (ja) 虚像観察光学系及び虚像観察装置
JP6293773B2 (ja) 導光プリズム
JP6380620B2 (ja) 虚像表示装置
JP6238801B2 (ja) 虚像観察光学系及び虚像観察装置
JPWO2016185535A1 (ja) 導光プリズム及びこれを有する頭部装着型映像表示装置
JP2016180937A (ja) 導光光学系、頭部搭載型ディスプレイ及び導光光学系の製造方法

Legal Events

Date Code Title Description
121 Ep: the epo has been informed by wipo that ep was designated in this application

Ref document number: 16830032

Country of ref document: EP

Kind code of ref document: A1

NENP Non-entry into the national phase

Ref country code: DE

122 Ep: pct application non-entry in european phase

Ref document number: 16830032

Country of ref document: EP

Kind code of ref document: A1