WO2016170737A1 - 路面表示装置 - Google Patents

路面表示装置 Download PDF

Info

Publication number
WO2016170737A1
WO2016170737A1 PCT/JP2016/001786 JP2016001786W WO2016170737A1 WO 2016170737 A1 WO2016170737 A1 WO 2016170737A1 JP 2016001786 W JP2016001786 W JP 2016001786W WO 2016170737 A1 WO2016170737 A1 WO 2016170737A1
Authority
WO
WIPO (PCT)
Prior art keywords
light
road surface
ratio
display device
surface display
Prior art date
Legal status (The legal status is an assumption and is not a legal conclusion. Google has not performed a legal analysis and makes no representation as to the accuracy of the status listed.)
Ceased
Application number
PCT/JP2016/001786
Other languages
English (en)
French (fr)
Japanese (ja)
Inventor
林 邦彦
成宏 羽田
Current Assignee (The listed assignees may be inaccurate. Google has not performed a legal analysis and makes no representation or warranty as to the accuracy of the list.)
Denso Corp
Original Assignee
Denso Corp
Priority date (The priority date is an assumption and is not a legal conclusion. Google has not performed a legal analysis and makes no representation as to the accuracy of the date listed.)
Filing date
Publication date
Application filed by Denso Corp filed Critical Denso Corp
Priority to US15/567,854 priority Critical patent/US20180120686A1/en
Publication of WO2016170737A1 publication Critical patent/WO2016170737A1/ja
Anticipated expiration legal-status Critical
Ceased legal-status Critical Current

Links

Images

Classifications

    • GPHYSICS
    • G03PHOTOGRAPHY; CINEMATOGRAPHY; ANALOGOUS TECHNIQUES USING WAVES OTHER THAN OPTICAL WAVES; ELECTROGRAPHY; HOLOGRAPHY
    • G03BAPPARATUS OR ARRANGEMENTS FOR TAKING PHOTOGRAPHS OR FOR PROJECTING OR VIEWING THEM; APPARATUS OR ARRANGEMENTS EMPLOYING ANALOGOUS TECHNIQUES USING WAVES OTHER THAN OPTICAL WAVES; ACCESSORIES THEREFOR
    • G03B21/00Projectors or projection-type viewers; Accessories therefor
    • G03B21/14Details
    • G03B21/20Lamp housings
    • G03B21/2073Polarisers in the lamp house
    • BPERFORMING OPERATIONS; TRANSPORTING
    • B60VEHICLES IN GENERAL
    • B60QARRANGEMENT OF SIGNALLING OR LIGHTING DEVICES, THE MOUNTING OR SUPPORTING THEREOF OR CIRCUITS THEREFOR, FOR VEHICLES IN GENERAL
    • B60Q1/00Arrangement of optical signalling or lighting devices, the mounting or supporting thereof or circuits therefor
    • B60Q1/26Arrangement of optical signalling or lighting devices, the mounting or supporting thereof or circuits therefor the devices being primarily intended to indicate the vehicle, or parts thereof, or to give signals, to other traffic
    • B60Q1/50Arrangement of optical signalling or lighting devices, the mounting or supporting thereof or circuits therefor the devices being primarily intended to indicate the vehicle, or parts thereof, or to give signals, to other traffic for indicating other intentions or conditions, e.g. request for waiting or overtaking
    • GPHYSICS
    • G03PHOTOGRAPHY; CINEMATOGRAPHY; ANALOGOUS TECHNIQUES USING WAVES OTHER THAN OPTICAL WAVES; ELECTROGRAPHY; HOLOGRAPHY
    • G03BAPPARATUS OR ARRANGEMENTS FOR TAKING PHOTOGRAPHS OR FOR PROJECTING OR VIEWING THEM; APPARATUS OR ARRANGEMENTS EMPLOYING ANALOGOUS TECHNIQUES USING WAVES OTHER THAN OPTICAL WAVES; ACCESSORIES THEREFOR
    • G03B29/00Combinations of cameras, projectors or photographic printing apparatus with non-photographic non-optical apparatus, e.g. clocks or weapons; Cameras having the shape of other objects
    • HELECTRICITY
    • H04ELECTRIC COMMUNICATION TECHNIQUE
    • H04NPICTORIAL COMMUNICATION, e.g. TELEVISION
    • H04N9/00Details of colour television systems
    • H04N9/12Picture reproducers
    • H04N9/31Projection devices for colour picture display, e.g. using electronic spatial light modulators [ESLM]
    • H04N9/3141Constructional details thereof
    • H04N9/315Modulator illumination systems
    • H04N9/3167Modulator illumination systems for polarizing the light beam
    • HELECTRICITY
    • H04ELECTRIC COMMUNICATION TECHNIQUE
    • H04NPICTORIAL COMMUNICATION, e.g. TELEVISION
    • H04N9/00Details of colour television systems
    • H04N9/12Picture reproducers
    • H04N9/31Projection devices for colour picture display, e.g. using electronic spatial light modulators [ESLM]
    • H04N9/3179Video signal processing therefor
    • H04N9/3185Geometric adjustment, e.g. keystone or convergence
    • HELECTRICITY
    • H04ELECTRIC COMMUNICATION TECHNIQUE
    • H04NPICTORIAL COMMUNICATION, e.g. TELEVISION
    • H04N9/00Details of colour television systems
    • H04N9/12Picture reproducers
    • H04N9/31Projection devices for colour picture display, e.g. using electronic spatial light modulators [ESLM]
    • H04N9/3191Testing thereof
    • H04N9/3194Testing thereof including sensor feedback
    • BPERFORMING OPERATIONS; TRANSPORTING
    • B60VEHICLES IN GENERAL
    • B60QARRANGEMENT OF SIGNALLING OR LIGHTING DEVICES, THE MOUNTING OR SUPPORTING THEREOF OR CIRCUITS THEREFOR, FOR VEHICLES IN GENERAL
    • B60Q2400/00Special features or arrangements of exterior signal lamps for vehicles
    • B60Q2400/50Projected symbol or information, e.g. onto the road or car body
    • GPHYSICS
    • G03PHOTOGRAPHY; CINEMATOGRAPHY; ANALOGOUS TECHNIQUES USING WAVES OTHER THAN OPTICAL WAVES; ELECTROGRAPHY; HOLOGRAPHY
    • G03BAPPARATUS OR ARRANGEMENTS FOR TAKING PHOTOGRAPHS OR FOR PROJECTING OR VIEWING THEM; APPARATUS OR ARRANGEMENTS EMPLOYING ANALOGOUS TECHNIQUES USING WAVES OTHER THAN OPTICAL WAVES; ACCESSORIES THEREFOR
    • G03B21/00Projectors or projection-type viewers; Accessories therefor
    • G03B21/14Details
    • G03B21/20Lamp housings
    • G03B21/2006Lamp housings characterised by the light source
    • G03B21/2033LED or laser light sources

Definitions

  • This disclosure relates to a road surface display device.
  • Patent Document 1 A technique is known in which an optical object that reflects visible light of a specific frequency is provided on the road surface, and the visible light of a specific frequency is projected from the course prediction device mounted on the vehicle toward the optical object and displayed ( Patent Document 1).
  • one of the objects of the present disclosure is to provide a road surface display device that can perform display with high visibility.
  • a road surface display device includes a light projection unit that projects light toward a road surface and performs display using light on the road surface, and a polarization control unit that sets a ratio of P-polarized light and S-polarized light in the light. Prepare.
  • the road surface display device can set the ratio of P-polarized light and S-polarized light in the light. Thereby, the visibility of display is improved for pedestrians and the like.
  • FIG. 1 is a block diagram showing an electrical configuration of the road surface display device.
  • FIG. 2 is an explanatory diagram illustrating the configuration of the light projection unit.
  • FIG. 3 is an explanatory diagram showing the configuration of the polarizing plate.
  • FIG. 4 is an explanatory diagram illustrating an optical path of light projected by the light projection unit.
  • FIG. 5 is a flowchart showing processing executed by the road surface display device.
  • FIG. 6 is an explanatory diagram showing the first area and the second area.
  • FIG. 7 is a block diagram showing an electrical configuration of the light projection unit.
  • FIG. 8 is a perspective view illustrating the configuration of the polarizing plate holder.
  • FIG. 9 is a block diagram showing an electrical configuration of the light projection unit.
  • FIG. 10 is an explanatory diagram illustrating the configuration of the light projection unit.
  • FIG. 11 is an explanatory diagram showing the configuration of the 1 / 2 ⁇ plate.
  • FIG. 12 is a block diagram illustrating an electrical configuration of the light projection unit.
  • FIG. 13 is an explanatory diagram illustrating the configuration of the light projection unit.
  • FIG. 14 is a perspective view showing the configuration of the 1 ⁇ 2 ⁇ plate holder.
  • the road surface display device 1 is an in-vehicle device mounted on a vehicle.
  • the vehicle on which the road surface display device 1 is mounted is referred to as the own vehicle.
  • the road surface display device 1 includes a calculation unit 3, a camera 5, a light projection unit 7, and an input unit 9.
  • the calculation unit 3 is a known computer including a CPU, RAM, ROM, and the like.
  • the calculation unit 3 executes processing to be described later using a program stored in the ROM.
  • the calculation unit 3 controls each unit of the road surface display device 1.
  • the calculation unit 3 functionally includes a polarization control unit 11, a target position detection unit 13, a display image acquisition unit 15, and a light source control unit 17. The function of each unit will be described later.
  • the camera 5 is attached near the front end of the host vehicle, and captures the scenery in front of the host vehicle and creates image data.
  • the created image data is sent to the calculation unit 3.
  • the light projection unit 7 projects light toward the road surface ahead of the host vehicle, and displays the light on the road surface.
  • the light projection unit 7 includes an LED (light emitting diode) 19 that is a light source, a rotation unit 21, and a spatial modulator 23 as an electrical configuration.
  • the LED 19 emits visible light.
  • the rotation unit 21 sets the ratio of P-polarized light and S-polarized light (hereinafter referred to as P / S ratio) in the light emitted from the LED 19 together with the polarizing plate 25 described later. Details will be described later.
  • the LED 19 is an example of a circularly polarized light source. Instead of the LED 19, another circularly polarized light source may be used. Other circularly polarized light sources include, for example, halogen lamps, HIDs (high intensity discharge lamps), and the like.
  • the polarizing plate 25 for example, there is a type in which a minute slit is provided in a film and only polarized light parallel to the slit is allowed to pass.
  • the polarizing plate 25 can convert light that is not linearly polarized light (for example, circularly polarized light like a laser) into linearly polarized light.
  • the angle of the polarization plane depends on the angle of the polarizing plate 25.
  • a 1 ⁇ 4 ⁇ plate is used, it is preferably used in combination with a light source such as an LED or HID.
  • the spatial modulator 23 is a well-known digital mirror device (DMD).
  • DMD digital mirror device
  • the spatial modulator 23 spatially modulates the light emitted from the LED 19 to generate light that represents an image such as a character or a graphic.
  • the input unit 9 is provided in the passenger compartment of the host vehicle, and accepts driver input operations. Examples of the input operation include start and end of road surface display, selection of an image to be displayed on the road surface, and setting by manually inputting a P / S ratio.
  • the light projection unit 7 includes a polarizing plate 25.
  • the light 24 emitted from the LED 19 passes through the polarizing plate 25, is spatially modulated by the spatial modulator 23, and then is projected toward the road surface. That is, the polarizing plate 25 and the spatial modulator 23 are on the optical axis of the light 24.
  • the rotating unit 21 can rotate the polarizing plate 25 in the A direction or the B direction to change the angle of the polarizing plate 25.
  • the direction of this rotation is a direction in which the inclination of the optical axis 26 of the polarizing plate 25 changes with respect to the polarization direction of the light 24 incident on the polarizing plate 25.
  • the P / S ratio in the light 24 transmitted through the polarizing plate 25 varies depending on the angle of the polarizing plate 25. That is, depending on the angle of the polarizing plate 25, the P / S ratio in the light 24 transmitted through the polarizing plate 25 is a ratio that is substantially only P-polarized light or a ratio that is substantially only S-polarized light. .
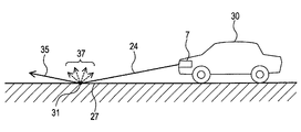
  • the P-polarized light is polarized light having a polarization plane in a direction perpendicular to the road surface when the road surface 27 (see FIG. 4) on which the light 24 projected by the light projection unit 7 is projected is used as an incident surface.
  • the S-polarized light is polarized light having a polarization plane perpendicular to the P-polarized light.
  • the rotation unit 21 is controlled by the polarization control unit 11 of the calculation unit 3. Therefore, the polarization control unit 11 controls the rotation unit 21 so that the P / S ratio in the light 24 transmitted through the polarizing plate 25 (that is, the light 24 incident on the road surface 27) is substantially only P-polarized light. It can be set to a certain ratio, or can be set to a ratio that is substantially only S-polarized light.
  • step 1 the target position detection unit 13 acquires an image of the front of the host vehicle using the camera 5.
  • step 2 the target position detection unit 13 executes processing for recognizing the target in the image acquired in step 1 by a known image recognition technique.
  • the target that is the recognition target is, for example, a pedestrian, a bicycle, another vehicle, or the like.
  • the target position detection unit 13 detects the position of the target recognized in step 2, and further determines whether or not the position of the target is within the first region 29.
  • the first region 29 is a region on the road surface 27 in front of the host vehicle 30, and the distance from the incident point 31 where the light 24 enters the road surface 27 is a predetermined value. It is an area that is within.
  • the position of the target can be detected based on the coordinates of the target in the vertical and horizontal directions in the image. Further, the position of the target may be detected using means such as a millimeter wave radar.
  • step 4 When the position of the target is within the first area 29, the process proceeds to step 4; otherwise (when the position of the target is outside the first area 29 or when the target is not recognized). Goes to step 7.
  • step 4 the polarization control unit 11 sets the P / S ratio in the light 24 incident on the road surface 27 to a ratio that is substantially only P-polarized light.
  • step 5 the display image acquisition unit 15 outputs information on an image to be displayed by the light 24 to the spatial modulator 23.
  • step 6 the light source control unit 17 turns on the LED 19 and projects light from the light projection unit 7 toward the road surface.
  • the light projected on the road surface displays the image output to the spatial modulator 23 in step 5 described above.
  • the P / S ratio in the light to be projected is a ratio that is substantially only P-polarized light when the process of step 4 is executed, and substantially S-polarized light when the process of step 8 described later is executed. The ratio is only.
  • step 7 the target position detection unit 13 detects the position of the target recognized in step 2, and further determines whether or not the target position is within the second region 33.
  • the second region 33 is a region on the road surface 27 and a region along the reflected light 35 in which the light 24 is reflected by the road surface 27.
  • step 8 the polarization control unit 11 sets the P / S ratio in the light 24 incident on the road surface 27 to a ratio that is substantially only S-polarized light.
  • the input unit 9 has a function of accepting an input of a P / S ratio by a user.
  • the polarization control unit 11 sets the P / S ratio in the light 24 so as to match the input P / S ratio.
  • the road surface display device 1 can set the P / S ratio in the light 24.
  • the P / S ratio in the light 24 is set to a ratio that is substantially only P-polarized light
  • the light 24 is mainly scattered and reflected to generate scattered light 37 as shown in FIG.
  • the scattered light 37 is light that is easy to see for a target in the first region 29 close to the incident point 31. Therefore, the road surface display device 1 can perform display that is easy to see for the target in the first region 29 by setting the P / S ratio in the light 24 to a ratio that is substantially only P-polarized light.
  • the road surface display device 1 can perform display that is easy to see for the target in the second region 33 by setting the P / S ratio in the light 24 to a ratio that is substantially only S-polarized light.
  • the road surface display device 1 detects the position of the target and sets the P / S ratio according to the position of the target. Thereby, it is possible to perform easy-to-see display according to the position of the target.
  • the road surface display device 1 includes an LED 19 as a light source, and sets a P / S ratio using a polarizing plate 25. As a result, the P / S ratio can be set with a simple configuration.
  • the road surface display device 1 sets the P / S ratio by rotating the polarizing plate 25. As a result, the P / S ratio can be set with a simple configuration.
  • the road surface display device 1 can project light that represents an image (for example, a character or a graphic) onto the road surface and display the image on the road surface.
  • an image for example, a character or a graphic
  • the light projection unit 107 includes an exchange unit 39.
  • the light projection unit 107 includes a polarizing plate holder 40 shown in FIG.
  • the polarizing plate holder 40 includes two polarizing plates 41 and 43 and a frame 45 that holds them.
  • the optical axis 47 of the polarizing plate 41 and the optical axis 49 of the polarizing plate 43 are shifted by 90 degrees.
  • the P / S ratio of the light 24 transmitted through the polarizing plate 41 is substantially a ratio of only P-polarized light.
  • the P / S ratio of the light 24 transmitted through the polarizing plate 43 is a ratio that is substantially only S-polarized light.
  • the polarizing plates 41 and 43 are an example of a group of polarizing plates having different optical axis directions.
  • the exchange unit 39 can slide the polarizing plate holder 40 in the C direction or the D direction in FIG.
  • the polarizing plate 43 is on the optical axis of the light 24, and the polarizing plate 41 is off the optical axis of the light 24.
  • the P / S ratio of the light 24 transmitted through the polarizing plate 43 is substantially a ratio of only S-polarized light.
  • the exchange unit 39 slides the polarizing plate holder 40 in the D direction, the polarizing plate 41 is on the optical axis of the light 24 and the polarizing plate 43 is off the optical axis of the light 24.
  • the P / S ratio of the light 24 transmitted through the polarizing plate 41 is substantially a ratio of only P-polarized light. That is, the exchange unit 39 can select a polarizing plate located on the optical axis of the light 24 from the polarizing plates 41 and 43.
  • the exchange unit 39 is controlled by the polarization control unit 11 of the calculation unit 3. Therefore, the polarization control unit 11 controls the exchange unit 39 and slides the polarizing plate holder 40 in the C direction or the D direction, so that the P / S ratio in the light 24 incident on the road surface 27 is substantially equal to P. It can be set to a ratio that is only polarized light, or can be set to a ratio that is substantially only S-polarized light.
  • the road surface display device 1 sets the P / S ratio by selecting a polarizing plate located on the optical axis of the light 24 from the polarizing plates 41 and 43 having different optical axes. As a result, the P / S ratio can be set with a simple configuration.
  • the light projection unit 207 includes an LD (laser diode) 51 as a light source.
  • the light projection unit 207 includes a 1 ⁇ 2 ⁇ plate 53 on the optical axis of the light 24.
  • the light 24 emitted from the LD 51 passes through the 1 ⁇ 2 ⁇ plate 53, is spatially modulated by the spatial modulator 23, and then is projected toward the road surface.
  • the LD 51 is an example of a linearly polarized light source.
  • a light source other than the LD 51 may be used as a linearly polarized light source.
  • the 1 ⁇ 2 ⁇ plate 53 is a plate made of a material that generates birefringence such as quartz or mica, and the birefringence component causes a phase delay of half the wavelength of the light emitted by the LD 51. It is a plate whose thickness is adjusted.
  • the 1 / 2 ⁇ plate 53 can change the polarization angle of linearly polarized light.
  • the rotation unit 21 can rotate the 1 ⁇ 2 ⁇ plate 53 in the A direction or the B direction to change the angle of the 1 ⁇ 2 ⁇ plate 53.
  • the direction of this rotation is a direction in which the inclination of the optical axis 55 of the 1 / 2 ⁇ plate 53 changes with respect to the polarization direction of the light 24 incident on the 1 / 2 ⁇ plate 53.
  • the P / S ratio in the light 24 transmitted through the 1 / 2 ⁇ plate 53 changes. That is, depending on the angle of the 1 ⁇ 2 ⁇ plate 53, the P / S ratio in the light 24 transmitted through the 1 ⁇ 2 ⁇ plate 53 is also a ratio that is substantially only P-polarized light, or is substantially only S-polarized light. It also becomes a ratio.
  • the rotation unit 21 is controlled by the polarization control unit 11 of the calculation unit 3. Therefore, the polarization control unit 11 controls the rotation unit 21 to substantially change the P / S ratio in the light 24 transmitted through the 1 ⁇ 2 ⁇ plate 53 (that is, the light 24 incident on the road surface 27) to P polarization. It is also possible to set a ratio that is only S-polarized light, or a ratio that is substantially only S-polarized light.
  • the road surface display device 1 includes an LD 51 as a light source, and sets a P / S ratio using a 1 / 2 ⁇ plate 53. As a result, the P / S ratio can be set with a simple configuration.
  • the road surface display device 1 sets the P / S ratio by rotating the 1 ⁇ 2 ⁇ plate 53. As a result, the P / S ratio can be set with a simple configuration.
  • the light projection unit 307 includes an LD 51 as a light source and an exchange unit 39. As shown in FIG. 13, the light projection unit 307 includes 1 ⁇ 2 ⁇ plates 57 and 59. The light 24 emitted from the LD 51 passes through one of the 1 ⁇ 2 ⁇ plates 57 and 59, is spatially modulated by the spatial modulator 23, and then is projected toward the road surface.
  • the light projection unit 307 includes a 1 / 2 ⁇ plate holder 61 shown in FIG.
  • the 1 / 2 ⁇ plate holder 61 includes two 1 / 2 ⁇ plates 57 and 59 and a frame 63 for holding them.
  • the optical axis 65 of the 1 ⁇ 2 ⁇ plate 57 and the optical axis 67 of the 1 ⁇ 2 ⁇ plate 59 are shifted by 45 degrees.
  • the P / S ratio of the light 24 transmitted through the 1 ⁇ 2 ⁇ plate 57 is substantially a ratio of only P-polarized light.
  • the P / S ratio of the light 24 transmitted through the 1 ⁇ 2 ⁇ plate 59 is a ratio that is substantially only S-polarized light.
  • the 1 / 2 ⁇ plates 57 and 59 are an example of a group of 1 / 2 ⁇ plates having different optical axis directions.
  • the exchange unit 39 can slide the 1 / 2 ⁇ plate holder 61 in the C direction or the D direction in FIG.
  • the 1 / 2 ⁇ plate holder 61 slides the 1 / 2 ⁇ plate holder 61 in the C direction
  • the 1 / 2 ⁇ plate 59 is on the optical axis of the light 24 and the 1 / 2 ⁇ plate 57 is off the optical axis of the light 24.
  • the P / S ratio of the light 24 transmitted through the 1 ⁇ 2 ⁇ plate 59 is substantially a ratio of only S-polarized light.
  • the exchange unit 39 slides the 1 / 2 ⁇ plate holder 61 in the D direction, the 1 / 2 ⁇ plate 57 is on the optical axis of the light 24 and the 1 / 2 ⁇ plate 59 is off the optical axis of the light 24. .
  • the P / S ratio of the light 24 transmitted through the 1 / 2 ⁇ plate 57 is substantially a ratio of only P-polarized light. That is, the exchange unit 39 can select a 1 / 2 ⁇ plate located on the optical axis of the light 24 from the 1 / 2 ⁇ plates 57 and 59.
  • the exchange unit 39 is controlled by the polarization control unit 11 of the calculation unit 3. Therefore, the polarization control unit 11 controls the exchange unit 39 and slides the 1 ⁇ 2 ⁇ plate holder 61 in the C direction or the D direction, thereby substantially reducing the P / S ratio in the light 24 incident on the road surface 27. It is also possible to set a ratio that is only P-polarized light, or a ratio that is substantially only S-polarized light.
  • the road surface display device 1 includes an LD 51 as a light source, and sets the P / S ratio using the 1 / 2 ⁇ plates 57 and 59. As a result, the P / S ratio can be set with a simple configuration.
  • the road surface display device 1 selects the 1 ⁇ 2 ⁇ plate located on the optical axis of the light 24 from the 1 ⁇ 2 ⁇ plates 57 and 59 having different optical axis directions, whereby the P / S ratio is selected. Set. As a result, the P / S ratio can be set with a simple configuration. ⁇ Other embodiments> As mentioned above, although embodiment was illustrated, embodiment can take a various form, without being limited to the said embodiment.
  • the P / S ratio set by the polarization control unit 11 may substantially include both P-polarized light and S-polarized light.
  • the P / S ratio is set to a ratio that includes 80% P-polarized light and 20% S-polarized light, and in step 8, the ratio includes 20% P-polarized light and 80% S-polarized light. May be set.
  • the light projected on the road surface does not display images such as characters and figures (for example, light having uniform illuminance and color regardless of position). Also good.
  • the polarizing plate holder 40 may hold three or more polarizing plates. In this case, by sliding the polarizing plate holder 40, one polarizing plate located on the optical axis of the light 24 can be selected from the group of three or more polarizing plates.
  • the 1 / 2 ⁇ plate holder 61 may hold three or more 1 / 2 ⁇ plates. In this case, by sliding the 1 / 2 ⁇ plate holder 61, one 1 / 2 ⁇ plate located on the optical axis of the light 24 is selected from the group of three or more 1 / 2 ⁇ plates. Can do.
  • a liquid crystal panel, a galvano scanner, or the like may be used as the spatial modulator 23 instead of the DMD.
  • the exchange unit 39 may select one polarizing plate located on the optical axis of the light 24 by rotating the polarizing plate holder 40.
  • the exchange unit 39 may select one 1 ⁇ 2 ⁇ plate positioned on the optical axis of the light 24 by rotating the 1 ⁇ 2 ⁇ plate holder 61. .
  • the setting method of the first region 29 and the second region 33 can be appropriately selected.
  • the first area 29 can be set as in the first embodiment, and all other areas can be set as the second area 33.
  • the second area 33 can be set as in the first embodiment, and all other areas can be set as the first area 29.
  • the processing when a negative determination is made in step 7 may be other.
  • the display may be performed.
  • the P / S ratio of the light 24 can be set as appropriate.
  • it may be a ratio that is substantially only P-polarized light, a ratio that is substantially only S-polarized light, or an intermediate ratio between them.
  • the functions of one component in the above embodiment may be distributed as a plurality of components, or the functions of a plurality of components may be integrated into one component. Further, at least a part of the configuration of the above embodiment may be replaced with a configuration having the same function. Moreover, you may abbreviate

Landscapes

  • Engineering & Computer Science (AREA)
  • Physics & Mathematics (AREA)
  • Multimedia (AREA)
  • Signal Processing (AREA)
  • General Physics & Mathematics (AREA)
  • Mechanical Engineering (AREA)
  • Geometry (AREA)
  • Lighting Device Outwards From Vehicle And Optical Signal (AREA)
  • Optics & Photonics (AREA)
PCT/JP2016/001786 2015-04-24 2016-03-28 路面表示装置 Ceased WO2016170737A1 (ja)

Priority Applications (1)

Application Number Priority Date Filing Date Title
US15/567,854 US20180120686A1 (en) 2015-04-24 2016-03-28 Road surface displaying device

Applications Claiming Priority (2)

Application Number Priority Date Filing Date Title
JP2015-089407 2015-04-24
JP2015089407A JP6350378B2 (ja) 2015-04-24 2015-04-24 路面表示装置

Publications (1)

Publication Number Publication Date
WO2016170737A1 true WO2016170737A1 (ja) 2016-10-27

Family

ID=57142999

Family Applications (1)

Application Number Title Priority Date Filing Date
PCT/JP2016/001786 Ceased WO2016170737A1 (ja) 2015-04-24 2016-03-28 路面表示装置

Country Status (3)

Country Link
US (1) US20180120686A1 (enExample)
JP (1) JP6350378B2 (enExample)
WO (1) WO2016170737A1 (enExample)

Cited By (2)

* Cited by examiner, † Cited by third party
Publication number Priority date Publication date Assignee Title
CN108162957A (zh) * 2017-12-21 2018-06-15 苏州视由谱光电科技有限公司 一种汽车投射图案系统及其投射方法
EP3537032A1 (en) * 2018-03-05 2019-09-11 Stanley Electric Co., Ltd. Lighting tool for vehicle

Families Citing this family (3)

* Cited by examiner, † Cited by third party
Publication number Priority date Publication date Assignee Title
JP7442948B2 (ja) * 2021-10-18 2024-03-05 矢崎総業株式会社 車外表示装置
KR20230168859A (ko) * 2022-06-08 2023-12-15 현대모비스 주식회사 자동차 조명 장치 및 그 작동 방법
JP2025128920A (ja) * 2024-02-22 2025-09-03 マクセル株式会社 情報投射方法、および、情報投射装置

Citations (4)

* Cited by examiner, † Cited by third party
Publication number Priority date Publication date Assignee Title
JPH10122833A (ja) * 1996-10-15 1998-05-15 Asahi Optical Co Ltd 表面測定装置
JP2003231438A (ja) * 2002-02-07 2003-08-19 Toyota Motor Corp 車両運転支援装置および車両運転支援システム
JP2005161977A (ja) * 2003-12-02 2005-06-23 Honda Motor Co Ltd 車両用走行支援装置
JP2014010089A (ja) * 2012-06-29 2014-01-20 Ricoh Co Ltd 測距装置

Patent Citations (4)

* Cited by examiner, † Cited by third party
Publication number Priority date Publication date Assignee Title
JPH10122833A (ja) * 1996-10-15 1998-05-15 Asahi Optical Co Ltd 表面測定装置
JP2003231438A (ja) * 2002-02-07 2003-08-19 Toyota Motor Corp 車両運転支援装置および車両運転支援システム
JP2005161977A (ja) * 2003-12-02 2005-06-23 Honda Motor Co Ltd 車両用走行支援装置
JP2014010089A (ja) * 2012-06-29 2014-01-20 Ricoh Co Ltd 測距装置

Cited By (3)

* Cited by examiner, † Cited by third party
Publication number Priority date Publication date Assignee Title
CN108162957A (zh) * 2017-12-21 2018-06-15 苏州视由谱光电科技有限公司 一种汽车投射图案系统及其投射方法
EP3537032A1 (en) * 2018-03-05 2019-09-11 Stanley Electric Co., Ltd. Lighting tool for vehicle
US10697605B2 (en) 2018-03-05 2020-06-30 Stanley Electric Co., Ltd. Lighting tool for vehicle

Also Published As

Publication number Publication date
US20180120686A1 (en) 2018-05-03
JP2016203856A (ja) 2016-12-08
JP6350378B2 (ja) 2018-07-04

Similar Documents

Publication Publication Date Title
JP6350378B2 (ja) 路面表示装置
JP2019200432A (ja) 映像投射装置
US20150296150A1 (en) Combined visible and non-visible projection system
KR102071155B1 (ko) 차량용 표시 장치 및 차량용 표시 방법
JPWO2017094427A1 (ja) ヘッドアップディスプレイ
JP2008230364A (ja) 前照灯制御装置
CN106232422A (zh) 前照灯控制装置
WO2016170966A1 (ja) 光源装置、投射型表示装置および表示システム
US10768884B2 (en) Communication apparatus, display apparatus, control method thereof, storage medium, and display system for configuring multi-display settings
US9785267B2 (en) Display apparatus, display system, and control method
WO2016013167A1 (ja) 車両用表示制御装置
US9841847B2 (en) Projection device and projection method, for projecting a first image based on a position of a moving object and a second image without depending on the position
JP4590858B2 (ja) 書き込み可能プロジェクタおよび光ポインタ
JP6766716B2 (ja) 情報処理装置、画像表示プログラム、画像表示方法および表示システム
US20150156447A1 (en) Curved display apparatus for vehicle
JP2013083985A (ja) 投影装置、投影方法及びプログラム
JP2015049272A (ja) 投射型表示装置
JP2005165140A (ja) プロジェクタ、プロジェクタの焦点自動調整システム、プロジェクタの焦点自動調整方法
JP6171502B2 (ja) プロジェクタおよびプロジェクタ機能を有する電子機器
JP2016164704A (ja) 画像表示装置および画像表示システム
US10712841B2 (en) Display control device, display control system, display control method, and storage medium having stored thereon display control program
JP2008216351A (ja) 投影装置、投影方法及びプログラム
WO2016147236A1 (ja) 照明装置
JP6607128B2 (ja) 虚像表示装置、虚像表示方法および制御プログラム
US20250080702A1 (en) Control device, control method, control program, and system

Legal Events

Date Code Title Description
121 Ep: the epo has been informed by wipo that ep was designated in this application

Ref document number: 16782765

Country of ref document: EP

Kind code of ref document: A1

WWE Wipo information: entry into national phase

Ref document number: 15567854

Country of ref document: US

NENP Non-entry into the national phase

Ref country code: DE

122 Ep: pct application non-entry in european phase

Ref document number: 16782765

Country of ref document: EP

Kind code of ref document: A1