WO2016152139A1 - 過給装置 - Google Patents

過給装置 Download PDF

Info

Publication number
WO2016152139A1
WO2016152139A1 PCT/JP2016/001622 JP2016001622W WO2016152139A1 WO 2016152139 A1 WO2016152139 A1 WO 2016152139A1 JP 2016001622 W JP2016001622 W JP 2016001622W WO 2016152139 A1 WO2016152139 A1 WO 2016152139A1
Authority
WO
WIPO (PCT)
Prior art keywords
back surface
shaft
compressor wheel
bearing
supercharging device
Prior art date
Legal status (The legal status is an assumption and is not a legal conclusion. Google has not performed a legal analysis and makes no representation as to the accuracy of the status listed.)
Ceased
Application number
PCT/JP2016/001622
Other languages
English (en)
French (fr)
Japanese (ja)
Inventor
智之 石塚
雄太 長谷部
陽一 金子
裕紀 藤井
Current Assignee (The listed assignees may be inaccurate. Google has not performed a legal analysis and makes no representation or warranty as to the accuracy of the list.)
Denso Corp
Original Assignee
Denso Corp
Priority date (The priority date is an assumption and is not a legal conclusion. Google has not performed a legal analysis and makes no representation as to the accuracy of the date listed.)
Filing date
Publication date
Application filed by Denso Corp filed Critical Denso Corp
Priority to DE112016001380.9T priority Critical patent/DE112016001380T5/de
Publication of WO2016152139A1 publication Critical patent/WO2016152139A1/ja
Anticipated expiration legal-status Critical
Ceased legal-status Critical Current

Links

Images

Classifications

    • FMECHANICAL ENGINEERING; LIGHTING; HEATING; WEAPONS; BLASTING
    • F02COMBUSTION ENGINES; HOT-GAS OR COMBUSTION-PRODUCT ENGINE PLANTS
    • F02BINTERNAL-COMBUSTION PISTON ENGINES; COMBUSTION ENGINES IN GENERAL
    • F02B33/00Engines characterised by provision of pumps for charging or scavenging
    • F02B33/32Engines with pumps other than of reciprocating-piston type
    • F02B33/34Engines with pumps other than of reciprocating-piston type with rotary pumps
    • F02B33/40Engines with pumps other than of reciprocating-piston type with rotary pumps of non-positive-displacement type
    • FMECHANICAL ENGINEERING; LIGHTING; HEATING; WEAPONS; BLASTING
    • F02COMBUSTION ENGINES; HOT-GAS OR COMBUSTION-PRODUCT ENGINE PLANTS
    • F02BINTERNAL-COMBUSTION PISTON ENGINES; COMBUSTION ENGINES IN GENERAL
    • F02B39/00Component parts, details, or accessories relating to, driven charging or scavenging pumps, not provided for in groups F02B33/00 - F02B37/00
    • F02B39/02Drives of pumps; Varying pump drive gear ratio
    • F02B39/08Non-mechanical drives, e.g. fluid drives having variable gear ratio
    • F02B39/10Non-mechanical drives, e.g. fluid drives having variable gear ratio electric
    • FMECHANICAL ENGINEERING; LIGHTING; HEATING; WEAPONS; BLASTING
    • F04POSITIVE - DISPLACEMENT MACHINES FOR LIQUIDS; PUMPS FOR LIQUIDS OR ELASTIC FLUIDS
    • F04DNON-POSITIVE-DISPLACEMENT PUMPS
    • F04D25/00Pumping installations or systems
    • F04D25/02Units comprising pumps and their driving means
    • F04D25/06Units comprising pumps and their driving means the pump being electrically driven
    • FMECHANICAL ENGINEERING; LIGHTING; HEATING; WEAPONS; BLASTING
    • F04POSITIVE - DISPLACEMENT MACHINES FOR LIQUIDS; PUMPS FOR LIQUIDS OR ELASTIC FLUIDS
    • F04DNON-POSITIVE-DISPLACEMENT PUMPS
    • F04D29/00Details, component parts, or accessories
    • F04D29/08Sealings
    • F04D29/10Shaft sealings
    • F04D29/102Shaft sealings especially adapted for elastic fluid pumps
    • FMECHANICAL ENGINEERING; LIGHTING; HEATING; WEAPONS; BLASTING
    • F04POSITIVE - DISPLACEMENT MACHINES FOR LIQUIDS; PUMPS FOR LIQUIDS OR ELASTIC FLUIDS
    • F04DNON-POSITIVE-DISPLACEMENT PUMPS
    • F04D29/00Details, component parts, or accessories
    • F04D29/26Rotors specially for elastic fluids
    • F04D29/28Rotors specially for elastic fluids for centrifugal or helico-centrifugal pumps for radial-flow or helico-centrifugal pumps
    • F04D29/284Rotors specially for elastic fluids for centrifugal or helico-centrifugal pumps for radial-flow or helico-centrifugal pumps for compressors

Definitions

  • the present disclosure relates to a supercharging device that supercharges intake air supplied to an engine (internal combustion engine).
  • an engine internal combustion engine
  • a surface of the compressor wheel close to the bearing is referred to as a back surface
  • a surface far from the bearing is referred to as a surface
  • a direction in which the central axis of the shaft extends is referred to as an axial direction.
  • Patent Document 1 a supercharging device in which a compressor wheel is fixed to a free end side of a shaft is known (for example, see Patent Document 1).
  • the supercharging device of Patent Document 1 is an electric supercharger that combines a centrifugal intake compressor and an electric motor, and a shaft to which a compressor wheel is fixed is an output shaft of the electric motor, and two or more bearings Is rotatably supported by.
  • a seal portion is provided between the housing that supports the bearing and the shaft to prevent dust and the like from entering the bearing from around the axis of the compressor wheel.
  • the electric supercharger has been described above as an example, the same problem occurs in the turbocharger. Specifically, in the case of an electric supercharger, it is necessary to increase the primary resonance frequency in order to increase the rotation speed of the shaft. On the other hand, in the case of a turbocharger, it is desired to increase the third-order resonance frequency in the overhang range in order to increase the shaft rotation and improve safety. As described above, it is effective to shorten the overhang in order to increase the third-order resonance frequency, but the overhang becomes longer due to the seal portion, and it becomes difficult to increase the third-order resonance frequency. Yes.
  • the present disclosure has been made in view of the above problems, and an object thereof is to provide a supercharging device capable of shortening an overhang even in a structure in which a seal portion is interposed between a bearing and a compressor wheel. .
  • one aspect of the present disclosure employs a configuration in which a concave portion is provided on the back surface of the compressor wheel so that the concave portion and the seal portion overlap in the axial direction.
  • the supercharging device when the supercharging pressure of the supercharging device is made equal to the conventional one, the supercharging device can be downsized. In other words, by adopting this aspect, it becomes possible to increase the output or reduce the size of a supercharger (electric supercharger or turbocharger) using a centrifugal intake compressor.
  • a supercharger electric supercharger or turbocharger
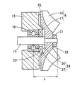
  • FIG. 2A is a main part sectional view of the supercharging device of the first embodiment
  • FIG. 2B is a main part sectional view of the conventional supercharging device.
  • It is principal part sectional drawing of a supercharging apparatus (Example 2).
  • Example 3 which is principal part sectional drawing of a supercharging device.
  • Example 4 which is principal part sectional drawing of a supercharging device.
  • Example 1 An electric supercharger 2 is mounted on an engine 1 for vehicle travel (an internal combustion engine that generates rotational power by burning fuel, regardless of the type of fuel or the engine type).
  • the engine 1 includes an intake passage 3 that guides intake air into the engine cylinder.
  • the electric supercharger 2 includes a centrifugal intake compressor 4 disposed in the middle of the intake passage 3 and an electric motor 5 that drives the intake compressor 4.
  • the intake compressor 4 includes a compressor wheel 6 that is driven by the rotational force generated by the electric motor 5 to pressurize the intake air, and a spiral compressor casing 7 that is interposed in the intake passage 3 and accommodates the compressor wheel 6. .
  • the electric motor 5 is a well-known electric motor that converts electric power into rotational output, and the specific model is not limited, but a three-phase squirrel-cage induction motor or the like is used as an example.
  • the electric motor 5 is energized and controlled by a known control device 10.
  • the control device 10 controls the electric motor 5 by controlling an inverter 12 that converts DC power supplied from a power source 11 (such as an in-vehicle battery or an alternator) into AC, and a switching state of the inverter 12.
  • ECU13 which changes arbitrarily the voltage and frequency which are given.
  • the ECU 13 is an engine control unit that performs fuel injection control of the engine 1, and controls the number of revolutions of the electric motor 5 via the inverter 12 according to the operating state of the engine 1, thereby depending on the operating state of the engine 1. Generate a supercharging pressure.
  • the electric motor 5 includes, as a mechanical structure, a shaft 14 that is rotatably supported, a rotor that rotates integrally with the shaft 14, a stator that rotates in cooperation with the rotor, a rotor and a stator. And a housing 15 for housing the housing.
  • the housing 15 includes two bearings 16 spaced apart in the axial direction. In FIG. 2, only the bearing 16 on the side close to the compressor wheel 6 is shown.
  • the bearing 16 supported by the housing 15 is for rotatably supporting the shaft 14 and may be a rolling bearing such as a ball bearing or a metal bearing that supports the shaft 14 by sliding. good.
  • the shaft 14 includes a portion that protrudes to the outside of the housing 15 (hereinafter referred to as a shaft protruding portion).
  • the shaft protrusion is a portion where the compressor wheel 6 is assembled, and is provided with a male screw and a step for coupling the compressor wheel 6.
  • the male screw is provided at the tip of the shaft protrusion (the right end portion in FIG. 2A).
  • the step is provided on the housing 15 side (left side of FIG. 2A) from the male screw, and the male screw side (right side of FIG. 2A) is provided with a small diameter from the step.
  • the shaft 14 on the left side of the figure from the step is referred to as a large diameter shaft, and the shaft 14 on the right side of the figure from the step is referred to as a small diameter shaft.
  • the compressor wheel 6 is manufactured by metal cutting or the like (not limited), and includes a base portion 17 having a substantially conical shape and a plurality of compressor blades 18 that drive intake air by rotation. Further, a through hole for attaching the compressor wheel 6 to the shaft 14 is formed at the center of the compressor wheel 6.
  • a wheel-side step that is in pressure contact with the step in the axial direction is provided, and the surface side (the right side in FIG. 2A) is provided with a smaller diameter than the wheel-side step.
  • the through hole on the left side of the figure from the wheel side step is referred to as a large diameter hole
  • the through hole on the right side of the figure from the wheel side step is referred to as a small diameter hole.
  • at least one of the “large diameter shaft and large diameter hole” or the “small diameter shaft and small diameter hole” is provided to have substantially the same diameter so that the shaft 14 and the axis of the compressor wheel 6 coincide with each other.
  • a screw seat surface 22 that receives a fastening force from a nut 21 that is screwed to the tip of the shaft 14 is provided at the center of the front surface side of the compressor wheel 6.
  • the screw seat surface 22 is a flat portion perpendicular to the axial direction, and is provided on the top of the base portion 17.
  • the compressor wheel 6 is assembled to the shaft protruding portion of the shaft 14, and the nut 21 is fastened to the male screw at the tip of the shaft 14, so that the compressor wheel 6 is coupled to the shaft 14.
  • the electric supercharger 2 is an example of a supercharging device. As described above, the shaft 14 that is rotationally driven, the bearing 16 that rotatably supports the shaft 14, and the housing 15 that supports the bearing 16, And the compressor wheel 6 fixed to the free end side of the shaft 14 from the bearing 16.
  • the electric supercharger 2 employs a structure in which the shaft 14 and the housing 15 are sealed by a seal portion 23 disposed on the compressor wheel 6 side (right side in the drawing) from the bearing 16. That is, the seal portion 23 is disposed between the housing 15 and the shaft 14 to prevent foreign matters such as dust from entering the bearing 16 from around the axis of the compressor wheel 6.
  • the seal portion 23 is a well-known one such as a lip seal or dust seal, and does not limit the structure or the like.
  • the seal portion 23 is disposed between the bearing 16 and the compressor wheel 6, so that the overhang L becomes long and the primary resonance in the overhang range. It was an impediment to increasing the frequency.
  • the center portion of the back surface of the compressor wheel 6 is recessed toward the front surface side as compared with the periphery of the back surface.
  • a configuration is adopted in which a concave portion 24 is provided and the concave portion 24 and the seal portion 23 are overlapped in the axial direction.
  • the surface on the outer diameter side from the recess 24 is referred to as an outer peripheral back surface 25.
  • the surface of the recess 24 that is closest to the front surface (the right side in the drawing) is the bottom surface 26, and the surface of the recess 24 that extends from the outer peripheral back surface 25 to the bottom surface 26 is the annular wall 27.
  • the concave portion 24 of the first embodiment is provided in a round hole-shaped recess when the compressor wheel 6 is viewed from the back side (not limited).
  • the bottom surface 26 is provided in a plane perpendicular to the axial direction, and the annular wall 27 is provided on a cylindrical surface.
  • the housing 15 at the place that supports the periphery of the seal portion 23 is provided with a convex portion 28 that bulges toward the compressor wheel 6 side (the right side in the drawing).
  • the seal portion 23 is disposed inside the convex portion 28. That is, in the first embodiment, the seal portion 23 and the convex portion 28 are provided so as to overlap the concave portion 24 provided on the back surface of the compressor wheel 6 in the axial direction.
  • the shape of the convex portion 28 is provided on a conical surface that is reduced in diameter toward the right side of FIG. 2A, but it is not limited thereto.
  • the electric supercharger 2 employs a configuration in which the concave portion 24 is provided on the back surface of the compressor wheel 6 so that the concave portion 24 and the seal portion 23 overlap in the axial direction.
  • the overhang L can be shortened.
  • the primary resonance frequency of the rotating component in the overhang range can be increased, and the shaft 14 and the compressor wheel 6 can be rotated at a high speed.
  • the supercharging pressure of the electric supercharger 2 can be increased, and the output of the engine 1 can be increased.
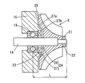
  • Example 2 A second embodiment will be described with reference to FIG. In the following embodiments, the same reference numerals as those in the first embodiment denote the same functional objects.
  • the annular wall 27 of the recess 24 is provided on the cylindrical surface is shown.
  • both the corner portion 27a that is the boundary portion between the outer peripheral back surface 25 and the annular wall 27 and the corner portion 27b that is the boundary portion between the annular wall 27 and the bottom surface 26 are connected from the bottom surface 26 to the outer peripheral back surface.
  • FIG. 3 shows an example in which the tapered surface of the corner portion 27a and the tapered surface of the corner portion 27b are provided continuously, but the tapered surface of the corner portion 27a and the tapered surface of the corner portion 27b are independent (non-continuous). It may be an inclined surface).
  • each of the corner portion 27a and the corner portion 27b is provided on a curved surface that spreads from the bottom surface 26 side toward the outer peripheral back surface 25 direction.
  • the curved surface may be an R surface (arc surface) with a constant curvature, or a cross section with a non-constant curvature may be a curved surface such as an ellipse or a parabola.
  • the present disclosure may be applied to a turbocharger that drives the intake compressor 4 by the exhaust pressure of the engine 1.
  • the third-order resonance frequency in the overhang range can be increased by shortening the overhang L.

Landscapes

  • Engineering & Computer Science (AREA)
  • Mechanical Engineering (AREA)
  • General Engineering & Computer Science (AREA)
  • Chemical & Material Sciences (AREA)
  • Combustion & Propulsion (AREA)
  • Supercharger (AREA)
  • Structures Of Non-Positive Displacement Pumps (AREA)
PCT/JP2016/001622 2015-03-23 2016-03-21 過給装置 Ceased WO2016152139A1 (ja)

Priority Applications (1)

Application Number Priority Date Filing Date Title
DE112016001380.9T DE112016001380T5 (de) 2015-03-23 2016-03-21 Aufladevorrichtung

Applications Claiming Priority (2)

Application Number Priority Date Filing Date Title
JP2015-060164 2015-03-23
JP2015060164A JP2016180337A (ja) 2015-03-23 2015-03-23 過給装置

Publications (1)

Publication Number Publication Date
WO2016152139A1 true WO2016152139A1 (ja) 2016-09-29

Family

ID=56977049

Family Applications (1)

Application Number Title Priority Date Filing Date
PCT/JP2016/001622 Ceased WO2016152139A1 (ja) 2015-03-23 2016-03-21 過給装置

Country Status (3)

Country Link
JP (1) JP2016180337A (enExample)
DE (1) DE112016001380T5 (enExample)
WO (1) WO2016152139A1 (enExample)

Cited By (1)

* Cited by examiner, † Cited by third party
Publication number Priority date Publication date Assignee Title
WO2018179144A1 (ja) * 2017-03-29 2018-10-04 三菱重工業株式会社 電動過給機

Families Citing this family (3)

* Cited by examiner, † Cited by third party
Publication number Priority date Publication date Assignee Title
JP6899232B2 (ja) * 2017-03-07 2021-07-07 三菱重工業株式会社 電動過給機
DE112018003072T5 (de) * 2017-06-16 2020-02-27 Ihi Corporation Laufrad aus FK für Fahrzeugturbolader
WO2024217662A1 (en) * 2023-04-18 2024-10-24 Pierburg Pump Technology Gmbh Electric gas flow-pump

Citations (5)

* Cited by examiner, † Cited by third party
Publication number Priority date Publication date Assignee Title
JPS56138499A (en) * 1980-04-01 1981-10-29 Toyota Motor Corp Compressor structure for turbocharger
JPS58113599A (ja) * 1981-12-28 1983-07-06 Hitachi Ltd 遠心送風機
JPH0233401A (ja) * 1988-07-25 1990-02-02 Isuzu Motors Ltd 翼車軸の軸受構造
JP2010096113A (ja) * 2008-10-17 2010-04-30 Ihi Corp インペラ締結構造
JP2011052580A (ja) * 2009-09-01 2011-03-17 Ihi Corp ターボ機械

Patent Citations (5)

* Cited by examiner, † Cited by third party
Publication number Priority date Publication date Assignee Title
JPS56138499A (en) * 1980-04-01 1981-10-29 Toyota Motor Corp Compressor structure for turbocharger
JPS58113599A (ja) * 1981-12-28 1983-07-06 Hitachi Ltd 遠心送風機
JPH0233401A (ja) * 1988-07-25 1990-02-02 Isuzu Motors Ltd 翼車軸の軸受構造
JP2010096113A (ja) * 2008-10-17 2010-04-30 Ihi Corp インペラ締結構造
JP2011052580A (ja) * 2009-09-01 2011-03-17 Ihi Corp ターボ機械

Cited By (2)

* Cited by examiner, † Cited by third party
Publication number Priority date Publication date Assignee Title
WO2018179144A1 (ja) * 2017-03-29 2018-10-04 三菱重工業株式会社 電動過給機
JPWO2018179144A1 (ja) * 2017-03-29 2019-07-18 三菱重工業株式会社 電動過給機

Also Published As

Publication number Publication date
JP2016180337A (ja) 2016-10-13
DE112016001380T5 (de) 2017-12-14

Similar Documents

Publication Publication Date Title
JP4671177B2 (ja) 電動過給機
US7352077B2 (en) Motor-driven supercharger
US7834504B2 (en) Motor rotor
EP3242002A1 (en) Turbocharger
WO2016152139A1 (ja) 過給装置
JP2015108378A (ja) 排気ガスターボ過給機のシャフト組立体
CN101911441A (zh) 无刷直流电机及其散热装置
CN104246171A (zh) 用于带有内部电动机的涡轮增压器的轴承系统
CN108699948A (zh) 压缩机叶轮固定用螺母、叶轮组装体以及增压器
CN101682231A (zh) 车用无刷交流发电机
JP2007071165A (ja) 電動過給機の軸受構造
JP6396512B2 (ja) 過給機
KR102487166B1 (ko) 모터의 레졸버 장착 구조
WO2016199821A1 (ja) 回転機械
JP5322028B2 (ja) モータロータ
JP6333485B2 (ja) インペラ組立体、過給機及びインペラ組立体の組立方法
US20180152075A1 (en) Assembly structure of driving motor and inverter
KR101966093B1 (ko) 전동식 터보 차저
CN108292875A (zh) 旋转电机
JP2003322026A (ja) 過給機
WO2015151835A1 (ja) 電動過給機および過給システム
CN209539447U (zh) 增压器
KR101542991B1 (ko) 스러스트러너를 갖는 터보차저
WO2024224721A1 (ja) 回転機械
TWM646009U (zh) 發電機之降阻力結構

Legal Events

Date Code Title Description
121 Ep: the epo has been informed by wipo that ep was designated in this application

Ref document number: 16768046

Country of ref document: EP

Kind code of ref document: A1

WWE Wipo information: entry into national phase

Ref document number: 112016001380

Country of ref document: DE

122 Ep: pct application non-entry in european phase

Ref document number: 16768046

Country of ref document: EP

Kind code of ref document: A1