WO2016021175A1 - コネクタおよびこのコネクタに用いられるヘッダならびにソケット - Google Patents

コネクタおよびこのコネクタに用いられるヘッダならびにソケット Download PDF

Info

Publication number
WO2016021175A1
WO2016021175A1 PCT/JP2015/003894 JP2015003894W WO2016021175A1 WO 2016021175 A1 WO2016021175 A1 WO 2016021175A1 JP 2015003894 W JP2015003894 W JP 2015003894W WO 2016021175 A1 WO2016021175 A1 WO 2016021175A1
Authority
WO
WIPO (PCT)
Prior art keywords
socket
header
terminal
housing
power supply
Prior art date
Legal status (The legal status is an assumption and is not a legal conclusion. Google has not performed a legal analysis and makes no representation as to the accuracy of the status listed.)
Ceased
Application number
PCT/JP2015/003894
Other languages
English (en)
French (fr)
Japanese (ja)
Inventor
公輔 吉岡
洋二 宮崎
Current Assignee (The listed assignees may be inaccurate. Google has not performed a legal analysis and makes no representation or warranty as to the accuracy of the list.)
Panasonic Intellectual Property Management Co Ltd
Original Assignee
Panasonic Intellectual Property Management Co Ltd
Priority date (The priority date is an assumption and is not a legal conclusion. Google has not performed a legal analysis and makes no representation as to the accuracy of the date listed.)
Filing date
Publication date
Application filed by Panasonic Intellectual Property Management Co Ltd filed Critical Panasonic Intellectual Property Management Co Ltd
Priority to EP15828936.3A priority Critical patent/EP3179567B1/en
Priority to US15/327,509 priority patent/US10164360B2/en
Priority to CN201580040559.XA priority patent/CN106575831B/zh
Priority to KR1020177002641A priority patent/KR20170033323A/ko
Publication of WO2016021175A1 publication Critical patent/WO2016021175A1/ja
Anticipated expiration legal-status Critical
Ceased legal-status Critical Current

Links

Images

Classifications

    • HELECTRICITY
    • H01ELECTRIC ELEMENTS
    • H01RELECTRICALLY-CONDUCTIVE CONNECTIONS; STRUCTURAL ASSOCIATIONS OF A PLURALITY OF MUTUALLY-INSULATED ELECTRICAL CONNECTING ELEMENTS; COUPLING DEVICES; CURRENT COLLECTORS
    • H01R12/00Structural associations of a plurality of mutually-insulated electrical connecting elements, specially adapted for printed circuits, e.g. printed circuit boards [PCB], flat or ribbon cables, or like generally planar structures, e.g. terminal strips, terminal blocks; Coupling devices specially adapted for printed circuits, flat or ribbon cables, or like generally planar structures; Terminals specially adapted for contact with, or insertion into, printed circuits, flat or ribbon cables, or like generally planar structures
    • H01R12/70Coupling devices
    • H01R12/71Coupling devices for rigid printing circuits or like structures
    • H01R12/712Coupling devices for rigid printing circuits or like structures co-operating with the surface of the printed circuit or with a coupling device exclusively provided on the surface of the printed circuit
    • H01R12/716Coupling device provided on the PCB
    • HELECTRICITY
    • H01ELECTRIC ELEMENTS
    • H01RELECTRICALLY-CONDUCTIVE CONNECTIONS; STRUCTURAL ASSOCIATIONS OF A PLURALITY OF MUTUALLY-INSULATED ELECTRICAL CONNECTING ELEMENTS; COUPLING DEVICES; CURRENT COLLECTORS
    • H01R13/00Details of coupling devices of the kinds covered by groups H01R12/70 or H01R24/00 - H01R33/00
    • H01R13/02Contact members
    • H01R13/22Contacts for co-operating by abutting
    • H01R13/24Contacts for co-operating by abutting resilient; resiliently-mounted
    • HELECTRICITY
    • H01ELECTRIC ELEMENTS
    • H01RELECTRICALLY-CONDUCTIVE CONNECTIONS; STRUCTURAL ASSOCIATIONS OF A PLURALITY OF MUTUALLY-INSULATED ELECTRICAL CONNECTING ELEMENTS; COUPLING DEVICES; CURRENT COLLECTORS
    • H01R12/00Structural associations of a plurality of mutually-insulated electrical connecting elements, specially adapted for printed circuits, e.g. printed circuit boards [PCB], flat or ribbon cables, or like generally planar structures, e.g. terminal strips, terminal blocks; Coupling devices specially adapted for printed circuits, flat or ribbon cables, or like generally planar structures; Terminals specially adapted for contact with, or insertion into, printed circuits, flat or ribbon cables, or like generally planar structures
    • H01R12/70Coupling devices
    • H01R12/71Coupling devices for rigid printing circuits or like structures
    • HELECTRICITY
    • H01ELECTRIC ELEMENTS
    • H01RELECTRICALLY-CONDUCTIVE CONNECTIONS; STRUCTURAL ASSOCIATIONS OF A PLURALITY OF MUTUALLY-INSULATED ELECTRICAL CONNECTING ELEMENTS; COUPLING DEVICES; CURRENT COLLECTORS
    • H01R12/00Structural associations of a plurality of mutually-insulated electrical connecting elements, specially adapted for printed circuits, e.g. printed circuit boards [PCB], flat or ribbon cables, or like generally planar structures, e.g. terminal strips, terminal blocks; Coupling devices specially adapted for printed circuits, flat or ribbon cables, or like generally planar structures; Terminals specially adapted for contact with, or insertion into, printed circuits, flat or ribbon cables, or like generally planar structures
    • H01R12/70Coupling devices
    • H01R12/71Coupling devices for rigid printing circuits or like structures
    • H01R12/72Coupling devices for rigid printing circuits or like structures coupling with the edge of the rigid printed circuits or like structures
    • H01R12/73Coupling devices for rigid printing circuits or like structures coupling with the edge of the rigid printed circuits or like structures connecting to other rigid printed circuits or like structures
    • HELECTRICITY
    • H01ELECTRIC ELEMENTS
    • H01RELECTRICALLY-CONDUCTIVE CONNECTIONS; STRUCTURAL ASSOCIATIONS OF A PLURALITY OF MUTUALLY-INSULATED ELECTRICAL CONNECTING ELEMENTS; COUPLING DEVICES; CURRENT COLLECTORS
    • H01R12/00Structural associations of a plurality of mutually-insulated electrical connecting elements, specially adapted for printed circuits, e.g. printed circuit boards [PCB], flat or ribbon cables, or like generally planar structures, e.g. terminal strips, terminal blocks; Coupling devices specially adapted for printed circuits, flat or ribbon cables, or like generally planar structures; Terminals specially adapted for contact with, or insertion into, printed circuits, flat or ribbon cables, or like generally planar structures
    • H01R12/70Coupling devices
    • H01R12/71Coupling devices for rigid printing circuits or like structures
    • H01R12/72Coupling devices for rigid printing circuits or like structures coupling with the edge of the rigid printed circuits or like structures
    • H01R12/73Coupling devices for rigid printing circuits or like structures coupling with the edge of the rigid printed circuits or like structures connecting to other rigid printed circuits or like structures
    • H01R12/735Printed circuits including an angle between each other
    • H01R12/737Printed circuits being substantially perpendicular to each other
    • HELECTRICITY
    • H01ELECTRIC ELEMENTS
    • H01RELECTRICALLY-CONDUCTIVE CONNECTIONS; STRUCTURAL ASSOCIATIONS OF A PLURALITY OF MUTUALLY-INSULATED ELECTRICAL CONNECTING ELEMENTS; COUPLING DEVICES; CURRENT COLLECTORS
    • H01R12/00Structural associations of a plurality of mutually-insulated electrical connecting elements, specially adapted for printed circuits, e.g. printed circuit boards [PCB], flat or ribbon cables, or like generally planar structures, e.g. terminal strips, terminal blocks; Coupling devices specially adapted for printed circuits, flat or ribbon cables, or like generally planar structures; Terminals specially adapted for contact with, or insertion into, printed circuits, flat or ribbon cables, or like generally planar structures
    • H01R12/70Coupling devices
    • H01R12/91Coupling devices allowing relative movement between coupling parts, e.g. floating or self aligning
    • HELECTRICITY
    • H01ELECTRIC ELEMENTS
    • H01RELECTRICALLY-CONDUCTIVE CONNECTIONS; STRUCTURAL ASSOCIATIONS OF A PLURALITY OF MUTUALLY-INSULATED ELECTRICAL CONNECTING ELEMENTS; COUPLING DEVICES; CURRENT COLLECTORS
    • H01R13/00Details of coupling devices of the kinds covered by groups H01R12/70 or H01R24/00 - H01R33/00
    • H01R13/40Securing contact members in or to a base or case; Insulating of contact members
    • H01R13/405Securing in non-demountable manner, e.g. moulding, riveting
    • HELECTRICITY
    • H01ELECTRIC ELEMENTS
    • H01RELECTRICALLY-CONDUCTIVE CONNECTIONS; STRUCTURAL ASSOCIATIONS OF A PLURALITY OF MUTUALLY-INSULATED ELECTRICAL CONNECTING ELEMENTS; COUPLING DEVICES; CURRENT COLLECTORS
    • H01R13/00Details of coupling devices of the kinds covered by groups H01R12/70 or H01R24/00 - H01R33/00
    • H01R13/46Bases; Cases
    • HELECTRICITY
    • H01ELECTRIC ELEMENTS
    • H01RELECTRICALLY-CONDUCTIVE CONNECTIONS; STRUCTURAL ASSOCIATIONS OF A PLURALITY OF MUTUALLY-INSULATED ELECTRICAL CONNECTING ELEMENTS; COUPLING DEVICES; CURRENT COLLECTORS
    • H01R24/00Two-part coupling devices, or either of their cooperating parts, characterised by their overall structure
    • H01R24/60Contacts spaced along planar side wall transverse to longitudinal axis of engagement
    • HELECTRICITY
    • H01ELECTRIC ELEMENTS
    • H01RELECTRICALLY-CONDUCTIVE CONNECTIONS; STRUCTURAL ASSOCIATIONS OF A PLURALITY OF MUTUALLY-INSULATED ELECTRICAL CONNECTING ELEMENTS; COUPLING DEVICES; CURRENT COLLECTORS
    • H01R13/00Details of coupling devices of the kinds covered by groups H01R12/70 or H01R24/00 - H01R33/00
    • H01R13/02Contact members
    • H01R13/20Pins, blades, or sockets shaped, or provided with separate member, to retain co-operating parts together
    • HELECTRICITY
    • H01ELECTRIC ELEMENTS
    • H01RELECTRICALLY-CONDUCTIVE CONNECTIONS; STRUCTURAL ASSOCIATIONS OF A PLURALITY OF MUTUALLY-INSULATED ELECTRICAL CONNECTING ELEMENTS; COUPLING DEVICES; CURRENT COLLECTORS
    • H01R2107/00Four or more poles

Definitions

  • the present invention relates to a connector and a header and a socket used for the connector.
  • Patent Document 1 by mating the socket and the header, the corresponding terminals are brought into contact and conducted, and the circuit patterns of the circuit boards to which the respective terminals are connected are electrically connected.
  • the present invention provides a connector that can be miniaturized, and a header and a socket used for the connector.
  • the connector of the present invention has a socket and a header.
  • the socket has a socket-side signal terminal, a socket-side power terminal, and a substantially rectangular socket housing in which the socket-side signal terminal and the socket-side power terminal are disposed.
  • the header has a header side signal terminal, a header side power supply terminal, and a substantially rectangular header housing in which the header side signal terminal and the header side power supply terminal are disposed. Then, by fitting the socket housing and the header housing, the socket side signal terminal and the header side signal terminal are in contact with each other, and the socket side power terminal and the header side power terminal are in contact with each other. It is done.
  • the socket-side signal terminal and the socket-side power terminal are disposed along the longitudinal direction of the socket housing. And in the longitudinal direction of the socket housing, the width of the socket-side signal terminal is narrower than the width of the socket-side power terminal.
  • the header signal terminal and the header power terminal are disposed along the longitudinal direction of the header housing.
  • the width of the header-side signal terminal is narrower than the width of the header-side power supply terminal in the longitudinal direction of the header housing.
  • the socket of the present invention is a socket used for the above-mentioned connector
  • the header of the present invention is a header used for the above-mentioned connector
  • the perspective view which looked at the header of the connector concerning a 1st embodiment of the present invention from the back side The perspective view which looked at the header of the connector concerning a 1st embodiment of the present invention from the surface side
  • the perspective view which looked at the header housing of the connector concerning a 1st embodiment of the present invention from the back side The perspective view which looked at the header housing of the connector concerning a 1st embodiment of the present invention from the surface side
  • FIG. 7A A third perspective view of the header side signal terminal shown in FIG. 7A
  • FIG. 7A A fourth perspective view of the header side signal terminal shown in FIG. 7A
  • Side cross-sectional view of a header side signal terminal of a connector according to a first embodiment of the present invention Horizontal cross-sectional view of the terminal for the header side signal shown in FIG. 9A
  • First perspective view of the header side power supply terminal of the connector according to the first embodiment of the present invention Second perspective view of the header side power supply terminal shown in FIG. 10A
  • FIG. 10A The figure which shows the terminal for header side power supply of the connector concerning 1st Embodiment of this invention.
  • a side sectional view of a header side power supply terminal of a connector according to a first embodiment of the present invention Horizontal cross-sectional view of the header side power supply terminal shown in FIG. 12A
  • First perspective view of the header side holding fitting of the connector according to the first embodiment of the present invention A second perspective view of the header side holding bracket shown in FIG. 13A
  • a third perspective view of the header side holding bracket shown in FIG. 13A A fourth perspective view of the header side holding bracket shown in FIG. 13A
  • the perspective view which looked at the socket of the connector concerning a 1st embodiment of the present invention from the surface side The perspective view which looked at the socket of the connector concerning a 1st embodiment of the present invention from the back side
  • the perspective view which looked at the socket housing of the connector concerning a 1st embodiment of the present invention from the surface side The perspective view which looked at the socket housing of the connector concerning a 1st embodiment of the present invention from the back side
  • FIG. 21A A third perspective view of the socket side signal terminal shown in FIG. 21A A fourth perspective view of the socket side signal terminal shown in FIG. 21A The figure which shows the terminal for socket side signals of the connector concerning 1st Embodiment of this invention.
  • Side cross-sectional view of the socket side signal terminal of the connector according to the first embodiment of the present invention Horizontal cross-sectional view of socket side signal terminal shown in FIG. 23A
  • First perspective view of socket side power terminal of connector according to the first embodiment of the present invention Second perspective view of socket side power terminal shown in FIG. 24A
  • FIG. 24A A third perspective view of the socket side power terminal shown in FIG. 24A
  • FIG. 24A A fourth perspective view of the socket side power terminal shown in FIG. 24A The figure which shows the terminal for socket side power supplies of the connector concerning 1st Embodiment of this invention.
  • FIG. 27A is a second perspective view of the socket side holding bracket
  • FIG. 27A is a fourth perspective view of the socket side holding bracket The figure which shows the socket side holding metal fitting of the connector concerning 1st Embodiment of this invention.
  • the perspective view which shows typically an example of the connection state of each terminal of a socket concerning 1st Embodiment of this invention, and a circuit pattern The perspective view which shows typically the other example of the connection state of each terminal of the header concerning 1st Embodiment of this invention, and a circuit pattern.
  • the perspective view which shows typically the other example of the connection state of each terminal of the socket concerning 1st Embodiment of this invention, and a circuit pattern The perspective view which looked at the header of the connector concerning a 2nd embodiment of the present invention from the back side
  • the perspective view which looked at the header of the connector concerning a 2nd embodiment of the present invention from the surface side The figure which shows the header of the connector concerning 2nd Embodiment of this invention.
  • the perspective view which looked at the header housing of the connector concerning a 2nd embodiment of the present invention from the back side The perspective view which looked at the header housing of the connector concerning a 2nd embodiment of the present invention from the surface side
  • the 1st perspective view of the terminal for header side signals of the connector concerning a 2nd embodiment of the present invention Second perspective view of the header side signal terminal shown in FIG. 44A A third perspective view of the header side signal terminal shown in FIG. 44A
  • a fourth perspective view of the header side signal terminal shown in FIG. 44A The figure which shows the terminal for header side signals of the connector concerning 2nd Embodiment of this invention.
  • 1st perspective view of the header side holding metal fitting of the connector concerning 2nd Embodiment of this invention A second perspective view of the header side holding bracket shown in FIG. 46A
  • a third perspective view of the header side holding bracket shown in FIG. 46A A third perspective view of the header side holding bracket shown in FIG.
  • FIG. 54A First perspective view of a socket side signal terminal of a connector according to a second embodiment of the present invention Second perspective view of socket side signal terminal shown in FIG. 54A Third perspective view of socket side signal terminal shown in FIG. 54A A fourth perspective view of the socket side signal terminal shown in FIG. 54A The figure which shows the terminal for socket side signals of the connector concerning 2nd Embodiment of this invention. 1st perspective view of the socket side holding metal fitting of the connector concerning 2nd Embodiment of this invention A second perspective view of the socket side retaining bracket shown in FIG. 56A A third perspective view of the socket side retaining bracket shown in FIG. 56A FIG. 56A is a fourth perspective view of the socket side retaining bracket shown in FIG. 56A.
  • the figure which shows the socket side holding metal fitting of the connector concerning 2nd Embodiment of this invention It is a figure which shows the state just before the header and socket concerning 2nd Embodiment of this invention fit, and is sectional drawing cut
  • the current supplied from the power supply line is larger than the current supplied from the signal line. Therefore, when using some sets of terminals as power supply terminals, it is necessary to combine a plurality of terminals together into one power supply terminal on each of the socket side and the header side in order to secure necessary current capacity. There is. As described above, when a plurality of terminals arranged separately from each other on the socket side and the header side are used together as a power supply terminal, the connector is enlarged.
  • the longitudinal direction of the connector is X direction
  • the width direction (short side direction) of the connector is Y direction
  • the upper side in the states shown in FIGS. 29 to 32 is described as the upper side (front side) in the vertical direction
  • the lower side is the lower side (back side) in the vertical direction.
  • FIG. 29 the outline of the connector 10 according to the present embodiment will be described with reference to FIGS. 29 to 32.
  • the connector 10 concerning this embodiment has the header 20 and the socket 30 which mutually fit, as shown to FIGS. 29-32.
  • the header 20 has a header housing 21 in which the header signal terminal 22 and the header power terminal 23 are disposed.
  • the socket 30 has a socket housing 31 in which the socket side signal terminal 32 and the socket side power source terminal 33 are disposed.
  • the header side signal terminal 22 and the socket side signal terminal 32 are brought into contact with each other, and the header side power supply terminal 23 and the socket side power supply terminal 33 To make contact.
  • the socket 30 is attached to the second circuit board 40, and the header 20 is attached to the first circuit board 60.
  • the second circuit board 40 on which the header 20 is mounted and the first circuit board 60 on which the socket 30 is mounted are electrically connected.
  • the header side signal terminal 22 and the header side power supply terminal 23 have a circuit pattern on the second circuit board 40. It is made to be electrically connected to 41.
  • a printed circuit board Printed Circuit Board
  • FPC Flexible Printed Circuit
  • the socket side signal terminal 32 and the socket side power terminal 33 are electrically connected to the circuit pattern 61 on the first circuit board 60.
  • the first circuit board 60 a printed circuit board (Printed Circuit Board), an FPC (Flexible Printed Circuit), or the like can be used.
  • the connector 10 concerning this embodiment is used in order to electrically connect the circuit boards in the electronic device as portable terminals, such as a smart phone.
  • the connector of the present invention may be used for electrical connection between any parts as long as it is used in an electronic device.
  • the header 20 has a header housing 21 as described above.
  • the header housing 21 is entirely formed in a rectangular (rectangular) shape in plan view by an insulating synthetic resin (see FIGS. 1 to 6).
  • the header housing 21 is provided with a metal-made header-side signal terminal 22 and a metal-made header-side power supply terminal 23.
  • the header-side signal terminal 22 is a terminal that is electrically connected to the signal line and used to transmit a signal.
  • the header side power supply terminal 23 is a terminal that is electrically connected to the power supply line and used to supply power.
  • one header-side signal terminal 22 and two header-side power terminals 23 are juxtaposed along one long side of the header housing 21 so as to be separated from each other.
  • a header-side terminal group G1 is formed by one header-side signal terminal 22 and two header-side power terminals 23 arranged in parallel on one side in the width direction (short side direction) Y of the header housing 21. There is.
  • one header-side signal terminal 22 and two header-side power terminals 23 are juxtaposed so as to be separated from each other. Then, one header-side signal terminal 22 and two header-side power terminals 23 arranged in parallel on the other side of the width direction (short side direction) Y of the header housing 21 also constitute the header-side terminal group G1. There is.
  • the header-side terminal group including the header-side signal terminals 22 and the header-side power supply terminals 23 disposed along the longitudinal direction X of the header housing 21 in the header housing 21.
  • G1 is arranged in two rows (multiple rows).
  • the header-side power supply terminals 23 are respectively disposed at both ends of the header-side signal terminals 22.
  • the header side power supply terminals 23 are disposed at both ends in the longitudinal direction X of the header housing 21, and the header side signal terminals 22 are disposed between the header side power supply terminals 23.
  • the header-side power supply terminal 23 is disposed outside the header-side signal terminal 22 in the longitudinal direction X of the header housing 21.
  • the metal header-side holding fitting 24 is disposed at both ends in the longitudinal direction X of the header housing 21.
  • the header side holding fitting 24 is used to increase the strength of the header housing 21 and to fix and fix the fixed terminal 24a of the header side holding fitting 24 to the second circuit board 40 described above.
  • the header housing 21 is formed in a substantially box shape having one side (the lower side in FIG. 5) opened by the plate-like wall portion 21a and the peripheral wall portion 21b continuously formed in a substantially rectangular ring along the peripheral edge thereof.
  • the recess 21c (see FIG. 1) is formed inward of the peripheral wall 21b.
  • a tapered portion 21d is formed so as to be positioned upward (plate-like wall portion 21a side) toward the outside.
  • the tapered portion 21d is formed on both ends in the longitudinal direction of the longitudinal wall portion 21e of the peripheral wall portion 21b and in the entire width direction Y of the short direction wall portion 21f of the peripheral wall portion 21b.
  • substantially U-shaped tapered portions 21d are formed.
  • the peripheral wall portion 21b between the header side signal terminal 22 and the header side power supply terminal 23 adjacent to each other is curved in an R shape (inverted U shape).
  • the length in the width direction Y of the short direction wall portion 21 f is formed to be larger than the distance between the two opposing longitudinal direction wall portions 21 e, and the header housing 21 as a whole is viewed in plan. It is formed in a substantially I shape.
  • the header-side signal terminal 22 is manufactured by metal molding and is a conductor.
  • the header-side signal terminal 22 has a root 22 a protruding from the side surface of the header housing 21.
  • the root portion 22 a is a portion fixed to the circuit pattern 41 of the second circuit board 40 by the solder 50.
  • the top surface of the root 22a extends substantially parallel to the top surface of the header housing 21 (the outer surface of the plate-like wall 21a), as can be seen from FIG.
  • the header-side signal terminal 22 has an inner portion 22b continuous with the root portion 22a.
  • the inner part 22b bends and penetrates the joint between the plate-like wall 21a and the longitudinal wall 21e of the header housing 21 and extends to the tip of the longitudinal wall 21e along the inner surface of the longitudinal wall 21e. It extends.
  • a recess 22 c is formed on the inner surface of the inner portion 22 b of the header-side signal terminal 22.
  • the concave portion 22c is continuously provided on both the flat back surface 22g, the inclined surface 22h continuously provided on both sides in the longitudinal direction X of the back surface 22g, and the both sides in the vertical direction Z on the back surface 22g. It is formed in a substantially square frustum shape with the inclined surface 22i.
  • the header-side signal terminal 22 has a tip 22d continuous with one end of the inner portion 22b.
  • the end 22 d is curved along the shape of the end of the longitudinal wall 21 e of the header housing 21.
  • the header-side signal terminal 22 has a to-be-locked portion 22e that is continuous with the distal end portion 22d.
  • the engaged portion 22 e is formed from one end to the other end in the longitudinal direction X of the header housing 21 in the header side signal terminal 22. That is, the step-like engaged portion 22 e is formed over the entire width direction of the header-side signal terminal 22.
  • the engaged portion 22e is deeper than the engaged portion 32d as the stepped portion when the header side signal terminal 22 is fitted into the socket side signal terminal 32. Inserted into Therefore, when the header-side signal terminal 22 is pulled out of the socket-side signal terminal 32, the engaged portion 22e abuts on the engagement portion 32d. That is, the locked portion 22 e of the header-side signal terminal 22 is locked by the locking portion 32 d of the socket-side signal terminal 32. Therefore, the pullout from the socket side signal terminal 32 of the header side signal terminal 22 is suppressed. That is, the header-side signal terminal 22 can not be pulled out of the socket-side signal terminal 32 only by applying an external force smaller than a predetermined value.
  • the header-side signal terminal 22 can be pulled out of the socket-side signal terminal 32 when a large external force equal to or greater than a predetermined value is applied.
  • the locked portion 22e of the header-side signal terminal 22 and the locking portion 32d of the socket-side signal terminal 32 are locks that can release each other's locking by applying an external force equal to or greater than a predetermined value. It constitutes a mechanism.
  • the engaged portion 22e may be manufactured by rolling a base material in which the thickness of the header side signal terminal 22 is partially different, the base material of the header side signal terminal 22 is bent in the thickness direction May be manufactured by
  • the header-side signal terminal 22 has an outer portion 22f that is continuous with the tip portion 22d via the engaged portion 22e and extends along the outer surface of the longitudinal wall 21e.
  • the front end of the outer portion 22f of the header-side signal terminal 22 is positioned by the protruding wall portion 21g provided on the outer periphery of the longitudinal wall portion 21e (the peripheral wall portion 21b).
  • Such a header-side signal terminal 22 can be formed by curving a strip-shaped metal material having a predetermined thickness.
  • the header side signal terminal 22 is disposed in the header housing 21 by insert molding.
  • the header-side signal terminals 22 may be disposed on the header housing 21 by press-fitting the header-side signal terminals 22 into the header housing 21.
  • the header side power supply terminal 23 is manufactured by metal molding and is a conductor.
  • the header-side power supply terminal 23 has a root portion 23 a that protrudes from the side surface of the header housing 21.
  • the root portion 23 a is a portion fixed to the circuit pattern 41 of the second circuit board 40 by the solder 50.
  • the top surface of the root portion 23a extends substantially parallel to the top surface of the header housing 21 (the outer surface of the plate-like wall portion 21a), as can be seen from FIG.
  • header side power supply terminal 23 has an inner portion 23b continuous with the root portion 23a.
  • the inner part 23b bends and penetrates the joint between the plate-like wall 21a and the longitudinal wall 21e of the header housing 21 and extends along the inner surface of the longitudinal wall 21e to the tip of the longitudinal wall 21e. It extends.
  • a recess 23 c is formed on the inner surface of the inner portion 23 b of the header side power supply terminal 23.
  • the recess 23c is provided continuously on both the flat back surface 23g, the inclined surface 23h continuously provided on both sides in the longitudinal direction X of the back surface 23g, and the vertical direction Z on the back surface 23g. It is formed in a substantially square frustum shape with the inclined surface 23i.
  • the header-side power supply terminal 23 has a tip 23d continuous with one end of the inner portion 23b.
  • the end 23 d is bent along the shape of the end of the longitudinal wall 21 e of the header housing 21.
  • the header side power supply terminal 23 has an engaged portion 23e continuous with the tip end portion 23d.
  • the locked portion 23e is deeper than the locking portion 33d as the step portion. Inserted into Therefore, when the header side power supply terminal 23 is pulled out from the socket side power supply terminal 33, the engaged portion 23e abuts on the engagement portion 33d. That is, the locked portion 23 e of the header side power supply terminal 23 is locked by the locking portion 33 d of the socket side power supply terminal 33. Therefore, the pullout from the socket side power supply terminal 33 of the header side power supply terminal 23 is suppressed.
  • the header side power supply terminal 23 can not be pulled out of the socket side power supply terminal 33 only by applying an external force smaller than a predetermined value.
  • the header side power supply terminal 23 can be pulled out of the socket side power supply terminal 33 when a large external force equal to or greater than a predetermined value is applied.
  • the locked portion 23e of the header-side power supply terminal 23 and the locking portion 33d of the socket-side power supply terminal 33 are locks that can release each other's locking by applying an external force of a predetermined value or more. It constitutes a mechanism.
  • the engaged portion 23e may be manufactured by rolling a base material in which the thickness of the header side power supply terminal 23 is partially different, the base material of the header side power supply terminal 23 is bent in the thickness direction May be manufactured by
  • the header side power supply terminal 23 has an outer side portion 23f which is continuous with the leading end portion 23d via the engaged portion 23e and extends along the outer surface of the longitudinal direction wall portion 21e. Furthermore, in the present embodiment, the front end of the outer side portion 23f of the header side power supply terminal 23 is positioned by the projecting wall portion 21h protruding from the outer periphery of the longitudinal direction wall portion 21e (the peripheral wall portion 21b).
  • the side cross sectional shape of the header side signal terminal 22 and the side cross sectional shape of the header side power supply terminal 23 have substantially the same shape (see FIGS. 9A and 12A).
  • the header side signal terminal 22 and the header side power supply terminal 23 are disposed along the longitudinal direction X of the header housing 21.
  • the header side power supply terminal 23 is formed such that the width along the longitudinal direction X of the header housing 21 is wider than the width along the longitudinal direction X of the header side signal terminal 22. ing.
  • the header signal terminal 22 has a narrower width in the longitudinal direction X of the header housing 21 than the header power terminal 23.
  • the width of the header housing 21 in the longitudinal direction X is narrower than that of the header-side power supply terminal 23 for all of the header-side signal terminals 22.
  • the concave portion having a concave shape is formed in the central portion in the longitudinal direction X of the root portion 23a. It forms 23j.
  • the recess 23 j the length of the outline in contact with the circuit pattern of the root portion 23 a can be increased while suppressing an increase in the amount of protrusion of the root portion 23 a.
  • the shape of the outline can be made more complicated.
  • two concave portions 23c are formed along the longitudinal direction X on the inner surface of the inner portion 23b of the header-side power supply terminal 23, and two arc-shaped protrusions of the socket-side power supply terminal 33 described later
  • the portions 33k are adapted to be fitted respectively.
  • the engaged portion 23 e is formed from one end to the other end of the header housing 21 in the longitudinal direction X of the header side power supply terminal 23. That is, the step-like engaged portion 23e is formed over the entire width direction of the wide header side power supply terminal 23. By doing this, it is possible to improve the locking force by the locked portion 23e of the header side power supply terminal 23 and the locking portion 33d of the socket side power supply terminal 33. Further, even when the insertion and removal of the header 20 and the socket 30 are repeated, the engaged portion 23e is less likely to be worn, so that the product life can be extended.
  • Such a header side power supply terminal 23 can be formed by curving a strip-shaped metal material having a predetermined thickness.
  • the header side power supply terminal 23 is disposed in the header housing 21 by insert molding.
  • the header side power supply terminal 23 may be disposed on the header housing 21 by press-fitting the header side power supply terminal 23 into the header housing 21.
  • the header-side holding bracket 24 is manufactured by metal molding in the same manner as the header-side signal terminal 22 and the header-side power supply terminal 23.
  • the header side holding fitting 24 has a fixed terminal 24 a protruding from the side surface of the header housing 21.
  • the fixed terminal 24 a is a portion fixed to the circuit pattern 41 of the second circuit board 40 by the solder 50. Further, the upper surface of the fixed terminal 24a also extends substantially parallel to the upper surface of the header housing 21 (the outer surface of the plate-like wall 21a).
  • the header side holding fitting 24 has an inner portion 24b continuous with the fixed terminal 24a.
  • a notch 24c opened on one side in the longitudinal direction X is formed.
  • the header side holding fitting 24 is disposed in the header housing 21 by insert molding.
  • the header-side holding fitting 24 may be disposed on the header housing 21 by press-fitting the header-side holding fitting 24 into the header housing 21.
  • the socket 30 has a socket housing 31 as described above.
  • the socket housing 31 is entirely formed in a rectangular (rectangular) shape in plan view by an insulating synthetic resin (see FIGS. 15 to 20).
  • the socket housing 31 is provided with a metal socket side signal terminal 32 and a metal socket side power supply terminal 33.
  • the socket side signal terminal 32 is a terminal that is electrically connected to the signal line and used to transmit a signal.
  • the socket side power supply terminal 33 is a terminal electrically connected to the power supply line and used to supply power.
  • one socket-side signal terminal 32 and two socket-side power terminals 33 are juxtaposed so as to be separated from each other along one long side of the socket housing 31.
  • a socket-side terminal group G2 is configured by one socket-side signal terminal 32 and two socket-side power terminals 33 arranged in parallel on one side in the width direction (short side direction) Y of the socket housing 31 There is.
  • one socket-side signal terminal 32 and two socket-side power terminals 33 are juxtaposed so as to be separated from each other. Then, one socket side signal terminal 32 and two socket side power terminals 33 arranged in parallel on the other side in the width direction (short side direction) Y of the socket housing 31 also constitute the socket side terminal group G2. There is.
  • the socket side terminal group including the socket side signal terminals 32 and the socket side power supply terminals 33 disposed along the longitudinal direction X of the socket housing 31 in the socket housing 31.
  • G2 is arranged in two rows (multiple rows).
  • socket-side power terminals 33 are disposed at both ends of the socket-side signal terminals 32, respectively.
  • the socket side power supply terminals 33 are disposed at both ends in the longitudinal direction X of the socket housing 31, and the socket side signal terminals 32 are disposed between the socket side power supply terminals 33.
  • the socket-side power supply terminal 33 is disposed outside the socket-side signal terminal 32 in the longitudinal direction X of the socket housing 31.
  • the socket side signal terminal 32 and the socket side power supply terminal 33 respectively contact the corresponding header side signal terminal 22 and the header side power supply terminal 23 when the header 20 and the socket 30 are fitted.
  • the socket housing 31 is disposed.
  • the metal socket-side holding fitting 34 is disposed at both ends in the longitudinal direction X of the socket housing 31.
  • the socket side holding fitting 34 is used to increase the strength of the socket housing 31 and to fix and fix the fixed terminal 34 d of the socket side holding fitting 34 to the first circuit board 60 described above.
  • the socket housing 31 is formed in a substantially box shape having one side (upper side in FIG. 15) opened by a plate-like wall portion 31a and a peripheral wall portion 31b continuously formed in a substantially rectangular ring along the peripheral edge portion ing. Furthermore, in the present embodiment, a substantially rectangular island 31c is formed at a central portion of the plate-like wall 31a at a predetermined distance from the peripheral wall 31b. Further, a substantially frame-shaped fitting groove portion 31d for fitting the peripheral wall portion 21b of the header 20 is formed between the peripheral wall portion 31b and the island portion 31c. The island portion 31c is fitted in the recess 21c.
  • the fitting groove 31d is formed so that both ends in the longitudinal direction X are wide. .
  • a tapered portion 31e is formed so as to be positioned downward (in the plate-like wall 31a) toward the inside.
  • the tapered portion 31e is formed on both ends in the longitudinal direction of the longitudinal direction wall 31h of the peripheral wall 31b and on the short direction wall 31i of the peripheral wall 31b.
  • a tapered portion 31e is also formed on the peripheral wall portion 31b between the socket side signal terminal 32 and the socket side power supply terminal 33 adjacent to each other.
  • the tapered portion 31e is formed over substantially the entire circumference of the peripheral wall portion 31b.
  • the socket housing 31 is formed so that the socket side signal terminal accommodating portion 31f in which the socket side signal terminal 32 is accommodated penetrates the plate-like wall portion 31a (from FIG. 18) See Figure 20). Further, in the socket housing 31, a socket side power supply terminal accommodating portion 31g in which the socket side power supply terminal 33 is accommodated is formed to penetrate the plate-like wall portion 31a.
  • the socket side signal terminal accommodating portion 31f is formed in the longitudinal wall portion 31h so as to communicate the socket side signal terminal accommodating concave portion 31j with the fitting groove portion 31d, and the island portion 31c is a socket side signal terminal accommodating concave portion 31m. Are formed to communicate with the fitting groove 31d.
  • the socket side power supply terminal accommodating portion 31g is formed on the longitudinal wall 31h so as to communicate the socket side power supply terminal accommodating concave portion 31k with the fitting groove 31d, and the island side 31c accommodates the socket side power terminal
  • the recess 31 n is formed to communicate with the fitting groove 31 d.
  • the socket side signal terminal 32 and the socket side power supply terminal 33 are press-fit from the back surface side of the socket housing 31 into the socket side signal terminal accommodation portion 31 f and the socket side power supply terminal accommodation portion 31 g respectively.
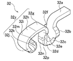
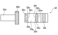
  • the socket side signal terminal 32 is manufactured by metal molding and is a conductor.
  • the socket-side signal terminal 32 has a root portion 32 a that protrudes from the side surface of the socket housing 31.
  • the root portion 32 a is a portion fixed to the circuit pattern 61 of the first circuit board 60 by the solder 70.
  • the lower surface of the root portion 32a extends along the main surface M of the first circuit board 60, and is positioned in the same plane as the bottom surface of the socket housing 31 (the back surface of the plate-like wall 31a).
  • the socket side signal terminal 32 has a rising portion 32 b which rises from the root portion 32 a and extends away from the first circuit board 60.
  • the rising portion 32b is bent from the root portion 32a into the socket side signal terminal receiving recess 31j, and extends along the inner surface of the longitudinal wall 31h.
  • the socket side signal terminal 32 has an inverted U-shaped portion 32c whose one end is continuous with the upper end of the rising portion 32b.
  • the inverted U-shaped portion 32 c has a shape in which the letter “U” is arranged upside down.
  • the inverted U-shaped portion 32c has a tip end surface 32n and an inclined surface 32p continuously provided on both sides in the longitudinal direction X of the tip end surface 32n, and has a projecting shape projecting substantially trapezoidal in a horizontal cross sectional view (See FIG. 23B).
  • the socket side signal terminal 32 has a locking portion 32d continuous with the other end of the inverted U-shaped portion 32c.
  • the locking portion 32 d is formed from one end to the other end in the longitudinal direction X of the socket housing 31 in the socket-side signal terminal 32. That is, the step-like locking portion 32 d is formed over the entire width direction of the socket-side signal terminal 32.
  • the locking portion 32 d functions as a portion that suppresses the movement of the locked portion 22 e when the header-side signal terminal 22 is pulled out of the socket-side signal terminal 32. That is, the locking portion 32d of the socket-side signal terminal 32 can abut on the locked portion 22e of the header-side signal terminal 22 and lock the locked portion 22e.
  • the locking portion 32d of the socket side signal terminal 32 and the locked portion 22e of the header side signal terminal 22 constitute a locking mechanism capable of releasing the locking by applying an external force of a predetermined value or more. ing.
  • the locking portion 32d may be manufactured by rolling a base material in which the thickness of the socket side signal terminal 32 is partially different, but by bending the base material of the socket side signal terminal 32 in the thickness direction It may be manufactured.
  • the socket-side signal terminal 32 has a falling portion 32e which is continuous with the locking portion 32d and extends substantially in parallel with the rising portion 32b.
  • the socket-side signal terminal 32 has a first arc-shaped portion 32f continuous with the lower end of the falling portion 32e.
  • the socket-side signal terminal 32 has an opposing portion 32z that is continuous with the first arc-shaped portion 32f.
  • the facing portion 32z includes a flat portion 32g, a first oblique portion 32h, a second arc-shaped portion 32i, a second oblique portion 32j, an arc-shaped projection 32k, and a tip portion 32m, which will be described next.
  • the facing portion 32z is configured as follows.
  • the facing portion 32z has a flat portion 32g continuous with the lower end of the arc-shaped portion 32f.
  • Flat portion 32g extends along main surface M of first circuit board 60 away from falling portion 32e as shown in FIG. However, the flat portion 32g does not have to be parallel to the major surface M.
  • the flat portion 32g is provided to increase the spring length of a spring portion described later.
  • the facing portion 32z has a first oblique portion 32h continuous with the flat portion 32g and extending in an oblique direction with respect to the main surface M of the first circuit board 60.
  • the first oblique portions 32 h extend away from the falling portions 32 e as they are separated from the first circuit board 60.
  • the first oblique portion 32h is continuous with the second arc-shaped portion 32i.
  • the second arc-shaped portion 32i is a curved portion that protrudes away from the falling portion 32e.
  • the second arc-shaped portion 32i is continuous with a second oblique portion 32j extending in an oblique direction with respect to the main surface M of the first circuit board 60.
  • the second oblique portions 32 j extend closer to the falling portions 32 e as they are separated from the first circuit board 60. Therefore, the second oblique portion 32j is positioned above the first oblique portion 32h.
  • the facing portion 32z has an arc-shaped projection 32k whose one end is continuous with the upper end of the second oblique portion 32j.
  • the arc-shaped projection 32k has a tip end surface 32r and an inclined surface 32s continuously provided on both sides in the longitudinal direction X of the tip end surface 32r, and is formed in a projecting shape projecting substantially trapezoidally in a horizontal sectional view (See FIG. 26B).
  • the arc-shaped projection 32k fits into the recess 22c of the header-side signal terminal 22 as shown in FIG.
  • the other end of the arc-shaped protrusion 32k is continuous with the tip 32m.
  • the tip 32m extends substantially parallel to the second oblique portion 32j.
  • the facing portions 32z (32g, 32h, 32i, 32j, 32k, 32m) are continuous with the lower end of the arc-shaped portion 32f and generally face the falling portion 32e.
  • the header-side signal terminal 22 is inserted between the inverted U-shaped portion 32c and the arc-shaped projection 32k. Be done. At this time, the falling part 32e, the circular arc part 32f, the flat part 32g, the first oblique part 32h, the circular arc part 32i, the second oblique part 32j, the circular projection part 32k, and the tip part 32m are integrated. Function as a spring.
  • the spring portions (32 e, 32 f, 32 g, 32 h, 32 i, 32 j, 32 k, 32 m) elastically deform when the convex portion of the header side signal terminal 22 is inserted into the concave portion of the socket side signal terminal 32.
  • the distance between the two portions of the falling portion 32e and the inverted U-shaped portion 32c and the arc-shaped projection 32k is increased.
  • the locked portion 22 e of the header-side signal terminal 22 is inserted below the locking portion 32 d of the socket-side signal terminal 32.
  • the arc-shaped projection 32 k of the socket-side signal terminal 32 is fitted into the recess 22 c of the header-side signal terminal 22.
  • the header side signal terminal 22 In the state where the header side signal terminal 22 is fitted to the socket side signal terminal 32, a restoring force is generated in the elastically deformed spring portion. By this restoring force, the arc-shaped projection 32k presses the header-side signal terminal 22 against each of the falling portion 32e and the inverted U-shaped portion 32c. Thus, the header-side signal terminal 22 is held by the socket-side signal terminal 32. At this time, the header-side signal terminal 22 contacts the inverted U-shaped portion 32 c, the falling portion 32 e, and the arc-shaped projection 32 k of the socket-side signal terminal 32.
  • the tip end 22d of the header-side signal terminal 22 contacts the falling portion 32e of the socket-side signal terminal 32. That is, the contact portion R1 of the socket side signal terminal 32 and the contact portion R1 of the header side signal terminal 22 contact each other.
  • the recess 22 c of the header side signal terminal 22 contacts the arc-shaped projection 32 k of the socket side signal terminal 32. That is, the contact portion R2 of the socket-side signal terminal 32 and the contact portion R2 of the header-side signal terminal 22 contact each other.
  • the header-side signal terminal 22 and the socket-side signal terminal 32 are in contact at a plurality of contacts (contact portion R1 and contact portion R2) separated in the width direction Y. Therefore, the reliability of the electrical connection between the header side signal terminal 22 and the socket side signal terminal 32 is high.
  • the contact portion of the header-side signal terminal 22 which is one of the contact portions R2 of the socket-side signal terminals 32 and the contact portion R2 of the header-side signal terminals 22 that contact each other.
  • a recess 22c is formed in R2.
  • contact point part R2 of terminal 32 for the socket side signals which is the other contact point part contacts in the longitudinal direction X both ends of socket housing 31 in crevice 22c.
  • the contact portion R2 of the socket-side signal terminal 32 contacts the contact portion R2 of the header-side signal terminal 22 at two points (contact C1 and contact C2).
  • the boundary portion between the flat portion 32g and the first oblique portion 32h contacts the first circuit board 60 at the contact portion R5 due to elastic deformation of the spring portion. In some cases.
  • the header-side signal terminal 22 and the socket-side signal terminal 32 according to the present embodiment are in contact at a plurality of contacts separated in the width direction Y.
  • the header side signal terminal and the socket side signal terminal according to the present invention may be in contact, for example, with only one contact point between the inner side surface of the header side signal terminal and the opposing portion of the socket side signal terminal.
  • the spring portions (32e, 32f, 32g, 32h, 32i, 32j, 32m) are U-shaped portions (32e, 32f, 32g, 32h, 32i, 32j) and U-shaped portions (32e, 32f). , 32g, 32h, 32i, 32j) and free ends (32k, 32m) connected to one end (32j side) of one end.
  • the contact portion R2 of the socket-side signal terminal 32 is provided on the arc-shaped projection 32k at the free end (32k, 32m).
  • the socket side signal terminal 32 has U-shaped portions (32e, 32f, 32g, 32h, 32i, 32j), and U-shaped portions (32e, 32f, 32g, 32h, 32i, At one end (32j side) of 32j), free ends (32k, 32m) where the contact portion R2 is provided are connected.
  • Such a socket-side signal terminal 32 can be formed by curving a strip-like metal material having a predetermined thickness.
  • the socket side signal terminal 32 is inserted (press-fit) into the socket side signal terminal accommodating portion 31f from the back surface side (the lower side of FIG. 15) of the socket housing 31. It is attached to 31.
  • the socket side signal terminals 32 may be mounted on the socket housing 31 by insert molding the socket side signal terminals 32 into the socket housing 31 or the like.
  • the socket side power supply terminal 33 is manufactured by metal molding and is a conductor.
  • the socket-side power supply terminal 33 has a root portion 33 a that protrudes from the side surface of the socket housing 31.
  • the root portion 33 a is a portion fixed to the circuit pattern 61 of the first circuit board 60 by the solder 70.
  • the lower surface of the root portion 33a extends along the main surface M of the first circuit board 60, and is positioned in the same plane as the bottom surface of the socket housing 31 (the back surface of the plate-like wall 31a).
  • the socket side power supply terminal 33 has a rising portion 33 b which rises from the root portion 33 a and extends away from the first circuit board 60.
  • the rising portion 33b is bent from the base portion 33a into the socket side power supply terminal receiving recess 31k and extends along the inner surface of the longitudinal wall 31h.
  • the socket side power supply terminal 33 has an inverted U-shaped portion 33c whose one end is continuous with the upper end of the rising portion 33b.
  • the inverted U-shaped portion 33 c has a shape in which the letter “U” is arranged upside down.
  • the inverted U-shaped portion 33c has a tip end surface 33r and an inclined surface 33s continuously provided on both sides in the longitudinal direction X of the tip end surface 33r, and has a projecting shape projecting in a substantially trapezoidal shape in a horizontal cross sectional view (See FIG. 26B).
  • the socket side power supply terminal 33 has a locking portion 33d continuous with the other end of the inverted U-shaped portion 33c.
  • the locking portion 33 d functions as a portion that suppresses movement of the locked portion 23 e when the header-side power supply terminal 23 is pulled out of the socket-side power supply terminal 33. That is, the locking portion 33d of the socket side power supply terminal 33 can abut on the locked portion 23e of the header side power supply terminal 23, and can lock the locked portion 23e.
  • the locking portion 33d of the socket side power supply terminal 33 and the locked portion 23e of the header side power supply terminal 23 constitute a lock mechanism capable of releasing the lock by applying an external force of a predetermined value or more. ing.
  • the locking portion 33d may be manufactured by rolling a base material in which the thickness of the socket side power supply terminal 33 is partially different, but by bending the base material of the socket side power supply terminal 33 in the thickness direction It may be manufactured.
  • the socket side power supply terminal 33 has a falling portion 33e which is continuous with the locking portion 33d and extends substantially in parallel with the rising portion 33b.
  • the socket-side power supply terminal 33 has a first arc-shaped portion 33f continuous with the lower end of the falling portion 33e.
  • the socket side power supply terminal 33 has an opposing portion 33z continuous to the first arc-shaped portion 33f.
  • the facing portion 33z includes a flat portion 33g, a first oblique portion 33h, a second arc-shaped portion 33i, a second oblique portion 33j, an arc-shaped projection 33k, and a tip 33m, which will be described next.
  • the facing portion 33z is configured as follows.
  • the facing portion 33z has a flat portion 33g continuous with the lower end of the arc-shaped portion 33f.
  • the flat portion 33g extends along the main surface M of the first circuit board 60 away from the falling portion 33e, as shown in FIG. However, the flat portion 33g does not have to be parallel to the main surface M.
  • the flat portion 33g is provided to increase the spring length of a spring portion described later.
  • the facing portion 33z is continuous with the flat portion 33g and has a first oblique portion 33h extending in an oblique direction with respect to the main surface M of the first circuit board 60.
  • the first oblique portion 33 h extends away from the falling portion 33 e as it is separated from the first circuit board 60.
  • the first oblique portion 33h is continuous with the second arc-shaped portion 33i.
  • the second arc-shaped portion 33i is a curved portion which protrudes so as to be separated from the falling portion 33e.
  • the second arc-shaped portion 33i is continuous with a second oblique portion 33j extending in an oblique direction with respect to the main surface M of the first circuit board 60.
  • the second oblique portion 33 j extends closer to the falling portion 33 e as it is separated from the first circuit board 60. Therefore, the second oblique portion 33j is positioned above the first oblique portion 33h.
  • the facing portion 33z has an arc-shaped projection 33k whose one end is continuous with the upper end of the second oblique portion 33j.
  • the arc-shaped projection 33k has a tip end surface 33v and an inclined surface 33w continuously provided on both sides in the longitudinal direction X of the tip end surface 33v, and is formed in a projecting shape projecting substantially trapezoidally in a horizontal cross sectional view (See FIG. 26B).
  • the arc-shaped projection 33k is fitted into the recess 23c of the header side power supply terminal 23, as shown in FIG.
  • the other end of the arc-shaped protrusion 33k is continuous with the tip 33m.
  • the tip 33m extends substantially parallel to the second oblique portion 33j.
  • the facing portions 33z (33g, 33h, 33i, 33j, 33k, 33m) are continuous with the lower end of the arc-shaped portion 33f and generally face the falling portion 33e.
  • the header side power supply terminal 23 is inserted between the inverted U-shaped portion 33c and the arc-shaped projection 33k. Be done. At this time, the falling part 33e, the circular arc part 33f, the flat part 33g, the first oblique part 33h, the circular arc part 33i, the second oblique part 33j, the circular projection part 33k, and the tip part 33m are integrated. Function as a spring.
  • the spring portions (33e, 33f, 33g, 33h, 33i, 33j, 33k, 33m) are elastically deformed when the convex portion of the header side power supply terminal 23 is inserted into the concave portion of the socket side power supply terminal 33.
  • the distance between the two portions of the falling portion 33e and the inverted U-shaped portion 33c and the arc-shaped protrusion 33k is increased.
  • the locked portion 23 e of the header side power supply terminal 23 is inserted below the locking portion 33 d of the socket side power supply terminal 33.
  • the arc-shaped projection 33 k of the socket side power supply terminal 33 is fitted into the recess 23 c of the header side power supply terminal 23.
  • the tip end 23d of the header side power supply terminal 23 contacts the falling portion 33e of the socket side power supply terminal 33. That is, the contact portion R3 of the socket side power supply terminal 33 and the contact portion R3 of the header side power supply terminal 23 are in contact with each other.
  • the recess 23 c of the header side power supply terminal 23 is in contact with the arc-shaped projection 33 k of the socket side power supply terminal 33. That is, the contact portion R4 of the socket side power supply terminal 33 and the contact portion R4 of the header side power supply terminal 23 are in contact with each other.
  • the header-side power supply terminal 23 and the socket-side power supply terminal 33 are in contact with each other at a plurality of contacts (contact portions R3 and R4) separated in the width direction Y. Therefore, the reliability of the electrical connection between the header side power supply terminal 23 and the socket side power supply terminal 33 is high.
  • the side cross sectional shape of the socket side signal terminal 32 and the side cross sectional shape of the socket side power supply terminal 33 have substantially the same shape (see FIGS. 23A and 26A).
  • the socket side signal terminals 32 and the socket side power supply terminals 33 are disposed along the longitudinal direction X of the socket housing 31.
  • the socket side power supply terminal 33 is formed such that the width along the longitudinal direction X of the socket housing 31 is wider than the width along the longitudinal direction X of the socket side signal terminal 32. ing.
  • the socket-side signal terminal 32 having a narrower width in the longitudinal direction X of the socket housing 31 than the socket-side power supply terminal 33 is provided.
  • the width of the socket housing 31 in the longitudinal direction X is smaller than that of the socket-side power supply terminals 33 for all the socket-side signal terminals 32.
  • the concave portion cut in a concave shape at the central portion in the longitudinal direction X of the base portion 33a It forms 33n.
  • the recess 33 n it is possible to increase the length of the contour line in contact with the circuit pattern of the root portion 33 a while suppressing an increase in the amount of protrusion of the root portion 33 a.
  • the shape of the outline can be made more complicated.
  • the fixing strength with the solder 70 is increased.
  • a hole 33p is formed at the central portion in the longitudinal direction X from the rising portion 33b to the inverted U-shaped portion 33c.
  • the locking portion 33 d is formed from one end to the other end in the longitudinal direction X of the socket housing 31 in the socket-side power supply terminal 33. That is, the step-like locking portion 33 d is formed over the entire width direction of the wide socket side power supply terminal 33. By doing this, it is possible to improve the locking force by the locked portion 23e of the header side power supply terminal 23 and the locking portion 33d of the socket side power supply terminal 33. Further, even when the insertion and removal of the header 20 and the socket 30 are repeated, the locking portion 33d is less likely to be worn, so that the product life can be extended.
  • the spring portion (33e, 33f, 33g, 33h, 33i, 33j, 33k, 33m) and the U-shaped portion (33e, 33f, 33g, 33h, 33i, 33j) are U-shaped. And free ends (33k, 33m) connected to one end (33j side) of the parts (33e, 33f, 33g, 33h, 33i, 33j).
  • the contact portion R4 of the socket-side signal terminal 32 is provided on the arc-shaped projection 33k at the free end (33k, 33m).
  • the socket side power supply terminal 33 has U-shaped portions (33e, 33f, 33g, 33h, 33i, 33j), and U-shaped portions (33e, 33f, 33g, 33h, 33i, At one end (33j side) of 33j), free ends (33k, 33m) where the contact portion R4 is provided are connected.
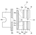
  • a plurality of pieces 35, 36 are formed at least at the free ends (33k, 33m).
  • two (two or more) are formed by forming a groove portion 33t having a shape that is cut in a band shape in a part of the spring portion (33e, 33f, 33g, 33h, 33i, 33j, 33k, 33m). ) Are provided.
  • the two (plural) pieces 35 and 36 have flexibility and can be bent independently.
  • a contact portion R4 is provided on each of the two piece portions 35 and 36.
  • the socket-side power supply terminal 33 and the header-side power supply terminal 23 are provided with a plurality of contact portions R4 that contact each other.
  • the contact portions R4 are provided at two locations along the longitudinal direction X of the socket housing 31.
  • the deep part 33u of the groove part 33t is located in the middle of the falling part 33e. That is, the deep portion 33 u of the groove 33 t is located closer to the free end (33 k, 33 m) than the locking portion 33 d.
  • a partition wall 31r is formed in the socket side power supply terminal accommodation recess 31n. Then, when the socket-side power supply terminal 33 is inserted (press-fit) into the socket-side power supply terminal accommodation section 31g, the partition wall 31r is inserted into the groove section 33t, and the two (plural) pieces 35, 36 Interference with each other is suppressed.
  • the contact portion of the header-side power supply terminal 23 which is one of the contact portions of the contact portion R4 of the socket-side power supply terminal 33 and the contact portion R4 of the header-side power supply terminal 23, which contact each other.
  • a recess 23c is formed in R4.
  • contact point part R4 of terminal 33 for the socket side power supplies which is the other contact point part contacts in the longitudinal direction X both ends of socket housing 31 in crevice 23c.
  • the contact portion R4 of the socket-side power supply terminal 33 contacts the contact portion R4 of the header-side power supply terminal 23 at two points (contact C1 and contact C2).
  • both of the two contact portions R4 formed to be separated along the longitudinal direction X contact at two points (contact C1 and contact C2).
  • the boundary portion between the flat portion 33g and the first oblique portion 33h contacts the first circuit board 60 at the contact portion R5 due to elastic deformation of the spring portion. In some cases.
  • Such a socket side power supply terminal 33 can be formed by curving a strip-like metal material having a predetermined thickness.
  • the socket side power supply terminal 33 is inserted (press-fit) from the back surface side (the lower side of FIG. 15) of the socket housing 31 into the socket side power supply terminal accommodating portion 31g. It is attached to 31.
  • the socket side power supply terminal 33 may be mounted on the socket housing 31 by insert molding the socket side power supply terminal 33 into the socket housing 31 or the like.
  • the socket side holding fitting 34 can be formed by bending a holding fitting plate formed by press forming a metal plate having a predetermined thickness, and the side plate portion extending in the width direction Y of the connector 10 34a, and a bottom plate portion 34c which is bent at a substantially right angle toward the central side in the longitudinal direction X at the lower side of the side plate portion 34a. Then, by causing both end portions of the bottom plate portion 34c to protrude outward from both sides in the width direction Y of the connector 10, a first fixed terminal 34j as the fixed terminal 34d is formed.
  • extension portions 34b in which both end portions in the width direction Y of the side plate portion 34a are bent substantially at right angles toward the longitudinal direction X central side of the connector 10 are formed.
  • a second fixed terminal 34k as a fixed terminal 34d which is extended downward and is fixed to the first circuit board 60 by the solder 70 is provided at the end portion 34g in the extending direction of the extending portion 34b. It is done.
  • a set of fixed terminals formed by the first fixed terminal 34 j and the second fixed terminal 34 k disposed in the vicinity is provided at both ends in the longitudinal direction X of the pair of long sides of the connector 10, A total of four sets are provided in parallel with the socket side terminal group G2.
  • the socket side holding fitting 34 is formed separately from the first fixed terminal 34 j fixed on the first circuit board 60 and the first fixed terminal 34 j. And a second fixed terminal 34k fixed on the circuit board 60. The second fixed terminal 34 k is extended from the extending portion 34 b of the socket side holding fitting 34.
  • the second fixed terminal 34k is provided at a position where the distance (the distance along the outer surface of the socket-side holding bracket 34) on the socket-side holding bracket 34 from the first fixed terminal 34j to be a set becomes maximum. It is done.
  • the socket side holding fitting 34 is attached (disposed) to the socket housing 31 by insert molding. At this time, at least a part of the socket side holding fitting 34 is exposed along the socket housing 31.
  • a portion of the outer surface 31s of the peripheral wall portion 31b and the plate-like wall portion 31a and a portion of the outer wall surface 34e of the socket side holding fitting 34 are substantially flush.
  • the socket side holding fitting 34 is integrally formed on the socket housing 31 so that a part of the outer wall surface 34e of the socket side holding fitting 34 is exposed substantially flush with the outer surface 31s of the peripheral wall 31b.
  • the socket side holding fitting 34 is exposed along at least one of the side surface 31 t and the bottom surface 31 u of the socket housing 31.
  • the outer surface 34i of the bottom plate portion 34c is not flush with the bottom surface 31u (the outer surface 31s) of the socket housing 31, the outer surface 34i of the bottom plate portion 34c is exposed to the bottom surface 31u (of the socket housing 31). It is also possible to expose it flush with the outer surface 31s). Further, the outer wall surface 34e of the socket side holding fitting 34 does not have to be exposed to the outer surface (the outer surface 31s of the short direction wall 31i) of the peripheral wall 31b. It is not necessary to be exposed flush with the outer surface (the outer surface 31s of the short direction wall 31i).
  • outer wall surface 34e (the outer surface 34h) of the extended portion 34b can be exposed from the outer surface (the outer surface 31s of the longitudinal wall 31h) of the peripheral wall 31b. At this time, it may be exposed in a flush state, or may be exposed so as not to be in a flush state.
  • the header 20 is fitted to the socket 30 by inserting and fitting the peripheral wall 21b of the header housing 21 into the fitting groove 31d of the socket housing 31.
  • the taper portion 31e and the taper portion 21d formed on the long side portion on one end side in the Y direction are overlapped, Y It can be made to fit while being shifted to the other end side in the direction (width direction: short direction).
  • the tapered portion 31 e and the tapered portion 21 d can be made to function as a lead-in portion, and the header 20 can be fitted into the socket 30 more easily.
  • the contact portion R2 of the socket-side signal terminal 32 and the contact portion R2 of the header-side signal terminal 22 contact each other.
  • the contact portion R4 of the socket side power supply terminal 33 and the contact portion R4 of the header side power supply terminal 23 are in contact with each other.
  • the socket side signal terminal 32 and the header side signal terminal 22 are electrically connected, and the socket side power supply terminal 33 and the header side power supply terminal 23 are electrically connected.
  • circuit pattern 61 of the first circuit board 60 and the circuit pattern 41 of the second circuit board 40 are electrically connected to each other.
  • the spring portions (33e, 33f, 33g, 33h, 33i, 33j, 33k, 33m) is elastically deformed, and the locking between the locking portion 33d and the locked portion 23e is released. At this time, the fitting of the arc-shaped protrusion 33 k into the recess 23 c is also released.
  • the header 20 and the socket 30 can be separated.
  • the header-side signal terminal 22 and the header-side power supply terminal 23 have substantially the same height in the Z direction of the tip portion on the socket 30 side when the header 20 and the socket 30 are fitted. It is attached to the header housing 21 so that it may become.
  • the socket side signal terminal 32 and the socket side power supply terminal 33 are sockets so that the height in the Z direction of the tip portion which becomes the header 20 side becomes substantially the same when the header 20 and the socket 30 are fitted. It is attached to the housing 31.
  • the header side holding fitting 24 is disposed at both ends of the header housing 21 in the longitudinal direction X
  • the socket side holding fitting 34 is disposed at both ends of the socket housing 31 in the longitudinal direction X. ing.
  • the header side holding fitting 24 and the socket side holding fitting 34 are used to increase the strength of the header housing 21 and the socket housing 31 and to fix them to the circuit board described above.
  • the header 20 is firmly coupled to the second circuit board 40.
  • the socket 30 is firmly coupled to the first circuit board 60.
  • the header 20 and the socket 30 which are firmly coupled to the respective circuit boards can be fitted to each other.
  • the header-side signal terminals 22 and the socket-side signal terminals 32 are in contact with each other, and the header-side power terminals 23 and the socket-side power terminals 33 are in contact with each other. It can be connected electrically.
  • each terminal and each holding bracket to the circuit pattern will be described.
  • the fixing structure to each circuit pattern of each terminal and each holding fixture is not limited to the structure of FIGS. 34-37.
  • the header-side signal terminal 22, the header-side power supply terminal 23, and the header-side holding bracket 24 can be fixed to the circuit pattern 41 as shown in FIG.
  • the base portion 22a of the header-side signal terminal 22 disposed at the central portion in the longitudinal direction X is fixed to the circuit pattern 41a for signal by the solder 50, respectively.
  • the header-side power supply terminals 23 disposed on both sides in the longitudinal direction X are fixed by solder 50 to the circuit pattern 41 b whose root 23 a is common. Then, the fixing terminal 24 a of the header-side holding bracket 24 is also fixed to the common circuit pattern 41 b by the solder 50.
  • the header side power supply terminal 23 and the header side holding fitting 24 which are arranged to be adjacent to each other are soldered to the common circuit pattern 41b. That is, the header side power supply terminal 23 and the header side holding fitting 24 which are arranged to be adjacent to each other share the circuit pattern 41 b.
  • the two header side power supply terminals 23 disposed on one side of the longitudinal direction X are the circuit pattern 41 b disposed on one side of the longitudinal direction X and the header disposed on one side of the longitudinal direction X It is electrically connected via the side holding fitting 24.
  • the two header-side power supply terminals 23 disposed on the other side in the longitudinal direction X also have the circuit pattern 41 b disposed on the other side in the longitudinal direction X and the header disposed on the other side in the longitudinal direction X It is electrically connected via the side holding fitting 24.
  • the socket-side signal terminal 32, the socket-side power terminal 33, and the socket-side holding bracket 34 are fixed to the circuit pattern 61 as shown in FIG.
  • the base portions 32 a of the socket side signal terminals 32 disposed at the central portion in the longitudinal direction X are fixed to the circuit patterns 61 a for signal by solder 70 respectively.
  • the socket side power supply terminals 33 disposed on both sides in the longitudinal direction X are fixed to the common circuit pattern 61 b by the solder 70 at the base portions 33 a. Then, also in the socket side holding fitting 34, the fixing terminal 34d is fixed to the common circuit pattern 61b by the solder 70.
  • the fixed terminal 34d and the base portion 33a are soldered to the common circuit pattern 61b.
  • the socket-side power supply terminal 33 and the socket-side holding bracket 34 which are disposed to be adjacent to each other are soldered to the common circuit pattern 61b. Therefore, the two socket side power supply terminals 33 disposed on one side of the longitudinal direction X are the circuit pattern 61 b disposed on one side of the longitudinal direction X and the sockets disposed on one side of the longitudinal direction X It is electrically connected via the side holding fitting 34.
  • the two socket side power terminals 33 disposed on the other side of the longitudinal direction X also have the circuit pattern 61b disposed on the other side of the longitudinal direction X and the sockets disposed on the other side of the longitudinal direction X It is electrically connected via the side holding fitting 34.
  • the first fixed terminal 34 j and the second fixed terminal 34 k which are paired with each other are soldered to the circuit pattern 61 b to which the base portion 33 a is soldered.
  • header-side signal terminal 22, the header-side power supply terminal 23 and the header-side holding bracket 24 are fixed to the circuit pattern 41 as shown in FIG.
  • the base portion 22a of the header-side signal terminal 22 disposed at the central portion in the longitudinal direction X is fixed to the circuit pattern 41a for signal by the solder 50, respectively.
  • the base portion 23 a of the header side power supply terminal 23 disposed on both sides in the longitudinal direction X is fixed to the circuit pattern 41 c for power supply by the solder 50.
  • the fixing terminal 24 a of the header side holding bracket 24 is fixed to the circuit pattern 41 d for fixing the bracket by the solder 50.
  • the fixed terminal 24a and the base portion 23a are soldered to different circuit patterns 41, respectively.
  • the socket side signal terminal 32, the socket side power supply terminal 33 and the socket side holding bracket 34 are also fixed to the circuit pattern 61 as shown in FIG.
  • the base portions 32 a of the socket side signal terminals 32 disposed at the central portion in the longitudinal direction X are fixed to the circuit patterns 61 a for signal by solder 70 respectively.
  • the base portion 33a of the socket side power supply terminal 33 disposed on both sides in the longitudinal direction X is fixed to the circuit pattern 61c for power supply by the solder 70.
  • the fixing terminal 34d is fixed to the circuit pattern 61d for fixing the bracket by the solder 70.
  • the fixed terminal 34d and the base portion 33a are soldered to different circuit patterns 61, respectively.
  • FIG. 34 and FIG. 36 is selected as the fixing structure on the socket side, and either of FIG. 35 and FIG. 37 is selected as the fixing structure on the header side, and the circuit of the connector 10 is combined.
  • the fixed structure to the pattern can be obtained.
  • the connector 10 includes the socket 30 having the substantially rectangular socket housing 31 in which the socket side signal terminal 32 and the socket side power supply terminal 33 are disposed, and for the header side signal. And a header 20 having a substantially rectangular header housing 21 in which the terminals 22 and the header side power supply terminal 23 are disposed.
  • the socket-side signal terminals 32 and the socket-side power terminals 33 are disposed along the longitudinal direction X of the socket housing 31, and the width of the socket housing 31 in the longitudinal direction X is greater than the socket-side power terminals 33. Has a narrow socket side signal terminal 32.
  • the formation of a dead space is suppressed as compared with the case where a plurality of terminals arranged separately from one another are used as a power supply terminal, so the longitudinal direction X of the socket 30 can be miniaturized. Becomes possible.
  • the cross-sectional shape of the socket-side signal terminal 32 and the cross-sectional shape of the socket-side power supply terminal 33 are substantially the same. As a result, the processability of parts is improved and the processability of assembly is improved.
  • a plurality of socket-side terminal groups G2 configured by the socket-side signal terminals 32 and the socket-side power supply terminals 33 disposed along the longitudinal direction X of the socket housing 31 are arranged in a plurality of rows There is. By so doing, the cross-sectional area of the terminal can be increased, and the current capacity can be increased.
  • the socket side power supply terminal 33 has a step-like locking portion 33 d to be locked to the header side power supply terminal 23, and the locking portion 33 d corresponds to the socket housing 31 in the socket side power supply terminal 33. Is formed from one end to the other end in the longitudinal direction X of As a result, it is possible to improve the locking force and to make it difficult to wear when repeatedly inserting and removing, so it is possible to achieve a long life of the product.
  • a socket-side power supply terminal 33 is provided which is disposed outside the socket-side signal terminal 32 in the longitudinal direction X of the socket housing 31.
  • the socket side power supply terminal 33 having a large amount of heat generation is disposed outside the longitudinal direction X of the socket housing 31, the heat radiation efficiency can be further enhanced.
  • a plurality of contact portions R4 contacting each other are provided along the longitudinal direction X of the socket housing 31 on the socket side power supply terminal 33 and the header side power supply terminal 23. In this way, the contact resistance can be reduced while improving the contact reliability of the terminal.
  • the socket-side power supply terminal 33 is formed with a plurality of pieces 35 and 36, and a contact portion R4 is provided to each of the plurality of pieces 35 and 36. By doing this, it is possible to reduce the contact resistance while improving the contact reliability of the terminal.
  • the plurality of pieces 35, 36 have flexibility, and can be bent independently. By this, it is possible to reduce the contact resistance while improving the contact reliability of the terminal.
  • the socket side power supply terminal 33 has a U-shaped portion (33e, 33f, 33g, 33h, 33i, 33j). At one end (33j side) of this U-shaped part (33e, 33f, 33g, 33h, 33i, 33j), a free end (33k, 33m) where the contact part R4 is provided is connected. And, a plurality of pieces 35, 36 are formed at least at the free ends (33k, 33m). By this, the contact reliability of the terminal can be further improved.
  • the socket side holding fitting 34 is disposed in the socket housing 31, and at least a part (34 a and 34 c) of the socket side holding fitting 34 is exposed along the outer surface 31 s of the socket housing 31.
  • the socket-side holding fitting 34 is exposed along at least one of the side surface 31 t and the bottom surface 31 u of the socket housing 31. Therefore, the socket housing and the socket-side holding fitting can be fixed more firmly while achieving downsizing of the socket housing.
  • the socket side holding fitting 34 is disposed on the socket housing 31 by insert molding. As a result, the socket housing and the socket side holding fitting can be fixed more firmly, and since the contact area with the socket housing can be increased as compared with the case of press-fitting, the heat dissipation can be improved. .
  • the socket side holding fitting 34 has a fixed terminal 34 d soldered to the circuit pattern 61 formed on the first circuit board 60.
  • the socket side power supply terminal 33 has a base 33 a soldered to the circuit pattern 61 formed on the first circuit board 60.
  • the fixed terminal 34d and the base portion 33a are soldered to the common circuit pattern 61b.
  • the circuit pattern to which the socket-side holding bracket 34 is fixed can also be used as a heat dissipation plate for heat generated by the socket-side power supply terminal 33, and heat dissipation can be further enhanced.
  • the socket side holding fitting 34 and the socket side power supply terminal 33 are disposed adjacent to each other. In this case, the heat dissipation can be enhanced, and the wiring shape of the circuit pattern can be suppressed from being complicated.
  • the fixed terminal 34d has a first fixed terminal 34j and a second fixed terminal 34k formed separately from the first fixed terminal 34j. Therefore, the socket side holding fitting 34 and the first circuit board 60 can be fixed more firmly.
  • the header side signal terminals 22 and the header side power supply terminals 23 are disposed along the longitudinal direction X of the header housing 21, and the width of the header housing 21 in the longitudinal direction X is larger than the width of the header side power supply terminals 23. Has a narrow header side signal terminal 22. In this way, the formation of a dead space is suppressed as compared to the case where a plurality of terminals arranged separately from one another are used as power supply terminals, so the longitudinal direction X of the header 20 can be miniaturized. Becomes possible.
  • the cross-sectional shape of the header-side signal terminal 22 and the cross-sectional shape of the header-side power supply terminal 23 have substantially the same shape, the component processability is improved and the assembly processability is improved.
  • header housing 21 a plurality of rows of header side terminal groups G 1 configured by the header side signal terminals 22 and the header side power supply terminals 23 disposed along the longitudinal direction X of the header housing 21 are arranged. There is. As a result, since the cross-sectional area of the terminal can be increased, the current capacity can be increased.
  • the header side power supply terminal 23 has a step-like engaged portion 23e which is engaged with the socket side power supply terminal 33, and the engaged portion 23e is a header of the header side power supply terminal 23. It is formed from one end to the other end in the longitudinal direction X of the housing 21. As a result, it is possible to improve the locking force and to make it difficult to wear when repeatedly inserting and removing, so it is possible to achieve a long life of the product.
  • a header-side power supply terminal 23 disposed on the outer side in the longitudinal direction X of the header housing 21 than the header-side signal terminal 22 is provided.
  • the header side power supply terminal 23 having a large amount of heat generation on the outer side in the longitudinal direction X of the header housing 21 the heat dissipation can be enhanced.
  • the header side holding fitting 24 is disposed in the header housing 21.
  • the header side holding fitting 24 has a fixed terminal 24 a soldered to the circuit pattern 41 formed on the second circuit board 40.
  • the header side power supply terminal 23 has a base portion 23 a soldered to the circuit pattern 41 formed on the second circuit board 40.
  • the fixed terminal 24a and the base portion 23a are soldered to the common circuit pattern 41b.
  • the circuit pattern to which the header side holding fitting 24 is fixed can also be used as a heat dissipating plate for heat generated by the header side power supply terminal 23, and heat dissipation can be further enhanced.
  • header side holding fitting 24 and the header side power supply terminal 23 are disposed adjacent to each other. In this case, the heat dissipation can be enhanced, and the wiring shape of the circuit pattern can be suppressed from being complicated.
  • the contact between the header side power supply terminal 23 and the socket side power supply terminal 33 and the contact between the header side signal terminal 22 and the socket side signal terminal 32 are made almost simultaneously.
  • the header 20 and the socket 30 are separated, the contact release between the header side power supply terminal 23 and the socket side power supply terminal 33 and the contact between the header side signal terminal 22 and the socket side signal terminal 32 The cancellation is made substantially simultaneously.
  • only the contact between the header side power supply terminal 23 and the socket side power supply terminal 33 may be made, or the header side signal terminal 22 and the socket side It can be suppressed that only the contact with the signal terminal 32 is made. As a result, it can be prevented that only the signal terminal or the power terminal comes in contact, and the connection reliability of the connector 10 can be further improved.
  • the longitudinal direction of the connector is X direction
  • the width direction (short side direction) of the connector is Y direction
  • the upper side in the states shown in FIGS. 58 to 61 is described as the upper side (front side) in the vertical direction
  • the lower side is the lower side (back side) in the vertical direction.
  • the connector 10 concerning this embodiment has the header 20 and the socket 30 which mutually fit, as shown to FIGS. 58-61.
  • the header 20 has a header housing 21 in which the header signal terminal 22 and the header holding bracket 25 are disposed.
  • the socket 30 has a socket housing 31 in which the socket side signal terminal 32 and the socket side holding fitting 37 are disposed.
  • the header side holding fitting 25 is used to increase the strength of the header housing 21 and to fix and fix the fixed terminal 25a of the header side holding fitting 25 to the second circuit board 40 described above.
  • the socket-side holding bracket 37 is used to increase the strength of the socket housing 31 and to fix and fix the fixed terminal 37 d of the socket-side holding bracket 37 to the first circuit board 60 described above.
  • the header side holding fitting 25 also has a function as a header side power supply terminal
  • the socket side holding fitting 37 also has a function as a socket side power supply terminal
  • the header side holding bracket 25 doubles as the header side power terminal
  • the socket side holding bracket 37 doubles as the socket side power terminal
  • the header side signal terminal 22 and the socket side signal terminal 32 are in contact with each other, and the header side holding bracket 25 as a header side power terminal
  • the socket side holding metal fitting 37 as a socket side power supply terminal contacts.
  • the socket 30 is attached to the second circuit board 40, and the header 20 is attached to the first circuit board 60.
  • the second circuit board 40 on which the header 20 is mounted and the first circuit board 60 on which the socket 30 is mounted are electrically connected.
  • the header side signal terminal 22 and the header side power supply terminal 23 have a circuit pattern on the second circuit board 40. It is electrically connected to 41.
  • the second circuit board 40 a printed circuit board (Printed Circuit Board), an FPC (Flexible Printed Circuit), or the like can be used.
  • the socket side signal terminal 32 and the socket side power terminal 33 are electrically connected to the circuit pattern 61 on the first circuit board 60.
  • a printed circuit board Printed Circuit Board
  • FPC Flexible Printed Circuit
  • the connector 10 concerning this embodiment is also used in order to electrically connect the circuit boards in the electronic device as portable terminals, such as a smart phone.
  • the connector of the present invention may be used for electrical connection between any parts as long as it is used in an electronic device.
  • the header 20 has a header housing 21 as described above.
  • the header housing 21 is entirely formed in a rectangular (rectangular) shape in plan view by an insulating synthetic resin (see FIGS. 38 to 43).
  • the header housing 21 is provided with a header signal terminal 22 made of metal and a header side holding fitting 25 made of metal.
  • the header-side signal terminal 22 is a terminal that is electrically connected to the signal line and used to transmit a signal.
  • the header side holding fitting 25 also serves as the header side power supply terminal, and is used to supply power by being electrically connected to the power supply line while enhancing the strength of the header housing 21. .
  • the plurality of header side signal terminals 22 are arranged in parallel with a predetermined pitch.
  • the header-side signal terminal group G3 is configured by the plurality of header-side signal terminals 22 arranged in parallel on one side in the width direction (short side direction) Y of the header housing 21.
  • the two header side holding brackets (header side power supply terminals) 25 are juxtaposed so as to be separated from one header side signal terminal group G3. It is set up.
  • the header side includes one header-side signal terminal group G3 and two header-side holding brackets (header-side power terminals) 25 arranged in parallel on one side in the width direction (short side direction) Y of the header housing 21.
  • the terminal group G1 is configured.
  • a plurality of header-side signal terminals 22 are arranged in parallel at a predetermined pitch. Then, the plurality of header-side signal terminals 22 provided in parallel on the other side of the width direction (short direction) Y of the header housing 21 constitute a header-side signal terminal group G3.
  • header side holding brackets header side power supply terminals
  • the header side includes one header-side signal terminal group G3 and two header-side holding brackets (header-side power terminals) 25 arranged in parallel on the other side of the width direction (short side direction) Y of the header housing 21.
  • the terminal group G1 is configured.
  • the header housing 21 includes the header side signal terminal group G3 and the header side holding bracket (header side power terminal) 25 disposed along the longitudinal direction X of the header housing 21.
  • the header-side terminal group G1 configured is arranged in two rows (multiple rows).
  • header-side holding brackets (header-side power terminals) 25 are disposed at both ends of the header-side signal terminal group G3.
  • the header side holding bracket (header side power supply terminal) 25 is disposed at both ends in the longitudinal direction X of the header housing 21, and the header side signal between the header side holding bracket (header side power supply terminal) 25 A terminal group G3 is provided.
  • the header side holding metal fitting (header side power supply terminal) disposed on the outer side in the longitudinal direction X of the header housing 21 than the header side signal terminal group G3 (header side signal terminal 22) ) Has 25.
  • the header housing 21 is formed in a substantially box shape having one side (the lower side in FIG. 42) opened by the plate-like wall portion 21 a and the peripheral wall portion 21 b continuously formed in a substantially rectangular ring along the peripheral edge thereof.
  • the recess 21c (see FIG. 41) is formed inward of the peripheral wall 21b.
  • a tapered portion 21d is formed so as to be positioned upward (plate-like wall portion 21a side) toward the outside.
  • the tapered portion 21d is formed on both ends in the longitudinal direction of the longitudinal wall portion 21e of the peripheral wall portion 21b and in the entire width direction Y of the short direction wall portion 21f of the peripheral wall portion 21b.
  • substantially U-shaped tapered portions 21d are formed.
  • the peripheral wall portion 21b between adjacent header side signal terminals 22 and between the header side signal terminal group G3 and the header side holding bracket (header side power supply terminal) 25 has an R shape (inverted U shape). ) Is curved.
  • the length in the width direction Y of the short direction wall portion 21 f is formed to be larger than the distance between the two opposing longitudinal direction wall portions 21 e.
  • the header-side signal terminal 22 is manufactured by metal molding and is a conductor.
  • the header-side signal terminal 22 has a root 22 a protruding from the side surface of the header housing 21.
  • the root portion 22 a is a portion fixed to the circuit pattern 41 of the second circuit board 40 by the solder 50.
  • the top surface of the root 22a extends substantially parallel to the top surface of the header housing 21 (the outer surface of the plate-like wall 21a), as can be seen from FIG.
  • the header-side signal terminal 22 has an inner portion 22b continuous with the root portion 22a.
  • the inner part 22b bends and penetrates the joint between the plate-like wall 21a and the longitudinal wall 21e of the header housing 21 and extends to the tip of the longitudinal wall 21e along the inner surface of the longitudinal wall 21e. It extends.
  • a recess 22 c is formed on the inner surface of the inner portion 22 b of the header-side signal terminal 22.
  • the recess 22 c is formed in a substantially triangular prism shape by the inclined surfaces 22 h continuously provided on both sides in the longitudinal direction X and the inclined surfaces 22 i continuously provided on both sides in the vertical direction Z.
  • the header-side signal terminal 22 has a tip 22d continuous with one end of the inner portion 22b.
  • the end 22 d is curved along the shape of the end of the longitudinal wall 21 e of the header housing 21.
  • the header-side signal terminal 22 has a to-be-locked portion 22e that is continuous with the distal end portion 22d.
  • the engaged portion 22 e is formed from one end to the other end in the longitudinal direction X of the header housing 21 in the header side signal terminal 22. That is, the step-like engaged portion 22 e is formed over the entire width direction of the header-side signal terminal 22.
  • the locked portion 22e is deeper than the locking portion 32d as a stepped portion when the header-side signal terminal 22 is fitted into the socket-side signal terminal 32, as can be understood by comparing FIGS. 58 and 59. Inserted into Therefore, when the header-side signal terminal 22 is pulled out of the socket-side signal terminal 32, the engaged portion 22e abuts on the engagement portion 32d. That is, the locked portion 22 e of the header-side signal terminal 22 is locked by the locking portion 32 d of the socket-side signal terminal 32. Therefore, the pullout from the socket side signal terminal 32 of the header side signal terminal 22 is suppressed. That is, the header-side signal terminal 22 can not be pulled out of the socket-side signal terminal 32 only by applying an external force smaller than a predetermined value.
  • the header-side signal terminal 22 can be pulled out of the socket-side signal terminal 32 when a large external force equal to or greater than a predetermined value is applied.
  • the locked portion 22e of the header-side signal terminal 22 and the locking portion 32d of the socket-side signal terminal 32 are locks that can release each other's locking by applying an external force equal to or greater than a predetermined value. It constitutes a mechanism.
  • the engaged portion 22e may be manufactured by rolling a base material in which the thickness of the header side signal terminal 22 is partially different, the base material of the header side signal terminal 22 is bent in the thickness direction May be manufactured by
  • the header-side signal terminal 22 has an outer portion 22f that is continuous with the tip portion 22d via the engaged portion 22e and extends along the outer surface of the longitudinal wall 21e.
  • the front end of the outer portion 22f of the header-side signal terminal 22 is positioned by the protruding wall portion 21g provided on the outer periphery of the longitudinal wall portion 21e (the peripheral wall portion 21b).
  • Such a header-side signal terminal 22 can be formed by curving a strip-shaped metal material having a predetermined thickness.
  • the header side signal terminal 22 is disposed in the header housing 21 by insert molding.
  • the header-side signal terminals 22 may be disposed on the header housing 21 by press-fitting the header-side signal terminals 22 into the header housing 21.
  • the header-side holding fitting 25 is manufactured by metal molding in the same manner as the header-side signal terminal 22.
  • the holding metal fitting plate formed by press-forming a metal plate having a predetermined thickness may be bent.
  • the header side holding fitting 25 includes a connecting piece (base) 25h, and a pair of projecting pieces 25d and 25d which project from the connecting piece 25h in a substantially reverse V shape (more specifically, a figure of eight character).
  • the pair of projecting pieces 25d, 25d are provided so as to be elastically deformable in the width direction Y with the connecting piece (base) 25h as a base point. That is, the pair of protruding pieces 25d, 25d are provided so as to be movable relative to the connecting piece (base) 25h in the width direction Y of the connector 10.
  • the fixed terminal 25a which protrudes from the side of the header housing 21 is provided in the both ends of the width direction Y of the connection piece part (base) 25h.
  • the fixed terminal 25 a is a portion fixed to the circuit pattern 41 of the second circuit board 40 by the solder 50. Further, the upper surface of the fixed terminal 25a also extends substantially parallel to the upper surface of the header housing 21 (the outer surface of the plate-like wall portion 21a).
  • a pair of branched piece portions 25b and 25b bifurcated downward are provided at both ends in the width direction Y.
  • step-like protrusions 25c, 25c are provided on the opposing surfaces of the pair of branch pieces 25b, 25b.
  • bent pieces 25e, 25e bent toward the outer side in the width direction Y are formed at the tips of the pair of protruding pieces 25d, 25d, and the tips of the bent pieces 25e, 25e are The contact portions 25f and 25f contact the socket side holding fitting 37.
  • Such a header side holding fitting 25 is used by being fitted to engaging groove portions 21i formed at both end portions in the longitudinal direction X of the header housing 21.
  • engaging groove portions 21i in which the connecting piece (base) 25h and the pair of projecting pieces 25d, 25d are accommodated are respectively provided at both ends in the longitudinal direction X of the header housing 21. .
  • a pair of branch piece insertion holes 21j, 21j into which the branch pieces 25b are respectively inserted are formed on both sides in the width direction Y of the central inner wall 21k.
  • the branch piece insertion holes 21j, 21j are provided to penetrate in the vertical direction Z, and communicate with the engagement groove 21i.
  • connection piece portion 25h a concave portion 25g opened upward is formed.
  • the header side holding fitting 25 is disposed on the header housing 21 by press-fitting the header side holding fitting 25 into the header housing 21.
  • the header side holding fitting 25 is formed by insert molding. It may be arranged in the header housing 21.
  • FIG. 48 the configuration of the socket 30 used in the connector 10 will be described with reference to FIGS. 48 to 57.
  • the socket 30 has a socket housing 31 as described above.
  • the socket housing 31 is entirely formed in a rectangular (rectangular) shape in plan view by an insulating synthetic resin (see FIGS. 48 to 53).
  • the socket housing 31 is provided with a socket-side signal terminal 32 made of metal and a socket-side holding fitting 37 made of metal.
  • the socket side signal terminal 32 is a terminal that is electrically connected to the signal line and used to transmit a signal.
  • the socket-side holding bracket 37 doubles as a socket-side power terminal, and is used to supply power by being electrically connected to a power supply line while enhancing the strength of the socket housing 31. .
  • a plurality of socket side signal terminals 32 are arranged in parallel at a predetermined pitch along one long side of the socket housing 31.
  • a plurality of socket side signal terminals 32 arranged in parallel on one side in the width direction (short side direction) Y of the socket housing 31 constitute a socket side signal terminal group G4.
  • two socket-side holding brackets (socket-side power terminals) 37 are juxtaposed so as to be separated from one socket-side signal terminal group G4. It is set up.
  • the socket side includes one socket-side signal terminal group G4 and two socket-side holding brackets (socket-side power terminals) 37 juxtaposed on one side in the width direction (short side direction) Y of the socket housing 31.
  • the terminal group G2 is configured.
  • a plurality of socket side signal terminals 32 are arranged in parallel with a predetermined pitch.
  • a plurality of socket side signal terminals 32 arranged in parallel on the other side in the width direction (short side direction) Y of the socket housing 31 constitute a socket side signal terminal group G4.
  • socket side holding brackets (socket power source terminals) 37 are juxtaposed so as to be separated from one socket side signal terminal group G4.
  • the socket side includes one socket side signal terminal group G4 and two socket side holding brackets (socket side power terminals) 37 juxtaposed on the other side in the width direction (short side direction) Y of the socket housing 31.
  • the terminal group G2 is configured.
  • the socket housing 31 includes the socket side signal terminal group G4 and the socket side holding bracket (socket side power terminal) 37 disposed along the longitudinal direction X of the socket housing 31.
  • the configured socket-side terminal group G2 is arranged in two rows (multiple rows).
  • socket-side holding brackets (socket-side power terminals) 37 are respectively disposed at both ends of the socket-side signal terminal group G4.
  • the socket-side holding bracket (socket-side power supply terminal) 37 is disposed at both ends in the longitudinal direction X of the socket housing 31 and the socket-side signal between the socket-side holding bracket (socket-side power supply terminal) 37 A terminal group G4 is provided.
  • the socket-side holding bracket (socket-side power supply terminal) disposed on the outside of the socket housing 31 in the longitudinal direction X with respect to the socket-side signal terminal group G4 (socket-side signal terminal 32). ) Has 37.
  • the socket-side signal terminal 32 and the socket-side holding bracket (socket-side power terminal) 37 correspond to the header-side signal terminal 22 and the header-side holding bracket when the header 20 and the socket 30 are fitted. It is disposed in the socket housing 31 so as to contact the (header side power supply terminal) 25 respectively.
  • the socket housing 31 is formed in a substantially box shape having one side (the upper side in FIG. 51) opened by a plate-like wall portion 31a and a peripheral wall portion 31b continuously formed in a substantially rectangular annular shape along the peripheral edge portion. ing. Furthermore, in the present embodiment, a substantially rectangular island 31c is formed at a central portion of the plate-like wall 31a at a predetermined distance from the peripheral wall 31b. Further, a substantially frame-shaped fitting groove portion 31d for fitting the peripheral wall portion 21b of the header 20 is formed between the peripheral wall portion 31b and the island portion 31c. The island portion 31c is fitted in the recess 21c.
  • the fitting groove 31d is formed such that both ends in the longitudinal direction X are slightly wider. There is.
  • a tapered portion 31e is formed so as to be positioned downward (in the plate-like wall 31a) toward the inside.
  • the tapered portion 31e is formed on both ends in the longitudinal direction of the longitudinal direction wall 31h of the peripheral wall 31b and on the short direction wall 31i of the peripheral wall 31b.
  • tapered portions 31e are also formed in the peripheral wall portions 21b between adjacent socket side signal terminals 32, and between the socket side signal terminal group G4 and the socket side holding bracket (socket side power terminal) 37. There is. Thus, in the present embodiment, the tapered portion 31e is formed over substantially the entire circumference of the peripheral wall portion 31b.
  • the socket housing 31 is formed so that the socket side signal terminal accommodating portion 31f in which the socket side signal terminal 32 is accommodated penetrates the plate-like wall portion 31a (from FIG. 51). See Figure 53).
  • the socket side signal terminal accommodating portion 31f is formed in the longitudinal wall portion 31h so as to communicate the socket side signal terminal accommodating concave portion 31j with the fitting groove portion 31d, and the island portion 31c is a socket side signal terminal accommodating concave portion 31m. Are formed to communicate with the fitting groove 31d.
  • the plurality of socket side signal terminals 32 are press-fit into the socket side signal terminal accommodating portion 31 f from the back surface side of the socket housing 31.
  • the socket side signal terminal 32 is manufactured by metal molding and is a conductor.
  • the socket-side signal terminal 32 has a root portion 32 a that protrudes from the side surface of the socket housing 31.
  • the root portion 32 a is a portion fixed to the circuit pattern 61 of the first circuit board 60 by the solder 70.
  • the lower surface of the root portion 32a extends along the main surface M of the first circuit board 60, and is positioned in the same plane as the bottom surface of the socket housing 31 (the back surface of the plate-like wall 31a).
  • the socket side signal terminal 32 has a rising portion 32 b which rises from the root portion 32 a and extends away from the first circuit board 60.
  • the rising portion 32b is bent from the root portion 32a into the socket side signal terminal receiving recess 31j, and extends along the inner surface of the longitudinal wall 31h.
  • the socket side signal terminal 32 has an inverted U-shaped portion 32c whose one end is continuous with the upper end of the rising portion 32b.
  • the inverted U-shaped portion 32 c has a shape in which the letter “U” is arranged upside down.
  • the inverted U-shaped portion 32c has a tip end surface 32n and an inclined surface 32p continuously provided on both sides in the longitudinal direction X of the tip end surface 32n, and has a projecting shape projecting substantially trapezoidal in a horizontal cross sectional view Is formed.
  • the socket side signal terminal 32 has a locking portion 32d continuous with the other end of the inverted U-shaped portion 32c.
  • the locking portion 32 d is formed from one end to the other end in the longitudinal direction X of the socket housing 31 in the socket-side signal terminal 32. That is, the step-like locking portion 32 d is formed over the entire width direction of the socket-side signal terminal 32.
  • the locking portion 32 d functions as a portion that suppresses the movement of the locked portion 22 e when the header-side signal terminal 22 is pulled out of the socket-side signal terminal 32. That is, the locking portion 32d of the socket-side signal terminal 32 can abut on the locked portion 22e of the header-side signal terminal 22 and lock the locked portion 22e.
  • the locking portion 32d of the socket side signal terminal 32 and the locked portion 22e of the header side signal terminal 22 constitute a locking mechanism capable of releasing the locking by applying an external force of a predetermined value or more. ing.
  • the locking portion 32d may be manufactured by rolling a base material in which the thickness of the socket side signal terminal 32 is partially different, but by bending the base material of the socket side signal terminal 32 in the thickness direction It may be manufactured.
  • the socket-side signal terminal 32 has a falling portion 32e which is continuous with the locking portion 32d and extends substantially in parallel with the rising portion 32b.
  • the socket-side signal terminal 32 has a first arc-shaped portion 32f continuous with the lower end of the falling portion 32e.
  • the socket-side signal terminal 32 has an opposing portion 32z continuous to the first arc-shaped portion 32f.
  • the facing portion 32z includes a flat portion 32g, a first oblique portion 32h, a second arc-shaped portion 32i, a second oblique portion 32j, an arc-shaped projection 32k, and a tip portion 32m, which will be described next.
  • the facing portion 32z is configured as follows.
  • the facing portion 32z has a flat portion 32g continuous with the lower end of the arc-shaped portion 32f.
  • Flat portion 32g extends along main surface M of first circuit board 60 away from falling portion 32e, as shown in FIG. However, the flat portion 32g does not have to be parallel to the major surface M.
  • the flat portion 32g is provided to increase the spring length of a spring portion described later.
  • the facing portion 32z has a first oblique portion 32h continuous with the flat portion 32g and extending in an oblique direction with respect to the main surface M of the first circuit board 60.
  • the first oblique portions 32 h extend away from the falling portions 32 e as they are separated from the first circuit board 60.
  • the first oblique portion 32h is continuous with the second arc-shaped portion 32i.
  • the second arc-shaped portion 32i is a curved portion that protrudes away from the falling portion 32e.
  • the second arc-shaped portion 32i is continuous with a second oblique portion 32j extending in an oblique direction with respect to the main surface M of the first circuit board 60.
  • the second oblique portions 32 j extend closer to the falling portions 32 e as they are separated from the first circuit board 60. Therefore, the second oblique portion 32j is positioned above the first oblique portion 32h.
  • the facing portion 32z has an arc-shaped projection 32k whose one end is continuous with the upper end of the second oblique portion 32j.
  • the arc-shaped projection 32k has a tip end surface 32r and an inclined surface 32s continuously provided on both sides in the longitudinal direction X of the tip end surface 32r, and is formed in a projecting shape projecting substantially trapezoidally in a horizontal sectional view ing.
  • the arc-shaped projection 32k is fitted into the recess 22c of the header signal terminal 22 as shown in FIG.
  • the other end of the arc-shaped protrusion 32k is continuous with the tip 32m.
  • the tip 32m extends substantially parallel to the second oblique portion 32j.
  • the facing portions 32z (32g, 32h, 32i, 32j, 32k, 32m) are continuous with the lower end of the arc-shaped portion 32f and generally face the falling portion 32e.
  • the header-side signal terminal 22 is inserted between the inverted U-shaped portion 32c and the arc-shaped projection 32k. Be done. At this time, the falling part 32e, the circular arc part 32f, the flat part 32g, the first oblique part 32h, the circular arc part 32i, the second oblique part 32j, the circular projection part 32k, and the tip part 32m are integrated. Function as a spring.
  • the spring portions (32 e, 32 f, 32 g, 32 h, 32 i, 32 j, 32 k, 32 m) elastically deform when the convex portion of the header side signal terminal 22 is inserted into the concave portion of the socket side signal terminal 32.
  • the distance between the two portions of the falling portion 32e and the inverted U-shaped portion 32c and the arc-shaped projection 32k is increased.
  • the locked portion 22 e of the header-side signal terminal 22 is inserted below the locking portion 32 d of the socket-side signal terminal 32.
  • the arc-shaped projection 32 k of the socket-side signal terminal 32 is fitted into the recess 22 c of the header-side signal terminal 22.
  • the header side signal terminal 22 In the state where the header side signal terminal 22 is fitted to the socket side signal terminal 32, a restoring force is generated in the elastically deformed spring portion. By this restoring force, the arc-shaped projection 32k presses the header-side signal terminal 22 against each of the falling portion 32e and the inverted U-shaped portion 32c. Thus, the header-side signal terminal 22 is held by the socket-side signal terminal 32. At this time, the header-side signal terminal 22 contacts the inverted U-shaped portion 32 c, the falling portion 32 e, and the arc-shaped projection 32 k of the socket-side signal terminal 32.
  • the tip end 22d of the header-side signal terminal 22 contacts the falling portion 32e of the socket-side signal terminal 32. That is, the contact portion R1 of the socket side signal terminal 32 and the contact portion R1 of the header side signal terminal 22 contact each other.
  • the recess 22 c of the header side signal terminal 22 contacts the arc-shaped projection 32 k of the socket side signal terminal 32. That is, the contact portion R2 of the socket-side signal terminal 32 and the contact portion R2 of the header-side signal terminal 22 contact each other.
  • the header-side signal terminal 22 and the socket-side signal terminal 32 are in contact at a plurality of contacts (contact portion R1 and contact portion R2) separated in the width direction Y. Therefore, the reliability of the electrical connection between the header side signal terminal 22 and the socket side signal terminal 32 is high.
  • the contact portion of the header-side signal terminal 22 which is one of the contact portions R2 of the socket-side signal terminals 32 and the contact portion R2 of the header-side signal terminals 22 that contact each other.
  • a recess 22c is formed in R2.
  • contact point part R2 of terminal 32 for the socket side signals which is the other contact point part contacts in the longitudinal direction X both ends of socket housing 31 in crevice 22c.
  • the contact portion R2 of the socket-side signal terminal 32 contacts the contact portion R2 of the header-side signal terminal 22 at two points (contact C1 and contact C2).
  • the boundary portion between the flat portion 32g and the first oblique portion 32h contacts the first circuit board 60 at the contact portion R5 due to elastic deformation of the spring portion. In some cases.
  • the header-side signal terminal 22 and the socket-side signal terminal 32 according to the present embodiment are in contact at a plurality of contacts separated in the width direction Y.
  • the header side signal terminal and the socket side signal terminal according to the present invention may be in contact, for example, with only one contact point between the inner side surface of the header side signal terminal and the opposing portion of the socket side signal terminal.
  • the spring portions (32e, 32f, 32g, 32h, 32i, 32j, 32m) are U-shaped portions (32e, 32f, 32g, 32h, 32i, 32j) and U-shaped portions (32e, 32f). , 32g, 32h, 32i, 32j) and free ends (32k, 32m) connected to one end (32j side) of one end.
  • the contact portion R2 of the socket-side signal terminal 32 is provided on the arc-shaped projection 32k at the free end (32k, 32m).
  • the socket side signal terminal 32 has U-shaped portions (32e, 32f, 32g, 32h, 32i, 32j), and U-shaped portions (32e, 32f, 32g, 32h, 32i, At one end (32j side) of 32j), free ends (32k, 32m) where the contact portion R2 is provided are connected.
  • Such a socket-side signal terminal 32 can be formed by curving a strip-like metal material having a predetermined thickness.
  • the socket side signal terminal 32 is inserted (press-fit) into the socket side signal terminal accommodating portion 31f from the back surface side (the lower side of FIG. 15) of the socket housing 31. It is attached to 31.
  • the socket side signal terminals 32 may be mounted on the socket housing 31 by insert molding the socket side signal terminals 32 into the socket housing 31 or the like.
  • the socket side holding fitting 37 can be formed by bending a holding fitting plate formed by press forming a metal plate having a predetermined thickness, and the side plate portion extending in the width direction Y of the connector 10 37a, and a bottom plate portion 37c which is bent at a substantially right angle toward the central side in the longitudinal direction X at the lower side of the side plate portion 37a.
  • the fixed terminals 37d are formed by causing both end portions of the bottom plate portion 37c to protrude outward from both sides in the width direction Y of the connector 10.
  • an anchor portion 37m extending inward and upward is formed on the inner side of the bottom plate portion 37c in the X direction (longitudinal direction) to prevent the socket side holding fitting 37 from coming off the socket housing 31.
  • the shape and protrusion direction of this anchor part can be made into various forms. Further, the anchor portion may not be provided.
  • extension portions 37b are formed in which both end portions in the width direction Y of the side plate portion 37a are bent substantially at right angles toward the longitudinal direction X central side of the connector 10. Then, a substantially reverse U-shaped claw portion 37k is provided at the end of the extending portion 37b in the extending direction.
  • the tip side (inward in the X direction) of the claw portion 37k is a flat surface 37n. Then, with the header 20 fitted in the socket 30, the contact portions 25f, 25f of the header side holding fitting 25 contact the flat surface 37n, whereby the header side holding fitting 25 and the socket side holding fitting 37 are engaged. It is supposed to be integrated.
  • one socket-side holding bracket 37 is provided with a pair of claw portions 37k, 37k, and flat surfaces 37n, 37n of the pair of claw portions 37k, 37k face each other in the width direction Y ing.
  • the width along the longitudinal direction X of the claw portion 37 k is formed to be wider than the width along the longitudinal direction X of the socket side signal terminal 32.
  • the socket-side holding bracket 37 as the socket-side power supply terminal has a width along the longitudinal direction X of the socket housing 31 along the longitudinal direction X of the socket-side signal terminal 32. It is formed to be wider than the width.
  • the width of the socket housing 31 in the longitudinal direction X is narrower than the claws 37k of the socket side holding bracket 37 as all the socket side signal terminals 32 as the socket side power terminals.
  • the socket side holding fitting 37 is attached (disposed) to the socket housing 31 by insert molding. At this time, at least a part of the socket side holding bracket 37 is exposed along the socket housing 31.
  • a part of the outer surface 31s of the peripheral wall 31b and the plate-like wall 31a and a part of the outer wall 37e of the socket side holding member 37 are substantially flush with each other.
  • the socket side holding fitting 37 is integrally formed on the socket housing 31 so that a part of the outer wall surface 37e of the socket side holding fitting 37 is exposed substantially flush with the outer surface 31s of the peripheral wall 31b.
  • the upper portion of the outer surface 37f of the side plate portion 37a is exposed flush with the side surface (end surface in the longitudinal direction) 31t extending to the outermost end in the X direction (longitudinal direction) of the socket housing 31 There is. Further, the outer surface 37h of the extended portion 37b is exposed in a state flush with the outer surface (the outer surface 31s of the longitudinal direction wall 31h) of the peripheral wall 31b.
  • the socket-side holding fixture 37 is exposed along at least one of the side surface 31 t and the bottom surface 31 u of the socket housing 31.
  • the outer surface 37i of the bottom plate portion 37c is not flush with the bottom surface 31u (the outer surface 31s) of the socket housing 31, the outer surface 37i of the bottom plate portion 37c is exposed to the bottom surface 31u of the socket housing 31 It is also possible to expose it flush with the outer surface 31s). Further, the outer wall surface 37e of the socket side holding bracket 37 is not required to be exposed to the outer surface of the peripheral wall 31b (the outer surface 31s of the short direction wall 31i), and even when exposed. It is not necessary to be exposed flush with the outer surface (the outer surface 31s of the short direction wall 31i).
  • the socket-side holding bracket 37 may be attached to the socket housing 31 by press-fitting or the like.
  • the header 20 is fitted to the socket 30 by inserting and fitting the peripheral wall 21b of the header housing 21 into the fitting groove 31d of the socket housing 31.
  • the taper portion 31e and the taper portion 21d formed on the long side portion on one end side in the Y direction are overlapped, Y It can be made to fit while being shifted to the other end side in the direction (width direction: short direction).
  • the tapered portion 31 e and the tapered portion 21 d can be made to function as a lead-in portion, and the header 20 can be fitted into the socket 30 more easily.
  • the contact portion R2 of the socket-side signal terminal 32 and the contact portion R2 of the header-side signal terminal 22 contact each other.
  • the contact portion R4 of the socket side power supply terminal 33 and the contact portion R4 of the header side power supply terminal 23 are in contact with each other.
  • the socket side signal terminal 32 and the header side signal terminal 22 are electrically connected, and the socket side power supply terminal 33 and the header side power supply terminal 23 are electrically connected.
  • circuit pattern 61 of the first circuit board 60 and the circuit pattern 41 of the second circuit board 40 are electrically connected to each other.
  • the spring portions (33e, 33f, 33g, 33h, 33i, 33j, 33k, 33m) is elastically deformed, and the locking between the locking portion 33d and the locked portion 23e is released. At this time, the fitting of the arc-shaped protrusion 33 k into the recess 23 c is also released.
  • the header 20 and the socket 30 can be separated.
  • the header-side holding bracket 25 as a header-side power terminal is provided at both ends of the header housing 21 in the longitudinal direction X
  • the socket side is provided at both ends of the socket housing 31 in the longitudinal direction X.
  • a socket side holding bracket 37 as a power supply terminal is disposed. The header side holding fitting 25 and the socket side holding fitting 37 are used to increase the strength of the header housing 21 and the socket housing 31 and to fix them to the circuit board described above.
  • the header 20 is firmly coupled to the second circuit board 40.
  • the socket 30 is firmly coupled to the first circuit board 60.
  • the header 20 and the socket 30 which are firmly coupled to the respective circuit boards can be fitted to each other.
  • the header-side signal terminal 22 and the socket-side signal terminal 32 are in contact with each other, and the header-side holding bracket 25 as the header-side power terminal and the socket-side holding bracket 37 as the socket-side power terminal
  • the circuit patterns of the circuit boards can be electrically connected by conducting contact.
  • the contact portions 25f and 25f of the header side holding fitting 25 abut the flat surface 37n of the socket side holding fitting 37, whereby the header side holding The metal fitting 25 and the socket side holding metal fitting 37 engage with each other.
  • the length in the width direction Y between the contact portions 25 f and 25 f is greater than the length in the width direction Y between the flat surfaces 37 n and 37 n of the socket side holding fitting 37. It is formed to be slightly longer.
  • the contact portions 25f, 25f move to the flat surface 37n while being narrowed while being slid on the outer wall inner side surface of the claw portion 37k.
  • the contact portions 25f, 25f press the flat surfaces 37n, 37n to the outside in the width direction Y by the elastic restoring force, and the header side holding fitting 25 and the socket side holding fitting 37 are engaged.
  • the contact pressure between the contact portions 25f, 25f and the flat surfaces 37n, 37n can be increased, and the header side power supply terminal (header side holding bracket 25) and the socket side power supply terminal The reliability of electrical connection with (socket-side holding bracket 37) can be further improved.
  • the contact portions 25f, 25f are formed so as to be stretchable (elastically deformable) in the width direction Y of the connector 10, electrical connection reliability can be achieved by using the restoring force of the contact portions 25f, 25f. You can make the sex even better.
  • the contact (R6 in FIG. 60) between the header side power supply terminal 23 and the socket side power supply terminal 33 and for the header side signal Contact between the terminal 22 and the socket side signal terminal 32 (R7 in FIG. 60) is made substantially simultaneously (see FIG. 60). Therefore, when the header 20 and the socket 30 are separated, the contact release between the header side power supply terminal 23 and the socket side power supply terminal 33 and the contact between the header side signal terminal 22 and the socket side signal terminal 32 The cancellation is made substantially simultaneously.
  • the connector 10 of the present embodiment can also provide the same operation and effect as the connector 10 of the first embodiment.
  • the socket-side signal terminals 32 have a plurality of socket-side signal terminal groups G4 arranged along the longitudinal direction X of the socket housing 31. As described above, by providing the socket-side signal terminal group G4 in which the plurality of socket-side signal terminals 32 are disposed along the longitudinal direction X of the socket housing 31, the miniaturization can be achieved while the plurality of socket-side signal terminals are formed.
  • the terminals 32 can be used to correspond to various wiring patterns.
  • the socket-side holding bracket 37 as a socket-side power supply terminal is disposed outside the socket housing 31 in the longitudinal direction X than the socket-side signal terminal group G4.
  • the socket side power supply terminals can be used even if the flowing current becomes large. It is only necessary to increase the width of the socket side holding bracket 37 as a terminal, and the overall size can be reduced.
  • the connector 10 can be further miniaturized.
  • both ends (contact portions 25f, 25f) in the short direction Y of the header housing 21 of the header side holding bracket (terminal for power supply on the header) 25 face each other in the short direction Y of the socket housing 31
  • header side holding bracket (header side power supply terminal) 25 can be elastically deformed in the short direction Y of the header housing 21, the contact reliability between the power supply terminals can be further improved.
  • the contact between the header side holding bracket (header side power terminal) 25 and the socket side holding bracket (socket side power terminal) 37 and the header side signal terminal If the contact 22 and the socket side signal terminal 32 are made substantially simultaneously, it is possible to prevent only the signal terminal or the power terminal from coming into contact, and the connection reliability of the connector 10 is improved. improves.
  • the header 20 is formed so as to be point symmetric with respect to the center of the header 20 in plan view
  • the socket 30 is point symmetric with respect to the center of the socket 30 in plan view. It is formed to be That is, the connector having no polarity is illustrated.
  • the header side holding fitting and the socket side holding fitting may be engaged with each other.
  • header side holding fitting 25 and the socket side holding fitting 37 a header side power supply terminal and a socket side power supply terminal are provided, and a plurality of the header side signal terminals 22 and the socket side signal terminals 32 are provided. It is also possible.
  • the specifications (shape, size, layout, etc.) of the socket housing, the header housing, and other details can be changed as appropriate.
  • the present invention is useful as a small connector for supplying power and communicating with signals to electronic devices having a circuit board.

Landscapes

  • Coupling Device And Connection With Printed Circuit (AREA)
  • Connector Housings Or Holding Contact Members (AREA)
PCT/JP2015/003894 2014-08-07 2015-08-03 コネクタおよびこのコネクタに用いられるヘッダならびにソケット Ceased WO2016021175A1 (ja)

Priority Applications (4)

Application Number Priority Date Filing Date Title
EP15828936.3A EP3179567B1 (en) 2014-08-07 2015-08-03 Connector, and header and socket used in connector
US15/327,509 US10164360B2 (en) 2014-08-07 2015-08-03 Connector, and header and socket used in connector
CN201580040559.XA CN106575831B (zh) 2014-08-07 2015-08-03 连接器以及在该连接器中使用的插头及插口
KR1020177002641A KR20170033323A (ko) 2014-08-07 2015-08-03 커넥터 및 이 커넥터에 이용되는 헤더 및 소켓

Applications Claiming Priority (4)

Application Number Priority Date Filing Date Title
JP2014-161128 2014-08-07
JP2014161128 2014-08-07
JP2015-033890 2015-02-24
JP2015033890A JP6712794B2 (ja) 2014-08-07 2015-02-24 コネクタおよび当該コネクタに用いられるヘッダならびにソケット

Publications (1)

Publication Number Publication Date
WO2016021175A1 true WO2016021175A1 (ja) 2016-02-11

Family

ID=55263470

Family Applications (1)

Application Number Title Priority Date Filing Date
PCT/JP2015/003894 Ceased WO2016021175A1 (ja) 2014-08-07 2015-08-03 コネクタおよびこのコネクタに用いられるヘッダならびにソケット

Country Status (6)

Country Link
US (1) US10164360B2 (enExample)
EP (1) EP3179567B1 (enExample)
JP (1) JP6712794B2 (enExample)
KR (1) KR20170033323A (enExample)
CN (1) CN106575831B (enExample)
WO (1) WO2016021175A1 (enExample)

Cited By (2)

* Cited by examiner, † Cited by third party
Publication number Priority date Publication date Assignee Title
JP2017216171A (ja) * 2016-06-01 2017-12-07 ヒロセ電機株式会社 コネクタおよびコネクタシステム
CN115441548A (zh) * 2022-09-19 2022-12-06 Oppo广东移动通信有限公司 充电接口、电源适配器、电子设备

Families Citing this family (10)

* Cited by examiner, † Cited by third party
Publication number Priority date Publication date Assignee Title
JP6712799B2 (ja) * 2016-02-05 2020-06-24 パナソニックIpマネジメント株式会社 コネクタおよび当該コネクタに用いられるヘッダならびにソケット
JP6655797B2 (ja) * 2016-04-28 2020-02-26 パナソニックIpマネジメント株式会社 コネクタ、ヘッダおよびソケット
JP6767704B2 (ja) * 2016-12-27 2020-10-14 パナソニックIpマネジメント株式会社 コネクタ、及び接続装置
WO2017188053A1 (ja) 2016-04-28 2017-11-02 パナソニックIpマネジメント株式会社 取付金具、コネクタ、及び接続システム
WO2018025875A1 (ja) 2016-08-04 2018-02-08 京セラ株式会社 コンタクト
JP1625949S (enExample) * 2018-06-22 2019-03-04
JP1638607S (enExample) * 2018-12-28 2019-08-05
JP7411882B2 (ja) * 2019-08-08 2024-01-12 パナソニックIpマネジメント株式会社 コネクタ
TWI760873B (zh) * 2019-10-18 2022-04-11 日商村田製作所股份有限公司 連接器
KR102874409B1 (ko) * 2020-12-17 2025-10-21 삼성전자주식회사 접점 구조를 포함하는 커넥터

Citations (3)

* Cited by examiner, † Cited by third party
Publication number Priority date Publication date Assignee Title
JP2009259675A (ja) * 2008-04-18 2009-11-05 Jst Mfg Co Ltd 基板間接続用コネクタ構造
JP4431674B2 (ja) * 2004-09-14 2010-03-17 大宏電機株式会社 基板間コネクタ
JP2012009373A (ja) * 2010-06-28 2012-01-12 Molex Inc 基板対基板コネクタ

Family Cites Families (30)

* Cited by examiner, † Cited by third party
Publication number Priority date Publication date Assignee Title
JP3423560B2 (ja) 1996-05-29 2003-07-07 ケル株式会社 コネクタ
JP3473361B2 (ja) * 1997-12-01 2003-12-02 理化工業株式会社 計器類の端子構造
DE19836693A1 (de) 1998-08-13 2000-02-17 Continental Teves Ag & Co Ohg Steckverbindung zum Anschluß von Signal- und Stromversorgungsleitungen an einen Verbraucher
JP3969229B2 (ja) * 2002-07-23 2007-09-05 松下電工株式会社 コネクタ
JP2005019144A (ja) 2003-06-25 2005-01-20 Matsushita Electric Works Ltd コネクタ
TWM253928U (en) * 2003-10-31 2004-12-21 Hon Hai Prec Ind Co Ltd Electrical connector
JP2005294036A (ja) * 2004-03-31 2005-10-20 Matsushita Electric Works Ltd コネクタ及びその製造方法
JP2005294034A (ja) * 2004-03-31 2005-10-20 Matsushita Electric Works Ltd コネクタ
JP3860823B2 (ja) * 2004-08-19 2006-12-20 京セラエルコ株式会社 コネクタ及びこのコネクタを備えた携帯端末
TWM271281U (en) * 2004-11-08 2005-07-21 Molex Taiwan Ltd Electrical connector
JP2007299701A (ja) * 2006-05-02 2007-11-15 Taiko Denki Co Ltd 複合コネクタ
CN200959384Y (zh) * 2006-09-13 2007-10-10 富士康(昆山)电脑接插件有限公司 电连接器
JP4421644B2 (ja) * 2007-09-11 2010-02-24 ヒロセ電機株式会社 中間電気コネクタ
CN201336479Y (zh) * 2008-12-30 2009-10-28 黄金富 设有负载电源端子Super-USB3.0连接器
JP2010182608A (ja) * 2009-02-09 2010-08-19 Alps Electric Co Ltd コネクタ
JP5250450B2 (ja) * 2009-02-27 2013-07-31 第一電子工業株式会社 電気コネクタ
JP5465898B2 (ja) * 2009-03-11 2014-04-09 日本航空電子工業株式会社 光半導体デバイス、ソケットおよび光半導体ユニット
US20100291776A1 (en) * 2009-05-13 2010-11-18 Sheng-Yuan Huang Board-To-Board Connector Assembly
CN201478494U (zh) * 2009-08-14 2010-05-19 艾恩特精密工业股份有限公司 Sata电连接器及其组合
US7950929B2 (en) * 2009-08-19 2011-05-31 Cheng Uei Precision Industry Co., Ltd. Electrical terminal and board-to-board connector with the electrical terminal
JP5049361B2 (ja) 2010-02-10 2012-10-17 パナソニック株式会社 ソケット及びコネクタ
JP5881333B2 (ja) * 2010-09-08 2016-03-09 モレックス エルエルシー 基板対基板コネクタ
KR101770631B1 (ko) * 2010-11-22 2017-08-24 삼성디스플레이 주식회사 소켓 및 이를 갖는 표시장치
TWM405736U (en) * 2010-11-30 2011-06-21 Bing Xu Prec Co Ltd Connector and connector assembly
JP5638026B2 (ja) 2012-05-01 2014-12-10 ヒロセ電機株式会社 電気コネクタ組立体
JP6199666B2 (ja) * 2013-09-04 2017-09-20 モレックス エルエルシー 基板対基板コネクタ
JP5881666B2 (ja) * 2013-11-19 2016-03-09 京セラコネクタプロダクツ株式会社 リセプタクルコネクタの製造方法
US9065228B2 (en) * 2013-11-21 2015-06-23 Japan Aviation Electronics Industry, Limited Connector
US9300064B2 (en) * 2014-01-17 2016-03-29 Japan Aviation Electronics Industry, Limited Connector
JP6583474B2 (ja) * 2018-04-27 2019-10-02 山一電機株式会社 プラグ、ソケット、および、それらを備える基板接続用コネクタ

Patent Citations (3)

* Cited by examiner, † Cited by third party
Publication number Priority date Publication date Assignee Title
JP4431674B2 (ja) * 2004-09-14 2010-03-17 大宏電機株式会社 基板間コネクタ
JP2009259675A (ja) * 2008-04-18 2009-11-05 Jst Mfg Co Ltd 基板間接続用コネクタ構造
JP2012009373A (ja) * 2010-06-28 2012-01-12 Molex Inc 基板対基板コネクタ

Non-Patent Citations (1)

* Cited by examiner, † Cited by third party
Title
See also references of EP3179567A4 *

Cited By (2)

* Cited by examiner, † Cited by third party
Publication number Priority date Publication date Assignee Title
JP2017216171A (ja) * 2016-06-01 2017-12-07 ヒロセ電機株式会社 コネクタおよびコネクタシステム
CN115441548A (zh) * 2022-09-19 2022-12-06 Oppo广东移动通信有限公司 充电接口、电源适配器、电子设备

Also Published As

Publication number Publication date
US10164360B2 (en) 2018-12-25
CN106575831A (zh) 2017-04-19
EP3179567A4 (en) 2017-06-14
JP6712794B2 (ja) 2020-06-24
JP2016039129A (ja) 2016-03-22
CN106575831B (zh) 2021-01-08
EP3179567B1 (en) 2021-03-03
EP3179567A1 (en) 2017-06-14
KR20170033323A (ko) 2017-03-24
US20170365944A1 (en) 2017-12-21

Similar Documents

Publication Publication Date Title
WO2016021175A1 (ja) コネクタおよびこのコネクタに用いられるヘッダならびにソケット
JP6388152B2 (ja) コネクタおよび当該コネクタに用いられるヘッダならびにソケット
CN110165446B (zh) 插口件
JP6712799B2 (ja) コネクタおよび当該コネクタに用いられるヘッダならびにソケット
JP6655797B2 (ja) コネクタ、ヘッダおよびソケット
US7874845B1 (en) Scissor-type multi-functional connector
CN113224564B (zh) 连接器连接体以及连接器
JP6681577B2 (ja) コネクタおよび当該コネクタに用いられるヘッダならびにソケット
JP6643641B2 (ja) コネクタ、ソケットおよびソケットと回路基板との接続構造
JP7300632B2 (ja) コネクタ接続体およびコネクタ
JP2003303634A (ja) 電気コネクタ組立体およびキャップコネクタ
JP7033737B2 (ja) コネクタ接続体およびコネクタ

Legal Events

Date Code Title Description
121 Ep: the epo has been informed by wipo that ep was designated in this application

Ref document number: 15828936

Country of ref document: EP

Kind code of ref document: A1

REEP Request for entry into the european phase

Ref document number: 2015828936

Country of ref document: EP

WWE Wipo information: entry into national phase

Ref document number: 15327509

Country of ref document: US

ENP Entry into the national phase

Ref document number: 20177002641

Country of ref document: KR

Kind code of ref document: A

NENP Non-entry into the national phase

Ref country code: DE