WO2015198853A1 - 静翼ユニット及び蒸気タービン - Google Patents

静翼ユニット及び蒸気タービン Download PDF

Info

Publication number
WO2015198853A1
WO2015198853A1 PCT/JP2015/066617 JP2015066617W WO2015198853A1 WO 2015198853 A1 WO2015198853 A1 WO 2015198853A1 JP 2015066617 W JP2015066617 W JP 2015066617W WO 2015198853 A1 WO2015198853 A1 WO 2015198853A1
Authority
WO
WIPO (PCT)
Prior art keywords
steam
outer ring
inner ring
inlet
outlet
Prior art date
Legal status (The legal status is an assumption and is not a legal conclusion. Google has not performed a legal analysis and makes no representation as to the accuracy of the status listed.)
Ceased
Application number
PCT/JP2015/066617
Other languages
English (en)
French (fr)
Japanese (ja)
Inventor
丸山 隆
Current Assignee (The listed assignees may be inaccurate. Google has not performed a legal analysis and makes no representation or warranty as to the accuracy of the list.)
Mitsubishi Power Ltd
Original Assignee
Mitsubishi Hitachi Power Systems Ltd
Priority date (The priority date is an assumption and is not a legal conclusion. Google has not performed a legal analysis and makes no representation as to the accuracy of the date listed.)
Filing date
Publication date
Application filed by Mitsubishi Hitachi Power Systems Ltd filed Critical Mitsubishi Hitachi Power Systems Ltd
Priority to CN201580033732.3A priority Critical patent/CN106661951B/zh
Priority to KR1020167035587A priority patent/KR101867750B1/ko
Priority to DE112015002981.8T priority patent/DE112015002981B4/de
Priority to US15/318,782 priority patent/US10267150B2/en
Publication of WO2015198853A1 publication Critical patent/WO2015198853A1/ja
Anticipated expiration legal-status Critical
Ceased legal-status Critical Current

Links

Images

Classifications

    • FMECHANICAL ENGINEERING; LIGHTING; HEATING; WEAPONS; BLASTING
    • F01MACHINES OR ENGINES IN GENERAL; ENGINE PLANTS IN GENERAL; STEAM ENGINES
    • F01DNON-POSITIVE DISPLACEMENT MACHINES OR ENGINES, e.g. STEAM TURBINES
    • F01D1/00Non-positive-displacement machines or engines, e.g. steam turbines
    • F01D1/02Non-positive-displacement machines or engines, e.g. steam turbines with stationary working-fluid guiding means and bladed or like rotor, e.g. multi-bladed impulse steam turbines
    • F01D1/04Non-positive-displacement machines or engines, e.g. steam turbines with stationary working-fluid guiding means and bladed or like rotor, e.g. multi-bladed impulse steam turbines traversed by the working-fluid substantially axially
    • FMECHANICAL ENGINEERING; LIGHTING; HEATING; WEAPONS; BLASTING
    • F01MACHINES OR ENGINES IN GENERAL; ENGINE PLANTS IN GENERAL; STEAM ENGINES
    • F01DNON-POSITIVE DISPLACEMENT MACHINES OR ENGINES, e.g. STEAM TURBINES
    • F01D9/00Stators
    • F01D9/06Fluid supply conduits to nozzles or the like
    • F01D9/065Fluid supply or removal conduits traversing the working fluid flow, e.g. for lubrication-, cooling-, or sealing fluids
    • FMECHANICAL ENGINEERING; LIGHTING; HEATING; WEAPONS; BLASTING
    • F01MACHINES OR ENGINES IN GENERAL; ENGINE PLANTS IN GENERAL; STEAM ENGINES
    • F01DNON-POSITIVE DISPLACEMENT MACHINES OR ENGINES, e.g. STEAM TURBINES
    • F01D9/00Stators
    • F01D9/02Nozzles; Nozzle boxes; Stator blades; Guide conduits, e.g. individual nozzles
    • F01D9/04Nozzles; Nozzle boxes; Stator blades; Guide conduits, e.g. individual nozzles forming ring or sector
    • FMECHANICAL ENGINEERING; LIGHTING; HEATING; WEAPONS; BLASTING
    • F01MACHINES OR ENGINES IN GENERAL; ENGINE PLANTS IN GENERAL; STEAM ENGINES
    • F01DNON-POSITIVE DISPLACEMENT MACHINES OR ENGINES, e.g. STEAM TURBINES
    • F01D25/00Component parts, details, or accessories, not provided for in, or of interest apart from, other groups
    • F01D25/08Cooling; Heating; Heat-insulation
    • F01D25/10Heating, e.g. warming-up before starting
    • FMECHANICAL ENGINEERING; LIGHTING; HEATING; WEAPONS; BLASTING
    • F01MACHINES OR ENGINES IN GENERAL; ENGINE PLANTS IN GENERAL; STEAM ENGINES
    • F01DNON-POSITIVE DISPLACEMENT MACHINES OR ENGINES, e.g. STEAM TURBINES
    • F01D25/00Component parts, details, or accessories, not provided for in, or of interest apart from, other groups
    • F01D25/24Casings; Casing parts, e.g. diaphragms, casing fastenings
    • FMECHANICAL ENGINEERING; LIGHTING; HEATING; WEAPONS; BLASTING
    • F01MACHINES OR ENGINES IN GENERAL; ENGINE PLANTS IN GENERAL; STEAM ENGINES
    • F01DNON-POSITIVE DISPLACEMENT MACHINES OR ENGINES, e.g. STEAM TURBINES
    • F01D5/00Blades; Blade-carrying members; Heating, heat-insulating, cooling or antivibration means on the blades or the members
    • F01D5/02Blade-carrying members, e.g. rotors
    • FMECHANICAL ENGINEERING; LIGHTING; HEATING; WEAPONS; BLASTING
    • F01MACHINES OR ENGINES IN GENERAL; ENGINE PLANTS IN GENERAL; STEAM ENGINES
    • F01DNON-POSITIVE DISPLACEMENT MACHINES OR ENGINES, e.g. STEAM TURBINES
    • F01D9/00Stators
    • F01D9/02Nozzles; Nozzle boxes; Stator blades; Guide conduits, e.g. individual nozzles
    • F01D9/04Nozzles; Nozzle boxes; Stator blades; Guide conduits, e.g. individual nozzles forming ring or sector
    • F01D9/041Nozzles; Nozzle boxes; Stator blades; Guide conduits, e.g. individual nozzles forming ring or sector using blades
    • FMECHANICAL ENGINEERING; LIGHTING; HEATING; WEAPONS; BLASTING
    • F01MACHINES OR ENGINES IN GENERAL; ENGINE PLANTS IN GENERAL; STEAM ENGINES
    • F01DNON-POSITIVE DISPLACEMENT MACHINES OR ENGINES, e.g. STEAM TURBINES
    • F01D25/00Component parts, details, or accessories, not provided for in, or of interest apart from, other groups
    • F01D25/32Collecting of condensation water; Drainage ; Removing solid particles
    • FMECHANICAL ENGINEERING; LIGHTING; HEATING; WEAPONS; BLASTING
    • F05INDEXING SCHEMES RELATING TO ENGINES OR PUMPS IN VARIOUS SUBCLASSES OF CLASSES F01-F04
    • F05DINDEXING SCHEME FOR ASPECTS RELATING TO NON-POSITIVE-DISPLACEMENT MACHINES OR ENGINES, GAS-TURBINES OR JET-PROPULSION PLANTS
    • F05D2220/00Application
    • F05D2220/30Application in turbines
    • F05D2220/31Application in turbines in steam turbines
    • FMECHANICAL ENGINEERING; LIGHTING; HEATING; WEAPONS; BLASTING
    • F05INDEXING SCHEMES RELATING TO ENGINES OR PUMPS IN VARIOUS SUBCLASSES OF CLASSES F01-F04
    • F05DINDEXING SCHEME FOR ASPECTS RELATING TO NON-POSITIVE-DISPLACEMENT MACHINES OR ENGINES, GAS-TURBINES OR JET-PROPULSION PLANTS
    • F05D2250/00Geometry
    • F05D2250/10Two-dimensional
    • F05D2250/18Two-dimensional patterned
    • F05D2250/184Two-dimensional patterned sinusoidal

Definitions

  • the present invention relates to a stationary blade unit in which an outer ring and an inner ring are connected by a plurality of stationary blades arranged at predetermined intervals in the circumferential direction, and has a plurality of stationary blades and a plurality of moving blades to drive and rotate a rotor using steam.
  • the present invention relates to a steam turbine.
  • a rotor which is a rotating shaft, is rotatably supported by a casing, and a moving blade is provided on the outer periphery of the rotor, while a stationary blade is provided on the casing, and the moving blade and the stationary blade are provided in a steam passage.
  • a plurality of wings are alternately arranged. Therefore, when the steam flows through the steam passage, the steam is rectified by the stationary blade, and the rotor can be driven and rotated through the moving blade.
  • JP 2013-148039 A Japanese Patent Laid-Open No. 10-103008
  • the outer ring, the stationary blade, and the inner ring are heated by circulating steam through the hollow portion of the outer ring, the hollow portion of the stationary blade, and the hollow portion of the inner ring.
  • the steam used for heating is extracted from a boiler, a steam turbine, or the like, and the use of a large amount of this steam causes energy loss and decreases thermal efficiency.
  • This invention solves the subject mentioned above, and provides the stationary blade unit and steam turbine which suppress generation
  • a stator blade unit is provided in a cavity portion of the outer ring in a stator blade unit in which an outer ring and an inner ring are connected by a plurality of stator blades arranged at predetermined intervals in the circumferential direction.
  • a first steam passage communicating with each other.
  • the steam outer ring inlet and the steam outer ring outlet are provided in the outer ring cavity apart from each other in the circumferential direction, and the steam outer ring inlet and the steam outer ring outlet are communicated by the first steam passage.
  • the steam supplied to is discharged from the steam outer ring outlet through the first steam passage in the cavity of the outer ring.
  • steam passes through the first steam passage instead of the cavity of the outer ring, so that the outer ring and the stationary blade are heated only at the necessary locations with a small amount of steam, reducing the amount of steam used and reducing the amount of steam efficiently.
  • the erosion by wet steam can be suppressed appropriately.
  • the stator blade unit according to the present invention is characterized in that the first steam passage is arranged along an inner peripheral side of a hollow portion of the outer ring.
  • the inner peripheral side of the outer ring that is, the end of the stationary blade in the outer ring side of the stationary blade unit is heated by the steam.
  • the portion where much drain water is likely to adhere can be efficiently heated.
  • the first steam passage is constituted by a tube.
  • the first steam passage as a tube, the first steam passage can be easily disposed in the cavity of the outer ring, and the manufacturing cost can be reduced.
  • the steam outer ring inlet portion includes an outer ring inlet header in which a part of the hollow portion is partitioned by a pair of inlet partition plates, and steam provided in the outer ring and communicating with the outer ring inlet header.
  • the steam outer ring outlet portion includes an outer ring outlet header in which a part of the hollow portion is partitioned by a pair of outlet partition plates, and a steam exhaust provided in the outer ring and communicating with the outer ring outlet header. And an outlet.
  • an outer ring inlet header partitioned by an inlet partition plate as a steam outer ring inlet portion
  • an outer ring outlet header partitioned by an outlet partition plate as a steam outer ring outlet portion
  • a drain discharge portion is provided adjacent to the outer ring inlet header and the outer ring outlet header in the cavity portion of the outer ring, and the drain discharge portion communicates with the hollow portion of the stationary blade. It is characterized by.
  • the drain discharge part provided adjacent to the outer ring inlet header and the outer ring outlet header in the cavity of the outer ring communicates with the hollow part of the stationary blade, so that the drain contained in the hollow part of the stationary blade can be removed from the drain discharging part to the outside. Can be easily discharged.
  • the steam inner ring inlet portion provided in the cavity portion of the inner ring
  • the steam inner ring outlet portion provided in the cavity portion of the inner ring and spaced apart from the steam inner ring inlet portion in the circumferential direction
  • the static ring unit An inlet communication path provided in the blade and communicating the steam outer ring inlet part and the steam inner ring inlet part, and an outlet communication path provided in the stationary blade and communicating the steam outer ring outlet part and the steam inner ring outlet part
  • a second steam passage that communicates the steam inner ring inlet part and the steam inner ring outlet part in the hollow part of the inner ring.
  • the steam inner ring inlet and the steam inner ring outlet are provided in the inner ring cavity apart from each other in the circumferential direction, and the steam outer ring inlet and the steam inner ring inlet are communicated by the inlet communication passage of the stationary blade, and the steam outer ring outlet And the steam inner ring outlet part are communicated with each other by an outlet communication passage of the stationary blade, and the steam inner ring inlet part and the steam inner ring outlet part are communicated with each other by a second steam path.
  • the steam supplied to the steam outer ring inlet portion flows from the inlet communication passage to the steam inner ring inlet portion, passes through the second steam passage in the cavity of the inner ring to the steam inner ring outlet portion, and passes through the outlet communication passage to the steam outer ring.
  • the stator blade unit of the present invention is characterized in that the second steam passage is disposed along an outer peripheral side of the hollow portion of the inner ring.
  • the outer peripheral side of the inner ring that is, the end on the inner ring side of the stationary blade in the stationary blade unit is heated by the steam. It is possible to efficiently heat the portion where a large amount of adhesion is likely to occur.
  • the second steam passage is constituted by a tube.
  • the second steam passage as a tube, the second steam passage can be easily arranged in the cavity of the inner ring, and the manufacturing cost can be reduced.
  • the steam turbine according to the present invention includes a casing, a rotor rotatably supported in the casing, and a plurality of base end portions of the moving blades supported by the rotor and arranged at predetermined intervals in the circumferential direction of the rotor.
  • the stationary blade unit is applied as a final-stage stationary blade unit among the plurality of stages of stationary blade units.
  • the steam outer ring inlet and the steam outer ring outlet are provided in the outer ring cavity apart from each other in the circumferential direction, and the steam outer ring inlet and the steam outer ring outlet are provided in the first steam. Since it communicates with the passage, erosion due to wet steam can be appropriately suppressed by reducing the amount of steam used and efficiently using less steam.
  • FIG. 1 is a schematic diagram illustrating a stationary blade unit in the steam turbine of the present embodiment.
  • FIG. 2 is a front view of the stationary blade unit.
  • FIG. 3 is a cross-sectional view of the steam inlet portion in the outer ring. 4 is a cross-sectional view taken along the line IV-IV in FIG.
  • FIG. 7 is a cross-sectional view of the tube.
  • FIG. 8 is a schematic configuration diagram illustrating the steam turbine of the present embodiment.
  • FIG. 8 is a schematic configuration diagram showing the steam turbine of the present embodiment.
  • the casing 11 has a hollow shape, and the rotor 12 is rotatably supported by a plurality of bearings 13.
  • a plurality of blade units 14 are provided at predetermined intervals in the axial direction on the outer peripheral portion inside the casing 11.
  • the blade unit 14 includes a plurality of disks 15 provided at predetermined intervals in the axial direction on the outer periphery of the rotor 12 and a plurality of blades 16 fixed to the outer periphery of each disk 15 along the circumferential direction. Has been.
  • the casing 11 is provided with a plurality of stationary blade units 17 at predetermined intervals in the axial direction of the rotor 12.
  • the stationary blade unit 17 is fixed along the circumferential direction so as to connect a plurality of outer rings 18 and inner rings 19 arranged at predetermined intervals in the axial direction on the outer peripheral portion of the rotor 12, and the outer rings 18 and the inner rings 19.
  • the plurality of stationary blades 20 are configured.
  • the moving blade units 14 and the stationary blade units 17 are alternately arranged in the axial direction of the rotor 12.
  • a steam passage 21 is formed in a passage in which the plurality of moving blade units 14 and the plurality of stationary blade units 17 are disposed.
  • the casing 11 is provided with a steam supply port 22 and a steam discharge port 23 that communicate with the steam passage 21.
  • the steam passes through the plurality of blade units 14 and the stationary blade unit 17, thereby passing through the rotor 12 via each blade unit 14. It can be driven and rotated.
  • the rotor 12 is connected to a generator (not shown), and can drive the generator to generate power.
  • the steam becomes wet steam including drain.
  • the drain often collides with an end of the stationary blade 20 on the outer ring 18 side (hereinafter referred to as an outer ring side end) and an end of the stationary blade 20 on the inner ring 19 side (hereinafter referred to as an inner ring side end).
  • the steam is caused to flow in the outer ring 18, the inner ring 19 and the stationary blade 20 constituting the stationary blade unit 17, and only the necessary portions of the outer ring 18, the inner ring 19 and the stationary blade 20 are heated. Erosion due to wet steam is suppressed.
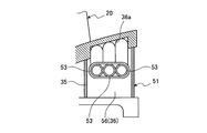
  • FIG. 1 is a schematic diagram showing a stationary blade unit in the steam turbine of the present embodiment
  • FIG. 2 is a front view of the stationary blade unit
  • FIG. 3 is a cross-sectional view of a steam inlet portion in the outer ring
  • FIG. IV-IV sectional view
  • FIG. 5 is a sectional view of the steam inlet portion in the inner ring
  • FIG. 6 is a sectional view taken along the line VI-VI in FIG. 5
  • FIG. 7 is a sectional view of the tube.
  • the stationary blade unit 17 in the final stage is connected by a plurality of stationary blades 20 in which an outer ring (divided ring) 18 and an inner ring (shroud) 19 are arranged at predetermined intervals in the circumferential direction. It is configured.
  • the outer ring 18 has a ring shape, and the outer peripheral portion is fixed to the frame 31 of the casing 11 (see FIG. 8), so that the cross section is formed in a cylindrical shape.
  • the outer ring 18 has a partition wall 32 extending in the circumferential direction fixed therein, so that a first heating chamber (hollow portion) 33 and a first drain discharge chamber (drain discharge portion) 34 are defined.
  • the inner ring 19 has a ring shape with a smaller diameter than the outer ring 18, and the cross section is formed in a cylindrical shape.
  • the inner ring 19 has a partition wall 35 extending in the circumferential direction fixed therein, thereby dividing a second heating chamber (hollow portion) 36 and a second drain discharge chamber (drain discharge portion) 37.
  • the outer ring 18 is provided with a steam outer ring inlet 41 in the first heating chamber 33 and a steam outer ring outlet 42 spaced from the steam outer ring inlet 41 in the circumferential direction.
  • the steam outer ring inlet portion 41 and the steam outer ring outlet portion 42 are provided at a distance of approximately 90 degrees from the outer ring 18 so that four each are provided.
  • the steam outer ring inlet 41 and the steam outer ring outlet 42 are communicated with each other by the first steam passage 43.
  • a plurality (two in this embodiment) of the first steam passages 43 are arranged along the inner peripheral side of the outer ring 18 in the first heating chamber 33, and each first steam passage 43 is on the steam passage 21 side. It is arranged in contact with the inner peripheral surface of.
  • the steam outer ring inlet 41 is formed as an outer ring inlet header 46 in which a part of the first heating chamber 33 is partitioned by a pair of inlet partition plates 44 and 45.
  • the steam outer ring inlet 41 is provided with a steam supply port 47 that penetrates the outer ring 18 from the outer peripheral side and communicates with the outer ring inlet header 46, and a steam supply port 48 that passes from the steam supply port 47 to the inner peripheral side.
  • the first steam passage 43 is disposed along a concave portion 33 a formed on the inner peripheral side of the first heating chamber 33, and an end portion is fixed through the central portion of the inlet partition plate 45.
  • the plurality of first steam passages 43 are fixed at predetermined intervals on the inner peripheral side of the first heating chamber 33 by fixing brackets 49.
  • the steam outer ring outlet part 42 has substantially the same configuration as the steam outer ring inlet part 41, and serves as an outer ring outlet header in which a part of the first heating chamber 33 is partitioned by a pair of outlet partition plates.
  • a steam discharge port 50 (see FIG. 2) that is formed and penetrates the outer ring 18 from the outside and communicates with the outer ring outlet header is provided.
  • path 43 is arrange
  • the first steam passage 43 is formed of a tube as shown in FIG. That is, the first steam passage 43 includes a tube main body 43a provided along the center portion, and a plurality of flange portions 43b having a ring shape on the outer peripheral portion of the tube main body 43a.
  • the plurality of flanges 43b are provided at predetermined intervals in the longitudinal direction of the tube main body 43a, and the inside communicates.
  • the inner ring 19 is provided with a steam inner ring inlet 51 in the second heating chamber 36, and the steam inner ring outlet 52 is spaced apart from the steam inner ring inlet 51 in the circumferential direction.
  • the steam inner ring inlet portion 51 and the steam inner ring outlet portion 52 are provided at a distance of approximately 90 degrees from the inner ring 19, so that four each are provided.
  • the steam inner ring inlet 51 is disposed opposite to the steam outer ring inlet 41 in the radial direction of the outer ring 18 and the inner ring 19, and the steam inner ring outlet 52 is a diameter of the steam outer ring outlet 42, the outer ring 18, and the inner ring 19. It is arranged facing the direction.
  • the steam inner ring inlet 51 and the steam inner ring outlet 52 are communicated with each other through the second steam passage 53.
  • a plurality (three in this embodiment) of the second steam passages 53 are arranged along the outer peripheral side of the inner ring 19 in the second heating chamber 36, and each second steam passage 53 is located on the steam passage 21 side. It arrange
  • the steam inner ring inlet portion 51 is formed as an inner ring inlet header 56 in which a part of the second heating chamber 36 is partitioned by a pair of inlet partition plates 54 and 55.
  • a steam supply port 57 that penetrates the inner ring 19 from the stationary blade 20 side and communicates with the inner ring inlet header 56 is provided.
  • the second steam passage 53 is disposed along a recess 36 a formed on the outer peripheral side of the second heating chamber 36, and an end portion is fixed through the central portion of the inlet partition plate 55.
  • the plurality of second steam passages 53 are fixed to the outer peripheral side of the second heating chamber 36 by a fixing bracket 59 at predetermined intervals.
  • the steam inner ring outlet portion 52 has substantially the same configuration as the steam inner ring inlet portion 51, and serves as an inner ring outlet header in which a part of the second heating chamber 36 is partitioned by a pair of outlet partition plates.
  • a steam discharge port that is formed and penetrates the inner ring 19 from the stationary blade 20 side and communicates with the inner ring outlet header is provided.
  • path 53 is arrange
  • the second steam passage 53 is formed of a tube, like the first steam passage 43, and a tube main body provided along the center portion and a plurality of ridges having a ring shape on the outer peripheral portion of the tube main body. It consists of a part.
  • the plurality of stationary blades 20 have substantially the same configuration, and a hollow portion 61 is formed inside.
  • the predetermined hollow portions 61 in the plurality of stationary blades 20 function as inlet communication passages 61 a that connect the steam outer ring inlet portion 41 and the steam inner ring inlet portion 51.
  • the predetermined hollow portions 61 in the plurality of stationary blades 20 function as outlet communication passages 61 b that connect the steam outer ring outlet portion 42 and the steam inner ring outlet portion 52.
  • a first heating chamber 33 and a first drain discharge chamber 34 are partitioned by a partition wall 32, and the first drain discharge chamber 34 is a hollow portion 61 of each stationary blade 20.
  • a drain discharge passage 71 communicates with each other.
  • the inner ring 19 has a second heating chamber 36 and a second drain discharge chamber 37 defined by a partition wall 35, and the second drain discharge chamber 37 communicates with the hollow portion 61 of each stationary blade 20 and drain discharge.
  • a passage (not shown) communicates.
  • drain that has entered from a slit (not shown) provided in the stationary blade 20 is accumulated. Then, the accumulated drain is discharged from the drain discharge passage.
  • each steam outer ring inlet 41 Steam extracted from a boiler, a steam turbine, or the like is supplied to each steam outer ring inlet 41 from each steam supply port 47 in the outer ring 18.
  • the steam supplied to each steam outer ring inlet portion 41 flows to the steam outer ring outlet portion 42 through the plurality of first steam passages 43 in the first heating chamber 33 of the outer ring 18, and the steam exhaust at the steam outer ring outlet portion 42 is discharged. It is discharged from the outlet 50 to the outside. Therefore, as shown in FIG. 1, since the steam passes through the first steam passage 43 along the inner peripheral side of the first heating chamber 33 of the outer ring 18, this steam causes the first heating chamber 33 (first steam passage 43. ), The inner peripheral side of the outer ring 18 is heated, and the outer ring side end of each stationary blade 20 is heated.
  • each steam outer ring inlet 41 is supplied to each steam inner ring inlet 51 in the inner ring 19 through the inlet communication path 61 a of the opposed stationary blade 20.
  • the steam supplied to each steam inner ring inlet 51 flows through the plurality of second steam passages 53 in the second heating chamber 36 of the inner ring 19 to the steam inner ring outlet 52.
  • the steam in the steam inner ring outlet portion 52 flows to the steam outer ring outlet portion 42 in the outer ring 18 through the outlet communication passage 61b of the opposite stationary blade 20, and flows from the steam outlet 50 of the steam outer ring outlet portion 42 to the outside. Discharged. Therefore, as shown in FIG.
  • a first steam passage 43 that communicates the steam outer ring inlet 41 and the steam outer ring outlet 42 is provided in 33.
  • the steam supplied to the steam outer ring inlet 41 is discharged from the steam outer ring outlet 42 through the first steam passage 43 in the first heating chamber 33 of the outer ring 18, so that the outer ring 18 is heated by steam.
  • the outer ring side end of each stationary blade 20 can be heated. Therefore, the wet steam flowing in the steam passage 21 is heated at the outer ring side end of the outer ring 18 and the stationary blade 20 even if the contained drain adheres to the outer ring side end of the outer ring 18 and the stationary blade 20 in the final stage. Since the temperature is high, the adhering drain is evaporated to become steam, and erosion at the rotor blade 16 at the subsequent stage is suppressed.
  • the first steam passage 43 is disposed along the inner peripheral side of the outer ring 18 in the first heating chamber 33. Therefore, the inner ring side of the outer ring 18, that is, the outer ring side end of the stationary blade 20 is heated by the steam, and the portion where the drain contained in the steam flowing through the steam passage 21 is likely to adhere is heated, and there is little.
  • the outer ring 18 can be appropriately heated by the amount of steam.
  • the first steam passage 43 is constituted by a tube. Therefore, the first steam passage 43 can be easily arranged in the first heating chamber 33 of the outer ring 18, and the manufacturing cost can be reduced.
  • the first steam passage 43 is composed of a tube main body 43a provided along the center portion and a plurality of flange portions 43b that form a ring shape on the outer peripheral portion of the tube main body 43a. Therefore, the outer ring 18 can be heated efficiently by increasing the surface area of the first steam passage 43.
  • the steam outer ring inlet 41 is configured as an outer ring inlet header 46 partitioned by inlet partition plates 44 and 45, and a steam supply port 47 communicating with the outer ring inlet header 46 is provided in the outer ring 18.
  • the steam outer ring outlet 41 is configured as an outer ring outlet header defined by a pair of outlet partition plates, and the outer ring 18 is provided with a steam outlet 50 communicating with the outer ring outlet header. Therefore, the steam from the outside can be easily supplied to the steam outer ring inlet portion 41, the steam can be easily discharged from the steam outer ring outlet portion 42, and the end of the first steam passage 43 can be easily formed.
  • the steam outer ring inlet 41 and the steam outer ring outlet 42 can be connected to each other.
  • a first drain discharge chamber 34 is provided in the cavity of the outer ring 18 adjacent to the first heating chamber 33 (the outer ring inlet header 46 and the outer ring outlet header), and the first drain discharge chamber 34 is provided. It communicates with the hollow portion 61 of the stationary blade 20. Therefore, the drain water generated in the hollow portion 61 of the stationary blade 20 can be easily discharged from the first drain discharge chamber 34 to the outside.
  • An outlet communication passage 61b that communicates 52 parts, and a second steam passage 53 that communicates the steam inner ring inlet 51 and the steam inner ring outlet 52 in the second heating chamber 36 are provided.
  • the steam supplied to the steam outer ring inlet portion 41 flows from the inlet communication passage 61a to the steam inner ring inlet portion 51, passes through the second steam passage 53 in the second heating chamber 36 of the inner ring 19, and reaches the steam inner ring outlet portion. 52, and is discharged from the steam outer ring outlet 42 through the outlet communication passage 61b. Therefore, the inner ring 19 can be heated by the steam, and the inner ring side end of each stationary blade 20 can be heated. For this reason, the wet steam flowing in the steam passage 21 is heated at the inner ring side end of the inner ring 19 and the stationary blade 20 even if the contained drain adheres to the inner ring side end of the inner ring 19 and the stationary blade 20 of the final stage.
  • the adhering drain is evaporated to become steam, and erosion at the rotor blade 16 at the subsequent stage is suppressed.
  • the steam passes through the second steam passage 53 instead of the second heating chamber 36 of the inner ring 19, the inner ring 19 and the stationary blade 20 are heated only at a necessary portion with a small amount of steam.
  • the second steam passage 53 is arranged along the outer peripheral side in the second heating chamber 36 of the inner ring 19. Accordingly, the outer peripheral side of the inner ring 19, that is, the inner ring side end portion of the stationary blade 20 is heated by the steam, and the portion where the drain contained in the steam flowing through the steam passage 21 is likely to adhere is heated.
  • the outer ring 18 can be appropriately heated by the amount.
  • the second steam passage 53 is constituted by a tube. Therefore, the second steam passage 53 can be easily arranged in the second heating chamber 36 of the inner ring 19, and the manufacturing cost can be reduced.
  • the second steam passage 53 is composed of a tube main body provided along the central portion and a plurality of flanges having a ring shape on the outer peripheral portion of the tube main body. Therefore, the inner ring 19 can be efficiently heated by increasing the surface area of the second steam passage 53.
  • the casing 11, the rotor 12 rotatably supported in the casing 11, and the base end portion of the moving blade 16 are supported by the rotor 12, so that the circumferential direction of the rotor 12 is A plurality of stages of moving blade units 14 arranged at a predetermined interval on each other, and a plurality of stages arranged at a predetermined interval in the circumferential direction of the rotor 12 with the base end portion and the tip end portion of the stationary blade 20 supported by the casing 11.
  • the stationary blade unit 17 is provided, and the above-described stationary blade unit is applied as the final stage stationary blade unit 17 of the plurality of stages of stationary blade units 17.
  • the outer ring 18 and the inner ring 19 and the outer ring side end and the inner ring side end of the stationary blade 20 are heated by the steam, so that the wet steam flowing through the steam passage 21 contains the drain and the outer ring 18 and the inner ring 19 in the final stage. Even if adhering to the outer ring side end or inner ring side end of the stationary blade 20, the adhering drain evaporates to become steam, and erosion at the subsequent rotor blade 16 is suppressed.
  • the steam passes through the first steam passage 43 instead of the first heating chamber 33 of the outer ring 18, the outer ring 18, the inner ring 19, and the stationary blade 20 are heated only at necessary portions with a small amount of steam. By reducing the amount of steam to be used and efficiently using less steam, erosion due to wet steam can be suppressed and a decrease in thermal efficiency can be suppressed.
  • two sets of the steam outer ring inlet portion 41 and the steam outer ring outlet portion 42, the steam inner ring inlet portion 51 and the steam inner ring outlet portion 52 are provided, and the steam flows into the four stationary blades 20, or the steam outer ring inlet portion 41 and
  • the steam outer ring outlet portion 42, the steam inner ring inlet portion 51, and the steam inner ring outlet portion 52 may be provided in eight sets, and the steam may flow through the 16 stationary blades 20, and the steam may flow into all the stationary blades 20. You may also shed.
  • the steam passages 43 and 53 disposed in the heating chambers 33 and 36 are tubes, but the present invention is not limited to this configuration.
  • a steam passage may be formed by covering the recesses 33a and 36a formed in the respective heating chambers 33 and 36 with a plate member, and a partial space in each of the heating chambers 33 and 36 is partitioned.
  • a steam passage may be formed.
  • the plurality of steam passages 43 and 53 are provided as tubes, the number is not limited to that.
  • the tubes as the steam passages 43 and 53 may be extended to the outside of the outer ring 18.
  • the stationary blade unit of the present invention is applied to the stationary blade unit of the final stage of the steam turbine, but may be applied to other stationary blade units.

Landscapes

  • Engineering & Computer Science (AREA)
  • Mechanical Engineering (AREA)
  • General Engineering & Computer Science (AREA)
  • Physics & Mathematics (AREA)
  • Fluid Mechanics (AREA)
  • Turbine Rotor Nozzle Sealing (AREA)
  • Structures Of Non-Positive Displacement Pumps (AREA)
  • Drying Of Solid Materials (AREA)
PCT/JP2015/066617 2014-06-27 2015-06-09 静翼ユニット及び蒸気タービン Ceased WO2015198853A1 (ja)

Priority Applications (4)

Application Number Priority Date Filing Date Title
CN201580033732.3A CN106661951B (zh) 2014-06-27 2015-06-09 静叶片单元及汽轮机
KR1020167035587A KR101867750B1 (ko) 2014-06-27 2015-06-09 정익 유닛 및 증기 터빈
DE112015002981.8T DE112015002981B4 (de) 2014-06-27 2015-06-09 Schaufeleinheit und Dampfturbine
US15/318,782 US10267150B2 (en) 2014-06-27 2015-06-09 Vane unit and steam turbine

Applications Claiming Priority (2)

Application Number Priority Date Filing Date Title
JP2014133260A JP6284447B2 (ja) 2014-06-27 2014-06-27 静翼ユニット及び蒸気タービン
JP2014-133260 2014-06-27

Publications (1)

Publication Number Publication Date
WO2015198853A1 true WO2015198853A1 (ja) 2015-12-30

Family

ID=54937946

Family Applications (1)

Application Number Title Priority Date Filing Date
PCT/JP2015/066617 Ceased WO2015198853A1 (ja) 2014-06-27 2015-06-09 静翼ユニット及び蒸気タービン

Country Status (6)

Country Link
US (1) US10267150B2 (enExample)
JP (1) JP6284447B2 (enExample)
KR (1) KR101867750B1 (enExample)
CN (1) CN106661951B (enExample)
DE (1) DE112015002981B4 (enExample)
WO (1) WO2015198853A1 (enExample)

Cited By (1)

* Cited by examiner, † Cited by third party
Publication number Priority date Publication date Assignee Title
US11174746B2 (en) 2019-07-10 2021-11-16 Mitsubishi Heavy Industries, Ltd. Stator vane for steam turbine, steam turbine, and method for heating stator vane for steam turbine

Families Citing this family (3)

* Cited by examiner, † Cited by third party
Publication number Priority date Publication date Assignee Title
CN107023317A (zh) * 2017-05-25 2017-08-08 华能国际电力股份有限公司 一种再热式多级轴流透平及其工作方法
JP6970756B2 (ja) * 2017-12-27 2021-11-24 川崎重工業株式会社 蒸気タービン
CN110030039A (zh) * 2019-05-16 2019-07-19 哈尔滨汽轮机厂有限责任公司 一种汽轮机用除湿级空心隔板

Citations (5)

* Cited by examiner, † Cited by third party
Publication number Priority date Publication date Assignee Title
JPS5573501U (enExample) * 1978-11-15 1980-05-21
JPH01300002A (ja) * 1988-05-24 1989-12-04 Toshiba Corp 蒸気タービンノズル装置
JPH03294603A (ja) * 1990-04-12 1991-12-25 Toshiba Corp 蒸気タービンノズルの水滴除去装置
JPH08158810A (ja) * 1994-12-08 1996-06-18 Toshiba Corp 蒸気タービンのドレン排出装置
JP2013148039A (ja) * 2012-01-20 2013-08-01 Toshiba Corp 蒸気タービン

Family Cites Families (12)

* Cited by examiner, † Cited by third party
Publication number Priority date Publication date Assignee Title
JPS5573501A (en) 1978-11-29 1980-06-03 Kobayashi Kikai Kogyo Kk Molding press device of plywood*etc*
US4721433A (en) * 1985-12-19 1988-01-26 United Technologies Corporation Coolable stator structure for a gas turbine engine
JPH0326802A (ja) * 1989-06-23 1991-02-05 Hitachi Ltd 蒸気タービンの静翼装置
US5634766A (en) * 1994-08-23 1997-06-03 General Electric Co. Turbine stator vane segments having combined air and steam cooling circuits
JP3617212B2 (ja) * 1996-10-01 2005-02-02 富士電機システムズ株式会社 蒸気タービンの静翼ヒーティング方法
DE19715966A1 (de) * 1997-04-17 1998-10-29 Carsten Binder Leitschaufel für Dampfturbinen
JP2002309906A (ja) * 2001-04-11 2002-10-23 Mitsubishi Heavy Ind Ltd 蒸気冷却型ガスタービン
JP5558120B2 (ja) * 2010-01-12 2014-07-23 株式会社東芝 蒸気タービンのロータ冷却装置及びこの冷却装置を備えた蒸気タービン
JP5449128B2 (ja) 2010-12-28 2014-03-19 三菱重工業株式会社 復水式蒸気タービン及びその改造方法
JP5865798B2 (ja) * 2012-07-20 2016-02-17 株式会社東芝 タービンのシール装置および火力発電システム
JP5865204B2 (ja) * 2012-07-20 2016-02-17 株式会社東芝 軸流タービン及び発電プラント
JP5868802B2 (ja) * 2012-07-20 2016-02-24 株式会社東芝 タービン

Patent Citations (5)

* Cited by examiner, † Cited by third party
Publication number Priority date Publication date Assignee Title
JPS5573501U (enExample) * 1978-11-15 1980-05-21
JPH01300002A (ja) * 1988-05-24 1989-12-04 Toshiba Corp 蒸気タービンノズル装置
JPH03294603A (ja) * 1990-04-12 1991-12-25 Toshiba Corp 蒸気タービンノズルの水滴除去装置
JPH08158810A (ja) * 1994-12-08 1996-06-18 Toshiba Corp 蒸気タービンのドレン排出装置
JP2013148039A (ja) * 2012-01-20 2013-08-01 Toshiba Corp 蒸気タービン

Cited By (1)

* Cited by examiner, † Cited by third party
Publication number Priority date Publication date Assignee Title
US11174746B2 (en) 2019-07-10 2021-11-16 Mitsubishi Heavy Industries, Ltd. Stator vane for steam turbine, steam turbine, and method for heating stator vane for steam turbine

Also Published As

Publication number Publication date
KR101867750B1 (ko) 2018-06-15
KR20170007456A (ko) 2017-01-18
JP2016011626A (ja) 2016-01-21
CN106661951A (zh) 2017-05-10
DE112015002981B4 (de) 2020-12-03
DE112015002981T5 (de) 2017-03-09
JP6284447B2 (ja) 2018-02-28
US10267150B2 (en) 2019-04-23
CN106661951B (zh) 2018-07-10
US20170130584A1 (en) 2017-05-11

Similar Documents

Publication Publication Date Title
JP5948436B2 (ja) 翼冷却回路
JP6284447B2 (ja) 静翼ユニット及び蒸気タービン
US20130164119A1 (en) Seal structure and centrifugal compressor
JP6195722B2 (ja) スクロール式流体機械
US9822792B2 (en) Assembly for a fluid flow machine
JP6163299B2 (ja) 蒸気タービン、ブレード、及び方法
CN110114555B (zh) 蒸汽涡轮
JP2020002937A (ja) 静翼セグメント、及び蒸気タービン
CN101825001B (zh) 轴流式涡轮机
CN105864101A (zh) 用于热涡轮机的转子
RU2655068C1 (ru) Паровая турбина и способ эксплуатации паровой турбины
RU2567524C2 (ru) Система и способ для отбора рабочей текучей среды от внутреннего объема турбомашины и турбомашина, содержащая такую систему
CN108699913A (zh) 用于燃气涡轮发动机中的位于压缩机组件下游的中框架扭矩盘的压缩机排放冷却系统
JP5693112B2 (ja) 軸流タービン及び軸流タービンから流れを排出するための方法
JP2008051101A (ja) 蒸気タービン用のロータ及びタービンエンジン
JP6878046B2 (ja) 蒸気タービンシステム
JP2011137413A (ja) 蒸気タービン
JP6813446B2 (ja) 蒸気タービンのドレン排出構造及びその改造方法
US10626726B2 (en) Tubular adhesion turbine or pump
JP6871009B2 (ja) 蒸気タービン
JP2018135837A (ja) 蒸気タービンプラント
JP6700893B2 (ja) 羽根車、回転機械
WO2019130517A1 (ja) 蒸気タービン
JP2017025879A (ja) 動翼および回転機械
CZ29413U1 (cs) Rotor kartáčové turbíny

Legal Events

Date Code Title Description
121 Ep: the epo has been informed by wipo that ep was designated in this application

Ref document number: 15812325

Country of ref document: EP

Kind code of ref document: A1

WWE Wipo information: entry into national phase

Ref document number: 15318782

Country of ref document: US

ENP Entry into the national phase

Ref document number: 20167035587

Country of ref document: KR

Kind code of ref document: A

WWE Wipo information: entry into national phase

Ref document number: 112015002981

Country of ref document: DE

122 Ep: pct application non-entry in european phase

Ref document number: 15812325

Country of ref document: EP

Kind code of ref document: A1