WO2015166613A1 - 単相系統に接続される電力変換装置 - Google Patents
単相系統に接続される電力変換装置 Download PDFInfo
- Publication number
- WO2015166613A1 WO2015166613A1 PCT/JP2015/000691 JP2015000691W WO2015166613A1 WO 2015166613 A1 WO2015166613 A1 WO 2015166613A1 JP 2015000691 W JP2015000691 W JP 2015000691W WO 2015166613 A1 WO2015166613 A1 WO 2015166613A1
- Authority
- WO
- WIPO (PCT)
- Prior art keywords
- phase
- voltage
- current
- power
- unit
- Prior art date
- Legal status (The legal status is an assumption and is not a legal conclusion. Google has not performed a legal analysis and makes no representation as to the accuracy of the status listed.)
- Ceased
Links
Images
Classifications
-
- H—ELECTRICITY
- H02—GENERATION; CONVERSION OR DISTRIBUTION OF ELECTRIC POWER
- H02M—APPARATUS FOR CONVERSION BETWEEN AC AND AC, BETWEEN AC AND DC, OR BETWEEN DC AND DC, AND FOR USE WITH MAINS OR SIMILAR POWER SUPPLY SYSTEMS; CONVERSION OF DC OR AC INPUT POWER INTO SURGE OUTPUT POWER; CONTROL OR REGULATION THEREOF
- H02M7/00—Conversion of AC power input into DC power output; Conversion of DC power input into AC power output
- H02M7/42—Conversion of DC power input into AC power output without possibility of reversal
- H02M7/44—Conversion of DC power input into AC power output without possibility of reversal by static converters
- H02M7/48—Conversion of DC power input into AC power output without possibility of reversal by static converters using discharge tubes with control electrode or semiconductor devices with control electrode
- H02M7/53—Conversion of DC power input into AC power output without possibility of reversal by static converters using discharge tubes with control electrode or semiconductor devices with control electrode using devices of a triode or transistor type requiring continuous application of a control signal
- H02M7/537—Conversion of DC power input into AC power output without possibility of reversal by static converters using discharge tubes with control electrode or semiconductor devices with control electrode using devices of a triode or transistor type requiring continuous application of a control signal using semiconductor devices only, e.g. single switched pulse inverters
-
- H—ELECTRICITY
- H02—GENERATION; CONVERSION OR DISTRIBUTION OF ELECTRIC POWER
- H02M—APPARATUS FOR CONVERSION BETWEEN AC AND AC, BETWEEN AC AND DC, OR BETWEEN DC AND DC, AND FOR USE WITH MAINS OR SIMILAR POWER SUPPLY SYSTEMS; CONVERSION OF DC OR AC INPUT POWER INTO SURGE OUTPUT POWER; CONTROL OR REGULATION THEREOF
- H02M1/00—Details of apparatus for conversion
- H02M1/42—Circuits or arrangements for compensating for or adjusting power factor in converters or inverters
-
- H—ELECTRICITY
- H02—GENERATION; CONVERSION OR DISTRIBUTION OF ELECTRIC POWER
- H02J—CIRCUIT ARRANGEMENTS OR SYSTEMS FOR SUPPLYING OR DISTRIBUTING ELECTRIC POWER; SYSTEMS FOR STORING ELECTRIC ENERGY
- H02J3/00—Circuit arrangements for AC mains or AC distribution networks
- H02J3/18—Arrangements for adjusting, eliminating or compensating reactive power in networks
-
- H—ELECTRICITY
- H02—GENERATION; CONVERSION OR DISTRIBUTION OF ELECTRIC POWER
- H02J—CIRCUIT ARRANGEMENTS OR SYSTEMS FOR SUPPLYING OR DISTRIBUTING ELECTRIC POWER; SYSTEMS FOR STORING ELECTRIC ENERGY
- H02J3/00—Circuit arrangements for AC mains or AC distribution networks
- H02J3/38—Arrangements for parallely feeding a single network by two or more generators, converters or transformers
-
- H—ELECTRICITY
- H02—GENERATION; CONVERSION OR DISTRIBUTION OF ELECTRIC POWER
- H02M—APPARATUS FOR CONVERSION BETWEEN AC AND AC, BETWEEN AC AND DC, OR BETWEEN DC AND DC, AND FOR USE WITH MAINS OR SIMILAR POWER SUPPLY SYSTEMS; CONVERSION OF DC OR AC INPUT POWER INTO SURGE OUTPUT POWER; CONTROL OR REGULATION THEREOF
- H02M7/00—Conversion of AC power input into DC power output; Conversion of DC power input into AC power output
- H02M7/42—Conversion of DC power input into AC power output without possibility of reversal
- H02M7/44—Conversion of DC power input into AC power output without possibility of reversal by static converters
- H02M7/48—Conversion of DC power input into AC power output without possibility of reversal by static converters using discharge tubes with control electrode or semiconductor devices with control electrode
- H02M7/53—Conversion of DC power input into AC power output without possibility of reversal by static converters using discharge tubes with control electrode or semiconductor devices with control electrode using devices of a triode or transistor type requiring continuous application of a control signal
- H02M7/537—Conversion of DC power input into AC power output without possibility of reversal by static converters using discharge tubes with control electrode or semiconductor devices with control electrode using devices of a triode or transistor type requiring continuous application of a control signal using semiconductor devices only, e.g. single switched pulse inverters
- H02M7/5387—Conversion of DC power input into AC power output without possibility of reversal by static converters using discharge tubes with control electrode or semiconductor devices with control electrode using devices of a triode or transistor type requiring continuous application of a control signal using semiconductor devices only, e.g. single switched pulse inverters in a bridge configuration
- H02M7/53871—Conversion of DC power input into AC power output without possibility of reversal by static converters using discharge tubes with control electrode or semiconductor devices with control electrode using devices of a triode or transistor type requiring continuous application of a control signal using semiconductor devices only, e.g. single switched pulse inverters in a bridge configuration with automatic control of output voltage or current
-
- H—ELECTRICITY
- H02—GENERATION; CONVERSION OR DISTRIBUTION OF ELECTRIC POWER
- H02M—APPARATUS FOR CONVERSION BETWEEN AC AND AC, BETWEEN AC AND DC, OR BETWEEN DC AND DC, AND FOR USE WITH MAINS OR SIMILAR POWER SUPPLY SYSTEMS; CONVERSION OF DC OR AC INPUT POWER INTO SURGE OUTPUT POWER; CONTROL OR REGULATION THEREOF
- H02M7/00—Conversion of AC power input into DC power output; Conversion of DC power input into AC power output
- H02M7/42—Conversion of DC power input into AC power output without possibility of reversal
- H02M7/44—Conversion of DC power input into AC power output without possibility of reversal by static converters
- H02M7/48—Conversion of DC power input into AC power output without possibility of reversal by static converters using discharge tubes with control electrode or semiconductor devices with control electrode
- H02M7/53—Conversion of DC power input into AC power output without possibility of reversal by static converters using discharge tubes with control electrode or semiconductor devices with control electrode using devices of a triode or transistor type requiring continuous application of a control signal
- H02M7/537—Conversion of DC power input into AC power output without possibility of reversal by static converters using discharge tubes with control electrode or semiconductor devices with control electrode using devices of a triode or transistor type requiring continuous application of a control signal using semiconductor devices only, e.g. single switched pulse inverters
- H02M7/539—Conversion of DC power input into AC power output without possibility of reversal by static converters using discharge tubes with control electrode or semiconductor devices with control electrode using devices of a triode or transistor type requiring continuous application of a control signal using semiconductor devices only, e.g. single switched pulse inverters with automatic control of output wave form or frequency
- H02M7/5395—Conversion of DC power input into AC power output without possibility of reversal by static converters using discharge tubes with control electrode or semiconductor devices with control electrode using devices of a triode or transistor type requiring continuous application of a control signal using semiconductor devices only, e.g. single switched pulse inverters with automatic control of output wave form or frequency by pulse-width modulation
-
- Y—GENERAL TAGGING OF NEW TECHNOLOGICAL DEVELOPMENTS; GENERAL TAGGING OF CROSS-SECTIONAL TECHNOLOGIES SPANNING OVER SEVERAL SECTIONS OF THE IPC; TECHNICAL SUBJECTS COVERED BY FORMER USPC CROSS-REFERENCE ART COLLECTIONS [XRACs] AND DIGESTS
- Y02—TECHNOLOGIES OR APPLICATIONS FOR MITIGATION OR ADAPTATION AGAINST CLIMATE CHANGE
- Y02B—CLIMATE CHANGE MITIGATION TECHNOLOGIES RELATED TO BUILDINGS, e.g. HOUSING, HOUSE APPLIANCES OR RELATED END-USER APPLICATIONS
- Y02B70/00—Technologies for an efficient end-user side electric power management and consumption
- Y02B70/10—Technologies improving the efficiency by using switched-mode power supplies [SMPS], i.e. efficient power electronics conversion e.g. power factor correction or reduction of losses in power supplies or efficient standby modes
-
- Y—GENERAL TAGGING OF NEW TECHNOLOGICAL DEVELOPMENTS; GENERAL TAGGING OF CROSS-SECTIONAL TECHNOLOGIES SPANNING OVER SEVERAL SECTIONS OF THE IPC; TECHNICAL SUBJECTS COVERED BY FORMER USPC CROSS-REFERENCE ART COLLECTIONS [XRACs] AND DIGESTS
- Y02—TECHNOLOGIES OR APPLICATIONS FOR MITIGATION OR ADAPTATION AGAINST CLIMATE CHANGE
- Y02E—REDUCTION OF GREENHOUSE GAS [GHG] EMISSIONS, RELATED TO ENERGY GENERATION, TRANSMISSION OR DISTRIBUTION
- Y02E40/00—Technologies for an efficient electrical power generation, transmission or distribution
- Y02E40/30—Reactive power compensation
Definitions
- the Applicant recently developed a control method for a power converter having characteristics (generator model) equivalent to a generator connected to the grid, and provides stable power not only during grid operation but also during independent operation. While supplying, the power converter device which implement
- a system using a distributed power source includes a single-phase system (single-phase power system) in which both interconnected operation and independent operation are assumed.
- a single-phase system has the following problems.
- the power converters described in Patent Documents 4 and 5 include a PLL circuit (phase detection loop) for detecting the system frequency (angular velocity and phase), but this PLL circuit has a system frequency. It is configured in a unique circuit so that it can cope with fluctuations. The first reason is that the frequency of the grid fluctuates when the grid is operated independently by virtual generator control using a power converter. Secondly, since a frequency (phase) detection circuit based on the assumption that the frequency of the system is constant as in the case of assuming grid connection operation is common (see Patent Documents 1 to 3), This is because, in order to configure a frequency (phase) detection circuit based on the premise that the frequency of the system fluctuates, it was necessary to devise independently. This unique circuit is specialized for three-phase systems and must be supplied with a three-phase voltage, ensuring operation in the case of a single phase, ie when one of the three phases is missing Not.
- PLL circuit phase detection loop
- the present invention has been made to solve the above-described problems, and an object thereof is to provide a power conversion device that is connected to a single-phase system and can be operated independently by virtual generator control.
- a power conversion device configured to convert DC power into single-phase AC power and output the output to an output line connected to a single-phase power system.
- a converter, and a controller configured to control the power converter so that the power converter operates as a virtual generator, the controller being a single voltage that is a voltage of the single-phase power system.
- a voltage measuring unit that measures a phase system voltage and obtains an angular velocity and a phase of the system voltage from the measured single-phase system voltage using an estimation operation that treats the phase of the system voltage as a variable; and the single-phase power system A phase difference is determined based on a power acquisition unit that acquires active power and reactive power of the active power, a deviation of the active power acquired by the power acquisition unit with respect to an active power command value, a droop characteristic of the virtual generator, and the angular velocity.
- AVR that calculates an absolute value of the induced voltage of the virtual generator based on a deviation of the reactive power acquired by the power acquisition unit with respect to the reactive power command value and a system voltage based on the measurement of the voltage measurement unit
- a phase difference calculated by the model unit and the governor model unit an absolute value of the induced voltage calculated by the AVR model, a d-axis component and a q-axis component of the system voltage corresponding to the phase, and the virtual generator
- a generator model unit that calculates a current command value corresponding to the armature current of the virtual generator, and a PWM signal is generated based on the current command value calculated by the generator model unit.
- a current control unit for outputting to the power converter.
- the voltage measurement unit uses an estimation calculation that treats the phase of the system voltage as a variable. Therefore, even if the phase of the system voltage (system frequency) changes, the angular speed and phase of the system voltage can be calculated using the estimation calculation.
- the single-phase power conversion device can acquire the single-phase power system by virtual generator control by using the angular velocity and phase of the acquired system voltage. Thereby, the transition between the interconnection operation and the independent operation of the single-phase power system by the single-phase power converter becomes possible without switching the control.
- the voltage measuring unit extracts a positive phase d-axis component and a q-axis component of the system voltage (hereinafter simply referred to as a system voltage d-axis component and a q-axis component) from the measured single-phase system voltage by DDSRF calculation.
- a voltage positive phase component extraction unit that performs the voltage measurement, and an angular velocity phase acquisition unit that acquires an angular velocity and a phase of the system voltage using a q-axis component of the system voltage extracted by the voltage positive phase component extraction unit.
- the unit may be configured to extract a d-axis component and a q-axis component of the system voltage using the phase acquired by the angular velocity phase acquisition unit in the DDSRF calculation.
- the system voltage based on the measurement of the voltage measurement unit used in the AVR model unit may be a system voltage based on the d-axis component and the q-axis component of the system voltage extracted by the voltage positive phase component extraction unit.
- the d-axis component and the q-axis component of the system voltage corresponding to the phase used in the virtual generator model unit may be the d-axis component and the q-axis component of the system voltage extracted by the voltage positive phase component extraction unit. .
- the single-phase system current can be suitably feedback controlled.
- the power conversion apparatus 1 includes a DC power supply 4 that supplies DC power to the power converter 2, and power configured to convert DC power into AC power and output the output power to an output line 5 connected to the single-phase power system 100.
- a converter 2 and a control device 3 configured to control the power converter 2 so that the power converter 2 operates as a virtual generator are provided.
- the DC power source 4 includes a DC power generation body such as a solar panel for solar power generation and a secondary battery such as a nickel metal hydride battery.
- the DC power source 4 may be a distributed power source using other renewable energy.
- the control device 3 includes a voltage / current measurement unit (voltage measurement unit and current measurement unit) 21, a power acquisition unit 22, a generator control unit 20, a generator model unit 25, and current control.
- Unit 26 This control unit is composed of an arithmetic device such as an FPGA (field programmable gate array), a PLC (programmable logic controller), a microcontroller, etc., and each unit executes a program built in the arithmetic device. Is a functional block realized by an FPGA (field programmable gate array), a PLC (programmable logic controller), a microcontroller, etc.
- the AVR model unit 24 calculates the induced voltage of the virtual generator based on the deviation of the reactive power Q calculated by the power acquisition unit 22 with respect to the reactive power command value Q ref and the system voltage V dq based on the measurement of the voltage / current measurement unit 21. Calculate the absolute value. Specific configurations of the governor model unit 23 and the AVR model unit 24 will be described later.
- the absolute value of the induced voltage is expressed as a vector in the drawing as follows, but is simply described as Ef in the text.
- the current control unit 26 generates a PWM signal PWM_ac based on the current command value I dq_ref calculated by the generator model unit 25 and outputs the PWM signal PWM_ac to the power converter 2.
- the voltage positive phase component extraction unit 30 includes rotational coordinate conversion units 35, 36, 37, and 38, filter units 39 and 40, and adder / subtractors 41 and 42.
- the rotational coordinate conversion unit 38 uses the phase 2 ⁇ of the system voltage acquired by the angular velocity phase acquisition unit 31 to perform coordinate conversion to the d-axis component and the q-axis component V dq ⁇ of the negative phase component of the filtered system voltage. This is output to the adder / subtractor 41.
- the adder / subtractor 41 uses the d-axis component and the q-axis component of the single-phase system voltage after the dq conversion input from the rotating coordinate conversion unit 35 to perform the filtering process input from the rotating coordinate conversion unit 38 and the inverse after the dq inverse conversion.
- the positive phase component V dq + is calculated by subtracting the d-axis component and the q-axis component V dq ⁇ of the phase component, and this is output.
- subtracter 41 outputs the positive-phase component of the voltage V dq + q-axis component V q + to the angular velocity phase acquisition unit 31.
- the angular velocity phase acquisition unit 31 includes a PI control unit 45 and an integrator 46.
- the PI control unit 45 performs proportional integral compensation on the q-axis component V q + of the system voltage extracted by the voltage positive phase component extraction unit 30 to calculate the angular velocity ⁇ of the system voltage, and outputs this to the integrator 46.
- the PI control unit 45 includes a proportional control unit 82, an integral control unit 81, and an adder / subtractor 83.
- the following equation (3) is established between the q-axis component V q of the system voltage and the system voltage V g .
- V q V g sin ( ⁇ ) (3)
- V q is the q-axis component of the system voltage
- V g is the system voltage
- ⁇ is the estimated phase of the system voltage
- ⁇ is the phase of the system voltage.
- FIG. 5B is a vector diagram showing Expression (3). If the phase estimation error ⁇ is close to zero, the following equation (4) is satisfied.
- the angular velocity phase acquisition unit 31 performs an operation of inputting the q-axis component of the system voltage as a phase detection error ( ⁇ ) to the phase detection loop including the voltage positive phase component extraction unit 30, thereby performing an angular velocity ⁇ of the system voltage. And the phase ⁇ .
- the q-axis component V q of the system voltage is input to the proportional control unit 82 and the integration control unit 81 as the phase estimation error ⁇ .
- the adder / subtractor 83 performs proportional integral compensation on the phase estimation error ⁇ by adding the calculation results of both the proportional control unit 82 and the integral control unit 81, and outputs this to the integrator 46.
- the integrator 46 integrates the estimated angular velocity value ⁇ of the system voltage input from the adder / subtractor 83 to estimate the phase ⁇ , and outputs this to the integrator 46 and the voltage positive phase component extraction unit 30.
- the voltage positive phase component extraction part 30 calculates the q-axis component of a system voltage using this phase (theta). Then, the calculated q-axis component of the system voltage is input to the angular velocity phase acquisition unit 31. That is, the PI control unit 45, the integrator 46, and the voltage positive phase component extraction unit 30 constitute a phase detection loop.
- the PI control unit 45 does not have to be PI control, and can be configured by a phase compensator, for example.
- FIG. 6 is a block diagram illustrating a specific circuit configuration of the current positive phase component extraction unit 32.
- the current positive phase component extraction unit 32 includes rotational coordinate conversion units 35, 36, 37, and 38, filter units 39 and 40, and adder / subtractors 41 and 42.
- current positive phase component extraction unit 32 separates the system voltage in the positive phase component I dq + and the negative-phase component I dq + by DDSRF operation of the system current d-axis component and q The axis component I dq + is extracted.
- the governor model unit 23 includes an adder / subtractor 51, a droop block 52, an adder / subtractor 53, and an integrator 54.
- the adder / subtractor 51 outputs a value obtained by subtracting the active power P from the active power command value Pref to the droop block 52.
- the droop block 52 outputs to the adder / subtracter 53 a value obtained by multiplying the output of the adder / subtractor 51 by a predetermined calculation according to the drooping characteristic of the governor (for example, a product of a real constant gain K gd ).
- the adder / subtractor 53 outputs a value obtained by subtracting the angular velocity ⁇ from the value obtained by adding the angular velocity reference value ⁇ ref and the output value of the droop block 52 to the integrator 54.
- the integrator 54 integrates the angular velocity deviation input from the adder / subtractor 53 to calculate the phase difference ⁇ , and outputs this to the generator model unit 25.
- the AVR model unit 24 includes an adder / subtractor 55, a droop block 56, an adder / subtractor 57, and a PI control block 58.
- the adder / subtracter 55 outputs a value (reactive power deviation) obtained by subtracting the reactive power Q from the reactive power command value Q ref to the droop block 56.
- the droop block 56 adds a first-order lag to a value obtained by performing a predetermined operation on the output of the adder / subtractor 55 in accordance with the drooping characteristics of the AVR (for example, a product of a real constant gain K ad ), and adds / subtracts this To the device 57.
- the adder / subtractor 57 outputs a value obtained by subtracting the system voltage V g from the output of the block 56 to the PI control block 58.
- the PI control block 58 performs proportional integral compensation on the output of the adder / subtractor 57 to calculate the absolute value Ef of the induced voltage, and outputs this to the generator model unit 25.
- each of the governor model unit 23 and the AVR model unit 24 includes a first-order lag function for giving a virtual generator a droop characteristic.
- the virtual generator phase difference ⁇ calculated by the governor model unit 23 and the absolute value Ef of the induced voltage calculated by the AVR model unit 24 are input to the virtual generator model unit 25.
- FIG. 8 shows details of the virtual generator model unit 25.
- the virtual generator is based on the absolute value Ef of the induced voltage caused by the field of the virtual generator, the phase difference ⁇ of the virtual generator, and the virtual reactance x and the winding resistance r of the virtual armature of the virtual generator. Modeling is performed using the impedance of the generator and the voltage output from the virtual generator, that is, the system voltage (complex voltage vector) and the current (complex current vector).
- FIG. 8 is a phasor diagram of each vector in the virtual generator model unit 25. In the drawing, the complex voltage vector of the system voltage and the complex current vector of the current are expressed as vectors as follows.
- V g shown in Equation 5 is the absolute value of the complex voltage vector of the system voltage shown in Equation 6.
- I d_ref a d-axis component and a q-axis component of the complex current vector number 6, I Q_ref has the formula (6) is calculated by (7).
- q-axis voltage command value output from the PI control block 64 is only positive phase component PWM q +
- reverse-phase component PWM q is a single-phase - the positive phase component PWM q + and signs are different because the multiplier A value obtained by multiplying the positive phase component PWM q + by ⁇ 1 by 68 is output as a negative phase component PWM q ⁇ to the rotating coordinate conversion unit 37.
- the rotation coordinate conversion unit 36 performs coordinate conversion on the voltage command values V d_ref and V q_ref of the d-axis component and the q-axis component using the phase ⁇ of the system voltage acquired by the angular velocity phase acquisition unit 31 to obtain the ⁇ -axis V ⁇ _ref and V ⁇ _ref of the voltage command values of the component and ⁇ -axis component are calculated and output to the PWM signal calculation unit 69.
- the PWM signal calculation unit 69 calculates the PWM signal PWM ac based on the voltage command values V ⁇ _ref and V ⁇ _ref of the ⁇ -axis component and the ⁇ -axis component input from the rotational coordinate conversion unit 36, and converts them into the power converter 2. Output to. [Function and effect] According to the power conversion device 1 configured as described above, the voltage / current measurement unit 21 uses the estimation calculation in which the phase of the system voltage is handled as a variable, so that the phase of the system voltage with change (system frequency ⁇ ) is changed.
- the system voltage angular velocity ⁇ and phase ⁇ are acquired using the estimation calculation, and the voltage positive phase component extraction unit 30 calculates the positive phase d-axis component V d + of the system voltage from the single phase system voltage by DDSRF calculation.
- V d + the positive phase d-axis component
- V q + the positive phase d-axis component
- the AVR model unit 24 and the generator model unit 25 use the system voltage based on the d-axis component and the q-axis component of the system voltage from which the negative phase component is completely removed by the voltage normal phase component extraction unit 30, a single voltage is used. Compared to obtaining the d-axis component and q-axis component by directly calculating the phase and amplitude from the zero crossing, peak value, effective value, etc. of the phase system voltage waveform, there is no room to mix the negative phase voltage, and the negative phase voltage Therefore, the virtual generator control can be operated stably and smoothly.
- control device 3 measures a single-phase system current that is a current of the single-phase power system 100, and from the measured single-phase system current, the positive-phase d-axis component and the q-axis component of the system current are calculated by DDSRF calculation.
- the current control unit 26 extracts the single-phase system current using the d-axis component I d and the q-axis component I q of the system current extracted by the voltage / current measurement unit 21 as feedback current values. By performing the feedback control, the single-phase system current can be suitably feedback-controlled.
- this embodiment performs feedback control of single-phase system current using the d-axis component and q-axis component of the system current obtained based on FAE (Fictive Axis Emulation) calculation. The point is different.
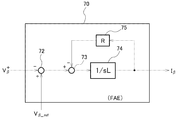
- FIG. 14 is a circuit diagram showing a configuration of the ⁇ -axis current calculation unit 70 of FIG.
- the ⁇ -axis current calculation unit 70 includes adders / subtracters 72 and 73, a calculation block 74, and a feedback block 75.
- L in the block 74 and R in the block 75 are an inductance component and a resistance component of the system as viewed from the power converter 2, respectively. Assuming such a virtually orthogonal axis for a single-phase system, an operation for obtaining the response is referred to as an FAE operation.
Landscapes
- Engineering & Computer Science (AREA)
- Power Engineering (AREA)
- Control Of Eletrric Generators (AREA)
- Inverter Devices (AREA)
- Supply And Distribution Of Alternating Current (AREA)
Priority Applications (2)
| Application Number | Priority Date | Filing Date | Title |
|---|---|---|---|
| US15/306,696 US9768712B2 (en) | 2014-04-30 | 2015-02-16 | Power conversion device connected to single-phase system |
| AU2015254803A AU2015254803B2 (en) | 2014-04-30 | 2015-02-16 | Power conversion device connected to single-phase system |
Applications Claiming Priority (2)
| Application Number | Priority Date | Filing Date | Title |
|---|---|---|---|
| JP2014-093894 | 2014-04-30 | ||
| JP2014093894A JP6265826B2 (ja) | 2014-04-30 | 2014-04-30 | 単相系統に接続される電力変換装置 |
Publications (1)
| Publication Number | Publication Date |
|---|---|
| WO2015166613A1 true WO2015166613A1 (ja) | 2015-11-05 |
Family
ID=54358360
Family Applications (1)
| Application Number | Title | Priority Date | Filing Date |
|---|---|---|---|
| PCT/JP2015/000691 Ceased WO2015166613A1 (ja) | 2014-04-30 | 2015-02-16 | 単相系統に接続される電力変換装置 |
Country Status (4)
| Country | Link |
|---|---|
| US (1) | US9768712B2 (enExample) |
| JP (1) | JP6265826B2 (enExample) |
| AU (1) | AU2015254803B2 (enExample) |
| WO (1) | WO2015166613A1 (enExample) |
Cited By (8)
| Publication number | Priority date | Publication date | Assignee | Title |
|---|---|---|---|---|
| CN106356887A (zh) * | 2016-09-26 | 2017-01-25 | 国网上海市电力公司 | 基于三电平的分布式能源并网及无功补偿复合控制系统 |
| WO2017163831A1 (ja) * | 2016-03-24 | 2017-09-28 | パナソニックIpマネジメント株式会社 | 電力供給システム及び制御方法 |
| CN108419316A (zh) * | 2017-02-10 | 2018-08-17 | 佛山市顺德区美的电热电器制造有限公司 | 电磁加热设备、电磁加热系统及其加热控制方法和装置 |
| CN108419321A (zh) * | 2017-02-10 | 2018-08-17 | 佛山市顺德区美的电热电器制造有限公司 | 电磁加热设备、电磁加热系统及其加热控制方法和装置 |
| CN108419317A (zh) * | 2017-02-10 | 2018-08-17 | 佛山市顺德区美的电热电器制造有限公司 | 电磁加热设备、电磁加热系统及其加热控制方法和装置 |
| CN108419322A (zh) * | 2017-02-10 | 2018-08-17 | 佛山市顺德区美的电热电器制造有限公司 | 电磁加热设备、电磁加热系统及其加热控制方法和装置 |
| CN108879726A (zh) * | 2018-07-13 | 2018-11-23 | 湖南大学 | 应用于直流输电系统的自适应虚拟同步控制系统及方法 |
| CN113726001A (zh) * | 2021-07-23 | 2021-11-30 | 华为数字能源技术有限公司 | 一种系统控制方法及相关装置 |
Families Citing this family (28)
| Publication number | Priority date | Publication date | Assignee | Title |
|---|---|---|---|---|
| JP6265826B2 (ja) * | 2014-04-30 | 2018-01-24 | 川崎重工業株式会社 | 単相系統に接続される電力変換装置 |
| JP6700102B2 (ja) * | 2016-05-18 | 2020-05-27 | 川重テクノロジー株式会社 | 電力変換装置 |
| JP6831565B2 (ja) * | 2017-02-22 | 2021-02-17 | 国立大学法人広島大学 | 単相擬似同期化力インバータおよびそのコントローラ |
| DE102017106213A1 (de) * | 2017-03-22 | 2018-09-27 | Wobben Properties Gmbh | Verfahren zum Einspeisen elektrischer Leistung in ein elektrisches Versorgungsnetz |
| GB2563086B (en) * | 2017-06-04 | 2020-09-16 | Zhong Qingchang | Cyber Synchronous Machine (in short, Cybersync Machine) |
| US11451166B2 (en) * | 2017-12-11 | 2022-09-20 | Toshiba Mitsubishi-Electric Industrial Systems Corporation | Power conversion device with virtual power generation model |
| CN108306337B (zh) * | 2018-01-11 | 2021-11-26 | 安徽工程大学 | 一种基于下垂系数自适应调节的虚拟同步发电机控制方法 |
| US10439511B2 (en) * | 2018-02-03 | 2019-10-08 | S&C Electric Company | Three phase inverter grid voltage feed forward method under unbalanced operating conditions |
| GB2574645B (en) * | 2018-06-14 | 2020-07-15 | Zhong Qingchang | Passive virtual synchronous machine with bounded frequency and virtual flux |
| CN108649615B (zh) * | 2018-07-25 | 2023-06-09 | 河南城建学院 | 一种基于自抗扰控制的虚拟同步机 |
| JP7119732B2 (ja) * | 2018-08-07 | 2022-08-17 | 東京電力ホールディングス株式会社 | 太陽光発電システム |
| FR3086117B1 (fr) * | 2018-09-18 | 2020-12-11 | Schneider Electric Ind Sas | Procede de controle d'un generateur |
| CN109586344A (zh) * | 2019-01-26 | 2019-04-05 | 华北电力大学 | 基于vsg和分散式微网结构的光伏用户电源管理方法 |
| JP7351620B2 (ja) | 2019-02-01 | 2023-09-27 | 三菱重工エンジン&ターボチャージャ株式会社 | 複数発電電源システムにおける指令生成装置および指令生成方法 |
| JP7292042B2 (ja) * | 2019-02-01 | 2023-06-16 | 三菱重工エンジン&ターボチャージャ株式会社 | 自立運転における複合発電電源システム |
| US12074535B2 (en) * | 2019-04-25 | 2024-08-27 | Mitsubishi Electric Corporation | Control device and power conversion device |
| CN110112792B (zh) * | 2019-05-15 | 2021-02-19 | 浙江大学 | 一种快速无功支撑的虚拟同步机低电压穿越控制策略 |
| PH12022550274A1 (en) | 2019-08-09 | 2022-11-21 | Meidensha Electric Mfg Co Ltd | System interconnection power conversion device |
| AU2020433062B2 (en) | 2020-03-05 | 2024-01-25 | Meidensha Corporation | Power conversion device control system |
| KR102484001B1 (ko) * | 2020-11-30 | 2022-12-30 | 연세대학교 산학협력단 | 주파수 응답 과도 상태 최적화 방법 및 장치 |
| CN112865130B (zh) * | 2020-12-15 | 2022-12-06 | 南方电网科学研究院有限责任公司 | 一种提升微电网暂态稳定性的控制方法、装置及终端设备 |
| JP7561990B2 (ja) * | 2021-06-28 | 2024-10-04 | 三菱電機株式会社 | 電力変換装置 |
| CN114069709B (zh) * | 2021-11-25 | 2023-09-08 | 厦门力景新能源科技有限公司 | 一种虚拟同步机低电压穿越综合控制方法 |
| WO2023112231A1 (ja) * | 2021-12-15 | 2023-06-22 | 株式会社東芝 | 電力変換装置及びプログラム |
| WO2023112234A1 (ja) * | 2021-12-16 | 2023-06-22 | 株式会社東芝 | 電力変換装置及びプログラム |
| KR102697232B1 (ko) * | 2022-07-07 | 2024-08-22 | 한국전력공사 | 전류 제어성을 갖는 가상 동기기 구현 장치 및 방법 |
| CN116008802B (zh) * | 2022-12-09 | 2024-02-20 | 中国船舶重工集团公司第七一九研究所 | 一种便携式电机检测装置及其检测方法 |
| CN117614001B (zh) * | 2023-11-21 | 2024-11-12 | 中交机电工程局有限公司 | 一种基于虚拟同步发电机的并网逆变器控制方法 |
Citations (4)
| Publication number | Priority date | Publication date | Assignee | Title |
|---|---|---|---|---|
| JP2009225599A (ja) * | 2008-03-18 | 2009-10-01 | Kawasaki Heavy Ind Ltd | 電力変換装置 |
| JP2010178495A (ja) * | 2009-01-29 | 2010-08-12 | Panasonic Corp | 電力変換装置、及び電力変換システム |
| JP2013167500A (ja) * | 2012-02-15 | 2013-08-29 | Daihen Corp | 位相検出装置 |
| JP2014509824A (ja) * | 2011-03-16 | 2014-04-21 | エスエムエー ソーラー テクノロジー アーゲー | グリッド接続インバータ、インバータ装置、および、インバータ装置を動作させるための方法 |
Family Cites Families (12)
| Publication number | Priority date | Publication date | Assignee | Title |
|---|---|---|---|---|
| US20080018289A1 (en) * | 2006-07-21 | 2008-01-24 | Fumio Tajima | Single-phase position sensorless permanent magnet motor control apparatus |
| KR100886194B1 (ko) * | 2007-06-08 | 2009-02-27 | 한국전기연구원 | 계통 연계형 고압 권선형 유도 발전기 제어 장치 |
| JP2009065806A (ja) * | 2007-09-10 | 2009-03-26 | Panasonic Corp | ステッピングモータ駆動装置及びステッピングモータ駆動方法 |
| JP2012130146A (ja) | 2010-12-15 | 2012-07-05 | Kawasaki Heavy Ind Ltd | 自立電源系統調整装置および自立電源系統の調整方法 |
| US8767421B2 (en) * | 2011-06-16 | 2014-07-01 | Solarbridge Technologies, Inc. | Power converter bus control method, system, and article of manufacture |
| JP5926067B2 (ja) | 2012-02-15 | 2016-05-25 | 株式会社ダイヘン | 位相変換装置、および、当該位相変換装置を用いた制御回路 |
| JP6116829B2 (ja) | 2011-10-21 | 2017-04-19 | 株式会社ダイヘン | 単相電力変換装置の制御装置 |
| JP6084863B2 (ja) * | 2013-02-28 | 2017-02-22 | 川崎重工業株式会社 | 系統連系する電力変換装置 |
| US9331487B2 (en) * | 2013-03-14 | 2016-05-03 | Rockwell Automation Technologies, Inc. | Method and apparatus for islanding detection for grid tie converters |
| JP2015144551A (ja) * | 2013-12-27 | 2015-08-06 | パナソニックIpマネジメント株式会社 | インバータ装置 |
| JP6351331B2 (ja) * | 2014-03-28 | 2018-07-04 | 株式会社東芝 | 電力変換装置 |
| JP6265826B2 (ja) * | 2014-04-30 | 2018-01-24 | 川崎重工業株式会社 | 単相系統に接続される電力変換装置 |
-
2014
- 2014-04-30 JP JP2014093894A patent/JP6265826B2/ja active Active
-
2015
- 2015-02-16 WO PCT/JP2015/000691 patent/WO2015166613A1/ja not_active Ceased
- 2015-02-16 US US15/306,696 patent/US9768712B2/en active Active
- 2015-02-16 AU AU2015254803A patent/AU2015254803B2/en active Active
Patent Citations (4)
| Publication number | Priority date | Publication date | Assignee | Title |
|---|---|---|---|---|
| JP2009225599A (ja) * | 2008-03-18 | 2009-10-01 | Kawasaki Heavy Ind Ltd | 電力変換装置 |
| JP2010178495A (ja) * | 2009-01-29 | 2010-08-12 | Panasonic Corp | 電力変換装置、及び電力変換システム |
| JP2014509824A (ja) * | 2011-03-16 | 2014-04-21 | エスエムエー ソーラー テクノロジー アーゲー | グリッド接続インバータ、インバータ装置、および、インバータ装置を動作させるための方法 |
| JP2013167500A (ja) * | 2012-02-15 | 2013-08-29 | Daihen Corp | 位相検出装置 |
Non-Patent Citations (2)
| Title |
|---|
| BEHROOZ BAHRANI ET AL.: "Vector Control of Single-Phase Voltage-Source Converters Based on Fictive-Axis Emulation", IEEE TRANSACTIONS ON INDUSTRY APPLICATIONS, vol. 47, no. 2, 23 December 2010 (2010-12-23), pages 831 - 840, XP011363459, ISSN: 0093-9994 * |
| DANIEL SIEMASZKO ET AL.: "Power Compensation Approach and Double Frame Control for Grid Connected Converters", PROC.OF IEEE INTRNL.CONF.OF POWER ELECTRONICS AND DRIVE SYSTEMS, 22 April 2013 (2013-04-22), pages 1263 - 1268, XP032420946 * |
Cited By (13)
| Publication number | Priority date | Publication date | Assignee | Title |
|---|---|---|---|---|
| WO2017163831A1 (ja) * | 2016-03-24 | 2017-09-28 | パナソニックIpマネジメント株式会社 | 電力供給システム及び制御方法 |
| JPWO2017163831A1 (ja) * | 2016-03-24 | 2018-06-21 | パナソニックIpマネジメント株式会社 | 電力供給システム及び制御方法 |
| CN106356887A (zh) * | 2016-09-26 | 2017-01-25 | 国网上海市电力公司 | 基于三电平的分布式能源并网及无功补偿复合控制系统 |
| CN108419322A (zh) * | 2017-02-10 | 2018-08-17 | 佛山市顺德区美的电热电器制造有限公司 | 电磁加热设备、电磁加热系统及其加热控制方法和装置 |
| CN108419321A (zh) * | 2017-02-10 | 2018-08-17 | 佛山市顺德区美的电热电器制造有限公司 | 电磁加热设备、电磁加热系统及其加热控制方法和装置 |
| CN108419317A (zh) * | 2017-02-10 | 2018-08-17 | 佛山市顺德区美的电热电器制造有限公司 | 电磁加热设备、电磁加热系统及其加热控制方法和装置 |
| CN108419316A (zh) * | 2017-02-10 | 2018-08-17 | 佛山市顺德区美的电热电器制造有限公司 | 电磁加热设备、电磁加热系统及其加热控制方法和装置 |
| CN108419317B (zh) * | 2017-02-10 | 2020-12-22 | 佛山市顺德区美的电热电器制造有限公司 | 电磁加热设备、电磁加热系统及其加热控制方法和装置 |
| CN108419316B (zh) * | 2017-02-10 | 2020-12-22 | 佛山市顺德区美的电热电器制造有限公司 | 电磁加热设备、电磁加热系统及其加热控制方法和装置 |
| CN108419322B (zh) * | 2017-02-10 | 2020-12-22 | 佛山市顺德区美的电热电器制造有限公司 | 电磁加热设备、电磁加热系统及其加热控制方法和装置 |
| CN108879726A (zh) * | 2018-07-13 | 2018-11-23 | 湖南大学 | 应用于直流输电系统的自适应虚拟同步控制系统及方法 |
| CN108879726B (zh) * | 2018-07-13 | 2021-11-09 | 湖南大学 | 应用于直流输电系统的自适应虚拟同步控制系统及方法 |
| CN113726001A (zh) * | 2021-07-23 | 2021-11-30 | 华为数字能源技术有限公司 | 一种系统控制方法及相关装置 |
Also Published As
| Publication number | Publication date |
|---|---|
| US9768712B2 (en) | 2017-09-19 |
| AU2015254803A1 (en) | 2016-12-15 |
| JP2015211617A (ja) | 2015-11-24 |
| US20170047861A1 (en) | 2017-02-16 |
| JP6265826B2 (ja) | 2018-01-24 |
| AU2015254803B2 (en) | 2017-11-02 |
Similar Documents
| Publication | Publication Date | Title |
|---|---|---|
| JP6265826B2 (ja) | 単相系統に接続される電力変換装置 | |
| CN109980676B (zh) | 微电网控制系统及微电网 | |
| Mohamed | Mitigation of dynamic, unbalanced, and harmonic voltage disturbances using grid-connected inverters with $ LCL $ filter | |
| Hu et al. | Direct active and reactive power regulation of grid-connected DC/AC converters using sliding mode control approach | |
| Scherer et al. | Voltage and frequency regulation of standalone self‐excited induction generator for micro‐hydro power generation using discrete‐time adaptive control | |
| Hamouda et al. | Unity power factor operation of indirect matrix converter tied to unbalanced grid | |
| CN105098804B (zh) | 虚拟同步发电机的三相不平衡电流的控制方法及装置 | |
| JP6386718B2 (ja) | 電力変換装置 | |
| Karimi et al. | Robust control of an autonomous four-wire electronically-coupled distributed generation unit | |
| CN102299659A (zh) | 用于多相电力转换器的控制的系统以及方法 | |
| JP7209908B1 (ja) | 電力変換装置、および制御装置 | |
| CN106532749A (zh) | 一种微电网不平衡功率和谐波电压补偿系统及其应用 | |
| Niwas et al. | Unity power factor operation and neutral current compensation of diesel generator set feeding three‐phase four‐wire loads | |
| Akel et al. | A DQ rotating frame reactive power controller for single-phase bi-directional converters | |
| Iyer et al. | Analysis and mitigation of voltage offsets in multi-inverter microgrids | |
| JP5793393B2 (ja) | 単独運転検出装置、系統連系インバータシステム、および、単独運転検出方法 | |
| CN104362675B (zh) | 光伏并网逆变器控制方法、装置及逆变器系统 | |
| Cheng et al. | Using Kalman filter to achieve online estimation of equivalent grid impedance and high bandwidth control for LCL-filtered grid-tied inverters | |
| Aquib et al. | Model reference adaptive system based apparent power sharing in inverter based microgrids | |
| Iwanski et al. | New stationary frame transformation for control of a three-phase power converter under unbalanced grid voltage sags | |
| Jeong et al. | High-performance control of three-phase four-wire DVR systems using feedback linearization | |
| Das et al. | State of art control techniques for DSTATCOM | |
| Mikkili et al. | RTDS Hardware Implementation and Simulation of 3-ph 4-wire SHAF for Mitigation of Current Harmonics with pq and Id-Iq Control Strategies using Fuzzy Logic Controller. | |
| Zhao et al. | Active and reactive power decoupling control of grid-connected inverters in stationary reference frame | |
| Avdiaj et al. | A virtual synchronous machine-based control for eliminating DC-side power oscillations of three-phase VSCs under unbalanced grid voltages |
Legal Events
| Date | Code | Title | Description |
|---|---|---|---|
| 121 | Ep: the epo has been informed by wipo that ep was designated in this application |
Ref document number: 15785876 Country of ref document: EP Kind code of ref document: A1 |
|
| WWE | Wipo information: entry into national phase |
Ref document number: 15306696 Country of ref document: US |
|
| NENP | Non-entry into the national phase |
Ref country code: DE |
|
| ENP | Entry into the national phase |
Ref document number: 2015254803 Country of ref document: AU Date of ref document: 20150216 Kind code of ref document: A |
|
| 122 | Ep: pct application non-entry in european phase |
Ref document number: 15785876 Country of ref document: EP Kind code of ref document: A1 |