WO2015162897A1 - 排気熱交換器 - Google Patents

排気熱交換器 Download PDF

Info

Publication number
WO2015162897A1
WO2015162897A1 PCT/JP2015/002139 JP2015002139W WO2015162897A1 WO 2015162897 A1 WO2015162897 A1 WO 2015162897A1 JP 2015002139 W JP2015002139 W JP 2015002139W WO 2015162897 A1 WO2015162897 A1 WO 2015162897A1
Authority
WO
WIPO (PCT)
Prior art keywords
flow direction
protrusion
exhaust
plate portions
heat exchanger
Prior art date
Legal status (The legal status is an assumption and is not a legal conclusion. Google has not performed a legal analysis and makes no representation as to the accuracy of the status listed.)
Ceased
Application number
PCT/JP2015/002139
Other languages
English (en)
French (fr)
Japanese (ja)
Inventor
功 畔柳
真田 良一
保利 山中
Current Assignee (The listed assignees may be inaccurate. Google has not performed a legal analysis and makes no representation or warranty as to the accuracy of the list.)
Denso Corp
Original Assignee
Denso Corp
Priority date (The priority date is an assumption and is not a legal conclusion. Google has not performed a legal analysis and makes no representation as to the accuracy of the date listed.)
Filing date
Publication date
Application filed by Denso Corp filed Critical Denso Corp
Priority to CN201580020857.2A priority Critical patent/CN106233088A/zh
Priority to US15/300,632 priority patent/US10202880B2/en
Priority to DE112015001899.9T priority patent/DE112015001899T5/de
Publication of WO2015162897A1 publication Critical patent/WO2015162897A1/ja
Anticipated expiration legal-status Critical
Ceased legal-status Critical Current

Links

Images

Classifications

    • FMECHANICAL ENGINEERING; LIGHTING; HEATING; WEAPONS; BLASTING
    • F01MACHINES OR ENGINES IN GENERAL; ENGINE PLANTS IN GENERAL; STEAM ENGINES
    • F01NGAS-FLOW SILENCERS OR EXHAUST APPARATUS FOR MACHINES OR ENGINES IN GENERAL; GAS-FLOW SILENCERS OR EXHAUST APPARATUS FOR INTERNAL-COMBUSTION ENGINES
    • F01N5/00Exhaust or silencing apparatus combined or associated with devices profiting by exhaust energy
    • F01N5/02Exhaust or silencing apparatus combined or associated with devices profiting by exhaust energy the devices using heat
    • FMECHANICAL ENGINEERING; LIGHTING; HEATING; WEAPONS; BLASTING
    • F28HEAT EXCHANGE IN GENERAL
    • F28DHEAT-EXCHANGE APPARATUS, NOT PROVIDED FOR IN ANOTHER SUBCLASS, IN WHICH THE HEAT-EXCHANGE MEDIA DO NOT COME INTO DIRECT CONTACT
    • F28D7/00Heat-exchange apparatus having stationary tubular conduit assemblies for both heat-exchange media, the media being in contact with different sides of a conduit wall
    • F28D7/16Heat-exchange apparatus having stationary tubular conduit assemblies for both heat-exchange media, the media being in contact with different sides of a conduit wall the conduits being arranged in parallel spaced relation
    • F28D7/1684Heat-exchange apparatus having stationary tubular conduit assemblies for both heat-exchange media, the media being in contact with different sides of a conduit wall the conduits being arranged in parallel spaced relation the conduits having a non-circular cross-section
    • FMECHANICAL ENGINEERING; LIGHTING; HEATING; WEAPONS; BLASTING
    • F28HEAT EXCHANGE IN GENERAL
    • F28DHEAT-EXCHANGE APPARATUS, NOT PROVIDED FOR IN ANOTHER SUBCLASS, IN WHICH THE HEAT-EXCHANGE MEDIA DO NOT COME INTO DIRECT CONTACT
    • F28D9/00Heat-exchange apparatus having stationary plate-like or laminated conduit assemblies for both heat-exchange media, the media being in contact with different sides of a conduit wall
    • F28D9/0031Heat-exchange apparatus having stationary plate-like or laminated conduit assemblies for both heat-exchange media, the media being in contact with different sides of a conduit wall the conduits for one heat-exchange medium being formed by paired plates touching each other
    • FMECHANICAL ENGINEERING; LIGHTING; HEATING; WEAPONS; BLASTING
    • F28HEAT EXCHANGE IN GENERAL
    • F28FDETAILS OF HEAT-EXCHANGE AND HEAT-TRANSFER APPARATUS, OF GENERAL APPLICATION
    • F28F1/00Tubular elements; Assemblies of tubular elements
    • F28F1/02Tubular elements of cross-section which is non-circular
    • FMECHANICAL ENGINEERING; LIGHTING; HEATING; WEAPONS; BLASTING
    • F28HEAT EXCHANGE IN GENERAL
    • F28FDETAILS OF HEAT-EXCHANGE AND HEAT-TRANSFER APPARATUS, OF GENERAL APPLICATION
    • F28F1/00Tubular elements; Assemblies of tubular elements
    • F28F1/02Tubular elements of cross-section which is non-circular
    • F28F1/04Tubular elements of cross-section which is non-circular polygonal, e.g. rectangular
    • FMECHANICAL ENGINEERING; LIGHTING; HEATING; WEAPONS; BLASTING
    • F28HEAT EXCHANGE IN GENERAL
    • F28FDETAILS OF HEAT-EXCHANGE AND HEAT-TRANSFER APPARATUS, OF GENERAL APPLICATION
    • F28F1/00Tubular elements; Assemblies of tubular elements
    • F28F1/10Tubular elements and assemblies thereof with means for increasing heat-transfer area, e.g. with fins, with projections, with recesses
    • F28F1/40Tubular elements and assemblies thereof with means for increasing heat-transfer area, e.g. with fins, with projections, with recesses the means being only inside the tubular element
    • FMECHANICAL ENGINEERING; LIGHTING; HEATING; WEAPONS; BLASTING
    • F28HEAT EXCHANGE IN GENERAL
    • F28FDETAILS OF HEAT-EXCHANGE AND HEAT-TRANSFER APPARATUS, OF GENERAL APPLICATION
    • F28F13/00Arrangements for modifying heat-transfer, e.g. increasing, decreasing
    • F28F13/06Arrangements for modifying heat-transfer, e.g. increasing, decreasing by affecting the pattern of flow of the heat-exchange media
    • F28F13/12Arrangements for modifying heat-transfer, e.g. increasing, decreasing by affecting the pattern of flow of the heat-exchange media by creating turbulence, e.g. by stirring, by increasing the force of circulation
    • FMECHANICAL ENGINEERING; LIGHTING; HEATING; WEAPONS; BLASTING
    • F28HEAT EXCHANGE IN GENERAL
    • F28FDETAILS OF HEAT-EXCHANGE AND HEAT-TRANSFER APPARATUS, OF GENERAL APPLICATION
    • F28F3/00Plate-like or laminated elements; Assemblies of plate-like or laminated elements
    • F28F3/02Elements or assemblies thereof with means for increasing heat-transfer area, e.g. with fins, with recesses, with corrugations
    • F28F3/025Elements or assemblies thereof with means for increasing heat-transfer area, e.g. with fins, with recesses, with corrugations the means being corrugated, plate-like elements
    • F28F3/027Elements or assemblies thereof with means for increasing heat-transfer area, e.g. with fins, with recesses, with corrugations the means being corrugated, plate-like elements with openings, e.g. louvered corrugated fins; Assemblies of corrugated strips

Definitions

  • This disclosure relates to an exhaust heat exchanger that cools exhaust gas by exchanging heat between exhaust gas generated by combustion and a cooling medium.
  • an exhaust heat exchanger in which a corrugated top surface portion of an offset fin disposed in an exhaust passage through which exhaust gas from an internal combustion engine circulates is formed with a protruding portion protruding inwardly in the corrugated shape.
  • the protrusions enhance the effect of forming turbulent flow in the offset fins, and suppress the accumulation of unburned substances.
  • An exhaust heat exchanger includes an exhaust passage through which exhaust discharged from an internal combustion engine circulates in a flow direction from an upstream side to a downstream side, and circulates between the exhaust and the outside of the exhaust passage. Heat exchange with the cooling medium.
  • the exhaust heat exchanger includes fins provided in the exhaust passage and having a plurality of plate portions. The plurality of plate portions are provided so as to be aligned in the flow direction and the direction orthogonal to the flow direction, and the plurality of plate portions adjacent to the flow direction are offset in the direction orthogonal to the flow direction.
  • the plurality of plate portions have protrusions that protrude from the plurality of plate portions in a direction orthogonal to the flow direction.
  • the direction orthogonal to both the flow direction and the direction orthogonal to the flow direction is the fin height direction
  • the portion located downstream in the flow direction from the first portion of the protrusion is the second portion
  • the protrusion When the part located farther from the center part of the protrusion in the fin height direction than the third part is the fourth part, (i) the protrusion amount of the protrusion from the plurality of plate parts in the second part Is larger than the protruding amount of the protruding portion from the plurality of plate portions in the first portion
  • the protruding amount of the protruding portion from the plurality of plate portions in the third portion is from the plurality of plate portions in the fourth portion. This is larger than the protruding amount of the protruding portion.
  • the protruding amount of the protruding portion from the plurality of plate portions in the second portion is larger than the protruding amount of the protruding portion from the plurality of plate portions in the first portion
  • the protruding amount of the protruding portion from the plurality of plate portions at the three portions is larger than the protruding amount of the protruding portion from the plurality of plate portions at the fourth portion.
  • the exhaust heat exchanger includes an exhaust passage through which exhaust discharged from the internal combustion engine flows in a flow direction from the upstream side toward the downstream side, and the exhaust and the outside of the exhaust passage Heat exchange is performed with the cooling medium that circulates.
  • the exhaust heat exchanger includes fins provided in the exhaust passage and having a plurality of plate portions.
  • the plurality of plate portions are provided so as to be aligned in the flow direction and the direction orthogonal to the flow direction, and the plurality of plate portions adjacent to the flow direction are offset in the direction orthogonal to the flow direction.
  • the plurality of plate portions have protrusions that protrude from the plurality of plate portions in a direction orthogonal to the flow direction.
  • the protrusion amount of the protrusions from the plurality of plate portions is , It increases as it goes from the upstream side in the flow direction toward the downstream side, and may increase as it approaches the central portion of the protrusion in the fin height direction. According to the configuration of the second aspect, similarly to the first aspect, it is possible to suppress the accumulation of unburned substances while ensuring the heat exchange performance.
  • the protruding portion is strictly projected from the plate portion from the upstream side in the flow direction toward the downstream side, and strictly from the plate portion as it approaches the central portion in the fin height direction of the protruding portion. It is not limited to what is comprised so that protrusion amount may become large. That is, as a whole, the protruding portion has a larger protruding amount from the plate portion as it goes from the upstream side to the downstream side in the flow direction, and the protruding portion protrudes from the plate portion as it approaches the central portion of the protruding portion in the fin height direction. What is necessary is just to be comprised so that quantity may become large.
  • the amount of protrusion from the plate portion is partially the same or smaller from the upstream side to the downstream side in the flow direction within a range where there is no functional problem.
  • the protrusion amount from the plate portion is the same or smaller as it approaches the central portion in the fin height direction of the protrusion portion in a range where there is no functional problem.
  • An EGR cooler is an exhaust heat exchanger that cools exhaust gas generated by combustion in an engine (internal combustion engine) to the engine using engine coolant (cooling medium).
  • an exhaust gas recirculation (EGR) device is a device for reducing nitrogen oxides in exhaust gas provided in an engine 10 of a vehicle, and includes an exhaust gas recirculation pipe 11, an EGR valve 12, and An EGR cooler 100 is provided.
  • the exhaust gas recirculation pipe 11 is a pipe that recirculates a part of the exhaust gas discharged from the engine 10 to the intake side of the engine 10.
  • the inlet of the exhaust gas recirculation pipe 11 is connected to the upstream side of the exhaust purification catalyst 13 in the flow direction.
  • the EGR valve 12 is disposed in the exhaust gas recirculation pipe 11 and adjusts the amount of exhaust gas (hereinafter also referred to as EGR gas) flowing through the exhaust gas recirculation pipe 11 according to the operating state of the engine 10.
  • the EGR cooler 100 is a heat exchanger that performs heat exchange between the EGR gas and the coolant of the engine 10 to cool the EGR gas, and is disposed between the exhaust side of the engine 10 and the EGR valve 12. Yes.
  • the EGR cooler 100 includes a tube 110, fins 120, a casing 130, a core plate 140, tank portions 150 and 160, an inlet 170, an outlet 180, and the like.
  • Each member is made of, for example, a stainless material having excellent heat resistance and corrosion resistance, and the contact portions of the members are joined to each other by brazing.
  • the tube 110 is a tube member that forms an exhaust passage 111 in which EGR gas flows in the flow direction from the upstream side toward the downstream side.
  • the tube 110 has a rectangular flat cross section that intersects the flow direction.
  • the tube 110 is formed, for example, by joining the U-shaped opening side end portions of two tube plates 110A and 110B press-molded in a U-shape having a shallow cross section.
  • a plurality of tubes 110 are stacked such that the long side surfaces (hereinafter referred to as facing surfaces) of the flat cross section face each other.
  • 1st convex part 112 and 2nd convex part 113 which protrude toward the outer side are formed in the opposing surface of the tube 110. As shown in FIG.
  • the 1st convex part 112 and the 2nd convex part 113 are shape
  • the first convex portion 112 is provided on the EGR gas inflow side in the longitudinal direction of the tube 110 and in the vicinity of the downstream side position of the cooling water inlet 170.
  • the 1st convex part 112 is formed so that it may extend in the direction which cross
  • the position of the longitudinal direction edge part of the 1st convex part 112 is set so that a predetermined space
  • the first convex portion 112 partitions the vicinity of the inflow port 170 when the cooling water flows into a relatively small space so that the flow rate of the cooling water near the EGR gas inlet is increased.
  • a plurality of second convex portions 113 are arranged at a predetermined interval toward the downstream side in the flow direction with respect to the first convex portion 112. Specifically, a plurality of sets of two second convex portions 113 are arranged.
  • the second convex portion 113 is formed, for example, in an elliptical shape so as to partially protrude from the facing surface of the tube 110.
  • the first convex portions 112 and the second convex portions 113 are joined so that the top sides thereof are in contact with each other, and the gap dimensions of the plurality of tubes 110 are appropriately maintained. It has become.
  • the fin 120 is a heat transfer member that promotes heat exchange between the EGR gas and the cooling water, and is disposed in the tube 110, that is, in the exhaust passage 111.
  • the detailed configuration of the fin 120 will be described later.
  • the casing 130 accommodates therein a stacked body of tubes 110 that are stacked in plural and joined together by the first convex portions 112 and the second convex portions 113.
  • the casing 130 is a rectangular pipe-shaped container body that forms a cooling water passage 131 through which cooling water flows around the laminated body of the tubes 110.
  • the cooling water passage 131 is a passage formed between the tube 110 and the tube 110 and between the tube 110 and the casing 130.
  • the core plate 140 is a pair of plate members formed in a shallow arm shape and having a plurality of tube holes drilled on the bottom surface.
  • the tube holes of the pair of core plates 140 are joined in a state in which both end portions in the longitudinal direction of the plurality of stacked tubes 110 are penetrated. Thereby, the plurality of tubes 110 are held by the pair of core plates 140.
  • the pair of core plates 140 are joined to the inner peripheral surfaces of both opening end portions in the longitudinal direction of the casing 130.
  • a pair of core plates 140 partitions a cooling water passage 131 in the casing 130 and internal spaces of tank units 150 and 160 described later.
  • the inflow side tank unit 150 is a funnel-shaped member that distributes and supplies EGR gas to each tube 110.
  • the end of the inflow side tank portion 150 on the larger opening area is joined to the opening on one end side (left side in FIG. 2) in the longitudinal direction of the casing 130, specifically, the inner peripheral surface on the opening side of the core plate 140.
  • a joint portion 151 for connecting to an intermediate portion of the exhaust gas recirculation pipe 11 is joined to an end portion of the inflow side tank portion 150 on the side having a small opening area.
  • the outflow side tank portion 160 is a funnel-shaped member that collects EGR gas flowing out from each tube 110, and the end portion on the side with the larger opening area is the other end side in the longitudinal direction of the casing 130 (the right side in FIG. 2). To the opening, specifically, the opening side inner peripheral surface of the core plate 140. A joint portion 161 for connecting to an intermediate portion of the exhaust gas recirculation pipe 11 is joined to the end portion of the outflow side tank portion 160 on the side having a small opening area.
  • the inflow port 170 is a pipe member that introduces cooling water into the cooling water passage 131, and the EGR gas of the casing 130 is communicated with the inside of the inflow port 170 and the inside of the casing 130 (cooling water passage 131). It is joined to the inflow side.
  • the axial direction of the inflow port 170 is along the facing surface of the stacked tubes 110.
  • Outflow port 180 is a pipe member that causes the cooling water flowing through cooling water passage 131 to flow out to the outside.
  • Casing 130 is arranged so that the inside of outflow port 180 communicates with the inside of casing 130 (cooling water passage 131). It is joined to the outflow side of the EGR gas.
  • the axial direction of the outlet 180 is orthogonal to the facing surface of the stacked tubes 110.
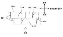
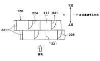
  • the fin 120 includes a plurality of segments (a plurality of plate portions) 221 and a top surface portion 222 that connects the plurality of segments 221, and the cross-sectional shape viewed from the flow direction is wavy ( For example, a rectangular wave shape is formed.
  • the segment 221 is a portion corresponding to the wavy vertical wall portion of the fin 120, and connects the opposing inner side surfaces of the exhaust tube 21.
  • the top surface portion 222 is a wall surface corresponding to the crests and troughs of the fin 120 and is joined so as to contact the inner surface of the exhaust tube 21.
  • the plurality of segments 221 are provided so as to be arranged in a flow direction and a direction orthogonal to the flow direction (hereinafter referred to as a wave continuous direction). Thereby, the cross-sectional shape seen from the flow direction of the fin 120 is wavy. Further, the plurality of segments 221 adjacent in the flow direction are offset in a direction perpendicular to the flow direction. That is, the fin 120 forms an offset type inner fin. Specifically, as shown in FIG. 6, the plurality of segments 221 are arranged in a staggered manner (alternately) in a direction orthogonal to the flow direction.
  • the segment 221 has a protrusion 224 that protrudes from the segment 221 in the direction in which the waves continue.
  • the protrusion 224 is formed by pressing a part of the segment 221 and plastically deforming it.
  • the protruding direction of the protrusions 224 in other words, the protruding direction with respect to the segment 221 is the same (right side in FIG. 5).
  • a direction perpendicular to both the flow direction and the direction perpendicular to the flow direction is defined as a fin height direction.
  • the second portion of the protrusion 224 is located on the downstream side in the flow direction with respect to the first portion which is an arbitrary portion (for example, the portion indicated by reference numeral A in FIG. 4). Let it be a part (for example, a part indicated with a symbol B in FIG. 4). At this time, the protruding amount of the protruding portion 224 from the segment 221 in the second portion B is larger than the protruding amount of the protruding portion 224 from the segment 221 in the first portion A. Further, among the protrusions 224, a third part that is an arbitrary part (for example, a part indicated by symbol C in FIG.
  • part to locate be a 4th site
  • the protruding amount of the protruding portion 224 from the segment 221 in the third portion C is larger than the protruding amount of the protruding portion 224 from the segment 221 in the fourth portion D.
  • the protruding amount of the protruding portion 224 from the segment 221 increases as it goes from the upstream side in the flow direction to the downstream side, and increases as it approaches the central portion of the protruding portion 224 in the fin height direction. Yes.
  • the protrusion 224 has a substantially triangular shape in plan view as viewed from the flow direction. That is, the protruding amount of the protruding portion 224 increases linearly as it approaches the central portion of the protruding portion 224 in the fin height direction.
  • the protrusion 224 has a substantially triangular shape in plan view as viewed from the fin height direction. That is, the protruding amount of the protrusion 224 increases linearly from the upstream side to the downstream side in the flow direction.
  • the protrusion 224 has a substantially triangular shape in plan view as viewed from the direction in which the waves of the fin 120 continue.
  • the protrusion 224 has a length in the fin height direction that increases from the upstream side toward the downstream side in the flow direction in a plan view as viewed from the direction in which the waves of the fin 120 continue.
  • the protrusion 224 has two triangular inclined surfaces 225.
  • the two inclined surfaces 225 are connected to each other at the center of the protrusion 224 in the fin height direction.
  • the central portion of the protrusion 224 in the fin height direction is located at the central portion of the segment 221 in the fin height direction.
  • a gap is formed between the end portion on the upstream side in the flow direction of the protrusion 224 and the edge portion on the upstream side in the flow direction of the segment 221.
  • the end of the protrusion 224 on the upstream side in the flow direction is located away from the edge of the segment 221 on the upstream side in the flow direction, on the downstream side in the flow direction.
  • the segment 221 of the fin 120 has the protrusion 224. According to this, since it is not necessary to increase the fin pitch, heat exchange performance can be ensured.
  • the protruding amount of the protruding portion 224 from the segment 221 in the second portion B is larger than the protruding amount of the protruding portion 224 from the segment 221 in the first portion A.
  • the protruding amount of the protruding portion 224 from the segment 221 in the third portion C is larger than the protruding amount of the protruding portion 224 from the segment 221 in the fourth portion D. That is, the protruding amount of the protruding portion 224 from the segment 221 increases from the upstream side in the flow direction toward the downstream side, and increases as it approaches the central portion of the protruding portion 224 in the fin height direction.
  • the main flow having a high exhaust flow speed in the exhaust flow path 111 has a speed of the exhaust flow in the exhaust flow path 111 along the slope 225 of the protrusion 224. It is guided to the vicinity of the inner wall surface of the slow tube 110 (hereinafter referred to as the tube inner wall surface). For this reason, the speed of the exhaust flow in the vicinity of the inner wall surface of the tube of the exhaust flow path 111 is increased, and accumulation of unburned substances in the vicinity of the inner wall surface of the tube can be suppressed.
  • the exhaust flowing through the exhaust passage 111 is moved downstream from the downstream end in the flow direction of the protrusion 224.
  • a swirling flow to the side is generated.
  • unburned substances accumulate near the tube inner wall surface of the exhaust passage 111 on the downstream side in the flow direction of the protrusion 224, and upstream in the flow direction of the segment 221 arranged on the downstream side in the flow direction of the protrusion 224. Both accumulation of unburned substances at the side end can be suppressed.
  • the protrusion 224 of this embodiment is cut into two at the center in the fin height direction.
  • the two inclined surfaces 225 of the protrusion 224 are not connected to each other.
  • a cut portion 226 cut from the downstream side in the flow direction of the protrusion 224 toward the upstream side is formed at the center of the protrusion 224 in the fin height direction.
  • the notch 226 extends parallel to the flow direction.
  • the end portion on the upstream side in the flow direction of the protrusion 224 and the end surface on the upstream side in the flow direction of the segment 221 are separated from each other.
  • a flat surface portion is formed between the end portion on the upstream side in the flow direction of the protrusion 224 and the end surface on the upstream side in the flow direction of the segment 221.
  • the segment 221 is provided with a plurality (two in this example) of protrusions 224.
  • the plurality of protrusions 224 are arranged side by side in the fin height direction. In the present embodiment, the plurality of protrusions 224 protrude in the same direction.
  • the main flow having a high exhaust flow speed in the exhaust flow path 111 is shown in FIG.
  • the exhaust channel 111 is guided to the vicinity of the inner wall surface of the tube where the exhaust flow rate is slow.
  • the exhaust flowing through the exhaust passage 111 is moved to the downstream side in the flow direction at the downstream end of the projection 224 in the flow direction. , Causing a swirl flow. Therefore, the same effect as that of the first embodiment can be obtained.
  • the main flow having a high exhaust flow speed along the inclined surface 225 on the inner side in the fin height direction of each protrusion 224.
  • the segment 221 is disposed downstream of the protrusion 224 in the flow direction. Thereby, it can suppress more reliably that an unburned substance accumulates in the flow direction upstream edge part of the segment 221 arrange
  • FIG. (Fourth embodiment) Next, 3rd Embodiment is described based on FIG. 9 and FIG.
  • the fourth embodiment differs from the first embodiment in that a plurality of protrusions 224 are provided on the segment 221.
  • the fin 120 includes a first segment (first plate portion) 221 a provided with one protrusion 224 and a plurality of (two in this example) protrusions in the fin height direction. And a second segment (second plate portion) 221b provided with a portion 224.
  • the first segments 221a and the second segments 221b are arranged alternately in the flow direction.
  • the first segments 221a and the second segments 221b are alternately arranged in the wave continuous direction.
  • the first segments 221a and the second segments 221b are arranged alternately in the flow direction.
  • both the effect of suppressing the accumulation of unburned material by the first segment 221a provided with one protrusion 224 and the effect of suppressing the accumulation of unburned material by the second segment 221b provided with two protrusions 224 are provided.
  • the present disclosure is not limited to the above-described embodiment, and can be variously modified as follows without departing from the spirit of the present disclosure. Further, the means disclosed in each of the above embodiments may be appropriately combined within a practicable range.
  • the protrusion amount of the protrusion 224 from the segment 221 is configured to increase as the protrusion 224 approaches the center of the fin height direction.
  • the protrusion amount of the protrusion 224 from the segment 221 is increased in a quadratic curve as it approaches the center of the protrusion 224 in the fin height direction. May be.
  • the protrusion amount of the protrusion 224 from the segment 221 is configured to increase linearly from the upstream side to the downstream side in the flow direction.
  • the protruding amount of the protruding portion 224 from the segment 221 may be increased in a quadratic curve from the upstream side to the downstream side in the flow direction.
  • the first segments 221a and the second segments 221b are alternately arranged in the flow direction.
  • the arrangement of the first segment 221a and the second segment 221b is not limited to this, and may be an arbitrary arrangement.

Landscapes

  • Engineering & Computer Science (AREA)
  • Physics & Mathematics (AREA)
  • Mechanical Engineering (AREA)
  • General Engineering & Computer Science (AREA)
  • Thermal Sciences (AREA)
  • Geometry (AREA)
  • Chemical & Material Sciences (AREA)
  • Combustion & Propulsion (AREA)
  • Heat-Exchange Devices With Radiators And Conduit Assemblies (AREA)
  • Exhaust-Gas Circulating Devices (AREA)
PCT/JP2015/002139 2014-04-21 2015-04-20 排気熱交換器 Ceased WO2015162897A1 (ja)

Priority Applications (3)

Application Number Priority Date Filing Date Title
CN201580020857.2A CN106233088A (zh) 2014-04-21 2015-04-20 排气热交换器
US15/300,632 US10202880B2 (en) 2014-04-21 2015-04-20 Exhaust heat exchanger
DE112015001899.9T DE112015001899T5 (de) 2014-04-21 2015-04-20 Abgaswärmetauscher

Applications Claiming Priority (2)

Application Number Priority Date Filing Date Title
JP2014087237A JP6303755B2 (ja) 2014-04-21 2014-04-21 排気熱交換器
JP2014-087237 2014-04-21

Publications (1)

Publication Number Publication Date
WO2015162897A1 true WO2015162897A1 (ja) 2015-10-29

Family

ID=54332076

Family Applications (1)

Application Number Title Priority Date Filing Date
PCT/JP2015/002139 Ceased WO2015162897A1 (ja) 2014-04-21 2015-04-20 排気熱交換器

Country Status (5)

Country Link
US (1) US10202880B2 (enExample)
JP (1) JP6303755B2 (enExample)
CN (1) CN106233088A (enExample)
DE (1) DE112015001899T5 (enExample)
WO (1) WO2015162897A1 (enExample)

Families Citing this family (11)

* Cited by examiner, † Cited by third party
Publication number Priority date Publication date Assignee Title
JP6046558B2 (ja) * 2013-05-23 2016-12-14 カルソニックカンセイ株式会社 熱交換器
US11454448B2 (en) * 2017-11-27 2022-09-27 Dana Canada Corporation Enhanced heat transfer surface
JP2020012589A (ja) * 2018-07-18 2020-01-23 本田技研工業株式会社 熱交換器
JP6550177B1 (ja) * 2018-07-20 2019-07-24 カルソニックカンセイ株式会社 熱交換器
CN110307745A (zh) * 2019-07-15 2019-10-08 浙江工业大学 一种带犁形微凸的板翅式换热器翅片
US11566855B2 (en) * 2019-08-09 2023-01-31 Mikutay Corporation Tube and chamber heat exchange apparatus having a medium directing assembly with enhanced medium directing panels
US11391522B2 (en) * 2020-04-20 2022-07-19 Mikutay Corporation Tube and chamber type heat exchange apparatus having an enhanced medium directing assembly
CN112414199B (zh) * 2020-11-24 2021-12-03 浙江银轮机械股份有限公司 散热翅片构建方法及相关装置、散热翅片
CN112502820B (zh) * 2020-12-21 2024-10-11 广西玉柴船电动力有限公司 一种分段式水冷排气管
FR3120398B1 (fr) * 2021-03-08 2023-03-31 Renault Sas Dispositif d'échangeur à tubes de section trapézoïdale
EP4517244A1 (en) * 2023-08-31 2025-03-05 Valeo Systemes Thermiques A heat exchanger

Citations (6)

* Cited by examiner, † Cited by third party
Publication number Priority date Publication date Assignee Title
JPH0198896A (ja) * 1987-10-12 1989-04-17 Nippon Denso Co Ltd 熱交換器
JP2003279293A (ja) * 2002-03-20 2003-10-02 Denso Corp 排気熱交換器
JP2007005673A (ja) * 2005-06-27 2007-01-11 Toyota Industries Corp パワーモジュール用ヒートシンク
US20100024508A1 (en) * 2007-02-01 2010-02-04 Frank Opferkuch Tubes and method and apparatus for producing tubes
JP2010096456A (ja) * 2008-10-17 2010-04-30 Denso Corp 排気熱交換装置
JP2013100978A (ja) * 2011-10-18 2013-05-23 Calsonic Kansei Corp 排気熱交換装置

Family Cites Families (1)

* Cited by examiner, † Cited by third party
Publication number Priority date Publication date Assignee Title
US8424592B2 (en) * 2007-01-23 2013-04-23 Modine Manufacturing Company Heat exchanger having convoluted fin end and method of assembling the same

Patent Citations (6)

* Cited by examiner, † Cited by third party
Publication number Priority date Publication date Assignee Title
JPH0198896A (ja) * 1987-10-12 1989-04-17 Nippon Denso Co Ltd 熱交換器
JP2003279293A (ja) * 2002-03-20 2003-10-02 Denso Corp 排気熱交換器
JP2007005673A (ja) * 2005-06-27 2007-01-11 Toyota Industries Corp パワーモジュール用ヒートシンク
US20100024508A1 (en) * 2007-02-01 2010-02-04 Frank Opferkuch Tubes and method and apparatus for producing tubes
JP2010096456A (ja) * 2008-10-17 2010-04-30 Denso Corp 排気熱交換装置
JP2013100978A (ja) * 2011-10-18 2013-05-23 Calsonic Kansei Corp 排気熱交換装置

Also Published As

Publication number Publication date
CN106233088A (zh) 2016-12-14
US20170107883A1 (en) 2017-04-20
JP2015206535A (ja) 2015-11-19
US10202880B2 (en) 2019-02-12
JP6303755B2 (ja) 2018-04-04
DE112015001899T5 (de) 2017-02-02

Similar Documents

Publication Publication Date Title
JP6303755B2 (ja) 排気熱交換器
US8651170B2 (en) Exhaust gas heat exchanger
KR101299072B1 (ko) 웨이브 핀
EP2787315B1 (en) Inner fin
US20070193732A1 (en) Heat exchanger
US20100095659A1 (en) Exhaust gas heat exchanger
JP5579428B2 (ja) 排気ガス冷却器
CN107709917B (zh) 热交换器的内散热片
US20120024511A1 (en) Intercooler
CN105247312B (zh) 换热器
US20170370329A1 (en) Vehicular egr cooler
JP2015206535A5 (enExample)
JP2015078819A (ja) インナーフィン
CN112368535B (zh) 热交换器
KR101694083B1 (ko) 특히 엔진의 배기 가스용의 가스 열교환기
JP5764535B2 (ja) 熱交換器
WO2015107814A1 (ja) 熱交換器用伝熱管および熱交換器
WO2017094366A1 (ja) 熱交換器用フィン
KR20170037189A (ko) 파형 핀
JP6463993B2 (ja) 熱交換器用チューブ
CN211397739U (zh) Egr冷却器
JP5471628B2 (ja) Egrクーラーおよびegrクーラーの製造方法
JP2010230213A (ja) 熱交換器
JP2024014199A (ja) インナーフィン
JP2015132421A (ja) 熱交換器用伝熱管および熱交換器

Legal Events

Date Code Title Description
121 Ep: the epo has been informed by wipo that ep was designated in this application

Ref document number: 15782869

Country of ref document: EP

Kind code of ref document: A1

WWE Wipo information: entry into national phase

Ref document number: 15300632

Country of ref document: US

WWE Wipo information: entry into national phase

Ref document number: 112015001899

Country of ref document: DE

122 Ep: pct application non-entry in european phase

Ref document number: 15782869

Country of ref document: EP

Kind code of ref document: A1