WO2015151621A1 - ジェットエンジン、飛しょう体及びジェットエンジンの動作方法 - Google Patents

ジェットエンジン、飛しょう体及びジェットエンジンの動作方法 Download PDF

Info

Publication number
WO2015151621A1
WO2015151621A1 PCT/JP2015/054476 JP2015054476W WO2015151621A1 WO 2015151621 A1 WO2015151621 A1 WO 2015151621A1 JP 2015054476 W JP2015054476 W JP 2015054476W WO 2015151621 A1 WO2015151621 A1 WO 2015151621A1
Authority
WO
WIPO (PCT)
Prior art keywords
fuel
jet engine
sectional area
air
injector
Prior art date
Legal status (The legal status is an assumption and is not a legal conclusion. Google has not performed a legal analysis and makes no representation as to the accuracy of the status listed.)
Ceased
Application number
PCT/JP2015/054476
Other languages
English (en)
French (fr)
Japanese (ja)
Inventor
祥彦 上野
正二郎 古谷
Current Assignee (The listed assignees may be inaccurate. Google has not performed a legal analysis and makes no representation or warranty as to the accuracy of the list.)
Mitsubishi Heavy Industries Ltd
Original Assignee
Mitsubishi Heavy Industries Ltd
Priority date (The priority date is an assumption and is not a legal conclusion. Google has not performed a legal analysis and makes no representation as to the accuracy of the date listed.)
Filing date
Publication date
Application filed by Mitsubishi Heavy Industries Ltd filed Critical Mitsubishi Heavy Industries Ltd
Priority to US15/121,187 priority Critical patent/US11203984B2/en
Priority to EP15773405.4A priority patent/EP3098420B1/en
Publication of WO2015151621A1 publication Critical patent/WO2015151621A1/ja
Anticipated expiration legal-status Critical
Ceased legal-status Critical Current

Links

Images

Classifications

    • FMECHANICAL ENGINEERING; LIGHTING; HEATING; WEAPONS; BLASTING
    • F02COMBUSTION ENGINES; HOT-GAS OR COMBUSTION-PRODUCT ENGINE PLANTS
    • F02CGAS-TURBINE PLANTS; AIR INTAKES FOR JET-PROPULSION PLANTS; CONTROLLING FUEL SUPPLY IN AIR-BREATHING JET-PROPULSION PLANTS
    • F02C9/00Controlling gas-turbine plants; Controlling fuel supply in air- breathing jet-propulsion plants
    • F02C9/26Control of fuel supply
    • F02C9/32Control of fuel supply characterised by throttling of fuel
    • BPERFORMING OPERATIONS; TRANSPORTING
    • B64AIRCRAFT; AVIATION; COSMONAUTICS
    • B64DEQUIPMENT FOR FITTING IN OR TO AIRCRAFT; FLIGHT SUITS; PARACHUTES; ARRANGEMENT OR MOUNTING OF POWER PLANTS OR PROPULSION TRANSMISSIONS IN AIRCRAFT
    • B64D33/00Arrangement in aircraft of power plant parts or auxiliaries not otherwise provided for
    • B64D33/02Arrangement in aircraft of power plant parts or auxiliaries not otherwise provided for of combustion air intakes
    • FMECHANICAL ENGINEERING; LIGHTING; HEATING; WEAPONS; BLASTING
    • F02COMBUSTION ENGINES; HOT-GAS OR COMBUSTION-PRODUCT ENGINE PLANTS
    • F02CGAS-TURBINE PLANTS; AIR INTAKES FOR JET-PROPULSION PLANTS; CONTROLLING FUEL SUPPLY IN AIR-BREATHING JET-PROPULSION PLANTS
    • F02C7/00Features, components parts, details or accessories, not provided for in, or of interest apart form groups F02C1/00 - F02C6/00; Air intakes for jet-propulsion plants
    • F02C7/04Air intakes for gas-turbine plants or jet-propulsion plants
    • FMECHANICAL ENGINEERING; LIGHTING; HEATING; WEAPONS; BLASTING
    • F02COMBUSTION ENGINES; HOT-GAS OR COMBUSTION-PRODUCT ENGINE PLANTS
    • F02CGAS-TURBINE PLANTS; AIR INTAKES FOR JET-PROPULSION PLANTS; CONTROLLING FUEL SUPPLY IN AIR-BREATHING JET-PROPULSION PLANTS
    • F02C7/00Features, components parts, details or accessories, not provided for in, or of interest apart form groups F02C1/00 - F02C6/00; Air intakes for jet-propulsion plants
    • F02C7/22Fuel supply systems
    • F02C7/222Fuel flow conduits, e.g. manifolds
    • FMECHANICAL ENGINEERING; LIGHTING; HEATING; WEAPONS; BLASTING
    • F02COMBUSTION ENGINES; HOT-GAS OR COMBUSTION-PRODUCT ENGINE PLANTS
    • F02CGAS-TURBINE PLANTS; AIR INTAKES FOR JET-PROPULSION PLANTS; CONTROLLING FUEL SUPPLY IN AIR-BREATHING JET-PROPULSION PLANTS
    • F02C7/00Features, components parts, details or accessories, not provided for in, or of interest apart form groups F02C1/00 - F02C6/00; Air intakes for jet-propulsion plants
    • F02C7/22Fuel supply systems
    • F02C7/232Fuel valves; Draining valves or systems
    • FMECHANICAL ENGINEERING; LIGHTING; HEATING; WEAPONS; BLASTING
    • F02COMBUSTION ENGINES; HOT-GAS OR COMBUSTION-PRODUCT ENGINE PLANTS
    • F02CGAS-TURBINE PLANTS; AIR INTAKES FOR JET-PROPULSION PLANTS; CONTROLLING FUEL SUPPLY IN AIR-BREATHING JET-PROPULSION PLANTS
    • F02C9/00Controlling gas-turbine plants; Controlling fuel supply in air- breathing jet-propulsion plants
    • F02C9/26Control of fuel supply
    • F02C9/44Control of fuel supply responsive to the speed of aircraft, e.g. Mach number control, optimisation of fuel consumption
    • FMECHANICAL ENGINEERING; LIGHTING; HEATING; WEAPONS; BLASTING
    • F02COMBUSTION ENGINES; HOT-GAS OR COMBUSTION-PRODUCT ENGINE PLANTS
    • F02KJET-PROPULSION PLANTS
    • F02K7/00Plants in which the working fluid is used in a jet only, i.e. the plants not having a turbine or other engine driving a compressor or a ducted fan; Control thereof
    • FMECHANICAL ENGINEERING; LIGHTING; HEATING; WEAPONS; BLASTING
    • F02COMBUSTION ENGINES; HOT-GAS OR COMBUSTION-PRODUCT ENGINE PLANTS
    • F02KJET-PROPULSION PLANTS
    • F02K7/00Plants in which the working fluid is used in a jet only, i.e. the plants not having a turbine or other engine driving a compressor or a ducted fan; Control thereof
    • F02K7/10Plants in which the working fluid is used in a jet only, i.e. the plants not having a turbine or other engine driving a compressor or a ducted fan; Control thereof characterised by having ram-action compression, i.e. aero-thermo-dynamic-ducts or ram-jet engines
    • F02K7/14Plants in which the working fluid is used in a jet only, i.e. the plants not having a turbine or other engine driving a compressor or a ducted fan; Control thereof characterised by having ram-action compression, i.e. aero-thermo-dynamic-ducts or ram-jet engines with external combustion, e.g. scram-jet engines
    • FMECHANICAL ENGINEERING; LIGHTING; HEATING; WEAPONS; BLASTING
    • F02COMBUSTION ENGINES; HOT-GAS OR COMBUSTION-PRODUCT ENGINE PLANTS
    • F02KJET-PROPULSION PLANTS
    • F02K7/00Plants in which the working fluid is used in a jet only, i.e. the plants not having a turbine or other engine driving a compressor or a ducted fan; Control thereof
    • F02K7/10Plants in which the working fluid is used in a jet only, i.e. the plants not having a turbine or other engine driving a compressor or a ducted fan; Control thereof characterised by having ram-action compression, i.e. aero-thermo-dynamic-ducts or ram-jet engines
    • F02K7/18Composite ram-jet/rocket engines
    • FMECHANICAL ENGINEERING; LIGHTING; HEATING; WEAPONS; BLASTING
    • F23COMBUSTION APPARATUS; COMBUSTION PROCESSES
    • F23NREGULATING OR CONTROLLING COMBUSTION
    • F23N1/00Regulating fuel supply
    • F23N1/002Regulating fuel supply using electronic means
    • FMECHANICAL ENGINEERING; LIGHTING; HEATING; WEAPONS; BLASTING
    • F23COMBUSTION APPARATUS; COMBUSTION PROCESSES
    • F23RGENERATING COMBUSTION PRODUCTS OF HIGH PRESSURE OR HIGH VELOCITY, e.g. GAS-TURBINE COMBUSTION CHAMBERS
    • F23R3/00Continuous combustion chambers using liquid or gaseous fuel
    • F23R3/28Continuous combustion chambers using liquid or gaseous fuel characterised by the fuel supply
    • FMECHANICAL ENGINEERING; LIGHTING; HEATING; WEAPONS; BLASTING
    • F05INDEXING SCHEMES RELATING TO ENGINES OR PUMPS IN VARIOUS SUBCLASSES OF CLASSES F01-F04
    • F05DINDEXING SCHEME FOR ASPECTS RELATING TO NON-POSITIVE-DISPLACEMENT MACHINES OR ENGINES, GAS-TURBINES OR JET-PROPULSION PLANTS
    • F05D2220/00Application
    • F05D2220/30Application in turbines
    • F05D2220/32Application in turbines in gas turbines
    • F05D2220/323Application in turbines in gas turbines for aircraft propulsion, e.g. jet engines
    • FMECHANICAL ENGINEERING; LIGHTING; HEATING; WEAPONS; BLASTING
    • F05INDEXING SCHEMES RELATING TO ENGINES OR PUMPS IN VARIOUS SUBCLASSES OF CLASSES F01-F04
    • F05DINDEXING SCHEME FOR ASPECTS RELATING TO NON-POSITIVE-DISPLACEMENT MACHINES OR ENGINES, GAS-TURBINES OR JET-PROPULSION PLANTS
    • F05D2220/00Application
    • F05D2220/80Application in supersonic vehicles excluding hypersonic vehicles or ram, scram or rocket propulsion
    • FMECHANICAL ENGINEERING; LIGHTING; HEATING; WEAPONS; BLASTING
    • F05INDEXING SCHEMES RELATING TO ENGINES OR PUMPS IN VARIOUS SUBCLASSES OF CLASSES F01-F04
    • F05DINDEXING SCHEME FOR ASPECTS RELATING TO NON-POSITIVE-DISPLACEMENT MACHINES OR ENGINES, GAS-TURBINES OR JET-PROPULSION PLANTS
    • F05D2240/00Components
    • F05D2240/35Combustors or associated equipment
    • FMECHANICAL ENGINEERING; LIGHTING; HEATING; WEAPONS; BLASTING
    • F05INDEXING SCHEMES RELATING TO ENGINES OR PUMPS IN VARIOUS SUBCLASSES OF CLASSES F01-F04
    • F05DINDEXING SCHEME FOR ASPECTS RELATING TO NON-POSITIVE-DISPLACEMENT MACHINES OR ENGINES, GAS-TURBINES OR JET-PROPULSION PLANTS
    • F05D2250/00Geometry
    • F05D2250/90Variable geometry
    • FMECHANICAL ENGINEERING; LIGHTING; HEATING; WEAPONS; BLASTING
    • F05INDEXING SCHEMES RELATING TO ENGINES OR PUMPS IN VARIOUS SUBCLASSES OF CLASSES F01-F04
    • F05DINDEXING SCHEME FOR ASPECTS RELATING TO NON-POSITIVE-DISPLACEMENT MACHINES OR ENGINES, GAS-TURBINES OR JET-PROPULSION PLANTS
    • F05D2270/00Control
    • F05D2270/30Control parameters, e.g. input parameters
    • F05D2270/306Mass flow
    • FMECHANICAL ENGINEERING; LIGHTING; HEATING; WEAPONS; BLASTING
    • F23COMBUSTION APPARATUS; COMBUSTION PROCESSES
    • F23NREGULATING OR CONTROLLING COMBUSTION
    • F23N2237/00Controlling
    • F23N2237/02Controlling two or more burners
    • FMECHANICAL ENGINEERING; LIGHTING; HEATING; WEAPONS; BLASTING
    • F23COMBUSTION APPARATUS; COMBUSTION PROCESSES
    • F23NREGULATING OR CONTROLLING COMBUSTION
    • F23N2237/00Controlling
    • F23N2237/10High or low fire
    • FMECHANICAL ENGINEERING; LIGHTING; HEATING; WEAPONS; BLASTING
    • F23COMBUSTION APPARATUS; COMBUSTION PROCESSES
    • F23NREGULATING OR CONTROLLING COMBUSTION
    • F23N2241/00Applications
    • F23N2241/20Gas turbines

Definitions

  • the present invention relates to a jet engine, a flying object and a method of operating a jet engine.
  • a ramjet engine and a scramjet engine are known as jet engines of an aircraft that fly faster than the speed of sound. These are jet engines that operate by taking in air.
  • the inside of the combustor is subsonic
  • the inside of the combustor is supersonic, and in any case, the flame blows off, etc. It is important not to cause a misfire (no flame holding) due to
  • a method which utilizes a low speed region existing in the boundary layer developed on the wall surface of the combustor or around the flame holder installed on the wall surface of the combustor. There is. In order to hold a flame by these methods, it is necessary to diffuse and supply the fuel to an appropriate area near the wall of the combustor (hereinafter, also referred to as a “stable flame area”).
  • FIG. 1 is a schematic cross-sectional view schematically showing the configuration of a jet engine.
  • the jet engine 102 includes an airframe 110 and a cowl 140 provided below the airframe 110 so as to form a space 150 through which gas can flow.
  • the front lower portion of the airframe 110 and the front portion of the cowl 140 constitute an inlet 111 for introducing air into the space 150.
  • the middle lower portion of the airframe 110 and the middle portion of the cowl 140 constitute a combustor 112 which mixes and burns fuel and air.
  • the rear lower portion of the airframe 110 and the rear portion of the cowl 140 constitute a nozzle 113 for expanding and releasing the combustion gas.
  • the combustor 112 includes a fuel injector 120.
  • the combustion injector 120 is provided on a wall surface 121 of a portion corresponding to the combustor 112 in a lower portion of the fuselage 110. Furthermore, a flame holder may be provided on the wall surface 121 behind the fuel injector 120 (not shown).
  • the fuel injector 120 ejects the fuel G toward the space 150.
  • the jet engine 102 mixes and burns the air taken in from the inlet 111 and the fuel G injected from the fuel injector 120 in the combustor 112, expands the combustion gas in the nozzle 113, and makes the aft of the fuselage 110 Send out.
  • a portion of the fuel G is diffused and supplied to the low speed region present in the boundary layer developed on the wall surface 121 of the combustor 112, and flame holding is performed.
  • the flame holder is present, a part of the fuel G is diffused and supplied to the low speed area existing around the flame holder installed on the wall surface 121 of the combustor 112, and the flame is held.
  • the supersonic combustor includes a low-profile strut, a plurality of small pieces, and an injection nozzle.
  • Struts of wedge-shaped cross section are disposed in the flow path of the supersonic air flow with the acute angle portion directed upstream, and have a back end face substantially orthogonal to the flow.
  • a plurality of small pieces are provided on the rear end surface of the strut, have substantially the same width as the rear end surface, and extend downstream.
  • An injection nozzle is provided between the small pieces of struts and injects fuel downstream.
  • An object of the present invention is to provide a jet engine, a flying object and a method of operating the jet engine that can operate stably even at lower speeds.
  • another optional further object of the present invention is to provide a jet engine, a flying object and a method of operating the jet engine capable of suppressing the fuel from reaching the difficult flame holding area. .
  • the jet engine includes an inlet for taking in air, a combustor that burns fuel using air, and a fuel control unit that controls the supply of fuel.
  • the combustor includes a fuel supply unit for delivering fuel, an injector having an opening for injecting the fuel supplied from the fuel supply unit, a pipe for supplying fuel from the fuel supply unit to the opening, and a pipe And a channel cross-sectional area adjustment unit provided.
  • the fuel control unit controls the fuel supply unit to deliver the total fuel flow rate to the injector according to the autopilot command.
  • the fuel control unit controls the flow passage cross-sectional area adjustment unit to change the flow passage cross-sectional area of the pipe, thereby controlling the penetration height of the fuel.
  • a method of operating a jet engine comprises operating an inlet for taking in air, a combustor for burning fuel using air, and a fuel control unit for controlling supply of fuel. It is.
  • the combustor is a fuel supply unit for delivering fuel, an injector for injecting the fuel supplied from the fuel supply unit, the injector including an opening for injecting the fuel, and the fuel from the fuel supply unit to the opening And a flow path cross-sectional area adjustment unit provided in the pipe.
  • the method of operation of the jet engine includes the steps of the fuel supply unit delivering fuel to the injector at a total fuel flow rate according to the autopilot command, and the flow passage cross-sectional area adjustment so that the fuel passes through the flameable region. Controlling the section to change the flow path cross-sectional area of the pipe.
  • the present invention it is possible to provide a jet engine, a flying object and a method of operating the jet engine that can operate stably even at lower speeds. Also, optionally, the present invention can provide a jet engine, a flying object and a method of operating the jet engine capable of suppressing the fuel from reaching the difficult flame holding region.
  • FIG. 1 is a schematic cross-sectional view schematically showing the configuration of a jet engine.
  • FIG. 2 is a graph showing the relationship between the penetration height of fuel and the distance of air flow.
  • FIG. 3A is a schematic view schematically showing the fuel injection of the combustor when the flight speed is high.
  • FIG. 3B is a schematic view schematically showing the fuel injection of the combustor when the flight speed is high.
  • FIG. 4A is a schematic view schematically showing the fuel injection of the combustor when the flight speed is low.
  • FIG. 4B is a schematic view schematically showing the fuel injection of the combustor when the flight speed is low.
  • FIG. 5 is a perspective view showing a configuration example of the flying object according to the embodiment.
  • FIG. 6 is a schematic cross-sectional view schematically showing a configuration example of a jet engine according to the embodiment.
  • FIG. 7A is a functional block diagram showing an example of the configuration of a jet engine according to the embodiment.
  • FIG. 7B is a functional block diagram showing another example of the configuration of the fuel injector of the jet engine according to the embodiment.
  • FIG. 8A is a schematic view schematically showing how fuel is injected when the flight speed is low in the combustor according to the embodiment.
  • FIG. 8B is a schematic view schematically showing how fuel is injected when the flight speed is low in the combustor according to the embodiment.
  • FIG. 9A is a schematic view schematically showing a state of fuel injection when the flight speed is high in the combustor according to the embodiment.
  • FIG. 9B is a schematic view schematically showing how fuel is injected when the flight speed is high in the combustor according to the embodiment.
  • FIG. 10 is a table showing an example of a table relating to the flight speed and the opening and closing of the valve by the fuel injection controller.
  • FIG. 11A is a schematic view schematically showing a modified example of fuel injection when the flight speed is high in the combustor according to the embodiment.
  • FIG. 11B is a schematic view schematically showing a modified example of fuel injection when the flight speed is high in the combustor according to the embodiment.
  • FIG. 12 is a table showing another example of the table regarding the flight speed and the opening and closing of the valve by the fuel injection controller.
  • FIG. 13A is a schematic cross-sectional view conceptually showing an example in which there is one fuel injection port in a jet engine according to a modification of the embodiment, and is perpendicular to the mainstream air passing through the jet engine.
  • FIG. 5 is a cross sectional view, and is a cross sectional view when the valve is fully open.
  • FIG. 13B is a schematic cross-sectional view conceptually showing an example in which there is one fuel injection port in a jet engine according to a modification of the embodiment, which is perpendicular to the mainstream air passing through the jet engine.
  • FIG. 10 is a cross-sectional view, and is a cross-sectional view when the opening of the valve is narrowed.
  • the “penetration height” of the fuel is defined to mean the distance by which the fuel diffuses in the vertical direction when the fuel is injected from the fuel injector in the direction perpendicular to the air flow direction.
  • the fuel G when the fuel G is injected from the fuel injector 120 in the vertical direction (+ z direction), the fuel G diffuses in the vertical direction (+ z direction) and also diffuses in the air Air flow direction (+ x direction) Do.
  • the distance by which the fuel G diffuses in the vertical direction (+ z direction) is the “penetration height” of the fuel G.
  • mismentum flux of air is defined to mean the product of the mass of air passing through a unit area perpendicular to the flow direction of air per unit time and the velocity of the air.
  • “momentum flux of fuel” is the momentum of the fuel immediately after being injected from the fuel injection port, and the mass of the fuel passing through the unit area perpendicular to the injection direction per unit time immediately after the injection; It is defined to mean the product of the fuel injection rate.
  • FIG. 2 is a graph showing the relationship between the penetration height and the distance of the air G in the fuel G.
  • the vertical axis indicates the penetration height (+ z direction; arbitrary unit) of the fuel G
  • the horizontal axis indicates the distance (+ x direction; arbitrary unit) in which the fuel G is allowed to flow to the air Air.
  • the reference (0) on the horizontal axis and the vertical axis is the position of the fuel injector 120.
  • the broken line indicates the case where the flight velocity is low (the momentum flux of air Air is small), and the solid line indicates the case where the flight velocity is high (the momentum flux of air Air is large).
  • the mass flow ratio of air Air to fuel G and the momentum flux of the injected fuel G in the vertical direction (+ z direction) are the same regardless of the velocity of the projectile.
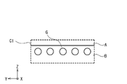
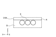
  • FIGS. 3A and 3B are schematic views schematically showing the fuel injection of the combustor when the flight speed is high.
  • FIG. 3A is a perspective view of the vicinity of the opening of the fuel injector 120
  • FIG. 3B is a view showing the appearance of the fuel G at the cross section C101 of FIG. 3A.
  • the cross section C101 is a yz cross section of the flow path of the air Air and the fuel G at a position away from the fuel injector 120 by a predetermined distance in the flow direction. Both figures are drawn upside down from FIG.
  • the fuel G is supplied from the plurality of fuel injectors 120 provided on the wall surface 121 of the combustor 112 in the vertical direction (+ z direction). Thereafter, the fuel G is flowed in the flow direction (+ x direction) by the air Air taken in from the inlet 111.
  • the fuel G passes through the area capable of holding flame (area capable of holding flame) B, and the area difficult to hold flame (holding flame difficult) Do not pass through area A). This is because the penetration speed of the fuel G is low because the flight speed is high and the momentum flux of the air Air is large (FIG. 2).
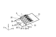
  • FIG. 4A and FIG. 4B are schematic views schematically showing the fuel injection of the combustor when the flight speed is low.
  • 4A is a perspective view of the vicinity of the opening of the fuel injector 120
  • FIG. 4B is a view showing the state of the fuel G at the cross section C101 in FIG. 4A. It is drawn in reverse.
  • fuel G is supplied from the plurality of fuel injectors 120 in the vertical direction (+ z direction). Thereafter, the fuel G is caused to flow in the flow direction (+ x direction) by the air Air.
  • the fuel G passes through the flame holding difficult area A and can not pass the flame holding possible area B in the cross section C101 (yz cross section). This is because the flight speed is low and the momentum flux of the air Air is small, so the penetration height of the fuel G becomes high (see FIG. 2 if necessary). In this case, the flame can not be held, and the jet engine 102 may become inoperable. Therefore, it is difficult to use the jet engine 102 at a lower speed.
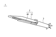
  • FIG. 5 is a perspective view showing a configuration example of the flying object 1 according to the present embodiment.
  • the flying body 1 includes a jet engine 2 and a rocket motor 3.
  • the rocket motor 3 accelerates the flying object 1 from the speed at the start of the flight to a desired speed when the flying object 1 is caused to fly from the launcher.
  • the speed at the start of the flight is zero when the projectile 1 is fired from the stationary launcher, and the vehicle is moving (or in flight) with the vehicle moving (or in flight)
  • it is the moving speed (or flight speed) of the moving object (or flying object).
  • the jet engine 2 After the flight vehicle 1 separates the rocket motor 3, the jet engine 2 further accelerates the flight vehicle 1 to fly toward the target.
  • the jet engine 2 includes an airframe 10 and a cowl 40.
  • the airframe 10 and the cowl 40 constitute an inlet, a combustor, and a nozzle of the jet engine 2 as described later.
  • the jet engine 2 takes in air from the front at the inlet, mixes the air and fuel in the combustor and burns it, expands the combustion gas at the nozzle, and sends it backward. Thereby, the jet engine 2 obtains propulsion.
  • FIG. 6 is a schematic cross-sectional view schematically showing a configuration example of a jet engine according to the present embodiment.
  • the jet engine 2 includes an airframe 10 and a cowl 40 provided below the airframe 10 to form a space 50 through which gas can flow.
  • the front lower portion of the airframe 10 and the front portion of the cowl 40 constitute an inlet 11 for introducing air into the space 50.
  • the middle lower portion of the airframe 10 and the middle portion of the cowl 40 constitute a combustor 12 which mixes and burns fuel and air.
  • the lower rear portion of the airframe 10 and the rear portion of the cowl 40 constitute a nozzle 13 for expanding and releasing the combustion gas.
  • the combustor 12 is provided with a fuel injector 20.
  • the fuel injectors 20 are provided on the wall 21 of the lower portion of the fuselage 10 in a portion corresponding to the combustor 12.
  • the fuel injector 20 injects the fuel G stored in the airframe 10 toward the space 50 in a substantially vertical direction (+ z direction).
  • the injected fuel G is mixed with the air taken in from the inlet 11 and burns. Further, at an early stage of combustion, the fuel G is burned by being ignited by an igniter (not shown) or the like.
  • the fuel injector 20 has one or more openings in the lower portion of the fuselage 10.
  • the fuel injector 20 is supplied with fuel at a flow rate according to the autopilot command.
  • the fuel injector 20 may be configured such that the number of openings injecting fuel at low speed or the flow passage cross section in the pipe supplying fuel is the number of openings injecting fuel at high speed or It is controlled to be larger than the flow passage cross sectional area.
  • the fuel injectors 20 are exemplified by a plurality of openings provided side by side in the span direction of the airframe 10.
  • controlling the flow passage cross-sectional area includes controlling at least one of the plurality of pipes to control the number of openings for injecting the fuel.
  • control of the flow path cross-sectional area in the pipe there is an option as to at which position of the pipe the flow path cross-sectional area is controlled. That is, for example, of the piping, the flow passage cross-sectional area at the opening of the fuel injector may be controlled, or the flow passage cross-sectional area at a position away from the opening of the fuel injector may be controlled.
  • the combustor 12 may further include a flame holder on the wall surface 21 rearward of the fuel injector 20 (not shown).
  • FIG. 7A is a functional block diagram showing an example of the configuration of a jet engine according to the present embodiment.
  • the jet engine 2 includes a combustor 12 and a fuel control unit 37.
  • the combustor 12 burns fuel using the air taken in from the inlet 11.
  • the fuel control unit 37 controls the supply of fuel in the combustor 12.
  • the combustor 12 includes a fuel supply unit 22 and a fuel injector 20.
  • the fuel supply unit 22 delivers the fuel to the fuel injector 20.
  • the fuel injector 20 injects the supplied fuel into the air flow space 50.
  • the fuel injector 20 includes a plurality of fuel injection ports (openings) 30-1 to 30-5, a plurality of pipes 43, 44-1 to 44-5, and a plurality of valves 42-1 to 42-5. It contains.
  • the plurality of fuel injection ports (openings) 30-1 to 30-5 preferably have the same area.
  • “the area is the same” includes that "the area is substantially the same”.
  • “approximately the same area” means that the ratio of the largest to the smallest of the area of the fuel injection port is 1 ⁇ maximum one / minimum one ⁇ 1.5.
  • the plurality of pipes 43, 44-1 to 44-5 supply the fuel delivered from the fuel supply unit 22 to the plurality of fuel injection ports 30-1 to 30-5.
  • one end of the pipe 44-1 is connected to one end of the pipe 43, and the other end is connected to the fuel injection port 30-1.
  • the pipe 44-2 has one end connected to one end of the pipe 43 and the other end connected to the fuel injection port 30-2.
  • the pipe 44-3 has one end connected to one end of the pipe 43 and the other end connected to the fuel injection port 30-3.
  • the pipe 44-4 has one end connected to one end of the pipe 43 and the other end connected to the fuel injection port 30-4.
  • the pipe 44-5 has one end connected to one end of the pipe 43, and the other end connected to the fuel injection port 30-5.
  • the other end of the pipe 43 is connected to the fuel supply unit 22.
  • the plurality of fuel injection ports 30-1 to 30-5 are a plurality of openings provided in the wall surface 21.
  • the plurality of fuel injection ports 30-1 to 30-5 inject the fuel supplied from the plurality of pipes 44-1 to 44-5.
  • the plurality of fuel injection ports 30-1 to 30-5 are arranged side by side generally in the span direction (generally the y direction) which is a direction perpendicular to the direction of the air flow path.
  • vertical includes generally vertical.
  • perpendicularly vertical is meant to include the range of ⁇ 5 ° with respect to the vertical and the vertical (in other words, the range of 85 ° to 95 °).
  • the direction of the air flow path means the longitudinal direction of the combustor (specifically, the x direction from the upstream side to the downstream side with respect to the flow of the mainstream air).
  • the shape of the plurality of openings is not particularly limited, and may be a circle, an ellipse, a polygon, or a combination thereof.
  • the number of fuel injection ports 30 is not particularly limited. The arrangement of the fuel injection ports 30 is not particularly limited as long as they are arranged generally in the y direction.
  • the plurality of valves (flow passage cross-sectional area adjustment units) 42-1 to 42-5 are provided in the middle of the plurality of pipes 44-1 to 44-5.
  • the valve 42-1 is provided in the middle of the pipe 44-1.
  • the valve 42-2 is provided in the middle of the pipe 44-2.
  • the valve 42-3 is provided in the middle of the pipe 44-3.
  • the valve 42-4 is provided in the middle of the pipe 44-4.
  • the valve 42-5 is provided in the middle of the pipe 44-5.
  • the flow path cross-sectional area adjustment unit may be anything that can adjust the flow path cross-sectional area, may be a valve, or may be a mass flow controller capable of adjusting the flow rate of the fuel G. It may be a set of a valve and a mass flow controller.
  • valves (and / or mass flow controllers) 42-1 to 42-5 By opening / closing five valves (and / or mass flow controllers) 42-1 to 42-5, desired fuel injection ports among the five fuel injection ports 30-1 to 30-5
  • the fuel G can be supplied to 30.
  • a plurality of valves (and / or mass flow controllers) make it possible to individually control the flow rate of fuel injection at the plurality of fuel injection ports 30.
  • the fuel control unit 37 sends control signals to the fuel supply unit 22 of the combustor 12 and the plurality of valves (and / or mass flow controllers) 42-1 to 42-5 to control the fuel supply unit 22 and the plurality of valves. For example, when the flight speed reaches a predetermined speed, the fuel control unit 37 forces the fuel supply unit 22 to forcibly deliver to the fuel injector 20 the total flow of fuel according to the autopilot command. , Control the fuel supply unit 22.
  • the fuel supply unit 22 includes a metering pump that forcibly delivers the fuel of the total flow rate to the fuel injector 20 according to the autopilot command.
  • valves 42-1 to 42-5 are opened at low speed, and the valves 42-1 and 42-5 are closed at high speed. Control the valves 42-1 to 42-5 so as to be in the open state.
  • control of the valves 42-1 to 42-5 is not limited to the above example.
  • the control of the fuel supply unit 22 is preferably performed independently of the control of the valves 42-1 to 42-5. That is, the control of the valves 42-1 to 42-5 is preferably independent of the control of the total flow rate of fuel.
  • the fuel control unit 37 includes an autopilot 33, a fuel injection controller 31, and a flight speed measurement / estimator 32.
  • the autopilot 33, the fuel injection controller 31, and the flight speed measurement / estimator 32 are independent computers (note that each computer has, for example, a hardware processor, a memory, and a communication interface). It may be.
  • the autopilot 33 and the flight speedometer / estimator 32 may be provided outside the fuel control unit 37.
  • the autopilot 33, the fuel injection controller 31, and the flight velocity measurement / estimator 32 may be configured by one computer.
  • the fuel control unit 37 is, for example, one computer provided with a hardware processor, a memory, and a communication interface.
  • the hardware processor executes the program stored in the memory to execute the fuel control unit 37 as an autopilot (automatic steering command device), a flight velocity measuring device (or a flight velocity estimator, or Function as a fuel injection controller.
  • the flight velocity measurement / estimator 32 measures or estimates the flight velocity of the jet engine 2.
  • the flight velocity measurement / estimator 32 is, for example, a pitot tube in the case of a measuring instrument.
  • the flight velocity measurement / estimator 32 is, for example, a GPS device or an inertial navigation device in the case of the estimator 32, and in the case of the GPS device, the time change of its own position, and in the case of the inertial navigation device, its own acceleration. Estimate the velocity by integration.
  • the total fuel flow rate is determined, for example, as follows. Air inflow from the inlet 11 based on the flight altitude (data of the altitude sensor) and the flight velocity (data of the flight velocity measurement / estimator 32) for a specific flight object or a specific jet engine You can determine the quantity.
  • the fuel control unit 37 is configured to calculate the air inflow amount from the flying height and the flying speed.
  • the memory of the fuel control unit 37 stores a table that associates the flight altitude and the flight velocity with the air inflow amount, and the fuel control unit 37 refers to the table to determine the air inflow amount.
  • the thrust to be required of the jet engine is obtained in accordance with the speed command from the autopilot 33, the acceleration command and the like.
  • the fuel control unit 37 may calculate the thrust.
  • the total fuel flow rate to be supplied to the combustor 12 can be obtained from the thrust, the flight speed, the flight altitude, the air inflow, and the like.
  • the total fuel flow rate is calculated by the fuel control unit 37.
  • the fuel injection controller 31 controls the fuel supply unit 22 of the combustor 12 and the plurality of valves 42-1 based on the control signal from the autopilot 33 and data such as the flight velocity measurement / estimator 32 and the altitude sensor. To 42-5 are controlled by the control signal.
  • the fuel injection controller 31 is exemplified by a microcomputer. For example, the fuel injection controller 31 instructs the fuel supply unit 22 on the total fuel flow rate to be delivered, based on the control signal from the autopilot 33. In response to the instruction, the fuel supply unit 22 delivers the fuel. Further, the fuel injection controller 31 opens / closes the plurality of valves 42-1 to 42-5 on the basis of data from the total fuel flow rate and / or the flight speed measurement / estimator 32, altitude sensor, etc.
  • Control the opening degree When controlling the opening / closing or opening of the plurality of valves 42-1 to 42-5, the table 35 regarding the opening / closing or opening of the valve stored in the storage unit of the fuel injection controller 31 may be referred to. Control of opening / closing or opening of the plurality of valves 42-1 to 42-5 and the table 35 will be described later.
  • One end of the pipe 44a-1 is connected to one end of the pipe 43a-1, and the other end is connected to the fuel injection port 30-1.
  • the pipe 44a-5 has one end connected to one end of the pipe 43a-1, and the other end connected to the fuel injection port 30-5.
  • the pipe 44a-2 has one end connected to one end of the pipe 43a-2, and the other end connected to the fuel injection port 30-2.
  • the pipe 44a-3 has one end connected to one end of the pipe 43a-2, and the other end connected to the fuel injection port 30-3.
  • the pipe 44a-4 has one end connected to one end of the pipe 43a-2, and the other end connected to the fuel injection port 30-4.
  • the other end of the pipe 43 a-1 is connected to one end of the pipe 43.
  • the other end of the pipe 43 a-2 is connected to one end of the pipe 43.
  • the other end of the pipe 43 is connected to the fuel supply unit 22.
  • the valve 42a-1 is provided in the middle of the pipe 43a-1.
  • the valve 42a-2 is provided in the middle of the pipe 43a-2.
  • the fuel G is supplied to the five fuel injection ports 30-1 to 30-5 by opening the two valves 42a-1 and 42a-2. By closing one valve 42a-1, the fuel G is supplied to the central three fuel injection ports 30-2 to 30-4, and to both of the two fuel injection ports 30-1 and 30-5. Supply of fuel G can be stopped. That is, by switching the two valves 42a-1 and 42a-2, at least two states can be created. The number of valves 42a used can be reduced.
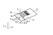
  • FIGS. 8A to 8B are schematic views schematically showing the state of fuel injection when the flight speed is low in the combustor according to the present embodiment.
  • FIG. 8A is a perspective view of the vicinity of the opening of the fuel injector 20.
  • FIG. 8B is a view showing the appearance of the fuel G at the cross section C1 of FIG. 8A.
  • the cross section C1 is a yz cross section at a position away from the fuel injector 20 in the flow direction by a predetermined distance in the flow path of the air Air and the fuel G.
  • the fuel G when the fuel G is delivered from the fuel supply unit 22 at the total fuel flow rate (total mass flow rate) according to the autopilot command, and the speed of the flying object 1 is low (mainly during acceleration),
  • the fuel is injected from five fuel injection ports 30-1 to 30-5.
  • the number of the fuel injection ports 30 for injecting the fuel G is relatively large, the injection speed and / or the density of the fuel G injected from one fuel injection port 30, and hence the momentum flux is relatively Decrease.
  • the penetration height of the fuel G can be suppressed low.
  • the cross section C1 yz In the cross section
  • the fuel G passes through the flameable region B and is inhibited from passing through the flame difficult region A.
  • the fuel supply unit 22 delivers the fuel G to the pipe 43 based on the control signal from the fuel control unit 37.
  • the plurality of valves 42-2 to 42-4 are opened based on the control signal from the fuel control unit 37.
  • the plurality of valves 42-1 and 42-5 are in the closed state based on the control signal from the fuel control unit 37.
  • fuel G is supplied to the plurality of fuel injection ports (openings) 30-2 to 30-4 through the plurality of pipes 44-2 to 44-4.
  • the plurality of fuel injection ports (openings) 30-2 to 30-4 inject the supplied fuel G into the space 50.
  • the fuel G is not supplied to the plurality of fuel injection ports (openings) 30-1 and 30-5, the supplied fuel G is not injected into the space 50 as shown in FIG. 9A. At this time, the fuel G is injected from the three fuel injection ports 30.
  • fuel is injected from a large number of fuel injection ports 30 at low speed, and a few fuel injection ports 30 are injected at high speed.
  • the sum of the flow path cross-sectional areas in the plurality of flow path cross-sectional area adjustment units (the plurality of valves 42) is increased at low speed, and each flow path in the plurality of flow path cross-sectional area adjustment units (the plurality of valves 42) It can also be said that the sum of the cross-sectional areas is reduced.
  • valves 42-1 to 42-5 are opened at the low speed, and the valves 42-1 and 42-5 are not completely closed at the high speed, but a plurality of By reducing the sum of the flow path cross-sectional area of the valve 42 (sum of the opening degree), the same state as that of the above embodiment can be obtained.
  • the penetration height is suppressed so as not to increase at low speed, and even when the momentum flux of the air Air is small, the fuel G can be supplied to the flame holding possible region B and diffused.
  • the fuel G can be supplied to the flame holding possible region B and diffused even if the momentum flux of the air Air is large, so that the penetration height is not lowered at high speed. This can prevent the jet engine 2 from becoming inoperable.
  • the fuel control unit 37 determines the total fuel flow rate to be delivered to the fuel injector 20 based on the autopilot command. Then, the fuel control unit 37 controls the fuel supply unit 22 to deliver the total fuel flow rate. In addition, the fuel control unit 37 controls the total fuel flow rate and the momentum flux of the mainstream air passing through the combustor 12 (in the case where it is difficult to measure or calculate the momentum flux of air, Instead of a bundle, for example, it is possible to use a plurality of streams based on "jet engine airspeed" or "jet engine airspeed and jet engine airspeed".
  • the fuel control unit 37 controls the flow passage cross-sectional areas of the plurality of flow passage cross-sectional area adjustment units (the plurality of valves 42) in order to realize the determined "sum of the flow passage cross-sectional areas".
  • control may be performed so that the flow path cross-sectional areas become equal, for example, each flow path by narrowing the valves 42-1 and 42-5 more than the valves 42-2 to 42-4.
  • the cross sectional area may be controlled to be different.
  • the total fuel flow rate and the cross sectional area of each flow path are controlled, whereby the fuel injection speed, density, or momentum of the fuel G injected from each of the fuel injection ports 30-1 to 30-5.
  • the flux or the penetration height of the fuel is controlled, and the fuel G passes through the flameable region B.
  • each fuel injection port 30 is provided with a throttling shutter (not shown), and the momentum flux of the fuel injected from the fuel injection port 30 is continuously adjusted by continuously squeezing each shutter. It is also good.
  • each shutter serves as a flow path cross-sectional area adjustment unit.
  • the fuel injection controller 31 obtains the velocity of the flight vehicle 1 from the flight velocity measurement / estimator 32.
  • the fuel injection controller 31 determines which of the five valves 42-1 to 42-5 to open based on the velocity of the projectile 1.
  • the fuel injection controller 31 refers to a table 35 relating to the velocity and opening / closing of the valves based on the velocity of the flying object 1, and which one of the five valves 42-1 to 42-5 is selected. Decide whether to open.
  • FIG. 10 is a table showing an example of the table 35 regarding the velocity of the flying object and the opening and closing of the valve by the fuel injection controller 31.
  • indicates that the valve 42 is in the open state
  • x indicates that the valve 42 is in the closed state.
  • “1” to “5” indicate “30-1” to [30-5].
  • the valves 42-1 to 42-5 are opened.
  • the valves 42-1 and 42-5 are closed, and the other valves 42-2, 42-3 and 42-4 are kept open.
  • the table 35 is an example, and the opening / closing pattern and the number of steps of the valve 42 are not limited to this example.
  • the predetermined velocity v 0 is determined based on the design of the flying object 1.
  • the velocity of the flying object 1 is relatively slow, and it is assumed that the velocity is less than a predetermined velocity v0.
  • the valves 42-1 to 42-5 of the five fuel injectors 20 are opened, and the fuel supply unit 22 sets the fuel G to five fuel injection ports 30-1 to 30-5. Supply to.
  • the number of the fuel injection ports 30 injecting the fuel G is relatively large, the flow rate of the fuel G injected from one fuel injection port 30 is small, and the momentum flux of the fuel relatively decreases.
  • the penetration height of the fuel G is suppressed to a low level, and the fuel G is suppressed from reaching the flame holding difficult area A, and is supplied to the flame holding possible area B.
  • the jet engine 2 can hold the flame and can continue to operate (FIGS. 8A to 8B).
  • FIG. 11A and FIG. 11B are schematic views schematically showing a modified example of fuel injection when the flight speed is fast in the combustor according to the present embodiment.
  • FIG. 11A is a perspective view of the vicinity of the opening of the fuel injector 20.
  • FIG. 11B is a view showing a state of the fuel G at the cross section C1 of FIG. 11A.
  • flight soaring speed is slow, it is the same as FIG. 8A and 8B.
  • the plurality of valves 42-1, 42-3 and 42-5 are opened based on the control signal from the fuel control unit 37. ing.
  • the plurality of valves 42-2 and 42-4 are closed based on the control signal from the fuel control unit 37.
  • the plurality of fuel injection ports (openings) 30-1, 30-3, and 30-5 are supplied with the fuel G through the plurality of pipes 44-1, 44-3, and 44-5.
  • the plurality of fuel injection ports (openings) 30-1, 30-3, and 30-5 inject the supplied fuel G into the space 50.
  • the supplied fuel G is not injected into the space 50 as shown in FIG. 11A. At this time, the fuel G is injected from the three fuel injection ports 30.
  • FIG. 12 is a table showing another example of the table 35 regarding the velocity of the flying object and the opening and closing of the valve by the fuel injection controller 31.
  • the valves 42-2 and 42-4 are closed, and the other valves 42-1, 42-3 and 42-5 are closed. Is different in that it remains open.
  • the injection of the fuel G as shown in FIG. 11A and FIG. 11B is realized by the table 35 of FIG.
  • the number of fuel injection ports 30 for injecting the fuel G at the initial low speed (mainly during acceleration) when acceleration is started by the jet engine 2 is It is relatively high.
  • the fuel flow rate per fuel injection port 30 can be reduced, and the momentum flux of the fuel G can be kept low. Therefore, even at low speeds, the fuel G can be supplied and diffused to the flame holding possible region B while suppressing the penetration height from becoming high. This can prevent the jet engine 2 from becoming inoperable.
  • the number of fuel injection ports 30 for injecting the fuel G is relatively reduced.
  • the fuel flow rate per fuel injection port 30 can be increased, and the momentum flux of the fuel G can be increased. Therefore, the penetration height can be maintained even at high speed, and the fuel G can be supplied to the flameable region B and diffused. Thereby, the jet engine 2 can be operated continuously.
  • the present embodiment at low speeds, the plurality of valves 42 are opened, and the number of fuel injection ports 30 for injecting fuel increases, and at high speeds, the number of the plurality of valves 42 that were open The valve is closed, and the number of fuel injection ports 30 for injecting fuel is reduced.
  • the present embodiment is not limited to this example, and the number of fuel injection ports 30 injecting fuel at low speed is greater than the number of fuel injection ports 30 injecting fuel at high speed. It may be in any form. In other words, as long as the number of valves 42 through which fuel can flow at low speed is greater than the number of valves 42 through which fuel can flow at high speed, any form may be used.
  • valves 42 when there are ten valves 42 (42-1 to 42-10 in order from the end), at low speed, the valves 42-1, 42-2, 42-5, 42-6, 42-9, for example. , 42-10 are open, the other valves 42 are closed, and at high speed, the valves 42-3, 42-4, 42-7, 42-8 are opened and the other valves 42 are closed. It may be in the form.
  • the present embodiment has been described by way of example in which a jet engine is applied to a flying object, the present embodiment is not limited to this example, and a multistage launcher equipped with a rocket and a jet engine or It is also applicable to aircraft.

Landscapes

  • Engineering & Computer Science (AREA)
  • Chemical & Material Sciences (AREA)
  • Combustion & Propulsion (AREA)
  • Mechanical Engineering (AREA)
  • General Engineering & Computer Science (AREA)
  • Aviation & Aerospace Engineering (AREA)
  • Nozzles (AREA)
  • Electrical Control Of Air Or Fuel Supplied To Internal-Combustion Engine (AREA)
  • Fuel-Injection Apparatus (AREA)
PCT/JP2015/054476 2014-03-31 2015-02-18 ジェットエンジン、飛しょう体及びジェットエンジンの動作方法 Ceased WO2015151621A1 (ja)

Priority Applications (2)

Application Number Priority Date Filing Date Title
US15/121,187 US11203984B2 (en) 2014-03-31 2015-02-18 Jet engine, flying object, and method of operating a jet engine
EP15773405.4A EP3098420B1 (en) 2014-03-31 2015-02-18 Jet engine, flying vehicle, and method for operating jet engine

Applications Claiming Priority (2)

Application Number Priority Date Filing Date Title
JP2014-074491 2014-03-31
JP2014074491A JP6310302B2 (ja) 2014-03-31 2014-03-31 ジェットエンジン、飛しょう体及びジェットエンジンの動作方法

Publications (1)

Publication Number Publication Date
WO2015151621A1 true WO2015151621A1 (ja) 2015-10-08

Family

ID=54239959

Family Applications (1)

Application Number Title Priority Date Filing Date
PCT/JP2015/054476 Ceased WO2015151621A1 (ja) 2014-03-31 2015-02-18 ジェットエンジン、飛しょう体及びジェットエンジンの動作方法

Country Status (4)

Country Link
US (1) US11203984B2 (enExample)
EP (1) EP3098420B1 (enExample)
JP (1) JP6310302B2 (enExample)
WO (1) WO2015151621A1 (enExample)

Cited By (1)

* Cited by examiner, † Cited by third party
Publication number Priority date Publication date Assignee Title
US12127810B2 (en) 2017-09-29 2024-10-29 Cilag Gmbh Power axle wrist for robotic surgical tool

Families Citing this family (5)

* Cited by examiner, † Cited by third party
Publication number Priority date Publication date Assignee Title
CN107084071B (zh) * 2017-04-20 2018-06-05 中国人民解放军国防科学技术大学 一种基于爆震燃烧的超燃冲压发动机
JP6975658B2 (ja) * 2018-02-23 2021-12-01 三菱重工業株式会社 整流構造体及び飛しょう体
US11473780B2 (en) 2018-02-26 2022-10-18 General Electric Company Engine with rotating detonation combustion system
CN113123898B (zh) * 2021-04-19 2022-06-07 中国人民解放军国防科技大学 一种基于分隔板后缘射流扰动的超声速流混合装置
CN119178170B (zh) * 2024-10-09 2025-09-12 南京航空航天大学 超燃冲压-斜爆震组合发动机燃烧室中的可分离支板结构

Citations (4)

* Cited by examiner, † Cited by third party
Publication number Priority date Publication date Assignee Title
JP2012013007A (ja) * 2010-07-01 2012-01-19 Mitsubishi Heavy Ind Ltd 超音速燃焼器
JP2012144984A (ja) * 2011-01-06 2012-08-02 Mitsubishi Heavy Ind Ltd スクラムジェットエンジンの燃料噴射制御装置
JP2012202226A (ja) * 2011-03-23 2012-10-22 Mitsubishi Heavy Ind Ltd ジェットエンジン
JP2013060891A (ja) * 2011-09-13 2013-04-04 Mitsubishi Heavy Ind Ltd 超音速燃焼器

Family Cites Families (9)

* Cited by examiner, † Cited by third party
Publication number Priority date Publication date Assignee Title
FR1217843A (fr) * 1958-12-10 1960-05-05 Snecma Brûleur de combustion ou de post-combustion pour combustible chaud
US3448947A (en) * 1967-01-30 1969-06-10 Us Navy Fuel throttling computer
DE1800611A1 (de) * 1968-10-02 1970-05-27 Hertel Dr Ing Heinrich Anordnung zum Einspritzen von Kraftstoff in einen an einer Einspritzduese mit UEberschallgeschwindigkeit vorbeistroemenden Luftstrom
US3667233A (en) 1969-11-14 1972-06-06 Us Air Force Dual mode supersonic combustion ramjet engine
US4327886A (en) * 1972-11-30 1982-05-04 The United States Of America As Represented By The Secretary Of The Navy Integral rocket ramjet missile
US4381642A (en) * 1980-06-20 1983-05-03 The Boeing Company Ramjet engine
JPH08219408A (ja) 1995-02-08 1996-08-30 Ishikawajima Harima Heavy Ind Co Ltd 超音速燃焼器
GB0027288D0 (en) * 2000-11-08 2000-12-27 Rolls Royce Plc Overthrust protection system and method
US9726115B1 (en) * 2011-02-15 2017-08-08 Aerojet Rocketdyne, Inc. Selectable ramjet propulsion system

Patent Citations (4)

* Cited by examiner, † Cited by third party
Publication number Priority date Publication date Assignee Title
JP2012013007A (ja) * 2010-07-01 2012-01-19 Mitsubishi Heavy Ind Ltd 超音速燃焼器
JP2012144984A (ja) * 2011-01-06 2012-08-02 Mitsubishi Heavy Ind Ltd スクラムジェットエンジンの燃料噴射制御装置
JP2012202226A (ja) * 2011-03-23 2012-10-22 Mitsubishi Heavy Ind Ltd ジェットエンジン
JP2013060891A (ja) * 2011-09-13 2013-04-04 Mitsubishi Heavy Ind Ltd 超音速燃焼器

Cited By (1)

* Cited by examiner, † Cited by third party
Publication number Priority date Publication date Assignee Title
US12127810B2 (en) 2017-09-29 2024-10-29 Cilag Gmbh Power axle wrist for robotic surgical tool

Also Published As

Publication number Publication date
US11203984B2 (en) 2021-12-21
EP3098420A1 (en) 2016-11-30
EP3098420A4 (en) 2017-03-22
JP6310302B2 (ja) 2018-04-11
EP3098420B1 (en) 2020-04-22
US20170009665A1 (en) 2017-01-12
JP2015197058A (ja) 2015-11-09

Similar Documents

Publication Publication Date Title
WO2015151621A1 (ja) ジェットエンジン、飛しょう体及びジェットエンジンの動作方法
US8256203B1 (en) Rocket based combined cycle propulsion unit having external rocket thrusters
US11248562B2 (en) Jet engine, flying object, and operation method of jet engine
JP3917668B2 (ja) 広範囲のマッハ数で作動するラムジェット用の燃料噴射ストラット
JPH0692774B2 (ja) 入口と一体の燃焼器を有するスクラムジェット
US8887482B1 (en) Active flow control with pulse detonation actuators
JP6268529B2 (ja) ジェットエンジン、飛しょう体及びジェットエンジンの動作方法
CN106968834A (zh) 一种超声速爆震发动机及其推进系统
EP3098515B1 (en) Jet engine, flying body, and method for operating a jet engine
US6981364B2 (en) Combine engine for single-stage spacecraft
JP6441726B2 (ja) ジェットエンジン、飛しょう体、および、ジェットエンジンの動作方法
EP3103996B1 (en) Jet engine, flying vehicle, and method for operating a jet engine
JP6310293B2 (ja) 燃焼器、ジェットエンジン、飛しょう体及びジェットエンジンの動作方法
KR101904653B1 (ko) 이중모드 램제트 엔진용 연료분사장치
JP6441695B2 (ja) ジェットエンジン、飛しょう体及びジェットエンジンの動作方法
EP3396145A1 (en) Jet engine and flying object
JP5701187B2 (ja) 超音速燃焼器
JP2007170397A (ja) 推力発生用推進システムおよび流体スロート形成用ノズル
JPH04259649A (ja) ラムジェットエンジン
JPH0264256A (ja) インテグラル・ロケット・ラムジエツトエンジン

Legal Events

Date Code Title Description
121 Ep: the epo has been informed by wipo that ep was designated in this application

Ref document number: 15773405

Country of ref document: EP

Kind code of ref document: A1

WWE Wipo information: entry into national phase

Ref document number: 15121187

Country of ref document: US

REEP Request for entry into the european phase

Ref document number: 2015773405

Country of ref document: EP

WWE Wipo information: entry into national phase

Ref document number: 2015773405

Country of ref document: EP

NENP Non-entry into the national phase

Ref country code: DE