WO2015141737A1 - 電子機器 - Google Patents

電子機器 Download PDF

Info

Publication number
WO2015141737A1
WO2015141737A1 PCT/JP2015/058099 JP2015058099W WO2015141737A1 WO 2015141737 A1 WO2015141737 A1 WO 2015141737A1 JP 2015058099 W JP2015058099 W JP 2015058099W WO 2015141737 A1 WO2015141737 A1 WO 2015141737A1
Authority
WO
WIPO (PCT)
Prior art keywords
semiconductor integrated
integrated circuit
cooling element
radiation
radiation detection
Prior art date
Legal status (The legal status is an assumption and is not a legal conclusion. Google has not performed a legal analysis and makes no representation as to the accuracy of the status listed.)
Ceased
Application number
PCT/JP2015/058099
Other languages
English (en)
French (fr)
Japanese (ja)
Inventor
大介 松浦
能克 黒田
恵 玄蕃
Current Assignee (The listed assignees may be inaccurate. Google has not performed a legal analysis and makes no representation or warranty as to the accuracy of the list.)
Mitsubishi Heavy Industries Ltd
Original Assignee
Mitsubishi Heavy Industries Ltd
Priority date (The priority date is an assumption and is not a legal conclusion. Google has not performed a legal analysis and makes no representation as to the accuracy of the date listed.)
Filing date
Publication date
Application filed by Mitsubishi Heavy Industries Ltd filed Critical Mitsubishi Heavy Industries Ltd
Priority to US15/117,805 priority Critical patent/US10002816B2/en
Priority to EP15765100.1A priority patent/EP3093884B1/en
Publication of WO2015141737A1 publication Critical patent/WO2015141737A1/ja
Anticipated expiration legal-status Critical
Ceased legal-status Critical Current

Links

Images

Classifications

    • HELECTRICITY
    • H01ELECTRIC ELEMENTS
    • H01LSEMICONDUCTOR DEVICES NOT COVERED BY CLASS H10
    • H01L23/00Details of semiconductor or other solid state devices
    • H01L23/34Arrangements for cooling, heating, ventilating or temperature compensation ; Temperature sensing arrangements
    • H01L23/36Selection of materials, or shaping, to facilitate cooling or heating, e.g. heatsinks
    • H01L23/367Cooling facilitated by shape of device
    • BPERFORMING OPERATIONS; TRANSPORTING
    • B64AIRCRAFT; AVIATION; COSMONAUTICS
    • B64GCOSMONAUTICS; VEHICLES OR EQUIPMENT THEREFOR
    • B64G1/00Cosmonautic vehicles
    • B64G1/10Artificial satellites; Systems of such satellites; Interplanetary vehicles
    • BPERFORMING OPERATIONS; TRANSPORTING
    • B64AIRCRAFT; AVIATION; COSMONAUTICS
    • B64GCOSMONAUTICS; VEHICLES OR EQUIPMENT THEREFOR
    • B64G1/00Cosmonautic vehicles
    • B64G1/22Parts of, or equipment specially adapted for fitting in or to, cosmonautic vehicles
    • B64G1/46Arrangements or adaptations of devices for control of environment or living conditions
    • B64G1/50Arrangements or adaptations of devices for control of environment or living conditions for temperature control
    • BPERFORMING OPERATIONS; TRANSPORTING
    • B64AIRCRAFT; AVIATION; COSMONAUTICS
    • B64GCOSMONAUTICS; VEHICLES OR EQUIPMENT THEREFOR
    • B64G1/00Cosmonautic vehicles
    • B64G1/22Parts of, or equipment specially adapted for fitting in or to, cosmonautic vehicles
    • B64G1/46Arrangements or adaptations of devices for control of environment or living conditions
    • B64G1/50Arrangements or adaptations of devices for control of environment or living conditions for temperature control
    • B64G1/503Radiator panels
    • BPERFORMING OPERATIONS; TRANSPORTING
    • B64AIRCRAFT; AVIATION; COSMONAUTICS
    • B64GCOSMONAUTICS; VEHICLES OR EQUIPMENT THEREFOR
    • B64G1/00Cosmonautic vehicles
    • B64G1/22Parts of, or equipment specially adapted for fitting in or to, cosmonautic vehicles
    • B64G1/52Protection, safety or emergency devices; Survival aids
    • B64G1/54Protection against radiation
    • BPERFORMING OPERATIONS; TRANSPORTING
    • B64AIRCRAFT; AVIATION; COSMONAUTICS
    • B64GCOSMONAUTICS; VEHICLES OR EQUIPMENT THEREFOR
    • B64G1/00Cosmonautic vehicles
    • B64G1/22Parts of, or equipment specially adapted for fitting in or to, cosmonautic vehicles
    • B64G1/52Protection, safety or emergency devices; Survival aids
    • B64G1/54Protection against radiation
    • B64G1/546Protection against radiation shielding electronic equipment
    • BPERFORMING OPERATIONS; TRANSPORTING
    • B64AIRCRAFT; AVIATION; COSMONAUTICS
    • B64GCOSMONAUTICS; VEHICLES OR EQUIPMENT THEREFOR
    • B64G1/00Cosmonautic vehicles
    • B64G1/22Parts of, or equipment specially adapted for fitting in or to, cosmonautic vehicles
    • B64G1/52Protection, safety or emergency devices; Survival aids
    • B64G1/58Thermal protection, e.g. heat shields
    • BPERFORMING OPERATIONS; TRANSPORTING
    • B64AIRCRAFT; AVIATION; COSMONAUTICS
    • B64GCOSMONAUTICS; VEHICLES OR EQUIPMENT THEREFOR
    • B64G1/00Cosmonautic vehicles
    • B64G1/22Parts of, or equipment specially adapted for fitting in or to, cosmonautic vehicles
    • B64G1/66Arrangements or adaptations of apparatus or instruments, not otherwise provided for
    • GPHYSICS
    • G01MEASURING; TESTING
    • G01JMEASUREMENT OF INTENSITY, VELOCITY, SPECTRAL CONTENT, POLARISATION, PHASE OR PULSE CHARACTERISTICS OF INFRARED, VISIBLE OR ULTRAVIOLET LIGHT; COLORIMETRY; RADIATION PYROMETRY
    • G01J5/00Radiation pyrometry, e.g. infrared or optical thermometry
    • G01J5/0003Radiation pyrometry, e.g. infrared or optical thermometry for sensing the radiant heat transfer of samples, e.g. emittance meter
    • G01J5/0007Radiation pyrometry, e.g. infrared or optical thermometry for sensing the radiant heat transfer of samples, e.g. emittance meter of wafers or semiconductor substrates, e.g. using Rapid Thermal Processing
    • GPHYSICS
    • G01MEASURING; TESTING
    • G01TMEASUREMENT OF NUCLEAR OR X-RADIATION
    • G01T1/00Measuring X-radiation, gamma radiation, corpuscular radiation, or cosmic radiation
    • G01T1/16Measuring radiation intensity
    • G01T1/24Measuring radiation intensity with semiconductor detectors
    • G01T1/244Auxiliary details, e.g. casings, cooling, damping or insulation against damage by, e.g. heat, pressure or the like
    • HELECTRICITY
    • H01ELECTRIC ELEMENTS
    • H01LSEMICONDUCTOR DEVICES NOT COVERED BY CLASS H10
    • H01L23/00Details of semiconductor or other solid state devices
    • H01L23/34Arrangements for cooling, heating, ventilating or temperature compensation ; Temperature sensing arrangements
    • H01L23/38Cooling arrangements using the Peltier effect
    • HELECTRICITY
    • H10SEMICONDUCTOR DEVICES; ELECTRIC SOLID-STATE DEVICES NOT OTHERWISE PROVIDED FOR
    • H10DINORGANIC ELECTRIC SEMICONDUCTOR DEVICES
    • H10D84/00Integrated devices formed in or on semiconductor substrates that comprise only semiconducting layers, e.g. on Si wafers or on GaAs-on-Si wafers
    • H10D84/80Integrated devices formed in or on semiconductor substrates that comprise only semiconducting layers, e.g. on Si wafers or on GaAs-on-Si wafers characterised by the integration of at least one component covered by groups H10D12/00 or H10D30/00, e.g. integration of IGFETs
    • H10D84/82Integrated devices formed in or on semiconductor substrates that comprise only semiconducting layers, e.g. on Si wafers or on GaAs-on-Si wafers characterised by the integration of at least one component covered by groups H10D12/00 or H10D30/00, e.g. integration of IGFETs of only field-effect components
    • H10D84/83Integrated devices formed in or on semiconductor substrates that comprise only semiconducting layers, e.g. on Si wafers or on GaAs-on-Si wafers characterised by the integration of at least one component covered by groups H10D12/00 or H10D30/00, e.g. integration of IGFETs of only field-effect components of only insulated-gate FETs [IGFET]
    • H10D84/85Complementary IGFETs, e.g. CMOS
    • FMECHANICAL ENGINEERING; LIGHTING; HEATING; WEAPONS; BLASTING
    • F25REFRIGERATION OR COOLING; COMBINED HEATING AND REFRIGERATION SYSTEMS; HEAT PUMP SYSTEMS; MANUFACTURE OR STORAGE OF ICE; LIQUEFACTION SOLIDIFICATION OF GASES
    • F25BREFRIGERATION MACHINES, PLANTS OR SYSTEMS; COMBINED HEATING AND REFRIGERATION SYSTEMS; HEAT PUMP SYSTEMS
    • F25B21/00Machines, plants or systems, using electric or magnetic effects
    • F25B21/02Machines, plants or systems, using electric or magnetic effects using Peltier effect; using Nernst-Ettinghausen effect
    • FMECHANICAL ENGINEERING; LIGHTING; HEATING; WEAPONS; BLASTING
    • F25REFRIGERATION OR COOLING; COMBINED HEATING AND REFRIGERATION SYSTEMS; HEAT PUMP SYSTEMS; MANUFACTURE OR STORAGE OF ICE; LIQUEFACTION SOLIDIFICATION OF GASES
    • F25BREFRIGERATION MACHINES, PLANTS OR SYSTEMS; COMBINED HEATING AND REFRIGERATION SYSTEMS; HEAT PUMP SYSTEMS
    • F25B2321/00Details of machines, plants or systems, using electric or magnetic effects
    • F25B2321/02Details of machines, plants or systems, using electric or magnetic effects using Peltier effects; using Nernst-Ettinghausen effects
    • F25B2321/021Control thereof
    • F25B2321/0212Control thereof of electric power, current or voltage
    • HELECTRICITY
    • H01ELECTRIC ELEMENTS
    • H01LSEMICONDUCTOR DEVICES NOT COVERED BY CLASS H10
    • H01L23/00Details of semiconductor or other solid state devices
    • H01L23/34Arrangements for cooling, heating, ventilating or temperature compensation ; Temperature sensing arrangements
    • HELECTRICITY
    • H01ELECTRIC ELEMENTS
    • H01LSEMICONDUCTOR DEVICES NOT COVERED BY CLASS H10
    • H01L2924/00Indexing scheme for arrangements or methods for connecting or disconnecting semiconductor or solid-state bodies as covered by H01L24/00
    • H01L2924/0001Technical content checked by a classifier
    • H01L2924/0002Not covered by any one of groups H01L24/00, H01L24/00 and H01L2224/00

Definitions

  • the present invention relates to an electronic device, and can be suitably used for an electronic device including a semiconductor device used in an environment exposed to radiation, for example.
  • SEL Single Event Latchup: Single Event Latchup
  • SEU Single Event Upset
  • SET Single Event Transient: Single Event Transient
  • Patent Document 1 Japanese Patent Laid-Open No. 2010-183087 discloses an invention relating to a semiconductor circuit.
  • the semiconductor circuit described in Patent Document 1 includes a first circuit block and a second circuit block.
  • the first circuit block is formed by connecting a plurality of pMOS transistors in series or in a parallel circuit including one pMOS transistor.
  • the second circuit block is formed by connecting a plurality of nMOS transistors in series or in a parallel circuit including one nMOS transistor.
  • the connection point between the first circuit block and the second circuit block is connected to the output terminal, and the gates of all the pMOS transistors and the gates of all the nMOS transistors are shared. It is connected to the terminal.
  • Patent Document 1 In the case of Patent Document 1, it is necessary to redesign the semiconductor integrated circuit itself, which is disadvantageous in terms of both the development period and cost.
  • An electronic device includes a semiconductor integrated circuit, a radiation detection device, and a cooling device.
  • the radiation detection apparatus is provided in the vicinity of the semiconductor integrated circuit and detects the radiation dose.
  • the cooling device cools the semiconductor integrated circuit according to the detected radiation dose.
  • the one embodiment it is possible to suppress the occurrence of malfunction by cooling the semiconductor integrated circuit in an environment where the radiation dose is higher.
  • a cooling device and a radiation detection device are added to the existing semiconductor integrated circuit, which is advantageous in terms of development period and cost.
  • FIG. 1 is a cross-sectional view showing a configuration example of a semiconductor integrated circuit and a principle that SEL occurs.
  • FIG. 2 is a cross-sectional view showing another configuration example of the semiconductor integrated circuit and the principle that SEU or SET occurs.
  • FIG. 3 is a block circuit diagram showing a configuration example of the electronic device according to the present invention.
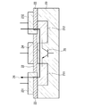
  • FIG. 1 is a cross-sectional view showing a configuration example of a semiconductor integrated circuit and the principle of generation of SEL. A configuration of the semiconductor integrated circuit shown in FIG. 1 will be described.
  • the semiconductor integrated circuit shown in FIG. 1 has an N-type body 10, a source 101, a drain 102, an oxide film 103, and a gate 104. These components operate as a P-type MOS (Metal Oxide Semiconductor: FET) (Field Effect Transistor).
  • a power supply terminal 12 for applying a power supply voltage VDD is connected to the source 101.
  • a signal terminal 14 for applying a signal voltage Pin is connected to the drain 102.
  • the semiconductor integrated circuit shown in FIG. 1 further has a P-type well 11, a drain 111, a source 112, an oxide film 113, and a gate 114. These components operate as N-type MOSFETs.
  • a ground terminal 13 for applying a ground voltage VSS is connected to the source 112.
  • parasitic diode structure 15 in which the drain 102 functions as an anode and the N-type body 10 functions as a cathode.
  • parasitic bipolar transistor structure 16 in which the drain 102 functions as a P-type emitter, the P-type well 11 functions as a P-type collector, and the N-type body 10 functions as an N-type base.
  • the source 112 functions as an N-type emitter
  • the N-type body 10 functions as an N-type collector
  • the P-type well 11 functions as a P-type base.
  • a parasitic thyristor structure 18 is also present by combining the parasitic bipolar transistor structure 16 and another parasitic bipolar transistor structure 17.
  • a current 19 is generated.
  • the current 19 enters the semiconductor integrated circuit from the power supply terminal 12 that applies the power supply voltage VDD to the N-type body 10 and the source 101, passes through the N-type body 10 and the P-type well 11, and the ground voltage VSS is applied to the P-type well 11 and Exit from the ground terminal 13 applied to the source 112.
  • SEL is generated by the current 19 flowing through the parasitic thyristor structure 18.
  • the current 19 accompanying the SEL flows in a path that is not intended, and causes an error in the operation of the semiconductor integrated circuit.
  • FIG. 2 is a cross-sectional view showing another configuration example of the semiconductor integrated circuit and the principle that SEU or SET occurs. A configuration of the semiconductor integrated circuit shown in FIG. 2 will be described.
  • the semiconductor integrated circuit shown in FIG. 2 has a P-type body 20, two N-type wells 211 and 212, an insulating layer 22, a source 231, a drain 232, and a gate 24. These components operate as N-type MOSFETs.
  • one N-type well 211 functions as an N-type emitter
  • the other N-type well 212 functions as an N-type collector
  • a P-type body functions as a P-type base.
  • a parasitic bipolar transistor structure 25 exists.
  • a current 26 is generated.
  • the current 26 enters the semiconductor integrated circuit from the drain 232, passes through the N-type well 212, the P-type body 20, and the N-type well 211 and exits from the source 231.
  • SEU and SET are generated.
  • SEU occurs in a semiconductor integrated circuit functioning as a memory, a flip-flop, or the like, inversion of stored data can be caused.
  • SET occurs in a semiconductor integrated circuit functioning as a logic circuit or the like, an undesired current or voltage is generated in a pulse shape, which may cause a malfunction.
  • radiation resistance is improved by utilizing the phenomenon that the resistance of the body decreases by cooling the semiconductor integrated circuit. That is, the current generated when charged particles enter the semiconductor integrated circuit is more likely to pass through the body if the resistance of the body is further reduced. As a result, the value of the current flowing through the parasitic thyristor structure and the parasitic bipolar transistor structure becomes smaller.
  • it is not necessary to redesign the semiconductor integrated circuit itself.
  • FIG. 3 is a block circuit diagram showing a configuration example of the electronic device according to the present invention. A configuration of the electronic device illustrated in FIG. 3 will be described.
  • the 3 includes a semiconductor integrated circuit 31, a cooling device 32, a radiation detection device 33, and a temperature measurement unit 34.
  • the electronic device shown in FIG. Here, any semiconductor integrated circuit can be used as the semiconductor integrated circuit 31.
  • the cooling device 32 includes a cooling element 321, a heat conductor 322, a heat radiator 323, and a cooling element control unit 324.
  • the cooling element 321 may be a Peltier element or the like
  • the thermal radiator 323 may be a heat sink or the outer wall of an artificial satellite.
  • the radiation detection device 33 includes a radiation detection unit 331 and a radiation detection unit control unit 332.
  • connection relationship of the components shown in FIG. 3 will be described.
  • the electrical connection is indicated by a single line
  • the thermal connection is indicated by a double line.
  • the semiconductor integrated circuit 31 and the cooling element 321 are thermally connected.
  • the cooling element 321 and the heat conductor 322 are thermally connected.
  • the heat conductor 322 and the heat radiator 323 are thermally connected.
  • the semiconductor integrated circuit 31 and the temperature measuring unit 34 are thermally connected.
  • the temperature measurement unit 34 may be built in the semiconductor integrated circuit 31.
  • both may be brought into close contact with each other, or the temperature measurement unit 34 may be installed at a position slightly away from the semiconductor integrated circuit 31.
  • one temperature measurement unit 34 may be provided for a plurality of semiconductor integrated circuits 31. In any case, the temperature measuring unit 34 is disposed at a position where the temperature of the semiconductor integrated circuit 31 can be measured with a desired accuracy.
  • the input and output of the radiation detector 331 are electrically connected to the output and input of the radiation detector controller 332, respectively.
  • the other output and other input of the radiation detection unit control unit 332 are electrically connected to the input and output of the cooling element control unit 324, respectively.
  • the other input of the cooling element control unit 324 is electrically connected to the output of the temperature measurement unit 34.
  • the other output of the cooling element control unit 324 is electrically connected to the input of the cooling element 321.
  • the radiation detection unit 331 is preferably arranged at a position sufficiently close to the semiconductor integrated circuit 31 so that the radiation dose affecting the semiconductor integrated circuit 31 can be detected with a desired accuracy.
  • Each of the above electrical connections may be connected by two wires by a combination of a signal line and a ground line. At this time, a part of the ground wire may be replaced with a heat conductor 322, a heat radiator 323, or the like.
  • the cooling element 321 is controlled by the cooling element control unit 324 to cool the semiconductor integrated circuit 31.
  • the heat generated by the cooling is conducted by the heat conductor 322 from the cooling element 321 toward the heat radiator 323.
  • the thermal radiator 323 radiates the amount of heat conducted from the thermal conductor 322 toward the outside.
  • the radiation detector 331 is controlled by the radiation detector controller 332 to detect the radiation dose.
  • the radiation detection unit 331 generates a signal indicating the detection result of the radiation dose, and transmits the signal to the cooling element control unit 324 via the radiation detection unit control unit 332.
  • the signal indicating the detection result of the radiation dose may be directly transmitted from the radiation detection unit 331 to the cooling element control unit 324.
  • the temperature measuring unit 34 measures the temperature of the semiconductor integrated circuit 31 itself or its surroundings.
  • the temperature measurement unit 34 generates a signal indicating the temperature measurement result, and transmits the signal to the cooling element control unit 324.
  • the cooling element control unit 324 and the radiation detection unit control unit 332 will be described in more detail.
  • the electronic device according to the present invention is, for example, the artificial satellite described above, control that saves power consumption as much as possible is required.
  • the Peltier element consumes a lot of electric power in order to transfer the amount of heat from the cooling surface to the high temperature surface. Also, power is consumed for detecting the radiation dose.
  • the cooling element control unit 324 may control the cooling capacity of the cooling element 321 according to the combination of the detected radiation dose and the measured temperature.
  • the cooling element control unit 324 is only when the detected radiation dose is higher than a predetermined threshold, when the measured temperature is higher than the predetermined threshold, or when these two conditions are met, Control for operating the cooling element 321 may be performed. It is preferable that specific numerical values of these operating conditions and threshold values can be set or changed as appropriate according to the importance of the operation performed by the semiconductor integrated circuit 31 at that time.
  • the radiation detection unit control unit 332 may control the radiation detection unit 331 so as to periodically detect radiation, or detect radiation only when the measured temperature is higher than a predetermined threshold. You may perform control which performs.
  • the resistance to radiation is improved by utilizing the phenomenon that the resistance of the body decreases by cooling the semiconductor integrated circuit without changing the configuration of the existing semiconductor integrated circuit itself. Furthermore, by appropriately controlling the detection of the radiation dose and the cooling of the semiconductor integrated circuit, the power consumed in these operations can be saved.
  • a kit in which components other than the semiconductor integrated circuit 31 in the electronic device shown in FIG. By mounting such a kit so that the cooling element 321 is in close contact with the surface of an arbitrary semiconductor integrated circuit, any existing semiconductor integrated circuit can be improved in radiation resistance.

Landscapes

  • Engineering & Computer Science (AREA)
  • Health & Medical Sciences (AREA)
  • Remote Sensing (AREA)
  • Aviation & Aerospace Engineering (AREA)
  • General Health & Medical Sciences (AREA)
  • Physics & Mathematics (AREA)
  • General Physics & Mathematics (AREA)
  • Toxicology (AREA)
  • Life Sciences & Earth Sciences (AREA)
  • Emergency Medicine (AREA)
  • Critical Care (AREA)
  • Microelectronics & Electronic Packaging (AREA)
  • Condensed Matter Physics & Semiconductors (AREA)
  • Power Engineering (AREA)
  • Computer Hardware Design (AREA)
  • Spectroscopy & Molecular Physics (AREA)
  • Environmental Sciences (AREA)
  • Environmental & Geological Engineering (AREA)
  • Biodiversity & Conservation Biology (AREA)
  • High Energy & Nuclear Physics (AREA)
  • Molecular Biology (AREA)
  • Astronomy & Astrophysics (AREA)
  • Thermal Sciences (AREA)
  • Chemical & Material Sciences (AREA)
  • Materials Engineering (AREA)
  • Semiconductor Integrated Circuits (AREA)
  • Measurement Of Radiation (AREA)
  • Cooling Or The Like Of Semiconductors Or Solid State Devices (AREA)
PCT/JP2015/058099 2014-03-20 2015-03-18 電子機器 Ceased WO2015141737A1 (ja)

Priority Applications (2)

Application Number Priority Date Filing Date Title
US15/117,805 US10002816B2 (en) 2014-03-20 2015-03-18 Electronic device
EP15765100.1A EP3093884B1 (en) 2014-03-20 2015-03-18 Electronic device

Applications Claiming Priority (2)

Application Number Priority Date Filing Date Title
JP2014058801A JP6344938B2 (ja) 2014-03-20 2014-03-20 電子機器
JP2014-058801 2014-03-20

Publications (1)

Publication Number Publication Date
WO2015141737A1 true WO2015141737A1 (ja) 2015-09-24

Family

ID=54144701

Family Applications (1)

Application Number Title Priority Date Filing Date
PCT/JP2015/058099 Ceased WO2015141737A1 (ja) 2014-03-20 2015-03-18 電子機器

Country Status (4)

Country Link
US (1) US10002816B2 (enExample)
EP (1) EP3093884B1 (enExample)
JP (1) JP6344938B2 (enExample)
WO (1) WO2015141737A1 (enExample)

Cited By (1)

* Cited by examiner, † Cited by third party
Publication number Priority date Publication date Assignee Title
CN110617885A (zh) * 2019-09-27 2019-12-27 衢州光明电力投资集团有限公司 一种基于远红外线成像的电力设备测温方法

Families Citing this family (1)

* Cited by examiner, † Cited by third party
Publication number Priority date Publication date Assignee Title
CN108417571B (zh) * 2018-05-18 2024-08-13 北京时代华诺科技有限公司 一种mos控制晶闸管芯片

Citations (2)

* Cited by examiner, † Cited by third party
Publication number Priority date Publication date Assignee Title
JPH04211158A (ja) * 1990-02-14 1992-08-03 Hitachi Ltd 電子回路の耐放射線保護装置及び人工衛星
JP2002540632A (ja) * 1999-03-25 2002-11-26 インテル・コーポレーション 集積回路用の冷却ユニット

Family Cites Families (5)

* Cited by examiner, † Cited by third party
Publication number Priority date Publication date Assignee Title
US5270551A (en) 1990-02-14 1993-12-14 Hitachi, Ltd. Method of and apparatus for protecting electronic circuit against radiation
JP2002166898A (ja) * 2000-12-01 2002-06-11 Mitsubishi Heavy Ind Ltd 宇宙機器の冷却装置
JP5351796B2 (ja) 2010-02-22 2013-11-27 三菱重工業株式会社 半導体回路
WO2011148507A1 (ja) * 2010-05-28 2011-12-01 Necディスプレイソリューションズ株式会社 投写型表示装置
US8957385B2 (en) * 2010-11-29 2015-02-17 Saint-Gobain Ceramics & Plastics, Inc. Radiation detection system, a radiation sensing unit, and methods of using the same

Patent Citations (2)

* Cited by examiner, † Cited by third party
Publication number Priority date Publication date Assignee Title
JPH04211158A (ja) * 1990-02-14 1992-08-03 Hitachi Ltd 電子回路の耐放射線保護装置及び人工衛星
JP2002540632A (ja) * 1999-03-25 2002-11-26 インテル・コーポレーション 集積回路用の冷却ユニット

Non-Patent Citations (1)

* Cited by examiner, † Cited by third party
Title
See also references of EP3093884A4 *

Cited By (1)

* Cited by examiner, † Cited by third party
Publication number Priority date Publication date Assignee Title
CN110617885A (zh) * 2019-09-27 2019-12-27 衢州光明电力投资集团有限公司 一种基于远红外线成像的电力设备测温方法

Also Published As

Publication number Publication date
JP2015185596A (ja) 2015-10-22
EP3093884A1 (en) 2016-11-16
EP3093884A4 (en) 2017-04-26
US10002816B2 (en) 2018-06-19
US20170011984A1 (en) 2017-01-12
EP3093884B1 (en) 2020-01-29
JP6344938B2 (ja) 2018-06-20

Similar Documents

Publication Publication Date Title
JP5431994B2 (ja) 電流制限回路
JP4843034B2 (ja) 温度センサ用リングオシレータ、温度センサ回路及びこれを備える半導体装置
CN104425408B (zh) 用于3d ic的冷却系统
JP5547429B2 (ja) 半導体装置
US10985744B2 (en) Apparatus with integrated protection profile and method
US9875950B2 (en) Semiconductor device
US8514010B2 (en) Reference current generation circuit and power device using the same
CN104967095B (zh) 过温保护电路
Zhang et al. Temperature dependence of soft-error rates for FF designs in 20-nm bulk planar and 16-nm bulk FinFET technologies
US20160211256A1 (en) Semiconductor device
JP6344938B2 (ja) 電子機器
US20210091719A1 (en) Device and method of operating the same
JP6110615B2 (ja) リーク電流吸収回路、電圧生成回路、および電源装置
JP4752904B2 (ja) 温度測定回路、及び、方法
US20110225982A1 (en) Cpu cooling circuit having thermoelectric element
JP6588229B2 (ja) 過熱保護回路並びにこれを用いた半導体集積回路装置及び車両
JP6205238B2 (ja) 基準電圧発生装置
TWI721045B (zh) 包含一基材及一第一溫度測量元件的半導體構件以及測定流經一半導體構件之電流的方法以及車輛用的控制單元
Anashin et al. Equipment and test results of the electronic components to SEE in the temperature range
JP2009038186A (ja) 半導体装置
US20220384294A1 (en) Integrated Circuit Device
US9117787B2 (en) Integrated circuit device and method of enabling thermal regulation within an integrated circuit device
Dibra et al. Seebeck difference-temperature sensors integrated into smart power technologies

Legal Events

Date Code Title Description
121 Ep: the epo has been informed by wipo that ep was designated in this application

Ref document number: 15765100

Country of ref document: EP

Kind code of ref document: A1

REEP Request for entry into the european phase

Ref document number: 2015765100

Country of ref document: EP

WWE Wipo information: entry into national phase

Ref document number: 2015765100

Country of ref document: EP

WWE Wipo information: entry into national phase

Ref document number: 15117805

Country of ref document: US

NENP Non-entry into the national phase

Ref country code: DE