WO2015050225A1 - 生体分子計測装置 - Google Patents

生体分子計測装置 Download PDF

Info

Publication number
WO2015050225A1
WO2015050225A1 PCT/JP2014/076446 JP2014076446W WO2015050225A1 WO 2015050225 A1 WO2015050225 A1 WO 2015050225A1 JP 2014076446 W JP2014076446 W JP 2014076446W WO 2015050225 A1 WO2015050225 A1 WO 2015050225A1
Authority
WO
WIPO (PCT)
Prior art keywords
mosfet
isfet
biomolecule
measuring device
cell
Prior art date
Legal status (The legal status is an assumption and is not a legal conclusion. Google has not performed a legal analysis and makes no representation as to the accuracy of the status listed.)
Ceased
Application number
PCT/JP2014/076446
Other languages
English (en)
French (fr)
Japanese (ja)
Inventor
河原 尊之
善光 柳川
板橋 直志
竹村 理一郎
Current Assignee (The listed assignees may be inaccurate. Google has not performed a legal analysis and makes no representation or warranty as to the accuracy of the list.)
Hitachi High Tech Corp
Original Assignee
Hitachi High Technologies Corp
Hitachi High Tech Corp
Priority date (The priority date is an assumption and is not a legal conclusion. Google has not performed a legal analysis and makes no representation as to the accuracy of the date listed.)
Filing date
Publication date
Application filed by Hitachi High Technologies Corp, Hitachi High Tech Corp filed Critical Hitachi High Technologies Corp
Priority to CN201480054573.0A priority Critical patent/CN105593675B/zh
Priority to GB1605558.4A priority patent/GB2534318B/en
Priority to US15/026,657 priority patent/US10481125B2/en
Publication of WO2015050225A1 publication Critical patent/WO2015050225A1/ja
Anticipated expiration legal-status Critical
Ceased legal-status Critical Current

Links

Images

Classifications

    • GPHYSICS
    • G01MEASURING; TESTING
    • G01NINVESTIGATING OR ANALYSING MATERIALS BY DETERMINING THEIR CHEMICAL OR PHYSICAL PROPERTIES
    • G01N27/00Investigating or analysing materials by the use of electric, electrochemical, or magnetic means
    • G01N27/26Investigating or analysing materials by the use of electric, electrochemical, or magnetic means by investigating electrochemical variables; by using electrolysis or electrophoresis
    • G01N27/403Cells and electrode assemblies
    • G01N27/414Ion-sensitive or chemical field-effect transistors, i.e. ISFETS or CHEMFETS
    • G01N27/4145Ion-sensitive or chemical field-effect transistors, i.e. ISFETS or CHEMFETS specially adapted for biomolecules, e.g. gate electrode with immobilised receptors
    • GPHYSICS
    • G01MEASURING; TESTING
    • G01NINVESTIGATING OR ANALYSING MATERIALS BY DETERMINING THEIR CHEMICAL OR PHYSICAL PROPERTIES
    • G01N27/00Investigating or analysing materials by the use of electric, electrochemical, or magnetic means
    • G01N27/26Investigating or analysing materials by the use of electric, electrochemical, or magnetic means by investigating electrochemical variables; by using electrolysis or electrophoresis
    • G01N27/403Cells and electrode assemblies
    • G01N27/414Ion-sensitive or chemical field-effect transistors, i.e. ISFETS or CHEMFETS
    • G01N27/4148Integrated circuits therefor, e.g. fabricated by CMOS processing

Definitions

  • the present invention relates to a biomolecule measuring apparatus, and more particularly to a biomolecule measuring apparatus using semiconductor technology.
  • Patent Document 1 describes a DNA sequencer that determines the base sequence of deoxyribonucleic acid (DNA) at low cost and at high speed using a pH sensor array (semiconductor sensor) manufactured by semiconductor technology.
  • the semiconductor sensor can quantify the reaction between the target biomolecule sample and the reagent based on the strength of the electric signal. Therefore, an expensive fluorescent reagent as in the prior art is unnecessary, which is advantageous in terms of cost.
  • millions to hundreds of millions of sensors can be integrated on a single semiconductor substrate by a semiconductor microfabrication technique, and measurement can be performed in parallel, so that measurement throughput is easily improved.
  • ISFET ion-sensitive field effect transistor
  • Patent Document 1 a change in hydrogen ion concentration generated by a DNA elongation reaction by a reagent is measured by using an ISFET.
  • the type of base can be specified from changes in the hydrogen ion concentration.
  • the four types of bases are adenine, thymine, cytosine, and guanine.
  • the theoretical voltage change due to the change in hydrogen ion concentration can theoretically be obtained from an equation called the Nernst equation.
  • the voltage change is approximately 59 mV / pH.
  • This change fluctuation
  • the gate voltage of the ISFET changes the gate voltage of the ISFET, and the output current of the ISFET changes.
  • the voltage fluctuation with respect to the fluctuation of the hydrogen ion concentration is lower than the theoretical value, and is about several tens mV per pH.
  • the change in the hydrogen ion concentration generated by the DNA elongation reaction depends on the number of DNA strands causing the reaction, the size of the space causing the reaction, and the reagent, but it is about 0.1 mV when the pH changes. For this reason, the change in the output signal of the ISFET is extremely small.
  • Patent Document 2 a large number of ISFETs are arranged in an array, and in FIG. 75F, a unit cell for detecting a change in the concentration of hydrogen ions is shown as 75F1.
  • the unit cell 75F1 has a function of increasing sensitivity.
  • the portion shown as ISFET is a circuit representation of ISFET, and the ISFET is composed of an ion sensitive film (portion) 75F6 and a MOSFET (transistor) 75F2 connected to the gate.
  • 75F3 is a MOSFET for applying a bias current
  • 75F4 is a MOSFET for connecting to an output signal line 75F7 (Column Bus).
  • Row Select is a signal line for selecting the unit cell 75F1.
  • the sensitivity of the ISFET is increased by the MOSFET 75F5. That is, the output of the MOSFET 75F2 is input to the gate of the MOSFET 75F5.
  • the gate voltage of the ISFET formed by the MOSFET 75F2 and the ion sensitive film 75F6 is changed by the change of the hydrogen ion concentration. Due to this change, the output current of the ISFET changes.
  • This change is once amplified by the MOSFET 75F5. That is, a small change in ISFET output current due to a change in hydrogen ion concentration is amplified. After being amplified, it is output to the output signal line 75F7 via the MOSFET 75F4. As a result, the sensitivity of the ISFET is increased.
  • Non-Patent Document 1 describes that charges are accumulated particularly in an ion sensitive film, a protective film, an electrode interface, a floating electrode, and a gate oxide film.
  • Non-Patent Document 1 describes that the threshold voltage of the ISFET is offset by about ⁇ 10 V due to such charge accumulation.
  • Patent Document 1 discloses a method of applying energy to a charge by irradiating ultraviolet rays and extracting the charge to the outside of the device. Further, it is described in Non-Patent Document 2 that irradiation with ultraviolet rays needs to be performed for a long time, for example, 10 hours. As another method, Non-Patent Document 3 describes that a change in threshold voltage due to trapped charges can be reduced by hot electron injection.
  • Non-Patent Document 3 discusses hot electron injection into a single ISFET with respect to a method for reducing offset. However, no investigation has been made on a method particularly suitable for a biomolecule measuring apparatus in which a plurality of ISFETs are arranged in an array.
  • An object of the present invention is to provide a highly sensitive biomolecule measuring device having a plurality of ISFETs.
  • the biomolecule measuring apparatus is provided with a semiconductor sensor that detects ions generated by the reaction between the biomolecule sample and the reagent.
  • the semiconductor sensor is arranged in an array on a semiconductor substrate, and has a plurality of cells each detecting ions and a plurality of readout lines arranged in the array.
  • Each of the plurality of cells arranged in an array has a floating gate, an ISFET that detects a change in the concentration of ions, a gate that receives the output of the ISFET, and a first MOSFET that amplifies the output of the ISFET And a second MOSFET for selectively transmitting the output of the first MOSFET to a corresponding readout line of the plurality of readout lines.
  • each of the plurality of cells includes a third MOSFET that is connected to the ISFET, generates hot electrons (hot carriers) in the ISFET, and injects charges into the floating gate of the ISFET.
  • the second MOSFET and the third MOSFET can be controlled separately.
  • the output of the ISFET amplified by the first MOSFET can be read.
  • the third MOSFET is controlled based on the read output.
  • hot electrons hot carriers
  • the threshold voltage of the ISFET can be set based on the read output. In this way, by setting the threshold voltage of the ISFET in each of a plurality of cells arranged in an array, fluctuations in the threshold voltage caused by charges accumulated during manufacturing or the like can be reduced. It becomes possible to reduce between ISFETs, and a highly sensitive biomolecule measuring device can be obtained.
  • the biomolecule measuring device has a first operation mode in which a tunnel current flows from the floating gate of the ISFET in each of the plurality of cells to the semiconductor substrate.
  • the threshold voltage of each of the plurality of ISFETs changes in a predetermined direction (high direction or low direction).
  • the threshold voltages of a plurality of ISFETs can be made uniform.
  • the biomolecule measuring device controls the third MOSFET to inject charges into the floating gate of the ISFET, and controls the second MOSFET to output the ISFET.
  • the operation is alternately performed to determine whether or not the threshold voltage of the ISFET is within a predetermined range, and the threshold voltage of the ISFET in each of the plurality of cells is within the predetermined range. Make it fit.
  • the first operation mode described above is executed before the operation of injecting charges into the floating gate of the ISFET.
  • the threshold voltages of the respective ISFETs are controlled so as to be within a predetermined range. It becomes possible to keep the threshold voltage of the ISFET within a predetermined range.
  • a highly sensitive biomolecule measuring apparatus can be provided.
  • FIG. 3 is a circuit diagram showing a configuration of a cell according to the first embodiment.
  • (A) And (B) is a schematic diagram for demonstrating the mechanism which cancels offset.
  • (A) to (G) are waveform diagrams showing the operation of the first embodiment.
  • (A) to (E) are waveform diagrams showing other operations of the first embodiment.
  • FIG. 6 is a circuit diagram illustrating a configuration of a semiconductor sensor according to a second embodiment. It is a block diagram which shows the structure of a biomolecule measuring device. It is a typical sectional view of a semiconductor sensor. It is sectional drawing of a semiconductor sensor. It is a top view of a semiconductor sensor. It is a top view of a semiconductor sensor. It is a top view of a semiconductor sensor. It is a top view of a semiconductor sensor.
  • FIG. 6 is a circuit diagram of a semiconductor sensor according to Embodiment 3.
  • FIG. FIG. 6 is a circuit diagram showing a circuit of a semiconductor sensor according to a fourth embodiment.
  • FIG. 9 is a schematic cross-sectional view of a semiconductor sensor according to a fifth embodiment. It is a block diagram which shows the structure of a biomolecule measuring device.
  • A) And (B) is a wave form diagram explaining operation
  • FIG. 10 is a circuit diagram illustrating a configuration of a cell according to a sixth embodiment. It is a circuit diagram which shows the structure of a cell.
  • FIG. 10 is a circuit diagram showing a configuration of a semiconductor sensor according to a seventh embodiment.
  • (A) And (B) is a figure which shows the function of the data processing part of a biomolecule measuring device. It is a figure which shows the structure of the data processing part of a biomolecule measuring device.
  • Semiconductor sensors are manufactured on a single semiconductor substrate using semiconductor technology. That is, the semiconductor sensor has a plurality of cells formed in one semiconductor substrate by semiconductor technology and arranged in an array on the semiconductor substrate.
  • a semiconductor sensor is installed in the biomolecule measuring apparatus, which will be described later with reference to FIG.
  • each of a plurality of cells arranged in an array includes an ISFET and an amplifying transistor in order to increase the sensitivity of the cell, and further reduces the offset of the ISFET. And a signal line necessary for this operation.
  • an N-channel field effect transistor (MOSFET) formed on a semiconductor substrate is used as a transistor.
  • MOSFET N-channel field effect transistor
  • FIG. 1 is a circuit diagram showing a configuration of a cell according to the present embodiment. The figure shows the configuration of one cell C11 among a plurality of cells arranged in an array. The plurality of cells arranged in an array have the same configuration.
  • each of M1 to M3 is a MOSFET.
  • the cell C11 includes an ISFET, a first MOSFET M2, a second MOSFET M3, and a third MOSFET M1.
  • the ISFET has a MOSFET MS having a floating gate and an ion sensitive film 100.
  • An example of the device structure of the ISFET will be described later with reference to FIGS. 2A and 2B, and the ion sensitive film 100 of the ISFET is immersed in a solution.
  • the MOSFET MS provided in the ISFET operates as a MOSFET having a floating gate.
  • a voltage corresponding to the operation is applied as a bias voltage VBias to the drain electrode (terminal) of the MOSFETMS, and the source electrode (terminal) of the MOSFETMS is connected to the node N1.
  • a control voltage VB is applied as a back bias voltage to the back gate (in this example, a semiconductor substrate) of the MOSFET MS.
  • the control voltage VB may be independent from or common to the back bias voltage applied to the back gates of the other MOSFETs M1 to M3 in the cell C11.
  • FIG. 1 shows an example in which the control voltage VB is also applied to the back gate of the MOSFET M1.
  • semiconductor regions having different electrical polarities are provided in order to be electrically insulated from other MOSFETs.
  • the node N1 to which the source electrode of MOSFETMS is connected is connected to MOSFETs M1 and M2.
  • This configuration has one feature of the present embodiment. That is, the source electrode (node N1) of the MOSFET MS in the ISFET is connected to the drain electrode of the third MOSFET M1.
  • the gate of the third MOSFET M1 is connected to the offset cancel signal line WC1, and is driven by the offset cancel signal line WC1.
  • the offset of the MOSFET MS in the ISFET can be reduced.
  • the offset of the MOSFET MS in the ISFET in other words, the offset of the ISFET is caused by, for example, electric charges accumulated during manufacturing. Since the amount of stored charge varies depending on the position of the semiconductor substrate, the threshold voltage of MOSFETMS appears different for each cell arranged in an array.
  • the threshold voltage of each MOSFETMS (ISFET) to the same value by adjusting this. That is, it is possible to give different amounts of change to the threshold voltage for each cell.
  • the control voltage VB applied to the back gate of the MOSFETMS in the ISFET is set to a predetermined value, and a negative voltage is applied as the control voltage VR to the solution in which the ion sensitive film 100 is immersed, thereby making the MOSFET M1 It is also possible to change the direction of the threshold voltage applied to the MOSFET MS in the opposite direction.
  • the source electrode (node N1) of the MOSFET MS is also connected to the gate of the first MOSFET M2.
  • One electrode (source electrode or drain electrode) of the MOSFET M2 has a gate connected to the read signal line WR1, and is connected to the read line R1 via the second MOSFET M3 controlled by the read signal line WR1.
  • the signal change detected by the ion sensitive film 100 connected to the MOSFET MS is amplified by the MOSFET M2.
  • the amplified signal is selectively transmitted to the readout line by the MOSFET M3. This selective transmission operation is controlled independently of the MOSFET M1 by the read signal line WR1.
  • the operation for changing the threshold voltage of the MOSFETMS (ISFET) by the MOSFET M1 and the transmission operation can be controlled independently.
  • the signal from the MOSFETMS can be amplified, but the MOSFETMS signal itself has an offset, so that it is difficult to extract the signal detected by the ion sensitive film with high sensitivity. It was.
  • the read line R1 is connected to one input of the sense amplifier SA.
  • the sense amplifier SA amplifies the voltage difference between the reference voltage Vref applied to the other input and the read line R1 connected to one input, and outputs the result to OUT.
  • MOSFET M2 the other electrode (drain electrode or source electrode) of MOSFET M2 is connected to power supply voltage Vd, and one electrode (source electrode or drain electrode) of MOSFET M2 is connected to the other electrode of MOSFET M3. It is connected to an electrode (drain electrode or source electrode).
  • One electrode (source electrode or drain electrode) of the MOSFET M3 is connected to the corresponding readout line R1.
  • the MOSFETs M2 and M3 are connected in series between the power supply voltage Vd and the readout line R1.
  • MOSFET M1 is connected to the source electrode (node N1) of MOSFET MS, and one electrode (source electrode or drain electrode) of MOSFET M1 is connected to the ground voltage Vs of the circuit. ing.
  • MOSFET MS ISFET
  • MOSFET M1 MOSFET MS and the MOSFET M1 are connected in series between the bias voltage VBias and the circuit ground voltage Vs. Since the MOSFET M1 is connected in series with the MOSFET MS in the ISFET, when the MOSFET M1 is turned on, the source electrode (node N1) of the MOSFET MS becomes the ground voltage Vs of the circuit. Thereby, MOSFERTMS can form a channel through which a current flows between the bias voltage VBias and the node N1.
  • each cell including ISFETs arranged in an array can be realized.
  • FIG. 2 are schematic diagrams for explaining a mechanism for canceling an offset. That is, (A) and (B) of FIG. 2 show that the threshold voltage of MOSFETMS is changed by MOSFETMS, M1 and a signal line necessary to operate them. 2A and 2B show schematic cross sections of MOSFETMS and MOSFETM1 among the elements constituting the cell C11 shown in FIG. In FIGS. 2A and 2B, the structures of the MOSFETs MS and M1 shown are the same.
  • the ISFET has a MOSFET MS and an ion sensitive film 100 connected thereto.
  • the sensitive film 100 is connected to the floating gate 203 of the MOSFET MS through the insulating film 209.
  • reference numeral 200 denotes a flow cell installed on the semiconductor sensor.
  • the flow cell 200 is filled with the solution 201.
  • the solution 201 is, for example, a solution in which a biomolecule sample and a reagent are mixed.
  • the flow cell 200 is provided with a reference electrode 202, and a reference control voltage VR is applied to the reference electrode 202.
  • MOSFET MS has a semiconductor region 205 that forms a source region corresponding to one electrode, and a semiconductor region 204 that forms a drain region corresponding to the other electrode. It is formed on the substrate 208. Further, the gate electrode of the MOSFET MS is disposed above the semiconductor substrate 208 and between the semiconductor regions 204 and 205 described above.
  • the MOSFET M1 is arranged so as to be connected in series with the MOSFET MS.
  • the semiconductor region 205 formed in the semiconductor substrate 208 is a semiconductor region (drain region) corresponding to the other electrode, and the semiconductor region 206 also formed in the semiconductor substrate 208 is , A semiconductor region (source region) corresponding to one of the electrodes.
  • the MOSFET M1 has a gate electrode which is disposed on the upper side of the semiconductor substrate 208 and between the semiconductor regions 205 and 206.
  • the semiconductor region 205 functions as a source region of the MOSFET MS and a drain region of the MOSFET M1.
  • the MOSFET MS and the semiconductor substrate 208 of M1 are common, and this semiconductor substrate 208 also functions as a back gate of the MOSFET MS and M1, and the bias voltage VB is applied.
  • the MOSFETs M2 and M3 described above are also formed on the semiconductor substrate 208 in the same manner as the MOSFET M1 described above.
  • the semiconductor substrate 208 is a P-type semiconductor
  • the semiconductor regions 204 to 206 are N-type semiconductors.
  • source / drain varies depending on the potential, it should be understood that the expression “source / drain” is an example in this specification.
  • the circuit ground voltage Vs (0 V) is applied to the semiconductor substrate 208 as the control voltage VB.
  • a negative voltage for example, ⁇ 5 V
  • a circuit ground voltage Vs (0 V) is applied to the sources (source electrodes) and drains (drain electrodes) of the MOSFETs MS and M1 and the gate of the MOSFET M1.
  • the solution 201 in the flow cell 200 becomes a negative potential due to the negative control voltage VR applied to the reference electrode 202.
  • the ground voltage Vs is applied to the semiconductor substrate 208, the potential of the semiconductor substrate 208 becomes higher than the potential of the solution 201 in the flow cell 200. As a result, a potential difference is generated between the floating electrode 203 of the MOSFET MS and the semiconductor substrate 208 so that the negative charge accumulated in the floating gate 203 is drawn toward the semiconductor substrate 208 side.
  • the negative charge accumulated in the floating electrode 203 is extracted to the semiconductor substrate 208 side.
  • a tunnel current flows, so that negative charges are extracted to the semiconductor substrate 208 as the tunnel current.
  • the control voltage VB is set to, for example, the circuit ground voltage Vs (0 V), and the control voltage VR is set to a desired positive voltage, for example.
  • 5 V is applied to the drain of the MOSFET MS (bias voltage VBias in FIG. 1), and a similar voltage (5 V) is also applied to the gate of the MOSFET M1.
  • the source of the MOSFET M1 is set to the ground voltage Vs (0 V), for example.
  • the threshold voltage of the MOSFET MS can be changed in a desired direction by the MOSFET MS, M1 and the signal line necessary to operate them. That is, it becomes possible to cancel the offset of the MOSFET MS caused by the charge accumulation.
  • 3A to 3G are operation waveform diagrams when the operation shown in FIG. 2B is performed in the configuration of the cell C11 shown in FIG.
  • the horizontal axis indicates time.
  • the vertical axis indicates the voltage.
  • a solution having an appropriate pH for adjustment is used as the solution 201 (FIG. 2B).
  • a solvent used for dissolving a cleaning solution or an enzyme used in an actual measurement operation may be used.
  • the magnitude of the change in threshold voltage of MOSFETMS can be changed for each cell.
  • the MOSFET MS of each cell has a different threshold voltage, that is, an offset due to charge accumulation at the time of manufacture, for example, or becomes different while continuing operation, the same threshold value is obtained. It becomes possible to match the voltage.
  • signals as a highly sensitive array can be obtained from a plurality of cells each including an ISFET and having an amplification function.
  • the temperature of the reagent can be changed in one measurement process. By changing the threshold voltage before changing the temperature, the signal after changing the temperature can be obtained with higher sensitivity.
  • a desired signal voltage VRW is applied to the control voltage VR. That is, the value of the control voltage VR is set to VRW.
  • a signal voltage VCM (5 V in FIG. 2B) is applied to the offset cancel signal line WC1 connected to the gate of the MOSFET M1.
  • the voltage VBW (5 V in FIG. 2B) is applied to the bias voltage VBias.
  • MOSFETMS and M1 are turned on.
  • the threshold voltage of the MOSFET MS is changed during the period “MS: threshold change” in FIG. 3, that is, the period during which the offset cancel signal line WC1 is at the high level (VCM). Is done.
  • the ISFET (MOSFETMS) signal is read.
  • VRR and VBR signal voltages are applied to the control voltage VR and the bias voltage VBias, respectively.
  • the voltage values of the signal voltages VRR and VBR are set to values lower than the voltages VRW and VBW described above.
  • MOSFETs M2 and M3 are operated here.
  • the signal voltage VRM is applied to the read signal line WR1 that controls the MOSFET M3.
  • a signal corresponding to the state of the threshold value of the MOSFET MS at this time is read (transmitted) to the read line R1.
  • the sense amplifier SA compares the voltage of the read line R1 with a predetermined reference voltage Vref, determines whether or not the voltage falls within a predetermined range, and outputs the result to OUT. This is referred to as a verify operation in the present specification.
  • the threshold voltage of the MOSFETMS (ISFET) is assumed to be within the predetermined range.
  • the threshold voltage of the MOSFET MS (ISFET) is not within the predetermined range. If the threshold voltage of MOSFETMS (ISFET) is within a predetermined range, the operation of changing the threshold voltage of MOSFETMS is terminated without being performed. On the other hand, when it is determined that the threshold voltage of MOSFETMS is not within the predetermined range, the operation in the “MS: threshold change” period shown in FIG. 3 is repeated.
  • an operation for changing the threshold value and a verify operation for reading the threshold value of the MOSFET MS (operation in the “MS: threshold verify” period in FIG. 3) are performed. Run one or more times alternately.
  • the threshold verify operation it is determined whether or not the threshold changing operation and the threshold verify operation are repeated according to whether or not the threshold voltage of the ISFET is within a predetermined range.
  • the offset cancel signal line WC1 is at the low level during the “MS: threshold verify” period. During this period, a predetermined signal voltage is applied to the offset cancel signal line WC1. May be applied. By doing so, a bias current flows through the MOSFET M1 during this period, and an optimum voltage can be generated at the node N1 (FIG. 1).
  • FIG. 3G as an example of the output OUT of the sense amplifier SA, the case where the threshold voltage of the MOSFET MS is changed and the case where no change is required are “MS: re-application required” and “MS: change It is shown as “End”.
  • FIG. 4A to 4E are waveform diagrams when the operation (first operation mode) described in FIG. 2A is performed in the cell C11 shown in FIG.
  • a control voltage VR having a signal voltage VRT that is a negative voltage is applied to the reference electrode 202 as its voltage value.
  • VRT signal voltage
  • the control voltage VB applied to the semiconductor substrate 208 is at a low level.
  • the operation period is set to a high level. Good.
  • the operation shown in FIG. 4 ((A) of FIG. 2) is performed, for example, on a plurality of cells arranged in an array before the operation of FIG. It is desirable to move the threshold voltage greatly in one direction. If the operation shown in FIG. 3 is performed after the operation shown in FIG. 4 is performed, the threshold voltage of each cell is changed in a direction opposite to this direction after the threshold voltage is moved collectively. The value can be changed by a required value. As a result, even if the threshold voltages of the ISFETs of the cells arranged in an array are different in a wide range, it is possible to make the values almost the same.
  • Each of the control voltage VB shown in FIG. 3B and the bias voltage VBias shown in FIG. 4 is, for example, the ground voltage Vs. (Embodiment 2)
  • FIG. 5 is a circuit diagram showing a configuration of the semiconductor sensor according to the second embodiment.
  • the semiconductor sensor has a plurality of cells arranged in an array.
  • cells in two rows and two columns among a plurality of cells arranged in an array are shown as representatives.
  • signal lines WR1, WR2, WC1, WC2 and read lines R1, R2 arranged in the array are also shown in the figure.
  • C11, C12, C21, and C22 are cells arranged in two rows and two columns in the array.
  • the cells C11, C12, C21, and C22 have the same configuration, and each configuration has the same configuration as the cell C11 described in FIG.
  • a plurality of signal wirings WR1, WR2, WC1, and WC2 and readout lines R1 and R2 are arranged.
  • a plurality of cells arranged in an array a plurality of cells C11 and C12 (C21 and C22) arranged in the same row include a read signal line WR1 corresponding to the row among the plurality of signal lines, and an offset.
  • Cancel signal lines WC1 (WR2, WC2) are connected.
  • the plurality of cells C11 and C21 (C12 and C22) arranged in the same column include the readout line R1 (R2) corresponding to the column among the plurality of readout lines. ) Is connected.
  • Corresponding sense amplifiers SA1 and SA2 are connected to the read lines R1 and R2. The connection between each cell and the signal line and readout line is the same as in FIG.
  • the operation for changing the threshold voltage of the MOSFETMS in each of the cells C11, C12, C21, and C22 is the same as the operation described above with reference to FIGS.
  • the operation shown in FIG. 4 is collectively performed on the plurality of cells C11, C12, C21, and C22 constituting the array.
  • the threshold voltage of MOSFETMS in each of the cells moves in one direction.
  • the operation shown in FIG. 3 is performed for each row of the array. That is, in FIG. 5, the operation shown in FIG. 3 is performed on the cells C11 and C12 (C21 and C22) arranged in the same row.
  • the cell threshold voltage is controlled to a desired value in units of rows. In this case, it is conceivable that the amount of charge accumulated in the floating gate 203 of the MOSFET MS is different even in cells arranged in the same row.
  • the number of repetitions in which the operation shown in FIG. 3 is performed may change between cells arranged in the same row.
  • the sense amplifier SA is different for each column, the operation shown in FIG. 3 can be performed in units of rows as described above, and the operation for keeping the threshold voltage within a predetermined range can be accelerated. It becomes.
  • the threshold voltages of the ISFETs (MOSFETMS) of each cell can be made substantially equal, and the amplification MOSFET M2 provided in each cell can achieve high sensitivity. A signal can be acquired.
  • the biomolecules are measured after the threshold voltage of the MOSFETMS of each cell falls within a predetermined range. That is, the change in the hydrogen ion concentration generated by the DNA elongation reaction by the reagent is detected by a plurality of cells arranged in the array.
  • the outputs OUT1 and OUT2 of the sense amplifiers SA1 and SA2 are signals indicating changes in the hydrogen ion concentration. Therefore, it is possible to measure the change in the hydrogen in concentration in parallel in a plurality of cells (row units). Of course, an operation of changing the threshold voltage may be performed during the measurement. ⁇ Configuration of biomolecule measuring device>
  • FIG. 6 is a block diagram showing the overall configuration of the biomolecule measuring apparatus.
  • the biomolecule sample to be measured is actually attached to the beads as will be described later, and filled in the flow cell 200 (FIGS. 2A and 2B) loaded on the semiconductor sensor (ISFET array chip) 1002. Is done.
  • the semiconductor sensor (ISFET array chip) 1002 includes an ISFET array 304, a selection circuit 305, a readout circuit 309, and a control circuit 315, which are formed on one semiconductor substrate by semiconductor technology.
  • the ISFET array 304 has the array described in FIG.
  • the selection circuit 305 selects the plurality of cells from the ISFET array 304 by controlling the voltages of the read signal lines WR1 and WR2 and the offset cancel signal lines WC1 and WC2. For example, the read signal line WR1 is set to the high level, the remaining read signal lines WR2 are set to the low level, and the plurality of cells C11 and C12 connected to the read signal line WR1 are selected. A signal from the selected cell is transmitted to the readout circuit 309 through readout lines R1 and R2.
  • the control circuit 315 receives the output from the readout circuit 309 and controls the selection circuit 305 and the VR / VB formation circuit 600 in order to perform the operation described with reference to FIGS.
  • the control circuit 315 instructs the selection circuit 305 to sequentially select the offset cancel signal lines WC1 and WC2 in the ISFET array 304, for example.
  • the control voltages VB and VR and the bias voltage VBias as shown in FIG. 3 are formed so as to change the threshold voltage of the MOSFETMS in the selected cell, and the reference electrode 202, the semiconductor substrate 208 and each cell are formed.
  • the bias voltage VBias supplied from the VR / VB forming circuit 600 to the ISFET array 304 is not shown in order to avoid complication of the drawing, but in this embodiment, the bias voltage is not shown.
  • VBias is also formed by the VR / VB forming circuit 600.
  • the control circuit 315 changes the threshold voltage for the cell connected to the offset cancel signal line WC1 in the ISFET 304, and then executes the verify operation (MS: threshold verify operation) described in FIG.
  • the result is received from the readout circuit 309.
  • the operation for changing the threshold voltage is performed by setting the offset cancel signal line corresponding to the cell to the selection level.
  • the selection circuit 305 and the VR / VB formation circuit 600 are controlled to perform the above. At this time, the threshold voltage changing operation is not performed on the cells that do not require the threshold voltage to be changed again.
  • the threshold voltage of MOSFETMS in all cells included in the array is set within a predetermined range.
  • one or more kinds of reagents are selected from the reagent container 301 by the liquid feeding device 303 and fed to the flow cell 200 through the paths 302 and 313.
  • the reagent sent to the flow cell 200 reacts with the biomolecule sample on the ISFET array chip 1002. Changes in the concentration of ions that are the product of this reaction are detected by the ISFET array 304.
  • the waste liquid after the reaction is collected in the waste liquid container 310 through the path 314.
  • a plurality of common liquid feeding pumps may be used, or an inert gas such as argon is adjusted through a valve prepared for each reagent container.
  • the reagent may be injected into the reagent container 301 and the reagent may be pushed out of the container with a gas pressure.
  • the controller 312 adjusts the liquid feed amount of the liquid feed pump of the liquid feed device 303, controls the operation state of the ISFET array chip 1002, and data processing in accordance with a preprogrammed experiment sequence and data acquired by the data processing device 311.
  • Control of the device 311 controls the voltage of the reference electrode (VR in FIG. 1) arranged on the reagent flow path or on the ISFET array.
  • the data processing device 311 acquires and analyzes data output from the ISFET array chip 1002, from an interface board equipped with an A / D converter, an arithmetic device (to be described later) or a computer for accelerating processing. Composed.
  • the VR / VB forming circuit 600 is provided in the biomolecule measuring device separately from the semiconductor sensor, but this circuit may also be formed on the same semiconductor substrate as the semiconductor sensor.
  • FIG. 7 is a schematic cross-sectional view of the semiconductor sensor.
  • C11 is the cell shown in FIG.
  • the semiconductor sensor has a well corresponding to each cell on the upper side of the semiconductor substrate 208.
  • the well corresponding to the cell C11 is shown as 700.
  • the ion sensitive film 100 of the ISFET in the corresponding cell C11 is disposed.
  • the solution 201 comes into contact with the ion sensitive membrane 100 in the well 700.
  • the well 700 is an independent reaction chamber corresponding to each cell and surrounding the sensitive film 100 of the corresponding cell.
  • the well 700 is equipped with a bead 701 to which a biomolecule sample to be measured is attached.
  • These materials have different detection sensitivities for each ion.
  • Ta 2 O 5 has the highest detection sensitivity for hydrogen ions while the lowest sensitivity for sodium ions among the above materials. Accordingly, Ta 2 O 5 is suitable for use in measuring hydrogen ions, in other words, for use in measuring the hydrogen ion exponent pH of a solution.
  • FIG. 8 is a schematic cross-sectional view of a semiconductor sensor.
  • 101 is a diffusion layer constituting the source and drain of the MOSFET
  • 204 (101) is the drain diffusion layer of the MOSFET MS
  • 206 (101) is the source diffusion layer of the MOSFET M1.
  • Reference numeral 205 (101) denotes a common diffusion layer of MOSFETMS and M1.
  • 102 is a gate electrode of MOSFETMS
  • M1 and 103, 105, and 107 are metal layers that connect between metal wirings.
  • Reference numerals 104, 106, and 108 denote metal wiring layers.
  • the gate of MOSFETMS reaches the upper part through these metal layers, and is equivalently connected to the ion sensitive film 100 through an insulating layer.
  • the metal layer becomes a floating gate.
  • the shape of the well 700 which is a chamber in which a reaction occurs, is formed by using an upper metal wiring. If the well 700 is a DNA sequencer, beads 701 having a large number of the same kind of DNA strands 800 grown in advance are attached. In this state, a reagent is passed, and the change in the hydrogen ion concentration generated by the DNA elongation reaction is measured.
  • This embodiment is characterized in that the threshold voltage of the ISFET can be made the same value between the wells 700, and each cell has a function of amplifying the output of the ISFET. As a result, the change in the hydrogen ion concentration can be detected with high sensitivity.
  • 9 to 11 are plan views of the cell C11.
  • elements MOSFETMS, MOSFETs M1 to M3 constituting the cell C11 are formed on the semiconductor substrate 208.
  • 9 to 11 show planes (layouts) in a manufacturing process for forming these elements using semiconductor technology. Since the cross-sectional view shown in FIG. 8 corresponds to the plan view of each manufacturing process shown in FIGS. 9 to 11, the manufacturing process of FIGS. 9 to 11 will be described below with reference to FIG. To do.
  • reference numeral 102 denotes MOSFETMS, M1 to M3 gate electrodes formed on a P-type semiconductor substrate 208 via an insulating film.
  • Reference numeral 101 denotes an N-type semiconductor region formed in the semiconductor substrate 208, which constitutes a source region and a drain region of these MOSFETs.
  • corresponding symbols MS and M1 to M3 are described in regions corresponding to MOSFETMS and M1 to M3, respectively.
  • the N-type semiconductor region 101 constituting the source region and the drain region is formed by self-alignment using the gate electrode as a mask.
  • the N-type semiconductor region 101 is formed by implanting ions into the P-type semiconductor substrate 208 using the gate electrode as a mask. At this time, since the gate electrode is also exposed to ions, charge accumulation may occur.
  • an interlayer insulating film is formed on the semiconductor substrate 208.
  • a contact opening (hole) is formed in the formed interlayer insulating film, and a metal wiring layer 104 is formed on the interlayer insulating film.
  • the metal wiring layer 104 is etched into a shape that forms an electrode of the element.
  • a metal layer 103 is embedded in an opening formed in the interlayer insulating film, and the embedded metal layer 103 causes the metal layer 104 which is an electrode of the element and the gate electrode of the element, and the electrode of the element Are connected between the metal wiring layer 104 and the source and drain regions.
  • FIG. 10 shows a state in which the electrode metal wiring 104 formed by etching in this manner is connected to the element.
  • FIG. 11 shows the planar shape formed in this way.
  • R1 is a readout line
  • Vs is a ground voltage wiring that supplies a circuit ground voltage
  • VBias is a voltage wiring that supplies a bias voltage VBias.
  • the metal wiring layer 106 forms the readout line R1, the ground voltage wiring Vs, and the voltage wiring VBias.
  • FIG. 12 shows a state in which after the metal wiring 106 is formed, an interlayer insulating film is formed, an opening is formed at a predetermined position of the interlayer insulating film, and a metal wiring layer 108 is further formed.
  • the metal wiring layer 108 is etched so as to have a predetermined planar shape so as to constitute a circuit.
  • the metal wiring layer 108 having a predetermined planar shape is electrically connected to the metal wiring layer 106 by a metal wiring layer 107 embedded in the opening.
  • WR1 and WC1 are signal wirings constituting the read signal lines WR1 and WC1 described above, and Vd is a power supply wiring for supplying the power supply voltage Vd.
  • the signal wirings WR1 and WC1 and the power supply wiring Vd are formed by the metal wiring layer 108 that is higher than the metal wiring layer 106.
  • the signal wiring R1 forming the readout line R1 and the signal wirings WR1 and WC1 are arranged (layed out) so as to be orthogonal to each other.
  • the floating gate of MOSFETMS is composed of a plurality of stacked metal layers 102, 104, and 108 and metal layers 103, 105, and 107 that electrically connect the metal layers to them.
  • an ion sensitive film 100 is provided on the metal layer 108 constituting the floating gate.
  • the ion sensitive film 100 is provided on the bottom surface of the well 700 and is surrounded by the well 700.
  • FIG. 13 is a circuit diagram showing a configuration of the semiconductor sensor according to the third embodiment.
  • the semiconductor sensor shown in FIG. 13 is similar to the semiconductor sensor shown in FIG. Here, a different part from the semiconductor sensor shown in FIG. 7 is mainly demonstrated.
  • the semiconductor sensor shown in FIG. 13 differs in the circuit configuration of the cell C11. That is, an N-channel MOSFET M4 is added to the cell C11 shown in FIG. 13 with respect to the cell C11 shown in FIG.
  • the MOSFET M4 has a gate connected to the read signal line WR1, similarly to the gate of the MOSFET M3.
  • One electrode of MOSFET M4 is connected to the gate of MOSFET M2, and the other electrode is connected to node N1.
  • the pair of electrodes of the MOSFET M4 is electrically connected (ON) / not connected (OFF) according to the value of the read signal line WR1.
  • the MOSFET M4 that is turned on / off according to the read signal line WR1 is connected in series between the node N1 and the gate of the MOSFET M3.
  • the MOSFET M1 When the threshold voltage of the MOSFET MS is changed, as described above, the MOSFET M1 is turned on by the voltage of the offset cancel signal line WC1. On the other hand, at this time, MOSFET M3 is turned off by read signal line WR1. In this embodiment, when the threshold voltage of the MOSFET MS is changed, the MOSFET M4 is also turned off by the read signal line WR1. As a result, it is possible to prevent a high voltage (bias voltage VBias) used when changing the threshold voltage of MOSFETMS from being applied to the gate of MOSFET M2, thereby improving the reliability of the cell. Become.
  • FIG. 13 shows only one cell C11 as a representative, but in the semiconductor sensor, the cells shown in FIG. 13 are arranged in an array as described in FIG. (Embodiment 4)
  • FIG. 14 is a circuit diagram showing a circuit of the semiconductor sensor according to the fourth embodiment.
  • the semiconductor sensor shown in FIG. 14 is similar to the semiconductor sensor shown in FIG. In FIG. 14, the differences from FIG. 5 are mainly described.
  • the configuration of the cell is different from that of FIG. That is, a plurality of cells arranged in an array are different in FIGS.
  • Each of the cells C11, C12, C21, and C22 shown in FIG. 14 has the same configuration. Therefore, here, the cell C11 will be described as a representative.
  • one electrode of the MOSFET M2 is connected to the corresponding readout line, and the other electrode is connected to one electrode of the MOSFET M3.
  • the other electrode of the MOSFET M3 is connected to the circuit ground voltage Vs.
  • the gate of the MOSFET M2 is connected to the read signal line WR1, and the gate of the MOSFET M3 is connected to one electrode of each of the MOSFET MS and the MOSFET M1.
  • the other electrode of the MOSFET M1 is connected to the circuit ground voltage Vs
  • the other electrode of the MOSFET MS is connected to one electrode of the MOSFET M4, and the other electrode of the MOSFET M4 is connected to the bias voltage VBias.
  • the gate of the MOSFET M4 is connected to the read signal line WR1, and the gate of the MOSFET M1 is connected to the offset cancel signal line WC1.
  • MOSFETMS the role of amplifying the signal of ISFET
  • MOSFET M3 the role of amplifying the signal of ISFET (MOSFETMS) is given to MOSFET M3, not MOSFET M2 (examples in FIGS. 1 and 13).
  • the type of MOSFET can be a P-channel type MOSFET, or the voltage condition applied to the MOSFET can be changed even if it is an N-channel type MOSFET as in the example described so far (bias state change). There are cases where sensitivity can be achieved.
  • the MOSFET M4 between the bias voltage VBias and the MOSFET MS, when changing the threshold voltage of the MOSFET MS, for example, in the array structure of FIG. Although a voltage is applied, this can be avoided. That is, by setting the read signal line WR corresponding to the cell whose threshold voltage is to be changed to a high level and the remaining read signal lines WR to a low level, the bias voltage VBias is applied to the ISFET in the desired cell. You can make it. At this time, since it is possible to prevent a bias voltage from being applied to the ISFET in a cell other than the desired cell, the threshold voltage changes in the unwanted ISFET depending on the voltage applied to other than the desired ISFET. Can be reduced.
  • the read signal line (for example, WR1) corresponding to the cell (for example, C11) including the MOSFET MS is set to the high level, and the remaining read signal line WR2 is changed.
  • the offset cancel signal line WC1 is set to the high level
  • the offset cancel signal line WC2 is set to the low level.
  • the offset cancel signal lines WC1 and WC2 are set to the low level, the read signal line WR (for example, WR1) corresponding to the read cell is set to the high level, and the remaining read signal lines WR2 are set to the low level. To do.
  • MOSFET having the function as described in this embodiment may be performed alone or in combination.
  • a MOSFET M4 may be provided between the bias voltage VBias and the MOSFET MS.
  • the roles of the MOSFETs M2 and M3 may be changed.
  • the N-channel MOSFET may be replaced with a P-channel MOSFET or mixed. (Embodiment 5)
  • FIG. 15 is a schematic cross-sectional view showing the configuration of the semiconductor sensor according to the fifth embodiment.
  • This embodiment is similar to the embodiment shown in FIG. Differences from the embodiment shown in FIG. 7 will be mainly described.
  • a heater 1500 for changing the temperature of each well arranged in an array is provided.
  • the heater 1500 is composed of metal wiring provided between wells close to each other.
  • the metal wiring By supplying a current to the metal wiring arranged between the wells close to each other, the metal wiring generates heat, and the temperature of the well can be changed.
  • a cell including ISFETs arranged in a highly sensitive array a base sequence with higher accuracy can be obtained.
  • FIG. 16 is a block diagram showing a configuration of a biomolecule measuring apparatus when a semiconductor sensor having the heater 1500 shown in FIG. 15 is used. Since the biomolecule measuring apparatus shown in FIG. 16 is similar to the biomolecule measuring apparatus shown in FIG. 6, differences will be mainly described. Compared with the biomolecule measuring apparatus of FIG. 6, the temperature sensor 307 and the heater control circuit 308 (heater in the figure) for controlling the heater 1500 are provided in the ISFET array chip (semiconductor sensor) 1002. The heater control circuit 308 controls the current supplied to the heater 1500 arranged between the wells based on the temperature information from the temperature sensor 307. The temperature sensor 307 makes it possible to accurately capture the temperature at which the actual reaction occurs, and enables detailed temperature control. The temperature sensor 307 may be configured using a semiconductor structure.
  • FIGS. 17A and 17B are waveform diagrams for explaining the operation of the biomolecule measuring apparatus shown in FIG.
  • the horizontal axis indicates time
  • the vertical axis indicates temperature change 1700, reagent supply state 1701, signals 1702 and 1704 from ISFET from the top in FIG. Respectively.
  • FIG. 17A shows a case where hot electrons are not injected into the ISFET MOSFET MS
  • FIG. 17B shows the case of the ISFET MOSFET MS. The case where such hot electron injection is performed is shown.
  • Washing is performed to wash away the reagents used in the previous cycle reaction.
  • the cleaning liquid used in this cleaning for example, a cleaning liquid having a low temperature of 5 ° C. is used. Thereafter, a reaction reagent kept at a low temperature is introduced. In this state, since the temperature is low, for example, the DNA elongation reaction itself does not occur, or even if it occurs, there is a very small probability.
  • the reaction reagent itself has a pH concentration.
  • the ISFET outputs a constant signal 1703 (dashed line).
  • this signal is referred to as a reaction reagent-derived signal (BG).
  • a current is supplied to the heater 1500, the temperature in each well 700 is raised, and the temperature of the reagent is raised. Then, a DNA elongation reaction is caused by the reaction reagent, and the ISFET detects a change in the hydrogen ion concentration changed by the reaction reagent, and outputs a signal corresponding to the elongation reaction. That is, a difference between the constant signal 1703 and the signal 1702 becomes an extension signal corresponding to the extension reaction. If the ISFET has an amplification function and has no offset, the pH concentration of the reaction reagent at this low temperature can be detected with high sensitivity by the extension reaction after the temperature is raised. Thereafter, the current to the heater is stopped, and the reaction reagent is flowed by flowing a low temperature washing solution, the temperature is lowered, and the preparation for the next measurement is ready. Repeat this.
  • the pH concentration of the reaction reagent at a low temperature is detected as a reaction reagent-derived signal (BG). For this reason, it is necessary to remove this by subsequent processing (such as calculation processing of the data processing device 311 (FIG. 16)).
  • BG reaction reagent-derived signal
  • the signal from the reaction reagent at a low temperature is larger than the change in the extension reaction. When aiming at high sensitivity, this also appears as a large background (BG) and is often in the way. However, this can be reduced by using an operation that reduces the offset of the ISFET.
  • the reaction of biomolecules is on the order of seconds, while the hot electron injection operation is on the order of several tens of microseconds. Therefore, even if hot electron injection is performed during the measurement, the overall measurement is not delayed. In addition, once set, it may not be necessary to change the threshold voltage for each measurement.
  • FIG. 18 is a waveform diagram showing in detail the hot electron injection operation performed in FIG.
  • the waveform shown in FIG. 17B is shown again on the upper side.
  • the lower part of FIG. 18 shows a waveform obtained by enlarging the signal 1704 from the ISFET, particularly from time t1 to time t2.
  • the signal 1704 shown in the lower side of FIG. 18 changes depending on the verify operation.
  • a signal from the reaction reagent at a low temperature is output (time t1), as described in FIG. 3, the injection of hot electrons (HC) and the verify operation of the ISFET are repeated with respect to the floating gate of the ISFET (MOSFETMS).
  • hot electron injection (1) is performed, and whether or not the output of the cell (ISFET) is within a predetermined range (verify operation (2)) is performed, and is not within the predetermined range
  • verify operation (2) is repeated.
  • hot electrons are not injected.
  • the reaction with the reaction reagent at a low temperature is a reaction of the order of seconds.
  • the hot electron (HC) injection + verify operation is on the order of several tens of microseconds. Therefore, even if hot electron injection and verify operation are repeated 100 times, it is on the order of several milliseconds. That is, in the figure, for the sake of explanation, the hot electron (HC) injection + verify operation is enlarged and written, but in an actual operation, this operation hardly affects the entire measurement. In this embodiment, it can be considered that hot electron injection and a verify operation are repeated so that the voltage of the signal 1704 falls within a predetermined range instead of the threshold voltage of the ISFET. . (Embodiment 6)
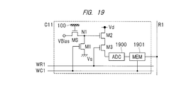
  • FIG. 19 is a circuit diagram showing a configuration of a cell according to the sixth embodiment. Since the configuration of the cell shown in FIG. 19 is similar to the configuration of the cell shown in FIG. 1, differences will be mainly described.
  • the cell C11 shown in FIG. 19 includes an analog / digital conversion circuit ADC1900 that converts an analog value, which is an output signal of the ISFET, into a digital bit, and a memory circuit MEM1901 that temporarily stores the analog / digital conversion circuit.
  • ADC1900 analog / digital conversion circuit
  • MEM1901 memory circuit
  • each cell has a function of reducing the offset of the ISFET and a function of amplifying the signal of the ISFET, another factor that hinders high sensitivity is when signals are sent from these cells to the subsequent stage.
  • the output of the ISFET is directly converted into a digital signal and held for each cell. This makes it possible to maximize the performance of the cell with high sensitivity and reduced offset.
  • FIG. 20 is a circuit diagram showing a modification of FIG.
  • a common analog / digital conversion circuit ADC200 and memory circuit MEM201 are provided for a plurality of cells C11 and C21.
  • the cell C11 and the cell C21 are operated in a time division manner.
  • the analog / digital conversion circuit ADC 200 and the memory circuit MEM 201 can be shared by a plurality of cells, and the area can be reduced.
  • FIG. 21 is a waveform diagram showing an operation when the cell according to the sixth embodiment is used. That is, it is a waveform diagram showing the operation of the biomolecule measuring apparatus provided with the analog / digital conversion circuit ADC for each cell or for each of a plurality of cells.
  • This figure is similar to FIG. That is, as described in FIG. 17A, the reaction reagent-derived signal (BG), which is a reaction of the reaction reagent itself at a low temperature, is digitized and taken into the memory circuit MEM between time t0 and time t1. (Data MEM0). Next, the temperature is raised and a signal in an actual reaction is captured between time t2 and time t3 (data MEM1).
  • BG reaction reagent-derived signal
  • FIG. 22 is a circuit diagram showing a configuration of the semiconductor sensor according to the seventh embodiment.
  • This embodiment is an example in which higher sensitivity is pursued.
  • each cell including the ISFET can be highly sensitive. Since a highly sensitive cell can be obtained, it is desirable that the reference used for determining the cell output is also highly accurate. In this embodiment, a highly accurate reference is realized by using two types of cells having well sizes.
  • each of the cells C11 and C12 has the same circuit configuration as the cell C11 shown in FIG.
  • the dimensions of the well provided with the ion sensitive film 100 connected to the ISFETs of the cells C11 and C12 are different between the cell C11 and the cell C12. That is, the well 700 to which the cell C11 is bound is dimensioned so that the bead 701 to which the measurement molecule is attached is attached, and the well 700 to which the cell C12 is bound is dimensioned so that the bead 701 is not attached thereto.
  • the well size or shape is changed to form a well in which beads are not attached.
  • the read lines RCR and RCL of the cells C11 and C12 thus arranged are arranged along the pair of inputs of the sense amplifier SA.
  • a pair of inputs of the sense amplifier SA is always a pair of beads 700 attached and those not attached (a state where no beads are originally contained in a well that can be attached). Yes, but this does not contribute to the measurement).
  • a reference of the sense amplifier SA it is possible to always obtain a well signal that has a reaction reagent but does not react with a biological substance.
  • FIG. 22 shows an example in which the size of the well opening coupled to the cell C12 is larger than that of the well coupled to the cell C11.
  • the opening may be smaller than the diameter of the bead 700. In this way, it is possible to prevent the beads from being attached to the well.
  • the beads enter the well coupled to the cell C12. However, the entering beads are washed out in the washing step.
  • reference numeral 1500 denotes a heater.
  • the high-sensitivity cell having the ISFET is realized by the plurality of embodiments described so far. Taking a DNA sequencer in a high-sensitivity biomolecule measuring apparatus using this as an example, embodiments of a data processing apparatus are shown in FIGS. 23A and 23B and FIG.
  • a chip (chip A to chip C) that reacts with a specific DNA base called a DNA chip is prepared to increase sensitivity at a low cost. Is realized. However, when the necessary diagnostic items are changed, the measurement content and range change, and the chip needs to be remade.
  • an array can be realized using a plurality of cells each having an ISFET, reducing the offset of the ISFET, and having an amplifying function.
  • a highly sensitive ISFET array can be realized.
  • a semiconductor sensor having such an array is general-purpose and can read any base sequence. Therefore, as shown in FIG. 23B, the main focus is not reading itself, but how important information necessary for subsequent necessary diagnostic items can be easily obtained by the data processing device portion.
  • measurement is performed with a semiconductor sensor having a high-sensitivity ISFET described in a plurality of embodiments, and the data processor unit It corresponds by software.
  • the configurations described in the plurality of embodiments can reduce the development of a plurality of chips in such a DNA sequencer and can also reduce the cost.
  • FIG. 24 is a block diagram showing a block configuration of a data processing apparatus combined with an ISFET array described in a plurality of embodiments. Since the method for examining the DNA information read for each diagnosis is different, in order to perform this at high speed, the data processing apparatus is configured by a dynamic reconfigurable high-speed matching board 2400 whose function can be dynamically changed.
  • the sequencer output is stored in the sequencer output data buffer 2401. This is compared with the reference 2406 updated with information from the cloud every day by the high-speed pattern patching engine 2404.
  • the high-speed pattern patching engine 2404 includes a base sequence useful for detection that is also updated in the cloud as a reference table, and performs pattern matching at high speed based on the same principle as that of the CAM.
  • the entire board is managed by the control CPU 2405, and authentication, data trace information 2403, and the data's authenticity are checked.
  • the IO unit 2403 has an encryption function. In this way, by combining the board with the inexpensive and highly sensitive ISFET array described in the embodiment, a device for obtaining valuable information from measured data at high speed and at low cost based on individual needs or the latest medical data. realizable.

Landscapes

  • Health & Medical Sciences (AREA)
  • Life Sciences & Earth Sciences (AREA)
  • Chemical & Material Sciences (AREA)
  • Molecular Biology (AREA)
  • Physics & Mathematics (AREA)
  • Chemical Kinetics & Catalysis (AREA)
  • Microelectronics & Electronic Packaging (AREA)
  • Engineering & Computer Science (AREA)
  • Spectroscopy & Molecular Physics (AREA)
  • Electrochemistry (AREA)
  • Analytical Chemistry (AREA)
  • Biochemistry (AREA)
  • General Health & Medical Sciences (AREA)
  • General Physics & Mathematics (AREA)
  • Immunology (AREA)
  • Pathology (AREA)
  • Investigating Or Analyzing Materials By The Use Of Electric Means (AREA)
  • Apparatus Associated With Microorganisms And Enzymes (AREA)
PCT/JP2014/076446 2013-10-04 2014-10-02 生体分子計測装置 Ceased WO2015050225A1 (ja)

Priority Applications (3)

Application Number Priority Date Filing Date Title
CN201480054573.0A CN105593675B (zh) 2013-10-04 2014-10-02 生物分子测量装置
GB1605558.4A GB2534318B (en) 2013-10-04 2014-10-02 Biomolecule measuring device
US15/026,657 US10481125B2 (en) 2013-10-04 2014-10-02 Biomolecule measuring device

Applications Claiming Priority (2)

Application Number Priority Date Filing Date Title
JP2013-209073 2013-10-04
JP2013209073A JP6309734B2 (ja) 2013-10-04 2013-10-04 生体分子計測装置

Publications (1)

Publication Number Publication Date
WO2015050225A1 true WO2015050225A1 (ja) 2015-04-09

Family

ID=52778809

Family Applications (1)

Application Number Title Priority Date Filing Date
PCT/JP2014/076446 Ceased WO2015050225A1 (ja) 2013-10-04 2014-10-02 生体分子計測装置

Country Status (5)

Country Link
US (1) US10481125B2 (enExample)
JP (1) JP6309734B2 (enExample)
CN (1) CN105593675B (enExample)
GB (1) GB2534318B (enExample)
WO (1) WO2015050225A1 (enExample)

Cited By (1)

* Cited by examiner, † Cited by third party
Publication number Priority date Publication date Assignee Title
US10611994B2 (en) 2016-08-30 2020-04-07 International Business Machines Corporation Electrochemical sensors for cell culture monitoring

Families Citing this family (3)

* Cited by examiner, † Cited by third party
Publication number Priority date Publication date Assignee Title
EP3535571B1 (en) * 2016-11-07 2020-12-30 Dnae Diagnostics Limited Isfet array
JP7088541B2 (ja) * 2018-05-24 2022-06-21 ラピスセミコンダクタ株式会社 測定装置及び測定方法
US20220113305A1 (en) * 2020-10-14 2022-04-14 Morton M. Mower System, apparatus, and method for viral monitoring in effluent

Citations (4)

* Cited by examiner, † Cited by third party
Publication number Priority date Publication date Assignee Title
US20080094074A1 (en) * 2006-09-27 2008-04-24 Myongseob Kim Transistor with floating gate and electret
US20110299337A1 (en) * 2010-06-04 2011-12-08 Freescale Semiconductor, Inc. Methods and apparatus for an isfet
JP2013533482A (ja) * 2010-06-30 2013-08-22 ライフ テクノロジーズ コーポレーション イオン感応性電荷蓄積回路および方法
JP2014115125A (ja) * 2012-12-07 2014-06-26 Hitachi High-Technologies Corp 生体分子計測装置および生体分子の計測方法

Family Cites Families (5)

* Cited by examiner, † Cited by third party
Publication number Priority date Publication date Assignee Title
US4743954A (en) * 1985-06-07 1988-05-10 University Of Utah Integrated circuit for a chemical-selective sensor with voltage output
AU2007334393A1 (en) * 2006-12-14 2008-06-26 Life Technologies Corporation Methods and apparatus for measuring analytes using large scale FET arrays
US20100301398A1 (en) 2009-05-29 2010-12-02 Ion Torrent Systems Incorporated Methods and apparatus for measuring analytes
US9433046B2 (en) * 2011-01-21 2016-08-30 Once Innovations, Inc. Driving circuitry for LED lighting with reduced total harmonic distortion
EP2617061B1 (en) * 2010-09-15 2021-06-30 Life Technologies Corporation Methods and apparatus for measuring analytes

Patent Citations (4)

* Cited by examiner, † Cited by third party
Publication number Priority date Publication date Assignee Title
US20080094074A1 (en) * 2006-09-27 2008-04-24 Myongseob Kim Transistor with floating gate and electret
US20110299337A1 (en) * 2010-06-04 2011-12-08 Freescale Semiconductor, Inc. Methods and apparatus for an isfet
JP2013533482A (ja) * 2010-06-30 2013-08-22 ライフ テクノロジーズ コーポレーション イオン感応性電荷蓄積回路および方法
JP2014115125A (ja) * 2012-12-07 2014-06-26 Hitachi High-Technologies Corp 生体分子計測装置および生体分子の計測方法

Non-Patent Citations (1)

* Cited by examiner, † Cited by third party
Title
GEORGIOU, P ET AL.: "ISFET threshold voltage programming in CMOS using hot-electron injection", ELECTRONICS LETTERS, vol. 45, no. 22, 22 October 2009 (2009-10-22), XP006034051, DOI: doi:10.1049/EL:20092310 *

Cited By (2)

* Cited by examiner, † Cited by third party
Publication number Priority date Publication date Assignee Title
US10611994B2 (en) 2016-08-30 2020-04-07 International Business Machines Corporation Electrochemical sensors for cell culture monitoring
US11384330B2 (en) 2016-08-30 2022-07-12 International Business Machines Corporation Electrochemical sensors for cell culture monitoring

Also Published As

Publication number Publication date
JP6309734B2 (ja) 2018-04-11
GB2534318A (en) 2016-07-20
JP2015072240A (ja) 2015-04-16
CN105593675A (zh) 2016-05-18
US10481125B2 (en) 2019-11-19
GB2534318B (en) 2020-09-09
CN105593675B (zh) 2018-09-25
US20160245777A1 (en) 2016-08-25

Similar Documents

Publication Publication Date Title
JP6649428B2 (ja) イオン感応性電荷蓄積回路および方法
JP5876044B2 (ja) 低濃度ドープドレインを有する化学的感応性センサ
JP6538526B2 (ja) 生物学的および化学的分析のための集積センサアレイ
US11008611B2 (en) Double gate ion sensitive field effect transistor
CN105911126B (zh) 匹配的晶体管对电路
JP6438420B2 (ja) 化学反応および化合物の検出および測定のためのトランジスタ回路
TWI303714B (en) Nucleic acid detecting sensor, nucleic acid detecting chip, and nucleic acid detecting circuit
CN107589165B (zh) 具有放大的生物传感器像素电路
JP6030153B2 (ja) 生体分子計測装置
US11028438B2 (en) Windowed sequencing
JP6014480B2 (ja) 生体分子計測装置および生体分子の計測方法
JP6309734B2 (ja) 生体分子計測装置
JP2015072240A5 (enExample)
Shah et al. Special Session: Calibrating mismatch in an ISFET with a Floating-Gate
Luo et al. Improved pH sensing performance with microarray ISFETs under pulse AC bias

Legal Events

Date Code Title Description
121 Ep: the epo has been informed by wipo that ep was designated in this application

Ref document number: 14850938

Country of ref document: EP

Kind code of ref document: A1

ENP Entry into the national phase

Ref document number: 201605558

Country of ref document: GB

Kind code of ref document: A

Free format text: PCT FILING DATE = 20141002

WWE Wipo information: entry into national phase

Ref document number: 15026657

Country of ref document: US

NENP Non-entry into the national phase

Ref country code: DE

122 Ep: pct application non-entry in european phase

Ref document number: 14850938

Country of ref document: EP

Kind code of ref document: A1