WO2015040829A1 - X-ray generating tube, x-ray generating apparatus, and radiography system - Google Patents

X-ray generating tube, x-ray generating apparatus, and radiography system Download PDF

Info

Publication number
WO2015040829A1
WO2015040829A1 PCT/JP2014/004659 JP2014004659W WO2015040829A1 WO 2015040829 A1 WO2015040829 A1 WO 2015040829A1 JP 2014004659 W JP2014004659 W JP 2014004659W WO 2015040829 A1 WO2015040829 A1 WO 2015040829A1
Authority
WO
WIPO (PCT)
Prior art keywords
ray
ray generating
shield member
electron beam
focal spot
Prior art date
Legal status (The legal status is an assumption and is not a legal conclusion. Google has not performed a legal analysis and makes no representation as to the accuracy of the status listed.)
Ceased
Application number
PCT/JP2014/004659
Other languages
English (en)
French (fr)
Other versions
WO2015040829A4 (en
Inventor
Kazushige Utsumi
Nobuhiro Ito
Kazuyuki Ueda
Kazuya Tsujino
Current Assignee (The listed assignees may be inaccurate. Google has not performed a legal analysis and makes no representation or warranty as to the accuracy of the list.)
Canon Inc
Original Assignee
Canon Inc
Priority date (The priority date is an assumption and is not a legal conclusion. Google has not performed a legal analysis and makes no representation as to the accuracy of the date listed.)
Filing date
Publication date
Application filed by Canon Inc filed Critical Canon Inc
Priority to EP14846191.6A priority Critical patent/EP3050406B1/en
Priority to US15/022,905 priority patent/US10105112B2/en
Publication of WO2015040829A1 publication Critical patent/WO2015040829A1/en
Publication of WO2015040829A4 publication Critical patent/WO2015040829A4/en
Anticipated expiration legal-status Critical
Ceased legal-status Critical Current

Links

Images

Classifications

    • AHUMAN NECESSITIES
    • A61MEDICAL OR VETERINARY SCIENCE; HYGIENE
    • A61BDIAGNOSIS; SURGERY; IDENTIFICATION
    • A61B6/00Apparatus or devices for radiation diagnosis; Apparatus or devices for radiation diagnosis combined with radiation therapy equipment
    • A61B6/40Arrangements for generating radiation specially adapted for radiation diagnosis
    • A61B6/4021Arrangements for generating radiation specially adapted for radiation diagnosis involving movement of the focal spot
    • A61B6/4028Arrangements for generating radiation specially adapted for radiation diagnosis involving movement of the focal spot resulting in acquisition of views from substantially different positions, e.g. EBCT
    • AHUMAN NECESSITIES
    • A61MEDICAL OR VETERINARY SCIENCE; HYGIENE
    • A61BDIAGNOSIS; SURGERY; IDENTIFICATION
    • A61B6/00Apparatus or devices for radiation diagnosis; Apparatus or devices for radiation diagnosis combined with radiation therapy equipment
    • A61B6/02Arrangements for diagnosis sequentially in different planes; Stereoscopic radiation diagnosis
    • AHUMAN NECESSITIES
    • A61MEDICAL OR VETERINARY SCIENCE; HYGIENE
    • A61BDIAGNOSIS; SURGERY; IDENTIFICATION
    • A61B6/00Apparatus or devices for radiation diagnosis; Apparatus or devices for radiation diagnosis combined with radiation therapy equipment
    • A61B6/02Arrangements for diagnosis sequentially in different planes; Stereoscopic radiation diagnosis
    • A61B6/025Tomosynthesis
    • AHUMAN NECESSITIES
    • A61MEDICAL OR VETERINARY SCIENCE; HYGIENE
    • A61BDIAGNOSIS; SURGERY; IDENTIFICATION
    • A61B6/00Apparatus or devices for radiation diagnosis; Apparatus or devices for radiation diagnosis combined with radiation therapy equipment
    • A61B6/02Arrangements for diagnosis sequentially in different planes; Stereoscopic radiation diagnosis
    • A61B6/03Computed tomography [CT]
    • A61B6/032Transmission computed tomography [CT]
    • AHUMAN NECESSITIES
    • A61MEDICAL OR VETERINARY SCIENCE; HYGIENE
    • A61BDIAGNOSIS; SURGERY; IDENTIFICATION
    • A61B6/00Apparatus or devices for radiation diagnosis; Apparatus or devices for radiation diagnosis combined with radiation therapy equipment
    • A61B6/40Arrangements for generating radiation specially adapted for radiation diagnosis
    • A61B6/4064Arrangements for generating radiation specially adapted for radiation diagnosis specially adapted for producing a particular type of beam
    • A61B6/4085Cone-beams
    • AHUMAN NECESSITIES
    • A61MEDICAL OR VETERINARY SCIENCE; HYGIENE
    • A61BDIAGNOSIS; SURGERY; IDENTIFICATION
    • A61B6/00Apparatus or devices for radiation diagnosis; Apparatus or devices for radiation diagnosis combined with radiation therapy equipment
    • A61B6/50Apparatus or devices for radiation diagnosis; Apparatus or devices for radiation diagnosis combined with radiation therapy equipment specially adapted for specific body parts; specially adapted for specific clinical applications
    • A61B6/502Apparatus or devices for radiation diagnosis; Apparatus or devices for radiation diagnosis combined with radiation therapy equipment specially adapted for specific body parts; specially adapted for specific clinical applications for diagnosis of breast, i.e. mammography
    • GPHYSICS
    • G21NUCLEAR PHYSICS; NUCLEAR ENGINEERING
    • G21KTECHNIQUES FOR HANDLING PARTICLES OR IONISING RADIATION NOT OTHERWISE PROVIDED FOR; IRRADIATION DEVICES; GAMMA RAY OR X-RAY MICROSCOPES
    • G21K1/00Arrangements for handling particles or ionising radiation, e.g. focusing or moderating
    • G21K1/02Arrangements for handling particles or ionising radiation, e.g. focusing or moderating using diaphragms, collimators
    • AHUMAN NECESSITIES
    • A61MEDICAL OR VETERINARY SCIENCE; HYGIENE
    • A61BDIAGNOSIS; SURGERY; IDENTIFICATION
    • A61B6/00Apparatus or devices for radiation diagnosis; Apparatus or devices for radiation diagnosis combined with radiation therapy equipment
    • A61B6/54Control of apparatus or devices for radiation diagnosis
    • HELECTRICITY
    • H01ELECTRIC ELEMENTS
    • H01JELECTRIC DISCHARGE TUBES OR DISCHARGE LAMPS
    • H01J2235/00X-ray tubes
    • H01J2235/16Vessels
    • H01J2235/165Shielding arrangements
    • HELECTRICITY
    • H01ELECTRIC ELEMENTS
    • H01JELECTRIC DISCHARGE TUBES OR DISCHARGE LAMPS
    • H01J35/00X-ray tubes
    • H01J35/02Details
    • H01J35/04Electrodes ; Mutual position thereof; Constructional adaptations therefor
    • H01J35/08Anodes; Anti cathodes
    • H01J35/112Non-rotating anodes
    • H01J35/116Transmissive anodes

Definitions

  • the present invention relates to an X-ray generating tube for use in various imaging operations for, for example, diagnosis in a medical field and nondestructive inspection in an industrial field, as well as an X-ray generating apparatus including the X-ray generating tube and a radiography system including the X-ray generating apparatus.
  • Radiography apparatuses equipped with an X-ray generating apparatus are required to detect a minute region in which biological tissue has changed, such as calcified tissue, which is a premonitory symptom of a lesion, by improving imaging resolution to provide high-definition images.
  • One of the main factors in determining the imaging resolution of X-ray generating apparatuses is the focal spot size of a target serving as an X-ray generation source.
  • the "X-ray generation efficiency" of the target is less than 1%, and most of energy given to the target is converted to heat.
  • the lower limit of the focal spot diameter of the target actually depends on "anode current density”, "heat-resisting performance of the target”, “heat-radiating performance of the target”, and "X-ray generation efficiency" at the focal point.
  • a known method for increasing "X-ray generation efficiency" is forming a transmission target with a thin target layer containing heavy metal and a base material that transmits X-rays and supports the target layer.
  • PTL 1 discloses a transmission target of a rotary anode type whose "X-ray generation efficiency" is increased to 1.5 times or more as high as that of a conventional reflection target of a rotary anode type.
  • the X-ray generating tube uses a transmission target that generates X-rays by applying an electron beam to an electron-irradiated surface of the target from an electron emitting source and releases the generated X-rays through an exit surface opposite to the electron-irradiated surface.
  • a known method for enhancing the "heat-radiating performance" and the "heat-resisting performance” of the transmission target is employing diamond as a base material for supporting a target layer of a transmission target.
  • PTL 2 discloses a method for enhancing the heat-radiating performance by using diamond as a base material that supports a target layer made of tungsten to form a minute focal spot. Diamond is suitable for the support substrate of the transmission target because of its high heat-resisting performance, high heat-conducting performance, and high X-ray transmitting performance.
  • PTL 3 discloses an X-ray generating tube including a tubular anode member and a target disposed in an intermediate point of the hole of the tubular anode member obliquely with respect to the longitudinal direction of the hole so as to increase the area of heat transfer, thereby decreasing the heat resistance of the joint portion between the target and the anode member.
  • the tubular anode member disclosed in PTL 3 serves also as a shield that blocks part of X-rays generated at the target and extracts the X-rays as an X-ray beam having a predetermined radiation angle through one end of the hole.
  • the X-ray generating tube disclosed in PTL 3 further includes a tubular shield that holds the target.
  • the tubular shield includes a backward shield member extending toward the electron emitting source with respect to an electron-irradiated surface of the target, with an electron passage left, and a forward shield member extending toward the electron emitting source, with an X-ray passage left.
  • the X-ray generating tube including the backward shield member and the forward shield member, as disclosed in PTL 3 sometimes has the problem of changing in the shape of the focal spot, viewed from an X-ray irradiation area, to increase in the focal spot size as compared with a primary focal spot of an electron beam formed on the electron-irradiated surface.
  • the present invention provides an X-ray generating tube including a forward shield member and a backward shield member, in which a target is disposed such that its electron-irradiated surface is at an angle with respect to the electron beam axis, and in which deformation of an X-ray intensity distribution and an increase in the focal spot diameter, which hinder size reduction of the focal spot, are reduced.
  • the present invention provides an X-ray generating apparatus and a radiography system in which deformation of an X-ray intensity distribution in an X-ray irradiation area and an increase in a focal spot diameter are reduced.
  • the present invention provides an X-ray generating tube including a transmission target having a first surface and a second surface opposite to the first surface, the first surface being irradiated with an electron beam, and the target generating X-rays from the second surface; an electron emitting source emitting the electron beam in such a manner that the electron beam obliquely enters the first surface; and a tubular forward shield member located at the second surface side of the target to define an extraction angle of an extracted X-ray beam.
  • the forward shield member is disposed such that a central axis of the electron beam and a central axis of the X-ray beam whose extraction angle is defined are located at the same side with respect to a virtual normal plane perpendicular to the first surface and a projection central axis that is a projection of the central axis of the electron beam to the first surface.
  • the present invention provides an X-ray generating apparatus including the X-ray generating tube according to an embodiment of the present invention; insulating fluid; a container accommodating the X-ray generating tube and the insulating fluid; and a drive circuit electrically connected to the X-ray generating tube, the drive circuit applying a voltage signal to the X-ray tube to control generation of X-rays, wherein the insulating fluid is in contact with the X-ray tube and the container.
  • the present invention provides a radiography system including the X-ray generating apparatus according to an embodiment of the present invention; an X-ray detecting unit configured to detect X-rays radiated from the X-ray generating apparatus and passed through a subject; and a control unit configured to control the X-ray generating apparatus and the X-ray detecting unit cooperatively.
  • disposing the central axis of an electron beam incident on a transmission target and the central axis of X-rays to be extracted so as to satisfy specific geometric relationship allows the center of the primary focal spot and the center of the secondary focal spot viewed from an X-ray irradiation area to be aligned. This can reduce an increase in the size of the focal spot due to a secondary focal spot.
  • Fig. 1 is a cross-sectional view of an X-ray tube according to an embodiment of the present invention.
  • Fig. 2A is a configuration diagram illustrating an X-ray generating apparatus according to an embodiment of the present invention.
  • Fig. 2B is a configuration diagram illustrating an X-ray generating apparatus according to another embodiment of the present invention.
  • Fig. 2C is a configuration diagram illustrating a radiography system according to an embodiment of the present invention.
  • Fig. 3A is a diagram illustrating a mammography system according to an embodiment of the present invention.
  • Fig. 3B is a diagram illustrating a computed tomographic mammography system according to an embodiment of the present invention.
  • FIG. 4A is an enlarged cross-sectional view of an anode structure according to an embodiment of the present invention.
  • Fig. 4B is a projection diagram of an electron-irradiated surface.
  • Fig. 4C is a graph showing a combined X-ray intensity distribution.
  • Fig. 5A is a cross-sectional view showing the relation of a connection between a target and a shield relating to a first technical feature of the present invention.
  • Fig. 5B is a cross-sectional view showing the relation of another connection between the target and the shield relating to the first feature of the present invention.
  • Fig. 5C is a perspective view of the anode in Fig. 5A.
  • Fig. 5D is a perspective view of the anode in Fig. 5B.
  • FIG. 5E is a diagram showing the electron-beam incidence-angle-theta dependency of a primary foal spot area.
  • Fig. 6A is a cross-sectional view of an anode relating to a second technical feature of the present invention.
  • Fig. 6B is a graph showing the exit-angle-PHI dependency of an apparent primary focal spot size Sfsa viewed from a detector.
  • Fig. 7A is a projection diagram of an electron-irradiated surface of an embodiment relating to a third technical feature of the present invention.
  • Fig. 7B is a graph showing the azimuth-angle-PSI dependency of the aspect ratio of the primary focal spot viewed from a detector.
  • FIG. 8A is a cross-sectional view of an anode of a reference example having no third technical feature.
  • Fig. 8B is a graph showing a combined X-ray intensity distribution.
  • Fig. 8C is a projection diagram of the electron-irradiated surface.
  • Fig. 9A is a cross-sectional view of a forward shield member according to an embodiment of the present invention.
  • Fig. 9B is a cross-sectional view of a forward shield member according to another embodiment of the present invention.
  • an X-ray generating tube according to an embodiment of the present invention and examples of application of the X-ray generating tube, that is, an X-ray generating apparatus, a radiography apparatus, a mammography system, and a computed tomographic mammography system, will be described.
  • an X-ray generating tube 1 includes an electron emitting source 3 in a vacuum container 2.
  • the electron emitting source 3 generally includes an electron emitting portion 27, a grid electrode, and a lens electrode.
  • the X-ray generating tube 1 further includes a target 4 at a position facing the electron emitting portion 27.
  • the target 4 is a transmission target having the function of generating X-rays and an X-ray transmission property for extracting the generated X-rays in a direction opposite to the electron emitting source 3.
  • the vacuum container 2 may have an extraction window through which the X-rays exit outside the vacuum container 2.
  • the vacuum container 2 is an air-tight container including an insulating tube, an anode 32, and a cathode 33, described later, whose internal space is decompressed into a vacuum. At least one of the anode 32 and the cathode 33 and the insulating tube are airtightly joined together with a ring-shaped joint. The insulating tube and the anode 32 or the cathode 32 are joined by brazing.
  • the insulating tube may be formed with a ceramic material, such as alumina or zirconia, or a glass material, such as high-strain-point glass.
  • the cathode 33 is a potential determinant for the X-ray tube 1 opposed to the anode 32 described later and determines the space charge in the vacuum container 2.
  • the electron emitting source 3 and the cathode member 22 are electrically and airtightly joined by brazing or welding.
  • the cathode 33 may also serve as an electrode terminal that establishes electrical connection with a cathode-potential determining node provided outside the X-ray tube 1.
  • the transmission target 4 is a layered product formed of a target layer 6 made of a target material that generates X-rays by application of electrons and a support substrate 5 that supports the target layer 6 and transmits the X-rays generated from the target layer 6.
  • the transmission target 4 is opposed to the electron emitting source 3 including the electron emitting portion 27 and has the target layer 6 at the side facing the electron emitting source 3.
  • a surface of the transmission target 4 facing the electron emitting source 3 is referred to as an electron-irradiated surface 7, and a surface opposed thereto is referred to as a radiation surface 8.
  • the support substrate 5 is made of a material having high X-ray transmittance and thermal conductivity.
  • Examples of the support substrate 5 include beryllium, diamond, and silicon carbide.
  • the target layer 6 is made of a material that generates X-rays by application of electrons.
  • the target layer 6 contains target metal with an atomic number of 42 or greater so as to efficiently generate X-rays.
  • Examples of a metal-containing material for the target layer 6 include pure metal, alloys, solid solutions, metal oxide, metal nitride, and metal carbide.
  • Examples of the target metal include tungsten, tantalum, and molybdenum.
  • the transmission target 4 constitutes the anode 32 together with an anode member 21 and a shield 9.
  • the anode 32 is a potential determinant for the X-ray tube 1 opposed to the cathode 33, described above, and determines the space charge in the vacuum container 2.
  • the anode 32 of this embodiment also serves as an electrode terminal that establishes electrical connection with an anode-potential determining node provided outside the X-ray tube 1.
  • the anode member 21 serves both as an electrode and a structural material for the vacuum container 2.
  • the anode member 21 is made of metal, such as KOVAR, Monel, or stainless steel, in consideration of heat resistance in the process of manufacture and in the operation of the X-ray generating tube 1, coefficient-of-linear-expansion matching with an insulating tube, and so on.
  • the shield 9 is a member disposed close to the target 4 to block a part of unnecessary X-rays generated in the target 4.
  • the shield 9 is made of a heavy metal element, such as tungsten, tantalum, molybdenum, gold, copper, or silver.
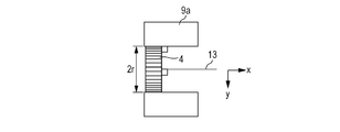
  • the shield 9 is composed of a backward shield member 9a and a forward shield member 9b with respect to the electron-irradiated surface 7 of the target 4.
  • the backward shield member 9a is a portion of the shield 9 extending from a position intersecting the electron-irradiated surface 7 toward the electron emitting source 3 (hereinafter referred to as "the back of the target" in this description) in such a manner as to enclose the electron-irradiated surface 7 except an electron beam passage 10 that allows an electron beam to pass through.
  • the forward shield member 9b is a portion of the shield 9 extending from a position intersecting the electron-irradiated surface 7 in a direction away from the electron emitting source 3 (hereinafter referred to as "in front of the target" in this description) in such a manner as to enclose the radiation surface 8 except an x-ray passage 11 that allows X-rays to pass through.
  • the backward shield member 9a is connected to an opening in the anode member 21, with its outer periphery enclosed by the anode member 21, to constitute part of the anode 32.
  • airtight and electrical connection is established by brazing, welding, or the like.
  • the backward shield member 9a has the function of blocking part of X-rays released to the back of the target 4, of X-rays radiated by application of an electron beam 23 to the electron-irradiated surface 7.
  • the backward shield member 9a also has the function of limiting the range of scattering of backward scattered electrons generated at the electron-irradiated surface 7 because of its position close to the target 4.
  • the forward shield member 9b has an opening 25 that defines the direction and area of radiation of X-rays generated at the target 4. This configuration allows the X-rays that have passed through the forward shield member 9b are extracted forward of the target 4 as an X-ray beam 19 whose extraction angle LAMBDA is defined.
  • the backward shield member 9a and the forward shield member 9b are joined together as separate objects. Alternatively, they may be a single object, or at least one of them may be a combined material composed of a plurality of members.
  • this embodiment can provide an X-ray tube in which undesired leakage of X-rays is reduced and a compact lightweight X-ray generating apparatus.
  • FIG. 2A an X-ray generating apparatus 101 according to an embodiment of the present invention will be described.
  • the X-ray generating apparatus 101 includes the X-ray generating tube 1, insulating fluid 107 in contact with the X-ray generating tube 1, and a container 105 that accommodates them.
  • the X-ray generating apparatus 101 may have a movable x-ray limiting unit 103 as necessary.
  • the X-ray generating apparatus 101 shown in Fig. 2A further includes a drive circuit 104 that drives the X-ray generating tube 1 by applying a voltage signal.
  • the container 105 is a container made of a metal material, such as brass or stainless steel, and has a heat-releasing structure for releasing heat generated in the X-ray tube 1 to the outside of the container 105 through the insulating fluid 107, described later.
  • the container 105 may have the function of reducing discharge between it and various components disposed therearound by connecting with a predetermined potential determining node.
  • the container 105 may have an extraction window 106 for extracting X-rays emitted from the X-ray tube 1 to the outside, as shown in Fig. 2A.
  • a space in the container 105 is filled with the insulating fluid 107 serving as a cooling medium for the X-ray tube 1.
  • the insulating fluid 107 is in contact with both the X-ray tube 1 and the inner surface of the container 105.
  • Examples of the insulating fluid 107 include gas and liquid having an electrically insulating property irrespective of its thermodynamic phase.
  • the insulating property of the insulating fluid 107 offers the action of electrical insulation among the container 105, the drive circuit 104, and wires (not shown).
  • Examples of insulating gas include air, nitride, and sulfur hexafluoride (SF 6 ).
  • An example of insulating liquid is electrical insulating oil; specifically, mineral oil, silicon oil, and perfluoropolymer oil.
  • the drive circuit 104 is electrically connected to the electron emitting source 3 of the X-ray generating tube 1 and the target layer 6 of the target 4 and applies voltage thereto to control generation of X-rays.
  • X-rays generated when an electron beam is emitted from the electron emitting source 3 to the target 4 with the drive circuit 104 pass through the support substrate 5 of the target 4 and are radiated from the X-ray generating tube 1.
  • the drive circuit 104 of this embodiment is accommodated in the container 105, the drive circuit 104 may be disposed outside the container 105 by providing the container 105 with an opening through which a driving wire is passed or a connection terminal connected to the driving wire.
  • Fig. 2B shows a modification of the X-ray generating apparatus 101 shown in Fig. 2A.
  • the anode member 32 is configured such that part of the backward shield member 9a, except the target 4 and the forward shield member 9b, is accommodated in the container 105.
  • the metal member constituting the wall of the container 105 and the outer periphery of the backward shield member 9a are connected so as to transfer heat. This allows heat generated from the target 4 to be efficiently transferred to the container 105 and to be released outside the X-ray generating apparatus 101.
  • the heat-transferring connection is achieved by a joint method that does not significantly hinder heat transfer between the metal components, such as brazing, welding, or thermal fusion.
  • the X-ray generating apparatus 101 having the X-ray generating tube 1 provides an X-ray beam with a minute focal spot.
  • the radiography system includes the X-ray generating apparatus 101, described above, an X-ray detecting unit 201 that detects X-rays that have passed through a subject 204, a system control unit 202, and a display unit 203.
  • the system control unit 202 controls the X-ray generating apparatus 101 and the X-ray detecting unit 201 cooperatively.
  • the drive circuit 104 outputs various control signal to the X-ray generating tube 1 under the control of the system control unit 202. With these control signals, the radiation state of X-rays to be radiated from the X-ray generating apparatus 101 is controlled.
  • the X-rays radiated from the X-ray generating apparatus 101 pass through the subject 204 and are detected by a detector 206.
  • the detector 206 converts the detected X-rays to an image signal and outputs the image signal to a signal processing portion 205.
  • the signal processing portion 205 processes the image signal under the control of the system control unit 202 and outputs the processed image signal to the system control unit 202.
  • the system control unit 202 outputs a display signal for displaying an image to the display unit 203 on the bases of the processed image signal.
  • the display unit 203 displays the image based on the display signal on a screen as an image of the subject 204.
  • the X-ray imaging system of an embodiment of the present invention can be used as a radiography system.
  • the radiography system can be used for nondestructive inspection of industrial products and pathological diagnosis of human and animal bodies.
  • FIG. 3A A specific example of the radiography system according to the embodiment of the present invention is a mammography system shown in Fig. 3A.
  • the X-ray generating apparatus 101 according an embodiment of the present invention is mounted to an upper part of a support stand 301, with X-ray radiation directed downward.
  • the X-ray generating apparatus 101 is disposed such that the target 4 is closer to the subject, and the electron emitting source 3 is opposite thereto in the X-ray generating tube 1.
  • a pressure plate 302 is mounted below the X-ray generating apparatus 101 in such a manner as to be vertically movable along the support stand 301, and the detector 206 is disposed below the pressure plate 302.
  • the detector 206 may be a flat panel detector (FPD). Irradiating the subject or a breast sandwiched between the detector 206 and the pressure plate 302 with X-rays radiated from the X-ray generating apparatus 101 allows a two-dimensional image of the subject to be acquired.
  • FPD flat
  • the use of the X-ray mammography system equipped with the X-ray tube 1 of an embodiment of the present invention, as in this embodiment, can increase the accuracy of detection of minute calcification of early-stage breast cancer.
  • Fig. 3B illustrates an embodiment in which the X-ray generating apparatus 101 shown in Fig. 2B is applied to a cone beam computed tomography scanner (hereinafter referred to as a CBCT scanner) capable of acquiring a three-dimensional image.
  • a CBCT scanner cone beam computed tomography scanner
  • This embodiment is a computed tomographic mammography system that acquires a tomographic image of a breast, as shown in Fig. 3B.
  • the computed tomographic mammography system of this embodiment is disposed on a rotating table 401 rotatable about a rotation axis 404 such that the X-ray generating apparatus 101 and the X-ray detecting unit 201 are opposed, with the rotation axis 404 therebetween.
  • the X-ray generating apparatus 101 is disposed, with X-ray radiation directed to the X-ray detecting unit 201.
  • An examination table 402 on which a subject can lie face-down is provided above the X-ray generating apparatus 101 and the X-ray detecting unit 201.
  • the X-ray generating apparatus 101 is disposed such that the target 4 is closer to the examination table 402 (on the subject side) and the electron emitting source 3 is opposite thereto in the X-ray generating tube 1.
  • the examination table 402 has an examination hole 403, through which an image of the breast of the subject placed therein can be acquired, with the subject lying thereon.
  • the examination hole 403 is located between the X-ray generating apparatus 101 and the X-ray detecting unit 201.
  • a three-dimensional image of the subject can be acquired with the CBCT scanner by capturing images from 360-degree directions while rotating the rotating table 401 and processing the image information with a computer.
  • the embodiment shown in Fig. 3B includes the X-ray generating apparatus 101 shown in Fig. 2B, in which the target 4 and the shield 9 are located outside the vacuum container 2 that constitutes the X-ray tube and outside the container 105 constituting the X-ray generating apparatus.
  • This allows the embodiment to have the heat radiating action of the target 4 through the heat transferring connection with the above-described container 105, described above, and the action of heat exchange with the atmosphere through the shield 9 with the rotation of the X-ray generating apparatus 101.
  • the computed tomographic mammography system of this embodiment has an advantage in that the three-dimensional position of an early-stage calcified region of breast cancer can easily be identified.
  • the target 4 and the shield 9 are located between the container 105 and the examination table 402. This allows the tomographic mammography system to decrease in a blind area in the vicinity of the base of the breast of the subject, thereby preventing the breastbone from being exposed to the X-ray beam 19 radiated from the focal point of the target 4.
  • an anode structure including the transmission target which is a feature of the X-ray generating tube of an embodiment of the present invention
  • the anode structure of the X-ray generating tube of the embodiment of the present invention is characterized in the geometrical relationship between the electron beam axis, which is the central axis of an incident electron beam and the axis of an X-ray beam radiated from the target.
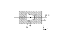
  • Fig. 4A is an enlarged cross-sectional view of the anode structure of the X-ray generating tube 1 shown in Fig. 1A.
  • Line IVB-IVB in Fig. 4A is located in the electron-irradiated surface 7.
  • Fig. 4B is a virtual cross-sectional view of the target 4 taken along line IVB-IVB in Fig. 4A, viewed from the back of the target 4.
  • an electron beam axis 12 which is the central axis of the electron beam 23, and an X-ray axis 15, which is the central axis of the X-ray beam 19, are orthographically projected in the virtual cross sectional view IVB-IVB.
  • the virtual cross-sectional view IVB-IVB also shows a primary focal spot 14, a normal 13 to the primary focal spot 14 starting from the center of the primary focal spot 14, and a virtual normal plane 20 in which a projection axis to which the electron beam axis 12 is orthographically projected to a virtual plane including the normal 13 is aligned with the normal 13.
  • the virtual normal plane 20 is a virtual plane that is perpendicular to a projection central axis in which the central axis 12 of the electron beam 23 is projected to the electron-irradiated surface 7 of the target 4 and that is perpendicular to the electron-irradiated surface 7.
  • FIG. 4A and 4B show the geometrical relationship between the electron beam axis 12 and the X-ray axis 15.
  • Fig. 4B is a diagram explaining the advantages of the present invention, which is given by a third technical feature, described later. The advantages of the third technical feature will be described later.
  • the center of the primary focal spot 14 is determined so as to coincide with the center of gravity of the area integral of the primary focal spot 14 and is connected to the electron beam axis 12 and the X-ray axis 15.
  • the X-ray beam 19 is regards as having a conical shape having a portion inscribed in a virtual cone defined by the primary focal spot 14 and the opening 25.
  • the anode structure of this embodiment has first to third technical features.
  • the first feature is that the X-ray generating tube 1 includes "an electron emitting source emitting the electron beam in such a manner that the electron beam obliquely enters the first surface".
  • the first technical feature corresponds to that the electron beam 23 is incident on the target 4 in such a manner that the electron beam axis 12 forms an incidence angle theta with the normal 13 (virtual normal plane 20) in Fig. 4A. Since Fig. 4A shows the anode structure in a partial enlarged view, the electron emitting source 3 shown in Fig. 1 is omitted.
  • the second technical feature is that "the X-ray beam is extracted obliquely with respect to the second surface".
  • the second technical feature corresponds to that the forward shield member 9b having the opening 25 at a position where the X-ray beam 19 is to be extracted in such a manner that the X-ray beam 19 forms an exit angle PHI with the normal 13 in Fig. 4A.
  • the third technical feature is that "the forward shield member is disposed such that a central axis of the electron beam and a central axis of the X-ray beam whose extraction angle is defined are located at the same side with respect to a virtual normal plane perpendicular to the first surface and a projection central axis that is a projection of the central axis of the electron beam to the first surface".
  • the third technical feature corresponds to that the central axis 12 of the electron beam 23 and the central axis 15 of the X-ray beam 19 have a turned-back relationship with respect to the electron-irradiated surface 7 (first surface) of the target 4 in Figs. 4A and 4B.
  • Figs. 5A and 5B are cross-sectional views of embodiments in which the transmission target 4 is connected to the backward shield member 9a so that the electron beam axis 12 are perpendicular and oblique to the electron-irradiated surface 7 of the target 4, respectively.
  • the incidence angles of the electron beam axis 12 shown in Figs. 5A and 5B are 0 degree and theta degrees, respectively.
  • the x-axis is parallel to the normal 13 to the electron-irradiated surface 7
  • the y-axis is parallel to the electron-irradiated surface 7.
  • Figs. 5C and 5D show the embodiments in Figs.
  • FIG. 5A and 5B in perspective view, in which the primary focal spots 14 formed by incidence of an electron beam (not shown) and the areas Sfs of the primary focal spots 14 are shown.
  • Fig. 5E is an explanatory diagram illustrating the relationship among the areas Sfs of the primary focal spots 14, shown in Figs. 5C and 5D, the diameter R of the electron beam, and the incidence angle theta.
  • Fig. 5E shows that the focal spot 14 expands in size to 1/cos theta times along y-axis, and the area of the focal spot 14 increases to 1/cos theta based on an incidence angle theta of the electron beam axis 12.
  • the first technical feature of the present invention allows the density of current at the primary focal spot 14 to be reduced without decreasing the density of current generated from the electron emitting source 3, thus allowing a thermal load on the target 4 to be reduced.
  • the shape of the electron beam 23 and the shape of the primary focal spot 14 having an incidence angle theta of 0 in Figs. 5C to 5E are circular, the effect of decreasing the current density due to the oblique incidence of the electron beam 23 can be provided in any beam/focal spot shape.
  • the first technical feature of the present invention offers the technical meaning of reducing the diameter R of the electron beam 23.
  • Fig. 6A is a schematic configuration diagram in which a beam-profile measuring device 60 for observing the shape of the primary focal spot 14 is provided at a position of an exit angle PHI of the transmission target 4 with respect to the normal 13.
  • Fig. 6B is a graph showing the exit angle PHI dependency of an apparent primary focal spot size Sfsa viewed from a detector.
  • the beam-profile measuring device 60 shown in Fig. 6A includes a pinhole member having a pinhole with a diameter sufficiently smaller than the focal spot diameter and an X-ray detector 62 having an array of a plurality of X-ray detecting elements.
  • the use of the beam-profile measuring device 60 allows the shape of the X-ray beam 23, that is, the beam diameter and the X-ray intensity distribution of the X-ray beam 23 to be determined, thus providing an apparent focal spot size Sfsa viewed from the X-ray detector 62.
  • the horizontal axis represents the exit angle PHI
  • the left vertical axis represents an apparent focal spot size Sfsa(phi) viewed from the X-ray detector 62, normalized with the area Sfs(theta) of a primary focal spot formed on the electron-irradiated surface 7 with an electron beam 23 having an incidence angle theta.
  • the right vertical axis represents an apparent focal spot size Sfsa(phi) viewed from the X-ray detector 62, normalized with the area Sfs(0) of a primary focal spot formed on the electron-irradiated surface 7 with an electron beam 23 having an incidence angle theta of 0.
  • a geometrical relationship which the exit angle PHI is larger than the incidence angle theta can make the apparent focal spot size Sfsa(PHI) smaller than primary focal spot size an incidence angle theta of 0 Sfs(0).
  • the size Sfsa(PHI) of the apparent primary focal spot 14 viewed from the X-ray detector 62 can be made smaller than the size Sfs (0) of the primary focal spot 14 formed with the electron beam 23 having an incidence angle theta of 0 depending on the disposition of the opening 25, the target 4, and the electron emitting source 3. This allows the diameter of a focal spot obtained by designing an electronic lens to be reduced in size.
  • the apparent focal spot size Sfsa(phi) viewed from the X-ray detector 62 decreases monotonically as the exit angle PHI increases and reaches 0 at an exit angle phi of pi/2.
  • the normalized Sfsa(phi)/Sfs(0) is 1, thus allowing the size of the focal spot formed on the electron-irradiated surface 7, increased due to the incidence angle theta, to be recovered to that under the condition that the electron beam 23 is not obliquely incident thereon.
  • the first technical feature and the second technical feature allow a thermal load on the target 4 to be reduced without decreasing the current density of the focal spot and without increasing the focal spot size viewed from the X-ray detector 62, thus allowing the electron beam 23 to be decreased in diameter to provide a minute focal spot.
  • the third technical feature offers first technical meaning on the quality of the shape of the primary focal spot 14 and second technical meaning on a secondary focal spot generated outside the primary focal spot 14 to the X-ray generating apparatus 1 of the present invention.
  • the secondary focal spot is also referred to as an off-focal spot.
  • Fig. 7A is a virtual cross-sectional view of the electron-irradiated surface 7 taken along line VIIA-VIIA in Fig. 4A, to which the electron beam 23 and the X-ray beam 19 are orthographically projected.
  • Fig. 7B is a graph showing the azimuth-angle-PSI dependency of the aspect ratio AR of the primary focal spot 14 viewed from the X-ray detector 62.
  • Fig. 7A shows projections of the electron beam axis 12, the X-ray axis 15, the forward shield member 9b, and the opening 25, as well as the primary focal spot 14.
  • Fig. 7A also shows the virtual normal plane 20 in which an orthographical projection of the electron beam axis 12 to a virtual plane including the normal 13 is aligned with the normal 13.
  • the shape of the electron beam 23 having the electron beam axis 12 shown in Fig. 7A is circular.
  • the target layer 6 formed in a range including the primary focal spot 14 is omitted in Fig. 7A for understanding.
  • Fig. 7A illustrates the primary focal spot 14 formed on the electron-irradiated surface 7 by incidence of the electron beam 23 at the incidence angle theta.
  • the primary focal spot 14 shown in Fig. 7A has an oval shape extending in the y-axis direction.
  • the azimuth angle PSI is defined by the positional relationship among the target 4, the electron emitting source 3, and the opening 25 of the forward shield member 9b.
  • the primary focal spot 14 takes on the shapes shown at the right of Fig. 7B as apparent primary focal spots 71 viewed from the X-ray detector 62 depending on the azimuth angle PSI and the exit angle PHI.
  • Fig. 7B shows that the aspect ratio of the primary focal spot 71 viewed from the X-ray detector 62 changes depending on the azimuth angle PSI.
  • the aspect ratio of the primary focal spot 71 viewed from the X-ray detector 62 influences on the quality of images taken by the radiography apparatus and is preferably 1.
  • the condition on the azimuth angle PSI for the aspect ratio of 1 of the primary focal spot 71 viewed from the X-ray detector 62 is 0, pi(rad).
  • the quality on the shape of the primary focal spot 14 viewed from the X-ray detector 62 can be improved by defining the positional relationship among the target 4, the electron emitting source 3, and the opening 25 of the forward shield member 9b so that the electron beam 23 and the X-ray beam 19 are aligned, with the above relationship satisfied.
  • the third technical feature that offers the second technical meaning is that the azimuth angle PSI is set to 0 rad.
  • the third technical feature that offers the second technical meaning is that the target 4, the electron emitting source 3, and the opening 25 are disposed so that projections of the electron beam 23 and the X-ray beam 19 to the electron-irradiated surface 7 are aligned with each other in an antiparallel vector relationship in Fig. 4B.
  • Fig. 4B the projections of the X-ray beam 19 and the electron beam 23 to the electron-irradiated surface 7 are aligned.
  • the opening 25 of the forward shield member 9b is disposed with respect to the target 4 and the electron beam 23 so that the optical geometry shown in Fig. 4B is satisfied.
  • the X-ray intensity distribution in the vicinity of the center 16 of the primary focal spot 14 of the anode structure of this embodiment that satisfies such optical geometry is shown by the solid line in Fig. 4C.
  • the horizontal axis X in Fig. 4C indicates a direction included in a virtual plane including the normal 13 and the X-ray axis 15 and perpendicular to the X-ray axis 15.
  • Sign Xc on the horizontal axis X corresponds to a position where the X-ray axis 15 and the X-ray detector 62 coincide.
  • the profile of the solid line (the first line from the bottom) in Fig. 4C can be obtained with the beam-profile measuring device 60 disposed on an extension of the X-ray axis 15.
  • a beam profile measured with the beam-profile measuring device 60 disposed on the X-ray axis 15 of the transmission X-ray tube 1 including the backward shield member 9a, the transmission target 9b, and the forward shield member 9b is referred to as "combined X-ray intensity distribution".
  • the broken-line profile (the first line from the top) is the beam profile of X-rays radiated through the primary focal spot 14 and is obtained by applying the electron beam 23 to an anode structure (not shown) without the backward shield member 9a. Since the broken-line profile is caused by the electron-irradiated surface 7 and is not influenced by the backward shield member 9a, it is referred to as "X-ray intensity distribution of the electron-irradiated surface".
  • a close examination of the inventors shows that the "combined X-ray intensity distribution" and the "X-ray intensity distribution of the electron-irradiated surface” do not coincide in beam profile; the former shows higher intensity than the latter.
  • the difference between the "combined X-ray intensity distribution” and the "X-ray intensity distribution of the electron-irradiated surface” is expressed as the doted-line profile (the second line from the top) and has a maximum component at a predetermined X-coordinate.
  • the examination also shows that the X-coordinate indicating the maximum component of the dotted-line profile changes depending on the mutual positional relationship of the backward shield member 9a with the transmission target 4 and the opening 25.
  • the dotted-line profile depends on the backward shield member 9a.
  • the dotted-line profile is referred to as "X-ray intensity distribution of the backward shield member".
  • the average of the "X-ray intensity distribution of the backward shield member” is a few percent or lower of the "X-ray intensity distribution of the electron-irradiated surface”.
  • the "combined X-ray intensity distribution” viewed from the beam-profile measuring device 60, is deformed with respect to the center 16 of the primary focal spot 14 depending on the position of the backward shield member 9a, as shown by the solid line in Fig. 8B.
  • part of an electron beam 913 applied to an electron-irradiated surface 902 scatters to the back of a target 900 as backward scattered electrons.
  • the X-ray generating tube 1 may be configured such that the opening 25 is located at the electron emitting source 3 side with respect to the virtual normal plane 20 in which an orthogonal projection of the electron beam 23 to a virtual plane including the normal 13 of the target 4 and the center 16 of the primary focal spot 14 is aligned with the normal 13, as shown in Figs. 4A and 4B and Fig. 1.
  • the X-ray generating tube 1 may be configured such that a straight line connecting the center 17 of the secondary focal spot formed on the backward shield member 9a when backward scattered electrons scattered backwards through the primary focal spot 14 due to application of the electron beam 23 are incident on the backward shield member 9a and the center 16 of the primary focal spot 14 passes through the opening 25, as shown in Fig. 4A.
  • FIG. 9A and 9B the shape of the opening 25 of the forward shield member 9b in the case where the X-ray generating tube 1 with the anode structure shown in Fig. 4A is applied to the mammography system shown in Fig. 3A and the computed tomographic mammography system shown in Fig. 3B will be described.
  • Fig. 9A shows a cross-sectional view of the embodiment shown in Fig. 4A taken along line IXA-IXA.
  • Fig. 9A illustrates the forward shield member 9b having a rectangular opening 25 having vertices O, P, Q, and R and the normal 13 orthographically projected to the cross section IXA-IXA.
  • two opposing sides PR and OQ that define the opening 25 are perpendicular to a projection normal 24, thus allowing the detection range of a generally rectangular X-ray detector (not shown) and the irradiation range of the X-ray generating apparatus 101 to be aligned with high accuracy.
  • Fig. 9B shows a modification of the embodiment shown in Fig. 9A, in which the forward shield member 9b includes a trapezoidal opening 25 having vertices S, T, U, and V.
  • the two sides TU and SV defining the opening 25 are perpendicular to the projection normal 24.
  • the radiation range that becomes trapezoidal with an increase in the size of the X-ray beam with increasing distance from the focal spot can be corrected by adjusting the length ratio of the side TU to the side SV.
  • the primary focal spot 14 formed on the target layer 6 with the electron beam 23 is away from the backward shield member 9a.
  • parameters of the target layer 6 and the backward shield member 9a such as the densities, constituent elements, compositions, and angles to the electron beam 23, differ.
  • This causes the elementary process of scattering of electrons to differ between the medium of the target layer 6 and the medium of the backward shield member 9a.
  • This causes the quality of radiation on the target layer 6 and the backward shield member 9a to differ, which causes an off-focal spot, thus increasing the focal spot size effectively.
  • the X-ray generating tube may be separated from the backward shield member 9a as in the embodiment shown in Figs. 1 and 4A to make the primary focal spot 14 minute.

Landscapes

  • Health & Medical Sciences (AREA)
  • Life Sciences & Earth Sciences (AREA)
  • Engineering & Computer Science (AREA)
  • Medical Informatics (AREA)
  • Physics & Mathematics (AREA)
  • High Energy & Nuclear Physics (AREA)
  • Heart & Thoracic Surgery (AREA)
  • Public Health (AREA)
  • Optics & Photonics (AREA)
  • Pathology (AREA)
  • Radiology & Medical Imaging (AREA)
  • Biomedical Technology (AREA)
  • Biophysics (AREA)
  • Molecular Biology (AREA)
  • Surgery (AREA)
  • Animal Behavior & Ethology (AREA)
  • General Health & Medical Sciences (AREA)
  • Nuclear Medicine, Radiotherapy & Molecular Imaging (AREA)
  • Veterinary Medicine (AREA)
  • Dentistry (AREA)
  • Oral & Maxillofacial Surgery (AREA)
  • Pulmonology (AREA)
  • Theoretical Computer Science (AREA)
  • Spectroscopy & Molecular Physics (AREA)
  • General Engineering & Computer Science (AREA)
  • X-Ray Techniques (AREA)
  • Apparatus For Radiation Diagnosis (AREA)
PCT/JP2014/004659 2013-09-19 2014-09-10 X-ray generating tube, x-ray generating apparatus, and radiography system Ceased WO2015040829A1 (en)

Priority Applications (2)

Application Number Priority Date Filing Date Title
EP14846191.6A EP3050406B1 (en) 2013-09-19 2014-09-10 X-ray generating tube, x-ray generating apparatus, and radiography system
US15/022,905 US10105112B2 (en) 2013-09-19 2014-09-10 X-ray generating tube, X-ray generating apparatus, and radiography system

Applications Claiming Priority (2)

Application Number Priority Date Filing Date Title
JP2013-193903 2013-09-19
JP2013193903A JP6338341B2 (ja) 2013-09-19 2013-09-19 透過型放射線管、放射線発生装置及び放射線撮影システム

Publications (2)

Publication Number Publication Date
WO2015040829A1 true WO2015040829A1 (en) 2015-03-26
WO2015040829A4 WO2015040829A4 (en) 2015-07-23

Family

ID=52688495

Family Applications (1)

Application Number Title Priority Date Filing Date
PCT/JP2014/004659 Ceased WO2015040829A1 (en) 2013-09-19 2014-09-10 X-ray generating tube, x-ray generating apparatus, and radiography system

Country Status (4)

Country Link
US (1) US10105112B2 (enExample)
EP (1) EP3050406B1 (enExample)
JP (1) JP6338341B2 (enExample)
WO (1) WO2015040829A1 (enExample)

Cited By (2)

* Cited by examiner, † Cited by third party
Publication number Priority date Publication date Assignee Title
GB2523439A (en) * 2014-02-20 2015-08-26 Metal Ind Res & Dev Ct Radiation generating apparatus
WO2019011997A1 (fr) * 2017-07-11 2019-01-17 Thales Source génératrice de rayons ionisants compacte, ensemble comprenant plusieurs sources et procédé de réalisation de la source

Families Citing this family (19)

* Cited by examiner, † Cited by third party
Publication number Priority date Publication date Assignee Title
US20150117599A1 (en) * 2013-10-31 2015-04-30 Sigray, Inc. X-ray interferometric imaging system
US10295485B2 (en) 2013-12-05 2019-05-21 Sigray, Inc. X-ray transmission spectrometer system
USRE48612E1 (en) 2013-10-31 2021-06-29 Sigray, Inc. X-ray interferometric imaging system
US10039511B2 (en) * 2014-12-09 2018-08-07 Canon Kabushiki Kaisha Breast tomography system
JP6611428B2 (ja) * 2014-12-09 2019-11-27 キヤノン株式会社 マンモ断層撮像システム
US10453643B2 (en) * 2016-03-30 2019-10-22 Moxtek, Inc. Shielded, transmission-target, x-ray tube
JP6525941B2 (ja) 2016-10-28 2019-06-05 キヤノン株式会社 X線発生装置及び、x線撮影システム
WO2019236384A1 (en) 2018-06-04 2019-12-12 Sigray, Inc. Wavelength dispersive x-ray spectrometer
CN112470245B (zh) 2018-07-26 2025-03-18 斯格瑞公司 高亮度x射线反射源
WO2020051061A1 (en) 2018-09-04 2020-03-12 Sigray, Inc. System and method for x-ray fluorescence with filtering
US11056308B2 (en) 2018-09-07 2021-07-06 Sigray, Inc. System and method for depth-selectable x-ray analysis
US11152183B2 (en) 2019-07-15 2021-10-19 Sigray, Inc. X-ray source with rotating anode at atmospheric pressure
WO2022126071A1 (en) * 2020-12-07 2022-06-16 Sigray, Inc. High throughput 3d x-ray imaging system using a transmission x-ray source
US11901153B2 (en) * 2021-03-05 2024-02-13 Pct Ebeam And Integration, Llc X-ray machine
US11660359B2 (en) * 2021-04-19 2023-05-30 Varex Imaging Corporation Systems and methods for irradiation
CN113311472B (zh) * 2021-05-19 2024-05-10 中国原子能科学研究院 一种检测装置和粒子加速器
US12278080B2 (en) * 2022-01-13 2025-04-15 Sigray, Inc. Microfocus x-ray source for generating high flux low energy x-rays
US12360067B2 (en) 2022-03-02 2025-07-15 Sigray, Inc. X-ray fluorescence system and x-ray source with electrically insulative target material
US12181423B1 (en) 2023-09-07 2024-12-31 Sigray, Inc. Secondary image removal using high resolution x-ray transmission sources

Citations (5)

* Cited by examiner, † Cited by third party
Publication number Priority date Publication date Assignee Title
JPH07260713A (ja) * 1994-03-18 1995-10-13 Hitachi Ltd X線撮像装置
WO2005098871A1 (ja) * 2004-04-08 2005-10-20 Japan Science And Technology Agency X線用ターゲット及びそれを用いた装置
JP2007097610A (ja) * 2005-09-30 2007-04-19 Konica Minolta Medical & Graphic Inc X線画像撮影システム
JP2012124098A (ja) * 2010-12-10 2012-06-28 Canon Inc 放射線発生装置および放射線撮影装置
JP2012138168A (ja) * 2010-02-23 2012-07-19 Canon Inc 放射線発生装置および放射線撮像システム

Family Cites Families (2)

* Cited by examiner, † Cited by third party
Publication number Priority date Publication date Assignee Title
DE19934987B4 (de) 1999-07-26 2004-11-11 Fraunhofer-Gesellschaft zur Förderung der angewandten Forschung e.V. Röntgenanode und ihre Verwendung
WO2008060671A2 (en) 2006-04-20 2008-05-22 Multi-Dimensional Imaging, Inc. X-ray tube having transmission anode

Patent Citations (5)

* Cited by examiner, † Cited by third party
Publication number Priority date Publication date Assignee Title
JPH07260713A (ja) * 1994-03-18 1995-10-13 Hitachi Ltd X線撮像装置
WO2005098871A1 (ja) * 2004-04-08 2005-10-20 Japan Science And Technology Agency X線用ターゲット及びそれを用いた装置
JP2007097610A (ja) * 2005-09-30 2007-04-19 Konica Minolta Medical & Graphic Inc X線画像撮影システム
JP2012138168A (ja) * 2010-02-23 2012-07-19 Canon Inc 放射線発生装置および放射線撮像システム
JP2012124098A (ja) * 2010-12-10 2012-06-28 Canon Inc 放射線発生装置および放射線撮影装置

Cited By (3)

* Cited by examiner, † Cited by third party
Publication number Priority date Publication date Assignee Title
GB2523439A (en) * 2014-02-20 2015-08-26 Metal Ind Res & Dev Ct Radiation generating apparatus
WO2019011997A1 (fr) * 2017-07-11 2019-01-17 Thales Source génératrice de rayons ionisants compacte, ensemble comprenant plusieurs sources et procédé de réalisation de la source
FR3069099A1 (fr) * 2017-07-11 2019-01-18 Thales Source generatrice de rayons ionisants compacte, ensemble comprenant plusieurs sources et procede de realisation de la source

Also Published As

Publication number Publication date
US20160228076A1 (en) 2016-08-11
JP2015058180A (ja) 2015-03-30
EP3050406A4 (en) 2017-05-24
EP3050406A1 (en) 2016-08-03
EP3050406B1 (en) 2019-11-20
US10105112B2 (en) 2018-10-23
WO2015040829A4 (en) 2015-07-23
JP6338341B2 (ja) 2018-06-06

Similar Documents

Publication Publication Date Title
US10105112B2 (en) X-ray generating tube, X-ray generating apparatus, and radiography system
JP6080610B2 (ja) マルチ放射線発生装置および放射線撮影システム
US20170133192A1 (en) X-ray generator and x-ray imaging apparatus
US10265036B2 (en) Radiographic apparatus
JP6272043B2 (ja) X線発生管及びこれを用いたx線発生装置、x線撮影システム
CN107393793A (zh) X射线成像的系统和方法
CN111031917B (zh) X射线系统以及用于运行所述x射线系统的方法
JP4755005B2 (ja) X線管および非破壊検査装置
JP6821304B2 (ja) 電子銃、x線発生管、x線発生装置およびx線撮影システム
JP4601994B2 (ja) X線源及びその陽極
US20130266119A1 (en) Micro-focus x-ray generation apparatus and x-ray imaging apparatus
US20160379794A1 (en) X-ray generating unit and radiographic apparatus
US10376229B2 (en) Computed tomographic mammography system
JP2015114132A (ja) 放射線管及び放射線検査装置
JP2003151795A (ja) 面焦点x線管とポリキャピラリ−を用いた単色x線撮影装置
JP2021061251A (ja) X線発生管、x線発生装置およびx線撮影システム
KR102136062B1 (ko) 전계 방출형 토모신테시스 시스템
JP2006125881A (ja) X線発生器
JP6537679B2 (ja) 放射線管、放射線源及び放射線検査装置
JP2016001550A (ja) X線管装置及びx線ct装置
JP2015075358A (ja) 放射線検査装置
JP2015201262A (ja) X線発生装置及びx線撮影システム
JP2015150279A (ja) マンモ断層撮影装置
JP2014090984A (ja) 乳房x線撮影装置

Legal Events

Date Code Title Description
121 Ep: the epo has been informed by wipo that ep was designated in this application

Ref document number: 14846191

Country of ref document: EP

Kind code of ref document: A1

WWE Wipo information: entry into national phase

Ref document number: 15022905

Country of ref document: US

NENP Non-entry into the national phase

Ref country code: DE

REEP Request for entry into the european phase

Ref document number: 2014846191

Country of ref document: EP

WWE Wipo information: entry into national phase

Ref document number: 2014846191

Country of ref document: EP