WO2014181533A1 - Compound, photocurable composition, and methods for producing patterned film, optical component, circuit board, electronic component by using the photocurable composition, and cured product - Google Patents

Compound, photocurable composition, and methods for producing patterned film, optical component, circuit board, electronic component by using the photocurable composition, and cured product Download PDF

Info

Publication number
WO2014181533A1
WO2014181533A1 PCT/JP2014/002399 JP2014002399W WO2014181533A1 WO 2014181533 A1 WO2014181533 A1 WO 2014181533A1 JP 2014002399 W JP2014002399 W JP 2014002399W WO 2014181533 A1 WO2014181533 A1 WO 2014181533A1
Authority
WO
WIPO (PCT)
Prior art keywords
photocurable composition
mold
alkyl group
component
general formula
Prior art date
Legal status (The legal status is an assumption and is not a legal conclusion. Google has not performed a legal analysis and makes no representation as to the accuracy of the status listed.)
Ceased
Application number
PCT/JP2014/002399
Other languages
English (en)
French (fr)
Inventor
Toshiki Ito
Takeshi Honma
Shiori YONEZAWA
Hitoshi Sato
Youji Kawasaki
Current Assignee (The listed assignees may be inaccurate. Google has not performed a legal analysis and makes no representation or warranty as to the accuracy of the list.)
Canon Inc
Original Assignee
Canon Inc
Priority date (The priority date is an assumption and is not a legal conclusion. Google has not performed a legal analysis and makes no representation as to the accuracy of the date listed.)
Filing date
Publication date
Application filed by Canon Inc filed Critical Canon Inc
Priority to US14/889,793 priority Critical patent/US9593170B2/en
Priority to KR1020157034219A priority patent/KR101811116B1/ko
Priority to CN201480026291.XA priority patent/CN105189448B/zh
Publication of WO2014181533A1 publication Critical patent/WO2014181533A1/en
Anticipated expiration legal-status Critical
Ceased legal-status Critical Current

Links

Images

Classifications

    • CCHEMISTRY; METALLURGY
    • C08ORGANIC MACROMOLECULAR COMPOUNDS; THEIR PREPARATION OR CHEMICAL WORKING-UP; COMPOSITIONS BASED THEREON
    • C08FMACROMOLECULAR COMPOUNDS OBTAINED BY REACTIONS ONLY INVOLVING CARBON-TO-CARBON UNSATURATED BONDS
    • C08F2/00Processes of polymerisation
    • C08F2/46Polymerisation initiated by wave energy or particle radiation
    • C08F2/48Polymerisation initiated by wave energy or particle radiation by ultraviolet or visible light
    • C08F2/50Polymerisation initiated by wave energy or particle radiation by ultraviolet or visible light with sensitising agents
    • CCHEMISTRY; METALLURGY
    • C07ORGANIC CHEMISTRY
    • C07CACYCLIC OR CARBOCYCLIC COMPOUNDS
    • C07C217/00Compounds containing amino and etherified hydroxy groups bound to the same carbon skeleton
    • C07C217/02Compounds containing amino and etherified hydroxy groups bound to the same carbon skeleton having etherified hydroxy groups and amino groups bound to acyclic carbon atoms of the same carbon skeleton
    • C07C217/04Compounds containing amino and etherified hydroxy groups bound to the same carbon skeleton having etherified hydroxy groups and amino groups bound to acyclic carbon atoms of the same carbon skeleton the carbon skeleton being acyclic and saturated
    • C07C217/06Compounds containing amino and etherified hydroxy groups bound to the same carbon skeleton having etherified hydroxy groups and amino groups bound to acyclic carbon atoms of the same carbon skeleton the carbon skeleton being acyclic and saturated having only one etherified hydroxy group and one amino group bound to the carbon skeleton, which is not further substituted
    • C07C217/08Compounds containing amino and etherified hydroxy groups bound to the same carbon skeleton having etherified hydroxy groups and amino groups bound to acyclic carbon atoms of the same carbon skeleton the carbon skeleton being acyclic and saturated having only one etherified hydroxy group and one amino group bound to the carbon skeleton, which is not further substituted the oxygen atom of the etherified hydroxy group being further bound to an acyclic carbon atom
    • CCHEMISTRY; METALLURGY
    • C07ORGANIC CHEMISTRY
    • C07CACYCLIC OR CARBOCYCLIC COMPOUNDS
    • C07C217/00Compounds containing amino and etherified hydroxy groups bound to the same carbon skeleton
    • C07C217/02Compounds containing amino and etherified hydroxy groups bound to the same carbon skeleton having etherified hydroxy groups and amino groups bound to acyclic carbon atoms of the same carbon skeleton
    • C07C217/04Compounds containing amino and etherified hydroxy groups bound to the same carbon skeleton having etherified hydroxy groups and amino groups bound to acyclic carbon atoms of the same carbon skeleton the carbon skeleton being acyclic and saturated
    • C07C217/28Compounds containing amino and etherified hydroxy groups bound to the same carbon skeleton having etherified hydroxy groups and amino groups bound to acyclic carbon atoms of the same carbon skeleton the carbon skeleton being acyclic and saturated having one amino group and at least two singly-bound oxygen atoms, with at least one being part of an etherified hydroxy group, bound to the carbon skeleton, e.g. ethers of polyhydroxy amines
    • C07C217/40Compounds containing amino and etherified hydroxy groups bound to the same carbon skeleton having etherified hydroxy groups and amino groups bound to acyclic carbon atoms of the same carbon skeleton the carbon skeleton being acyclic and saturated having one amino group and at least two singly-bound oxygen atoms, with at least one being part of an etherified hydroxy group, bound to the carbon skeleton, e.g. ethers of polyhydroxy amines having at least two singly-bound oxygen atoms, with at least one being part of an etherified hydroxy group, bound to the same carbon atom of the carbon skeleton, e.g. amino-ketals, ortho esters
    • GPHYSICS
    • G02OPTICS
    • G02BOPTICAL ELEMENTS, SYSTEMS OR APPARATUS
    • G02B1/00Optical elements characterised by the material of which they are made; Optical coatings for optical elements
    • G02B1/10Optical coatings produced by application to, or surface treatment of, optical elements
    • G02B1/12Optical coatings produced by application to, or surface treatment of, optical elements by surface treatment, e.g. by irradiation
    • GPHYSICS
    • G03PHOTOGRAPHY; CINEMATOGRAPHY; ANALOGOUS TECHNIQUES USING WAVES OTHER THAN OPTICAL WAVES; ELECTROGRAPHY; HOLOGRAPHY
    • G03FPHOTOMECHANICAL PRODUCTION OF TEXTURED OR PATTERNED SURFACES, e.g. FOR PRINTING, FOR PROCESSING OF SEMICONDUCTOR DEVICES; MATERIALS THEREFOR; ORIGINALS THEREFOR; APPARATUS SPECIALLY ADAPTED THEREFOR
    • G03F7/00Photomechanical, e.g. photolithographic, production of textured or patterned surfaces, e.g. printing surfaces; Materials therefor, e.g. comprising photoresists; Apparatus specially adapted therefor
    • G03F7/0002Lithographic processes using patterning methods other than those involving the exposure to radiation, e.g. by stamping
    • HELECTRICITY
    • H01ELECTRIC ELEMENTS
    • H01LSEMICONDUCTOR DEVICES NOT COVERED BY CLASS H10
    • H01L21/00Processes or apparatus adapted for the manufacture or treatment of semiconductor or solid state devices or of parts thereof
    • H01L21/02Manufacture or treatment of semiconductor devices or of parts thereof
    • H01L21/02104Forming layers
    • H01L21/02107Forming insulating materials on a substrate
    • H01L21/02109Forming insulating materials on a substrate characterised by the type of layer, e.g. type of material, porous/non-porous, pre-cursors, mixtures or laminates
    • H01L21/02112Forming insulating materials on a substrate characterised by the type of layer, e.g. type of material, porous/non-porous, pre-cursors, mixtures or laminates characterised by the material of the layer
    • H01L21/02118Forming insulating materials on a substrate characterised by the type of layer, e.g. type of material, porous/non-porous, pre-cursors, mixtures or laminates characterised by the material of the layer carbon based polymeric organic or inorganic material, e.g. polyimides, poly cyclobutene or PVC
    • HELECTRICITY
    • H01ELECTRIC ELEMENTS
    • H01LSEMICONDUCTOR DEVICES NOT COVERED BY CLASS H10
    • H01L21/00Processes or apparatus adapted for the manufacture or treatment of semiconductor or solid state devices or of parts thereof
    • H01L21/02Manufacture or treatment of semiconductor devices or of parts thereof
    • H01L21/04Manufacture or treatment of semiconductor devices or of parts thereof the devices having potential barriers, e.g. a PN junction, depletion layer or carrier concentration layer
    • H01L21/18Manufacture or treatment of semiconductor devices or of parts thereof the devices having potential barriers, e.g. a PN junction, depletion layer or carrier concentration layer the devices having semiconductor bodies comprising elements of Group IV of the Periodic Table or AIIIBV compounds with or without impurities, e.g. doping materials
    • H01L21/30Treatment of semiconductor bodies using processes or apparatus not provided for in groups H01L21/20 - H01L21/26
    • H01L21/302Treatment of semiconductor bodies using processes or apparatus not provided for in groups H01L21/20 - H01L21/26 to change their surface-physical characteristics or shape, e.g. etching, polishing, cutting
    • H01L21/306Chemical or electrical treatment, e.g. electrolytic etching
    • H01L21/308Chemical or electrical treatment, e.g. electrolytic etching using masks
    • H01L21/3081Chemical or electrical treatment, e.g. electrolytic etching using masks characterised by their composition, e.g. multilayer masks, materials
    • HELECTRICITY
    • H01ELECTRIC ELEMENTS
    • H01LSEMICONDUCTOR DEVICES NOT COVERED BY CLASS H10
    • H01L21/00Processes or apparatus adapted for the manufacture or treatment of semiconductor or solid state devices or of parts thereof
    • H01L21/02Manufacture or treatment of semiconductor devices or of parts thereof
    • H01L21/04Manufacture or treatment of semiconductor devices or of parts thereof the devices having potential barriers, e.g. a PN junction, depletion layer or carrier concentration layer
    • H01L21/18Manufacture or treatment of semiconductor devices or of parts thereof the devices having potential barriers, e.g. a PN junction, depletion layer or carrier concentration layer the devices having semiconductor bodies comprising elements of Group IV of the Periodic Table or AIIIBV compounds with or without impurities, e.g. doping materials
    • H01L21/30Treatment of semiconductor bodies using processes or apparatus not provided for in groups H01L21/20 - H01L21/26
    • H01L21/31Treatment of semiconductor bodies using processes or apparatus not provided for in groups H01L21/20 - H01L21/26 to form insulating layers thereon, e.g. for masking or by using photolithographic techniques; After treatment of these layers; Selection of materials for these layers
    • H01L21/3105After-treatment
    • H01L21/311Etching the insulating layers by chemical or physical means
    • HELECTRICITY
    • H05ELECTRIC TECHNIQUES NOT OTHERWISE PROVIDED FOR
    • H05KPRINTED CIRCUITS; CASINGS OR CONSTRUCTIONAL DETAILS OF ELECTRIC APPARATUS; MANUFACTURE OF ASSEMBLAGES OF ELECTRICAL COMPONENTS
    • H05K3/00Apparatus or processes for manufacturing printed circuits
    • H05K3/0073Masks not provided for in groups H05K3/02 - H05K3/46, e.g. for photomechanical production of patterned surfaces
    • H05K3/0076Masks not provided for in groups H05K3/02 - H05K3/46, e.g. for photomechanical production of patterned surfaces characterised by the composition of the mask
    • HELECTRICITY
    • H05ELECTRIC TECHNIQUES NOT OTHERWISE PROVIDED FOR
    • H05KPRINTED CIRCUITS; CASINGS OR CONSTRUCTIONAL DETAILS OF ELECTRIC APPARATUS; MANUFACTURE OF ASSEMBLAGES OF ELECTRICAL COMPONENTS
    • H05K3/00Apparatus or processes for manufacturing printed circuits
    • H05K3/0073Masks not provided for in groups H05K3/02 - H05K3/46, e.g. for photomechanical production of patterned surfaces
    • H05K3/0079Masks not provided for in groups H05K3/02 - H05K3/46, e.g. for photomechanical production of patterned surfaces characterised by the method of application or removal of the mask
    • HELECTRICITY
    • H05ELECTRIC TECHNIQUES NOT OTHERWISE PROVIDED FOR
    • H05KPRINTED CIRCUITS; CASINGS OR CONSTRUCTIONAL DETAILS OF ELECTRIC APPARATUS; MANUFACTURE OF ASSEMBLAGES OF ELECTRICAL COMPONENTS
    • H05K3/00Apparatus or processes for manufacturing printed circuits
    • H05K3/0073Masks not provided for in groups H05K3/02 - H05K3/46, e.g. for photomechanical production of patterned surfaces
    • H05K3/0082Masks not provided for in groups H05K3/02 - H05K3/46, e.g. for photomechanical production of patterned surfaces characterised by the exposure method of radiation-sensitive masks
    • HELECTRICITY
    • H05ELECTRIC TECHNIQUES NOT OTHERWISE PROVIDED FOR
    • H05KPRINTED CIRCUITS; CASINGS OR CONSTRUCTIONAL DETAILS OF ELECTRIC APPARATUS; MANUFACTURE OF ASSEMBLAGES OF ELECTRICAL COMPONENTS
    • H05K3/00Apparatus or processes for manufacturing printed circuits
    • H05K3/30Assembling printed circuits with electric components, e.g. with resistor
    • HELECTRICITY
    • H05ELECTRIC TECHNIQUES NOT OTHERWISE PROVIDED FOR
    • H05KPRINTED CIRCUITS; CASINGS OR CONSTRUCTIONAL DETAILS OF ELECTRIC APPARATUS; MANUFACTURE OF ASSEMBLAGES OF ELECTRICAL COMPONENTS
    • H05K2203/00Indexing scheme relating to apparatus or processes for manufacturing printed circuits covered by H05K3/00
    • H05K2203/05Patterning and lithography; Masks; Details of resist
    • H05K2203/0548Masks

Definitions

  • the present invention relates to a compound, a photocurable composition, and methods for producing a patterned film, an optical component, a cured product, a circuit board, and an electronic component by using the photocurable composition.
  • a photo-(nano)imprint method is one of the techniques for producing patterned resist films on substrates such as processing substrates.
  • a photo-(nano)imprint method that includes a long irradiation step has a disadvantage of low productivity. If force (mold releasing force) required to separate a mold from a cured resist is large, various problems such as defects in the pattern and degradation of alignment accuracy resulting from detachment of a substrate from a stage can occur.
  • Japanese Patent Laid-Open No. 2010-114209 discloses a photo-(nano)imprint method in which a hydrogen donor is added to a photocurable composition to improve the photocuring rate.
  • Japanese Patent Laid-Open No. 2007-084625 discloses a technique of adding a fluorine-based surfactant to a photocurable composition to decrease the mold releasing force.
  • a further improvement on photocuring rate is needed to improve the productivity and a technique that can further decrease the mold releasing force from the mold is in demand.
  • the present invention provides a compound represented by general formula (1).
  • R f represents an alkyl group at least part of which is substituted with fluorine
  • R O represents an oxyalkylene group or a repeated structure of an oxyalkylene group
  • N represents a nitrogen atom
  • R A represents an alkyl group
  • R B represents an alkyl group or a hydrogen atom.
  • the present invention can provide a photocurable composition having high sensitivity capable of forming a cured product that can be released from a mold with less force, a compound that realizes such properties, and methods for producing a film, an optical component, a circuit board, and an electronic component by using the photocurable composition.
  • Fig. 1A is a schematic cross-sectional view showing an example of a method for producing a film according to one embodiment.
  • Fig. 1B includes schematic cross-sectional views showing an example of a method for producing a film according to one embodiment.
  • Fig. 1C includes schematic cross-sectional views showing an example of a method for producing a film according to one embodiment.
  • Fig. 1D is a schematic cross-sectional view showing an example of a method for producing a film according to one embodiment.
  • Fig. 1E is a schematic cross-sectional view showing an example of a method for producing a film according to one embodiment.
  • Fig. 1F is a schematic cross-sectional view showing an example of a method for producing a film according to one embodiment.
  • Fig. 2 is a schematic diagram showing an attenuated total reflection infrared spectrometer equipped with an irradiation mechanism.
  • a photocurable composition according to one embodiment contains a component (A), a component (B), and a component (C): (A) a polymerizable compound (B) a photopolymerization initiator (C) a hydrogen donor represented by general formula (1) below.
  • R f represents an alkyl group at least part of which is substituted with fluorine
  • R O represents an oxyalkylene group or a repeated structure of an oxyalkylene group
  • N represents a nitrogen atom
  • R A represents an alkyl group
  • R B represents an alkyl group or a hydrogen atom.
  • the component (A) is a polymerizable compound.
  • a polymerizable compound is a compound that reacts with a polymerizing factor (such as a radical) generated from a photopolymerization initiator (component (B) described below) and forms a film of a polymer compound as a result of chain reaction (polymerization reaction).
  • polymerizable compound examples include radical polymerizable compounds.
  • the polymerizable compound used as the component (A) may be constituted by one polymerizable compound or two or more polymerizable compounds.
  • the radical polymerizable compound may be a compound having one or more acryloyl groups or methacryloyl groups.
  • Examples of a monofunctional (meth)acryl compound having one acryloyl group or a methacryloyl group include, but are not limited to, phenoxyethyl (meth)acrylate, phenoxy-2-methyl ethyl (meth)acrylate, phenoxy ethoxy ethyl (meth)acrylate, 3-phenoxy-2-hydroxy propyl (meth)acrylate, 2-phenyl phenoxy ethyl (meth)acrylate, 4-phenyl phenoxy ethyl (meth)acrylate, 3-(2-phenylphenyl)-2-hydroxypropyl (meth)acrylate, EO-modified p-cumylphenol (meth)acrylate, 2-bromophenoxyethyl (meth)acrylate, 2,4-dibromophenoxyethyl (meth)acrylate, 2,4,6-tribromophenoxyethyl (meth)acrylate, EO-modified phenoxy (me
  • Examples of the commercially available products of the monofunctional (meth)acryl compounds include, but are not limited to, ARONIX M101, M102, M110, M111, M113, M117, M5700, TO-1317, M120, M150, and M156 (products of Toagosei Co., Ltd.), MEDOL 10, MIBDOL 10, CHDOL 10, MMDOL 30, MEDOL 30, MIBDOL 30, CHDOL 30, LA, IBXA, 2-MTA, HPA, and Viscoat #150, #155, #158, #190, #192, #193, #220, #2000, #2100, and #2150 (products of Osaka Organic Chemical Industry Ltd.), LIGHT ACRYLATE BO-A, EC-A, DMP-A, THF-A, HOP-A, HOA-MPE, HOA-MPL, PO-A, P-200A, NP-4EA, and NP-8EA, and EPOXY ESTER M-600A (products of Kyoeisha Chemical Co
  • NK ESTER AMP-10G and AMP-20G products of Shin-Nakamura Chemical Co., Ltd.
  • FA-511A, 512A, and 513A products of Hitachi Chemical Co., Ltd.
  • PHE, CEA, PHE-2, PHE-4, BR-31, BR-31M, and BR-32 products of Dai-Ichi Kogyo Seiyaku Co., Ltd.
  • VP product of BASF
  • ACMO DMAA
  • DMAPAA products of KOHJIN Holdings Co., Ltd.
  • polyfunctional (meth)acryl compounds having two or more acryloyl groups or methacryloyl groups include, but are not limited to, trimethylolpropane di(meth)acrylate, trimethylolpropane tri(meth)acrylate, EO-modified trimethylolpropane tri(meth)acrylate, PO-modified trimethylolpropane tri(meth)acrylate, EO-, PO-modified trimethylolpropane tri(meth)acrylate, pentaerythritol tri(meth)acrylate, pentaerythritol tetra(meth)acrylate, ethylene glycol di(meth)acrylate, tetraethylene glycol di(meth)acrylate, polyethylene glycol di(meth)acrylate, polypropylene glycol di(meth)acrylate, 1,4-butanediol di(meth)acrylate, 1,6-hexanediol di(meth)acrylate
  • Examples of the commercially available products of the polyfunctional (meth)acryl compounds include YUPIMER UV SA1002 and SA2007 (products of Mitsubishi Chemical Corporation), Viscoat #195, #230, #215, #260, #335HP, #295, #300, #360, #700, GPT, and 3PA (products of Osaka Organic Chemical Industry Ltd.), LIGHT ACRYLATE 4EG-A, 9EG-A, NP-A, DCP-A, BP-4EA, BP-4PA, TMP-A, PE-3A, PE-4A, and DPE-6A (products of Kyoeisha Chemical Co., Ltd.), KAYARAD PET-30, TMPTA, R-604, DPHA, DPCA-20, -30, -60, -120, HX-620, D-310, and D-330 (products of NIPPON KAYAKU Co.
  • ARONIX M208, M210, M215, M220, M240, M305, M309, M310, M315, M325, and M400 products of Toagosei Co., Ltd.
  • Ripoxy VR-77, VR-60, and VR-90 products of Showa Highpolymer Co., Ltd.
  • (meth)acrylate refers to an acrylate and an equivalent methacrylate having an alcohol residue.
  • a "(meth)acryloyl group” refers to an acryloyl group and an equivalent methacryloyl group having an alcohol residue.
  • EO represents ethylene oxide.
  • An EO-modified compound A refers to a compound in which a (meth)acrylic acid residue of a compound A is bonded to an alcohol residue of the compound A via a block structure of an ethylene oxide group.
  • PO represents propylene oxide.
  • a PO-modified compound B refers to a compound in which a (meth)acrylic acid residue of a compound B is bonded to an alcohol residue of the compound B via a block structure of a propylene oxide group.
  • the component (B) is a photopolymerization initiator.
  • a photopolymerization initiator is a compound that generates a polymerizing factor (radical) upon sensing light of a particular wavelength.
  • a photopolymerization initiator generates a radical (radical generator) when irradiated with light (radiations such as infrared rays, visible rays, ultraviolet rays, far ultraviolet rays, X-rays, and charged particle beams such as electron beams).
  • the photopolymerization initiator is a photopolymerization initiator that generates a radical when irradiated with light having a wavelength in the range of 190 to 700 nm, for example.
  • the photopolymerization initiator serving as the component (B) may be constituted by one photopolymerization initiator or two or more photopolymerization initiators.
  • radical generator examples include substituted or unsubstituted 2,4,5-triaryl imidazole dimers such as a 2-(o-chlorophenyl)-4,5-diphenylimidazole dimer, a 2-(o-chlorophenyl)-4,5-di(methoxyphenyl)imidazole dimer, a 2-(o-fluorophenyl)-4,5-diphenylimidazole dimer, and a 2-(o- or p-methoxyphenyl)-4,5-diphenylimidazole dimer; benzophenone derivatives such as benzophenone, N,N'-tetramethyl-4,4'-diaminobenzophenone (Michler's ketone), N,N'-tetraethyl-4,4'-diaminobenzophenone, 4-methoxy-4'-dimethylaminobenzophenone, 4-chlorobenzophenone, 4,4'-dimeth
  • Examples of commercially available products of the radical generators include, but are not limited to, Irgacure 184, 369, 651, 500, 819, 907, 784, and 2959, CGI-1700, -1750, and -1850, CG24-61, Darocur l116 and 1173, Lucirin TPO, LR8893, and LR8970 (products of BASF), and EBECRYL P36 (product of UCB).
  • the blend ratio of the photopolymerization initiator serving as the component (B) in the photocurable composition is 0.01% by weight or more and 10% by weight or less and preferably 0.1% by weight or more and 7% by weight or less relative to the total weight of the polymerizable compound serving as the component (A).
  • the blend ratio of the photopolymerization initiator relative to the total weight of the polymerizable compound is 0.01% by weight or more, a satisfactory curing rate is achieved.
  • a blend ratio of 10% by weight or less a cured product obtained from the photocurable composition can exhibit good mechanical properties.
  • the component (C) is a hydrogen donor.
  • a hydrogen donor is a compound that reacts with an initiation radical generated from the photopolymerization initiator serving as the component (B) or a radial at a polymerization propagating terminal so as to give a radical having a higher reactivity and accelerate the polymerization of the component (A).
  • the function of the component (C) as the hydrogen donor can be confirmed by comparing the polymerization rate of a photocurable composition between when the component (C) is used and when not used and confirming that a photocurable composition containing the component (C) exhibits a higher polymerization rate.
  • the hydrogen donor serving as the component (C) is a compound represented by general formula (1) below.
  • R f represents an alkyl group at least part of which is substituted with fluorine
  • R O represents an oxyalkylene group or a repeated structure of an oxyalkylene group
  • N represents a nitrogen atom
  • R A represents an alkyl group
  • R B represents an alkyl group or a hydrogen atom.
  • R f in general formula (1) represents an alkyl group at least part of which is substituted with fluorine.
  • R f may be an alkyl group having all of hydrogen atoms substituted with fluorine or an alkyl group having some of hydrogen atoms substituted with fluorine.
  • alkyl group having some of hydrogen atoms substituted with fluorine is a group represented by general formula (2) below.
  • A represents an integer of 1 or more and 25 or less and B represents an integer of 1 or more and 25 or less.
  • examples of the oxyalkylene group include an oxyethylene group and an oxypropylene group and examples of the repeated structure of an oxyalkylene group include a repeated structure of the oxyethylene group and a repeated structure of the oxypropylene group.
  • oxyethylene group or the repeated structure of the oxyethylene group include divalent groups represented by general formula (3) below and specific examples of the oxypropylene group or the repeated structure of the oxypropylene group include divalent groups represented by general formula (4) below: -(OCH 2 CH 2 ) a - General formula (3) (where a represents an integer of 1 or more and 100 or less) -(OCH 2 CH(CH 3 )) b - General formula (4) (where b represents an integer of 1 or more and 100 or less)
  • a hydrogen donor represented by general formula (1) has a secondary or tertiary amino group functioning as a hydrogen donating group and thus accelerates the polymerization of the component (A) which is a polymerizable compound.
  • the hydrogen donor presumably also functions as a surfactant since it has the R f group (alkyl group at least part of which is substituted with fluorine) serving as an oleophobic segment and the R O group (oxyalkylene group or repeated structure of oxyalkylene group) serving as an oleophilic segment.
  • the component (C) behaves like common surfactants, and segregates at the interface between a mold and the photocurable composition and forms a very thin releasing layer between the mold and the photocurable composition in a placement step (1) or a mold contact step (2) in a method for producing a patterned film by using the photopolymerizable composition of the embodiment described below.
  • This releasing layer is non-polymerizable and the molecules in the layer are not covalently bonded with one another. Thus, separation occurs at the interface between the releasing layer and the photocurable composition layer or inside the releasing layer, and a cured film formed by polymerization of the photocurable composition can be easily released from the mold.
  • the hydrogen donor represented by general formula (1) has a secondary or tertiary amino group, hydroxyl groups of the quartz which is commonly used as a material for molds and the secondary or tertiary amino group forms ionic bonds. This is presumably why the cured product can be released from a mold with a relatively low mold releasing force at a lamellar interface of the releasing layer in a mold releasing step (4) in a method for producing a patterned film by using the photopolymerizable composition of the embodiment described below.
  • the alkyl group represented by R A in general formula (1) may be linear or cyclic but is preferably linear and more preferably a linear alkyl group having 1 to 5 carbon atoms.
  • R B in general formula (1) may represent a hydrogen atom or an alkyl group but preferably represents an alkyl group which may be linear or cyclic as in R A .
  • R B preferably represents a linear alkyl group and more preferably a linear alkyl group having 1 to 5 carbon atoms.
  • Examples of the linear alkyl group having 1 to 5 carbon atoms in R A and R B include a methyl group, an ethyl group, a propyl group, a butyl group, and a pentyl group.
  • R B preferably represents an alkyl group because the effect of accelerating polymerization of the component (A), which is a polymerizable compound, is higher when the hydrogen donor represented by general formula (1) has a tertiary amino group.
  • a represents an integer within the range of 1 to 25
  • b represents an integer within the range of 0 to 25
  • c represents an integer within the range of 1 to 25
  • R 1 represents an alkyl group
  • R 2 represents an alkyl group or hydrogen.
  • a represents an integer within the range of 1 to 25 and preferably an integer within the range of 1 to 10.
  • b represents an integer within the range of 0 to 25, preferably an integer within the range of 1 to 25, and more preferably an integer within the range of 1 to 5.
  • c represents an integer within the range of 1 to 25 and preferably an integer within the range of 1 to 10.
  • R 2 preferably represents an alkyl group (in other words, the compound represented by general formula (5) is preferably a tertiary amino group) and more preferably a linear alkyl group having 1 to 5 carbon atoms. This is because, as discussed above, the effect of accelerating polymerization of the component (A) is enhanced when R 1 and R 2 each represent an alkyl group, in particular, a linear alkyl group having 1 to 5 carbon atoms.
  • R 1 and R 2 may each represent a linear alkyl group or a cyclic alkyl group.
  • the linear alkyl group having 1 to 5 carbon atoms include a methyl group, an ethyl group, a propyl group, a butyl group, and a pentyl group.
  • d represents an integer in the range of 1 to 10 and R 1 and R 2 each represent an alkyl group.
  • e represents an integer in the range of 1 to 10 and R 1 and R 2 each represent an alkyl group.
  • a specific example of the compound represented by general formula (6) is a compound represented by formula (A) below and a specific example of the compound represented by general formula (7) is a compound represented by formula (B) below.
  • the hydrogen donor represented by general formula (1) may be a compound represented by general formula (8) below.
  • u represents an integer in the range of 1 to 25
  • v represents an integer in the range of 0 to 25
  • m represents an integer in the range of 1 to 25
  • R 3 represents an alkyl group
  • R 4 represents an alkyl group or hydrogen.
  • u, v, and m preferably each independently represent an integer in the range of 1 to 10 and more preferably an integer in the range of 1 to 5.
  • R 3 and R 4 preferably each represent an alkyl group and more preferably an alkyl group having 1 to 5 carbon atoms.
  • R 3 and R 4 may each represent a linear alkyl group or a cyclic alkyl group.
  • alkyl group having 1 to 5 carbon atoms include a methyl group, an ethyl group, a propyl group, a butyl group, and a pentyl group.
  • the compound represented by general formula (1) can be synthesized by the following synthetic schemes, for example. Compounds represented by general formulae (5), (6), (7), (8), (9), and (10), and formulae (A) and (B), can also be synthesized in the same manner.
  • the compound (C) represented by general formula (1) may be constituted by two or more hydrogen donors represented by general formula (1).
  • Compounds represented by general formula (9) below are naturally one of the compounds represented by general formula (1): Rf 1 -Rc-X General formula (9) where Rf 1 represents a group constituted by fluorine and carbon atoms only or a group constituted by fluorine, carbon, and hydrogen atoms only, Rc represents a group constituted by at least one selected from a polyethylene oxide group, a polypropylene oxide group, and an alkylene group, and X represents an amino group.
  • polyoxyalkylene group in general formula (9) include a polyethylene oxide group and a polyoxypropylene group.
  • Specific examples of the polyethylene oxide group include divalent groups represented by general formula (3) above and specific examples of the polypropylene oxide group include divalent groups represented by general formula (4) above.
  • X may be a primary, secondary, or tertiary amino group but is preferably a secondary or tertiary amino group. This is because a secondary amino group and a tertiary amino group have a higher polymerization accelerating effect than a primary amino group.
  • Examples of the hydrogen donor represented by general formula (9) include compounds represented by general formula (10) below.
  • s represents an integer in the range of 1 to 25
  • t and n each independently represent an integer in the range of 0 to 25 where at least one of t and n represents an integer of 1 or more, R 1 represents an alkyl group, and R 2 represents an alkyl group or hydrogen.
  • the blend ratio of the hydrogen donor serving as the component (C) in the photocurable composition according to this embodiment may be 0.001% by weight or more and 10% by weight or less relative to the total weight of the polymerizable compound serving as the component (A).
  • the blend ratio of the hydrogen donor is preferably 0.002% by weight or more and 5% by weight or less and more preferably 0.005% by weight or more and 3% by weight or less relative to the total weight of the polymerizable compound serving as the component (A). If the blend ratio is less than 0.001% by weight, a sufficient polymerization accelerating effect may not be exhibited. At a blend ratio exceeding 10% by weight, the mechanical strength of a photocured product obtained after curing may be insufficient.
  • the photocurable composition of this embodiment may contain additives in addition to the component (A), the component (B), and the component (C) described above depending on the purpose as long as the effect of the invention is not impaired.
  • the additives include a releasing agent, a surfactant, a sensitizer, an antioxidant, a solvent, and a polymer component.
  • a sensitizer accelerates the initiation reaction of photoradical polymerization through exchange of energy or electrons and is a compound added to accelerate polymerization reaction and improve reaction conversion rate.
  • An example of the sensitizer is a sensitizing dye.
  • a sensitizing dye is a compound that is excited by absorption of light of a particular wavelength and interacts with a polymerization initiator serving as the component (B).
  • the interaction refers to, for example, migration of energy or migration of electrons from a sensitizing dye in an excited state to a photopolymerization initiator serving as the component (B).
  • the sensitizing dye include, but are not limited to, anthracene derivatives, anthraquinone derivatives, pyrene derivatives, perylene derivatives, carbazole derivatives, benzophenone derivatives, thioxanthone derivatives, xanthone derivatives, coumarin derivatives, phenothiazine derivatives, camphorquinone derivatives, acridine dyes, thiopyrylium salt dyes, merocyanine dyes, quinoline dyes, styrylquinoline dyes, ketocoumarin dyes, thioxanthene dyes, xanthene dyes, oxonol dyes, cyanine dyes, rhodamine dyes, and pyrylium salt dyes.
  • sensitizers may be used alone or in combination as a mixture.
  • the photocurable composition of this embodiment may contain a known hydrogen donor other than the component (C) such as those described in Japanese Patent Laid-Open No. 2010-114209 as an additive.
  • Such a hydrogen donor include, but are not limited to, amine compounds such as N-butylamine, di-n-butylamine, tri-n-butylphosphine, allylthiourea, s-benzylisothiuronium-p-toluene sulfinate, triethylamine, diethylaminoethyl methacrylate, triethylene tetramine, 4,4'-bis(dialkylamino)benzophenone, N,N-dimethylamino benzoic acid ethyl ester, N,N-dimethylamino benzoic acid isoamyl ester, pentyl-4-dimethylaminobenzoate, triethanolamine, and N-phenyl glycine; and mercapto compounds such as 2-mercapto-N-phenyl benzoimidazole and mercaptopropionic acid ester.
  • amine compounds such as N-butylamine, di-
  • this hydrogen donor may be one hydrogen donor or two or more hydrogen donors.
  • the content thereof is preferably 0% or more and 20% by weight or less, more preferably 0.1% by weight or more and 5.0% by weight or less, and most preferably 0.2% by weight or more and 2.0% by weight or less relative to the total weight of the polymerizable compound serving as the component (A).
  • the sensitizer content of 0.1% by weight or more the polymerization accelerating effect can be more effectively exhibited.
  • the molecular weight of the polymer compound constituting the photocured product can be sufficiently increased and the dissolution failure and deterioration of storage stability can be suppressed.
  • the ratios of the component (A), the component (B), and the component (C) can be determined by analyzing a photocured product obtained by curing the photocurable composition of this embodiment through infrared spectrometry, ultraviolet visible light spectroscopy, pyrolysis gas chromatography mass spectroscopy, etc. As a result, the ratios of the component (A), the component (B), and the component (C) in the photocurable composition can be determined.
  • At least the component (A), the component (B), and the component (C) are mixed and dissolved under particular temperature conditions.
  • mixing and dissolving are performed at a temperature in the range of 0 degrees (Celsius) to 100 degrees (Celsius).
  • the viscosity of the photocurable composition of this embodiment is preferably 1 cP or more and 100 cP or less, more preferably 5 cP or more and 50 cP or less, and most preferably 6 cP or more and 20 cP or less in terms of the viscosity of a mixture of the components other than the solvent at 23 degrees (Celsius).
  • the viscosity of the photocurable composition is 100 cP or less, recesses of a fine pattern on a mold can be filled with the composition in a relatively short time during the process of bringing the photocurable composition in contact with the mold and therefore pattern defects caused by filling failure are decreased.
  • the viscosity is 1 cP or higher, the photocurable composition can be more evenly applied or, in the process of bringing the photocurable composition into contact with a mold, the photocurable composition may be suppressed from flowing out from an edge of the mold.
  • the surface tension of the photocurable composition of this embodiment is preferably 5 mN/m or more and 70 mN/m or less, more preferably 7 mN/m or more and 35 mN/m or less, and most preferably 10 mN/m or more and 32 mN/m or less in terms of the surface tension of a mixture of the components other than the solvent at 23 degrees (Celsius).
  • a surface tension lower than 5 mN/m it may take a long time to fill recesses of a fine pattern on a mold with the composition in the process of bringing the photocurable composition into contact with the mold.
  • the surface smoothness and flatness may be degraded.
  • the impurity content in the photocurable composition of this embodiment may be as low as possible.
  • the "impurity” refers to those components other than the component (A), the component (B), the component (C), and the additives described above.
  • the photocurable composition may thus be obtained through a purification step.
  • An example of the purification step is filtration using a filter.
  • the component (A), the component (B), the component (C), and additives used as needed are mixed and then the resulting mixture is filtered through a filter having a pore size of 0.001 micrometers or more and 5.0 micrometers or less.
  • the filtration may be conducted in multiple stages or repeated many times.
  • the filtrate may be filtered again.
  • the filter used for filtration may be, for example, a polyethylene resin filter, a polypropylene resin filter, a fluorine resin filter, or a nylon resin filter but is not limited to these.
  • Performing such a purification step removes impurities such as particles in the photocurable composition. As a result, it becomes possible to prevent defects in the pattern resulting from undesirable irregularities due to impurities such as particles in the photocured product obtained by curing the photocurable composition.
  • the photocurable composition of this embodiment is used for manufacturing semiconductor integrated circuits, entraining of impurities (metal impurities) containing metal atoms into the photocurable composition is to be avoided as much as possible in order not to inhibit the operation of the product.
  • the metal impurity concentration in the photocurable composition is preferably 10 ppm or less and more preferably 100 ppb or less.
  • Figs. 1A to 1F are schematic cross-sectional views showing an example of a method for producing a patterned film according to this embodiment.
  • the method for producing a patterned film according to this embodiment includes: (1) a placement step of placing the photocurable composition of the above-described embodiment on a substrate; (2) a mold contact step of bringing the photocurable composition into contact with a mold; (3) an irradiation step of irradiating the photocurable composition with light; and (4) a mold releasing step of releasing the cured product obtained in the step (3) from the mold.
  • the method for producing a patterned film according to this embodiment utilizes a photo-imprinting technique.
  • a film obtained by the method for producing a patterned film according to this embodiment preferably has a pattern 1 nm to 10 mm in size and more preferably has a pattern 10 nm to 100 micrometers in size.
  • a pattern forming technique of forming a film having a nano-size (1 nm or more and 100 nm or less) pattern (recesses and protrusions) by using light is called a photo-(nano)imprint method.
  • the method for producing a patterned film according to this embodiment utilizes a photo-(nano)imprint method.
  • a photocurable composition 1 which is the same as the photocurable composition according to the embodiment described above is placed(applied) on a substrate 2 to form a coating film.
  • the substrate 2 on which the photocurable composition 1 is placed is a processing substrate and is usually a silicon wafer.
  • the substrate 2 is not limited to a silicon wafer and may be freely selected from substrates for semiconductor devices, such as those composed of aluminum, a titanium-tungsten alloy, an aluminum-silicon alloy, an aluminum-copper-silicon alloy, silicon oxide, and silicon nitride.
  • a substrate that has been subjected to a surface treatment for example, silane coupling treatment, silazane treatment, organic thin film deposition, or the like) to improve adhesion to the photocurable composition may used as the substrate 2 (processing substrate).
  • Examples of the method for placing the photocurable composition of this embodiment on the substrate 2 include an ink jet method, a dip coating method, an air knife coating method, a curtain coating method, a wire bar coating method, a gravure coating method, an extrusion coating method, a spin coating method, and a slit scanning method.
  • the thickness of a pattern transfer-receiving layer (coating film) differs depending on the purpose of use but is, for example 0.01 micrometers or more and 100.0 micrometers or less.
  • a mold 3 having an original pattern for transferring a pattern shape is brought into contact with the coating film formed of the photocurable composition 1 in the previous step (placement step).
  • place step As a result of performing this step of bringing the photocurable composition 1 into contact with the mold 3 (Fig. 1B, part (b-1)), recesses in the fine pattern on the surface of the mold 3 are filled with the coating film (or some parts of the coating film) composed of the photocurable composition 1.
  • a coating film 4 that fills the fine pattern of the mold is formed (Fig. 1B, part (b-2)).
  • the mold 3 is composed of a light-transmitting material because of the next step (irradiation step).
  • the material constituting the mold 3 include glass, quartz, light transparent resins such as polymethyl methacrylate (PMMA) and polycarbonate resins, transparent metal vapor-deposited films, flexible films such as polydimethylsiloxane, photocured films, and metal films.
  • PMMA polymethyl methacrylate
  • Pcarbonate resins transparent metal vapor-deposited films
  • flexible films such as polydimethylsiloxane
  • photocured films and metal films.
  • a resin that does not dissolve in the solvent contained in the photocurable composition 1 is preferably selected.
  • the surface of the mold 3 that comes into contact with the photocurable composition is preferably hydrophilic since it becomes easier to form polar bonds between the surface and the Rf groups, the secondary amine groups, and the tertiary amine groups contained in the hydrogen donor serving as the component (C). More preferably, the surface is composed of quartz.
  • the mold 3 may be surface-treated prior to the step of bringing the photocurable composition in contact with the mold in order to improve the releasing property between the photocurable composition 1 and the surface of the mold 3.
  • An example of the surface treatment method is a method in which a releasing agent is applied to the surface of the mold to form a releasing agent layer.
  • the releasing agent applied to the surface of the mold include silicon releasing agents, fluorine releasing agents, polyethylene releasing agents, polypropylene releasing agents, paraffin releasing agents, montan releasing agents, and carnauba releasing agents.
  • a commercially available application-type releasing agent such as OPTOOL DSX produced by Daikin Industries Ltd., is suitable for use. These releasing agents may be used alone or in combination.
  • fluorine releasing agents are particularly preferable.
  • the pressure applied to the photocurable composition 1 in bringing the photocurable composition 1 into contact with the mold 3 is not particularly limited but is usually in the range of 0.1 MPa to 100 MPa, preferably in the range of 0.1 MPa to 50 MPa, more preferably in the range of 0.1 MPa to 30 MPa, and most preferably in the range of 0.1 MPa to 20 MPa.
  • the time for which the photocurable composition 1 is contacted with the mold 3 is not particularly limited but is usually in the range of 0.1 sec to 600 sec, preferably in the range of 0.1 sec to 300 sec., more preferably in the range of 0.1 sec to 180 sec, and most preferably in the range of 0.1 sec to 120 sec.
  • This step may be performed in an air atmosphere, a reduced pressure atmosphere, or an inert gas atmosphere.
  • a reduced pressure atmosphere and an inert gas atmosphere are particularly preferable since adverse effects of oxygen and moisture on photocuring reaction can be avoided.
  • the inert gas that can be used to perform the step in an inert gas atmosphere include nitrogen, carbon dioxide, helium, argon, various fluorocarbon gases, or any mixture of these.
  • the pressure may be in the range of 0.0001 atm to 10 atm.
  • the mold contact step may be performed in an atmosphere composed of a gas that contains a condensable gas (hereinafter may be referred to as "condensable gas atmosphere").
  • a condensable gas refers to a gas that exists as a gas in the atmosphere before the photocurable composition 1 (shape transfer-receiving layer) contacts the mold 3 (Fig.
  • part (b-1)) in the mold contact step but becomes condensed and liquefies under capillary pressure generated due to the pressure applied as the photocurable composition 1 (shape transfer-receiving layer) contacts the mold 3 and the gas in the atmosphere fills the recesses of the fine pattern on the mold 3 and the space between the mold and the substrate together with the coating film (or some parts of the coating film).
  • the mold contact step is performed in an atmosphere composed of a gas containing a condensable gas
  • the gas filling the recesses of the fine pattern liquefies, bubbles vanish, and thus the photocurable composition can highly fill the fine pattern.
  • the condensable gas may be dissolved in the photocurable composition.
  • the boiling point of the condensable gas may be any temperature not above the atmosphere temperature of the mold contact step but is preferably in the range of -10 degrees (Celsius) to 23 degrees (Celsius) and more preferably in the range of 10 degrees (Celsius) to 23 degrees (Celsius). In this range, the effect of increasing the filling property brought by the condensable gas is further enhanced.
  • the vapor pressure of the condensable at an atmosphere temperature of the mold contact step may be any pressure not over the mold pressure applied during the mold contact step and is preferably in the range of 0.1 to 0.4 MPa. In this range, the filling property is further enhanced. At a vapor pressure larger than 0.4 MPa at the atmosphere temperature, the effect of eliminating bubbles may not be always achieved. If the vapor pressure at the atmosphere temperature is less than 0.1 MPa, pressure reduction is necessary and the system tends to be complicated.
  • the atmosphere temperature for the mold contact step may be any but is preferably in the range of 20 degrees (Celsius) to 25 degrees (Celsius).
  • the condensable gas examples include fluorocarbons, e.g., chlorofluorocarbon (CFC) such as trichlorofluoromethane, fluorocarbon (FC), hydrochlorofluorocarbon (HCFC), hydrofluorocarbon (HFC) such as 1,1,1,3,3-pentafluoropropane (CHF 2 CH 2 CF 3 , HFC-245fa, or PFP), and hydrofluoroether (HFE) such as pentafluoroethyl methyl ether (CF 3 CF 2 OCH 3 or HFE-245mc).
  • CFC chlorofluorocarbon
  • HCFC hydrochlorofluorocarbon
  • HFC hydrofluorocarbon
  • HFC 1,1,1,3,3-pentafluoropropane
  • HFE hydrofluoroether
  • pentafluoroethyl methyl ether CF 3 CF 2 OCH 3 or HFE-245mc
  • 1,1,1,3,3-pentafluoropropane vapor pressure at 23 degrees (Celsius): 0.14 MPa, boiling point: 15 degrees (Celsius)
  • trichlorofluoromethane vapor pressure at 23 degrees (Celsius): 0.1056 MPa, boiling point: 24 degrees (Celsius)
  • pentafluoroethyl methyl ether are preferable from the viewpoint of high filling property at an atmosphere temperature of 20 degrees (Celsius) or higher and 25 degrees (Celsius) or lower in the mold contact step.
  • 1,1,1,3,3-pentafluoropropane is particularly preferable.
  • the condensable gases may be used alone or in combination as a mixture.
  • the gas containing a condensable gas may be solely composed of a condensable gas or a gas mixture containing a condensable gas and a non-condensable gas.
  • the non-condensable gas examples include air, nitrogen, carbon dioxide, helium, and argon.
  • the non-condensable gas to be mixed with a condensable gas may be helium.
  • the non-condensable gas to be mixed with a condensable gas is preferably helium because when the gases in the atmosphere (condensable gas and helium) fill the recess of the fine pattern on the mold 3 in the mold contact step together with the coating film (or some parts of the coating film), the condensable gas liquefies while helium passes through the mold, thereby enhancing the filling property.
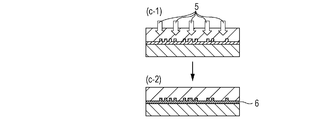
  • the portion of the photocurable composition that comes into contact with the mold in particular, a coating film 4 filling the fine pattern of the mold 3, is irradiated with light through the mold 3 (see part (c-1)).
  • the coating film 4 filling the fine pattern of the mold and irradiated with light through the mold 3 turns into a cured film 6 (Fig. 1C, part (c-2)).
  • the light that irradiates the photocurable composition 1 constituting the coating film 4 filling the fine pattern of the mold 3 is selected in accordance with the sensitive wavelength of the photocurable composition 1.
  • an ultraviolet ray having a wavelength in the range of about 150 nm to about 400 nm, an X-ray, an electron beam, or the like may be used.
  • the light (radiation 5) irradiating the photocurable composition 1 is preferably an ultraviolet ray.
  • the light source of ultraviolet light include a high pressure mercury lamp, an ultra high pressure mercury lamp, a low pressure mercury lamp, a deep-UV lamp, a carbon arc lamp, a chemical lamp, a metal halide lamp, a xenon lamp, a KrF excimer laser, an ArF excimer laser, and a F 2 excimer laser.
  • an ultra high pressure mercury lamp is particularly preferable.
  • the number of the light sources to be used may be one or more. Irradiation may be performed on all or some parts of the coating film 4 filling the fine pattern of the mold.
  • Irradiation may be performed intermittently two or more times or continuously on all parts.
  • a region A may be irradiated in a first irradiation process and then a region B different from the region A may be irradiated in a second irradiation process.
  • the polymerization reaction rate of the photocurable composition under irradiation with light can also be evaluated.
  • the polymerization reaction rate of the photocurable composition by irradiation can be measured, for example, with an attenuated total reflection infrared spectrometer equipped with the irradiation mechanism shown in Fig. 2.
  • a photocurable composition 14 is interposed between a diamond ATR crystal 13 of the attenuated total reflection infrared spectrometer and a quartz glass 15.
  • the photocurable composition 14 is cured upon irradiation with light through the quartz glass 15.
  • An infrared ray 11 is applied to the diamond ATR crystal 13 and an evanescent wave 16 that occurs within a several micrometer range above the diamond ATR crystal 13 is detected with a detector 12.
  • Several to several tens of attenuated total reflection infrared spectra of the photocurable composition 14 are acquired per second.
  • the infrared spectra of the cured photocurable composition or the photocurable composition in the course of curing can be acquired real-time.
  • the polymerization reaction rate of the photocurable composition can be evaluated by tracking the change in peak intensity attributable to the polymerizable functional group of the component (A) in the acquired infrared spectra.
  • the cured film 6 is released from the mold 3 so as to form a cured film 7 having a particular pattern shape on the substrate 2.
  • the cured film 6 is released from the mold 3.
  • the reversed pattern of the fine pattern formed on the mold 3 in the step (3) (irradiation step) constitutes the pattern of the patterned cured film 7.
  • the method for releasing the cured film 6 from the mold 3 may be any method that does not physically destruct part of the cured film 6 during the release.
  • the conditions thereof are also not limited.
  • the substrate 2 processing substrate
  • the mold 3 may be fixed and the substrate 2 may be moved away from the mold 3 to perform releasing.
  • Both the mold 3 and the substrate 2 may be moved in opposite directions to perform releasing.
  • the condensable gas that has liquefied turns into a gas as the pressure at the interface between the cured film and the mold decreases during the process of releasing the cured film from the mold.
  • the effect of decreasing the mold releasing force tends to be enhanced.
  • a cured film having a desirable recess/protrusion pattern shape (the pattern shape derived from the recesses and protrusions on the mold 3) can be obtained through a production process including the steps (1) to (4) described above.
  • the cured film can be used as an optical component, e.g., a Fresnel lens or a diffraction lattice (the film may also be used as a part of an optical component).
  • the optical component can include at least the substrate 2 and the patterned cured film 7 on the substrate 2.
  • the cured film obtained in the mold releasing step (4) has a particular pattern shape
  • a part of the film sometimes remains in a region other than where the pattern shape is to be formed (hereinafter, such a part of the film is also referred to as a "residual film").
  • the cured film (residual film) in the regions to be removed is removed from the obtained patterned cured film so as to obtain a cured pattern 8 having a desirable recess/protrusion pattern shape (pattern shape derived from the recesses and protrusions of the mold 3).
  • An example of the method for removing the residual film is to remove the film (residual film) that forms recesses of the cured film 7 by etching so as to expose the surface of the substrate 2 at the recesses of the pattern of the cured film 7.
  • the etching method for removing the film at the recesses of the cured film 7 is not particularly limited and a known method, for example, a dry etching method may be employed. A dry etching apparatus known in the art may be used. The source gas for dry etching is appropriately selected in accordance with the element composition of the cured film, which is the film to be etched.
  • the source gas examples include halogen gases such as CF 4 , C 2 F 6 , C 3 F 8 , CCl 2 F 2 , CCl 4 , CBrF 3 , BCl 3 , PCl 3 , SF 6 , and Cl 2 , oxygen-containing gases such as O 2 , CO, and CO 2 , inert gases such as He, N 2 , and Ar, and H 2 and NH 3 . These gases may be used in combination as a mixture.
  • halogen gases such as CF 4 , C 2 F 6 , C 3 F 8 , CCl 2 F 2 , CCl 4 , CBrF 3 , BCl 3 , PCl 3 , SF 6 , and Cl 2
  • oxygen-containing gases such as O 2 , CO, and CO 2
  • inert gases such as He, N 2 , and Ar
  • H 2 and NH 3 examples of the source gas.
  • a cured pattern 8 having a desirable recess/protrusion pattern shape (pattern shape derived from the recesses and protrusions of the mold 3) can be obtained by the production process including the steps (1) to (5) described above. An article having the cured pattern can also be obtained.
  • a substrate processing step (step (6)) below is performed.
  • the cured pattern 8 may be used as an optical part (or a portion of an optical part) such as a diffraction lattice or a polarizing plate so as to obtain an optical component.
  • the optical component may include at least the substrate 2 and the cured pattern 8 on the substrate 2.
  • the cured pattern 8 having an recess/protrusion pattern shape obtained by the method for producing a patterned film according to this embodiment can be used as a film for an interlayer insulating film included in an electronic component such as a semiconductor device, e.g., an LSI, a system LSI, a DRAM, a SDRAM, a RDRAM, or a D-RDRAM.
  • a semiconductor device e.g., an LSI, a system LSI, a DRAM, a SDRAM, a RDRAM, or a D-RDRAM.
  • the cured pattern 8 can also be used as a resist film in the process of producing a semiconductor device.
  • the cured pattern 8 In the case where the cured pattern 8 is used as a resist film, only the parts of the substrate where the surface is exposed by the etching step (5) (a region 9 in Fig. 1E) are etched or ion-implanted and electronic parts are formed on the substrate. As a result, a circuit board that is constituted by a substrate 2 and a circuit structure 10 (Fig. 1F) based on the pattern shape of the cured pattern 8 and that can be used in semiconductor devices and the like can be obtained.
  • the cured pattern 8 functions as a mask.
  • a controlling mechanism for controlling the circuit board may be provided to the circuit board so as to form an electronic component such as a display, a camera, or medical equipment.
  • the cured pattern 8 may be used as a resist film and an optical component may be obtained by performing etching or ion implantation.
  • the cured pattern 8 may eventually be removed from the processed substrate.
  • a structure that includes the cured pattern 8 as a part of the component is also preferable.
  • a component (A), a component (B), a component (C), and a surfactant component described below were blended to prepare a photocurable composition.
  • component (B) a total of 3 parts by weight ⁇ B-1>
  • Irgacure 651 produced by BASF: 3 parts by weight
  • component (C) hydrogen donor NIT-34 represented by formula (C-1) below: 0.5 parts by weight
  • (1-4) surfactant component pentadecaethylene glycol mono-1H,1H,2H,2H-perfluorooctyl ether (F(CF 2 ) 6 CH 2 CH 2 (OCH 2 CH 2 ) 15 OH, produced by DIC Corporation): 1.1 parts by weight
  • the interference filter used in the irradiation was VPF-25C-10-15-31300 (produced by Sigma Koki Co., Ltd.).
  • the UV light used for irradiation was single wavelength ultraviolet light having a wavelength of 313 plus or minus 5 nm and the illuminance was 1 mW/cm 2 .
  • the rate of decrease in the number of acryl groups contained in the component (A) in the photocurable composition was evaluated by the following method.
  • the photocurable composition (a-1) is satisfactorily cured in a short exposure time compared to the photocurable compositions (b-1) and (b-2), a photo-nanoimprinting method that uses the photocurable composition (a-1) can be considered as highly productive.
  • Mold releasing force was measured by the method described below.
  • a total of 1440 droplets (11 pL per droplet) of the photocurable composition (a-1) were dropped by an ink jet method.
  • the droplets were dropped at pitches substantially equal to one another in a region having a length of 26 mm and a width of 33 mm.
  • a 28 nm line-and-space (L/S) pattern was formed in the photocurable resin composition (a-1) on the silicon wafer and a quartz mold (26 mm in length and 33 mm in width) not subjected to surface treatment was brought into contact with the photocurable composition (a-1).
  • UV light was applied to the photocurable composition through the quartz mold by using an UV light source (EXECURE 3000 produced by HOYA CANDEO OPTRONICS CORPORATION) equipped with a 200 W mercury xenon lamp.
  • an interference filter (VPF-50C-10-25-31300 produced by Sigma Koki Co., Ltd.) that selectively transmitted light with a wavelength of 313 plus or minus 5 nm was interposed between the UV light source and the quartz mold.
  • the illuminance of the UV light directly below the quartz mold was 38.5 mW/cm 2 for light having a wavelength of 313 nm.
  • the UV light was applied for 0.75 seconds under these conditions.
  • the quartz mold was pulled up at 0.5 mm/s to release the photocured film from the mold.
  • the force required to release the cured film from the mold was measured by using a compact tension/compression load cell (LUR-A-200NSA1 produced by Kyowa Electronic Instruments Co., Ltd.).
  • LUR-A-200NSA1 produced by Kyowa Electronic Instruments Co., Ltd.
  • the mold releasing force measurement was conducted three times under the same conditions and the average was calculated from the measurement data.
  • the average mold releasing force was 59.0 N. This was lower than that of the photocured product prepared from the photocurable composition (b-1) in Comparative Example 1 described below.
  • a photocurable composition (b-1) was prepared as in EXAMPLE 1 except that the component (C) (hydrogen donor) was not added.
  • the photopolymerization rate of the photocurable composition (b-1) was measured as in EXAMPLE 1.
  • the half decay exposure was 13.8 mJ/cm 2 .
  • the average mold releasing force for the photocured product obtained from the photocurable composition (b-1) was measured as in EXAMPLE 1.
  • the average mold releasing force was 63.4 N.
  • a photocurable composition (b-2) was prepared as in EXAMPLE 1 except that 0.5 parts by weight of a known hydrogen donor N-phenyl glycine was added instead of the component (C) (hydrogen donor).
  • the photopolymerization rate of the photocurable composition (b-2) was evaluated as in EXAMPLE 1.
  • the half decay exposure was 11.7 mJ/cm 2 .

Landscapes

  • Engineering & Computer Science (AREA)
  • Chemical & Material Sciences (AREA)
  • Organic Chemistry (AREA)
  • Manufacturing & Machinery (AREA)
  • Microelectronics & Electronic Packaging (AREA)
  • Physics & Mathematics (AREA)
  • General Physics & Mathematics (AREA)
  • Condensed Matter Physics & Semiconductors (AREA)
  • Computer Hardware Design (AREA)
  • Power Engineering (AREA)
  • Health & Medical Sciences (AREA)
  • Chemical Kinetics & Catalysis (AREA)
  • Polymers & Plastics (AREA)
  • Medicinal Chemistry (AREA)
  • Optics & Photonics (AREA)
  • Polymerisation Methods In General (AREA)
  • Exposure Of Semiconductors, Excluding Electron Or Ion Beam Exposure (AREA)
  • Toxicology (AREA)
  • General Chemical & Material Sciences (AREA)
  • Casting Or Compression Moulding Of Plastics Or The Like (AREA)
  • Shaping Of Tube Ends By Bending Or Straightening (AREA)
  • Organic Low-Molecular-Weight Compounds And Preparation Thereof (AREA)
PCT/JP2014/002399 2013-05-09 2014-05-02 Compound, photocurable composition, and methods for producing patterned film, optical component, circuit board, electronic component by using the photocurable composition, and cured product Ceased WO2014181533A1 (en)

Priority Applications (3)

Application Number Priority Date Filing Date Title
US14/889,793 US9593170B2 (en) 2013-05-09 2014-05-02 Compound, photocurable composition, and methods for producing patterned film, optical component, circuit board, electronic component by using the photocurable composition, and cured product
KR1020157034219A KR101811116B1 (ko) 2013-05-09 2014-05-02 화합물, 광경화성 조성물, 및 광경화성 조성물을 사용하여 패턴 형상을 갖는 막, 광학 부품, 회로 기판, 전자 부품을 제조하는 방법, 및 경화물
CN201480026291.XA CN105189448B (zh) 2013-05-09 2014-05-02 化合物,光固化性组合物,和通过使用所述光固化性组合物的图案化膜、光学组件、电路板、电子组件的制造方法,和固化物

Applications Claiming Priority (2)

Application Number Priority Date Filing Date Title
JP2013099551 2013-05-09
JP2013-099551 2013-05-09

Publications (1)

Publication Number Publication Date
WO2014181533A1 true WO2014181533A1 (en) 2014-11-13

Family

ID=51867021

Family Applications (1)

Application Number Title Priority Date Filing Date
PCT/JP2014/002399 Ceased WO2014181533A1 (en) 2013-05-09 2014-05-02 Compound, photocurable composition, and methods for producing patterned film, optical component, circuit board, electronic component by using the photocurable composition, and cured product

Country Status (6)

Country Link
US (1) US9593170B2 (enExample)
JP (1) JP6333050B2 (enExample)
KR (1) KR101811116B1 (enExample)
CN (1) CN105189448B (enExample)
TW (1) TWI649297B (enExample)
WO (1) WO2014181533A1 (enExample)

Cited By (3)

* Cited by examiner, † Cited by third party
Publication number Priority date Publication date Assignee Title
WO2016098345A1 (en) * 2014-12-19 2016-06-23 Canon Kabushiki Kaisha Photocurable composition for imprint, method for producing film using the same, method for producing optical component using the same, method for producing circuit board using the same, and method for producing electronic component using the same
KR20170094386A (ko) * 2014-12-19 2017-08-17 캐논 가부시끼가이샤 임프린트용 광경화성 조성물, 이를 사용한 막의 제조 방법, 이를 사용한 광학 부품의 제조 방법, 이를 사용한 회로 기판의 제조 방법, 및 이를 사용한 전자 부품의 제조 방법
US10533065B2 (en) 2014-07-25 2020-01-14 Canon Kabushiki Kaisha Photocurable composition, method for producing cured product pattern using the same, method for producing optical component, and method for producing circuit board

Families Citing this family (4)

* Cited by examiner, † Cited by third party
Publication number Priority date Publication date Assignee Title
JP6584074B2 (ja) 2014-02-26 2019-10-02 キヤノン株式会社 光硬化性組成物、硬化物、これを用いた、パターン形状を有する膜の製造方法、光学部品の製造方法、回路基板の製造方法、電子部品の製造方法
JP6779611B2 (ja) 2014-12-19 2020-11-04 キヤノン株式会社 インプリント用光硬化性組成物、硬化膜の製造方法、光学部品の製造方法、回路基板の製造方法、電子部品の製造方法
JP2016164977A (ja) * 2015-02-27 2016-09-08 キヤノン株式会社 ナノインプリント用液体材料、ナノインプリント用液体材料の製造方法、硬化物パターンの製造方法、光学部品の製造方法、回路基板の製造方法、および電子部品の製造方法
US11194247B2 (en) 2018-01-31 2021-12-07 Canon Kabushiki Kaisha Extrusion control by capillary force reduction

Citations (10)

* Cited by examiner, † Cited by third party
Publication number Priority date Publication date Assignee Title
US3997609A (en) * 1973-02-09 1976-12-14 Hoechst Aktiengesellschaft Partially fluorinated amino ethers
JPH02172944A (ja) * 1988-11-04 1990-07-04 Hoechst Ag ヘキサフルオロプロペン酸化物のオリゴマーの製造方法
US20030072713A1 (en) * 2000-08-11 2003-04-17 Johannes Platzek Use of perfluoroalkyl-containing metal complexes as contrast media in MR-imaging for visualization of plaque, tumors and necroses
US20060094882A1 (en) * 2004-11-03 2006-05-04 Toyota Jidosha Kabushiki Kaisha Ambient-temperature molten salts and process for producing the same
US20070020183A1 (en) * 2005-07-15 2007-01-25 Heiko Schirmer Perfluoroalkyl-containing complexes, process for their production as well as their use
JP2012033517A (ja) * 2010-06-29 2012-02-16 Fujifilm Corp 光インプリント用硬化性組成物およびそれを用いた硬化物の製造方法
WO2013069511A1 (en) * 2011-11-10 2013-05-16 Canon Kabushiki Kaisha Photo-curable composition and patterning method using the same
JP2013253150A (ja) * 2012-06-06 2013-12-19 Canon Inc 硬化性組成物、及びこれを用いるパターン形成方法
JP2014078697A (ja) * 2012-09-24 2014-05-01 Canon Inc 光硬化性組成物及びこれを用いた膜の製造方法
JP2014082469A (ja) * 2012-09-27 2014-05-08 Fujifilm Corp 光インプリント用硬化性組成物、パターン形成方法およびパターン

Family Cites Families (8)

* Cited by examiner, † Cited by third party
Publication number Priority date Publication date Assignee Title
GB8621793D0 (en) * 1986-09-10 1986-10-15 Ici Plc Coating compositions
US6323361B1 (en) * 1997-04-17 2001-11-27 Corning Inc. Photocurable halofluorinated acrylates
US20030201429A1 (en) * 2002-04-30 2003-10-30 Mingqian He Low loss electro-optic polymers and devices made therefrom
US7198884B2 (en) * 2002-07-10 2007-04-03 Ciba Specialty Chemicals Corp. Heat stable photocurable resin composition for dry film resist
JP4770354B2 (ja) 2005-09-20 2011-09-14 日立化成工業株式会社 光硬化性樹脂組成物及びこれを用いたパターン形成方法
JP2010114209A (ja) 2008-11-05 2010-05-20 Fujifilm Corp 光ナノインプリント用硬化性組成物、硬化物およびその製造方法
JP2011111553A (ja) * 2009-11-27 2011-06-09 Fujifilm Corp インプリント用硬化性組成物、硬化物および硬化物の製造方法
JP2013070033A (ja) * 2011-09-05 2013-04-18 Canon Inc インプリント装置、インプリント方法及び物品の製造方法

Patent Citations (10)

* Cited by examiner, † Cited by third party
Publication number Priority date Publication date Assignee Title
US3997609A (en) * 1973-02-09 1976-12-14 Hoechst Aktiengesellschaft Partially fluorinated amino ethers
JPH02172944A (ja) * 1988-11-04 1990-07-04 Hoechst Ag ヘキサフルオロプロペン酸化物のオリゴマーの製造方法
US20030072713A1 (en) * 2000-08-11 2003-04-17 Johannes Platzek Use of perfluoroalkyl-containing metal complexes as contrast media in MR-imaging for visualization of plaque, tumors and necroses
US20060094882A1 (en) * 2004-11-03 2006-05-04 Toyota Jidosha Kabushiki Kaisha Ambient-temperature molten salts and process for producing the same
US20070020183A1 (en) * 2005-07-15 2007-01-25 Heiko Schirmer Perfluoroalkyl-containing complexes, process for their production as well as their use
JP2012033517A (ja) * 2010-06-29 2012-02-16 Fujifilm Corp 光インプリント用硬化性組成物およびそれを用いた硬化物の製造方法
WO2013069511A1 (en) * 2011-11-10 2013-05-16 Canon Kabushiki Kaisha Photo-curable composition and patterning method using the same
JP2013253150A (ja) * 2012-06-06 2013-12-19 Canon Inc 硬化性組成物、及びこれを用いるパターン形成方法
JP2014078697A (ja) * 2012-09-24 2014-05-01 Canon Inc 光硬化性組成物及びこれを用いた膜の製造方法
JP2014082469A (ja) * 2012-09-27 2014-05-08 Fujifilm Corp 光インプリント用硬化性組成物、パターン形成方法およびパターン

Non-Patent Citations (3)

* Cited by examiner, † Cited by third party
Title
"CHEMCATS (STN)", AURORA BUILDING BLOCKS, 3 July 2013 (2013-07-03) *
PASHINNIK ET AL.: "Aminotrifluorosulfuranes with electron-acceptor fluoroalkyl and heterocyclic groups at the nitrogen atom", UKRAINSKII KHIMICHESKII ZHURNAL ( RUSSIAN EDITION, vol. 73, 2007, pages 45 - 50 *
SZABO ET AL.: "Novel generation ponytails in fluorous chemistry: Syntheses of primary, secondary, and tertiary (nonafluoro-tert-butyloxy)ethylamines", JOURNAL OF FLUORINE CHEMISTRY, vol. 127, 2006, pages 1496 - 1504, XP028044324, DOI: doi:10.1016/j.jfluchem.2006.06.020 *

Cited By (9)

* Cited by examiner, † Cited by third party
Publication number Priority date Publication date Assignee Title
US10533065B2 (en) 2014-07-25 2020-01-14 Canon Kabushiki Kaisha Photocurable composition, method for producing cured product pattern using the same, method for producing optical component, and method for producing circuit board
WO2016098345A1 (en) * 2014-12-19 2016-06-23 Canon Kabushiki Kaisha Photocurable composition for imprint, method for producing film using the same, method for producing optical component using the same, method for producing circuit board using the same, and method for producing electronic component using the same
KR20170094386A (ko) * 2014-12-19 2017-08-17 캐논 가부시끼가이샤 임프린트용 광경화성 조성물, 이를 사용한 막의 제조 방법, 이를 사용한 광학 부품의 제조 방법, 이를 사용한 회로 기판의 제조 방법, 및 이를 사용한 전자 부품의 제조 방법
KR101988782B1 (ko) * 2014-12-19 2019-06-12 캐논 가부시끼가이샤 임프린트용 광경화성 조성물, 이를 사용한 막의 제조 방법, 이를 사용한 광학 부품의 제조 방법, 이를 사용한 회로 기판의 제조 방법, 및 이를 사용한 전자 부품의 제조 방법
KR20190067264A (ko) * 2014-12-19 2019-06-14 캐논 가부시끼가이샤 임프린트용 광경화성 조성물, 이를 사용한 막의 제조 방법, 이를 사용한 광학 부품의 제조 방법, 이를 사용한 회로 기판의 제조 방법, 및 이를 사용한 전자 부품의 제조 방법
KR20190142450A (ko) * 2014-12-19 2019-12-26 캐논 가부시끼가이샤 임프린트용 광경화성 조성물, 이를 사용한 막의 제조 방법, 이를 사용한 광학 부품의 제조 방법, 이를 사용한 회로 기판의 제조 방법, 및 이를 사용한 전자 부품의 제조 방법
KR102059314B1 (ko) * 2014-12-19 2020-02-11 캐논 가부시끼가이샤 임프린트용 광경화성 조성물, 이를 사용한 막의 제조 방법, 이를 사용한 광학 부품의 제조 방법, 이를 사용한 회로 기판의 제조 방법, 및 이를 사용한 전자 부품의 제조 방법
KR102246568B1 (ko) * 2014-12-19 2021-04-30 캐논 가부시끼가이샤 임프린트용 광경화성 조성물, 이를 사용한 막의 제조 방법, 이를 사용한 광학 부품의 제조 방법, 이를 사용한 회로 기판의 제조 방법, 및 이를 사용한 전자 부품의 제조 방법
US11003073B2 (en) 2014-12-19 2021-05-11 Canon Kabushiki Kaisha Photocurable composition for imprint, method for producing film using the same, method for producing optical component using the same, method for producing circuit board using the same, and method for producing electronic component using the same

Also Published As

Publication number Publication date
KR101811116B1 (ko) 2017-12-20
CN105189448A (zh) 2015-12-23
TW201443000A (zh) 2014-11-16
KR20160003236A (ko) 2016-01-08
TWI649297B (zh) 2019-02-01
JP6333050B2 (ja) 2018-05-30
CN105189448B (zh) 2017-05-24
US9593170B2 (en) 2017-03-14
US20160108142A1 (en) 2016-04-21
JP2014237632A (ja) 2014-12-18

Similar Documents

Publication Publication Date Title
EP3158578B1 (en) Adhesion layer composition, method for forming film by nanoimprinting, methods for manufacturing optical component, circuit board and electronic apparatus
EP3017460B1 (en) Method of producing film, method of producing optical component, method of producing circuit board, method of producing electronic component, and photocurable composition
JP7086841B2 (ja) パターン形成方法、加工基板の製造方法、光学部品の製造方法、回路基板の製造方法、電子部品の製造方法、インプリントモールドの製造方法
EP3039707B1 (en) Curable composition for photoimprint and method of producing film, optical component, circuit board, or electronic component using the composition
US9593170B2 (en) Compound, photocurable composition, and methods for producing patterned film, optical component, circuit board, electronic component by using the photocurable composition, and cured product
US10293543B2 (en) Method of producing a patterned film
KR101878622B1 (ko) 광경화성 조성물, 그를 사용한 경화물 패턴의 제조 방법, 광학 부품의 제조 방법, 및 회로 기판의 제조 방법
US10456974B2 (en) Photocurable composition, methods for producing film, optical component, circuit board, and electronic component by using the same, and cured product
EP3167477B1 (en) Photocurable composition, and methods using the same for forming cured product pattern and for manufacturing optical component, circuit board and imprinting mold
WO2016098346A1 (en) Photocurable composition for imprint, method of producing cured film, method of producing optical component, method of producing circuit board, and method of producing electronic component

Legal Events

Date Code Title Description
WWE Wipo information: entry into national phase

Ref document number: 201480026291.X

Country of ref document: CN

121 Ep: the epo has been informed by wipo that ep was designated in this application

Ref document number: 14795149

Country of ref document: EP

Kind code of ref document: A1

WWE Wipo information: entry into national phase

Ref document number: 14889793

Country of ref document: US

NENP Non-entry into the national phase

Ref country code: DE

ENP Entry into the national phase

Ref document number: 20157034219

Country of ref document: KR

Kind code of ref document: A

122 Ep: pct application non-entry in european phase

Ref document number: 14795149

Country of ref document: EP

Kind code of ref document: A1