WO2014097960A1 - 液晶表示装置 - Google Patents

液晶表示装置 Download PDF

Info

Publication number
WO2014097960A1
WO2014097960A1 PCT/JP2013/083323 JP2013083323W WO2014097960A1 WO 2014097960 A1 WO2014097960 A1 WO 2014097960A1 JP 2013083323 W JP2013083323 W JP 2013083323W WO 2014097960 A1 WO2014097960 A1 WO 2014097960A1
Authority
WO
WIPO (PCT)
Prior art keywords
liquid crystal
light
display device
crystal display
control member
Prior art date
Legal status (The legal status is an assumption and is not a legal conclusion. Google has not performed a legal analysis and makes no representation as to the accuracy of the status listed.)
Ceased
Application number
PCT/JP2013/083323
Other languages
English (en)
French (fr)
Japanese (ja)
Inventor
昇平 勝田
前田 強
英臣 由井
裕介 津田
Current Assignee (The listed assignees may be inaccurate. Google has not performed a legal analysis and makes no representation or warranty as to the accuracy of the list.)
Sharp Corp
Original Assignee
Sharp Corp
Priority date (The priority date is an assumption and is not a legal conclusion. Google has not performed a legal analysis and makes no representation as to the accuracy of the date listed.)
Filing date
Publication date
Application filed by Sharp Corp filed Critical Sharp Corp
Priority to US14/652,917 priority Critical patent/US9829737B2/en
Publication of WO2014097960A1 publication Critical patent/WO2014097960A1/ja
Anticipated expiration legal-status Critical
Ceased legal-status Critical Current

Links

Images

Classifications

    • GPHYSICS
    • G02OPTICS
    • G02FOPTICAL DEVICES OR ARRANGEMENTS FOR THE CONTROL OF LIGHT BY MODIFICATION OF THE OPTICAL PROPERTIES OF THE MEDIA OF THE ELEMENTS INVOLVED THEREIN; NON-LINEAR OPTICS; FREQUENCY-CHANGING OF LIGHT; OPTICAL LOGIC ELEMENTS; OPTICAL ANALOGUE/DIGITAL CONVERTERS
    • G02F1/00Devices or arrangements for the control of the intensity, colour, phase, polarisation or direction of light arriving from an independent light source, e.g. switching, gating or modulating; Non-linear optics
    • G02F1/01Devices or arrangements for the control of the intensity, colour, phase, polarisation or direction of light arriving from an independent light source, e.g. switching, gating or modulating; Non-linear optics for the control of the intensity, phase, polarisation or colour 
    • G02F1/13Devices or arrangements for the control of the intensity, colour, phase, polarisation or direction of light arriving from an independent light source, e.g. switching, gating or modulating; Non-linear optics for the control of the intensity, phase, polarisation or colour  based on liquid crystals, e.g. single liquid crystal display cells
    • G02F1/133Constructional arrangements; Operation of liquid crystal cells; Circuit arrangements
    • G02F1/1333Constructional arrangements; Manufacturing methods
    • G02F1/1335Structural association of cells with optical devices, e.g. polarisers or reflectors
    • G02F1/133504Diffusing, scattering, diffracting elements
    • GPHYSICS
    • G02OPTICS
    • G02BOPTICAL ELEMENTS, SYSTEMS OR APPARATUS
    • G02B6/00Light guides; Structural details of arrangements comprising light guides and other optical elements, e.g. couplings
    • G02B6/0001Light guides; Structural details of arrangements comprising light guides and other optical elements, e.g. couplings specially adapted for lighting devices or systems
    • G02B6/0011Light guides; Structural details of arrangements comprising light guides and other optical elements, e.g. couplings specially adapted for lighting devices or systems the light guides being planar or of plate-like form
    • GPHYSICS
    • G02OPTICS
    • G02FOPTICAL DEVICES OR ARRANGEMENTS FOR THE CONTROL OF LIGHT BY MODIFICATION OF THE OPTICAL PROPERTIES OF THE MEDIA OF THE ELEMENTS INVOLVED THEREIN; NON-LINEAR OPTICS; FREQUENCY-CHANGING OF LIGHT; OPTICAL LOGIC ELEMENTS; OPTICAL ANALOGUE/DIGITAL CONVERTERS
    • G02F1/00Devices or arrangements for the control of the intensity, colour, phase, polarisation or direction of light arriving from an independent light source, e.g. switching, gating or modulating; Non-linear optics
    • G02F1/01Devices or arrangements for the control of the intensity, colour, phase, polarisation or direction of light arriving from an independent light source, e.g. switching, gating or modulating; Non-linear optics for the control of the intensity, phase, polarisation or colour 
    • G02F1/13Devices or arrangements for the control of the intensity, colour, phase, polarisation or direction of light arriving from an independent light source, e.g. switching, gating or modulating; Non-linear optics for the control of the intensity, phase, polarisation or colour  based on liquid crystals, e.g. single liquid crystal display cells
    • G02F1/133Constructional arrangements; Operation of liquid crystal cells; Circuit arrangements
    • G02F1/1333Constructional arrangements; Manufacturing methods
    • G02F1/1335Structural association of cells with optical devices, e.g. polarisers or reflectors
    • G02F1/133509Filters, e.g. light shielding masks
    • G02F1/133512Light shielding layers, e.g. black matrix
    • GPHYSICS
    • G02OPTICS
    • G02FOPTICAL DEVICES OR ARRANGEMENTS FOR THE CONTROL OF LIGHT BY MODIFICATION OF THE OPTICAL PROPERTIES OF THE MEDIA OF THE ELEMENTS INVOLVED THEREIN; NON-LINEAR OPTICS; FREQUENCY-CHANGING OF LIGHT; OPTICAL LOGIC ELEMENTS; OPTICAL ANALOGUE/DIGITAL CONVERTERS
    • G02F1/00Devices or arrangements for the control of the intensity, colour, phase, polarisation or direction of light arriving from an independent light source, e.g. switching, gating or modulating; Non-linear optics
    • G02F1/01Devices or arrangements for the control of the intensity, colour, phase, polarisation or direction of light arriving from an independent light source, e.g. switching, gating or modulating; Non-linear optics for the control of the intensity, phase, polarisation or colour 
    • G02F1/13Devices or arrangements for the control of the intensity, colour, phase, polarisation or direction of light arriving from an independent light source, e.g. switching, gating or modulating; Non-linear optics for the control of the intensity, phase, polarisation or colour  based on liquid crystals, e.g. single liquid crystal display cells
    • G02F1/133Constructional arrangements; Operation of liquid crystal cells; Circuit arrangements
    • G02F1/1333Constructional arrangements; Manufacturing methods
    • G02F1/1335Structural association of cells with optical devices, e.g. polarisers or reflectors
    • G02F1/133528Polarisers
    • GPHYSICS
    • G02OPTICS
    • G02FOPTICAL DEVICES OR ARRANGEMENTS FOR THE CONTROL OF LIGHT BY MODIFICATION OF THE OPTICAL PROPERTIES OF THE MEDIA OF THE ELEMENTS INVOLVED THEREIN; NON-LINEAR OPTICS; FREQUENCY-CHANGING OF LIGHT; OPTICAL LOGIC ELEMENTS; OPTICAL ANALOGUE/DIGITAL CONVERTERS
    • G02F1/00Devices or arrangements for the control of the intensity, colour, phase, polarisation or direction of light arriving from an independent light source, e.g. switching, gating or modulating; Non-linear optics
    • G02F1/01Devices or arrangements for the control of the intensity, colour, phase, polarisation or direction of light arriving from an independent light source, e.g. switching, gating or modulating; Non-linear optics for the control of the intensity, phase, polarisation or colour 
    • G02F1/13Devices or arrangements for the control of the intensity, colour, phase, polarisation or direction of light arriving from an independent light source, e.g. switching, gating or modulating; Non-linear optics for the control of the intensity, phase, polarisation or colour  based on liquid crystals, e.g. single liquid crystal display cells
    • G02F1/133Constructional arrangements; Operation of liquid crystal cells; Circuit arrangements
    • G02F1/1333Constructional arrangements; Manufacturing methods
    • G02F1/1337Surface-induced orientation of the liquid crystal molecules, e.g. by alignment layers
    • GPHYSICS
    • G02OPTICS
    • G02BOPTICAL ELEMENTS, SYSTEMS OR APPARATUS
    • G02B6/00Light guides; Structural details of arrangements comprising light guides and other optical elements, e.g. couplings
    • G02B6/0001Light guides; Structural details of arrangements comprising light guides and other optical elements, e.g. couplings specially adapted for lighting devices or systems
    • G02B6/0011Light guides; Structural details of arrangements comprising light guides and other optical elements, e.g. couplings specially adapted for lighting devices or systems the light guides being planar or of plate-like form
    • G02B6/0033Means for improving the coupling-out of light from the light guide
    • G02B6/005Means for improving the coupling-out of light from the light guide provided by one optical element, or plurality thereof, placed on the light output side of the light guide
    • G02B6/0051Diffusing sheet or layer
    • GPHYSICS
    • G02OPTICS
    • G02BOPTICAL ELEMENTS, SYSTEMS OR APPARATUS
    • G02B6/00Light guides; Structural details of arrangements comprising light guides and other optical elements, e.g. couplings
    • G02B6/0001Light guides; Structural details of arrangements comprising light guides and other optical elements, e.g. couplings specially adapted for lighting devices or systems
    • G02B6/0011Light guides; Structural details of arrangements comprising light guides and other optical elements, e.g. couplings specially adapted for lighting devices or systems the light guides being planar or of plate-like form
    • G02B6/0033Means for improving the coupling-out of light from the light guide
    • G02B6/005Means for improving the coupling-out of light from the light guide provided by one optical element, or plurality thereof, placed on the light output side of the light guide
    • G02B6/0053Prismatic sheet or layer; Brightness enhancement element, sheet or layer
    • GPHYSICS
    • G02OPTICS
    • G02FOPTICAL DEVICES OR ARRANGEMENTS FOR THE CONTROL OF LIGHT BY MODIFICATION OF THE OPTICAL PROPERTIES OF THE MEDIA OF THE ELEMENTS INVOLVED THEREIN; NON-LINEAR OPTICS; FREQUENCY-CHANGING OF LIGHT; OPTICAL LOGIC ELEMENTS; OPTICAL ANALOGUE/DIGITAL CONVERTERS
    • G02F1/00Devices or arrangements for the control of the intensity, colour, phase, polarisation or direction of light arriving from an independent light source, e.g. switching, gating or modulating; Non-linear optics
    • G02F1/01Devices or arrangements for the control of the intensity, colour, phase, polarisation or direction of light arriving from an independent light source, e.g. switching, gating or modulating; Non-linear optics for the control of the intensity, phase, polarisation or colour 
    • G02F1/13Devices or arrangements for the control of the intensity, colour, phase, polarisation or direction of light arriving from an independent light source, e.g. switching, gating or modulating; Non-linear optics for the control of the intensity, phase, polarisation or colour  based on liquid crystals, e.g. single liquid crystal display cells
    • G02F1/133Constructional arrangements; Operation of liquid crystal cells; Circuit arrangements
    • G02F1/1333Constructional arrangements; Manufacturing methods
    • G02F1/1337Surface-induced orientation of the liquid crystal molecules, e.g. by alignment layers
    • G02F1/133742Surface-induced orientation of the liquid crystal molecules, e.g. by alignment layers for homeotropic alignment

Definitions

  • the present invention relates to a liquid crystal display device.
  • This application claims priority based on Japanese Patent Application No. 2012-275767 filed in Japan on December 18, 2012, the contents of which are incorporated herein by reference.
  • Liquid crystal display devices are widely used as portable electronic devices such as cellular phones or displays for televisions, personal computers, and the like.
  • a liquid crystal display device exhibits excellent display characteristics when a display screen is viewed from the front.
  • the contrast is lowered and the visibility tends to deteriorate.
  • gradation inversion or the like in which brightness is reversed in gradation display may occur. For this reason, various methods have been proposed to widen the viewing angle range in which the screen can be observed with good visibility.
  • Patent Document 1 discloses a VA (Vertical Alignment) mode liquid crystal display device and a MVA (Multi-domain Vertical Alignment) mode liquid crystal display device with good viewing angle characteristics.
  • VA Vertical Alignment
  • MVA Multi-domain Vertical Alignment
  • a VA mode liquid crystal display device in which the number of domains of one pixel is four, the average direction (director) of the major axis of the liquid crystal molecules contained in each domain differs by 90 ° in azimuth when voltage is applied.
  • a VA mode liquid crystal display device having four domains has improved viewing angle characteristics. Specifically, in a VA mode liquid crystal display device having four domains, when the liquid crystal display device is viewed obliquely from the top, bottom, left, and right directions, the change in gamma characteristics (gradation-luminance characteristics) is small.
  • the present invention has been made to solve the above-described problems, and an object of the present invention is to provide a liquid crystal display device having a small viewing angle dependency.
  • the liquid crystal display device includes a first substrate having a first vertical alignment film, a second substrate having a second vertical alignment film, the first vertical alignment film, and the second A liquid crystal layer having negative dielectric anisotropy sandwiched between the vertical alignment film, a first polarizing plate disposed on a light incident side of the liquid crystal layer, and a light emitting side of the liquid crystal layer A liquid crystal panel including the second polarizing plate, an illumination device that is disposed on the light incident side of the liquid crystal panel and emits light toward the liquid crystal panel, and is disposed on the light emission side of the liquid crystal panel.
  • the light control member includes a light-transmitting base material, a light diffusion portion formed on the first surface of the base material, and the first base material of the base material.
  • a light shielding portion formed in a region other than the region where the light diffusing portion is formed, and the light diffusing portion is disposed on a side opposite to the substrate side.
  • a light incident end surface having an area larger than an area of the light emitting end surface, and an inclined surface positioned between the light emitting end surface and the light incident end surface, and the light incident end surface of the light diffusing section.
  • the refractive index smaller than the refractive index of the light diffusing portion in the gap between the light diffusing portions in the region where the light diffusing portion is not formed and the height from the light emitting end surface to the light exit end surface is higher than the light shielding portion
  • the light scattering characteristic of the light control member may have two or more axes of line symmetry as viewed from the normal direction of the liquid crystal panel.
  • the planar shape of the light shielding portion viewed from the normal direction of the base material may be a circle.
  • the planar shape of the light shielding part viewed from the normal direction of the substrate is an anisotropic shape having a major axis and a minor axis, and the light shielding part is A plurality of light shielding portions may be included so that the extending direction of the long axis and the extending direction of the short axis are different from each other.
  • the extending direction of the major axis and the extending direction of the minor axis of the light shielding portion are substantially coincident with the director directions of the liquid crystal molecules in the plurality of regions. Also good.
  • the planar shape may be an ellipse.
  • the planar shape may be a polygon inscribed in an ellipse.
  • an angle formed between the light incident end surface of the light diffusion portion and the inclined surface may be 80 ° ⁇ 5 °.
  • the ratio of the occupied area of the light shielding portion to the total area of the first surface of the base material may be 30% ⁇ 10%.
  • the first vertical alignment film and the second vertical alignment film may be photo alignment films.
  • the liquid crystal panel may perform monaural color display.
  • FIG. 1 is a front view of a liquid crystal display device 1.
  • FIG. 1 is a schematic diagram which shows the electrical structure of the liquid crystal display device of 1st Embodiment of this invention. It is a schematic diagram which shows the arrangement
  • FIG. 1 is an external view showing a mobile phone as an application example of a liquid crystal display device according to first to tenth embodiments.
  • 1 is an external view showing a thin television that is an application example of a liquid crystal display device according to first to tenth embodiments.
  • 1 is an external view showing a notebook personal computer that is an application example of liquid crystal display devices according to first to tenth embodiments.
  • FIG. 1 is an external view showing a mobile phone as an application example of a liquid crystal display device according to first to tenth embodiments.
  • 1 is an external view showing a thin television that is an application example of a liquid crystal display device according to first to tenth embodiments.
  • 1 is an external view showing a notebook personal computer that is an application example of liquid crystal display devices according to first to tenth embodiments.
  • FIGS. 1 to 9D An embodiment of the present invention will be described below with reference to FIGS. 1 to 9D.
  • this embodiment an example of a liquid crystal display device including a transmissive liquid crystal panel will be described.
  • the scale of the size may be changed depending on the component.
  • FIG. 1 is a cross-sectional view of the liquid crystal display device 1 of the present embodiment.
  • the liquid crystal display device 1 of the present embodiment includes a liquid crystal panel 2, a backlight 8 (illumination device), and a light control member 9 (light control member).
  • the liquid crystal panel 2 includes a first polarizing plate 3, a first retardation film 4 (retardation plate), a liquid crystal cell 5, a second retardation film 6 (retardation plate), a second polarizing plate 7, It has.
  • the liquid crystal cell 5 is schematically illustrated, but the detailed structure thereof will be described later.
  • the observer sees the display image of the liquid crystal display device 1 through the light control member 9.
  • the side on which the light control member 9 is disposed is referred to as the viewing side.
  • the side on which the backlight 8 is disposed is referred to as the back side.
  • the x axis is defined as the horizontal direction of the screen of the liquid crystal display device.
  • the y axis is defined as the vertical direction of the screen of the liquid crystal display device.
  • the z axis is defined as the thickness direction of the liquid crystal display device.
  • the light emitted from the backlight 8 is modulated by the liquid crystal panel 2, and a predetermined image, character, or the like is displayed by the modulated light.
  • the light distribution of the emitted light becomes wider than before entering the light control member 9, and the light is emitted from the light control member 9. The Thereby, the observer can visually recognize the display with a wide viewing angle.
  • liquid crystal panel 2 an active matrix transmissive liquid crystal panel will be described as an example.
  • the liquid crystal panel applicable to this embodiment is not limited to an active matrix transmissive liquid crystal panel.
  • the liquid crystal panel applicable to the present embodiment may be, for example, a transflective type (transmission / reflection type) liquid crystal panel.
  • a simple matrix type liquid crystal panel in which each pixel does not include a switching thin film transistor hereinafter abbreviated as TFT may be used.
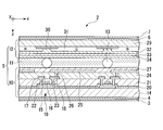
  • FIG. 2 is a longitudinal sectional view of the liquid crystal panel 2.
  • the liquid crystal cell 5 includes a TFT substrate 10, a color filter substrate 12, and a liquid crystal layer 11.
  • the TFT substrate 10 functions as a switching element substrate.
  • the color filter substrate 12 is disposed to face the TFT substrate 10.
  • the liquid crystal layer 11 is sandwiched between the TFT substrate 10 and the color filter substrate 12.
  • the liquid crystal layer 11 is sealed in a space surrounded by the TFT substrate 10, the color filter substrate 12, and a frame-shaped seal member (not shown).
  • the sealing member bonds the TFT substrate 10 and the color filter substrate 12 at a predetermined interval.
  • the liquid crystal panel 2 of the present embodiment performs display in, for example, a VA (Vertical Alignment, vertical alignment) mode.
  • a liquid crystal having a negative dielectric anisotropy is used for the liquid crystal layer 11.
  • a spacer 13 is disposed between the TFT substrate 10 and the color filter substrate 12. The spacer 13 is spherical or columnar. The spacer 13 keeps the distance between the TFT substrate 10 and the color filter substrate 12 constant.
  • a plurality of pixels are arranged in a matrix on the TFT substrate 10.
  • a pixel is a basic unit of display.
  • a plurality of source bus lines are formed on the TFT substrate 10 so as to extend in parallel to each other.
  • a plurality of gate bus lines are formed on the TFT substrate 10 so as to extend in parallel to each other.
  • the plurality of gate bus lines are orthogonal to the plurality of source bus lines.
  • On the TFT substrate 10 a plurality of source bus lines and a plurality of gate bus lines are formed in a lattice pattern.
  • a rectangular area defined by adjacent source bus lines and adjacent gate bus lines is one pixel.
  • the source bus line is connected to the source electrode 17 of the TFT 19.
  • the gate bus line is connected to the gate electrode 16 of the TFT 19.
  • a TFT 19 having a semiconductor layer 15, a gate electrode 16, a source electrode 17, a drain electrode 18 and the like is formed on the surface of the transparent substrate 14 constituting the TFT substrate 10 on the liquid crystal layer 11 side.
  • the transparent substrate 14 for example, a glass substrate can be used.
  • a semiconductor layer 15 is formed on the transparent substrate 14.
  • Examples of the material of the semiconductor layer 15 include semiconductors such as CGS (Continuous Grain Silicon: continuous grain boundary silicon), LPS (Low-temperature Poly-Silicon: low-temperature polycrystalline silicon), ⁇ -Si (Amorphous Silicon: amorphous silicon), and the like. Material is used.
  • a gate insulating film 20 is formed on the transparent substrate 14 so as to cover the semiconductor layer 15.
  • a material of the gate insulating film 20 for example, a silicon oxide film, a silicon nitride film, or a laminated film thereof is used.
  • a gate electrode 16 is formed on the gate insulating film 20 so as to face the semiconductor layer 15.
  • a laminated film of W (tungsten) / TaN (tantalum nitride), Mo (molybdenum), Ti (titanium), Al (aluminum), or the like is used.
  • a first interlayer insulating film 21 is formed on the gate insulating film 20 so as to cover the gate electrode 16.
  • a material of the first interlayer insulating film 21 for example, a silicon oxide film, a silicon nitride film, or a laminated film thereof is used.
  • a source electrode 17 and a drain electrode 18 are formed on the first interlayer insulating film 21.
  • a contact hole 22 and a contact hole 23 are formed in the first interlayer insulating film 21 and the gate insulating film 20 so as to penetrate the first interlayer insulating film 21 and the gate insulating film 20.
  • the source electrode 17 is connected to the source region of the semiconductor layer 15 through the contact hole 22.
  • the drain electrode 18 is connected to the drain region of the semiconductor layer 15 through the contact hole 23.
  • a second interlayer insulating film 24 is formed on the first interlayer insulating film 21 so as to cover the source electrode 17 and the drain electrode 18.
  • the same material as the first interlayer insulating film 21 described above or an organic insulating material is used.
  • a pixel electrode 25 is formed on the second interlayer insulating film 24.
  • a contact hole 26 is formed through the second interlayer insulating film 24 in the second interlayer insulating film 24.
  • the pixel electrode 25 is connected to the drain electrode 18 through the contact hole 26.
  • the pixel electrode 25 is connected to the drain region of the semiconductor layer 15 using the drain electrode 18 as a relay electrode.
  • a transparent conductive material such as ITO (Indium Tin Oxide) or IZO (Indium Zinc Oxide) is used.
  • the image signal supplied to the source electrode 17 through the source bus line passes through the semiconductor layer 15 and the drain electrode 18 to form a pixel electrode. 25.
  • the top gate type TFT shown in FIG. 2 or a bottom gate type TFT may be used as a form of the TFT 19.
  • a first vertical alignment film 27 is formed on the entire surface of the second interlayer insulating film 24 so as to cover the pixel electrode 25.
  • the first vertical alignment film 27 has an alignment regulating force for vertically aligning liquid crystal molecules constituting the liquid crystal layer 11.
  • the first vertical alignment film 27 is a so-called vertical alignment film.
  • the first vertical alignment film 27 is subjected to an alignment process using an optical alignment technique. That is, in this embodiment, a photo-alignment film is used as the first vertical alignment film 27.
  • a black matrix 30, a color filter 31, a planarization layer 32, a counter electrode 33, and a second vertical alignment film 34 are sequentially formed on the surface of the transparent substrate 29 constituting the color filter substrate 12 on the liquid crystal layer 11 side. ing.
  • the black matrix 30 has a function of blocking light transmission in the inter-pixel region.
  • the black matrix 30 is formed of, for example, a metal such as Cr (chromium) or a Cr / Cr oxide multilayer film, or a photoresist in which carbon particles are dispersed in a photosensitive resin.
  • the color filter 31 contains pigments of red (R), green (G), and blue (B) colors.
  • One color filter 31 of R, G, or B is disposed to face one pixel electrode 25 on the TFT substrate 10. Note that the color filter 31 may have a multicolor configuration of three or more colors of R, G, and B.
  • the planarization layer 32 is composed of an insulating film that covers the black matrix 30 and the color filter 31.
  • the planarizing layer 32 has a function of smoothing and leveling a step formed by the black matrix 30 and the color filter 31.
  • a counter electrode 33 is formed on the planarization layer 32.
  • a transparent conductive material similar to that of the pixel electrode 25 is used.
  • a second vertical alignment film 34 is formed on the entire surface of the counter electrode 33.
  • the second vertical alignment film 34 has an alignment regulating force for vertically aligning the liquid crystal molecules constituting the liquid crystal layer 11.
  • the second vertical alignment film 34 is a so-called vertical alignment film.
  • the alignment process is performed on the second vertical alignment film 34 using a photo-alignment technique. That is, in this embodiment, a photo-alignment film is used as the second vertical alignment film 34.
  • the backlight 8 which is an illumination device includes a light source 36 and a light guide 37.
  • the light source 36 is disposed on the end face of the light guide 37.
  • As the light source 36 for example, a light emitting diode, a cold cathode tube, or the like is used.
  • the backlight 8 of the present embodiment is an edge light type backlight.
  • the light guide 37 has a function of guiding the light emitted from the light source 36 to the liquid crystal panel 2.
  • a resin material such as acrylic resin is used.
  • the light incident on the end surface of the light guide 37 from the light source 36 propagates by being totally reflected inside the light guide 37 and is emitted from the upper surface (light emission surface) of the light guide 37 with a substantially uniform intensity.
  • a scattering sheet and a prism sheet are disposed on the upper surface of the light guide 37, and a scattering sheet is disposed on the lower surface of the light guide 37.
  • the light emitted from the upper surface of the light guide 37 is scattered by the scattering sheet, then condensed by the prism sheet, and is emitted after being substantially parallelized.
  • White PET may be used as the scattering sheet.
  • the prism sheet for example, BEF (trade name) manufactured by Sumitomo 3M may be used.
  • the backlight 8 does not need to have directivity.
  • a backlight hereinafter, sometimes referred to as a normal backlight
  • the backlight 8 may have directivity.
  • a first polarizing plate 3 is provided between the backlight 8 and the liquid crystal cell 5.
  • the first polarizing plate 3 functions as a polarizer.
  • a second polarizing plate 7 is provided between the liquid crystal cell 5 and the light control member 9.
  • the second polarizing plate 7 functions as a polarizer.
  • the transmission axis of the first polarizing plate 3 and the transmission axis of the second polarizing plate 7 are in a crossed Nicols arrangement.
  • the 1st phase difference film 4 for compensating the phase difference of light is provided between the 1st polarizing plate 3 and the liquid crystal cell 5.
  • a second retardation film 6 is provided between the second polarizing plate 7 and the liquid crystal cell 5 to compensate for the phase difference of light.
  • retardation film As the retardation film (first retardation film 4, second retardation film 6) of this embodiment, a WV film manufactured by Fuji Film Co., Ltd. is used.
  • FIG. 3 is a perspective view of the light control member 9 as seen from the viewing side.
  • FIG. 4 is a schematic diagram of the light control member 9.
  • the upper left side is a plan view of the light control member 9.
  • the lower left side is a cross-sectional view along the line AA in the plan view of the upper left side.
  • the upper right stage is a cross-sectional view along the line BB in the plan view of the upper left stage.
  • the light control member 9 includes a base material 39, a plurality of light shielding layers 40, and a light diffusion portion 41, as shown in FIG.
  • the plurality of light shielding layers 40 are formed on one surface of the base material 39 (a surface opposite to the viewing side).
  • the light diffusion portion 41 is formed in an area other than the formation area of the light shielding layer 40 on one surface of the base material 39.
  • the light control member 9 is disposed on the second polarizing plate 7 with the light diffusion portion 41 facing the second polarizing plate 7 and the base material 39 facing the viewing side.
  • the light control member 9 is fixed to the second polarizing plate 7 through the adhesive layer 43.
  • the base material 39 examples include transparent resin base materials such as triacetyl cellulose (TAC) film, polyethylene terephthalate (PET), polycarbonate (PC), polyethylene naphthalate (PEN), and polyethersulfone (PES) film.
  • TAC triacetyl cellulose
  • PET polyethylene terephthalate
  • PC polycarbonate
  • PEN polyethylene naphthalate
  • PES polyethersulfone
  • the base material 39 becomes a base when the material for the light shielding layer 40 and the light diffusion portion 41 is applied later in the manufacturing process.
  • the base material 39 needs to have heat resistance and mechanical strength in a heat treatment step during the manufacturing process. Therefore, as the base material 39, a glass base material or the like may be used in addition to the resin base material. However, it is preferable that the thickness of the base material 39 is as thin as possible without impairing heat resistance and mechanical strength.
  • the total light transmittance of the base material 39 is preferably 90% or more as defined in JIS K7361-1. When the total light transmittance is 90% or more, sufficient transparency can be obtained.
  • a transparent resin substrate having a thickness of 100 ⁇ m is used as an example.
  • the light shielding layer 40 is randomly arranged as viewed from the normal direction of the main surface of the base material 39.
  • the light shielding layer 40 is made of an organic material having light absorption and photosensitivity such as black resist and black ink.
  • a metal film such as Cr (chromium) or a Cr / Cr oxide multilayer film may be used.
  • the light diffusing section 41 is made of an organic material having optical transparency and photosensitivity such as acrylic resin and epoxy resin. Further, the total light transmittance of the light diffusing portion 41 is preferably 90% or more in accordance with JIS K7361-1. When the total light transmittance is 90% or more, sufficient transparency can be obtained.
  • the light diffusing portion 41 has a light exit end face 41a, a light incident end face 41b, and a reflecting face 41c.
  • the light emission end surface 41 a is a surface in contact with the base material 39.
  • the light incident end surface 41b is a surface facing the light emitting end surface 41a.
  • the reflection surface 41 c is a tapered side surface of the light diffusion portion 41.
  • the reflection surface 41c is a surface that reflects light incident from the light incident end surface 41b.
  • the area of the light incident end face 41b is larger than the area of the light exit end face 41a.
  • the light diffusion part 41 is a part that contributes to the transmission of light in the light control member 9.
  • the light L1 is emitted from the light emission end face 41a without being reflected by the reflection surface 41c.
  • the light L2 is totally reflected by the reflecting surface 41c of the light diffusing unit 41 and guided in a state of being substantially confined inside the light diffusing unit 41, and the light emitting end surface 41a. Is injected from.
  • the light control member 9 is arranged so that the base material 39 faces the viewing side. Therefore, of the two opposing surfaces of the light diffusing portion 41, the surface with the smaller area becomes the light emission end surface 41a. On the other hand, the surface with the larger area becomes the light incident end surface 41b.
  • the inclination angle of the reflection surface 41c of the light diffusion portion 41 (the angle formed between the light incident end surface 41b and the reflection surface 41c) may be 80 ° ⁇ 5 °, and is about 80 ° as an example.
  • the inclination angle of the reflection surface 41c of the light diffusion portion 41 is not particularly limited as long as it is an angle that can sufficiently diffuse incident light when emitted from the light control member 9.
  • the inclination angle of the reflection surface 41c of the light diffusing unit 41 is constant.
  • the height from the light incident end surface 41 b to the light emitting end surface 41 a of the light diffusion portion 41 is set to be larger than the layer thickness of the light shielding layer 40.
  • the layer thickness of the light shielding layer 40 is about 150 nm as an example.
  • the height from the light incident end surface 41b of the light diffusion portion 41 to the light emitting end surface 41a is about 20 ⁇ m.
  • a portion surrounded by the reflection surface 41 c of the light diffusion portion 41 and the light shielding layer 40 is a hollow portion 42. Air exists in the hollow portion 42.
  • the refractive index of the base material 39 and the refractive index of the light diffusion part 41 are substantially equal.
  • the reason is as follows. For example, consider a case where the refractive index of the base material 39 and the refractive index of the light diffusion portion 41 are greatly different. In this case, when light incident from the light incident end surface 41 b exits from the light diffusion portion 41, unnecessary light refraction or reflection may occur at the interface between the light diffusion portion 41 and the base material 39. In this case, there is a possibility that problems such as failure to obtain a desired viewing angle and a decrease in the amount of emitted light may occur.
  • the light diffusion portion 41 is formed of, for example, a transparent acrylic resin
  • the reflection surface 41c of the light diffusion portion 41 becomes an interface between the transparent acrylic resin and air.
  • the hollow portion 42 may be filled with another low refractive index material.
  • the difference in the refractive index at the interface between the inside and the outside of the light diffusing portion 41 is maximized when air is present rather than when any low refractive index material is present outside. Therefore, according to Snell's law, in the configuration of the present embodiment, the critical angle is the smallest, and the incident angle range in which the light is totally reflected by the reflection surface 41c of the light diffusion portion 41 is the widest. As a result, light loss is further suppressed, and high luminance can be obtained.
  • the planar shape of the light shielding layer 40 as viewed from the normal direction of the substrate 39 is circular.
  • the diameter of the light shielding layer 40 is, for example, about 15 ⁇ m.
  • the ratio of the occupied area of the light shielding layer 40 to the total area of the base material 39 is, for example, 30% ⁇ 10%.
  • a portion corresponding to the lower part of the light shielding layer 40 is a truncated cone-shaped hollow part 42.
  • the light control member 9 has a plurality of hollow portions 42.
  • a light diffusing portion 41 is continuously provided in a portion other than the plurality of hollow portions 42.
  • the planar shape of the light shielding layer 40 may include an ellipse, a polygon, a semicircle, and the like.
  • the planar shape of the light shielding layer 40 is preferably a shape having line symmetry of two or more axes.
  • the shape having line symmetry of two or more axes refers to a shape that is line symmetric with respect to at least two or more line segments. For example, a rectangle is mentioned as a shape symmetrical with respect to two line segments.
  • the axis of line symmetry is considered to be infinite, so it is included in a shape having line symmetry of two or more axes.
  • the planar shape of the light shielding layer 40 has a shape having line symmetry of two or more axes
  • the light scattering characteristics of the light control member 9 are two or more axes when viewed from the normal direction of the liquid crystal panel 2. It has symmetry. Further, a part of the light shielding layer 40 may be formed to overlap.
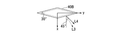
  • FIG. 5 is a diagram for explaining the definition of the polar angle and the azimuth angle.
  • an angle formed by the viewing direction F of the observer with respect to the normal direction E of the screen of the liquid crystal display device 1 is defined as a polar angle ⁇ .
  • the angle formed by the direction of the line segment G when the line-of-sight direction F of the observer is projected on the screen with reference to the positive direction (0 ° direction) of the x-axis is defined as an azimuth angle ⁇ .
  • FIG. 6 is a front view of the liquid crystal display device 1.
  • the horizontal direction (x-axis direction) is the azimuth angle ⁇ : 0 ° -180 ° direction.
  • the vertical direction (y-axis direction) is the azimuth angle ⁇ : 90 ° -270 ° direction.
  • the transmission axis of the first polarizing plate 3 is the azimuth angle ⁇ : 90 ° -270 ° direction
  • the transmission axis of the second polarizing plate 7 is the azimuth angle ⁇ : 0 ° -180 ° direction. It is.
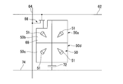
  • FIG. 7 schematically shows the electrical configuration of one pixel of the liquid crystal display device 1 of the present embodiment.
  • the pixel 50 is connected to the TFT 66 and the auxiliary capacitor (CS) 72.
  • the gate electrode of the TFT 66 is connected to the scanning line 62.
  • the source electrode is connected to the signal line 64.
  • the auxiliary capacitor 72 is connected to an auxiliary capacitor line (CS bus line) 74.
  • the auxiliary capacitance 72 includes an auxiliary capacitance electrode electrically connected to the pixel electrode 68, an auxiliary capacitance counter electrode electrically connected to the auxiliary capacitance wiring 74, and an insulating layer (not shown) provided therebetween. Is formed by.
  • the liquid crystal molecules 51 viewed from the normal direction of the liquid crystal panel 2 are shown in a conical shape.
  • the apex of the cone means the end of the liquid crystal molecule 51 on the back side (TFT substrate side).
  • the bottom surface of the cone indicates the end of the liquid crystal molecule on the viewing side (color filter substrate side).
  • the director of the liquid crystal molecules 51 is defined as a direction from an end on the back side of the liquid crystal molecules toward an end on the viewing side.
  • the pixel 50 employs a four-domain VA having four domains 50a, 50b, 50c, and 50d.
  • the liquid crystal molecules 51 included in the four domains 50a, 50b, 50c, and 50d will be described in more detail below.
  • FIG. 8 is a schematic diagram showing an arrangement relationship between the light control member 9 and the pixel 50 including the VA mode liquid crystal included in the liquid crystal display device 1.
  • the light control member 9 is disposed on the pixel 50.
  • the pixel 50 and the light control member 9 are shown in parallel in FIG.
  • the liquid crystal molecules 51 included in the pixel 50 are aligned substantially vertically when no voltage is applied.
  • the directors of the liquid crystal molecules 51 included in the first domain 50a are oriented in the direction of the azimuth angle ⁇ : 45 °, and are inclined so that the polar angle ⁇ is larger than 0 °.
  • the liquid crystal molecules 51 By aligning the liquid crystal molecules 51 in this way, in the first domain 50a, the liquid crystal molecules 51 have an azimuth angle ⁇ of 45 ° and a polar angle of 90 ° at the center in the thickness direction of the liquid crystal layer 11 when a voltage is applied. Tilt down closer to °.
  • the director of the liquid crystal molecules 51 included in the second domain 50b is oriented in the direction of the azimuth angle ⁇ : 135 °, and is inclined so that the polar angle ⁇ is larger than 0 °.
  • the liquid crystal molecules 51 By aligning the liquid crystal molecules 51 in this manner, in the second domain 50b, the liquid crystal molecules 51 have an azimuth angle ⁇ : 135 ° and a polar angle of 90 ° at the center in the thickness direction of the liquid crystal layer 11 when a voltage is applied. Tilt down closer to °.
  • the director of the liquid crystal molecules 51 included in the third domain 50c is oriented in the direction of the azimuth angle ⁇ : 225 °, and is inclined so that the polar angle ⁇ is larger than 0 °.
  • the liquid crystal molecules 51 have an azimuth angle ⁇ : 225 ° and a polar angle of 90 at the center in the thickness direction of the liquid crystal layer 11 when a voltage is applied. Tilt down closer to °.
  • the director of the liquid crystal molecules 51 included in the fourth domain 50d is oriented in the direction of the azimuth angle ⁇ : 315 °, and is inclined so that the polar angle ⁇ is larger than 0 °.
  • the liquid crystal molecules 51 By aligning the liquid crystal molecules 51 in this manner, in the fourth domain 50d, the liquid crystal molecules 51 have an azimuth angle ⁇ : 315 ° and a polar angle of 90 at the center in the thickness direction of the liquid crystal layer 11 when a voltage is applied. Tilt down closer to °.
  • the liquid crystal molecules 51 included in the first to fourth domains 50a to 50d are oriented in a direction in which the azimuth is 90 ° different from each other. Therefore, the liquid crystal molecules 51 included in the first to fourth domains 50a to 50d are tilted in directions different from each other in azimuth by 90 ° when a voltage is applied. That is, with respect to the axis in the direction of the azimuth angle ⁇ : 0 ° -180 °, the liquid crystal molecules 51 included in the first domain 50a are tilted so as to be line symmetric with the liquid crystal molecules 51 included in the fourth domain 50d.
  • the liquid crystal molecules 51 included in the domain 50b are tilted so as to be line symmetric with the liquid crystal molecules 51 included in the third domain 50c. Further, the liquid crystal molecules 51 included in the first domain 50a are tilted so as to be line-symmetric with the liquid crystal molecules 51 included in the first domain 50b with respect to the axis in the direction of the azimuth angle ⁇ : 90 ° to 270 °.
  • the liquid crystal molecules 51 included in the domain 50c are tilted so as to be line-symmetric with the liquid crystal molecules 51 included in the fourth domain 50d. That is, the liquid crystal display device 1 is tilted so as to have biaxial line symmetry as viewed from the normal direction.
  • the liquid crystal molecules 51 in the vicinity of the first light distribution film 27 and the second light distribution film 34 are restricted in light distribution by the first light distribution film 27 and the second light distribution film 34, so that even when a voltage is applied. It remains almost vertical.
  • the light control member 9 is disposed on the light emission side of the liquid crystal panel 2.
  • the light control member 9 is mixed by the light control member 9.
  • the variation in the luminance change depending on the polar angle ⁇ is averaged, and as a result, the change in the gamma characteristic depending on the polar angle ⁇ is alleviated.
  • the viewing angle characteristic is improved by combining the light control member 9 of the present embodiment with the liquid crystal display device 1 adopting the 4-domain VA method.
  • FIGS. 9A to 9D are perspective views showing the manufacturing process of the light control member 9 step by step.
  • the manufacturing method of the light control member 9 constituting the liquid crystal display device 1 having the above configuration will be mainly described.
  • the outline of the manufacturing process of the liquid crystal panel 2 will be described first.
  • the TFT substrate 10 and the color filter substrate 12 are respectively produced.
  • the surface of the TFT substrate 10 on which the TFT 19 is formed and the surface of the color filter substrate 12 on which the color filter 31 is formed are arranged to face each other.
  • the TFT substrate 10 and the color filter substrate 12 are bonded together via a seal member.
  • liquid crystal is injected into a space surrounded by the TFT substrate 10, the color filter substrate 12, and the seal member.
  • the first retardation film 4, the first polarizing plate 3, the second retardation film 6, and the second polarizing plate 7 are bonded to both surfaces of the liquid crystal cell 5 thus formed using an optical adhesive or the like.
  • the liquid crystal panel 2 is completed through the above steps.
  • the manufacturing method of the TFT substrate 10 and the color filter substrate 12 may be a conventional method, and the description thereof is omitted.
  • a triacetyl cellulose base material 39 having a thickness of 100 ⁇ m is prepared.
  • a black negative resist containing carbon as a light shielding part material is applied to one surface of the base material 39 by using a spin coating method.
  • the coating film 45 with a film thickness of 150 nm is formed.
  • the base material 39 on which the coating film 45 is formed is placed on a hot plate, and the coating film 45 is pre-baked at a temperature of 90 ° C. Thereby, the solvent in the black negative resist is volatilized.
  • an exposure apparatus Exposure is performed by irradiating the coating film 45 with light L through a photomask 47 in which a plurality of opening patterns 46 having a circular planar shape, for example, are formed.
  • an exposure apparatus using a mixed line of i-line having a wavelength of 365 nm, h-line having a wavelength of 404 nm, and g-line having a wavelength of 436 nm is used.
  • the exposure dose is 100 mJ / cm 2 .
  • the coating film 45 made of black negative resist is developed using a dedicated developer, dried at 100 ° C., and the planar shape is as shown in FIG. 9B.
  • a plurality of circular light shielding layers 40 are formed on one surface of the base material 39.
  • the transparent negative resist is exposed using the light shielding layer 40 made of a black negative resist as a mask to form the hollow portion 42. Therefore, the position of the opening pattern 46 of the photomask 47 corresponds to the position where the hollow portion 42 is formed.
  • the circular light shielding layer 40 corresponds to a non-formation region (hollow portion 42) of the light diffusion portion 41 in the next step.
  • the plurality of opening patterns 46 are all circular patterns.
  • the diameter of the opening pattern 46 is composed of various sizes.
  • the arrangement of the intervals (pitch) between the adjacent opening patterns 46 is neither regular nor periodic.
  • the interval (pitch) between the opening patterns 46 is preferably smaller than the interval (pitch, for example, 150 ⁇ m) between the pixels of the liquid crystal panel 2.
  • the light shielding layer 40 is formed by a photolithography method using a black negative resist, but the present invention is not limited to this. In addition to this, if a photomask in which the opening pattern 46 and the light shielding pattern of the present embodiment are reversed is used, a positive resist having light absorption can also be used. Alternatively, the light shielding layer 40 may be directly formed using a vapor deposition method, a printing method, or the like.
  • a transparent negative resist made of an acrylic resin is applied to the upper surface of the light shielding layer 40 as a light diffusion portion material by using a spin coating method.
  • the coating film 48 with a film thickness of 20 ⁇ m is formed.
  • the base material 39 on which the coating film 48 is formed is placed on a hot plate, and the coating film 48 is pre-baked at a temperature of 95 ° C. Thereby, the solvent in the transparent negative resist is volatilized.
  • the coating film 48 is irradiated with light F from the substrate 39 side using the light shielding layer 40 as a mask to perform exposure.
  • an exposure apparatus using a mixed line of i-line having a wavelength of 365 nm, h-line having a wavelength of 404 nm, and g-line having a wavelength of 436 nm is used.
  • the exposure amount is 500 mJ / cm 2 .
  • the substrate 39 on which the coating film 48 is formed is placed on a hot plate, and post-exposure baking (PEB) of the coating film 48 is performed at a temperature of 95 ° C.
  • PEB post-exposure baking
  • the coating film 48 made of a transparent negative resist is developed using a dedicated developer, post-baked at 100 ° C., and a transparent resin layer 41 having a plurality of hollow portions 42 is used as a base material as shown in FIG. 9D. 39 on one side.
  • the transparent negative resist constituting the coating film 48 is radially spread so as to spread outward from the non-formation region of the light shielding layer 40. Exposed. Thereby, the forward tapered hollow portion 42 is formed.
  • the light diffusion portion 41 has a reverse tapered shape. The inclination angle of the reflection surface 41c of the light diffusion portion 41 can be controlled by the degree of diffusion of the diffused light.
  • the light F used here parallel light, diffused light, or light whose intensity at a specific emission angle is different from that at another emission angle, that is, light having strength at a specific emission angle can be used.
  • the inclination angle of the reflection surface 41c of the light diffusing unit 41 becomes a single inclination angle of, for example, about 60 ° to 90 °.
  • the tilt angle changes continuously, and the cross-sectional shape becomes a curved inclined surface.
  • an inclined surface having a slope angle corresponding to the strength is obtained.
  • the inclination angle of the reflection surface 41c of the light diffusing unit 41 can be adjusted.
  • a diffusion plate having a haze of about 50 is arranged on the optical path of the light emitted from the exposure apparatus, and the diffusion plate Irradiate light through.
  • the total light transmittance of the light control member 9 is preferably 90% or more. When the total light transmittance is 90% or more, sufficient transparency is obtained, and the optical performance required for the light control member 9 can be sufficiently exhibited.
  • the total light transmittance is as defined in JIS K7361-1. In this embodiment, an example in which a liquid resist is used has been described, but a film resist may be used instead of this configuration.
  • the completed light control member 9 is placed with the base material 39 facing the viewing side and the light diffusion portion 41 facing the second polarizing plate 7 with the adhesive layer 43 interposed therebetween. Affix to the liquid crystal panel 2.
  • the light control member 9 is disposed on the light emission side of the liquid crystal panel 2, the light incident on the light control member 9 is before entering the light control member 9. Is emitted from the light control member 9 in a state where the angular distribution is widened. Therefore, even if the observer inclines the line of sight from the front direction (normal direction) of the liquid crystal display device 1, a good display can be visually recognized.
  • an interference fringe pattern is visually recognized when the period of each pattern is slightly shifted.
  • a light control member in which a plurality of light diffusion portions are arranged in a matrix and a liquid crystal panel in which a plurality of pixels are arranged in a matrix are overlapped, the periodic pattern by the light diffusion portions of the light control members and the liquid crystal panel.
  • a plurality of light shielding layers 40 are randomly arranged in a plane.
  • the light diffusion portion 41 is formed in a region other than the region where the light shielding layer 40 is formed. Therefore, moire due to interference does not occur with the regular arrangement of the pixels of the liquid crystal panel 2, and the display quality can be maintained.
  • the arrangement of the plurality of light shielding layers 40 is random, but the arrangement of the plurality of light shielding layers 40 is not necessarily random. If the arrangement of the plurality of light shielding layers 40 is aperiodic, the occurrence of moire can be suppressed. Further, when some moiré is allowed depending on the situation and application, a plurality of light shielding layers 40 may be periodically arranged.
  • FIG. 10 is a top view of the light control member 309.
  • the light control member 309 of the present embodiment is provided with a plurality of light diffusion portions 341 that are scattered on one surface of a base material.
  • the planar shape of the light diffusing portion 341 viewed from the normal direction of the substrate is circular.
  • a portion corresponding to the lower side of the light shielding layer 340 becomes a hollow portion 342. Air exists in the hollow portion 342.
  • the light control member 309 has a continuous hollow portion 342 in which air exists. Light diffusing portions 341 are scattered in portions other than the hollow portion 342.
  • the light control member 309 is disposed on the light emission side of the liquid crystal panel 2. Even when such a light control member 309 is used, it is possible to suppress a change in gamma characteristics when the display screen is viewed obliquely, and to realize a display image with excellent viewing angle characteristics.
  • planar shape of the light diffusion portion 341 may include a circular shape, a polygonal shape, a semicircular shape, or the like. Further, the openings of the light diffusion portion 341 may be formed to overlap each other.
  • FIGS. 11A to 11E a second embodiment of the present invention will be described with reference to FIGS. 11A to 11E.
  • the basic configuration of the liquid crystal display device of this embodiment is the same as that of the first embodiment, and the shape of the light shielding layer in the light control member is different from that of the first embodiment. Therefore, in this embodiment, the description of the basic configuration of the liquid crystal display device is omitted, and the light shielding layer is described.
  • FIGS. 11A to 11E are plan views of the light shielding layer of the present embodiment.
  • the shape of the light shielding layer of the present embodiment is a shape having line symmetry of two or more axes.
  • FIG. 11A an example of the light shielding layer 40 having a circular planar shape is shown.
  • a light diffusing portion 40G having a square planar shape is used.
  • a light diffusing portion 40H whose planar shape is a regular octagon may be used.
  • a light diffusing portion 40I having a shape in which two opposite sides of a square are curved outward may be used.
  • a light diffusing unit 40J having a shape in which two rectangles intersect in two orthogonal directions may be used.
  • the shapes of FIGS. 11B to 11E may be rotated in a plurality of directions. For example, in the case of the square light diffusing unit 40G shown in FIG. 11B, light diffuses in a direction perpendicular to each side of the square.
  • FIGS. 12A, 12B, 13A, and 13B The basic configuration of the liquid crystal display device of the present embodiment is the same as that of the first embodiment, and the configuration of the reflection surface of the light diffusion portion in the light control member is different from that of the first embodiment. Therefore, in this embodiment, description of the basic structure of a liquid crystal display device is abbreviate
  • FIGS. 12A and 12B are cross-sectional views of the light control members 609A and 609B of the present embodiment. As shown in FIGS. 12A and 12B, the light control members 609A and 609B of the present embodiment are different from the light control member 9 of the first embodiment in the configuration of the reflection surfaces of the light diffusion portions 641A and 641B.
  • the inclination angle of the reflection surface 41c of the light diffusing unit 40 is constant.
  • the inclination angles of the reflection surfaces of the light diffusion portions 641A and 641B continuously change.
  • the cross-sectional shape of the reflection surface of the light diffusion portions 641A and 641B is a curved inclined surface.
  • the reflection surface 641Ac of the light diffusion portion 641A is curved toward the hollow portion 642A, and the reflection surface 641Ac side of the hollow portion 642A is concave.
  • the reflection surface 641Bc of the light diffusion portion 641B is curved toward the hollow portion 642B, and the portion of the hollow portion 642B on the reflection surface 641Bc side is convex.
  • FIG. 13A and 13B are diagrams for explaining the relationship between the inclination angle of the reflection surface of the light diffusion portion and the area ratio.
  • FIG. 13A is a diagram in the case where the distribution of the inclination angle of the reflection surface of the light diffusion portion is the same between the first reflection surface and the second reflection surface.
  • FIG. 13B is a diagram in the case where the distribution of the inclination angle of the reflection surface of the light diffusion portion is different between the first reflection surface and the second reflection surface.
  • the horizontal axis represents the inclination angle of the reflection surface of the light diffusion portion.
  • the vertical axis represents the area ratio of the reflection surface of the light diffusion portion.
  • the area ratio is the ratio of the area of a portion having a certain inclination angle to the area of the entire reflection surface when the reflection surface of the light diffusion portion is viewed from the side.
  • the inclination angle is an angle formed by a tangent line at a predetermined position of the curved portion of the reflection surface and the light incident end surface of the light diffusion portion.
  • the tilt angle ⁇ 1 of the first reflecting surface is larger than the tilt angle ⁇ 2 of the second reflecting surface will be described.
  • the inclination angle of the reflection surface of the light diffusing portion has a width in the angle distribution around the main inclination angle.
  • the distribution of the inclination angle of the reflection surface of the light diffusing section may be the same distribution for the inclination angle ⁇ 1 of the first reflection surface and the inclination angle ⁇ 2 of the second reflection surface.
  • different inclination distributions may be used for the inclination angle ⁇ 1 of the first reflection surface and the inclination angle ⁇ 2 of the second reflection surface.
  • the inclination angle ⁇ 1 of the first reflecting surface contributes more to the symmetry of the luminance distribution than the inclination angle ⁇ 2 of the second reflecting surface. Therefore, in order to improve the symmetry of the luminance distribution, the distribution of the inclination angle ⁇ 1 of the first reflecting surface is preferably narrow.
  • the light control member 609A or 609B is disposed on the light emission side of the liquid crystal panel 2. Even when such a light control member 609A or 609B is used, it is possible to suppress a change in gamma characteristics when the display screen is viewed from an oblique direction, and to realize a display image with excellent viewing angle characteristics.
  • FIGS. 14A and 14B a fifth embodiment of the present invention will be described with reference to FIGS. 14A and 14B.
  • the basic configuration of the liquid crystal display device of the present embodiment is the same as that of the fourth embodiment, and the configuration of the reflection surface of the light diffusion portion in the light control member is different from that of the fourth embodiment. Therefore, in this embodiment, description of the basic structure of a liquid crystal display device is abbreviate
  • FIGS. 14A and 14B are cross-sectional views of the light control members 709A and 709B of the present embodiment. As shown in FIGS. 14A and 14B, the light control members 709A and 709B of the present embodiment are different from the light control members 609A and 609B of the fourth embodiment in the configuration of the reflection surface of the light diffusion portion.
  • the inclination angles of the reflection surfaces of the light diffusion portions 641A and 641B continuously change, and the cross sections of the reflection surfaces of the light diffusion portions 641A and 641B
  • the shape was a curved inclined surface.
  • the reflection surfaces of the light diffusion portions 741A and 741B have a plurality of different inclination angles.
  • the cross-sectional shape of the reflection surface of the light diffusion portions 741A and 741B is a polygonal inclined surface.
  • the reflection surface 741Ac of the light diffusion portion 741A has three inclined surfaces with different inclination angles, and the portion of the hollow portion 742A on the reflection surface 741Ac side is concave.
  • the reflection surface 741Bc of the light diffusion portion 741B has three inclined surfaces having different inclination angles, and the portion of the hollow portion 742B on the reflection surface 741Bc side is convex.
  • the light control members 709A and 709B of the present embodiment are used, it is possible to suppress a change in gamma characteristics when the display screen is viewed obliquely, and to realize a display image with excellent viewing angle characteristics.
  • FIGS. The basic configuration of the liquid crystal display device of this embodiment is the same as that of the first embodiment, and the configuration of the pixels of the liquid crystal panel 2 is different from that of the first embodiment.
  • the liquid crystal panel 2 of the present embodiment has a pixel configuration that employs so-called multi-pixel driving. Therefore, in this embodiment, the description of the basic configuration of the liquid crystal display device is omitted, and the pixels of the liquid crystal panel 2 will be described.
  • FIG. 15 schematically shows an electrical configuration of one pixel of the liquid crystal display device 200 of the present embodiment.
  • the pixel 60 is divided into sub-pixels 60a and 60b.
  • a TFT 66a and an auxiliary capacitor (CS) 72a are connected to the sub-pixel 60a.
  • a TFT 66b and an auxiliary capacitor 72b are connected to the sub-pixel 60b.
  • the gate electrodes of the TFTs 66 a and 66 b are connected to the scanning line 62.
  • the source electrodes are connected to a common (identical) signal line 64.
  • the auxiliary capacitors 72a and 72b are connected to an auxiliary capacitor line (CS bus line) 74a and an auxiliary capacitor line 74b, respectively.
  • the auxiliary capacitances 72a and 72b are provided between the auxiliary capacitance electrode electrically connected to the sub-pixel electrodes 68a and 68b, the auxiliary capacitance counter electrode electrically connected to the auxiliary capacitance wirings 74a and 74b, respectively.
  • the insulating layer (not shown) is formed.
  • the storage capacitor counter electrodes of the storage capacitors 72a and 72b are independent from each other, and different storage capacitor counter voltages can be supplied from the storage capacitor lines 74a and 74b, respectively.
  • the sub-pixel 60a further has four domains 61a, 61b, 61c, and 61d.
  • the liquid crystal molecules 51 included in the domain 61a, the liquid crystal molecules 51 included in the domain 61b, the liquid crystal molecules 51 included in the domain 61c, and the liquid crystal molecules 51 included in the domain 61d have an azimuth angle. Tilt in different directions by 90 °.
  • the sub-pixel 60b further includes four domains 61e, 61f, 61g, and 61h.
  • the liquid crystal molecules 51 included in the domain 61e, the liquid crystal molecules 51 included in the domain 61f, the liquid crystal molecules 51 included in the domain 61g, and the liquid crystal molecules 51 included in the domain 61h have an azimuth angle. Tilt in different directions by 90 °.
  • FIG. 16 schematically shows an equivalent circuit for one pixel of the liquid crystal display device 200.
  • the liquid crystal layers of the respective sub-pixels 60a and 60b are represented as liquid crystal layers 63a and 63b.
  • the liquid crystal capacitances formed by the subpixel electrodes 68a and 68b, the liquid crystal layers 63a and 63b, and the counter electrode 67 are Clca and Clcb, respectively.
  • the capacitance values of the liquid crystal capacitors Clca and Clcb are the same value CLC (V).
  • the value of CLC (V) depends on the effective voltage (V) applied to the liquid crystal layers of the subpixels 60a and 60b.
  • the auxiliary capacitors 72a and 72b that are independently connected to the liquid crystal capacitors of the sub-pixels 60a and 60b are Ccsa and Ccsb, respectively, and their capacitance values are the same value CCS.
  • One electrode of the auxiliary capacitor Ccsa of the subpixel 60a is a subpixel electrode.
  • the subpixel electrode 68a of the liquid crystal capacitor Clca and the subpixel electrode of the auxiliary capacitor Ccsa are connected to the drain electrode of the TFT 66a provided for driving the subpixel 60a.
  • the other electrode of the liquid crystal capacitor Clca is a counter electrode.
  • the other electrode of the auxiliary capacitance Ccsa is connected to the auxiliary capacitance wiring 74a.
  • One electrode of the auxiliary capacitor Ccsb of the subpixel 60b is a subpixel electrode.
  • the subpixel electrode 68b of the liquid crystal capacitor Clcb and the subpixel electrode of the auxiliary capacitor Ccsb are connected to the drain electrode of the TFT 66b provided for driving the subpixel 60b.
  • the other electrode of the liquid crystal capacitor Clcb is a counter electrode.
  • the other electrode of the auxiliary capacitance Ccsb is connected to the auxiliary capacitance wiring 74b.
  • the gate electrodes of the TFT 66 a and the TFT 66 b are both connected to the scanning line 62. All the source electrodes are connected to the signal line 64.
  • 17A to 17F schematically show the timing of each voltage when driving the liquid crystal display device 200 of the present embodiment.
  • FIG. 17 shows the voltage waveform Vs of the signal line 64.
  • FIG. 17B shows a voltage waveform Vcsa of the auxiliary capacitance line 74a.
  • FIG. 17C shows the voltage waveform Vcsb of the auxiliary capacitance line 74b.
  • FIG. 17D shows the voltage waveform Vg of the scanning line 62.
  • FIG. 17E shows the voltage waveform Vlca of the pixel electrode 68a of the sub-pixel 60a.
  • FIG. 17F shows the voltage waveform Vlcb of the pixel electrode 68b of the sub-pixel 60b.
  • the broken line in the figure shows the voltage waveform COMMON (Vcom) of the counter electrode 67.
  • the voltage of Vg changes from VgL to VgH, so that the TFT 66a and the TFT 66b are simultaneously turned on (on state), and the voltage Vs of the signal line 64 is applied to the subpixel electrodes 68a and 68b of the subpixels 60a and 60b. Then, the subpixels 60a and 60b are charged. Similarly, the auxiliary capacitors Csa and Csb of the respective sub-pixels are charged from the signal line.
  • the voltage Vg of the scanning line 62 changes from VgH to VgL, so that the TFT 66a and the TFT 66b are simultaneously turned off (OFF state), and the subpixels 60a and 60b and the auxiliary capacitors Csa and Csb are all signal lines 64. And electrically insulated.
  • the voltages Vlca and Vlcb of the respective sub-pixel electrodes decrease by substantially the same voltage Vd and are expressed by the following equations.
  • Vlca Vs ⁇ Vd (1)
  • Vlcb Vs ⁇ Vd (2)
  • Vcsa and Vcsb of the respective auxiliary capacitance lines are represented by the following equations.
  • Vcsa Vcom ⁇ Vad (3)
  • Vcsb Vcom + Vad (4)
  • Vcsa of the auxiliary capacitance line 74a connected to the auxiliary capacitance Csa changes from Vcom ⁇ Vad to Vcom + Vad
  • the voltage Vcsb of the auxiliary capacitance line 74b connected to the auxiliary capacitance Csb changes from Vcom + Vad to Vcom ⁇ Vad. It changes by twice Vad.
  • the voltages Vlca and Vlcb of the respective subpixel electrodes change as follows.
  • Vlca Vs ⁇ Vd + 2 ⁇ K ⁇ Vad
  • Vlcb Vs ⁇ Vd ⁇ 2 ⁇ K ⁇ Vad (6)
  • K CCS / (CLC (V) + CCS).
  • Vcsa changes from Vcom + Vad to Vcom ⁇ Vad
  • Vcsb changes from Vcom ⁇ Vad to Vcom + Vad by twice Vad
  • Vlca and Vlcb are also changed from Equation (7) and Equation (8) to Equation (9), respectively.
  • Vlca Vs ⁇ Vd + 2 ⁇ K ⁇ Vad
  • Vlcb Vs ⁇ Vd ⁇ 2 ⁇ K ⁇ Vad
  • Vlca Vs ⁇ Vd (9)
  • Vlcb Vs ⁇ Vd (10)
  • Vcsa changes from Vcom ⁇ Vad to Vcom + Vad
  • Vcsb changes from Vcom + Vad to Vcom ⁇ Vad by twice Vad
  • Vlca and Vlcb are also changed from Equation (11) and Equation (12) to Equation (13), respectively.
  • Vlca Vs ⁇ Vd (11)
  • Vlcb Vs ⁇ Vd (12)
  • Vlca Vs ⁇ Vd + 2 ⁇ K ⁇ Vad (13)
  • Vlcb Vs ⁇ Vd ⁇ 2 ⁇ K ⁇ Vad (14)
  • V1 and V2 applied to the liquid crystal layers 13a and 13b of the sub-pixels 60a and 60b are shown below.
  • V1 Vlca ⁇ Vcom (17)
  • V2 Vlcb ⁇ Vcom (18) That is, the effective voltages V1 and V2 are rewritten as follows.
  • V1 Vs ⁇ Vd + K ⁇ Vad ⁇ Vcom (19)
  • V2 Vs ⁇ Vd ⁇ K ⁇ Vad ⁇ Vcom (20)
  • the light control member 9 is combined with the liquid crystal display device 200 configured as described above. Similar to the first embodiment, light incident on the light control member 9 at different polar angles ⁇ is mixed by the light control member 9. As a result, the variation in the luminance change depending on the polar angle ⁇ is averaged, and as a result, the change in the gamma characteristic depending on the polar angle ⁇ is alleviated.
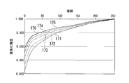
  • the horizontal axis indicates gradation and the vertical axis indicates normalized luminance.
  • Reference numeral 122 denotes a gamma characteristic at a polar angle ⁇ : 15 °.
  • Reference numeral 123 indicates a gamma characteristic at a polar angle ⁇ of 30 °.
  • Reference numeral 124 indicates a gamma characteristic at a polar angle ⁇ of 45 °.
  • Reference numeral 125 denotes a gamma characteristic at a polar angle ⁇ : 60 °.
  • Reference numeral 126 denotes a gamma characteristic at a polar angle ⁇ : 75 °. As can be seen from FIG. 18, the gamma characteristic changes depending on the polar angle ⁇ .
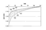
  • the horizontal axis represents gradation and the vertical axis represents normalized luminance.
  • Reference numeral 132 denotes a gamma characteristic at a polar angle ⁇ : 15 °.
  • Reference numeral 133 indicates a gamma characteristic at a polar angle ⁇ of 30 °.
  • Reference numeral 134 denotes a gamma characteristic at a polar angle ⁇ : 45 °.
  • Reference numeral 135 denotes a gamma characteristic at a polar angle ⁇ : 60 °.
  • Reference numeral 136 indicates a gamma characteristic at a polar angle ⁇ : 75 °. It can be seen that the change in the gamma characteristic depending on the polar angle ⁇ is smaller than that of the multi-pixel driving liquid crystal display device having no light control member shown in FIG. In particular, it can be seen that the gamma characteristic at a polar angle ⁇ of 30 ° or more approaches the gamma characteristic at a polar angle ⁇ of 0 °. From this, it can be seen that the color change when the liquid crystal display device 1 is viewed from an oblique direction at an azimuth angle ⁇ of 0 ° is alleviated.
  • the present invention is not limited to the multi-pixel driving method used in this embodiment, and other multi-pixel driving methods can be applied to this embodiment.
  • the pixel configurations described in JP-A-2006-48055, JP-A-2006-133777, JP-A-2009-199067, and International Publication No. 2008/18552 may be used.
  • FIG. 20 is a schematic diagram showing an arrangement relationship between the pixel 50 including the VA mode liquid crystal included in the liquid crystal display device 1 and the light control member 9A.
  • the light control member 9A is disposed on the pixel 50.
  • the pixel 50 and the light control member 9A are shown in parallel in FIG.
  • the pixel 50 in the present embodiment employs a four-domain VA in which one pixel 50 is divided into a first domain 50a, a second domain 50b, a third domain 50c, and a fourth domain 50d. Yes.
  • the polarization axis of the first polarizing plate 3 is the azimuth angle ⁇ : 0 ° -180 °.
  • the polarization axis of the second polarizing plate 7 is set to the azimuth angle ⁇ : 90 ° -270 ° direction.
  • the director of the liquid crystal molecules 51 included in the first domain 50a is inclined such that the polar angle ⁇ at the azimuth angle ⁇ : 45 ° is larger than 0 °.
  • the liquid crystal molecules 51 have an azimuth angle ⁇ of 45 ° and a polar angle of 90 ° at the center in the thickness direction of the liquid crystal layer 11 when a voltage is applied. Tilt down closer to °.
  • the director of the liquid crystal molecules 51 included in the second domain 50b is inclined such that the polar angle ⁇ at the azimuth angle ⁇ : 135 ° is larger than 0 °.
  • the liquid crystal molecules 51 have an azimuth angle ⁇ : 135 ° and a polar angle of 90 ° at the center in the thickness direction of the liquid crystal layer 11 when a voltage is applied. Tilt down closer to °.
  • the director of the liquid crystal molecules 51 included in the third domain 50c is inclined so that the polar angle ⁇ at the azimuth angle ⁇ : 225 ° is larger than 0 °.
  • the liquid crystal molecules 51 have an azimuth angle ⁇ : 225 ° and a polar angle of 90 at the center in the thickness direction of the liquid crystal layer 11 when a voltage is applied. Tilt down closer to °.
  • the director of the liquid crystal molecules 51 included in the fourth domain 50d is inclined such that the polar angle ⁇ at the azimuth angle ⁇ : 315 ° is larger than 0 °.
  • the liquid crystal molecules 51 have an azimuth angle ⁇ : 315 ° and a polar angle of 90 at the center in the thickness direction of the liquid crystal layer 11 when a voltage is applied. Tilt down closer to °.
  • the light control member 9 ⁇ / b> A of the present embodiment is provided with a plurality of light shielding layers 40 ⁇ / b> K that are scattered on one surface of the base material 39.
  • the planar shape of the light shielding layer 40K viewed from the normal direction of the substrate 39 is an elongated ellipse.
  • the light shielding layer 40K has an anisotropic shape having a major axis and a minor axis.
  • the ratio of the major axis dimension to the ellipse minor axis dimension is, for example, 1.1 or more and 2.5 or less.
  • the major axis of the light shielding layer 40K is, for example, 20 ⁇ m, and the minor axis of the light shielding layer 40K is, for example, 10 ⁇ m.
  • the ratio of the length of the short axis to the length of the long axis is approximately equal in each light shielding layer 40K.
  • the major axis direction of the ellipse that forms the planar shape of each light shielding layer 40K is generally an azimuth angle ⁇ : 45 ° -225. ° direction or azimuth angle ⁇ : 135 ° -315 ° direction.
  • the ratio of the light shielding layer 40K in which the major axis direction is substantially aligned in the direction of azimuth angle ⁇ : 45 ° to 225 ° and the light shielding layer 40K in which the major axis direction is substantially aligned in the direction of azimuth angle ⁇ : 135 ° to 315 ° is approximately 1: 1.
  • the major axis direction of the light shielding layer 40K, the polarization axis of the first polarizing plate 3, and the polarization axis of the second polarizing plate 7 are different from each other in the azimuth angle ⁇ by 45 °.
  • the major axis direction of the light shielding layer 40K is substantially aligned with the direction of the azimuth angle ⁇ : 45 ° to 225 °, considering the direction of the reflection surface 41c of the light diffusion portion 41, of the reflection surfaces 41c of the light diffusion portion 41, The ratio of the reflective surface 41c along the azimuth angle ⁇ : 45 ° -225 ° direction is larger than the ratio of the reflective surface 41c along the azimuth angle ⁇ : 135 ° -315 ° direction.
  • the azimuth angle phi 45 ° -225 azimuth reflected by the reflection surface 41c along ° direction phi: Light L A to diffuse 135 ° -315 ° direction, along the 135 ° -315 ° direction reflected It becomes larger than the light L B to diffuse reflected by the surface 41c to 45 ° -225 ° direction.
  • the major axis direction of the light shielding layer 40K is substantially aligned with the direction of the azimuth angle ⁇ : 135 ° to 315 °, considering the direction of the reflection surface 41c of the light diffusion portion 41, of the reflection surfaces 41c of the light diffusion portion 41, The ratio of the reflection surface 41c along the azimuth angle ⁇ : 135 ° -315 ° direction is larger than the ratio of the reflection surface 41c along the azimuth angle ⁇ : 45 ° -225 ° direction.
  • the azimuth angle phi 135 ° -315 azimuth reflected by the reflection surface 41c along ° direction phi: 45 ° -225 light L A to diffuse ° direction, reflected along the 45 ° -225 ° direction It becomes larger than the light L B to diffuse reflected by the surface 41c to 135 ° -315 ° direction.
  • the azimuth angle directions with relatively strong light diffusibility of the light control member 9A are the azimuth angle ⁇ : 45 ° -225 ° direction and the azimuth angle ⁇ : 135 ° -315 ° direction.
  • the light diffusibility of the light control member 9 in the direction of the azimuth angle ⁇ : 0 ° -180 ° which is the polarization axis of the first polarizing plate 3 and the polarization axis of the second polarizing plate 7 is relatively low.
  • the light diffusibility of the light control member 9A has line symmetry with respect to the axis of the azimuth angle ⁇ : 45 ° -225 °.
  • the light control member 9A is also applied to the azimuth angle ⁇ : 0 ° -180 ° direction axis, the azimuth angle ⁇ : 90 ° -270 ° direction axis, and the azimuth angle ⁇ : 135 ° -315 ° direction axis.
  • the light diffusivity has a line symmetry.
  • the light diffusibility having line symmetry with respect to a plurality of axes is referred to as having light diffusivity having two or more axes.
  • the horizontal axis indicates the gradation
  • the vertical axis indicates the normalized luminance.
  • reference numeral 141 indicates a gamma characteristic at a polar angle ⁇ : 0 °.
  • Reference numeral 142 denotes a gamma characteristic at a polar angle ⁇ : 15 °.
  • Reference numeral 143 indicates a gamma characteristic at a polar angle ⁇ of 30 °.
  • Reference numeral 144 denotes a gamma characteristic at a polar angle ⁇ : 45 °.
  • Reference numeral 145 indicates a gamma characteristic at a polar angle ⁇ : 60 °.
  • Reference numeral 146 indicates a gamma characteristic at a polar angle ⁇ : 75 °.
  • FIG. 22 shows gamma characteristics when the polar angle ⁇ is changed at the azimuth angle ⁇ : 315 ° of the liquid crystal display device of the comparative example.
  • the horizontal axis indicates gradation and the vertical axis indicates normalized luminance.
  • Reference numeral 152 denotes a gamma characteristic at a polar angle ⁇ : 15 °.
  • Reference numeral 153 indicates a gamma characteristic at a polar angle ⁇ of 30 °.
  • Reference numeral 154 indicates a gamma characteristic at a polar angle ⁇ : 45 °.
  • Reference numeral 155 indicates a gamma characteristic at a polar angle ⁇ : 60 °.
  • Reference numeral 156 represents a gamma characteristic at a polar angle ⁇ : 75 °.
  • the gamma characteristic at the azimuth angle ⁇ of 0 ° of the liquid crystal display device of the comparative example shown in FIG. 21 Compared with the gamma characteristic at the azimuth angle ⁇ of 0 ° of the liquid crystal display device of the comparative example shown in FIG. 21, the gamma characteristic at the azimuth angle ⁇ of 315 ° of the comparative example of FIG. It can be seen that at low gradations below the tone, it varies greatly depending on the polar angle. Specifically, the normalized luminance value increases as the polar angle increases. That is, when the observer's viewpoint is tilted so that the polar angle ⁇ becomes large at the azimuth angle ⁇ : 315 °, it can be seen that the low gradation display looks white. As shown in FIG. 22, it can be seen that the image appears to float even at the 0th gradation.
  • the low gradation display is white in the liquid crystal display device of the comparative example. You can see that it looks floating.
  • the horizontal axis indicates gradation and the vertical axis indicates normalized luminance.
  • reference numeral 161 indicates a gamma characteristic at a polar angle ⁇ : 0 °.
  • Reference numeral 162 denotes a gamma characteristic at a polar angle ⁇ : 15 °.
  • Reference numeral 163 indicates a gamma characteristic at a polar angle ⁇ of 30 °.
  • Reference numeral 164 indicates a gamma characteristic at a polar angle ⁇ : 45 °.
  • Reference numeral 165 indicates a gamma characteristic at a polar angle ⁇ : 60 °.
  • Reference numeral 166 indicates a gamma characteristic at a polar angle ⁇ : 75 °.
  • a light control member in which the inclination angle of the light diffusion portion is 80 ° and the ratio of the occupied area of the light shielding layer 40 is 30% is used.
  • the change in the gamma characteristic depending on the polar angle ⁇ of the liquid crystal display device 1 of the first embodiment is reduced.
  • the gamma characteristic with a polar angle ⁇ of 30 ° or more approaches the gamma characteristic with a polar angle ⁇ of 0 °.
  • FIG. 24 shows the gamma characteristics when the polar angle ⁇ is changed at the azimuth angle ⁇ : 315 ° of the liquid crystal display device 1 of the first embodiment.
  • the horizontal axis indicates gradation, and the vertical axis indicates normalized luminance.
  • reference numeral 171 indicates a gamma characteristic when the polar angle ⁇ is 0 °.
  • Reference numeral 172 indicates a gamma characteristic at a polar angle ⁇ : 15 °.
  • Reference numeral 173 indicates a gamma characteristic at a polar angle ⁇ of 30 °.
  • Reference numeral 174 indicates a gamma characteristic at a polar angle ⁇ : 45 °.
  • Reference numeral 175 indicates a gamma characteristic at a polar angle ⁇ : 60 °.
  • Reference numeral 176 indicates a gamma characteristic at a polar angle ⁇ : 75 °.
  • a light control member in which the inclination angle of the light diffusion portion is 80 ° and the ratio of the occupied area of the light shielding layer 40 is 30% is used.
  • the change in the gamma characteristic depending on the polar angle ⁇ is smaller as shown in FIG. I understand that. Specifically, the gamma characteristic with a polar angle ⁇ of 30 ° or more approaches the gamma characteristic with a polar angle ⁇ of 0 °. In particular, it can be seen that the low-gradation gamma characteristic of 25 gradations or less is improved so as to approach the gamma characteristic of the polar angle ⁇ : 0 ° at a polar angle ⁇ of 45 ° or more. From this, it can be said that the whitening of the low gradation display that occurs when the observer's viewpoint is tilted so as to increase the polar angle ⁇ is improved.
  • the horizontal axis represents gradation and the vertical axis represents normalized luminance.
  • reference numeral 181 indicates a gamma characteristic when the polar angle ⁇ is 0 °.
  • Reference numeral 182 indicates a gamma characteristic at a polar angle ⁇ : 15 °.
  • Reference numeral 183 indicates a gamma characteristic at a polar angle ⁇ of 30 °.
  • Reference numeral 184 indicates a gamma characteristic at a polar angle ⁇ : 45 °.
  • Reference numeral 185 indicates a gamma characteristic at a polar angle ⁇ : 60 °.
  • Reference numeral 186 indicates a gamma characteristic at a polar angle ⁇ : 75 °.
  • a light control member in which the inclination angle of the light diffusion portion is 80 ° and the ratio of the occupied area of the light shielding layer 40 is 30% is used.
  • the long axis dimension of the light shielding layer is 20 ⁇ m, and the short axis dimension is 10 ⁇ m.
  • the change in the gamma characteristic depending on the polar angle ⁇ of the liquid crystal display device 1 of this embodiment shown in FIG. 25 is smaller than that of the liquid crystal display device of the comparative example shown in FIG. Specifically, the gamma characteristic with a polar angle ⁇ of 30 ° or more approaches the gamma characteristic with a polar angle ⁇ of 0 °.
  • the gamma characteristic of the liquid crystal display device 1 of the present embodiment shown in FIG. 25 does not change much compared to the gamma characteristic of the liquid crystal display device 1 of the first embodiment shown in FIG.
  • FIG. 26 shows the gamma characteristics when the polar angle ⁇ is changed at the azimuth angle ⁇ : 315 ° of the liquid crystal display device 1 of the present embodiment.
  • the horizontal axis indicates gradation and the vertical axis indicates normalized luminance.
  • reference numeral 191 indicates a gamma characteristic when the polar angle ⁇ is 0 °.
  • Reference numeral 192 indicates a gamma characteristic at a polar angle ⁇ : 15 °.
  • Reference numeral 193 indicates a gamma characteristic at a polar angle ⁇ of 30 °.
  • Reference numeral 194 indicates a gamma characteristic at a polar angle ⁇ : 45 °.
  • Reference numeral 195 indicates a gamma characteristic at a polar angle ⁇ : 60 °.
  • Reference numeral 196 indicates a gamma characteristic at a polar angle ⁇ : 75 °.
  • a light control unit in which the inclination angle of the light diffusion unit is 80 ° and the ratio of the occupied area of the light shielding layer 40 is 30% is used.
  • the long axis dimension of the light shielding layer is 20 ⁇ m, and the short axis dimension is 10 ⁇ m.
  • the change in the gamma characteristic depending on the polar angle ⁇ of the liquid crystal display device 1 of this embodiment shown in FIG. 26 is smaller than that of the liquid crystal display device of the comparative example shown in FIG. Specifically, the gamma characteristic with a polar angle ⁇ of 30 ° or more approaches the gamma characteristic with a polar angle ⁇ of 0 °.
  • the change in the gamma characteristic depending on the polar angle ⁇ is smaller in the liquid crystal display device 1 of the present embodiment shown in FIG. 26 than in the display device of the first embodiment shown in FIG.
  • further improvement in gamma characteristics is observed at polar angles ⁇ : 60 ° or more. From this, it can be said that the whitening of the low gradation display that occurs when the observer's viewpoint is tilted so as to increase the polar angle ⁇ is improved.
  • the reason why the viewing angle characteristic at the azimuth angle ⁇ : 315 ° of the liquid crystal display device 1 of this embodiment is improved as compared with the liquid crystal display device 1 of the first embodiment is as follows.
  • the light control member 9A of the present embodiment has relatively high light diffusibility in the azimuth angle directions of the azimuth angle ⁇ : 45 ° -225 ° direction and the azimuth angle ⁇ : 135 ° -315 ° direction. That is, more light is mixed in the azimuth angle ⁇ : 45 ° -225 ° direction and the azimuth angle ⁇ : 135 ° -315 ° direction.
  • the azimuth angle ⁇ : 45 ° -225 ° direction and the azimuth angle ⁇ : 135 ° -315 ° direction have low viewing angle characteristics for low gradation display in the liquid crystal display device, as can be seen from the result of the comparative example of FIG.
  • the azimuth angle ⁇ In the present embodiment, the azimuth angle ⁇ having a low viewing angle characteristic of the low gradation display of the liquid crystal display device is matched with the azimuth angle ⁇ having a relatively strong light diffusibility of the light control member 9A. As a result, the light emitted in a direction with a low azimuth angle ⁇ and a different polar angle ⁇ is mixed and averaged. As a result, viewing angle characteristics depending on the polar angle ⁇ are improved.
  • the long axis of the light-shielding part 40K of the present embodiment is along the azimuth angle ⁇ : 45 ° -225 ° direction or the azimuth angle ⁇ : 135 ° -315 ° direction, and the long axis is the azimuth angle ⁇ : 45 °- This is because the ratio of the light shielding layer 40K in the 225 ° direction to the light shielding layer 40K in which the major axis is in the direction of azimuth ⁇ : azimuth ⁇ : 135 ° to 315 ° is approximately 1: 1.
  • the azimuth angle direction with relatively strong diffusibility of the light control member 9A is the azimuth angle ⁇ : 45 ° -225 ° direction and the azimuth angle ⁇ : 135 ° -315 ° direction. Therefore, light incident on the light control member 9 at different polar angles ⁇ is mixed by the light control member 9 in the azimuth angle ⁇ : 45 ° -225 ° direction and the azimuth angle ⁇ : 135 ° -315 ° direction.
  • improving the viewing angle characteristics in low gradation display as in this embodiment is effective in improving the display performance of the liquid crystal display device. It can be said.
  • a light control member 9A is arranged on the light emission side of the liquid crystal panel 2.
  • light incident on the light control member 9A at different polar angles ⁇ is mixed by the light control member 9A.
  • the variation in the luminance change depending on the polar angle ⁇ is averaged, and as a result, the change in the gamma characteristic depending on the polar angle ⁇ is alleviated.
  • FIGS. 27A to 27F The basic configuration of the liquid crystal display device of this embodiment is the same as that of the seventh embodiment, and is different from the seventh embodiment in that the shape of the light shielding layer in the light control member 9A is inscribed in an ellipse. Therefore, in this embodiment, the description of the basic configuration of the liquid crystal display device is omitted, and the light shielding layer is described.
  • FIGS. 27A to 27F are plan views of the light shielding layer of the present embodiment. As shown in FIGS. 27A to 27F, the shape of the light shielding layer of the present embodiment is inscribed in an ellipse.
  • the shape of the light shielding layer 440A shown in FIG. 27A is a quadrilateral inscribed in an ellipse.
  • the shape of the light shielding layer 440B shown in FIG. 27B is a hexagon inscribed in an ellipse.
  • the shape of the light shielding layer 440C illustrated in FIG. 27C is an octagon inscribed in an ellipse.
  • the shape of the light shielding layer 440D shown in FIG. 27D is a triangle inscribed in an ellipse.
  • the shape of the light shielding layer 440E shown in FIG. 27E is a decagon inscribed in an ellipse.
  • the shape of the light shielding layer 440F illustrated in FIG. 27F is a figure inscribed in an ellipse.
  • the central portion of the light shielding layer 440F is thinner than the portion inscribed in the ellipse.
  • the major axis direction of the light shielding layers 440A to 440F, the polarization axis of the first polarizing plate 3, and the polarization axis of the second polarizing plate 7 are different from each other in the azimuth angle ⁇ by 45 °.
  • the ninth embodiment of the present invention will be described below with reference to FIGS. 28A to 28D.
  • the basic configuration of the liquid crystal display device of this embodiment is the same as that of the seventh embodiment, and the configuration of the light shielding layer in the light control member is different from that of the seventh embodiment. Therefore, in this embodiment, description of the basic structure of a liquid crystal display device is abbreviate
  • FIGS. 28A to 28D are plan views of the light control member of this embodiment. As shown in FIGS. 28A to 28D, the light control member of this embodiment differs from the light control member of the first embodiment in the configuration of the light shielding layer.
  • the ratio of the length of the short axis to the length of the long axis is approximately equal in each light shielding layer 40K.
  • the light control member 509A shown in FIG. 28A includes a light shielding layer 540A having a different ratio of the length of the short axis to the length of the long axis.
  • the major axis direction of each light shielding layer 40 is arranged in the direction of the azimuth angle ⁇ : 90 ° -270 °.
  • the major axis of a part of the light shielding layers 540B among the plurality of light shielding layers 540B is directed in a direction different from the major axes of the other light shielding layers 540B.
  • all of the plurality of light shielding layers 40K are arranged in a scattered manner.
  • a part of the light shielding layers 540C among the plurality of light shielding layers 540C is connected to a part of the other light shielding layers 540C.
  • the shapes of the plurality of light shielding layers 40 are all elliptical.
  • the shape of a part of the light shielding layers 540D among the plurality of light shielding layers 540D is rectangular.
  • each light shielding layer 40B is a rhombus.
  • the two diagonal lines of the rhombus substantially coincide with the polarization axes of the first polarizing plate 3 and the second polarizing plate 7, respectively. If the longer one of the two diagonal lines of the rhombus is taken as the major axis, the ratio of the light shielding layer 40B whose major axis substantially coincides with the polarization axis of the first polarizing plate 3, and the major axis being the polarization axis of the second polarizing plate 7.
  • the ratio of the light shielding layers 40B that are substantially coincident may be approximately 1: 1.
  • the planar shape of the light shielding layer 40B of the present embodiment is a rhombus with an acute angle of 30 °. Further, the reflection surface 41c of the light diffusion portion 41 has an inclination angle of 85 °. The operation of the light control member having the light shielding layer 40B will be described below.
  • FIG. 30A is a plan view of the light control member.
  • the polarization axes of the first polarizing plate 3 and the second polarizing plate 7 coincide with the y-axis and the x-axis, respectively.
  • the light L4 emitted through the second polarizing plate 7 is reflected by the light reflecting surface 41c.
  • the reflection angle of the light L4 is approximately 45 ° when viewed from the normal direction of the xy plane.
  • FIG. 30B is a diagram illustrating the reflection of the light L3 in the case of the reflecting surface X having no inclination angle.
  • FIG. 30C is a diagram illustrating the reflection of the light L4 in the case of the reflecting surface 41c when the inclination angle is 85 °.
  • the light reflecting surface 41c of this embodiment has an inclination angle of 85 ° as shown in FIG. 30C. Therefore, even if the light L4 passes through the coordinates (x 1 , y 1 , 0) similarly to the light L3 and enters the reflecting surface 41c, the reflected light does not have the same optical path as that of L3. The angle of reflection spreads when viewed. Specifically, the light L4 is reflected in a direction of 45 ° with respect to the x-axis as shown in FIG. 30A.
  • FIG. 31 is a graph plotting ⁇ u′v ′ values at various azimuth angles at a polar angle of 60 °.
  • ⁇ u′v ′ is the u′v ′ chromaticity of the color that can be seen at a certain polar angle and azimuth when the front color is displayed and the u′v ′ uniform color space of the u′v ′ chromaticity in the front direction. Is the distance between coordinates.
  • the Macbeth chart color No. 13 shows the ⁇ u′v ′ characteristic when “Blue” is displayed.
  • the solid line indicates the ⁇ u′v ′ characteristic of the liquid crystal display device using the light control member in the present embodiment.
  • the alternate long and short dash line indicates the ⁇ u′v ′ characteristic in the liquid crystal display device of the first embodiment.
  • the broken line indicates the ⁇ u′v ′ characteristic in the liquid crystal display device (comparative example) that does not use the light control member.
  • the ratio of the light-diffusion part 41 in the light control member of this embodiment and 1st Embodiment is 70%.
  • ⁇ u′v ′ is small at azimuth angles of 45 °, 135 °, 225 °, and 315 °.
  • ⁇ u′v ′ is large at azimuth angles of 0 °, 90 °, 180 °, and 270 °, which are shifted by 45 ° from a small azimuth angle.
  • the ⁇ u′v ′ characteristic has an azimuth angle dependency, and the difference in color between when viewed from the front and when viewed obliquely at approximately azimuth angles of 0 °, 90 °, 180 °, and 270 °. It can be said that it is big.
  • the ⁇ u′v ′ characteristics are improved at all azimuth angles and the azimuth angle dependency is also improved as in the liquid crystal display device of the first embodiment.
  • ⁇ u′v ′ is larger, and ⁇ u ′ is larger at azimuth angles of 0 °, 90 °, 180 °, and 270 °. It can be seen that the v ′ characteristic is improved.
  • the light incident on the reflection surface 41c of the light diffusing unit 41 is reflected in directions different in azimuth angle by 45 °.
  • light having azimuth angles of 45 °, 135 °, 225 °, and 315 °, which had a small ⁇ u′v ′ passes through the light control member of the present embodiment, and thus has a direction different by 45 °, that is, ⁇ u′v ′. It is injected to the large azimuth.
  • the light having a small color change is distributed in the azimuth direction where the color change is large, thereby reducing the variation in ⁇ u′v ′ as a whole.
  • the liquid crystal display devices of the first to tenth embodiments described above can be applied to various electronic devices.
  • an electronic apparatus including the liquid crystal display device according to the first to tenth embodiments will be described with reference to FIGS. 32 to 34.
  • FIG. The liquid crystal display devices of the first to tenth embodiments described above can be applied to, for example, the mobile phone shown in FIG.
  • a cellular phone 240 illustrated in FIG. 32 includes a voice input unit 241, a voice output unit 242, an antenna 243, an operation switch 244, a display unit 245, a housing 246, and the like.
  • the display unit 245 the liquid crystal display devices of the first to tenth embodiments described above can be suitably applied.
  • liquid crystal display devices of the first to tenth embodiments described above can be applied to, for example, a thin television shown in FIG.
  • a thin television 250 illustrated in FIG. 33 includes a display portion 251, a speaker 252, a cabinet 253, a stand 254, and the like.
  • the display unit 251 the liquid crystal display devices of the first to tenth embodiments described above can be suitably applied.
  • an image with a small viewing angle dependency can be displayed.
  • the liquid crystal display devices of the first to tenth embodiments described above can be applied to, for example, a notebook computer shown in FIG.
  • a notebook computer 270 illustrated in FIG. 34 includes a display portion 271, a keyboard 272, a touch pad 273, a main switch 274, a camera 275, a recording medium slot 276, a housing 277, and the like.
  • the display unit 271 the liquid crystal display devices of the first to tenth embodiments described above can be suitably applied.
  • an antireflection layer it is also possible to provide at least one of an antireflection layer, a polarizing filter layer, an antistatic layer, an antiglare treatment layer, and an antifouling treatment layer on the viewing side of the base material of the light control member in the above embodiment. good.
  • the light diffusing portion or the space portion has an elliptical truncated cone shape, but may have other shapes.
  • the inclination angle of the reflection surface of the light diffusing portion is not necessarily symmetric about the optical axis.
  • the shape of the light diffusing part is an elliptical truncated cone as in the above embodiment, the angle of inclination of the reflecting surface of the light diffusing part is line symmetric about the optical axis, and therefore line symmetric about the optical axis. Angle distribution is obtained.
  • the inclination angle of the reflection surface of the light diffusing unit may be asymmetric.
  • each component of the liquid crystal display device is not limited to the above-described embodiment, and can be changed as appropriate.
  • a polarizing plate and a retardation plate are arranged outside the liquid crystal panel.
  • a polarizing layer and a retardation layer are provided inside a pair of substrates constituting the liquid crystal panel. It may be formed.
  • Some aspects of the present invention can be used in a liquid crystal display device.

Landscapes

  • Physics & Mathematics (AREA)
  • Nonlinear Science (AREA)
  • General Physics & Mathematics (AREA)
  • Optics & Photonics (AREA)
  • Mathematical Physics (AREA)
  • Chemical & Material Sciences (AREA)
  • Crystallography & Structural Chemistry (AREA)
  • Spectroscopy & Molecular Physics (AREA)
  • Liquid Crystal (AREA)
PCT/JP2013/083323 2012-12-18 2013-12-12 液晶表示装置 Ceased WO2014097960A1 (ja)

Priority Applications (1)

Application Number Priority Date Filing Date Title
US14/652,917 US9829737B2 (en) 2012-12-18 2013-12-12 Liquid crystal display device having low viewing angle dependency

Applications Claiming Priority (2)

Application Number Priority Date Filing Date Title
JP2012275767A JP6015934B2 (ja) 2012-12-18 2012-12-18 液晶表示装置
JP2012-275767 2012-12-18

Publications (1)

Publication Number Publication Date
WO2014097960A1 true WO2014097960A1 (ja) 2014-06-26

Family

ID=50978295

Family Applications (1)

Application Number Title Priority Date Filing Date
PCT/JP2013/083323 Ceased WO2014097960A1 (ja) 2012-12-18 2013-12-12 液晶表示装置

Country Status (3)

Country Link
US (1) US9829737B2 (enExample)
JP (1) JP6015934B2 (enExample)
WO (1) WO2014097960A1 (enExample)

Families Citing this family (4)

* Cited by examiner, † Cited by third party
Publication number Priority date Publication date Assignee Title
CN104820309B (zh) * 2015-05-19 2018-04-17 京东方科技集团股份有限公司 一种光学组件及其制造方法、偏光片
KR102679475B1 (ko) * 2018-10-24 2024-07-01 삼성전자주식회사 디스플레이 장치
CN109604109A (zh) * 2018-11-29 2019-04-12 武汉华星光电技术有限公司 配向膜涂布机
KR20220034590A (ko) * 2020-09-11 2022-03-18 엘지디스플레이 주식회사 광경로제어부재를 구비한 표시장치

Citations (4)

* Cited by examiner, † Cited by third party
Publication number Priority date Publication date Assignee Title
JP2005181691A (ja) * 2003-12-19 2005-07-07 Internatl Business Mach Corp <Ibm> 光学素子および該光学素子を用いるカラー表示装置
WO2010087047A1 (ja) * 2009-01-28 2010-08-05 シャープ株式会社 液晶表示パネル
WO2012053501A1 (ja) * 2010-10-21 2012-04-26 シャープ株式会社 光拡散部材およびその製造方法、表示装置
JP2012194312A (ja) * 2011-03-16 2012-10-11 Toppan Printing Co Ltd 遮光性樹脂組成物、液晶表示装置、アレイ基板、並びにアレイ基板の製造方法

Family Cites Families (2)

* Cited by examiner, † Cited by third party
Publication number Priority date Publication date Assignee Title
JP2006113208A (ja) 2004-10-13 2006-04-27 Toshiba Matsushita Display Technology Co Ltd 液晶表示装置
US9638840B2 (en) * 2011-05-13 2017-05-02 Sharp Kabushiki Kaisha Light diffusion member, method for producing same, and display device

Patent Citations (4)

* Cited by examiner, † Cited by third party
Publication number Priority date Publication date Assignee Title
JP2005181691A (ja) * 2003-12-19 2005-07-07 Internatl Business Mach Corp <Ibm> 光学素子および該光学素子を用いるカラー表示装置
WO2010087047A1 (ja) * 2009-01-28 2010-08-05 シャープ株式会社 液晶表示パネル
WO2012053501A1 (ja) * 2010-10-21 2012-04-26 シャープ株式会社 光拡散部材およびその製造方法、表示装置
JP2012194312A (ja) * 2011-03-16 2012-10-11 Toppan Printing Co Ltd 遮光性樹脂組成物、液晶表示装置、アレイ基板、並びにアレイ基板の製造方法

Also Published As

Publication number Publication date
US20150331276A1 (en) 2015-11-19
JP6015934B2 (ja) 2016-10-26
US9829737B2 (en) 2017-11-28
JP2014119651A (ja) 2014-06-30

Similar Documents

Publication Publication Date Title
US10162214B2 (en) Liquid crystal display device, optical control member, and base material for manufacturing optical control member
US10067379B2 (en) Liquid crystal display device
JP5943265B2 (ja) 液晶表示装置
CN1743922A (zh) 液晶显示装置、电子设备
CN104583849B (zh) 液晶显示装置
JP4494380B2 (ja) 液晶表示装置
JP2004198919A (ja) 液晶表示装置および電子機器
JP6015934B2 (ja) 液晶表示装置
JP6101388B2 (ja) 液晶表示装置
JP2017097053A (ja) 液晶表示装置
WO2014084261A1 (ja) 光制御フィルム及び表示装置
WO2009113206A1 (ja) 液晶表示装置
US9835904B2 (en) Liquid crystal display device
US12038652B2 (en) Electrically controllable viewing angle switch device and display apparatus
WO2016084676A1 (ja) 液晶表示装置及び光制御部材
WO2016158834A1 (ja) 光配向部材、照明装置、液晶表示装置および光配向部材の製造方法
JP2017219618A (ja) 液晶表示装置
WO2017022800A1 (ja) 配光制御部材、照明装置および液晶表示装置
JP2017097119A (ja) 広視野角表示システム
WO2016088596A1 (ja) 液晶表示装置
JP2017097123A (ja) 液晶表示装置および光制御部材
JP2007199239A (ja) 液晶装置、その製造方法、及び電子機器

Legal Events

Date Code Title Description
121 Ep: the epo has been informed by wipo that ep was designated in this application

Ref document number: 13865875

Country of ref document: EP

Kind code of ref document: A1

WWE Wipo information: entry into national phase

Ref document number: 14652917

Country of ref document: US

NENP Non-entry into the national phase

Ref country code: DE

122 Ep: pct application non-entry in european phase

Ref document number: 13865875

Country of ref document: EP

Kind code of ref document: A1