WO2014045560A1 - Interactive system, control method for interactive system, and projector - Google Patents

Interactive system, control method for interactive system, and projector Download PDF

Info

Publication number
WO2014045560A1
WO2014045560A1 PCT/JP2013/005456 JP2013005456W WO2014045560A1 WO 2014045560 A1 WO2014045560 A1 WO 2014045560A1 JP 2013005456 W JP2013005456 W JP 2013005456W WO 2014045560 A1 WO2014045560 A1 WO 2014045560A1
Authority
WO
WIPO (PCT)
Prior art keywords
signal
light
synchronization
projector
unit
Prior art date
Legal status (The legal status is an assumption and is not a legal conclusion. Google has not performed a legal analysis and makes no representation as to the accuracy of the status listed.)
Ceased
Application number
PCT/JP2013/005456
Other languages
English (en)
French (fr)
Inventor
Yasuyuki Kobayashi
Takaaki Koyama
Nobuyuki Otsuki
Masahiro Horiguchi
Yukihiro Karasawa
Current Assignee (The listed assignees may be inaccurate. Google has not performed a legal analysis and makes no representation or warranty as to the accuracy of the list.)
Seiko Epson Corp
Original Assignee
Seiko Epson Corp
Priority date (The priority date is an assumption and is not a legal conclusion. Google has not performed a legal analysis and makes no representation as to the accuracy of the date listed.)
Filing date
Publication date
Application filed by Seiko Epson Corp filed Critical Seiko Epson Corp
Priority to BR112015006065A priority Critical patent/BR112015006065A2/pt
Priority to EP13776865.1A priority patent/EP2898398B1/en
Priority to KR1020157009866A priority patent/KR101788029B1/ko
Priority to RU2015114435A priority patent/RU2617932C2/ru
Priority to US14/423,615 priority patent/US9632616B2/en
Priority to IN2302DEN2015 priority patent/IN2015DN02302A/en
Publication of WO2014045560A1 publication Critical patent/WO2014045560A1/en
Anticipated expiration legal-status Critical
Ceased legal-status Critical Current

Links

Images

Classifications

    • GPHYSICS
    • G06COMPUTING OR CALCULATING; COUNTING
    • G06FELECTRIC DIGITAL DATA PROCESSING
    • G06F3/00Input arrangements for transferring data to be processed into a form capable of being handled by the computer; Output arrangements for transferring data from processing unit to output unit, e.g. interface arrangements
    • G06F3/01Input arrangements or combined input and output arrangements for interaction between user and computer
    • G06F3/03Arrangements for converting the position or the displacement of a member into a coded form
    • G06F3/041Digitisers, e.g. for touch screens or touch pads, characterised by the transducing means
    • G06F3/0416Control or interface arrangements specially adapted for digitisers
    • G06F3/04162Control or interface arrangements specially adapted for digitisers for exchanging data with external devices, e.g. smart pens, via the digitiser sensing hardware
    • GPHYSICS
    • G06COMPUTING OR CALCULATING; COUNTING
    • G06FELECTRIC DIGITAL DATA PROCESSING
    • G06F3/00Input arrangements for transferring data to be processed into a form capable of being handled by the computer; Output arrangements for transferring data from processing unit to output unit, e.g. interface arrangements
    • G06F3/01Input arrangements or combined input and output arrangements for interaction between user and computer
    • G06F3/03Arrangements for converting the position or the displacement of a member into a coded form
    • G06F3/033Pointing devices displaced or positioned by the user, e.g. mice, trackballs, pens or joysticks; Accessories therefor
    • G06F3/0354Pointing devices displaced or positioned by the user, e.g. mice, trackballs, pens or joysticks; Accessories therefor with detection of 2D relative movements between the device, or an operating part thereof, and a plane or surface, e.g. 2D mice, trackballs, pens or pucks
    • G06F3/03542Light pens for emitting or receiving light
    • GPHYSICS
    • G06COMPUTING OR CALCULATING; COUNTING
    • G06FELECTRIC DIGITAL DATA PROCESSING
    • G06F3/00Input arrangements for transferring data to be processed into a form capable of being handled by the computer; Output arrangements for transferring data from processing unit to output unit, e.g. interface arrangements
    • G06F3/01Input arrangements or combined input and output arrangements for interaction between user and computer
    • G06F3/03Arrangements for converting the position or the displacement of a member into a coded form
    • G06F3/0304Detection arrangements using opto-electronic means
    • GPHYSICS
    • G06COMPUTING OR CALCULATING; COUNTING
    • G06FELECTRIC DIGITAL DATA PROCESSING
    • G06F3/00Input arrangements for transferring data to be processed into a form capable of being handled by the computer; Output arrangements for transferring data from processing unit to output unit, e.g. interface arrangements
    • G06F3/01Input arrangements or combined input and output arrangements for interaction between user and computer
    • G06F3/03Arrangements for converting the position or the displacement of a member into a coded form
    • G06F3/041Digitisers, e.g. for touch screens or touch pads, characterised by the transducing means
    • G06F3/0416Control or interface arrangements specially adapted for digitisers
    • GPHYSICS
    • G06COMPUTING OR CALCULATING; COUNTING
    • G06FELECTRIC DIGITAL DATA PROCESSING
    • G06F3/00Input arrangements for transferring data to be processed into a form capable of being handled by the computer; Output arrangements for transferring data from processing unit to output unit, e.g. interface arrangements
    • G06F3/01Input arrangements or combined input and output arrangements for interaction between user and computer
    • G06F3/03Arrangements for converting the position or the displacement of a member into a coded form
    • G06F3/041Digitisers, e.g. for touch screens or touch pads, characterised by the transducing means
    • G06F3/042Digitisers, e.g. for touch screens or touch pads, characterised by the transducing means by opto-electronic means
    • G06F3/0425Digitisers, e.g. for touch screens or touch pads, characterised by the transducing means by opto-electronic means using a single imaging device like a video camera for tracking the absolute position of a single or a plurality of objects with respect to an imaged reference surface, e.g. video camera imaging a display or a projection screen, a table or a wall surface, on which a computer generated image is displayed or projected
    • HELECTRICITY
    • H04ELECTRIC COMMUNICATION TECHNIQUE
    • H04BTRANSMISSION
    • H04B10/00Transmission systems employing electromagnetic waves other than radio-waves, e.g. infrared, visible or ultraviolet light, or employing corpuscular radiation, e.g. quantum communication
    • H04B10/11Arrangements specific to free-space transmission, i.e. transmission through air or vacuum
    • H04B10/114Indoor or close-range type systems
    • H04B10/1141One-way transmission

Definitions

  • the present invention relates to an interactive system, a control method for the interactive system, and a projector.
  • a presentation system including a computer, a projection-type video display apparatus (a projector) that projects a video on a projection surface such as a screen, a selective transmission device that transmits light in a specific wavelength band, an image pickup apparatus that picks up an image of the screen or the like, and a pointing stick (a pointer) that is used for pointing a part of the video, and emits infrared light from the distal end thereof (PTL 1).
  • a presentation system an interactive system
  • an information input system (an interactive system) that includes, in an electronic pen (an information input device), a reflecting unit having a predetermined reflecting pattern, specifies the position of the reflecting unit on the basis of a detection result obtained by detecting a wavelength component in reflected light, and specifies an input position of information by the electronic pen on the basis of the position of the reflecting unit.
  • an interactive system that transmits an infrared signal for synchronization from a projector to a light-emitting pen (an electronic pen) and synchronizes light emission timing of the light-emitting pen and image pickup timing of an image pickup unit included in the projector.
  • a plurality of the interactive systems are used while being placed side by side, in some case, infrared signals for synchronization emitted from projectors of the respective interactive systems interfere with one another and synchronization with light-emitting pens of the respective interactive systems cannot be correctly performed.
  • An advantage of some aspects of the invention is to solve at least a part of the problems described above, and the invention can be implemented as the following forms or application examples.
  • This application example is directed to an interactive system including: a transmitter configured to transmit an optical signal; and a projector.
  • the projector includes: a signal-intensity setting unit in which intensity information of a synchronization signal is set; a signal-intensity control unit configured to control the intensity of the synchronization signal on the basis of the setting of the signal-intensity setting unit; a synchronization-signal transmitting unit configured to transmit the synchronization signal; and an image pickup unit configured to pick up an image of the optical signal transmitted from the transmitter.
  • the transmitter includes: a receiving unit configured to receive the synchronization signal; and an optical-signal transmitting unit configured to transmit the optical signal in synchronization with the synchronization signal received by the receiving unit.
  • intensity information of a synchronization signal to be transmitted is set in the signal-intensity setting unit of the projector.
  • the signal-intensity control unit controls the intensity of the synchronization signal on the basis of the setting of the signal-intensity setting unit.
  • the synchronization-signal transmitting unit transmits the synchronization signal.
  • the transmitter transmits an optical signal in synchronization with the received synchronization signal. Consequently, by changing the intensity of the synchronization signal, it is possible to reduce interference of the synchronization signal with other interactive systems.
  • the respective projectors can be synchronized with transmitters of the projectors.
  • This application example is directed to the interactive system according to the application example described above, wherein the projector further includes a synchronization-signal receiving unit configured to receive the synchronization signal.
  • the synchronization-signal receiving unit receives a second synchronization signal from another projector
  • the synchronization-signal transmitting unit transmits the synchronization signal in synchronization with the second synchronization signal.
  • the synchronization-signal transmitting unit transmits the synchronization signal in synchronization with the second synchronization signal. Consequently, since the transmitter is synchronized with the second synchronization signal transmitted from the other projector, the respective projectors can be synchronized with transmitters of the projectors.
  • This application example is directed to the interactive system according to the application example described above, wherein the synchronization-signal transmitting unit includes an infrared-light emitting diode.
  • the synchronization signal transmitted by the synchronization-signal transmitting unit is an infrared signal.
  • the synchronization signal is an infrared signal. Consequently, the projector and the transmitter can be synchronized with each other.
  • This application example is directed to the interactive system according to the application example described above, wherein the synchronization-signal transmitting unit includes a plurality of the infrared-light emitting diodes.
  • the signal-intensity control unit changes the number of emitted lights of the plurality of infrared-light emitting diodes to control the intensity of the synchronization signal.
  • the signal-intensity control unit can change the intensity of the synchronization signal by changing the number of emitted lights of the plurality of infrared-light emitting diodes.
  • Application Example 5 This application example is directed to the interactive system according to the application example described above, wherein the projector further includes: an operation receiving unit configured to receive predetermined operation; and a control unit configured to set, when the operation receiving unit receives the predetermined operation, intensity information of the synchronization signal based on the predetermined operation in the signal-intensity setting unit.
  • the control unit sets intensity information of the synchronization signal based on the predetermined operation in the signal-intensity setting unit. Consequently, a user can change the intensity of the synchronization signal.
  • This application example is directed to a control method for an interactive system including a transmitter configured to transmit an optical signal and a projector including a signal-intensity setting unit in which intensity information of a synchronization signal is set.
  • the method includes: a signal-intensity control step of the projector controlling the intensity of the synchronization signal on the basis of the setting of the signal-intensity setting unit; a synchronization-signal transmitting step of the projector transmitting the synchronization signal; an image pickup step of the projector picking up an image of the optical signal transmitted from the transmitter; a receiving step of the transmitter receiving the synchronization signal; and an optical-signal transmitting step of the transmitter transmitting the optical signal in synchronization with the synchronization signal received by the receiving step.
  • Respective projectors can be synchronized with transmitters of the projectors.
  • This application example is directed to a projector including: a signal-intensity setting unit in which intensity information of a synchronization signal is set; a signal-intensity control unit configured to control the intensity of the synchronization signal on the basis of the setting of the signal-intensity setting unit; and a synchronization-signal transmitting unit configured to transmit the synchronization signal.
  • intensity information of a synchronization signal to be transmitted is set in the signal-intensity setting unit.
  • the signal-intensity control unit controls the intensity of the synchronization signal on the basis of the setting of the signal-intensity setting unit.
  • the synchronization-signal transmitting unit transmits the synchronization signal. Consequently, by changing the intensity of the synchronization signal, it is possible to reduce interference of the synchronization signal with other interactive systems.
  • the forms and the application examples can also be configured in a form of, for example, a program for realizing the functions of the forms and the application examples or a recording medium having the program recorded therein to be readable by the computer.
  • the recording medium it is possible to use various media readable by the computer such as a flexible disk, an HDD (Hard Disk Drive), a CD-ROM (Compact Disk Read Only Memory), a DVD (Digital Versatile Disk), a Blu-ray Disc (registered trademark), a magneto-optical disk, a non-volatile memory card, internal storage devices (semiconductor memories such as a RAM (Random Access Memory) and a ROM (Read Only Memory)) of the projector, and an external storage device (a USB (Universal Serial Bus) memory, etc.).
  • a flexible disk an HDD (Hard Disk Drive), a CD-ROM (Compact Disk Read Only Memory), a DVD (Digital Versatile Disk), a Blu-ray Disc (registered trademark), a magneto-optical disk, a non-volatile memory card, internal storage devices (semiconductor memories such as a RAM (Random Access Memory) and a ROM (Read Only Memory
  • Fig. 1 is a block diagram showing the configuration of an interactive system according to an embodiment.
  • Fig. 2 is a block diagram showing the configuration of a light-emitting pen according to the embodiment.
  • Fig. 3 is a timing chart representing synchronization timing in the interactive system.
  • Fig. 4 is an explanatory diagram of interactive systems provided side by side.
  • Fig. 5 is an explanatory diagram of a menu image for setting light emission intensity.
  • Fig. 6 is a flowchart of infrared light emission intensity switching processing of a projector.
  • Embodiment As an embodiment, an interactive system that picks up an image of a projected image and detects operation in the projected image on the basis of the pickup image is explained.
  • Fig. 1 is a block diagram showing the configuration of an interactive system according to this embodiment.
  • an interactive system a light-emitting pen 200 functioning as a transmitter, a projector 100, a personal computer (PC) 300, and a projection surface S such as a whiteboard are shown.
  • PC personal computer
  • the projector 100 includes an image projecting unit 10, a control unit 20, an operation receiving unit 21, a signal-intensity setting unit 22, an image-signal input unit 31, an image processing unit 32, an image pickup and detecting unit 50, a light-emission control unit 60 functioning as a signal-intensity control unit, an infrared-light emitting unit 61 functioning as a synchronization-signal transmitting unit, and an infrared-light receiving unit 62 functioning as a synchronization-signal receiving unit.
  • the image projecting unit 10 includes a light source 11, three liquid crystal light valves 12R, 12G, and 12B functioning as light modulating devices, a projection lens 13 functioning as a projection optical system, and a light-valve driving unit 14.
  • the image projecting unit 10 modulates light emitted from the light source 11 in the liquid crystal light valves 12R, 12G, and 12B to form image light and projects the image light from the projection lens 13 to display the image light on the projection surface S or the like.
  • the light source 11 includes a light source lamp 11a of a discharge type configured by an extra-high pressure mercury lamp, a metal halide lamp, or the like and a reflector 11b configured to reflect light radiated by the light source lamp 11a to the liquid crystal light valves 12R, 12G, and 12B side.
  • the light emitted from the light source 11 is converted into lights having substantially uniform luminance distributions by a not-shown integrator optical system and, after being separated into color light components of red R, green G, and blue B, which are the three primary colors of light, by a not-shown color separation optical system, respectively made incident on the liquid crystal light valves 12R, 12G, and 12B.
  • the liquid crystal light valves 12R, 12G, and 12B are configured by, for example, a liquid crystal panel in which liquid crystal is encapsulated between a pair of transparent substrates.
  • a plurality of pixels (not shown in the figure) arrayed in a matrix shape are formed.
  • a driving voltage can be applied to the liquid crystal for each of the pixels.
  • the light-valve driving unit 14 applies driving voltages corresponding to input image information to the pixels, the pixels are set to light transmittance corresponding to the image information. Therefore, the light emitting from the light source 11 is modulated by being transmitted through the liquid crystal light valves 12R, 12G, and 12B.
  • An image corresponding to the image information is formed for each of the color lights. Formed images of the colors are combined for each of the pixels by a not-shown color combination optical system into a color image and then the color image is projected from the projection lens 13.
  • the control unit 20 includes a CPU (Central Processing Unit), a RAM used for, for example, temporary storage of various data, and a nonvolatile memory such as a mask ROM, a flash memory, or an FeRAM (Ferroelectric RAM) (all of which are not shown in the figure).
  • the control unit 20 functions as a computer.
  • the CPU operates according to a control program stored in the nonvolatile memory, whereby the control unit 20 collectively controls the operation of the projector 100.
  • the control unit 20 includes a timer and measures, for example, timing for transmission of a synchronization signal and image pickup of an image pickup unit 51.
  • the operation receiving unit 21 receives input operation from a user.
  • the operation receiving unit 21 includes a plurality of operation keys for the user to give various instructions to the projector 100.
  • the operation keys included in the operation receiving unit 21 there are a power key for switching ON and OFF of a power supply, a menu key for switching display and non-display of a menu image for performing various kinds of setting, a cursor key used for, for example, movement of a cursor on the menu image, a determination key for determining the various kinds of setting, and the like.
  • the operation receiving unit 21 receives the input operation and outputs an operation signal corresponding to operation contents of the user to the control unit 20.
  • a remote controller (not shown in the figure), which can be remotely operated, may be used.
  • the remote controller transmits an operation signal of an infrared ray or the like corresponding to operation contents of the user.
  • a remote-controller-signal receiving unit receives the operation signal and communicates the operation signal to the control unit 20.
  • the infrared-light receiving unit 62 also functions as the remote-controller-signal receiving unit.
  • the signal-intensity setting unit 22 is configured by a nonvolatile memory. Intensity information of light emission intensity of an infrared signal (a synchronization signal) transmitted from the infrared-light emitting unit 61 controlled by the light-emission control unit 60 is set and stored in the signal-intensity setting unit 22.
  • a "normal mode” for light emission at normal light emission intensity or a "weak mode” for light emission at light emission intensity lower than the normal light emission intensity can be set as a setting value of the intensity information of the light emission intensity.
  • an input terminal (not shown in the figure) for connection to the PC 300 via a cable C1 is provided.
  • An image signal is input to the image-signal input unit 31 from the PC 300.
  • the image-signal input unit 31 converts the input image signal into image information of a form processable by the image processing unit 32 and outputs the image information to the image processing unit 32.
  • the image processing unit 32 converts the image information input from the image-signal input unit 31 into image data representing gradations of the pixels of the liquid crystal light valves 12R, 12G, and 12B and outputs the image data to the light-valve driving unit 14.
  • the converted image data is image data by color lights of R, G, and B.
  • the converted image data is configured by a plurality of pixel values corresponding to all the pixels of the liquid crystal light valves 12R, 12G, and 12B.
  • the pixel values specify light transmittances of the pixels corresponding thereto. Intensities (gradations) of lights emitted from the pixels are specified by the pixel values.
  • the image processing unit 32 applies, on the basis of an instruction of the control unit 20, for example, image quality adjustment processing for adjusting brightness, contrast, sharpness, hue, and the like to the converted image data. Further, the image processing unit 32 generates image data of a menu image or the like on the basis of an instruction of the control unit 20.
  • the image processing unit 32 includes a rendering memory 32a.
  • the rendering memory 32a stores rendering data based on rendering operation by the light-emitting pen 200.
  • the image processing unit 32 receives position information of the light-emitting pen 200 from the image pickup and detecting unit 50.
  • the position information is information representing a position pointed by the light-emitting pen 200 in an image (a display image) displayed by the image projecting unit 10.
  • the image processing unit 32 stores rendering data in the rendering memory 32a on the basis of a position where rendering operation of the light-emitting pen 200 is performed.
  • the image processing unit 32 combines the rendering data of the rendering memory 32a with the image data input from the image-signal input unit 31 and outputs combined image data to the light-valve driving unit 14.
  • the light-valve driving unit 14 drives the liquid crystal light valves 12R, 12G, and 12B according to the image data input from the image processing unit 32, the liquid crystal light valves 12R, 12G, and 12B form an image corresponding to the image data.
  • the image is projected from the projection lens 13.
  • the image pickup and detecting unit 50 includes an image pickup unit 51, an image analyzing unit 52, and a position-information detecting unit 53.
  • the image pickup and detecting unit 50 is controlled by the control unit 20.
  • the image pickup and detecting unit 50 picks up an image of the projection surface S, analyzes the image, and detects the position of the light-emitting pen 200.
  • the image pickup unit 51 includes an image pickup device or the like (not shown in the figure) configured by a CCD (Charge Coupled Device) sensor, a CMOS (Complementary Metal Oxide Semiconductor) sensor, or the like and an image pickup lens (not shown in the figure) for focusing light emitted from an image pickup target on the image pickup device.
  • the image pickup unit 51 is arranged in the vicinity of the projection lens 13 of the projector 100.
  • the image pickup unit 51 picks up an image of a range including an image projected on the projection surface S (hereinafter referred to as "projected image” as well) on the basis of an instruction of the control unit 20.
  • the image pickup unit 51 sequentially generates image information representing the picked-up image (hereinafter referred to as "pickup image” as well) and outputs the image information to the image analyzing unit 52.
  • the image analyzing unit 52 includes a processing device, a memory, and the like for image analysis (all of which are not shown in the figure).
  • the image analyzing unit 52 performs an analysis of the image information of the pickup image input from the image pickup unit 51.
  • the image analyzing unit 52 outputs an analysis result to the position-information detecting unit 53.
  • the image analyzing unit 52 converts position information on the pickup image into position information on an image based on the image signal.
  • the position-information detecting unit 53 detects position information of the light-emitting pen 200 on the basis of the analysis result of the image analyzing unit 52.
  • the position-information detecting unit 53 outputs the position information of the light-emitting pen 200 to the image processing unit 32.
  • Software (a device driver) for using the light-emitting pen 200 as a rendering device (a transmitter) is stored in the nonvolatile memory of the control unit 20.
  • the image processing unit 32 recognizes, on the basis of the position information input from the image pickup and detecting unit 50, each of positions where rendering operation of the light-emitting pen 200 is performed in a projected image.
  • the image processing unit 32 causes the rendering memory 32a to store rendering data and outputs image data based on the rendering data to the light-valve driving unit 14.
  • the light-emission control unit 60 controls light emission of the infrared-light emitting unit 61 on the basis of an instruction of the control unit 20. Specifically, the light-emission control unit 60 can light an infrared-light emitting diode included in the infrared-light emitting unit 61 by supplying electric power to the infrared-light emitting diode and extinguish the infrared-light emitting diode by stopping the supply of the electric power.
  • the light-emission control unit 60 can control light emission intensity of an infrared signal emitted by the infrared-light emitting unit 61.
  • the infrared-light emitting unit 61 includes a plurality of the infrared-light emitting diodes.
  • the light-emission control unit 60 switches the number of the infrared-light emitting diodes, which are caused to emit lights, to control the light emission intensity.
  • the light-emission control unit 60 can switch the infrared-light emitting diodes to a normal mode for lighting and extinguishing all the infrared-light emitting diodes and a weak mode for lighting and extinguishing a part of the infrared-light emitting diodes.
  • the infrared-light emitting unit 61 is configured by an infrared-light emitting device (not shown in the figure) or the like including an infrared-light emitting diode.
  • the infrared-light emitting unit 61 causes the infrared-light emitting diode to emit light on the basis of control information input from the light-emission control unit 60 and transmits an infrared signal to the outside. Specifically, the infrared-light emitting unit 61 transmits a synchronization signal of infrared light.
  • the infrared-light receiving unit 62 includes an infrared receiving module.
  • the infrared-light receiving unit 62 receives an infrared signal emitted from another projector or the like and notifies the control unit 20 of the infrared signal.
  • the infrared-light receiving unit 62 is used as a remote-controller-signal receiving unit as well.
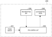
  • the light-emitting pen 200 includes, at a distal end portion (a pen tip) of a pen-like main body, a press switch, a pen reception unit functioning as a receiving unit configured to receive a synchronization signal, and a light-emitting diode configured to emit infrared light as an optical signal.
  • Fig. 2 is a block diagram showing the configuration of the light-emitting pen 200 according to this embodiment.
  • the light-emitting pen 200 includes a pen control unit 220, a press switch 221, a pen reception unit 230 configured to receive an infrared signal, which is a synchronization signal, and a light-emitting diode 240 configured to emit infrared light.
  • the pen control unit 220 causes the light-emitting diode 240 to emit light to be synchronized with the synchronization signal received by the pen reception unit 230.
  • the pen control unit 220 and the light-emitting diode 240 are equivalent to the optical-signal transmitting unit.
  • Fig. 3 is a timing chart representing synchronization timing in the interactive system 1.
  • the synchronization signal transmitted by the infrared-light emitting unit 61 of the projector 100 is output at a time interval t1.
  • the control unit 20 including the timer instructs the light-emission control unit 60 to cause the infrared-light emitting unit 61 to transmit the synchronization signal.
  • the reception unit receives the synchronization signal. After time t2 from the reception of the synchronization signal, the light-emitting pen 200 causes the light-emitting diode to emit light.
  • the image pickup unit 51 of the projector 100 picks up the light emission of the light-emitting pen 200 after time t3 from the transmission of the synchronization signal by the infrared-light emitting unit 61 according to an instruction from the control unit 20.
  • the time t3 is larger than the time t2.
  • the infrared-light emitting unit 61 of the projector 100 transmits the synchronization signal, the light-emitting pen 200 emits light, and the image pickup unit 51 of the projector 100 picks up an image. Therefore, the projector 100 can correctly pick up an image of the emitted light of the light-emitting pen 200.
  • FIG. 4 is an explanatory diagram of the interactive systems provided side by side.
  • the interactive system 1 includes the light-emitting pen 200 and the projector 100.
  • the interactive system 1 is set to be opposed to the projection surface S.
  • the projector 100 includes the infrared-light emitting unit 61 and the infrared-light receiving unit 62.
  • An interactive system 2 includes a light-emitting pen 600 and a projector 500.
  • the interactive system 2 is set to be opposed to a projection surface S1.
  • the projector 500 includes an infrared-light emitting unit 561 and an infrared-light receiving unit 562.
  • the interactive system 1 and the interactive system 2 are provided side by side.
  • FIG. 4 shows a form in which an infrared signal IR emitted by the infrared-light emitting unit 561 of the projector 500 is received by the light-emitting pen 200 of the interactive system 1. Since the light-emitting pen 200 is used near the projection surface S, the light-emitting pen 200 often receives the infrared signal IR reflected by the projection surface S.
  • the light-emitting pen 200 When the light-emitting pen 200 receives an infrared signal (a second synchronization signal) emitted from the projector 500, light emission timing of the light-emitting pen 200 shifts.
  • the image pickup unit 51 of the projector 100 cannot normally pickup an image of emitted light of the light-emitting pen 200. Therefore, an interactive function does not normally operate.
  • the operation of the interactive function is stabilized by changing the light emission intensity of an infrared signal transmitted from the infrared-light emitting unit 61 or tuning light emission timing of the infrared signal with the synchronization signal (the second synchronization signal) emitted from the other projector 500. Details are explained below.
  • the user can perform setting of the light emission intensity of an infrared signal (a synchronization signal) according to a menu image.
  • the projector 100 switches the light emission intensity on the basis of a setting value of the light emission intensity.
  • Fig. 5 is an explanatory diagram of the menu image for setting the light emission intensity.
  • the control unit 20 instructs the image processing unit 32 to display a light emission intensity setting menu image M1 shown in Fig. 5.
  • a character string "light emission intensity setting” is displayed in an upper part of the light emission intensity setting menu image M1.
  • a character string "When another projector is present around the projector, weaken a signal transmitted to the light-emitting pen?" is displayed.
  • "Weaken” and “Not weaken” are displayed as setting candidates in the center of the light emission intensity setting menu image M1.
  • "Weaken” means that the light emission intensity is set in the weak mode.
  • “Not weaken” indicates that the light emission intensity is set in the normal mode.
  • the user selects and determines desired setting out of the setting candidates displayed on the light emission intensity setting menu image M1, whereby the control unit 20 stores information concerning a setting value of the setting (the mode) in the signal-intensity setting unit 22. Operation at this point is equivalent to the predetermined operation.
  • FIG. 6 is a flowchart of the infrared light emission intensity switching processing for the projector 100.
  • the control unit 20 determines whether another projector is present around the projector 100 (step S101). Specifically, the control unit 20 instructs the light-emission control unit 60 to stop transmission of an infrared signal including a synchronization signal. The control unit 20 determines whether the infrared-light receiving unit 62 is receiving an infrared signal. If the infrared-light receiving unit 62 is receiving an infrared signal, the control unit 20 determines that the infrared signal is an infrared signal transmitted from another projector and determines that another projector is present around the projector 100.
  • the control unit 20 synchronizes the projector 100 with the other projector (step S102). Specifically, the control unit 20 instructs the light-emission control unit 60 to be synchronized with a synchronization signal (a second synchronization signal) of the infrared light received by the infrared-light receiving unit 62 and causes the infrared-light emitting unit 61 to transmit the synchronization signal of the infrared light. That is, the control unit 20 tunes light emission timing of the infrared light with the synchronization signal (the second synchronization signal) of the other projector.
  • a synchronization signal a second synchronization signal
  • the control unit 20 determines whether the setting of the light emission intensity is in the "weak mode” (step S103). Specifically, the control unit 20 determines whether the setting of the light emission intensity is in the "weak mode” referring to the setting value of the light emission intensity stored in the signal-intensity setting unit 22.
  • step S103 When the setting of the light emission intensity is in the "weak mode" (step S103: YES), the control unit 20 instructs the light-emission control unit 60 to reduce the light emission intensity of the infrared light (the synchronization signal) emitted by the infrared-light emitting unit 61 (step S104).
  • the control unit 20 ends the infrared light emission intensity switching processing.
  • step S103 When the setting of the light emission intensity is not in the "weak mode” (step S103: NO), that is, the setting of the light emission intensity is in the "normal mode", the control unit 20 instructs the light-emission control unit 60 to set the light emission intensity of the infrared light (the synchronization signal) emitted by the infrared-light emitting unit 61 to normal (step S105).
  • the control unit 20 ends the infrared light emission intensity switching processing.
  • step S101: NO When another projector is absent around the projector 100 (step S101: NO), the control unit 20 shifts to step S105 and sets the light emission intensity of the infrared light to normal. The control unit 20 ends the infrared light emission intensity switching processing.
  • the light-emission control unit 60 of the projector 100 of the interactive system 1 controls light emission intensity of an infrared signal, which is a synchronization signal, transmitted by the infrared-light emitting unit 61. Consequently, when the intensity of the synchronization signal is reduced, it is possible to reduce interference of the synchronization signal with the other interactive system 2.
  • the projectors can be synchronized with the light-emitting pens of the projectors. This is useful because influence due to an environment of use is reduced and the respective projectors can stably perform the interactive function using the light-emitting pens of the projectors.
  • the projector 100 of the interactive system 1 can display the light emission intensity setting menu image M1 for setting the light emission intensity of an infrared signal, which is a synchronization signal.
  • the user can select and set the light emission intensity of the infrared signal.
  • the infrared-light emitting unit 61 of the projector 100 emits an infrared signal according to the setting of the light emission intensity. Consequently, convenience is improved because the user can set the light emission intensity of the infrared signal.
  • the projector 100 transmits a synchronization signal synchronized with the received synchronization signal (second synchronization signal) from the infrared-light transmitting unit 61. That is, the projector 100 and the projector 500 synchronize (tune) timings of the synchronization signals to be transmitted. Consequently, the light-emitting pen 200 and the light-emitting pen 600 can be synchronized with the projector 100 and the projector 500. Therefore, the respective projectors can pick up images of emitted lights of the light-emitting pens of the projectors. This is useful because the respective projectors can stably perform the interactive function by the light-emitting pens.
  • the projector 100 of the interactive system 1 executes the infrared light emission intensity switching processing at periodic timings at the start and after the start of the projector 100. Consequently, it is possible to determine at the start and periodically whether the other projector 500 is present. This is useful because it is possible to immediately change the light emission intensity of infrared light (an infrared signal) when the presence of another projector is detected.
  • the synchronization signal emitted by the projector 100 of the interactive system 1 is an infrared signal. Consequently, it is possible to simplify the configurations of the projector 100 and the light-emitting pen 200.
  • the light-emission control unit 60 of the projector 100 of the interactive system 1 changes the number of emitted lights of the plurality of infrared-light emitting diodes included in the infrared-light emitting unit 61 to change the light emission intensity of the infrared signal. Consequently, it is possible to switch the light emission intensity of the infrared signal to the normal mode and the weak mode.
  • the infrared-light emitting unit 61 of the projector 100 when the other projector 500 is present around the projector 100, the infrared-light emitting unit 61 of the projector 100 emits the infrared signal according to the setting value of the light emission intensity set by the user.
  • the infrared-light emitting unit 61 may emit the infrared signal according to the setting value of the light emission intensity set by the user irrespective of the presence of the projector 500 around the projector 100.
  • the infrared-light emitting unit 61 of the projector 100 emits the infrared signal according to the light emission intensity set by the user.
  • the light emission intensity is not limited to the light emission intensity set by the user.
  • the light emission intensity may be switched according to the light reception intensity of an infrared signal of the other projector 500 received by the infrared-light receiving unit 62.
  • the light-emission control unit 60 may determine that the other projector 500 is present near the projector 100 and reduce the light emission intensity of the light emission of the infrared-light emitting unit 61 (the weak mode).
  • the light-emission control unit 60 may determine that the other projector 500 is preset far from the projector 100 and increase the light emission intensity (the normal mode).
  • the control unit 20 reads out the setting value of the light emission intensity from the signal-intensity setting unit 22 and causes the light-emission control unit 60 to switch the light emission intensity of the infrared signal according to the setting value.
  • the infrared light emission intensity switching processing is not limited to this.
  • the projector 100 may display a menu image same as the light emission intensity setting menu image M1 on a projected image.
  • the projector 100 may cause the user to select and set light emission intensity on the menu image.
  • the control unit 20 may cause the light-emission control unit 60 to switch the light emission intensity of the infrared signal according to the set light emission intensity.
  • the light emission intensity of the infrared signal controlled by the light-emission control unit 60 and emitted by the infrared-light emitting unit 61 can be switched to the "normal mode" and the "weak mode".
  • the switching of the light emission intensity is not limited to the two stages.
  • the light emission intensity may be switchable in three or more stages.
  • the setting of the light emission intensity of the infrared signal is performed by displaying the light emission intensity setting menu image M1.
  • the setting of the light emission intensity of the infrared signal is not limited to this.
  • a key for switching the light emission intensity may be provided in the operation receiving unit 21. The user may depress the key to change the setting value of the light emission intensity and cause the signal-intensity setting unit 22 to set and store the setting value.
  • the synchronization signal is the infrared signal (the infrared light).
  • the synchronization signal is not limited to this.
  • the synchronization signal may be visible light or may be a radio wave for radio communication or the like.
  • the transmitter is the light-emitting pen 200 that emits the infrared light.
  • the transmitter is not limited to such a light-emitting pen.
  • the transmitter may be a transmitter that emits visible light or may use a radio wave for radio communication or the like.
  • an apparatus that supplies the image signal to the projector 100 is the PC 300.
  • the apparatus is not limited to a personal computer and may be other image supply apparatuses.
  • Modification 9 In the embodiment, the projector 100 and the PC 300 are connected by the cable C1. However, input and output of information may be performed by radio communication.
  • the light source 11 includes the light source lamp 11a of the discharge type.
  • solid-state light sources such as an LED (Light Emitting Diode) light source and a laser and other light sources can also be used.
  • the liquid crystal light valves 12R, 12G, and 12B of a transmission type are used as the light modulating devices.
  • light modulating devices of a reflection type such as liquid crystal light valves of the reflection type can also be used.
  • a micro-mirror array device that controls an emitting direction of incident light for each of micro-mirrors functioning as pixels to thereby modulate light emitted from a light source can also be used.
  • Image projecting unit 11
  • Light source lamp 11b
  • Liquid crystal light valves 13
  • Projection lens 14
  • Light-valve driving unit 20
  • Control unit 21 Operation receiving unit 22
  • Signal-intensity setting unit 31
  • Image-signal input unit 32
  • Image processing unit 32a
  • Rendering memory 50
  • Image pickup and detecting unit 51
  • Image pickup unit 52
  • Position-information detecting unit 60
  • Light-emission control unit 61
  • Infrared-light emitting unit 62
  • Infrared-light receiving unit 100, 500 Projectors 200, 600
  • Light-emitting pens 220 Pen control unit 221 Press switch 230
  • Pen reception unit 240 Light-emitting diode 300
  • PC 561 Infrared-light emitting unit 562
  • Infrared-light receiving unit S, S1 Projection surfaces C1 Cable

Landscapes

  • Engineering & Computer Science (AREA)
  • General Engineering & Computer Science (AREA)
  • Theoretical Computer Science (AREA)
  • Physics & Mathematics (AREA)
  • Human Computer Interaction (AREA)
  • General Physics & Mathematics (AREA)
  • Computer Networks & Wireless Communication (AREA)
  • Signal Processing (AREA)
  • Electromagnetism (AREA)
  • Multimedia (AREA)
  • Projection Apparatus (AREA)
  • Position Input By Displaying (AREA)
  • Transforming Electric Information Into Light Information (AREA)
PCT/JP2013/005456 2012-09-18 2013-09-13 Interactive system, control method for interactive system, and projector Ceased WO2014045560A1 (en)

Priority Applications (6)

Application Number Priority Date Filing Date Title
BR112015006065A BR112015006065A2 (pt) 2012-09-18 2013-09-13 sistema interativo, método de controle para sistema interativo e projetor
EP13776865.1A EP2898398B1 (en) 2012-09-18 2013-09-13 Interactive system, control method for interactive system, and projector
KR1020157009866A KR101788029B1 (ko) 2012-09-18 2013-09-13 인터랙티브 시스템, 인터랙티브 시스템의 제어 방법 및, 프로젝터
RU2015114435A RU2617932C2 (ru) 2012-09-18 2013-09-13 Интерактивная система, способ управления для интерактивной системы и проектор
US14/423,615 US9632616B2 (en) 2012-09-18 2013-09-13 Interactive system, control method for interactive system, and projector
IN2302DEN2015 IN2015DN02302A (enExample) 2012-09-18 2013-09-13

Applications Claiming Priority (2)

Application Number Priority Date Filing Date Title
JP2012-204045 2012-09-18
JP2012204045A JP6060581B2 (ja) 2012-09-18 2012-09-18 インタラクティブシステム、インタラクティブシステムの制御方法、およびプロジェクター

Publications (1)

Publication Number Publication Date
WO2014045560A1 true WO2014045560A1 (en) 2014-03-27

Family

ID=49356480

Family Applications (1)

Application Number Title Priority Date Filing Date
PCT/JP2013/005456 Ceased WO2014045560A1 (en) 2012-09-18 2013-09-13 Interactive system, control method for interactive system, and projector

Country Status (10)

Country Link
US (1) US9632616B2 (enExample)
EP (1) EP2898398B1 (enExample)
JP (1) JP6060581B2 (enExample)
KR (1) KR101788029B1 (enExample)
CN (1) CN103677444B (enExample)
BR (1) BR112015006065A2 (enExample)
IN (1) IN2015DN02302A (enExample)
RU (1) RU2617932C2 (enExample)
TW (1) TWI595302B (enExample)
WO (1) WO2014045560A1 (enExample)

Cited By (2)

* Cited by examiner, † Cited by third party
Publication number Priority date Publication date Assignee Title
WO2014147988A1 (en) * 2013-03-18 2014-09-25 Seiko Epson Corporation Projector and control method
CN106506076A (zh) * 2016-10-14 2017-03-15 乐视控股(北京)有限公司 一种虚拟现实系统及其信息传输的方法、装置

Families Citing this family (11)

* Cited by examiner, † Cited by third party
Publication number Priority date Publication date Assignee Title
CN105320360A (zh) * 2014-07-29 2016-02-10 中强光电股份有限公司 触控装置及其触控感测方法
CN104501001B (zh) * 2014-11-28 2016-11-23 广景科技有限公司 一种智能投影灯泡及其互动和智能投影方法
JP6503828B2 (ja) * 2015-03-27 2019-04-24 セイコーエプソン株式会社 インタラクティブプロジェクションシステム,指示体,およびインタラクティブプロジェクションシステムの制御方法
JP6636386B2 (ja) * 2016-05-18 2020-01-29 シャープ株式会社 タッチスキャン制御装置、タッチスキャン制御方法及びタッチスキャン制御用プログラム
JP7010076B2 (ja) * 2018-03-13 2022-01-26 セイコーエプソン株式会社 画像投写システム、プロジェクター及び画像投写システムの制御方法
JP7119488B2 (ja) * 2018-03-27 2022-08-17 セイコーエプソン株式会社 プロジェクター、及び、プロジェクターの制御方法
KR102169626B1 (ko) * 2018-11-21 2020-10-23 (주)이즈커뮤니케이션즈 입력 장치의 판별 기능을 갖춘 컴퓨터 입력 시스템
JP2021033554A (ja) 2019-08-22 2021-03-01 セイコーエプソン株式会社 プロジェクションシステム、位置検出システム、及び位置検出方法
US11652969B2 (en) 2020-02-10 2023-05-16 Ricoh Company, Ltd. Projection apparatus and operation detection apparatus
JP2021128657A (ja) * 2020-02-17 2021-09-02 セイコーエプソン株式会社 位置検出方法、位置検出装置及び位置検出システム
JP2021193499A (ja) * 2020-06-08 2021-12-23 セイコーエプソン株式会社 位置検出システム、位置検出装置、プロジェクター及び位置検出方法

Citations (4)

* Cited by examiner, † Cited by third party
Publication number Priority date Publication date Assignee Title
WO1999038279A1 (en) * 1998-01-23 1999-07-29 Motorola Inc. Method for adjusting the power level of an infrared signal
JP2011028629A (ja) 2009-07-28 2011-02-10 Sanyo Electric Co Ltd プレゼンテーションシステム
CN102135842A (zh) * 2011-04-06 2011-07-27 南京方瑞科技有限公司 同步光笔电子白板系统
JP2011204059A (ja) 2010-03-26 2011-10-13 Seiko Epson Corp 情報入力システムおよび情報入力装置

Family Cites Families (17)

* Cited by examiner, † Cited by third party
Publication number Priority date Publication date Assignee Title
JP2622620B2 (ja) * 1989-11-07 1997-06-18 プロクシマ コーポレイション コンピュータにより発生されたデイスプレイ可視像を変更するためのコンピュータ入力システム
US5926168A (en) * 1994-09-30 1999-07-20 Fan; Nong-Qiang Remote pointers for interactive televisions
US6847356B1 (en) * 1999-08-13 2005-01-25 Canon Kabushiki Kaisha Coordinate input device and its control method, and computer readable memory
JP4018326B2 (ja) * 2000-08-07 2007-12-05 キヤノン株式会社 座標入力装置及びその制御方法、コンピュータ可読メモリ
US7559656B2 (en) * 2003-03-03 2009-07-14 Panasonic Corporation Projector system
TWI291122B (en) * 2004-06-11 2007-12-11 Micro Nits Co Ltd Array type optical sensor pointing system and its method
US7410260B2 (en) * 2005-08-04 2008-08-12 Texas Instruments Incorporated Use of a CCD camera in a projector platform for smart screen capability and other enhancements
JP4728740B2 (ja) * 2005-08-23 2011-07-20 Necディスプレイソリューションズ株式会社 電子ペン、電子黒板システム、およびプロジェクタシステム
JP4811203B2 (ja) * 2006-09-06 2011-11-09 沖電気工業株式会社 プロジェクタ、端末及び画像通信システム
US8319699B2 (en) * 2007-08-09 2012-11-27 Barco N.V. Multiple display channel system with high dynamic range
JP2009043139A (ja) * 2007-08-10 2009-02-26 Mitsubishi Electric Corp 位置検出装置
JP5094566B2 (ja) * 2008-06-02 2012-12-12 三菱電機株式会社 映像表示システム
US20100321382A1 (en) * 2009-06-18 2010-12-23 Scalable Display Technologies, Inc. System and method for injection of mapping functions
JP5493702B2 (ja) * 2009-10-26 2014-05-14 セイコーエプソン株式会社 位置検出機能付き投射型表示装置
JP5683097B2 (ja) 2009-12-15 2015-03-11 キヤノン株式会社 投影システム
WO2013040691A1 (en) * 2011-09-22 2013-03-28 Technologies Ulc Smart Interactive input system with variable reflector pen tool
JP6057098B2 (ja) * 2012-01-09 2017-01-11 エプソン ノルウェー リサーチ アンド ディベロップメント アクティーゼルスカブEpson Norway Research And Development As ビジュアルおよびインタラクティブシステムのための同期、識別および追跡のための低干渉システムおよび方法

Patent Citations (5)

* Cited by examiner, † Cited by third party
Publication number Priority date Publication date Assignee Title
WO1999038279A1 (en) * 1998-01-23 1999-07-29 Motorola Inc. Method for adjusting the power level of an infrared signal
JP2011028629A (ja) 2009-07-28 2011-02-10 Sanyo Electric Co Ltd プレゼンテーションシステム
JP2011204059A (ja) 2010-03-26 2011-10-13 Seiko Epson Corp 情報入力システムおよび情報入力装置
CN102135842A (zh) * 2011-04-06 2011-07-27 南京方瑞科技有限公司 同步光笔电子白板系统
US20130307830A1 (en) * 2011-04-06 2013-11-21 Wei Bao Synchronous light pen electronic whiteboard system

Cited By (3)

* Cited by examiner, † Cited by third party
Publication number Priority date Publication date Assignee Title
WO2014147988A1 (en) * 2013-03-18 2014-09-25 Seiko Epson Corporation Projector and control method
KR101747740B1 (ko) * 2013-03-18 2017-06-15 세이코 엡슨 가부시키가이샤 프로젝터 및 제어 방법
CN106506076A (zh) * 2016-10-14 2017-03-15 乐视控股(北京)有限公司 一种虚拟现实系统及其信息传输的方法、装置

Also Published As

Publication number Publication date
EP2898398B1 (en) 2017-08-02
RU2617932C2 (ru) 2017-04-28
US9632616B2 (en) 2017-04-25
KR20150056841A (ko) 2015-05-27
TWI595302B (zh) 2017-08-11
IN2015DN02302A (enExample) 2015-08-28
RU2015114435A (ru) 2016-11-10
CN103677444B (zh) 2018-03-20
KR101788029B1 (ko) 2017-10-19
BR112015006065A2 (pt) 2017-07-04
TW201413365A (zh) 2014-04-01
JP6060581B2 (ja) 2017-01-18
CN103677444A (zh) 2014-03-26
EP2898398A1 (en) 2015-07-29
JP2014059695A (ja) 2014-04-03
US20150324054A1 (en) 2015-11-12

Similar Documents

Publication Publication Date Title
US9632616B2 (en) Interactive system, control method for interactive system, and projector
US10228611B2 (en) Projector, projection system, and control method of projector
JP5673191B2 (ja) インタラクティブシステム、位置情報変換方法、およびプロジェクター
US11016582B2 (en) Position detecting device, position detecting system, and controlling method of position detecting device
US9992466B2 (en) Projector with calibration using a plurality of images
US9904414B2 (en) Display device, and method of controlling display device
US20190163289A1 (en) Image display device and control method for image display device
JP5672126B2 (ja) インタラクティブシステム、インタラクティブシステムの制御方法、およびプロジェクター
JP6273671B2 (ja) プロジェクター、表示システム、及びプロジェクターの制御方法
US10289220B2 (en) Electronic device, and method of controlling electronic device
US11968480B2 (en) Display method and display system
US10649547B2 (en) Image projection system, pointing element, and method for controlling image projection system
JP6287432B2 (ja) 操作デバイス、位置検出システム、及び、操作デバイスの制御方法
JP2015146611A (ja) インタラクティブシステム、およびインタラクティブシステムの制御方法
JP5724607B2 (ja) インタラクティブシステム、およびインタラクティブシステムの制御方法
JP5967183B2 (ja) インタラクティブシステム、プロジェクター、およびプロジェクターの制御方法
JP2014119530A (ja) 表示制御装置、プロジェクター、及び、プロジェクターの制御方法
US20160282967A1 (en) Position detection device, display device, method of controlling position detection device, and method controlling display device

Legal Events

Date Code Title Description
121 Ep: the epo has been informed by wipo that ep was designated in this application

Ref document number: 13776865

Country of ref document: EP

Kind code of ref document: A1

WWE Wipo information: entry into national phase

Ref document number: 14423615

Country of ref document: US

NENP Non-entry into the national phase

Ref country code: DE

REG Reference to national code

Ref country code: BR

Ref legal event code: B01A

Ref document number: 112015006065

Country of ref document: BR

ENP Entry into the national phase

Ref document number: 20157009866

Country of ref document: KR

Kind code of ref document: A

REEP Request for entry into the european phase

Ref document number: 2013776865

Country of ref document: EP

WWE Wipo information: entry into national phase

Ref document number: 2013776865

Country of ref document: EP

ENP Entry into the national phase

Ref document number: 2015114435

Country of ref document: RU

Kind code of ref document: A

ENP Entry into the national phase

Ref document number: 112015006065

Country of ref document: BR

Kind code of ref document: A2

Effective date: 20150318