WO2013145416A1 - 睡眠状態管理装置、睡眠状態管理方法、及び睡眠状態管理プログラム - Google Patents

睡眠状態管理装置、睡眠状態管理方法、及び睡眠状態管理プログラム Download PDF

Info

Publication number
WO2013145416A1
WO2013145416A1 PCT/JP2012/079285 JP2012079285W WO2013145416A1 WO 2013145416 A1 WO2013145416 A1 WO 2013145416A1 JP 2012079285 W JP2012079285 W JP 2012079285W WO 2013145416 A1 WO2013145416 A1 WO 2013145416A1
Authority
WO
WIPO (PCT)
Prior art keywords
period
body movement
sleep state
state management
detection signal
Prior art date
Legal status (The legal status is an assumption and is not a legal conclusion. Google has not performed a legal analysis and makes no representation as to the accuracy of the status listed.)
Ceased
Application number
PCT/JP2012/079285
Other languages
English (en)
French (fr)
Japanese (ja)
Inventor
寛明 青山
Current Assignee (The listed assignees may be inaccurate. Google has not performed a legal analysis and makes no representation or warranty as to the accuracy of the list.)
Omron Healthcare Co Ltd
Original Assignee
Omron Healthcare Co Ltd
Priority date (The priority date is an assumption and is not a legal conclusion. Google has not performed a legal analysis and makes no representation as to the accuracy of the date listed.)
Filing date
Publication date
Application filed by Omron Healthcare Co Ltd filed Critical Omron Healthcare Co Ltd
Priority to CN201280071829.XA priority Critical patent/CN104203094B/zh
Priority to US14/388,039 priority patent/US9962120B2/en
Priority to DE112012006112.8T priority patent/DE112012006112T5/de
Publication of WO2013145416A1 publication Critical patent/WO2013145416A1/ja
Anticipated expiration legal-status Critical
Ceased legal-status Critical Current

Links

Images

Classifications

    • AHUMAN NECESSITIES
    • A61MEDICAL OR VETERINARY SCIENCE; HYGIENE
    • A61BDIAGNOSIS; SURGERY; IDENTIFICATION
    • A61B5/00Measuring for diagnostic purposes; Identification of persons
    • A61B5/48Other medical applications
    • A61B5/486Biofeedback
    • AHUMAN NECESSITIES
    • A61MEDICAL OR VETERINARY SCIENCE; HYGIENE
    • A61BDIAGNOSIS; SURGERY; IDENTIFICATION
    • A61B5/00Measuring for diagnostic purposes; Identification of persons
    • A61B5/103Measuring devices for testing the shape, pattern, colour, size or movement of the body or parts thereof, for diagnostic purposes
    • A61B5/11Measuring movement of the entire body or parts thereof, e.g. head or hand tremor or mobility of a limb
    • AHUMAN NECESSITIES
    • A61MEDICAL OR VETERINARY SCIENCE; HYGIENE
    • A61BDIAGNOSIS; SURGERY; IDENTIFICATION
    • A61B5/00Measuring for diagnostic purposes; Identification of persons
    • A61B5/103Measuring devices for testing the shape, pattern, colour, size or movement of the body or parts thereof, for diagnostic purposes
    • A61B5/11Measuring movement of the entire body or parts thereof, e.g. head or hand tremor or mobility of a limb
    • A61B5/1123Discriminating type of movement, e.g. walking or running
    • AHUMAN NECESSITIES
    • A61MEDICAL OR VETERINARY SCIENCE; HYGIENE
    • A61BDIAGNOSIS; SURGERY; IDENTIFICATION
    • A61B5/00Measuring for diagnostic purposes; Identification of persons
    • A61B5/48Other medical applications
    • A61B5/4806Sleep evaluation
    • AHUMAN NECESSITIES
    • A61MEDICAL OR VETERINARY SCIENCE; HYGIENE
    • A61BDIAGNOSIS; SURGERY; IDENTIFICATION
    • A61B5/00Measuring for diagnostic purposes; Identification of persons
    • A61B5/48Other medical applications
    • A61B5/4806Sleep evaluation
    • A61B5/4809Sleep detection, i.e. determining whether a subject is asleep or not
    • AHUMAN NECESSITIES
    • A61MEDICAL OR VETERINARY SCIENCE; HYGIENE
    • A61BDIAGNOSIS; SURGERY; IDENTIFICATION
    • A61B5/00Measuring for diagnostic purposes; Identification of persons
    • A61B5/48Other medical applications
    • A61B5/4806Sleep evaluation
    • A61B5/4815Sleep quality
    • AHUMAN NECESSITIES
    • A61MEDICAL OR VETERINARY SCIENCE; HYGIENE
    • A61BDIAGNOSIS; SURGERY; IDENTIFICATION
    • A61B5/00Measuring for diagnostic purposes; Identification of persons
    • A61B5/68Arrangements of detecting, measuring or recording means, e.g. sensors, in relation to patient
    • A61B5/6887Arrangements of detecting, measuring or recording means, e.g. sensors, in relation to patient mounted on external non-worn devices, e.g. non-medical devices
    • A61B5/6892Mats
    • AHUMAN NECESSITIES
    • A61MEDICAL OR VETERINARY SCIENCE; HYGIENE
    • A61BDIAGNOSIS; SURGERY; IDENTIFICATION
    • A61B5/00Measuring for diagnostic purposes; Identification of persons
    • A61B5/72Signal processing specially adapted for physiological signals or for diagnostic purposes
    • A61B5/7271Specific aspects of physiological measurement analysis
    • A61B5/7278Artificial waveform generation or derivation, e.g. synthesizing signals from measured signals
    • AHUMAN NECESSITIES
    • A61MEDICAL OR VETERINARY SCIENCE; HYGIENE
    • A61BDIAGNOSIS; SURGERY; IDENTIFICATION
    • A61B5/00Measuring for diagnostic purposes; Identification of persons
    • A61B5/72Signal processing specially adapted for physiological signals or for diagnostic purposes
    • A61B5/7271Specific aspects of physiological measurement analysis
    • A61B5/7282Event detection, e.g. detecting unique waveforms indicative of a medical condition
    • GPHYSICS
    • G01MEASURING; TESTING
    • G01HMEASUREMENT OF MECHANICAL VIBRATIONS OR ULTRASONIC, SONIC OR INFRASONIC WAVES
    • G01H17/00Measuring mechanical vibrations or ultrasonic, sonic or infrasonic waves, not provided for in the preceding groups

Definitions

  • the present invention relates to a sleep state management device, a sleep state management method, and a sleep state management program.
  • Patent Document 1 determines that a sleeping person is present when the sleeping person's heart rate based on a signal detected from a sensor exceeds the in-bed determination threshold, and a plurality of stable sections in the section determined to be in bed.
  • An apparatus determines that the distribution of the heart rate in the determined section is not due to a living body but due to external noise when the degree of variation in the signal level in the section where the signal level does not change significantly is small.
  • Patent Document 2 and Patent Document 3 disclose an apparatus that determines a sleep state of a measurement person using a vibration sensor that detects vibration of a place where the measurement person is sleeping.
  • the present invention has been made in view of the above circumstances, and a sleep state management device, a sleep state management method, and a sleep state management method capable of accurately determining the presence or absence of body movement of a measurement subject without being affected by disturbances, and An object is to provide a sleep state management program.
  • the sleep state management device of the present invention is a sleep state management device that manages the sleep state of the measurement subject based on the body movement of the measurement subject, and a sensor unit that detects the movement of the bedding on which the measurement subject is sleeping. And a body movement determination unit that determines the presence or absence of body movement of the measurement subject using a detection signal from the sensor unit, and the body movement determination unit uses the detection signal and there is no body movement.
  • the sleep state management method of the present invention is a sleep state management method for managing the sleep state of the measurement subject by the body movement of the measurement subject, and a sensor unit that detects the movement of the bedding on which the measurement subject is sleeping
  • a body motion determination step for determining the presence or absence of body motion of the measurement subject using a detection signal from the body motion determination step, wherein the body motion determination step uses the detection signal to determine that there is no body motion or When there is at least one of a first period in which the period with body movement periodically determined that there is body movement using the detection signal and a second period in which the period with body movement continues for a predetermined time or more
  • the determination is corrected with at least one of the period with body movement and the second period in the first period as a period without body movement.
  • the sleep state management program of the present invention is a program for causing a computer to execute each step of the sleep state management method.
  • a sleep state management device a sleep state management method, and a sleep state management program that can accurately determine the presence or absence of body movement of a measurement subject without being affected by disturbance. it can.
  • the external view which shows the structure of the sleep state management apparatus 1 for describing one Embodiment of this invention The block diagram which shows the internal structure of the sleep state management apparatus 1 shown in FIG.
  • movement of the sleep state management apparatus 1 shown in FIG. The flowchart for demonstrating operation
  • the figure for demonstrating the processing content of step S2 in the flowchart shown in FIG. The figure which shows an example of the difference value after integration
  • the figure which shows the data after the process of step S3 with respect to the signal which detected the vibration of the bedding which arises with the vibrator of a mobile telephone The figure which shows the data after the process of step S3 with respect to the signal which detected the vibration of the sensor itself produced by the wind of an electric fan.
  • the figure which shows the data recorded on the recording medium 19 in step S9 in the flowchart shown in FIG. The figure which shows the data after correction of the data shown in FIG.
  • FIG. 1 is an external view showing a configuration of a sleep state management device 1 for explaining an embodiment of the present invention.
  • the sleep state management device 1 is provided with a display unit 11, an operation unit 13, and a sensor 12 in a box-shaped housing 10.
  • a display unit 11 and an operation unit 13 are provided on the upper surface of the housing 10 (one of two surfaces parallel to the XY plane).
  • the sensor 12 is provided in the housing 10.
  • the sleep state management device 1 is placed on the bedding such that the bottom surface of the housing 10 (the other of the two surfaces parallel to the XY plane) comes into contact with the bed and a bedding such as a futon on which the measurement subject sleeps. Used in state.
  • the display unit 11 displays various menus and the like of the sleep state management device 1, and is configured by, for example, a liquid crystal display device.
  • the operation unit 13 is an interface for performing power-on of the sleep state management device 1 and various operations, and includes, for example, buttons.
  • the sensor 12 is a three-axis acceleration sensor and detects acceleration in the X-axis direction, acceleration in the Y-axis direction, and acceleration in the Z-axis direction.
  • the detection signal detected by the sensor 12 in a state where the sleep state management device 1 is placed on the bedding corresponds to the movement (vibration) of the bedding. That is, the sensor 12 functions as a vibration detection sensor that detects the movement of the bedding on which the measurement subject is sleeping.
  • the sensor 12 detects the movement of the bedding caused by the movement of the measurement subject. Compared to the movement of the body of the person being measured, the movement of the bedding caused by the movement is slight. Therefore, the level of the detection signal detected by the sensor 12 is very small.
  • FIG. 2 is a block diagram showing an internal configuration of the sleep state management device 1 shown in FIG.
  • the sleep state management device 1 includes a battery 15, a power supply unit 16, a recording control unit 17, and a communication interface (I / F) 18. And a recording medium 19 and a control unit 14 that performs various arithmetic processes and controls the sleep state management apparatus 1 as a whole.
  • the battery 15 is, for example, a button battery.
  • the power supply unit 16 supplies the power of the battery 15 to each unit of the sleep state management device 1 via the control unit 14.
  • the recording medium 19 is for recording data generated by the control unit 14, and is composed of, for example, a flash memory.
  • the recording control unit 17 is a driver for the recording medium 19, and performs data writing to the recording medium 19 and data reading from the recording medium 19 in accordance with instructions from the control unit 14.
  • the communication I / F 18 is an interface for performing wireless or wired communication with an electronic device 2 (such as a personal computer or a mobile phone such as a smartphone) external to the sleep state management device 1.
  • an electronic device 2 such as a personal computer or a mobile phone such as a smartphone
  • the detection signal of the sensor 12 is digitally converted and input to the control unit 14.
  • the control unit 14 is configured mainly by a CPU (central processing unit), performs various arithmetic processes based on the input detection signal, and records data based on the result of the arithmetic process in the recording medium 19.
  • the operation unit 13 is connected to the control unit 14, and a signal corresponding to the operation of the operation unit 13 is input to the control unit 14, and the control unit 14 performs control according to the signal.
  • the control unit 14 also includes a ROM for storing a program executed by the CPU, a RAM as a work memory, and the like.
  • the measurement subject places the sleep state management device 1 on the bedding and operates the operation unit 13 to instruct to start recording the sleep state.
  • control unit 14 When there is an instruction to start recording, the control unit 14 stores a detection signal (digital value) detected by the sensor 12 in the RAM in the control unit 14. In addition, when the recording end instruction of the sleep state is given by the operation of the operation unit 13, the storage of the detection signal in the RAM is stopped.
  • FIGS. 3 and 4 are flowcharts for explaining the body motion determination processing operation of the sleep state management device 1 shown in FIG. Each step shown in FIGS. 3 and 4 is performed by the CPU of the control unit 14 based on a program stored in the ROM. The detection signal is also stored based on a program stored in the ROM.
  • the control unit 14 detects a detection signal (for example, 14 seconds as an example) from the detection signal stored in the RAM. Detection signals (X-axis detection signal, Y-axis detection signal, Z-axis detection signal) are acquired (step S1).
  • control unit 14 calculates a difference between adjacent peak values (absolute value ignoring the sign) from the acquired detection signal of each axis (step S2).
  • FIG. 5 is a diagram for explaining the processing content of step S2 in the flowchart shown in FIG.
  • FIG. 5 shows a waveform (X-axis) of the detection signal obtained in 5 to 7 seconds in the above-mentioned fixed period (14 seconds).
  • step S2 the control unit 14 first extracts a peak value from the waveform of the detection signal shown in FIG.
  • the peak value is a value at a point (a point surrounded by a broken line in FIG. 5) where the detected acceleration value switches from increase to decrease, increase to no increase, decrease to increase, and decrease to decrease.
  • control unit 14 extracts each peak value and the peak value adjacent to the peak value (the adjacent peak value obtained after or before the peak value in time series. ) Is calculated.
  • control unit 14 uses the calculated difference value as a time representative of the predetermined minute interval (a period of time between assumed peak values) including the time when each peak value is obtained. Any one of the start time, end time, intermediate time, etc.) is stored in the RAM.
  • control unit 14 integrates the difference value in the X-axis detection signal, the difference value in the Y-axis detection signal, and the difference value in the Z-axis detection signal, which are obtained in step S2, corresponding to the same time. Then, an integrated value of the difference values of the X axis, the Y axis, and the Z axis is obtained (step S3).
  • FIG. 6 is a diagram showing an example of the difference value after integration obtained in step S3 in the flowchart shown in FIG.
  • FIG. 6 shows a graph in which the integrated values of the difference values in the certain period (14 seconds) are plotted.
  • control unit 14 compares the difference value obtained in step S3 with the threshold value Th1, “1” for data when the difference value exceeds the threshold value, and “1” for data when the difference value is equal to or less than the threshold value.
  • the data shown in FIG. 7 converted to 0 ′′ is created (step S4), and the created data is stored in the RAM.
  • FIG. 7 shows data obtained when the threshold value Th1 is set to 20 in the data shown in FIG.
  • the difference value obtained in step S3 indicates that the larger the value, the greater the change in the movement of the bedding on which the measurement subject is sleeping.
  • the bedding is moved not only by the movement of the person being measured, but also when the place where the bedding is placed vibrates. In the sleep state management device 1, a slight movement of the bedding is detected by the sensor 12.
  • the detection signal of the sensor 12 includes a signal corresponding to the minute vibration of the place where the bedding is placed. Further, the detection signal of the sensor 12 includes noise unique to the sensor.
  • the fluctuation of the detection signal due to the minute vibration of the place where the bedding is placed or the noise specific to the sensor is much smaller than the fluctuation of the detection signal caused by the movement of the measurement subject. .
  • the difference value is compared with the threshold value Th ⁇ b> 1 to eliminate the influence of minute vibrations in the place where the bedding is placed and noise unique to the sensor.
  • the difference value may increase once or may increase continuously for a certain period. Since it is known that the body movement of the measurement subject occurs continuously for a certain period, it can be determined that the difference value is increased by a factor other than the body movement.
  • control unit 14 determines the presence or absence of the body movement of the measurement subject in step S8 described later.
  • step S4 the control unit 14 performs the process of step S7 when the processes of step S2 to step S4 are performed for all the detection signals stored in the RAM (step S5: YES).
  • step S6 for the next fixed period (for example, 14 seconds).
  • a detection signal for a period of .about.28 seconds is acquired from the RAM, and the processing after step S2 is performed.
  • step S7 the control unit 14 sets a unit section (for example, a section of 3 seconds), for example, every 0.5 seconds for the converted data generated in step S4.
  • a unit section for example, a section of 3 seconds
  • control unit 14 in FIG. 7 shows a section indicated by a solid line arrow (a section from 0 seconds to 3 seconds), a section indicated by a broken line arrow (a section from 0.5 seconds to 3.5 seconds), and a section indicated by a dashed line arrow. (1 second to 4 second interval), etc., and so on, while setting the unit interval while shifting by 0.5 seconds.
  • the control unit 14 counts the number of data “1” in each set unit section, and there is body movement of the subject in the section where the number of data “1” exceeds the threshold Th2. It is determined as a section, and a section in which the number of data “1” is equal to or less than the threshold Th2 is determined as a section where there is no body movement of the measurement subject.
  • control part 14 determines the period which overlaps with all the unit sections determined to have a body movement as a period with a body movement, and determines the other period as a period without a body movement (step S8).
  • control unit 14 records the period determined to have body movement and the period determined to have no body movement in the recording medium 19 in a distinguishable manner (step S9).
  • the data illustrated in FIG. 6 also changes depending on other factors other than body movement of the bedding (for example, vibration of a vibrator such as a mobile phone placed on the bedding, wind of a fan, etc.).
  • FIG. 8 is a diagram illustrating a result of performing Steps S2 and S3 of FIG. 3 on the detection signal acquired during the period in which the vibrator of the mobile phone is operating.
  • step S8 in FIG. 3 for example, when the difference value 20 is set to the threshold value Th1, it is determined in step S8 in FIG. 3 that a period with and without body motion periodically occurs.
  • FIG. 9 is a diagram illustrating a result of performing Step S2 and Step S3 of FIG. 3 on the detection signal acquired during the period in which the fan wind hits the sleep state management device 1.
  • step S8 of FIG. 3 when the difference value 20 is set to the threshold value Th1, it is determined in step S8 of FIG. 3 that the period with body movement has occurred for a long time (15 seconds or more in the example of FIG. 9). .
  • the determination result in step S8 in FIG. 3 may be erroneously determined as a period with body movement in a period in which there is actually no body movement.
  • the sleep state management device 1 determines the presence or absence of such an erroneous determination after step S9, and corrects it if there is an erroneous determination.
  • step S10 of FIG. 4 the control unit 14 determines whether or not there is a period with a body motion that is longer than a predetermined time.
  • the length of the period with body movement when the body movement actually occurs (the average time during which the human body movement (turning over) occurs) is empirically known, and is longer than this length. Time is set as the predetermined time.
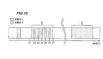
  • FIG. 10 is a diagram showing data recorded on the recording medium 19 in step S9.
  • the period C is a portion determined as a period with body movement having a length equal to or longer than a predetermined time.
  • step S10 determines that there is no body movement in the data recorded on the recording medium 19 with a body movement period longer than the predetermined time as shown in FIG. The period is corrected (step S11).
  • step S10 determines whether or not there is a period in which no body movement period is periodically generated (step S12).
  • control unit 14 determines a period in which three or more body movement-free periods are arranged at intervals of a predetermined time or less as a period in which the body movement-free periods are periodically generated.
  • the time determined in advance is assumed to be a disturbance that periodically vibrates the bedding such as a vibration of a mobile phone, which may occur in real life, and is measured when the assumed disturbance is actually generated in FIG. It can be determined experimentally from the data shown.
  • no body movement periods 31 to 37 are arranged at intervals of a predetermined time or less.
  • the control unit 14 determines the period B from the end of the body movement-free period 31 to the start of the body movement-free period 37 as a period in which the body movement-free period occurs periodically.
  • step S12 When the result of the determination in step S12 is YES, the control unit 14 corrects the period with body movement in the period in which the period without body movement occurs periodically to the period without body movement as shown in FIG. (Step S13).
  • control unit 14 sets a period in which the occurrence frequency of body movement is equal to or greater than a predetermined value as a wake-up period, and the occurrence frequency of body movement is less than the predetermined value. Data with a certain period as a sleep state period is recorded in the recording medium 19 and the body movement determination process is terminated.
  • FIG. 12 is data showing an example of the result of body movement presence / absence determination when there is body movement while the vibrator of the mobile phone is operating.
  • the interval between the no-body-motion period 44 and the no-body-motion period 45 is longer than a predetermined time.
  • the control unit 14 determines a period B ′ from the end of the body movement-free period 41 to the start of the body movement-free period 44 as a period in which the body movement-free period occurs periodically. .
  • the control unit 14 corrects the period with body movement in the period B ′ to the period without body movement. As described above, even when there is a body movement during the vibrator operation of the mobile phone, the occurrence period of the period without the body movement changes, so that the body movement is not erroneously determined.
  • data indicating the sleep state of the measurement subject can be recorded on the recording medium 19 to manage the sleep state of the measurement subject.
  • the sleep state management apparatus 1 calculates the difference between adjacent peak values in the detection signal of the sensor 12 and determines the presence or absence of body movement based on the difference value, the slight movement of the bedding is not missed. It can be detected, and the determination accuracy of the presence or absence of body movement can be improved.
  • the sleep state management apparatus 1 corrects the period as a period without body movement.
  • the sleep state management device 1 Even if the sleep state management device 1 is exposed to the wind of the electric fan or the wind from the outside and the sleep state management device 1 itself shakes on the bedding, the shaking is not erroneously determined to be due to body movement.
  • the sleep state of the measurement subject can be accurately managed.
  • the sleep state management device 1 corrects the period with body movement as the period without body movement in the period in which the period without body movement occurs periodically even during the period when it is determined that there is body movement.
  • the sleep state management device 1 itself shakes at a certain cycle, the shake is not erroneously determined to be due to body movement, and the subject to be measured The sleep state can be accurately managed.
  • the sleep state management device 1 determines a period in which a period without body movement is periodically generated as a disturbance occurrence period, but it is also possible to determine a period in which a period with body movement occurs periodically as a disturbance generation period. .
  • the period with body movement includes those originally determined to have body movement due to noise, but the period without body movement should basically be a period without body movement.
  • the sleep state management apparatus 1 after using the triaxial acceleration sensor as the sensor 12 and integrating the difference values obtained for the three axes in step S3 in FIG. Therefore, the presence / absence of body movement can be determined with the difference value emphasized, and the determination accuracy can be improved.
  • an erroneous determination can also occur due to, for example, an earthquake.
  • step S10 If there is an earthquake, as with the wind, the section with body movement will occur continuously for a predetermined time or longer. For this reason, the misjudgment by an earthquake can also be corrected by the process of step S10 and step S11.
  • the sensor 12 mounted in the sleep state management apparatus 1 should just be a thing which can detect the motion of bedding, it uses not only an acceleration sensor but the sensors as described in patent documents 2, 3. Also good.
  • the acceleration sensor By using the acceleration sensor, it becomes possible to detect the movement of the bedding only by a simple operation of placing the sleep state management device 1 on the bedding, so that the burden on the measurement subject can be reduced.
  • step S3 in FIG. 3 When a sensor 12 that outputs only one type of detection signal, such as a single-axis acceleration sensor, is used, the process of step S3 in FIG. 3 is omitted, and in step S4, the difference value calculated in step S2 and the threshold value Th1 are omitted. And data conversion may be performed.
  • a sensor 12 that outputs only one type of detection signal such as a single-axis acceleration sensor
  • step S10 is performed before step S12, but this order may be reversed.
  • the sleep state management device 1 employs a method of calculating the difference between adjacent peak values in the detection signal of the sensor 12 and determining the presence or absence of body movement based on the difference value.
  • the method is not limited to this, and a known method using the detection signal of the sensor 12 may be adopted.
  • the state including the noise component included in the detection signal Therefore, it is particularly effective to perform the processing after step S10 in FIG.
  • Each step shown in FIG. 3 and FIG. 4 executed by the control unit 14 of the sleep state management device 1 can also be executed by the electronic device 2 connected to the sleep state management device 1.
  • a program for causing the computer to execute the steps shown in FIGS. 3 and 4 performed by the control unit 14 of the sleep state management device 1 may be installed in the electronic device 2.
  • Such a program is recorded on a non-transitory recording medium in which the program can be read by a computer.
  • Such “computer-readable recording medium” includes, for example, an optical medium such as a CD-ROM (Compact Disc-ROM), a magnetic recording medium such as a memory card, and the like. Such a program can also be provided by downloading via a network.
  • an optical medium such as a CD-ROM (Compact Disc-ROM)
  • a magnetic recording medium such as a memory card, and the like.
  • Such a program can also be provided by downloading via a network.
  • the disclosed sleep state management device is a sleep state management device that manages the sleep state of the measurement subject by body movement of the measurement subject, and a sensor unit that detects the movement of the bedding on which the measurement subject is sleeping And a body movement determination unit that determines the presence or absence of body movement of the measurement subject using a detection signal from the sensor unit, and the body movement determination unit uses the detection signal and there is no body movement.
  • a first period in which the determined period without body movement or a period with body movement determined as having body movement using the detection signal is periodically generated; and a second period in which the period with body movement continues for a predetermined time or more If there is at least one of the above, the determination is corrected by setting at least one of the period with body motion and the second period in the first period as a period without body motion.
  • the body movement determination unit of the disclosed sleep state management apparatus determines a period in which the period without body movement is periodically generated as the first period.
  • the disclosed sleep state management apparatus includes a peak value difference calculation unit that calculates a peak value difference that is a difference between adjacent peak values in the detection signal output from the sensor unit, and the body motion determination unit includes the peak A period in which the value difference exceeds the first threshold value is greater than a predetermined value is determined as the period with the body movement of the measurement subject.
  • the sensor unit of the disclosed sleep state management device is a biaxial or triaxial acceleration sensor.
  • the peak value difference in the disclosed sleep state management device is an integrated value of the differences calculated for the detection signals of the respective axes output from the sensor unit.
  • the disclosed sleep state management method is a sleep state management method for managing a sleep state of the measurement subject based on body movement of the measurement subject, and a sensor unit that detects movement of the bedding on which the measurement subject is sleeping
  • a body motion determination step for determining the presence or absence of body motion of the measurement subject using a detection signal from the body motion determination step, wherein the body motion determination step uses the detection signal to determine that there is no body motion or When there is at least one of a first period in which the period with body movement periodically determined that there is body movement using the detection signal and a second period in which the period with body movement continues for a predetermined time or more
  • the determination is corrected with at least one of the period with body movement and the second period in the first period as a period without body movement.
  • the disclosed sleep state management program is a program for causing a computer to execute each step of the sleep state management method.
  • the present invention can be applied to, for example, a home sleep management device and can be used for user health management.

Landscapes

  • Health & Medical Sciences (AREA)
  • Life Sciences & Earth Sciences (AREA)
  • Engineering & Computer Science (AREA)
  • Physics & Mathematics (AREA)
  • Public Health (AREA)
  • Surgery (AREA)
  • Veterinary Medicine (AREA)
  • General Health & Medical Sciences (AREA)
  • Animal Behavior & Ethology (AREA)
  • Biophysics (AREA)
  • Pathology (AREA)
  • Biomedical Technology (AREA)
  • Heart & Thoracic Surgery (AREA)
  • Medical Informatics (AREA)
  • Molecular Biology (AREA)
  • Physiology (AREA)
  • Dentistry (AREA)
  • Oral & Maxillofacial Surgery (AREA)
  • Psychiatry (AREA)
  • Computer Vision & Pattern Recognition (AREA)
  • Artificial Intelligence (AREA)
  • Signal Processing (AREA)
  • Anesthesiology (AREA)
  • General Physics & Mathematics (AREA)
  • Biodiversity & Conservation Biology (AREA)
  • Measurement Of The Respiration, Hearing Ability, Form, And Blood Characteristics Of Living Organisms (AREA)
PCT/JP2012/079285 2012-03-26 2012-11-12 睡眠状態管理装置、睡眠状態管理方法、及び睡眠状態管理プログラム Ceased WO2013145416A1 (ja)

Priority Applications (3)

Application Number Priority Date Filing Date Title
CN201280071829.XA CN104203094B (zh) 2012-03-26 2012-11-12 睡眠状态管理装置和睡眠状态管理方法
US14/388,039 US9962120B2 (en) 2012-03-26 2012-11-12 Sleep state management device, sleep state management method, and sleep state management program
DE112012006112.8T DE112012006112T5 (de) 2012-03-26 2012-11-12 Schlafzustandsverwaltungsvorrichtung, Schlafzustandsverwaltungsverfahren und Schlafzustandsverwaltungsprogramm

Applications Claiming Priority (2)

Application Number Priority Date Filing Date Title
JP2012069609A JP5862401B2 (ja) 2012-03-26 2012-03-26 睡眠状態管理装置、睡眠状態管理方法、及び睡眠状態管理プログラム
JP2012-069609 2012-03-26

Publications (1)

Publication Number Publication Date
WO2013145416A1 true WO2013145416A1 (ja) 2013-10-03

Family

ID=49258754

Family Applications (1)

Application Number Title Priority Date Filing Date
PCT/JP2012/079285 Ceased WO2013145416A1 (ja) 2012-03-26 2012-11-12 睡眠状態管理装置、睡眠状態管理方法、及び睡眠状態管理プログラム

Country Status (5)

Country Link
US (1) US9962120B2 (enExample)
JP (1) JP5862401B2 (enExample)
CN (1) CN104203094B (enExample)
DE (1) DE112012006112T5 (enExample)
WO (1) WO2013145416A1 (enExample)

Cited By (1)

* Cited by examiner, † Cited by third party
Publication number Priority date Publication date Assignee Title
JP2013198654A (ja) * 2012-03-26 2013-10-03 Omron Healthcare Co Ltd 睡眠状態管理装置、睡眠状態管理方法、及び睡眠状態管理プログラム

Families Citing this family (9)

* Cited by examiner, † Cited by third party
Publication number Priority date Publication date Assignee Title
CN104615851B (zh) * 2014-12-31 2019-06-11 深圳市元征科技股份有限公司 一种睡眠监控方法及终端
JP6451326B2 (ja) * 2015-01-08 2019-01-16 アイシン精機株式会社 睡眠判定装置
CN105231998A (zh) * 2015-10-23 2016-01-13 深圳市冠旭电子有限公司 一种监测睡眠的方法和装置
JP6778893B2 (ja) * 2016-01-15 2020-11-04 パナソニックIpマネジメント株式会社 情報端末装置の制御方法、体動測定装置、及び、プログラム
CN106974658B (zh) * 2016-01-15 2021-03-02 松下知识产权经营株式会社 信息终端装置的控制方法以及体动测定装置
JP6839799B2 (ja) * 2016-03-03 2021-03-10 パナソニックIpマネジメント株式会社 情報端末装置の制御方法、体動測定装置、及び、プログラム
CA3015596C (en) * 2016-03-28 2020-09-01 Fujitsu Limited Information processing device, information processing method and recording medium
CN106618845B (zh) * 2016-12-02 2023-11-14 常州时和机电科技有限公司 低电压直流电加热可穿戴装置安全防护装置
CN107007263B (zh) * 2017-04-25 2019-11-19 中国科学院计算技术研究所 一种普适化的睡眠质量测评方法和系统

Citations (3)

* Cited by examiner, † Cited by third party
Publication number Priority date Publication date Assignee Title
JP2007252747A (ja) * 2006-03-24 2007-10-04 Daikin Ind Ltd 睡眠判定装置
JP2007292514A (ja) * 2006-04-21 2007-11-08 Matsushita Electric Works Ltd 加速度センサのデータ処理方法、及び呼吸運動検出方法、並びに呼吸運動検出装置。
JP2008125595A (ja) * 2006-11-17 2008-06-05 Matsushita Electric Works Ltd 生体情報検出装置、睡眠環境制御システムおよび生体情報検出方法

Family Cites Families (11)

* Cited by examiner, † Cited by third party
Publication number Priority date Publication date Assignee Title
WO1991013585A1 (en) * 1990-03-09 1991-09-19 Matsushita Electric Industrial Co., Ltd. Sleep detecting device
WO2002036009A1 (en) * 2000-10-31 2002-05-10 Takeshi Sahashi Body movement analysis system and body movement analysis method
JP4806237B2 (ja) 2005-09-01 2011-11-02 関西電力株式会社 睡眠状態推定方法、システム及びその動作プログラム
JP4528710B2 (ja) * 2005-11-09 2010-08-18 株式会社東芝 睡眠状態計測装置、睡眠状態計測方法及び睡眠状態計測システム
JP4697195B2 (ja) * 2007-06-14 2011-06-08 ダイキン工業株式会社 生体信号処理装置
JP5017021B2 (ja) * 2007-08-24 2012-09-05 株式会社タニタ 睡眠測定装置
JP2010094216A (ja) * 2008-10-15 2010-04-30 Daikin Ind Ltd 睡眠判定装置
JP2010273831A (ja) 2009-05-28 2010-12-09 Mitsuba Corp 体動検出装置、睡眠状態測定装置、体動量検出方法及び体動量検出プログラム
US20120253142A1 (en) * 2010-12-07 2012-10-04 Earlysense Ltd. Monitoring, predicting and treating clinical episodes
JP5862401B2 (ja) * 2012-03-26 2016-02-16 オムロンヘルスケア株式会社 睡眠状態管理装置、睡眠状態管理方法、及び睡眠状態管理プログラム
JP5862400B2 (ja) * 2012-03-26 2016-02-16 オムロンヘルスケア株式会社 睡眠状態管理装置、睡眠状態管理方法、及び睡眠状態管理プログラム

Patent Citations (3)

* Cited by examiner, † Cited by third party
Publication number Priority date Publication date Assignee Title
JP2007252747A (ja) * 2006-03-24 2007-10-04 Daikin Ind Ltd 睡眠判定装置
JP2007292514A (ja) * 2006-04-21 2007-11-08 Matsushita Electric Works Ltd 加速度センサのデータ処理方法、及び呼吸運動検出方法、並びに呼吸運動検出装置。
JP2008125595A (ja) * 2006-11-17 2008-06-05 Matsushita Electric Works Ltd 生体情報検出装置、睡眠環境制御システムおよび生体情報検出方法

Cited By (1)

* Cited by examiner, † Cited by third party
Publication number Priority date Publication date Assignee Title
JP2013198654A (ja) * 2012-03-26 2013-10-03 Omron Healthcare Co Ltd 睡眠状態管理装置、睡眠状態管理方法、及び睡眠状態管理プログラム

Also Published As

Publication number Publication date
JP5862401B2 (ja) 2016-02-16
JP2013198654A (ja) 2013-10-03
US9962120B2 (en) 2018-05-08
CN104203094A (zh) 2014-12-10
DE112012006112T5 (de) 2014-12-24
CN104203094B (zh) 2017-06-06
US20150038882A1 (en) 2015-02-05

Similar Documents

Publication Publication Date Title
JP5862401B2 (ja) 睡眠状態管理装置、睡眠状態管理方法、及び睡眠状態管理プログラム
JP5862400B2 (ja) 睡眠状態管理装置、睡眠状態管理方法、及び睡眠状態管理プログラム
JP5417779B2 (ja) 活動量計
US20140364770A1 (en) Accelerometer-based sleep analysis
JP5139106B2 (ja) 脈波間隔計測装置及び計測方法
RU2711468C2 (ru) Электронное мобильное устройство
WO2016087709A1 (en) Sleep measurement computer system
TWI599760B (zh) 用於預測資料量測的感測器電源管理裝置、電腦實作方法及非暫態計算裝置可讀儲存媒體
WO2022021707A1 (zh) 睡眠检测方法、装置、智能穿戴设备及可读存储介质
CN106510720B (zh) 一种用户状态的提示方法及装置
JP6839799B2 (ja) 情報端末装置の制御方法、体動測定装置、及び、プログラム
JP6156286B2 (ja) 活動量計
WO2018098719A1 (zh) 一种睡眠监测方法、装置及终端
TW201803514A (zh) 生理監控裝置、生理監控方法及實現該生理控制方法之電腦可讀取記錄媒體
CN103415249B (zh) 睡眠评价装置和睡眠评价方法
JP6269160B2 (ja) 睡眠状態評価装置、睡眠状態評価方法、および睡眠状態評価システム
CN106456061B (zh) 动作信息测定装置与其防止忘记穿戴辅助方法及程序
JP2012137853A (ja) 電子機器、歩数計およびプログラム
CN108697378A (zh) 一种睡眠体动监测方法、装置及睡眠体动监测仪
JP2012118724A (ja) 電子機器、歩数計およびプログラム
CN208551811U (zh) 一种睡眠监测仪
KR20220077655A (ko) 수면효율 관리 시스템 및 이를 이용한 수면효율 측정 방법
JP6107403B2 (ja) 生体情報測定装置およびプログラム
JP2012137904A (ja) 歩数計測装置、歩数計測方法およびプログラム
JP2010218118A (ja) 歩数計

Legal Events

Date Code Title Description
121 Ep: the epo has been informed by wipo that ep was designated in this application

Ref document number: 12873236

Country of ref document: EP

Kind code of ref document: A1

WWE Wipo information: entry into national phase

Ref document number: 14388039

Country of ref document: US

WWE Wipo information: entry into national phase

Ref document number: 1120120061128

Country of ref document: DE

Ref document number: 112012006112

Country of ref document: DE

122 Ep: pct application non-entry in european phase

Ref document number: 12873236

Country of ref document: EP

Kind code of ref document: A1